Реконструкция общественного здания в г. Череповец
СОДЕРЖАНИЕ
Введение
. АРХИТЕКТУРНО-СТРОИТЕЛЬНЫЙ РАЗДЕЛ
.1 Технический паспорт здания
.2 Определение технического
состояния здания
1.2.1 Определение физического износа
здания по срокам эксплуатации
.2.2 Определение физического износа
по удельным весам стоимости конструкции
.2.3 Заключение по физическому
износу здания
.2.4 Определение морального износа
здания
1.2.5 Заключение по моральному
износу здания
.3 Объемно-планировочные решения
здания
.4 Конструктивные решения здания
1.4.1 Конструктивные решения здания
до реконструкции
.4.2 Конструктивные решения здания,
предусмотренные проектом реконструкции
1.5 Теплотехнический расчёт
.6 Инженерное оборудование
1.6.1 Отопление
.6.2 Вентиляция
.6.3 Кондиционирование
.6.4 Электроосвещение
.6.5 Заземление и молниезащита
1.7 Внешняя и внутренняя отделки
.8 Благоустройство территории
1.8.1 Описание ситуационного плана
.8.2 Характеристика территории
.8.3 Устройство проездов, дорожек,
площадок
1.8.4 Малые
архитектурные формы на территории реконструируемого объекта
1.8.5 Озеленение территории
.8.6 Технико-экономические
показатели
2. ТЕХНИЧЕСКАЯ ЭКСПЛУАТАЦИЯ ЗДАНИЯ
.1 Контроль технического состояния
здания в процессе эксплуатации
.2 Проведения текущих и капитальных
ремонтов
.2.1 Рекомендации по проведению
текущего ремонта здания
.2.2 Рекомендации по проведению
капитального ремонта здания
. РАСЧЕТНО-КОНСТРУКТИВНЫЙ РАЗДЕЛ
.1 Проверочный расчет существующих
фундаментов
.1.1 Общая характеристика
конструкции фундамента
.1.2 Расчетные сечения для проверки
фундамента
.1.3 Сбор нагрузок от покрытия и
перекрытий сечений 1-1 и 2-2
.1.4 Сбор нагрузок по сечениям
.1.5 Учет уплотнения основания при
определении ширины подошвы фундамента в реконструируемом здании
.1.6 Расчет осадки фундамента
.2 Устройство и расчет монолитного
перекрытия
.2.1 Расчет монолитного участка МУ-1
.2.2 Расчет металлической балки Б8
.2.3 Расчет арматуры с учетом
временной нагрузки
. НАУЧНО-ИССЛЕДОВАТЕЛЬСКИЙ РАЗДЕЛ
.1 Разработка мероприятий по
наружному утеплению стен
.1.1 Причины ухудшения теплозащитных
свойств наружных стен зданий
.1.2 Пути повышения теплозащитных
свойств наружных стен при реконструкции здания
4.1.3 Сравнение утеплителей для наружной стены
5. БЕЗОПАСНОСТЬ ЖИЗНЕДЕЯТЕЛЬНОСТИ
.1 Разработка рекомендаций по
технике безопасности при организации работ по усилению фундамента
.1.1 Мероприятия, обеспечивающие
безопасные и здоровые условия труда при действии аэрозолей преимущественно
фиброгенного характера
.1.2 Мероприятия, обеспечивающие
безопасные и здоровые условия труда при действии инфразвука
.1.3 Мероприятия, обеспечивающие
безопасные и здоровые условия труда при действии вибраций
.1.4 Мероприятия, обеспечивающие
безопасные и здоровые условия труда при действии вибраций
.1.5 Мероприятия, обеспечивающие
безопасные и здоровые условия труда при неблагоприятных параметрах световой
среды
.1.6 Мероприятия, обеспечивающие
безопасные и здоровые условия труда при неблагоприятном действии раздражающих,
токсичных и канцерогенных веществ
.1.7 Мероприятия, обеспечивающие
безопасные и здоровые условия труда при стропальных и погрузочно-разгрузочных
работах
.1.8 Мероприятия, обеспечивающие
безопасные и здоровые условия труда при антикоррозионной обработке арматуры и
бетона
.1.9 Мероприятия, обеспечивающие
безопасные и здоровые условия труда при использовании транспортных средств
.1.10 Мероприятия, обеспечивающие
безопасные и здоровые условия труда при использовании транспортных средств
.1.11 Мероприятия, обеспечивающие
безопасные и здоровые условия труда при разборке элементов сооружения
. ЭКОЛОГИЧЕСКИЙ РАЗДЕЛ
6.1. Учет экологических требований при проектировании
зданий общественного назначения
6.1.1 Общие требования экологической
безопасности здания
6.1.2
Естественное здания
.1.3
Инсоляция
.1.4
Проветривание
.1.5
и кондиционирование
.1.6
Удаление и помещений
.1.7
с и вибрациями, излучениями
.1.8
с и вибрациями, излучениями
.1.9
безопасность здания
.1.10
безопасность здания
.1.11
Контроль безопасности при объекта в эксплуатацию
.
ОРГАНИЗАЦИОННО - ТЕХНОЛОГИЧЕСКИЙ РАЗДЕЛ
.1
Характеристика условий строительства и природно-климатические условия
строительства
.2
Описание методов выполнения основных строительно-монтажных работ с указаниями
по технике безопасности
.3
Земляные работы
.4
Устройство фундаментов
.5
Монтажные работы
.6
Отделочные работы
.7
Перечень актов на скрытые работы
.8
Транспортные работы
.9
Указания по охране труда
.10
Расчет численности персонала строительства
.11
Расчет потребности в ресурсах
.12
Расчет потребности в тепле
.13
Расчет потребности в воде
.14
Расчет потребности в транспортных средствах
.15
Расчет потребности во временных зданиях и сооружениях
.
ОРГАНИЗАЦИОННО - ТЕХНОЛОГИЧЕСКИЙ РАЗДЕЛ
.1
Область применения
.2
Технология и организация выполнения работ
.2.1
Устройство рамных строительных лесов ЛСРП - 300
.2.2
Устройство мачтового консольного подъемника
.2.3
Разметка стены под установку кронштейнов
.2.4
Установка кронштейнов
.2.5
Выбор типа и длины анкеров
.2.6
Утепление наружных стен
.2.7
Устройство ветрозащиты
.2.8
Монтаж направляющих
.2.9
Крепление фасадных кассет
.2.10
Разборка лесов ЛСРП - 300
.2.11
Транспортирование и складирование изделий и материалов
.3
Требования к качеству и приемке работ
.4
Техника безопасности и охрана труда, экологическая и пожарная безопасность
.5
Потребность в ресурсах
.6
Технико-экономические показатели
Заключение
Список
используемых источников
ВВЕДЕНИЕ
Целью выпускной квалификационной работы является реконструкция
общественного здания 1937 года постройки, расположенного по адресу: г.
Череповец, проспект Луначарского, дом 22. Здание двухэтажное с подвальным
помещением культурно-просветительского назначения, относится к IV снеговому району, I ветровому району, температура
наружного воздуха наиболее холодной пятидневки: -32 °С.
Реконструкция здания ведётся в связи с его плохим техническим состоянием,
а также для усовершенствования качества временного размещения городского
потока.
В соответствии с проектом реконструируемое здание должно состоять из двух
блоков: общественно-административного, в котором размещены кафе, кухни,
столовая, подсобные помещения, склады и гостиничного с мансардным этажом, а
также офисы на втором этаже. Здание должно получить современный внешний облик и
гармонически вписываться в современную городскую застройку.
В данном проекте разработаны конкретные объёмно-планировочные и
конструктивные решения.
Объемно-планировочным решением является создание двух смежных блоков -
офисного с пунктом общественного питания на первом этаже и гостиничного с
мансардным этажом. Также предусмотрены пристройки дополнительных объемов -
крылец с навесами и пандусами и одноэтажной пристройки на заднем дворе.
К конструктивным решениям здания относятся:
перепланировка помещений;
замена деревянных перекрытий монолитными железобетонными по
металлическому профилированному листу;
замена оконных и дверных заполнений;
замена деревянных лестниц лестницами из железобетонных ступеней по
металлическим косоурам;
надстройка мансардного этажа с устройством двускатной кровли из
металлочерепицы по деревянным стропилам;
утепление наружных стен здания и создание навесного вентилируемого
фасада;
замена старого и установка нового инженерного оснащения.
Этот план реконструкции разработан в согласовании с действующими
строительными нормами и правилами и обхватывает все вышеупомянутые задачи.
. АРХИТЕКТУРНО-СТРОИТЕЛЬНЫЙ РАЗДЕЛ
1.1 Технический паспорт здания
Таблица 1.1 - Технический паспорт здания
|
Характеристика
|
По типовому проекту
|
Предусмотрено проектом реконструкции
|
|
|
1
|
2
|
3
|
|
|
1. Назначение здания
|
Общественное; год постройки - 1937
|
Административно-офисное; год реконструкции - 2016
|
|
|
2.Пристройка/надстройка
|
Не производилась
|
Надстройка мансардного этажа .Устройство трех пристроек к
зданию.
|
|
|
3. Планировка
|
Смешанная
|
Смешанная
|
|
|
4. Количество этажей
|
2
|
2
|
|
|
5. Фундаменты
|
Ленточные бутобетонные
|
Проведение ремонтных работ; устройство ленточных ФБС под
пристройки.
|
|
|
6. Наружные стены
|
Кирпичные, толщина 640мм
|
Кирпичные, толщина 640мм с устройством навесного,
утепленного вентилируемого фасада.
|
|
|
7. Внутренние стены
|
Кирпичные, толщина 380мм
|
Кирпичные, толщина 380мм;
|
|
|
8. Перегородки
|
Кирпичные, деревянные, гипсокартонные.
|
Кирпичные, гипсокартонные межкомнатные С112 «KNAUF» СЕРИЯ 1.031.9-2.07
|
|
|
9. Перекрытия
|
Балочные деревянные
|
Монолитные по профилированному листу
|
|
|
10. Кровля/крыша
|
Скатная металлическая
|
Скатная металлическая по ГОСТ 24045-2010
|
|
|
11. Водосток
|
Неорганизованный
|
Организованный наружный
|
|
|
12. Двери наружные
|
Металлические
|
Замена на ПВХ (ГОСТ 30970-2002)
|
|
|
13. Двери внутренние
|
Деревянные
|
Замена дверных блоков на усиленные звукоизоляционные
дверные блоки D.Craft.
|
|
|
14. Полы - столовая и кафе; - гостиничные номера; - офисы;
- тамбуры, коридоры, санузлы, лестничные клетки и пр. служебные помещения
|
Деревянные дощатые, линолеумные
|
Замена материала полов. - Бетонные с полимерным покрытием;
- Линолиум; - Паркет; - Плитка керамогранит
|
|
|
15. Внутренняя отделка
|
Облицовка стен плиткой, окраска, оклейка обоями
|
Высококачественная окраска, оклейка обоями, гладкая
облицовка столбов, пилястр, откосов; окраска водоэмульсионными составами
|
|
|
16. Лестницы
|
Деревянные
|
Замена на сборные железобетонные по металлическим косоурам
|
|
|
17. Балконы/лоджии
|
Отсутствуют
|
Отсутствуют
|
|
|
Инженерное оборудование
|
|
|
Отопление
|
-
|
2-х трубная система отопления. Трубы ПЭ «EVAL-PEX» («WIRSBO», Германия) Источник - тепловой
узел на 1-м этаже.
|
|
|
Газопровод
|
-
|
-
|
|
|
Водопровод
|
От городских сетей МУП г.Череповца «Водоканал»
|
От городских сетей МУП г.Череповца «Водоканал»; холодное
водоснабжение - из полипропиленовых труб PPRS; горячее водоснабжение от теплового узла - из
полипропиленовых армированных труб PPRS
|
|
|
Канализация
|
-
|
Раздельная из труб ПВХ
|
|
|
Вентиляция
|
Вытяжная, естественная
|
Для офисов - система приточно-вытяжной вентиляции (Dospel, Ostberg, VTS, Korf,
Systemair, Арктика); для столовой, кухни,
кафе - местные отсосы с установкой зонтов, приток свежего воздуха от
отдельной приточной системы (Ostberg,)
|
|
Сигнализация
|
-
|
Технические средства пожарной автоматики по ГОСТ Р
53325-2009; охранная сигнализация тип GSM («Eldes»)
|
|
Молниезащита
|
-
|
Молниезащитные сетки из арматуры диаметром 8 мм,
соединяемые со всеми металлическими частями на кровле
|
|
|
|
|
|
|
1.2 Определение технического состояния здания
Нормативный срок эксплуатации здания определяется по основным несущим
конструкциям (до реконструкции).
Фундамент - ленточный бутобетонный; стены из керамического кирпича,
толщина наружных стен - 640 мм, внутренних - 380 мм; кровля - плоская по
деревянным кровельным балкам; лестницы и перекрытия - деревянные; оконные
заполнения - деревянные рамы; двери наружные - металлические, внутренние -
деревянные.
Для здания характерна III
группа капитальности с минимальным нормативным сроком эксплуатации здания 125
лет.
Здание относится к нормальному уровню ответственности и γn=1.0 по [1], поэтому в дальнейших
расчётах условно учитывать его не будем.
Степень огнестойкости здания II по [2].
1.2.1 Определение физического износа здания по
срокам эксплуатации
Реконструируемое здание построено согласно паспортным данным БТИ в 1937
году.
Физический износ определяем согласно [3] по формуле:
, (1.1)
где
- фактический срок службы здания, лет;
-
минимальный нормативный срок эксплуатации здания, лет.
Фактический
срок службы здания составляет: 2016-1937=79 лет.
Следовательно,
физический износ здания равен:
Метод
является приближённым, так как он не оценивает фактических повреждений и
дефектов конструкций. Его можно использовать для составления планов
обследования зданий и проведения капитального ремонта.
1.2.2 Определение физического износа здания по
удельным весам стоимости конструкции
В
результате планового сплошного обследования в элементах строительных
конструкций, а также в элементах инженерного оборудования были выявлены
некоторые дефекты, представленные в таблице 1.2.
Таблица 1.2 - Результаты обследования конструкций и инженерного
оборудования
|
Наименование конструкции
|
Признаки износа
|
Количественная оценка
|
Физ. износ, %
|
Примерный состав работ
|
|
1
|
2
|
3
|
4
|
5
|
|
Фундаменты
|
Искривление горизонтальных линий цоколя без признаков
увеличения осадочных деформаций
|
Неравномерная осадка с прогибом стен до 0,01
|
35
|
Затирка трещин, устранение повреждений отделочного слоя
цоколя
|
|
Стены
|
Отслоение и отпадение штукатурки стен, карнизов и
перемычек; выветривание швов; ослабление кирпичной кладки; выпадение
отдельных кирпичей, трещины в карнизах и перемычках; увлажнение поверхности
стен
|
Глубина разрушения швов до 2 см на площади до 30 %. Ширина
трещины более 2 мм
|
|
Ремонт штукатурки и кирпичной кладки, подмазка швов,
очистка фасада, ремонт карниза и перемычек
|
|
Перегородки кирпичные
|
Трещины в местах сопряжений с потолками, редкие сколы
|
Трещины шириной до 2 мм. Повреждение на площади до 10%
|
40
|
Заделка трещин и сколов
|
|
Перегородки деревянные оштукатуренные
|
Ощутимая зыбкость плит, трещины между плитами и в местах
сопряжения плит со стойками каркаса
|
Ширина трещин между плитами до 2 мм
|
35
|
Укрепление плит
|
|
Перегородки гипсокартонные на металлическом каркасе
|
Разбухание отдельных листов гипсокартона, особенно в местах
их стыков между собой, трещины в штукатурном слое в местах соединения плит
|
Ширина трещин не превышает 1 мм
|
15
|
Замена отдельных листов гипсокартона, затирка трещин
|
|
Перекрытия
|
Зазоры и щели между досками наката, прогибы балок и
настилов
|
Поражение гнилью на площади до 10%. Прогиб балок и прогонов
до 1/100 пролета
|
35
|
Заделка щелей и зазоров. Усиление балок местами.
|
|
Кровля металлическая
|
Неплотности фальцев пробоины и нарушение примыканий к
выступающим частям местами; просветы при осмотре со стороны чердака;
повреждения настенных желобов
|
-
|
35
|
Постановка заплат, смена отдельных листов до 10% площади
кровли: промазка и обжатие фальцев, заделка свищей, ремонт настенных желобов
и разжелобков
|
|
Лестницы деревянные
|
Ступени стерты, трещины вдоль волокон на досках на
лестничной площадке и в ступенях, перила расшатаны
|
Прогиб балок и прогонов до 1/50 пролета
|
45
|
Замена настила площадок ступеней, укрепление перил
|
|
Полы из керамических плиток
|
Мелкие сколы и трещины отдельных плиток на площади до 20%
|
-
|
35
|
Замена отдельных плиток
|
|
Полы деревянные дощатые
|
Стирание досок в ходовых местах, сколы досок местами,
повреждение отдельных досок
|
-
|
40
|
Замена отдельных досок до 5%
|
|
Окна деревянные
|
Мелкие трещины в местах сопряжения коробок со стенами,
истертость или щели в притворах. Замазка местами отстала, частично
отсутствуют штапики, трещины стекол, мелкие повреждения отливов
|
-
|
20
|
Конопатка сопряжений коробок со стенами. Восстановление
отсутствующих штапиков, замазки, стекол, отливов с добавлением нового
материала до 15 %
|
|
Двери деревянные
|
Дверные полотна осели или имеют неплотный притвор по
периметру коробки, приборы частично утрачены или неисправны, дверные коробки
(колоды) перекошены, наконечники повреждены.
|
-
|
35
|
Ремонт дверных полотен и коробок с заменой до 50 % приборов
|
|
Окраска масляная
|
Потемнение и загрязнение окрасочного слоя, матовые пятна и
потеки
|
-
|
15
|
Промывка поверхности и окраска за один раз
|
|
Оклейка обоями
|
Трещины, загрязнение и обрывы в углах, местах установки
электротехнических приборов, и у дверных проемов; обесцвечивание рисунка
местами
|
-
|
40
|
Оклейка отдельных мест
|
|
Облицовка керамическими плитами
|
Мелкие трещины и сколы в плитках
|
-
|
10
|
Затирка отдельных сколов
|
|
Штукатурка
|
Выпучивание или отпадение штукатурки и листов местами,
менее 10 м2 на площади до 25 %
|
-
|
35
|
Ремонт штукатурки с подготовкой поверхности
|
|
Центральное отопление
|
Капельные течи в местах врезки запорной арматуры, приборов
и в секциях отопительных приборов; отдельные хомуты на стояках и магистралях;
значительные нарушения теплоизоляции магистралей; следы ремонта калориферов
|
-
|
40
|
Частичная замена запорной арматуры, отдельных отопительных
приборов, замена отдельных стояков и отдельных участков магистралей;
восстановление теплоизоляции; ремонт и наладка калориферов
|
|
Холодное водоснабжение
|
Капельные течи в местах врезки кранов и запорной арматуры;
отдельные повреждения трубопроводов (свищи, течи); поражение коррозией
отдельных участков трубопроводов; утечки воды в 20 % приборов и смывных
бачков
|
-
|
40
|
Частичная замена кранов и запорной арматуры, ремонт
отдельных участков трубопроводов восстановление окраски трубопроводов
|
|
Канализация
|
Наличие течи в местах присоединения приборов до 10 % всего
количества; повреждение эмалированного покрытия моек, раковин, умывальников,
ванн до 20 % их поверхности; повреждение керамических умывальников и унитазов
(сколы, трещины, выбоины) до 10% их количества; повреждения отдельных мест чугунных
трубопроводов из полимерных материалов
|
-
|
35
|
Заделка мест присоединения приборов и ремонт чугунных
трубопроводов в отдельных местах, частичная замена перхлорвиниловых (ПХВ)
трубопроводов, замена отдельных приборов
|
|
Электроснабжение
|
Повреждение изоляции магистральных и внутриквартирных сетей
в отдельных местах, потеря эластичности изоляции проводов, открытые проводки
покрыты значительным слоем краски, отсутствие части приборов и крышек к ним,
следы ремонта водно-распределительных устройств (ВРУ)
|
-
|
|
|
Физический износ здания по удельным весам стоимости конструкции
определяем в табличной форме, таблица 1.3.
Таблица 1.3 - Физический износ здания по удельным весам
|
Укрупненные элементы здания
|
Удельный вес элемента по сборнику 28 в %
|
Удельный вес по приложению в %
|
Расчетный удельный вес в %
|
Физический износ
|
|
|
|
|
По результатам обследования
|
Средневзвешанный износ
|
|
1
|
2
|
3
|
4
|
5
|
6
|
|
Фундаменты
|
-
|
6
|
35
|
2,5
|
|
Стены
Перегородки
|
23
|
80 20
|
18 5
|
30 35
|
5,5 1,5
|
|
Перекрытия
|
8
|
-
|
8
|
35
|
4,5
|
|
Крыша;
Кровля
|
4
|
40 60
|
2 2
|
50 35
|
1,0 1,0
|
|
Полы: -Керамические; -Дощатые
|
12
|
20 80
|
2 10
|
35 40
|
4,0
|
|
Окна;
Двери
|
9
|
56 44
|
5 4
|
20 35
|
1,0 1,5
|
|
Отделочные работы: -Штукатурка; -Обои; -Кер. плитки;
-Окраска масл.
|
19
|
35 45
10 10
|
6 9 2
2
|
35 40 10 15
|
2,5 3,0 0,5 0,5
|
|
Инженерное оборудование
|
13
|
-
|
13
|
30
|
4,0
|
|
прочие балконы, лоджии лестницы остальное
|
6
|
- - 45 55
|
- - 3 3
|
- - 45 55
|
- - 1,5 2,0
|
|
ИТОГО
|
100%
|
-
|
100%
|
-
|
36,5%
|
1.2.3 Заключение по физическому износу здания
Физический износ был определен двумя методами:
по срокам эксплуатации здания он составил 63,2%;
по удельным весам стоимости конструкции он составил 36,5%
Первый метод в основном может быть использован для составления планов
обследования здания и проведения капитального ремонта.
Для проекта реконструкции здания используется второй метод, так как он
оценивает фактические повреждения конструкций и оборудования здания.
Вывод: здание относится к 4 группе состояний по физическому износу.
1.2.4 Определение морального износа здания
Моральный износ - это снижение или утрата функциональных качеств здания,
вызываемая изменением нормативных требований к их планировке, комфорту,
благоустройству.
Для определения морального износа здания сопоставляют нормативные
требования планировочных, технологических и функциональных требований с
фактически принятыми в существующем здании.
Все несоответствия разделяются на три составляющие:
Архитектурно-планировочные решения здания;
Инженерное оборудование;
Материалы и конструкции.
Определение морального износа архитектурно-планировочного решения
выполняем в таблице 1.4.
Таблица 1.4 - Определение морального износа планировки
|
Наименование показателей
|
Нормативное значение
|
Фактическое значение
|
Отклонение от нормы
|
Моральный износ, %
|
|
1
|
2
|
3
|
4
|
5
|
|
1. Минимальная высота помещения
|
3,0м
|
3,6 и 3,1 м
|
Отсутствует
|
0%
|
|
2. Минимальная ширина дверных проемов
|
0,9м
|
0,9м и более
|
Отсутствует
|
0%
|
|
3. Ширина лестничного марша
|
1,2 и 0,9м.
|
2,5м и 0,9м.
|
Отсутствует
|
0%
|
|
4. Минимальное количество эвакуационных выходов - 2. Ширина
выхода
|
1,2м для общественных зданий с числом до 50 человек.
|
1,2м и 1,5м
|
Отсутствует
|
0%
|
|
5. Помещение для дежурного
|
3,5 м2
|
Отсутствует
|
Присутствует
|
1%
|
|
6. Наличие мероприятий входной группы для маломобильных
групп населения
|
Пандус, лифт
|
Не имеется
|
Присутствуют
|
3%
|
|
7. Наличие утепленных тамбуров на входе
|
Двойной тамбур
|
Не имеется
|
Присутствуют
|
30%
|
|
8.Оптимальная этажность здания
|
2 этажа - площадь свыше 1500 м2
|
Имеется
|
Отсутствует
|
0%
|
|
9. Минимальная площадь отдельных помещений
|
не менее 6 м2 (кроме санитарных узлов, тамбуров, лестниц в
подвал и т.п.)
|
Имеется
|
Отсутствует
|
0%
|
Отсутствие отдельных видов инженерного благоустройства выполнено в
табличной форме, таблица 1.5.
Таблица 1.5 - Моральный износ инженерного оборудования здания
|
Наименование показателей
|
Фактическое значение
|
Отклонение от нормы
|
Моральный износ, %
|
|
1
|
2
|
3
|
4
|
|
1.Отопление
|
Имеется
|
Отсутствует
|
0%
|
|
2.Горячее водоснабжение
|
Имеется
|
Отсутствует
|
0%
|
|
3. Наличие оборудования для маломобильных групп населения
|
Не имеется
|
Присутствует
|
1%
|
|
4.Наличие пожарной сигнализации
|
Не имеется
|
Присутствует
|
1%
|
|
5. Молниезащита
|
Не имеется
|
Присутствует
|
1%
|
|
6. Сеть Интернета
|
Не имеется
|
Присутствует
|
1%
|
|
7. Наличие электрооборудования
|
Имеется
|
Отсутствует
|
0%
|
|
8. Наличие электроосвещения
|
Имеется
|
Отсутствует
|
0%
|
|
9. Наличие устройства городской телефонной связи
|
Имеется
|
Отсутствует
|
0%
|
Основные строительные конструкции с пределами огнестойкости и классами
пожарной опасности обязаны соответствовать требуемому классу их конструктивной
пожарной опасности и степени огнестойкости. В помещениях зданий
административного назначения I и II степеней огнестойкости необходимо
предусматривать из трудногорючих или негорючих материалов. Моральный износ
составляет 30%.
Должны быть предусмотрены входы-выходы через тамбуры, которые в
оборудованыными воздушно-тепловыми завесами (в I, II-III климатических районах).
Наличие тамбуров только на одном входе. Моральный износ по данному пункту
составляет 30%.
У входа в здание отметка пола помещений должна быть выше отметки тротуара
перед входом не менее чем на 0,15 м. Моральный износ по данному пункту 0%.
Исследуемое здание соответствует всем требованиям, предъявляемым к
общественным зданиям, суммарный моральный износ составил 30%.
1.2.5 Заключение по моральному износу
По моральному износу реконструируемое здание относится к III группе. Отклонений от нормативных
требований к архитектурно-планировочному решению, а также к уровню инженерного
благоустройства нет.
1.3 Объемно-планировочные решения
Реконструируемое здание расположено по адресу: г. Череповец, проспект
Луначарского, дом 22.
Здание административного назначения, имеет Г-образную форму с размерами в
плане 46,6х25м. Высота этажа - 3,6м. Количество этажей - 2.
Здание нежилое, жесткой конструктивной схемы с продольными несущими
стенами из керамического кирпича. До реконструкции здание представляло собой
двухэтажное сооружение с подвалом.
В проекте реконструкции выполняется надстройка мансардного этажа, 3
пристройки к торцам здания, перепланировка первого и второго этажей, замена
перекрытий, замена лестниц, оконных и дверных заполнений, выполнение ремонтных
работ для бутобетонного фундамента, замена инженерных систем, устройство
металлической пожарной лестницы.
По проекту реконструкции на первом этаже здания будут располагаться:
столовая, кафе, подсобные помещения, склады, кухни, входы в подвал, гостиничные
номера; на втором - гостиничные номера, зимние сады, актовый зал, офисные
помещения, подсобные помещения; на мансардном этаже - гостиничные номера,
подсобные помещения и помещение для инженерного оборудования.
Пристраиваемые элементы - крыльца в осях 1-2 - А-В; 4-7 - А-Б; 8-11 -
А-В. Фундаменты под пристройки ленточные из блоков. Крыльцо в осях 8-11
оборудовано пандусом с уклоном 8% и ограждениями. В осях 6-8 - Е-Ж
осуществляется одноэтажная пристройка кухни со складами и маленькими цехами.
Фундаменты под пристройку - ленточные из блоков, пол по железобетонным
перекрытиям; покрытие пола - из наливного полимер-бетона.
Также, устраивается дополнительный эвакуационный выход - металлическая
пожарная лестница высотой 7,35м.
Проектом предусматривается устройство двух лестничных клеток из
железобетонных ступеней по металлическим косоурам.
.4 Конструктивные решения здания
.4.1 Конструктивные решения здания до
реконструкции
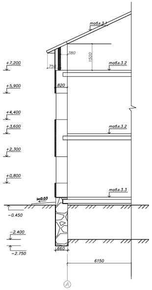
Фундамент - ленточный бутобетонный.
Стены из керамического кирпича, наружные стены толщиной - 640мм,
внутренние - 380мм.
Кровля - плоская по деревянным кровельным балкам.
Перекрытия и лестницы - деревянные.
Оконные заполнения - деревянные рамы, двери наружные - металлические,
внутренние - деревянные.
1.4.2 Конструктивные решения здания
предусмотренные проектом реконструкции
Конструктивная схема здания представляет собой кирпичное здание с
продольными несущими стенами и жестким монолитным диском перекрытий по
профилированному листу.
Фундаменты
В результате обследования бутобетонного фундамента существующего здания,
было обнаружено, что он находится в удовлетворительном состоянии, однако имеет
некоторые незначительные потери сечения, которые будут восстановлены в процессе
реконструкции путем замены отдельных бутовых камней, обмазкой старых швов новым
раствором. В заключительном этапе, после восстановления сечения фундамент
обмазать снаружи двумя слоями битумной мастики.
Фундаменты под пристраиваемые дополнительные объемы - ленточные из блоков
согласно [4] и [5]. Глубина заложения 1,5 м.
Стены
Наружные стены реконструируемого здания выполнены из керамического
кирпича и имеют толщину 640 мм. Внутренние - из керамического кирпича толщиной
380 мм.
Проектом реконструкции предусмотрено устройство навесного вентилируемого
фасада, конструкция которого состоит из трёх слоёв: из минераловатного
утеплителя, ветрозащиты, воздушной вентилируемой прослойки, и защитного слоя из
металлических фасадных кассет. Толщина утеплителя определяется по
теплотехническому расчету, согласно [6], [7], [8], который представлен в разделе
4.
Перегородки выполнены из керамического кирпича, толщиной 380мм и из
гипсокартона по металлическому каркасу по [9].
Перекрытия
Перекрытия представляют собой монолитную железобетонную плиту, по
металлическим балкам из швеллера с профилированным листом Н114-750-0,9 в
качестве несъемной опалубки. Толщина плит 130 мм. В каждой гофре
профилированного листа укладываются арматурные каркасы.
1.5 Теплотехнический расчёт
(Представлен в НАУЧНО-ИССЛЕДОВАТЕЛЬСКОМ РАЗДЕЛЕ)
1.6 Инженерное оборудование
.6.1 Отопление
Источник теплоснабжения - тепловой узел на 1 этаже с параметрами
теплоносителя - воды - 95/70 С. Система отопления двухтрубная. Магистральные
трубопроводы системы отопления прокладываются в изоляции в подготовке пола.
Система отопления выполнена трубой из сшитого полиэтилена "EVAL-PEX "
("WIRSBO", Германия).
Соединения трубопроводов выполнены на пресс-фитингах.
В качестве отопительных приборов приняты алюминевые радиаторы
"RoyalThermo Optimal", стальные панельные радиаторы Purmo
Регулирование теплоотдачи отопительных приборов осуществляется
термовентилями.
Монтаж вести в соответствии с требованиями [10].
1.6.2 Вентиляция
Воздухообмен по помещениям принят в соответствии c [11].
Для помещений реконструируемого здания запроектирована общеобменная
система приточно-вытяжной вентиляции с рекуперацией с механическим побуждением
(марки Dospel, VTS, Ostberg, Systemair, Korf, Арктика).
Нагрев приточного воздуха осуществляется водяными нагревателями. Система
вентиляции изготовляется и стальных оцинкованных воздуховодов и фасонных частей
по [12].
Воздуховоды приточной линии систем общеобменной вентиляции следует
покрыть тепловой изоляцией "Стизол" толщиной 5мм.
Для подачи свежего воздуха в помещения, его очистки, нагрева либо
охлаждения используются приточные и вытяжные установки производства Dospel.
В горячем цехе столовой запроектированы местные отсосы от
тепловыделяющего оборудования с установкой зонтов, а также приток свежего
воздуха посредством отдельной приточной системы (марки Ostberg, Systemair,
Титан, Арктика, Веза).
Системы вентиляции должны отключатся по сигналу пожарной сигнализации.
1.6.3 Кондиционирование
В офисных помещениях, в обеденном зале столовой и кафе предусмотрена
система кондиционирования: сплит-системы, мульти-сплит-системы (марок Gree,
Toshiba).
В производственных помещениях столовой (холодные и горячие цеха),
предусмотрены специальные кухонные кондиционеры (марки Mitsubishi Electric).
1.6.4 Электроосвещение
Естественное и искусственное освещение во всех производственных,
складских, санитарно - бытовых и административно - хозяйственных помещениях
соответствуют требованиям, предъявляемым к естественному и искусственному
освещению в [13].
Для освещения производственных и административных
помещений применяются светильники во влагопылезащитном исполнении (лампы
люминесцентные (Россия) ЛБ 20Вт).
Светильники общего освещения размещаются равномерно по помещению.
Светильники не размещаются над плитами, технологическим оборудованием,
разделочными столами. Осветительные приборы имеют защитную арматуру.
Показатели освещенности принимают согласно установленным нормам. Уровень
освещенности на рабочих местах - 200 Люкс, за барной стойкой - 300 Люкс, для
складских помещений и помещения персонала - 150 Люкс.
В проекте предусматриваются следующие виды освещения: общее рабочее,
аварийное (эвакуационное),наружное.
1.6.5 Заземление и молниезащита
Защита от поражения электрическим током в нормальном режиме
обеспечивается основной изоляцией используемого электрооборудования в
соответствии с паспортными данными и технической документации.
Для дополнительной защиты от прямого прикосновения к токоведущим частям
установок, расположенных в сырых помещениях, вне здания, а также розеток
предназначенных для подключения переносного электроинструмента и уборочных
механизмов используются дифференциальные автоматические выключатели с
номинальным отключающим дифференциальным током 30 мА.
Для защиты от поражения электрическим током в случае повреждения изоляции
применяются следующие меры защиты от косвенного прикосновения к токоведущим
частям:
защитное заземление;
автоматическое отключение питания;
уравнивание потенциалов.
Контур заземления вокруг здания. Вертикальные электроды - уголок
50х50х5мм длиной -3 м.
Горизонтальный электрод - полоса 40х4мм, глубина заложения 0.5 м.
Соединения между вертикальными и горизонтальными электродами сварные.
Контур заземления соединить сваркой с арматурой фундамента и токоотводами
от металлической кровли.
Уровень молниезащиты - III. Молниезащита осуществляется путем выполнения
молниезащитной сетки из арматуры диаметром 8 мм с шагом 12х12 метров,
соединяемой со всеми металлическими частями на кровле (лестницы, покрытие,
части вентиляционных систем).
1.7 Внешняя и внутренняя отделки
.7.1 Внешняя отделка
Исполнена в виде навесного вентилируемого фасада из металлических
фасадных кассет 535х535мм. Кровля -металлочерепица (t=0,5мм).
1.7.2 Внутренняя отделка
По перегородкам из гипсокартона:
затирка швов с применением армирующей ленты;
шпатлевка швов;
грунтовка;
обои, декоративная штукатурка, керамическая плитка, водоэмульсионная
краска.
По перегородкам из кирпича:
Штукатурка;
шпатлевка;
грунтовка;
декоративная штукатурка, обои, водоэмульсионная краска.
По потолку из гипсокартона:
затирка швов с применением армирующей ленты;
шпатлевка швов;
грунтовка;
обои, декоративная штукатурка, керамическая плитка, водоэмульсионная
краска.
Натяжные потолки - сатин глянцевый и матовый.
1.8 Благоустройство
территории
.8.1 Описание ситуационного
плана
Реконструируемое здание расположено в центральной
части города Череповец, по адресу: просп. Луначарского, д.22.
Здание имеет собственную территорию, ограниченную с
четырех сторон: с севера расположено ОАО «ЧереповецГаз», с запада - жилой
двенадцатиэтажный дом, с юга - проезжая часть ул. Милютина, с востока -
проезжая часть ул. Труда.
Прилегающая к зданию территория не имеет удобных
проездов для транспорта и площадок для отдыха населения.
Участок реконструируемого объекта имеет хороший доступ
для населения, так как расположен в центре города вблизи густонаселенных
микрорайонов. Доступ к автостоянкам, а также въезд и выезд на территорию
объекта осуществляется с улиц Милютина и Труда.
Согласно [14], [15], и [16] в проекте благоустройства
территории реконструируемого объекта предполагается устройство новых тротуаров,
проездов, пешеходных дорожек, автопарковок, площадок для отдыха населения, а
также площадки для погрузки/разгрузки различных грузов и площадки для мусорных
контейнеров. Планируется значительное озеленение территории путем посадки
деревьев, кустарников, газона и цветников.
Проект разработан в соответствии с [17].
1.8.2 Характеристика
территории
Рельеф благоустраиваемой территории - умеренно ровный,
с уклоном в западном направлении. Защита от оврагообразования, затопления и
подтопления не требуется.
Характеристика грунтов: основанием служат насыпной
грунт (песок гравелистый), мощностью 1,2-1,5м и расчетным сопротивлением
0,25МПа, а также суглинок легкий полутвердый (вскрытая мощность 8м) с расчетным
сопротивлением 0,35МПа. Уровень грунтовых вод составляет 3,2м от поверхности
насыпного грунта. Нормативная глубина промерзания грунта 1,5м. Расчетная
температура наружного воздуха наиболее холодной пятидневки -320С.
1.8.3 Устройство проездов,
дорожек, площадок
Характеристика элементов на проектируемой территории
Проезды на территорию здания приняты 6 и 4,6м для
свободного движения крупногабаритного транспорта с двухслойным асфальтобетонным
покрытием. Радиусы основных проездов 8м по внутренней кромке. Противопожарный
внутридворовой проезд с целью быстрой доступности может осуществляется с двух
сторон. Поперечный профиль двускатный, с уклоном 20 0/00.
Тротуар вдоль здания и улицы Труда шириной 2м
запроектирован совместно с велодорожкой шириной 1,2м из однослойного
асфальтобетона, с односкатным поперечным профилем с уклоном 20 0/00.
Пешеходная дорожка и площадка для отдыха посетителей
запроектированы шириной 2,9 м и 7,7 м соответственно из тротуарной плитки
размером 50х50см, с односкатным и двускатным поперечным профилем с уклоном 30
0/00.
Пешеходная дорожка перед главным входом в здание
запроектирована сложной формы, общей площадью 130м2 из природного камня, с
односкатным поперечным профилем с уклоном 30 0/00.
Проектом реконструкции предусматривается устройство
площадки для мусороуборочных контейнеров с навесом из профнастила высотой 1,8м,
с покрытием из двухслойного асфальтобетона с поперечным уклоном 20 0/00.
Площадки для парковки легковых автомобилей имеют
покрытие из полимерной решетки с посевом между ячейками газона, с уклоном 5
0/00.
Рекомендации по устройству оснований приведены
согласно [14].
Под тротуары, площади, проезды и пешеходные дорожки
нижние и средние слои щебеночных оснований следует принимать щебень фракцией
40-120 мм, а для верхних слоев - 40-70мм.
При устройстве оснований из щебня каждый слой щебня
рекомендуется уплотнять три раза
Шлаковые основания и покрытия должны иметь слой (в
уплотненном состоянии) не более 15 см. Перед распределением шлака по земляному
полотну его следует пролить водой. Уплотнение шлака производится в два этапа.
Материал нижних слоев песчаных, щебеночных оснований,
щебеночных покрытий должен укладываться «от себя». Перед распределением
материала по переувлажненной поверхности нарезаются водоотводные канавки,
глубиной не менее толщины переувлажненного слоя и шириной 20-25см. Грунт из
канавок удаляется за пределы покрытия.
Толщина расстилаемого слоя песка и щебня принимается
таким образом, чтобы не происходило выдавливания переувлажненного грунта через
поры распределяемого материала.
При устройстве песчаных, шлаковых и щебеночных
оснований проверяется качество материалов, толщина слоя основания (из расчета
один замер на 2000м2 покрытия), но не менее пяти промеров на всей площади
покрытия; степень уплотнения, планировка поверхности земляного полотна.
Устройство асфальтобетонных покрытий
Устройство покрытий из асфальтобетона должно
осуществляться только в сухую погоду, при этом основание под укладку должно
быть сухим и очищенным от грязи. Температура наружного воздуха при укладке
должна быть не ниже +50С весной и не ниже +100С осенью.
Ранее уложенный слой асфальтобетона за 3-5 часов до
начала укладки асфальтобетонной смеси обрабатывается жидким битумом из расчета
0,5 л/м2.
Для обеспечения бесшовности смежных полос, при укладке
асфальтобетонных смесей, асфальтоукладчики должны быть оснащены оборудованием
для разогрева кромок ранее уложенных полос асфальтобетона.
Асфальтобетонные покрытия из горячих смесей
уплотняются в два этапа.
Устройство покрытий из плитки из искусственного и
природного камня, полимерной решетки
Плитки из искусственного и природного камня укладывают
на песчаное основание. Не допускается наличие просветов основания при проверке
его контрольной рейкой или шаблоном.
Плотное прилегание плиток к основанию достигается
осадкой киянки при их укладке и погружении плитки в песок основания до 2 мм.
Межплиточные швы должны составлять не более 15 мм, вертикальные смещения в швах
между плитками должны быть не более 2 мм.
При устройстве покрытия из полимерной решетки на
уплотненное грунтовое основание укладывается слой щебня фракцией до 40 мм с последующим
уплотнением. Поверх щебеночного покрытия укладывается геотекстиль, который
засыпается слоем растительного грунта с семенами газона и мелкой щебенкой
(фракция 4-16 мм).
Покрытие из полимерной решетки укладывается поверх
неуплотненной смеси растительного грунта, с последующим ручным уплотнением
киянкой, а затем тяжелой механической трамбовкой.
После устройства покрытия его необходимо пролить водой
для начала роста растительности.
Выполнение стыков покрытий
Бортовые элементы при проведении работ по благоустройству
территории реконструируемого объекта:
бортовой камен марки БР 100.30.15 - межу проезжей
частью и прилегающей территорией (тротуары, газоны);
бортовой камен марки БР 100.20.8 - между тротуарами,
площадками и газонами.
Бортовые камни марки БР 100.30.15 следует
устанавливать на бетонном основании с присыпкой грунтом с наружной стороны или
укреплением бетоном. Борт должен повторять проектный профиль покрытия. В местах
пересечения дорожек, проездов устанавливаются криволинейные бортовые камни (устройство
прямолинейных бортовых камней радиусом менее 15 м не допускается). Швы между
камнями заполняются раствором и должны быть менее 10 мм.
Раствор для заполнения швов между бортовыми камнями
приготавливается на портландцементе марки 400 или больше и иметь подвижность,
соответствующую 5-6 см погружения стандартного конуса.
В местах пересечения пешеходных дорожек с тротуарами
бортовые камни необходимо заглублять с устройством плавных примыканий для
обеспечения свободного передвижения маломобильных групп населения, а также
пешеходов с детскими колясками, санками и прочим.
1.8.4 Малые архитектурные
формы на территории реконструируемого объекта
Проектом благоустройства территории предусматриваются
малые архитектурные формы декоративного назначения и утилитарного
использования.
Площадка для отдыха посетителей оснащена велопарковкой
на 7 мест, прямыми скамьями со спинками по индивидуальному проекту, рядом с
которыми расположены урны и светильники, декоративным ограждением от тротуара
высотой 1,2 м.
Площадка для отдыха персонала оснащена скамьями со
спинками и урнами.
Площадка для мусорных контейнеров оборудована навесом
крытого типа из профнастила по металлическому каркасу высотой 1,8 м.
Также к малым архитектурным формам относятся элементы
освещения, представленные уличными фонарями высотой 6м, расположенными по
периметру здания и вдоль основных улиц и парковыми фонарями-столбиками высотой
1,1 м, расположенными вдоль главного фасада здания и на площадке для отдыха
посетителей в цветнике.
Необходимо предусмотреть нормальную эксплуатацию малых
архитектурных форм, например, садово-парковая мебель, урны для мусора,
велопарковка, ограждение должны иметь хороший внешний вид: находиться в
исправном состоянии, быть окрашенными, содержаться в чистоте. Их цветовое
решение должно гармонировать с внешним обликом реконструируемого здания, а
также вносить в городскую застройку жизнерадостный колорит и разнообразие.
Конструктивные элементы, которыми оборудованы площадки для отдыха, должны
отвечать требованиям безопасности, прочности и надежности при эксплуатации.
1.8.5 Озеленение территории
Функции озеленения
Озеленение территории реконструируемого объекта играет
важную роль в санитарно-гигиеническом, художественном и противопожарном
отношении, поэтому функции озеленения весьма разнообразны. Кустарники и
деревья, высаженные на благоустраиваемой территории, служат естественным
фильтром и предохраняют от шума, вредных газов и пыли. Их можно эффективно
использовать в качестве элементов зонирования территории (например, в качестве живой
изгороди), а также для защиты от солнечной радиации. Также, деревья и
кустарники являются наиболее эффективными средствами борьбы с загрязнением
атмосферы вредными газами и болезнетворными микроорганизмами.
Характеристика зеленых посадок на
проектируемой территории
В настоящем проекте благоустройства территории
реконструируемого здания площадь зеленых насаждений составляет 907,6 м2.
Зеленые насаждения представлены следующими породами:
деревья (вяз гладкий, ива белая, ель «глаука глобоза»,
липа крымская);
кустарники (шиповник обыкновенный, можжевельник
казацкий, бирючина обыкновенная, кизильник блестящий, виноград девичий);
цветники из однолетних растений;
газон обыкновенный.
Способы посадки зеленых насаждений: одиночный,
групповой и рядовой.
Кустарники шиповник обыкновенный, бирючина
обыкновенная и кизильник блестящий хорошо поддаются стрижке, поэтому могут быть
декоративно оформлены и использованы в качестве живой изгороди. К тому же,
благодаря своей густоте они хорошо задерживают пыль, не пропускают неприятные
запахи и вредные газы. Эти кустарники используются в рядовой посадке.
Шиповник обыкновенный выполняет функцию живой
изгороди, отделяя тротуар от проезжей части.
Бирючина обыкновенная применена в качестве живого
ограждения площадки для мусорных контейнеров, так как в силу своей густоты
препятствует распространению неприятного запаха и хорошо защищает от
ультрафиолетового излучения, создавая естественную тень. Также, рядом с
площадкой для мусорных контейнеров осуществлена посадка белой ивы.
Цветники занимают небольшую территорию, поэтому
посадка осуществлена из однолетних трав. Цветники расположены вдоль главного
фасада здания и на площадке для отдыха посетителей.
Газон высаживается по всей территории благоустройства.
Устройство экопарковок перед главным фасадом и на
внутренней территории придает окружающей территории мягкий для восприятия
облик. К тому же, устройство экопарковок является хорошим решением дренажа, а
также препятствует распространению пыли и грязи протекторами шин
автотранспорта. По торцам экопарковки устроены клумбы под посадку можжевельника
казацкого для создания дополнительной выразительности.
Вдоль дороги по улице Труда осуществлена посадка вяза
гладкого. Это дерево, в силу густоты своей кроны, хорошо задерживает пыль и
шум, доносящийся с проезжей части.
Вдоль главного фасада, перед экопарковкой осуществлена
посадка липы крымской. Такой способ посадки хорошо отделяет зону парковки и
пешеходную зону.
На заднем дворе вдоль забора вы высажены кизильник
блестящий и виноград девичий.
Устройство скамеек для отдыха по индивидуальному
проекту осуществляется совместно с посадкой ели «глаука глобоза» в специальные
бетонные ниши, расположенные по торцам скамьи. Такой шаг придает дополнительную
архитектурную выразительность и декоративность элементам благоустройства.
Работы по озеленению территории
Работы по озеленению территории реконструируемого
объекта следует выполнять после уборки строительного мусора с территории,
расстилки растительного грунта, устройства дорожек, проездов, тротуаров,
площадок, оград.
Работы по расстилке растительного грунта необходимо
выполнять на больших территориях, выделяя под засыпку грунтом площади,
ограниченные проездами и площадками с твердым покрытием.
Места для посадки деревьев и кустарников следует
подготавливать заранее, чтобы посадочные места могли дольше подвергаться
воздействию атмосферы и солнца.
Для посадки саженцев с комом и стандартных саженцев
необходимо подготовить ямы глубиной 75-90 см и диаметром 60-80 см (размер ям
для посадки саженцев с комом должен быть на 0,5 м больше наибольшего размера
кома).
Кустарниковые растения высаживаются в ямы, глубиной 50
см, ямы для одиночных кустарников и лиан должны иметь диаметр 50 см.
Работы по озеленению территории необходимо производить
в зависимости от климатических условий района реконструкции.
Если доставленные на объект растения не имеют
упаковки, то их необходимо разгрузить в прикоп (если посадка не может быть
осуществлена сразу). Участок для прикопа растений следует располагать в
безветренном месте, а почва должна быть умеренно влажной.
Поврежденные ветви, корни перед посадкой срезают, а
срезы ветвей замазывают садовым варом.
При посадке саженцев в посадочные ямы необходимо
насыпать растительный грунт, корни саженцев следует обмакнуть в земляную жижу.
При посадке и засыпке землей необходимо устранять образование пустот между
корнями растения. Грунт следует уплотнять от кромок к центру.
Газоны необходимо устраивать на заранее подготовленном
растительном грунте, верхний слой перед посевом должен быть взрыхлен на глубину
8-10 см. Засев газона производится специальными сеялками для газонных трав. Для
уплотнения грунта после посева используют катки до 100 кг.
Посадка однолетних цветов осуществляется весной и
летом на заранее пробороненный и увлажненный грунт. После посадки рассаду
необходимо тщательно полить, а затем присыпать рассеянным перегноем или торфом.
Приемка элементов озеленения осуществляется с учетом
требований:
толщина слоя растительного грунта в местах его
расстилки должна быть не менее 10 см;
пригодность растительного грунта должна быть
подтверждена лабораторными анализами. Если в грунт вносились какие-либо
добавки, то это должно быть подтверждено записями в журнале производства работ;
посадочный материал, семена и рассада должны иметь
паспорта и карантинные свидетельства.
За качество работ по озеленению территории в
установленном для общестроительных работ порядке несет ответственность подрядная
организация.
1.8.6 Технико-экономические
показатели
Технико-экономические показатели участка
реконструируемого здания приводятся в табличной форме (таблица 1.1).
Таблица 1.6 - Технико-экономические показатели
|
Наименование
|
Единица измерения
|
Показатель
|
|
Площадь участка
|
м2
|
3971
|
|
Площадь застройки
|
м2
|
827,21
|
|
Площадь озеленения
|
м2
|
907,6
|
|
Площадь замощения
|
м2
|
2236,19
|
. ТЕХНИЧЕСКАЯ ЭКСПЛУАТАЦИЯ ЗДАНИЯ
2.1 Контроль технического состояния здания в
процессе эксплуатации
Контроль за техническим состоянием здания в течение всего периода
эксплуатации осуществляется путём проведения осмотров здания [18].
Главная цель осмотров состоит в том, чтобы установить возможные причины
возникновения дефектов и в дальнейшем выработать определенные меры для их
устранения. Плановые осмотры подразделяются на два вида:
общие, в ходе которых осуществляется осмотр здания в целом, который
проводится 2 раза в год весной и осенью до начала отопительного периода;
частичные, в ходе которых осуществляют осмотр отдельных элементов здания
и инженерного оборудования.
Частичные осмотры производятся в соответствии с таблицей 2.1.
Таблица 2.1 - Сроки проведения частичных осмотров
|
Элементы и помещения здания и объекта
|
Периодичность осмотров, мес.
|
Примечание
|
|
1
|
2
|
3
|
|
Крыши
|
3-6
|
|
|
Деревянные конструкции и столярные изделия
|
6 - 12
|
|
|
Каменные конструкции
|
12
|
|
|
Стальные закладные детали с антикоррозийной защитой
|
Через 15 лет, затем через каждые 3 года
|
|
|
Вентиляционные каналы
|
12
|
|
|
Внутренняя и наружная отделка
|
6-12
|
|
|
Полы
|
12
|
|
|
Перила и ограждающие решетки на окнах лестничных клеток
|
6
|
|
|
Системы водопровода, канализации, горячего водоснабжения
|
3-6
|
|
|
Системы центрального отопления: в основных функциональных
помещениях объектов коммунального и социально-культурного назначения
|
3-6
|
Осмотр проводится в отопительный период
|
|
в подвалах (подпольях), па лестницах
|
2
|
Осмотр проводится в отопительный период
|
|
Электрооборудование: Скрытая электропроводка и
электропроводка в стальных трубах светильники во вспомогательных помещениях
(на лестницах, в вестибюлях и пр )
|
6 3
|
|
|
Системы дымоудаления и пожаротушения
|
Ежемесячно
|
|
|
Лестницы, тамбуры, вестибюли, подвалы, чердаки и прочно
вспомогательные помещения объектов коммунального и социально-культурного
назначения
|
12
|
|
После ливней, ураганных ветров, обильных снегопадов проводят внеочередной
осмотр элементов зданий, а также в случае аварий на внешних линиях
оборудования, нарушающих условия нормальной эксплуатации.
При осмотрах проводят визуальный и инструментальный контроль
конструктивных элементов и инженерного оборудования.
Перечень элементов, конструкций и технических систем здания, подлежащих
инструментальному контролю в процессе плановых и внеочередных осмотров здания,
следует принимать по таблице 2.2.
Таблица 2.2 - Инструментальный контроль элементов здания
|
Конструкция и измеряемый параметр
|
Объем измерений
|
Периодичность
|
|
1
|
2
|
3
|
|
Отмостка
|
|
Уклон отмостки, %.
|
По периметру здания в пяти местах по каждой стороне фасада.
|
|
|
Основания и фундаменты
|
|
Деформации оснований Фундаментов.
|
По периметру здания.
|
По мере необходимости. Для жилых зданий, возведенных в
особых условиях (вечномерзлые грунты, закарстованные территории и др.),
периодичность устанавливается проектной организацией, но не реже 1 раза в
год.
|
|
Стены
|
|
Ширина раскрытия трещин.
|
Осмотр всего фасада с измерением наиболее заметных
повреждений.
|
|
|
Подвал (техподполье)
|
|
Температура и влажность воздуха.
|
В пределах одной секции
|
То же
|
|
Крыша
|
|
Температура и влажность воздуха в чердачном помещении.
|
В пределах одной секции.
|
Ежегодно при весеннем осмотре.
|
|
Лестничная клетка
|
|
Температура воздуха
|
В одной лестничной клетке на площадках первого, среднего и
последнего этажей.
|
То же
|
|
Деревянные конструкции и детали
|
|
влажность древесины, степень поражения дереворазрушающим и
грибками.
|
В одном из помещений или узлов конструкции подвергшихся
длительному увлажнению.
|
В период проведения сплошного обследования жилищного фонда.
|
|
Система отопления
|
|
Температура наружного воздуха. Температура воды в
подающем трубопроводе тепловой сети. То же, в обратном трубопроводе
Температура воды в подающем трубопроводе
|
В районе здания. На узле теплового ввода (теплового
пункта) до смесительного устройства (при его наличии) или после вводной
задвижки . На узле теплового ввода (теплового пункта) после смесительного
устройства (при его наличии) или перед вводной задвижкой. На узле теплового
ввода (теплового пункта) после
|
2 раза в год, при весеннем и осеннем (при пробном пуске)
осмотрах То же То же
|
|
системы отопления. Температура полотенцесушителей.
Свободный напор у водоразборных кранов Качество тепловой изоляции
разводящей и циркуляционной магистралей, стояков и теплотехнического
оборудования То же, в обратном трубопроводе Температура поверхности
отопительных стояков у оснований (верхнего и нижнего). Температура
поверхности отопительных приборов Температура поверхности подводок (подающих
и об ратных) к отопительным приборам. Температура воздуха в отапливаемых
помещениях Давление в подающем трубопроводе тепловой сети. То же, в
обратном.
|
теплового пункта стояках. То же В квартирах верхнего этажа
на наиболее удаленных от теплового пункта стояках На узле теплового ввода
(теплового пункта), чердак, техническое подполье (подвал), контрольные
квартиры устройства (при его наличии) На узле теплового ввода (теплового
пункта) до смесительного устройства (при его наличии) Все стояки. По два
замера с интервалом 5 мин. В контрольных квартирах То же То же На
узле теплового ввода (теплового пункта) до смесительного устройства (при его
наличии) или после вводной задвижке. На узле теплового ввода (теплового
пункта) после смесительного устройства (при его наличии) или перед вводной
задвижкой
|
То же То же То же То же То же То же То же
То же То же То же То же.
|
|
Давление в подающем трубопроводе системы отопления То же, в
обратном Качество тепловой изоляции поводящей магистрали главного стояка и
теплотехнического оборудования (по проекту)
|
На узле теплового ввода (теплового пункта) после
смесительного устройства. На узле теплового ввода (теплового пункта) до
смесительного устройства. Чердак или техническое подполье (технический
чердак) в зависимости от конструкции системы отопления (с верхней или нижней
разводящей магистралью); лестничная клетка, канал штроба и т. п. (в
зависимости от места прокладки главного стояка по проекту)
|
То же То же То же
|
|
Система холодного водоснабжения
|
|
Давление в подающем трубопроводе. Свободный напор у
водоразборных кранов
|
На узле ввода. В квартирах верхнего этажа на наиболее
удаленных от ввода стояков
|
То же То же
|
|
Система горячего водоснабжения
|
|
Температура воды в подающей магистрали тепловой сети То
же, в обратном трубопроводе Температура горячей воды, подаваемой на
водоразбор Температура циркуляционной воды. Температура сливаемой воды из
водоразборных кранов.
|
В местном тепловом пункте здания. Четыре замера с
интервалом 1 ч То же На выходе из водонагревателей II ступени или на вводе в здание То же, у нижних
оснований циркуляционных стояков. Контрольные квартиры и квартиры на
наиболее удаленных от ввода в здание.
|
2 раза в год, при весеннем и осеннем (при пробном пуске)
осмотрах. То же. То же. То же. То же, а в последующие годы 1 раз в год.
|
Работы, которые выполняются в ходе технических обходов и осмотров
помещений зданий и отдельных элементов:
устранение незначительных неисправностей в системах водопровода и
канализации;
устранение незначительных неисправностей в системах центрального
отопления и горячего водоснабжения;
устранение незначительных неисправностей электротехнических устройств;
прочистка канализационного лежака;
проверка исправности канализационных вытяжек;
проверка наличия тяги в дымовентиляционных каналах;
проверка заземления ванн;
- промазка суриковой замазкой свищей, участков гребней стальной кровли и
др.;
- проверка заземления оболочки электрокабеля, замеры сопротивления
изоляции проводов;
осмотр пожарной сигнализации и средств тушения в домах.
Работы, выполняемые при подготовке жилых зданий к эксплуатации в
весенне-летний период:
промывка и опрессовка системы центрального отопления;
ремонт просевших отмосток;
Работы, выполняемые при подготовке зданий к эксплуатации в осенне-зимний
период:
-утепление оконных проемов;
замена разбитых стекол окон и дверей;
утепление входных дверей;
утепление трубопроводов в подвальных помещениях;
- ремонт, регулировка и испытание систем центрального отопления;
- утепление и прочистка дымовентиляционных каналов;
- проверка состояния продухов в цоколях зданий;
- ремонт и укрепление входных дверей.
Работы, выполняемые при проведении частичных осмотров:
промазка гребней и свищей суриковой замазкой или
другой мастикой в местах протечек кровли;
проверка наличия тяги в дымовых и вентиляционных
каналах;
смена прокладок в водопроводных кранах, уплотнение
сгонов;
прочистка внутренней канализации;
- прочистка сифонов;
- укрепление расшатавшихся сантехприборов в местах их
присоединения к трубопроводу;
- набивка сальников в вентилях, кранах, задвижках;
укрепление трубопроводов;
проверка канализационных вытяжек;
мелкий ремонт изоляции;
протирка электролампочек, смена перегоревших
электролампочек в лестничных клетках и подпольях;
устранение мелких неисправностей электропроводки;
смена (исправление) штепсельных розеток и
выключателей;
смена перегоревших фонарей наружного освещения;
устранение неисправностей полов (замена отдельных
плиток, заделка трещин, затирка швов).
Прочие работы:
- регулировка и наладка систем центрального отопления;
то же вентиляции;
промывка и опрессовка системы центрального отопления;
очистка и промывка водопроводных кранов;
- регулировка и наладка систем автоматического управления
инженерным оборудованием;
- подготовка зданий к праздникам;
озеленение территории, уход за зелеными насаждениями;
удаление с крыш снега и наледей;
очистка кровли от мусора, грязи, листьев;
- уборка и очистка придомовой территории;
- уборка помещений;
мытье окон, полов, лестничных маршей, площадок, стен,
удаление пыли и т.д. в лестничных клетках;
удаление мусора из здания и его вывозка;
поливка тротуаров и замощенной территории.
2.2 Проведение текущих и капитальных ремонтов
Проведение текущих и капитальных ремонтов для реконструированных зданий
согласно таблице 2.3.
Таблица 2.3 - Минимальная продолжительность эффективной эксплуатации
зданий
|
Виды жилых и общественных зданий по материалам основных
конструкций
|
Продолжительность, лет
|
|
до постановки на текущий ремонт
|
до постановки на кап. ремонт
|
|
1
|
2
|
3
|
|
Здания со стенами из кирпича, естественного камня и т.п. с
деревянными перекрытиями; деревянные со стенами из прочих материалов и
нормальными условиями эксплуатации (жилые дома и здания с аналогичным температурно-влажностным
режимом основных функциональных помещений).
|
2-3
|
10-15
|
2.2.1 Рекомендации по проведению текущего
ремонта здания
Текущий ремонт здания - ремонт здания целью которого является
восстановление работоспособности его конструкций, систем инженерного
оборудования и поддержания эксплуатационных показателей (согласно [19]).
Реконструируемое здание относится к III группе капитальности.
Текущий ремонт должен проводиться с периодичностью, которая обеспечит
успешную эксплуатацию здания с момента завершения его строительства до момента
постановки на очередной капитальный ремонт. При этом должны быть учтены
природно-климатические условия, конструктивные решения, техническое состояние и
режим эксплуатации здания или объекта.
Продолжительность проведения текущего ремонта определяется по таблице 2.4
с учётом площади здания после реконструкции, которая составляет 2024,14 м2.
Таблица 2.4 - Укрупненные нормативы продолжительности
текущего ремонта жилых домов
|
Вид текущего ремонта
|
Единица измерения
|
Прод-сть,
дн
|
Прод-сть текущего ремонта, дн
|
|
1
|
Плановый
|
1000 м2 общей площади
|
22
|
45
|
|
2
|
Подготовка к эксплуатации в весенне-летний период (с учетом
наладочных работ)
|
То же
|
5
|
11
|
|
3
|
Подготовка к эксплуатации в зимний период
|
То же
|
8
|
17
|
Перечень работ выполняемых при текущем ремонте:
а) Фундаменты и стены подвальных помещений:
заделка и расшивка стыков, швов, трещин,
восстановление местами облицовки фундаментных стен со стороны подвальных
помещений, цоколей;
устранение местных деформаций путем перекладки и
усиления стен;
восстановление отдельных гидроизоляционных участков
стен подвальных помещений;
пробивка (заделка) отверстий, гнезд, борозд;
усиление (устройство) фундаментов под оборудование,
(вентиляционное, насосное);
смена отдельных участков ленточных, столбчатых фундаментов
иди стульев под деревянными зданиями, зданий со стенами из прочих материалов;
устройство (заделка) вентиляционных продухов,
патрубков;
ремонт приямков, входов в подвал;
замена отдельных участков отмосток по периметру
зданий;
герметизация вводов в подвальные помещения и
технические подполья;
установка маяков на стенах для наблюдения за
деформациями.
б) Стены:
восстановление облицовки и перекладка отдельных
участков кирпичных стен площадью до 2 м2, заделка трещин, расшивка швов;
пробивка или заделка отверстий, борозд, гнезд;
восстановление отдельных простенков, перемычек,
карнизов;
устранение сырости, продуваемости;
постановка на раствор отдельных выпавших камней;
утепление промерзающих участков стен в отдельных
помещениях;
ремонт и прочистка вентиляционных каналов и вытяжных
устройств.
в) Перекрытия:
заделка выбоин и трещин в железобетонных конструкциях.
г) Крыши:
усиление элементов деревянной стропильной системы, в
частности смена отдельных стропильных ног, подкосов, участков прогонов, стоек,
лежней, мауэрлатов и обрешетки;
антисептирование, а также противопожарная защита
деревянных конструкций;
укрепление и замена водосточных труб и мелких покрытий
архитектурных элементов по фасаду;
укрепление и замена парапетных решеток, элементов
пожарной лестницы, стремянок, гильз, ограждений крыш, устройств заземления,
анкеров, радио- и телеантенн и др.;
замена или ремонт выходов на крышу, слуховых окон и
специальных люков;
очистка кровли от снега и наледи.
д) Оконные и дверные заполнения, светопрозрачные
конструкции:
смена, восстановление отдельных элементов, частичная
замена оконных, дверных заполнений;
постановка доводчиков, пружин, упоров и пр.;
замена разбитых стекол, стеклоблоков.
е) Перегородки:
укрепление, усиление, смена отдельных участков
гипсокартонных перегородок;
заделка трещин в кирпичных перегородках, перекладка
отдельных участков;
улучшение звукоизоляции перегородок;
ж) Лестницы, крыльца, козырьки над входами:
заделка выбоин, трещин ступеней и площадок, а также
замена отдельных ступеней, проступей, подступенков;
частичная замена и укрепление металлических перил,
элементов крылец;
частичная или полная замена поручней лестничных
ограждений;
ремонт входной группы (входной блок, тамбур) ежегодно.
з) Полы:
замена отдельных участков покрытия полов;
замена гидроизоляции полов в отдельных санитарных
узлах с полной сменой покрытия;
заделка выбоин, трещин в бетонных полах.
и) Внутренняя отделка:
восстановление декоративной штукатурки стен отдельными
местами;
восстановление облицовки стен керамической и другой
плиткой отдельными местами;
восстановление и укрепление лепных порезок и розеток,
карнизов;
все виды штукатурно-малярных работ во всех помещениях,
кроме жилых, в которых они производятся нанимателем.
к) Наружная отделка:
укрепление или снятие с фасада угрожающих падением
архитектурных деталей, облицовочных плиток;
восстановление домовых знаков и наименование улиц.
л) Центральное отопление
смена отдельных участков трубопроводов, секций
отопительных приборов, запорной и регулирующей арматуры;
установка (при необходимости) воздушных кранов;
гидравлическое испытание и промывка системы;
промывка отопительных приборов (по стояку) и в целом
систем отопления;
регулировка и наладка систем отопления.
м) Вентиляция:
смена отдельных участков и устранение неплотностей
вентиляционных коробок, шахт, камер, воздуховодов;
замена вентиляторов, воздушных клапанов и другого
оборудования;
ремонт и замена дефлекторов;
ремонт и наладка систем автоматического пожаротушения,
дымоудаления.
н) Водопровод и канализация, горячее водоснабжение:
уплотнение соединений, устранение течи, укрепление
трубопроводов, смена отдельных участков трубопроводов, фасонных частей,
сифонов, трапов, ревизий, гидравлическое испытание системы, ликвидация засоров,
прочистка дворовой канализации, дренажа;
смена отдельных водоразборных кранов, смесителей,
душей запорной арматуры;
замена внутренних пожарных кранов;
ремонт и замена отдельных насосов и электромоторов
малой мощности;
антикоррозийное покрытие, маркировка;
ремонт или замена регулирующей арматуры;
промывка систем водопровода, канализации;
замена контрольно-измерительных приборов.
о) Электротехнические и слаботочные устройства:
замена неисправных участков электрической сети здания,
а также устройство новых;
замена вышедших из строя выключателей, штепселей, розеток
и др. (кроме жилых квартир);
замена вышедших из строя светильников, а также
оградительных огней и праздничной иллюминации;
замена предохранителей, автоматических выключателей,
пакетных переключателей вводно-распределительных устройств, щитов, электроплит;
замена и установка фотовыключателей, реле времени и
других устройств автоматического или дистанционного управления освещением
зданий;
замена электродвигателей и отдельных узлов
электроустановок технических устройств;
замена приборов учета;
замена или установка автоматических систем контроля за
работой центрального отопления внутридомовых сетей связи и сигнализации, КИП и
др.;
подключение технических устройств зданий к ОДС;
ремонт или устройство сетей радио, телефонизация и
установка телеантенн коллективного пользования общественных зданий;
восстановление цепей заземления;
замена вышедших из строя датчиков, проводки и
оборудования пожарной и охранной сигнализации.
п) Внешнее благоустройство:
восстановление разрушенных участков тротуаров,
проездов, дорожек и площадок;
ремонт, укрепление, замена отдельных участков
ограждений, мусорных ящиков, площадок и навесов для контейнеров-мусоросборников
и т. д.
р) Прочие работы:
укрепление и устройство металлических решеток,
ограждающих окна подвальных помещений, козырьков над входами в подвал;
укрепление и установка домовых знаков,
флагодержателей;
устройство и ремонт замочно-переговорных устройств;
наладка всех видов внутридомового оборудования.
2.2.2 Рекомендации по
проведению капитального ремонта в здании
Капитальный ремонт здания - ремонт здания с целью, восстановления его
ресурса с заменой при необходимости конструктивных элементов и систем
инженерного оборудования, а также улучшения эксплуатационных показателей.
Капитальный ремонт подразделяется на комплексный капитальный
ремонт и выборочный.
а)Комплексный капитальный ремонт - это ремонт с
заменой конструктивных элементов и инженерного оборудования и их модернизацией.
Он включает работы, охватывающие всё здание в целом или его отдельные секции,
при котором возмещается их физический и функциональный износ.
б)Выборочный капитальный ремонт - это ремонт с полной или частичной
заменой отдельных конструктивных элементов зданий и сооружений или
оборудования, направленные на полное возмещение их физического и частично функционального
износа.
Капитальные ремонты подразделяются на плановые и внеочередные.
Плановый капитальные ремонт в зависимости от объема выполняемых работ
может быть комплексный и частичный.
Комплексные капитальные ремонты для реконструируемого объекта должны
проводиться через 15-20 лет в соответствии с [19].
Минимальные сроки эксплуатации элементов здания приведены в таблице 2.5
согласно [19]
Таблица 2.5 - Минимальная продолжительность эффективной эксплуатации
элементов здания
|
Наименование элементов
|
Нормативный срок службы, лет
|
Срок службы до капремонта, лет
|
|
1
|
2
|
3
|
|
Конструктивные элементы и внутренняя отделка зданий
|
|
1. Фундаменты - Бутобетонные
|
150
|
50
|
|
2. Стены - кирпичные
|
125
|
50
|
|
3. Перекрытия - монолитные железобетонные
|
150
|
80
|
|
4. Полы -Линолеум; -Плитка керамогранит; - Бетонные с
полимерным покрытием; - Паркет
|
20 80 30 50
|
5 30 30 20(15)
|
|
5. Лестница из сборных Ж/Б элементов по металлическим косоурам
|
150
|
40
|
|
6. Крыша - сропила деревянные
|
60
|
50
|
|
7. Кровля - профнастил с полимерным покрытием
|
40
|
20
|
|
8. Наружный водоотвод - водосточные трубы по фасаду из
оцинкованной стали
|
8
|
8
|
|
9. Перегородки: -кирпичные; - гипсокартонные межкомнатные С112
«KNAUF» серия 1.031.9-2.07 (1 класса
защиты)
|
50 50
|
|
10. Окна и двери Оконные заполнения: - пластиковые переплеты
Дверные заполнения: - входные: стеклянные с ПВХ каркасом - внутренние:
деревянные
|
20 40 50
|
20 30 40
|
|
11.Внутренние отделочные работы: -керамическими плитками
-штукатурка с последующей окраской -оклейка обоями улучшенного качества с
последующей окраской
|
30 60 15
|
30 30 4
|
|
12. Отделка фасадов - навесной вентилируемый фасад с
облицовкой металлическими кассетами
|
50
|
15
|
|
Инженерное оборудование
|
|
13. Центральное отопление, горячее водоснабжение: -нагревательные приборы,
радиаторы; - конвекторы; - трубопроводы горячей воды; - изоляция
трубопроводов; - смесители; - вентили и краны из латуни; - трубопроводы
(стояки); - трубопроводы (магистрали); - задвижки - вентили
|
40 30 30 10 10 20 30 1 10 10
|
25 25 15 10 8 12 25 10 8 8
|
|
14. Водопровод и канализация: -трубопроводы чугунные (канализация) -водоразборные
краны -трубопроводы оцинкованные (водопровод) -туалетные краны -умывальники
керамические -унитазы керамические -задвижки и вентили из чугуна -водомерные
узлы
|
40 15 30 5 5 20 15 40
|
30 5 25 5 10 10 10 10
|
|
15.Электрооборудование - скрытая электропроводка -
вводно-распределительные устройства - внутренние сети при скрытой проводке
|
30 30 30
|
20 20 15
|
|
16. Вентиляция: вытяжные каналы
|
30
|
30
|
|
17. Крыльца бетонные с бетонными ступенями
|
15
|
15
|
|
|
|
|
В процессе проведения капитального ремонта могут выполняться следующие
виды работ:
- не зависимо от периода проведения, осуществляется
обследование здания, а также изготовление проектно-сметной документации;
- ремонтно-строительные работы по смене,
восстановлению или замене элементов зданий (кроме полной замены каменных и
бетонных фундаментных несущих стен и каркасов);
- работы по улучшению теплозащитных свойств
ограждающих конструкций, устройство оконных заполнений с тройным остеклением,
устройство наружных тамбуров);
- замена внутриквартальных инженерных сетей;
-авторский надзор проектных организаций за проведением
капитального ремонта здания с полной или частичной заменой перекрытий и
перепланировкой;
- ремонт встроенных помещений в здании.
. РАСЧЕТНО-КОНСТРУКТИВНЫЙ РАЗДЕЛ
3.1 Проверочный расчёт существующих фундаментов
.1.1 Общая характеристика конструкции фундамента
Фундаменты существующего здания ленточные бутобетонные, передающие
нагрузку на грунт основания. В основании фундаментов залегают грунты: насыпной
грунт - гравелистый песок и суглинок лёгкий полутвёрдый. Глубина заложения
фундамента 2.4 м.
3.1.2 Расчетные сечения для проверки фундамента
Для определения и проверки несущей способности существующих фундаментов
согласно [20] и [21] выбраны следующие сечения:
сечение 1-1 - по наружной несущей стене здания по оси А;
сечение 2-2 - по внутренней несущей стене здания по оси В
Схема расчётного сечения 1-1 и 2-2 представлена на рисунке 3.1 и 3.2
соответственно.
Рисунок 3. 1 - Расчетное сечение 1-1
Рисунок 3.2 - Расчётное сечение 2-2
3.1.3 Сбор нагрузок от покрытия и перекрытий
сечений 1-1 и 2-2
Сбор нагрузок выполняют в табличной форме - таблицы 3.1-3.3
Здание относится к нормальному уровню ответственности [1] поэтому
коэффициент γn,
учитывающий уровень ответственности, равен 1, и в дальнейших расчетах
учитываться не будет.
Здание административно-офисное, относится к IV снеговому району, расчетная снеговая нагрузка Sg = 2,4 кПа.
Таблица 3.1 - Сбор нагрузок на покрытие сечения 1-1 и 2-2
|
Нагрузка
|
qн , кН/м2
|
γf
|
q кН/м2
|
|
1
|
2
|
3
|
4
|
|
ПОСТОЯННАЯ
|
|
1. Металлочерепица «Монтеррей» t=0,5 мм, ρ=7800 кг/м3 0,5(10-3)∙7800∙10=39
Н/м2
|
0,039
|
1,05
|
0,041
|
|
2. Обрешетка (сосна), ρ=500 кг/м3, h=100мм, b=30мм. 30(10-3)∙5000∙0,8=120 Н/м2
|
0,12
|
1,1
|
0,132
|
|
3. Стропильная нога (сосна) ρ=500 кг/м3, h=175мм, b=100мм, n=1000мм
175(10-3)∙ 0,1∙5000∙1∙2=175 Н/м2
|
0,175
|
1,1
|
0,193
|
|
4. Минераловатный утеплитель RockWool Лайт Баттс t=170мм, ρ=37
кг/м3 170(10-3) ∙37∙
10=63Н/м2
|
0,063
|
1,2
|
0,076
|
|
5. Пароизоляция 0,002∙6=0,012 кН/м2
|
0,012
|
1,2
|
0,014
|
|
6.Гипсокартон (сухая штукатурка) - 2 слоя t=20мм., ρ=800
кг/м3 20(10-3) ∙800∙
10=160Н/м2
|
0,16
|
1,2
|
0,192
|
|
ИТОГО ПОСТОЯННАЯ
|
0,569
|
|
0,648
|
|
ВРЕМЕННАЯ
|
|
5. Снеговая нагрузка 1,68
|
1,4
|
2,35
|
|
|
ИТОГО ПОСТОЯННАЯ +ВРЕМЕННАЯ
|
2,249
|
|
2,998
|
Таблица 3.2 - Сбор нагрузок на междуэтажное перекрытие сечения 1-1 и 2-2
|
Нагрузка
|
qн кН/м2
|
γf
|
q кН/м2
|
|
1
|
2
|
3
|
4
|
|
ПОСТОЯННАЯ
|
|
1.Линолиум Синтерос t=2мм; ρ=800 кг/м3 2(10-3) ∙ 800∙
10=16 Н/м2
|
0,016
|
1,2
|
0,019
|
|
2. Цементно-песчаная стяжка t=20мм; ρ=1800 кг/м3 20(10-3)∙1800∙10=360
Н/м2
|
0,36
|
1,3
|
0,468
|
|
3. Монолитный бетон В20 t=100мм; ρ=2500 кг/м3 100(10-3)∙2500∙10=2500Н/м2
|
2,5
|
1,3
|
3,25
|
|
4. Стальной профилированный лист Н 114-750-0.9 t=0.9мм; ρ=7800
кг/м3 1(10-3)∙7800(10-2)=0,070
кН/м2
|
0,070
|
1,05
|
0,074
|
|
5. Металлические балки № 24П P=0,235 кН/м2
|
0,235
|
1,05
|
0,247
|
|
6. Вес перегородок
|
0,5
|
1,2
|
0,57
|
|
ИТОГО ПОСТОЯННАЯ
|
3,682
|
|
4,63
|
|
ВРЕМЕННАЯ
|
|
6. От людей, мебели и оборудования
|
2,0
|
1,3
|
2,6
|
|
ИТОГО ПОСТОЯННАЯ + ВРЕМЕННАЯ
|
5,682
|
|
7,23
|
Таблица 3.3 - Сбор нагрузок на перекрытие первого этажа сечения 1-1 и 2-2
|
Нагрузка
|
qн кН/м2
|
γf
|
q кН/м2
|
|
1
|
2
|
3
|
4
|
|
ПОСТОЯННАЯ
|
|
1. Паркет t=22мм;
ρ=500
кг/м3 22(10-3)∙500∙10=110Н/м2
|
0,110
|
1,1
|
0,132
|
|
2. Цементно-песчаная стяжка t=20мм; ρ=1800 кг/м3 20(10-3)∙1800∙10=360
кН/м2
|
0,36
|
1,3
|
0,468
|
3.
Техноплекс 35-25 t=100мм,
|
0,0351,20,042
|
|
|
|
|
4. Пароизоляция 0,003∙600∙10=0,018 кН/м2
|
0,018
|
1,2
|
0,02
|
|
5. Монолитный бетон В20 tприв=100мм; ρ=2500 кг/м3 100(10-3)∙2500∙10=2500
Н/м2
|
2,5
|
1,3
|
3,25
|
|
6. Стальной профилированный лист Н 114-750-0.9 t=0.9мм; ρ=7800
кг/м3 0.9 (10-3)∙7800(10-2)=0,070
кН/м2
|
0,070
|
1,05
|
0,074
|
|
7. Металлические балки № 24П с шагом 1,25 м; P=0,235 кН/м2
|
0,235
|
1,05
|
0,247
|
|
8. Вес перегородок
|
0,5
|
1,2
|
0,57
|
|
ИТОГО ПОСТОЯННАЯ
|
3,829
|
|
4,804
|
|
ВРЕМЕННАЯ
|
|
7. От людей, мебели и оборудования
|
3,0
|
1,3
|
3,6
|
|
ИТОГО ПОСТОЯННАЯ + ВРЕМЕННАЯ
|
6,829
|
|
8,404
|
3.1.4 Сбор нагрузок по сечениям
Сбор нагрузок по сечению 1-1
а) Постоянная нагрузка от покрытия и перекрытий в сечении 1-1:
нормативное значение нагрузки от покрытия и перекрытий:
Нормативное значение нагрузки от покрытия:
,
(3.1)
где
- нормативное значение постоянной нагрузки из таблицы
3.1.
Расчётное
значение нагрузки от покрытия:
(3.2)
где
- расчётное значение постоянной нагрузки из таблицы
3.1.
Нормативное
значение нагрузки от перекрытия:
(3.3)
где
,
-
нормативные значения постоянной нагрузки из таблицы 3.2, 3.3.
Расчётное значение нагрузки от перекрытия:
, (3.4)
где g2, g3, - расчетные значения постоянной нагрузки из таблиц
3.2, 3.3;
l - длина пролёта, м
Итого
нормативное значение постоянной нагрузки от покрытия и перекрытия:
(3.5)
Итого расчётное значение постоянной нагрузки от покрытия и перекрытия:
(3.6)
б) Временная нагрузка от покрытия и перекрытий в сечении 1-1:
Нормативная временная нагрузка от покрытия:
, кН/м
(3.7)
где
- нормативное значение временной нагрузки из таблицы
3.1.
Нормативная
временная нагрузка от перекрытия:
(3.8)
где
,
-
нормативные значения временной нагрузки из таблицы 3.2, 3.3.
Итого
временная нормативная нагрузка от покрытия и перекрытия:
(3.9)
где
- коэффициент вероятности одновременного действия
нагрузок, определяемый по формуле:
, (3.10)
где
n - количество междуэтажных перекрытий, шт;
a -
безразмерный коэффициент, для общественных зданий равен 0,3
;

Расчётная
временная нагрузка от покрытия:
(3.11)
где
- расчётное значение временной нагрузки из таблицы
3.1.
Расчётная
временная от перекрытия:
(3.12)
где
,
-
расчётные значения временной нагрузки из таблицы 3.2, 3.3.
27,06
Итого
временная расчётная от покрытия и перекрытия:
(3.13)

=23,86
Нагрузка
от стены в сечении 1-1:
Для
определения нагрузки на стену, определим коэффициент остекления. Конструкция
наружной стены сечения приведена на рисунке 3.3. Схема для определения
коэффициента остекления k0 приведена
на рисунке 3.4.
Рисунок
3.3 - Конструкция наружной стены сечения 1-1
k0
- безразмерный коэффициент остекления, определяем по формуле:
(3.14)
где bok1 ,bok.2 - ширина соседних оконных проемов, м;
Нэт
- высота этажа, м;
hok - высота оконного проема, м;
bпрост - расстояние между центрами оконных проемов, м.
Рисунок 3.4 - Схема для определения коэффициента остекления
На
мансардном этаже проемы отсутствуют, в расчетах берем
Нормативная
нагрузка от стены определяется по формуле:
(3.15)
Расчетная
нагрузка от стены определяется по формуле :
(3.16)
Нагрузка
от фундамента в сечении 1-1:
Расчетное
значение нагрузки:
(3.17)
где
Hф -
расстояние от обреза до подошвы фундамента в сечении 1-1, м;
δф - толщина фундаментных блоков, м ;
ρф - плотность материала фундамента, принимаем равной 18
кН/м3;
N4=0,66∙2,75∙18000∙1∙1,1=35,94
кН/м.
Нормативное значение нагрузки:
, (3.18)
N4n =0,66∙2,75∙18000∙10=32,67
кН/м;
Рассчитываем полную нагрузку по сечению 1-1
Нормативная: N1-1=ΣN=35,85+18,64+80,56+32,67=167,72 кН/м;
Расчетная: N1-1=ΣN=41,36+23,86+88,7+35,94=189.86кН/м.
Сбор нагрузок по сечению 2-2
Нагрузка от кровли
Нормативная нагрузка от кровли:
(3.19)
где
- это полное нормативное значение нагрузки на покрытие из
таблицы 3.1.
Расчётная нагрузка от кровли:
(3.20)
где
- полное расчётное значение нагрузки на покрытие из таблицы
3.1.
Также необходимо учесть нагрузку от стойки, ригеля и конькового бруса:
Нагрузка от стойки
Нормативная:
(3.21)
Расчётная:
(3.22)
Нагрузка от ригеля
Нормативная:
(3.23)
Расчётная:
(3.24)
Нагрузка от конькового бруса:
Нормативная:
(3.25)
Расчётная:
(3.26)
Полная нагрузка от кровли
Нормативная:
(3.27)
Расчётная:
(3.28)
Нагрузка от перекрытий
Нормативная:
(3.29)
53.51
Расчетная:
(3.30)
63,
Нагрузка от стены
Нормативная:
(3.31)
Расчетная:
(3.32)
Нагрузка от фундамента:
Нормативная:
(3.33)
Расчетная:
(3.34)
Полная нагрузка по сечению 2-2
Нормативная:
(3.35)
146,43
Расчетная:
(3.36)
3.1.5 Учет уплотнения основания при определении
ширины подошвы фундамента в реконструируемом здании
Реконструируемое здание 1937 года постройки. Фактический срок службы 79
лет, поэтому за этот срок под фундаментом произошло уплотнение грунта, что
привело к повышению несущей способности основания.
Геологические испытания, проведенные на территории реконструируемого
объекта, выявили следующие инженерно-геологические элементы (ИГЭ):
насыпной грунт (ИГЭ-1) - песок гравелистый, с включением гальки и
строительного мусора (современные технологические отложения). Вскрытая мощность
- 1,5 м;
Инженерно-геологический разрез грунта, а также его нормативные и
расчетные характеристики и схема расположения геологических скважин для отбора
проб грунта приведены на рисунках 3.5 - 3.6.
Рисунок 3.5 - Инженерно-геологический разрез грунта
Рисунок 3.6 - Схема расположения геологических скважин для отбора проб
грунта
Для проверки несущей способности фундамента необходимо найти требуемое
значение ширины его подошвы, а затем сравнить его с фактическим значением.
(3.37)
где
Nн -
нормативное значение нагрузки по сечению;
γ - вес грунта на уступах, принимается равным 20 кН/м3;
H1 - расстояние от подошвы фундамента до пола подвала;
R0 - расчетное сопротивление грунта, кПа
Требуемая
ширина подошвы фундамента по сечению 1-1:
Требуемая
ширина подошвы фундамента по сечению 2-2:
Таким
образом, несущая способность фундаментов по сечениям 1-1 и 2-2 обеспечена,
усиления фундамента не требуется.
Однако
при проведении работ по обследованию фундамента перед началом реконструкции
было выявлено, что с течением времени произошла потеря сечения фундамента,
поэтому его необходимо восстановить - произвести замену отдельных камней, а
также обмазать швы новым прочным раствором. После восстановления фундамент
обмазать 2 слоями битумной мастики.
3.1.6 Расчет осадки фундамента (сечение 1 - 1)
Полученные
значения ординат эпюры природного давления и вспомогательной эпюры наносим на
геологический разрез (см. рис. 3.4). Ординаты эпюры дополнительного давления
определяем по формуле (2.13); значение
находим
по табл. 1 приложения I [20]. Вычисление ведем в табличной форме (таблица 3.5).
Таблица
3.5 - Значения ординат эпюры дополнительных давлений
|
|
|
|
|
Слой основания
|
|
|
1
|
2
|
3
|
4
|
5
|
|
|
0 0,25 0,50 0,75 1,00 1,25 1,50 1,75 2,00 2,25 2,50 2,75
3,00 3,25 3,50 3,75 4,00 4,25 4,50 4,75 5,00 5,25 5,50
|
0 0,25 0,50 0,75 1,00 1,25 1,50 1,75 2,00 2,25 2,50 2,75
3,00 3,25 3,50 3,75 4,00 4,25 4,50 4,75 5,00 5,25 5,50
|
1 0.987 0.953 0.893 0.818 0.741 0.670 0.608 0.550 0.504
0.463 0.427 0.397 0.369 0.346 0.325 0.306 0.290 0.275 0.261 0.249 0.237 0.227
|
254 250 242 226 207 188 170 154 139 128 117 108 100 93 87
82 77 73 69 66 63 60 57
|
II
|
|
|
5,75 6,00 6,20
|
5,75 6,00 6,20
|
0.217 0.208 0.202
|
55 52 51
|
|
|
|
|
|
|
|
|
|
|
Давление на границах пластов основания вычисляются интерполяцией.
Полученные значения ординат эпюры наносим на геологический разрез. В точке
пересечения эпюры дополнительных давлений со вспомогательной эпюры находим
нижнюю границу сжимаемой толщи. Т.к. пересечения нет, то Hc = 6,2 м. Сжимаемую толщу по высоте
разбиваем на слои таким образом, чтобы в пределах каждого слоя был грунт
одинаковой сжимаемости.
Осадка каждого слоя:
см (3.37)
где
b - безразмерный коэффициент равный 0,8;
szp,i - среднее значение доп. нормального напряжения в i-ом
слое грунта;
hi и Ei -
соответственно толщина и модуль деформации i-ого слоя
грунта;
n - число слоев,
на которое разбита сжимаемая толща основания в пределах Hакт.
Толщину
грунта ниже подошвы фундамента разбиваем на условные слои hi ,
соблюдая условие: hi
0,4b
(3.38)
Основание
на большую глубину сложено однородным грунтом - суглинком, поэтому при его
расчленении на элементарные слои не нужно учитывать границы между различными
инженерно-геологическими элементами szq,0 - вертикальное напряжение от собственного веса
грунта на уровне подошвы фундамента.(z=0)
к Па
(3.39)
где
gi -
удельный вес грунта расположенного выше подошвы;
hi - толщина
слоя.
Дополнительное
(вертикальное) напряжение в грунте под подошвой фундамента по формуле:
(3.40)
где
Р- среднее давление под подошвой фундамента.
Ординаты
эпюры природного давления и вспомогательной эпюры
на
поверхности земли:
;
Рисунок
3.6 - К расчёту осадки по методу элементарного суммирования:
-
эпюра природного давления грунта; 2 - эпюра дополнительного давления; 3 - вспомогательная
эпюра.
на
контакте I и II слоев (глубина 1,5 м):
0,2
в
II слое (глубина 8,5 м):
,2
Дополнительные вертикальные напряжения в грунте для различных глубин zi откладываемых от подошвы фундамента
определяем по формуле:
(3.41)
где
a - коэффициент, принимаемый по табл. 1, приложение 1
[20] для ленточного фундамента
Средняя осадка:
м (3.42)
0.018м.
Осадка II слоя:
Полная
осадка фундамента:
, что допустимо, т. к. s < |s|
= 10 см.
3.2 Устройство и расчёт монолитного
перекрытия
.2.1 Расчет монолитного участка МУ-1
Расчёт монолитных железобетонных плит с применением СПН выполняется для
стадии эксплуатации.
Предварительно принят стальной профилированный лист H 114-750-0.9.
По табличным данным для расчёта определены момент сопротивления и момент
инерции, которые соответственно равны: Wх=57,4 см3, Iх=345,2 см.4
Длина монолитного участка равна 1,39 м.
Сбор нагрузки на профилированный лист на стадии эксплуатации приведён в
таблице 3.6
Таблица 3.6 - Сбор нагрузки на профилированный лист на стадии
эксплуатации
|
Нагрузка
|
qн , кН/м2
|
γf
|
q кН/м2
|
|
1
|
2
|
3
|
4
|
|
ПОСТОЯННАЯ
|
|
1.Линолиум Синтерос t=2мм; ρ=800 кг/м3 2(10-3) ∙ 800∙
10=16 Н/м2
|
0,016
|
1,2
|
0,019
|
|
2. Цементно-песчаная стяжка t=20мм; ρ=1800 кг/м3 20(10-3)∙1800∙10=360
Н/м2
|
0,36
|
1,3
|
0,468
|
|
3. Монолитный бетон В20 t=100мм; ρ=2500 кг/м3 100(10-3)∙2500∙10=2500Н/м2
|
2,5
|
1,1
|
2,75
|
|
4. Стальной профилированный лист Н 114-750-0.9 ρ=7800
кг/м3,t=0.9 мм; 0,0009 ∙78=0,078кН/м2
|
0,07
|
1,05
|
0,074
|
|
5. Вес перегородок
|
0,5
|
1,2
|
0,57
|
|
ИТОГО ПОСТОЯННАЯ
|
3,446
|
|
3,881
|
|
ВРЕМЕННАЯ
|
|
6. От людей, мебели и оборудования
|
2,0
|
1,2
|
2,4
|
|
ИТОГО ПОСТОЯННАЯ + ВРЕМЕННАЯ
|
5,446
|
|
6,281
|
Определяем расчётную погонную нагрузку:
,
(3.43)
где
- расчетная временная погонная нагрузка на профнастил,
кН/м2;
- расчетная постоянная погонная нагрузка на профнастил,
кН/м2;
В-шаг второстепенных балок
Определяем нормативную погонную нагрузку:
,
(3.44)
где
- нормативная временная погонная нагрузка на профнастил,
кН/м2;
- нормативная постоянная погонная нагрузка на профнастил,
кН/м2;
Максимальный момент, действующий на профнастил:
,
(3.45)
где q - распределенная нагрузка на профнастил;
l
- длина настила.
Проверяем прочность изгибания настила по формуле:

, Мпа
(3.46)
где
Mх - момент,действующий на настил,кН;- минимальный момент инерции
профилированного листа,м3;- расчетное сопротивление стали (Сталь С245),МПа;
γn - коэффициент надежности по нагрузке.

240 Мпа
Условие
выполняется.
Прогиб
профнастила от нормативной нагрузки определяется как для балки с моментом инерции
:
,
(3.47)
где
Ix - момент сопротивления, см4
E - модуль
упругости стали, МПа;
-
нормативная постоянная погонная нагрузка на профнастил, кН/м2
Условие
выполняется, принимаем профилированный настил Н 114-750-0.9.
3.2.2 Расчет металлической балки Б4
Для
монолитного перекрытия принимаем предварительно металлические балки из
горячекатаного швеллера с параллельными гранями полок № 22П по [24]. Длина
балки составляет 2,9м. Поперечное сечение швеллера приведено на рисунке 3.7.
Рисунок
3.7 - Поперечное сечение металлической балки под профнастил
Основные
размеры:
h - 220 мм; b -
82 мм; S - 5,4 мм; t - 9,5 мм; F -
26.70 см2; масса 1 м - 21,0 кг; Ix- 2120,0 см4; Wx- 193,0 см3.
Таблица
3.7- Сбор нагрузки на балку Б8
|
Нагрузка
|
qн , кН/м2
|
γf
|
q кН/м2
|
|
1
|
2
|
3
|
4
|
|
ПОСТОЯННАЯ
|
|
1.Линолеум Синтерос t=2мм; ρ=800 кг/м3 2(10-3) ∙ 800∙
10=16 Н/м2
|
0,016
|
1,2
|
0,019
|
|
2. Цементно-песчаная стяжка t=20мм; ρ=1800 кг/м3 20(10-3)∙1800∙10=360
Н/м2
|
0,36
|
1,3
|
0,468
|
|
3. Монолитный бетон В20 t=100мм; ρ=2500 кг/м3 100(10-3)∙2500∙10=2500Н/м2
|
2,5
|
1,1
|
2,75
|
|
4. Стальной профилированный лист Н 114-750-0.9 ρ=7800
кг/м3,t=0.9 мм; 0,0009 ∙78=0,078кН/м2
|
0,07
|
1,05
|
0,074
|
|
5. Металлические балки № 24П P=0,235 кН/м2
|
0,235
|
1,05
|
0,247
|
|
6. Вес перегородок
|
0,5
|
1,2
|
0,57
|
|
ИТОГО ПОСТОЯННАЯ
|
3,68
|
|
4,13
|
|
ВРЕМЕННАЯ
|
|
6. От людей, мебели и оборудования
|
2,0
|
1,2
|
2,4
|
|
ИТОГО ПОСТОЯННАЯ + ВРЕМЕННАЯ
|
5,68
|
|
6,53
|
Определяем нормативную и расчетную погонные нагрузки
по формулам 3.43 и 3.44:
м
м,
Расчет производим по I
группе предельных состояний.
Изгибающий максимальный момент в середине балки находим по формуле 3.45:
Нормативная поперечная сила в балке:
, кН
, (3.48)
где
qн
-нормативная погонная нагрузка на балку, кН/м;
l - длина
балки, м.
Расчетная
поперечная сила в балке:
(3.49)
где
q- расчетная погонная нагрузка на балку, кН/м;
Рисунок
3.8 - Эпюры M и Q
Найдём
требуемый момент сопротивления сечения по формуле:
(3.50)
где
Мmax - максимальный изгибающий момент, кНм;
Ry - расчетное сопротивление
стали, МПа;
С1 - безразмерный коэффициент, который учитывает
развитие пластических деформаций;
-
коэффициент надежности по материалу.
Далее,
производим расчет по II группе предельных состояний.
Находим
требуемый момент инерции сечения:
(3.51)
Прогиб
находим по формуле 3.42, при [ f / l ] = 1/200.
Условие
выполняется, следовательно принимаем балку №22П
3.2.3 Расчет арматуры с учетом временной нагрузки
По
расчету, принят профнастил Н 114-750-0.9.
Рисунок
3.9- Размеры профлиста H 114-750-0.9
Рисунок
3. 10 - Положение границы сжатой зоны в тавровом сечении изгибаемого
железобетонного элемента в полке
Рисунок
3.11 - Положение границы сжатой зоны в тавровом сечении изгибаемого
железобетонного элемента в ребре
Рисунок
3.12 - Размеры таврового сечения
Параметры
заданного сечения:
;
;
;
;
.
Бетон
класса В20, расчетное сопротивление осевому сжатию Rb=11,5 МПа.
Арматура
класса А400, расчетное сопротивление Rs=355 МПа.
Для
определения площади сечения арматуры определяем предварительно нагрузку,
которая воспринимается тавровым сечением:
(3.52)
где
и
- расчетная и временная нагрузка (табл. 3.7)
Максимальный изгибающий момент (по формуле 3.45):
Расстояние от поверхности перекрытия до растянутой арматуры (h0) определяется разностью:
(3.53)
где
а - расстояние от нижней поверхности перекрытия до растянутой арматуры, мм.
Несущую
способность и ее сравнение с изгибающим моментом определяем по формуле:
(3.54)
где
Rb - расчетное сопротивление бетона осевому сжатию, МПа.
Граница
сжатой зоны проходит в полке, расчет производим как для прямоугольного сечения
шириной
Определяем
процент армирования:
(3.55)
где
- коэффициент граничного значения высоты сжатой зоны
бетона.
Таким
образом, по расчету сжатая арматура не требуется.
Искомая
площадь поперечного сечения растянутой арматуры:
(3.56)
Принимаем
стержень d=10 мм (Аs = 0,785
см2).
Таблица
3.8- Спецификация арматурных изделий на монолитное перекрытие на отметке +7.2
м.
.
НАУЧНО-ИССЛЕДОВАТЕЛЬСКИЙ РАЗДЕЛ
4.1 Разработка мероприятий по наружному утеплению стен
.1.1 Причины ухудшения теплозащитных свойств
наружных стен зданий
Эксплуатация жилых домов с пониженными теплозащитными свойствами
ограждающих конструкций ухудшает условия проживания людей, а также требует
дополнительного расхода тепла.
Как показывает практика эксплуатации зданий и проведенные ЦНИИЭП жилища
инструментально-визуальные обследования жилых домов, построенных в разных
регионах страны, промерзание наружных стен наблюдается в зданиях:
кирпичных;
крупноблочных;
крупнопанельных;
монолитных.
Причины ухудшения теплозащитных свойств кирпичных стен:
превышение объемной массы кирпича по сравнению с расчетными значениями;
нарушение технологии кладки (особенно в зимний период);
низкая морозостойкость лицевого слоя;
наличие в кирпиче известковых включений;
применение некачественного раствора и керамических изделий (кирпича и
облицовочных плиток), изготовленных с нарушением технологии;
эксплуатационных недостатков (например: намокание стен в результате
поднятия капиллярной влаги из-за нарушения гидроизоляции или повреждения
желобов и водосточных труб);
уменьшение теплозащитных свойств теплоизоляционного материала
многослойных стен, в связи с раструктуризацией утеплителя;
несовершенство расчетов.
4.1.2 Пути повышения теплозащитных свойств
наружных стен при реконструкции здания
Проблема промерзания стен решается путем укладки дополнительной
теплоизоляции. Благодаря этому повышается сопротивление теплопередачи стены до
величины, при которой не происходит выпадения конденсата водяных паров.
Для получения экономического эффекта в повышение теплозащиты стен
сопротивление теплопередач необходимо увеличить в 2-3 раза.
В соответствии с [10], [11], [12] выполнен теплотехнический расчет,
который показал недостаточность теплоизоляционных свойств существующей
конструкции, в процессе реконструкции будет наружное утепление стен.
В выпускной квалифицированной работе в качестве наружного утепления стен
используется устройство навесного вентилируемого фасада. Фасады этого типа
представляют собой конструкцию, в которой между утеплителем и защитной
облицовкой расположена вентилируемая воздушная прослойка.
В холодное время года водяные пары, диффундирующие из помещения наружу,
попадают в утепляющий слой и вызывают повышение влажности утеплителя, что
влечет за собой снижение его теплозащитных характеристик. Благодаря наличию
вентилируемой воздушной прослойки влага не задерживается в толще утеплителя, а
удаляется из нее восходящим потоком воздуха. Такая конструкция фасада позволяет
стенам круглый год оставаться в сухом состоянии и сохранять высокие
теплозащитные качества.
До реконструкции была выполнена кирпичная конструкция наружной стены из
кирпича М100 толщиной 640 мм.
4.1.3 Сравнение утеплителей для наружной стены
Для сравнения берем два вида утеплителей: ROCKWOOL FACADE LAMELLATM и ISOVER ВЕНТИ. Произведём теплотехнический расчёт каждого
утеплителя.
а) Теплотехнический расчет утеплителя ROCKWOOL FACADE LAMELLATM
Теплотехнический расчёт ограждающей конструкции выполнен по СНиП
23-02-2003 «Тепловая защита зданий», СП 23-101-2004 «Проектирование тепловой
защиты зданий», СНиП 23-01-99* «Строительная климатология», в программе ТеРеМОК
0.8.5 / 0118 © 2005-2015 Дмитрий Чигинский.
Определить требуемую толщину слоя в конструкции Наружной стены в
Общественном, административном или бытовом здании, расположенном в городе
Череповец (зона влажности - Нормальная).
Расчетная температурой наружного воздуха в холодный период года,_ext =
-32 °С;
Расчетная средняя температура внутреннего воздуха здания, tint = 20 °С;
Средняя температура наружного воздуха отопительного периода,= -4.1 °С;
Продолжительность отопительного периода, zht = 231 сут.;
Нормальный влажностный режим помещения и условия эксплуатации ограждающих
конструкций - Б.
Коэффициент, учитывающий зависимость положения наружной поверхности
ограждающих конструкций по отношению к наружному воздуху, n = 1;
Коэффициент теплоотдачи наружной поверхности ограждающей конструкции, α_ext
= 23 Вт/(м²·°С);
Коэффициент теплоотдачи внутренней поверхности ограждающей конструкции, α_int
= 8.7 Вт/(м²·°С);
Нормируемый температурный перепад, Δt_n = 4.5 °С;
Нормируемое значение сопротивления теплопередаче,_req = 2.87 м²·°С/Вт;
Заданные слои:
. Кирпич глиняный обыкновенный на цементно-песчаном растворе,
ρ = 1800 кг/м³;
Вт/(м·ºC); t=640 мм;
.
Минераловатные плиты FACADE LAMELLATM, ρ = 100 кг/м³;
Вт/(м·ºC).
Толщина
искомого слоя, t = 95 мм;
Суммарная
толщина конструкции, ∑t = 735 мм;
Принимаем толщину утеплителя 100 мм.
б) Теплотехнический расчет утеплителя ISOVER ВЕНТИ
Теплотехнический расчёт ограждающей конструкции выполнен по СНиП
23-02-2003 «Тепловая защита зданий», СП 23-101-2004 «Проектирование тепловой
защиты зданий»,
СНиП 23-01-99* «Строительная климатология», в программе ТеРеМОК 0.8.5 /
0118 © 2005-2015 Дмитрий Чигинский.
Определить требуемую толщину слоя в конструкции Наружной стены в
Общественном, административном или бытовом здании, расположенном в городе
Череповец (зона влажности - Нормальная).
Расчетная температурой наружного воздуха в холодный период года,_ext =
-32 °С;
Расчетная средняя температура внутреннего воздуха здания,= 20 °С;
Средняя температура наружного воздуха отопительного периода,= -4.1 °С;
Продолжительность отопительного периода,= 231 сут.;
Нормальный влажностный режим помещения и условия эксплуатации ограждающих
конструкций - Б.
Коэффициент, учитывающий зависимость положения наружной поверхности
ограждающих конструкций по отношению к наружному воздуху, n = 1;
Коэффициент теплоотдачи наружной поверхности ограждающей конструкции, α_ext
= 23 Вт/(м²·°С);
Коэффициент теплоотдачи внутренней поверхности ограждающей конструкции, α_int
= 8.7 Вт/(м²·°С);
Нормируемый температурный перепад, Δt_n = 4.5 °С;
Нормируемое значение сопротивления теплопередаче,_req = 2.87 м²·°С/Вт;
Заданные слои:
. Кирпич глиняный обыкновенный на цементно-песчаном растворе,
ρ = 1800 кг/м³;
Вт/(м·ºC); t=640 мм;
.
Минераловатные плиты ISOVER ВЕНТИ, ρ = 115 кг/м³;
Вт/(м·ºC).
Суммарная
толщина конструкции, ∑t = 713 мм;
Принимаем толщину утеплителя 80мм.
Сравнение утеплителей по некоторым характеристикам:
Таблица 4.1 - Сравнение показателей утеплителей
|
Наименование утеплителя
|
Сопротивление теплопередаче
|
Толщина, мм
|
Коэффициент теплопроводности
|
Удельный вес, кг/м3
|
Влагопоглощение, кг/м2
|
Степень горючести
|
Срок эксплуатации
|
|
1. FACADE LAMELLATM
|
2,91
|
100
|
0,051
|
100
|
<1
|
НГ
|
50
|
|
2.ISOVER ВЕНТИ
|
2,99
|
80
|
0,039
|
115
|
<1
|
НГ
|
50
|
По результатам сравнения в ВКР принимаем утеплитель ISOVER ВЕНТИ, т.к. толщина утеплителя,
коэффициент теплопроводности меньше, и сопротивление теплопередаче больше.
Наружное утепление стен выполняется по конструкции, представленной на рисунке
4.1.
Рисунок 4.1 - Устройство навесного вентилируемого фасада; 1 - кирпичная
стена; 2 - кронштейн с дюбелем и доборной скобой; 3 - вертикальная
направляющая; 4 - тарельчатый дюбель; 5 - утеплитель; 6 - ветрозащита; 7 -
металлические фасадные кассеты
Монтаж кронштейнов, утеплителя, направляющих профилей и фасадной плитки
представлен на рисунке 4.2.
Рисунок 4.2 - Монтаж кронштейнов, утеплителя, направляющих профилей и
фасадной плитки
. БЕЗОПАСНОСТЬ ЖИЗНЕДЕЯТЕЛЬНОСТИ
5.1 Разработка рекомендаций по технике
безопасности при организации работ по усилению фундамента
Разработка ведётся в соответствии с [25], [26].
5.1.1 Мероприятия, обеспечивающие безопасные и
здоровые условия труда при действии аэрозолей преимущественно фиброгенного
характера
- к работам в котловане допускаются лица совершеннолетнего возраста,
которые в обязательном порядке прошли аттестацию и инструктаж и имеют допуск к
данному виду работ;
работающие должны иметь индивидуальные средства защиты (защита органов
дыхания и зрения), а также должны быть обеспечены спецодеждой и обувью;
работы лучше проводить при высокой влажности окружающего воздуха, для
того, чтобы в воздухе было минимальное количество пылевых частиц.
5.1.2 Мероприятия, обеспечивающие безопасные и
здоровые условия труда при действии инфразвука
Для того чтобы избежать повреждения органов слуха работники должны
использовать личные средства защиты - беруши и (или) защитные наушники.
5.1.3 Мероприятия, обеспечивающие безопасные и
здоровые условия труда при действии вибраций
- работы, выполняющиеся из положения стоя следует выполнять на специальных
опорных плитах - виброзащитных подставках;
инструментов, которые вызывают вибрацию, должны быть специальные
виброзащитные рукоятки (силиконовые, резиновые);
для индивидуальной защиты рук необходимо использовать виброзащитные
рукавицы, на ладонной части у которых располагается упругодемпфирующий элемент;
для индивидуальной защиты ног нужно применять особую виброзащитную обувь
- резиновые сапоги с упругодемпфирующими стельками;
для рабочих, которые трудятся на тяжелой технике возможно внедрение виброзащитных
виброизоляционных кресел.
5.1.4 Мероприятия, обеспечивающие безопасные и
здоровые условия труда при неблагоприятных параметрах микроклимата:
- во избежание чувства усталости и дискомфорта рабочие должны одеваться в
соответствии с погодными условиями, а также следить чтоб обувь и рабочая одежда
были сухими, использовать головной убор, особенно в летнее время;
необходимо производить перерывы через определенный промежуток времени в
условиях жары/холода для проветривания/обогрева рабочих;
если работы проводятся в летний период на открытом воздухе при сильном
дожде, необходимо их прекратить до его завершения.
5.1.5 Мероприятия, обеспечивающие безопасные и
здоровые условия труда при неблагоприятных параметрах световой среды:
- при чрезмерном потоке прямых солнечных лучей для избежания
переутомленности глаз и угрозы ожога сетчатки глаза необходимо в качестве
защиты применять солнцезащитные очки;
при недостаточном естественном освещении необходимо устройство
искусственного освещения чтобы избежать напряженной работы глаз. Его нужно
предусмотреть так, чтобы оно не доставляло дискомфорта и не мешало
производственному процессу.
5.1.6 Мероприятия, обеспечивающие безопасные и
здоровые условия труда при неблагоприятных действии раздражающих, токсичных и
канцерогенных веществ:
- во избежание проникновения в тело человека токсичных, канцерогенных и
раздражающих веществ через слизистые, органы дыхания, оболочки или
желудочно-кишечный тракт должны быть предусмотрены средства индивидуальной
защиты. К ним относятся: защитные очки и защитные маски (респираторы,
противогазы);
во избежание проникновения веществ через кожные покровы (раны, царапины и
прочее) необходимо проследить, чтобы все участки тела, с которым возможен
контакт вредного вещества, были закрыты спецодеждой или обувью;
при проведении работ с токсичными веществами необходимо предусмотреть
постоянное проветривание рабочего места либо проводить работы в ветреную
погоду.
5.1.7 Мероприятия, обеспечивающие безопасные и
здоровые условия труда при стропальных и погрузочно-разгрузочных работах:
- застропованные грузы можно поднимать только после его правильного
крепления по сигналу, который подаст стропальщик;
стропальными и погрузочно-разгрузочными работами необходимо заниматься в
защитной каске и в защитных рукавицах;
запрещено раскачивать поднятые грузы, стоять на них или под ними;
грузы должны перемещаться плавно, без резкости в движениях во избежание
их падения.
5.1.8 Мероприятия, обеспечивающие безопасные и
здоровые условия труда при антикоррозионной обработке арматуры и бетона:
- чтобы исключить соприкосновение вредного вещества с кожными покровами,
необходимо производить работы в спецодежде а также в рукавицах или перчатках;
во избежание попадания в глаза раствора, рекомендовано использовать
защитные очки;
респиратор поможет защитить от воздействия вредных паров;
если всё-таки вредное вещество попало на кожу, контактный участок тела
необходимо промыть теплой водой с мылом.
5.1.9 Мероприятия, обеспечивающие безопасные и
здоровые условия труда при использовании транспортных средств:
- к управлению транспортным средством допускаются только совершеннолетние
лица, которые в обязательном порядке прошли инструктаж и непосредственно
имеющие право на управление данным средством или его использование;
при работе на бульдозере/экскаваторе необходимо знать, где в рабочей зоне
располагаются рабочие, внимательно следить за их перемещением;
при применении пневматического инструмента нужно использовать
индивидуальные средства защиты, которые защитят рабочего от вибрации, пыли,
инфразвука и т.д.
5.1.10 Мероприятия, обеспечивающие безопасные и
здоровые условия труда при электросварочных работах:
- к сварочным работам допускаются лица, достигшие возраста 18 лет,
которые имеют квалификацию сварщика и в обязательном порядке прошедшие
инструктаж;
электросварочные работы необходимо производить в сварочном спецкостюме и
специальных перчатках-крагах. Для защиты глаз обязательно используется
сварочная маска;
необходимо заземление сварочного аппарата;
запрещается производить сварочные работы в сырую дождливую погоду;
не допускается проведение сварочных работ вблизи горючих веществ,
легковоспламеняющихся материалов и жидкостей, кислородных и газовых баллонов и
т.д.
5.1.11 Мероприятия, обеспечивающие безопасные и
здоровые условия труда при разборке элементов сооружения:
- работы по разборке производить достаточно аккуратно при гарантии
неразрушения и сохранения целостности конструкции;
не допускается производить работы по разборке смежных частей фундамента
или одновременно по параллельным осям;
обязательно при работе использовать средства индивидуальной защиты и
дополнительные средства защиты, предохраняющих от ушибов и других травм во
время разборки каменных частей фундамента;
разобранные части фундамента, камни, арматуру в рабочей зоне необходимо
убрать на площадку для складирования строительного мусора.
. ЭКОЛОГИЧЕСКИЙ РАЗДЕЛ
6.1 Учет экологических требований при
проектировании зданий общественного назначения
На стадии планирования, проектирования, размещения, строительства
основное значение приобретают следующие направления:
установление нормативов качества окружающей среды: предельно допустимых
концентраций загрязняющих веществ в воздухе, воде и почве; предельно допустимых
уровней вредных физических воздействий: шума, вибрации, вредных излучений,
магнитных полей и др.;
проведение государственной, а при необходимости и общественной,
экологической экспертизы проектов размещения, строительства хозяйственных
объектов, внедрения новых технологий, оборудования, материалов, продукции и т. д.;
осуществление строительства предприятий и прочих объектов в соответствии
с действующими природоохранными, санитарными, строительными и другими нормами и
правилами, предотвращающими вредное влияние этой деятельности на окружающую
среду.
Планировка и строительство предприятий и других объектов должны
осуществляться с соблюдением требований охраны окружающей природной среды,
экологической безопасности и санитарных правил, с учетом состояния территорий
городских и сельских поселений и ограничений в области экологической
безопасности, установленных территориальными комплексными схемами охраны
природы и природопользования, а также с учетом последствий вредного воздействия
хозяйственной и иной деятельности на окружающую природную среду и здоровье
человека.
Жилые
массивы, промышленные предприятия и другие объекты должны размещаться таким
образом, чтобы исключить неблагоприятное воздействие на здоровье населения и
санитарно-бытовые условия жизни горожан. При осуществлении градостроительной
деятельности предусматриваются различные виды благоустройства территорий
<#"903035.files/image196.gif"> (7.1)
где 1,06 - коэффициент, учитывающий отпуска и невыходы рабочих по
болезни;
Ni - количество работников (основных, ИТР, МОП и т.д.)
29.68 =
30 чел.
7.11 Расчет потребности в ресурсах
Электроэнергия при реконструкции расходуется:
на питание силовых потребителей;
технологические нужды;
внутреннее освещение зданий и сооружений;
наружное освещение строительной площадки, дорог и т.д.
Требуемая мощность трансформаторной подстанции:
(7.2)
где 1,1 - коэффициент, учитывающий потери в сети;
к1, к2, к3, к4 - коэффициенты спроса, учитывающие несовпадение нагрузок
(к1 = 0,36 - среднее для механизмов; к2 = 0,7; к3 = 0,8; к4 = 1);
- сумма
мощностей силовых потребителей, кВт;
- сумма
мощностей аппаратов, участвующих в технологических процессах, кВт;
- сумма
мощностей приборов внутреннего и наружного освещения, кВт;
-
коэффициенты мощностей, зависящие от загрузки потребителей (
).
Таблица
7.1 - Потребители энергии на строительной площадке
|
Наименование
|
Мощность, кВт
|
|
1
|
2
|
|
Силовые потребители: Грузовой подъемник Компрессор с
пневмомолотом Технологические потребители: - вибратор глубинный ИЭ-4502 -
сварочный аппарат TELWIN Nordica 4.220 - электрокраскопульт СО-61 -
растворонасос СО-496 - виброрейка СО-47 Наружное освещение: - прожектор ИСУ
02-5000 Внутреннее освещение: - помещения временные
|
2,5 5,5 0,4 3,5 0,27 4,0 0,6 5 20,9
|
|
Итого:
|
42,17
|
Определяем требуемую мощность:
Подбираем
трансформатор малой мощности КТПМ - 100 - 40 кВт.
Сечение
проводов во временной электросети:
(7.3)
где
Руч - сумма мощностей потребителей на рассмотренном участке сети, кВт;
L - длина
участка, м;
q - удельная
проводимость материала провода:
медь
- 57; алюминий - 34,5; сталь - 20.
U - номинальное
напряжение : для силовых - 380В, освещение - 220В;
;
Принимаем
диаметр 10 мм2.
7.12 Расчет потребности в тепле
Тепло на строительной площадке используется на отопление зданий или
технические нужды.
Общая потребность тепла для строительных нужд определяется:
(7.4)
где
Q1 - расход
тепла на отопление зданий;
- расход
тепла на технологические нужды;
-
коэффициент, учитывающий потери в сети;
-
коэффициент на учтенные расходы тепла.
(7.5)
где
a - коэффициент, зависящий от расчетной t
наружного воздуха (
);
-
удельная тепловая характеристика здания;
- объем
здания по наружному обмеру,
и
- расчетная температуры внутри помещения и снаружи, °С.
.
7.13 Расчет потребности в воде
Вода на строительной площадке используется на хозяйственно-бытовые и
производственные нужды и пожаротушения.
(7.6)
где Pпож=10 л/сек - зависит от площади застройки.
(7.7)
где
- расход воды на принятие душа;
- расход
воды на умывание, приготовление пищи и др.
(7.8)
где
- расчетная численность персонала строительства;
- норма
водопотребления на принятие душа 1 чел/день, при отсутствии канализации
, при её наличии 80 л.;
-
коэффициент, учитывающий количество моющихся,
;-
время работы душевой установки, t = 0,75 часа.
(7.9)
где
b=10-15 л - норма водопотребления на 1-го человека в
смену при отсутствии канализации; при её наличии - 20-25л.;
-
продолжительность смены, в часах;
k2 - коэффициент, неравномерности потребления воды, k2= 1,2-1,3.
Расход
воды на производственные нужды:
(7.10)
где
1,2 - коэффициент на неучтенные потребности;
k3 - коэффициент неравномерности водопотребления, k3= 1,3-1,5;
-
суммарный расход воды в смену в литрах по норме;
= 250 л.
Диаметр
трубы временного трубопровода определяется:

(7.11)
где
Р - требуемый расход воды для нужд строительства, л/с;
π = 3,14;
V= 2 м/с - скорость
движения воды по трубопроводу.
;
;
;
;
;
Принимаем диаметр трубопровода Æ90 мм для подачи воды на площадку.
7.14 Расчет потребности в транспортных средствах
Требуемое количество машино-смен работы автотранспорта определяется по
формуле:
(7.12)
где
Q - количество перевозящегося груза в тоннах;
Pсм - сменная производительность транспорта;
(7.13)
где
np -
количество рейсов в смену;
q -
паспортная грузоподъемность машины, т. (для КамАЗ 5510: q=
9 т.)
kгр - коэффициент использования грузоподъемности машины,
в зависимости от вида груза.
Количество
рейсов в смену:
(7.14)
где
T - продолжительность смены, в часах;
=8час.
-
нормативное время погрузо-разгрузочных работ; tпр= 0,62час.;
= 4,2 км
- расстояние перевозки;
V - средняя
скорость движения в условиях города:V= 20 км/ч.
Определим объем грунта в плотном теле в ковше экскаватора:
, (7.15)
где
Vков -
принятый объем ковша экскаватора, м3 (для ЭО 3211-Е Vков =0,5м3).
Kнап - коэффициент наполнения ковша (для обратной лопаты от
0,8 до 1)
Kпр - коэффициент первоначального разрыхления грунта (для
суглинка Kпр =1,2)
Определим
массу грунта в ковше экскаватора:
(7.16)
где
γ
- объемная масса грунта, для суглинка
γ =1,755 т/м3.
Количество
ковшей грунта, загружаемых в кузов автосамосвала:

(7.17)
где
П - грузоподъемность автосамосвала (для КамАЗ 5510 - q
= 9 т).
Определим
объем грунта в плотном теле, загружаемый в кузов автосамосвала:
(7.18)
Продолжительность
одного цикла работы автосамосвала:
(7.19)
где
tn -
время погрузки грунта, мин.; tn =12мин.;
L -
расстояние транспортировки грунта, L=4,2км.;
Vг- средняя скорость автосамосвала в загруженном
состоянии, км/ч.;
(17…21
км/ч.);
Vн - средняя скорость автосамосвала в порожнем
состоянии, км/ч.
(25…30
км/ч.);
tp - время
разгрузки (ориентировочно 1…2 мин.);
tм - время маневрирования перед погрузкой и разгрузкой
(ориентировочно 2…3 мин.).
мин.
. (7.20)
Где
Нвр - норма машинного времени для погрузки экскаватором 100 м3 грунта в
транспортное средство в мин. Нвр=4,5чел/час
Требуемое
количество автосамосвалов составит:
, (7.21)
Число
N округляем до ближайшего меньшего целого числа,
учитывая перевыполнение сменного задания при работе экскаватора.
Принимаем
2 автосамосвала КамАЗ 5510.
Перевозка
фундаментных блоков:
рейсов в
смену.
7.15 Расчет потребности во временных зданиях и
сооружениях
Расчет потребности во временных зданиях и сооружениях представлен в
табличной форме.
Таблица 7.2 - Расчет временных зданий и сооружений
|
Наименование зданий и сооружений
|
Расчетная численность персонала
|
Норма на одного чел-ка
|
Требуется
|
Принято
|
|
Всего
|
% однов- рем. исполь-зующ.
|
Ед. изм
|
Кол-во
|
Еед. изм.
|
Кол-во
|
Марка
|
Кол-во
|
|
1
|
2
|
3
|
4
|
5
|
6
|
7
|
8
|
9
|
|
Проходная
|
-
|
-
|
м2
|
6÷9
|
мм2
|
6÷9
|
Вагончик 3x3
|
1
|
|
Контора прораба
|
2
|
100
|
м2
|
3
|
мм2
|
6
|
Вагончик 3x2
|
1
|
|
Медицинское помещение
|
-
|
-
|
м2
|
12
|
мм2
|
12
|
Вагончик 3x4
|
1
|
|
Помещение для обогрева рабочих
|
33
|
100
|
м2
|
0,1
|
Мин 8 мм2
|
8,0
|
Вагончик 4x2
|
1
|
|
Кладовая
|
-
|
-
|
м2
|
15
|
мм2
|
15
|
Вагончик 3x5
|
1
|
|
Помещение для сушки и обеспыливания одежды
|
33
|
50
|
м2
|
0,2
|
Мин 12 мм2
|
12,0
|
Вагончик 3x4
|
1
|
|
Гардеробные с умывальными
|
33
|
70
|
м2
|
0,5
|
мм2
|
11,6
|
Вагончик 3x4
|
1
|
|
Душевые
|
33
|
30
|
1 ро-жок
|
8чел. 4м2
|
2 рожка
|
10чел 8м2
|
Вагончик 2x2
|
2
|
|
Помещение для личной гигиены женщин
|
-
|
-
|
м2
|
4
|
мм2
|
4
|
Вагончик 2х2
|
1
|
|
Туалет
|
33
|
100
|
1 очко
|
20чел 2м2
|
2 очка
|
33чел 4м2
|
Вагончик 2x2
|
2
|
Примечание:
медицинское помещение должно иметь отдельный вход;
помещение для личной гигиены женщин расположено в женской части душевого
помещения.
Технико-экономические показатели представлены в графической части проекта
8.1 Область применения
Настоящая технологическая карта разработана на устройство навесного
вентилируемого фасада реконструируемого здания, расположенного в городе
Череповец, просп. Луначарского, д.22 на основе [34].
Здание 1937 года постройки, общественное, двухэтажное, жесткой
конструктивной схемы с продольными несущими стенами из керамического кирпича.
Толщина наружных стен - 640 мм, внутренних - 380 мм.
Реконструкция объекта производится в условиях застройки средней
плотности.
Основными строительными материалами, используемыми при производстве работ
по устройству навесного вентилируемого фасада, являются материалы:
утеплитель из минеральной ваты ISOVER ВЕНТИ;
ветрозащитная пленка "TYVEK".;
кронштейны несущие и регулирующие КФР200;
несущий профиль (П и Г-образный, направляющий);
металлокассеты МК-МФ100;
тарельчатый дюбель с пластиковым гвоздем;
фасадный анкер для крепления кронштейнов;
самонарезной винт В6х25;
стопорный винт М8 в комплекте с шайбой и гайкой.
Настоящую технологическую карту следует изучить непосредственно перед
проведением работ по устройству вентилируемого фасада.
8.2 Технология и организация выполнения работ
Процесс устройства навесного вентилируемого фасада реконструируемого здания
должен отвечать следующим требованиям:
перед началом работ по облицовке фасада, необходимо убедиться, что
подготовительные и предшествующие работы, проводимые в реконструируемом здании,
закончены. Наружные стены должны быть очищены от отслоившейся штукатурки и
грязи;
строительная площадка должна быть оснащена электроэнергией, а точки
подключения к ней должны располагаться в пределах каждой захватки. Грунт вокруг
здания должен быть ровным, хорошо уплотненным; должна быть выполнена
уплотненная щебеночная подсыпка. Площадки под складирование грунта должны
располагаться в пределах каждой захватки. Также необходимо обеспечить свободный
проезд крупного транспорта и свободную выгрузку материалов на отведенные
площадки;
во время проведения работ необходимо следить за погодными условиями,
влажностью воздуха, во избежание намокания и переувлажнения утеплителя и других
материалов. Степень увлажнения материалов проверять влагомером. Проведение
работ в дождливое время запрещается.
Мастер, ответственный за проведение работ, обязан убедиться, что все
монтажники отлично ознакомлены с технологий производства работ по облицовке
фасада.
В процессе производства работ мастер (или прораб) должен проводить
проверку правильности проведения монтажных работ, руководствуясь требованиями
технологической карты.
8.2.1 Устройство рамных строительных лесов ЛСРП
- 300
До начала работ необходимо:
произвести планировку и уплотнение площадки для установки лесов шириной 3
м (от стены) с приданием ей уклона для стока поверхностных вод;
заделать согласно проекту в кирпичную кладку стальные анкеры для
крепления лесов;
доставить на рабочее место элементы лесов, инструменты и приспособления.
До начала монтажа лесов необходимо:
очистить место установки лесов от строительного мусора и посторонних предметов
шириной не менее 3 м по длине производства работ;
доставить к месту установки комплект лесов, рассортировать по элементам и
уложить вдоль фасада;
сборку лесов следует производить от угла здания, соблюдая при этом
последовательность установки отдельных элементов;
при установке стоек первого ряда каркас лесов следует заземлить. По мере
наращивания стоек лесов молниеприемники следует переставлять на верхние ярусы;
деревянные подкладки толщиной 50 мм укладываются перпендикулярно стене
под каждые две стойки;
по ригелям перпендикулярно стене укладывать щитовой настил из досок
толщиной 40 мм с консольным свесом 0,35 м;
укладку настилов и установку перил производить одновременно;
крепление лесов к кирпичным стенам производить через поперечины и
закладные элементы в шахматном порядке;
опасная зона вокруг лесов ограждается сигнальным ограждением. Доступ
людей, не принимающих участие в работах, в опасную зону запрещен.
подъем на леса осуществляется только по лестницам, установленным в
пределах каждого яруса.
Схема установки лесов приводится в графической части раздела.
8.2.2 Устройство мачтового консольного
подъемника
Консольный мачтовый подъемник предназначен для подачи грузов по вертикали
массой до 2т.
Мачта подъемника крепится перпендикулярно к боковой стене здания.
По направляющим мачты поднимается или опускается подъемная платформа.
Платформа подвешена на мачте консольно. В движение платформа подъемника
приводится при помощи мотор-редуктора или тали.
Мачта крепится к несущей стене при помощи анкерных болтов.
Грунт в месте установки подъемника должен быть ровным, уплотненным. Под
платформу необходимо уложить железобетонную плиту.
В верхней и нижней точке платформа останавливается при помощи концевых
выключателей.
Загрузка может осуществляться как вручную, так и при помощи
автопогрузчика.
8.2.3 Разметка стены под установку кронштейнов
На предварительно очищенную от пыли, грязи, отслаивающейся штукатурки
стену, с помощью строительного карандаша или маркера наносят метки (крестики)
под будущие отверстия. Горизонталь и вертикаль выверяется с помощью нивелира,
строительного уровня или отвеса.
При нанесении на неоштукатуренные кирпичные стены следить за тем, чтобы
точки не попадали в швы (это может ослабить конструкцию в отдельных местах или
привести к разрушению застывшего раствора).
Сверление отверстий производится с помощью перфоратора на заложенную
проектом глубину.
8.2.4 Установка кронштейнов
В обозначенных точках просверливаются отверстия под анкерные фасадные
дюбели, предусмотренные на основании оценки статики и типа материала несущей
стены для установки кронштейнов.
При установке кронштейнов необходимо следовать указаниям:
- минимальная глубина анкерного крепления в несущей
стене определяется всегда для каждого конкретного типа анкерного фасадного
дюбеля и приводится в техническом удостоверении фирмы-производителя;
для проверки правильности подбора анкерного фасадного
дюбеля необходимо произвести его испытания на вырывание;
для сверления отверстий должно быть использовано
сверло, отвечающее качеству основания а также диаметру анкерного фасадного
дюбеля;
в основании из кирпичной кладки и фасонного кирпича
нельзя сверлить отверстия на стыке двух кирпичей;
глубина просверливаемого отверстия должна быть на 10мм
больше, чем длина дюбеля;
из отверстия необходимо удалить образовавшиеся от
сверления отходы, чтобы отверстие было чистым и доступным;
Установка кронштейнов производится следующим образом:
на металлический саморез дюбеля одевается тарельчатая
шайба;
в монтажное отверстие фасадного кронштейна вставляется
дюбель пластмассовый, устанавливается теплоизолирующая прокладка под кронштейн
и вся сборка помещается в заранее подготовленное отверстие и закрепляется.
Рисунок 8.1 - Схема крепления несущего кронштейна
Фасадный кронштейн имеет возможность регулирования его длины и состоит из
двух частей: основной несущей части и ответной части для регулирования его
вылета от стены. Ответная часть фасадного кронштейна крепится к основной при
монтаже и регулировке несущей направляющей в вертикальной плоскости.
8.2.5 Выбор типа и длины анкеров
Тип и длина анкера определяются с учетом данных производителя в
зависимости от толщины утеплителя и материала стены.
В плотнотелых материалах наружных стен сверление отверстий под крепеж
утеплителя ведется с кондуктором глубины. Глубина отверстия должна быть не
менее глубины, определяемой из расчета:
= Lкреп - δизол + 5 (мм), (8.1)
где: Lкреп - длина крепежного элемента;
δизол - толщина теплоизоляционной
плиты;
Допустимые отклонения:
глубины отверстия ±1м.
Для предотвращения смятия теплоизоляции и обеспечения фиксации крепежного
элемента необходимо применить анкер такой длины, при которой распорная часть
будет гарантированно находиться в теле стенового материала.
При однослойном утеплении в пробуренные отверстия устанавливаются
временные шпильки (металлический пруток). На шпильки устанавливаются плиты
теплоизоляции. После установки плиты шпильки поочередно удаляются, и на их
место устанавливается крепеж.
Крепежный элемент должен располагаться перпендикулярно плоскости стены и
плотно прилегать шляпкой к поверхности теплоизоляции.
Не допускается:
крепление утеплителя с зазорами между отдельными плитами;
смятие поверхности (уменьшение толщины) утеплителя.
Допустимые отклонения:
шляпки дюбеля от плоскости плиты утеплителя +1мм.
8.2.6 Утепление наружных стен
Утепление фасада осуществляется плитами из минеральной ваты ISOVER Венти, размером 1200х600 мм, толщиной
80мм (согласно теплотехническому расчету).
Крепеж утеплителя к стене осуществляется с помощью тарельчатого дюбеля.
Количество дюбелей на 1 плиту - 5 (один в центре, остальные по краям на
расстоянии 100 мм от граней).
Утепление следует осуществлять с перевязкой т.е. плиты верхнего ряда
устанавливаются со смещением на 0,5 длины плиты по отношению к плитам нижнего
ряда; стыки швов должны быть максимально плотными.
Подрезку утеплителя следует осуществлять строительным ножом, разрывать
утеплитель запрещается.
Не допускается выполнять утепление угла путем перегиба плит теплоизоляции
При утеплении участков примыкания к оконным и дверным проемам плиты
утеплителя должны заходить за край оконного проема не менее чем на 20 мм.
Количество точек крепления вокруг оконного проема увеличивается для
обеспечения надежного крепления теплоизоляции.
Схема утепления фасада на примере утепления угла здания приведена в
графической части.
8.2.7 Устройство ветрозащиты
Для предотвращения образования конденсата и последующего увлажнения
утеплителя снаружи поверх него устраивается ветровлагозащитная мембрана.
Ее устройство производится от угла здания сверху вниз, причем, верхняя и
боковая части устраиваются с небольшим нахлестом (30-40 см), который
заправляется вовнутрь между стеной и установленным утеплителем. Последующий
слой устанавливается также с нахлестом на предыдущий (20 см), чтобы исключить
проникновение влаги через стык.
Ветрозащита должна быть установлена ровно, без складок.
Для пропуска пленки через установленные кронштейны в ней прорезаются
отверстия.
Крепление к стене осуществляется тарельчатым дюбелем из расчета 5 шт. на
1м2.
8.2.8 Монтаж направляющих
Направляющие профили монтируются на заранее установленные кронштейны.
Монтаж начинается сверху вниз с целю простоты регулировки их в плоскости для
выверки по вертикали.
В верхней точке направляющие крепятся к кронштейну на болтовое
соединение.
Для того чтобы добиться вертикальной плоскости, к верхнему кронштейну
привязывают отвес. С помощью подвижной части кронштейна в нижней точке
выставляют необходимую длину, таким образом позволяя установить направляющие
вертикально. В нижней точке крепление к кронштейну также болтовое.
Необходимо:
соблюдать шаг при установке направляющих, заложенный в проекте;
профиль должен лежать свободно, чтобы он мог перемещаться по вертикали и
компенсировать температурные деформации.
Резка направляющих под нужную длину осуществляется непосредственно на
объекте с помощью «болгарки».
8.2.9 Крепление фасадных кассет
Монтаж кассет производится от стартовых планок,
установленных на горизонтальном уровне и закреплённых самонарезными винтами или
заклёпками на отметке, определённой проектным решением.
Монтаж кассет начинается на отметке, определённой
проектным решением. После выполнения подготовительных операций, кассеты
крепятся на вертикальные направляющие.
Монтаж кассет ведется сверху вниз слева направо.
После монтажа необходимо проверить надежность
крепления кассет, с помощью любых средств измерений убедиться в соблюдении
правильности толщин швов, провести визуальный осмотр фасада на предмет наличия
вмятин, царапин или других повреждений кассет.
8.2.10 Разборка лесов ЛСРП - 300
После завершения работ по облицовке фасада необходимо
разобрать строительные леса.
До начала работ необходимо:
убрать с настилов строительные материалы, инструменты, инвентарь и
приспособления;
установить на хорошо просматриваемых местах предупредительные знаки;
отвести места для складирования элементов лесов;
установить и испытать приспособление для спуска элементов лесов.
Работы по разборке необходимо выполнять в следующей последовательности:
разбирают и спускают бортовые доски;
разбирают и спускают перила;
разбирают и спускают щиты настила;
укладывают элементы лесов в штабеля.
Стойки верхнего яруса снимают после разборки элементов лесов двух ярусов:
данного и нижележащего.
8.2.11 Транспортирование и складирование изделий
и материалов
Транспортирование материалов на строительную площадку осуществляется
грузовым автотранспортом. Поступление новых материалов производится по мере продвижения
работы от захватки к захватке.
Складирование и хранение материалов на строительной площадке должно
осуществляться в строгом соответствии с проектом, во избежание его утери или
порчи.
Плиты утеплителя, пароизоляционную пленку, фасадные кассеты следует
хранить в заводской упаковке (пленке). Упаковки укладываются штабелями на
поддоны, а сверху необходимо предусмотреть навес, во избежание попадания
атмосферной влаги.
Металлические изделия хранить в заводской упаковке, на месте,
оборудованным навесом, во избежание появления коррозии стальных элементов.
Схема крепления лесов к фасаду здания, схема производства работ, схема
крепления утеплителя на углу здания и узел крепления фасадных кассет к стене
здания подробно рассмотрен в графической части.
8.3 Требования к качеству и приемке работ
В процессе подготовки монтажных работ проверяют:
готовность рабочей поверхности фасада здания, конструктивных элементов
фасада, средств механизации и инструмента к выполнению монтажных работ;
качество элементов несущего каркаса (размеры, отсутствие вмятин, изгибов
и прочих дефектов кронштейнов, профилей и других элементов);
качество утеплителя (размеры плит, отсутствие разрывов, вмятин и других
дефектов);
качество облицовочных панелей (размеры, отсутствие царапин вмятин, изгибов,
надломов и прочих дефектов).
В процессе монтажных работ проверяют на соответствие проекту:
точность разметки фасада;
диаметр, глубину и чистоту отверстий под дюбели;
точность и прочность крепления несущих и опорных кронштейнов;
правильность и прочность крепления к стене плит утеплителя;
положение регулирующих кронштейнов, компенсирующих неровности стены;
точность установки несущих профилей и, в частности, зазоры в местах их
стыковки;
плоскостность фасадных панелей и воздушные зазоры между ними и плитами
утеплителя;
правильность устройства обрамлений завершения вентилируемого фасада.
При приемке работ производится осмотр вентилируемого фасада в целом и
особенно тщательно обрамлений углов, окон, цоколя и парапета здания.
Обнаруженные при осмотре дефекты устраняют до сдачи объекта в эксплуатацию.
Перечень технологических процессов, подлежащих контролю, приведен в
графической части проекта.
8.4 Техника безопасности и охрана труда,
экологическая и пожарная безопасность
При организации и проведении работ по монтажу вентилируемых фасадов
должны выполняться требования нормативных документов [25], [26]; [34]- [38].
При организации строительной площадки, размещении участков работ, рабочих
мест, проездов строительных машин и транспортных средств, проходов для людей
следует установить опасные для работников зоны, в пределах которых постоянно
действуют или потенциально могут действовать опасные или вредные
производственные факторы. Опасные зоны должны быть обозначены знаками
безопасности и надписями установленной формы в соответствии с требованиями
[39].
Расположение и конструкция ограждений участков производства
строительно-монтажных работ должны быть указаны в ППР и соответствовать
требованиям [40].
Складирование и хранение материалов, изделий и оборудования должно
осуществляться в соответствии с требованиями стандартов или технических условий
на материалы, изделия и оборудование, [41].
Строительная площадка, участки работ, рабочие места, проезды и подходы к
ним в темное время суток должны быть освещены в соответствии с требованиями
[42]. Освещенность должна быть равномерной, без слепящего действия
осветительных приборов на работающих.
При эксплуатации подъемника запрещается:
пользоваться неисправным подъемником;
перегружать подъемник;
подъем на подъемнике больше двух человек;
производить с люльки подъемника сварочные работы;
работать без кожухов лебедок и ловителей.
.5 Потребность в ресурсах
Перечень машин, механизмов и оборудования представлен в таблице 8.1
Таблица 8.1 - Перечень машин, механизмов и оборудования
|
№ п/п
|
Наименование машин, механизмов и оборудования
|
Тип, марка
|
Техническая характеристика
|
Назначение
|
Количество на звено (бригаду), шт.
|
|
1
|
2
|
3
|
4
|
5
|
6
|
|
1
|
Консольный мачтовый подъемник
|
ЗАО «ЛифтПром» г. Самара
|
Грузоподъемность до 2т, высота подъема до 40м
|
Подача груза по вертикале
|
1
|
Перечень технологической оснастки, инструмента, инвентаря и
приспособлений представлен в таблице 8.2
Таблица 8.2 - Перечень технологической оснастки, инструмента, инвентаря
приспособлений
|
№ п/п
|
Наименование оснастки, инструмента, инвентаря и
приспособлений
|
Марка, ГОСТ, ТУ или организация - разработчик
|
Техническая характеристика
|
Назначение
|
Количество на звено (бригаду), шт.
|
|
1
|
2
|
3
|
4
|
5
|
6
|
|
1
|
Консольный мачтовый подьемник
|
ЗАО «Лифтпром» г.Самара
|
Грузоподъемность 2 т, высота подъема до 40 м
|
Производство монтажных работ на высоте
|
1
|
|
2
|
Отвес, шнур
|
ОТ400-1, ГОСТ 7948-80
<normacs://normacs.ru/2J2?dob=39387.000000&dol=39458.465000>. Шнур
трехпрядный капроновый или хлориновыйМасса отвеса не более 0,4 кг. Длина
шнура 5 м, диаметр 3 ммРазграничение захваток, проверка вертикальности2
|
|
|
|
|
3
|
Ватерпас
|
Тип 70-1500 «STABILA»
|
Длина 1500 мм, 1 верт. и 1 гориз. уровень. Точность
измерения 0,5 мм/м
|
Проверка горизонтальных плоскостей
|
1
|
|
4
|
Лазерный нивелир
|
BL 40 VHR СКВ «Стройприбор»
|
Точность измерения 0,1 мм/м
|
Измерение высот
|
1
|
|
5
|
Лазерный уровень
|
BL 20 СКВ «Стройприбор»
|
То же
|
Проверка горизонтальных плоскостей
|
1
|
|
6
|
Дрель
|
Интерскол ДУ 1000-ЭР
|
Мощность 1000 Вт. Максимальный диаметр сверления отверстия
в бетоне 20 мм
|
Сверление отверстий в стене
|
1
|
|
7
|
Рулетка стальная
|
Р20УЗК, ГОСТ 7502-98
<normacs://normacs.ru/5G3?dob=39387.000000&dol=39458.465000>Длина
20 м, масса 0,35 кгИзмерение линейных размеров2
|
|
|
|
|
8
|
Отвертка с рычажным наконечником
|
Отвертка Профи ООО «ИНФОТЕКС»
|
Реверсивная рычажная
|
Завинчивание/отвинчивание гаек, винтов, болтов
|
2
|
|
9
|
Гайковерт ручной
|
|
Момент затяжки определяется по расчету
|
Завинчивание/отвинчивание гаек, винтов, болтов
|
1
|
|
10
|
Электродрель с насадками для завинчивания
|
Интерскол ДУ-800-ЭР
|
Потребляемая мощность 800 Вт, максимальный диаметр
сверления в бетоне 20 мм, масса 2,5 кг
|
Сверление отверстий и завинчивание болтов
|
1 компл.
|
|
11
|
Ручные клепальные инструменты
|
Клепальные клещи «ЭНКОР»
|
-
|
Установка заклепок
|
1
|
|
12
|
Клепальный пистолет аккумулятор-ный
|
Заклепочник аккумуляторный ERT 130«RIVETEC»
|
Сила заклепки 8200 Н, рабочий ход 20 мм, масса с
аккумулятором 2,2 кг
|
Установка вытяжных заклепок
|
1
|
|
13
|
Ножницы для резки металла (правые, левые)
|
Ножницы ручные электрические ВЭРН-0,52-2,5; ножницы по
металлу «Мастер»
|
Мощность 520 Вт, толщина разрезания алюминиевого листа до
2,5 мм; правые, левые, размер 240 мм
|
Резка облицовочных панелей
|
1
|
|
14
|
Молоток
|
МПЛИ-1 ГОСТ 11042-90
<normacs://normacs.ru/2J7?dob=39387.000000&dol=39458.465000>Забивка
дюбелей1
|
|
|
|
|
17
|
Пояс предохрани-тельный
|
ГОСТ Р 50849-96*
<normacs://normacs.ru/1V5?dob=39387.000000&dol=39458.465000>--2
|
|
|
|
|
18
|
Каска строительная
|
ГОСТ 124.087-84
|
Масса 0,2 кг
|
-
|
2
|
Потребность в материалах, изделиях и конструкциях представлена в
графической части проекта.
8.6 Технико-экономические показатели
Продолжительность работ по устройству навесного вентилируемого фасада
реконструируемого здания составляет 66.3 дней.
График производства работ представлен в графической части проекта.
Калькуляция трудовых затрат приведена в таблице 8.3
Таблица 8.3 - Калькуляция затрат труда
|
№ п/п
|
Наименование технологических процессов
|
Единица измерения
|
Объем работ
|
Обоснование по ЕНиР
|
Нвр.
|
Трудоёмкость,
|
Состав звена
|
|
|
|
|
|
|
|
|
|
1
|
2
|
3
|
4
|
5
|
6
|
7
|
8
|
|
1
|
Монтаж лесов На 1 захватке На 2 захватке На 3 захватке На 4
захватке На 5 захватке На 6 захватке На 7 захватке
|
м2
|
210,85 210,85 219,7 104,4 126,9 190,34 115,2
|
Е6-1-т.2-1д
|
0,35 0,35 0,35 0,35 0,35 0,35 0,35
|
73,8 73,8 76,9 36,5 44,4 66,6 40,3
|
3 бригады по 2 звена, в каждом звене: Монтажник 5р-1,
Монтажник 3р-1.
|
|
2
|
Монтаж подъемника На 1 захватке На 2 захватке На 3 захватке
На 4 захватке На 5 захватке На 6 захватке На 7 захватке
|
шт
|
1
|
Е35-54-1г
|
11,9 11,9 11,9 11,9 11,9 11,9 11,9
|
11,9 11,9 11,9 11,9 11,9 11,9 11,9
|
|
|
3
|
Облицовка стен здания металлокассетами На 1 захватке На 2
захватке На 3 захватке На 4 захватке На 5 захватке На 6 захватке На 7
захватке
|
100 м2
|
2,1 2,1 2,19 1,04 1,26 1,9 1,15
|
ГЭСН 2001-15-01-064-1
|
270 270 270 270 270 270 270
|
567 567 591 280 340 513 310
|
|
|
4
|
Теплоизоляция стен На 1 захватке На 2 захватке На 3
захватке На 4 захватке На 5 захватке На 6 захватке На 7 захватке
|
м3
|
21 21 21,9 10,4 12,6 19 11,5
|
ГЭСН 2001-26-01-039 (К=1.83)
|
19,36 19,36 19,36 19,36 19,36 19,36 19,36
|
406,56 406,56 423,98 201,34 243,93 367,84 222,64
|
|
|
5
|
Установка ветрозащитной плёнки На 1 захватке На 2 захватке
На 3 захватке На 4 захватке На 5 захватке На 6 захватке На 7 захватке
|
100 м2
|
2,1 2,1 2,19 1,04 1,26 1,9 1,15
|
ГЭСН 2001- 26-01-055-1
|
14,36 14,36 14,36 14,36 14,36 14,36 14,36
|
30,16 30,16 31,45 14,93 18,09 27,28 16,51
|
|
|
6
|
Демонтаж подъемника На 1 захватке На 2 захватке На 3
захватке На 4 захватке На 5 захватке На 6 захватке На 7 захватке
|
шт
|
1
|
Е35-55-1
|
15,55 15,55 15,55 15,55 15,55 15,55 15,55
|
15,55 15,55 15,55 15,55 15,55 15,55 15,55
|
|
|
7
|
Демонтаж лесов На 1 захватке На 2 захватке На 3 захватке На
4 захватке На 5 захватке На 6 захватке На 7 захватке
|
м2
|
210,85 210,85 219,7 104,4 126,9 190,34 115,2
|
Е6-1-т.2-2д
|
0,17 0,17 0,17 0,17 0,17 0,17 0,17
|
35,84 35,84 37,35 17,74 21,57 32,35 19,58
|
|
|
|
|
|
|
|
|
|
|
|
|
ЗАКЛЮЧЕНИЕ
В настоящей выпускной квалификационной работе проведена реконструкция
общественного здания, расположенного по адресу: г. Череповец, просп.
Луначарского, д. 22 с целью придания зданию нового функционального назначения и
современного внешнего вида.
Предложенный вариант благоустройства территории выполнен с максимальным
озеленением участка. Также большое внимание уделено пешеходному потоку и зонам
отдыха.
Объемно-планировочные и конструктивные решения здания выполнены в полном
объеме и дополнены теплотехническими расчетами ограждающих конструкций.
Согласно произведенным расчетам, усиление существующего бутобетонного
фундамента не требуется. Расчеты, выполненные с целью определения несущей
способности монолитного перекрытия и фундамента прошли необходимые проверки и в
соответствии с этим, были подобраны необходимые материалы.
Для реконструкции здания разработан строительный генеральный план
участка, на котором определены места для складирования материалов, места
движения транспорта и монтажного крана, места для размещения временных зданий и
сооружений. Произведены расчеты численности персонала, потребностей в
строительных ресурсах.
Проектом реконструкции предусматривается система горячего и холодного
водоснабжения с нижней разводкой. Ввод трубопроводов здание осуществляется
через тепловой узел, расположенный в подвале. Магистральный трубопровод
располагается в подвале и проходит по потолку.
Технологическая карта выполнена на устройство навесного вентилируемого
фасада. Отделочный материал - фасадные металлические кассеты. Определена
калькуляция трудовых затрат, выполнен календарный план производства работ,
подобран состав звена для монтажа фасада.
Проектом реконструкции разработаны мероприятия по соблюдению правил
безопасности жизнедеятельности при выполнении работ по усилению фундамента.
Также произведен учет экологических требований.
Проект реконструкции выполнен в полном объеме, с учетом всех современных
требований и норм проектирования.
СПИСОК ИСПОЛЬЗУЕМЫХ ИСТОЧНИКОВ
1. ГОСТ 54257-2010. Надежность строительных конструкций и
оснований. Основные положения и требования. - Введ. 2010-12-23. - Москва:
Стандартинформ,2011- 15с.
2. СП 2.13130.2012. Свод
правил. Системы противопожарной защиты. Обеспечение огнестойкости объектов
защиты: взамен СП 2.13130.2009 <http://docs.cntd.ru/document/1200071144>.
- Введ. 2012-12-01. - Москва: МЧС России от 21 ноября 2012 г. N 693
<http://docs.cntd.ru/document/902385726>, 2012. - 27 с.
3. ВСН 53-86(р). Ведомственные строительные нормы. Правила
оценки физического износа жилых зданий./ Госгражданстрой - Введ. 1987-07-01. -
М.: Прейскурант издат., 1988. - 72с.
. ГОСТ 13585. Плиты железобетонные ленточных фундаментов. -
Введ. 1987-01-01. - Москва: ГК ССР по делам строительства. - 47с.
. ГОСТ 7473-94. #S»»».Смеси бетонные. Технические условия. -
Введ. 01.10.1994. - Москва: Издательство стандартов,2004. - 12 с.
6. СП 50.13330.2012. Свод правил. Тепловая защита зданий:
утв. приказом Министерства регионального развития Российской Федерации
(Минрегион России) №265 от 30.06.2012 - взамен СНиП 23-02-2003; введ.
01.07.2012. - М: Национальные стандарты, 2012. - 50 с.
. СП 23-101-2004 . Свод правил. Проектирование тепловой
защиты зданий: взамен СП23-101-2000: утв. «ЦНИИпромзданий» 23.04.2004. - Введ.
01.0.6.2004. - Москва: ФГУП ЦПП, 2004. - 186 с.
. СП 131.13330.2012 .Свод правил. Строительная климатология:
актуализированная версия СНиП 23-01-99*: утв. Минрегионом РФ 30.06.2012 №275. -
Введ. 01.01.2013. - Москва :ФГУП ЦПП, 2013. -113 с.
9. СП 55-101-2000. Ограждающие конструкции с применением
гипсокартонных листов: утв. ЦНИИпромзданий №91/18 от 24.04.2000 г.
10. СП 73.13330.2012. Внутренние санитарно-технические
системы: актуализированная редакция СНиП 3.05.01.-85. - Введ. 01.01.2013. -
Москва: Минрегион РФ, 2012 г. - 44с.
. СП 30.13330.2012. Внутренний водопровод и канализация
зданий: актуализированная редакция СНиП 2.04.01-85*. - Введ. 01.01.2013.
-Москва: Росстандарт,2012 г.-72с.
. ТУ 36-736-93. Воздуховоды вентиляционные металлические.
-Введ. 01.01.1994- Москва, 1993 г. - 52с.
. СНиП 23-05-95. Строительные нормы и правила. Естественное и
искусственное освещение: утв. Минстроем России 02.08.1995 № 18-78. - Введ.
01.01.1996. - Москва: Стандартинформ, 1996 - 49 с.
14. СНиП III-10-75. Строительные нормы и правила.
Благоустройство территорий: взамен СНиП III-К.2-67: утв. Госкомитетом министров
СССР по делам строительства 22.09.1975 №158. - Введ. 1979.- Москва:
Стандартинформ,2004. - 14 с.
. СП 42.13330.2011.Свод правил. Градостроительство.
Планировка и застройка городских и сельских поселений: актуализированная
редакция СНиП 2.07.01-89*: утв. Минрегионом РФ 28.12.2010 №820. - Введ.
20.05.2011. - Москва: ФГУП ЦПП, 2011. -114 с.
. СП 118.13330.2012. Свод правил. Общественные здания и
сооружения: актуализированная редакция СНиП 31-06-2009: утв. Минрегионом РФ
29.12.2011 №635/10. - Введ. 01.01.2013. - Москва: ФГУП ЦПП, 2013. -67 с.
. ГОСТ 21.204.93. Условные графические обозначения и
изображения элементов генеральных планов и сооружений транспорта. - Введ
01.09.1994. - Москва: Госстрой России.- 25с.
19. ВСН 58-88(Р). Ведомственные строительные нормы. Положение
о проведении планово-предупредительного ремонта жилых и общественных зданий:
утв. приказом Госкомархитектуры РФ 23.11.1988 №312. -Введ. 1.07.1989. - Москва:
Госстрой СССР, 1990.-32 с.
. СНиП 2.02.01-83. Строительные нормы и правила. Основания
зданий и сооружений: утв. Госстрой СССР 5.12.1983 №311. - Введ. 01.01.1985.-
Москва: Стройиздат, 1985. - 40 с.
. СП 20.13330.2011. Свод правил. Нагрузки и воздействия: утв.
приказом Министерства регионального развития Российской Федерации (Минрегион
России) №787 от 27.12.2010 - взамен СНиП 2.01.07-85*; введ. 20.05.2011 - М.:
Национальные стандарты, 2011. - 80 с.
22. ГОСТ 21520-89. Государственный стандарт. Блоки из
ячеистых бетонов. - Введ. 01.01.1990. - Москва: Госстрой СССР, 1990. - 11с.
. ГОСТ 7473-94. Смеси бетонные. Технические условия. - Введ.
01.01.1996 г. - Минстрой России от 26.06.1995 18-61.- 42с.
24. ГОСТ 8240-97. Швеллера стальные горячекатаные. Сортамент.
- Введ. Межгосударственным советом по стандартизации, метрологии и
сертификации, пр. №11 от 23 апреля 1997г. - 59с.
25. СНиП 12-03-2001. Строительные нормы и правила.
Безопасность труда в строительстве. Часть 1. Общие требования: утв. Госстроем
России 23.07.2001 №80. - Введ. 01.09.2001.- Москва: ГУП ЦПП,2001. - 40 с.
. 12-04-2002. Строительные нормы и правила. Безопасность труда
в строительстве. Часть 2. Строительное производство: утв. Госстроем России
17.09.2002.- Введ. 01.01.2003. - Москва: ГУП ЦПП,2002. - 34 с.
27. ГОСТ 12.1.046-85. Нормы освещения
строительных площадок. - Введ. 01.01.1986. - Москва: Госстрой России, 1986. -
14 с.
28. СП 131.13330.2012 .Свод правил. Строительная
климатология: актуализированная версия СНиП 23-01-99*: утв. Минрегионом РФ
30.06.2012 №275. - Введ. 01.01.2013. - Москва :ФГУП ЦПП, 2013. -113 с.
29. ГОСТ 12.1.004-91. Межгосударственный стандарт. Пожарная
безопасность. Общие требования. - Введ. 01.07.1992. - М.: Госкомстрой СССР,
1992. - 75 с.
30. Временное положение по приемке
законченных строительством объектов. Письмо Госстроя России от 09.07.93 г.
№БЕ-19-11/13. ВСТ №9, (1993 г., с. 15-18).
. СНиП 3.01.05-87. Строительные нормы
и правила. Приемка в эксплуатацию законченных строительных объектов. Основные
положения: утв. 21.04. 1987 №84. - Введ. 01.01.1988. - Москва: Госстрой СССР,
1986. - 44 с.
32. ГОСТ 23407-78. Ограждения инвентарные строительных
площадок и участков производства строительно-монтажных работ. Технические
условия.- Введ.01.07.1979.- Москва: Госстрой СССР,1979. - 10 с.
. ГОСТ 12.1.046-85. Нормы освещения строительных площадок. -
Введ. 01.01.1986. - Москва: Госстрой России, 1986. - 14 с.
. ГОСТ 12.04.011-89. ССБТ. Средства защиты работающих. Общие
требования. -Введ. 1990-07-01- Москва: Госстандарт СССР от 28 октября 1989 г. №
3222 - 35с.
. СНиП 3.04.01-87 *. Строительные нормы и правила.
Изоляционные и отделочные покрытия: утв. Госстроем СССР 4.12.1987 №280. - Введ.
01.07.1988. - Москва: Госстрой России, 1988. - 24 с.
. ГОСТ 12.1.004-91. Государственный стандарт. Пожарная
безопасность. - Введ. 01.07.1992. - Москва: Прейскурант издательство, 1992-126
с.
. ГОСТ 12.1.019-79. Электробезопасность. Общие сведения и
номенклатура видов защиты. - Утв. от 17 июля 1979г. №2582.- ГКСССР., Переизд. В
апреле 2001г. - 9с.
. ГОСТ 12.1.030.-81. ССБТ. Электробезопасность. Защитное
заземление. - Введ. От 15 мая 1981 г. №2404. - Москва: ГКСССР по стандартам. -
17с.
. ГОСТ 12.4.026-2001. Цвета сигнальные, знаки безопасности и
разметка сигнальная. - Введ от 19.09.2001 г. № 387-ст. - Москва: Госстандарт
России. - 42с.
. ГОСТ 23407-78. Ограждения инвентарные строительных площадок
и участков производства строительно-монтажных работ.Технические условия.-
Введ.01.07.1979.- Москва: Госстрой СССР,1979. - 10 с.
. СНиП 12-03-2001. Строительные нормы и правила. Безопасность
труда в строительстве. Часть 1. Общие требования: утв. Госстроем России
23.07.2001 №80. - Введ. 01.09.2001.- Москва: ГУП ЦПП,2001. - 40 с.
. ГОСТ 12.1.046-85. Нормы освещения строительных площадок. -
Введ. 01.01.1986. - Москва: Госстрой России, 1986. - 14 с.