Разработка схемы устройства для контроля цепи в действующей схеме энергоснабжения
Содержание
Введение
. Общая часть
.1 Назначение устройства
1.2 Технические характеристики
1.3 Сравнение с аналогами
. Расчетно-конструкторская часть
2.1 Разработка структурной схемы
2.2 Выбор элементной базы
2.3 Разработка схемы электрической
принципиальной. Принцип действия
2.4 Предварительный расчет
надежности устройства. Полный расчет элемента схемы
3. Технологическая часть
3.1 Проектирование технологического
процесса сборки
.2 Исходные данные
.3 Последовательность разработки
.4 Разработка системы контроля
.5 Назначение регулировки и
организация рабочего места регулировщика
.6 Типизация технологических
процессов (ТПП)
.7 Анализ технологичности
конструкции
.8 Расчет норм времени
.9 Расчет расхода материала
.10 Расчет комплекта запасных
элементов
.11 Расчет проведения
профилактических работ
.12 Маршрут изготовления изделия
. Экономическая часть
. Пожарная безопасность и техника
безопасности
.1 Характеристика вредных и опасных
факторов на основных операциях
.1.1 Характеристика выделенных газов
.1.2 Характеристика тепловыделений и
параметров микроклимата
.1.3 Характеристика шума
.1.4 Характеристика
электрооборудования
.1.5 Характеристика условий
зрительной работы
.2 Требования безопасности к
рабочему месту
.2.1 Характеристика работ,
выполняемых при изготовлении изделия
.2.2 Организация рабочего места
.3 Пожарная безопасность
.3.1 Возможные причины пожаров,
взрывов
.3.2 Противопожарные мероприятия
Заключение
Список используемой литературы
Приложения
Введение
Вычислительная техника в наши дни достигла
такого уровня развития, когда важнейшие общественные, административные и
хозяйственные функции находятся в полной от нее зависимости.
Вообще широкое развитие систем автоматического
управления и вычислительной техники связано с их большим практическим
значением.
В космонавтике, ядерной физике, вычислительной
техники, кибернетике и во многих других отраслях широко применяют средства
радиоэлектроники. Рост масштабов и сложность задач, постоянное функциональное
усложнение радиоаппаратуры потребовали снижения трудоемкости в производстве,
повышения производительности труда.
Последние достижения в области физики и
технологии полупроводников привели к внедрению новой элементной базы, печатного
монтажа, развитию микроэлектроники. За короткий исторический срок современная
микроэлектроника стала одним из важнейших направлений развития приборостроения,
так как позволяет создавать электронные устройства, системы с малыми размерами
и массами, с меньшей потребляемой мощностью, большей надежностью и возможностью
внедрения автоматизации в процессе их изготовления.
Электроника стала основой
электронно-вычислительных машин, которые оказывают неоценимую помощь в решении
многих современных научных и технологических проблем.
Дальнейшее развитие радиоаппаратуры обусловлено
совершенствованием элементной базы и разработанной на ее основе ЭВМ пятого
поколения, быстродействие которых уже достигло 10 млрд. операций в секунду.
Внедрение средств вычислительной техники во все
отрасли народного хозяйства требует большого числа высококвалифицированных специалистов
различных профилей. Подготовка таких специалистов приобретает особо важное
значение, ведь в решении указанных задач большое место принадлежит работникам
приборостроительных специальностей, в том числе и техникам-электроникам.
Серьезная роль в деле подготовки
квалифицированных специалистов в области производства и эксплуатации
вычислительных машин принадлежит средне-специальным учебным заведениям.
В данном дипломном проекте разрабатывается
«схема устройства для контроля цепи в действующей схеме энергоснабжения»
В первом разделе представлены технические
условия (характеристики), сравнение с аналогами, назначение устройства.
Во втором разделе разработаны: конструкторская
документация, произведен предварительный расчет надежности, электрический расчет
выходного каскада на транзисторе VT1.
В третьем разделе разработан комплект
технологической документации, произведены расчеты норм времени и расхода
материалов, и другие расчеты.
В четвертом и пятом разделах представлены
экономическая часть и техника безопасности.
1.
Общая часть
.1 Назначение устройства
Устройство для контроля в действующей схеме
энергоснабжения состоит из двух основных блоков: генератора одиночных импульсов
(ГОИ) и индикатора прохождения тока (ИПТ).
ГОИ и ИПТ позволяют, не отключая сеть,
разобраться в схеме электроснабжения.
Методика контроля сети очень проста. Подключив
генератор к нулевому и фазному проводу, его включают. В проводах возникают
мощные импульсы тока, которые легко наблюдаются индикатором (ИПТ) по
вспыхиванию светодиода. Перемещая индикатор по схеме электрической проводки,
можно легко определить нужную цепь автоматов, предохранителей и т.д.
.2 Технические характеристики
1) Напряжение питания микросхем - 5 В;
2) Напряжение питания транзистора - 24 В;
) Частота генератора одиночных импульсов
- 10 Гц или 1 Гц.
.3 Сравнение с аналогами
В качестве сравнения с аналогами можно взять
клещи токоизмерительные КТ-1.
Цифровые токоизмерительные клещи КТ-1
предназначены для кратковременного измерения силы переменного тока синусоидальной
формы частотой 50 Гц без разрыва токовой цепи с номинальным напряжением до 650
В.
Размер окна магнитопровода обеспечивает охват
проводника с наружным диаметром не более 35 мм или шины размерами не более
20х50 мм.
В качестве отсчетного устройства в приборе
применен светодиодный индикатор с низким токопотреблением. Яркое свечение и
высокая контрастность индикатора (высота цифр 14 мм) обеспечивают качественное
отображение измеряемой величины в условиях с недостаточной внешней
освещенностью.
В данной модели реализована функция удержания
показаний, позволяющая производить измерения в труднодоступном месте, когда не
возможно непосредственно считать показания прибора в момент измерения.
Расположение органов управления обеспечивает переключение необходимых режимов
одной рукой. Питание прибора осуществляется от четырех элементов типа А316.
Технические характеристики прибора приведены в
таблице 1.1.
Таблица 1.1 - Технические характеристики клещей
токоизмерительных КТ-1
|
Диапазон
измерения переменного тока
|
1-500
А
|
|
Пределы
измерения
|
200
А, 500 А
|
|
Основная
погрешность
|
2,5
%
|
|
Ток
потребления от элементов питания
|
не
более 30 мА
|
|
Диапазон
рабочих температур
|
-
10 - + 40 °С
|
|
Масса
(без элементов питания)
|
0,5
кг
|
|
Габаритные
размеры
|
256х110х44
мм
|
Внешний вид клещей токоизмерительных КТ-1
представлен на рисунке 1.1.
Рисунок 1.1 - Клещи токоизмерительные КТ-1.
2. Расчетно-конструкторская часть
контроль
энергоснабжение устройство
2.1 Разработка структурной схемы
Рисунок 2.1 - Схема электрическая структурная.
Назначение блоков:
Блок питания - обеспечивает стабилизированным
напряжением электрическую схему.
Формирователь импульсов f=100
Гц - предназначен для формирования импульсов частотой 100 Гц.
Делитель частоты на 10 Гц - используется для
деления частоты на 10 Гц.
Делитель частоты на 100 Гц - используется для
деления частоты на 100 Гц.
Переключатель частоты 10 Гц или 1 Гц -
используется для переключения частоты с 10 Гц на 100 Гц, и наоборот.
Коммутатор импульсов - предназначен для
выработки импульсов.
Обмотки трансформатора - используется для подачи
тока управления на симмистор.
Симмисторный ключ - предназначен для включения
импульсов частотой 1 Гц или 100 Гц.
Индикатор частоты импульсов - предназначен для
отображения частоты импульсов.
.2 Выбор элементной базы
1) Блок питания реализуем на элементах диод
серии КД108, диод серии КД106А, резистор серии МЛТ, трансформатор ТП154-3-1,
конденсатор серии К50-68.
Рисунок 2.2 - Составные элементы блока питания
Характеристики элементов:
a) Диод серии КД108.
Электрические параметры:
Iпр.=0,3 А;
Uпр.=1 В;
Uобр.=100 В;
Iобр.=0,005 А.
б) Диод серии КД106А.
Диод кремниевый, диффузионный. Выпускается в
пластмассовом корпусе с гибкими выводами. Тип диода и схема соединения
электродов с выводами приводятся на корпусе.
Масса диода не более 1 г.
Рисунок 2.3 - Размеры диода серии КД106А
Таблица 2.1 - Электрические параметры диода
серии КД106А
|
Постоянное
прямое напряжение при Iпр.=300 мА, не более:
|
|
Т=
+250С и Тмакс
|
1В
|
|
Т=
-600С
|
1,5
В
|
|
Постоянный
обратный ток при Uобр.=100 В, не более:
|
|
Т=
-60…+250С
|
10
мкА
|
|
Т=Тмакс
|
100мкА
|
|
Время
обратного восстановления, не более
|
0,45
мкс
|
|
типового
значения
|
0,385
мкс
|
|
Предельные
эксплутационные данные:
|
|
Постоянное
и импульсное обратное напряжение
|
100
В
|
|
Постоянный
прямой или средний выпрямленный ток:
|
|
при
Т= -60…+700С
|
300
мА
|
|
при
Т= Тмакс
|
100
мА
|
|
Импульсный
прямой ток при tи≤500 мкс, f≤200
Гц:
|
|
Т=
-60…+700С
|
3
А
|
|
Т=Тмакс
|
1
А
|
|
tи≤100 мс, Q>1000
|
3
А
|
|
Средняя
рассеиваемая мощность:
|
|
при
Т= -60…+700С
|
750
мВт
|
|
при
Т=Тмакс
|
100
мВт
|
|
Частота
без снижения электрических режимов:
|
|
синусоидального
напряжения
|
30
кГц
|
|
меандра
с tф≥ 1
мкс
|
10
кГц
|
|
Тепловое
сопротивление переход - среда
|
1400С/Вт
|
|
Температура
окружающей среды
|
60…+850С
|
Диод допускает разовые перегрузки импульсами
обратного тока не свыше 3 А, длительностью не более 50 мкс.
Допускается применение диода в режиме меандра с
длительностью фронта переключения не менее 1 мкс на частотах 50 кГц.
Допускается параллельное соединение диодов при
условии обеспечения отсутствия перегрузки диодов по прямому току, а также
последовательное соединение при условии, что обратное напряжение на каждом
диоде не превысит допустимого значения.
в) Резистор МЛТ.
Номинальная мощность = 0,5 Вт.
Диапазон номинальных сопротивлений = 1,0*5,1*106
Диапазон номинальных сопротивлений до 10*106 Ом:
от - 60 до + 10 ±1200;
от + 20 до + 125 ±600.
Уровень собственных шумов мкВ/В = 5Дб.
R1 - 620 Ом.
Предельные эксплуатационные данные:
Температура окружающей среды ,ºС
от - 60 до + 70.
Минимальная наработка ,ч = 25000.
Срок сохраняемости , лет = 15.
г) Трансформатор ТП154-3-1.
Рисунок 2.4 - Внешний вид трансформатора
ТП154-3-1
Таблица 2.2 - Параметры трансформатора ТП154-3-1
|
Типоразмер
|
1008
|
|
Размеры,
мм
|
2.5
x 2 x 1.6
|
|
Конструкция
|
Проволочные,
намотка на ферритовом сердечнике, изолированные, для поверхностного монтажа
|
|
Диапазон
номинальных значений, мкГн
|
0.01
- 100
|
|
Ряд
номинальных значений
|
Е6
|
|
Диапазон
рабочих частот, МГц
|
7
- 680
|
|
Диапазон
рабочих токов, мА
|
45
- 450
|
|
Диапазон
рабочих температур, оС
|
-40
... +100
|
д) Конденсатор серии К50-68.
Конденсатор серии К50-68 является алюминиевым
оксидно-электролитическим, радиального типа.
Рисунок 2.5 - Внешний вид конденсатора серии
К50-68
|
D,
мм
|
А,
мм
|
d,
мм
|
|
5
... 8
|
2.5
|
0.6
|
|
10
|
5
|
0.6
|
|
12
... 14
|
5
|
0.8
|
|
16
... 21
|
7.5
|
0.8
|
|
25
... 32
|
12.5
|
0.8
|
Рисунок 2.6 - Размеры конденсатора серии К50-68.
Конденсатор серии К50-68 предназначен для работы
в цепях постоянного, пульсирующего тока и в импульсном режиме. Изготавливается
во все-климатическом исполнении (В) и исполнении для умеренного и холодного
климата.
Технические характеристики:
Диапазон номин. значений напряжений: 6.3 - 450 В
Диапазон номин. значений емкостей: 1 - 15000 мкФ
Точность (при 50 Гц, 20оС): -10 ... +50%, +/-20%
Ток утечки, I: при Cном.Vном <1000 мкКл 0.03
Cном.Vном
при Сном.Vном >= 1000 мкКл 0.02 Cном.Vном
Срок сохраняемости: 15 лет
Минимальная наработка:
до +85оС и Uном 1 000 ч
до +70оС и Uном 7 500 ч
до +55оС и Uном 10 000 ч
до +55оС и 0.8 Uном 15 000 ч
Диапазон раб. температур: -40 ... +85оС
) Формирователь импульсов f=100
Гц реализуем на элементах микросхема серии К155ЛА3, резисторах серии МЛТ.
Рисунок 2.7 - Составные элементы
формирователя импульсов частотой 100 Гц.
Характеристики элементов:
а) Микросхема серии К155ЛА3.
Рисунок 2.8 - Размеры микросхемы
серии К155ЛА3
Рисунок 2.9 - Расположение выводов микросхемы
серии К155ЛА3
Таблица 2.3 - Назначение выводов микросхемы
серии К155ЛА3.
|
№
вывода
|
Назначение
|
№
вывода
|
Назначение
|
|
1
|
Вход
Х1
|
8
|
Выход
Y3
|
|
2
|
Вход
Х2
|
9
|
Вход
Х5
|
|
3
|
Выход
Y1
|
10
|
Вход
Х6
|
|
4
|
Вход
Х3
|
11
|
Выход
Y4
|
|
5
|
Вход
Х4
|
12
|
Вход
Х7
|
|
6
|
Выход
Y2
|
13
|
Вход
Х8
|
|
7
|
Общий
|
14
|
Ucc
|
Таблица 2.4 - Технические характеристики
микросхемы серии К155ЛА3.
|
Функциональные
особенности
|
4
элемента 2И-НЕ
|
|
Т,
С
|
0…+70
|
|
Iсс, мА
|
22
|
|
ТрHL
max, нc
|
15
|
|
ТрLH
max, нc
|
22
|
|
Корпус
|
DIP14
|
|
Фирма
производитель
|
СНГ
|
3) Делитель частоты на 10 Гц реализуется на
микросхеме К155ИЕ1.
Рисунок 2.10 - Делитель частоты на 10 Гц.
Микросхема К155ИЕ1 является декадным счетчиком с
фазоимпульсным представлением информации. Эта микросхема - делитель частоты на
10. Установка триггеров микросхемы в 0 осуществляется подачей лог. 1
одновременно на два объединенных по схеме И входа R. Рабочая полярность входных
счетных импульсов, подаваемых на входы С, отрицательная. Импульсы можно
подавать или отдельно на каждый из входов (на второй вход должна при этом
подаваться лог. 1), или одновременно на оба входа. Одновременно с каждым
десятым входным импульсом на выходе формируется равный ему по длительности
выходной импульс отрицательной полярности. Многокаскадные делители частоты
можно строить, соединяя входы С последующих каскадов с выходами предыдущих.
Технические характеристики:
I’вх≤0,04 мА;
Iвх0≤1,6 мА;
Uвых0≤0,4 В;
Uвых’≤2,4 В;fmax=19
МГц;
Коэффициент разветвления = 4.
) Делитель частоты на 100 Гц также реализуется
на микросхеме К155ИЕ1.
Рисунок 2.11 - Делитель частоты на
100 Гц.
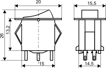
) Переключатель частоты 10 или 1 Гц
выполнен на основе переключателя ПТ73-2-3.
Рисунок 2.12 - Переключатель частоты 10 или 1
Гц.
Переключатель клавишный ПТ-73-2-3 предназначен
для коммутации электрических цепей переменного тока в бытовой радиоэлектронной
аппаратуре, в том числе в аппаратуре общепромышленного применения.
Рисунок 2.13 - Внешний вид переключателя
ПТ73-2-3.
Рисунок 2.14 - Размеры переключателя ПТ73-2-3.
Таблица 2.5 - Технические характеристики переключателя
ПТ73-2-3
|
Параметр
|
Значение
|
|
Ток,
А
|
0,001-6
|
|
Напряжение,
В
|
0,1-250
|
|
Мощность,
мах. ВА
|
660
|
|
Количество
коммутационных циклов, В.О.
|
50000
|
|
Сопротивление
электрического контакта, Ом, не более
|
0,02
|
|
Сопротивление
изоляции, МОм, не менее
|
1000
|
|
Электрическая
прочность изоляции, В
|
1500
|
|
Температура
окружающей среды, °С
|
-45…+55
|
|
Масса,
г, не более
|
10
|
6) Коммутатор импульсов выполнен на основе
транзистора КТ815А.
Рисунок 2.15 - Коммутатор импульсов.
Рисунок 2.16 - Размеры транзистора КТ815А.
Таблица 2.6 - Технические характеристики
транзистора КТ815А
|
Материал
|
Si
|
|
Ik max, A
|
1,5
|
|
Ik и max, A
|
3
|
|
Uкэо гр (Uкэо, и max) (Uкэг max), В
|
25
|
5
|
|
Рк
max (Рк, ср max) (Рк , и max), Вт
|
10
|
|
при
Тк (Т), С
|
25
|
|
Тк
max (Т max), С
|
100
|
|
h21э (h21э) (S21
тип)
|
40
|
|
при
Uкэ (Uкб), В
|
2
|
|
Uкэ нас, В
|
1
|
|
Ikб0 (Ikэг) (Ikэо),мА
|
0,6
|
|
fгр (fh21), МГц 0,005
|
|
|
Ск,
пф
|
3
|
|
Сэ,
пф
|
60
|
|
Rт п-к (Rт п-с),
С/Вт
|
10
|
7) Блок «обмотки трансформатора» реализован на
трансформаторе ТП1-2.
Рисунок 2.17 - Обмотки трансформатора.
Рисунок 2.18 - Внешний вид
трансформатора ТП1-2.
Рисунок 2.19 - Габаритные размеры, мм вид сбоку.
Рисунок 2.20 - Габаритные размеры, мм вид
сверху.
Рисунок 2.21 - Посадочные размеры, мм.
Основные технические характеристики:
· Номинальная индуктивность обмоток,
на частоте f = 1 кГц: L1, L2 > 2.0 Гн;
· Коэффициент трансформации: Ктр =
1+5% ;
· Активное сопротивление обмоток: R1 =
60 Ом, R2 = 80 Ом;
· Рабочий диапазон частот: fраб = 300
- 3400 Гц.
В качестве магнитопровода используется сердечник
КВ6:ТРС-1-1, КВ5:ТРС-2-1, КВ: ТРС-2-1 из феррита с высокой магнитной
проницаемостью.
) Блок «симмисторный ключ» выполнен на основе
симмистора серии ТС161-160.
Рисунок 2.22 - Симмисторный ключ.
Рисунок 2.23 - Размеры симмистора серии
ТС161-160.
Таблица 2.7 - Технические характеристики
симмистора серии ТС161-160
|
Предельные
значения параметров режима
|
|
при
Тп мах
|
|
Iос, д мах, А
|
160
|
|
Тк,
0С
|
85
|
|
Uзс,п,В
|
200
|
|
Iос, удр, А при tи=10 мс; Uобр=0
|
2100
|
|
(dUзс/dt)ком,
В/мкс
|
1…50
|
|
(diос/dt)кр,А/мкс
|
6,3
|
|
Тп
мах,0С
|
125
|
|
Электрические
и временные параметры, при Тп=250С
|
|
Iвкл, мА
|
500
|
|
Iуд, мА
|
200
|
|
Uос, и (Uос), В при
Iос, и(Iос)= ос, д
мах1,75
|
|
|
Iу, от, мА
|
400
|
|
Uу, от, В
|
5
|
|
tвкл, мкс
|
20
|
|
tзд, мкс
|
10
|
9) Индикатор частоты импульсов реализуется на
основе светодиода серии АЛ310Б.
Рисунок 2.24 - Индикатор частоты импульсов.
Рисунок 2.25 - Размеры светодиода серии АЛ310Б.
Таблица 2.8 - Электрические и световые параметры
светодиода АЛ310Б
|
Цвет
свечения
|
Красный
|
|
Сила
свечения, при Iпр =10 мА
|
0,25…0,6
мкд
|
|
Длина
волны излучения в максимуме спектральной плотности
|
0,67
мкм
|
|
Постоянное
прямое напряжение при Iпр=10 мА, не более
|
2
В
|
|
Предельные
эксплутационные данные
|
|
Постоянный
прямой ток
|
12
мА
|
|
Температура
окружающей среды
|
-60…+70
0С
|
2.3 Разработка схемы электрической
принципиальной. Принцип действия
Схема электрическая принципиальная представлена
в ПРИЛОЖЕНИИ А.
Принцип действия.
Генератор одиночных импульсов (ГОИ) и индикатор
прохождения тока (ИПТ) позволяют, не отключая сеть, разобраться в схеме
электроснабжения.
ГОИ состоит из схемы запуска, мощного симмистора
или тиристора и мощного резистора. Силовой трансформатор генератора Т1 имеет 2
вторичные обмотки (22 В и 4 В). Т2 можно изготовить из Ш-образного или
кольцевого магнитопровода М2000 площадью сечения порядка 1 см2. Первичная
обмотка содержит 400 витков, вторичная - 200 витков провода ПЭЛ диаметром 0,24
мм. На микросхемах DD1.1
и DD1.2 собран
формирователь импульсов частотой 100 Гц. ИМС DD2
и DD3 делят частоту на
10 и на 100.
На вход ИМС DD1.3
можно подать импульсы частотой 10 Гц или 1 Гц через переключатель SА1.
Эти импульсы коммутируют транзисторный ключ на VТ1,
в коллектор которого включен импульсный трансформатор Т2. Импульсы со вторичной
обмотки Т2 подаются на управляющий электрод симмистора VS1.
Открываясь один или десять раз в секунду, симмистор вызывает в проверяемой
сети, к которой подключен генератор, ток величиной до 10 А - в зависимости от
номиналов R8 и R9.
Автоматические выключатели с тепловой защитой от такого тока не срабатывают, с
электромагнитной - выключаются. Поэтому на время проверки цепи их необходимо
закоротить.
Индикатор прохождения тока состоит из
раздвижного магнитопровода из электротехнической стали площадью сечения 1...1.5
см2 и двух обмоток по 3000 витков провода ПЭЛ диаметром 0.12 мм. Можно
использовать готовые конструкции из токоизмерительных клещей (Ц-90, Ц-95 и им
подобных). Обмотки L1 и L2
соединены последовательно и нагружены на светодиод НL1.
Методика контроля сети с помощью ГОИ и ИПТ очень
проста. Подключив генератор к нулевому и фазному проводу, его включают. В
проводах возникают мощные импульсы тока, которые легко наблюдаются индикатором
(ИПТ) по вспыхиванию светодиода. Перемещая индикатор по схеме электрической
проводки, можно легко определить нужную цепь автоматов, предохранителей и т.д.
Генератор размещен в металлическом ящике,
разделенном на два отсека. В одном находится схема запуска, в другом -
нагрузочные резисторы. Следует учитывать, что при запуске в положении
переключателя "10 Гц" на нагрузочных резисторах выделяется
значительное количество тепла.
Индикатор можно вмонтировать в корпус
токоизмерительных клещей Ц-90 или сделать оригинальный корпус. В целях
электробезопасности корпус обязательно должен быть из диэлектрического
материала.
.4 Предварительный расчет надежности устройства.
Полный расчет элемента схемы.
Надежность - свойство изделия выполнять заданные
функции, сохраняя свои эксплуатационные показатели в заданных пределах в
течение требуемого промежутка времени или требуемой наработки.
Надежность - один из важнейших показателей
качества изделия.
Расчет надежности сводится в основном к
определению вероятности безотказной работы, средней наработки до отказа и
интенсивностью отказов.
Отказ - это событие, после появления, которого
изделие теряет работоспособность, т.е. какой-либо один или несколько основных
параметров не соответствует требованиям, установленных в КД.
Интенсивность отказов показывает, какое число
изделий (элементов) по отнесению к числу работающих, выходит из строя за
единицу времени (обычно за 1 час). Интенсивность отказов - это отношение числа
отказавших элементов за промежуток времени t к среднему числу исправно
работающих элементов на продолжительность рассматриваемого отрезка времени.
Вероятность безотказной работы - вероятность
того, что в определенных условиях эксплуатации в пределах заданной
продолжительности времени отказа не произойдет.
Средняя наработка до отказа - это время работы
изделия до первого отказа.
При расчете надежности системы определяются
следующие показатели:
· интенсивность отказов изделий λ(t)
или системы,
· вероятность P(t) безотказной работы
системы за время проверок подготовки и заключительного этапа использования
аппаратуры.
· среднее время Тср наработки на отказ
системы.
Исходными данными при расчете надежности
являются:
· принципиальные блок-схемы и входящих в нее
устройств с параметрами функционирования:
· принципиальные схемы всех
функциональных узлов с указанием типов изделий, входящих в узлы;
· режимы работы резервных устройств
(нагруженный, ненагруженный, облегченный),
· электрические режимы работы изделий
коэффициенты их нагрузки;
· величины интенсивности отказов
изделий;
· непрерывное время работы;
· температура окружающей среды;
· условия эксплуатации.
Этапы выполнения расчета надежности:
. Проведение структурного анализа, влияние
каждого элемента на работоспособность системы и характер их взаимосвязи, состав
и число элементов, которые должны быть учтены при расчете.
. Составление структурной схемы расчета
надежности. Сложная система расчленяется на отдельные части - элементы.
З. Проведение расчета надежности.
. Оформление расчета-надежности.
Расчет производится по известным интенсивностям
отказов элементов, входящих в блок. На различных стадиях проектирования
выполняются два вида расчета надежности:
· предварительный,
· окончательный.
Предварительный расчет выполняется на ранних
стадиях проектирования с целью определения принципиальной возможности
обеспечения заданной надежности, и для сравнительного анализа различных
вариантов решения с точки зрения надежности.
Окончательный расчет производится, когда изделие
уже полностью спроектировано с целью определения его надежности в реальных
условиях эксплуатации
Для расчета надежности принципиальной схемы проектируемого
изделия воспользуемся предварительным расчетом.
Предварительную надежность изделия определяем по
формуле:
(t) = е-t*Λ
P(t) =e-6,966*10-6*103=
0,993034
Средняя наработка до отказа - время работы
изделия до первого отказа - определяем по формуле:
ср = 1/ λ*10-6ср
= 1/6,966*10-6 = 143554,407 (час.)
Находим вероятное число отказавших приборов (Х)
за промежуток времени равный 1000 часам:
P(t) = (No - N)/t , где
- число исправных изделий к концу нормального
периода работы или к какому-то времени t.- число изделий поставленных на
испытание.
,993034 = (1000-X)/1000= 1000 - 993 = 7
Вывод: вероятность безотказной работы
проектируемого изделия Р(t) = 0,993034 за промежуток времени равный 1000 часов
работы. Это означает, что из 1000 изделий безотказно будут работать 993, а 7
могут отказать.
Время безотказной работы Тср = 143554,407 часов.
Таблица 2. 9 - Предварительный расчет
надежности.
|
Наименование
ЭРЭ
|
N
|
λi*10-6
1/ч
|
Ni
* λi * 10-6 1/ч
|
Λi
* 10-6 1/ч
|
T
ч.
|
P(t)
|
Тcр.
ч.
|
|
1.Конденсатор
К50-68
|
3
|
0,05
|
0,15
|
6,966
|
1000
|
0,993034
|
143554,407
|
|
2.Транзистор
КТ815А
|
1
|
0,50
|
0,5
|
|
|
|
|
|
3.Симмистор
ТС161-160
|
1
|
0,08
|
0,08
|
|
|
|
|
|
4.Переключатель
ПТ73-2-3
|
1
|
0,3
|
0,3
|
|
|
|
|
|
5.Светодиод
АЛ310Б
|
1
|
0,70
|
0,7
|
|
|
|
|
|
6.Микросхема
К155ЛА3
|
1
|
0,21
|
0,21
|
|
|
|
|
|
7.Микросхема
К155ИЕ1
|
2
|
0,21
|
0,42
|
|
|
|
|
|
8.Диод
КД106А
|
4
|
0,15
|
0,6
|
|
|
|
|
|
9.Диод
КД108
|
5
|
0,15
|
0,75
|
|
|
|
|
|
10.Трансформатор
ТП154-3-1
|
1
|
0,90
|
0,9
|
|
|
|
|
|
11.Трансформатор
ТП1-2
|
2
|
0,90
|
1,8
|
|
|
|
|
|
12.Резистор
МЛТ
|
9
|
0,05
|
0,45
|
|
|
|
|
|
13.
Пайки
|
106
|
0,001
|
0,106
|
|
|
|
|
|
Всего
ЭРЭ
|
31
|
|
|
|
|
|
|
Рассчитаем эксплуатационную интенсивность
отказов микросхемы К155ЛА3 входящей в схему:
Математическая модель для расчета интенсивности
отказов микросхемы:
λэ = λ0(осг)
* Kэ * Ксл * Кпопр * Кр , где
λэ - интенсивность
отказа
λ0(осг) -
интенсивность отказов при групповом ожидаемом среднем значении.
Кэ - коэффициент эксплуатации для наземной
стационарной аппаратуры;
К сл - коэффициент сложности (зависит от
количества элементов)
Ксл=1*10-6;
λ0(осг)=
0,24*10-6(1/ч.);
Кпопр= 0,4*10-6;
Кр=1;э=1,7*10-6;
λ э =0,24*10-6 *
1,7*10-6 * 1*10-6 * 0,4*10-6 * 1 = 0,1632*10-6 (1/ч.)
P(t)
= е-Λt = 0,99984
Тср = 1000000/ 0,1632*10-6 = 6127450980,39
(час.)
Электрический расчет выходного каскада (ключа)
на транзисторе VT1.
Исходные данные для расчета:
· На транзисторе КТ815А.
Iк мах.=1,5 А;
Iб=0,75 А;
Uк э=40 В;
h2 1=40-70;
Uк э нас.=0,8.
Рисунок 2.26 - Схема выходного каскада (ключа)
на транзисторе VT1
· На микросхеме К155ЛА3
Uвых′≥2,4
B;
Uвых0=0,4 В;
Iпр=16 мА.
Iб на границе
насыщения
3. Технологическая часть
Совокупность действий, в результате
которых поступающий на предприятие материал и полуфабрикаты (покупные изделия)
превращаются в готовое изделие, называется производственным процессом
Комплекс мероприятий, связанных с
проектированием и освоением производства новых изделий или направленных на
совершенствование производства уже выпускаемых изделий, называется технической
подготовкой производства. Техническая подготовка производства включает в себя
конструкторский и технологический этапы, а так же организационные мероприятия,
связанные с планированием и контролем технической подготовки и освоением
производстве Содержание и объем технической подготовки производства
соответственно будут разными для нового и уже выпускаемого изделия.
Технологическая подготовка
производства представляет комплекс работ по проектированию технологических
процессов, их оснащению и установлению оптимальных норм трудовых и материальных
затрат. Она охватывает все стадии производственного процесса.
Технологическая подготовка
сборочного производства, являясь мастью технологической подготовки производства
изделия в целом, включает следующие работы:
· проектирование кинологического процесса сборки,
· разработку системы контроля;
· освоение технологического процесса;
· составление нормативов трудовых и
материальных затрат.
.1 Проектирование технологического процесса
сборки
Технологический процесс сборки это часть
производственного процесса сборки, в результате которой путем непосредственного
соединения деталей и других комплектующих элементов между собой создается
изделие, обладающее конструктивными параметрами и свойствами, предусмотренными
техническими условиями.
Сборочная операция это законченная часть
технологического процесса сборки, выполняемая над одним или над несколькими
объектами сборки одновременно на одном рабочем месте непрерывно одним рабочим
или бригадой рабочих.
Сборочным переводом называется непрерываемая
часть операции, связанная с обеспечением соединения по одной или одновременно
по нескольким сопрягаемым поверхностям с помощью одного или нескольким
одновременно используемых рабочих инструментов без переналадки режимов работы
оборудования.
.2 Исходные данные
Исходными материалами, необходимыми для
разработки технологического процесса сборки, являются:
· конструкторские документы на изделия (КД);
· технические условия (ТУ);
· годовая программа выпуска или размер
партии;
· руководящий технический материал
(РТМ).
Основным конструкторским документом для
электромеханических конструкции является сборочный чертеж документ, содержащий
изображение изделия и другие данные, необходимые для его сборки и контроля. Для
электрических и электронных приборов в качестве основных конструкторских
документов используют электромонтажные чертежи, чертежи печатных плат и
различные электрические схемы. Кроме того, необходимо иметь спецификации,
таблицы проводов и другие конструкторские документы, разъясняющие устройство
приборов, особенности сборки, регулировки и контроля.
В технических условиях содержатся следующие
данные: назначение изделия; условия эксплуатации; технические требования;
контроль; параметры контроля, методы и средства контроля, условия годности,
периодичность контроля; условия приемки; маркировка; упаковка; хранение: транспортировка;
особенности выполнения отдельных сборочных операций.
Основными руководящими техническими материалами
(РТМ) являются ГОСТы, ЕСКД, ЕСТД, ЕСДП и ЕСТПП, кроме того, сюда относятся
стандарты и нормали на инструмент и приспособления, каталоги на оборудование,
нормативы по режимам обработки и нормам времени, справочники по допускам и
посадкам. К РТМ также относятся материалы, характеризующие технические и
технологические возможности производства, на котором предполагается выпуск
изделий.
.3 Последовательность разработки
Разработка технологического процесса состоит из
следующих этапов.
. Определение сборочного состава изделия.
2. Выбор организационной формы сборки.
. Выбор метода сборки.
. Разработка технологического маршрута.
. Выбор оборудования.
. Выбор нормальной и создание специальной
технологической оснастки.
. Выбор вспомогательных материалов
. Установление режимов выполнения
операций.
. Определение разряда работы.
. Определение норм времени
. Оформление технологической
документации.
Рассмотрим их на основании анализа
конструкторских документов устанавливается сборочный состав изделия.
Изделие расчленяется на сборочные единицы
(узлы), позволяющие вести сборку их независимо друг от друга, выделяются
базовые детали, определяются источники комплектования элементов. Затем
составляется схема сборочного состава. На схеме показывают элементы, входящие в
состав изделия, и основные этапы сборки. В геометрических фигурах указывается
наименование элементов, номер по спецификации, номер чертежа, количество элементов
на одно изделие. В схеме могут быть указаны источники поступления элементов и
сроки готовности различных ступеней сборки и изделия в целом. Схема имеет
важное значение для дальнейшей разработки технологического процесса, ее можно
использовать в качестве диспетчерского документа, по которому удобно следить за
процессом производства изделия и принимать необходимые меры, если готовность
тех или иных элементов не соответствует графику. В то же время схема сборочного
состава не дает представления, о последовательности сборки и способах
обеспечения соединений. Последовательность сборки, способы обеспечения,
соединений, периодичность и содержание процесса регулировки, испытаний и
контроля дает технологическая схема сборки. Такая схема может быть использована
на рабочем месте сборщика как иллюстрация к технологической, карте сборки;
выбор организационной формы сборки осуществляется с учетом конструктивных
особенностей изделия, годовой программы выпуска, условий взаимозаменяемости и
др. Выбор метода сборки производится исходя из требований взаимозаменяемости,
принятой организационной формы сборки, экономической целесообразности и ступени
сборки; разработка технологического маршрута предусматривает установление
перечня и количества операций, их последовательность и содержание.
Перечень операций определяется исходя из
конструктивных особенностей сборочной единицы, т. е. исходя из видов элементов
и видов связей, входящих в состав изделия, а также с учетом видов соединений,
применяемых в сборочной единице. Количество операций зависит от конструкций
изделия, типа производства и принятой организационной формы сборки.
Последовательность выполнения операций зависит,
прежде всего, от конструкции сборочной единицы, возможности расчленения изделия
на отдельные узлы, последовательности узловой сборки и общей сборки изделия.
Каждая последующая операция должна быть логическим продолжением предыдущей.
Содержание операции должно раскрывать способ
установки сборочной единицы на рабочем месте, содержание переходов,
последовательность их выполнения; оборудование рабочего места выбирается в
соответствии с назначением сборочной операции. Большинство сборочных операций
выполняется на сборочном верстаке или монтажном столе; технологическая оснастка
включает в себя рабочий и мерительный инструмент, рабочие и контрольные
приспособления. Сначала подбирается нормализованная технологическая оснастка и,
если она не обеспечивает выполнения работы или требуемой производительности,
проектируется и создается специальный инструмент и приспособления, пригодные
для выполнения только определенной работы на определенном рабочем месте.
Для выполнения сборочных операций необходим
вспомогательный материал, который не входит в спецификацию, но требуется для
обеспечения сборки (материалы для промывки и сушки деталей, припой, флюс, клей
и т. п.).
Режимы работы устанавливаются в зависимости от
температуры, давления и
продолжительности операций (склеивание,
пропитка) и подбираются по нормативам исходя из конкретных условий; разряд
работы определяется по соответствующим нормативам, разработанным для различных
видов работ и устанавливается для операции в целом и с ориентацией на наиболее
сложный переход. Нормирование слесарно-сборочных работ представляет большую
трудоемкость. В то же время большинство сборочных работ может быть сведено к
ограниченному перечню рабочих приемов: завернуть винт, установить штифт,
закрепить злектро-элемент на плате, паять проводник и т. д. На эти элементы
сборки разработаны нормативные материалы применительно к определенному типу
изделий и к конкретным условиям производства Нормативы служат основанием для
разработки норм времени на отдельные рабочие приемы, технологические переходы и
операции в целом, оформление технологической документации. Перечень
технологической документации на сборочные, слесарно-сборочные и
электромонтажные работы, а также порядок ее оформления регламентированы ГОСТ 3
1407-74 ЕСТД.
Спроектированный технологический процесс должен
обеспечивать:
) высокое качество собираемых изделий;
2) установленное количество изготовляемых
изделий в соответствии с размером партии или годовой программой выпуска;
) высокую производительность труда;
) выпуск изделий на минимальных
производственных площадях;
) минимальные трудовые затраты;
) использование современных методов
сборки и монтажа;
) использование опыта новаторов
производства;
) минимальные капитальные затраты;
) охрану труда;
) наименьшую себестоимость выпускаемой
продукции.
.4 Разработка системы контроля
Под системой контроля понимается комплекс
организационных и технических мероприятий, исключающих выпуск изделий, не
отвечающих требованиям технических условий.
Система контроля разрабатывается технологической
службой на базе конструкторской документации, технических условий и
технологического процесса сборки и согласовывается со службой технического
контроля и представителями заказчика.
При этом устанавливаются параметры контроля,
последовательность выполнения контрольных операций, средства контроля, виды
контроля, методы и способы контроля, оформление документации технического контроля
и др.
Существует два основных направления контроля.
Статистический контроль, фиксирующий качество
выпускаемых изделий.
Профилактический контроль, направленный на
предупреждение выпуска бракованной продукции.
Определить качество выпускаемой продукции можно
проверкой линейных, электрических, физических параметров, а также специальных
параметров, характеризующих точность и надежность работы приборов.Для этой цели
при изготовлении приборов создается большой комплекс специальной
контрольно-испытательной аппаратуры, которая используется не только в процессе
производства, но и для регламентных проверок в процессе эксплуатации.
К проверкам, предупреждающим выпуск бракованной
продукции, относятся;
) Входной контроль деталей и других
элементов, поступающих на сборку.
2) Пооперационный контроль сборочной
единицы, что дает возможность выявить стадии сборки, на которых образуется
брак.
) Контроль технологической оснастки на
рабочих местах.
) Контроль режимов выполнения операции, в
том числе режимов естественных процессов.
) Контроль за соблюдением технологической
дисциплины.
) Контроль конструкторской и
технологической документации на соответствие ГОСТ, ЕСКД, ЕСТД, ЕСДО и ЕСТПП.
) Контроль санитарного состояния
производственных помещений, что очень важно при сборке приборов высокой
точности.
) Санитарный контроль персонала сборочных
цехов.
Система государственных проверок средств
измерений. Документация на процессы технического контроля регламентирована ГОСТ
3.1502-74. Она комплектуется по видам работ и прилагается к технологической
документации как самостоятельный комплект.
.5 Назначение регулировки и организация рабочего
места регулировщика
Регулировка радиоэлектронной аппаратуры
осуществляется с целью доведения параметров изделий до значений,
соответствующих требованиям технических условий, ГОСТов или образцам, принятым
за эталон.
Основными задачами регулировки являются
компенсация (подстройка) допустимых отклонений параметров элементов устройства,
а также выявление ошибок монтажа и других неисправностей. Обычно с этой целью
выполняют подгонку режимов полупроводниковых приборов, регулировку усилителя
низкой частоты и детектора, проверку исправности различных элементов, установку
режимов отдельных каскадов и всего устройства.
Регулировка производится двумя методами: по
измерительным приборам и сравнением настраиваемого устройства с образцом,
которое называется электрическим копированием.
Точность и надежность радиоаппаратуры и приборов
зависят от технологического процесса их производства. Поэтому технический
уровень изготовления отдельных элементов и блоков определяет объем и степень
точности регулировки радиоаппаратуры.
Рабочее место регулировщика должно быть
оборудовано необходимой аппаратурой, приборами и приспособлениями. При
пользовании для измерений специальных стендов регулировщик должен изучить
назначение каждого конструктивного элемента стенда и ручек управления.
Кроме того, ему следует ознакомиться с
инструкцией по технике безопасности, которая определяет меры, предупреждающие
травмы, а также способы быстрой ликвидации возникшей опасности поражения
электрическим током и воздействия электромагнитного поля сверхвысоких частот.
Рабочее место регулировщика - должно быть
оснащено необходимыми инструментами, в состав которых входят:
ü нож для выкусывания проводов;
ü вакуумный и ручной отсосы припоя;
ü приспособление для устранения
деформации печатных плат;
ü приспособление для размещения
печатного узла, предназначенного для регулировки РЭА и приборов;
ü приспособление для захвата корпусов
микросхем, подлежащих демонтажу;
ü теплоотвод для демонтажа микросхем;
ü специальная игла для очистки
печатных плат от припоя;
ü приспособление для развальцовки
пистонов;
ü приспособление для демонтажа
проводов;
ü приспособления для отсоса припоя при
демонтаже многовыводных ЭРЭ и ИС;
ü комплект инструмента для регулировки
и ремонта печатных плат;
ü монтажный инструмент.
.6 Типизация технологических процессов (ТТП)
Под типизацией технологических процессов
понимается создание единых типовых (нормализованных или стандартизованных)
технологических процессов при сборке близких по конструктивным признакам и по
технологическому маршруту сборки изделий. Наряду с сокращением сроков
технологической подготовки производства внедрение типовых технологических
процессов создает условия для нормализации и стандартизации методики
проектирования технологических процессов и процессов сборки сходных по
конструктивным и технологическим признакам изделий; внедрения прогрессивных
методов и процессов сборки на базе достижений современной техники, технологии и
опыта новаторов производства унификации оборудования; нормализации и
стандартизации технологической оснастки - приспособлений и рабочего
инструмента; перенесения опыта массового производства в серийное, в том числе
применение подвижной формы сборки на конвейере;
кооперирования в самых широких масштабах;
улучшения качества и сокращения сроков подготовки кадров; лучших контактов в
работе конструкторов и технологов на базе создания технологичных изделий,
являющихся важнейшим фактором создания ТТП; разработки объективных показателей
для оценки технологических процессов на различных предприятиях; развития
технологии производства как науки.
По своим объективным показателям применение ТТП
наиболее целесообразно для серийного производства, где достаточно устойчива номенклатура
выпускаемых изделий, большое количество однотипных узлов и соответственно много
повторяющихся по маршруту технологических процессов.Работа связанная с
внедрением ТТП, состоит из двух основных этапов:
первый этап - классификация сборочных единиц;
второй этап - разработка ТТП и оформление
документации.
Задачей первого этапа является выявление типа
сборочных единиц и параллельно с этим дальнейшая унификация и нормализация
конструктивных элементов изделия. Типом сборочных единиц называется перечень
сборочных единиц, близких по конструктивным признакам и имеющих схожий
технологический маршрут сборки. В состав одного типа не должно входить большое
количество сборочный единиц, так как появятся сборочные единицы со
значительными отклонениями признаков, а это повлечет за собой большую доработку
документации и усложнит сборку реальных сборочных единиц. Выявление же типа по
ограниченному количеству признаков приведет к чрезмерной детализации его, а это
в свою очередь - к созданию большого количества технологической документации с
незначительной разницей в ней. Основой классификации являются
конструктивно-технологические признаки. Количество ступеней классификации
зависит от сложности изделия и степени унификации узлов. Для сравнительно
сложных изделий можно предложить четырехступенчатый классификатор, включающий
классы, виды, группы, типы в зависимости от степени детализации при определении
типа сборочной единицы типовой технологический процесс разрабатывается или по
наиболее сложному реальному узлу, или по осредненному конструктивному варианту
сборочной единицы.
Важным достоинством ТТП является то, что они
позволяют использовать наиболее прогрессивную технику и технологические
процессы, но их необходимо постоянно совершенствовать на базе новейших
достижений техники и технологии с учетом передового опыта новаторов
производства. В противном случае ТТП будут одерживать развитие производства с
технической, технологической и экономической точек зрения.
.7 Анализ технологичности конструкции
Порядок выполнения анализа технологичности
конструкции:
) Составить блок схему определения
технологичности согласно своему заданию.
а) производственная;
б) эксплуатационная.
3) Определить главные факторы, определяющие
требования к технологичности конструкции:
а) тип изделия;
б) тип производства;
в) объем выпуска;
г) вид оценки.
4) Дать характеристику видам оценки
технологичности.
5) Составить классификацию показателей
технологичности конструкции изделия:
а) по области проявления;
б) по области анализа;
в) по системе оценке;
г) по значимости;
д) по кол-ву характеризуемых признаков;
е) по способу выражения.
Общие положения
Обеспечение технологичности изделия - функция
подготовки производства, предусматривающая взаимосвязанное решение конструкторских
и технологических задач, направленных на повышение производительности труда,
достижение оптимальных трудовых и материальных затрат и сокращение времени на
производство, в том числе и монтаж вне предприятия изготовителя, техническое
обслуживание и ремонт изделия.
Виды технологичности
Производственная технологичность конструкции
изделия проявляется в сокращении затрат средств и времени на:
) конструкторскую подготовку производства
(КПП);
2) технологическую подготовку производства
(ТПП);
) процессы изготовления, в том числе
контроля и испытаний.
Эксплуатационная технология конструкции изделия
проявляется в сокращении затрат времени и средств на техническое обслуживание и
ремонт изделия.
Главные факторы, определяющие требования к
технологичности конструкции
Вид изделия определяет главные конструктивные и
технологические признаки, обуславливающие основные требования к технологичности
конструкции.
Объём выпуска и тип производства определяет
степень технологического оснащения, механизации и автоматизации технологических
процессов и специализацию всего производства.
Вид оценки
Качественная оценка характеризует
технологичность конструкции обобщённо на основании опыта исполнителя.
Качественная сравнительная оценка вариантов
конструкции допустима на всех стадиях проектирования, когда осуществляется
выбор лучшего конструктивного решения и не требуется определения степени
различия технологичности сравниваемых вариантов.
Количественная оценка технологичности
конструкции изделия выражается показателем, численное значение которого
характеризует степень удовлетворения требований к технологичности конструкции.
Количественная оценка технологичности
конструкции изделия рациональна только в зависимости от признаков, которые
существенно влияют на технологичность рассматриваемой конструкции.
Для расчета технологичности составим следующую
таблицу:
Таблица 3.1 - Расчет кол-ва выводов элементов
подлежащих лужению и формовки
|
Тип
ЭРА
|
Марка
ЭРА
|
Количество
в схеме
|
Количество
выводов у одного элемента
|
Суммарное
количество выводов
|
Выводы
подлежащие формовки
|
Выводы
подлежащие лужению
|
Автоматическая
формовка и лужение
|
Автоматическая
пайка
|
|
Конденсатор
|
К50-68
|
3
|
2
|
6
|
6
|
6
|
6
|
6
|
|
Транзистор
|
КТ815А
|
1
|
3
|
3
|
3
|
3
|
3
|
3
|
|
Тип
ЭРА
|
Марка
ЭРА
|
Количество
в схеме
|
Количество
выводов у одного элемента
|
Суммарное
количество выводов
|
Выводы
подлежащие формовки
|
Выводы
подлежащие лужению
|
Автоматическая
формовка и лужение
|
Автоматическая
пайка
|
|
Симмистор
|
ТС161-160
|
1
|
3
|
3
|
-
|
3
|
3
|
3
|
|
Переключатель
|
ПТ73-2-3
|
1
|
2
|
2
|
-
|
-
|
-
|
-
|
|
Светодиод
|
АЛ310Б
|
1
|
2
|
2
|
2
|
-
|
-
|
-
|
|
Микросхема
|
К155ЛА3
|
1
|
14
|
14
|
-
|
-
|
-
|
14
|
|
К155ИЕ1
|
2
|
14
|
28
|
-
|
-
|
-
|
28
|
|
Диод
|
КД106А
|
4
|
2
|
8
|
8
|
8
|
-
|
8
|
|
КД108
|
5
|
2
|
10
|
10
|
10
|
-
|
10
|
|
Резистор
|
МЛТ
|
9
|
2
|
18
|
18
|
18
|
18
|
18
|
|
Трансформатор
|
ТП154-3-1
|
1
|
4
|
4
|
-
|
4
|
-
|
-
|
|
ТП1-2
|
2
|
4
|
8
|
-
|
8
|
-
|
-
|
|
Итого:
|
|
31
|
54
|
106
|
47
|
60
|
30
|
90
|
Анализ технологичности конструкции
1. Коэффициент
механизации и автоматизации монтажа:
Ка.н.=На.м./Нм , где
Нм - общее число монтажных соединений;
На.м. - число соединений, полученных
автоматизированным способом.
Нм=106;
На.м.=90
Ка.н.=90/106=0,84906
2. Коэффициент
механизации подготовки ЭРЭ к монтажу:
Км.п.эрэ=Нм.п.эрэ/Нм.эрэ , где
Нм.п.эрэ - число ЭРЭ, подготовленных к монтажу
механизированным способом;
Нм.эрэ - число монтажных ЭРЭ.
Нм.п.эрэ=30;
Нм.эрэ=31
Км.п.эрэ=30/31=0,96774
3. Коэффициент
механизации контроля и настройки:
Км.к.н.=Нм.к.н./Нк.н. , где
Нм.к.н. - число операций контроля
механизированным способом;
Нк.н. - общее число операций контроля.
Нм.к.н.=2;
Нк.н.=8
Км.к.н=2/8=0,25
4. Коэффициент
повторяемости ЭРЭ:
Кпов.эрэ=1-Нт. эрэ/Нэрэ , где
Нт.эрэ - число применяемых типов ЭРЭ;
Нэрэ - число применяемых ЭРЭ.
Нт.эрэ=9;
Нэрэ=31
Кпов.эрэ=1-9/31=0,70968
5. Коэффициент
применяемости ЭРЭ:
Кпр.эрэ=1-Нт.пр.эрэ/Нт.эрэ , где
Нт.эрэ - число типов ЭРЭ;
Нт.пр.эрэ - число типов применяемых ЭРЭ.
Нт.эрэ=12;
Нт.пр.эрэ=9
Кпр.эрэ=1-9/12=0,25
6. Технологичность
изделия оценивается комплексным показателем, определяемых на основе базовых
показателей:
, где
Кi - расчётный
базовый показатель соответствующего классам блоков;
φi -
коэффициент весовой значимости показателя;
n - число
базовых показателей определяемого на данной стадии разрабатываемого изделия.
Значение коэффициента весовой
значимости базового показателя:
· φi
= 1 (для коэффициента автоматизации и механизации монтажа);
· φi
= 0,75 (для коэффициента механизации подготовки ЭРЭ к монтажу);
· φi
= 0,5 (для коэффициента механизации контроля и настройки);
· φi
= 0,31 (для коэффициента повторяемости ЭРЭ);
· φi
= 0,187 (для коэффициента применяемости ЭРЭ).
0,71591
7. Уровень
технологичности разрабатываемого изделия при известном нормативном комплексном
показателе К, согласно ГОСТ 14.201-93 оценивают отношение достигнутого
комплексного показателя к нормативному Кn.
Это Соотношение должно удовлетворять условию К/Кn≤1.
Значение Кn берётся из таблицы
3.2.
Таблица 3.2 - Значение коэффициента Kn
|
Тип
блока
|
Кn
|
|
Опытный
образец
|
Установочный
|
Серийное
производство
|
|
1.
Электронные
|
0,4-0,7
|
0,45-0,75
|
0,5-0,8
|
|
2.
Радиотехнические
|
0,4-0,6
|
0,75-0,8
|
0,8-0,85
|
|
3.
Электромеханические и механические
|
0,3-0,5
|
0,4-0,55
|
0,45-0,6
|
Тип блока: радиотехнические.
Серийное производство: Кn=0,85
К/Кn=0,
71591/0,85=0,84
К/Кn≤1
.8 Расчет норм времени
|
Операции
|
Разряд
|
Кол-во
|
Разм.
|
Норма
времени (мин)
|
Кол-во
ед. изд.
|
Норма
времени в изделии (мин)
|
|
1
|
2
|
3
|
4
|
5
|
6
|
7
|
|
1.
Комплектование
|
2
|
ЭРЭ
|
шт.
|
|
|
0,08
час.
|
|
Конденсаторы
К50-68
|
|
|
|
0,21
|
3
|
0,63
|
|
Транзистор
КТ815А
|
|
|
|
0,02
|
1
|
0,02
|
|
Симмистор
ТС161-160
|
|
|
|
0,12
|
1
|
0,12
|
|
Переключатель
ПТ73-2-3
|
|
|
|
0,24
|
1
|
0,24
|
|
Светодиод
АЛ310Б
|
|
|
|
0,02
|
1
|
0,02
|
|
Микросхемы
К155ЛА3 К155ИЕ1
|
|
|
|
0,12
|
3
|
0,36
|
|
Диод
КД106А
|
|
|
|
0,02
|
4
|
0,08
|
|
Диод
КД108
|
|
|
|
0,02
|
5
|
0,1
|
|
Трансформаторы
ТП154-3-1 ТП1-2
|
|
|
|
0,24
|
3
|
0,72
|
|
Резистор
МЛТ
|
|
|
|
0,21
|
9
|
1,89
|
|
Оформ.
сопр. док.
|
|
|
|
0,016
|
15
|
0,24
|
|
2.Контроль
|
2
|
|
|
8%
|
|
0,0064
час.
|
|
3.
Подготовка
|
2
|
ЭРЭ
|
шт.
|
|
|
0,20413
час.
|
|
Формовка
|
|
|
|
0,064
|
47
|
3,008
|
|
Лужение
|
|
|
|
0,15
|
60
|
9
|
|
Оформ.
сопр. док.
|
|
|
|
0,016
|
15
|
0,24
|
|
4.Контроль
|
2
|
|
|
8%
|
|
0,016331
час.
|
|
5.
Расконсервация
|
2
|
Плата
|
шт.
|
|
|
0,007
час.
|
|
Расконсервация
|
2
|
Плата
|
шт.
|
0,003
час.
|
|
0,003
|
|
Оформ.
сопр. док
|
|
|
|
0,016
|
15
|
0,24
|
|
6.
Маркирование
|
2
|
Знак
|
шт.
|
|
|
0,0162
час.
|
|
Маркирование
|
2
|
Знак
|
шт.
|
0,043
|
17
|
|
Оформ.
сопр. док.
|
|
|
|
0,016
|
15
|
0,24
|
|
7.
Контроль
|
2
|
|
|
8%
|
|
0,0014
час.
|
|
8.
Сборка
|
2
|
1эл.
|
шт.
|
|
|
0,027
час.
|
|
Сборка
|
2
|
1эл.
|
шт.
|
0,095
|
12
|
1,38
|
|
Оформ.
сопр. док
|
|
|
|
0,016
|
15
|
0,24
|
|
9.
Контроль
|
3
|
|
|
8%
|
|
0,0022
час.
|
Таблица 3.3 - Норма времени
|
Операции
|
Разряд
|
Кол-во
|
Разм.
|
Норма
времени (мин)
|
Кол-во
ед. изд.
|
Норма
времени в изделии (мин)
|
|
1
|
2
|
3
|
4
|
5
|
6
|
7
|
|
10.Монтаж
|
3
|
ЭРЭ
|
шт.
|
|
|
0,9985
час.
|
|
Обезжиривание
|
|
|
|
0,02
|
106
|
2,12
|
|
Монтаж
|
|
|
|
0,504
|
106
|
53,424
|
|
Промывка
|
|
|
|
0,04
|
106
|
4,24
|
|
Оформ.
сопр. док
|
|
|
|
0,016
|
15
|
0,24
|
|
11.
Контроль
|
3
|
|
|
8%
|
|
0,07988
час.
|
|
12.
Регулировка
|
4
|
Изделие
|
шт.
|
|
10
|
0,17
час.
|
|
Регулировка
|
4
|
Изделие
|
шт.
|
|
10
|
10
|
|
Оформ.
сопр. док
|
|
|
|
0,016
|
15
|
0,24
|
|
13.
Контроль
|
4
|
|
|
8%
|
|
0,17
час.
|
|
14.
Лакирование
|
2
|
1
пайка
|
шт.
|
|
|
0,0906
час.
|
|
Лакирование
|
2
|
1
пайка
|
шт.
|
0,049
|
106
|
5,194
|
|
Оформ.
сопр. док
|
|
|
|
0,016
|
15
|
0,24
|
|
15.
Контроль
|
3
|
|
|
8%
|
|
0,00725
час.
|
|
16.
Сборка
|
2
|
Плата
|
шт.
|
|
|
0,01
час.
|
|
Сборка
|
2
|
Плата
|
шт.
|
0,095
|
4
|
0,38
|
|
Оформ.
сопр. док
|
|
|
|
0,016
|
15
|
0,24
|
|
17.
Контроль
|
3
|
|
|
8%
|
|
0,001
час.
|
|
18.
Испытание
|
3
|
Изделие
|
шт.
|
|
|
0,204
час.
|
|
Испытание
|
3
|
Изделие
|
шт.
|
10
|
12
|
12
|
|
Оформ.
сопр. док
|
|
|
|
0,016
|
15
|
0,24
|
|
19.Транспортирование
|
2
|
Изделие
|
шт.
|
0,002
|
100
м
|
0,002
час.
|
.9 Расчет расхода материала
Таблица 3.4 - Расход материала
|
Наименование
операции
|
Материал
|
Ед.
измер.
|
Разм.
мат.
|
Кол-во
материала
|
Кол-во
шт. на плате
|
Расход
мат. в изд. на операцю
|
|
1.
Лужение
|
Припой
ПОС - 61 ГОСТ 21931 - 76
|
1
пайка
|
кг
|
0,00014
|
60
|
0,0084
|
|
Флюс
ФкСп
|
1
пайка
|
кг
|
0,0016
|
60
|
0,096
|
|
Спирто-бензин
(1:1)
|
1
пайка
|
л
|
0,0003
|
60
|
0,018
|
|
2.
Монтаж
|
Припой
ПОС - 61 ГОСТ 21931 - 76
|
1
пайка
|
кг
|
0,00021
|
106
|
0,02226
|
|
Флюс
ФкСп
|
1
пайка
|
кг
|
0,00016
|
106
|
0,01696
|
|
Спирто-бензин
(1:1)
|
1
пайка
|
л
|
0,0005
|
106
|
0,053
|
|
3.Расконсервация
|
Спирто-бензин
(1:1)
|
1
плата
|
м3
|
0,05
|
0,00002
|
0,000001
|
|
4.
Маркировка
|
Краска
МКЭ4
|
на
1000 зн.
|
кг
|
0,01047
|
17
|
0,000178
|
|
Спирто-бензин
(1:1)
|
на
1000 зн.
|
л
|
0,00135
|
17
|
0,000023
|
|
5.Лакирование
|
Лак
УР-231
|
на
м2
|
кг
|
0,371
|
0,006825
|
0,002532
|
|
Спирто-бензин
(1:1)
|
на
м2
|
кг
|
0,05
|
0,006825
|
0,000341
|
|
Припой
ПОС - 61 ГОСТ 21931 - 76
|
на
изделие
|
кг
|
0,03066
|
|
Флюс
ФкСп
|
на
изделие
|
кг
|
0,11296
|
|
Спирто-бензин
(1:1)
|
на
изделие
|
л
|
0,071365
|
|
Краска
МКЭ4
|
на
изделие
|
кг
|
0,000178
|
|
Лак
УР-231
|
на
изделие
|
кг
|
0,002532
|
|
|
|
|
|
|
|
|
|
|
.10 Расчет комплекта запасных элементов
Исходные данные:
N0 - комплекты
однотипных РЭА, предполагаемых эксплуатировать в течении определённого
промежутка времени.
N0 = 2000
t0 = 15000 ч.
Каждый комплект аппаратуры содержит
неремонтируемых элементов:
1. Конденсаторы К50-68: N1=3;
λ1=0,05*10-6;
2. Транзистор КТ815А: N2=1;
λ2=0,50*10-6;
. Симмистор ТС161-160: N3=1;
λ3=0,08*10-6;
. Переключатель ПТ73-2-3: N4=1;
λ4=0,3*10-6;
. Светодиод АЛ310Б: N5=1;
λ5=0,70*10-6;
. Микросхемы К155ЛА3, К155ИЕ1: N6=3;
λ5=0,21*10-6;
. Диоды КД106А, КД 108: N7=9;
λ7=0,15*10-6;
. Трансформаторы ТП154-3-1, ТП1-2: N8=3;
λ8=0,90*10-6;
. Резисторы МЛТ: N9=9;
λ9=0,05*10-6;
Определяем среднее число запасных элементов:
nср.=
λi*t*N0*Ni, где
λi
- интенсивность отказов;
t - время;
Ni
- количество.
nср.1=0,05*10-6*15000*2000*3=5
(шт.) конденсаторов;
nср.2=0,50*10-6*15000*2000*1=12
(шт.) транзисторов;
nср.3=0,08*10-6*15000*2000*1=3
(шт.) симмисторов;
nср.4=0,3*10-6*15000*2000*1=9
(шт.) переключателей;
nср.5=0,70*10-6*15000*2000*1=11
(шт.) светодиодов;
nср.6=0,21*10-6*15000*2000*3=9
(шт.) микросхем;
nср.7=0,15*10-6*15000*2000*9=10
(шт.) диодов;
nср.8=0,90*10-6*15000*2000*3=8
(шт.) трансформаторов;
nср.9=0,05*10-6*15000*2000*9=14
(шт.) резисторов.
.11 Расчет проведения профилактических работ
Для РЭА, который небольшую часть времени
находится в работе, период выполнения профилактических работ определяется по
формуле:
где Кn -
коэффициент интенсивности эксплуатации (для бытовой РЭА Кn=0,2).
- в общем случае, где
ti - время
работы аппаратуры при n-ом включении;
tK -
календарное время работы РЭА;
nB - число
включений за календарный период времени.
Вывод: периодичность проведения
профилактических работ составляет 3464,10 часов (раз в 5 месяцев).
.12 Маршрут изготовления изделия
Рисунок 3.1 - Маршрут изготовления
изделия
4. Экономическая часть
Переход к рыночной экономике требует от
предприятий (фирм) повышения эффективности производства, конкурентоспособности
продукции на основе внедрения достижений научно-технического прогресса,
эффективных форм хозяйствования, активизации предпринимательства, инициативы и
т. д.
Экономическая подготовка становится важным
условием повышения уровня хозяйствования.
Современный специалист должен знать организацию
и экономику производства, а также методики обоснования применяемых решений.
В современных условиях выпускнику
радиотехнического техникума, возможно, придется работать на предприятии или
фирме, а возможно он станет предпринимателем. Где бы он не работал, он должен
обеспечивать на своем месте работы наибольшую эффективность при минимальных
затратах.
Хороший специалист должен своевременно замечать
тенденции и возможность повышения эффективности производства. Он должен владеть
мастерством, своевременного всестороннего анализа результатов производственной
деятельности. Предприниматель заинтересован в том, чтобы выжить в конкурентной
борьбе, и всегда должен стремится получить максимальную прибыль.
Важным управленческим решением является
правильное обоснование производственной мощности предприятия и установление,
при каких объемах выпуска производство будет рентабельным, а при каких оно не
будет давать прибыль, а также разрешение проблемы: что выгоднее «производить
или покупать».
Экономическая часть дипломного проекта включает
в себя три раздела:
. Расчет производственной себестоимости
изготовления и расчет отпускной цены;
. Расчет точки безубыточности и выбор наиболее
рационального варианта;
. Расчет себестоимости приобретения и
обоснование решения: производить данное изделие самим или приобретать его на
стороне.
Студентам при выполнении экономической части
дипломного проекта предлагается два альтернативных варианта:
. а). Расчет производственной себестоимости
изготовления и расчет отпускной цены;
б). Расчет точки безубыточности и выбор наиболее
рационального варианта.
. а). Расчет производственной себестоимости
изготовления и расчет отпускной цены;
б). Расчет себестоимости приобретения и
обоснования решения, производить данное изделие самим или приобретать его на стороне.
. Расчет производственной себестоимости
изготовления прибора, количества производственных рабочих, фонда зарплаты.
Себестоимость - денежное выражение затрат
предприятия на производство и реализацию продукции.
В условиях перехода к рыночной экономике
себестоимость продукции является важнейшим показателем
производственно-хозяйственной деятельности предприятий.
Исчисление этого показателя необходимо для
определения цен на продукцию, расчета экономической эффективности внедрения
новой техники, технологии, обоснования решения о производстве новых видов
продукции и снятия с производства устаревших, выявления резервов снижения
себестоимости, определение рентабельности производства и отдельных видов
продукции.
Состав себестоимости продукции регламентируется государством.
Основные принципы формирования этого состава определены в Законе Р.Ф. «О налоге
на прибыль предприятий и организаций».
Планирование себестоимости на предприятиях ведут
по элементам затрат и калькуляционным статьям расходов.
Основные статьи калькуляций :
ст. 1 сырье и материалы.
ст. 2 покупные изделия и полуфабрикаты.
ст. З возвратные отходы (вычитаются).
ст. 4 топливо и энергия на технологические цели.
ст. 5 основная и дополнительная зарплата
производственных рабочих.
ст. 6 отчисления на социальное и медицинское
страхование производственных рабочих (26% в т.ч. зарплаты основной и
дополнительной).
ст. 7 расходы на содержание и эксплуатацию машин
и оборудования.
ст. 8 общепроизводственные расходы.
ст. 1-8 составляют цеховую себестоимость
ст.9 общехозяйственные расходы
ст. 10 прочие производственные расходы
ст. 1-10 составляют производственную
себестоимость
ст. 11 коммерческие расходы (внепроизводственные
расходы)
ст. 1-11 составляют полную плановую
себестоимость
Таблица 4.1 - Ведомость покупных материалов
|
№
|
Наименование
материала
|
Марка,
сорт
|
Единица
измерения
|
Цена
за единицу
|
Норма
расхода на одно изделие
|
Стоимость
в расчете на ед. изделия
|
|
1
|
Флюс
|
ФкСп
|
кг.
|
18,00р.
|
0,11296
|
2,03р.
|
|
2
|
Припой
|
ПОС-61
|
кг.
|
55,00р.
|
1,69р.
|
|
3
|
Спирто-бензин
|
|
л.
|
55,00р.
|
0,071365
|
3,93р.
|
|
4
|
Краска
|
МКЭч
|
кг.
|
75,00р.
|
0,000178
|
0,01р.
|
|
5
|
Лак
|
УР-231
|
кг.
|
85,00р.
|
0,002532
|
0,22р.
|
|
ИТОГО
|
7,87р.
|
|
ТЗР
|
0,39р.
|
Таблица 4.2 - Ведомость покупных изделий и
полуфабрикатов
|
№
|
Наименование
покупных изделий и полуфабрикатов
|
Марка
|
Единица
измерения
|
Цена
за единицу
|
Норма
расхода на одно изделие
|
Стоимость
в расчете на ед. изделия
|
|
|
1
|
Конденсатор
|
К50-68
|
шт.
|
0,90р.
|
3
|
2,70р.
|
|
|
2
|
Транзистор
|
КТ815А
|
шт.
|
2,00р.
|
1
|
2,00р.
|
|
|
3
|
Симмистор
|
ТС161-160
|
шт.
|
15,00р.
|
1
|
15,00р.
|
|
|
4
|
Переключатель
|
ПТ73-2-3
|
шт.
|
20,00р.
|
1
|
20,00р.
|
|
|
5
|
Светодиод
|
АЛ310Б
|
шт.
|
2,00р.
|
1
|
2,00р.
|
|
|
6
|
Микросхема
|
К155ЛА3
|
шт.
|
3,00р.
|
1
|
3,00р.
|
|
|
7
|
|
К155ИЕ1
|
шт.
|
4,00р.
|
2
|
8,00р.
|
|
|
8
|
Диод
|
КД106А
|
шт.
|
3,00р.
|
4
|
12,00р.
|
|
|
9
|
|
КД108
|
шт.
|
3,40р.
|
5
|
17,00р.
|
|
|
10
|
Резистор
|
МЛТ
|
шт.
|
0,80р.
|
9
|
7,20р.
|
|
|
11
|
Трансформатор
|
ТП154-3-1
|
шт.
|
51,00р.
|
1
|
51,00р.
|
|
|
12
|
|
ТП1-2
|
шт.
|
38,98р.
|
2
|
77,96р.
|
|
|
13
|
Плата
|
СФ-2
|
шт.
|
71,00р.
|
1
|
71,00р.
|
|
|
14
|
Корпус
|
КА-10
|
шт.
|
65,00р.
|
1
|
65,00р.
|
|
|
15
|
Провод
с вилкой
|
П254
|
шт.
|
25,00р.
|
1
|
25,00р.
|
|
ИТОГО
|
378,86р.
|
|
ТЗР
|
18,94р.
|
|
|
|
|
|
|
|
|
|
|
|
Таблица 4.3 - Зарплата
|
№
|
Наименование
операции
|
Разряд
работ
|
Тарифная
ставка
|
Норма
времени
|
Нормативная
зарплата на операцию
|
|
1
|
Комплектование
|
2
|
19,8
|
0,080
|
1,58р.
|
|
2
|
Контроль
|
2
|
19,8
|
0,006
|
0,13р.
|
|
3
|
Подготовка
|
2
|
19,8
|
0,204
|
4,04р.
|
|
4
|
Контроль
|
2
|
19,8
|
0,016
|
0,32р.
|
|
5
|
Расконсервация
|
2
|
19,8
|
0,007
|
0,14р.
|
|
6
|
Маркирование
|
2
|
19,8
|
0,016
|
0,32р.
|
|
7
|
Контроль
|
2
|
19,8
|
0,001
|
0,03р.
|
|
8
|
Сборка
|
2
|
19,8
|
0,027
|
0,53р.
|
|
9
|
Контроль
|
3
|
22,5
|
0,002
|
0,05р.
|
|
10
|
Монтаж
|
3
|
22,5
|
0,999
|
22,47р.
|
|
11
|
Контроль
|
3
|
22,5
|
0,080
|
1,80р.
|
|
12
|
Регулировка
|
4
|
25,2
|
0,170
|
4,28р.
|
|
13
|
Контроль
|
4
|
25,2
|
0,170
|
4,28р.
|
|
14
|
Лакирование
|
2
|
19,8
|
0,091
|
1,79р.
|
|
15
|
Контроль
|
3
|
22,5
|
0,007
|
0,16р.
|
|
16
|
Сборка
|
2
|
19,8
|
0,010
|
0,20р.
|
|
17
|
Контроль
|
3
|
22,5
|
0,001
|
0,02р.
|
|
18
|
Испытание
|
3
|
22,5
|
0,204
|
4,59р.
|
|
19
|
Транспортирование
|
2
|
19,8
|
0,002
|
0,04р.
|
|
Нормативное
время на изготовление изделия
|
2,09
|
|
|
Нормативная
зарплата на единицу изделия
|
46,79р.
|
Таблица 4.4 - Калькуляция себестоимости
|
№
п/п
|
Статьи
расходов
|
Стоимостное
выражение
|
Удельный
вес
|
|
1
|
Материалы
|
7,87р.
|
1,15%
|
|
ТЗР
для материалов
|
0,39р.
|
0,06%
|
|
2
|
Комплектующие
|
378,86р.
|
55,35%
|
|
ТЗР
для комплектующих
|
18,94р.
|
2,77%
|
|
3
|
Основная
зарплата
|
46,79р.
|
6,84%
|
|
начисления
к основной зарплате
|
12,16р.
|
1,78%
|
|
4
|
Дополнительная
зарплата
|
9,36р.
|
1,37%
|
|
начисления
к дополнительной зарплате
|
2,43р.
|
0,36%
|
|
5
|
Общепроизводственные
расходы
|
88,59р.
|
12,94%
|
|
6
|
Общехозяйственные
расходы
|
73,83р.
|
10,79%
|
|
7
|
Прочие
расходы
|
45,23р.
|
6,61%
|
|
Производственная
себестоимость
|
684,46р.
|
100%
|
|
8
|
Коммерческие
расходы
|
27,38р.
|
|
|
Полная
себестоимость
|
711,84р.
|
|
Цена изделия: 1 049,97р.
Таблица 4.5 - Процентные ставки.
|
Отчисления
на социальное и медицинское страхование
|
26,00%
|
|
ТЗР
|
5,00%
|
|
Тарифная
ставка
|
18,00р.
|
|
Общехозяйственные
расходы
|
150,00%
|
|
Общепроизводственные
расходы
|
180,00%
|
|
прочие
расходы
|
8,00%
|
|
Расходы
на продажу (коммерческие расходы)
|
4,00%
|
|
НДС
|
18,00%
|
|
Норма
прибыли (рентабельность)
|
25,00%
|
|
Процент
дополнительной заработной платы (20-25%)
|
20,00%
|
. Выбор наиболее рационального варианта, расчет
точки безубыточности.
При незначительном объеме производства средние
показатели себестоимости отдельных видов изделий формируются за счет постоянных
расходов: именно они занимают наибольший удельный вес.
Постоянные затраты - это затраты независимые от
объема производства (общепроизводственные общехозяйственные расходы).
Переменные затраты прямо пропорционально изменяются в зависимости от объема
производства и реализации (материалы, зарплата).
С ростом объема производства средние издержки
снижаются за счет распределения постоянных расходов между большим количеством
произведенной продукции.
Если требуется изготовить X изделий, то общую себестоимость
всех этих изделий можно выразить: С∑=А∑Х+В∑
где А - сумма всех переменных расходов,
приходящихся на 1 деталь (изделие);
В - сумма постоянных расходов на изготовление
заданного количества X деталей.
Себестоимость одной детали: Cu=A∑+(B∑/X)
Как видно из выражения средняя себестоимость
(штучная себестоимость) зависит от количества деталей, подлежащих изготовлению.
С увеличением количества деталей штучная себестоимость будет снижаться по
закону гиперболы.
Поэтому предприятию (фирме) важно выпускать
такое количество изделий, чтобы это позволило максимально снизить штучную
себестоимость изделия. Но для выполнения производственной программы может быть
такое количество и не нужно.
Расчет точки безубыточности
1
049,97р.
|
|
Переменные
расходы:
|
476,81р.
|
|
Постоянные
расходы:
|
1
800 000,00р.
|
|
Реализуемое
количество единиц продукции:
|
2000
|
|
Количество
изделий, покрывающих затраты:
|
1
715
|
Покрытие расходов будет обеспечено продажей 1
715 шт. изделий.
5. Пожарная безопасность и техника безопасности
В данном проекте рассматривается технологический
процесс сборки устройства для контроля цепи в действующей схеме
энергоснабжения. В технологическом процессе присутствуют операции опасные и
вредные для жизни людей. Это монтаж маркирование, лакирование, расконсервация и
другие, характеризующиеся выделением в воздух рабочей зоны вредных веществ,
опасным уровнем напряжения в электрической цепи, повышенной температурой
оборудование, статическим электричеством, попаданием на кожу расплавленного
припоя.
.1 Характеристика вредных и опасных факторов на
основных операциях
.1.1 Характеристика выделенных газов
В предлагаемом технологическом процессе сборки
устройства для контроля цепи в действующей схеме энергоснабжения источниками
газов, паров являются операции:
расконсервация;
маркирование;
монтаж;
лакирование.
Перечень предельно допустимых концентраций (ПДК)
вредных веществ в воздухе рабочей зоны приведены в таблице:
Таблица 5.1 - Перечень предельно допустимых
концентраций вредных веществ в воздухе рабочей зоны.
|
Вещество
|
ПДК
мг/м
|
Класс
опасности
|
|
В
воздухе рабочей зоны
|
В
воздухе населенных мест (среднесуточная)
|
|
|
1.
Этиловый спирт
|
1000
|
5
|
4
|
|
2.
Ортофосфорная кислота
|
1
|
|
2
|
|
3.
ПОС-61, ПОС61-П, ПОС-40
|
0,007
(по Рв)
|
|
1
|
|
4.
Бензин растворитель (в пересчете насел.)
|
100
|
1,5
|
4
|
|
5.
Ацетон
|
200
|
0,35
|
4
|
|
6.
Ксилол
|
50
|
0,2
|
3
|
|
7.
Кислота серная
|
1
|
0,1
|
2
|
|
8.
Кислот соляная
|
1
|
-
|
2
|
|
9.Толуол
|
50
|
0,6
|
4
|
|
10.
Уайт-спирт
|
300
|
-
|
4
|
|
11.
Хладон
|
3000
|
|
4
|
В качестве средств защиты органов дыхания
предлагаются:
ü местный отсос воздуха с последующей
очисткой от газов и паров;
ü респиратор ШБ-1 ГОСТ 12.4.028-80.
Для защиты кожи можно использовать:
ü халат х/б ГОСТ 4.132-83;
ü перчатки резиновые ГОСТ 3-88;
ü перчатки х/б ГОСТ 500-87.
Для предупреждения опасности отравления
заболеваний кожи необходимо предусмотреть:
ü включение вентиляции за 15 минут до
начала работы и выключения через 15 минут после ее окончания;
ü регулярную очистку воздуховодов
через 0.5-1 мес. В зависимости от интенсивности технологического процесса;
ü мытье рук 1%-ным раствором уксусной
кислоты, затем теплой водой с мылом (при работе с припоями);
ü влажную уборку рабочего стола, на
котором производилась пайка,1% -ным раствором уксусной кислоты;
ü промывку горячей водой с мылом ящик
для хранения рабочей одежды и личных вещей работающих ежедневно внутри и
снаружи.
.1.2 Характеристика тепловыделений и параметров
микроклимата
В технологическом процессе источниками выделения
являются:
ü жало паяльника;
ü тепло выделяемое человеком в
процессе работы.
Температура хала паяльника 250_+10% С. Во
избежание ожогов пайку проводить в соответствии с «Инструкцией по охране труда
для монтажников радиоаппаратуры».
Тепло, выделяемое человеком в процессе работы,
зависит от параметров микроклимата категории работ по энергозатратам. Работы,
выполняемые на всех технологических операциях относятся к категории 1а,
1б-легкие. С расходом энергии не более 150ккал/ч. В производственных
помещениях. Для этой, категории работ должны обеспечиваться оптимальные
параметры микроклимата:
Таблица 5.2 - Оптимальные параметры микроклимата
в различный период года.
|
Теплый
период года
|
|
Температура
воздуха
|
23-25
С (1а) 22-24 С (1б)
|
|
Влажность
воздуха
|
40-60%(1а,1б)
|
|
Скорость
движения воздуха
|
0,1м/с
(1а) 0,2м/с (1б)
|
|
Холодный
период года
|
|
Температура
воздуха
|
22-24
С (1а) 21-23 С (1б)
|
|
Влажность
воздуха
|
40-60%(1а,1б)
|
|
Скорость
движения воздуха
|
0.1м/с(1а,1б)
|
Для поддержания соответствующих
микроклиматических параметров используются системы отопления и общеобменной
приточной вентиляции с подогревом воздуха зимой и кондиционирования летом.
.1.3 Характеристики шума
Источниками шума в технологическом процессе
является оборудование, используемое при выполнение операций: расконсервация
(установка УКР), испытание (осциллограф, вольтметр, тестер, источник питания,
генератор и др.). Уровень шума незначителен и не превышает допустимый уровень
(ПДК). При выполнение операций данного технологического процесса уровень шума
на рабочих местах не должен превышать 50-60 дБ.
.1.4 Характеристики электрооборудования
Источником опасности является
электрооборудование, электрические сети, статическое электричество.
Для предупреждения поражения электрическим током
необходимо предусмотреть:
ü надежное заземление всех узлов
оборудования, контрольно-измерительных приборов и электроинструмента;
ü качественную изоляцию наружной
электропроводки;
ü электропаяльники с рабочим
напряжением не более 36В;
ü штепсельные розетки с четким
обозначением напряжения;
ü при выполнение монтажной операции
применение антистатического браслета, протирка рабочего стола раствором
антистатика;
ü использование СИЗ (коврик
диэлектрический) при выполнение операции «Испытание», «Регулировка».
5.1.5 Характеристики условий зрительной работы
Качество освещения особенно в условиях
производства, играет важную роль в деятельности человека. Плохо освещенные зоны
или слепящие источники ухудшают ориентацию работающих, вследствие чего может
быть травма.
Недостаточное или неправильное освещение рабочих
мест и всего помещения вызывает преждевременное утомление организма, может быть
причиной снижения производительности труда, а также причиной производственного
травматизма.
Освещение производственных помещений и рабочих
мест может быть как естественным, так и искусственным. Искусственное освещение
осуществляется с помощью источников света - ламп накаливания, люминесцентных
ламп и дуговых ламп. Обычно производственные осветительные установки
выполняются по системе комбинированного освещения, когда к общему помещения
добавляется еще местное освещение рабочих мест.