Ферма КРС на 1000 голов. Родильное отделение

  • Вид работы:
    Дипломная (ВКР)
  • Предмет:
    Строительство
  • Язык:
    Русский
    ,
    Формат файла:
    MS Word
    500,87 Кб
  • Опубликовано:
    2016-11-09
Вы можете узнать стоимость помощи в написании студенческой работы.
Помощь в написании работы, которую точно примут!

Ферма КРС на 1000 голов. Родильное отделение

Оглавление

Введение

. Архитектурно-строительный раздел

.1 Характеристика участка строительства

.2 Генеральный план и благоустройство участка

.3 Фасады

.4 Архитектурно-планировочное решение здания

.5 Конструктивные решения здания

.6 Теплотехнический расчет ограждающих конструкций

.6.1 Общие данные

.6.2 Теплотехнический расчет стены

.6.3 Теплотехнический расчет покрытия

. Расчетно-конструктивный раздел

.1 Расчет стропильной фермы

.1.1 Сбор нагрузок

.1.2 Расчетные усилия в стержнях фермы

.1.3 Подбор сечения стержней фермы

.1.4 Проверка узла стропильной фермы

.2 Расчет столбчатого фундамента под среднюю колонну

.2.1 Исходные данные

.2.2 Проверка размеров подошвы фундамента

.2.3 Расчет ступени на поперечную силу

.2.4 Расчет армирования подошвы фундамента

.2.5 Армирование подколонника

. Технологический раздел

.1 Характеристика здания

.2 Выбор метода производства строительно-монтажных работ

.3 Определение объемов строительно-монтажных работ

.4 Выбор монтажных приспособлений

.5 Определение трудоемкости и продолжительности монтажных работ

.6 Расчет основных параметров и выбор монтажных кранов

.7 Выбор и обоснование транспортных средств для доставки конструкций

.8 График производства работ

.9 Основные технико-экономические показатели

.10 Указания по производству работ

.11 Указания по технике безопасности

.11.1 Монтажные работы

.11.2 Транспортные работы

.12 Указания по осуществлению контроля и оценки качества монтажных работ

.13 Указания по охране труда

. Организационный раздел

.1 Характеристика условий строительства

.2 Методы выполнения основных строительно-монтажных работ

.2.1 Земляные работы

.2.2 Монтаж конструкций фундамента

.2.3 Возведение коробки здания

.3 Стройгенплан

.4 Расчёт численности персонала строительства

.5 Расчет временных зданий и сооружений

.6 Расчёт потребности в коммунальном обеспечении

.6.1 Расчёт потребности в воде

.6.2 Расчёт потребности в электроэнергии

.7 Расчет площадей складов материалов, изделий и конструкций

.8 Технико-экономические показатели

.9 Указания по технике безопасности и охране труда на строительной площадке

. Безопасность жизнедеятельности

.1 Анализ причин травматизма при проведении монтажных работ

.2 Организация монтажного участка

.3 Проведение монтажных работ

.4 Безопасность рабочих при работе на высоте

. Экологический раздел

.1 Утилизация животноводческих отходов

.1.1 Состав системы навозоудаления

.1.2 Принцип работы системы навозоудаления

.2 Сбор и утилизация биологических отходов

.3 Мероприятия по охране окружающей среды при производстве работ по устройству покрытия здания

. Научно-исследовательский раздел

.1 Система аэрации помещений КРС

.1.1 Виды решений системы аэрации

.1.2 Особенность технологии мембранных штор-стен

Заключение

Список использованных источников

Введение

Темой выпускной квалификационной работы является строительство родильного отделения, являющегося частью молочно-товарной фермы для крупного рогатого скота на 1000 дойных голов с полным оборотом стада, расположенной вблизи д. Тарасово в Вельском районе Архангельской области.

Вследствие недавнего ввода санкций относительно России со стороны США и ряда европейских стран, правительство РФ решило ответить запретом на импорт некоторых продуктов (молочная продукция, мясо, овощи и фрукты) из данных стран. Вследствие этого встала необходимость замены части импортной продукции отечественной.

Молочная отрасль является одним из проблемных направлений российского сельского хозяйства, и поэтому в настоящее время развитию данной отрасли уделяется повышенное внимание. Необходимо увеличивать объемы производства молочной продукции: повышать мощности молочных комбинатов и увеличивать сырьевую базу путем увеличения поголовья коров, расширения существующих молочных ферм и строительства новых.

Именно поэтому актуальность данного проекта на строительство здания коровника, являющегося одной из составных частей новой молочной фермы, ни у кого не должна вызывать сомнений.

 

1. Архитектурно-строительный раздел

 

1.1 Характеристика участка строительства


Климатический район - II В, по [1].

Снеговой район - V, по приложению Ж, карта 1 [2].

Средняя скорость ветра зимой - 4 м/с, по приложению Ж, карта 2 [2].

Ветровой район - I, по приложению Ж, карта 3 [2].

Расчетная зимняя температура наружного воздуха - (-31 0С), таблица 3.1 [1].

Средняя температура периода со среднесуточной температурой воздуха ниже или равной 8 0C - (-5,0 0C), таблица 3.1 [1].

Продолжительность периода со среднесуточной температурой воздуха ниже или равной 8 0C - 237 суток, таблица 3.1 [1].

 

.2 Генеральный план и благоустройство участка


Проектируемое родильное отделение на 266 голов располагается вблизи д. Тарасово Вельского района Архангельской области. Проектом предусмотрено строительство родильного отделения с встроенными бытовыми помещениями.

Рельеф в пределах площадки для строительства относительно ровный, с незначительным уклоном на восток и характеризуется отметками поверхности земли от 100,81 до 111,81 (отметки устьев геологических скважин) в Балтийской системе высот 1977 г.

Согласно инженерно-топографической съемке на земельном участке, предназначенном под строительство фермы, имеются насаждения кустарника - ива высотой 5 м.

На территории фермы предусматривается сплошная вертикальная планировка с выполнением планировочных работ по всей территории. Организация рельефа выполнена методом проектных горизонталей. Вертикальная планировка обеспечивает отвод поверхностных и ливневых вод от здания и со всего участка в пониженные места естественного рельефа.

В целях защиты территории фермы от подтопления со стороны существующей дороги и в местах понижения рельефа устраиваются водоотводные канавы трапецеидального сечения.

Отвод поверхностных вод осуществляется самотеком по спланированной поверхности с последующим выпуском, перехватом дождеприемными колодцами, водоотводным лотком в очистные сооружения на рельеф.

После окончания строительства территория проектируемой фермы благоустраивается устройством твердых покрытий внутриплощадочных проездов и площадок. Внутриплощадочные проезды запроектированы по кольцевой схеме с покрытием из железобетонных плит. Ширина проезжей части проездов и разворотных площадок соответствует требуемым нормам проектирования сельскохозяйственных предприятий. Внутриплощадочные проезды соединяют с существующей грунтовой автодорогой при помощи проектируемых подъездов с покрытием из железобетонных дорожных плит.

На территории земельного участка возле главного въезда фермы предусматривается устройство стоянки на 7 парковочных машиномест.

К основным зданиям запроектированы тротуары из плит бетонных тротуарных.

На территории фермы, у здания АБК и станции технического обслуживания автотранспорта, устанавливаются переносные скамьи, урны. У главного входа предусматривается площадка отдыха персонала площадью 30 м². На площадке располагается беседка, переносные скамьи и урны. Площадка ограждена живой изгородью из кустарника.

Незастроенная территория фермы озеленяется посевом трав и подсыпкой растительного грунта (толщина слоя 0,3 м).

Работы по благоустройству территории осуществляется только после прокладки всех коммуникаций. Благоустройство территории обеспечивает комфортные условия для работы и кратковременного отдыха персонала.

Таблица 1.1 - Технико-экономические показатели по генплану


Наименование

Единица измерения

Кол-во

1

Площадь проектируемого землеотвода для размещения площадки фермы

м²

173683,0

2

Площадь территории фермы в ограждении

м²

148750,0

3

Площадь застройки

м²

74972,7

4

Площадь внутриплощадочных проездов

м²

28929,1

5

Площадь тротуаров

м²

170,0

6

Площадь отмостки зданий

м²

2630,0

7

Площадь озеленения территории фермы

м²

42048,2

8

Протяженность наружного ограждения

м.п.

1725,0

 

.3 Фасады


Решения по оформлению фасадов приняты на основании задания на проектирование, а также с учетом удобства изготовления и последующей эксплуатации здания.

Наружные стены - сэндвич панели с минераловатным утеплителем - Power R FTV 100, производства ООО "ТРИМО-ВСК", с нормируемым сопротивлением теплопередаче .

Сэндвич панели с нанесенным в заводских условиях декоративным покрытием, устойчивым к агрессивному воздействию окружающей среды.

Для естественного освещения и организации вентиляции (проветривания) в помещении для коров предусмотрена установка надувных штор "ISOCEEL".

 

.4 Архитектурно-планировочное решение здания


По объемно-планировочному решению здание относится к пролетному типу. Длина среднего пролета в поперечном направлении составляет 14 м, крайних - 8 м. Количество пролетов - 3. Шаг колонн - 6 м.

Проектируемое здание родильного отделения имеет прямоугольную форму в плане, размерами в осях 30х 138 м, 1 этаж. Высота до низа стропильной фермы составляет 5,518 м, и принята в соответствии с нормативными требованиями, а также из условия обслуживания здания механизированным автотранспортом.

Количество коров, размещаемых в родильном блоке, составляет 266 голов.

Родильное отделение делят на 3 секции: предродовая, родовая и послеродовая. В родовую секцию (денники) коровы будут переводиться ко времени отела, где будут содержаться в групповых загонах на глубокой подстилке. Коровы содержатся с новорожденным теленком не более 24 часов, после чего переводятся в послеродовую группу. В послеродовой секции животные содержатся около 5-7 дней.

Телята на вторые сутки после рождения переводятся в помещение профилактория, где содержатся до 14 дней в клетках типа Эверса с приподнятым щелевым полом, под которым закрепляют пленку для стока жижи в сосуд. Размеры клетки 1,2м (длина)х 0,84 м (ширина)х 1,0 м (высота), ножки от пола - 0,45 м.

В родильном отделении выделены две секции для сухостойных коров (1 и 2 период), одна секция для глубокостельных нетелей и одна секция для новотельных коров. Секции разделены металлическими ограждениями и воротами. В проектируемом здании предусмотрено два вида расположения боксов в секциях: однорядное и сдвоенное. Размеры боксов для отдыха коров при однорядном расположении составляют в плане 1,2 х 2,6 м, при сдвоенном - 1,2 х 2,4м. Стойла такого размера хорошо подходят для средних (500 кг) и крупных (700 кг) животных, регулируемый надхолочный брус позволяет корректировать стойла для животных.

Кормовой стол (5,5 м) расположен в центре помещения. Большая ширина кормового стола обеспечивает свободную раздачу и уборку корма.

Кормление коров в денниках осуществляется так же с кормового стола. Подстилку из загона с глубокой подстилкой предполагается менять в денниках после каждого отела.

Для сухостойных коров проектом предусмотрено устройство 2-х выгульных площадок, вдоль здания по оси Г. Выгульные площадки разделены между собой ограждениями и имеют твердое покрытие. Прогулки животных при благоприятных погодных условиях производятся ежедневно продолжительностью не менее 2 ч в день.

Для обеспечения быстрой и безопасной эвакуации животных в здании предусмотрено минимум по 2 рассредоточенных выхода из каждой секции. Первые находятся в средней части здания по продольной стене, вторые - в торцах здания.

 

.5 Конструктивные решения здания


Основные конструктивные решения приведены в таблице 1.2

Таблица 1.2 - Конструктивные решения

Конструкции

Решения, принятые в проекте

1. Фундаменты

Железобетонные сборные фундаменты под колонны

2. Колонны

Стальные гнутые замкнутые сварные квадратные профили сечением 180х 8

3. Стропильные конструкции

Стальные балки из широкополочного двутавра 35Ш 1; стальные фермы из ЗГСП различного сечения

4. Наружные стены

Стеновые сэндвич панели с толщиной минераловатного утеплителя 100 мм "TrimoPower FTV 100"

5. Кровля

Стальные прогоны из швеллера 22П; Кровельные сэндвич панели с толщиной минераловат- ного утеплителя 150 мм "TrimoPower SNV 150"

6. Полы

Бетонные с резиновым покрытием, утепленные

7. Заполнение оконных и наружных дверных проемов

Шторки надувные "ISOCEEL"; ворота металлические утепленные

1.6 Теплотехнический расчет ограждающих конструкций

 

.6.1 Общие данные

Климатический район - II В.

Расчетная наружная температура:

наиболее холодной пятидневки - (- 31 °С);

наиболее холодных суток - (- 41 °С).

 

.6.2 Теплотехнический расчет стены


Рисунок 1.1 - Сечение стены

Приведенное сопротивление теплопередаче  ограждающих конструкций следует принимать не менее нормируемых значений  в зависимости от градусо-суток района строительства .

В ходе расчета определяется  (минимально допустимое) и .

Должно выполняться условие .

 определяют с учетом градусо-суток отопительного периода.

Градусо-сутки отопительного периода , определяют по формуле:

, , (1.1)

где  - расчетная температура внутреннего воздуха здания, ;

 - средняя температура наружного воздуха отопительного периода, принимаемая для периода со среднесуточной температурой воздуха не более 8 (см. [1]), ;

 - продолжительность отопительного периода, принимаемая для периода со среднесуточной температурой воздуха не более 8 , (см. [1]), .

 определяем по формуле:

, , (1.2)

где  - коэффициенты, значения которых следует принимать по табл. 3 [3].

.

 определяем в зависимости от конструкции стены по формуле:

 , (1.3)

,

 - коэффициент теплоотдачи внутренней поверхности ограждающей конструкции (см. табл. 4, [3]), ;

,

 - коэффициент теплоотдачи наружной поверхности ограждающей конструкции (см. табл. 6, [3]), ;

 - термическое сопротивление ограждающей конструкции, .

, , (1.4)

где  - толщина и теплопроводность отдельных слоев ограждающей конструкции.

-ый слой - обшивка металлическая: ; ;

-ой слой - утеплитель минераловатный: ;

-ий слой - обшивка металлическая: ; .

По проекту приняты стеновые сэндвич-панели с толщиной утеплителя, равной 100 мм и сопротивлением теплопередаче .

 

.6.3 Теплотехнический расчет покрытия

Градусо-сутки отопительного периода:

Требуемое сопротивление теплопередаче:

.

Рисунок 1.2 - Сечение плиты покрытия

1-ый слой - обшивка металлическая: ; ;

-ой слой - утеплитель минераловатный: ;

-ий слой - обшивка металлическая: ; .

По проекту приняты кровельные сэндвич-панели с толщиной утеплителя, равной 150 мм и сопротивлением теплопередаче .

 

2. Расчетно-конструктивный раздел

 

.1 Расчет стропильной фермы

 

.1.1 Сбор нагрузок

Нагрузками, действующими на ферму покрытия, являются:

постоянная нагрузка от массы кровли и несущих конструкций покрытия со связями;

снеговая нагрузка на покрытие;

Подсчет нагрузок на раму (нормативных и расчетных) производится в соответствии с нормативной литературой для каждого вида в отдельности.

Постоянная нагрузка на стропильную ферму складывается из нагрузок от массы кровли, прогонов, связей и собственного веса стропильных ферм.

Нагрузка от массы кровли определяется конструкцией кровли, плотностью материалов и толщиной слоев и находится суммированием нагрузки от массы ее элементов.

Таблица 2.1 - Сбор нагрузок на ферму

Состав нагрузки

Нормативная нагрузка gn, Н/м²

Коэффициент надежности по нагрузке γf

Расчетная нагрузка g, Н/м²

Постоянная нагрузка

1. Кровельныые панели TrimoPower SNV с толщиной утеплителя 150мм

297

1,2

356,4

2. Прогон

210

1,05

221

3. Стропильные фермы

149

1,05

156

4. Связи

12,4

1,05

13

Итого:

gn=668,4


g=746,4

Временная нагрузка

5. Снеговая нагрузка

2240

1,4

3136

Всего:

qn=2908,4


q=3882,4


Нормативное значение снеговой нагрузки на горизонтальную проекцию покрытия:

,Н/м, (2.1)

где  - коэффициент надежности по снеговой нагрузке (=1,4);

 - коэффициент, учитывающий снос снега с покрытий зданий под действием ветра и других факторов, принимаемый в соответствии с п.10.5 [2];

 - термический коэффициент, принимаемый в соответствии с п.10.6 [2];

 - коэффициент перехода от веса снегового покрова земли к снеговой нагрузке на покрытие, принимаемый в соответствии с п.10.4 [2];

 - вес снегового покрова на 1 м² горизонтальной поверхности земли, принимаемый в соответствии с п.10.2 [2], Н/м².

Н/м

Расчетная погонная нагрузка по стропильной ферме:

, кН/м, (2.2)

где  - расчетная нагрузка от покрытия по табл. 2.1, Н/м²;

 - шаг стропильных конструкций, м.

Н/м

Ввиду того, что прогоны расположены часто (с шагом 1м) допускается прикладывать нагрузку к ферме как равномерно распределенную.

 

2.1.2 Расчетные усилия в стержнях фермы

При расчете фермы предполагается, что:

оси всех стержней прямолинейны и расположены в одной плоскости;

оси пересекаются в одной точке - центре узла.

Рисунок 2.1 - Номера элементов

Рисунок 2.2 - Эпюра продольных сил N (кН)

Рисунок 2.3 - Эпюра изгибающих моментов M (кНм)

Рисунок 2.4 - Эпюра поперечных сил Q (кН)

Статический расчет фермы покрытия осуществлен при помощи программного комплекса SCAD Office.

Таблица 2.2 - Результаты статического расчета

Усилия и напряжения Единицы измерений: кН, м. Параметры выборки: Список узлов\элементов: все Список загружений\комбинаций: 1 Список факторов: все

Элемент

Сечение

Загружение

Значения




N

M

Q

1

1

1

-97.885

0

0

1

2

1

-97.885

0

0

1

3

1

-97.885

0

0

2

1

1

102.884

0

0

2

2

1

102.884

0

0

2

3

1

102.884

0

0

3

1

1

504.542

5.765

-0.983

3

2

1

504.542

3.523

-0.983

3

3

1

504.542

1.281

-0.983

4

1

1

-529.531

-5.765

38.309

4

2

1

-519.598

26.92

-1.539

4

1

-509.665

-11.236

-41.386

5

1

1

-449.085

-11.236

35.5

5

2

1

-439.152

16.455

-4.348

5

3

1

-429.219

-26.695

-44.195

11

1

1

344.266

1.281

0

11

2

1

344.266

1.281

0

11

3

1

344.266

1.281

0

2.1.3 Подбор сечения стержней фермы

Определим значения расчетных длин для всех элементов фермы.

Таблица 2.3 - Формулы для определения расчетных длин элементов фермы

Направление продольного изгиба

Расчетная длина lef


поясов

опорных раскосов и опорных стоек

прочих элементов решетки

1. В плоскости фермы

l

l

0,9 l

2. Из плоскости фермы

l1

l1

0,9 l1

Примечания: l - геометрическая длина элемента (расстояние между центрами узлов) в плоскости фермы; l1 - расстояние между узлами, закрепленными от смещения из плоскости фермы (поясами ферм, специальными связями, жесткими плитами покрытий, прикрепленными к поясу сварными швами или болтами и т.п.).


Таблица 2.4 - Значения расчетных длин элементов фермы

Элементы фермы

Стержень

lef,x, мм

lef,y, мм

верхний пояс

4

3556

1000


5

3556

1000

нижний пояс

3

4560

4560


11

4680

4680

раскосы

1

1270

1270


2

2620

2620


Таблица 2.5 - Значение коэффициента условий работы конструкции γс

Элементы фермы

γс

Элементы фермы

γс

Пояса: - сжатые - растянутые

 1,00 1,00

Раскосы: - сжатые - растянутые

 0,8 1,00


1) проверка сечения внецентренно сжатых элементов.

Стержень №4 (верхний пояс) - сечение, принятое в проекте - ЗГСП 180х 140х 8.

Для внецентренно сжатых элементов определяющей в большинстве случаев является потеря устойчивости, и проверку их несущей способности проводят по формуле:

, (2.3)

где  - продольное усилие в элементе (см. табл. 2.2), Н;

- коэффициент устойчивости при сжатии с изгибом, определяется по таблице Д.3 [4] в зависимости от условной гибкости  и приведенного относительного эксцентриситета , определяемого по формуле:

, м, (2.4)

здесь  - коэффициент влияния формы сечения, определяемый по таблице Д.2 [4];

 

относительный эксцентриситет, м здесь

 

эксцентриситет, при вычислении которого значения M и N следует принимать согласно требованиям п. 9.2.3 [2];

-момент сопротивления сечения, вычисленный для наиболее сжатого волокна, м³;

-площадь поперечного сечения стержня по [5], м²;

-расчетное сопротивление стали растяжению, сжатию, изгибу по пределу текучести (см. табл. В 5 [4]), Па.

Проверяем на устойчивость ЗГСП 180х 140х 8.

, (2.5)

где  - расчетная длина элемента фермы, м;

 - радиус инерции поперечного сечения элемента, м.

;

; ;

;

; ;

.

Условие выполняется.

) проверка внецентренно растянутых элементов.

Стержень №3 (нижний пояс) - сечение, принятое в проекте - ЗГСП 120х 6.

Предельное состояние внецентренно растянутых элементов определяется развитием пластических деформаций в наиболее нагруженном сечении, и их несущая способность проверяется по формуле:

, (2.6)

где  - коэффициенты, принимаемые согласно таблице Е.1 [4].

.

Условие выполняется.

) проверка центрально сжатых элементов.

Стержень №1 (раскос) - сечение, принятое в проекте - ЗГСП 100х 6.

проверку проводят из условия устойчивости по формуле:

. (2.7)

Вычисляем приведенную гибкость :

.

Вычисляем коэффициент продольного изгиба φ по формуле:

, (2.8)

где  - коэффициент, определяемый по формуле:

, (2.9)

здесь  - коэффициенты, определяемые по таблице 7 [4] в зависимости от типов сечений.

;

;

.

Условие выполняется.

) проверка центрально растянутых элементов.

Стержень №2 (раскос) - сечение, принятое в проекте - ЗГСП 100х 6.

Расчет на прочность элементов из стали при центральном растяжении или сжатии следует выполнять по формуле:

; (2.10)

.

Условие выполняется.

 

.1.4 Проверка узла стропильной фермы


Рисунок 2.5 - Узел стропильной фермы

Несущую способность стенки пояса в У-образных узлах следует проверять по формуле:

; (2.11)

где - усилие в примыкающем элементе (решетки), Н;

- изгибающий момент от основного воздействия в примыкающем эле-менте в плоскости фермы в сечении, совпадающем с примыкающей стенкой пояса, Н·м;

- диаметр примыкающего элемента решетки в направлении плоскости фермы, м;

 - коэффициент влияния знака усилия в примыкающем элементе, прини- маемый равным 1,2 при растяжении и 1,0 - в остальных случаях;

- коэффициент влияния продольной силы в поясе, определяемый при сжатии в поясе, если , по формуле:

, (2.12)

в остальных случаях ;

 - длина участка линии пересечения примыкающего элемента с поясом в направлении оси пояса, м;

 - толщина стенки пояса, м;

 - диаметр пояса в направлении, нормальном к плоскости фермы, м;

 - площадь поперечного сечения пояса, м²;

,

здесь - диаметр примыкающего элемента решетки в направлении, нормальном к плоскости фермы, м.

;

Несущую способность элемента решетки вблизи примыкания к поясу в У-образных узлах следует проверять по формуле:

; (2.13)

где  - коэффициент, принимаемый равным:

при  ;

при  ;

в остальных случаях .

 - расчетное сопротивление стали элемента решетки, Па;

 - площадь поперечного сечения элемента решетки, м².

;

Прочность сварных швов, прикрепляющих элементы решетки к поясу в У-образных узлах следует проверять по формуле:

; (2.14)

где  следует принимать согласно требованиям раздела 14 [4];

 - катет шва, м.

 

.2 Расчет столбчатого фундамента под среднюю колонну

 

.2.1 Исходные данные

Класс бетона - В 15;

Рабочая арматура - А 400;

Конструктивная арматура - А 400, А 240.

Таблица 2.6 - Сбор нагрузки в крайнем пролете

Состав нагрузки

Нормативная нагрузка gn, Н/м²

Коэффициент надежности по нагрузке γf

Расчетная нагрузка g, Н/м²

1

2

3

4

Постоянная нагрузка

1. Кровельные панели TrimoPower SNV с толщиной утеплителя 150мм

297

1,2

356,4

2. Прогоны

210

1,05

221

3. Балки покрытия

122,5

1,05

129

Итого:

gnкр=629,5


gкр=706,4

Временная нагрузка

4. Снеговая нагрузка

2240

1,4

3136

Всего:

qnкр=2869,5


qкр=3842,4


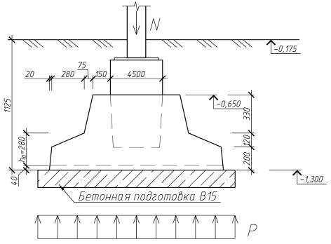
Рисунок 2.6 - Схема столбчатого фундамента под колонну

Рисунок 2.7 - Схема столбчатого фундамента под колонну (в плане)

Расчетная погонная нагрузка по балке покрытия:

, Н/м, (2.15)

где  - расчетная нагрузка от покрытия по табл. 2.6, Н/м²;

Н/м.

Расчетная нагрузка на обрез фундамента:

, Н, (2.16)

где  - величина среднего пролета здания, м;

 - величина крайнего пролета здания, м;

 - вес колонны, м;

.

2.2.2 Проверка размеров подошвы фундамента

Требуемая площадь подошвы фундамента определяется по формуле:

, м², (2.17)

где  - нормативная нагрузка на обрез фундамента, Н;

 - расчетное сопротивление грунта (=350·103), Па;

 - средняя плотность материала фундамента и грунта на его уступах (=20·103), Н/м³;

 - глубина заложения фундамента (=1,125), м.

, Н; (2.18)

Н;

м²,

что меньше принятой площади подошвы, равной 2,25 м².

Проверяем давление на грунт от расчетной нагрузки:

, Па; (2.19)

.

Проверяем высоту фундамента из условия продавливания от подколонника:

, м, (2.20)

где  - размер стакана в плане, м;

 - расчетное сопротивление бетона осевому растяжению, Па;

 - коэффициент условия работы бетона ();

м

, м (2.21)

где  -расстояние от равнодействующей усилий в арматуре до ближайшей грани сечения (=0,04), м.

м, что меньше принятой  м.

 

.2.3 Расчет ступени на поперечную силу

Проверяем, отвечает ли рабочая высота нижней ступени условию прочности при действии поперечной силы при отсутствии поперечной арматуры в наклонном сечении:

, Н, (2.22)

где  - длина консоли ступени, м.

 

2.2.4 Расчет армирования подошвы фундамента

Расчетный момент в i-ом сечении рассчитывается по формуле:

, Н·м, (2.23)

Н·м;

Н·м.

Рисунок 2.8 - К определению площади сечения арматуры подошвы фундамента

Количество арматуры для каждого сечения:

, м², (2.24)

где  - расчетное сопротивление арматуры растяжению, Па.

 м²;

 м².

Выбираем максимальное значение = 1,23·10-4 м².

Принятое количество арматуры 8 Ø10 с = 6,28·10-4 м².

Рисунок 2.9 - Схема армирования подошвы фундамента

 

.2.5 Армирование подколонника

Если толщина стенки стакана , то стакан можно не армировать. В противном случае - армирование выполняют конструктивно в виде сеток из арматуры Ø 8 (А 400) и вертикальных стержней для их крепления из арматуры Ø 10 (А 400).

выполняем армирование конструктивно.

Рисунок 2.10 - Схема армирования стаканной части подколонника

 

3. Технологический раздел

 

.1 Характеристика здания


Проектируемое здание представляет собой каркасное здание. Каркас здания образован металлическими колоннами из гнутосварного профиля, стропильными балками двутаврового сечения и стропильными фермами покрытия.

Габариты здания: 30 х 138 м. Стропильные балки перекрывают два крайних пролета здания - по 8 метров, стропильные фермы - средний пролет - 14 метров. Непосредственно по балкам и верхним поясам стропильных ферм укладываются прогоны из швеллера, по которым укладывают сэндвич-панели Trimo Power R SNV 150.

В состав здания входят также фахверковые колонны для крепления стеновых сэндвич-панелей Trimo Power R FTV 100.

Металлические конструкций поставляются на площадку строительства в полной заводской готовности, за исключением стропильных ферм, которые укрупняются до готовой конструкции на стенде на строительной площадке. Внутренний объем здания представляет собой стойловое помещение, разделенное на 4 секции по 125 скотомест металлическими ограждениями и воротами.

 

.2 Выбор метода производства строительно-монтажных работ


Монтаж элементов кровли коровника производится автокраном КС-35715. Монтаж производится раздельным методом. Основное требование при монтаже - соблюдать последовательность укладки панелей.

Сэндвич-панели подаются к рабочему месту с приобъектного склада, расположенного в зоне действия крана. По степени укрупнения монтаж ведется поэлементно в связи с небольшими объемами работ. По способу подъема (перемещения) изделия и укладки его на прогоны применяют подъем со сложным перемещением в пространстве (кран перемещает и поворачивает конструкцию). По последовательности сборки конструкций применяется способ наращивания, при котором вышележащие элементы укладываются на нижележащие.

 

.3 Определение объемов строительно-монтажных работ


Таблица 3.1 - Ведомость объемов работ

Наименование конструктивных элементов

Марка элемента

Эскиз

Кол-во, шт.

Масса, т





Одного элемента

Всех элементов

1

2

3

4

5

6

Разгрузка, монтаж конструкций массой до 0,5 т

1) Кровельная сэндвич-панель  (КСП 1) (КСП 2) (КСП 3)  (КСП 4)  (КСП 5)  (КСП 6)

 1000x5780 1000x6400 1000x7050 1000x7780 1000x8270 1000x8400

 230 32 262 8 16 8

 0,163 0,181 0,199 0,22 0,234 0,238

 37,6 5,8 52,3 1,76 3,74 1,9

Всего:



556


103,1


3.4 Выбор монтажных приспособлений


Таблица 3.2 - Ведомость монтажных приспособлений

Наименование приспособления

Эскиз

Грузоподъемн., т

Вес, т

Кол-во, шт.

Расчетная высота, м

1

2

3

4

5

6

Вакуумный грузовой подъемник Clad Boy

0,3

0,12

1

1,2

3.5 Определение трудоемкости и продолжительности монтажных работ


В данном разделе разрабатывается технологическая карта на монтаж элементов кровли в осях А-Г. Перед ее разработкой составим калькуляцию трудозатрат, а также на ее основе подберем наиболее экономичный вид грузового механизма.

Калькуляция трудовых затрат составлена по ЕНиР и приведена в таблице 3.3.

Затраты труда определяются по формуле:

, чел·ч, (3.1)

где  - норма времени на выполнение единицы работы, чел·ч/м³;

 - объем работы, м³.

Таблица 3.3 - Калькуляция трудовых затрат

Наименование работ

Ед. изм.

Объем работ

§ ЕНиР

Норма времени

Трудоемкость

Состав звена





На бригаду, чел. час.

На машину, маш. час.

На бригаду, чел. час

На машину, маш. час.


1

2

3

4

5

6

7

8

9

Разгрузка сэндвич-панелей весом до 0,5т

100т

Е 1-5-2- 1а, б

22

11

22,7

11,3

Машинист 6р-1 Такелажники 2р-2

Монтаж сэндвич-панелей

1 эл.

556

Е 4-1-7-9а(ТЧ-1)

0,231 0,462 0,231

0,231

128,4 256,9 128,4

128,4

Машинист 6р-1 М 4р-1 М 3р-2 М 2р-1







536,3

139,7




Основным документом, определяющим затраты труда, стоимость, продолжительность работ является калькуляция. Суммарное время работы крана определяет общую продолжительность монтажных работ. Состав комплексной бригады определяем по ежедневному участию в монтаже рабочих различной квалификации.

Таблица 3.4 - Распределение трудоемкости по разрядам

Разряд

Ежедневное участие в работе

Расчетный состав бригады

Принятый состав бригады

ΙV

128,4

128,4/139,7=0,91

2

ΙΙΙ

256,9

256,9/139,7=1,84


ΙΙ

22,7+128,4=151,1

151,1/139,7=1,08

2

VI

139,7

1

1


Таблица 3.5 - Расчетное количество рабочих

Разряд

Расчетное количество рабочих

Произведение разряда на число рабочих

4

0,91

3,64

3

1,84

5,52

2

1,08

2,16

Итого

3,83

11,32


Таблица 3.6 - Принятое количество рабочих

Разряд

Принятое количество рабочих

Произведение разряда на число рабочих

4

2

8

2

2

4

Итого

4

12

 

.6 Расчет основных параметров и выбор монтажных кранов

ферма фундамент трудоемкость монтажный

Выбор кранов для монтажа зданий и сооружений должен производиться на основе технико-экономических расчётов с учётом количества, размера и веса монтируемых элементов, этажности или высоты, конфигурации и размеров возводимого здания.

Основными параметрами монтажного крана являются:

грузоподъёмность (Qкр);

высота подъёма крюка (Hкр);

вылет крюка крана (lкр);

длина стрелы (Lстр).

Исходя из данных основных параметров, определяем самую тяжелую, самую высокорасположенную и самую неудобную для монтажа конструкцию.

Самая тяжелая для монтажа конструкция - сэндвич-панель массой 0,238 т.

Необходимая минимальная высота крюка крана:

, м (3.2)

где  - высота монтажного горизонта, м;

- высота элемента в монтажном положении, м;

- запас по высоте, требуемый для заводки конструкции к месту установки или через ранее смонтированные конструкции (2 м);

-высота строповки в рабочем положении от верха монтируемого элемента до низа крюка, м.

Рисунок 3.1 - Грузовысотные характеристики крана КС-35715

Таблица 3.7 - Вылет стрелы по грузовысотным характеристикам крана КС-35715

Элемент

Сэндвич-панель

1

2

Qэ, т

0,238

Qосн, т

0,3

Qкр, т

0,538

h0, м

7,8

hсп, м

2,15

hс, м

1,2

Hкр, м

11,15

LQ

2-17,7

LH

4-15,7

L

4-15,7

3.7 Выбор и обоснование транспортных средств для доставки конструкций


Таблица 3.8 - Выбор транспортных средств для доставки конструкций

Наименование элемента

Масса, т.

Марка транспортного средства

Грузоподъёмность, т.

Кол-во элементов, перевозимых за один рейс

Коэффициент использования транспорта по грузоподъемности

Кровельная сэндвич-панель

0,238

 Полуприцеп ОДАЗ-9310

14,2

8

0,13


Доставка конструкций осуществляется с разгрузкой на приобъектном складе.

 

.8 График производства работ


График составляется на основе калькуляции трудовых затрат и нормативной продолжительности работ в табличной форме.

Наименование работ записывается в соответствии с принятой технологической последовательностью монтажа.

Значение трудоемкости на весь объем работ:

 чел·см, (3.3)

где  - затраты труда, чел·ч;

- продолжительность одной смены, ч/см.

Продолжительность работ:

, дн., (3.4)

где P - кол-во рабочих в одном звене монтажников, чел.;

N - кол-во смен в день, см/дн.

Определив продолжительность, взаимно увязываем работы во времени. Выбираем монтажные работы, оказывающие влияние на продолжительность монтажа. Устанавливаем последовательность и совмещенность ведущих монтажных работ, подчиняя темпу их выполнения остальные виды работ, с тем расчетом, чтобы обеспечить устойчивость в любой момент времени каждого возводимого элемента и здания в целом.

 

.9 Основные технико-экономические показатели


Таблица 3.9 - Основные технико-экономические показатели


Наименование показателя

Ед. изм.

Значение показателя

1

Общие трудозатраты

чел.·час

536,3

2

Машинозатраты

маш.·час

139,7

3

Выработка одного рабочего за смену

т/смен

1,54

4

Затраты труда на единицу работы в человеко-смену

смен/т

0,65

5

Срок выполнения работы

дни

17


Расчетная стоимость выполнения единицы работы определяется по формуле:

Выработка одного рабочего за смену определяется по формуле:

, т/см, (3.5)

где V - объем работ, подлежащих выполнению, т;

ТР - трудоемкость работ, чел·см.

Затраты труда на единицу работы:

, см/т; (3.6)

т/см;

см/т

3.10 Указания по производству работ


До начала монтажа конструкций проверяют положение в плане и отметки оснований фундаментов и других опорных конструкций. Последовательность монтажа должна обеспечивать устойчивость и геометрическую неизменяемость смонтированных конструкций. Монтаж кровли ведут специализированными потоками, каждому из которых передается комплект монтажных и транспортных машин и соответствующая монтажная оснастка. Участки делят на захватки, на которых последовательно выполняют отдельные процессы всего комплекса работ.

Движение кранов и монтажные позиции выбирают с таким расчетом, чтобы кран с одной позиции смонтировал большее число элементов. Перед приступлением к монтажу сэндвич-панелей следует: проверить конструкцию с точки зрения тщательности выполнения и соответствия проекту (возможные отличия устранить); проконтролировать, соответствует ли расстановка прогонов, столбов и ригелей проекту и указаниям, содержащимся в таблицах статистических нагрузок; проверить, составляют ли поверхности прогонов плоскость. При монтаже сэндвич-панелей сначала следует зафиксировать панель с помощью одного соединителя к прогону под коньком, а затем и к другим прогонам. Крайние панели крепятся к прогону тремя самосверлящими соединителями в верхней части трапеции панели.

 

.11 Указания по технике безопасности

 

.11.1 Монтажные работы

На участке, где ведутся монтажные работы, не допускается выполнение других работ и нахождение посторонних лиц.

Способы строповки элементов конструкции и оборудования должны обеспечивать их подачу к месту установки в положении близком к проектному.

Строповка грузов производится инвентарными грузозахватными устройствами. Способы строповки должны исключать падение или скольжение груза.

Элементы при перемещении удерживаются от раскачивания и вращения гибкими оттяжками.

Во время перерывов элементы не оставляют на весу.

Расстроповку элементов конструкций и оборудования, установленных в проектное положение, производят после постоянного или временного надежного закрепления.

Монтажные работы на высоте не выполняются в открытых местах при скорости ветра 15 м/с и более, при гололеде или тумане, исключающем видимость в пределах фронта работ.

Монтаж конструкций последующего яруса производят после надежного закрепления предыдущего.

Нельзя находиться под монтажными конструкциями до установки их в проектное положение.

Рабочее место должно быть оснащено необходимыми техсредствами, подмостями, люльками, монтажными столиками, вышками, лестницами, защитными ограждениями, должны применяться индивидуальные средства защиты в виде предохранительных поясов, прикрепляемых к устойчивым элементам. Кроме того, должны применяться ограждения в виде защитных сеток для падающего предмета.

 

.11.2 Транспортные работы

Организация - владелец транспортных средств обязана обеспечить их своевременное техобслуживание и ремонт.

Транспортировка длинномерных, тяжеловесных, крупногабаритных грузов осуществляется на специализированном транспорте.

Груз должен быть размещен и закреплен в соответствии с техническими условиями погрузки и крепления. Подача автомобиля задним ходом в зоне работ производится по команде работающих.

 

.12 Указания по осуществлению контроля и оценки качества монтажных работ


Контроль качества монтажа начинают с момента приемки доставленных сборных элементов. Они должны соответствовать требованиям проекта и не должны иметь отклонений, превышающих допустимые по СНиП.

По окончании монтажа конструкций работы принимают по акту, в котором указывают соответствие монтажа проекту, выносят заключение о готовности здания для производства последующих работ.

Главным критерием качества монтажных работ является точность установки конструкций в соответствии с проектом. На все конструкции, которые при дальнейшем производстве работ закрываются другими конструкциями, составляют акты на скрытые работы.

 

.13 Указания по охране труда


Конструкции, поднимаемые краном, надо удерживать от раскачивания оттяжками из пенькового каната или троса. При подъеме элементов, устанавливаемых в горизонтальное положение, к обоим их концам прикрепляются парные оттяжки. Запрещается передвигать конструкции после их установки и снятия захватных приспособлений. При подъеме элементов с транспортных средств запрещается перемещать груз над кабиной водителя. На монтажных работах обязательно должна быть предусмотрена сигнализация.

Все сигналы машинисту крана и рабочим на оттяжках подает один человек - бригадир.

Машинисты кранов, строповщики, сигнальщики и сварщики проходят обучение по спецпрограммам. Монтажники, имеющие стаж работы менее одного года и разряд ниже третьего, к работе на высоте не допускаются.

 

4. Организационный раздел

 

.1 Характеристика условий строительства


Данное здание строится вблизи деревни Тарасово Вельского района Архангельской области. Предусмотрено новое строительство. Среднемесячная температура в январе -14,1°С, в июле +17,3°С. Группа грунта - II. Глубина промерзания - 1,4 м. Имеются в наличие постоянные дороги и пути.

 

.2 Методы выполнения основных строительно-монтажных работ

 

.2.1 Земляные работы

Для выполнения земляных работ здание разбито на две захватки. На захватках производится отрывка котлованов. Земляные работы выполняются комплексом землеройных механизмов в составе одноковшового экскаватора ЭО-3322А с емкостью ковша 0,4 м³, бульдозера ДЗ-18 на базе трактора Т-100 и автосамосвалов.

 

.2.2 Монтаж конструкций фундамента

После выполнения земляных работ на освободившейся захватке ведется монтаж конструкций фундамента. Он производится краном КС-35715. Для обратной засыпки котлованов применяется бульдозер ДЗ-18. Работа производится на 2-х захватках в одну смену.

 

.2.3 Возведение коробки здания

Монтаж необходимых элементов для возведения коробки здания и кровли ведется автокраном КС-35715 (грузоподъемность Q=16 т и длиной стрелы Lс=18м). Материалы для строительства складируются в непосредственной близости от крана.

4.3 Стройгенплан


Строительный генеральный план участка, являясь важным документом после ППР, влияет на эффективность организации производства, поскольку в нем решаются вопросы размещения и транспортировки строительных конструкций и материалов, что отражается на производстве труда и себестоимости работ.

Стройгенплан разработан на основании архитектурно-строительного генплана объекта, согласно техники безопасности в строительстве.

При проектировании стройгенплана предусмотрено:

ограждение стройплощадки;

наличие временных дорог;

размещение складских площадок в зоне действия крана;

размещение двух пожарных гидрантов на расстоянии < 150 м друг от друга, не далее 2 м от дороги с твердым покрытием.

Проектом предусмотрены бытовые временные помещения, которые обеспечивают рабочих водоснабжением, канализацией, отоплением.

Электроснабжение осуществляется за счет трансформаторной подстанции, установленной на объекте.

 

.4 Расчёт численности персонала строительства


Численность персонала строительства определяется по формуле:

, чел, (4.1)

где 1,06 - коэффициент, учитывающий отпуска и невыходы рабочих по болезни;

 − численность рабочих основного производства;

 

− численность рабочих неосновного производства;

 

− численность инженерно-технических работников;

 

− численность младшего обслуживающего персонала;

 

− численность учеников;

 

 

.5 Расчет временных зданий и сооружений

 
Таблица 4.1 - Расчет временных зданий и сооружений

Наименование зданий и сооружений

Расчетная численность персонала

Норма на одного чел-ка

Требуется

Принято


Всего

% одновременно пользующихся

Ед. изм.

Кол-во

Ед. изм.

Кол-во

Марка

Кол-во

1

2

3

4

5

6

7

8

9

Контора прораба

1

100

м²

4

м²

4

Вагончик 2,4х 3

1

Гардеробные с умывальными

16

70

м²

0,5

м²

6

Вагончик 2,4х 3

1

Медицинское помещение

-

-

м²

12

м²

12

Вагончик 2,4х 6

1

Помещение для приёма пищи

16

30

м²

1

м²

5

Вагончик 2,4х 3

1

Помещение для обогрева рабочих

16

100

м²

0,1

м²

1,6

Вагончик 2,4х 3

1

Кладовая

-

-

м²

15

м²

15

Вагончик 2,4х 6

1

Помещение для сушки и обеспыливания одежды

16

50

м²

0,2

м²

1,6

Вагончик 2,4х 3

1

Душевые

16

30

м²

1 рожок

8 чел

1

Вагончик 2,4х 3

1






4м²

4



Туалет

16

100

м²

1 очко

15 чел

2

Вагончик 2,4х 3

1






2м²

4



 


4.6 Расчёт потребности в коммунальном обеспечении

 

.6.1 Расчёт потребности в воде


, л/сек, (4.2)

где  − расход воды на пожаротушение;

, л/сек, (4.3)

где  - норма водопотребления на 1 человека, пользующего душем: при наличии канализации ;

 - количество рабочих на стройке;

 - продолжительность работы душевой установки, мин;

Расход воды на хозяйственно-питьевые нужды:

, л/сек, (4.4)

где  - норма водопотребления на 1 чел/см, при наличии канализации - 20л;

 - коэффициент неравномерности потребления воды;

 - продолжительность смены;

;

Расход воды на производственные нужды:

,л/сек, (4.5)

где .

.

Диаметр трубопровода временного водопровода:

, м, (4.6)

где v = 1,8 м/с − скорость воды во временном водопроводе;

принимаем наружный диаметр водопроводной трубы D = 100 мм.

 

.6.2 Расчёт потребности в электроэнергии

Требуемая мощность трансформатора для строительной площадки определяется по формуле:

,кВт, (4.7)

где 1,05 − коэффициент, учитывающий потери в сети;

− сумма мощностей всех потребителей, (см. в таблице 4.2);

сosφ = 0,9 − коэффициент мощности сети;

k1 = 0,30,8; k2 = 0,7; k3 = 0,8; k4 = 1 - коэффициент спроса учитывающих не совпадение нагрузок;

 
Таблица 4.2 - Расчет потребности в электроэнергии

Наименование

Силовые потребители: Технологические потребители: сварочный аппарат ТД-300 Наружное освещение: прожектора ПКН-1000 Внутреннее освещение: помещения временные

 20 20 1


 = 34,2 кВт.

Принимаем одну передвижную комплексную трансформаторную подстанцию закрытой конструкции: СКТП-40-6/10/0,4 мощностью Р=40кВт.

Сечение проводов во временной электросети из условия прочности принимаем 6 мм.

 

.7 Расчет площадей складов материалов, изделий и конструкций


Требуемая площадь склада для хранения однородного груза принимается по площади:

, м², (4.8)

где Qск - количество материалов, подлежащих хранению, определяемое по формуле:

, (4.9)

где  - количество материалов, подлежащих хранению, т;

 -количество материалов, необходимое для выполнения заданного объема работ, т;

T - продолжительность выполнения работ с использованием данного материала, дн.;

n - норма запаса материалов на складе, дн.;

k1 - коэффициент неравномерности поступления материалов на склад, k1 = 1,3 ÷ 1,5;

k2 - коэффициент неравномерности потребления материалов, k2 = 1,3 ÷ 1,5;

q - количество материала, укладываемого на 1 м² площади, т/м²;

α - коэффициент учитывающий проходы и проезды на складах:

для закрытых складов - α = 0,5 ÷ 0,7;

- для открытых складов - α = 0,4 ÷ 0,5.

При автомобильных перевозках n = 8 ÷ 15 дн.

Складские помещения для:

Металлических колонн, балок покрытия, прогонов, связей:

;

;

Металлических стропильных ферм:

;

;

 

4.8 Технико-экономические показатели


Энерговооруженность труда:

W,кВт/чел, (3.18)

где W - мощность двигателя машины (кВт).

W=11,27 кВт/чел.

Таблица 4.3 - Технико-экономические показатели

Объем возводимого здания:

24020 м³

Площадь здания:

4140 м²

Затраты труда на весь объем работ:

2624 чел.·час

Затраты труда на 1 м³ здания:

0,109 чел.·час

Затраты труда на 1 м² площади:

0,634 чел.·час

Продолжительность выполнения работ в днях:

106 дней

Энерговооруженность труда

11,27кВт/чел

 

.9 Указания по технике безопасности и охране труда на строительной площадке


При проектировании строительного генерального плана (стройгенплана) решается комплекс вопросов по созданию здоровых и безопасных условий труда. В процессе его разработки предусматриваются следующие мероприятия по охране труда:

проектирование помещений для санитарно-бытового обслуживания рабочих, включая и места для обогревания в холодное время года, служебные помещения для технического персонала строительного объекта;

рациональное размещение складов для материалов и площадок для кратковременного хранения сборных деталей и изделий;

выбор способов безопасного складирования основных строительных материалов, сборных деталей и изделий;

определение способов безопасной разгрузки на складах и последующей погрузки и подачи к рабочим местам сборных элементов конструкций, материалов и оборудования (средства механизации и автоматизации работ);

организация безопасного внутрипостроечного транспорта, размещение основных монтажных механизмов, устройство дорог и проездов;

определение стабильных и подвижных "опасных зон", связанных с применением основных строительных машин и средств механизации и автоматизации погрузочно-разгрузочных работ, организация безопасного труда в зонах транспортных узлов;

решение вопросов размещения дополнительных устройств и оборудования для выполнения работ в зимних условиях;

решение вопросов освещенности рабочих мест.

На стройгенплане определяются площадки складирования, указываются ограждения зон складирования деталей, места установки предупредительных надписей и знаков.

Для исключения переноса кранами грузов над рабочими местами на стройгенплане указывается направление движения монтажа здания. Намечаются проезды и подъезды для подвоза материалов и конструкций. Определяются их ширина и характер покрытия. Обозначаются места стоянок, разворотов, зона ограниченной скорости движения автотранспорта. На схеме указываются расположение осветительных устройств, состав и размещение санитарно-бытовых помещений.

На строительной площадке оборудуются санитарно-бытовые помещения: гардеробная, помещение для сушки, обезвреживания и обеспыливания одежды, умывальная, душевая, помещение для обогрева работающих, для ремонта спецодежды, а также пункт питания и медпункт.

Похожие работы на - Ферма КРС на 1000 голов. Родильное отделение

 

Не нашли материал для своей работы?
Поможем написать уникальную работу
Без плагиата!
Без нейросетей!