Проектирование пассивной оптической сети (PON) в микрорайоне г. Вологды

  • Вид работы:
    Дипломная (ВКР)
  • Предмет:
    Информатика, ВТ, телекоммуникации
  • Язык:
    Русский
    ,
    Формат файла:
    MS Word
    1,27 Мб
  • Опубликовано:
    2017-03-20
Вы можете узнать стоимость помощи в написании студенческой работы.
Помощь в написании работы, которую точно примут!

Проектирование пассивной оптической сети (PON) в микрорайоне г. Вологды

Введение

Тенденция развития телекоммуникационной сети в начале двадцать первого века должна соответствовать времени, то есть, быть высокоорганизованной, интеллектуальной, автоматизированной, соответствовать техническому уровню развития стран в мире, способной передавать различные сообщения и предоставляют широкий спектр услуг для пользователей, которые ценят качество и надежность.

Хотя телефон и теперь остается наиболее востребованной услугой, значительно увеличился спрос на интернет-услуги среди бизнес-центров, но и у простых пользователей. Популярное в последние годы понятие «Triple Play» (Triple Play) предоставляет пользователям телефонии, передачи данных и видео через единую сеть. Кроме того, высокоскоростной доступ в интернет и видео требует широкополосного доступа к сетевым ресурсам. Так же, увеличение спроса на услуги ШПД определяется развитием новых технологий: VOD (видео по запросу), потоковое видео, онлайн-игры, видеоконференции, VOIP (передача голоса по сетям связи), телевидение высокой четкости (HDTV).

При подборе технологии ШПД нужно принять во внимание потребности пользователей, их расположение, различные экономические аспекты.

В развитии рынка телекоммуникаций опасно принимать поспешных решений и ждать появления более совершенной технологии. Такая технология уже появилась - это технология PON (пассивная оптическая сеть).

Сеть доступа PON создана на основе древовидной кабельной структуры с пассивными оптическими сплиттерами на узлах, данная структура является наиболее экономически эффективным способом обеспечить разнообразие широкополосных приложений. В то же время структура PON имеет необходимый потенциал и эффективность узлов сети и пропускной способности, в зависимости от текущих и будущих потребностей клиентов. Все абонентские устройства являются терминальными, что означает: поломка не влияет на работоспособность других устройств. Каждый абонентский узел предназначен для обычного домашнего или офисного помещения и может охватывать сотни абонентов.

Пассивные оптические сети существенно могут изменить равновесие сил на рынке телекоммуникаций, предлагая прагматичную схему работы. При их использовании, операторы связи могут быть более уверенными в компенсации экономических расходов, прокладка ОВ от телефонной станции к площади с группой возможных клиентов - компаний или отдельных пользователей.

Подобным способом, технология PON представляет особую заинтересованность с точки зрения: расширения области использования цифровых широкополосных сетей.

В дипломном проекте показан сетевой проект структуры доступа GPON (пассивной оптической сети) в г. Вологде. Целью данного проекта является разработка организации схем связи, выбор маршрута ОК, подбор и монтаж оборудования на центральных и терминальных узлах. Рассматриваются вопросы безопасности при строительстве сети.

1. Варианты построения сетей доступа

Развитие интернета в том числе создание новейших услуг связи, содействует росту трафика, передаваемого по сети, и вынуждает провайдеров находить методы повышения пропускной способности транспортных сетей. Для принятия решения в настоящий момент, они обязаны принимать во внимание разнообразные потребности абонентов, потенциал для дальнейшего развития сети и ее экономики.

Имеются четыре ключевых топологии построения оптических сетей, «P2P», «кольцо», «с деревом активного узла», «дерево с пассивными узлами».

1.1 Топология построения оптических сетей, «точка-точка» и ее характеристика

Рисунок 1 - Топология «точка-точка»

Самая простая структура. Главным недостатком является низкий КПД. Следует проложить отдельный волоконно-оптический кабель из центрального офиса в каждое строение или каждому отдельному пользователю. Данный метод может выполняться в случае, если закладывается абонентский узел (компания, офис, здание), к которому ведется отдельная линия связи.

«Точка-точка» топология не создающая ограничений на сетевые технологии. P2P может быть использован как стандарт для любой сети, а также для решений нестандартных, таких как оптические модемы.

Информационная безопасность, передаваемая с P2P-соединениями, данная топология обеспечивает высокий уровень защиты абонентских узлов. Так как, оптические кабели прокладываются индивидуально к любому абоненту, этот подход считается наиболее дорогостоящим и заманчивым в основном для больших корпоративных клиентов.

1.2 Топология построения оптических сетей, «кольцо» и ее характеристика

Рисунок 2.2 - Топология «кольцо»

Топология «кольцо» созданная на основе SDH благоприятно показала себя в городских сетях связи, но ситуация в самих сетях доступа не оптимальна. Если постройка городских магистралей планирует расположение узлов на этапе проектирования, тогда - невозможно знать заранее, в каком месте и какое количество абонентских узлов будет установлено. Подключение новых пользователей выполняется путем открытия кольца и установки дополнительных частей. В работе такие петли часто соединяются в одном кабеле, что создает кольцо, больше напоминающее ломаную. «Короткие» кольца (кольца свернуты) существенно уменьшают безопасность сети. Из-за этого основное преимущество топологии кольца приравнивается к нулю.

телекоммуникационный магистральный кабель оптический

1.3 Топология построения оптических сетей «с деревом активного узла» и ее характеристика

Рисунок 2.3 - Топология «дерево с активными узлами»

Дерево с активными узлами - экономная топология с точки зрения использования волокна. Она хорошо вписывается в параметры Ethernet с иерархией скорости от центрального узла к абонентам 1000/100/10 Мбит / с (1000Base-LX, 100Base-FX, 10Base-FL). IEEE 802.3 Ethernet уже давно перестал ограничивать нишу корпоративных сетей. В процессе монтажа по данной топологии, сети бывают очень разветвленными и сложными имеющие древовидную структуру. В каждом узле дерева должно быть активное устройство (по отношению к сетям основанные на IP-коммутаторах или маршрутизаторах). В дереве с активными узлами: главный плюс этой топологии относительно небольшие затраты. Важным минусом считается наличие активных устройств в промежуточных узлах, требующих отдельной мощности.

1.4 Топология построения оптических сетей «дерево с пассивными узлами» и ее характеристика

Рисунок 4 - Топология «дерево с пассивным оптическим сплиттером»

Особенный вариант, когда в качестве пассивного оптического элемента действует оптический сплиттер, топологии PON, используя. К одному порту центрального узла возможно подключение волоконно-оптического сегмента древовидной структуры, охватывающего множество пользователей. В подобном варианте, оптические сплиттеры поставленные в промежуточных узлах дерева, полностью пассивны и не требует питания и сервиса (обслуживания).

После упрощения топологии P2MP и грамотного размещения сплиттеров можно достичь существенного сокращения ОВ и уменьшить цену кабельной инфраструктуры. Абонентские устройства не играют роли на производительность сети. Достоинства данной структуры уменьшаются, во-первых, отсутствием активных промежуточных узлов и экономии волокон. Во-вторых, используются оптические приемопередатчики в центральных узлах. В-третьих, необходимо отметить простоту подключения абонентов и удобство обслуживания (поломка нескольких абонентских устройств, никак не повлияет на работоспособность других устройств).

Древовидная топология P2MP оптимальна для установки оптических сплиттеров на основе реального местоположения абонентов. Минусом считается повышенная сложность пассивных оптических сетей и отсутствие надежности в простейшей топологии дерева.

Все знают, что пассивные оптические сети дают возможность экономить на кабельной инфраструктуре за счет снижения общей длины ОВ, в области от центрального узла к сплиттеру, используя всего лишь одно волокно. Так же нужно обратить внимание на еще один источник экономии - снижение количества приемников и оптических передатчиков в центральном узле. Иногда экономия от второго варианта, более существенна в некоторых вариантах.

Можно подвести итог о том, что структура «дерево с пассивными узлами» считается наиболее преимущественной в виду следующих факторов:

. Структура является оптимальной для количества волокон;

. Оптимальное решение для числа оптических приемопередатчиков;

. Легкость подключения новых абонентов и удобство обслуживания;

. Отсутствие промежуточных активных узлов;

1.5 Функционирование сети средней сложности

В топологии «точка - многоточка» за счет упрощения распределения сплиттеров можно достичь, существенной экономии ОВ и уменьшить стоимость кабельной инфраструктуры. Все абонентские устройства терминальные - это означает поломка или выход одного из устройств, не повлияет на работу других.

Каждый часть ОВ соединена с одним приемопередатчиком к центральному узлу (различие от топологии «точка-точка»), что придает существенную экономию в стоимости оборудования.

2. Описание технологии PON

(пассивная оптическая сеть) - это семейство стремительно развивающихся современных технологий ШПД по оптическому волокну. Сущность технологии, следует из ее названия и заключается в том, что ее распределительная сеть строится без использования активных компонентов: разветвление оптического сигнала в одной волоконно-оптической линии связи осуществляется с использованием пассивных оптических разветвителей мощности - сплиттеров.

2.1 Примеры построения сетей PON

Определение ключевых терминов.центральный узел (терминал оптической линии) - это устройство, установленное в центральном офисе, оно получает данные от магистральных сетей через интерфейсы SNI (узел обслуживания интерфейсов) и формирует нисходящий поток к абонентским устройствам (живой поток) по PON дереву.

Абонентское устройство ONT (терминал оптической сети), с одной стороны, использует пользовательские (абонентские) интерфейсы, а с другой - интерфейс для подключения PON дерева - передача осуществляется на длине волны 1310 нм, а прием - на длине волны 1550 нм. ONT от OLT получает данные, преобразует их и передает абонентам через абонентские интерфейсы UNI (сетевые интерфейсы пользователя).

Оптический сплиттер - пассивное оптическое оборудование, которое занимается, распределением оптического потока излучения в том же направлении, и объединяющий несколько потоков в обратном направлении. Обычно у сплиттера может быть N входных и выходных портов M. В PON сетях чаще всего используются 1xN сплиттеры с одним входным портом.

Любая оптическая сеть состоит из нескольких главных составляющих: ONT терминала, пассивных оптических сплиттеров, и станционного терминала OLT. Станционный терминал помогает взаимодействию сети PON с внешними сетями, сплиттер содействует разветвлению оптического сигнала, а ONT терминал помогает взаимодействию с абонентской стороны.

В нашем мире, при большом росте объема передаваемого трафика (телевидения, голос, мультимедиа) и тенденции к увеличению скорости доставки информации, при массовом росте населения, в большой степени, можно получить используя технологию PON. Она становится быстро развивающейся и основой при доставке пользователю услуг ШПД.

Технология TurboGEPON является одной из разновидностей сетей PON, она позволяет строить сети доступа для многоквартирных домов, предприятий, за счет большой скорости передачи 2,5 гбит\с, так же TubroGEPON обладает рядом преимуществ

Оператор связи предоставляет по одному кабелю такие услуги как

интернет высокоскоростного доступа

телефонию

IPTV (и HD)

эффективное использование оптико-волокна (до 64 абонентов на 1 волокно)

Рисунок 5 - Общая структура строительства оптической сети

Рисунок 6 - Общая структура строительства оптической сети в поселке

Рисунок 7 - Обеспечение услуг клиентам (абонентам)

2.2 Виды технологий PON

В семействе PON имеется ряд разновидностей, различающиеся, в первую очередь, базовым протоколом передачи, что видно из таблицы 1.

Таблица 1 - Вариации оптических сетей

Наименование

Стандарт

APON (АТМ PON)

G.983.x

BPON (Broadband PON)

G.983.x ITU-T

EPON (Ethernet PON)

IEEE 802.3ah/ IEEE 802.3av (два стандарта)

GPON (Gigabit PON)

ITU-T G.984.x


Сперва существовала технология APON, она функционировала на передаче информации в ячейке структуры АТМ с данными. В данном стандарте предоставлялась скорость передачи прямого потока 622 мбит/ и обратного потока по 155 Мбит/с (симметричный режим) или 622 Мбит/с в прямом потоке и 155 Мбит/с в обратном (ассиметричный режим). В наше время APON практически не используется. После усовершенствования APON спустя некоторое время привело к формированию нового этапа (стандарта) - BPON. В стандарте BPON скорость потоков уже состовляла до 622 Мбит/с в симметричном режиме или 1244 Мбит/с и 622 Мбит /с в ассиметричном режиме.

В частности появилась возможность передачи ключевых типов информации (голоса, видео, данных), для видеоинформационного потока выделена длина волны 1550 нм. BPON формирует между отдельными абонентами динамическое распределение полосы. После развития наиболее высокоскоростнго стандарта GPON, использование BPON утратило свой смысл.

Применение стандарта Ethernet в локальных сетях и создание на их базе оптических сетей, предрешило создание и развитие стандарта EPON. Стандарт EPON, рассчитан на передачу данных со скоростью обратного и прямого потока со скоростью 1Гбит/с на основе IP-протокола для 16 (или 32) пользователей. Из-за высокой скорости передачи, EPON эволюционировал в GEPON ( Gigabit Ethernet PON ), который принадлежит к стандарту IEEE 802.3ah. Расстояние передачи в подобных системах доходит до 20 км.

Для операторов связи, формирующие крупные разветвленные сети с системами хранения, успешной является технология GPON, она несет в себе линейку APON- BPON, но с высокой скоростью передачи -1244 Мбит/с и 2488 Мбит/с (в ассиметричном режиме) и 1244 Мбит/с (в симметричном режиме). За фундамент был выбран протокол SDH. Вероятность подключение до 32 (или 64) пользователей на дистанции 20 км (с перспективой повышения до 60 км). GPON поддерживает как трафик АТМ, так и IP, речь и видео. Одним значительным минусов GPON считается высокая цена оборудования.

2.3 Принцип действия пассивных оптических сетей

Древовидная структура доступа пассивных оптических сетей, разработана на построении оптико-волоконных сетей, с пассивными оптическими сплиттерами, является очень экономичной и может гарантировать широкополосную передачу разнообразных приложений. Таким образом структура пассивных оптических сетей имеет необходимую эффективность увеличения как узлов сети, так и пропускной способности в зависимости от будущих и настоящих потребностей пользователей.

Провайдеры, общественные и строительные фирмы все без исключений сообщают о соединении услуг связи, применяя "triple play". Это основное преимущество технологии, так как все услуги можно получить из одной розетки. Оптическую сеть проводят прямо в квартиру, без надобности монтажа в доме активного оборудования, что предласполагает качество сети и ее безопасность. Разветвление на телефонный, телевизионный и интернет кабели совершается уже в квартире, из оптического абонентского терминала (ONT). Пропускная способность оптико-волокна делает его заманчивым для реализации данной разновидности телекоммуникационных сервисов.

Несколько лет назад ОК являлся весьма дорогостоящим. Однако в наше время благодаря уменьшению стоимости на оптические составляющие этот метод стал актуален. На сегодняшний день проводить ОК для организации сети доступа, рентабельно, и при модернизации старых, и при проектировании новых сетей доступа.

В пассивной оптической сети на стороне провайдера установлены станционные оптические терминалы (OLT), а в качестве абонентских устройств, устанавливаются оптические абонентские терминалы (ONT). ONT более сложное оборудование, нежели CPE, применяемого в Ethernet решении. Помимо представления функций ШПД и поддержки сервисов, оптический терминал должен иметь ряд характеристик:

-        протокол управления доступа к PON;

-        лазеры пакетного режима (burst-mode lasers),обеспечивающие передачу данных ONT только в определенные терминалом OLT отрезки времени;

-        повышенная мощность сигнала (требуется учитывать потери на делителях и пр.) ;

-        шифрование; высокая производительность.

Эти вспомогательные функции предполанают значительно более высокую стоимость оптического терминала (ONT) для структуры PON, нежели устройства Ethernet FTTH CPE.

2.4 Надежность и резервирование PON

Большим минусом стандарта GPON с топологией простого дерева считается отсутствие резерва. Наиболее серъезной проблемой в данном случае была бы связана с повреждением(дефектом) волокна, проложеннного от оптического станционного терминала к ближайшему сплиттеру (фидерного волокна). В виду особенности топологии PON, данная цель не является такой простой, как в кольце SDH, так как полоса обратного потока в оптической сети считается общей и создается большое количество абонентских узлов.

Первый метод обеспечивает резервирование по фидерному волокну(участок ОВ, который соединят центральный узел и оптический слпиттер) и по приемопередающему оборудованию на центральном узле (рисунок 5). Для корректной работы необходим сплиттер 2хN. Центральный узел поддерживается двумя приемопередающими модулями LT-1 и LT-2.

На рисунке 6 представлен второй метод охраны системы пассивной оптической сети, представляющий полное резервирование. Система приобретает устойчивость к поломке приемопередающего оборудования станционного терминала и абонентского, так и к обрыву участка кабельной сети. Потоки информации на оптический терминал (ONT) преобразовываются одновременно обоими узлами LT-1 и LT-2 и переходят в два параллельных обратных потока. На станционном оборудовании только одна модификация двух одинаковых сигналов проходит дальше в магистраль, таким же образом проходит дублирование в прямом потоке. Если волокно повреждено и приемопередающие интерфейсы переход на резервный поток не будет занимать много времени и предостережет к потере связи. Абонентские узлы с резервирование не обязательно подключать во втором случае. Отличие в стоимости абонентских узлов с резервированием и при его отсутствии дает возможность предлагать услуги множеству абонентов. После рассмотрения двух модификаций, предлагаемых ITU-T, второй способ полностью удовлетворяет всем условиям и является наиболее заманчивым.

3. Обоснование выбора технологии для микрорайона г. Вологды

Общие сведения

Вологда - административный и культурный центр Вологодской области. Население - 325 тыс. чел на 01.01.2017

Вологда - типичный представитель средних городов России и административная часть и нового и старого города застраивается современными коттеджами и многоэтажными зданиями.

3.1 Анализ телекоммуникационного рынка г. Вологды

Доступ к услугам интернет оказывают несколько операторов связи:

ОАО «МТС» - 120000 абонентов, ООО «БазаNET» - 15000, ОАО «Ростелеком» - 180000. Не задействоваными остаются около 7000 абонентов, большинство которых проживают в пригороде или за чертой города.АО «МТС» и ООО «БазаNET» - это развивающиеся компьютерные сети, объединяющие множество районов города Вологды в новой и старой части.

Эти провайдеры предоставляют услуги как частным лицам, так и коммерческим, образовательным и общественным организация. Техническое решение сети ОАО «МТС» и ООО «БазаNET» организовано по технологии FTTH.

3.2 Организация связи сети ПАО «Ростелеком»

ПАО «Ростелеком» предоставляет услуги передачи данных по одному проводу (ТВ, Интернет, Телефония).

Сейчас мультисервисные сети работают на базе технологии Ethernet и набора протоколов TCP/IP (стека).

Транспортный уровень в г.Вологде дополнительно использует ресурсы сети SDH, с резервированием по оптическим линиям.

Транспортный уровень сделан с поддержкой технологий Gigabit Ethernet, MPLS, VPN. Резервирование каналов совершается на транспортном уровне за счёт присутствия свободных ОВ в кабеле, и резервных(дополнительных) оптических линий.

С помощью имеющейся мультисервисной сети предоставляются

услуги:

услуги передачи данных

услуги связи по передаче данных для голосовой информации;

телематические услуги связи;

услуги связи для кабельного вещания.

Оказание услуги телефонии для пользователей создаваемой сети предоставляется на основе передачи голосовой информации в сети передачи данных, в качестве голосового шлюза используется оборудование действующего узла «IP-телефонии». Поддержка оборудованием функции QOS дает расставить приоритеты голосового трафика и гарантирует высококачественную передачу голосовой информации между пользователями внутри сети и доступ на других операторов передачи голосовой информации в сети передачи данных.

Оказание видео услуг для пользователей создаваемой сети работает функционирует на базе multicast сохраненной в оборудовании. В качестве основного применяют действующее оборудование «IP-TV».

В качестве главной для пользователей считается услуга доступа к информации региональных и мировых информационных телекоммуникационных сетей, а так же можно отнести сюда и интернет. В данном случае услуга реализуется пропуском трафика к пользователю от информационных серверов и от присоединённых операторов передачи и служб хранящих информационный контент.

Создаваемая оптическая сеть GPON будет считаться уровнем доступа мультисервисной сети и даст новым пользователям доступ к упомянутым ранее услугам.

Оказание услуг осуществляется соответствующими узлами мультисервисной сети.

Микрорайон г.Вологды находится на расстоянии 2 км от АТС №55 по ул.Инженерная 2, где и будет выход на магистральную ВОЛС. В данной разработке будет рассмотрено подключение трех домов, в которых нет технической возможности для других операторов, а подключение по телефонной линии (ADSL) от сети «Ростелеком» усложняется из-за высокой нагрузки на кабельные сети и большим расстоянии до АТС№55. Это делает разработку весьма привлекательной. В данной ситуации оператор связи «ОАО Ростелеком», предоставляет пакет услуг triple play - (доступ к интернету, телефонии, IP-TV и видео по запросу), высокий уровень охвата практически гарантирован.

3.3 Описание клиентов

Определение числа абонентов представлено в таблице 2

Таблица 2 - Адресная база жилых домов в мкр г. Вологды

Адрес

Кол-во этажей

Кол-во подъездов

Кол-во квартир

1

Инженерная 20

5

5

75

2

Инженерная 22

5

5

75

3

Инженерная 22а

5

5

75



4. проектирование пассивной оптической сети (pon) в микрорайоне г. Вологды

.1 Существующие сооружения связи и их возможности

В самом начале монтажа оптической сети, а непосредственно линейно-кабельных сооружений следует знать расположение узла - оптического станционного терминала (OLT) - активное оборудование сети, установленное на опорных узлах и КМО (кросс магистральный оптический), для коммутации линейной оптической сети с оборудованием OLT.

Место, в котором будет размещаться станционное оптическое оборудование и оптические кроссы должно соответствовать ряду требований, соблюдающие условия пожаробезопасности, освещения, заземления, электропитания и многих других. Ниже обозначен краткий перечень, требований к помещениям, в которых размещается оборудование связи:

-   размер (площадь) помещения определяется составом и типом оборудования;

-        степень огнестойкости здания не ниже второй (допускается III степень);

-        В помещении, где будет стоять аппаратура, нельзя размещать помещения, связанные с потреблением воды;

-        несгораемое покрытие обязательно настилается на чистые полы в производственных помещениях;

-        исключить полное проникновение солнечных лучей на выпрямители и аккумуляторы;

-        стены и перегородки в помещении должны быть несгораемыми с огнестойкостью 0,75 часа;

-        пол должен быть покрыт линолеумом - антистатическим;

-        все оборудование должно быть заземлено;

-        Каждое заземляющее оборудование должно соответствовать требованиям, иметь пасторт, который включает в себя технические данные, схему устройства, а так же когда проверялось данное устройство и результат проверки.

-        Отверстия через которые протягиваются кабеля, в межэтажных или чердачных перекрытиях, должны быть замазаны раствором цемента.

-        После прокладки кабелей в проемах или трубах между помещениями, а так же этажами, нужно предусмотреть о заполнении свободного пространства несгораемым материалом для предотвращения пожара;

-        Вход и выход из АТС должны быть отдельными;

-        При входе во все производственные помещения должны быть вывешены таблички с указанием категории помещения по степени опасности поражения электрическим током, взрыво- и пожаро-безопасности и знаки безопасности по ГОСТ 12.4.026-76 и фамилии руководителей за состояние охраны труда;

-        Розетки 220В должны быть с третьим заземляющим контактом, что касается штепсельных вилок предназначенных для включения в розетки с напряжение до 42В, по своей структуре должны исключать возможность включения их в розетки с напряжением 220В;

Познакомившись с требованиями, станционный оптический терминал (OLT) и магистральный оптический кросс (КМО) принято решение разместить в помещении АТС-55, по адресу ул.Инженерная д.2. Решение обусловлено удобством обслуживания линейного оборудования, недалеким расположением к району, где будет происходить монтаж сети и в ее обслуживание, а также соответствии данного помещения с техническими и технологическими условиями, предъявляемым к помещениям, в которых размещено оборудование.

4.2 Разработка трассы прокладки оптического кабеля

При выборе прокладки оптико-волокна следует подобрать оптимальный способ. Линейные сооружения считаются дорогостоящими и наиболее сложной частью сети связи, по этой причине трассу предпочитают выбирать отталкиваясь от следующих критериев:

·    маленькое расстояние между оконечными пунктами;

·        выполнение наименьшего объёма работ при строительстве;

·        механизации строительных работ;

·        удобства эксплуатации сооружений и надёжности их работы.

Работы по строительству линейно-кабельных сооружений можно разбить на два этапа:

1.       Монтаж магистральной оптической линии, которая будет соединять абонентов с центральным узлом (OLT).

2.       Монтаж, прокладка сети внутри дома.

Поэтому на каждом этапе монтажа необходимо подобрать способ и трассу прокладки ОК.

Оптимальная технология прокладки оптико-волокна должна отвечать условиям: экономичности монтажа ВОЛС и эффективному контролю усилий, прилагаемых к волоконо-оптическому кабелю.

Важными факторами при строительстве ВОУ считаются:

·        допустимые тяговые усилия;

·        минимальный радиус изгиба;

·        длина кабеля.

Прокладка ОК в городе осуществляется несколькими способами, наиболее удобные - это прокладка оптического кабеля в телефонной кабельной канализации города или подвесить оптический кабель на опоры городского электроосвещения. При выборе прокладки кабеля, проведем сравнительный анализ двух способов. Анализ позволит нам выбрать наиболее эффективный метод прокладки кабеля, что поможет нам сэкономить время и бюджет, а так же повысить надежность оптической сети.

Рассмотрим технологию подвеса оптического или «воздушная» технология прокладки ОК.

Подвеска оптического кабеля на опорах электропередач, контактной сети железных дорог, а также на опорах электроосвещения в городских условиях обладают несколькими плюсами и минусами.

Достоинства:

-   значительное уменьшение сроков строительства;

-        снижение капитальных и эксплуатационных затрат;

-        наличие пригодных для подвески опор;

-        возможность подвески больших строительных длин оптического кабеля при незначительных тяговых усилиях;

-        применения механизированного способа подвески.

Перейдем к недостаткам данного метода:

-   ОК в точках крепления подвержен изгибам, что приводит к повреждению оптического кабеля;

-        наличие большого количества внешних факторов (дождь, гроза, снег, мороз, птицы и т.д);

-        Потребность согласования выполнения работ и аренды опор с владельцами опор (собственниками).

Сейчас разберем технологию прокладки ОК в кабельной канализации.

В соответствии с руководящим документом «Нормы технологического проектирования Городских и сельских телефонных сетей» прокладка кабеля должна предусматриваться, в имеющейся кабельной канализации местных сетей связи, и только при отсутствии технической возможности, необходимо учитывать постройку новых каналов к имеющейся кабельной канализации.

В г.Вологде вопрос аренды каналов не считается основным, так как заказчик в лице ПАО «Ростелеком» является собственником телефонной кабельной канализации.

4.3 Выбор оптического кабеля

При выборе оптического магистрального кабеля важны несколько характеристик - это соотношение цена-качество, подразумевается высокая надежность кабеля, стойкость в плохих погодных условиях, так же защита от грызунов, и прочих внешних факторов. Немало важным фактором оптико-волоконного кабеля является его пожаробезопастность особенно в здании. При строительстве магистрали в нашем проекте будет использован «бронированный» оптический кабель FO-AMW-CT, броня может быть двух видов, в виде гофрированной ленты а так же стальной проволоки. Бронированный гофрированный кабель будет оптимальным вариантом, для прокладки в канализацию, стальная броня больше подходит для прокладки в грунт.

Оптический кабель Fotech FO-AMT-CT имеет следующие характеристики:

устойчивость к статическому растягивающему усилию от 6,0 кН до 45 кН

устойчивость к раздавливанию не менее 0,5 кН\см

количество оптических волокон в кабеле от 2 до 288

кабель предназначен для работы в диапазоне температут от -60 до +70 градусов по цельсию.

Для внутридомовой разводки будет использован оптический кабель Fotech FO DST это распределительный оптический кабель для внутренней прокладки, имеет 12 стандартных одномодовых оптических волокон типа G.652.D, данный тип позволяет осуществлять передачу в расширенном диапазоне длин волн от 1360 нм до 1530 нм и обладает пониженным затуханием с внешней оболочкой из материала не распространяющего горение.

Оптический кабель внутридомой Fotech FO-DST имеет следующие характеристики:

устойчивость к статическому растягивающему усилию от 0,5кН до 1,0 кН

диаметр оптического кабеля от 4,5 мм до 7,1 мм

количество оптических волокон в кабеле от 2 до 12

предназначен для эксплуатации в диапазоне температур от -20 до +50 градусах по цельсию

.4 Выбор оборудования

Для строительства данной сети будет использовано оборудование компании Huawei - крупнейшяя компания Китая в области телекомуникации, занимается разработкой, реализацией и технической поддержкой проектов в области связи. В настоящее время обслуживает ведущих операторов по всему миру. Оборудование Huawei является экономичным и удобным решением при создании и конфигурации сети. Для сетей PON, представлена целая линейка современного оборудования. На базе оборудования можно организовать «triple play» (телефонию, интернет, тв). Компания предоставляет оборудование предназначенное для строительства оптической сети на базе GPON.

Оборудование MA5680T (рис.7) разработано с учетом современных требований и сохраняет функциональность IP-сетей доступа. MA5680T обладает емкостью до 400G. Пропускная способность одного слота составляет 10 Гбит/с, что позволяет решить вопрос нехватки пропускной способности.

Оборудование MA5680T имеет 16 сервисных слотов. Одна плата услуг PON содержит 4 PON порта, каждый порт поддерживает расщепление 1: 64, таким образом, одна полка поддерживает до 4096 абонентов.T может предоставлять доступ по оптическим интерфейсам FE/GE/GPON одновременно. Являясь унифицированной платформой для P2P и P2MP, MA5680T может использоваться во многих вариантах построения сети доступа и гарантировать безопасную сетевую миграцию. Оптический доступ в режиме P2P вполне удовлетворит требованиям организаций, нуждающихся в выделенной полосе пропускания.

Оборудование MA5680T содержит ряд особенностей, предлагающие собой решения для предоставления различных видов услуг.

Управляемый multicastT имеет функцию управления многоадресной передачей, что характерно для оборудования операторского класса. Данная функция позволяет операторам предоставлять и управлять дополнительными широкополосными услугами многоадресной передачи:

-   функции предварительного вступления и быстрого выхода из группы;

-        различные режимы аутентификации для различных операторов многоадресной передачи;

-        предварительный просмотр каналов и сбор статистики по просмотрам;

-        управляемая многоадресная передача для управления доступом пользователей многоадресных групп.

Решения для видеоуслуг

Оборудование MA5680T поддерживает 2 способа передачи видео: IPTV и кабельное телевидение. Использование MA5680T вместе с IPTV позволяет провайдеру управлять до 1000 видеоканалов, а в случае с кабельным телевидением оборудование будет предоставлять цифровое и аналоговое телевидение по кабелю. Пользователи так же могут пользоваться услугами передачи видео, данных и речи по оптоволоконному кабелю.

Решения для голосовых услуг

Для того чтобы передать речь используют технологию VoIP, при этом терминалы могут предоставлять не один способ реализации VoIP.

-   преобразование речи из VoIP оказывается медиашлюзом, встроенным в оптический абонентский терминал (ONT);

Мощный механизм гарантирования QoST имеет большие возможности QoS, идеальным образом предоставляя доступ к различным услугам:

-   комплексное решение QoS для всей сети (от OLT до ONT/ONU);

-   организация очередей как на уровне OLT, так и на уровне ONT, предоставляя QoS на основе разделения служб и пользователей;

-   механизм обеспечения QoS на основе правил трафика: фильтрация и переадресация пакетов, зеркальное копирование трафика, статистика и управление стратегиями трафика, составление графика запросов по порту, ограничение скорости порта;

-   классификация трафика VoIP для каждого порта обеспечивает стабильную, качественную голосовую связь при больших объемах передаваемой информации;

-   динамическое распределение полосы пропускания (диапазон от 512 Кбит/с до максимального значения с шагом 64 Кбит/с).

В качестве подведения итога основные характеристики оборудования MA5680T были сведены в таблицу .

Таблица 3 - Спецификации оборудования MA5680T

Характеристика

Ед. измерения

Значение

Рабочее напряжение (постоянное) напряжение диапазон

 В В

 48/60 38.4≤U≤72

Энергопотребление при полной нагрузке

Вт

Не более 1500

Кол-во. портов GPON на 1 плату

шт.

4

Скорость передачи порта GPON

Гбит/с

1,25 Up и 2.488 down

Дальность передачи

км

20

Коэфф-т. расщепления GPON

-

1: 64

Распределение полосы пропускания

-

динамическое с шагом 64 кбит/с


Оптический кросс - устройство которое используют для коммутации многоволоконных оптических кабелей в местах глубокого проникновения оптики.

Технические характеристики.

ШКОС-С-1U ШКОС-С-2U ШКОС-С-3U

Максимальное количество оптических портов FC/SC/LC 24/24/48 48/48/96 96/96/192

Максимальное количество вводимых кабелей- 4 или 2 транзитных, 8 или 4 транзитных, 12 или 6 транзитных.

Габариты корпуса, мм 133x440x320

Шкаф стоечный

Универсальные напольные шкафы SZB серии предназначены для сетевого и телекоммуникационного оборудования в офисных и производственных помещениях.

Базовая структура, рама с отверстиями в основании и верхней части. В верхней части шкафа защищитная крышка, передние и задние боковые панели оснащены дверями и панелями. Панели крепятся к раме при помощи двух замков, что обеспечивает легкий доступ к оборудованию и быструю сборку и разборку шкафа. Для всех типов замков существует универсальный ключ. Рама может быть установлена непосредственно на полу, установленной на ножках незавинченной, на стационарный плинтус или на роликах.

Шкаф оборудован четырьмя профилями 19-дюймов, которые закрепляются к распоркам стойки. Они предназначены для монтажа оборудования. 19-дюймовые профиля могут быть установлены на любой высоте. В шкафах шириной корпуса 800 мм для монтажа 19-дюймовых профилей производят специальные капсулы, а вертикальные фальшпанели охватывают пространство между 19-дюймовым профилем и фронтальной панелью шкафа.

Стоечные шкафы SZB серии могут быть соединены вместе между собой. Боковые рамы рамы соединяются с помощью четырех болтов, а боковые панели не используются.

Характеристики:

Рама - листовая сталь 2,0 мм

Боковые панели - 1,0 мм листовая сталь

Кол-во дверей:

Стальные двери - 1,0 мм листовая сталь

Стеклянные двери - 5,0 мм высокопрочного стекла

-дюймовые профили - листовая сталь 2,0 мм

Степень защиты:

Уровень охраны IP41 принадлежит к шкафам со стандартной неперфорированной крышей, плотно прилегающей к раме, со стальными дверями и боковыми панелями без перфорации. Кабели должны заводиться в шкаф из напольного кабельного канала. Кроме того, можно ввести кабель через фальшпанели с резиновыми прокладками.

Внутридомовое оборудование: шкаф антивандальный

Используется для монтажа 19-дюймового телекоммуникационного оборудования в местах общего доступа, в том числе неотапливаемых помещениях. Шкаф имеет усиленную конструкцию, дверной проем устроен так, что двери, будет сложно взломать. Корпус оснащен двумя парами монтажных профилей, что позволяет монтировать тяжелое оборудование с четырьмя точками крепления.

Технические характеристики:

-   Высота - 13u (688 мм);

-        Глубина - 600 мм;

-        Ширина - 740 мм;

-        Масса - 17 кг.

Коробка распределительная оптическая (ОРК)

Этажные кроссы ШКОН-МП

Используется для разветвления межэтажного волокна кабеля (модуля) обслуживающих этаж. Сращивания волокон, может быть выполнено с помощью сварки, или с использованием механических крепежных элементов или Fibrlok RECORDsplice. Используется в сочетании с межэтажными кабелями с сердечником свободного доступа. Они имеют компактные размеры, мы можем установить их прямо на стояках, этажных шкафах. Для предотвращения взлома этажные кроссы имеют блокирующее устройство с универсальным секретом. Корпус SHKON кросс-MP - литой пластик ABS и обеспечивает пылевлагозащитность. SHKON-ММ имеет металлический корпус.

Шнуры для подключения оптики у абонента предназначены для применения в наиболее жестких по сравнению с обычными шнурами условиях, подразумевающих высокую нагрузку на сжатие, а так же изгибов малого радиуса. Они изготовлены на основе компании ACOME H-Pace, специально предназначенных для PON сетей. Кабели используется одномодовое волокно спецификации G.657A, позволяя многократно изгибать кабель с радиусом 15 мм.

Наружный диаметр оболочки кабеля может быть 4 или 5 мм. Кабели 4 мм в диаметре могут пристреливаться к стенам и плинтусам используя обычный степлер.

Шнуры могут быть использованы в сетях кабельного телевидения, FTTx и пассивных оптических сетей (PON), например, для подключения абонентов в подъездах.

Характеристика ОВ - одномодовое G.657A

Характеристика оптических разъемов FC, SC, LC

Типичное вносимое затухание, 0,15 дБ

Максимальное вносимое затухание, 0,3 дБоптический разветвитель (сплиттер), используется для монтажа оптических сетей, а также может быть использован в системах передачи видео, по оптико-волокну.

Сплиттер представляет собой пассивное оптическое устройство с заданным количеством входных и выходных портов, не требующий мощности.Его функция состоит в перераспределении подаваемого на входные оптические порты потока к выходным портам. Если с одной стороны, один порт, с другой стороны - более одного он делит его на несколько, а с другой - наоборот, объединяет в себе несколько потоков в один. По топологии оптические разветвители разделены на две модификации: NxN (с одиаковым значением выходных и входных портов) и 1xN (поделив один поток на несколько портов). Сплиттеры с 1xN имеют симметричную модификацию (в которой излучение делится поровну между всеми выходными портами) и не симметричными, в которых для каждого выходного порта назначается определенный процент от мощности излучения.

Существуют две технологии производства оптических сплиттеров: планарные и сплавные. Простые плавучие сплиттеры, сделаны путем слияния нескольких (двух) или более ОВ.

Планарные сплиттеры (PLC), производятся по толстопленочной технологии на кристалле кремния, к торцам которого подстыковывают ленточные ОВ.

Планарные сплиттеры дают наиболее устойчивые и точные значения на выходах, имеют значительное маленькое затухание на порт, и практически не подвержены механическим воздействиям. В данной разработке будет использован планарный сплиттер.

Нет необходимости сплиттеров в электропитании позволило получить более широкое распространение сетей, которые основаны на PON и FTTx технологий.

Оптические разветвители PLC UpNet производятся в конфигурациях 1xM (М = 2, 3, 4, 6, 8, 12, 16, 32, 64) и 2xN (N = 2, 4, 8, 16, 32, 64).

Абонентское оборудование. Абонентские оптические терминалы Huawei HG8245 (ONT) используются для связи с вышестоящим оборудованием пассивных оптических сетей и услуг ШПД к абоненту. Контакт GPON сетей осуществляется с использованием - интерфейсов для подключения терминального оборудования (Ethernet интерфейсы).

Высокопроизводительные многофункциональные абонентские терминалы используются для обеспечения доступа к современным услугам телефоной связи и высокоскоростному доступ в интернет и IPTV. Кроме того, серия абонентских терминалов HG позволяет абонентам большой перечень услуг с возможностями для работы в локальной сети.

Сервисы:

-        Доступ в интернет на высокой скорости;

-        HDTV - телевидение высокой четкости, потоковое видео;

-        IP-телевидение;

-        IP-телефония;

-        Видео по запросу (VoD);

-        Видео-конференция;

-        «он-лайн» развлекательные и образовательные программы

Приложения:

-        подключение к абонентам услуг ШПД в жилых комплексах, коттеджных поселках, а так же в многоквартирных домах;

-        монтаж корпоративных сетей в бизнес-центрах, крупных предприятиях с высоким требованием к безопасности и скорости передачи данных.

5. Оптимизация оптических сетей и их возможности

.1 Расчет бюджета

В рамках дипломного проекта, учитывая специфику задачи, используя метод оценки количества оборудования, необходимого для его реализации. Учет пассивного оборудования, необходимого для организации PON, активное оборудование OLT, волоконно-оптический кабель. Активные пользовательские терминалы, установленные в квартирах конечных пользователей, не рассматриваются, так как выбор конкретного устройства влечет за собой выбор конкретного набора услуг и полностью дожна быть оказана абоненту.

Таблица 4 - Спецификация оборудования

№ п/п

Наименование

Количество

Единица измерения

1

ШКОН-ПР-64 (Оптические кроссы)

3

шт.

2

PO-1x2 PLC (Сплиттеры)1 на 64

3

шт.

3

ШКОН-П-8 (Межэтажные шкафы)

75

шт.

4

Шкаф антивандальный

4

шт.

5

Кабель гибкий распределительный Fotech FO DST

1

км

6

Кабель Fotech FO-AMT-CT (магистральный)

2

км

7

ШОС-S7/3,0мм-SC/APC-SC/APC-40,0 (шнур от ОРК до ОNT)

1

км

8

Муфта МТОК-Б1/216-1КТ3645-К-44

3

шт.

9

Оборудование OLT Huawei MA5680T

1


Расчет капитальных затрат. Технико-экономические расчеты направлены на вычисление показателей, характеризующих экономическую эффективность проектных работ.

Величина капитальных вложений рассчитывается по формуле:

                                                                   (1)

где  - стоимость оборудования;

- стоимость строительных работ (10% от стоимости оборудования);

- транспортные расходы (10% от стоимости оборудования);

- затраты на проектно-изыскательные работы (2% от стоимости оборудования).

Стоимость оборудования, необходимого для развития сети, составляет 818,960 тыс. руб. Следовательно:

Км =81,896 тыс.руб

Кпр =81,896 тыс.руб

Кпр =163,792 тыс.руб

Рассчитаем итоговые капитальные затраты:

Кз = Каб + Км + Кпр + Кпр = 818,960 + 81,896 + 81, 896 + 163,792 = 1146,544 тыс.руб

Результаты расчетов занесены в таблицу 5.

Таблица 5 - Рассчеты капитальных затрат

Список затрат

Сумма, тыс. руб.

Сумма потраченная на оборудование

818,960

Сумма потраченная на монтаж и строительство

81,896

Расходы на транспортировку

81,896

Сумма-потраченная на проектно-изыскательные работы

163,792

Итого

1146,544

НДС, 18%

206,377

Всего

1352,921


Расчет годовых эксплуатационных расходов. В годовые эксплуатационные расходы входят фонд заработной платы, отчисления в фонды социального страхования и обеспечения, амортизационные отчисления, расходы на материалы и запасные детали, затраты на прочие производственные и административно-хозяйственные нужды и вычисляются по ниже предстваленой фомуле.

                                                                (2)

где  - фонд заработной платы;

 - отчисления в фонды социального страхования и обеспечения;

 - амортизационные отчисления;

 - расходы на материалы и запасные детали;

 - затраты на прочие производственные и административно-хозяйственные нужды.

Затраты на оплату труда. Обеспечение работоспособности сети и устранение неисправностей обеспечивается персоналом из трех человек: инженер с окладом 20000 рублей, электромонтер с окладом 16000 рублей и кабельщик-спайщик с окладом 15000 рублей. Фонд заработной платы рассчитывается по формуле

                                                                                 (3)

где  - оклад работника;

,25 - коэффициент, учитывающий ежегодную премию.

Тогда

 765000 тыс.руб

Отчисления в фонды социального страхования и обеспечения составляют 30% от годового фонда оплаты труда:

Фстр = 229500 тыс.руб

Расходы на запасные части и материалы составляют 1% от общей стоимости оборудования. M = 81,896 тыс. руб

Прочие расходы включают в себя:

- Расходы на страхование имущества - 2% от стоимости оборудования

Эстр = 163,792 тыс. руб

- Расходы на ремонт оборудования - 2% от стоимости оборудования

Эрем = 163,792 тыс.руб

- Прочие хозяйственно-административные затраты - 25% от фонда заработной платы

Эадм = 191,250 тыс.руб

В результате прочие годовые расходы составят

Пр = Эстр + Эрем + Эадм = 163,792 + 163,792 + 191,250 = 518,834 тыс.руб

Общие годовые эксплуатационные расходы составят

Э = Фгод + Фотч + М + Пр = 765,000 + 229,500 + 163,792 + 518,834 = 1907,407 тыс.руб

Эксплуатационные расходы по статьям затрат представлены в таблице 6.

Таблица 6 - Годовые эксплуатационные расходы

Затраты

тыс. руб.

Фонд З\П

765,000

Отчисления в фонды социального страхования и обеспечения

229,500

Расходы на материалы и запасные части

163,792

Прочие расходы

518,834

Всего

1907,407


Расчет доходов. Доходы подразделяются на годовые и разовые. В данном дипломном проекте разовые доходы рассчитываются из платы абонентов за первый месяц пользования услугами, а годовые - из абонентской платы за пользование услугам в течение всего года. Подключение абонентов осуществляется по акции за 1 рубль.

Разовые доходы определяются из расчёта единовременного подключения к сети 50% абонентов от их максимального проектируемого количества. В таблице 17 представлены возможные варианты услуг для физических лиц. Тариф на телефонию - 400 р/месяц. Услуги и тарифи редставлены в таблице 7.

Таблица 17 - Услуги и тарифы

Услуги

Тарифы

Кол-во абонентов

Интернет 35 мбит\с

450 рублей

50 человек (28 % процентов от общего числа)

Интернет 70 мбит\с

550 рублей

30 человек (17%)

Интернет 200 мбит\с

750 рублей

10 человек (6%)

Интерактивное телевидение(HDTV)

500 рублей

90 человек (50% от общего числа)

Телефония

400 рублей (безлимит)

40 человек (22%)


Разовые доходы, исходя из того, что количество абонентов - физических лиц - составляет 225 человек (доходы от платы абонентов за первый месяц пользования услугами) составят 107500 тыс. руб.

Годовые доходы считаются исходя из количества абонентов, пользующихся услугами и прироста количества абонентов в месяц (в расчёте от общего числа абонентов) и действующих тарифов. Прирост абонентов в месяц - 5%. В таблице 8 представлено количество подключенных абонентов по месяцам с учётом прироста.

Таблица 18 - Количество абонентов

Месяцы

1

2

3

4

5

6

7

8

9

10

11

12

Nаб+Nгос

90

95+5

100+5

105+5

110+6

116+6

122+6

128+7

135+7

142+7

149+8

157+8


Доходы за каждый месяц вычисляется:

Фn= Nаб*n*Kтарифn                                                                     (4)

аб - количество абонентов;- количество тарифов (количество вариантов предоставления услуг);

Ктарифn - коэффициент, определяющий количество абонентов, подключенных на данный тариф;

Таблица 19 - Расчёт годового дохода

Месяцы

1

2

3

4

5

6

7

8

9

10

11

12

Nаб+Nгос

90+5

95+5

100+5

105+5

110+6

116+6

122+6

1287

135+7

142+7

149+8

157+8

Доход, тыс. р.

107500

109750

112500

115000

119500

122200

125550

129050

132200

135700

141700

145200


Годовые доходы, исходя из произведённых расчётов, составляют 1495,850 тыс. руб. Определение срока окупаемости. Для определения срока окупаемости проекта воспользуемся формулой:

,                                                                  (6)

где  - разовые доходы;

 - годовые доходы;= 1 год 4 месяца

Срок окупаемости не превышает нормативного значения (5 лет), следовательно, данный проект является экономически выгодным. Необходимо отметить, что срок окупаемости 1 год 4 месяца достигается при условии, что с момента начала сдачи объекта все виды доходов начнут поступать немедленно.

6. Строительство ВОЛС

.1 Особенности сроительства ВОЛС

Ключевые этапы монтажа линий связи в электрических и ОК одинаковы. Данный фактор предоставляет возможность широко применять в процессе монтажа оптико-волокна известные способы и механизмы.

Различия в технологии строительства, монтажа и эксплуатации волоконно-оптических связи обусловлено со следующими особенностями оптического кабеля (ОК):

Малые поперечные размеры и вес в сочетании с большими длинами строительства;

Относительно большое число затухания оптических волокон;

Необходимостью больших затрат и времени на операции, а так же повышенные требования к квалификации персонала.

Принципиальным моментом является обеспечение того, при прокладке ОК находится в наименее напряженных условиях(изгибы, перегибы кабеля).

В целом, процесс укладки оптического кабеля состоит из двух этапов: подготовительного и первичного.

Подготовительный этап включает в себя длину входного контроля строительных длин. Входной контроль длины, подразумевается в осмотре кабеля и измерения его оптических характеристик. Барабаны с оптическим кабелем подвергают визуальному осмотру на предмет механических повреждений. После открытия, барабан проверяется на наличие заводских паспортов, соответствия маркировки строительной длины должны быть указаны в паспорте, а также внешнее состояния кабеля на отсутствие вмятин, порезов, перегибов, скручиваний и т.д.

При измерении оптических характеристик в основном определяется километрическое затухание оптического кабеля. В случае плохого результата проверки должен быть составлен акт по которому предъявляется жалоба.

6.2 Протяжка кабеля в канализации и здании

ВОК снаружи здания закладывается в большинстве случаях в телефонной канализации. Ее основой является круглая труба с внутренним диаметром 100 мм состоящая из асбестоцемента, бетона или пластика. Телефонная канализация прокладывается на глубине от 0,5 до 1,5 м из отдельных блоков герметически состыкованных вместе. Через 45-90 метров на трассе размещают смотровые люки, которые установливают так, чтобы на стенах можно было разместить консоли для укладки кабеля. Отличие прокладки в телефонной канализации электрического и ОК, состоит в том что тяговое усилие при прокладке оптического волокна не должно превышать допустимое значение, и важно не допустить скручивание кабеля.

Прокладка кабеля в телефонной канализации, как правило, выполняется в свободном канале, где при монтаже оставляется проволока для протяжки. При отсутствии протяжки проход каналов производится через устройства заготовки каналов, представляющий собой упругий стержень из стекловолокна диаметром 15 мм и длиной от 15-20 м, смотанный на барабане диаметром 1 метр. Стержень проталкивается в канал до примыкающего колодца. После, к концу стержня прикрепляют конец кабеля и вытаскивают его обратно. Для закрепления понадобится специальный наконечник, который крепится на кабеле за его силовой элемент или броню и обязательно оснащен вращающимся адаптером. Протяжка осуществляется без рывков и усилий.

Если есть на трассе резкие повороты и острые углы в колодцах используются специальные ролики для поворота. Если ролики отсутствуют кабель вытягивается из колодца петлей, а после протяжка происходит как в начальной точке трассы. Для экономии времени монтажа, очень часто, кабель перетаскивают из рук в руки прямо в колодце, направляя в трубу канализации. Схема прокладки в Приложении 1.

Прокладка оптического кабеля в здании, как правило, не большая трудность, как из-за малой длины пути, а также из-за своей гибкой конструкции, используемого для этого внутриобъектового кабеля. При прокладке в трубной разводке, под фальшполом, кабеля первым делом сматывают с барабана и выкладывают восьмеркой или петелей в начальное пункте трассы, а потом постепенно затягивают кабельный канал. Протяжка 5-10 м в обычно используется для экономии времени и простоты монтажа.

При прокладке кабеля на открытых лестницах или коридорах большой длинны наиболее удобно будет расложить кабель на полу вдоль трассы, а затем поднять его к желобу с поддержкой пластиковыми хомутами примерно каждые 3-4 метра. В нежилых чердаках и в технических этажах здания (если они есть) очень удобно кабель повесить со стандартными металлическими подвесами в предварительно натянутый тросс. Это, как правило, не требует сложного расчета нагрузок. Тот же метод может быть рекомендован и при прокладке кабеля в подвалах и зданиях без существующих кабельных каналов. Магистральный участок. Магистральный 48-волоконно-оптический кабель прокладывается от АТС к существующим зданиям по кабельной канализации. После оптической муфты до подвала здания заводится требуемое количество оптических кабельных волокон.

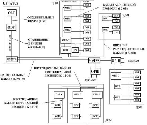
Распределительный участок. Шкаф антивандальный - ОШ укомплектованный кроссами серии SHKOS-C установлены на чердаках домов. 12-тиволоконный ОК марки Н- Пейс используется в многоэтажных зданиях (4 этажа или более) от ОШ с чердачных помещений здания до этажных стояков в существующей трубе д = 40 мм. Вертикальная кабельная разводка также осуществляется на стояках на трубах с наименьшей нагрузкой. На каждом этаже расположена ОРК (оптическая распределительная коробка). Абонентский участок. В помещении абонента подключается абонентский оптический терминал Huawei HG8245.

От ОРК на этаже прокладывается кабель ШОС-S7/3,0мм-SC/APC-SC/APC-40,0 до Huawei HG8245.

7. Измерения в процессе строительства ВОЛП

.1 Измерения PON

Важная часть любой волоконно-оптической сети - предоставлять непрерывную, высокоскоростную передачу с требуемым уровнем обслуживания данных. Для выполнения данных условий нужно производить измерения основных характеристик волоконно-оптических линий передач не только на этапах эксплуатации и устранения неисправностей, но и на этапе монтажа сети.

Проведение тщательного тестирования в процессе создания сети поможет свести к минимуму дорогостоящие и трудоемкие затраты отнимающие много усилий и времени для устранения неполадок, таких как проблемные соединения, загрязненние или поврежденние коннекторов или других деталей, прежде чем они приведут к разрыву связи.

Одной из главных потребностей, которую необходимо учесть, для чтобы гарантировать оптимальное функционирование сети - это контроль потерь оптической мощности. Другой важной потребностью является максимально возможное снижение значения обратных отражений (ORL). Это очень важно при передаче больших аналоговых видеосигналов, вырабатываемых с помощью узкополосного лазера. Обратные отражения приводят к деградации таких сигналов, что в конечном итоге отрицательно сказывается на качестве передачи видео. Принимая во внимание эти особенности и необходимые измерения для предотвращения их негативного воздействия считается еще более важной задачей, когда сеть использует старые кабели. Такие волокна, особенно при работе на длине волны 1550 нм, могут выдать более высокое затухание, чем ожидалось при проектировке.

Подводя итог вышесказанному, можно выделить два основных направления выполнения измерений ВОЛП при строительстве и вводе в эксплуатацию пассивных оптических сетей:

- Двунаправленное измерение оптических потерь (ORL)

-        Двунаправленное измерение оптических потерь между двумя конечными точками.

7.2 Измеритель мощности

Измеритель мощности для пассивных оптических сетей должен иметь функцию разделения длины волн и измерения неравномерного, скачкообразного неравномерного трафика. Измеритель мощности FPM-600 предоставялет возможность проводить тестирование пассивных оптических сетей на трех длинах волн (1310, 1490 и 1550 нм), в соответствии с рек. МСЭ-Т G.983.3 FPM-600 - высокоточный измеритель мощности имеет большой динамический диапазон и дает измерять уровни мощности до 26 дБм. FPM-600 откалиброван на 40 длинн волн и способен измерять мощность в любой заданной длине волны, калиброванный по интерполяции между точками. Поэтому, FPM-600 может быть использован для тестирования CWDM сетей и DWDM. Устройство также оснащено функцией измерения минимального и максимального уровня мощности, что позволяет определить конечные значения мощности излучения. Особенности устройства:

-     перезарежаемый аккумулятор;

-        кнопки и экран устройства имеют подсветку для использования в темноте;

-        обнаружения тоновых сигналов 270 Гц, 1 кГц и 2 кГц;

-        записи максимальных значений, автоматической длины волны и совместимость с устройствами 300-й, 600-й серии и FOT-930;

-        Имеет USB порт для подключения к ПК, а так же память на 1000 измерений;

-        Размеры: 19,0 х 10,0 х 6,2 см;

-        Вес: 0,48 кг;

8. ТЕСТИРОВАНИЕ PON ПРИ ВВОДЕ В ЭКСПЛУАТАЦИЮ

В идеале, мы должны провести тестирование пассивных оптических сетей после монтажа каждого сегмента. Например, после каждой прокладки оптических кабельных секций, должны быть сделаны между конечными точками рефлектометрический анализ и измерение ORL. После монтажа, сплиттера - измерение питающего волокна между патч паньлью станционного терминала (OLT) и выходными портами сплиттера. После установки конечных терминалов делаются измерения между каждым портом терминала и распределительной коммутационной панелью волокна. Такой же тест можно сделать между OLT (патч-панелью) и портом ONT теринала. Тогда вся оптическая линия будет протестрирована

При первой активации сети или установки новых абонентских оптических терминало (ONT) нужно будет выполнить следующие измерения:

Станционный оптический терминал (OLT). Оптические измерение мощности центрального узла станционного оптического терминала (OLT) нужно, для того чтобы гарантировать, что на абонентский оптический терминал(ONT), поступает достаточный уровень мощности. Это измерение требуется при первой активации, после этого данное измерение невозможно сделать без прерывания связи в целой сети. Чтобы выполнить данное измерение, оптическая мощность измеряется на выходе мультиплексора (соединяющего сигнал от станционного терминала и видеосигнал). Для этого можно использовать два решения:

Фильтрация. Измеритель мощности может измерять только общую оптическую мощность. Чтобы измерить мощности каждой длины волны по отдельности применяют оптические фильтры, одно измерение, одна длина волны.

Измерение с помощью измерителя мощности пассивных оптических сетей. Делящий длины волн измеритель пассивных оптических сетей, проводит измерения мощности для каждой волны одновременно. Чтобы оценить критерии Pass / Fail / Warning, вы можете установить пороговые значения для каждой длины волны.

После подключения основного волокна производят точно такие же измерения на коммутационной панели, а мощность измеряют на каждом выходе сплиттера.

Абонентские узлы ONT. После каждого раза, когда вы добавляете новый оптический терминал к сети нужно произвести измерения оптической мощности на входе и выходе. Точно так же как и с OLT можно использовать два подхода: измерения с помощью измерителя и фильтрацию. Тем не менее, из-за того, что фильтрация не предоставляет измерение обратного потока, в нашем случае является использование измерителя мощногости PON более предпочтительным.

Измеритель мощности подключается как непосредственно через устройство в линию между ONT и сплиттером. Этот прибор обеспечивает измерение мощности прямого потока на длине волны 1550 и 1490 нм и измерение обратного потока на длине 1310 нм. Разница между обычным измеретелем мощности, который может измерять среднюю мощность сигнала, с измерителем пассивных оптических сетей (PON), в том, что данное устройство позволяет измерять прерывистый / пульсирующий сигнал, и дает получить фактическое значение мощности.

Нужно значть, что сигнал передаваемый на длине 1310 нм в обратном направлении от абонентского оптического терминала, имеет прерывистый характер, а не непрерывный. Из-за этого уровень сигнала от оптического абонентского терминала должен быть измерен с помощью специального устройства.

Поиск и устранение неисправностей в PON. Устранение неполадок PON сети включает в себя: идентификацию источника и обнаружение неполадок и в оптической сети.

Большинство составляющих пассивных оптических сетей являются не активными (пассивными), огромное количество сетевых проблем, вызванны в связи с загрязнененим, поврежденем или не качественным соединением разъемов, а так же большим количеством изгибов ВОК. Очень важно место возникновения проблемы, они оказывают влияние не некоторые или все ONT в сети.

Например, если произошел обрыв в кабеле между станционным терминалом и первым сплиттером, проблему не сложно найти - все абонентские терминалы сети выходят из строя. Если есть дефект (макроизгибов или загрязнен разъем и т.д.) на участке разветвленной оптической сети неисправность выявится у терминалов, расположенных за неисправным участком. В этом случае, чтобы выявить проблему - очень не простая задача. Но и она может быть частично решена за счет ОNT.

Тем не менее, выявление неисправных участков при помощи "проблемных» оптических терминалов не сможет дать полное представление проблемы и более того, чтобы найти его источник. ONT только может показать на неисправность, но найти ее центр может только - измерители мощности пассивной оптической сети, измеряющие все сегменты проблемной области, дадут полное представление о распределении мощности по участкам PON.

9. Методические указания по работе с PON

Для проектирования трассы прокладки оптико-волоконной линии и осуществить правильный подбор кабеля, нужно учесть условия эксплуатации, технические характеристики кабеля.

Важные характеристики оптического кабеля:

Сдавливание оптического кабеля, позволяет определить силу, с которой можно сдавить оптико-волоконный кабель в поперечном направлении, есть одно условие, затухание в волокне будет в пределах нормы.

Так же изгиб ОК не мало важный фактор, который определяет допустимый радиус кривизны прокладки кабеля. Фактор изгиба стоит учитывать когда прокладка ОК идет, в трубах и канализации. Часто минимальный допустимый радиус изгиба, находится в рамках 15-20 диаметров от внешней оболочки ОК. Безответственный подход к данному фактору, может привести к нарушению целостности световодов в оптическом кабеле.

Скручивание - способность оболочки ОК, гарантировать безопасность ОВ при скручивании вокруг своей оси. Если кабель имеет броню из металла, разрешенный угол скручивания, меньше, чем у ОК без брони.

Безопасность попадания влаги, немало важный фактор для ОВ, особеено это касается прокладки кабеля на улице, или в плохих погодных условиях.

Особенности кабелей внутридомовой прокладки и внешней.

Самой главной особенностью внутридомового ОК, является огнеустойчивость. Оптический кабель не должен содержать в оболочке, то что может вызвать горение, задымление, и выделять токсичные примеси. Нужно заметить - это относится не только к внешней, но и к внутреннему строению кабеля.

Внешний оптический кабель сейчас имеет множество модификации, это можно объяснить различными условиями эксплуатации и способами установки оптического кабеля. Внешние кабели можно разбить на две конфигурации : которые прокладывают в грунт, и для использования в канализациях. Так же есть оптические кабеля, которые подходят для «воздушной» прокладки между столбами ЛЭП и.т.д. Воздушка должна иметь маленький вес, но должна иметь хорошую безопасность от воздействий внешних факторов. (Кабель не должен терять своих функций при перепадах температур).

Для кабелей прокладывающихся в канализацию, опасностью могут стать грызуны, спасение здесь заключается в броне, она может быть и не металической, иногда достаточно плотного слоя стекловолоконных нитей.

Заключение

В данной дипломной работе рассмотрены вопросы, связанные с построением сети PON в г. Вологде с использованием оборудования фирм Huawei и «Связьстройдеталь». Проект выполнен в соответствии с техническим заданием на дипломное проектирование.

В дипломном проекте был рассчитан участок сети PON для города Вологды. Была выбрана и описана подходящая топология сети, рассчитана магистральная сеть и распределительная сеть. В результате, благодаря с использованием оптического волокна, появилась возмоность предоставление абонентам новых пакетов услуг, таких как, IP-телефония и цифровое телевидение по одному оптоволоконному кабелю.

При расчёте экономической части проекта было выявлено, что при существующих тарифах срок окупаемости сети составит 1 год 4 месяца, что свидетельствует о высокой экономической привлекательности проекта.

СПИСОК ИСПОЛЬЗОВАННЫХ ИСТОЧНИКОВ

1.       Бройдо, В. Л. Вычислительные системы, сети и телекоммуникации: учебное пособие для вузов/ В. Л.- Бройдо. - Издание 2-е, исправленное и дополненное. - Санкт-Петербург: Питер, 2006. - 703 с.

.        Гончаров М. В. Введение в Интернет: учебное пособие/ М. В. Гончаров, Я. Л. Шрайберг. - Москва: Государственная публичная научно-ехническая библиотека России, 2001. - 49 с.

3.   Олифер В. Г. Компьютерные сети: Принципы, технологии, протоколы: учебное пособие для вузов / В. Г. Олифер, Н. А. Олифер. - Издание 3-е, исправленное и дополненное. - Санкт-Петербург: Питер, 2006. - 864 с.

4.       Пескова С. А. Сети и телекоммуникации : учебное пособие для вузов / С. А. Пескова, А. В. Кузин, А. Н. Волков. - Издание 2-е, исправленное и дополненное. - Москва: Академия, 2007. - 352 с.

Приложение 1

Схема прокладки магистрали от АТС к зданию



Приложение 2

Схема прокладки кабеля к зданию



Приложение 3

Схема прокладки кабеля в здании

Похожие работы на - Проектирование пассивной оптической сети (PON) в микрорайоне г. Вологды

 

Не нашли материал для своей работы?
Поможем написать уникальную работу
Без плагиата!
Без нейросетей!