Разработка системы охранной сигнализации для торгово-развлекательного комплекса

  • Вид работы:
    Дипломная (ВКР)
  • Предмет:
    Информатика, ВТ, телекоммуникации
  • Язык:
    Русский
    ,
    Формат файла:
    MS Word
    1,64 Мб
  • Опубликовано:
    2016-11-05
Вы можете узнать стоимость помощи в написании студенческой работы.
Помощь в написании работы, которую точно примут!

Разработка системы охранной сигнализации для торгово-развлекательного комплекса

Содержание

Введение

. Обзор существующих современных систем охранной сигнализации в условиях функционирования торгово-развлекательных комплексов (ТРК)

.1 Интегрированные системы охраны (ИСО)

1.2 Выбор извещателей для системы охраны

1.3 Магнитоконтактные (контактные) извещатели

.4 Ударно-контактные извещатели

.5 Пьезоэлектрические извещатели

.6 Звуковые извещатели

.7 Ультразвуковые извещатели

.8 Активные и пассивные оптико-электронные извещатели

.9 Объемный оптико-электронный извещатель «Фотон СК-2»

1.10 Извещатель охранный поверхностный оптико-электронный «Фотон-Ш»

1.11 Поверхностный звуковой извещатель «Стекло-3»

. Разработка системы охранной сигнализации ТРК

.1 Общие сведения об объекте.

.2 Системы охранной и охранно-тревожной сигнализации

.3 Комплексный подход к системам безопасности в торгово-развлекательном комплексе

.4 Назначение, принцип действия и область применения

систем передачи извещений

.5 Автоматизированная система передачи извещений

(АСПИ) «Комета-К»

.6 Оптимальное расположение извещателей.

.7 Расчеты в системе подключения извещателей

. Экономический расчет затрат на изготовление системы охранной сигнализации

.1 Основные понятия и определения

.2 Локальная смета

Заключение

Библиографический список

Введение

Заведения, носящие развлекательную или досуговую направленность (к которым можно отнести и отдельные предприятия питания), являются объектами массового посещения, а значит и повышенной опасности для граждан проводящих в них время. Угрозы для посетителей могут быть самые разные - от банального хулиганства, причинения мелкого вреда здоровью, порчи или хищения имущества, до чрезвычайных ситуаций (пожаров, разбойных нападений, терактов, диверсий, захвата заложников и т.д.). Крупные молодежные центры и дискотеки, кроме того, подвержены высокому риску возникновения паники и массовых беспорядков между различными социальными и культурными слоями общества, фанатами, агрессивными группами молодежи, разгоряченными алкоголем, а то и наркотиками.

Культурно-развлекательные заведения как магнит притягивают различного рода криминал - от мелких карманных воришек, до серьезных бандитских формирований. Кто-то хочет «наложить лапу» на лакомый бизнес, кто-то поживиться на невнимательности посетителей, а кто-то повлиять на общественное мнение. Даже мелкие происшествия в культурно-развлекательных заведениях очень опасны, так как могут привести к возникновению панических настроений, давке, травмам и иным катастрофическим последствиям, а особенности планировки и функционирования развлекательных объектов зачастую не позволяют произвести экстренную эвакуацию. Стоит также учитывать, что бар, ресторан, ночной клуб - это публичное место, где любое происшествие быстро становится общеизвестным, и может иметь серьезные последствия - от гарантированного общественного резонанса, до создания негативной репутации заведения на долгие годы.

Объекты массового посещения особо нуждаются в обеспечении надежной безопасности и охраны на высоком качественном уровне, поэтому для организации службы безопасности лучше всего привлечь профессионалов из Частных охранных предприятий (ЧОП). На рынке безопасности охрана подобных объектов относится к разряду сложных и проблемных, из-за многочисленных инцидентов и высокой степени ответственности перед Заказчиком и обществом. Четкая организация службы охраны требует от каждого сотрудника постоянного нервного напряжения, внимательности, бдительности, готовности в любую минуту защитить объект и имущество, персонал и посетителей от неадекватного поведения и противоправных действий хулиганов и злоумышленников.

Не секрет, что многие посетители, уже по внешнему виду и манерам охранников судят о престиже заведения. Внушительная профессиональная охрана на входе может не только предостеречь потенциальных нарушителей и преступников от противоправных действий, но и внушить посетителям уверенность в собственной безопасности, что в конечном итоге влияет на посещаемость заведения и его рейтинг. Поэтому к охранникам развлекательных центров и ресторанов предъявляются повышенные требования. Сегодня там требуются уже не обычные «вышибалы», а уверенные в себе дипломаты, способные предвидеть и урегулировать конфликтные ситуации, грамотно локализовать угрозы, вывести хулиганов за территорию, избежать суматохи и паники при возникновении ЧС. Охранник должен быть не только строго и официально одет, физически и морально подготовлен, он должен быть адекватным и интеллектуально развитым человеком, в меру строгим и сдержанным в эмоциях, вежливым и тактичным с окружающими. Все эти требования учитываются частными охранными предприятиями при подборе кадров и подготовке охранников для работы в ночных клубах, барах и ресторанах.

Чтобы уменьшить количество конфликтных ситуаций, целесообразно заблаговременно уберечься от нежелательных элементов еще на входе. Профессиональный охранник должен без труда вычислять "проблемных" клиентов, представляющих опасность для заведения. Основную массу неприятных ситуаций на объектах создают:

. Агрессивная и «развязная» публика, а также лица в сильном алкогольном опьянении, вообще не должны допускаться в заведение, а если они уже находятся внутри, то следует установить за ними повышенный контроль, и при малейшем отклонении от нормы, незамедлительно выводить из зала под любым предлогом.

. Воры и мошенники редко отличаются по внешнему виду и манерам поведения от обычных людей. Выявление данных лиц возможно только при внимательном наблюдении за обстановкой в зале, и в зоне гардероба. Подозрение должны вызывать гости, пытающиеся остаться не замеченными, ведущие себя нервно, навязчивые, провоцирующие на спор или азартную игру.

. Лица, отказывающиеся оплачивать счет, встречаются часто - кто-то случайно не рассчитал свои финансовые возможности, а кто-то посещает ресторан за рестораном, в надежде улизнуть не заплатив. Таких лиц нужно брать под особый контроль и дать им шанс все-таки оплатить счет: попросить привести деньги знакомых или съездить за наличностью одному из компании, оставить ценный залог и т.д. Если гости отказываются решать проблему - вызывается наряд полиции.

. Деклассированные элементы, бомжи, попрошайки, лица с психическими отклонениями - таких лиц легко распознать по характерным признакам.

. Продавцы цветов, сувениров, открыток или лица, предлагающие мелкие услуги. Такая публика крайне отрицательно влияет на обстановку в зале. Навязывая свой товар и услуги, они вызывают общее раздражение гостей, и понижают престиж заведения.

. Наркоманы и продавцы наркотиков притягивают к себе весь спектр криминала и опасны своим неадекватным поведением. Таких лиц необходимо выявлять как на входе, так и в помещениях заведения (курительная комната, туалет, танцпол и др.), и незамедлительно выдворять за охраняемую территорию.

Фейс-контроль и осмотр вносимого имущества и предметов - важнейшие и обязательные процедуры для развлекательных и досуговых заведений. Чем меньше потенциальных правонарушителей (граждан в алкогольном опьянении, не соответствующих дресс-коду, агрессивных и подозрительных личностей) и запрещенных для проноса предметов (холодного и огнестрельного оружия, алкоголя, наркотиков, огнеопасных и взрывчатых веществ) попадет внутрь заведения, тем спокойней и веселей пройдет вечер. Главное в этом деле не «перегнуть палку», и не забыть, что каждый посетитель - это прежде всего КЛИЕНТ заведения, и отношение к нему должно быть максимально корректным и уважительным, ибо от того, как его встретят на входе, зависит и настроение, с которым он проведет время, и желание посетить заведение еще раз.

Чтобы обеспечить надежную охрану объекта обычно используется комплекс следующих мер: профессиональная физическая охрана, набор технических средств безопасности и организационные решения. Применение отдельных локальных мер бывает не достаточно для организации эффективной охраны объекта.

Прежде чем выбрать оптимальный набор способов и средств охраны для конкретного объекта, специалисты ЧОП предварительно проводят его тщательное обследование на предмет выявления возможных внутренних и внешних угроз, наличия уязвимых мест, оценки защищенности, укрепленности, оснащенности и т.д. На основании проведенного анализа разрабатывается индивидуальная Концепция безопасности предприятия, которая помимо вышеперечисленных факторов учитывает: месторасположение и конструктивно-архитектурные особенности объекта; график работы; класс и политику заведения; среднестатистическое число посетителей; функциональные обязанности охранников; наличие технических средств безопасности; криминогенную обстановку в районе и др.

Для технической защиты объектов обычно используют следующее оборудование:

охранная и пожарная сигнализация,

система автоматизированного пожаротушения,

система видеонаблюдения,

средства контроля доступа,

«тревожная кнопка»,

средства связи,

система оповещения,

проходные рамки,

детекторы и металлоискатели и др.

Все технические средства безопасности могут быть интегрированы в единый охранный комплекс, что позволяет не только облегчить общий контроль, но и создать алгоритм работы системы при возникновении той или иной чрезвычайной ситуации.

Настоящая ВКР посвящена охранной сигнализации в торгово-развлекательном комплексе и затрагивает жизненно важные вопросы обеспечения безопасности людей, их надежного отдыха, безопасности помещения и материальных ценностей, а поэтому весьма актуальна. Она может стать полезным пособием как для частных охранных фирм, так и для руководителей торговых и развлекательных центрах, организующих эффективную систему охраны в своих заведениях.

Целью дипломного проекта является разработка интегрированной системы сигнализации на базе использования оптико-электронных и звуковых извещателей применительно к условиям торгово-развлекательного комплекса.

Задачами проекта являются:

обзор существующих современных систем охранной сигнализациих элементов (извещателей, преобразователей, оповещателей), выбор элементов и наиболее эффективной системы охраны;

анализ характеристик объекта - торгово-развлекательного комплекса, анализ существующих угроз и степени защиты от них;

разработка системы охранной сигнализации для эффективной защиты объекта;

расчеты в системе подключения извещателей;

расчет экономической эффективности от внедрения системы охранной сигнализации;

Предметом разработки является средства и методы охранной сигнализации для эффективной охраны объекта;

Объектом разработки является торгово-развлекательный комплекс «Ключевой» в муниципальном районе Братеево, предназначенный для досугового полноценного отдыха всей семьей и приятного времяпровождения.

1. Обзор существующих современных систем охранной сигнализации в условиях функционирования торгово-развлекательных комплексов (ТРК).

охранный сигнализация извещатель

Большое скопление людей, постоянное присутствие товаров вблизи покупателей, перемещение наличных денежных средств, вероятность круглосуточной работы, - все эти особенности диктуют особые требования к системам безопасности. Необходимо обеспечить не только безопасность посетителей и персонала, но и надежный контроль за материальными ресурсами. Еще пять лет назад владельцы магазинов ограничивались расстановкой нескольких охранников в зале и двумя-тремя камерами наблюдения. Сейчас они склоняются к использованию комплексных систем безопасности.

Для каждого объекта торговли, будь то супермаркет, ювелирный магазин или торгово-развлекательный комплекс, систему безопасности проектируют индивидуально. Этот подход основан на оценке потенциальных угроз, технической оснащенности объекта, критериях экономической целесообразности, наличия подготовленного персонала службы охраны и т. д. Например, в ювелирных магазинах, по сравнению с супермаркетами, большее значение имеет ограничение доступа к ценностям и их охрана. В торгово-развлекательных комплексах важнее видеоконтроль над действиями посетителей. В зависимости от специфики работы торгового объекта используют различные системы безопасности.

1.1 Интегрированные системы охраны (ИСО)

Система сигнализации выполнена в виде интегрированной системы. Большинство ИСО строятся по принципу двухуровневого интегрирования.

Первый уровень - системный. Центральный процессор объединяет все подсистемы ИСО и обеспечивает их взаимодействие. Каждая из подсистем автоматически выполняет действия при поступлении определенного сигнала от другой подсистемы.

Второй уровень - модульный. Контроллеры «местного» значения управляют небольшой группой извещателей, телевизионных камер, считывателей, исполнительных устройств и т.п.

Такое построение ИСО имеет ряд преимуществ. Благодаря гибкой архитектуре система легко конструируется из определенного набора модулей и блоков для любых объектов. В процессе эксплуатации достаточно расширять и совершенствовать функции системы подключением различных регистрирующих и исполнительных устройств.

ИСО строятся на базе компьютерных технологий и структурно могут быть разделены на следующие составные части:

устройства приема, передачи и обработки сигналов, позволяющие получать максимально полную информацию и воссоздавать на центральном пульте охраны всестороннюю и объективную характеристику состояния помещений и территории объекта, работоспособности аппаратуры и оборудования;

исполнительные устройства, способные при необходимости действовать автоматически или по команде оператора;

пункт (или пункты) контроля и управления системой отображения информации, посредством которых операторы могут следить за работой всей ИСО;

центральный процессор, наглядно представляющий и накапливающий информацию для ее последующей обработки;

коммуникации, с помощью которых осуществляется обмен информацией между элементами ИСО и операторами.

Такая структура ИСО обеспечивает им следующие функциональные возможности: контроль за большим количеством помещений и территорий с организацией нескольких рубежей охраны; многоуровневый доступ сотрудников и посетителей с четким разграничением полномочий по праву доступа в определенные охраняемые зоны по времени суток и дням недели; идентификацию объекта, пересекающего определенный рубеж; распознавание нарушителя, позволяющее персоналу охраны принимать наиболее рациональные меры противодействия; взаимодействие постов охраны и органов правопорядка в процессе работы по охране и в случаях локализации происшествий; накопление документальных материалов для использования их при расследовании и анализе происшествий.

Возможность гибкого программирования ИСО и отдельных подсистем позволяет активно противодействовать таким несанкционированным действиям, как прерывание каналов передачи тревожной информации, частичная нейтрализация системы лицами, имеющими доступ к отдельным ее элементам и подсистемам, уничтожение информации о происшествии, нарушение персоналом охраны установленного порядка несения службы и т.п.

1.2 Выбор извещателей для системы охраны

Выбор варианта охраны любого объекта следует начинать с его обследования. Определив общую характеристику объекта, следует проанализировать основные уязвимые места по периметру объекта, блокировка которого, как правило, представляет собой первый рубеж охраны.

Наиболее уязвимыми местами являются окна, двери, люки, вентиляционные шахты и т. п. Особое внимание следует уделять блокировке остекленных конструкций, поскольку площади остекления объектов довольно значительные, стекло легко разрушается и, следовательно, создается возможность для относительно легкого несанкционированного доступа в охраняемые помещения. Очень важна блокировка путей проникновения на охраняемые объекты из примыкающих к ним бесхозных строений, а в частные дома и квартиры граждан - через потолки, подвалы, балконы и лоджии соседних квартир. Необходимо блокировать некапитальные стены и перегородки, не просматриваемые снаружи капитальные стены, участки пола и потолка, устанавливать извещатели-ловушки на внутренних дверях объектов. Для этого при создании первого рубежа охраны используются контактные извещатели «Фольга», «Провод», магнитоконтактные СМК-1, СМК-3, ИО-102-2, ИО-102-4, ИО-102-5, ИО-102-6 и ударно-контактные типа «Окно-4», «Окно-5», «Окно-6», звуковые извещатели «Стекло-2», «Стекло-3», вибрационные «Шорох-1-1», активные оптико-электронные «Вектор-2», «Вектор-3», «Рубеж-ЗМ», одно- и много-шлейфные приемно-контрольные приборы. К одному ППК можно подключить примерно 80 простейших извещателей (СМК) и 50 пожарных извещателей (ИП-104).

Для блокировки тонкостенных перегородок рекомендуется использовать пьезоэлектрические извещатели «Грань-1», «Грань-2» или вибрационные извещатели «Шорох-1».

Для второго рубежа охраны выбор аппаратуры определяется характером и размещением материальных ценностей в помещениях объекта. Вторые рубежи охраны защищают внутренние объемы и площади помещений. В этом случае применяют извещатели объемные ультразвуковые «Эхо-2», «Эхо-3», радиоволновые «Аргус-2», «Аргус-3», «Волна-5», инфракрасные пассивные типа «Фотон», комбинированные «Сокол-2», DT 4хх1Т. Тип применяемого извещателя зависит от конкретных условий на каждом объекте: площади помещений, сосредоточения (рассредоточения) материальных ценностей, помеховой обстановки, условий окружающей среды и т. п.

Третий рубеж охраны формируется для защиты непосредственных мест хранения материальных ценностей (сейфы, металлические шкафы, ящики, витрины, сами материальные ценности, например экспонаты выставок, музеев и т.п.) и подходов к ним. Для блокировки металлических сейфов и шкафов могут быть использованы емкостные извещатели «Пик», «Градиент»; для блокировки отдельных предметов - магнитоконтактные извещатели СМК, пьезоэлектрические «Гюрза-050», а для блокировки подходов к местам непосредственного расположения материальных ценностей - извещатели линейные оптико-электронные «Вектор-2», «Вектор-3».

Извещатели, используемые на втором и третьем рубежах охраны, являются восстанавливаемыми (без запоминания тревоги), т. е. при исчезновении причины выдачи извещения о тревоге эти приборы вновь переходят в режим охраны. Подключение таких извещателей к ПЦН возможно через ППК или непосредственно к пультовым номерам по физической линии. Однако использование ППК без резервного источника электропитания и без аппаратуры уплотнения «Атлас-3» на одном рубеже с извещателями, имеющими резервное электропитание, нецелесообразно. При отключении основного электропитания рубеж охраны отключен. При выводе же извещателя второго или третьего рубежа с резервным питанием на пульт непосредственно через оконечное устройство СПИ рубеж остается под охраной и после отключения основного электропитания.

Структурное построение сигнализации и порядок подключения приборов и извещателей всех рубежей охраны к пульту зависят от телефонизации объекта. При наличии двух телефонных аппаратов приборы второго и третьего рубежей (с резервным электропитанием) подключаются по отдельным физическим линиям первого и второго телефонных аппаратов, а ППК первого рубежа - через аппаратуру уплотнения «Атлас-3» по одной из них. По второй линии можно вывести на пульт пожарную сигнализацию. При наличии только одного телефонного аппарата извещатели второго и третьего рубежей включаются последовательно в один шлейф и выводятся на пульт через оконечное устройство СПИ по физической линии, а ППК первого рубежа выводятся через аппаратуру уплотнения «Атлас-3». Блокировка такого объекта считается выполненной на двух рубежах охраны. При использовании приборов типа «Атлас-6» появляется возможность организации двух дополнительных рубежей по занятой абонентской телефонной линии.

На особо важных объектах устанавливаются дополнительные извещатели в качестве ловушек. Ловушками целесообразно оборудовать локальные участки и пути, ведущие непосредственно к местам хранения материальных ценностей, а также пути проникновения нарушителей на объекты из примыкающих бесхозных строений и помещений. Для этого устанавливают извещатели типа «Фотон» или «Вектор» в проходах торговых залов, производственных, складских, подсобных помещений, емкостные извещатели с антеннами, вмонтированные в изолирующие коврики, блокирующие подходы к сейфам и стеллажам, магнитоконтактные извещатели СМК, блокирующие внутренние двери объектов.

Системы периметральной сигнализации блокируют внешние ограждения территорий охраняемых объектов. Охрана внешних ограждений должна усиливаться на объектах, где сосредоточены значительные материальные ценности, взрывчатые вещества, оружие, наркотики и т.п.

Организовывать систему охраны периметра целесообразно при общей площади охраняемой территории не менее 10 000 м2. Периметр делят на участки длиной не более 200 м, что определяется технической характеристикой аппаратуры и позволяет быстро определить участок периметра, на котором произошло нарушение, и принять соответствующие меры. Сплошные железобетонные и кирпичные ограждения оборудуются сигнальными ограждениями «Козырек» с использованием однолучевых периметральных оптико-электронных извещателей «Рубеж-ЗМ». Деревянные заборы и ограждения из металлической сетки блокируются многолучевыми оптико-электронными периметральными извещате-лями «Рубеж-1М», «Рубеж-ЗМ». Для создания сплошной зоны обнаружения вдоль ограждения или над ним используют радиоволновые периметральные извещатели «Радий-1», «Радий-2». Ценности и грузы на открытых площадках следует блокировать радиоволновыми извещателями «Фон-1М», «Шторм-2».

Для дополнительного визуального контроля и повышения надежности и оперативности службы охраны по выявлению места и характера нарушения рекомендуется применять телевизионные охранные системы. Телевизионные камеры устанавливают вдоль периметра жестко или на поворотных устройствах. Возможна обработка сигналов от телевизионных камер с помощью обнаружителей движения. При этом периметр объекта должен оборудоваться охранным освещением (видимого или инфракрасного диапазона) с дистанционным управлением ручного (по желанию оператора) и автоматического (по сигналу тревоги) включения.

Для оперативного оповещения о нарушении на участках периметра, а также для настройки и регулировки периметральных систем сигнализации рекомендуется прокладывать линии громкоговорящей или телефонной связи с каждым участком блокировки.

На особо важных объектах устанавливают тревожную сигнализацию, предназначенную для передачи сигналов тревоги на пульты местной или централизованной охраны в случае разбойного нападения на объект. Тревожной сигнализацией оборудуются рабочие места сотрудников, производящих операции с клиентами, в учреждениях банков, головных кассах крупных торговых предприятий, почтовых отделений и узлов связи, специализированных объектов торговли ювелирными изделиями, в хранилищах ценностей, кабинетах управляющих и главных бухгалтеров банков, комнатах инкассаторов и хранения оружия, у дверей и проемов транспортировки денег, на постах охраны. В качестве средств тревожной сигнализации используют кнопки (в том числе радиокнопки), педали, магнитоконтактные или оптико-электронные извещатели.

Для контроля доступа рабочих и служащих на охраняемый объект используются средства и системы контроля и управления доступом: считыватели, обнаружители металла, турникеты, шлюзы и т.п., которые устанавливают на контрольно-пропускных пунктах.

Все технические средства сигнализации по области применения подразделяются на охранные, пожарные, охранно-пожарные и тревожные. В зависимости от типа объекта системы сигнализации могут быть раздельными - охранными или пожарными, а также совмещенными - охранно-пожарными. При этом системами охранно-пожарной сигнализации считаются устройства, в которых используются пожарные извещатели, включаемые с охранными в общие или самостоятельные шлейфы сигнализации, которые подключены к общим или самостоятельным ППК с выводом сигналов тревоги на ПЦО или местные звуковые или световые оповещатели.

.3 Магнитоконтактные (контактные) извещатели

Путевые конечные выключатели предназначены для блокировки распашных, раздвижных, подъемных ворот, люков на открывание. Используют выключатели путевые конечные и аналогичные им; предпочтительнее выключатели серий ВК-200, ВК-300 и ВПК-4000. Температурный диапазон (от -40 до +40° С) позволяет эксплуатировать их во всех климатических зонах.

Выключатели крепятся на кронштейнах, направляющих, позволяющих проводить регулировку положения, на неподвижных элементах блокируемой конструкции. Место установки выключателя выбирается из условий надежного срабатывания выключателя при открывании и закрывании ворот с гарантией защиты от поломки нажимного штока при большом люфте. Для этого рекомендуется устанавливать механические ограничители открывания ворот.

Между упором и нажимным штоком выключателя должен быть допустимый зазор 3... 5 мм. Упор крепится на подвижных элементах ворот и должен иметь регулировку. Техническая характеристика выключателей приведена ниже.

Магнитоконтактные (контактные) извещатели предназначены в основном для блокировки дверей, окон, люков, витрин и других подвижных конструкций на открывание, а также для выдачи тревожного извещения в виде размыкания (иногда замыкания) электрической цепи ШС ППК или УО СПИ. Извещатели можно использовать в качестве датчиков-ловушек для блокировки переносимых предметов (экспонатов музеев и выставок, персональных ЭВМ и т.п.). Ряд извещателей можно применять для блокировки стальных конструкций (сейфов, несгораемых шкафов и т.п.).

Магнитоконтактный извещатель состоит из герметизированного магнитоуправляемого контакта и магнита в пластмассовом или металлическом немагнитном корпусе. Модули извещателя крепят непосредственно к поверхности блокируемого элемента со стороны охраняемого помещения.

Выбор модели извещателя определяется типом и характеристиками блокируемой конструкции, ее укрепленностыо и условиями эксплуатации. На каждый блокируемый элемент устанавливается по одному извещателю на расстоянии до 20 см от его вертикальной линии раствора.

.4 Ударно-контактные извещатели

Ударно-контактные извещатели предназначены для блокировки строительных конструкций на разрушение или давление; они формируют извещение о проникновении в результате преобразования энергии упругих волн ультразвукового или звукового диапазона, возникающих при попытках разрушения блокируемой конструкции нарушителем.

Ударно-контактные извещатели ИОЗОЗ-1 «Окно-2М», ИОЗОЗ-3 «Окно-4», ИОЗОЗ-4 «Окно-5», ИОЗОЗ-5 «Окно-6» предназначены для блокировки стеклянных полотен площадью до 20 м2 с запоминанием тревожных извещений.

Извещатели состоят из блока обработки сигналов (БОС) и до 5 (15 у извещателя «Окно-6») датчиков разбития стекла (ДРС), причем извещатель «Окно-2М» работает с ДРС, «Окно-4» - с ДРС и ДРС-1, «Окно-5», «Окно-6» - с ДРС-1.

Место расположения составных частей извещателя (БОС и ДРС) определяется количеством, взаимным расположением и площадью блокируемых стеклянных полотен.

Взаимное расположение БОС и ДРС должно обеспечивать минимальную длину соединяющих их линий из расчета не более Юм (15 м для извещателя «Окно-5») двухпроводной линии ДРС на БОС.

Допустима установка ДРС в одном из углов или у боковых сторон полотна на тех же расстояниях от обвязки, если при этом обеспечивается минимальная длина линии ДРС.

.5 Пьезоэлектрические извещатели

Извещатели пьезоэлектрические предназначены для блокировки строительных конструкций на разрушение или давление; они формируют извещение о проникновении в результате преобразования энергии упругих волн ультразвукового или звукового диапазона, возникающих при попытках разрушения блокируемой конструкции нарушителем.

Пьезоэлектрические извещатели ИО311-1 «Гюрза-050», ИО304-5 «Гюрза-050М» предназначены для работы в закрытых отапливаемых помещениях с температурой окружающего воздуха от +5 до +40 °С (для извещателя «Гюрза-050») и от -10 до +50 °С (для извещателя «Гюрза-050М»).

Эти извещатели используются для блокировки картин, художественных и ювелирных изделий, стеллажей с экспонатами, электронных приборов, оргтехники, а также отдельных строительных конструкций.

Принцип действия извещателей основан на регистрации изменения давления при механическом воздействии на охраняемые предметы. Благодаря возможности регулировки чувствительности извещатель «Гюрза» можно применять для охраны миниатюрных и достаточно больших предметов. В извещателе предусмотрен автоматический контроль целостности и сопротивления утечки соединительной линии.

В извещателе используются сенсоры (датчики) двух типов. Для охраны предметов, подвешенных на шнурах, применяют сенсоры № 1 (сенсоры КХ-1 у извещателя «Гюрза-050М»), а для охраны отдельных предметов, установленных на основаниях, - сенсоры № 2 (сенсоры МХ-1 у извещателя «Гюрза-050М»). Для монтажа сенсоров № 1 (КХ-1) в комплект поставки входят зажимы, крючки и струна. К блоку обработки сигналов (БОС) извещателя «Гюрза-050» допускается подключать до 10 сенсоров, к БОС извещателя «Гюрза-050М» - до 40.

Если масса охраняемого предмета превышает 20 кг, необходимо «разгрузить» сенсор №2 (МХ-1), перераспределив массу предмета по точкам опоры с помощью шайб из комплекта поставки.

Установку датчиков и прокладку внешних цепей извещателя рекомендуется производить скрытым способом. Линии подключения датчиков следует выполнять кабелями РК-50-1,5, РК-75-1,5 с полиэтиленовой изоляцией (исполнение П-16). Все датчики подключаются к линии параллельно пайкой. При этом длина неэкранированного участка центрального проводника кабеля не должна превышать 5 мм, а места соединения датчиков с кабелем должны быть изолированы полихлорвиниловой трубкой.

При размещении извещателя на объекте не рекомендуется устанавливать датчики в местах, подверженных сквознякам, воз душным потокам или вибрации. Во избежание повреждения датчиков охраняемые предметы не должны воздействовать на ни острыми углами или кромками; нельзя прокладывать кабели ) провода в тех местах, где возможно их повреждение при ходьбе или перемещении мебели; корпус заземляют.

Линии подключения сенсоров должны располагаться на расстоя нии не менее 150 мм от линий ШС и телефонных линий (ТЛ), причем длина параллельных участков должна быть максимально сокращена.

Коммутационные коробки должны располагаться на расстоянии не менее 2 м от мест, где разрешено движение людей. Техническая характеристика извещателей приведена ниже.

Пьезоэлектрический извещатель ИО304-3 «Грань-2» предназначен для работы в закрытых помещениях с температурой окружающей среды от -10 до +50 0С.

Извещатель создает от 1 до 10 охраняемых зон с помощью отдельных датчиков сигналов вибрации (от одного до десяти), включаемых в один шлейф блока обработки сигнала. Шлейф блока обработки сигнала представляет собой двухпроводную линию (провод ТРП).

Охраняемая зона, создаваемая датчиком сигналов вибраций на монолитной конструкции, представляет собой круг с радиусом действия датчика. Охраняемая зона, создаваемая датчиком сигналов вибрации со звуководом на немонолитной конструкции, представляет собой поверхность, ограниченную прямоугольником длиной, равной длине примененного звуковода, и шириной до 3 м.

Извещатель «Грань-2» имеет блочную конструкцию и состоит из блока обработки сигнала (БОС), семи датчиков сигналов вибрации для обнаружения вибрации (ДСВ1), возникающей в монолитных охраняемых конструкциях, трех датчиков сигналов вибрации со звуководами для обнаружения вибрации (ДСВ2), возникающей в немонолитной деревянной конструкции.

БОС и ДСВ1, ДСВ2 со звуководом устанавливают внутри охраняемого помещения в местах, защищенных от механических повреждений и доступа посторонних лиц. При выборе места установки извещателя необходимо определить специфические особенности помещения, где предстоит установить извещатель (форму и размеры помещения, расположение дверей и оконных проемов, толщину и материал стен и перекрытий, уязвимые места для пролома, расположение водопроводных труб и отопления). При необходимости охраны сейфов совместно с охраной помещения следует определить место его установки в помещении для минимизации длины двухпроводной линии связи ДСВ с БОС, которая не должна превышать 50 м. Места установки ДСВ1 и звуковода для ДСВ2 намечают с учетом того, чтобы места крепления батарей, труб систем водоснабжения и отопления были не ближе 1 м от мест крепления ДСВ1 и звуковода. При наличии трещин в монолитных бетонных и кирпичных конструкциях, охраняемых ДСВ1, радиус их действия уменьшается и определяется только экспериментально.

Число используемых ДСВ1 или ДСВ2, а также число держателей звуковода при установке на немонолитной строительной конструкции определяется индивидуально для каждой конструкции. Количество ДСВ1 выбирается так, чтобы неохраняемая площадь отдельных участков конструкции не превышала 0,1 м2. Расстояние между держателями звуковода на деревянной конструкции должно быть 20... 25 см.

1.6 Звуковые извещатели

Звуковые извещатели предназначены для блокировки остекленных конструкций на разрушение. Принцип работы данных извещателей основан на бесконтактном методе акустического контроля разрушения стеклянного полотна по возникающему при разрушении сигналу в звуковом диапазоне частот, распространяющемуся по воздуху.

Звуковые извещатели ИО329-1 «Стекло-1», ИО329-2 «Стекло-2», ИО329-2А «Стекло-2-1», ИО329-4 «Стекло-3» предназначены для обнаружения разрушения стеклянного полотна остекленных конструкций в отапливаемых помещениях с температурой окружающей среды от +1 до +40 °С.

Благодаря возможности регулировки дальности действия от 1 до 6 м, извещатели можно применять для блокировки больших (площадью до 50 м2) и небольших стеклянных полотен.

Извещатели устанавливают на стене (на высоте не менее 2 м) или на потолке так, чтобы все остекленные части блокируемой конструкции находились в пределах его прямого обзора (угол обзора извещателя 90°).

Допускается использование извещателей при одновременной работе с ультразвуковыми извещателями «Эхо». При этом ультразвуковой извещатель не должен быть ориентирован на извещатели «Стекло», и расстояние между ними должно быть не менее 1 м.

Поверхностный звуковой извещатель ИО329-4 «Арфа» предназначен для дистанционного (неконтактного) обнаружения разрушения листов стекла (при длине не менее 0,2 м одной из сторон), остекленных строительных конструкций (проемов) и элементов интерьера закрытых помещений блокировкой окон, витрин, прозрачных крыш, стеклянных и остекленных дверей, перегородок, экспозиций и т.п.

Извещатель монтируют на внутренней стороне охраняемого помещения (с помощью вскрываемых отверстий в основании или на специальном кронштейне) в месте, защищенном от механических повреждений и доступа посторонних лиц на высоте не менее 2 м от пола.

Не разрешается устанавливать извещатель в помещении с уровнем шума более 70 дБ, маскировать извещатель декоративными шторами, использовать извещатель совместно с активными ультразвуковыми извещателями «Эхо-3».

1.7 Ультразвуковые извещатели

Ультразвуковые извещатели предназначены для охраны объемов закрытых помещений и формируют извещение о проникновении нарушителя при возмущении поля упругих волн ультразвукового диапазона, вызываемом движением нарушителя в зоне обнаружения. Зона обнаружения извещателя имеет форму эллипсоида вращения или каплевидную форму.

Для обеспечения устойчивой работы ультразвуковых извещателей рекомендуется соблюдать следующие правила. Не следует применять извещатели в помещениях с уровнем акустических шумов выше 60 дБ; не устанавливать извещатели в витринах, над батареями отопления, на подоконниках, вблизи оконных штор и комнатных растений, а также не допускать попадания этих предметов в зону обнаружения. Соединительные линии извещателя нужно прокладывать на расстоянии не менее 75 см от электропроводки, кабелей и электроустановок. Допускается пересечение этих линий с силовыми цепями под прямым углом не более 2 раз. Вибрирующие и крупногабаритные предметы, способные создавать «мертвые» зоны или сформировать зону обнаружения таким образом, следует удалить за пределы зоны обнаружения. На период охраны необходимо закрывать на запоры двери, окна, форточки, фрамуги, люки, а также выключать вентиляционные и силовые переключающие установки, калориферы, телефоны, звонки, репродукторы и т.п.; не допускать нахождения в охраняемом помещении животных и птиц; не применять извещатели в помещениях площадью менее 2x2 м2; не следует размещать в одном помещении два и более извещателей или отрегулировать их таким образом, чтобы зоны обнаружения не пересекались при максимальной чувствительности.

Ультразвуковой извещатель ИОП308-3 «Эхо-2» предназначен для работы в закрытых отапливаемых помещениях. Для расширения функциональных возможностей извещатель «Эхо-2» выпускается в трех исполнениях: ИОП308-3/1 - блок основной синхронизирующий (БОС) и два блока выносных ультразвуковых (БВУ); ИОП308-3/2 - БОС и один БВУ; ИОП 308-3/1 - БОС. Благодаря возможности независимой регулировки чувствительности и размеров зоны обнаружения в каждом блоке извещатель можно применять для охраны помещений различных размеров и конфигурации.

Место установки извещателя «Эхо-2» выбирают так, чтобы его зона обнаружения перекрывала вероятные направления движения нарушителя. Извещатель устанавливается на стене при помощи юстировочного механизма, позволяющего изменять положение корпуса извещателя в пределах ±45° в вертикальной и горизонтальной плоскостях. Извещатель монтируется на высоте 1,4... 1,6 м только на жестких, исключающих вибрацию конструкциях - капитальных стенах, колоннах.

Ультразвуковой извещателъ ИО308-1 «Эхо-3» предназначен для работы в закрытых отапливаемых помещениях с температурой окружающей среды от +1 до +40 °С. Извещатель обеспечивает блокировку локальных зон объемов помещений, мест сосредоточения ценностей, музейных экспонатов, оргтехники.

Благодаря возможности регулировки чувствительности и размеров зоны обнаружения извещатель «Эхо-3» можно применять для охраны помещений площадью до 60 м2.

Место установки извещателя «Эхо-3» выбирают так, чтобы его зона обнаружения перекрывала вероятные направления движения нарушителя. Извещатель выдает извещение о проникновении размыканием контактов исполнительного реле и включением индикатора на время 2 с.

Ультразвуковой извещатель «Эхо-А» предназначен для обнаружения движения нарушителя в охраняемой зоне на расстоянии до 8,5 м посредством блокировки локальных зон объемов помещений, мест сосредоточения ценностей, музейных экспонатов, оргтехники. Извещатель применяют для охраны помещений с большой загруженностью предметами интерьера. Он обладает высокой помехозащищенностью, имеет индикатор визуального контроля режимов, регулировку чувствительности, позволяющую установить требуемые размеры зоны обнаружения.

Ультразвуковой извещатель «Витрина» предназначен для обнаружения проникновения (попытки проникновения) нарушителя в охраняемый объем, перемещения предметов внутри него с последующей выдачей тревожного извещения на пульт централизованного наблюдения или приемно-контрольный прибор после размыкания контактов исполнительного реле. Извещатели применяют для централизованной охраны внутренних объемов закрытых музейных и ювелирных витрин, выставочных экспозиций, шкафов, сейфов.

Блок обработки сигналов извещателя может быть размещен внутри и вне охраняемого объема. Акустический излучатель и приемник должны быть встречно ориентированы и размещены в противоположных углах контролируемого объема так, чтобы охраняемые предметы располагались (по возможности) между ними.

1.8 Активные и пассивные оптико-электронные извещатели

Активные оптико-электронные извещатели применяют для охраны внутренних и внешних периметров окон, витрин, отдельных предметов; они формируют тревожное извещение при изменении отраженного потока (однопозиционные извещатели) или прекращении (изменении) принимаемого потока (двухпозиционные извещатели) энергии оптического излучения, вызываемом движением нарушителя в зоне обнаружения.

Зона обнаружения извещателя имеет вид «лучевого барьера», образованного одним или несколькими расположенными в вертикальной плоскости параллельными узконаправленными лучами. Зоны обнаружения разных извещателей различаются, как правило, размерами и количеством лучей.

Для обеспечения устойчивой работы извещателя рекомендуется придерживаться следующих правил: устанавливать излучатель и приемник на прочные, недеформируемые конструкции; не допускать попадания на приемник солнечных бликов и света автомобильных фар, а также попадания на объективы прямых солнечных лучей, так как это может привести к перегреванию и преждевременному выходу из строя фото- и светодиодов.

Исключить влияние этих факторов можно применением светонепроницаемых экранов; не допускать нахождения посторонних предметов ближе чем 0,5 м от пространства, по которому проходит луч.

Оптико-электронный извещатель ИО209-1 «Вектор-2» предназначен для работы в отапливаемых и неотапливаемых помещениях с температурой окружающей среды от -10 до +50 °С. Извещатель обеспечивает блокировку строительных конструкций, внутренних периметров объектов, коридоров, подходов к местам хранения ценностей, отдельным предметам.

Извещатель устойчив к фоновым засветкам и может работать при наличии в помещении воздушных потоков, обусловленных вентиляцией и работой кондиционеров, конвективных потоков, возникающих при работе нагревательных приборов. Извещатель «Вектор-2» конструктивно выполнен в виде двух оптических блоков - блока излучения (БИ) и блока приемника (БП). Блоки имеют одинаковую конструкцию. Каждый блок состоит из металлического шасси и крепящегося к нему светофильтра.

Пассивные оптико-электронные извещатели наиболее широко распространены, поскольку с помощью специально разработанных для них оптических систем можно просто и быстро получать зоны обнаружения различной формы и размеров и использовать их для охраны объектов любой конфигурации: жилых, производственных, торговых и административных помещений; строительных конструкций (витрин, окон, дверей, стен, потолков); открытых площадок, внутренних и внешних периметров; отдельных предметов (музейных экспонатов, ЭВМ, оргтехники и т.п.).

Зона обнаружения извещателя представляет собой пространственную дискретную систему, состоящую из элементарных чувствительных зон в виде лучей, расположенных в один или несколько ярусов или в виде тонких широких пластин, расположенных в вертикальной плоскости (типа «занавес»). Условно зоны обнаружения извещателей можно разделить на шесть следующих видов: широкоугольная одноярусная типа «веер»; широкоугольная многоярусная; узконаправленная типа «занавес»; узконаправленная типа «лучевой барьер»; панорамная одноярусная; панорамная многоярусная.

Принцип действия извещателей основан на регистрации разницы между интенсивностью инфракрасного излучения, исходящего от проникающего в контролируемую зону нарушителя, и фоновой температурой на охраняемом объекте.

Чувствительным элементом схемы является пироэлектрический преобразователь, на котором фокусируются инфракрасные лучи с помощью зеркальной или линзовой оптической системы (последние наиболее широко распространены). Сигналы с пиро-приемника обрабатываются логическим блоком, который управляет выходным элементом схемы извещателя, выдающим тревожное извещения на приемно-контрольный прибор.

Ведущие фирмы в качестве чувствительных элементов используются пироприемники с двумя чувствительными площадками, что позволяет существенно снизить вероятность ложных срабатываний под воздействием внешних факторов, например конвективных потоков воздуха, световых помех и т. п.

Для обеспечения устойчивой работы извещателя не рекомендуется устанавливать извещатель над отопительными приборами;

направлять извещатель на вентиляторы теплого воздуха, прожекторы, лампы накаливания и другие источники, вызывающие быстрые изменения температуры; попадание на извещатель прямых солнечных лучей; а также не рекомендуется нахождение в зоне обнаружения предметов (штор, перегородок, шкафов и т.п.), способных создавать «мертвые» зоны, и животных.

Оптико-электронный извещатель ИОП209-3 «Фотон-2» предназначен для работы в закрытых помещениях с температурой окружающей среды от +10 до +50 °С. Извещатель обеспечивает защиту коридоров, протяженных помещений магазинов, складов, музеев от проникновения нарушителя, а также служит для обнаружения очага пожара в виде открытого пламени. Зона обнаружения извещателя состоит из четырех элементарных чувствительных зон, расходящихся от входного окна извещателя по радиальным направлениям в вертикальной плоскости.

Дальность действия извещателя «Фотон-2» при обнаружении человека и открытого пламени: до 30 м без применения светозащитного фильтра; до 15 м с применением его.

Место установки извещателя «Фотон-2» выбирают так, чтобы чувствительные зоны размещались поперек вероятного направления движения нарушителя. Если зона обнаружения направлена влево или вправо от начального положения, то необходимо воспользоваться кронштейном, на котором крепится извещатель. Изменение угла поворота достигается уменьшением или увеличением угла раскрытия кронштейна.

Инфракрасный пассивный извещатель ИО409-1 «Фотон-4» предназначен для работы в закрытых отапливаемых и неотапливаемых помещениях с температурой окружающей среды от -30 до +50 "С. Извещатель обеспечивает блокировку объемов помещений, мест сосредоточения ценностей, музейных экспонатов, оргтехники, а также неотапливаемых гаражей, ангаров, складских и других помещений.

Извещатель «Фотон-4» имеет дискретную широкоугольную (90° в горизонтальной и 30° в вертикальной плоскостях) объемную зону обнаружения, которая формируется с помощью двухплощадного пироприемника и многосегментного зеркала. Зона обнаружения состоит из 16 двойных чувствительных зон, расположенных в три яруса (9 зон в верхнем, 4 - в среднем и 3 - в нижнем ярусе), что обеспечивает высокую обнаруживающую способность извещателя. Извещатель не является источником помех и не влияет на работу других извещателей.

Специальная схема включения чувствительных площадок пироприемника обеспечивает повышенную устойчивость извещателя к засветкам от осветительных приборов и солнца, а также к тепловым воздушным потокам, создаваемым различными источниками.

В извещателе предусмотрены режимы работы с повышенной помехозащищенностью и повышенной чувствительностью.

Извещатель «Фотон-4» выполнен в виде одного блока и состоит из кожуха, обрамления, основания, шасси и зеркала. Кожух выполнен из ударопрочной пластмассы и для защиты от электромагнитных воздействий металлизирован. Входное окно закрывается прозрачной или белой полиэтиленовой пленкой, которая закрепляется при помощи обрамления.

Место установки извещателя «Фотон-4» выбирают так, чтобы чувствительные зоны пересекали вероятные направления движения нарушителя. Извещатель монтируют при помощи кронштейна или основания на стене или в углу с возможностью поворота корпуса на углы 0, 7, 10° в вертикальной плоскости и ± 15° в горизонтальной плоскости.

Допускается монтаж извещателя на потолке при помощи кронштейна на высоте до 3,5 м с возможностью поворота корпуса на угол 360° в горизонтальной плоскости и на угол 0...20" в вертикальной плоскости.

Извещатель выдает извещение о проникновении размыканием контактов исполнительного реле и включением индикатора на время 2 с.

Инфракрасный пассивный извещатель ИО309-1 «Фотон-5» предназначен для работы в закрытых отапливаемых и неотапливаемых помещениях с температурой окружающей среды от - 40 °С до

Рисунок 1.1- Диаграммы зоны обнаружения инфракрасного пассивного извещателя «Фотон-5»

+50 °С. Извещатель обеспечивает блокировку оконных и дверных проемов, полов, потолков, проходов между стеллажами, коридоров, подходов к местам сосредоточения ценностей, музейным экспонатам, оргтехнике, а также неотапливаемых гаражей, ангаров, складских и других помещений.

Извещатель «Фотон-5» имеет сплошную узконаправленную (5° в горизонтальной и 80° в вертикальной плоскостях) поверхностную зону обнаружения типа «занавес», которая формируется с помощью двухплощадного пироприемника и линзы Френеля. Такая структура зоны обеспечивает высокую обнаруживающую способность извещателя. Извещатель не является источником помех и не влияет на работу других извещателей.

Специальная схема включения чувствительных площадок пироприемника и способ обработки сигналов обеспечивают повышенную устойчивость извещателя к засветкам от осветительных приборов и солнца, а также к тепловым воздушным потокам, создаваемым различными источниками.

Извещатель «Фотон-5» выполнен в виде одного блока. Кожух извещателя состоит из корпуса и основания. В корпусе имеются перегородки, разделяющие оптический узел и монтажный отсек. Кожух выполнен из ударопрочной пластмассы и для защиты от электромагнитных воздействий металлизирован.

В разрабатываемой системе охранной сигнализации используем наиболее эффективные оптико-электронные извещатели «Фотон СК-2», «Фотон-Ш» и поверхностные звуковые извещатели (акустические) «Стекло-3».

.9 Объемный оптико-электронный извещатель «Фотон СК-2»

Рисунок 1.2- Извещатель «Фотон СК-2»

Оптико-электронный извещатели (пассивные инфракрасные) предназначены для обнаружения проникновения в охраняемое пространство закрытого помещения.

Пассивные ИК извещатели реагируют на изменение уровня инфракрасного излучения, вызванное перемещением человека в зоне обнаружения. Чувствительным элементом пассивных ИК извещателей является пироприемник, а оптическая линза Френеля формирует в пространстве зоны обнаружения различной формы.

• Чувствительный элемент - двухплощадный пироприемник.

• Многоярусная структура чувствительных зон (22 дальние зоны, 6 средних, 3 ближних, 2 антисаботажных).

• Формирование антисаботажных зон непосредственно под извещателем для контроля несанкционированного подхода к нему.

• Наличие экрана защиты пироприемника от насекомых.

• Контроль вскрытия корпуса.

• Микропроцессорная обработка сигнала с использованием высокоэффективного алгоритма обнаружения.

• Выбор режимов тестирования, чувствительности и светодиодной индикации.

• Контроль напряжения питания.

• Тестирование пироприемника и усилителя при включении и один раз в течение каждых последующих 24 часов.

• Температурная компенсация обнаруживающей способности при изменении температуры окружающей среды.

• Установка линзы, создающей зону обнаружения типа "горизонтальная занавеска" при наличии в помещении небольших животных (например, кошек или собак).

• Электропитание извещателя осуществляется от источника постоянного тока номинальным напряжением 12 В.

• Извещатель выдает тревожное извещение размыканием шлейфа сигнализации контактами исполнительного реле.

• Помехозащищенность извещателя обеспечивает отсутствие его ложных срабатываний при воздействии перемещающихся мелких животных, перепадов фоновой освещенности, конвективных воздушных потоков, медленных изменений температуры фона, импульсов напряжения по цепи питания, электростатического разряда, электромагнитных полей УКВ-диапазона.

• Извещатель выдает четыре вида извещений:

«Норма» - замыканием контактов реле, дублируемое выключением светового индикатора;

«Тревога» - размыканием контактов реле, дублируемое включением светового индикатора;

«Саботаж» - размыканием контактов кнопки TAMPER при вскрытии извещателя;

«Неисправность» - миганием светового индикатора.

Таблица 1.1- Технические характеристики извещателя «Фотон СК-2»

Максимальная дальность действия

15 м

Напряжение питания постоянного тока

12 В (9,5 до 16 В)

Потребляемый ток

15 мА

Максимальное значение рабочей дальности извещателя

15 м.

Диапазон рабочих температур

-10...+55°С

Габаритные размеры

112х60х42 мм

Масса

 0,12 кг


Охранный извещатель "Фотон-СК-2” предназначен для использования в закрытых помещениях (магазинах, офисах, музеях и квартирах). При выборе места установки извещателя следует обратить внимание на то, что в зоне обнаружения не должно быть непрозрачных предметов (штор, комнатных растений, шкафов, стеллажей и т.п.), а также стеклянных и сетчатых перегородок. В поле зрения извещателя не должно быть окон, кондиционеров, нагревателей, батарей отопления.

Рисунок 1.3- Диаграммы зон обнаружения извещателя «Фотон-СК-2»

Извещатель устанавливается на высоте 2,3 метра от пола. При наличии в помещении птиц в клетках необходимо убедиться, что они не находятся на расстоянии меньше 1,8 м от извещателя.

.10 Извещатель охранный поверхностный оптико-электронный «Фотон-Ш»

Извещатель “Фотон-Ш” предназначен для обнаружения проникновения в охраняемое пространство помещения через дверные и оконные проемы и формирования тревожного извещения размыканием выходных контактов реле. Извещатель при вскрытии выдает извещение "Саботаж" размыканием контактов микропереключателя. Извещатель устойчив к помехам от мелких животных. Извещатель компактен, привлекателен, прост в установке и техническом обслуживании, устанавливается на стене с помощью кронштейна.

Рисунок 1.2- Извещатель «Фотон-Ш»

• Чувствительный элемент - двухплощадный пироприемник.

• Сплошная зона обнаружения типа "занавес".

• Рекомендуемая высота установки от 2,5 до 5 м.

• Выбор режима чувствительности.

• Возможность изменения положения зоны обнаружения.

• Контроль вскрытия корпуса.

• Помехозащищенность извещателя обеспечивает отсутствие его ложных срабатываний при воздействии перемещающихся мелких животных, перепадов фоновой освещенности, конвективных воздушных потоков, медленных изменений температуры фона, импульсов напряжения по цепи питания, электро-статического разряда, электромагнитных полей УКВ-диапазона.

• Извещатель выдает тревожное извещение размыканием выходных контактов реле.

• Извещатель выдает четыре вида извещений:

«Норма» - замыканием контактов реле, дублируемое выключением светового индикатора;

«Тревога» - размыканием контактов реле, дублируемое включением светового индикатора;

«Саботаж» - размыканием контактов кнопки TAMPER при вскрытии извещателя;

«Неисправность» - миганием светового индикатора.

Выбор места установки извещателя:

Извещатель “Фотон-Ш” предназначен для использования в закрытых помещениях (магазинах, офисах в том числе Супермаркетах и ТРК). При выборе места установки извещателя следует обратить внимание на то, чтобы зону обнаружения не загораживали непрозрачные предметы (карнизы, шторы, наличники на дверях и т.п.), а также стеклянные перегородки. В поле зрения извещателя не должно быть кондиционеров, нагревателей, батарей отопления. Максимальная высота установки извещателя - 5 м. Провода шлейфа сигнализации следует располагать вдали от мощных силовых электрических кабелей.

Таблица 1.2- Технические характеристики извещателя «Фотон-Ш»

Напряжение питания постоянного тока

 12В (от 9.5 до 16 В)

Максимальная высота установки

5 м

Потребляемый ток не более

 20 мА

Диапазон рабочих температур

-30...+50°С

Габаритные размеры

91х52х56 мм -

Масса

0,12 кг


Рисунок 1.3- Диаграмма зоны обнаружения извещателя «Фотон-Ш»

.11 Поверхностный звуковой извещатель «Стекло-3»

Поверхностный звуковой извещатель (акустический) «Стекло-3» предназначен для обнаружения разрушения всех видов строительных стекол: обычного, закаленного, узорчатого, армированного, многослойного и защищенного полимерной пленкой (ламинированного), стеклопакетов, а также стеклянных пустотелых блоков.

Принцип действия этого извещателя основан на регистрации звуковых колебаний, возникающих при разрушении стекол. Использование специального алгоритма анализа спектра частот позволяет отличить звук разбития стекла от других звуковых шумов, возникающих в охраняемом помещении.

Его особенности:

• Акустический извещатель позволяет контролировать несколько окон одним прибором и не требует установки каких-либо элементов на контролируемом стекле.

• Возможность регулировки чувствительности.

• Устойчивы к акустическим шумам (телефон, транспорт, гроза, град), электростатическим разрядам, помехам по сети питания, воздействию электромагнитных полей.

Рисунок 1.4- Извещатель «Стекло-3»

• Использование микроконтроллеров в извещателях позволяет повысить достоверность обнаружения, реализовать высокий уровень помехозащищенности, расширить сервисные функции, повысить удобство настройки и эксплуатации, повысить надежность.

• Электропитание извещателя «Cтекло-3» осуществляется от источника постоянного тока номинальным напряжением 12 В (9 - 17В).

• Извещатель «Cтекло-3» выдает тревожное извещение размыканием шлейфа сигнализации контактами исполнительного реле.

• Обеспечивает дистанционный контроль охраняемой остекленной конструкции любой конфигурации;

• Совместим с различными видами и размерами стекол;

• Имеет многоуровневую микропроцессорную обработку сигнала, функциональное самотестирование;

• Представляет возможность пользователю производить выбор алгоритма работы извещателя под условия объекта и принятую тактику его охраны;

• Обеспечивает индикацию режимов работы извещателя и шумов внутри помещения с возможностью ее отключения

• Максимальная рабочая дальность действия извещателя - не менее 6 м

• Ток потребления извещателя - не более 22 мА

• Информативность извещателя равна пяти, а именно: - извещение “Норма"; - извещение «Тревога»; - извещение «Вскрытие»; - индикация помехи на первой рабочей частоте; - индикация помехи на второй рабочей частоте.

Извещение «Норма» формируется извещателем в течение всего времени охраны замкнутыми контактами исполнительного реле и выключенным состоянием индикатора красного цвета при отсутствии разрушающих воздействий на охраняемое стекло.

Извещение «Тревога» формируется извещателем разомкнутыми контактами исполнительного реле и включенным состоянием индикатора красного цвета на время не менее 2 с при: - включении извещателя; - обнаружении разрушающих воздействий на охраняемое стекло; - снижении напряжения питания до (8,0+0,8) В.

Извещение “Вскрытие" формируется извещателем размыканием контактов микровыключателя при вскрытии его корпуса.

Индикация помехи на первой рабочей частоте осуществляется извещателем включением индикатора желтого цвета.

Индикация помехи на второй рабочей частоте осуществляется извещателем включением индикатора зеленого цвета.

Из обзора и анализа существующих методов и средств охранной сигнализации следует, что интегрированной системы сигнализации должна быть выполнена на базе использования оптико-электронных и звуковых извещателей применительно к условиям торгово-развлекательного комплекса.

Ближайшей задачей разработки является анализ характеристик объекта - торгово-развлекательного комплекса, анализ существующих угроз и степени защиты от них;

2. Разработка системы охранной сигнализации ТРК

2.1 Общие сведения об объекте

Супермаркеты, гипермаркеты и торгово-развлекательные комплексы относятся к категории объектов с высокой степенью террористической опасности, вероятности краж материальных ценностей (как у самого торгового предприятия, так и у посетителей), возникновения внештатных ситуаций.

ТРК «Ключевой» (рис. 2.1) - уникальный концептуальный торговый комплекс в муниципальном районе Братеево, с населением порядка 94 000 человек, предназначенный для досугового полноценного отдыха всей семьей и приятного времяпровождения. Многофункциональный торгово-развлекательный центр представляет собой 3-этажное здание общей площадью 25 335,20 м2. , в котором для удобства посетителей предусмотрен подземный паркинг и гостевая наземная парковка вдоль боковых фасадов здания. Торговый комплекс предлагает более 100 различных магазинов, супермаркет, центр бытовых услуг, офисы операторов мобильной связи и банков, фитнес-клуб, ресторанный дворик (более 4 ресторанов и кафе), зона развлечений с аттракционами и прочее.

Главная проблема традиционных средств безопасности в том, что они позволяют только фиксировать факты нештатных ситуаций и предпринимать меры по их ликвидации уже после происшествия. Чтобы работать «на опережение», нужна система безопасности, способная предотвращать и ликвидировать угрозы автономно, без непосредственного участия человека. Кроме того, система должна своевременно и в полном объеме информировать о возможной опасности всех ответственных лиц, в соответствии с кругом решаемых ими задач. При принятии решения, они используют лишь достоверные сведения, что позволяет существенно снизить вероятность ложных срабатываний.

Рисунок 2.1- Торгово-развлекательный комплекс

2.2 Системы охранной и охранно-тревожной сигнализации

Охранная (охранно-тревожная) сигнализация - это лучшее средство защиты любого здания и помещения от незаконных проникновений. Средство проверенное, так как сегодня спрос на охранную сигнализацию превышает предложение: практически каждый офис, склад и магазин оборудован данной системой, как оборудованы и многие частные коттеджи, дачи и квартиры (а иногда и целые жилые здания, если речь идет об элитном районе).

Система охраны на объекте выстроена на удовлетворительном уровне. ТРК оснащён системой видеонаблюдения, охранно-сигнальной, а также противопожарной системой. Комплекс оснащён кнопкой тревожной сигнализации с выводом сигнала на пульт дежурного вневедомственной охраны, дублирующий сигнал идёт к дежурному по ЧОП который решает высылать ли группу быстрого реагирования. Тем самым они предназначены для исключения следующих случаев.

·      Проникновение со взломом.

·       Тайное проникновение с нейтрализацией средств защиты.

·        Вооруженное нападение на объект

Для обеспечения системой видеонаблюдения, охранно-сигнальной, а также противопожарной системой была приглашена ЗАО НВП «Болид» ,которая использовала систему охраны ОРИОН (ORION).

Система охраны «Орион2 предназначена для сбора, обработки, передачи, отображения и регистрации извещений о состоянии шлейфов охранной, тревожной и пожарной сигнализации; для контроля и управления доступом (управление преграждающими устройствами типа шлагбаум, турникет, ворота, шлюз, дверь и т.п.); для видеонаблюдения и видеоконтроля охраняемых объектов; для управления пожарной автоматикой объекта; для управления инженерными системами зданий

Система обеспечивает модульную структуру, позволяющую оптимально оборудовать как малые, так и очень большие распределенные объекты. Низкие затраты в расчете на один шлейф или одну точку прохода. Защищенный протокол обмена по каналу связи между пультом и приборами. Микропроцессорный анализ сигнала в шлейфах сигнализации, возможность измерения сопротивления шлейфа для предотвращения саботажа. Возможность использования одной и той же Proximity карты или ключа Touch memory для взятия под охрану/снятия с охраны и управления доступом несколькими способами:

·    децентрализовано:

·        с помощью клавиатуры,

·              с помощью ключа Touch memory,

·              с помощью дистанционных пластиковых карт,

·              комбинированным способом (клавиатура плюс дистанционная карта),

централизованно:

§ с помощью пульта "С2000"

§   с помощью пульта "С2000-КС"

§   с помощью компьютера

Контроль и управление доступом через точки входа типа двери, турникеты, шлюзы, шлагбаумы.

Видеонаблюдение, видеоконтроль и регистрация тревожных ситуаций

Управление устройствами автоматического пожаротушения, оповещения, дым удаления, кондиционирования

На данный момент в комплексе находится 99 арендаторов,то есть каждый арендатор оснащён сигнализацией, в помещении находится инфракрасный датчик движения при срабатывании посылается сигнал на пульт оператору.

Так же имеется 58 первостепенных помещений (кабинет администрации, серверные, вент камеры и др.) Все охраняемые помещения распределены по сигнальным зонам, имеющим порядковый номер и систему их нумерации, в привязке к планам этажей.

При постановки, снятии, срабатывания сигнализации и прочие действия отображаются на мониторе у оператора а также дублируются на пульт «с2000».Хочу заметить что каждый арендатор получает магнитные ключи на руки для постановки и снятия павильона с сигнализации .Тех .помещения ставятся оператором после обхода охранником. Все действия системы заносятся в архив сроком хранения 6 месяцев, внештатные ситуации заносятся в специальный журнал.

ТРК «Ключевой» это открытый тип объекта с круглосуточным режимом охраны внутренней и внешней территории. Выставлены посты 4 внутренних и 1 уличный.

·      1 пост-начальник смены

·        2 пост-оператор видео наблюдения

·       3 пост-охранник 1-го этажа подвижный

·        4 пост- охранник 2-3-го этажа подвижный

·       6 пост - охранник уличный.

За нарушением должностных обязанностей и внутреобъектового и пропускного режима ведётся строгий контроль и учёт в специальные журналы

2.3 Комплексный подход к системам безопасности в торгово-развлекательном комплексе

 

Большое скопление людей, постоянное присутствие товаров вблизи покупателей, перемещение наличных денежных средств, вероятность круглосуточной работы, - все эти особенности диктуют особые требования к системам безопасности. Необходимо обеспечить не только безопасность посетителей и персонала, но и надежный контроль за материальными ресурсами. Еще пять лет назад владельцы магазинов ограничивались расстановкой нескольких охранников в зале и двумя-тремя камерами наблюдения. Сейчас они склоняются к использованию комплексных систем безопасности.

Для каждого объекта торговли, будь то супермаркет, ювелирный магазин или торгово-развлекательный комплекс, систему безопасности проектируют индивидуально. Этот подход основан на оценке потенциальных угроз, технической оснащенности объекта, критериях экономической целесообразности, наличия подготовленного персонала службы охраны и т. д. Например, в ювелирных магазинах, по сравнению с супермаркетами, большее значение имеет ограничение доступа к ценностям и их охрана. В торгово-развлекательных комплексах важнее видеоконтроль над действиями посетителей. В зависимости от специфики работы торгового объекта используют различные системы безопасности.

В системах комплексной охраны ТРК применяются следующие технические средства:

·        Системы контроля доступа: турникеты, заграждения, замки, считыватели магнитных карт и контроллеров, которые зачастую устанавливают у касс, на складах, в производственных помещениях, бухгалтерии, кабинетах руководства и службы безопасности. Главное назначение этой системы - ограничить доступ посторонних лиц в служебные и другие помещения, упорядочить движения покупателей в торговом зале супермаркета на входах/выходах из торгового объекта.

·             

Рисунок 2.1- Схема организации системы комплексной безопасности торгово-развлекательных комплексов

·      Системы видеонаблюдения, работающие в режиме реального времени, с архивацией данных: поворотные купольные видеокамеры, зеркала. Их устанавливают на всех секторах супермаркета. Сигнал с видеокамер через дополнительные устройства поступает на мониторы охраны и записывается на видеоноситель либо жесткий диск компьютера.

·              Системы антикражные (могут иметь радиочастотную, электромагнитную и акустикомагнитную технологию): товар маркируют специальными этикетками, бирками и другими защитными устройствами, а на выходе из торгового зала устанавливают специальные антенные рамки, которые подают сигнал тревоги, если рядом с ними проносят неоплаченый товар.

·              Зеркала безопасности - расширяют спектр обзора охраняемой площади для службы безопасности. Чаше всего, в больших объектах торговли применяют обзорные и сферические (купольные) зеркала.

·              Пожарная сигнализация, построенная на адресно-аналоговых извещателях. Может представлять собой ядро всей системы, управляя системой пожаротушения, оповещений и т. д. И в данном случае повышенные требования к качеству оборудования гарантируют безопасность как людей, так и материальных ценностей.

Несмотря на свою разноплановость, эти системы интегрируются в единый комплекс управления безопасностью объекта, что позволяет не только облегчить общий контроль над торговой точкой, но и создать алгоритм совместной автономной работы при возникновении тревожной ситуации.

.4 Назначение, принцип действия и область применения систем передачи извещений

Системы передачи извещений (СПИ) о несанкционированном проникновении на объект посторонних лиц являются разновидностью телемеханических систем, т. е. технических средств, предназначенных для контроля и управления объектами на расстоянии с применением специальных преобразователей сигналов для эффективного использования каналов связи.

Эти системы предназначены для охраны ряда рассредоточенных объектов с использованием в качестве каналов передачи извещений линии городской телефонной сети или радиоканала.

Системы передачи извещений состоят:

из объектового оконечного устройства (УО) - части СПИ, устанавливаемой на охраняемом объекте для приема извещений от приемно-контрольных приборов, преобразования сигналов и их передачи по каналам связи на ретранслятор, а также (при наличии обратного канала) для приема от ретранслятора команд телеуправления. Оконечное устройство является составной частью систем ОПС и СПИ;

ретранслятора - составной части СПИ, устанавливаемой в промежуточном пункте между охраняемыми объектами и ПЦО или на самом охраняемом объекте. Ретранслятор предназначен для приема извещений от УО или других ретрансляторов, преобразования сигналов и их передачи на другие ретрансляторы, пультовые оконечные устройства или пульт централизованного наблюдения, а также (при наличии обратного канала связи) для приема от пультового оконечного устройства, пульта централизованного наблюдения или других ретрансляторов и передачи на УО или другие ретрансляторы команд управления;

пультового устройства оконечного (ПУО) - составной части СПИ, устанавливаемой в ПЦО для приема извещений от ретрансляторов, их преобразования и передачи на ПЦН, а также (при наличии обратного канала связи) для приема от ПЦН и передачи на ретрансляторы и УО команд телеуправления;

пульта централизованного наблюдения (ПЦН) - самостоятельного технического средства (совокупности технических средств) или составной части СПИ, устанавливаемой в ПЦО, для приема от ПУО или ретрансляторов извещений о проникновении на охраняемые объекты и пожаре на них, служебных и контрольно-диагностических извещений, обработки, отображения и регистрации полученной информации и представления ее в заданном виде для дальнейшей обработки, а также (при наличии обратного канала связи) для передачи через ПУО на ретрансляторы или УО команд телеуправления.

Централизованный комплекс средств охраны в основном использует станционную и линейную аппаратуру городской телефонной сети (ГТС) и может быть организован при помощи СПИ с использованием телефонных линий в качестве каналов связи, переключаемых на период охраны и занятых. Это позволяет исключить затраты на строительство дополнительных дорогостоящих линий связи специально для охраны.

Любая СПИ должна состоять из двух подсистем (выполнять две функции): подсистемы телесигнализации, осуществляющей передачу информации в виде извещений телесигнализации (ТС) о состоянии контролируемых объектов, и подсистемы телеуправления, осуществляющей передачу информации в виде команд телеуправления (ТУ). В этом случае появляется необходимость в обратной сигнализации, т. е. сигнализации о результате выполнения команды телеуправления.

2.5 Автоматизированная система передачи извещений(АСПИ) «Комета-К»

Для автоматизированной передачи извещений от установленных на ТРК извещателей выбрана автоматизированная система «Комета-К».

АСПИ «Комета-К» нашла широкое распространение в качестве комплексной системы сигнализации объектов различного назначения. Она предназначена для централизованной охраны до 800 объектов по занятым телефонным линиям.

АСПИ передает следующие виды информации: «Взят», «Снят», «Тревога», «Неисправность», «Взлом», «Патруль», «Номер направления», «Номер абонента», «Дата», «Текущее время», «Авария», «Сбой», «Контроль», «Норма», «Происшествие».

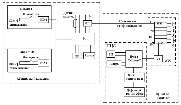
АСПИ «Комета-К» имеет блочную конструкцию и состоит из приемного и абонентского комплектов. Схема системы «Комета-К» приведена на рис. 3.2.

Абонентский комплект состоит из следующих приборов: группового концентратора, устанавливаемого на электрощитке или в одном из охраняемых помещений; восьми индивидуальных ответчиков (ИО), устанавливаемых по одному в каждом из охраняемых помещений; фильтра подключения, устанавливаемого вблизи от используемого телефона; блока питания, размещаемого в электрощитке.

Связь ИО с ГК осуществляется по двухпроводной линии связи, к которой все ИО подключаются параллельно. К каждому из индивидуальных ответчиков подключается шлейф охранной сигнализации. Через фильтр подключения (ФП), подключается к абонентской телефонной линии, которая на кроссе АТС подключена к устройству трансляции (УТ) системы «Комета-К». Передача сигналов между групповым концентратором (ГК) и УТ осуществляется благодаря наличию высококачественного уплотнения занятой или выделенной линии. УТ - устройство трансляции

Таким образом происходит обмен информацией между УТ и приемным пультом, установленным в ПЦО.

ГК осуществляет телеконтроль состояния шлейфов блокировки обьектов и положения кодовых переключателей каждого из ИО и для выявления сигналов «Взять», «Снять» или «Тревога», передает эту информацию с указанием номера ответчика по абонентской телефонной линии на УТ и далее на приемный пульт. Опрос ответчиков осуществляется посылкой в линию связи ИО - ГК двух первых импульсов постоянного тока с паузой между ними. Опрос состояния шлейфов блокировки и положения кодовых выключателей обеспечивается импульсной работой индивидуальных ответчиков, установленных на охраняемых объектах. К недостаткам АСПИ «Комета-К» относятся: высокий уровень ложных тревог из-за используемой тактики «задержки на вход»; значение зоны действия системы только одной АТС; отсутствие возможности применения в охране объектов многорубежной блокировки. Техническая характеристика АСПИ «Комета-К» приведена в табл. 2.1

Рисунок 2.2- Блок-схема системы «Комета-К»:

ИО - индивидуальные ответчики, БП - блок питания; ГК - групповой концентратор; ФП - фильтр подключения; ПЦО - пункт централизованной охраны; БЛ - блоки линейных комплектов; УТ - устройство трансляции.

Таблица 2.1- Техническая характеристика АСПИ «Комета-К»

Информационная емкость

 800

Каналы связи:


ГК- БЛ.

 занятая ТЛ

УТ-ПЦН.

 выделенная ТЛ

Напряжение питания: переменного тока (50 Гц), В

220

постоянного (через ретранслятор)

56…64

Структура

древовидная

Регистрация информации

автоматическая

Потребляемая мощность, В-А:


ГК

35

УТ

 36

ПЦН

 70

Напряжение источника резервного питания (УО), В

22... 26

Сопротивление линии, кОм, не более:


ГК-БЛ.

 0...0,1

УТ-ПЦН

 0...0,1

Диапазон рабочих температур, °С

 +5...+40

Размер, мм:


ГК

 310x170x125

УТ.

510x210x225

ПЦН

295x430x520

Масса, кг:


ГК

 3,5

УТ

 10

ПЦН

25


.6 Оптимальное расположение извещателей

Каждый извещатель (датчик), использующийся при построении охранной сигнализации, имеет свою область применения. Иногда области применения различных датчиков пересекаются. В этом случае возможно дублирование одного извещателя другим, контролирующим ту же зону, но имеющим другой принцип действия.

Согласно проекту, защищать объект от несанкционированного проникновения на его территорию будут несколько типов датчиков:

Извещатель охранный поверхностный звуковой ИО 329-4 "Стекло-3"

Извещатель охранный поверхностный оптико-электронный ИО309-7 "Фотон-Ш"

Извещатель охранный объемный ИО409-7 "Фотон-СК-2"

Извещатели охранные магнитоконтактные ИО102-5, ИО102-6, MINI-10DM

Извещатель охранный ручной точечный электро-контактный ИО101-2 (КНФ-1)

При оптимальном расположении извещателей происходит максимальный охват зоны контроля.

Поверхностный звуковой извещатель (акустический) -"Стекло-3" предназначен для обнаружения разрушения всех видов строительных стекол: обычного, закаленного, узорчатого, армированного, многослойного и защищенного полимерной пленкой (ламинированного), стеклопакетов, а также стеклянных пустотелых блоков.

Принцип действия этого извещателя основан на регистрации звуковых колебаний, возникающих при разрушении стекол. Использование специального алгоритма анализа спектра частот позволяет отличить звук разбития стекла от других звуковых шумов, возникающих в охраняемом помещении.

Установка извещателя на потолке выполняется с условием максимального охвата зоны контроля (рис. 2.2).

Рисунок 2.2- Схема оптимального расположения извещателя на потолке

Схемы оптимального расположения извещателей на стенах изображены на рис. 2.3 и рис. 2.4.

Рисунок 2.3- Схема оптимального расположения извещателя на стене

Рисунок 2.4 -Схема оптимального расположения извещателя на противоположной стене

Рассматриваются варианты расположения извещателей для блокировки сразу двух (и более) окон на соседних стенах (рис. 2.5)

Рисунок 2.5- Установка извещателя на потолке для блокировки окон в соседних стенах

Удобное и часто применяемое расположение извещателя между стеклом окна и занавесками (рис. 2.6).

Рисунок 2.6- Установка извещателя между стеклом и занавесками

В то же время, рассматриваются неудобные (неоптимальные) места для расположения извещателей, при которых не достигается максимума обзора контролируемого пространства (рис. 2.7).

Рисунок 2.7- Не рекомендуемые места установки извещателя

Охранный извещатель "Фотон-СК-2” предназначен для использования в закрытых помещениях (магазинах, офисах, музеях и квартирах). При выборе места установки извещателя следует обратить внимание на то, что в зоне обнаружения не должно быть непрозрачных предметов (штор, комнатных растений, шкафов, стеллажей и т.п.), а также стеклянных и сетчатых перегородок. В поле зрения извещателя не должно быть окон, кондиционеров, нагревателей, батарей отопления.

Оптико-электронные извещатели «Фотон-2» устанавливаются на высоте 2,3 метра от пола. При наличии в помещении птиц в клетках необходимо убедиться, что они не находятся на расстоянии меньше 1,8 м от извещателя. Диаграммы зон обнаружения изображены на рис. 1.3.

Провода питания и шлейфа сигнализации следует располагать вдали от мощных силовых электрических кабелей.

Диаграмма зоны обнаружения извещателя «Фотон-Ш» изображены на рис. 1.3.

.7 Расчеты в системе подключения извещателей

Расчёт потерь в линии питания и выбор кабеля

Рассчитаю допустимую потерю напряжения в линии питания шлейфов сигнализации и выберу подходящее число пар питания.

Имея два источника питания БРП24-01 12В/1, 5А один из которых запитывает напряжением 12В 8 блоков расширителей охранно-пожарных, а второй соответственно 7. Для расчёта выберу наиболее загруженный БРП, к которому подключено 8 блоков.

К этим 8 БРОП подключено:

33 извещателя «Фотон-СК2»

1 извещатель «Фотон-Ш»

извещателей «Стекло-3»

Выбираю 1 пару кабеля Multicore alarm CQR 4x0.22. Удельное сопротивление меди

Длина кабеля от БРП до бокса - 50м

Сопротивление кабеля


l - длина кабеля

S - поперечное сечение жил

Ток всех датчиков подключённых к одному БРП составляет

.1 Извещатель «Фотон-СК2» потребляет 15 мА

Iф-ск2=n× I1Ф-ск2=33×15=495мА,

где n- количество извещателей;

I1Ф-ск2 - потребляемый ток одним датчиком

.2 Извещатель «Фотон-Ш» потребляет 20мА

IФ-ш=n× I1Ф-ш =1×20=20мА

2.3 Извещатель «Стекло-3» потребляет 22мА

Iс=n× I1с =25×22=550мА

3 Общий ток всех извещателей подключённых к одному БРП

Io= Iф-ск2× IФ-ш ×Iс=1.065А

4 Потери напряжения в этом кабеле при напряжении питания на источнике 12В будут составлять

Uпот=Io×R=4B

5 Напряжение питания на извещателях с учётом потерь

Uизв=UБРП-Uпот=12-4=8В

По техническим характеристикам извещателей диапазон питающего напряжения 9.5-16В, следовательно выбранная мною одна пара кабеля Multicore alarm CQR 4x0.22 не будет удовлетворять техническим условиям. Поэтому выбираю 2 пары кабеля Multicore alarm CQR 4x0.22

Длина кабеля от БРП до бокса - 50м

Сопротивление кабеля


2 Ток всех датчиков подключённых к одному БРП составляет

.1 Извещатель «Фотон-СК2» потребляет 15 мА

Iф-ск2=n× I1Ф-ск2=33×15=495мА,

где:

Iф-ск2 - ток потребляемый извещателем «Фотон-СК2»

n- количество извещателей;

I1Ф-ск2 - потребляемый ток одним датчиком

.2 Извещатель «Фотон-Ш» потребляет 20мА

IФ-ш=n× I1Ф-ш =1×20=20мА

Извещатель «Стекло-3» потребляет 22мА

Iс=n× I1с =25×22=550мА

3 Общий ток всех извещателей подключённых к одному БРП

Io= Iф-ск2× IФ-ш ×Iс=1.065А

4 Потери напряжения в этом кабеле при напряжении питания на источнике 12В будут составлять

Uпот=Io×R=2B

5 Напряжение питания на извещателях с учётом потерь

Uизв=UБРП-Uпот=12-2=10В

По техническим характеристикам извещателей диапазон питающего напряжения 9.5-16В, следовательно, выбранные мною две пара кабеля Multicore alarm CQR 4x0.22 будет удовлетворять техническим условиям.

Расчет времени работы блоков питания в автономном режиме

Расчёт осуществляется по формуле

,

Таблица 2.2- Токо-потребление извещателей

Источник резервного питания

Наименование извещателей

Кол., шт.

Потребляемый ток, мА

Суммарный ток, мА

Время работы (час)

Ёмкость батареи, А.ч.

2 блока бесперебойного питания БРП 12В/1,5А/28А.ч.

Извещатель охранный «Стекло-3»

44

22

968

24

1.958×24=46.99


Извещатель охранный «Фотон-СК-2»

54

15

810




Извещатель охранный «Фотон-Ш»

9

20

180




Итого:





46.99


где:

СА - емкость выбранной аккумуляторной батареи [А.ч]; Н - средний ток нагрузки [A];

к - поправочный коэффициент,

к = 1,1 при СА/IН > 10;

к = 1 при 10 > СА/IН > 4;

к = 0,75 при 4 > СА/IН > 1;

к = 0,5 при СА/IН > 1.

Выбор ёмкости аккумуляторов

Ic=n×I1с=968мА,

Iф-ск2=n×I1ф-ск2=810мА,

Iф-ш=n×I1ф-ш=180мА,

где:

Iф-ск2 - ток потребляемый извещателем «Фотон-СК2»;

n- количество извещателей;

I1Ф-ск2 - потребляемый ток одним датчиком.

3. Экономический расчет затрат на изготовление системы охранной сигнализации

3.1 Основные понятия и определения

Структура, состав и классификация затрат

Себестоимость промышленной продукции - это текущие затраты предприятия на производство и реализацию продукции, выраженные в денежной форме. В России действует постановление правительства о составе затрат по производству и реализации продукции (работ, услуг, включаемых в их себестоимость) и о порядке формирования финансовых результатов, учитываемых при налогообложении прибыли.

Наибольший удельный вес во всех расходах предприятия занимают затраты на производство продукции. Они называются издержками производства. К ним относятся выраженные в стоимостной форме:

·потребляемые в процессе производства средства и предметы труда (амортизация основних фондов; сырье, материалы, топливо, энергия и т.п.);

·используемые в производстве покупные изделия и полуфабрикаты, а также производственные услуги других предприятий;

- часть стоимости живого труда (заработная плата).

Многие из этих затрат можно планировать и учитывать в натуральном выражении, т.е. в кг., метрах, тоннах, штуках и т.п. Однако, для полного подсчета всех расходов, их приводят к единому измерению и представляют в денежном выражении (рублях).

Предприятия имеют также затраты по реализации (сбыту) продукции, т.е. осуществляют непроизводственные (коммерческие) расходы (транспортировка, упаковка, хранение, реклама и т.п.).

Вместе производственная себестоимость и коммерческие расходы составляют полную (коммерческую) себестоимость продукции.

Не все издержки предприятия включают в себестоимость выпускаемой продукции. Сюда, например, не относятся расходы непромышленных подразделений предприятия (поликлиника, столовая, клуб и т.п.).

Все затраты предприятия можно разбить на прямые и косвенные:

Прямые затраты - это затраты непосредственно связанные с производством продукции (например затраты на материалы, полуфабрикаты, заработную плату производственного персонала, расходы по содержанию и эксплуатации оборудования и т.п.).

Эти затраты могут быть непосредственно отнесены на конкретный вид изделий и распределены между ними на основании технико-экономических расчетов (например, по нормативам).

Косвенные затраты - это затраты, которые не могут быть прямо распределены по объектам отнесения затрат (например, административные и управленческие расходы, расходы на освещение, отопление, страхование имущества и т.п.)

При учете и анализе затрат на производство важное значение имеет связь затрат с объемом производства. По этому признаку выделяют постоянные и переменные издержки предприятия.

Постоянные издержки (затраты) остаются неизменными и осуществляются независимо от объема производства. Постоянные издержки иначе называются накладные расходы (арендная плата, оплата административно-управленческого персонала и т.п.).

Переменные издержки (затраты) находятся в прямо пропорциональной зависимости от объема производства (затраты на сырье, материалы, оплата производственного персонала и т.п.),и труда, качество управления, маркетинга и т.п. Она выступает как исходная база формирования цен. а также оказывает непосредственное влияние на величину прибыли и уровень рентабельности

Сметы затрат и плановые калькуляции

Себестоимость продукции (системы охранной сигнализации) отражает текущие затраты на производство всего объема продукции (работ, услуг) и каждой единицы продукции.

В первом случае составляется смета затрат на производство объема продукции, где все затраты сгруппированы по элементам. Эта классификация распределяет затраты по следующим составляющим:

·сырье и основные материалы, за вычетом отходов;

·покупные комплектующие изделия и полуфабрикаты, с учетом услуг кооперированных предприятий;

·вспомогательные материалы - они не образуют основы готового продукта, а используются для поддержания непрерывности технологических процессов;

- топливо - учитываются все виды топлива, как для производственных целей, так и для общезаводских нужд;

- энергия - учитываются все виды энергии: электрической, паровой, сжатого воздуха, гидравлической и т.д., потребляемой, как для производственных, так и для непроизводственных целей;

- заработная плата - основная и дополнительная зарплата промышленно-производственного персонала, вместе с премиями из фонда заработной платы;

- отчисления единого социального налога - см. Федеральный Закон №118-ФЗ от 05.08.00 "О введении в действие части второй налогового кодекса РФ и внесение изменений в некоторые законодательные акты РФ о налогах", а так же п. 2,6. пособия;

·амортизация основного капитала (основных фондов) - величина амортизационных отчислений, которую рассчитывают на основе первоначальной стоимости основного капитала, как производственного, так и непроизводственного назначения;

·зарплата на обеспечение работоспособности основного капитала - (основных фондов) они связаны с различными видами ремонтов и обслуживанием производственных фондов;

·прочие затраты - это затраты, которые не были включены в перечисленные выше элементы затрат, например затрату на арендную плату, командировки и т.п.

Сумма затрат по всем вышеперечисленным элементам будет отражать затраты на производство запланированного объема продукции (услуг):

ПР = 3С + 3Л1 + Зпф + Звм + Зт + Зэн + Зп + Зосн + А + Зрем + Здр, где:

пр - затраты на производство;

Зс - стоимос сырья:

Зм - стоимость основного материала за вычетом возвратных отходов;

пф ~ стоимость полуфабрикатов и комплектующих изделий;

З.вм - стоимость вспомогательных материалов; 3 ~ стоимость топлива; 3 - стоимость энергии;

Зп - заработная плата;

Зосн - затраты на отчисление единого социального налога; А - амортизация основного капитала основных фондов;

Зрем ~ затраты на ремонт и обеспечение работоспособности основного капитала (основных фондов);

Здр - прочие денежные расходы.

Во втором случае применяется плановая калькуляция, которая позволяет определить себестоимость изготовления единицы продукции или отдельных видов продукции (работ, услуг).

В качестве типовой группировки применяется следующая номенклатура статей калькуляции:

1.   Сырье и материалы, за вычетом отходов.

2.   Покупные полуфабрикаты, комплектующие изделия и услуги других предприятий.

3.   Топливо и энергия на технологические цели.

4.   Основная заработная плата производственных рабочих.

5.   Дополнительная заработная плата производственных рабочих.

6.   Отчисление единого социального налога.

7.   Расходы на подготовку и освоение производства.

8.   Расходы на содержание и эксплуатацию оборудования.

9.   Износ инструментов, приспособлений целевого назначения и прочие специальные расходы.

10.Цеховые расходы.

11.Общезаводские расходы.

12.Потери от брака (непроизводственные расходы).

13.Прочие производственные расходы.

14.Внепроизводственные расходы.

Следует учитывать, что:

·Первые шесть статей калькуляции - это прямые затраты, т.е. расходы строго целевого назначения и их включают в себестоимость единицы продукции методом прямого счета;

·Статьи 1/1 0 - это цеховая себестоимость единицы продукции;

·Статьи 1/11 - это производственная себестоимость единицы продукции;

·Статьи 1/14 - это полная себестоимость единицы продукции.

В плановую калькуляцию для потребителей продукции также включают дополнительные статьи:

15.Прибыль (по принятому нормативу рентабельности - 25%, для минимальной цены - 9%);

16.Оптовая цена;

17.Налог на. добавленную стоимость (20%);

18.Отпускная цена.

Таблица 3.1- Характеристика статей калькуляции, производства единицы продукции (охранной сигнализации)

Статьи

По составу затрат

По способу отнесения на себестоимость продукции

По объему производства продукции

п. п.


Простые

Комплексные

Прямые

Косвенные

Пропорциональные

Не пропорциональные

1

2

3

4

5

6

7

8

1

Сырье и материалы, за вычетом отходов

+


+


+


2

Покупные полуфабрикаты и комплектующие изделия

+


+


+


3

Топливо и энергия на технологические цели

+


+


+


4

Основная заработная плата производственных рабочих

+


+


+


 

5

Дополнительная заработная плата производственных рабочих

+


+


+


 

6

Отчисления единого социального налога

+


+


+


 

7

Расходы на освоение и подготовку производства


+

+


+


 

8

Расходы на эксплуатацию и содержание оборудования


+


+

+


 

9

Износ инструмента и приспособлений


+

+


+


 

10

Цеховые расходы


+


+


+

 

11

Обще заводские расходы


+

+



+

 

12

Потери от брака (непроизводственные расходы)


+

+



+

 

13

Прочие производственные расходы


+


+


+

 

14

Внепроизводственные расходы


+


+



 


В таблице 3.1 приводятся перечень статей калькуляции с разбивкой по составу затрат, по способу отнесения на себестоимость продукции и в зависимости от объема продукции.

Ценообразование. Понятия и виды цен

Рисунок 3.1- Зависимость выручки от цены товара

Цена - отражает денежное выражение стоимости. Это экономическая категория, позволяющая косвенно измерить величину затраченного на производстве товара общественно необходимого труда (или рабочего времени).

В условиях рыночных отношений цена выступает как звено между производителем и потребителем, как механизм обеспечения равновесия между спросом и предложением. Цена товара неравнозначна стоимости товара, исходя из закона спроса и предложения, повышение цен над реальной стоимостью товара является следствием возникновения дефицита данного товара на рынке. В условиях избытка данного товара на рынке производитель снижает цены, которые порой не только не обеспечивают запланированный уровень прибыли, но могут стать даже меньше себестоимости товара.

В простом варианте можно выделить три основных вида цен на промышленную продукцию:

. Оптовая цена предприятия - это цена, которая предусматривает возмещение текущих затрат и получение прибыли. На основании этой цены определяют выручку от реализации продукции. Разница между оптовой ценой и себестоимостью изделия отражает прибыль, которая определяется на единицу продукции и на годовой объем производства.

2.Оптовая цена промышленности - она формируется на основе оптовой цены предприятия и дополнительного включения в цену издержек, прибыли сбытовых организаций и налога на добавленную стоимость (НДС).

. Розничная цена - является конечной ценой, по которой продукция реализуется через розничную торговую сеть. Она представляет собой оптовую цену промышленности плюс величину издержек торговых организаций и размер плановой прибыли.

Эффективность производства

Выручка от реализации продукции (работ, услуг)

Выручка от реализации продукции - это сумма денежных средств, полученная предприятием за произведенную продукцию (работы, услуги). Это главный источник для возмещения затрат и образование доходов предприятия.

Кроме выручки от реализации продукции, предприятие может получить выручку от прочей реализации (выбывших основных фондов, материалов и т.п.).

Прибыль и её экономическое содержание

Прибыль - главная цель предпринимательской деятельности. Она является основным источником финансовых ресурсов предприятия, связанных с получением валового дохода.

Валовой доход предприятия - это выручка от реализации продукции (работ, услуг) за вычетом материальных затрат т.е. он включает в себя оплату труда и прибыль.

Таблица 3.2- Связь между себестоимостью, валовым доходом и прибылью предприятия


Связь между себестоимостью продукции, валовым доходом и прибылью предприятия приведена в табл. 3.2.

Таким образом, прибыль (убыток) от реализации продукции (работ, услуг) определяется как разница между выручкой от реализации продукции без налога на добавленную стоимость (НДС) и акцизов и затратами на производство и реализацию продукции.

На предприятии выделяются валовая и чистая прибыль:

Валовая прибыль - это разница доходов и расходов до уплаты всех налогов.

Чистая прибыль - то, что остается после уплаты из валовой прибыли установленных законом налогов.

Чистая прибыль предприятия используется на собственные хозяйственные нужды, через фонды:

·фонд развития производства;

·фонд социального развития предприятия;

·фонд материального поощрения;

·резервный фонд (страховой запас).

Рентабельность производства и продукции

Для оценки эффективности работы предприятия, наряду с прибылью предприятия, изучается показатель рентабельности. Рентабельность характеризует результативность деятельности фирмы.

Рентабельность производства - это доходность, которую рассчитывают как отношение прибыли к среднегодовой стоимости основного капитала и нормируемых оборотных средств,


где: Р - рентабельность производств. П -прибыль;

O.K. - основной капитал, О. С. - оборотные средства.

Рентабельность продукции - это отношение прибыли к себестоимости данного вида продукции.


где: Р'- рентабельность продукции; П - прибыль:

С.п. - себестоимость данного вида продукции.

Для поддержания высокой эффективности производства, рентабельности продукции и получения оптимальной прибыли, предприятию необходимо осуществлять постоянное прогнозирование и планирование своей предпринимательской деятельности на рынке. Отдел маркетинга или другие службы управления предприятием обязаны проводить постоянный мониторинг своей продукции на рынке товаров и услуг.

1. Период освоения и начала выпуска продукции;

2. Период достижения максимального объема выпуска изделия и получения прибыли;

3. Период снижения доходности и снижения объема выпуска данной продукции;

. Уход с рынка и прекращение выпуска данного вида продукции

3.2 Локальная смета

Проведен расчет отдельных статей расходов на себестоимость изготовления, материалы, оборудование, то есть на все затраты на систему сигнализации. Подробный результат расчета помещен в таблице 2 приложения.

Рисунок 3.2- Характеристика оптимальной прибыли

Таблица 3.3. Локальная смета на приобретение, монтаж и пусконаладочные работы системы охранной сигнализации

Сметная стоимость

1365,059 тыс.руб

Нормативная трудоемкость

6652,87 чел-ч

Сметная заработная плата

415,896 тыс. руб

Составлена в ценах 2008 г.


Монтажные работы

Наименование и значение множителей

Значение

Прямые

Зарплата

25358,66*4,887

4,887

123927,77

Машины и механизмы

642,64*4,099

4,099

2634,18

Материалы

5151,92*2,336*1,02

2,336

12275,58

Итого


138837,53

Накладные расходы

(25358,66+111,83)*4,887*0,8*0,94

80%

93604,66

Сметная прибыль

(25358,66+111,83)*4,887*0,6

60%

74684,57

Итого


307126,76


Электромонтажные работы

Наименование и значение множителей

Значение

Прямые

Зарплата

9704,36*4,887

4,887

47425,21

Машины и механизмы

19179,92*4,099

4,099

78618,49

Материалы

5491,7*2,336*1,02

2,336

13085,18

Итого


139128,88

Накладные расходы

(9704,36+2860,17)*4,887*0,95*0,94

95%

54832,75

Сметная прибыль

(9704,36+2860,17)*4,887*0,65

65%

39911,86

Итого


233873,49


Общестроительные работы

Наименование и значение множителей

Значение

Прямые

Зарплата

21196,87*4,887

4,887

103589,1

Машины и механизмы

19774,58*4,099

4,099

81056

Материалы

4557,57*2,336

2,336

10646,48

Итого


195291,58

Накладные расходы

(21196,87+4310)*4,887*1,1*0,94

110%

128890,24

Сметная прибыль

(21196,87+4310)*4,887*0,7

70%

87256,45

Итого


411438,27


Оборудование

Наименование и значение множителей

Значение

Прямые

Итого


46409,99

Транспортно-заготовительские расходы

0,038*46409,99

3,8%

1763,58

Итого


48173,57

Материалы, неучтенные ценником

Наименование и значение множителей

Значение

Прямые

Итого


65305,7

Коэффициент перехода в цены 2008 г.

2,336*65305,7

2,336

152554,12

Итого


152554,12


Пусконаладочные работы

Наименование и значение множителей

Значение

Прямые

Зарплата

21560,68*4,887

4,887

105367,04

Итого


105367,04

Накладные расходы

(21560,68+0)*4,887*0,65*0,94

65%

64379,26

Сметная прибыль

(21560,68+0)*4,887*0,4

40%

42146,82

Итого


211893,12


Итого

Наименование и значение множителей

Значение

Прямые

Итого


1365059,33


В смете рассчитаны затраты на:

монтажные работы 307126,76 руб.

электромонтажные работы 233873,49 руб.

общестроительные работы 411438,27 руб.

оборудование 48173,57 руб.

материалы не учтенные ценником 152554,12 руб.

пусконаладочные работы 211893,12 руб.

Итого 1365059,33 руб.

Выводы

Расчёт затрат на монтажные, электромонтажные и общестроительные работы произведен с использованием территориальных единичных расценок (ТЕР); затраты на оборудование и материалы не учтенные ценником рассчитывались исходя из цен по прайс-листам; затраты на пусконаладочные работы рассчитывались по Государственные элементные сметные нормы на пусконаладочные работы (ГЭСНп).

Установка охранной сигнализации хоть и стоит не дёшево, но она даёт вам уверенность в том что, при проникновении нарушителя на охраняемую территорию, сработает сигнализация и по сигналу, поданному на пульт вневедомственной охраны, прибудет наряд милиции. Затраты на её установку могут полностью окупится.

Заключение

В работе проанализировано состояние вопроса по актуальности совершенствования системы охранной сигнализации торгово-развлекательного комплекса (ТРК). Объекты массового посещения, к которым относятся супермаркеты, торговые центры, рестораны, концертные залы, кинотеатры, особо нуждаются в обеспечении надежной безопасности и охраны на высоком качественном уровне. В ТРК происходит скопление не только отдыхающих людей, но и посетителей с самыми различными намерениями. Как правило в таких заведениях много агрессивной и «развязной» публики, людей в сильном алкогольном опьянении. Часто через в развлекательных центрах происходи т распространение наркотиков, имеет место скопление криминальных элементов. А поэтому такие объекты относятся к категории сложных объектов. Вот почему так актуальны все проекты, связанные с разработкой систем охранной сигнализации.

В настоящей ВКР проведен обзор современных существующих систем охраны, и в особенности различных типов извещателей. Проведен анализ характеристик самого объекта - торгово-развлекательного комплекса «Ключевой». Торговый комплекс предлагает более 100 различных магазинов, супермаркет, центр бытовых услуг, офисы операторов мобильной связи и банков, фитнес-клуб, ресторанный дворик (более 4 ресторанов и кафе), зона развлечений с аттракционами и прочее. В настоящее время система охраны объекта находится в удовлетворительном состоянии. Однако в связи с наличием возможных угроз от мелких хулиганских выходок, краж материальных ценностей и пр. до террористических актов уже на сегодняшний день назрела необходимость совершенствования системы охранной сигнализации.

На основании обзора существующих систем охраны выбрана интегрированная система охраны с различными видами извещателей - оптико-электронных извещателей «Фотон СК-2» и «Фотон-Ш» и поверхностных звуковых извещателей «Стекло-3» . Для автоматизированной передачи извещений от установленных на ТРК извещателей выбрана автоматизированная система «Комета-К». Проведен анализ блок-схемы системы «Комета-К». Представлены рекомендации по оптимальному расположению извешателей.

Проведены расчеты в системе подключения извещателей: расчёт потерь в линии питания и выбор кабеля и расчет времени работы блоков питания в автономном режиме.

Проведен экономический расчет затрат на изготовление системы охранной сигнализации. При этом составлена локальная смета на приобретение, монтаж и пусконаладочные работы системы охранной сигнализации. Результаты экономического расчета позволят оценить эффективность внедрения современной системы охранной сигнализации при различных чрезвычайных ситуациях, связанных с опасностями и угрозами людям, имуществу, материальным и денежным средствам в торгово-развлекательном комплексе.

Библиографический список

1 ГОСТ Р 50775-95. Системы тревожной сигнализации. Часть 1. Общие требования. Раздел 1. Общие положения.

2 ГОСТ Р 50776-95. Системы тревожной сигнализации. Часть 1. Общие требования. Раздел 4. Руководство по проектированию, монтажу и техническому обслуживанию.

3 Андреев С. Охранная система с радиооповещением / С. Андреев // Радио-конструктор.- 2008.-№08.-С. 35-37

Виноградов Ю. Экономичный ИК канал в устройстве охранной сигнализации / Ю. Виноградов // Радиою.-2008.-№8.-С. 36-37.

5 Грищенко Н.В. Охранная сигнализация с инфракрасным датчиком / Н.В. Грищенко // Радио-конструктор.- 2007.-№04.-С. 36-37.

Иванов И.В. Охрана периметров. - М.: Радио и связь, 1997.

Петраков А.В. Защита и охрана личности, собственности, информации. -М.: Радио и связь, 1997.

Поздняков Е.Н. Защита объектов. - М.: Концерн "Банковский деловой центр", 1997. 5.

РД 78.143-92. Системы и комплексы охранной сигнализации. Элементы технической укрепленности объектов. М.: НИЦ "Охрана", 1992.

Лепешкин О.М., Копытов В.В., Жук А.П.

Комплексные средства безопасности и технические средства охранно-пожарной сигнализации. :учебное пособие.-м.: Гелиос АРВ,2009.-288с.,ил.

Сигнализация в сетях связи. Том 1: Б. С. Гольдштейн - Москва, БХВ-Петербург, 2005 г.- 448 с.

Система сигнализации №7 (SS7/ОКC7). Протоколы, структура и применение: Ли Драйберг, Джефф Хьюитт - Москва, Вильямс, 2006 г.- 752 с.

Шепелев В.В. Универсальное охранное устройство / В.В. Шепелев // Радио-конструктор.- 2009.-№03.-С. 39-40.

Похожие работы на - Разработка системы охранной сигнализации для торгово-развлекательного комплекса

 

Не нашли материал для своей работы?
Поможем написать уникальную работу
Без плагиата!
Без нейросетей!