|
№ п/п
|
Наименование
характеристики
|
Характеристика
|
Обоснование
|
|
1
|
Место
строительства
|
г. Череповец
|
по заданию
|
|
2
|
Климатический
район и подрайон
|
IIв
|
[4, рис.1]
|
|
3
|
Зона влажности
|
нормальная
|
[4, рис.2]
|
|
4
|
Температура
наружного воздуха наиболее холодной пятидневки, гр.
|
-32
|
[4, табл.1]
|
|
5
|
Продолжительность
периода с температурой наружного воздуха менее 8 гр., сут.
|
232
|
[4, табл.1]
|
|
6
|
Средняя
температура отопительного периода, гр.
|
-4,1
|
[4, табл.1]
|
|
7
|
Максимальная
глубина промерзания грунта, м
|
1,5 м.
|
[4, прил.1]
|
|
Повторяемость
ветра, %: в январе: С СВ В ЮВ Ю ЮЗ З СЗ 10 5 4 16 16 20 13 14 в июле: С СВ В
ЮВ Ю ЮЗ З СЗ 14 18 68 8 14 15 17
|
|
[4] [4]
|
1.2
Архитектурно-планировочное и объемное решение здания
Здание, выбранное мной на дипломное проектирование относится
к общественному, в плане имеет прямоугольный вид с размерами в осях 84х12м.
здание автосалон строительство монтажный
Из множества архитектурно - планировочных решений торговых
центров автосалон выполнен по линейной схеме.
Состоит из двух надземных и цокольного этажа.
В цокольном этаже, высотой 3,6м, располагаются: гараж с
шестью въездами в него, складские помещения, приемный пункт, мастерские,
комнаты персонала и санузлы.
Первый этаж отведен под двухсветный торговый зал площадью 827
м2 и сервиса шиномонтажа. Его высота 4,2м.
На втором этаже, высотой 3м, предусмотрены кабинеты
директора, бухгалтеров, менеджеров, приемная, конференц - зал, магазин
автозапчастей и аксессуаров, комнаты отдыха и санузлы.
За счет перепада высот 2,6м главный вход и два въезда в
торговый зал (первый этаж) расположены с главного фасада со сторона
Кирилловского шоссе а въезды в гараж и вход в приемный пункт (цокольный этаж) -
с дворового фасада.
Толщина наружных стен 640мм, диафрагм жесткости 140мм,
перегородок 120 мм, толщина перекрытия 220мм.
Наружные стены самонесущие, трехслойные с утеплением
эффективным утеплителем "URSA". Наружная верста, толщиной в пол кирпича,
выполняется из лицевого керамического кирпича с расшивкой швов. Наружная и
внутренняя верста соединяются при помощи гибких связей Æ5 ВрI с шагом 450 мм по высоте
и 500 мм по ширине стены здания. На гибкие связи в процессе возведения наружной
стены здания накалывается утеплитель.
Класс здания-2; степень долговечности-2; степень
огнестойкости-2; минимальный предел огнестойкости: несущих элементов R90; наружных несущих стен
RE15.
Класс по конструктивной пожароопасности - С1.
Класс пожароопасности строительных конструкций: наружных стен
с внешней стороны К2; стены, перегородки; стены лестничных клеток и
противопожарные преграды К0; марши и площадки лестниц К0.
Класс здания по функциональной пожароопасности Ф52. Класс
фундаментов по морозостойкости F25.
Таблица 1.2 - Экспликация помещений
1.3
Обоснование конструктивного решения здания
Конструктивная схема здания - рамная.
Пространственная жесткость и устойчивость каркаса здания
обеспечивается совместной работой рам, системой вертикальных и горизонтальных
связей. Вертикальные связи, обеспечивающие общую устойчивость, устанавливаются
в центре блока и в крайних пролетах. Для обеспечения жесткости и у устойчивости
ригеля рамы используется система горизонтальных связей по верхнему поясу и
система вертикальных связей, предотвращающая закручивание элементов ригеля [8].
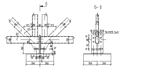
Рисунок 1.1 - Узел сопряжения поперечного ригеля с колонной и
сечение ригеля
Пространственная жесткость здания обеспечивается тремя
железобетонными диафрагмами жесткости и жестким диском перекрытий.
В данном дипломном проекте разработан ленточный фундамент под
наружные несущие стены и диафрагмы жесткости и фундамент стаканного типа под
колонны. Армирование лент фундаментов производится сетками.
Таблица 1.3 - Спецификация элементов фундаментов
Покрытие по металлическим фермам прогонного типа. Фермы
запроектированы из ЗГСП, прогоны из гнутых швеллеров N 180. По швеллерам укладываются кровельные "сэндвич"
панели толщиной 150 мм.
Мероприятия по снижению уровня шума - применение оконных блоков с
тройным остеклением.
Окна салона запроектированы пластиковыми с тройным остеклением.
Площадь окон назначена исходя из нормативных требований естественной
освещенности и стандартов. Наружные двери и ворота приняты металлическими,
внутренние деревянные глухие. Двери на путях эвакуации открываются наружу.
Конструкция дверей внутри здания принята так, чтобы они не мешали передвижению.
Ведомость проемов и спецификация элементов заполнения проемов представлены в
спецификации.
Таблица 1.4 - Ведомость заполнения проемов
Таблица 1.5 - Ведомость перемычек
За отметку ±0.000 принимается уровень
чистого пола первого этажа.
Полы: тип покрытия пола следует назначать в зависимости от
вида помещения (экспликация помещений представлена выше).
Полы - это конструкции, постоянно подвергающиеся механическим
воздействиям. Конструкция пола состоит из ряда последовательно лежащих слоев.
Покрытием пола (чистым) называется верхний слой пола, непосредственно
подвергающегося износу и другим эксплуатационным воздействиям. Покрытия полов
подразделяются на пола из штучных материалов (досок, паркета, линолеума и др.)
и сплошные (бетонные, асфальтовые и др.). Наименование пола устанавливают по
наименованию его покрытия. Прослойка - промежуточный соединительный (клеевой)
слой, связывающий покрытие с нижележащим элементом пола (стяжкой) или
перекрытием или же служащей для перекрытия упругой постелью. Стяжка - слой,
служащий для выравнивания поверхности подстилающего слоя или основания и
придания покрытию требуемого уклона. Кроме того, стяжку применяют для
устройства жесткой или плотной корки по нежесткому или пористому тепло - или
звукоизоляционному слою. Стяжка по сплошному тепло - или звукоизоляционному
слою перекрытие допускается при сосредоточенных нагрузках на пол не более 0,2
кН. Материалом для стяжки служат цементно-песчаный раствор, бетон, легкий
бетон, асфальт, древесно-волокнистые плиты. Основанием для пола являются
перекрытия или слой грунта (в полах для грунта), воспринимающие все нагрузки,
действующие на пол. Подстилающий слой (подготовка) применяется для
распределения нагрузки на основание.
Полы запроектированы в соответствии со СНИП 2.03.13-88. В
данном проекте полы приняты бетонные, в санузле, душевой и тамбурах -
керамическая плитка [22].
1.4
Генеральный план объекта
Формирование благоприятной среды жизнедеятельности является
основной целью градостроительной политики, осуществляемых в пределах жилых
территорий органами государственной власти РФ, отдельных субъектов РФ и
органами местного самоуправления [43].
Наряду с градостроительными, архитектурными, техническими
аспектами важное значение для формирования высоких архитектурно-художественных,
функционально-планировочных, социально-бытовых, санитарно-гигиенических и
экологических качеств городских территорий в целом имеет благоустройство
территорий. Не может считаться, что работать в здании комфортно, если окружение
здания не благоустроено.
Вопросы комплексного благоустройства решаются на всех стадиях
градостроительного и архитектурно-строительного проектирования и реализуются в
полном соответствии с разработанными проектами. Основные идеи комплексного
благоустройства определяются проектами детальной планировки территорий, а
конкретные решения, объемы, стоимости - в проектах застройки отдельных
комплексов.
Благоустройство территорий является комплексной,
многоаспектной задачей. Понятие "благоустройство" включает комплекс
мероприятий:
по инженерному благоустройству (инженерной подготовке и
инженерному, искусственному освещению);
по социально-бытовому благоустройству (совершенствованию системы
социально-бытового обслуживания населения);
по внешнему благоустройству (озеленению, организации движения
транспорта и пешеходов, оснащению территории малыми архитектурными формами и
элементами освещения).
по экологическому благоустройству (улучшение санитарно-гигиенических
условий, мероприятия по борьбе с шумом и загазованностью, озеленение городской
среды) [43].
Строящееся здание автосалона расположено по Кирилловскому
шоссе в городе Череповце.
Участок, отведенный под автосалон, располагается в экологически
безопасной зоне, а именно на сухом возвышенном месте с соблюдением
установленных санитарно-защитных зон от промышленных предприятий, а также
свалок и других накоплений органических отбросов.
Фактический размер земельного участка 8100м2 (135
х 60 м2). Имеется перепад высот 2,6 м.
На участке здания предусмотрены открытые охраняемые стоянки
для легковых автомобилей. Подъезды и подходы к зданию асфальтированы.
С целью охраны почвы от загрязнения ТБО, для сбора и
временного хранения отбросов и мусора на территории предприятия на
асфальтированной площадке устанавливаются водонепроницаемые контейнеры на
расстоянии не менее 25 м от здания. Площадка превышает площадь мусоросборника
на 1,5 м со всех сторон. Количество мусоросборников - 3 шт.
Покрытие проездов, автостоянок и пешеходных дорожек должны
обеспечивать отвод поверхностных вод, должны быть прочными и долговечными,
устойчивыми к атмосферным воздействиям и нагрузкам, удобными в эксплуатации, не
должны быть источниками грязи и пыли в сухую погоду.
Наиболее эффективными являются покрытия из штучных элементов.
Эти покрытия дают возможность, использовать плиты, приготовленные
индустриальным способом, быстро вводить покрытия в эксплуатацию, выполнять
работу по устройству покрытий в течение всего года, изготовлять плиты
разнообразную по форме цвету и фактуре [43].
Основания дорожек и площадок может быть различных типов:
щебеночное или гравийное, песчаное. Для устройства основания любого вида в
грунте должно быть сделано корыто по ширине дорожки. Глубина его зависит от
толщины конструкции: дорожки или площадки. Дно корыта перед укладкой основания
должно быть тщательно уплотнено катками или трамбовками. Распределение щебня
или гравия должно производится только от высших отметок к низшим. Щебень и
гравий в слое следует уплотнять за три раза.
При устройстве щебеночных гравийных или шлаковых оснований и
покрытий должны проверятся: качество материалов; планировка поверхности
земляного полотна; толщина слоя основания или покрытия из расчета один промер
на 2000м2, Но не менее 5 промеров на любой площади; степень уплотнения.
Асфальтобетонные покрытия допускается укладывать только в
сухую погоду. Основания под асфальтобетонные покрытия должны быть очищенными от
грязи и сухими.
В конструкцию дорожек и площадок иногда входит бортовой
камень, который ограничивает их от газона. Применяются бетонные и керамические
бортовые камни. Швы между отдельными бортовыми камнями заполняют цементным
раствором.
Бортовые камни следует устанавливать на грунтовом основании,
уплотненном до плотности при коэффициенте не менее 0,98, или на бетонном
основании с присыпкой грунтом с наружной стороны или укреплением бетоном. Борт
должен повторять проектный профиль покрытия. Уступы в стыках бортовых камней в
плане и профиле не допускаются. Швы между камнями должны быть не более и10 м.
Раствор для заполнения швов должен приготовляться на
портландцементе марки не ниже 400 и иметь подвижность, соответствующую 5-6 см
погружения стандартного конуса.
Отмостки по периметру зданий должны плотно примыкать к цоколю
здания. Уклон отмосток должен быть не менее 1% и не более 10%.
Наружная кромка отмосток в пределах прямолинейных участков не
должна иметь искривлений по горизонтали и вертикали более 10.
Для оптимизации параметров окружающей среды произведено
озеленение территории, прилегающей к зданию. Зеленые насаждения регулируют
температурно-влажностный режим, скорость движения воздуха, снижают уровень
шума, в теплое время года защищают от излишней инсоляции зоны отдыха, очищают
воздух от пыли и газа. Наряду с выразительностью застройки природные условия
оказывают важное влияние на общее эстетическое восприятие. Озеленение помогает
подчеркнуть архитектурные конструкции, используется в качестве живой изгороди,
разделительных полос.
Основными видами зеленых насаждений, используемыми в пределах
данной территории, являются деревья и кустарники.
Расстояние между кустарниками при посадке живой изгороди
предусмотрено в пределах 0,7-1,0м в ряду.
Живые изгороди нуждаются в регулярной формировочной стрижке
или систематической обрезке, являющейся непременной частью процесса ухода за
растениями [43].
1.5 Охрана
окружающей среды
Охрана окружающей среды на стройплощадке в основном сводится
к снятию растительного слоя с дальнейшим его использованием при
благоустройстве. Срезанный растительный слой вновь укладывается или заменяется
черноземом, торфом или их смесями [41].
При организации строительного производства необходимо
проводить специальные работы по охране окружающей среды: по предотвращению
загрязнения воздуха, воды и почвы, сохранению древесно-кустарниковой
растительности, обеспечению рекультивации земель.
На стоянке автотранспорта и строительных машин должен быть
полностью привозной грунт. На этой площадке разрешена стоянка и слив масел и
нефтепродуктов. После производства работ этот грунт вывозится и заменяется
новым.
При строительстве здания необходимо руководствоваться
следующими положениями:
не допускается сжигание на строительной площадке отходов и
остатков материалов, в частности рулонных на битумной основе, изоляционных материалов,
красителей, автопокрышек и т.д., интенсивно загрязняющих воздух;
сбрасывать с этажей здания отходы и мусор можно только с
применением закрытых лотков и бункеров-накопителей;
все производственные и бытовые стоки, образующиеся на
строительной площадке, должны быть очищены и обезврежены.
Временные дороги устраиваются с учетом предотвращения
повреждения древесно-кустарниковой растительности. Неиспользуемые отходы
производства и строительный мусор складируют и вывозят в места специально для
этого отведенные.
В подготовительный период проектом предусматривается снятие
плодородного слоя почвы с территории строительной площадки и складирование его
в отвалы в соответствии с требованиями ГОСТ 17.5.3.06-85 "Охрана природы
Земли". Глубина снятия плодородного слоя почвы принимается равной 30см.
Снятый почвенный слой земли используется при благоустройстве территории, а
оставшаяся часть плодородной земли передается для озеленения городских объектов
[41].
Засыпка ям и канав осуществляется неплодородным глинистым
грунтом. Запрещается засыпка ям, канав и низин строительным мусором.
Озеленение территории производится в следующих целях:
санитарно-гигиенической защиты жителей близлежащий районов и
пешеходов от пыли и шума, загрязнения воздуха выхлопными газами;
улучшения влажностно - температурного состояния воздуха;
архитектурно-декоративного оформления.
1.6
Инженерные коммуникации
Проектируемое здание оборудовано современными
санитарно-техническими и инженерными системами. Здания включает в себя систему
отопления, трубопроводы холодной и горячей воды, канализационные устройства. В
здание оборудованы электрические и телефонные сети. Предусмотрено подключение
данных инженерно-технических систем к близлежащим сетям городского
водоснабжения, газоснабжения, энергоснабжения.
Вентиляция
Вентиляция помещений обеспечивает обмен воздуха и необходимые
параметры воздушной среды и микроклимата по температуре и влажности путем
удаления из помещений избытков влаги и теплоты. В здании предусмотрена
естественная организованная вентиляция, осуществляемая путём подачи и удаления
воздуха по специальным вентиляционным каналам, либо путём открывания форточек и
окон. Для теплоснабжения здания приняты трубы стальные электросварные диаметром
89*3,0 мм по ГОСТ 10704-91 с изоляцией скорлупами из пенополиуретана с
покровным слоем из стеклопластика рулонного РСТ по ТУ 2296-014-00204961-99
[15].
Трубопроводы теплосети прокладываются в непроходном ж/б
канале марки КЛ.
В тепловом узле предусмотрен учет тепловой энергии счетчиком
КМ 5-2.
Ввод теплосети в здание предусмотрен герметичным согласно
серии 5.905-26.01.
Теплоноситель в системах отопления - вода с параметрами
95-700С.
Система отопления однотрубная, тупиковая с нижней разводкой с
П - образными стояками из стальных труб.
Нагревательные приборы - чугунные радиаторы МС-140 [15].
Водоотведение
Отвод хозяйственно-бытовых стоков предусмотрен в городскую
сеть канализации. Все санприборы подключаются к канализации через сифоны. Сеть
бытовой канализации вентилируется через стояки, вытяжная часть которых выводится
через кровлю или сборную вентиляционную шахту. Проектируемая канализационная
сеть прокладывается из чугунных канализационных труб диаметром 50-100 мм по
ГОСТ 6942-98. Отвод сточных вод предусмотрен по закрытым самотечным
трубопроводам [15].
Электроснабжение
Источником электроэнергии являются городские сети. В здании
предусмотрены электроосвещение, силовое электрооборудование, телефонизация,
звонковая сигнализация [13].
Пожаротушение осуществляется от двух наружных существующих
пожарных гидрантов.
1.7 Технико-экономические
показатели проекта
Степень долговечности здания - I (100 и более лет)
Общая площадь - 2148,52 м2
Полезная площадь - 2038,71 м2
Площадь застройки - 1084,93 м2
Строительный объём здания - 11825,74 м3
1.8 Теплотехнический расчет ограждающих
конструкций
Теплотехнический расчет покрытия
Теплотехнический
расчет производится в соответствии [3]
Условия эксплуатации Б.
Принимаю утеплитель URSA M25 180мм c
теплопроводностью 0,05 Вт/м·0С
Теплотехнический
расчет наружной стены
Принимаю утеплитель URSA M25 110мм c
теплопроводностью 0,05 Вт/м·0С
2.
Расчетно-конструктивный раздел
2.1 Расчет
прогона из гнутого профиля
Таблица 2.1-Сбор нагрузок на прогон, Н/м2
|
Вид нагрузки
|
qn
|
gf
|
q
|
|
Постоянная:
оцинкованная сталь настил 25х150 с шагом 250мм утеплитель URSA M25 180 мм
профнастил С44-1000-0,7 прогоны (предварительно)
|
62,84 75 72 74
80
|
1,05 1,1 1,2
1,05 1,05
|
65,94 82,5
86,4 77,7 84
|
|
Итого:
|
363,8
|
|
396,5
|
|
Временная
(снеговая)
|
1680
|
|
2400
|
|
Всего:
|
2043,8
|
|
2796,5
|
Риcунок 2.1 - Расчетная схема прогона
где q - расчетная нагрузка на прогон
l - пролет прогона
Rу - расчетное сопротивление стали растяжению,
сжатию и изгибу по
пределу текучести
γс - коэффициент условий
работы
γn - коэффициент надежности
по назначению
Назначаем по ГОСТ 8278-83* швеллер N180 h=180мм, b=80мм, t=5мм,
w=87,21см3, J=784,86см3, g=12,44кг/мп, сталь С235
Относительный прогиб:
-
условие выполняется.
2.2 Расчет
трубчатой стропильной фермы
2.2.1 Сбор
нагрузок на ферму
Таблица 2.2 - Сбор нагрузок на ферму, Н/м2
|
Вид нагрузки
|
qn
|
gf
|
q
|
|
Постоянная:
оцинкованная сталь настил 25х150 с шагом 250 утеплитель URSA M25 180 мм
профнастил С44-1000-0,7 прогоны швеллер N18 ферма (предварительно)
|
62,8 75 72 74
80 61
|
1,05 1,1 1,2
1,05 1,05 1,05
|
65,94 82,5
86,4 77,7 84 64,1
|
|
Итого:
|
425
|
|
464
|
|
Временная
(снеговая)
|
1680
|
|
2400
|
|
Всего:
|
2105
|
|
2864
|
Рисунок 2.2 - Распределение нагрузок на ферму
Рисунок 2.3 - Расчетная схема фермы
Сосредоточенные силы для постоянной нагрузки:
G1=2784·1,409/2=1961,33 Н
G2=2784· (1,409+1,486) /2=4029,84 Н
G3=2784· (1,486+1,539) /2=4210,8 Н
G4=2784· (1,539+1,566) /2=4322,16 Н
G5=2784·1,566/2=2179,9 Н
Сосредоточенные силы для снеговой нагрузки 1 вариант:
P1=1900/2·1,409/2=669,01 Н
P2=3550,1· (1,409+1,486) /2=5144,1 Н
P3=6232,6· (1,486+1,539) /2=9426,8 Н
P4=7901,2· (1,539+1,566) /2=12266,6 Н
P5=8467,2·1,566/2=6629,8 Н
Сосредоточенные силы для снеговой нагрузки 2 вариант:
P1=21769·1,409/2=15336,3 Н
P2=17696,9· (1,409+1,486) /2=25616,3 Н
P3=11967,3· (1,486+1,539) /2=18100,5 Н
P4=6034,8· (1,539+1,566) /2=9367,8 Н
P5=6034,8/2·1,566/2=2362,6 Н
ИСХОДНЫЕ ДАННЫЕ
Статически определимая ферма.
Количество узлов - 7
Количество стержней - 11
Количество опорных стержней - 3
Координаты узлов:
N узла 1 2 3 4 5 6
X 0.000 1.409 2.895 4.434 6.000 6.000
Y 0.000 0.691 1.193 1.497 1.600 0.000
N узла 7
X 2.895
Y 0.000
Опорные стержни:
Оп. стержень N 1: вертикальный, к узлу N 1
Оп. стержень N 2: горизонтальный, к узлу N 1
Оп. стержень N 3: вертикальный, к узлу N 6
Нагрузка:
Загружение N 1
Нагрузка приложена к 5 узлам.
N узла 1 2 3 4 5
Fx 0.000 0.000 0.000 0.000 0.000
Fy - 1961.330 - 4029.840 - 4210.800 - 4322.160 -
2179.900
Загружение N 2
Нагрузка приложена к 5 узлам.
N узла 1 2 3 4 5
Fx 0.000 0.000 0.000 0.000 0.000
Fy - 669.010 - 5144.100 - 9426.800 % -12266.600 -
6629.800
Загружение N 3
Нагрузка приложена к 5 узлам.
N узла 1 2 3 4 5
Fx 0.000 0.000 0.000 0.000 0.000
Fy % -15336.300 % -25616.301 % -18100.500 -
9367.800 - 2362.600
РЕЗУЛЬТАТЫ РАСЧЕТА ФЕРМЫ
ЗАГРУЖЕНИЕ 1 2 3
СТЕРЖЕНЬ ДЛИНА УСИЛИЕ УСИЛИЕ УСИЛИЕ
1 2 1.569 14513.75 227289.447
71340.984
2 3 1.569 11070.708 24014.465
46780.922
3 4 1.569 10691.056 23190.928
45176.645
4 5 1.569 0.000
0.000 0.001
5 6 1.600 2179.900
6629.800 2362.600
6 7 3.105 6456.615
15504.607 22670.762
7 8 2.895 13031.052
24501.604 64052.914
2 7 1.639 2804.117
1930.269 21761.730
3 7 1.193 2739.396
6235.046 11882.865
4 7 2.147 5624.532
10109.518 30202.135
4 6 2.166 8932.136
21449.205 31362.924
ОПОРНЫЕ РЕАКЦИИ
.002 12685.055 46749.047
.169 26431.873 85814.641
.028 21451.256 24034.459
Расчет усилий в стержнях фермы выполнен в программе FERMA, методом вырезания
узлов.
2.2.2 Подбор
сечений поясов фермы
Подбор сечений верхнего пояса:
Принимаем гнутосварные профили из стали С235.
где N - усилие в стержне
φ - коэффициент продольного изгиба
λ - гибкость
подбираем 100х50х4 А=10.70 см2 ix=3.45cм iy=2.01cм
проверяем устойчивость:
проверяем гибкость стенки:
следовательно в расчетах учитывается все сечение профиля.
Подбор сечений нижнего пояса:
Принимаем гнутосварные профили из стали С235.
подбираем 80х40х2.5 А=5,48 см2 ix=2.81cм
проверяем устойчивость:

Из конструктивных требований увеличиваем сечения нижнего пояса до
- 100х50х4
Таблица 2.3 - Расчет элементов фермы
Элементы фермы Стержень Расчетное
усилие кН Сечение ГСП А, см ix/iy lx/ly lx/ly j gc
s,
МПаRy×gc,
|
МПа
|
|
|
|
Верхний пояс
|
1-2 2-3 3-4 4-5
|
-85,85 57,85
55,86 0
|
100х50х4 100х50х4 100х50х4 100х50х4
|
10.70 10.70
10.70 10.70
|
3,45/2,01
3,45/2,01 3,45/2,01 3,45/2,01
|
157/157 157/157
157/157 157/157
|
46/78 46/78
46/78 46/78
|
0.72 0.72 0.72
0.72
|
0.9 0.9 0.9 0.9
|
111.4 75.1 72.5
0
|
207 207 207 207
|
|
Нижний пояс
|
1-7 7-6
|
77,08 29,13
|
100х50х4 100х50х4
|
10.70 10.70
|
3,45/2,01
3,45/2,01
|
300/600 300/600
|
-
|
-
|
0.9 0.9
|
72.03 27.2
|
207 207
|
|
Раскосы
|
2-7 4-7 4-6
|
-24,66 35,82
40,29
|
80х40х2.5 80х40х2.5 80х40х2.5
|
5.48 5.48 5.48
|
2.81/1.64
2.81/1.64 2.81/1.64
|
148/164 193/215
218/218
|
52.7/100
68.7/131 77.6/133
|
0.57 0.36
|
0.9 0.9 0.9
|
78.95 65.36
204.2
|
207 207 207
|
|
Стойки
|
3-7 5-6
|
-14,62 8,809
|
80х40х2.5 80х40х2.5
|
5.48 5.48
|
2.81/1.64
2.81/1.64
|
107/107 160/160
|
38/65.2 57/97.6
|
0.79 0.55
|
0.9 0.9
|
33.8 29.2
|
207 207
|
Вес фермы:
·1,57·8,44+6·8,44+ (1,639+0,691+2,148+2,167+1,6)
4,31=139,17кг
2.2.3 Расчет
узлов фермы
Принимаем стыковые швы, выполненные при наличии установочного
зазора равного 1мм, с полным проплавлением стенки профиля, предусмотрен
физический контроль качества шва.
Рисунок 2.4 - Схема узла 4
·с=20 мм
с=10 мм
Для сжатого раскоса 4-6:


где P0 - несущая способность при продавливании
tf, bf, f1 -
геометрические характеристики сечения
s - размер опирания раскоса на пояс
Для растянутого раскоса 4-7:


где P′ - проекция усилий в примыкающих
элементах к поясу, перпендикулярная к его оси
Nf - усилие в элементе пояса
σf - напряжение в элементе пояса
проверка на продавливание
проверка на вырывание P`/P0<1.15
прочность внутри грани пояса обеспечена.
Проверка местной устойчивости боковой грани пояса под сжатым раскосом:
Провера боковой грани сжатого раскоса
где td, bd, td - геометрические характеристики сечения
раскоса
ξ - коэффициент учитывающий возникшую
неравномерность напряжений в зоне примыкания
Проверка прочности сварных швов
где lw - длина шва
Rwy - расчетное сопротивление стыковых сварных швов
сжатию,
растяжению и изгибу по пределу текучести
Рисунок 2.5 - Схема узла 2


проверка на продавливание
проверка на вырывание P`/P0<1.15
прочность внутри грани пояса обеспечена.
Проверка местной устойчивости боковой грани пояса под сжатым
раскосом:
Проверка боковой грани сжатого раскоса
Проверка прочности сварных швов
Рисунок 2.6 - Схема узла 3


проверка на продавливание
проверка на вырывание P`/P0<1.15
прочность внутри грани пояса обеспечена.
Проверка местной устойчивости боковой грани пояса под сжатым
раскосом:
Проверка боковой грани сжатого раскоса
Проверка прочности сварных швов
Рисунок 2.7 - Схема узла 7
Проверка прочности нижнего пояса с учетом момента возникающего от
расцентровки узлов:
2·с=10 мм
с=5 мм
Для сжатого раскоса 4-6:


Для растянутого раскоса 4-7:


проверка на продавливание
проверка на вырывание P`/P0<1.15
прочность внутри грани пояса обеспечена.
Проверка местной устойчивости боковой грани пояса под сжатым
раскосом:
Проверка боковой грани сжатого раскоса
Проверка прочности сварных швов
Рисунок 2.8 - Схема узла 1


проверка на продавливание
проверка на вырывание P`/P0<1.15
прочность внутри грани пояса обеспечена.
Напряжение смятия в опорной плите
Проверка сварных швов от реакции в опорном ребре:
Проверка прочности сварных швов
Рисунок 2.9 - Схема узла 6
Проверка прочности нижнего пояса с учетом момента возникающего от
расцентровки узлов:
2·с=10 мм
с=5 мм
Для сжатого раскоса 4-6:


Для стойки 5-6:


проверка на продавливание
проверка на вырывание P`/P0<1.15
прочность внутри грани пояса обеспечена.
Проверка местной устойчивости боковой грани пояса под сжатым
раскосом:
Проверка боковой грани сжатого раскоса
Проверка прочности сварных швов
Напряжение смятия в опорной плите
Определяем количество болтов из условия на срез
по конструктивным требованиям принимаем 4 болта d 16мм класса 4,8
3.
Технологический раздел
3.1 Область
применения
Данная технологическая карта разработана на устройство
покрытия прогонного типа по металлическим фермам. Кровля выполнена из
оцинкованной стали, по разреженному настилу. Уклон кровли 150. Фермы
покрытия и рамы козырьков запроектированы из ЗГСП, установлены с шагом 6м.
Прогоны по фермам приняты из гнутых швеллеров с шагом 1,57м, а по козырьку из
ЗГСП с шагом 1,25м. Связи - крестовые из ЗГСП 50х50 по торцам здания.
В состав карты входят следующие работы:
·
выгрузка ферм покрытия;
·
выгрузка рам козырьков;
·
выгрузка прогонов и связей;
·
установка ферм;
·
установка рам козырьков
·
установка связей и прогонов;
·
укладка стеновых панелей;
·
покрытие
кровли, установка водосточных труб;
·
подшивка карнизов.
Работы выполняются в летний период в одну смену. При привязке
карты к конкретному объекту, уточняются объемы работ, калькуляция и средства
механизации по наличию механизированного парка строительной организации.
3.2
Организация и технология процесса
До начала работ должны быть выполнены следующие работы:
·
Завоз
и складирование в зону работ необходимых материалов и оборудования для
безопасного производства работ;
·
Возведена коробка здания;
·
Подготовлен
кран, с помощью которого осуществляется монтаж и подъем необходимых материалов
и инструментов для кровельных работ.
Кровельные работы должны выполняться в точном соответствии с
рабочими чертежами, в которых указываются конструкции, уклоны, примыкания, виды
и марки кровельных материалов, проектом производства работ и технологическими
картами, а также с соблюдением требований [8].
Для изготовления водоотводных труб должна применяться
листовая оцинкованная сталь, покрытия карнизов, коньков, ребер скатов
выполняются из металлочерепицы с защитным покрытием. Крепежные детали,
кляммеры, кнопки, самонарезающие винты и т.д. должны применяться только
оцинкованные. Не допускается использовать листовую неоцинкованную сталь.
Таблица 3.1 - Ведомость объемов работ
|
N п/п
|
Наименование
элементов
|
Ед. измер.
|
Объем
|
Эскиз или
формула для подсчета
|
Масса, кг
|
|
1
|
2
|
3
|
4
|
5
|
6
|
|
1
|
Ферма ФС-1
|
шт
|
28
|
162,8
|
|
|
2
|
Рама карниза
|
шт.
|
54
|
 141,76
|
|
|
3
|
Прогоны
(швеллер N 18 L=6м)
|
шт
|
130
|
|
74,67
|
|
4
|
Прогоны
(швеллер N 18 L=3м)
|
шт
|
20
|
|
37,33
|
|
5
|
Прогоны (ЗГСП
100х80х4 L=6м)
|
шт
|
108
|
|
72
|
|
6
|
Связи по нижним
поясам ферм
|
шт
|
32
|
крестовые из
ЗГСП50х50
|
462,3
|
|
7
|
Связи по
верхним поясам ферм
|
шт
|
24
|
крестовые из
ЗГСП50х50
|
363,3
|
|
8
|
Сварка
монтажных стыков: Ферм Рам козырьков Прогонов Связей
|
10 м
|
3,3 4,5 13 1,6
|
L=
(0.17+0.29+0.13) ∙2∙28=33м L= (0.18∙4+0.12) ∙54=45м
L=0.6∙2∙108=130м L=0.05∙4∙ (48+32) =16м
|
|
|
9
|
Устройство
пароизоляции
|
100 м2
|
13,33
|
|
|
|
10
|
Устройство
гидроизоляции
|
100 м2
|
13,33
|
|
|
|
11
|
Утеплитель
|
1 м3
|
195.7
|
V=12.82∙84.8∙0.18=195.7
|
|
|
12
|
Оцинкованная
сталь
|
100 м2
|
13,33
|
|
|
|
13
|
Навеска
водосточных труб
|
1 м трубы
|
64
|
8м∙8
|
|
3.3
Определение трудоемкости и продолжительности монтажных работ
Таблица 3.2 - Калькуляция трудозатрат и заработной платы
|
Наименование
работ
|
Еди-ницы
измерения
|
Объем работ
|
Обоснование по
ЕниР
|
Состав звена
|
Норма времени
на ед. измр.
|
Расценка на ед.
измер.
|
Итого
|
|
|
|
|
|
|
|
Трудоемкость
|
Стои-мость
монта-жа,руб
|
|
1
|
2
|
3
|
4
|
5
|
6
|
7
|
8
|
9
|
|
1. Выгрузка
колонн массой до 4т
|
100т
|
3,73
|
Е1-5 табл.2
6-а, б.
|
МК6-1 М2-2
|
2,3 4,6
|
2-44 2-94
|
8,58 17,16
|
9-10 10-97
|
|
до 6т
|
100т
|
1,98
|
Е1-5 табл.2
8-а, б.
|
МК6-1 М2-2
|
1,9 3,8
|
2-01 2-43
|
3,76 7,53
|
3-98 4-81
|
|
2. Установка
колонн массой до 4т
|
1 эл
|
108
|
Е4-1-4 табл.2
4-в, г.
|
М5-1 М4-1 М3-2
М2-1 МК6-1
|
0,86 0,86 1,72
0,86 0,86
|
3-22 0-91,2
|
92,88 92,88
185,76 92,88 92,88
|
347-76 98-50
|
|
до 6т
|
1 эл
|
36
|
Е4-1-4 табл.2
5-в, г.
|
М5-1 М4-1 М3-2
М2-1 МК6-1
|
1,1 1,1 2,2 1,1
1,1
|
4-11 1-17
|
39,6 39,6 79,2
39,6 39,6
|
147-96 42-12
|
|
3. Заделка
стыков колонн с фунда- ментом.
|
1 эл
|
144
|
Е4-1-25 табл.1
стр.1
|
М4-1 М3-1.
|
0,405 0,405
|
0-60,3
|
58,32 58,32
|
86-83
|
|
4. Выгрузка
подкрановых балок массой до 5 т
|
100т
|
1,33
|
Е1-5 табл.2
п.7, а-б
|
МК6-1 М2-2
|
2,1 4,2
|
2-23 2-69
|
2,793 4,586
|
|
5. Установка
подкрано-вых балок массой до 5 т
|
1 эл
|
32
|
Е4-1-6 табл.3
п.3, в-г
|
М5-1 М4-1 М3-2
М2-1 МК6-1
|
1,3 1,3 2,6 1,3
1,3
|
4-86 1-38
|
41,6 41,6 83,2
41,6 41,6
|
155-52 44-16
|
|
6. Выгрузка
ферм массой до 8 т
|
100т
|
1,40
|
Е1-5 табл.2
п.10, а-б
|
МК6-1 М2-2
|
1,7 3,4
|
1-80 2-18
|
2,38 4,76
|
2-52 3-05
|
|
7. Установка
полуферм ФС-1
|
1 эл
|
28
|
Е4-1-6 табл.4
п.3, а-б
|
М6-1 М5-1 М4-1
М3-1 М2-1 МК6-1
|
1,6 1,6 1,6 1,6
1,6 1,6
|
6-56 1-70
|
44,8 44,8 44,8
44,8 44,8 44,8
|
118-08 30-60
|
|
8. Выгрузка
плит покрытий массой до 6 т
|
100т
|
31,0
|
Е1-5 табл.2
8-а, б.
|
МК6-1 М2-2
|
1,9 3,8
|
2-01 2-43
|
58,9 117,8
|
62-31 75-33
|
|
9. Укладка плит
покрытий
|
1эл
|
608
|
Е4-1-7 п.5, а-б
|
М4-1 М3-2 М2-1
МК6-1
|
0,275 0,55
0,275 0,28
|
0-77,8 0-29,2
|
167,2 334,4
167,2 170,24
|
473-02 177-54
|
|
10. Заливка
швов плит покрытий
|
100м
|
56,94
|
Е4-1-26 п.3, б
|
М4-1 М3-1
|
3, 20 3, 20
|
4-77
|
182,21 182,21
|
271-60
|
|
11. Монтаж
связей по колоннам
|
1 эл
|
8
|
Е5-1-6 табл.2
1,3-г. ПР-1
|
М5-1 М4-1 М3-1
МК6-1
|
0,96 0,315
|
0-76,8 0-33,5
|
7,68 2,52
|
6-14,4 2-68
|
|
1 т
|
10,33
|
Е5-1-6 табл.2
2,4-г. ПР-1
|
М5-1 М4-1 М3-1
МК6-1
|
0,525 0,18
|
0-47 0-21,3
|
5,42 1,85
|
4-86 19-11
|
|
по фермам
|
1 эл
|
36
|
Е5-1-6 табл.2
1,3-г. ПР-1
|
М5-1 М4-1 М3-1
МК6-1
|
1,08 0,35
|
0-68 0-335
|
38,88 12,6
|
24-48 12-06
|
|
1 т
|
11,21
|
Е5-1-6 табл.2
2,4-г. ПР-1
|
М5-1 М4-1 М3-1
МК6-1
|
0,525 0,225
|
0-42 0-19
|
5,89 2,52
|
4-71 2-13
|
|
13. Монтаж
стоек фахверка
|
1 эл
|
16
|
Е5-1-6 табл.2
1,3-з. ПР-1
|
М5-1 М4-1 М3-1
МК6-1
|
1,44 0,48
|
1-15,2 0-50,9
|
23,04 7,68
|
18-43 8-14
|
|
1 т
|
6,0
|
Е5-1-6 табл.2
2,4-з. ПР-1
|
М5-1 М4-1 М3-1
МК6-1
|
3,75 1,25
|
3-00 1-32
|
22,5 7,5
|
18-00 7-92
|
|
14. Установка
стеновых панелей S<10м2
|
1эл
|
678
|
Е4-1-8 табл 2
п.2, а-б
|
М5-1 М4-1 М3-1
М2-1 МК6-1
|
0,75 0,75 0,75
0,75 0,75
|
2-28 0-79,5
|
508,5 508,5
508,5 508,5 508,5
|
1545-84 539-01
|
|
15. Гермети-
зация стыков стеновых панелей а) горизонт. б) вертик.
|
10м
|
356,3
|
Е4-1-27 п.10
|
М4-1 М3-1
|
0, 19
|
0-14,2
|
67,70
|
50-59
|
|
10м
|
100,5
|
Е4-1-27 п.9
|
М4-1 М3-1
|
0,56
|
0-41,7
|
56,28
|
41-91
|
|
16. Сварка стыковых
соединений
|
10м
|
221,8
|
Е22-1-1 п.3,2
|
Э-4
|
3,2
|
2-53
|
709,76
|
561-15
|
|
17. Установка
средств подмащивания (вышка-тура)
|
1шт
|
2
|
Е 5-1-2
|
М3-1 МК6-1
|
0,66
|
0,33
|
1,32
|
0 - 66
|
|
18. Монтаж рам
крыльца с использованием вышки монтажной
|
1эл
|
54
|
Е5-1-6 табл.2
1,3-б.
|
М2-1 М3-1
МК6-1
|
0,3 0,1
|
0 - 24 0-10,6
|
16,2 5,4
|
12-96 5-72
|
|
ИТОГО:
|
|
|
|
|
|
|
5936,87
|
5764,41
|
|
|
|
|
|
|
|
|
|
|
Таблица 3.3 - Выбор звена монтажников. Распределение
трудоемкости по разрядам
|
Профессия
|
Разряд
|
Ежедневное
участие в работе
|
Расчетный
состав бригады
|
Принятый состав
бригады
|
|
Монтажник
|
6
|
28,8+136,8=156,6чел
ч
|
156,6/1053,39=0,15
|
|
|
Монтажник
|
5
|
92,88+39,6+41,6+28,8+136,8+2,56+1,8+12,96+1,96+4,6+4,5+508,5=759,56
|
759,56/1053,39=0,72
|
|
|
Монтажник
|
4
|
92,88+39,6+58,32+41,6+28,8+136,8+167,2+182,21+34,47+508,5+33,85+28,14=1352,37
|
1352,37/1053,39=1,28
|
|
|
Монтажник
|
3
|
185,76+79,2+58,32+83,2+28,8+136,8+334,4+182,21
34,47+508,5+33,85+28,14=1693,65
|
1693,65/1053,39=1,61
|
|
|
Монтажник
|
2
|
92,88+39,6+41,6+28,8+136,8+167,2+508,5=898,38
|
898,38/1053,39=0,85
|
|
|
Машинист крана
|
6
|
1053,39
|
1
|
1
|
Таблица 3.4 - Средний разряд работы Таблица 3.5 - Средний
разряд
|
Разряд
|
Расчетн. кол-во
рабочих
|
Произвед.
разряда на число рабочих
|
|
Разряд
|
Принятое.
кол-во рабочих
|
Произвед.
разряда на число рабочих
|
|
5
|
0,72
|
3,6
|
|
5
|
1
|
5
|
|
4
|
1,28
|
5,12
|
|
4
|
1
|
4
|
|
3
|
1,61
|
4,83
|
|
3
|
1
|
3
|
|
2
|
0,85
|
1,7
|
|
2
|
2
|
4
|
|
Итого
|
4,61
|
16,15
|
|
Итого
|
5
|
16
|
3.4
Выбор монтажного крана
Требуемую грузоподъемность кранов по Qкр определяют массой
монтируемого монтажного элемента, т.е. с учетом не только собственной массы
элемента Qэ, но и масс монтажных приспособлений Qпр и грузозахватного
устройства Qгр.
Qкр ≥ Qэ + Qпр + Qгр
Qкр ≥ 0.162 + 0.1=0.26т
Высоту подъема крюка Нкр над уровнем стоянки крана
определяют по формуле:
Нкр = h0 + hзап + hэ + hстр
где: h0 - превышение опоры монтируемого элемента над
уровнем стоянки крана, м; h0=7.06м.
hзап - запас на высоте, необходимый по условиям
безопасности монтажа
hзап=0,5м.
hэ - высота элемента в монтажном положении, м; hэ=1.85м.
hстр - высота строповки в рабочем положении от верха
монтируемого элемента до крюка крана, м; hстр=6/2=3м.
Таким образом:
Нкр= 7.06+0.5+1.85+3=12.41 м
Длина стрелы крана:
Вылет крюка:
Таблица 3.6
|
Наименование
показателей
|
Модели кранов
|
|
КС-3571
|
МКГ-40
|
|
Длина стрелы, м
|
14
|
20,8
|
|
Грузоподъемность
основного крюка, т на опорах, при вылете: наименьшем наибольшем без опор, при
вылете: наименьшем наибольшем
|
16 4,3 14 2
|
20 8
|
|
Вылет крюка, м:
основного наименьший Наибольший вспомогательного: наименьший наибольший
|
5,2 11,7 15,2
21,7
|
3-5 14 9-15 20
|
|
Высота подъема
крюка, м: основного при вылете: наименьшем наибольшем вспомогательного при
вылете: наименьшем наибольшем
|
22,9 16,2
0,5-10
|
13,8 8 8 17
|
|
Скорость
подъема крюка10-2м/с Основного вспомогательного
|
0,5-10 0,5-50
|
0,4-8,3 2,67-53
|
|
Скорость
передвижения, км/ч: Рабочая Транспортная
|
1,7 16
|
0,8 0,8
|
|
Габаритные
размеры в транспортном положении, м ширина Высота Длина гусениц
|
3,37 3,9
|
4,3 4,27 5,46
|
|
Инвентарно-расчетная
стоимость, Тыс. руб
|
40,7
|
59,2
|
|
Единовременные
затраты, руб
|
58
|
53
|
|
Усредненная
стоимость машино- смены, руб
|
54,3
|
37,2
|
3.4.1
Технико-экономическое сравнение кранов:
На основании сравнения основных технико-экономических
показателей выбирают более экономичный вариант.
Себестоимость монтажа конструкций определяют по приведенным
затратам по формуле:
П=С+ Ен×Σ (Кi×Тi/Tгод, I)
где:
Ен - коэффициент экономической эффективности, в курсовом
проекте принимаем 0,15.
Кi - инвентарно-расчетная стоимость i-го грузоподъемного
средства, руб.
КС-3571 => К=40,7 тыс. руб.
МКГ-40 => К=59,2 тыс. руб.
Тi - количество смен работы машины на объекте
КС-3571 => Тi =141,31см (с учетом ТЧ-1 (1,1))
МКГ-40 => Тi =1053,39/8,2=128,46см
Тгод, i - нормативное число смен
использования i-ой
машины в году;
КС-3571 Тгод= 207см
МКГ - 40: Тгод= 205см
С - себестоимость монтажных работ, которая определяется по
формуле:
С=1,08 (Σ Сед, i+Σ См, см, i×Тi) +1,5 Σ Зп
где: 1,08 и 1,5 - коэффициенты накладных расходов на прямые
затраты и зарплату.
Сед, I - единовременные
затраты, связанные с организацией монтажных работ и неучтенные в стоимости
машино-смены, руб.
КС-3571: Сед= 53 руб., МКГ - 40: Сед=
58 руб.
См. см. - себестоимость машино-смены механизмов,
используемых на монтажных работах, руб.
КС-3571: 37,2 руб.
МКГ - 40: 51,3 руб.
Тi - время пребывания каждой машины на объекте во
время монтажа, см.
Зп - заработная плата звеньев монтажников и других рабочих,
занятых на монтаже, за весь период их работы.
КС-3571: Зп =6209,19 руб. (с учетом ТЧ-1)
МКГ - 40: Зп = 5745,07 руб.
Таким образом:
МКГ
- 40
С = 1,08 (58+51,3х141,31) + 1,5 × 6209,19 = 17205,56 руб.
П = 17, 205 + 0,15 × 40,7 × 141,31/207 = 21,37 тыс руб.
КС-3571
С = 1,08 (53+37,2х128,46) + 1,5 × 5745,07 = 13835,86 руб.
П = 13,84 + 0,15 × 59,2 × 128,46/205 = 19,40 тыс руб.
По данным расчетам принимаем наиболее выгодный кран КС -
3571.
3.5 Указания
по производству работ
Монтаж каркаса здания начинается с монтажа колонн. Монтаж
колонн включает приемку фундаментов с геодезической проверкой положения их осей
и высотных отметок. При этом проверяют их размеры, положение закладных деталей.
Колонны предварительно раскладывают у мест монтажа. Колонны располагают опорной
частью ближе к фундаменту, под углом к продольным осям. Строповку выполняют
фрикционным захватом для колонн. Поднятые краном колонны опускают в стакан
фундамента, совмещая осевые риски в нижней части колонны с осевыми рисками
фундамента. Затем проверяют вертикальность колонны с помощью двух теодолитов.
Подкрановые балки монтируют после геодезической проверки
отметок и положения опорных площадок подкрановых консолей колонн. Монтаж
подкрановых балок производят одновременно с монтажом связей. Раскладку балок
перед подъемом осуществляют в радиусе действия крана параллельно продольной оси
здания.
Фермы пролетом 18м монтируются с предварительной выгрузкой,
пролетом 24м непосредстренно странспортных средств. После установки и выверки
первую ферму раскрепляют расчалками, а последующие крепят специальными
распорками. Затем производят монтаж плит покрытия.
Монтаж плит покрытия осуществляют после установки и
постоянного крепления очередной фермы. Это обеспечивает очередную жесткость
ячейки покрытия.
Плиты монтируют с симметричной загрузкой фермы к центру оси
пролета. Плиты приваривают к закладным деталям и освобождают от стропов только
после приварки в трех точках. Складирование плит производят в зоне действия
монтажного крана.
Стеновые панели монтируют после окончательного закрепления
всех элементов каркаса. Стеновые панели складируют по периметру здания из
условия монтажа на всю его высоту. Панели монтируют с люлек или передвижных
подмостей башенного типа. Крепление стеновых панелей производят путем сварки
закладных частей и заделки стыков. Стойки фахверка устанавливают на бетонных
фундаментах, в которые заделаны анкерные болты, обеспечивающие проектное
положение колонн в плане.
3.6 Указания
по осуществлению контроля и оценки качества монтажных работ
Производственный контроль качества строительно-монтажных
работ надлежит осуществлять в соответствии со [18].
При приемочном контроле должна быть представлена следующая
документация:
исполнительные чертежи с внесенными (при их наличии)
отступлениями, допущенными предприятием - изготовителем конструкций, а также
монтажной организацией, согласованными с проектными организациями - разработчиками
чертежей, и документы об их согласовании;
заводские технические паспорта на стальные, железобетонные и
деревянные конструкции;
документы (сертификаты, паспорта), удостоверяющие качество
материалов, примененных при производстве строительно-монтажных работ;
акты освидетельствования скрытых работ;
акты промежуточной приемки ответственных конструкций;
исполнительные геодезические схемы положения конструкций;
журналы работ;
документы о контроле качества сварных соединений;
акты испытания конструкций (если испытания предусмотрены
дополнительными правилами настоящих норм и правил или рабочими чертежами);
другие документы, указанные в дополнительных правилах или
рабочих чертежах.
Монтаж металлических конструкций следует производить с
соблюдением требований [18] и в соответствии с рабочими чертежами и ППР.
Поставку конструкций и изделий на объект следует осуществлять
комплектно и в строго установленных технологической последовательности монтажа
и в сроки предусматриваемые месячными и декадными графиками и графиками
производства работ.
Элементы сборных железобетонных конструкций, поступающие на
строительную площадку, должны отвечать требованиям проекта.
Допускаемые отклонения от проектных размеров для каждого вида
конструкций и изделий должны быть минимальными и не превышать величин,
установленных соответствующими ГОСТ и ТУ на эти конструкции. На элементах
конструкций должны быть нанесены риски, оси и метки, определяющие места
опирания при транспортирование и складирование, а также места строповки.
При приемке монтажных работ проверяют:
соответствие конструкций проекту;
качество монтажных работ;
готовность возводимого здания к производству последующих строительно-монтажных
операций;
правильность установки элементов конструкций и плотность
примыкания элементов к опорным поверхностям и друг другу в пределах допускаемых
отклонений;
качество сварки и заделки стыков и швов;
сохранность элементов и их отделки;
выполнение других специальных требований проекта.
Проверяют и принимают следующие скрытые работы:
гидроизоляцию;
сварку выпусков арматуры и закладных деталей;
натяжение арматуры при натяжении и монтаже;
защиту металлических деталей от коррозии;
заделку и герметизацию швов;
теплоизоляцию и пароизоляцию.
Приемку монтажных работ производят после закрепления узлов
всеми проектными креплениями. В процессе сдачи приемки производят
освидетельствование их в натуре, контрольные замеры. Приемку сооружения под
производство последующих работ производят после окончания монтажа всех сборных
конструкций. Приемку оформляют актами с участием представителей генерального
подрядчика и монтирующей организации.
Предельные отклонения положения элементов при приемке
смонтированных конструкций назначается проектом. При осуществлении в проекте
специальных указаний предельные отклонения приложения элементов в конструкциях
относительно разбивочных осей или ориентирных рисок при приемке не должны
превышать величин указанных в таблице 3.7
Таблица 3.7 - Контроль качества выполнения операций и допуски
|
N п/п
|
Наименование
процессов, подлежащих контролю
|
Предмет
контроля
|
Способ контроля
и инструмент
|
Время
проведения процессов
|
Ответственные
за контроль
|
Допустимые
отклонения
|
|
1
|
2
|
3
|
4
|
5
|
6
|
7
|
|
1
|
Подготовительные
работы
|
-
|
Визуально,
стальным метром, стальной компарированной рулеткой
|
До начала работ
|
Геодезические службы
|
+10мм
|
|
2
|
Подготовка мест
установки колонн
|
-
|
Проверка
отметок опорных плит. Отсутствие грязи, наплывов бетона.
|
До начала работ
|
Геодезические
службы
|
+10мм
|
|
3
|
Монтаж
конструкций
|
колонны, фермы,
прогоны, козырьки
|
Правильность и
надежность строповки. Точность фиксирования оснастки. Соответствие технологии
монтажа проекту. Точность установки: вертикальность; соосность конструкций в
верхнем и нижнем сечении; отметки опорных площадок конструкций. Надежность
проектного и временного закрепления.
|
В процессе монтажа
конструкции
|
Геодезические
службы
|
+10мм
|
|
4
|
Проверка
сварных соединений
|
колонны, фермы,
прогоны, козырьки
|
Качество
сварки, наличие и правильность ведения журнала сварочных работ
|
Периодически в
процессе монтажа
|
Строительная
лаборатория
|
-
|
|
5
|
Антикоррозийная
защита сварных соединений
|
|
Проверка
качества антикоррозионного покрытия изделий и узлов заводского изготовления.
Восстановления антикоррозионного покрытия после сварки и очистки от шлаков.
Правильность и своевременность заполнения журналов сварочных и
антикоррозионных работ
|
Периодически в
процессе монтажа
|
Строительная
лаборатория
|
-
|
Контроль качества монтажа начинают с момента приемки
доставленных сборных элементов. Они должны соответствовать требованиям проекта
и не должны иметь отклонений, превышающих допустимые по [19].
По окончании монтажа конструкций работы принимают по акту, в
котором указывают соответствие монтажа проекту, выносят заключение о готовности
здания для производства последующих работ.
Главным критерием качества монтажных работ является
тщательность сварки и заделки стыков и точность установки конструкций в
соответствии с проектом. На все конструкции, которые при дальнейшем
производстве работ закрываются другими конструкциями, составляют акты на
скрытые работы.
. Установка колонн
геометрические оси в нижнем сечении колонн совмещают с
разбивочными осями или геометрическими осями нижеустановленных колонн.
Обеспечивается закрепление низа колонн от горизонтальных перемещений;
отклонение от проекта должны согласовываться с проектной
организацией;
. Установка балок, ферм, плит перекрытий и покрытий.
укладка элементов в направлении перекрываемого пролета должна
быть с соблюдением установленных проектом размеров глубины опирания их на
опорные конструкции или зазоров между сопрягающими элементами;
в поперечном направлении перекрываемого пролета: прогонов и
межколонных балок совмещают риски продольных осей элементов с рисками осей на
колоннах; плит перекрытий по разметке, определяющей их проектное положение на
опорах и выполняемой после установки в проектное положение;
прогоны, балки покрытий по фермам укладывают насухо на
опорные поверхности несущих конструкций;
отклонение от проекта согласовывается с проектной
организацией.
.7 График производства работ
График составляется на основе калькуляции трудовых затрат и
нормативной продолжительности работ в табличной форме.
Нормативная продолжительность работ монтажа конструкций
определяется по [10]. Наименование работ записывается в соответствии с принятой
технологической последовательностью монтажа.
Значение трудоемкости на весь объем работ:
ЗТ=ЗТ (чел. *ч) /8,2, (чел. *дн.),
где ЗТ (чел. *ч) - затраты труда;
,2 - продолжительность одной смены, ч.
Продолжительность работ:
Т=ЗТ (чел. *дн.) /PN, (дн.),
где P - кол-во рабочих в одном звене монтажников;
N - кол-во смен.
Определив продолжительность, взаимно увязываем работы во
времени. Выбираем монтажные работы, оказывающие влияние на продолжительность
монтажа (установка колонн, панелей, монтаж покрытия). Устанавливаем
последовательность и совмещенность ведущих монтажных работ, подчиняя темпу их
выполнения остальные виды работ (заделка стыков, эл-сварка, заливка швов), с
тем расчетом, чтобы обеспечить устойчивость в любой момент времени каждого
возводимого элемента и здания в целом.
График производства работ представлен в графической части
проекта на листе 5.
3.8 Техника
безопасности
При монтаже конструкций необходимо руководствоваться [17],
[18] проектом производства работ.
К монтажным работам допускаются годные по состоянию здоровья
рабочие, обученные безопасным методом труда и соответствующие удостоверение.
Все работающие на строительной площадке должны быть обеспечен
средствами индивидуальной защиты и спецодеждой в соответствии с "типовыми
отраслевыми нормами бесплатной выдачи спецодежды, спецобуви и предохранительных
приспособлений"
Грузоподъемное оборудование и грузозахватные приспособления
перед эксплуатацией должны быть освидетельствованы и испытаны в соответствии
соответствующего акта. На видном месте должны быть вывешены типовые схемы
строповки основных конструкций. Крюки кранов и грузозахватных приспособлений
должны быть оснащены запирающим устройством. Грузозахватные приспособления
должны быть снабжены паспортом, иметь штамп ОТК и инвентарный номер.
При выгрузке элементов конструкций с транспортных средств,
элемент поднимают на высоту 2-30см., проверяют надежность строповки, после чего
подъем может быть продолжен. Складывать элементы конструкций следует в
специально предназначенной для этой цели площадке в штабелях или кассетах. Не
допускается складирование элементов конструкций путем прислонения к штабелям
или стенам здания. Загрузку кассеты производят, начиная с середины кассеты, а
разгрузку с краев. Строповку элементов складированных в кассеты осуществляют с
перекатной монтажной площадки.
Следует соблюдать следующие правила монтажа: перед подъемом
элементов в сборных конструкциях необходимо проверить качество изделий и
надежность строповки; не допускается поднимать краном детали, прижатые другими
элементами или примерзшие к земле; перемещать элементы в горизонтальном
направлении следует на высоте не менее 0,5м и на расстоянии не менее 1м. от
других конструкций, к месту монтажа элементы следует подвозить с наружной
стороны здания, запрещается переносить конструкции над захваткой, где
осуществляются строительные работы; принимать подаваемый элемент можно тогда,
когда он находится в 20-30 см. от места установки; временные крепления можно
снимать только после постоянного закрепления элементов; закрепление монтируемых
элементов, их расстроповку, устройство креплений, а также заделку стыков
следует производить с передвижных подмостей или площадок кондукторов -
пользование приставными лестницами для этих целей недопустимо; зоны ведения
работ должны быть ограждены, незаполненные проемы должны быть закрыты щитами; в
вечернюю и ночную смены все проезды, проходы, лестницы, склады изделий и
рабочие места должны быть освещены в соответствии с [19].
При выполнении электросварочных, газопламенных работ
необходимо помимо вышеуказанных правил выполнять требования [18]. Металлические
части сварочного оборудования, а также свариваемые изделия должны быть
заземлены.
При работе на высоте сварщики и другие рабочие должны быть
снабжены проверенными и испытанными предохранительными поясами по [18], без
которых они не должны допускаться к работе.
3.9 Указания
по охране труда
Конструкции, поднимаемые краном, надо удерживать от
раскачивания оттяжками из пенькового каната или троса.
При подъеме элементов, устанавливаемых в горизонтальное
положение, к обоим их концам прикрепляются парные оттяжки.
Запрещается передвигать конструкции после их установки и
снятия захватных приспособлений.
При подъеме элементов с транспортных средств запрещается
перемещать груз над кабиной водителя.
На монтажных работах обязательно должна быть предусмотрена
сигнализация. Все сигналы машинисту крана и рабочим на оттяжках подает один
человек - бригадир.
Временные связи, расчалки, кондукторы разрешается снимать
только после окончательного закрепления конструкций.
Машинисты кранов, строповщики, сигнальщики и сварщики
проходят обучение по спецпрограммам.
Монтажники, имеющие стаж работы менее одного года и разряд
ниже третьего, к работе на высоте не допускаются.
Таблица 3.8 - Перечень технологической оснастки, инструмента,
инвентаря и приспособлений
|
Наименование
оснастки, инструмента, инвентаря и приспособлений
|
Марка, ГОСТ, ТУ
или орга-низация-разработчик, номер рабочего чертежа
|
Техничес-кая
характери-стика
|
Назначение
|
Кол-во на звено
(бригаду), шт
|
|
1
|
2
|
3
|
4
|
5
|
|
Лестница
приставная металлическая
|
-
|
h=3.6-5.4м
|
Монтаж
конструк-ций
|
4
|
|
Траверса
линейная
|
-
|
гр=2,0т m=50кг
|
Монтаж
конструк-ций
|
1
|
|
Строп
двухветвевой
|
2СК-6.3
|
гр=6,3т L=4 м
|
Монтаж
конструк-ций
|
1
|
|
Предохранитель-ное
верхолазное устройство
|
-
|
-
|
Монтаж
конструк-ций
|
4
|
|
Самоходная
монтажная вышка
|
tadano aw-250tg
|
-
|
Монтаж
конструкций
|
1
|
|
Теодолит в
комплекте со штативом
|
Т-15
|
-
|
Контроль
качества монтажа
|
1
|
|
Нивелир в
комплекте со штативом
|
Н-13
|
-
|
Контроль
качества монтажа
|
1
|
|
Рейка
нивелирная
|
-
|
-
|
|
1
|
|
Щиток-маска
универсальный УН для электро-сварщика в комплекте со светофильтром
|
-
|
-
|
Защитное
средство
|
2
|
|
Проходная
оправка
|
-
|
-
|
Совмещение
болтовых отверстий
|
4
|
|
Кувалда
кузнечная тупоносая
|
-
|
m=5кг
|
Совмещение
болтовых отверстий
|
2
|
|
Временное
ограждение
|
-
|
-
|
Защитное
средство
|
2
|
|
Подмости из
L50х50
|
|
|
Средство
подма-щивания
|
1
|
|
Набор ключей
|
-
|
-
|
Монтаж
конструк-ций
|
2
|
|
Расчалки
|
-
|
-
|
Временное
крепление Рам карниза
|
2
|
|
Распорки
|
-
|
-
|
Временное
крепление ферм
|
2
|
Таблица 3.9 - Перечень машин, механизмов и оборудования
|
Наименоание
машин, механизмов и оборудования
|
Тип, марка
|
Техническая характери-стика
|
Назначение
|
Количество на
звено (бригаду), шт
|
|
Автомобильный
кран
|
КС 3571
|
Гр=10т Стрела
|
Монтаж
конструкций
|
1
|
|
КамАЗ
|
5111
|
Гр=10т
|
Транспор-тирование
груза
|
1
|
|
Cамоходная
монтажная вышка
|
tadano aw-250tg
|
Вынос стрелы 25
м
|
Монтаж
конструкций
|
1
|
|
Трансформатор
сварочный (в комплекте со сварочными проводами)
|
ТД500
|
|
Монтажная
сварка
|
2
|
4.
Организационный раздел
4.1 Цели и
задачи разработки плана организации строительного производства
Проект производства работ служит основой для определения
наиболее эффективных индустриальных методов выполнения строительно-монтажных
работ, способствующих снижению их себестоимости и трудоемкости, сокращению
продолжительности строительства, повышению степени использования строительных
машин и оборудования, улучшению качества работ.
В данном дипломном проекте разработан план организации
строительного производства автосалона в г. Череповец, с учетом местных условий.
4.2
Характеристика условий строительства
Новое строительство автосалона по Кирилловскому шоссе в г.
Череповец будет осуществляется с мая 2005г. В настоящее время участок
проектирования не занят другими зданиями и сооружениями. Рельеф местности имеет
резкий перепад высот. Грунт - II группы. Глубина промерзания грунта 1.5 м.
Температура воздуха в зимний период наиболее холодной пятидневки - 32°.
Нормативная продолжительность строительства 12 месяцев.
4.3 Описание
методов выполнения основных СМР с указаниями по технике безопасности
4.3.1
Подготовительный период
Строительство данного объекта выполняется в два этапа:
подготовительный и основной.
Подготовительный период состоит из внеплощадочных и
внутриплощадочных работ, его продолжительность регламентирована [19]
Внеплощадочные подготовительные работы включают строительство
подъездных путей. В проекте запроектирована ременная дорога, обеспечивающая
подъезд к строительной площадке, грунтовая, уплотненная щебнем.
Внутриплощадочные работы: сдача-приемка геодезической основы
для строительства и геодезические разбивочные работы по прокладке инженерных
сетей, дорог, расчистка и планировка территории, устройство постоянных и
временных дорог, временное ограждение строительной площадки, размещение
временных
4.3.2
Основной период
Для выполнения земляных работ здание разбито на две захватки.
Для снятия растительного слоя и обратной засыпки пазух используется бульдозер
Д259 и КамАЗ 5111, для отрывки котлована - экскаватор ЭО5111 и КамАЗ 5111, для
монтажа фундаментных блоков - кран КС-3571.
До начала земляных работ в местах расположения действующих
подземных коммуникаций должны быть разработаны и согласованы с организациями,
эксплуатирующими эти коммуникации, мероприятия по безопасным условиям труда а
их расположение обозначено соответствующими знаками и надписями. Перед допуском
рабочих в котлованы или траншеи глубиной более 1,3м должно быть произведено
крепление стен. Погрузка грунта в КамАзы должна производится со стороны заднего
или бокового борта.
Монтаж конструкций нулевого цикла также осуществляется по
двум захваткам.
На участке, где ведутся монтажные работы, не допускается
ведение других работ и нахождение посторонних лиц. Способы строповки элементов
конструкций должны обеспечивать их подачу к местам установки в положении
близком к проектному. Запрещается подъем сборных железобетонных конструкций, не
имеющих монтажных петель. Не допускается пребывание людей на элементах
конструкций во время их подъема и перемещения.
Возведение коробки здания ведется по двум захваткам. Для
монтажа колонн, плит покрытия, подачи кирпича используется кран КС-3571 и КамАЗ
5111.
При перемещении и подаче кирпича на рабочее место следует
применять поддоны исключающие падение кирпича. Не допускается кладка наружных
стен зданий толщиной до 0,75 в положении стоя на стене. Уровень кладки после
каждого перемещения подмащивания должен быть не менее 0,7 м выше уровня
рабочего настила или перекрытия. Не допускается кладка стен зданий последующего
этажа без установки несущих конструкций междуэтажного перекрытия, а также
площадок и маршей в лестничных клетках.
Кровельные работы ведутся по двум захваткам.
Отделочные работы ведутся поэтажно (второй, первый и
цокольный этажи)
Средства подмащивания применяемые для штукатурных и малярных
работ, в местах под которыми ведутся другие работы или есть проход, должны
иметь настил без зазоров. Места, под которыми ведутся стекольные работы
необходимо ограждать.
4.4 Описание
стройгенплана объекта
Данный стройгенплан разработан в соответствии с нормативными
документами. На стройгенплане даны привязки к координатам оси движения крана,
складов, осей дорог, осей фундаментов. Так же показаны места расположения
временных зданий и сооружений, места прокладки временных инженерных
коммуникаций.
Строительный генеральный план, является важным документом и
влияет на эффективность организации производства, поскольку в нем решаются
вопросы размещения и транспортировки строительных конструкций и материалов,
размещение и использование строительных и монтажных механизмов, что отражается
на производстве труда и себестоимости работ.
Стройгенплан разработан на основании
архитектурно-строительного генплана объекта, согласно техники безопасности в
строительстве.
При проектировании стройгенплана
предусмотрено:
ограждение строительной площадки;
наличие временной дороги, с круговым проездом, двумя выездами
и въездами;
пересечение дорог с ЛЭП выполнено под
прямым углом;
размещение двух пожарных гидрантов на
расстоянии <150 м друг от друга, не далее 2 м от дороги с твёрдым покрытием;
размещение складских площадок в зоне
действия крана.
Электроснабжение осуществляется за счет
районной трансформаторной подстанции.
Выбор крана выполнен согласно требованиям техники
безопасности в строительстве.
4.5
Определения продолжительности выполнения работ
Продолжительность выполнения работ определяется по
трудоемкости по каждому виду работ.
Продолжительность механизированных работ устанавливается
исходя из производительности машин. Поэтому вначале рассчитана
продолжительность механизированных работ, а затем продолжительность работ
выполненных в ручную.
Продолжительность выполнения механизированных работ.
, (4.1)
где
- потребное количество машино-смен
- количество машин
- количество смен в сутки
Продолжительность работ выполняемых в ручную.
, где (4.2)
- трудоемкость работ выполняемых в ручную
количество рабочих
Расчет продолжительности работ сведен в таблицу 4.1
Таблица 4.1 - Карточка определитель работ строительства
автосалона в г. Череповец
|
Характеристики
работ
|
Исполнитель
|
Основные
механизмы
|
Конструкции,
материалы, изделия, полуфабрикаты
|
|
Наименование
работ
|
Ед изм
|
Объем работ
|
Трудоемкость
чел дн.
|
Продолжитель-ность,
дни
|
Сменность
|
Стоимость
|
Профессия
|
Кол-во
|
Наименование
|
Кол-во
|
Наименование
|
Ед изм
|
Кол-во
|
Поставщик
|
|
1
|
2
|
3
|
4
|
5
|
6
|
7
|
8
|
9
|
10
|
11
|
12
|
13
|
14
|
15
|
|
Подготовительные
работы
|
|
|
35
|
5
|
1
|
|
Плоник4р
Пдотник3р Эл. лин.4р Эл. лин.2р Строп.3р
|
1 1 1 2 1
|
КамАЗ 5111
|
1
|
|
|
|
|
|
Снятие
растительного слоя
|
1000м3
|
0,72 0,72
|
52,57 52,57
|
6 6
|
1 1
|
1766
|
Машинист 6р
|
1
|
Д259 КамАЗ 5111
|
1 1
|
|
|
|
|
|
Отрывка
котлована
|
100м3
|
0,99 0,99
|
29, 20 29, 20
|
3,5 3,5
|
1 1
|
8766
|
Машинист 6р
|
1
|
ЭО5111 КамАЗ
5111
|
1 1
|
|
|
|
|
|
Ручной добор
|
100м3
|
0,56 0,56
|
119,01 119,01
|
4,5 4,5
|
1 1
|
5008
|
Землекоп 3р
|
3
|
|
|
|
|
|
|
|
Песчаная
подсыпка
|
1м3
|
12,4 12,4
|
11,16 11,16
|
1,5 1,5
|
1 1
|
1569
|
Землекоп 3р
|
1
|
|
|
|
|
|
|
|
Монтаж
конструкций нулевого цикла
|
100 шт
|
0,79 0,79
|
159,08 159,08
|
19,5 19,5
|
1 1
|
420254
|
Монт.4р Монт.3р
Монт.2р МашКр6р
|
1 2 1 1
|
МГК-40 КамАЗ
5111
|
1 1
|
Фундаментные
блоки
|
шт
|
330 330
|
|
|
Подготовка под
полы
|
100м2
|
5,7 5,7
|
193,09 193,09
|
11,5 11,5
|
1 1
|
22379
|
Бетонщик 4р
Бетонщик 2р
|
1 1
|
-
|
Бетон
|
м2
|
1425 1425
|
|
|
Обмазочная
гидроизоляция
|
100м2
|
5,36 5,36
|
113,63 113,63
|
7 7
|
1 1
|
19259
|
Гидроизол 3р
|
2
|
|
|
Битумная
мастика
|
М2
|
536 536
|
|
|
Обратная
засыпка
|
100м3
|
0,50 0,50
|
99,80 99,80
|
4 4
|
1 1
|
7831
|
Землекоп 3р
Трамбов-щик
|
3 1
|
|
|
|
|
|
|
|
Вводы
инженерных коммуникаций
|
м
|
20
|
20
|
10
|
1
|
6525
|
|
2
|
|
|
|
|
|
|
|
Возведение
коробки здая
|
100м2
|
27,8127,81
|
8298,2 8298,2
|
50,5 50,5
|
1
|
1631671
|
Монт.4р Монт.3р
Монт.2р МашКр6р Каменщик
|
1 2 1 1 20
|
МГК-40 КамАЗ
5111
|
1 1
|
Колонны Ригели
Кирпич Раствор
|
шт шт 1000шт м3
|
14 40 273,24
1137
|
|
|
Монтаж ферм и
прогонов
|
1т
|
10,79 10,79
|
41,54 41,54
|
5 5
|
1 1
|
153553
|
Монт.4р Монт.3р
Монт.2р МашКр6р
|
1 2 1 1
|
КС3571 КамАЗ
5111
|
1 1
|
Фермы Прогоны
|
шт
|
28 258
|
|
|
Устройство
кровли
|
100м2
|
6,66 6,66
|
998,9 998,9
|
15 15
|
1 1
|
479705
|
Кровель-щик
|
8
|
|
|
Оцинкованная
сталь
|
100м2
|
10,87
|
|
|
Остекление
|
100м2
|
1,64 1,64
|
250,22 250,22
|
10 10
|
1 1
|
991800
|
Стеколь-щик
МашКр6р
|
3 1
|
КС3571
|
1
|
Окна из
металопластика
|
1м2
|
247,9
|
|
|
Штукатурные и
плиточные работы
|
100м2
|
22,11 22,11
22,11
|
756,6 756,6
756,6
|
6 6 6
|
1 1 1
|
177919
|
Штукатур 4р
|
15
|
|
|
|
|
|
|
|
Сушка
штукатурки
|
-
|
-
|
-
|
4 4 4
|
1 1 1
|
-
|
|
|
|
|
|
|
|
|
|
Устройство
полов
|
100м2
|
9,5 9,5 9,5
|
247,6 247,6
247,6
|
6 6 6
|
1 1 1
|
218991
|
Штукатур 4р
|
5
|
|
|
|
|
|
|
|
Отделочные
работы
|
100м2
|
22,1 22,1 22,1
|
701 701 701
|
5,5 5,5 5,5
|
1 1 1
|
134466
|
Маляр
|
15
|
|
|
|
|
|
|
|
Благоустройство
территории
|
-
|
|
28
|
7
|
1
|
|
Разно-рабочий
|
4
|
|
|
|
|
|
|
|
Слаботочные
работы
|
-
|
-
|
9
|
3
|
1
|
|
Электрик
|
3
|
|
|
|
|
|
|
|
Электромонтажные
работы
|
|
|
16,5
|
5,5
|
1
|
|
Электрик
|
3
|
|
|
|
|
|
|
|
Установка
электр. арматуры
|
|
|
3
|
1
|
1
|
|
Электрик
|
3
|
|
|
|
|
|
|
|
Санитарнотехнические
работы
|
|
|
39
|
6,5
|
1
|
|
Сантехник
|
6
|
|
|
|
|
|
|
|
Установка
сантех. арматуры
|
|
|
6
|
1
|
1
|
|
Сантехник
|
6
|
|
|
|
|
|
|
|
Сдача
|
|
|
|
5
|
1
|
|
|
10
|
|
|
|
|
|
|
4.6
Расчет численности персонала строительства
Расчетная численность персонала определяется по формуле:
N=1,06 × (Nосн. +Nнеосн. +Nитр. +Nмоп. +Nуч.)
чел., (4.3)
где 1,06 - коэффициент, учитывающий отпуска и не выходы по
болезни;
Nосн. - численность рабочих основного производства;
Nнеосн. - численность рабочих не основного
производства;
Nитр. - численность ИТР;
Nмоп. - численность младшего обслуживающего персонала;
Nуч. - численность учеников и практикантов.
Nосн. = 43 чел.
Nнеосн. = 0,25 × 43 = 10 чел,
Nитр. =6-8% (Nосн. +Nнеосн.) = 0,08 × (43 + 10) = 4 чел,
Nмоп. =4% (Nосн. +Nнеосн.) = 0,04 × (43+ 10) = 2 чел,
Nуч. =5% (Nосн. +Nнеосн.) = 0,05 × (43 + 10) = 2 чел,
N=1,06 × (43 + 10 + 4 + 2 + 2) =
64 чел,
Принимаем: N=64 чел.
4.6.1 Расчет
временных зданий и сооружений
Временными зданиями называют надземные
подсобно-вспомогательные и обслуживающие объекты для обеспечения производства
строительно-монтажных работ. Временные здания служат только на период
строительства. Точный расчет потребности, правильный выбор типов зданий и
рациональное их размещение предопределяет уровень затрат на временное
строительство.
Так как строительство ведется в городской черте, на
стройплощадке необходимы следующие здания и сооружения.
Таблица 4.2-Расчет временных зданий и
сооружений
|
Наименование
зданий и сооружений
|
Расчетная
численность персонала
|
Норма на одного
чел-ка
|
Требуется
|
Принято
|
|
|
Всего
|
% одновременно
пользующихся
|
Ед. изм.
|
Кол-во
|
Ед. изм.
|
Кол-во
|
Марка
|
Кол-во
|
|
1
|
2
|
3
|
4
|
5
|
6
|
7
|
8
|
9
|
|
Проходная
|
-
|
-
|
м2
|
6-9
|
м2
|
6-9
|
"Модуль"
2,4x2,8
|
|
|
Контора прораба
|
1
|
100
|
м2
|
4
|
м2
|
4
|
Вагончик 3x6
|
1
|
|
Медицинское
помещение
|
-
|
-
|
м2
|
12
|
м2
|
12
|
Вагончик 3x6
|
1
|
|
Помещение для
приёма пищи
|
64
|
30
|
м2
|
1
|
м2
|
17
|
Вагончик 3x6
|
1
|
|
Помещение для
обогрева рабочих
|
64
|
100
|
м2
|
0,1
|
м2
|
6,4
|
Вагончик 3x6
|
1
|
|
Кладовая
|
-
|
-
|
м2
|
15
|
м2
|
15
|
Вагончик 3x6
|
1
|
|
Помещение для
сушки и обеспыливания одежды
|
64
|
50
|
м2
|
0,2
|
м2
|
6,4
|
Вагончик 3x6
|
1
|
|
Гардеробные с
умывальными
|
64
|
70
|
м2
|
0,5
|
м2
|
22,4
|
Вагончик 3x6
|
2
|
|
Душевые
|
64
|
30
|
м2
|
1 рожок
|
8чел.
|
2
|
Вагончик 3x6
|
1
|
|
|
|
|
1рожок
|
4м2
|
8
|
|
|
|
Туалет
|
64
|
100
|
м2
|
1очко 1очко
|
очко м2
|
24
|
3x3
|
1
|
|
Помещение для
личной гигиены женщин
|
-
|
-
|
м2
|
4
|
м2
|
4
|
3x3
|
1
|
4.6.2
Расчет потребности в воде
Вода на строительной площадке используется на хозяйственно
бытовые, производственные нужды и пожаротушение.
Общая потребность в воде:
, (4.4)
где Рпож=10 л/сек - зависит от площади застройки
, (4.5)
где
- расход воды на принятие душа;
- расход воды на умывание, приготовление пищи и др.
, (4.6)
где
- расчетная численность персонала
строительства;
- норма водопотребления на 1 чел/день,
= 80 л;
- коэффициент, учитывающий количество моющихся,
= 0,3;
- время работы душевой установки, в ч.
= 0,75 часа.
= 0,568
, (4.7)
где
= 15 л - норма водопотребности на 1-го
человека при отсутствии канализации;
- продолжительность смены, в часах;
k2 - расход
воды на производственные нужды; k2 = 1,2.
= 0,056
Рб = 0,568+ 0,056 = 0,624
.
, (4.8)
где 1,2 - коэффициент на неучтенные расходы;
- суммарный расход воды в смену по норме;
= 100 л
к3 =1,5 - коэффициент неравномерности водопотребления
Σq = 190×570.24+8×4500 = 144345.6
;
= 8.8
Р = 10 + 0,5 × (0,44 + 8,8) = 14,62
Диаметр трубы временного трубопровода определяется:
, (4.9)
где
- требуемый расход воды для нужд
строительства, л/с p = 3,14;
u = 2 м/с - скорость движения воды по
трубопроводу
= 96,54 мм,
Принимаем диаметр трубопровода 100 мм.
4.6.3 Расчет
потребности в электроэнергии
Электроэнергия при строительстве расходуется:
на питание силовых потребителей;
технологические нужды;
внутреннее освещение зданий и сооружений;
наружное освещение строительной площадки, дорог и т.д.
Требуемая мощность трансформаторной подстанции:
(4.10)
где 1,1 - коэффициент, учитывающий потери в сети.
к1, к2, к3, к4 -
коэффициенты спроса, учитывающие несовпадение спроса: к1 = 0,3¸0,8; к2 = 0,7; к3 =
0,8; к4 = 1;
- сумма мощностей аппаратов, участвующих в технологических
процессах, кВт;
- сумма мощностей приборов внутреннего и наружного освещения,
кВт;
- коэффициенты мощностей, зависящие от загрузки потребителей:
Таблица 4.3 - Потребление элетроэнергии
|
Наименование
потребителя
|
Мощность, кВт
|
|
Технологические
нужды Сварочный аппарат Электрообогреватели Внутреннее освещение Контора
прораба Мед. помещение Помещение для приёма пищи Помещение для обогрева
рабочих Кладовая Помещение для сушки одежды Гардеробные с умывальными
Туалеты, душевая Проходная
|
15,0 6,00 0,1
0,1 0,1 0,1 0,1 0,1 0,1 0,3 0,1
|
|
Наружное
освещение
|
|
|
Территории
строительства (4 лампы по 500 Вт)
|
2,00
|
|
Итого:
|
24,1
|
Ртрансф=
кВа
Принимаем 1 трансформатор мощностью 50
кВа.
Сечение проводов во временной электросети из условия прочности
принимаем 6 мм.
4.6.4
Снабжение сжатым воздухом
Потребность в сжатом воздухе:
Qрасч = 1,1∑кqn, (4.11)
где q - расход сжатого воздуха механизмом
n - число однородных механизмов.
Используются:
вибратор глубинный q1=0,9м3/мин, n1=1
штукатурная станция СО-86Б q2= 1м3/мин, n2=1
Qрасч =1,1 (0,9 × 1 + 1 × 1) =2,09 м3/мин.
Применяется станция ПКС-6М производительностью 6 м3/мин,
Марка компрессора К-6, тип двигателя ДВС.
4.6.5 Расчет
потребности в тепле
Тепло на строительной площадке используется на отопление
зданий или технические нужды.
Общая потребность тепла для строительных нужд определяется:
Qобщ = (Q1 + Q2) ´к1´к2, кДж/час, (4.12)
гдеQ1 - расход тепла на отопление зданий;
Q2 - расход тепла на технологические нужды;
к1= 1,15 - коэффициент, учитывающий потери в сети;
к2= 1,2 - коэффициент на учтенные расходы тепла
Q1= a´q´V´ (tВ - tН), кДж/час (4.13)
Где а - коэффициент, зависящий от расчетной t наружного воздуха (tНАР ³ - 34°CÞ а=1);
q - Удельная тепловая характеристика здания, кДж/час´м3´град;
q = 1,6кДж/час´м3´град;
V - Объем здания по наружному обмеру, V =2435 м3;
tВ и tН - расчетная температуры внутри помещения и
снаружи,°С.
TН= - 32°C, tВ= 21°C
Q2 - зависит от времени, вида и объема работ. Q2 =0.
Q1 = 1 × 1,6 × 2435 × (21 - ( - 32) = 124695
кДж/час
Qобщ = (124695 + 0) × 1,15 × 1,2 = 172077 кДж/час
4.6.6 Расчет
потребности в транспортных средствах
Требуемое количество машино-смен работы автотранспорта
определяется по формуле:
N = Q / PСМ; (4.14)
Где Q - количество перевозящегося груза в тоннах;
РСМ - сменная производительность транспорта;
PСМ = nр´q´kгр, (4.15)
Где nP - количество рейсов в смену;
q - Паспортная грузоподъемность машины, т. Для МАЗ 503 - q = 8 т.
kГР - коэффициент использования грузоподъемности
машины, в зависимости от вида груза.
Количество рейсов в смену:
; (4.16)
Где T - продолжительность смены, в часах; T = 7,8 ч.
tпр -
нормативное время погрузо-разгрузочных работ; tпр = 0,62
(час);
l = 3 км - расстояние перевозки;
u - средняя скорость движения в условиях
города - u = 20 км/ч.
Перевозка грунта:
Определим объем грунта в плотном теле в ковше экскаватора:
м3
Где Vков - принятый объем ковша экскаватора, м3. Для
Э-652 Vков=0,65м3.
Кнап - коэффициент наполнения ковша (для обратной
лопаты от 0,8 до 1)
Кпр - коэффициент первоначального разрыхления грунта
[12] для суглинка Кпр=1,2
Определим массу грунта в ковше экскаватора:
Q=Vгр·γ, (4.17)
Где γ - объемная масса грунта, по [32] для суглинка γ=1,755 т/м3.
Q=0,48·1,755=0,842 т/м3
Количество ковшей грунта, загружаемых в кузов автосамосвала:
n=П/Q, (4.18)
где
П - грузоподъемность автосамосвала. Для МАЗ 503 - q = 8 т.
n=8/0,842=9,5
Определим объем грунта в плотном теле, загружаемый в кузов
автосамосвала:
V=Vгр·n=0,48·9,5=4,56
м3
Продолжительность одного цикла работы автосамосвала:
Тц=tп+60L/Vг+tр+60L/Vп+tм, (4.19)
Где tп - время погрузки грунта, мин.; tп =12мин.
L - Расстояние транспортировки грунта, L=3км.;
Vг -
средняя скорость автосамосвала в загруженном состоянии, км/ч.; (17…21 км/ч.);
Vп -
средняя скорость автосамосвала в порожнем состоянии, км/ч. (25…30 км/ч.);
tр - время
разгрузки (ориентировочно 1…2 мин.);
tм - время
маневрирования перед погрузкой и разгрузкой (ориентировочно 2…3 мин.).
Тц=12+60·3/21+2+60·3/30+2=30,57
tп=VHвр/100=4,56·4,5/100=0,2 ч. =12 мин.
Где Нвр - норма машинного времени по ЕНиР 2-1 для
погрузки экскаватором 100 м3 грунта в транспортное средство в мин. Нвр=4,5ч*час
Требуемое количество автосамосвалов составит:
N=Tц/ tп=30,57/12=2,55 ед.
Число N округляем до ближайшего меньшего целого
числа, учитывая перевыполнение сменного задания при работе экскаватора.
Принимаем 3 автосамосвала МАЗ 503.
4.6.7 Расчет
потребности складских площадей
Складские площади требуются для хранения материалов,
необходимых с учетом местных условий для поддержания непрерывности строительных
процессов.
Необходимая площадь:
, (4.20)
где q - необходимый запас материала;
r - норма хранения материала на 1м2 площади;
kп - коэффициент, учитывающий проходы на складе, kп = 0,5.
Необходимый запас материала:
, (4.21)
где Q - количество однородного материала;
Т - продолжительность работ с применением данного материала;
n - норма запаса материала в днях;
k - коэффициент учитывающий перебои снабжения, k =1,2.
Кирпич
Фундаментные блоки:
4.7
Технико-экономические показатели
Таблица
4.4-Технико-экономические показатели
|
Наименование
|
Ед. изм.
|
Кол-во
|
|
Объем здания
|
м3
|
11825,74
|
|
Полезная
площадь
|
м2
|
2038,71
|
|
Нормативная трудоемкость
работ
|
чел дн.
|
6824
|
|
Планируемая
трудоемкость работ
|
чел дн.
|
6224,5
|
|
Планируемый
процент выполнения норм выработки
|
%
|
109,6%
|
|
Затраты труда
на 1 м2 площади
|
чел дн.
|
3
|
|
Затраты труда
на 1 м3 здания
|
чел дн.
|
0,5
|
|
Энерговооруженность
|
кВт
|
217,5
|
|
Продолжительность
строительства:
|
|
|
|
нормативная
|
дн.
|
264
|
|
планируемая
|
дн.
|
226,5
|
5.
Безопасность проекта
5.1
Разработка мероприятий по безопасности выполнения сварочных работ
При производстве электросварочных и газопламенных работ
необходимо выполнять требования настоящей главы, ППБ 01, утвержденных МВД
России 14 декабря 1993 г. № 536, зарегистрированных Минюстом России 27.12.93
г., регистрационный № 445, а также государственных стандартов.
Электросварщики должны иметь группу по электробезопасности не
менее II. Места производства электросварочных и газопламенных работ на
данном, а также на нижерасположенных ярусах (при отсутствии несгораемого
защитного настила или настила, защищенного несгораемым материалом) должны быть
освобождены от сгораемых материалов в радиусе не менее 5 м, а от взрывоопасных
материалов и оборудования (газогенераторов, газовых баллонов и т.п.) - не менее
10 м. При резке элементов конструкций должны быть приняты меры против
случайного обрушения отрезанных элементов. Производить сварку, резку и нагрев
открытым пламенем аппаратов, сосудов и трубопроводов, содержащих под давлением
любые жидкости или газы, заполненных горючими или вредными веществами или
относящихся к электротехническим устройствам, не допускается без согласования с
эксплуатирующей организацией мероприятий по обеспечению безопасности и без
наряда-допуска.
5.1.1
Требования безопасности к технологическим процессам и местам производства
сварочных и газопламенных работ
Крепление газопроводящих рукавов на ниппелях горелок, резаков
и редукторов, а также в местах соединения рукавов необходимо осуществлять
стяжными хомутами.
Для дуговой сварки необходимо применять изолированные гибкие
кабели, рассчитанные на надежную работу при максимальных электрических
нагрузках с учетом продолжительности цикла сварки.
Соединение сварочных кабелей следует производить опрессовкой,
сваркой или пайкой с последующей изоляцией мест соединений.
Подключение кабелей к сварочному оборудованию должно
осуществляться при помощи опрессованных или припаянных кабельных наконечников.
При прокладке или перемещении сварочных проводов необходимо
принимать меры против повреждения их изоляции и соприкосновения с водой,
маслом, стальными канатами и горячими трубопроводами. Расстояние от сварочных
проводов до горячих трубопроводов и баллонов с кислородом должно быть не менее
0,5 м, а с горючими газами - не менее 1 м.
Рабочие места сварщиков в помещении при сварке открытой дугой
должны быть отделены от смежных рабочих мест и проходов несгораемыми экранами
(ширмами, щитами) высотой не менее 1,8 м.
При сварке на открытом воздухе ограждения следует ставить в
случае одновременной работы нескольких сварщиков вблизи друг от друга и на
участках интенсивного движения людей.
Сварочные работы на открытом воздухе во время дождя, снегопада
должны быть прекращены.
Места производства сварочных работ вне постоянных сварочных
постов должны определяться письменным разрешением руководителя или специалиста,
отвечающего за пожарную безопасность.
Места производства сварочных работ должны быть обеспечены
средствами пожаротушения.
При выполнении электросварочных и газопламенных работ внутри
емкостей или полостей конструкций рабочие места надлежит обеспечивать вытяжной
вентиляцией. Скорость движения воздуха внутри емкости (полости) должна быть при
этом 0,3-1,5 м/с.
В случаях выполнения сварочных работ с применением сжиженных
газов (пропана, бутана, аргона) и углекислоты вытяжная вентиляция должна иметь
отсос снизу.
Одновременное производство электросварочных и газопламенных
работ внутри емкостей не допускается.
При производстве сварочных работ в плохо проветриваемых
помещениях малого объема, в закрытых емкостях, колодцах и т.п. необходимо
применение средств индивидуальной защиты глаз и органов дыхания.
Не допускается применять бензорезы при выполнении газопламенных
работ в резервуарах, колодцах и других замкнутых емкостях.
Освещение при производстве сварочных работ внутри
металлических емкостей должно осуществляться с помощью светильников,
установленных снаружи, или ручных переносных ламп напряжением не более 12 В.
Сварочный трансформатор, ацетиленовый генератор, баллоны с
сжиженным или сжатым газом должны размещаться вне емкостей, в которых
производится сварка.
5.1.2
Требования безопасности при ручной сварке
В электросварочных аппаратах и источниках их питания
элементы, находящиеся под напряжением, должны быть закрыты оградительными
устройствами.
Электрододержатели, применяемые при ручной дуговой
электросварке металлическими электродами, должны соответствовать требованиям
ГОСТ на эти изделия.
Электросварочная установка (преобразователь, сварочный
трансформатор и т.п.) должна присоединяться к источнику питания через рубильник
и предохранители или автоматический выключатель, а при напряжении холостого
хода более 70 В должно применяться автоматическое отключение сварочного
трансформатора.
Металлические части электросварочного оборудования, не
находящиеся под напряжением, а также свариваемые изделия и конструкции на все
время сварки должны быть заземлены, а у сварочного трансформатора, кроме того,
заземляющий болт корпуса должен быть соединен с зажимом вторичной обмотки, к
которому подключается обратный провод.
В качестве обратного провода или его элементов могут быть
использованы стальные шины и конструкции, если их сечение обеспечивает
безопасное по условиям нагрева протекание сварочного тока.
Соединение между собой отдельных элементов, применяемых в
качестве обратного провода, должно быть надежным и выполняться на болтах,
зажимах или сваркой.
Запрещается использовать провода сети заземления, трубы
санитарно-технических сетей (водопровод, газопровод и др.), металлические
конструкции зданий, технологическое оборудование в качестве обратного провода
электросварки.
5.1.3
Требования безопасности при хранении и применении газовых баллонов
Газовые баллоны надлежит хранить и применять в соответствии с
требованиями правил устройства и безопасной эксплуатации сосудов, работающих
под давлением.
При хранении баллонов на открытых площадках навесы,
защищающие их от воздействия осадков и прямых солнечных лучей, должны быть выполнены
из негорючих материалов.
Баллоны с горючим газом, имеющие башмаки, должны храниться в
вертикальном положении в специальных гнездах, клетях и других устройствах,
исключающих их падение.
Баллоны, не имеющие башмаков, должны храниться в
горизонтальном положении на рамах или стеллажах. Высота штабеля в этом случае
не должна превышать 1,5 м, а клапаны должны быть закрыты предохранительными
колпаками и обращены в одну сторону.
Пустые баллоны следует хранить раздельно от баллонов,
наполненных газом.
Газовые баллоны разрешается перевозить, хранить, выдавать и
получать только лицам, прошедшим обучение по обращению с ними и имеющим
соответствующее удостоверение.
Перемещение газовых баллонов необходимо производить на
специально предназначенных для этого тележках, в контейнерах и других
устройствах, обеспечивающих устойчивое положение баллонов.