Инженерно-геологические изысканий территории для строительного проекта

  • Вид работы:
    Дипломная (ВКР)
  • Предмет:
    Строительство
  • Язык:
    Русский
    ,
    Формат файла:
    MS Word
    0
  • Опубликовано:
    2017-02-19
Вы можете узнать стоимость помощи в написании студенческой работы.
Помощь в написании работы, которую точно примут!

Инженерно-геологические изысканий территории для строительного проекта

Содержание

 

1. Введение

2. Изученность инженерно-геологических условий

3. Физико-географические и техногенные условия

3.1 Климат

3.2 Рельеф

3.3 Геоморфология

3.4 Гидрография

4. Геологическое строение и тектоника

5. Гидрогеологические условия

6. Свойства грунтов

7. Опытные работы

7.1 Статическое зондирование

7.2 Штамповые испытания

8. Специфические грунты

9. Геологические и инженерно-геологические процессы

10. Список использованных материалов

1. Введение

Объект: "Комплекс объектов, состоящих из двухцепной ВЛ 110 кВ, двухтрансформаторной ПС 2х40 110/10 кВ, КЛ 10 кВ, предназначенные для организации электроснабжения МФК "Ахмат Тауэр", ТРЦ "ГРОЗНЫЙ МОЛЛ", инфраструктуры благоустройства "КАУСАР".

Технический заказчик: ООО "СМАРТ БИЛДИНГ".

Застройщик: ООО "АХМАТ ТАУЭР".

Основание для производства работ: Техническое задание на производство инженерно-геологических изысканий (Приложение А) к договору № 11-ПИР/2016 от 14 июня 2016 года.

Вид строительства: новое.

Стадия проектирования: Проектная документация.

Уровень ответственности: II (нормальный).

Исходная сейсмичность: 8 баллов (Карта А ОСР-97); 9 баллов (Карта В ОСР-97). Техническая характеристика проектируемых объектов:

1. ВЛ 110 кВ

Таблица 1.1


ВЛ 110 кВ


Вид ЛЭП и номинальное напряжение

Воздушная линия электропередачи (ВЛ) 110 кВ на отдельно стоящих опорах


Начальная точка

Существующая опора ВЛ 110 кВ №89


Конечная точка

Портал ОРУ 110 кВ на новой ПС 110 кВ Грозный-Сити


Протяженность

2,7 км


Наличие переходов через естественные и искусственные преграды

Автомобильная дорога, инженерные коммуникации


Типы опор: промежуточные угловые

 железобетонные решётчатые металлические.


Типы фундаментов и глубина их заложения:

промежуточные опоры - железобетонная стойка опоры, глубина - 3,3 м; анкерно-угловые решетчатые опоры - грибовидные сборные железобетонные фундаменты; глубина заложения - 2,85 м


Расчетный пролет

150 м


Назначение (в соответствии с п/п 1, п.1 ст.4 Федерального закона 384-ФЗ "Технический регламент о безопасности зданий и сооружений")

Транзит (передача) электрической энергии

 

. ПС 110/10 кВ

Таблица 1.2

№ по экспликации

Наименование зданий и сооружений

Габариты (длина, ширина, высота), м

Намечаемый тип фундамента (свайный, плита, ленточный)

Нагрузка на фундамент, кН

Предполагаемая глубина заложения фундамента, м

1

Открытое распределительное устройство (ОРУ 110 кВ)





2; 2а

Фундамент под трансформатор силовой трехфазный двухобмоточный ТД-40000/110-У1

8,7х5,1х2,4

Массивный монолитный железобетонный

560

1,8

3

Модульное здание общеподстанционного пункта управления (ОПУ)

27,0х9,0х4,9

Фундаменты здания - железобетонные стойки УСО в сверленом котловане

Не более 50

5,0

4

Модульное здание закрытого распределительного устройства 10 кВ (ЗРУ 10кВ)

27,0х9,0х4,9

Фундаменты здания - железобетонные стойки УСО в сверленом котловане

Не более 50

5,0

5

Маслосборник емкостью 50 м3 (монолитная железобетонная емкость)

6,0х4,5х3,5

Монолитная железобетонная плита днища

-

4,5

6

Модульное здание очистной установки замасленных стоков трансформаторов

4,5х4,5х3,4

Фундаменты здания - железобетонные стойки УСО в сверленом котловане

Не более 50

5,0

 

. КВ 10 кВ

Трасса Кл 10 кВ. Протяженность 1,5 км. Глубина заложения коммуникаций - 0,7 м.

Инженерные изыскания производились на основании свидетельства СРО (регистрационный номер 0110.06-2010-2005263470-И-020 от 17 сентября 2013 года) о допуске к определенному виду или видам работ, которые оказывают влияние на безопасность объектов капитального строительства - Приложение Б.

Перед началом работ было выполнено рекогносцировочное обследование территории проектируемого строительства (5,0 км), с целью изучения основных особенностей инженерно-геологических условий, наличия и проявления неблагоприятных геологических и инженерно-геологических процессов, уточнением намечаемых видов и объемов работ.

Согласно Программе производства работ (Приложение В) выполнен комплекс буровых и опытных работ (статическое зондирование, штамповые испытания), с целью изучения литологического разреза, определения гидрогеологических условий площадки изысканий.

Полевые инженерно-геологические работы выполнены в октябре - декабре 2016 г. геологическим отрядом в составе: ведущий геолог Калентьев Н.М., буровой мастер Хаджимурадов М.В., буровые рабочие Явдаев Р.М. и Абдулкадыров А.Ю., под руководством главного геолога ООО "Эльравис" Сологуб М. В.

Бурение скважин осуществлялось буровой установкой УРБ-12. ZBT. Проходка скважин осуществлялась колонковым бурением и задавливающим грунтоносом (просадочные грунты). Бурение сопровождалась отбором образцов ненарушенной (монолиты) и нарушенной структуры, проб воды.

На участке изысканий выполнен комплекс опытов статического зондирования глинистых и песчаных грунтов.

Данные работы позволили уточнить геологический разрез (глубина залегания кровли крупнообломочных грунтов, получение прочностных и приближенных деформационных характеристик глинистых и песчаных грунтов в естественном состоянии), а также провести геотехнический контроль бурения скважин.

Испытания проводились комплектом аппаратуры ТЕСТ-К2, зонд II типа. Обработка результатов проведена программой GEOEXPLORER v3.14b473 (ЗАО "Геотест").

Глубина опытов (3,8-10,4 м) выбиралась исходя из проектной глубины заложения фундаментов, наличия подстилающих крупнообломочных грунтов, при средней глубине исследований 4,0-6,0 м. Точки статического зондирования располагались вблизи опорных скважин на расстоянии не более 1,0-1,5 м (для увязки с геологическим разрезом). Количество испытаний по объекту составило 31 опыт.

С целью определения деформационных характеристик грунтов оснований проектируемых зданий и сооружений ВЛ 110 кВ и ПС 110/10 кВ при естественной влажности, выполнено 12 штамповых испытаний в 7 точках на глубинах заложения фундаментов проектируемых сооружений: 2,0-5,2 м.

Для этого, не далее 2-3 м от опорных скважин, шнековым бурением проходились скважины Ø325 мм для установки в выработку штампа и колонны труб на проектную глубину.

В зависимости от состояния исследуемого грунта, выбирался тип штампа: плоский штамп III типа или винтовой штамп IV типа площадью 600см². Давление на штамп передавалось пневматической нагрузочной системой ступенями до конечных нагрузок 0,2 - 0,3МПа.

Измерение осадок штампом проводилось индикаторами ИЧ-50 с точностью измерений 0,01мм.

Обработка результатов штамповых испытаний проведена программой ShwPW (ЗАО "Геотест").

строительство инженерный геологический рекогносцировочный

Комплекс лабораторных работ произведен в стационарной лаборатории ООО "Эльравис", г. Пятигорск, под руководством начальника лаборатории Андриади А. А.

Состав и объемы выполненных работ по участкам изысканий приведены в Таблице 1.3.

Таблица 1.3

№ п/п

Вид работ

Объем работ

Полевые работы

 ВЛ 110 кВ

1

Колонковое бурение 24 скважин Д до 160 мм, глубиной 11.0 м

264 м

2

Колонковое бурение 3 скважин Д до 160 мм, глубиной 30.0 м

90 м

3

Шнековое бурение 4 скважин Д 325 мм

16,5 м

4

Отбор монолитов связных грунтов

39 монолитов

5

Отбор валовых проб крупнообломочных грунтов

44 проб

6

Отбор проб воды (при наличии)

5 проб

7

Статическое зондирование глинистых и песчаных грунтов

11 опытов

8

Штамповые испытания грунтов, штамп III и IV типа

6 опытов

площадка ПС 110/10 кВ

1

Колонковое бурение 4 скважин Д до 160 мм, глубиной 9.0 м

36 м

2

Колонковое бурение 10 скважин Д до 160 мм, глубиной 11.0 м

110 м

3

Колонковое бурение 3 скважин Д до 160 мм, глубиной 22.0 м

66 м

4

Колонковое бурение 1 скважины Д до 160 мм, глубиной 25.0 м

25 м

5

Шнековое бурение 3 скважин Д 325 мм

14,2 м

6

Отбор монолитов связных грунтов

65 монолитов

7

Отбор валовых проб крупнообломочных грунтов

31 проб

8

Отбор проб воды (при наличии)

3 пробы

9

Статическое зондирование глинистых и песчаных грунтов

15 опытов

10

Штамповые испытания грунтов, штамп III и IV типа

6 опытов

 КЛ 10 кВ

1

Колонковое бурение 10 скважин Д до 160 мм, глубиной 6.0 м

60 м

2

Колонковое бурение 1 скважины Д до 160 мм, глубиной 11.0 м

11 м

3

Колонковое бурение 1 скважины Д до 160 мм, глубиной 15.0 м

15 м

4

Отбор монолитов связных грунтов

21 монолит

5

Отбор валовых проб крупнообломочных грунтов

8 проб

6

Отбор проб воды (при наличии)

1 проба

7

Статическое зондирование глинистых и песчаных грунтов

5 опытов

Лабораторные работы

1

Компрессионные испытания грунтов по 2-м кривым

68 анализов

2

Компрессионные испытания грунтов по 1-й кривой

9 анализов

3

Сдвиг неконсолидированный

34 анализов

4

Сдвиг консолидированный

20 анализов

5

Физические свойства грунтов

33 анализов

6

Гранулометрический анализ грунтов

83 анализов

7

Анализ водных вытяжек грунтов

43 анализов

8

Стандартный анализ воды

9 анализов

Камеральные работы

1

Составление программы работ

1 программа

2

Подготовка и выпуск технического отчета

1 отчет


Свидетельство об аттестации лаборатории - Приложение Г.

Бланки лабораторных испытаний грунтов представлены в Приложениях 1÷6 отчёта.

Камеральная обработка материалов, составление отчета выполнены в декабре 2016 - январе 2017 г. г. главным геологом ООО "Эльравис" Сологуб М. В.

Инженерно-геологические изыскания выполнялись в соответствии с Программой на производство работ (Приложение В).

Полевые, лабораторные и камеральные работы производились с соблюдением требований действующих нормативных документов [1-16].

На этапе предполевых работ проведен сбор, изучение и систематизация материалов изысканий прошлых лет, выполненных на изучаемой территории [17-18].

2. Изученность инженерно-геологических условий


В административном отношении территория проектируемого строительства расположена в Чеченской Республике г. Грозный.

Начальная точка подключения проектируемой ВЛ 110 кВ - существующая опора ВЛ 110 кВ №89, расположенная на территории бывшего НПЗ в Заводском районе. Далее проектируемая ВЛ выходит на пересечение улиц Химиков и Братьев Дубининых, далее - по ул. Братьев Дубининых до пересечения с ул. Боевая. Далее через промзону к ж/д путям, далее - вдоль железнодорожных путей до конечной точки - портала ОРУ 110 кВ на проектируемой ПС 110/10 кВ. Протяженность проектируемой ВЛ составила 2,9 км.

Проектируемая ПС 110/10 кВ расположена на ул. Боевая.

Проектируемая КЛ 10 кВ от ПС 110/10 кВ выходит на ул. Привокзальную путем прокладки кабеля под путями ж/д станции "Грозный", далее от пересечения улиц Привокзальная и Гвардейская по ул. Гвардейская - до пересечения с ул. Абики, далее к левому берегу р. Сунжа. Далее кабель разделяется конечным потребителям: на север, вдоль левого берега р. Сунжа - к ТРЦ "ГРОЗНЫЙ МОЛЛ" и восток, на правый берег реки - МВК "Ахмат Тауэр" и инфраструктуре благоустройства "КАУСАР".

Участок работ (за исключением территории бывшего НПЗ) расположен на застроенной территории. Подъезд к нему возможен в любое время года по городским улицам.

На этапе предполевых работ проведен сбор, изучение и систематизация материалов изысканий прошлых лет, выполненных на изучаемой территории.

Инженерно-геологические изыскания на территории г. Грозного получили широкое развитие в конце 50-х - начале 60-х годов прошлого века с началом массового жилищного строительства в городе.

В 1967 году сотрудниками СКО ПНИИИС Л.Г. Балаевым и В.И. Ботниковым обобщены результаты предшествующих изысканий, в результате чего составлена карта инженерно-геологического районирования для целей строительства. Аналогичная работа выполнена в 1975 г. специалистами ПИ "Чеченгражданпроект".

Все эти работы обобщены и дополнены в 1985 г. Кавминводским комплексным отделом треста "СтавропольТИСИЗ" при составлении карты сейсмического микрорайонирования территории г. Грозного, включающей площадку проектируемого строительства [17].

В 2016 году ОАО "Росстройизыскания", ООО "НПЦИЗ" составлен отчет по объекту: "Торгово-Развлекательный Центр "ГРОЗНЫЙ МОЛЛ" [18].

В приведенных работах освещаются геологические, геоморфологические, гидрогеологические и структурные аспекты района, приводятся результаты лабораторных исследований и полевых опытных работ, выполнявшихся на отдельных крупных площадках при инженерных изысканиях.

Данные материалы позволили сформировать общее представление о геоморфологическом положении, стратиграфии, геологическом и гидрогеологическом строении, тектонических особенностях участка изысканий, выработать методику, виды и объемы полевых и лабораторных работ.

Территория проектируемого строительства характеризуется сложными инженерно-геологическими условиями, определяемыми изменчивой мощностью и простиранием различных литологических разностей, широким распространением специфических (насыпных и просадочных) грунтов, а также проявлением опасных геологических процессов, осложняющих условия строительства и эксплуатации проектируемых сооружений.

3. Физико-географические и техногенные условия


3.1 Климат


Климатическая характеристика района работ приводится по данным инженерно-гидрометеорологических изысканий (Том 8. Инженерно-гидрометеорологические изыскания).

Климат района работ умеренно-континентальный, с мягкой зимой и жарким и длительным летом. Континентальность климата проявляется как в сравнительно больших годовых амплитудах колебаний температуры, так и в режиме атмосферных осадков.

Территория изысканий, согласно карте климатического районирования, расположена в III-Б климатическом районе. По климатическим условиям район изысканий относится к южной континентальной области Европейской территории России.

Сводная таблица. Основные климатические параметры

Таблица 3.1

Климатические параметры

Значения

Среднегодовая температура воздуха

10,6

°С

 

Среднегодовая температура почвы

14,0

°С

 

Суточный максимум осадков 1% обеспеченности

82,4

мм

 

Наблюденный суточный максимум 02. IX. 1956 г

90,1

мм

 

Климатические параметры холодного периода года

 

Средняя месячная температура воздуха наиболее холодного (январь) месяца

-2,9

°С

 

Расчетная температура самой холодной пятидневки, обеспеченностью 0.98 обеспеченностью 0.92

-20,0 17.0

°С °С

 

Абсолютная минимальная температура воздуха, ºС

-36,0

°С

 

Продолжительность периода (сут), со ср. сут. Tо воздуха равной и меньше 0ºС равной и меньше 8ºС равной и меньше 10ºС

 83 159 176

дней

 

Средняя месячная относительная влажность воздуха наиболее холодного месяца (январь)

87

%

 

Количество осадков за ноябрь-март

161

мм

 

Преобладающее направление ветра за декабрь-февраль

З


 

Максимум из ср. скоростей ветра за январь

3,8

м/с

 

Средняя скорость ветра, за период со среднесуточной температурой воздуха ≤8ºС

2,5

м/с

 

Наибольшая высота снежного покрова по постоянной рейке

34

см

 

Наибольшая глубина промерзания почвы

95

см

 

Климатические параметры теплого периода года

 

Средняя месячная температура воздуха наиболее жаркого (июль) месяца

24,0

°С

 

Средняя из абсолютных максимумов температура воздуха наиболее теплого месяца, ºС

37,3

°С

 

Абсолютная максимальная температура воздуха, ºС

42,0

°С

 

Температура воздуха, обеспеченностью 0.98

32

°С

 

Средняя суточная Амплитуда температуры наиболее теплого месяца (июль)

12.6

°С

 

Средняя месячная относительная влажность воздуха наиболее теплого месяца (июль)

66

%

 

Количество осадков за апрель-октябрь

407

мм

 

Суточный масимум осадков 1% обеспеченности

92,4

мм

 

Преобладающее направление ветра за июнь-август

В


 


Температура воздуха

Многолетняя среднегодовая температура воздуха 10.6°С.

Среднегодовая температура воздуха последних лет составляет 11,1°С.

Самым тёплым месяцем является июль со среднемесячной температурой 24,0°С, а самым холодным - январь со средне-многолетним значением (-2,9°С).

Среднемесячная температура января от - 5 до +2°С, июля 21+25°С. Абсолютный максимум температуры отмечался в августе (+41°С), абсолютный минимум (-33°С) в декабре.

Согласно картам СП 20.1330.2011 район изысканий относится:

к району со средней месячной температурой воздуха - 5°С, в январе (карта 5);

к району со средней месячной температурой воздуха +25°С, в июле (карта 6);

к району по отклонению средней температуры воздуха наиболее холодных суток от средней месячной температуры в январе 15°С (карта 7).

Температура почвы

Средняя годовая температура поверхности почвы +14°С.

Наиболее низкая среднемесячная тепература почвы наблюдается в январе - 2°С.

Наиболее высокая среднемесячная тепература почвы наблюдается в июле +29,5°С.

Глубина промерзания почвы на глубину, обеспеченностью 5% составляет 21-30 см.

Таблица 3.2. Расчетные глубины сезонного промерзания различных типов грунтов, м

МС Грозный,  Чеченская республика. ∑= - 5.4°С

Суглинки и глины

Супеси, пески мелкие и пылеватые

Пески гравелистые, крупной и средней крупности

Крупнообломочный материал

0.53

0.65

0.70

0.79

 

Осадки

На участке изысканий возможны опасные гидрометеорологические процессы - ливневые осадки. Максимальное суточное количество осадков обеспеченностью 1% - 92,4 мм наблюденный суточный максимум осадков - 90.1 мм (02. IX. 1956 г).

Грозы

Снежный покров

Снежный покров маломощный и неустойчивый.

Расчетное значение наибольшей декадной высоты по постоянной рейке повторяемостью один раз в 20 лет составляет 29 см.

Расчетное значение наибольшей декадной высоты повторяемостью один раз в 25 лет на открытом месте (поле) равно 55.3 см.

Расчетное значение максимального запаса воды в снежном покрове повторяемостью один раз в 25 лет на открытом месте (поле) равно 193.6 г/см3.

Вес снегового покрова Sg на 1 м2 горизонтальной поверхности земли для площадок, расположенных на высоте не более 1500 м над уровнем моря, принимается в зависимости от снегового района Российской Федерации (согласно СП 20.13330.2011, актуализированная редакция СниП 2.01.07-85*), и составляет 1.2 кПа (120кг/м2) (II снеговой район изысканий - карта 1*).

Гололедно-изморозевые явления

Наибольшее число дней с обледенением проводов гололедного станка (все виды) 52 дня. Среднее число дней с обледенением проводов гололедного станка (все виды явлений) 18 дней.

Максимальный вес отложений гололеда на проводах гололедного станка 125 г/м.

Максимальная толщина стенки гололеда повторяемостью один раз в 25 лет 10,4 мм.

С гололедом бывает 7 дней, а с изморозью - 14 дней. Сложные отложения 2 дня.

Среднее число дней с обледенением проводов гололедного станка

Таблица 3.3

Явление

X

XI

XII

I

II

III

IV

Год

Гололед

-

0,45

1,95

2,28

1,95

0,54

-

6,80

изморозь зернистая

0,1

0,5

3

3

2

0,3


9

изморозь кристаллическая

-

0,13

1,79

1,92

1,15

0,13


4,88

Мокрый снег

-

-

0,03

0,1

-

-


0,1

Сложное отложение

-

0,03

1

0,5

0,1

-


2

Все виды обледенения

0,13

1,47

4,97

5,36

3,88

2,41

0,28

17,56


Нормативная толщина стенки гололеда, превышаемая 1 раз в 5 лет, на элементах кругового сечения диаметром 10 мм, расположенных на высоте 10 м над поверхностью земли составляет 10 мм - III гололёдный район (карта 4-а, согласно СП 20.13330.2011, актуализированная редакция СниП 2.01.07-85*).

Таблица 3.4

Наибольшее число дней с обледенением проводов гололедного станка

явление

X

XI

XII

I

II

III

Год

Гололед

-

3

10

13

9

5

24

изморозь зернистая

1

4

9

10

5

3

14

изморозь кристаллическая

-

1

2

8

4

-

9

Мокрый снег

-

-

1

2

-

-

2

Сложное отложение

-

1

17

9

3

-

26

Все виды обледенения

1

5

26

19

16

6

52


Ветер

Максимальные скорости ветра более 15 м/с могут наблюдаться в любое время года.

Наибольшая скорость ветра за весь период наблюдений 40 м/с (1977-78 гг.), З и СЗ.

Максимальная скорость ветра, повторяемость превышения которой в году составляет 5%, составляет 10 м/сек. Максимальная скорость ветра, повторяемость превышения которой в году составляет 1%, составляет 15 м/сек. Наиболее вероятная скорость ветра в метель - 10-17м/с (западных румбов), при температуре воздуха в интервале от - 10º С до - 5º С. Средняя скорость ветра за год составляет 2,1 м/с.

В течение года преобладают ветры широтного направления: западный, северо-западный и восточный. Преобладающее направление за ноябрь-февраль: северо-западное. В тёплое полугодие (с марта по октябрь): восточное.

Нормативное ветровое давление, в соответствии с ветровым районом (согласно СП 20.13330.2011, актуализированная редакция СНиП 2.01.07-85*) составляет W0 = 0.48 кПа (IV ветровой район - карта 3).

Опасные метеорологические явления

На участке наблюдаются неблагоприятные природные условия, критичные для объектов энергосетей, такие как: грозовая опасность, обледенение проводов, гололедно-ветровая нагрузка, метель, аномально низкая / высокая температура, сильный ветер, сильный дождь и др.

Таблица 3.5

Перечень и критерии опасных метеорологических явлений

Наименование ОЯ

Характеристики и критерии или определение ОЯ

Наличие на участке изысканий

Очень сильный ветер

Ветер при порывах не менее 25 м/с, или средней скорости не менее 20 м/с

 Максимальная скорость ветра с учетом порыва превышающая 28 м/с наблюдается раз в 5 лет (P=20%)

Ураганный ветер

Скорость ветра (включая порывы) 33 м/с и более

Ветер 34 м/с (июль 1991г) Ветер 37 м/с (17.07.1977г) Ветер 40 м/с (1977 и 1978гг.)

Очень сильные осадки

Жидкие или смешанные осадки с количеством выпавших осадков 50 мм и более за 12 часов и менее

Продолжительность выпадения ливневых осадков 2-4 часа. 51,1 - 71,4 мм суточный максимум в в период с 2002 по 2016 г. г.

Сильная метель

Перенос снега ветром со средней скоростью 15 м/с и более продолжительностью не менее 12 часов

Наиболее вероятная скорость ветра в метель - 10-17м/с (западных румбов), при температуре воздуха в интервале от - 10º С до - 5º С

Сильное гололедно-изморозевое отложение

Отложения льда на проводах: гололеда и/или налипания мокрого снега, изморози

 Не превышает допустимых значений

3.2 Рельеф


Город Грозный расположен в широкой долине р. Сунжи и частично захватывает склоны Сунженского, Грозненского, Новогрозненского хребтов и разделяющие их долины.

Современный рельеф Пригрозненского района сформировался в основном под влиянием следующих факторов:

орогенических процессов, образовавших Грозненскую, Новогрозненскую и Сунженскую складки;

последовавшего затем разрушения этих складок деятельностью поверхностных вод.

Денудация после складкообразования была значительная, но не зашла слишком далеко, и поэтому на большей части территории рельеф прямой. Горные хребты соответствуют одноименным антиклинальным структурам. Горный рельеф приурочен к юго-западной (Сунженский хребет), северо-западной (Грозненский хребет с Ташкалинским отрогом) и юго-восточной (Новогрозненский хребет) частям г. Грозного.

Сунженский хребет в своей восточной части тянется почти в широтном направлении вдоль левого берега р. Сунжи. Он пересечен неглубокими балками, идущими под косым углом к оси складки.

Грозненский хребет, зарождаясь у г. Граничной, протягивается, вплоть до п. Ташкала. Длина хребта составляет примерно 20 км. Северный склон Грозненского хребта обрывистый, причем очень часто между водораздельной линией и отдельными возвышенностями протягиваются глубокие балки.

Новогрозненская (Алдынская) брахиантиклиналь расположена восточнее Сунженского антиклинория и представляет собой как бы слияние южной, собственно Сунженской, и северной - Старогрозненской антиклинальных ветвей.

Новогрозненский хребет отделен от Сунженского и Грозненского хребтов долиной р. Сунжи, где расположена центральная часть г. Грозного. Хребты пологие, невысокие - превышение над дном долины 100 - 280 м.

Геологическая обнаженность района весьма слабая и неравномерная по площади. Хребты, в особенности, долины покрыты мощными постплиоценовыми наносами в виде суглинков, а также аллювиальными отложениями.

Алханчуртская долина имеет широкое, плоское днище, тальвег выражен нечетко, борта пологие, постепенно переходящие в склоны хребтов [17].

3.3 Геоморфология


По геоморфологическому районированию территории Северного Кавказа район г. Грозного относится к геоморфологической провинции Предкавказья, подпровинции предгорной наклонной аллювиально-флювиогляциальной равнины [17].

Изученная территория в геоморфологическом отношении входит в состав двух областей - предгорных равнин и низкогорного рельефа на растущих плиоцен-четвертичных структурах.

Чеченская предгорная равнина является продолжением Северо-Осетинской равнины и отделяется от неё Ассиновским отрогом. Медленно прогибающаяся котловина в четвертичное время заполнилась аллювиальными и флювиогляциональными отложениями, представленными валунно-галечниками, галечниками, гравием, песками, глинами. В результате интенсивной эрозии поверхность равнины приобрела слабоволнистый характер.

Непосредственно в пределах города предгорная равнина представлена Сунженской псевдосинклинальной долиной. К её отличительным особенностям относятся террасированность поверхности и широкое распространение антропогенно преобразованных форм рельефа.

В границах г. Грозный выделяется пойма и пять надпойменных террас р. Сунжи.

Пойменные террасы представлены рядом небольших, прислоненных к реке участков, главным образом, в южной части города. Выделяется как низкая, так и высокая пойма. Превышение низкой поймы над урезом воды до 0,5 м, высокой 1-1,5 м.

Первая надпойменная терраса распространена в виде отдельных фрагментов преимущественно в центральной и северо-восточной частях города. Поверхность террасы имеет превышение над урезом воды в Сунже 2-5 м.

Рельеф террасы сильно изменен в результате хозяйственной деятельности и большей частью поверхность перекрыта насыпным слоем мощностью до 4,0 м, выравнивающим ее с поверхностью II надпойменной террасы.

Наибольшим распространением в пределах центральной части г. Грозный пользуется вторая надпойменная терраса р. Сунжи. Превышение террасы над урезом воды в Сунже составляет 5-10 м. Поверхность террасы ровная, спланированная в результате хозяйственной деятельности. Уклон преимущественно в сторону существующего русла р. Сунжи 1-3°.

Третья надпойменная терраса занимает южную и юго-восточную часть г. Грозный. Четвертая и пятая надпойменные террасы выделяются в южной части города [17].

Участок изысканий расположен на I (первой) левобережной (ВЛ 110 кВ, ПС 110/10 кВ, КЛ 10 кВ для ТРЦ "ГРОЗНЫЙ МОЛЛ") и I (первой) правобережной (КЛ 10 кВ для МФК "Ахмат Тауэр" и инфраструктуры благоустройства "КАУСАР") надпойменной террасе р. Сунжа высотой 4-5 м [17] и имеет практически горизонтальную поверхность. Рельеф площадки техногенный, спланированный. Абсолютные отметки по устьям выработок 123,05 (скв.51) - 134,80 (скв.4) м. Перепад высот составляет 11,75 м.

3.4 Гидрография


Основными водными артериями района работ являются р. Сунжа, пересекающая с юго-запада на северо-восток центральную часть г. Грозного, а также ее притоки - реки Гойта и Нефтянка. Река Сунжа имеет ледниковое питание и характеризуется летним паводком в период интенсивного таяния ледников. В районе г. Грозный Сунжа не замерзает, так как на её ледовый режим оказывает влияние сброс теплых вод, использованных промышленными предприятиями города. Для Сунжи характерна значительная мутность воды, содержащей большое количество взвешенных глинистых частиц. Средняя мутность 3800 г/м³, за год Сунжа выносит 12,2 млн. тонн наносов.

Река имеет небольшую глубину - преимущественно до 1,5 м, редко до 3,0 м, скорость течения в среднем составляет 0,8 м/с.

Река Гойта берет свое начало из родников. Фактически она представляет собой ручей с узким руслом и крутыми, обрывистыми берегами. Построенное на ней Чернореченское водохранилище регулирует сток реки, практически исключая паводки в черте города.

Протекающая по центральной части Алханчуртской долины р. Нефтянка берет свое начало в балках северного склона Грозненского хребта. Является коллектором для сброса добываемых вместе с нефтью пластовых вод. Средний расход Нефтянки 0,3-0,5 м³/с, максимальный расход 1 % обеспеченности - 200 м3/с (паводок 1953 г.) [17].

Проектируемая трасса КЛ 10 кВ пересекает реку Сунжа на 87 км от её устья.

На большей части водосбора русло Сунжи подвержено процессам свободного меандрирования, которые постоянно влияют на фактическое расстояние реки до устья и от истока. Также на эту характеристику влияют исскуственные спрямления русла. В городе Грозный меандрирование ограничено берегоукреплениями. Для предотвращения разливов русло р. Сунжа в центрально части Грозного заключено в бетонный канал. Высота берегоукрепления от дна до верхней кромки составляет 7-9 м.

Средний уклон реки в предгорной зоне в среднем составляет 8-15 ‰; на участке изысканий не превышает 3 ‰.

Площадь водосбора до створа пересечения КЛ с рекой Сунжа составляет 4720 км2.

Русло реки Сунжа, пересекаемое трассой КЛ, в плане устойчиво, берега укреплены и подняты на 8-9 метров от дна. Аллювиальные отложения, заполняющие дно, перемещаются под воздействием увеличивающихся скоростей течения во время прохождения каждого паводка и откладываются у выпуклого берега, формируя побочни.

На рассматриваемом участке реки Сунжа преобладают процессы транзита взвешенных наносов и переотложения донных наносов. Русловые деформации проявляются в сезонных деформациях дна. Наблюдается процесс постепенного заиления (повышения отметок дна); скорость повышения отметок дна 0.1 м за 30 лет (0.3 см в год в среднем).

При прохождении паводка 1% обеспеченности наиболее вероятным будет наблюдаться затор от карчехода под расположенными ниже мостовыми переходами. Уклоны воды будут незначительными. На участке пересечения выхода воды на пойму не произойдет (берега достаточно высоки), средние скорости потока при заторах не превышают скорости размыва, деформаций берегов и дна не происходит.

Проектируемая трасса ВЛ-110 кВ проходит вблизи реки Сунжа, на перекрестке улиц Боевая и Братьев Дубининых - в 200 м от её левого берега; двухтрансформаторная ПС-2х40-110/10 кВ располагается в 100 м от левого берега Сунжи; планируется пересечение трассой КЛ 10 кВ реки Сунжа для подключения к инфраструктуре благоустройства "КАУСАР" и одна нитка КЛ 10 кВ протягивается вдоль левого берега Сунжи для подключения к строящемуся зданию торгово-развлекательного центра "ГРОЗНЫЙ МОЛЛ".

Все участки проектируемой трассы находятся вне зоны воздействия максимальных уровней воды при паводках 1% обеспеченности.

Тип руслового процесса на реке - ограниченное меандрирование с побочнями. Берега укреплены бетоном. В многолетнем режиме наблюдается слабое повышение отметок дна, интенсивностью 0.1 м за 30 лет (0.3 см в год в среднем).

В соответствии с Водным кодексом, водоохранная зона реки Сунжа в городе Грозный составляет 200 м от края берега или парапета набережной.

В границах водоохранных зон допускаются проектирование, строительство, реконструкция, ввод в эксплуатацию, эксплуатация хозяйственных и иных объектов при условии оборудования таких объектов сооружениями, обеспечивающими охрану водных объектов от загрязнения, засорения, заиления и истощения вод в соответствии с водным законодательством и законодательством в области охраны окружающей среды (Том 8. Инженерно-гидрометеорологические изыскания).

4. Геологическое строение и тектоника


В геолого-литологическом строении участка изысканий до глубины 30,0 м принимают участие следующие стратиграфо-генетические комплексы:

комплекс современных техногенных отложений (tQIV) представлен насыпным грунтом (асфальт, бетон, валунно-галечниковый грунт - в качестве грунтов обратной засыпки берегоукрепительных сооружений р. Сунжа, суглинки с крупнообломочными включениями). Отложения распространены повсеместно, мощность отложений от 0,5 до 13,5 м.

-       комплекс нерасчлененных эолово-делювиально-пролювиальных верхнечетвертичных и современных отложений (vdpQIII-IV). Генезис этих отложений большинством исследователей классифицируется как делювиальный и пролювиальный, при подчиненном значении эоловых процессов. Отложения представлены просадочными (лессовидными) и непросадочными легкими и тяжелыми суглинками, супесями и глинами. В зоне аэрации лессовидные отложения имеют твердую и полутвердую консистенцию, в зоне водонасыщения - текучую и текучепластичную консистенцию, проявляя тиксотропные свойства [17].

Грунты залегают под техногенными отложениями, вскрытая мощность достигает 8,0 м. Распространены практически, повсеместно, за исключением участка в районе угла поворота №6 (скв. №№15-17) проектируемой ВЛ110 кВ.

комплекс аллювиальных верхнечетвертичных отложений (аQII-III), представленный гравийно-галечниковыми грунтами с песчаным, супесчаным, редко суглинистым заполнителем менее 30% с линзами и прослоями песков различной крупности. Грунты залегают под эолово-делювиально-пролювиальными отложениями. В районе скв. №№15-17 галечниковые грунты залегают практически с поверхности - перекрыты лишь насыпным грунтом мощностью 1,0-1,3 м. Вскрытая мощность аллювиальных грунтов составила 0,3-29,0 (скв. №16) м.

По данным работ, выполненных на прилегающей территории, вскрытая мощность аллювиальных отложений составила 33,8 - 37,3 м [18].

В региональном тектоническом плане район г. Грозного расположен в средней зоне альпийского передового Терского прогиба. Главными элементами его структуры являются два линейных антиклинальных поднятия: северное (Терское) и южное (Сунженское), выраженных в рельефе одноименными низкогорными передовыми хребтами, и разделяющая их синклинальная депрессия - Алханчуртская долина.

Складчатый характер строения прогиба предопределил активные тектонические движения взбросового характера (надвиг) вдоль крыльев Сунженского поднятия, особенно, северного. Один из таких надвигов, плоскость которого представляет зону из серии разрывных нарушений, картируется в северной части Грозного в направлении Петропавловского шоссе.

В равнинной части Грозного, где мощность четвертичных отложений достигает 200 м, расположены Алханчуртская и Сунженская долины, представляющие пассивные блоки, не испытавшие локальных поднятий в отличие от смежных зон. Проявлений процессов неотектоники на данных участках не наблюдается [17; 18].

5. Гидрогеологические условия


Гидрогеологические условия исследованной территории тесно связаны с ее структурно-тектоническим строением. Сунженский антиклинорий разделяет два межгорных артезианских бассейна: Алханчуртский и Сунженский, имеющие самостоятельные области питания, циркуляции и разгрузки. Обособленность бассейнов обусловлена распространением толщи водонепроницаемых миоценовых отложений в сводах Терского и Сунженского хребтов.

Оба бассейна имеют двухярусное строение. Нижний ярус содержит напорные воды, заключенные в песках, песчаниках и конгломератах неогенового возраста. Вскрываются на глубинах 150-200 и более метров. Областью питания являются склоны хребтов в местах выхода водопроницаемых отложений на дневную поверхность, а также участки их контакта с водами четвертичных аллювиальных отложений. Частичная разгрузка неогенового водоносного комплекса происходит в местах размыва неогеновых отложений, где водоносные слои контактируют с четвертичными галечниками.

Верхний ярус представлен водоносным комплексом четвертичных отложений, содержащим напорно-безнапорные подземные воды, заключенные в аллювиальных песках и гравийно-галечниках. В свою очередь верхний ярус делится на два водоносных горизонта. Нижний горизонт включает в себя водоносные горизонты нижнее и средне-четвертичных отложений. Водовмещающими породами являются галечники с песчаным заполнителем. Имеющиеся в толще прослои суглинков и галечников с суглинисто-глинистым заполнителем играют роль относительного водоупора и создают на ряде участков местный напор. Невыдержанность этих прослоев по простиранию создает условия для активного водообмена горизонта с залегающими выше подземными водами верхнечетвертичных и современных отложений, составляющими верхний водоносный горизонт четвертичного комплекса. Этот горизонт, пользующийся повсеместным распространением в пределах изученной территории, имеет определяющее значение для целей проектируемого строительства.

Именно к верхнему горизонту верхнего водоносного яруса верхнечетвертичных и современных отложений относятся вскрытые изысканиями подземные воды.

На период изысканий (октябрь-декабрь 2016 г.) подземные воды вскрыты на на глубинах от 1,3 до 15,0 м.

Подземные воды, вскрытые на участке изысканий, разделяются на два генетических типа: техногенные и природные.

Техногенные воды. Образованы в результате утечек из водонесущих коммуникаций:

скв. №20 - появление на глубине 1,3 м (абс. отм.127,90 м);

скв. № 43 - появление на глубине 1,8 м (абс. отм.126,64 м);

скв. №48 - появление на глубине 5,0 м (абс. отм.121,20 м).

Вода, вскрытая в данных скважинах, залегает близко к поверхности в насыпных грунтах. Имеет весьма специфический запах ЖБО (жидких бытовых отходов), идентичный запаху из расположенных в непосредственной близости от точек бурения открытых и местами разрушенных канализационных коллекторах. Дополнительно к этому, в пробе воды из скв. № 20, присутствует весьма большая доля нефтепродуктов. По рассказам сотрудников железной дороги, ранее в точке бурения располагались ж/д пути товарного двора станции "Грозный", где осуществлялась погрузка-разгрузка в том числе и нефтепродуктов. В настоящий момент рельсы демонтированы, на поверхности земли остались шпалы и бетонные межпутевые плиты. Возможные утечки нефтепродуктов при погрузке-разгрузке основательно пропитали прилегающую территорию, т.к. грунты, вскрытые в соседних скважинах имеют темно-серую, до черной, окраску и сильный запах нефтепродуктов.

Вода из скв. №48 вскрыта на глубине 5,0 м (абс. отм.121,20 м), имеет явно техногенное происхождение, так как в полосе прохождения КЛ 10 кВ к ТРЦ "Грозный МОЛЛ" вдоль забора Погранслужбы и бетонной стенкой левого берега р. Сунжа проложен водопровод и местами обнажается бетонный канализационный коллектор, частично разрушенный. На данном участке вода вскрыта только в скв. №48, в соседних скважинах подземные отсутствуют, что говорит о локальной утечке.

Гидродинамическая связь воды в скв. №48 с рекой Сунжа отсутсвует (уровень зеркала р. Сунжа на момент изысканий - абс. отм.117,82 м (04.11.2016 год). Разница в уровнях вод составляет 3,38 м.

Водовмещающим грунтом в скважине является валунно-галечниковый грунт обратной засыпки бетонной стенки левого берега р. Сунжа. Относительным водоупором выступает бетонная плита толщиной 1,5 м в основании стенки берега.

При заложении фундаментов ВЛ 110 кВ на проектируемую глубину в 2,85-3,3 м участок изысканий в районе скв. №20 следует отнести к типу I-Б - техногенно подтопленному [14], относящемуся к подзоне умеренного подтопления [10].

При заложении КЛ 10кВ на проектируемую глубину 0,7 м участок изысканий в районе скв. №43 следует отнести к типу II-Б1 - потенциально подтопляемому в результате ожидаемых техногенных воздействий [14], относящемуся к подзоне умеренного подтопления [10].

При заложении КЛ 10кВ на проектируемую глубину 0,7 м участок изысканий в районе скв. №48 следует отнести к типу II-А2 - потенциально подтопляемому в результате экстремальных природных ситуаций [14].

Основными неблагоприятными факторами для развития подтопления являются утечки из водонесущих коммуникаций, отсутствие выраженного поверхностного стока, неглубокое залегание глинисто-суглинистых пород, являющихся относительным водоупопором, слабое испарение.

Природные подземные воды.

Вскрытые природные подземные воды следует разделить на два горизонта.

Горизонт 1. Подземные воды вскрыты скв. №№ 1; 1а; 1б; 2 и 3:

скв. №1 - появление на глубине 2,3 м (абс. отм.133,20 м);

скв. №1а - появление на глубине 1,3 м (абс. отм.129,00 м);

скв. №1б - появление на глубине 1,7 м (абс. отм.130,60 м);

скв. №2 - появление на глубине 3,8 м (абс. отм.130,80 м);

скв. № 3 - появление на глубине 5,1 м (абс. отм.129,90 м).

Распространены локально: в районе подключения проектируемой ВЛ 110 кВ к существующей ВЛ 110 кВ - у опоры №89.

Водовмещающими грунтами являются насыпные, суглинистые, песчаные и гравийные отложения. Относительным локальным (для данного участка) водоупором выступает глина полутвердой-тугопластичной консистенции. Данный водоупор вскрыт тремя скважинами. Вскрытая мощность водоупора составляет 1,2-4,5 м.

Общее направление грунтового потока подземных вод в южном и юго-восточном направлении в сторону реки Сунжа .

Питание подземных вод осуществляется, в основном, за счет инфильтрации атмосферных осадков.

Тип режима подземных вод на данном участке классифицируется как устойчиво-неблагоприятный. Изменение уровня характеризуется весеннее - летним подъёмом и осенне-зимним спадом с незначительной амплитудой колебаний.

При заложении фундаментов на проектируемую глубину в 2,85-3,3 м участок изысканий в районе подключения ВЛ110 кВ следует отнести к типу I-А - подтопленный в естественных условиях [14], относящемуся к подзоне умеренного подтопления [10].

Рисунок 5.1

Основными неблагоприятными факторами для развития подтопления являются отсутствие выраженного поверхностного стока, неглубокое залегание глинисто-суглинистых пород, являющихся относительным водоупопором, слабое испарение.

Горизонт 2. Подземные воды вскрыты скв. №№ 8 и 16 (ВЛ 110 кВ); 29; 33 и 35 (ПС 110/10 кВ):

скв. №8 - появление на глубине 14,9 м (абс. отм.116,60 м);

скв. №16 - появление на глубине 13,0 м (абс. отм.117,10 м);

скв. №29 - появление на глубине 15,0 м (абс. отм.113,36 м);

скв. №33 - появление на глубине 14,8 м (абс. отм.113,57 м);

скв. №35 - появление на глубине 14,3 м (абс. отм.114,21 м).

Подземные воды вскрыты скважинами на абсолютных отметках 113,36 - 117,10 м.

Водовмещающими грунтами являются разнозернистые пески, залегающие под галечниковыми грунтами. Водоупор до глубины 22,0-30,0 не вскрыт.

По данным инженерных изысканий, выполненных в 2016 г. на прилегающей с севера территории [18], вскрыт водоносный безнапорный горизонт, приуроченный к аллювиальным верхнечетвертичным отложениям (aQII-III), на глубинах 8,0 - 12,9 м, абсолютные отметки 110,51 - 116,21 м.

Абсолютные отметки зеркала грунтовых вод весьма близки на достаточно протяженном (5-6 км) участке, что позволяет сделать вывод о едином выдержанном водоносным горизонте левобережья р. Сунжа, предположительно, гидродинамически связанным с уровнем воды в реке.

При заложении фундаментов ВЛ 110 кВ на проектируемую глубину в 2,85-3,3 м и фундаментов ПС 110/10 кВ на глубину 1,8-5,0 м участок изысканий следует отнести к типу III-А - неподтопляемый в силу естественных причин (надежный естественный дренаж) [14].

Согласно [17] в качестве относительного водоупора для верхнего водоносного горизонта, в пределах Сунженской долины принята кровля выдержанного по площади суглинистого прослоя, разделяющего верхний и нижний ярусы верхнечетвертичных отложений на глубине 33-45 м.

Региональным водоупором для комплекса четвертичных отложений являются отложения неогена, залегающие на глубинах 200-250 м. Питание подземных вод происходит за счет инфильтрации атмосферных осадков и поверхностных вод, утечек из подземных коммуникаций, перетока из более глубоких горизонтов и, частично, за счет подземного притока.

Согласно табл. В.4 [9] показатель агрессивности жидкой среды с содержанием сульфатов для бетонов:

на портландцементе марок по водонепроницаемости W4-W8 - "сильноагрессивная";

на шлакопортландцементе марки по водонепроницаемости W4 - "слабоагрессивная"; марки по водонепроницаемости W6-W8 - "неагрессивная";

на сульфатостойком цементе марок по водонепроницаемости W4-W8 - "неагрессивная".

Согласно табл. Г.2 [9] степень агрессивного воздействия жидкой хлоридной среды на арматуру железобетонных конструкций из бетона марки по водонепроницаемости не менее W6 при постоянном погружении - "неагрессивная"; при периодическом смачивании - "среднеагрессивная".

6. Свойства грунтов


В результате анализа пространственной изменчивости свойств грунтов, с учетом данных о геологическом строении и литологических особенностях пород, а также физико - механических свойств грунтов, в разрезе участка изысканий выделены 16 инженерно-геологических элементов (ИГЭ).

Оценка грунтов проведена по [1].

Инженерно-геологические элементы (ИГЭ).

ИГЭ-1. Грунты слоя классифицируются как несвязные, техногенные, антропогенно образованные грунты (t QIV). Имеют повсеместное распространение, представляют собой галечниковую отсыпку пазух фундаментов, асфальт, бетон, строительный мусор.

ИГЭ-1а. Грунты слоя классифицируются как несвязные, техногенные, техногенно перемещенные природные грунты (t QIV). Имеют локальное распространение, представляют собой суглинок с галькой, гравием и строймусором до 15-20%.

Грунты ИГЭ-2÷ИГЭ-6 классифицируются как природные дисперсные, связные, осадочные, полиминеральные глинистые грунты, эолово-пролювиально-делювиального генезиса, верхнечетвертичного возраста (vpdQIII-IV).

Грунты ИГЭ-7÷ИГЭ-12 относятся к классу - дисперсные, подклассу - несвязные, к типу - осадочные, к подтипу - аллювиальные, к виду - минеральные, подвиду - крупнообломочные грунты верхнечетвертичного возраста (аQII-III).

В процессе камеральных работ, в соответствии с [2], выполнен статистический анализ частных значений - Приложение Ж, нормативные и расчетные значения характеристик грунтов представлены в Таблице 6.2, результаты анализов коррозионной агрессивности грунтов приведены в Таблице 6.3 Группировка грунтов по трудности разработки приведена по [16] в Таблице 6.2 и в условных обозначениях к разрезам (Книга 2. Чертеж 2 - графической части отчета).

Ниже приведена характеристика физико-механических, прочностных, деформационных свойств выделенных типов грунтов. Их пространственная изменчивость отражена на инженерно-геологических разрезах I-I ÷XII-XII и в геолого-литологических колонках скважин (Книга 2. Чертежи 2÷3 графической части отчета).

ИГЭ-1. Насыпной грунт - неоднородный, неслежавшийся.

Грунты ИГЭ-1 изучены визуально. Насыпные грунты представлены, преимущественно, строительным мусором, перемещенными природными грунтами мощностью 0,4-1,5 м. Данные грунты, за исключением скв. №48 не являются грунтами оснований сооружений. При строительстве их следует полностью удалить.

В скв. №48 вскрыта максимальная мощность грунтов ИГЭ-1 - 13,5 м. Грунты представляют собой гравийно-галечниковые грунты с валунами. Являются грунтами обратной засыпки берегового укрепления. Мощность грунтов засыпки составляет 12,0 м. Грунты засыпки залегают на бетонной плите толщиной 1,5 м, являющейся основанием для вертикальной бетонной стенки укрепления берега. Для проектируемой КЛ 10 кВ в районе скв. №48 данные грунты возможно принять в качестве грунтов оснований.

ИГЭ-1а. Представлен насыпным грунтом - суглинком тяжелым, от тугопластичной до мягкопластичной консистенции, с галькой и гравием до 15-20%, строймусором, неоднородным, рыхлым, пропитанным нефтепродуктами. Грунт ИГЭ-1а крайне неоднородный, рыхлый, имеет большую мощность (7,2 м), обводненный, имеет низкую несущую способность.

По грунтам ИГЭ-1а выполнен гранулометрический анализ и определение физических свойств.

Рекомендуемое значение модуля деформации приводится по результатам штамповых испытаний, прочностные характеристики - по результатам статического зондирования.

При заложении фундаментов на проектную глубину, в точке подключения ВЛ 110 кВ к существующей линии, грунтами основания будут служить грунты ИГЭ-1а.

Грунт ИГЭ-1а обладает низкими деформационными и прочностными характеристиками и в качестве грунтов основания не рекомендуется.

В соответствии с СП 11-105-97, Часть III, грунты ИГЭ-1 и ИГЭ-1а отнесены к специфическим грунтам.

ИГЭ-2а. Суглинок просадочный, легкий, твердой консистенции.

По данным компрессионных испытаний, выполненных по методу "двух кривых" грунты ИГЭ-2а проявляют просадочные свойства, преимущественно, от давлений, превышающих природное.

ИГЭ-2б. Суглинок просадочный, тяжелый, твердой консистенции.

По данным компрессионных испытаний, выполненных по методу "двух кривых" грунты ИГЭ-2б проявляют просадочные свойства от давлений, превышающих природное.

ИГЭ-3а. Супесь просадочная, твердой консистенции, Wест. =7%.

По данным компрессионных испытаний, выполненных по методу "двух кривых" грунты ИГЭ-3а проявляют просадочные свойства, преимущественно, от давлений, превышающих природное.

ИГЭ-3б. Супесь просадочная, твердой консистенции, Wест. =17%.

По данным компрессионных испытаний, выполненных по методу "двух кривых" грунты ИГЭ-3б проявляют просадочные свойства от давлений, превышающих природное.

ИГЭ-4. Глина просадочная просадочная, легкая, твердой консистенции.

По данным компрессионных испытаний, выполненных по методу "двух кривых" грунты ИГЭ-4 проявляют просадочные свойства от давлений, превышающих природное.

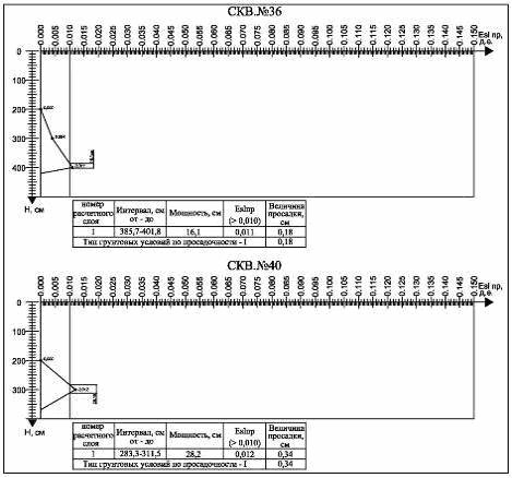
Максимальная суммарная просадка грунтов ИГЭ-2а÷ИГЭ-4 от собственного веса составляет 0,34 см (скв. №40) - менее 5 см, при мощности просадочной толщи в данной скважине 3,3 м. Наибольшая мощность просадочной толщи составляет 4,1 м (скв. №30). Просадочные грунты относятся к I (первому) типу грунтовых условий по просадочности.

Суммарная просадка просадочных грунтов от природного давления приведена в таблице 6.1:

Таблица 6.1

№№

Скважина

Величина просадки от собственного веса, см

Мощность просадочной толщи, м

Тип грунтовых условий по просадочности

1

Скв.36

0,18

1,61

I тип

2

Скв.40

0,34

2,82



Границы распространения просадочных грунтов приведены в Чертеже 1. Графики изменения относительной просадочности от природного давления по глубине приведены на рисунке 6.1:

Рисунок 6.1

В соответствии с СП 11-105-97, Часть III, грунты ИГЭ-2а÷ИГЭ-4 отнесены к специфическим грунтам.

Рекомендуемые значения модулей общей деформации грунтов ИГЭ-2а÷ИГЭ-4 приводятся по данным штамповых испытаний при естественной влажности; полном водонасыщении, в интервале давлений 100-200 кПа.

Рекомендуемые значения модулей общей деформации грунтов ИГЭ-2а÷ИГЭ-4 при полном водонасыщении приводятся по данным компрессионных испытаний, в интервале давлений 100-200 кПа, с учетом коэффициента сжимаемости грунтов по лабораторным данным к модулю деформации, полученному в результате штамповых испытаний грунтов при естественной влажности: для грунтов ИГЭ-2а - m=6,36; ИГЭ-2б - m=3,44; ИГЭ-3а - m=9,22; ИГЭ-3б - m=4,83; ИГЭ-4 - m=3,73.

Рекомендуемые значения прочностных характеристик для грунтов ИГЭ-2а÷ИГЭ-4 приводятся по результатам лабораторных испытаний, выполненных по схеме неконсолидированного среза при полном водонасыщении и вертикальных давлениях 50, 100, 150 кПа, с учетом результатов статического зондирования.

В условиях прогнозного водонасыщения грунты ИГЭ-2а, ИГЭ-3а и ИГЭ-3б следует отнести к III категории грунта по сейсмическим свойствам; грунты ИГЭ-2б и ИГЭ-4 следует отнести ко II категории грунта по сейсмическим свойствам.

ИГЭ-5а. Суглинок непросадочный, легкий, полутвердой консистенции.

ИГЭ-5б. Суглинок непросадочный, тяжелый, полутвердой консистенции.

ИГЭ-6. Глина непросадочная, легкая, твердой консистенции.

Рекомендуемые значения прочностных характеристик глинистых грунтов ИГЭ-5а ÷ ИГЭ-6 приводятся по данным статического зондирования, с учетом лабораторных испытаний, выполненных по схеме консолидированного среза при полном водонасыщении и вертикальных давлениях 100, 200, 300 кПа (для твердых глин 100, 300, 500 кПа).

Рекомендуемые значения модулей общей деформации грунтов ИГЭ-5а÷ИГЭ-6 при полном водонасыщении приводятся по данным компрессионных испытаний, в интервале давлений 100-200 кПа, с учетом коэффициента сжимаемости грунтов по лабораторным данным к модулю деформации, полученному в результате штамповых испытаний грунтов при естественной влажности: для грунтов ИГЭ-5а - m=1,36; ИГЭ-5б - m=1,32; ИГЭ-6 - m=1,38.

В условиях прогнозного водонасыщения грунты ИГЭ-5а, ИГЭ-5б и ИГЭ-6 следует отнести ко II категории грунта по сейсмическим свойствам.

ИГЭ-7. Песок пылеватый, плотный, неоднородный, сильноводопроницаемый, от маловлажного до водонасыщенного.

ИГЭ-8. Песок мелкий, плотный, неоднородный, сильноводопроницаемый, от маловлажного до водонасыщенного.

ИГЭ-9. Песок средней крупности, плотный, неоднородный, сильноводопроницаемый, от маловлажного до водонасыщенного.

ИГЭ-10. Песок гравелистый, плотный, неоднородный, сильноводопроницаемый, от маловлажного до водонасыщенного.

По грунтам ИГЭ-7÷ИГЭ-10 выполнено определение гранулометрического состава.

Плотность сложения песчаных грунтов, рекомендуемые прочностные и деформационные характеристики грунтов приведены по данным статического зондирования. Степень неоднородности и фильтрационные характеристики песчаных грунтов выполнены методом расчета по d17 интегральных кривых гранулометрического состава - Приложение Н.

Грунты ИГЭ-7÷ИГЭ-10 следует отнести к III категории грунта по сейсмическим свойствам. ИГЭ-11. Гравийный грунт осадочных пород, неоднородный, от маловлажного до водонасыщенного.

ИГЭ-12. Галечниковый грунт осадочных пород, неоднородный, от маловлажного до водонасыщенного. По грунтам ИГЭ-11÷ИГЭ-12 выполнено определение гранулометрического состава. Степень неоднородности крупнообломочных грунтов выполнены методом расчета по d17 интегральных кривых гранулометрического состава - Приложение Н. Рекомендуемые деформационные характеристики грунтов ИГЭ-11÷ИГЭ-12 приведены по данным штамповых испытаний. Грунты ИГЭ-7÷ИГЭ-10 следует отнести ко II категории грунта по сейсмическим свойствам. Грунты участка изысканий, залегающие выше уровня грунтовых вод, в той или иной степени обладают агрессивностью воздействия сульфатов к бетонам на портландцементе и щлакопортландцементе марок по водонепроницаемости W4-W20.

При проектировании и строительстве следует рекомендовать применение сульфатостойких цементов.

Степень агрессивного воздействия хлоридов в грунтах на арматуру ж/б конструкций в бетонах марок по водонепроницаемости W4-W14 при толщине защитного слоя в 20-30 мм в просадочных грунтах достигает "сильноагрессивной". В непросадочных грунтах степепень агрессивного воздействия хлоридов в грунтах на арматуру ж/б конструкций в бетонах марок по водонепроницаемости W4-W14 при толщине защитного слоя в 20-30 мм "неагрессивная". Комплекс исследований в обоснование электрохимической защиты подземных коммуникаций, согласно [4], выполненный в составе геофизических исследований (Том 9. Инженерно-геофизические исследования) включал полевые измерения удельного электрического сопротивления (УЭС). При проведении электроразведочных работ, была выбрана глубинность до 3 метров. Исходя из этого на 1 точке измерения УЭС записываются 3 показания (интервал 1 метр по глубине). Местоположение точек измерения указано на карте фактического материала (Книга 2. Чертеж 1).

В рисунок 6.2 представлены результаты измерений удельного электрического сопротивления грунта.

H, м

УЭС 1

УЭС 2

УЭС 3

УЭС 4

УЭС 5

УЭС 6

УЭС 7

УЭС 8

УЭС 9

УЭС 10

УЭС 11

1

11,3

23,6

29,7

16,3

32,8

108,2

44,9

71,3

63,0

37,1

2

11,4

19,8

23,7

22,1

26,3

70,8

42,8

50,7

55,8

74,3

24,4

3

11,8

18,7

26,2

25,4

34,1

62,2

41,9

60,8

73,1

92,5

23,5













H, м

УЭС 12

УЭС 13

УЭС 13-2

УЭС 15

УЭС 16

УЭС 17

УЭС 18

УЭС 19

УЭС 20

УЭС 14

УЭС 21

1

86,4

190,7

87,1

53,1

267,0

73,9

65,8

77,6

52,7

35,9

80,5

2

22,1

74,1

31,3

23,0

253,9

33,0

27,0

25,2

20,8

25,6

30,6

3

17,4

49,8

17,6

15,8

195,8

21,0

20,2

18,7

16,1

17,6

23,8













H, м

УЭС 22

УЭС 23

УЭС 24

УЭС 25

УЭС 26

УЭС 27

УЭС 28

УЭС 29

УЭС 30

УЭС 31

УЭС 32

1

237,9

120,3

35,1

22,9

31,9

255,5

197,2

18,7

28,2

18,8

76,5

2

57,3

46,3

20,5

17,6

14,0

154,6

62,3

18,7

19,2

17,6

49,2

3

38,2

28,6

12,8

17,5

13,0

93,9

28,2

19,5

18,5

19,4

44,0

Рис. 6.2

Согласно табл. 1 [4] полученные значения выделены в группы с различной коррозионной агрессивностью грунта по отношению к углеродистой и низколегированнной стали. Так, грунты с низкой коррозийной агрессивностью обозначены зеленым цветом, со средней - желтым, с высокой - красным.

Все выделенные литологические разности на участке изысканий обладают высокой коррозионной агрессивностью по отношению к стали. При этом высокая коррозионная активность, помимо глинистых пород, характерна и для крупнообломочных пород, что скорее всего связано с литологическим составом заполнителя. Данная особенность грунтов отмечена также в работе предшественников [17].

Как видно из таблицы 6.4 до глубины 3 метра представлены грунты с разной коррозионной агрессивностью, поэтому для наглядности была построена карта удельных сопротивлений (Книга 2. Чертеж 3).

7. Опытные работы


7.1 Статическое зондирование


В части выполнения требований приложений Ж и И [13] на участке изысканий выполнен 31 опыт статического зондирования глинистых и песчаных грунтов. Глубина опытов (3,8-10,4 м) выбиралась исходя из проектной глубины заложения фундаментов, наличия подстилающих крупнообломочных грунтов, при средней глубине исследований 4,0-6,0 м. Точки статического зондирования располагались вблизи опорных скважин на расстоянии не более 1,0-1,5 м (для увязки с геологическим разрезом).

Данные испытания позволили уточнить глубину залегания песчаных и глинистых грунтов, дать оценку физико-механических свойств грунтов, оценить плотность сложения песков, оценить возможность погружения свай в грунты и их несущей способности (в точке присоединения проектируемой ВЛ 110 кВ к существующей линии - СЗ-1), провести контроль качества геотехнических работ.

Испытания проводились комплектом аппаратуры ТЕСТ-К2, зонд II типа (Фото 7.1). Обработка результатов проведена программой GEOEXPLORER v3.14b473 (ЗАО "Геотест").

Фото 7.1 Комплект аппаратуры "ТЕСТ-К2"

По данным испытаний грунтов статическим зондированием прочностные и деформационные характеристики грунтов при природной влажности составили:

Таблица 7.1

№ ИГЭ

Наименование ИГЭ

qc ср, МПа

Нормативные

Расчетные

E, МПа




φ, град

C, кПа

φ1, град

С1, кПа

φ2, град

С2, кПа


1

Насыпной грунт

1,36








Насыпной грунт - суглинок тяжелый, с галькой и гравием до 15-20%

0,55

16,29

14,29

14,17

9,53

14,81

11,43

3,84

Суглинок просадочный, легкий

3,50

23,21

31,28

20,51

23,81

21,38

26,79

23,66

Суглинок просадочный, тяжелый

3,25

23,01

30,08

20,33

23,05

21,25

25,88

22,25

Супесь просадочная, Wест=7%

5,57

25,95

40,96

22,50

32,97

23,81

36,21

34,95

Супесь просадочная, Wест=17%

2,64

22,27

26,82

19,48

21,44

20,52

23,62

18,46

4

Глина просадочная, легкая

3,31

20,31

41,00

17,68

29,36

18,55

34,04

22,78

Суглинок непросадочный, легкий

2,70

22,26

27,21

19,70

23,67

20,69

25,08

18,91

Суглинок непросадочный, тяжелый

2,34

21,28

24,47

18,81

20,72

19,74

22,22

15,71

6

Глина непросадочная

3,12

20, 20

40,47

17,38

31,82

18,42

35,29

21,65

7

Песок пылеватый

13,14

33,49


29,01


30,46


29,49

8

Песок мелкий

20,54

36,58


31,58


33,27


37,36

9

Песок средней крупности

19,00

36,09


31,38


32,81


35,85

10

Песок гравелистый

23,48

37,52


32,62


34,10


41,00

 

Примечание: Расчетные значения свойств грунтов, определены для ИГЭ с коэффициентом вариации (V<=0.3) и включающих не менее шести измерений (n>=6) по [2].

Доверительная вероятность - по СП 22.13330.2011 "СНиП 2.02.01-83", п.5.3.16 [10]: 1-0.95, 2-0.85. В остальных случаях используются коэффициенты надежности из п.5.4 [2].

Прочностные и деформационные характеристики песчаных грунтов (ИГЭ-7÷ИГЭ-10) рекомендованы в качестве нормативных значений (Таблица 6.2 Пояснительной записки).

По результатам инженерных изысканий выделен ИГЭ-1а, представленный насыпным грунтом - суглинком тяжелым, от тугопластичной до мягкопластичной консистенции, с галькой и гравием до 15-20%, строймусором, неоднородным, рыхлым, пропитанным нефтепродуктами (фото 7.2 и 7.3):

Фото 7.2

Фото 7.3

ИГЭ-1а распространен локально, вскрыт лишь в скв. №1.

При заложении фундаментов на проектную глубину, в точке подключения ВЛ 110 кВ к существующей линии, грунтами основания будут служить грунты ИГЭ-1а.

Грунт ИГЭ-1а крайне неоднородный, рыхлый, имеет большую мощность (7,2 м), обводненный, имеет низкую несущую способность. С глубины 7,2 м подстилается грунтами ИГЭ-6 - глиной полутвердой-тугопластичной консистенции, с глубины 9,6 м - песком мелкозернистым (ИГЭ-8), с глубины 10,4 - гравийным грунтом (ИГЭ-11).

Грунт ИГЭ-1а в качестве грунтов основания не рекомендуется.

По результатам статического зондирования СЗ-1 в программе GEOEXPLORER v3.14b473 (ЗАО "Геотест") был проведен расчет несущей способности (Fd, кН) буровой (насухо, раствор), винтовой (водонасыщенный, вдавливание), забивной круглой, забивной висячих свай - Приложение Л.

В Приложении Л представлены частные значения предельного сопротивления висячих свай Fu, в кН при глубине погружения в метрах до глубины 10,0 м относительно абсолютной отметки планировки 135,50 м. Для расчета выбран шаг 0,5 м, диаметр (сторона) сваи - 0,6 м. Расчеты рекомендуются к рассмотрению проектной организацией.

В качестве альтернативного грунта основания фундаментов с возможностью опирания или заглубления в грунт сваи рекомендуется рассмотреть гравийный грунт ИГЭ-11, залегающий с глубины 10,4 м, имеющий мощность 2,3 м. Сводная таблица физико-механических характеристик грунтов по данным статического зондирования приведена в Приложении И, расчетные характеристики грунтов в опытах статического зондирования по ИГЭ с геологической колонкой в Приложении К, расчет несущей способности свай в Приложении Л. Графики зондирования приведены в инженерно-геологических разрезах - Книга 2. Чертежи.

7.2 Штамповые испытания


В соответствии с Программой на производство работ (Приложение В) на участках проектируемых ВЛ110 кВ и ПС 110/10 кВ выполнено 12 штамповых опытов по испытанию грунтов оснований фундаментов методом полевого определения характеристик деформируемости. Штамповые испытания грунтов проводились в скважинах при естественной влажности, на глубине заложения фундаментов проектируемых сооружений - 2,0-2,5 м; 3,0 и 4,5-5,2 м. В зависимости от состояния исследуемого грунта, в соответствии с табл.5.1 [6], выбирался тип штампа: плоский штамп III типа или винтовой штамп IV типа площадью 600см². Давление на штамп передавалось пневматической нагрузочной системой ступенями, согласно табл.5.2-5.4 [6], до конечных нагрузок 0,2 - 0,3МПа. Измерение осадок штампом проводилось индикаторами ИЧ-50 с точностью измерений 0,01мм.

Для этого, не далее 2-3 м от опорных скважин, шнековым бурением проходились скважины Ø325 мм для установки в выработку штампа и колонны труб на проектную глубину (фото 7.4):

Фото 7.4 Штамповые испытания на площадке ПС 110/10 кВ

Обработка результатов штамповых испытаний проведена программой ShwPW (ЗАО "Геотест").

По данным штамповых испытаний модуль деформации грунтов составил:

Таблица 7.1

№№

Глубина, м

Вид грунта

УПВ, м

Е, МПа

Енорм, МПа

Штамп-12

4,5

ИГЭ-1а. Насыпной грунт-суглинок с гравием, галькой, водонасыщеный

2,3

8,2

8,2

Штамп-10

2,0

ИГЭ-2а. Суглинок просадочный, легкий

воды нет

11,6

11,6

Штамп-6

2,0

ИГЭ-2б. Суглинок просадочный, легкий


11,1

11,3

Штамп-8

2,5



11,5


Штамп-9

4,0

ИГЭ-3б. Супесь просадочная, твердая


12,4

12,4

Штамп-1

3,0

ИГЭ-5а. Суглинок непросадочный, легкий


10,4

11,1

Штамп-3

3,0



11,7


Штамп-2

4,5

ИГЭ-11. Гравийный грунт


47,1

47,1

Штамп-4

4,5

ИГЭ-12. Галечниковый грунт осадочных пород


53,9

53,7

Штамп-5

3,0



54,7


Штамп-7

5,0



52,7


Штамп-11

5,2



53,3



Результаты штамповых испытаний рекомендованы в качестве нормативных значений для соответствующих ИГЭ и близких литологических разностей (Таблица 6.2 Пояснительной записки).

Паспорта и протоколы штамповых испытаний приведены в приложении М отчета.

8. Специфические грунты


К грунтам с особыми свойствами относятся грунты, которые оказывают влияние на выбор проектных решений и осложняют строительство и эксплуатацию сооружений.

В пределах изучаемой площадки присутствуют специфические грунты, представленные насыпными грунтами ИГЭ-1 и ИГЭ-1а, просадочными суглинками ИГЭ-2а и ИГЭ-2б, просадочными супесями ИГЭ-3а и ИГЭ-3б, просадочной глиной ИГЭ-4.

В соответствии с СП 11-105-97, Часть III, грунты ИГЭ-1 и ИГЭ-1а отнесены к специфическим грунтам.

ИГЭ-1. Насыпной грунт - неоднородный, неслежавшийся.

Грунты ИГЭ-1 представлены, преимущественно, строительным мусором, перемещенными природными грунтами мощностью 0,4-1,5 м. Данные грунты, за исключением скв. №48 не являются грунтами оснований сооружений. При строительстве их следует полностью удалить.

В скв. №48 вскрыта максимальная мощность грунтов ИГЭ-1 - 13,5 м. Грунты представляют собой гравийно-галечниковые грунты с валунами. Являются грунтами обратной засыпки берегового укрепления. Мощность грунтов засыпки составляет 12,0 м. Грунты засыпки залегают на бетонной плите толщиной 1,5 м, являющейся основанием для вертикальной бетонной стенки укрепления берега. Для проектируемой КЛ 10 кВ в районе скв. №48 данные грунты возможно принять в качестве грунтов оснований.

ИГЭ-1а. Представлен насыпным грунтом - суглинком тяжелым, от тугопластичной до мягкопластичной консистенции, с галькой и гравием до 15-20%, строймусором, рыхлым, пропитанным нефтепродуктами. Грунт ИГЭ-1а крайне неоднородный, имеет большую мощность (7,2 м), обводненный, обладает низкими деформационными и прочностными характеристиками и в качестве грунтов основания не рекомендуется.

Просадочные грунты

ИГЭ-2а. Суглинок просадочный, легкий, твердой консистенции.

ИГЭ-2б. Суглинок просадочный, тяжелый, твердой консистенции.

ИГЭ-3а. Супесь просадочная, твердой консистенции, Wест. =7%.

ИГЭ-3б. Супесь просадочная, твердой консистенции, Wест. =17%.

ИГЭ-4. Глина просадочная просадочная, легкая, твердой консистенции.

Грунты проявляют просадочные свойства, преимущественно, от давлений, превышающих природное.

Максимальная суммарная просадка грунтов ИГЭ-2а÷ИГЭ-4 от собственного веса составляет 0,34 см (скв. №40) - менее 5 см, при мощности просадочной толщи в данной скважине 3,3 м. Наибольшая мощность просадочной толщи составляет 4,1 м (скв. №30). Просадочные грунты относятся к I (первому) типу грунтовых условий по просадочности.

Границы распространения просадочных грунтов приведены в Чертеже 1.

В условиях прогнозного водонасыщения грунты ИГЭ-2а, ИГЭ-3а и ИГЭ-3б следует отнести к III категории грунта по сейсмическим свойствам; грунты ИГЭ-2б и ИГЭ-4 следует отнести ко II категории грунта по сейсмическим свойствам.

Специфические свойства грунтов необходимо учитывать при проектировании.

9. Геологические и инженерно-геологические процессы


Из опасных экзогенных инженерно-геологических процессов в районе изысканий следует отметить подтопляемость территории.

На период изысканий (октябрь-декабрь 2016 г.) подземные воды вскрыты на на глубинах от 1,3 до 15,0 м.

Подземные воды, вскрытые на участке изысканий, разделяются на два генетических типа: техногенные и природные.

Техногенные воды. Образованы в результате утечек из водонесущих коммуникаций: скв. №20 - появление на глубине 1,3 м (абс. отм.127,90 м);

скв. № 43 - появление на глубине 1,8 м (абс. отм.126,64 м);

скв. №48 - появление на глубине 5,0 м (абс. отм.121,20 м).

Вода, вскрытая в данных скважинах, залегает близко к поверхности, в насыпных грунтах.

При заложении фундаментов ВЛ 110 кВ на проектируемую глубину в 2,85-3,3 м участок изысканий в районе скв. №20 следует отнести к типу I-Б - техногенно подтопленному [14], относящемуся к подзоне умеренного подтопления [10].

При заложении КЛ 10кВ на проектируемую глубину 0,7 м участок изысканий в районе скв. №43 следует отнести к типу II-Б1 - потенциально подтопляемому в результате ожидаемых техногенных воздействий [14], относящемуся к подзоне умеренного подтопления [10].

При заложении КЛ 10кВ на проектируемую глубину 0,7 м участок изысканий в районе скв. №48 следует отнести к типу II-А2 - потенциально подтопляемому в результате экстремальных природных ситуаций [14].

Основными неблагоприятными факторами для развития подтопления являются утечки из водонесущих коммуникаций, отсутствие выраженного поверхностного стока, неглубокое залегание глинисто-суглинистых пород, являющихся относительным водоупопором, слабое испарение.

Природные подземные воды.

Вскрытые природные подземные воды следует разделить на два горизонта.

Горизонт 1. Подземные воды вскрыты скв. №№ 1; 1а; 1б; 2 и 3:

скв. №1 - появление на глубине 2,3 м (абс. отм.133,20 м);

скв. №1а - появление на глубине 1,3 м (абс. отм.129,00 м);

скв. №1б - появление на глубине 1,7 м (абс. отм.130,60 м);

скв. №2 - появление на глубине 3,8 м (абс. отм.130,80 м);

скв. № 3 - появление на глубине 5,1 м (абс. отм.129,90 м).

Распространены локально: в районе подключения проектируемой ВЛ 110 кВ к существующей ВЛ 110 кВ - у опоры №89.

Водовмещающими грунтами являются насыпные, суглинистые, песчаные и гравийные отложения. Относительным локальным (только для данного участка) водоупором выступает глина полутвердой-тугопластичной консистенции. Данный водоупор вскрыт тремя скважинами. Вскрытая мощность водоупора составляет 1,2-4,5 м.

Разгрузка грунтового потока подземных вод - в южном и юго-восточном направлении в сторону реки Сунжа.

Питание подземных вод осуществляется, в основном, за счет инфильтрации атмосферных осадков.

Тип режима подземных вод на данном участке классифицируется как устойчиво-неблагоприятный. Изменение уровня характеризуется весеннее - летним подъёмом и осенне-зимним спадом с незначительной амплитудой колебаний.

При заложении фундаментов на проектируемую глубину в 2,85-3,3 м участок изысканий в районе подключения ВЛ110 кВ следует отнести к типу I-А - подтопленный в естественных условиях [14], относящемуся к подзоне умеренного подтопления [10].

Основными неблагоприятными факторами для развития подтопления являются отсутствие выраженного поверхностного стока, неглубокое залегание глинисто-суглинистых пород, являющихся относительным водоупопором, слабое испарение.

Горизонт 2. Подземные воды вскрыты скв. №№ 8 и 16 (ВЛ 110 кВ); 29; 33 и 35 (ПС 110/10 кВ):

скв. №8 - появление на глубине 14,9 м (абс. отм.116,60 м);

скв. №16 - появление на глубине 13,0 м (абс. отм.117,10 м);

скв. №29 - появление на глубине 15,0 м (абс. отм.113,36 м);

скв. №33 - появление на глубине 14,8 м (абс. отм.113,57 м);

скв. №35 - появление на глубине 14,3 м (абс. отм.114,21 м).

Подземные воды вскрыты скважинами на абсолютных отметках 113,36 - 117,10 м.

Водовмещающими грунтами являются разнозернистые пески, залегающие под галечниковыми грунтами. Водоупор до глубины 22,0-30,0 не вскрыт.

При заложении фундаментов ВЛ 110 кВ на проектируемую глубину в 2,85-3,3 м и фундаментов ПС 110/10 кВ на глубину 1,8-5,0 м, участок изысканий следует отнести к типу III-А - неподтопляемый в силу естественных причин (надежный естественный дренаж) [14].

Однако, при строительстве и эксплуатации сооружений утечки из водонесущих коммуникаций, а также уменьшение испарения на закрытых участках будут способствовать увеличению влажности грунтов после строительства.

В связи с наличием в разрезе прослоев связных грунтов возможно формирование временной верховодки, связанное с утечками воды из сетей инженерных коммуникаций и выпадением атмосферных осадков. Во время строительства возможно поступление воды из линз верховодки в строительные котлованы и траншеи. Мощность и время существования верховодки зависит от количества и продолжительности утечек воды и выпадения атмосферных осадков.

Согласно разделу 5.4 [10] участок изысканий, за исключением уже подтопленного, следует отнести к потенциально подтопляемому. Характер подтопления - техногенный.

Во время строительства и эксплуатации сооружений следует предусмотреть комплекс водозащитных мероприятий, включающих в себя:

локальную защиту зданий, сооружений, грунтов оснований и защиту застроенной территории в целом;

водоотведение;

утилизацию (при необходимости очистки) дренажных вод;

систему мониторинга за режимом подземных и поверхностных вод, за расходами (утечками) и напорами в водонесущих коммуникациях, за деформациями оснований, зданий и сооружений, а также за работой сооружений инженерной защиты;

при устройстве твердых покрытий следует использовать материалы, минимально затрудняющие испарение воды.

Анализ современной гидрогеологической обстановки изучаемой территории с результатами изысканий 1985 г [17] показывает, что современные отметки уровня подземных вод практически совпадают с прогнозно-оценочным уровнем, рассчитанным на 1995 г и составляют в среднем для участка 115 м БС. Расчеты 1985 г [17] определили скорость подъема уровня подземных вод в долине р. Сунжа в 0,25 м/год.

В настоящее время некоторые факторы, влияющие на динамику уровней подземных вод, значительно уменьшились, а приток грунтовых вод из Алханчуртской и Андреевской долин, в связи со значительном уменьшением в них хозяйственной деятельности, сведен к минимуму. В этих условиях скорость подъема уровня заметно снижается и для характеристики современной гидрогеологической обстановки в городе можно использовать результаты прогнозных расчетов, выполненных ФГУП "Росстройизыскания" при разработке концепции восстановления города Грозного в 1995 г. По этим данным скорость подъема уровня в первые 10 лет эксплуатации здания составит 0,15 м/год с последующим уменьшением до 0,1 м/год. Таким образом, общий подъем уровня подземных вод за 25 летний период может составить 3 м. Следует отметить, что выполняемые расчеты справедливы при условии сохранения в течение всего расчетного периода характера и степени современного техногенного воздействия на гидрогеологическую обстановку.

При этом нельзя исключать возможность более значительного локального подъема уровня под воздействием точечных утечек или более масштабных колебаний уровня грунтовых вод при выпадении аномально высокого количества атмосферных осадков, как это было в 2002 году.

Из опасных эндогенных инженерно-геологических процессов в районе изысканий следует отметить сейсмичность площадки.

Сейсмичность района согласно Приложению Б [11] для г. Грозный составляет 8 баллов (карта А ОСР-97) и 9 баллов (карта В ОСР-97).

На основании комплексных инженерно-геологических, инструментальных геофизических исследований и специальных расчетов для условий строительства на площадке изысканий, уточнена сейсмичность.

Уточнённая расчётная сейсмичность площадки предполагаемого строительства, с учетом приращения за сейсмическую жесткость и обводненность, с исходного балла составит (Том 9. Инженерно-геофизические исследования):

для объектов II (Нормального) уровня ответственности расчётная сейсмичность составляет 8 (Восемь) баллов с периодом повторяемости сотрясений 1 раз в 500 лет (карта ОСР-2015А), за исключением скв. №1, скв. №1а, скв. №1б и сейсморазведочных профилей СП-01 и СП-02, где расчётная сейсмичность составит 9 (девять) баллов с периодом повторяемости сотрясений 1 раз в 500 лет (карта ОСР-2015А).

10. Заключение

10.1. По совокупности природно-техногенных, геоморфологических, инженерно-геологических и гидрогеологических факторов территория объекта изучения относится к III категории сложности инженерно-геологических условий [13].

.2. Территория изысканий, согласно карте климатического районирования, расположена в III-Б климатическом районе. Согласно картам СП 20.1330.2011 район изысканий относится:

ко II району по весу снегового покрова (карта 1*);

к району со средней скоростью ветра, за зимний период, 5 м/с (карта 2);

к району IV по давлению ветра (карта 3);

к району III по толщине стенки гололеда (карта 4-а);

к району со средней месячной температурой воздуха - 5°С, в январе (карта 5);

к району со средней месячной температурой воздуха +25°С, в июле (карта 6);

к району по отклонению средней температуры воздуха наиболее холодных суток от средней месячной температуры в январе 15°С (карта 7).

.3. Площадка изысканий расположена на I (первой) левобережной надпойменной террасе р. Сунжа высотой 4-5 м и имеет практически горизонтальную поверхность. Рельеф площадки техногенный, спланированный. Абсолютные отметки по устьям выработок 123,05 (скв.51) - 134,80 (скв.4) м. Перепад высот составляет 11,75 м.

.4. В геолого-литологическом строении площадки изысканий до глубины 30,0 м принимают участие следующие стратиграфо-генетические комплексы:

комплекс современных техногенных отложений (tQIV) представлен насыпным грунтом (асфальт, бетон, валунно-галечниковый грунт - в качестве грунтов обратной засыпки берегоукрепительных сооружений р. Сунжа, суглинки с крупнообломочными включениями). Отложения распространены повсеместно, мощность отложений от 0,5 до 13,5 м.

-       комплекс нерасчлененных эолово-делювиально-пролювиальных верхнечетвертичных и современных отложений (vdpQIII-IV). Генезис этих отложений большинством исследователей классифицируется как делювиальный и пролювиальный, при подчиненном значении эоловых процессов. Отложения представлены просадочными (лессовидными) и непросадочными легкими и тяжелыми суглинками, супесями и глинами. Грунты залегают под техногенными отложениями, вскрытая мощность достигает 8,0 м. Распространены практически, повсеместно.

-       комплекс аллювиальных верхнечетвертичных отложений (аQII-III), представленный гравийно-галечниковыми грунтами с песчаным, супесчаным, редко суглинистым заполнителем менее 30% с линзами и прослоями песков различной крупности. Грунты залегают под эолово-делювиально-пролювиальными отложениями. Вскрытая мощность аллювиальных грунтов составила 0,3-29,0 м.

10.5. В региональном тектоническом плане район г. Грозного расположен в средней зоне альпийского передового Терского прогиба. Главными элементами его структуры являются два линейных антиклинальных поднятия: северное (Терское) и южное (Сунженское), выраженных в рельефе одноименными низкогорными передовыми хребтами, и разделяющая их синклинальная депрессия - Алханчуртская долина.

В равнинной части Грозного, где мощность четвертичных отложений достигает 200 м, расположены Алханчуртская и Сунженская долины, представляющие пассивные блоки, не испытавшие локальных поднятий в отличие от смежных зон. Проявлений процессов неотектоники на данных участках не наблюдается.

.6. На период изысканий (октябрь-декабрь 2016 г.) подземные воды вскрыты на на глубинах от 1,3 до 15,0 м.

Подземные воды, вскрытые на участке изысканий, разделяются на два генетических типа: техногенные и природные.

Техногенные воды. Образованы в результате утечек из водонесущих коммуникаций:

скв. №20 - появление на глубине 1,3 м (абс. отм.127,90 м);

скв. № 43 - появление на глубине 1,8 м (абс. отм.126,64 м);

скв. №48 - появление на глубине 5,0 м (абс. отм.121,20 м).

Природные подземные воды.

Вскрытые природные подземные воды следует разделить на два горизонта.

Горизонт 1. Подземные воды вскрыты скв. №№ 1; 1а; 1б; 2 и 3:

скв. №1 - появление на глубине 2,3 м (абс. отм.133,20 м);

скв. №1а - появление на глубине 1,3 м (абс. отм.129,00 м);

скв. №1б - появление на глубине 1,7 м (абс. отм.130,60 м);

скв. №2 - появление на глубине 3,8 м (абс. отм.130,80 м);

скв. № 3 - появление на глубине 5,1 м (абс. отм.129,90 м).

Распространены локально: в районе подключения проектируемой ВЛ 110 кВ к существующей ВЛ 110 кВ - у опоры №89.

Водовмещающими грунтами являются насыпные, суглинистые, песчаные и гравийные отложения. Относительным локальным (для данного участка) водоупором выступает глина полутвердой-тугопластичной консистенции.

Общее направление грунтового потока подземных вод в южном и юго-восточном направлении в сторону реки Сунжа.

Питание подземных вод осуществляется, в основном, за счет инфильтрации атмосферных осадков.

Горизонт 2. Подземные воды вскрыты скв. №№ 8 и 16 (ВЛ 110 кВ); 29; 33 и 35 (ПС 110/10 кВ):

скв. №8 - появление на глубине 14,9 м (абс. отм.116,60 м);

скв. №16 - появление на глубине 13,0 м (абс. отм.117,10 м);

скв. №29 - появление на глубине 15,0 м (абс. отм.113,36 м);

скв. №33 - появление на глубине 14,8 м (абс. отм.113,57 м);

скв. №35 - появление на глубине 14,3 м (абс. отм.114,21 м).

Подземные воды вскрыты скважинами на абсолютных отметках 113,36 - 117,10 м.

Водовмещающими грунтами являются разнозернистые пески, залегающие под галечниковыми грунтами. Водоупор до глубины 22,0-30,0 не вскрыт.

В качестве относительного водоупора для верхнего водоносного горизонта, в пределах Сунженской долины принята кровля выдержанного по площади суглинистого прослоя, разделяющего верхний и нижний ярусы верхнечетвертичных отложений на глубине 33-45 м.

Региональным водоупором для комплекса четвертичных отложений являются отложения неогена, залегающие на глубинах 200-250 м. В качестве относительного водоупора для верхнего водоносного горизонта, в пределах Сунженской долины принята кровля выдержанного по площади суглинистого прослоя, разделяющего верхний и нижний ярусы верхнечетвертичных отложений на глубине 33-45 м.

Питание подземных вод происходит за счет инфильтрации атмосферных осадков и поверхностных вод, утечек из подземных коммуникаций, перетока из более глубоких горизонтов и, частично, за счет подземного притока.

.7. На основании выделенных стратиграфо-генетических комплексов и в соответствии с классификацией ГОСТ 25100-2011 и ГОСТ 20522-2012 на участке до изученной глубины 30,0 м выделены 16 инженерно-геологических элементов (ИГЭ).

Нормативные и расчетные физико-механические свойства грунтов по результатам статистической обработки лабораторных опытных данных приведены в Таблице 6.2.

Сводная ведомость физико-механических свойств грунтов приведена в Приложении Е. Результаты статистической обработки физико-механических свойств грунтов приведены в Приложении Ж.

Паспорта лабораторных исследований грунтов приведены в Приложениях 1÷6.

Пространственное положение и условия залегания грунтов приведены в Книге 2. Чертежи 2÷3.

10.8. Грунты участка изысканий, залегающие выше уровня грунтовых вод, в той или иной степени обладают агрессивностью воздействия сульфатов к бетонам на портландцементе и щлакопортландцементе марок по водонепроницаемости W4-W20.

При проектировании и строительстве следует рекомендовать применение сульфатостойких цементов.

Степепень агрессивного воздействия хлоридов в грунтах на арматуру ж/б конструкций в бетонах марок по водонепроницаемости W4-W14 при толщине защитного слоя в 20-30 мм в просадочных грунтах достигает "сильноагрессивной".

В непросадочных грунтах степепень агрессивного воздействия хлоридов в грунтах на арматуру ж/б конструкций в бетонах марок по водонепроницаемости W4-W14 при толщине защитного слоя в 20-30 мм "неагрессивная".

Результаты химического анализа вытяжек грунта приведены в 6.3.

В таблице 6.3 для расчета заземляющих устройств проектируемой ПС 110/10 кВ приведены значения концентрации агрессивных ионов (Cl+SO24) в грунтовом растворе по выделенным ИГЭ.

.9. Все выделенные литологические разности на площадке изысканий обладают высокой коррозионной агрессивностью по отношению к стали. При этом высокая коррозионная активность, помимо глинистых пород, характерна и для крупнообломочных пород, что связано с литологическим составом заполнителя.

Грунты с разной коррозионной агрессивностью на глубинах 1.0, 2.0 и 3.0 метра представлены на карте удельных сопротивлений (Книга 2. Чертеж 3)

10.10. Согласно СП 11-105-97 часть III, к грунтам, обладающим специфическими свойствами, отнесены насыпные грунты ИГЭ-1 и ИГЭ-1а, просадочные суглинки ИГЭ-2а и ИГЭ-2б, просадочные супеси ИГЭ-3а и ИГЭ-3б, просадочная глина ИГЭ-4.

Насыпные грунты

ИГЭ-1. Насыпной грунт - неоднородный, неслежавшийся.

Грунты ИГЭ-1 представлены, преимущественно, строительным мусором, перемещенными природными грунтами мощностью 0,4-1,5 м. Данные грунты, за исключением скв. №48 не являются грунтами оснований сооружений. При строительстве их следует полностью удалить.

В скв. №48 вскрыта максимальная мощность грунтов ИГЭ-1 - 13,5 м. Грунты представляют собой гравийно-галечниковые грунты с валунами. Являются грунтами обратной засыпки берегового укрепления. Мощность грунтов засыпки составляет 12,0 м. Грунты засыпки залегают на бетонной плите толщиной 1,5 м, являющейся основанием для вертикальной бетонной стенки укрепления берега. Для проектируемой КЛ 10 кВ в районе скв. №48 данные грунты возможно принять в качестве грунтов оснований.

ИГЭ-1а. Представлен насыпным грунтом - суглинком тяжелым, от тугопластичной до мягкопластичной консистенции, с галькой и гравием до 15-20%, строймусором, рыхлым, пропитанным нефтепродуктами. Грунт ИГЭ-1а крайне неоднородный, имеет большую мощность (7,2 м), обводненный, обладает низкими деформационными и прочностными характеристиками и в качестве грунтов основания не рекомендуется.

Просадочные грунты

ИГЭ-2а. Суглинок просадочный, легкий, твердой консистенции.

ИГЭ-2б. Суглинок просадочный, тяжелый, твердой консистенции.

ИГЭ-3а. Супесь просадочная, твердой консистенции, Wест. =7%.

ИГЭ-3б. Супесь просадочная, твердой консистенции, Wест. =17%.

ИГЭ-4. Глина просадочная просадочная, легкая, твердой консистенции.

Грунты проявляют просадочные свойства, преимущественно, от давлений, превышающих природное.

Максимальная суммарная просадка грунтов ИГЭ-2а÷ИГЭ-4 от собственного веса составляет 0,34 см (скв. №40) - менее 5 см, при мощности просадочной толщи в данной скважине 3,3 м. Наибольшая мощность просадочной толщи составляет 4,1 м (скв. №30). Просадочные грунты относятся к I (первому) типу грунтовых условий по просадочности.

Границы распространения просадочных грунтов приведены в Чертеже 1.

В условиях прогнозного водонасыщения грунты ИГЭ-2а, ИГЭ-3а и ИГЭ-3б следует отнести к III категории грунта по сейсмическим свойствам; грунты ИГЭ-2б и ИГЭ-4 следует отнести ко II категории грунта по сейсмическим свойствам.

Специфические свойства грунтов необходимо учитывать при проектировании.

.11. Из опасных экзогенных инженерно-геологических процессов в районе изысканий следует отметить подтопляемость территории.

На период изысканий (октябрь-декабрь 2016 г.) подземные воды вскрыты на на глубинах от 1,3 до 15,0 м.

Техногенные воды. Образованы в результате утечек из водонесущих коммуникаций.

При заложении фундаментов ВЛ 110 кВ на проектируемую глубину в 2,85-3,3 м участок изысканий в районе скв. №20 следует отнести к типу I-Б - техногенно подтопленному, относящемуся к подзоне умеренного подтопления.

При заложении КЛ 10кВ на проектируемую глубину 0,7 м участок изысканий в районе скв. №43 следует отнести к типу II-Б1 - потенциально подтопляемому в результате ожидаемых техногенных воздействий, относящемуся к подзоне умеренного подтопления.

При заложении КЛ 10кВ на проектируемую глубину 0,7 м участок изысканий в районе скв. №48 следует отнести к типу II-А2 - потенциально подтопляемому в результате экстремальных природных ситуаций.

Основными неблагоприятными факторами для развития подтопления являются утечки из водонесущих коммуникаций, отсутствие выраженного поверхностного стока, неглубокое залегание глинисто-суглинистых пород, являющихся относительным водоупопором, слабое испарение.

Природные подземные воды.

Распространены локально: в районе подключения проектируемой ВЛ 110 кВ к существующей ВЛ 110 кВ - у опоры №89.

Водовмещающими грунтами являются насыпные, суглинистые, песчаные и гравийные отложения. Относительным локальным (только для данного участка) водоупором выступает глина полутвердой-тугопластичной консистенции.

Тип режима подземных вод на данном участке классифицируется как устойчиво-неблагоприятный.

При заложении фундаментов на проектируемую глубину в 2,85-3,3 м участок изысканий в районе подключения ВЛ110 кВ следует отнести к типу I-А - подтопленный в естественных условиях, относящемуся к подзоне умеренного подтопления.

Основными неблагоприятными факторами для развития подтопления являются отсутствие выраженного поверхностного стока, неглубокое залегание глинисто-суглинистых пород, являющихся относительным водоупопором, слабое испарение.

В связи с наличием в разрезе прослоев связных грунтов возможно формирование временной верховодки, связанное с утечками воды из сетей инженерных коммуникаций и выпадением атмосферных осадков. Во время строительства возможно поступление воды из линз верховодки в строительные котлованы и траншеи.

Участок изысканий, за исключением уже подтопленного, следует отнести к потенциально подтопляемому. Характер подтопления - техногенный.

Во время строительства и эксплуатации сооружений следует предусмотреть комплекс водозащитных мероприятий, включающих в себя:

локальную защиту зданий, сооружений, грунтов оснований и защиту застроенной территории в целом;

водоотведение;

утилизацию (при необходимости очистки) дренажных вод;

систему мониторинга за режимом подземных и поверхностных вод, за расходами (утечками) и напорами в водонесущих коммуникациях, за деформациями оснований, зданий и сооружений, а также за работой сооружений инженерной защиты;

при устройстве твердых покрытий следует использовать материалы, минимально затрудняющие испарение воды.

Из опасных эндогенных инженерно-геологических процессов в районе изысканий следует отметить сейсмичность площадки.

Сейсмичность района согласно Приложению Б [11] для г. Грозный составляет 8 баллов (карта А ОСР-97) и 9 баллов (карта В ОСР-97).

На основании комплексных инженерно-геологических, инструментальных геофизических исследований и специальных расчетов для условий строительства на площадке изысканий, уточнена сейсмичность.

Уточнённая расчётная сейсмичность площадки предполагаемого строительства, с учетом приращения за сейсмическую жесткость и обводненность, с исходного балла составит):

для объектов II (Нормального) уровня ответственности расчётная сейсмичность составляет 8 (Восемь) баллов с периодом повторяемости сотрясений 1 раз в 500 лет (карта ОСР-2015А), за исключением скв. №1, скв. №1а, скв. №1б и сейсморазведочных профилей СП-01 и СП-02, где расчётная сейсмичность составит 9 (девять) баллов с периодом повторяемости сотрясений 1 раз в 500 лет (карта ОСР-2015А).

10. Список использованных материалов


Нормативные документы

1.         ГОСТ 25100-2011. Грунты. Классификация. М., 2011.

2.         ГОСТ 20522-2012. Грунты. Метод статистической обработки результатов испытаний. М., 2012.

3.         ГОСТ 21.302-96. Система проектной документации для строительства. Условные обозначения в документации по инженерно-геологическим изысканиям. М., 1996.

4.         ГОСТ 9.602-2005. Единая система защиты от коррозии и старения. Сооружения подземные. Общие требования к защите от коррозии. М., 2007г.

5.         ГОСТ 19912-2012. Грунты. Методы полевых испытаний статическим и динамическим зондированием. М., 2013.

6.         ГОСТ 20276-2012. Грунты. Методы полевого определения характеристик прочности и деформируемости. М., 2013.

7.         СП 47.13330.2012. Инженерные изыскания для строительства. Основные положения. Актуализированная редакция СНиП 11-02-96. М., 2012.

8.         СНиП 23-01-99. Строительная климатология. М., 2000.

9.         СП 28.13330.2012. Защита строительных конструкций от коррозии. Актуализированная редакция СНиП 2.03.11-85. М., 2012.

10.       СНиП 2.06.15-85. Инженерная защита территории от затопления и подтопления. М., 1986.

11.       СП 14.13330.2014. Строительство в сейсмических районах. Актуализированная редакция СНиП II-7-81* М., 2014.

12.       СП 20.1330.2011 Нагрузки и воздействия. Актуализированная редакция СНиП 2.01.07-85* М., 2011.

13.       СП 11-105-97. Инженерно-геологические изыскания для строительства. Часть I "Общие правила производства работ". М., 1997.

14.       СП 11-105-97. Инженерно-геологические изыскания для строительства. Часть II "Правила производства работ в районах развития опасных геологических и инженерно-геологических процессов". М., 2000.

15.       СП 11-105-97. Инженерно-геологические изыскания для строительства. Часть III "Правила производства работ в районах распространения специфических грунтов". М., 2000.

16.       ФЕР 81-02-2001. Федеральные единичные расценки на строительные работы. Выпуск 2. М., 2001.

Архивные материалы

. "Отчет о сейсмическом микрорайонировании территории г. Грозного", ПО "Стройизыскания" Кавминводский комплексный отдел "СтавропольТИСИЗ", 1985.

. Отчет по объекту: "Торгово-Развлекательный Центр "ГРОЗНЫЙ МОЛЛ",

ОАО "Росстройизыскания", ООО "НПЦИЗ", 2016

Похожие работы на - Инженерно-геологические изысканий территории для строительного проекта

 

Не нашли материал для своей работы?
Поможем написать уникальную работу
Без плагиата!
Без нейросетей!