Разработка технологического процесса изготовления детали 'фланец'
Содержание
Введение
1. Исходные данные для проектирования. Технологический раздел
1.1 Анализ исходных данных для проектирования
1.1.1 Служебное назначение детали
1.1.2 Конструкторско-технологическая характеристика детали
1.1.3 Режим такта выпуска, определение типа производства
1.2 Анализ технологичности конструкции детали
1.3 Выбор исходной заготовки и метода ее изготовления
1.4 Выбор технологических баз
1.5 Разработка технологического процесса изготовления детали
1.5.1 Формирование маршрута обработки деталей
1.6 Разработка технологической операции
1.6.1 Выбор средств технологического оснащения
1.6.2 Расчет и назначение режимов резания
1.6.3 Разработка управляющей программы
1.6.4 Нормирование технологического процесса
1.6.5 Определение разряда работ и классификации исполнителей
2. Конструкторский раздел
2.1 Исходные данные и техническое назначение
2.2 Кинематическая схема и необходимые расчеты
2.3 Определение силы зажима
2.4 Расчет прилагаемой силы на штоке
2.5 Расчет основных размеров пневмоцилиндра
2.6 Расчет приспособления на точность
Список использованных источников
Введение
При переходе машиностроительного производства в рыночную
экономику, перед предприятием появляется множество вопросов, требующих
незамедлительного и правильного решения.
Все возрастающая конкуренция в машиностроительном
производстве, требует от производителя изготовления продукции в минимальные
сроки с максимальным качеством и минимальной себестоимостью изделия.
Себестоимость изделия в значительной степени зависит от использования прогрессивных
технологических процессов применения прогрессивного технологического
оборудования и уменьшения длительности производственного цикла изготовления
детали. В значительной степени сокращается длительность цикла конструкторской и
технологической подготовки производства при использовании новейших средств
автоматизированной подготовки производства. Качество создаваемого изделия
обеспечивается на этапах подготовки и производства продукции и реализуется в
процессе эксплуатации. Важной составляющей обеспечения качественной продукции
является контроль изделия, как в ходе выполнения технологического процесса, так
и окончательный контроль детали. Для обеспечения большего процента
контролирующих деталей и уменьшения времени на контроль, с увеличением процента
достоверности измерений необходимо применять контрольные приспособления с
автоматическим и полуавтоматическим циклом работы, при использовании различных
датчиков, а также систем обрабатывающих и анализирующих полученную информацию.
Применение персональных ЭВМ с работой в системе AUTOCAD, MATHCAD, АNCYS и т.д.
деталь чертеж фланец конструкторский
1. Исходные
данные для проектирования. Технологический раздел
1.1 Анализ
исходных данных для проектирования
Исходными данными для выполнения курсовой работы являются:
чертеж детали - "Фланец";
материал детали - Сталь 40Х ГОСТ 1050-88;
объем выпуска детали - 800 шт/год;
масса детали 23 кг;
1.1.1
Служебное назначение детали
Деталь "Фланец", представленная на первом листе
графической части курсового проекта - деталь трубопровода, предназначенная для
монтажа отдельных его частей, а также для присоединения оборудования к
трубопроводу. Области применения фланца применяется при монтаже трубопроводов и
оборудования практически во всех отраслях. Разнообразие материалов, из которых
изготавливаются фланцы сегодня, позволяет использовать эту продукцию в качестве
соединительных деталей трубопровода практически при любых условиях внешней
среды (температуре, влажности и т.д.) и в соответствии со средой, проходящей по
трубопроводу (в том числе и агрессивной).
1.1.2
Конструкторско-технологическая характеристика детали
Исходный чертёж детали "Фланец" даёт полное
представление о её конструкции и выполнен в соответствии с требованиями единой
системы конструкторской документации (ЕСКД). Указаны необходимые предельные
отклонения формы и взаимного расположения поверхностей. Рабочий чертёж содержит
также название и марку материала, ГОСТ на него. Чертеж имеет технические
требования (ТТ), которые дают полное представление про конструкцию детали, вид
термической обработки и твердость.
Фланец имеет основные базирующие поверхности размерами 340 и
375 мм, которыми он присоединяется к смежным частям оборудования.
В корпусе имеются вспомогательные базирующие поверхности - по
шесть отверстий под болты и винты размерами: Ø18 мм и М16. Также для
фиксации или стопорения детали, фланец имеет три паза размерами 25х35 мм.
По наружной поверхности детали расположены две канавки
размерами Ø366,6х5,6 мм, предназначенные
для установки прокладок или колец.
К числу наиболее точных поверхностей, можно отнести
внутренний посадочный диаметр Ø340Н7 с шероховатостью Ra
1,6 мкм и наружный посадочный диаметр Ø375h7 с шероховатостью Ra 2,5
мкм.
Деталь "Фланец" изготовлен из стали 40Х ГОСТ
1050-88, что соответствует требованиям эксплуатации.
Сталь 40Х - хромистая, конструкционная легированная сталь.
Химический состав и механические свойства стали приведены в
табл. 1.1 и табл. 1.2 соответственно.
Таблица 1.1 - Химический состав стали (ГОСТ 1050-88), %
|
C
|
Si
|
Mn
|
Cr
|
Ni
|
S
|
P
|
Cu
|
|
не более
|
|
|
не более
|
|
0,36-0,44
|
0,37
|
0,8
|
0,8-1,1
|
До 0,3
|
0,035
|
0,035
|
0,3
|
Таблица 1.2 - Характеристики механических свойств
|
Термообработка
|
Закалочная
жидкость
|
sТ, МПа
|
sВ, МПа
|
d5, %
|
y, %
|
КСU, Дж/см2
|
Размеры сечения
заготовки для термообработки, мм.
|
|
|
не менее
|
|
|
Закалка 860°С и
отпуск 500°С
|
масло
|
725
|
980
|
10
|
45
|
590
|
Пруток Ø25
|
Для удобства анализа точностных характеристик детали
пронумеруем обрабатываемые поверхности. На рис. 1.1 приведен эскиз детали с
обрабатываемыми поверхностями. Для удобства анализа требования к каждой
поверхности сведены в табл. 1.3.
Рисунок 1.1 - Эскиз детали с номерами обрабатываемых
поверхностей
Руководствуясь приложением Г, с учетом комплексных требований
по точности и шероховатости дл каждой поверхности выбираем методы обработки и
заносим их в табл. 1.3.
Таблица 1.3 - Заданные параметры качества и методы их
обеспечения
|
№ пов.
|
Параметры
точности
|
Ra, мкм
|
Последовательность
технологических методов для обеспечения заданных параметров качества
|
|
Квалитет
|
Допуски формы и
расположения
|
|
|
|
1
|
2
|
3
|
4
|
5
|
|
1,10
|
h14
|
Биение 0,02 от
базы
|
3.2
|
Точение
черновое, чистовое
|
|
2
|
H14
|
|
6,3
|
Точение
однократное
|
|
3
|
H12
|
|
6,3
|
Точение
однократное
|
|
4
|
H7
|
Базовая
поверхность Нецилиндричность 0,02
|
1,6
|
Точение
черновое, чистовое, шлифование
|
|
5
|
H14
|
|
6,3
|
Точение
однократное
|
|
6
|
H14
|
|
6,3
|
Точение
однократное
|
|
7
|
H14
|
|
6,3
|
Точение
однократное
|
|
8
|
IT11
|
Биение 0,03 от
базы
|
6,3
|
Точение
однократное
|
|
9
|
IT14
|
|
6,3
|
Точение
однократное
|
|
11
|
Н14
|
|
6,3
|
Точение
однократное (канавка)
|
|
12
|
IT14
|
|
6,3
|
Точение
однократное
|
|
13
|
h7
|
Биение 0,05 от
базы
|
2,5
|
Точение
черновое, чистовое, шлифование
|
|
14
|
h12
|
Биение 0,05 от
базы
|
2,5
|
Точение
черновое, чистовое
|
|
15
|
h14
|
|
3,2
|
Точение
черновое, чистовое
|
|
16,17
|
h12
|
|
6,3
|
Точение
однократное (канавки)
|
|
18
|
IT14
|
|
6,3
|
Точение однократное
(канавка)
|
|
19
|
Н13
|
Позиционный
допуск на Ø0,8 от
базы
|
3,2
|
Сверление,
зенкерование
|
|
20
|
7Н
|
Позиционный
допуск на Ø0,8 от
базы
|
3,2
|
Сверление,
нарезание резьбы
|
|
21,22
|
Н14
|
|
6,3
|
Фрезерование
однократное (пазы)
|
|
23
|
Н14
|
|
6,3
|
Сверление
|
1.1.3 Режим
такта выпуска, определение типа производства
Такт выпуска рассчитываем по формуле:

, мин/шт (1)
где Фд - действительный годовой фонд времени работы
оборудования при двух сменной работе (Фд = 4060ч);- годовая
программа выпуска деталей, N = 800 шт.

= 304,5 мин/шт.
Годовая программа выпуска детали "Фланец" - N = 800
штук, масса детали - 23 кг, что соответствует среднесерийному типу производства
согласно [методические указания] табл. 4, с. 11.
Среднесерийное производство характеризуется изготовлением
ограниченной номенклатуры заготовок партиями или сериями, которые повторяются
через определенный промежуток времени, и широкой специализацией рабочих мест.
Окончательно тип производства определяется по коэффициенту
закрепления операций на участке или поточной линии. Коэффициент закрепления -
это отношение всех деталей операций, что выполняются или должны выполняться на
протяжении месяца на участке, к числу рабочих мест:
, (2)
где О - число всех технологических операций, которые
используются для обработки заданной детали;
М -
количество рабочих мест (станков) на участке.
Для среднесерийного производства Кз. о = 10…20 -
[методические указания].
Форма организации производства, определяется по признаку уровня
специализации рабочих мест: поточная, непоточная и групповая.
Среднесерийному производству соответствует непоточная и групповая
форма организации. Запуск заготовок в производство осуществляется партиями с
определённой периодичностью.
Количество заготовок в партии для одновременного запуска
определяется по формуле, штук:
, (3)
где tхр = 15 дней - нормы запаса для хранения
деталей на складе, в ожидании сборки [мет. указания] табл. 5 стр. 12;
N - годовая
программа выпуска, штук;
- количество рабочих дней в году;
штук.
Полученный ориентировочный размер партии округляем до величины
кратной месячному объему выпуска (N/12 = 67 шт.), для обеспечения ритмичности
работы участка.
штук.
1.2 Анализ технологичности
конструкции детали
Конструкция детали считается технологичной, если она
обеспечивает простое и экономичное изготовление. Общими критериями
технологичности детали есть абсолютное значение трудоёмкости и технологической
себестоимости её изготовления.
Оценить эти показатели на начальном этапе проектирования
технологических процессов невозможно по причине отсутствия необходимых исходных
данных. Поэтому даётся только качественная оценка признаков технологичности
конструкции, которая приведена в табл. 1.4
Таблица 1.4 - Анализ технологичности детали
|
№ п/п
|
Требования
технологичности
|
Эскиз
|
Оценка
технологичности
|
|
1
|
2
|
3
|
4
|
|
1
|
Возможная
простота конструкции
|
|
Технологична,
так как деталь состоит из простых элементов
|
|
2
|
Наличие
поверхностей удобных для базирования и закрепления заготовки
|
|
Технологична,
для базирования используем ось детали (на втулку), а также наружные
поверхности (зажим в патроне)
|
|
3
|
Доступность
обработки всех поверхностей для обработки на станках и непосредственного
измерения
|
|
Технологична,
все поверхности доступны для обработки и измерения
|
|
4
|
Хорошая
обрабатываемость материала
|
|
Технологична,
т.к. сталь 40Х хорошо обрабатываемая
|
|
5
|
Отсутствие
глухих отверстий малого диаметра
|
|
Нетехнологична,
так имеются два отверстия малого диаметра
|
|
6
|
Деталь должна
иметь экономически достижимую, с точки зрения мех. обработки точность и
шероховатость поверхностей
|
|
Технологична,
согласно анализу представленному в табл.3, все тех. требования можно
обеспечить экономичными методами обработки
|
|
7
|
Отсутствие
плоскостей и отверстий, расположенных не под прямым углом
|
|
Технологична,
так как плоскостей и отверстий, расположенных не под прямым углом, нет
|
|
8
|
Возможность
применения рациональных методов получения заготовки
|
|
Технологична,
так как в качестве заготовки применяем прокат круглый или поковку
|
|
9
|
Возможность
применения универсальных измерительных средств
|
|
Не
технологична, так некоторые поверхности требуют специальных измерительных
средств
|
|
10
|
Простота формы
центрального отверстия
|
|
Нетехнологична,
центральное отверстие сквозное, но имеет много ступеней и уклон
|
|
11
|
Отсутствие
специфических требований
|
|
Технологична,
специ-фические требования отсутствуют
|
|
12
|
Наличие поверхностей
для захвата и ориентирования детали в таре
|
|
Технологична, в
качестве поверхностей для захвата и ориентирования детали в таре можно
использовать торцы 1,3 и внутреннее отверстие 2
|
1.3 Выбор
исходной заготовки и метода ее изготовления
Метод получения той или иной заготовки зависит от служебного
назначения детали и требований, предъявляемых к ней, от её конфигурации и
размеров, вида конструкционного материала, типа производства и других факторов.
Одну и ту же деталь можно изготовить из заготовок полученных
различными способами. Одним из основополагающих принципов выбора заготовки
является ориентация на такой способ изготовления, который обеспечит ей
максимальное приближение к готовой детали. В этом случае существенно
сокращается расход металла, объём механической обработки и производственный
цикл изготовления детали.
Разработка технологических процессов изготовления заготовок
должна осуществляться на основе технических и экономических принципов. В
соответствии с техническими принципами выбранный технологический процесс должен
полностью обеспечить выполнение всех требований чертежа и технических условий
на заготовку. В соответствии с экономическим принципом изготовление заготовки
должно вестись с минимальными производственными затратами.
Для определения возможных методов получения заготовки, по
таблицам 7-11 [методические указания] определяем коды показателей:
по таблице 7 для стали марки 40Х определяем код материала -
6;
по таблице 8 определяем код конструктивной формы - 4;
по таблице 9 определяем код серийности - 2;
по таблице 11 определяем код диапазона проката - 7;
по таблице 13 определяем коды возможных способов получения
заготовки для данной детали 7.10
Согласно таблице 12 к числу возможных способов получения заготовки
относят:
- штамповка на молотах и прессах;
- штамповка на ГКМ;
- свободная ковка;
- прокат.
Так как анализировать 4 возможных варианта не целесообразно,
то учитывая объем выпуска детали и достаточно простую конфигурацию детали,
рассмотрим два варианта:
- штамповка на КГШП; 2 - штамповка на молотах
Припуски устанавливаем по ГОСТ 7505-89 табл.3, в зависимости
от исходного индекса.
Определяем исходный индекс по ГОСТ 7505-89 табл.2:
класс точности приложение 1 [табл. 19, стр.28]:
КГШП (закрытая штамповка) - Т3; штамповочные молоты - Т4
группа стали [табл.1, стр.8]: для стали с массовой долей
углерода до 0,35% - М1
степень сложности [прилож.2, стр.29-30] определяем по
формуле:

(4)
где
Gп=34
- масса поковки;
Gф
- масса геометрической фигуры, в которую вписывается поковка, кг.
= 0,68.
Это соответствует степени сложности С = 1.
Таким образом, исходный индекс при штамповке: на КГШП - 14, а на
штамповочных молотах - 16
Устанавливаем припуски для каждого метода и заносим в табл. 1.5.
Таблица 1.5 - Сравнительные показатели припусков
|
Размеры детали,
мм
|
Размеры
заготовки, мм; при штамповке:
|
|
на КГШП
|
на молотах
|
|
D1
=435
|
D1 +
2 · 2,0 = 439
|
D1 +
2 · 2,2 = 439,4
|
|
D2
=375
|
D2 +
2 · 2,0 = 379
|
D2 +
2 · 2,2 = 379,4
|
|
D3 =
260
|
D3 -
2 · 1,7 = 256,6
|
D3 -
2 · 1,9 = 256,2
|
|
D4 =
340
|
D4 -
2 · 1,8 = 336,4
|
D4 -
2 · 2,0 = 336,0
|
|
L1 =
105
|
L1
+ 2 · 2,0 = 109
|
L1
+ 2 · 2,2 = 109,4
|
|
L2 =
23
|
L2
+ 2 · 1,8 = 26,6
|
L2
+ 2 · 2,0 = 30
|
Далее по ГОСТ 7505-89 назначаем штамповочные уклоны. Они
служат для облегчения заполнения полости штампа и удаления из неё поковки.
Штамповочные уклоны равны: наружные 1°…7°;
По ГОСТ 7505-89 табл. 7 определяем наименьшие радиусы
закруглений углов поковки R = 2,0 мм.
Рассчитываем массу заготовки Q, используя программу
КОМПАС-3Д.
Рисунок 1.2 - Расчет массы поковок
КГШП = 34004 г = 34 кгМ = 35102 г = 35,1
кг
Определение стоимости заготовок.
Стоимость заготовок, получаемых методом штамповки на молотах
и прессах, можно определить по формуле:
, (5)
где ВБ - базовая стоимость 1 т. заготовок, руб; Прокат
круглый сталь 40Х - 26100 руб. за тонну;, q - соответственно массы заготовки и
готовой детали, кг;
КТ, КМ, КВ, КЗ, КП
- коэффициенты, учитывающие соответственно материал, класс точности, группу
сложности, массу заготовки и программу выпуска;
Вотх - стоимость 1 т. стружки, грн. Стоимость стружки
из стали нержавеющей 8000 руб. за тонну.
Определяем по [методические указания], для каждого из методов
коэффициенты, данные заносим в табл. 1.6.
Таблица 1.6 - Коэффициенты стоимости заготовки
|
Кт
|
Км
|
Кс
|
Кв
|
Кп
|
|
0,9
|
1,22
|
0,87
|
1,29
|
1
|
При получении заготовки на кривошипном прессе:
= 1005,5 руб.
При получении штамповки на молоте:
= 1032,1 руб.
Рассчитываем коэффициент использования заготовки по формуле:
. (6)
При получении заготовки на кривошипном прессе:
;
При получении штамповки на молоте:
.
Все результаты расчетов, выполненных выше, заносятся в
сравнительную табл. 1.7.
Таблица 1.7 - Сравнительные показатели
|
Показатели
|
Обозначение
|
Единицы
измерения
|
Штамповка на
КГШП
|
Штамповка на
молотах
|
|
1
|
3
|
4
|
5
|
|
Масса заготовки
|
Q
|
кг
|
34
|
35,1
|
|
Базовая
стоимость 1 т. заготовок
|
ВБ
|
руб
|
26100
|
|
Коэффициенты
|
КТ КМ
Кс Кв КП
|
-
|
0,9 1,22 0,87
1,29 1,0
|
|
Стоимость 1 т.
стружки
|
Вотх
|
руб
|
8000
|
|
Стоимость одной
заготовки
|
В
|
руб
|
1005,5
|
1032,1
|
|
Коэффициент
использования заготовки
|
η
|
|
0,68
|
0,66
|
Сравниваем два способа получения заготовок:
ВКГШП< Вмол - 1005,5<1032,1 ηКГШП> ηмол - 0,68> 0,66
следовательно принимаем первый метод - штамповка, полученная на кривошипном
горячештамповочном прессе и рассчитываем годовую экономию по стоимости
изготовления заготовок и годовую экономию материала.
Годовая экономия по стоимости изготовления заготовок
рассчитывается по формуле:
Е = (Вмол - ВКГШП) · N, (7) Е = (1032,1
- 1005,5) · 800 = 21280 руб.
Годовая экономия материала рассчитывается по формуле:
, (8)
кг.
Назначаем допуски на принятые размеры заготовки по ГОСТ 7505-89.
Таблица 1.8 - Допуски на размеры
|
Размеры
заготовки, мм
|
Табличный
допуск, мм
|
Исполнительный
размер, мм
|
|
D1 =
439
|
 )  )
|
|
|
D2 =
379
|
 )  )
|
|
|
D3 =
256,6
|
 )  )
|
|
|
D4 =
336,4
|
 )  )
|
|
|
L1 =
109
|
2,0 (±1,0)
|
109 (±1,0)
|
|
L2 =
26,6
|
1,4 (±0,7)
|
26,6 (±0,7)
|
Расчет припусков расчетно-аналитическим методом
Расчет межоперационных припусков и технологических размеров
расчетно-аналитическим методом на механическую обработку поверхности Ø375h7 (-0,057) мм.
Определение элементов припуска.
Минимальные припуски на обработку рассчитываем по формуле [2,
формула 2, стр.175]:
, (9)
где RZi-1 - высота неровностей профиля на
предшествующем переходе;i-1 - глубина дефектного поверхностного слоя
на предшествующем переходе;
ΔΣi-1 - суммарные отклонения расположения
поверхности;
εi - погрешность установки заготовки на выполняемом переходе.
Выбираем нормативные и расчетные значения элементов минимальных
операционных припусков на каждом переходе:
Заготовка - штамповка нормальной точности. По [2] табл.12, с.186
определяем: Rz1 = 160 мкм, h1 =
200 мкм.
Суммарные отклонения расположения поверхности рассчитываем по
формуле:
, (10)
где Δкор - допустимое коробление поковок, мкм;
Δсм = 0,4 мм - допустимое смещение поверхностипо [2] табл.18.
∆кор = Dк · l, (11)
где Dк = 3 мкм/мм - кривизна поковки по [2]
табл.16, с.186;
l = 62 мм -
длина участка детали Ø 375 мм.
∆кор = 3 · 62 = 186 мкм;
= 441 мкм.
Переход 2 - точение черновое:
По [2] табл. 25, с. 188 определяем: Rz2
= 50 мкм, h2 = 50 мкм.
Суммарные отклонения расположения поверхности по переходам
рассчитываем по формуле:
, (12)
где Ку - коэффициент уточнения;
ΔΣi-1 - суммарные отклонения расположения
поверхности на предшествующей операции;
Ку = 0,06 - согласно [2] табл.29, с. 190.
Δ2 = 0,06 · 441 = 26 мкм.
Погрешность базирования определяется по формуле:
, (13)
где Tdзаг - допуск заготовки, Tdзаг
= 2,2 мм.
мм = 604 мкм.
Переход 3 - точение чистовое:
По [2] табл.25, 29 определяем: Rz3 =
25 мкм, h3 = 25 мкм, ky3 = 0,04.
Δ3 = 0,04 · 26 = 1 мкм.
Погрешность установки заготовки по переходам определяем по
формуле:
, (14)
где Ку - коэффициент уточнения;
εi-1 - погрешность установки заготовки на предшествующем
переходе.
ε3 = 0,04 · 604 = 24 мкм.
Переход 4 - шлифование чистовое:
По [2] табл.25, 29 определяем: Rz4 = 5 мкм, h4
= 15 мкм, ky4 = 0,02.
Δ4 = 0,02 · 1 = 0,02 мкм;
ε4 = 0,02 · 24 = 0,48 мкм.
Подставляем в формулу полученные значения:
= 2216 мкм;
= 270 мкм;
= 102 мкм.
Расчет технологических размеров выполняем методом профессора В.М.
Кована. Расчёт минимального размера поверхности детали - размер последнего
перехода механической обработки:
d4min = d4ном + ei4; (15) d4min
= 375 + (-0,057) = 374,943мм.
Рассчитываем минимальные размеры поверхности по переходам по
формуле:
dimin = di+1min +
2Zi+1min, (16)
Полученные значения округляем в большую сторону до количества
знаков после запятой в допуске.
3min = 374,943 + 0,102 = 375,05 мм;
d2min = 375,05 + 0,270 = 375,32 мм;
d1min = 375,32 + 2,216 = 377,6 мм.
Рассчитываем
максимальные размеры поверхности по переходам по формуле:
imax = dimin + Tdi;
(17)
d4max = 374,943 + 0,057 = 375мм;
d3max = 375,05 + 0,14 = 375, 19мм;
d2max = 375,32 + 0,57 = 375,89мм;
d1max = 377,6 + 2,2 = 379,8мм.
Максимальные
припуски для переходов механической обработки:
Zimax = di-1max - dimax;
(18)
Z2max = 379,8 - 375,89 = 3,91мм;
Z3max = 375,89 - 375,19 = 0,7мм;
Z4max = 375,19 - 375 = 0, 19мм.
Минимальные
припуски для переходов механической обработки:
2Zmin
i = dmin i-1 - dmini; (19)
2Zmin 2 =
377,6 - 375,32 = 2,28мм;
Zmin 3 =
375,32 - 375,05 = 0,27мм;
Zmin 4 =
375,05 - 374,943 = 0,107 мм.
Проверяем
расчёты, используя равенство:
Z0max - 2Z0min = Tdзаг - Tdдет;
(20)
,8 - 2,657 = 2,2
- 0,057;
,143 = 2,143.
Проверка
показала, что расчёт выполнен верно.
Аналогично
рассчитываем припуски на плоскую поверхность, результаты заносим в таблицу 1.9
Таблица 1.9 -
Результаты расчета припусков на поверхность 375 мм
|
Наименование
технологических переходов
|
Элементы
припуска, мкм
|
Расчетный
|
До-пуск Td, мм
|
Предельные
значения размеров, мм
|
Предельные
значения припусков, мм
|
Исп. технолог.
размер d, мм
|
|
RZ
|
h
|
ΔΣ
|
ε
|
2Zmin,
мкм
|
d, мм
|
|
max
|
min
|
max
|
min
|
|
|
[2,
стр.185-190]
|
|
|
|
|
|
|
|
|
|
1
|
2
|
3
|
4
|
5
|
6
|
7
|
8
|
9
|
10
|
11
|
12
|
13
|
|
1. Наружная
цилинд. Ø375-0,057мм. Заготовка
|
160
|
200
|
441
|
|
|
377,6
|
2,2
|
379,8
|
377,6
|
|
|
|
|
2. Точение
черновое
|
50
|
50
|
26
|
604
|
2216
|
375,32
|
0,57
|
375,89
|
375,32
|
3,91
|
2,28
|
Ø375,89-0,57
|
|
3. Точение
чистовое
|
25
|
25
|
1
|
24
|
270
|
375,05
|
0,14
|
375, 19
|
375,05
|
0,7
|
0,27
|
Ø375,
19-0,14
|
|
4. Шлифование
чистовое
|
5
|
15
|
0,02
|
0,48
|
102
|
374,943
|
0,057
|
375
|
374,943
|
0, 19
|
0,107
|
Ø375-0,057
|
Так как величина припуска полученная расчетно-аналитическим
методом, не превышает значение нормативного припуска с учетом допусков, то
можно сделать вывод о том, что припуски назначенные по нормативам, гарантированно
обеспечивают требуемые параметры точности при механической обработке. Таким
образом для заготовки - штамповка КГШП за исполнительные размеры принимаем
размеры, приведенные в таблице 1.8.
Рисунок 1.3 - Чертеж заготовки-поковка (штамповка КГШП)
1.4 Выбор
технологических баз
Анализ чертежа детали показывает, что для первой (токарной)
операции установочной технологической базой, следует выбрать размер Ø379, тогда скрытой двойной опорной базой будет ось детали, а
явнойопорной базой - торец (см. табл. 1.10). Погрешность базирования при этом
составит:
εδL = TD/2
Анализ теоретических схем базирования по переходам выполняем
в виде таблицы 1.10.
Таблица 1.10 - Анализ теоретических схем базирования
|
№
|
Теоретические схемы
базирования по ГОСТ 21495-76
|
Вид
технологи-ческих баз
|
Схема
установки, реализующая теоретическую схему базирования
|
Поверхн.
использу-емые при установке
|
|
1
|
|
1,2,3,4-скрытая
двойная опорная 5 - явная опорная 6-явная установочная
|
1.1 1.2
|
Наружная
поверхность. Патрон трехкулачковый
|
|
2
|
|
1,2,3,4 -
скрытая двойная опорная 5 - явная опорная 6-явная установочная
|
2.1
|
Внутренние
отверстия. Патрон цанговый
|
|
3
|
|
1,2,3, 4 -
направляющая технологическая 5,6 - явная установочная
|
3.1
|
Внутреннее
отверстие и торцы Приспособление спец.
|
|
|
|
|
|
|
|
Анализ чертежа детали показывает, что для первой (токарной) операции
установочной технологической базой, следует выбрать наружную поверхность Ø379 мм, тогда скрытой двойной опорной базой будет ось детали (см.
табл. 1.10), а опорной поверхностью - торец. Заготовка устанавливается в
трехкулачковый патрон. Погрешность базирования при этом составит:
εδL = 0; εδh = TD/2
Для обработки внутренних поверхностей, а именно для подрезки
торца в размер 107, растачивания отверстий размерами: Ø260 мм, Ø325 мм, Ø339,7 мм, Ø350 мм, рекомендуем
применить теоретическую схему базирования №1, схему установки 1.1.
На следующем этапе механической обработки рекомендуем
закрепить деталь по обработанной внутренней поверхности, размером Ø339,7 мм. Для этого можно применить теоретическую схему
базирования №2, схему установки 2.1, согласно которой деталь закрепляется в
цанговом патроне. На этом этапе подрезаем торцы в размеры: 105 м 23 мм и точить
поверхности Ø375,19 мм, Ø435, а также три канавка Ø366,6х5,6 и 0,5х5 мм.
Для выполнения фрезерно-сверлильных операций, рекомендуем
использовать теоретическую схему базирования 3, схему установки 3.1, согласно
которой, деталь закрепляется в специальном приспособлении, одеваясь на сменную
втулку и прижимаясь к нижней опоре. По данной схеме фрезеруем три паза
размером: 25х35 мм, сверлим, зенкеруем 6 отверстий Ø18, сверлим нарезаем резьбу на 6 отверстиях М16 и сверлим два
отверстия Ø8 мм.
Для круглошлифовальных работ (обработка поверхности Ø375 мм), рекомендуем использовать схему базирования №1, схему
установки 1.2, а для внутришлифовальных работ, (обработка отверстия Ø340) соответственно, рекомендуем использовать схему установки 1.1.
На первых операциях выбор схемы базирования влияет на
распределение общего припуска обрабатываемых поверхностей, также на этих
операциях осуществляется подготовка базовых поверхностей для выбранных схем
базирования. При выборе схем базирования на первых операциях следует учесть то,
что заготовка получена методом пластических деформаций, и накопленная
деформация на поверхностях значительна, что может привести к короблению заготовки
после черновой обработки. Поэтому следует разделять черновую и чистовую
обработку поверхностей.
Анализ чертежа заготовки показывает, что для черновой
обработки заготовки можно использовать теоретические схемы базирования № 1 и 2.
Исходя из принципов и надежности установки заготовки в приспособлении и
простоты ее конструкции, для реализации предложенной схемы базирования
целесообразно использовать схему установки 1.1, 1.2, 2.1.
1.5
Разработка технологического процесса изготовления детали
Так как заводской базовый тех. процесс обработки детали
"Корпус" отсутствует, то после анализа справочной литературы,
выбираем в качестве базового варианта типовой технологический процесс обработки
подобной детали, который приведен в табл. 1.11. Таблицу выполняем на примере,
согласно справочной литературе [5, стр. 434, таблица 8] [5].
Таблица 1.11 - Маршрут изготовления детали
|
№ оп.
|
Содержание или
наименование операции
|
Станок,
оборудование
|
Оснастка
|
|
005
|
Заготовительная
|
КГШП
|
-
|
|
010
|
Подрезать торец
начерно, начисто в размер 107 мм, расточить контур детали в размеры Ø260 мм, Ø325 мм, Ø339,0 мм, Ø350 мм. Расточить начисто поверхность Ø 339,7 мм, точить канавки Ø357х7,3 мм и Ø342х5 мм Переустановить деталь Обточить
контур детали начерно, начисто в размеры 107, 23,20 мм, Ø375, 19, Ø435 Точить две канавки в размеры Ø366,6х5,6 мм, точить канавку в размеры 0,5х5
мм
|
Токарный с ЧПУ
16К20Ф3
|
Патрон
трехкулачковый
|
|
015
|
Фрезеровать три
паза, в размеры 25х35 мм, Сверлить 6 отв. Ø17 мм, зенкеровать 6. отв. Ø18 мм, сверлить 6 отв. Ø15,5 мм, нарезать резьбу на 6 отв. М16.
Сверлить 2 отв. Ø8 мм
на глубину 92 мм
|
Фрезерно-сверлильный
с ЧПУ ГФ2171С5
|
Приспособление
специальное
|
|
020
|
Шлифовать
наружную поверхность в размер Ø375 мм Переустановить деталь Шлифовать
внутреннюю поверхность в размер Ø340 мм
|
Универсально
шлифовальный 3У131ВМ
|
Патрон
трехкулачковый
|
|
025
|
Острые кромки
притупить
|
Слесарный
верстак
|
|
|
030
|
Промыть деталь
|
Моечная машина
|
|
|
035
|
Технический
контроль
|
Контрольный
стол
|
|
В нашем технологическом процессе, для выполнения токарных
обдирочных и чистовых работ предлагаю использовать станок токарный с ЧПУ модели
16К20Ф3. Для выполнения фрезерно-сверлильный работ выбираем станок
фрезерно-сверлильный с ЧПУ модели ГФ2171С5, а также для совмещения внутренних и
наружных шлифовальных работ за одну операцию выбираем станок
универсально-шлифовальный 3У131ВМ.
Фрезерно-сверлильный станок с ЧПУ ГФ2171C5 - вертикальный, с
неподвижной консолью, с числовым программным управлением (ЧПУ) и устройством
автоматической смены инструмента. Фрезерный станок с ЧПУ ГФ2171C5 предназначен
для многооперационной обработки разнообразных деталей сложной конфигурации из
стали, чугуна, цветных и легких сплавов. Наряду с фрезерными операциями на
станке можно производить точное сверление, зенкерование, развертывание и растачивание
отверстий, связанных координатами.
За счет применения многорезцовых державок, инструментальных
блоков и одновременной обработки детали по контуру, значительно сократится
основное машинное время, время на переустановку детали и переналадку станка. Эксплуатационная
особенность станков с ЧПУ - их гибкость, позволяющая автоматизировать серийное
производство деталей.
На основании анализа технических требований чертежа, с учетом
выбранных схем базирования и установки, а также конфигурации заготовки, разрабатываем
маршрут обработки для каждой поверхности. Для каждого технологического перехода
определяем значение достигаемой точности и шероховатости, а также номер схемы
установки, при котором выполняется каждый технологический переход. Полученные
данные заносим в табл. 1.12.
1.5.1
Формирование маршрута обработки деталей
Объединение переходов в установы и операции, выполняются с
учетом типового технологического процесса, базового маршрута обработки данной
детали, а также с учетом выбранных схем установки заготовки на станке.
Таблица 1.12 - Формирование маршрута обработки поверхностей
|
№ пов.
|
Маршрут
обработки
|
Квалитет
|
Ra, мкм
|
№ Схемы
установки
|
Установы
|
|
|
|
|
|
1
|
2
|
3
|
|
1,10
|
Точение
черновое, Чистовое
|
h14 h14
|
6.3 3.2
|
1.1 1.1
|
х х
|
|
|
|
2
|
Точение
однократное
|
H14
|
6,3
|
1.1
|
х
|
|
|
|
3
|
Точение
однократное
|
H12
|
6,3
|
1.1
|
х
|
|
|
|
4
|
Точение
черновое, чистовое, шлифование чистовое
|
H12 H9 H7
|
6,3 3,2 1,6
|
1.1 1.1 1.1
|
х х
|
|
х
|
|
5
|
Точение
однократное
|
H14
|
6,3
|
1.1
|
х
|
|
|
|
6
|
Точение
однократное
|
H14
|
6,3
|
1.1
|
х
|
|
|
|
7
|
Точение
однократное
|
H14
|
6,3
|
1.1
|
х
|
|
|
|
8
|
Точение
однократное
|
IT11
|
6,3
|
1.1
|
х
|
Точение
однократное
|
IT14
|
6,3
|
1.1
|
х
|
|
|
|
11
|
Точение
однократное
|
Н14
|
6,3
|
1.1
|
х
|
|
|
|
12
|
Точение
однократное
|
IT14
|
6,3
|
2.1
|
х
|
|
|
|
13
|
Точение
черновое, чистовое, шлифование чистовое
|
h12 h9 h7
|
6,3 3,2 2,5
|
2.1 2.1 1.2
|
х х
|
|
х
|
|
14
|
Точение
черновое, чистовое
|
h14 h12
|
6,3 2,5
|
2.1 2.1
|
х х
|
|
|
|
15
|
Точение
черновое, чистовое
|
h14 h12
|
6,3 3,2
|
2.1 2.1
|
х х
|
|
|
|
16,17
|
Точение
однократное
|
h12
|
6,3
|
2.1
|
х
|
|
|
|
18
|
Точение
однократное
|
IT14
|
6,3
|
2.1
|
х
|
|
|
|
19
|
Сверление,
зенкерование
|
Н14 Н13
|
6,3 3,2
|
3.1 3.1
|
|
х х
|
|
|
20
|
Сверление,
нарезание резьбы
|
Н11 7Н
|
6,3 3,2
|
3.1 3.1
|
|
х х
|
|
|
21,22
|
Фрезерование
|
Н14
|
6,3
|
3.1
|
|
х
|
|
|
23
|
Сверление
|
Н14
|
6,3
|
3.1
|
|
х
|
|
|
Номер операции
|
010
|
015
|
020
|
|
Оборудование
|
16К20Ф3
|
ГФ2171С5
|
3У131ВМ
|
|
|
|
|
|
|
|
|
|
|
1.6
Разработка технологической операции
1.6.1 Выбор
средств технологического оснащения
010 Токарная с ЧПУ
Токарный с ЧПУ 16К20Ф3;
Патрон трехкулачковый ГОСТ 2675-80
. Резец расточной Т15К6 ГОСТ 18883-73;
. Резец канавочный специальный;
. Резец канавочный специальный;
. Проходной упорный резец ВК8 ГОСТ 18879-73;
. Резцы канавочные специальные;
. Штангенциркуль ШЦ - III - 500 - 0,1 ГОСТ 166-89;
. Шаблон специальный.
. Угломер ГОСТ 5378-88;
Фрезерно-сверлильная с ЧПУ
Фрезерно-сверлильный с ЧПУ ГФ2171С5;
Приспособление специальное;
. Фреза концевая ВК8 Ø25 ГОСТ 17025-71
. Сверло спиральное Ø17,0; Ø 15,5; Ø8 Р6М5 ГОСТ 886-77;
. Зенкер Ø18 Р18 ГОСТ 12489-71
. Метчик машинный М16 ГОСТ 3266-81
. Штангенциркуль ШЦ - III - 500 - 0,1 ГОСТ 166-89;
. Калибр-пробка Ø8, Ø18 мм
. Калибр резьбовой М16-7Н ГОСТ 24997-81
. Шаблон.
Универсально-шлифовальная
Универсально-шлифовальный 3У131ВМ;
Патрон трехкулачковый ГОСТ 2675-80
. Шлифовальный круг ПП 600×50×30524А 10-П С2 7 КПГ50 м/с А
1кл. ГОСТ 2424-83.
. Шлифовальный круг 20х4х6 35 м/с А 1клГОСТ 2424-83
. Калибр-скоба Ø 375.
. Штангенциркуль ШЦ - III - 500 - 0,1 ГОСТ 166-89;
1.6.2 Расчет
и назначение режимов резания
Выполняем расчет режимов резания на 010 операцию, установ Б -
токарная с ЧПУ, которая состоит из следующих технологических переходов:
. Обточить контур детали начерно, начисто в размеры
107, 23,20 мм, Ø 375,19 мм; Ø435 мм
2. Точить канавки в размеры Ø366,6х5,6 мм, 0,5х5 мм
Расчет режимов резания аналитическим методом ведем для
перехода 1 Ø 375,15 мм - заготовка Ø379 мм
Глубина резания.
Определяем величину припуска по формуле:
(21)
= 1,5 мм.
= 0,425 мм.
Подачу на обработку назначаем S1 = 0,1 - 0,2 мм/об по
[4, табл. 12, стр. 267], согласовываем с паспортом станка S1 = 0,2
мм/об;2 = 0,1 мм/об по [4, табл. 12, стр. 267], согласовываем с
паспортом станка S2 = 0,1 мм/об.
Скорость резания рассчитывается по формуле:
м/мин, (22)
где Т - стойкость инструмента, мин. Значение стойкости при работе
резцами с напайными пластинами время работы до замены резца принимается равным
60 минут. [4, стр.268];
Сv, Kv - составляющие коэффициенты; значения
коэффициента СV и показателей степени x, y и m выбираем по [4,
табл.17, стр.269]:
СV = 420; x = 0,15; y = 0,2; m = 0,2;
- глубина
резания, мм;
S - подача,
мм/об;
- произведение поправочных коэффициентов, учитывающих условия
обработки, их рассчитываем по формуле:
, (23)
где KMv - коэффициент, учитывающий влияние
материала заготовки;
Knv
- коэффициент, учитывающий состояние поверхности заготовки;
Kuv
- коэффициент, учитывающий материал инструмента;
Kφv - коэффициент, учитывающий главный угол в
плане резца;
Krv
- коэффициент, учитывающий радиус при вершине резца.
=0,85;
=1,0; [4, табл.5,6, стр.263];
=1,0;
=1,0 [4, табл.18, стр.271]; К = 0,85, n = 1,0 [4, табл.2,
стр.262].
(24)
Тогда общий поправочный коэффициент
будет равен:
м/мин.
м/мин.
Определяем частоту вращения шпинделя по формуле:
об/мин (25)
По паспортным данным станка принимаем значение частоты вращения
шпинделя n1черн = 100 об/мин, n2чист = 125 об/мин.
Тогда действительная скорость резания, соответствующая
установленной частоте вращения шпинделя, равна:
м/мин
м/мин
Рассчитываем силы резания по формуле:
, кН (26)
где Cp - коэффициент, учитывающий условия
обработки;
x,y,n - показатели
степени;
Кр - поправочный коэффициент, учитывающий фактические
условия резания.
Поправочный коэффициент рассчитываем по формуле:
Кр = КМ · Кφ · Кγ · Кλ · Кr (27)
где КМ - коэффициент учитывающий обрабатываемый
материал, Кφ -
коэффициент учитывающий главный угол в плане;
Кγ -
коэффициент учитывающий передний угол;
Кλ -
коэффициент учитывающий угол наклона главного лезвия;
Кr - коэффициент учитывающий радиус при вершине.
(28) n = 0,75 [4, табл.9, стр.264].
Поправочные коэффициенты определяем для тангенциальной силы Pz
по [4, табл.23, стр.275]: Кφр = 0,89; Кγр = 1,0; Кλр = 1,0; Кr = 0,93.
КрZ = 1,22 · 0,89 · 1,0 · 1,0 · 0,93 = 1,0
Значения коэффициента Ср и показателей степени x, y и n
выбираем по [4, табл.22, стр.273]: Pz - Ср = 300; x =1,0;
y = 0,75; n = - 0,15.
z1черн = 10 · 300·1,51,0 ·0, 20,75· 119-0,15·1,0
= 657 Н.z2чист = 10 · 300·0,4251,0 ·0,10,75·
147-0,15·1,0 = 108 Н.
Рассчитываем мощность резания по формуле:
(29)
Мощность на шпинделе станка Nэ=Nд×η.
д =
10 кВт; η = 0,75
(по паспорту станка).э = 10×0,75 = 7,5 кВт.
Так как Nэ= 7,5 кВт > N = 1,3 кВт, то обработка
возможна.
Расчет основного машинного времени
Основное технологическое (машинное) время - время, в течение
которого происходит снятие стружки без непосредственного участия рабочего.
, мин (30)
где - путь инструмента в направлении рабочей подачи, мм;-
количество проходов.
Путь инструмента рассчитываем по формуле:
= l + l1+l2, мм (31)
где l - размер обрабатываемой поверхности в направлении подачи;1
- величина врезания, мм; l1 = 2 - 4 мм;2 - величина
перебега, при обработке в упор - отсутствует.
1 =
L2 =62 + 3 = 65 мм,
мин
мин
Таблица 1.13 - Сводная таблица режимов резания 010 операции
|
Установ
|
Наименование
операции
|
Режимы резания
|
|
|
D, мм
|
l, мм
|
t, мм
|
S, мм/об
|
V, м/мин
|
n, об/мин
|
to,
мин
|
|
А
|
Переход 1
|
-
|
-
|
1,5
|
0,2
|
-
|
100
|
8,6
|
|
|
-
|
-
|
0,5
|
0,1
|
-
|
200
|
9,3
|
|
Переход 2
|
350
|
5
|
5
|
0,12
|
224
|
200
|
0,21
|
|
Переход 3
|
342
|
1,0
|
1,0
|
0,12
|
215
|
200
|
0,33
|
|
Б
|
Переход 1
|
379
|
65
|
1,5
|
0,2
|
119
|
100
|
3,25
|
|
|
376
|
65
|
0,425
|
0,1
|
147
|
125
|
5,2
|
|
Переход 2
|
366,6
|
4,5
|
4,5
|
0,2
|
230
|
200
|
0,4
|
|
Переход 3
|
374
|
0,5
|
0,5
|
0,2
|
235
|
200
|
0,1
|
|
ΣТ020
=
|
27,39
|
1.6.3
Разработка управляющей программы
Разработку управляющей программы ведем для 010 операции.
Характерной особенностью станков с ЧПУ является
автоматическая реализация совокупности закодированных команд (руководящей
программы), что обеспечивают необходимую последовательность взаимных положений
обрабатываемой детали и инструмента.
Для проектирования РТК и разработки управляющей программы
(УП) важное место имеет: ознакомление с исходными данными и их анализ;
подготовка операционного эскиза; модель станка с ЧПУ; определение настроечных
размеров для обрабатываемой детали; определение координат эталонного блока,
"нулевой" точки суппорта; составление плана обработки; определение
параметров настройки инструментов; разработка траектории движения инструментов;
кодировка информации и подготовка УП для станков с ЧПУ.
Обработку детали проводят за две установки установку.
Черновое и чистовое растачивание поверхностей резцом расточным, растачивание
черновое и чистовое резцом канавочным, растачивание черновое, чистовое и тонкое
резцом расточным. Деталь устанавливается на планшайбу.
Рисунок 1.4 - Операционный эскиз детали с учетом настроечных
размеров
Настроечные размеры на обработку определяются по формуле:
(32)
Таблица 1.12 - Расчётные настроечные размеры
|
Настроечный
размер
|
Операционный
размер
|
|
375,12
|
Ø375,
19-0,14
|
|
434,22
|
Ø435-1,55
|
|
22,89
|
23-0,21
|
|
104,56
|
105-0,87
|
|
366,31
|
Ø366,6-0,57
|
Начало системы координат детали (пересечение осей X,Z):
ось Z совпадает с осью симметрии детали;
ось Х совпадает с левым торцом детали.
Разработка траектории движения инструмента:
Рисунок 1.5 - Траектория движения инструментов
Т10-1-2-3-4-5-6-7-8-0 Т2 0-9-10-11-12-13-14-15-0
Т3 0-16-17-18-19-0
Координаты опорных точек и приращения (перемещение
инструмента) рассчитываются с помощью разработанной траектории, начиная с
выходной точки ("нуля инструмента"). При этом приращения считаются
как разница между соответствующими координатами данной и предыдущей точек:
; (33)
. (34)
При этом необходимо учитывать, что движение инструмента по
траектории начинается из точки, называемой "смещенным нулем"
инструмента, координаты, которой определяются по формулам:
, (35)
, (36)
где
,
- координаты первой точки траектории;
А, В -
параметры настройки инструмента;
R - радиус
инструмента.
С учетом всех выше изложенных формул разрабатываемуправляющую
программы в системе 2Р22
Установ Б
%N1T1S2100F0,2M08X255EZ0,3ЕХ336X376Z-20Z-81,3X435Z-105X436Z1EX258ES2
200F0,1Z0X335,12X375,12Z-20Z-81,67X434,22Z-105X435T2S2
200F0,2M08X376Z-66,67EX366,31X376EZ-28,67X366,31X367ET3S2
200F0,2M08X376Z-81EZ-81,67X374,12X376EM02
1.6.4
Нормирование технологического процесса
Расчет норм времени выполняем для 010 - токарной операции с
ЧПУ
Штучно-калькуляционное время рассчитывается по формуле:
(37)
где tшт - штучное время, мин;п-з -
подготовительно-заключительное время, мин;
п -
количество деталей в партии, шт.
Штучное время определяем по формуле
шт =
tо + tвсп + tдоп (38)
где tвсп - вспомогательное время при обработке, мин;доп
- дополнительное время на обработку, мин.
Вспомогательное время при обработке будет состоять из нескольких
компонентов.
всп
= tуст + tкер + tконтр + tп. пер (39)
где tутс - время на установку и снятие детали, tуст
= 0,16 мин.упр. = 0,37 мин - вспомогательное время на приемы
управления станком
контр
= tконтр. н · К · і (40)
где tконтр - нормативное время на контроль, tконтр
= 0,20 мин.
К = 0,3 - коэффициент периодичности проверки;
і = 6 - количество измерений.
контр
= 0,2 · 0,3 · 6 = 0,36 мин.
Время связанное с переходом: tп. пер = 0,76 мин
всп
= 0,16 + 0,37 + 0,36 + 0,76 = 1,65 мин
Определяем оперативное время по формуле:
оп
= tо + tвсп (41)оп = 27,39 + 1,65 = 29,04 мин
Дополнительное время определяем по формуле:
αдод = (αтех + αорг + αотд) · tоп (42)
где αтех = 0,7 мин
αорг =1% от tоп =0,29; αотд=1,2 % от tоп =0,34 мин
αдод = (0,7 + 0,29 + 0,34) · 29,04 = 38,6 мин.шт =
27,39 + 1,65 + 38,6 = 67,64 мин.
Подготовительно-заключительное время необходимо для настройки
станка на обработку партии заготовок.нал = 10 мин. - нормативное
время на настройку станка, инструмента и приспособления;= 2 мин. - нормативное
время на дополнительные приемы;= 7 мин. - норматив времени на получение
инструментов и приспособления до начала и сдача после окончания обработки;
п = 67 шт.
п-з
= 10 + 2 + 7 = 19 мин.
= 67,92 мин.
Таблица 1.13 - Результаты технологического нормирования
операций механической обработки.
|
№ оп.
|
Наименование
операции
|
Модель станка
|
tо,
мин
|
tв,
мин
|
tоп,
мин
|
tшт,
мин
|
tп-з,
мин
|
tшт-к,
мин
|
|
010
|
Токарная с ЧПУ
|
16К20Ф3
|
27,39
|
1,65
|
29,04
|
67,64
|
19
|
67,92
|
1.6.5
Определение разряда работ и классификации исполнителей
Разряд работы исполнителей назначаем согласно таблице 32
[методические указания].
Таблица 1.14 - Проектируемый технологический процесс
Название
операции
|
Модель станка
|
Приспо-собление
|
Профессия
|
Разряд работ
|
|
010
|
Токарная с ЧПУ
|
16К20Ф3
|
Станочное
|
Токарь
|
4
|
|
015
|
Фрезерно-сверлильная
с ЧПУ
|
ГФ2171С5
|
Специальное
|
Фрезеровщик
|
4
|
|
020
|
Шлифовальная
|
3У131ВМ
|
Станочное
|
Шлифовщик
|
5
|
2.
Конструкторский раздел
2.1 Исходные
данные и техническое назначение
Исходные данные:
деталь - фланец;
операция - сверление 6 отверстий Ø18+0,27 мм
Рисунок 2.1 - Эскиз детали
Для сверления шести отверстий Ø18 мм проектируем
консольный скальчатый кондуктор с пневматическим зажимом.
Рисунок 2.2 - Конструкция скальчатого кондуктора
Заготовка установлена на палец и зажимается сверху плитой
кондукторной, с помощью пневматического зажима. Плита 2 соединяется с корпусом
1 тремя скалками. Средней скалкой кондуктора служит шток 4 пневмоцилиндра 3.
Две другие скалки 7 служат для направления плиты относительно корпуса при ее
вертикальных перемещениях.
Работа пневматического зажима осуществляется следующим
образом: сжатый воздух поступает в верхнюю (зажим) и нижнюю (разжим) полости
цилиндра 3 через штуцеры 6 с помощью крана управления 5. Для точного
направления режущего инструмента в плите предусмотрены кондукторные втулки.
2.2
Кинематическая схема и необходимые расчеты
Основное назначение зажимного устройства в приспособлении -
обеспечение надежного контакта заготовки с установочными элементами,
предупреждение ее смещения и вибраций в процессе обработки
Обрабатываемая деталь находится в равновесии как под
действием сил, возникающих в процессе обработки, так и сил зажима и реакции
опор. Основными силами процесса обработки являются силы резания.
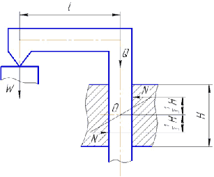
Определяем момент резания по формуле:
(1.1)
где n - число одновременно работающих инструментов; n = 2о
- межцентровое расстояние, мм., Dо = 400 мм (исходные данные);
ΔР - неуравновешивающая радиальная сила, Н.
Определяем неуравновешивающую радиальную силу ΔР по формуле:
ΔР = 0,0153 · (1 - f) · Pос. (1.2)
где Рос. - осевая сила резания, Н;- коэффициент трения.
При сверлении, для двух поверхностей зажима f = 0,5
Проводим расчет осевой силы по формулe:
Ро = 10 · Ср · Dq · Sy
· Kp (1.3)
Ср = 24,2; q = 1,0; y = 0,8 [6, табл.32, стр.281]
Коэффициент Kp находим по формуле:
p =

n (1.4)=
0,6 [6, табл.9, стр.264]p = 
0,6 =
0,81;
Ро = 10 · 24,2 · 181,0 · 0, 20,8
· 0,81 = 974 Н;
ΔР = 0,0153 · (1 - 0,5) · 974 = 7,4 Н
Следовательно, момент резания равен:
= 2960 Н·мм
Записываем уравнение моментов:
где Мтр1 - крутящий момент трения, возникающий на
нижней опорной
поверхности заготовки, Н·мм;
Мтр2 - крутящий момент трения, возникающий на верхней
опорной
поверхности заготовки, Н·мм;
Определяем момент Мтр1 на нижней опорной поверхности
заготовки:
(1.5)
Размеры нижней опорной поверхности определяем по чертежу детали:
= 375 мм.; d = 260 мм.
Определяем момент Мтр2 на верхней опорной поверхности
заготовки:
(1.6)
Размеры верхней опорной поверхности определяем по чертежу детали:
1 =
435 мм.; d1 = 340 мм.
Тогда уравнение будет иметь следующий вид:
Таким образом, формула для определения необходимого усилия зажима
имеет вид:
(1.7)
= 16,7 Н
2.3
Определение силы зажима
Определять требуемую силу зажима нужно с учетом коэффициента
запаса К, предусматривающего возможное увеличение силы резания вследствие
затупления режущего инструмента, неоднородности обрабатываемого материала,
неравномерности припуска, непостоянства установки, закрепления заготовки и т.д.
Следовательно, действительная сила зажима равна:
действ. = К · W (1.8)
Коэффициент К рассчитывается применительно к конкретным
условиям обработки по формуле [6, стр.85]:
К = К0 · К1 · К2 · К3
· К4 · К5· К6 (1.9)
где К0 = 1,5 - гарантированный коэффициент запаса
для всех случаев;
К1 - коэффициент, учитывает увеличение сил резания
из-за случайных неровностей на обрабатываемых поверхностях;
К2 - коэффициент характеризует увеличение сил
резания вследствие затупления режущего инструмента;
К3 - коэффициент, учитывает увеличение сил резания
при прерывистом резании;
К4 - коэффициент характеризует постоянство силы
закрепления в зажимном механизме;
К5 - коэффициент характеризует эргономику ручных
зажимных механизмов;
К6 - коэффициент учитывается при наличии момента.
К0 = 1,5; К1 = 1,2; К3 =
1,0; К4 = 1,2; К5 = 1,0; К6 = 1,0 [6, стр.85];
К2 = 1,15 [6, табл.9, стр.84].
Следовательно:
К = 1,5 · 1,2 · 1,15 · 1,0 · 1,2· 1,0 · 1,0 = 2,484действ.
= 2,484 · 16,7 = 41,5 Н
2.4 Расчет
прилагаемой силы на штоке
Рассчитываем, какую силу на шток пневмоцилиндра нужно
приложить, чтобы обеспечить необходимую нам силу зажима заготовки. Для этого
выполняем расчетную схему зажима (рис. 2.3)
Рисунок 2.3 - Расчетная схема зажима
Составляем уравнение:
(1.10)
Сила трения равна: F = 2 · N · f (1.11)
Подставляем в формулу (1.11) значение N (1.10):
(1.12)
Н = 160 мм., l = 200 мм (чертеж приспособления).
Определяем силу на штоке из уравнения:
= Q - F (1.13)= W + F = W +
= W
= 41,5 ·
= 199,3 H.
2.5 Расчет
основных размеров пневмоцилиндра
Рассчитываем минимальный диаметр штока
Диаметр поршневого цилиндра определяем по формуле:
(1.14)
где Q - сила на штоке, Н;
[σp] - допустимое растяжение, Н/мм2;
α - коэффициент затяжки (α = 2,25);
[σp] = 1,9 Н/мм2.
17,4 мм.
Диаметры цилиндра и штока должны соответствовать ГОСТ 6540-88,
поэтому принимаем диаметр штока ближайшее наибольшее значение d = 20 мм.
Определяем минимальный диаметр цилиндра.
Сила на штоке описывается формулой:
(1.15)
Откуда диаметр цилиндра равен:
(1.16)
где ρ -
давление в пневмосистемах 0,2 - 0,6 МПа, рекомендуется принимать ρ = 0,4 МПа;
η - к. п. д., учитывающий потери на трение;
η = 0,85.
= 34 мм.
Внутренний диаметр шпилек:
(1.17)
= 8,6 мм.
Принимаем ближайший диаметр пневмоцилиндра из ряда стандартных,
которому соответствует диаметр штока d = 20 мм, D = 50 мм, толщина стенки 4 мм,
диаметр шпилек d1 = М10, количество шпилек z = 4.
2.6 Расчет
приспособления на точность
При проектировании консольного скальчатого кондуктора с
пневмозажимом, следует учесть следующие данные:
) Допуск параллельности поверхности базирования относительно
основания кондуктора 0,02 мм на длине 100 мм, нижней поверхности опорной плиты
- 0,02 мм на длине 100 мм на любой высоте расположения плиты.
) Пневмосистему проверить на герметичночть. Утечка воздуха не
допускается. Давление воздуха в сети 0,4.0,6 МПа.
) Обеспечить плавность хода штока пневмоцилиндра. Обеспечить
передвижение штока без рывков и заеданий.
) Покрытие наружных несопрягаемых поверхностей по цвету
станка эмаль ЭП-140 ОСТ 1.90055-85.
) Рассчитать точность приспособления и скорректировать с
допустимым.
Расчет на точность сверлильных приспособлений заключается в
определении исполнительных размеров на расположение осей кондукторных втулок и
допусков на эти размеры. Исходными данными для расчета является: Ø80±0,37 - размер и допуск на координаты осей обрабатываемых отверстий
Ø10,2. На рис.2.3 приведена расчетная схема.
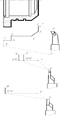
Рисунок 1.4 - Схема для расчета на точность сверлильного
приспособления
Определяем номинальный размер координат расположения осей
кондукторных втулок.
Т.к. допуски на обработанные отверстия задаются симметрично,
то
К = Lд; L1К = L1д
Øк ≥ Øд = 400 мм.
Допуск на размеры кондуктора LК, L1К определяем
по формуле:
ТК
Тд - κ ·
(1.18)
где к = 1…1,2 - коэффициент, учитывающий отклонение расстояния
составляющих величин от закона нормального распределения,
принимаем к=1;
- доля погрешности обработки, зависящая от смещения оси сверла
относительно оси отверстия сменной втулки;
- доля погрешности обработки, вызванная смещением оси сверла
вследствие эксцентриситета обеих втулок;
- доля погрешности обработки, зависящая от величины допустимого
износа сменной втулки по направляющему диаметру;
Н - высота сменной втулки, мм.;
а - величина зазора для выхода стружки в процессе обработки.
Выбирается в пределах а = (0,5…0,8) dсв. Принимаем
равным а = 9 мм.
Долю погрешности обработки
определяем по формуле:
(1.19)
где S1max - максимальный зазор между сменной втулкой и
сверлом.
Допуски на диаметр отверстия втулок выбираем по посадке
системы вала:
Диаметр сверла dсв = 
мм;
Диаметр отверстия сменной втулки d = 
мм.
Следовательно,
мм.
Долю погрешности обработки
определяем по формуле:
Определяем долю погрешности обработки
.
Величина допустимого эксцентриситета е одной кондукторной
втулки принимается равной 0,04 мм. Следовательно, для двух втулок:
(1.20)
= 0,08 мм.
Долю погрешности обработки
принимаем 0,015 мм [7, табл.5.10].
Подставляем в формулу все полученные значения составляющих погрешностей,
при к = 1:
ТК
0,57 -
;
ТК
0,15 мм; ТК
±0,075 мм.
Учитывая условие: ТК
(0,25 - 0,3) Тd - расчетный допуск ужесточаем до ближайшего
нормализованного - ±0,075 мм.
Назначаем исполнительный размер расположения осей кондукторных
втулок в приспособлении: [Lк] = Ø400±0,075 мм.
Список
использованных источников
1.
Методические указания.
.
Справочник технолога-машиностроителя. В 2-х т. Т.1/Под ред.А.Г. Косиловой и
Р.К. Мещерякова. - 4-е изд., перераб. и доп. - М.: Машиностроение, 1985.496с.,
ил.
.
Горбацевич А.Ф., Шкед В.А. - Курсовое проектирование по технологи
машиностроения. - Минск: Высшая школа, 1983. - 256 с.
.
Косилова А.Г. Справочник технолога-машиностроителя. В 2-х т. Т.2/Под ред.А.Г.
Косиловой и Р.К. Мещерякова. - 4-е изд., перераб. и доп. - М.: Машиностроение,
1985. - 656 с.
.
Обработка металлов резанием: Справочник технолога / А.А. Панов, В.В. Аникин,
Н.Г. Бойм и др.; Под общ. ред.А. А. Панова. - М.: Машиностроение. 1988. - 736
с.
.
Баранчиков В.И. Прогрессивные режущие инструменты и режимы резания металлов:
Справочник. - М.: Машиностроение, 1990. - 400с.: ил.
.
Справочник нормировщика-машиностроителя. В 2-х т. Т.2/под ред.Е.И.
Стружестраха. Государственное научно-техническое издательство
машиностроительной литературы. Москва, 1968.
.
В.А. Богуслаев, В.А. Лиховицер, А.С. Смирнов. Станочные приспособления. Издание
2-е. г. Запорожье, изд. ОАО "Мотор Сич", 2004 г. - 461 с.
.
Иосилевич Г.Б. Детали машин: Учебник для студентов машиностроит. спец. вузов. -
М.: Машиностроение, 1988. - 368 с.
.
Шатин В.П., Шатин Ю.В. Справочник конструктора-инструментальщика. М.:
Машиностроение, 1975. - 456 с.
.
Горошкин А.К. Приспособления для металлорежущих станков: Справочник. - 7-е
изд., перераб. и доп. - М.: Машиностроение, 1979. - 303 с