Обоснование и создание циклического гидропривода станочного оборудования с атоматическиим управлением
СОДЕРЖАНИЕ
Введение
.
Литературный обзор
.1 Схемы и
конструкции циклических гидроприводов станочного оборудования
.2
Теоретические методы динамического анализа и синтеза гидроприводов с
детерминированным управлением
. Устройство
и принцип действия циклического гидропривода, управляемого гидроустройством с
автоматическим регулятором
.
Математическая модель циклического гидропривода с автоматическим регулятором
.
Исследование влияния параметров гидропривода на его динамические характеристики
. Определение
оптимальных параметров гидропривода
. Программа
динамического расчета гидропривода на ПК
Заключение
Список
использованных источников
ВВЕДЕНИЕ
Гидропривод сегодня широко применяется в машиностроении и стал
неотъемлемой составной частью современных мобильных машин и промышленного
оборудования. В настоящее время во всем мире практически невозможно назвать
такую отрасль промышленности или сельского хозяйства, в которых не применялся
бы гидропривод. А возросшие в последние годы темпы создания и освоения серийного
производства новых машин с гидравлическим приводом являются наглядным
подтверждением научно - технического прогресса.
Использование гидроприводов в строительных и дорожных машинах
способствует значительному повышению уровня механизации в этих отраслях.
Гидравлические устройства устанавливаются в системах управления на
экскаваторах, бульдозерах, подъемниках, погрузчиках, кранах, а также в качестве
силовых передач на движитель этих машин.
В результате внедрения современных технологических процессов и совершенствования
гидравлического оборудования и машин с объемным гидроприводом за последние два
десятилетия значительно улучшилось качество их изготовления, повысились
продолжительность безотказной работы и технический ресурс.
Перспективным является использование гидравлических и пневматических
передач в сочетании с электрическими для автоматизации технологических
процессов во многих отраслях народного хозяйства с целью повышения
производительности и улучшения условий труда.
К основным преимуществам гидропривода относятся:
возможность универсального преобразования механической характеристики
приводного двигателя в соответствии с требованиями нагрузки, простота
управления и автоматизации;
простота предохранения приводного двигателя и исполнительных органов
машин от перегрузок;
широкий диапазон бесступенчатого регулирования скорости выходного звена;
большая передаваемая мощность на единицу массы привода;
надёжная смазка трущихся поверхностей при применении минеральных масел в
качестве рабочих жидкостей.
Гидропривод обеспечивает бесступенчатое регулирование скоростей в широком
диапазоне, получение больших сил и мощностей при малых размерах и весе
передаточного механизма, возможность осуществления различных видов движения,
возможность частых и быстрых переключений при возвратно-поступательных и
вращательных прямых и реверсивных движениях
Преимущества гидропривода перед обычными механическими передачами
становятся столь существенными, что во многих случаях предпочтение отдаётся
именно ему.
Но несмотря на существующие достоинства гидропривода, есть у него и
недостатки, а именно в оборудовании необходимо решить вопрос по повышению
цикловой производительности, что невозможно без существенного сокращения
вспомогательного времени, доля которого в общем времени цикла в настоящее время
достигает 40-60%. Одним из эффективных путей решения этой задачи является
сокращение величины недохода инструмента.
В современном оборудовании наибольшее применение получил метод путевого
управления последовательностью переходов. Вместе с тем, управление процессом
переключения стола с быстрого подвода (БП) на рабочую подачу (РП)
осуществляется, как правило, по времени. Для этого в настоящее время
применяются электрогидравлические управляющие устройства - гидропанели подачи
типа УН74, серийно выпускаемые отечественной промышленностью. В таких приводах
величину недохода определяет, главным образом, разброс координаты точки
перехода стола с БП на РП, который при постоянном давлении питания составляет в
среднем 3-5 мм, поэтому сокращение его является актуальной задачей. Одной из
современных тенденций развития станков является все более широкое применение
централизованного ГП подачи силовых столов, особенностью которого является
непостоянство давления питания. Это приводит к значительному увеличению разброса,
и, следовательно, возрастает актуальность его сокращения.
Наиболее полно требованиям, предъявляемым к приводам подачи СС,
удовлетворяют ГП с путевым управлением процессом переключения с БП на РП
(ГППУ), но, как показано в данной работе, для обеспечения необходимой
стабильности координаты точки перехода стола с БП на РП при изменении давления
питания и других параметров привода необходимо применять управляющее
гидроустройство (УГУ) с регулятором, который поддерживает определенный перепад
давления на рабочей щели УГУ. Однако в существующих ГП с УГУ такого типа не
обеспечивается работоспособность регулятора в требуемом диапазоне изменения
параметров привода, применение схемы дросселирования на выходе из гидроцилиндра
снижает надежность работы станков и затрудняет получение малых РП, а
непостоянство утечек при изменении нагрузки снижает стабильность РП.
Теоретическому исследованию детерминированных ГП уделяется большое
внимание, однако не рассмотрен ряд вопросов, возникающих при проектировании
ГППУ силового стола. В частности, отсутствуют исследования УГУ с регулятором,
не учитываются особенности централизованного гидропривода, синтез УГУ
производится без учета сжимаемости жидкости, отсутствуют теоретические
исследования разброса координаты точки перехода стола с БП на РП. Решению
перечисленных теоретических и прикладных проблем посвящена данная работа.
Целью работы является теоретическое обоснование и создание ГППУ,
позволяющего повысить производительность станков за счет сокращения разброса
координаты точки перехода стола с БП на РП.
Для достижения поставленной цели разработана математическая модель ГППУ,
которая позволила учесть динамические характеристики регулятора УГУ,
регулируемого насоса с аккумулятором. Предложен теоретический метод
исследования разброса координаты точки перехода стола с БП на РП при изменении
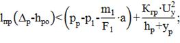
параметров привода. Установлено, что для достаточно точного обеспечения
заданного закона движения и требуемой точности переключения стола с БП на РП
необходимо при синтезе УГУ учесть динамику регулятора и сжимаемость жидкости.
Разработана методика динамического синтеза УГУ с регулятором и путевым
управлением, учитывающая указанные факторы, с применением ПК.
1. ЛИТЕРАТУРНЫЙ ОБЗОР
Что же такое гидропривод и почему именно он особенно ценен в современном
промышленном мире?
Гидравлический привод - привод, в котором передача механической энергии и
преобразование движения осуществляется с помощью жидкости. Для того, чтобы
жидкость обладала механической энергией, используется насос, для преобразования
энергии жидкости в работу выходного звена применяется гидродвигатель.
Соединения насоса и гидродвигателя с помощью трубопровода представляет собой
гидропередачу [1].
Для того, чтобы осуществить управление и регулирование гидропередачи,
применяется гидроаппаратура. Совокупность гидравлических машин (насос,
гидромотор), гидроаппаратуры и трубопровода является гидроприводом, в который
также входят вспомогательные устройства.
В связи с тем, что насосы, гидромоторы относятся к объемным гидромашинам,
то такой гидропривод называется объемным.
По виду движения выходного звена гидропривод подразделяется на:
возвратно-поступательный‚ вращательный, поворотный. Принцип работы привода
заключается в том, что жидкость весьма мало сжимается и давление передается по
закону Паскаля. В гидроприводе объемные насосы обеспечивают преобразование
механической энергии от движения в энергию жидкости. Потребителем энергии
жидкости являются объемные гидродвигатели: гидромотор или силовой гидроцилиндр.
Гидромотор осуществляет передачу на вал крутящего момента с частотой
вращения nм. Силовой гидроцилиндр выполняет
возвратно-поступательное движение, обеспечивая усилие (нагрузку) R, приложенное кштоку поршня
гидроцилиндра, и скорости перемещения поршня νп. Объемный гидропривод позволяет осуществлять
регулирование параметров на выходном звене nм и νп в широком диапазоне [1].
В гидроприводах, кроме объемного насоса, может использоваться
гидроаккумулятор. При этом рабочий цикл или их количество будет ограничено.
Такой гидропривод применяется в тормозных системах.
В производственных помещениях используется магистральный трубопровод, в
котором поддерживается давление с помощью насосной станции, состоящей из
объемных насосов [1].
В случае, когда в гидроприводе не предусмотрено изменение скорости или
частоты вращения выходного звена, то гидропривод является нерегулируемым, а
если изменяются регулируемым. Наиболее распространенными способами
регулирования являются дроссельный и объемный. Регулирование может
осуществляться также в результате изменения частоты вращения насоса и
гидромотора.
Регулирование объемного гидропривода осуществляется с помощью дросселя,
который представляет собой регулируемое местное сопротивление.
Регулирование путем изменения рабочего объема насоса или гидромотора
называется объемным регулированием.
Для ограничения давления в системе гидропривода применяются
гидравлические клапаны, а для распределения направления движения жидкости
используются распределительные устройства [1].
В качестве рабочей жидкости в гидроприводе используется различные масла,
обладающие антикоррозионными и смазывающими свойствами при сравнительно малом
изменении вязкости в диапазоне давления и температур, имеющих место в машинах и
окружающей среде.
Для очистки рабочей жидкости, загрязняющейся в процессе эксплуатации
гидропривода, применяются различные фильтры.
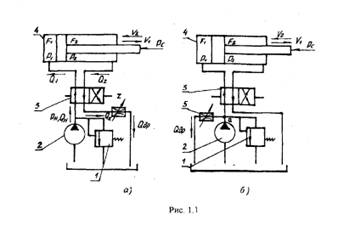
Циркуляция в гидроприводе может быть замкнутой или разомкнутой, и в
последнем случае имеется гидробак (рисунок 1.1) [1]. В гидробаке находится
запас рабочей жидкости. Насос при работе гидропривода забирает жидкость из
бака, которая затем по трубопроводу и через гидроаппаратуру направляется в
гидродвигатель, а из него обратно на слив в бак.
Эффективность и качество систем автоматического регулирования
гидропривода и управления (САР и САУ) в значительной мере определяются
правильностью выбора и проектирования их исполнительных устройств.
Рисунок 1.1 - Схемы гидропривода: а - гидропривод с разомкнутой
циркуляцией; б - гидропривод с замкнутой циркуляцией;
- гидробак; 2 - нерегулируемый насос; 3 - предохранительный клапан; 4 -
регулируемый дроссель; 5 - распределитель; 6 - гидроцилиндр; 7 - обратный
клапан; 8 - насос подпитки; 9 - регулируемый насос
Особенностью последних является то, что в них информационная и
энергетическая сущность процессов регулирования и управления оказываются более
взаимосвязанными, чем в других элементах и устройствах САР и САУ.
Действительно, исполнительное устройство представляет собою элемент системы
автоматического регулирования, непосредственно (или при помощи регулирующих
органов) соединенный с объектом регулирования или управления. Основная задача
исполнительного устройства состоит в том, чтобы усилить сигнал, поступающий на
его вход, до уровня мощности, достаточный для того, чтобы оказать требуемое
воздействие на объект в соответствии с поставленной целью управления [2].
При проектировании систем регулирования исполнительные устройства
приходится выбирать из уже имеющихся в наличии или формулировать технические
условия на их разработку, поэтому специалист, проектирующий такие системы,
должен располагать достаточно полными сведениями об исполнительных устройствах,
а также о принципах и методах их построения. Важным фактором при выборе
исполнительного элемента является обеспечение заданных показателей качества
системы при имеющихся энергетических ресурсах, соблюдении требуемого теплового
режима и допустимых перегрузках.
При синтезе структуры и выборе параметров исполнительного устройства или
сервомеханизма используются различные критерии оптимальности: максимального
быстродействия, минимальной полосы пропускания, максимума к.п.д., минимума
расхода энергии, максимальной надежности, минимальной сложности и т.д.; при
этом характеристики и параметры исполнительного устройства должны определяться
из анализа САР или САУ в целом. Такого рода характеристиками исполнительных
устройств и сервомеханизмов являются: энергетические, статические,
динамические, а также технико-экономические, эксплуатационные и др.
Обязательным требованием к исполнительному приводу САР является
минимизация мощности двигателя при обеспечении требуемых значений скоростей и
моментов. Это приводит к минимизации энергетических затрат в системе
управления.
Из сказанного выше следует, что при выборе исполнительного устройства или
сервомеханизма существенную роль играют: источник энергии, имеющийся в
распоряжении, необходимая мощность регулирующих воздействий, нагрузка на выходе
и т.д. В соответствии с этим практический интерес при расчете и проектировании
представляет классификация исполнительных устройств сервомеханизмов по виду
энергии, используемой для питания их усилительных и исполнительных элементов.
Весьма важными факторами при выборе исполнительного устройства или
сервомеханизма являются ограничения по массе, габаритным размерам и надежности
[2].
После выбора типа исполнительного устройства или сервомеханизма
(электрический, гидравлический, пневматический и т.д.) и определения его
конструктивных параметров проводят исследования его поведения в статическом и
динамическом режимах. Для этого, прежде всего, необходимо дать математическое
описание работы сервомеханизма, т.е. составить его дифференциальные уравнения
или найти передаточную функцию.
Требования к статическим и динамическим свойствам исполнительного
устройства формируют на основе анализа задач, которые можно решить с его
помощью в замкнутой системе автоматического регулирования. Но часто
предварительную проверку выполнения этих требований можно производить (если
желательно, чтобы изменения на выходе сервомеханизма воспроизводили изменения
на его входе) при помощи методов анализа и расчета следящих систем. Поэтому на
данном этапе проектирования полезной оказывается классификация сервомеханизмов
как по виду их математического описания, так и по характеру сигналов на входе и
выходе (непрерывные, дискретно-непрерывные, импульсные и т.д.).
Поэтому в данном случае необходимо рассмотреть важность обеспечения
минимального разброса координаты, варианты способов торможения и управления
этими процессами. Это необходимо не только в циклическом гидроприводе, но и в
следящем с ЧПУ.
В зависимости от типа, к которому принадлежит сервомеханизм (согласно
этой классификации, а также принятой для него математической модели), выбирают
тот или иной метод расчета и анализа его динамических свойств. Необходимо,
однако, подчеркнуть, что окончательное определение конструктивных параметров
сервомеханизма следует производить на основе анализа его работы в замкнутой
системе регулирования.
Вследствие того, что многие нагруженные исполнительные устройства имеют
сходное математическое описание, представляется возможным разработать единую
методику их аналитического проектирования.
При проектировании исполнительного устройства особенно большое значение
имеет правильный выбор силового элемента.
Здесь необходимо подчеркнуть различие в исходных данных, которые
необходимы для выбора обычных приводных двигателей, используемых в качестве
силовых элементов в СДР. Обычно достаточно полной характеристикой приводного
двигателя является его номинальная мощность в определенном режиме (при
номинальной скорости). Иногда необходимо знать зависимость крутящего момента от
скорости при скоростях, мало отличающихся от номинальных. И только в случае
тяговых двигателей требуется располагать зависимостью вращающего момента от
скорости для всех возможных значений скорости; при этом поворот ротора
двигателя не представляет интереса, так как вращающий момент, по крайней мере,
в первом приближении от него не зависит. В случае же силовых элементов
исполнительных устройств САР для их выбора и расчета необходима гораздо более
полная информация, так как требуется знание их свойств не только в
установившемся, но и переходном режиме, поэтому необходимо располагать:
а) характеристикой, представляющей собой зависимость вращающего момента
от скорости для всех значений скорости от нулевой до максимальной;
б) семейством таких характеристик для различных значений управляющего
сигнала;
в) характеристиками в переходном режиме (передаточной функцией) схемы
управления;
г) значениями момента инерции и коэффициента трения подвижных частей
(причем всегда желательно, чтобы момент инерции был возможно меньшим).
Требования к исполнительному устройству, как к элементу CAP, обычно
сводятся к тому, чтобы он обеспечил определенную амплитуду колебаний на выходе
при изменении частоты входного сигнала в заданном диапазоне частот и имел
желаемую статическую точность [2].
При непрерывно возрастающих требованиях к диапазону и точности управления
процессами существенное значение имеет исследование работы исполнительных
устройств на нижнем пределе диапазона регулирования, когда особенно важно
учитывать влияние разного рода нелинейных характеристик.
Исполнительные устройства воздействуют на регулирующие органы при помощи
механических передач, поэтому при выборе, расчете и проектировании
исполнительных устройств необходимо располагать сведениями о характеристиках и
конструкции последних.
.1 Схемы и конструкции циклических гидроприводов станочного оборудования
Гидравлические приводы автоматизированных станков и роботов
подразделяются на два основных класса:
− детерминированные (или циклические);
− информационные (или ациклические).
Среди приводов второго класса наиболее распространены следящие.
Рассмотрим некоторые из типовых схем силовой части циклических
гидроприводов с простым и дифференциальным включением гидроцилиндра (рисунок
1.2).
Рисунок 1.2 - Типовая схема циклического гидропривода: а -дроссель на
выходе; б - с параллельным включением дросселя
Для всех схем при установившемся движении движущее усилие Рдв
равно усилию сопротивления Рс, включающему все силы, приложенные к
штоку [2]. Рассмотрим схему с 4-кромочным золотником с открытыми щелями в
среднем положении (рисунок 1.3). В положении «стоп» (рисунок 1.3 а) оба
электромагнита выключены и золотник под действием пружин центрируется в среднем
положении. Жидкость от насоса свободно через открытые щели распределителя
сливается в бак [3].
Рисунок 1.3 - Схема циклического гидропривода; а - в положении «СТОП»; б
- при движении вперед
Для осуществления движения вперед (ДВ) необходимо включить электромагнит
ЭМ1, золотник смещается вправо, и жидкость от насоса поступает в левую полость
ГЦ, поршень движется вправо, а жидкость, вытесняемая из правой полости ГЦ,
сливается в бак. Аналогично реализуется движение назад (ДН), только в этом
случае следует включить электромагнит ЭМ2. Величина перемещения золотника h из
нейтрального положения составляет несколько миллиметров.
Для защиты привода от ударов и динамических нагрузок во время переходных
процессов «ДВ - стоп», «ДН - стоп», необходимо так выполнить тормозную кромку
золотника или обеспечить такой закон перемещения золотника, чтобы осуществить
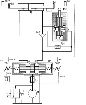
заданный закон торможения. Рассмотрим схему и принцип действия циклического гидропривода,
работающего по более сложному циклу: «быстрый подвод (БП) - рабочий ход (РХ) -
быстрый отвод (БО) - стоп» (рисунок 1.4).
Для защиты привода от ударов и динамических нагрузок во время переходных
процессов «ДВ - стоп», «ДН - стоп», необходимо так выполнить тормозную кромку
золотника или обеспечить такой закон перемещения золотника, чтобы осуществить
заданный закон торможения. Рассмотрим схему и принцип действия циклического
гидропривода, работающего по более сложному циклу: «быстрый подвод (БП) - рабочий
ход (РХ) - быстрый отвод (БО) - стоп» (рисунок 1.4).
Рисунок 1.4 - Конструктивная схема циклического гидропривода станка
Этот вариант цикла является наиболее распространенным для станков.
На схеме обозначены: ГЦ - гидроцилиндр; ЛП, ПП - левая и правая полости
ГЦ; РР - реверсивный распределитель; РБХ - распределитель быстрых ходов; Р, А,
В, Т - линии распределителей; ДРХ, ДБХ - дроссели регулирования скоростей
соответственно рабочего и быстрого ходов; Н - насос; КП - переливной клапан; КО
- обратный клапан; ЭМ1, ЭМ2 - электромагниты; Ф1, Ф2 - флажки управления; ВК1,
ВК2 - конечные выключатели; К - кулачок управления; Б - гидробак [3].
В данном варианте ГП применяются дроссельное регулирование скорости и
электрическое управление. Привод работает следующим образом.
Для осуществления быстрого подвода от кнопки «Пуск» (П) включается
электромагнит ЭМ1, золотник распределителя РР смещается вправо (по схеме),
включается позиция I, распределитель РБХ остается в исходной позиции (0).
Потоки жидкости движутся следующим образом:
Скорость БП регулируется дросселем ДБХ (на входе). Дроссель ДРХ, хотя и
пропускает жидкость, практически не влияет на скорость, т. к. основной поток
жидкости идет через РБХ. Излишки жидкости, поступающие от насоса, сливаются в
бак через переливной клапан КП. В конце БП кулачок К нажимает своей рабочей
поверхностью на ролик золотника РБХ и, преодолевая усилие пружины, смещает его
вниз (по схеме), включается позиция I, начинается рабочий ход РХ. Скорость РХ
определяется настройкой дросселя ДРХ (на выходе), т.к. второй дроссель (ДБХ)
настроен на больший расход, соответствующий быстрым ходам. В конце РХ флажок Ф1
входит в паз конечного выключателя ВК1, замыкая электрическую цепь, срабатывают
соответствующие элементы электрической системы управления, в результате
выключается электромагнит ЭМ1 и включается электромагнит ЭМ2, золотник
распределителя РР смещается влево (по схеме), включается позиция II, начинается
быстрый отвод (БО).
Скорость БО определяется настройкой дросселя ДБХ. После того, как кулачок
К освободит золотник распределителя РБХ (в момент, соответствующий точке М на
схеме цикла),последний под действием пружины переместится вверх (по схеме) и
включится позиция О, начнется движение потока жидкости и через РБХ.
В конце БО флажок Ф2 входит в паз выключателя ВК2, замыкая электрическую
цепь, и через систему управления формируется сигнал на выключение
электромагнита ЭМ2, под действием пружин золотник РР центрируется в средней
позиции О, поршень ГЦ останавливается в исходном положении («стоп»).
Наиболее известные производители в сфере гидравлического оборудования на
данный момент «Vickers» и «Duplomatic» также занимались разработкой
гидравлических схем и гидропанелей. Разработанные этими фирмами гидравлические
схемы отличаются простотой и имеют малую металлоемкость. Одна из разработанных
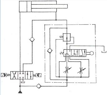
гидравлических схем представлена на рисунке 1.5.
Рисунок 1.5 - Гидравлическая схема привода подачи СC фирм «Vickers» и
«Duplomatic»
Конструкция гидропанели, которая лежит в основе ГППУ, представлена на
рисунке 1.6. Она содержит: золотник 1 с путевым управлением от кулачка,
редукционный 5 и обратный 6 клапаны и два дросселя 3, 4 регулирования РП, а
также управляющее гидроустройство 7. Редукционный клапан регулирует перепад
давления не только на дросселях РП, но и на рабочей щели УГУ.
В приводе обеспечиваются две РП и возможность изменения схемы включения
ГЦ с дифференциальной на обычную. Однако в литературе отсутствуют сведения о
величине разброса координаты точки перехода с БП на РП.
Рисунок 1.6 - Конструкция гидропанели подачи фирмы «Duplomatic»
) установка гидропанели возможна только на выходе из ГЦ, что снижает
надежность работы и затрудняет получение малых РП;
) из-за изменения величины утечек на уплотняющих поясках путевого
золотника при изменении нагрузки не обеспечивается необходимая стабильность РП;
) из-за конструкции редукционного клапана при малых скоростях ГП, он
оказывается неподготовленным к переключению на РП, так как, стремясь поддержать
заданный перепад давления на рабочей щели УГУ, он открывается полностью. Это
приводит к пикам давления и повышению величины разброса координаты точки
перехода стола с БП на РП;
) возможность регулирования скорости ГП не предусмотрена, поэтому для
этой цели приходится устанавливать дроссель или заменять золотник 1 (смотри
рисунок 1.6).
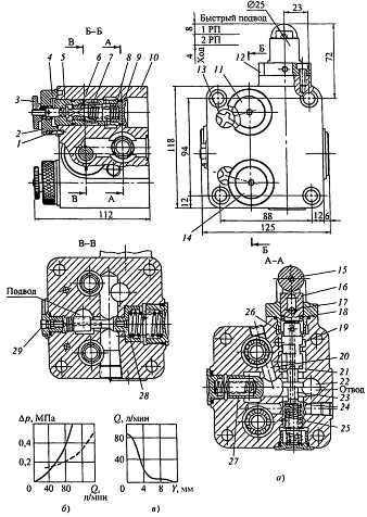
В справочнике Свешникова «Станочные гидроприводы» разработаны [29]
гидропанели путевого управления переключением скорости ПГ36-1 (смотри рисунок
1.7), для реализации цикла движения с двумя рабочими подачами, которые содержат
два дросселя 11 и 14, редукционный 28 и обратный 27 клапаны, а также золотник
23 с управлением от кулачка, расположенные в корпусе Y). Дроссели состоят из гильзы 5, втулки 7, винта 6, валика 4.
лимба 2. контргайки 3, пробки 9, пружины 8 и переключаемою штифтом 1 указателя
оборотов 13 с фиксатором. Кулачок, установленный на рабочем органе,
воздействует на золотник через толкатель 16 с роликом 15, размещенные в крышке
12, которая может поворачиваться на 90°. Ход золотника ограничен штифтом 7;
наружные утечки исключаются манжетой 18.
При БП рабочего органа масло из отверстия «Подвод» проходит через рабочую
кромку редукционного клапана и далее по каналам корпуса и проточкам 21 и 22
отводится в гидросистему через отверстие «Отвод», причем масло под давлением
поступает также в канавку 19, связанную с отверстием для дистанционного
управления. После переключения золотника в положение первой рабочей подачи
(1РП) канавка 19 соединяется с дренажной линией 26, проточки 21 и 22
разъединяются, а проточки 22 и 24 соединяются между собой. При этом масло,
прошедшее через редукционный клапан (поддерживает постоянный перепад давлений
на дросселях независимо от нагрузки), поступает в отводное отверстие через оба
дросселя, включенных параллельно, и подача определяется главным образом
настройкой дросселя 14 первой рабочей подачи.
При дальнейшем перемещении золотника в положение второй рабочей подачи
(2РП) проточки 22 и 24 разъединяются, а масло проходит в отводное отверстие
только через дроссель 11 и канал 20.
Для исключения влияния утечек масла через радиальные зазоры золотника на
стабильность рабочей подачи, в корпусе выполнена специальная канавка 25,
соединенная с выходом из редукционного клапана. Благодаря этому перепад
давлений на уплотняющих поясках золотника, расположенных по обе стороны от
линии отвода, не превышает редуцированного давления (~ 0,25
Рисунок 1.7 - Конструкции (а), зависимость перепала давлений ∆p от
расхода масла Q (6) и Q от перемещения золотника Y (в) для гидропанели 2ПГ36-14
(пунктирной линией показана зависимость для обратного потока (МПа) и поддерживается
постоянным в процессе работы аппарата
Винт 29 позволяет ограничивать скорость БП и одновременно «автоматически»
устанавливает золотник редукционного клапана в положение, обеспечивающее
минимизацию его хода при торможении рабочего органа, что положительно
сказывается на качестве переходного процесса и стабильности точки перехода
БП-1РП. При БО масло проходит из отверстия «Отвод» в отверстие «Подвод» через
клапан 27.
1.2 Теоретические методы динамического анализа и синтеза гидроприводов с
детерминированным управлением
При детерминированном управлении управляющий сигнал выполняется без
всякой свободы выбора, выходящей за пределы установленной жесткой программы,
при этом информационные процессы отсутствуют или не играют существенной роли
[4], [5].
ГППУ относятся к классу детерминированных приводов [5]. В них
установившаяся скорость выходного звена гидродвигателя достигается в одном из
фиксированных положений подвижного элемента дроссельного УГУ.
При смене этапов циклограммы подвижный элемент УГУ перемещается в другое
фиксированное положение, причем величина перемещения значительна и составляет
несколько мм. Скорость становившегося движения настраивается дросселями, а
закон ее изменения в переходном процессе при смене этапов циклограммы
определяется, главным образом, зависимостью площади проходного сечения рабочей
щели УГУ от перемещения его подвижного элемента.
Будем для краткости называть эту зависимость геометрической
характеристикой УГУ в детерминированных ГП регуляторы расхода и клапаны
давления при переходных процессах играют вспомогательную роль, поддерживая
необходимое давление или перепад давления в определенных точках или элементах
гидросистемы.
Учитывая эти особенности детерминированного ГП, при его использовании
необходимо решить две основные задачи:
Определение закона движения выходного звена гидравлического двигателя и
характера изменения отдельных параметров привода (давленийи скоростей течения
рабочей жидкости в различных точках гидравлической системы) при известной
геометрической характеристике У1У (задачи анализа).
Расчет геометрической характеристики управляющего гидравлического
устройства, подбор его формы и размеров, необходимых для обеспечения требуемого
закона движения выходного звена гидравлического двигателя (задача синтеза).
На сегодняшний момент представлено несколько вариантов решения данных
задач, представлено несколько вариантов решения, но наиболее подробно методы
решения рассмотрены в работах Е.А. Цухановой и Н.И. Левитского [5, 6, 7].
Методика, разработанная Е.А. Цухановой и Н.И. Левитским, основана на
рассмотрении системы дифференциальных уравнений движения гидропривода, в
которую входят следующие уравнения [5]:
уравнение движения выходного звена гидравлического двигателя;
уравнение, описывающее движение золотников управляющего гидравлического
устройства;
уравнения передачи мощности, включающие:
уравнения связи между давлениями в различных сечениях магистралей;
уравнения неразрывности;
уравнения на границах гидравлической сети.
Уравнение движения выходного звена гидравлического двигателя
применительно к гидравлическому цилиндру имеет вид:


; (1.1)
где
m - масса движущихся частей, приведенная к поршню ГЦ,
кг;- скорость движения поршня ГЦ, м/сек;
Р1
и Р2 - соответственно давления в поршневой и штоковой полостях ГЦ,
МПа;
F1и F2 -
эффективные площади соответственно в поршневой и штоковой полостях ГЦ, м2;
РЭП
- равнодействующая всех сил сопротивления, приведенная к поршню ГЦ.
Уравнение,
описывающее движение золотника управляющего гидравлического устройства для
случая управления по пути от кулачка, расположенного на платформе СС,
записывается в виде:
z = x∙tgα, мм; (1.1)
где z- перемещение золотника УГУ, мм;
x -
перемещение стола, мм;
tg -
угол наклона рабочей поверхности кулачка управления, °С.
Учитывая, что в объемных ГП станков разности кинетических энергий и
энергий положения малы по сравнению с потерями давления, а гидравлическое
сопротивление, уравнение связи между давлениями РА на входе и РБ
на выходе из участка имеет вид:
РА = РБ+∆РАБ+∆РИ,МПа;
(1.2)
где ∆РАБ, ∆РИ- потери давления и
инерционный перепад давления между сечениями А и Б, МПа.
При определении потерь давления в неустановившемся режиме принято
допущение о том, что потоки в магистралях можно считать квазистационарными и
при вычислении использовать формулы для установившегося расхода. Так как в рассматриваемых
ГП потери давления в трубах малы по сравнению с потерями в местных
сопротивлениях, потери давления в магистралях с достаточной точностью
аппроксимируются функцией [5]:
∆р = A·Q + B·Q2, МПа; (1.3)
где А, В - постоянные коэффициенты;
Q -
расход жидкости, м3/сек.
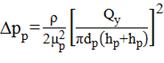
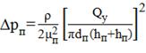
Потери давления ∆рув УГУ подсчитывают по формуле [5]:
;МПа
(1.4)
где ρ - плотность рабочей жидкости, кг/м3;
μy - коэффициент расхода,
Q -
расход жидкости через управляющее гидравлическое устройство, м3/сек;
fy - площадь проходного сечения рабочей щели УГУ,м2.
Коэффициент расхода при этом принимается постоянным.
Вид уравнений неразрывности существенно зависит от допущений в свойствах
жидкости и от конфигурации канала. В работе [5] рассмотрены уравнения
неразрывности при различных допущениях о свойствах жидкости (сжимаемая,
несжимаемая; вязкая, невязкая) и различных формах каналов (длинный прямой с
постоянным поперечным сечением; длинный, в котором поток слабо деформируется;
канал, имеющий малую протяженность и т.д.). Для каналов, имеющих большую
прожженность, рассмотрены различные схемы замещения (Г-, Т- и П-образные)
распределенных параметров на сосредоточенные. Приводится исходная система
уравнений для несжимаемой и сжимаемой жидкости, и распределенных и
сосредоточенных параметрах.
Учитывая, что в рассматриваемых ГП все или основная часть гидроаппаратов
располагается в гидропанелях, в которых они, соединив короткими каналами, и
сжимаемостью жидкости в них можно пренебречь, предлагается использовать Г-образную
схему для замещения исполнительных и внешних участков магистралей, соединяющих
гидропанель с источником питания и сливом, причем объемы
исполнитель-магистралей суммируются с объемами полостей ГЦ.
Так как основную часть времени переходного процесса ГП движется со
скоростями, при которых утечки несоизмеримо малы по сравнению с расходами
жидкости в магистралях, расчет ведется без учета утечек.
В этом случае уравнения неразрывности соответственно для поршневой
(индекс 1) и штоковой (индекс 2) полостей ГЦ имеют вид:

(1.5)
Где Q1, Q2, Qb1, Qb2 - расходы жидкости в поршневой и штоковой полостях ГЦ
и присоединенных к ним исполнительных магистралях соответственно, м3/сек;
V1
и V2- объемы поршневой и штоковой полостей ГЦ и
присоединенных к ним непочтительных магистралей (зависят от перемещения поршня
X ), м3;
Ео - объемный модуль упругости жидкости.
При составлении уравнений движения ГП используются статистические
характеристики источника питания и клапанов давления, т.е. уравнения их
движения не рассматриваются.
Если не учитывать сжимаемость рабочей жидкости, то система равнений
приводится к одному уравнению вида (для случая, когда tправление осуществляется путем
изменения гидравлического сопротивления какого-либо участка магистралей);
(1.6)
Где m - суммарная масса движущихся частей
и рабочей жидкости, приведенная к поршню ГЦ, кг;

-
характеристика источника питания;

-
суммарные потери давления в местных сопротивлениях, площадь проходного сечения
которых не изменяется в течении исследуемого процесса,;

-
коэффициент, зависящий от места установки управляющего гидравлического
устройства.
При
неподвижном золотнике УГУ или при его "мгновенном" пере- мещении
уравнение (1.3) приводится к виду:
(1.7)
где А, В и D- постоянные
коэффициенты.
Это уравнение интегрируется. Однако такое уравнение получается для
ограниченного числа частных случаев. Для расчета при любой правой части
уравнения (1,6) применяются графоаналитические методы или методы численного
интегрирования. Ввиду сложности системы равнений движения ГП, при учете
сжимаемости рабочей жидкости для их решения наиболее применимы методы численного
интегрирования с использованием ЭВМ [5,8,9]. Так как входящие в систему
дифференциальные уравнения разрешаются относительно производных, можно
использовать любые конечно-разностные методы. Широкое применение находит также
моделирование на АВМ [10].
Разработанная Е.А. Цухановой математическая модель детерминированного ГП
позволяет произвести анализ его движения при смене этапов циклограммы с учетом
нелинейностей при известной геометрической характеристике УГУ. Однако в ней не
учитывается специфика ГП подачи СС современных АС и АЛ, а именно: не
рассматриваются УГУ с регулятором и особенности централизованного ГП. Кроме
того, отсутствуют теоретические исследования разброса координаты точки перехода
стола с БП на РП при изменении параметров привода, и, следовательно, не
разработана методика, позволяющая на стадии выбора схемы привода оценить
разброс координаты.
Е.А. Цухановой и Н.И. Левитским разработана также методика динамического
синтеза УГУ по заданному закону движения выходного звена гидродвигателя [5,6,11].
Суть этой методики заключается в определении требуемой геометрической
характеристики УГУfy = fy(z), необходимой для осуществления заданного закона движения
выходного звена гидродвигателя, и подборе простого в изготовлении рабочего
элемента УГУ, геометрическая характеристика fyф = fyф(z) которого наиболее близка к
расчетной.
При синтезе УГУ используется уравнение (1,3), т.е. не учитывается
сжимаемость рабочей жидкости.
Так как синтез У1У является одним из заключительных этапов проектирования
ГП, исходными данными при решении этой задачи являются все параметры и
характеристики, входящие в рассмотренную систему уравнений, кроме
геометрической характеристики УГУ.
На основании изложенной методики Е.А.Цухановой составлены справочные
материалы по расчету УГУ для торможения ГП по закону постоянного ускорения
[5,6].
Однако рассмотренная методика синтеза УГУ не рассматривает УГУ с
регулятором. При синтезе УГУ не учитывается сжимаемость рабочей жидкости, что
может привести к появлению отскоков и колебаний СС, а также к увеличению
разброса координаты точки перехода стола с БП на РП.
Отдельные вопросы расчета детерминированных ГП рассмотрены в работах
русских и зарубежных ученых В.В. Ермакова [12], В.И. Погорелова и В.П. Гурьева,
[18], Г.И. Каменецкого [21], Е.М. Хаймовича, [16], А.В. Праздникова [19, 20],
И.А. Немировского [24], Э.П.Дрейшнера [13, 14, 15], З.Дж. Ланского [22], и др.,
причем большинство работ посвящено анализу движения ГП при известной
геометрической характеристике УГУ.
Уравнение с правой частью в виде квадратичного полинома, аналогичное
(1.4), используется в работе [18] для расчета разбега ГП, а также в работах
[18, 12, 23] - для расчета торможения поршня демпферами, встроенными в ГЦ. В
последнем случае полагается, что площадь проходного сечения демпфера постоянна.
При расчете торможения по времени УГУ, включенным в сливную магистраль, В.В.
Ермаков в работе [12] принимает равно замедленный закон движения поршня.
Г.И. Каменецкий в работе [21] исследует движение поршня при торможении по
пути.
Вопросам исследования переходных процессов при переключении
гидрофицированных СС с БП на РП посвящены работы Э.П. Дрейшнера [13, 14, 15]. В
них проводится теоретический анализ переходного процесса ГП подачи СС с
управлением по времени. При составлении математической модели ГП учитываются
динамические характеристики трубопроводов, подсоединенных к поршневой и
штоковой полостям ГЦ, рассматривается динамика подпорного клапана и
управляющего распределительного золотника.
Л.М. Тарко рассматриваются аналитические методы решения уравнений
движения гидравлических механизмов с распределенными параметрами при переходных
процессах в операторной форме. Применение операционного исчисления позволяет
получить аналитические зависимости для скорости поршня ГЦ и исследовать влияние
на нее параметров привода [25]. Однако Л.М. Тарко исследует сравнительно
простые схемы гидравлических механизмов. При исследовании сложных гидросистем,
какими являются ГП подачи АС и АЛ, применение изложенного метода приводит к
громоздким выражениям, мало пригодным для практического использования.
Некоторого упрощения аналитических выражений можно достигнуть, применяя
комбинированный метод, предложенный К.Л. Навроцким [26]. Сущность метода
заключается в том, что нелинейные члены аппроксимируются линейными с коэффициентами,
изменяемыми ступенчато на достаточно малом интервале, а преобразования Лапласа
применяются к системе уравнений первого порядка вместо преобразования одного
уравнения высокого порядка.
Широкое применение при расчете переходных процессов получили
графоаналитические методы, сущность и возможности которых наиболее подробно
освещены в работах И.А. Немцовского. В основу используемого им метода положено
применение формул трапеций для интегрирования- дифференциальных уравнений,
представленных в конечных разностях. Графоаналитические методы применялись
также О.Н. Трифоновым и В.Г. Чупиным [27], Е.М. Хаймовичем [16].
Достоинством графоаналитических методов исследования является наглядность
решения, наличие визуального контроля за ходом решения, отсутствие ограничений
по характеру изменения отдельных величин, которые могут быть заданы не только
формулами, но и графиками или таблицами. Однако графические методы трудоемки
при большом количестве уравнений и большом количестве циклов графических
построений. Это не дает возможности применять их при расчете сложных
гидравлических систем.
В работе [28] отмечено, что одним из основных направлений дальнейших
исследований ГП является распространение разработанных методов анализа и
синтеза гидроустройств и систем на новые схемы и условия работы, разработка
уточненных методов анализа и синтеза, позволяющих использовать математические
машины.
Обобщая вышеизложенное, можно сделать следующие выводы:
. Анализ цикла работы гидрофицированного СС показал, что одним из
наиболее эффективных путей повышения производительности АС и АД является
сокращение разброса координаты точки перехода стола с БП на. РП.
. Наиболее полно требованиям, предъявляемым к приводу подачи СС,
удовлетворяют ГП подачи с путевым управлением последовательностью переходов и
процессом торможения как при переходе с БП на РП, так и с РП на 2РП. Однако в
существующих ГППУ такого типа гидропанель может устанавливаться только на
выходе из ГЦ, что снижает надежность работы АС и АЛ и затрудняет получение
малых ГН; непостоянство утечек на уплотнительных поясках путевого золотника при
изменении нагрузки снижает стабильность РП. Кроме того, в приводах, где
применяется УГУ с регулятором, конструкция последнего не обеспечивает его
работоспособности в требуемом диапазоне изменения параметров привода.
. Обзор теоретических методов динамического анализа и синтеза
детерминированных ГП показал, что они не учитывают специфику ГППУ современных
АС и АЛ, а именно: не разработаны методики анализа и синтеза ГП, в которых
применяются УГУ с регулятором, не учитываются особенности централизованного ГП.
Кроме того, при синтезе УГУ не учитывается сжимаемость рабочей жидкости,
отсутствуют теоретические исследования разброса координаты точки перехода стола
с БП на РП при изменении параметров привода, и, следовательно, не увязаны
вопросы выбора схемы привода с величиной разброса. Обзор показал также, что при
исследовании динамики сложных ГП, какими являются ГП подачи АС и АЛ, наиболее
целесообразно применение численных методов интегрирования с использованием ЭВМ.
2. Устройство и принцип действия циклического гидропривода, управляемого
гидроустройством с автоматическим регулятором
Принцип действия циклического гидропривода
При детерминированном управлении управляющий сигнал выполняется без всякой
свободы выбора, выходящей за пределы установленной жесткой программы. При этом
информационные процессы отсутствуют или не играют существенной роли.
Установившаяся скорость поршня достигается, когда золотник управляющего
устройства находится в одном из фиксированных положений. При смене этапов
циклограммы подвижный элемент управляющего устройства перемещается в другое
фиксированное положение, причем величина перемещения значительна и составляет
несколько миллиметров. Скорость установившегося движения настраивается
дросселями (при дроссельном регулировании) или изменением удельного рабочего
объема гидромашины (при объемном регулировании), а закон ее изменения в
переходном процессе при смене этапов циклограммы определяется, главным образом,
формой тормозной кромки управляющего устройства.
Величина перемещения рабочего органа на каждом этапе цикла настраивается
расстановкой упоров, флажков, кулачков и конечных выключателей.
Поясним сказанное на примере.
В наиболее простом случае ГП работает по циклу: «Движение вперед (ДВ),
движение назад (ДН) - стоп». Рассмотрим схему с 4-кромочным золотником с
открытыми щелями в среднем положении (смотри пункт 1.1 рисунок 1.3).
В положении «стоп» (смотри пункт 1.1 рисунок 1.3 а) оба электромагнита
выключены, и золотник под действием пружин центрируется в среднем положении.
Жидкость от насоса свободно через открытые щели распределителя сливается в бак.
Для осуществления движения вперед (ДВ) необходимо включить электромагнит
ЭМ1, золотник смещается вправо, и жидкость от насоса поступает в левую полость
ГЦ, поршень движется вправо, а жидкость, вытесняемая из правой полости ГЦ,
сливается в бак.
Аналогично реализуется движение назад (ДН), только в этом случае следует
включить электромагнит ЭМ2.
Величина перемещения золотника h из нейтрального положения составляет
несколько миллиметров.Для защиты привода от ударов и динамических нагрузок во
время переходных процессов «ДВ - стоп», «ДН - стоп», необходимо так выполнить
тормозную кромку золотника или обеспечить такой закон перемещения золотника,
чтобы осуществить заданный закон торможения.
Этот вариант цикла является наиболее распространенным для станков.
На схеме обозначены: ГЦ - гидроцилиндр; ЛП, ПП - левая и правая полости
ГЦ; РР - реверсивный распределитель; РБХ - распределитель быстрых ходов; Р, А,
В, Т - линии распределителей; ДРХ, ДБХ - дроссели регулирования скоростей
соответственно рабочего и быстрого ходов; Н - насос; КП - переливной клапан; КО
- обратный клапан; ЭМ1, ЭМ2 - электромагниты; Ф1, Ф2 - флажки управления; ВК1,
ВК2 - конечные выключатели; К - кулачок управления; Б - гидробак.
В данном варианте ГП применяются дроссельное регулирование скорости и
электрическое управление.
Способы торможения выходного звена гидродвигателя.
Процесс перемещения механизмов станков состоит, как правило, из следующих
этапов: разгон от скорости, равной 0, до скорости установившегося движения;
перемещение со скоростью установившегося движения νу (ωу) и замедление скорости (торможение) перед остановкой
в конечном положении или переходом на меньшую скорость рабочей подачи (рисунок
2.1).
На рисунке 2.1 обозначено: ν, ω - линейная и угловая скорости; a, ε
- линейное и угловое
ускорения; t - время.
Рисунок 2.1 - Закон движения выходного звена гидродвигателя
Для предотвращения или ограничения ударов в процессе разгона и торможения
необходимо ограничивать возникающее при этом ускорение.
Опыт эксплуатации гидроприводов станков и роботов показывает, что их
разгон вследствие упругости масла происходит достаточно плавно без ударов и
рывков. Поэтому при проектировании большинства гидросистем нет необходимости
предусматривать какие-либо дополнительные устройства, ограничивающие величину
ускорения при разгоне. С другой стороны, при торможении рабочих органов
значительного веса и движущихся с большой скоростью требуется установка
специальных устройств. Известно несколько способов торможения:
) за счет изменения характеристики насосной установки;
) за счет изменения эффективной площади поршня гидроцилиндра;
) за счет изменения структуры гидросистемы;
) за счет преднамеренного увеличения внешней нагрузки.
Но наиболее распространен 5-й способ, при котором торможение происходит
за счет изменения гидравлического сопротивления гидролиний. Торможение привода
по требуемому закону осуществляется вследствие перемещения подвижного элемента
в тормозном устройстве.
Здесь различают два способа управления торможением:
по пути;
по времени.
При управлении по пути подвижный элемент управляющего гидроустройства
(УГУ) перемещается от поршня ГЦ или от вала ГМ через передаточный механизм. При
управлении по времени подвижный элемент УГУ перемещается специальным приводом,
имеющим свой собственный закон движения (распределитель с электроуправлением, с
гидроуправлением и т.д.). Конструктивно управляющие устройства (УГУ) можно
выполнить следующим образом:
) в отдельном корпусе;
) объединить с реверсивным распределителем;
) объединить с гидродвигателем.
Первые два вида могут быть применены и для ГД вращательного движения,
последний − только для ГЦ.
УГУ выполнено в отдельном корпусе (рисунок 2.2).
При управлении торможением по пути (рисунок 2.2 а) процесс торможения
начинается после воздействия кулачка 1, установленного на штоке ГЦ (2) или на
валу ГМ, на ролик 3 УГУ; золотник 4, перемещаясь вниз, перекрывает проход
жидкости, вытесняемой из полости 5.
При управлении торможением по времени в необходимый момент флажок Ф
входит в паз конечного выключателя ВК, замыкая его электрическую цепь, после
чего подается сигнал на включение вспомогательного привода ВП, который и
перемещает золотник УГУ. В качестве ВП чаще всего используется электромагнит.
Рисунок 2.2 - Схемы торможения выходного звена гидродвигателя: а) при
управлении по пути; б) при управлении по времени
Второй способ позволяет осуществлять дистанционное управление
торможением, поэтому УГУ располагают обычно на насосной установке. При этом
цепь управления содержит большое число промежуточных элементов, каждый из
которых имеет свой разброс времени срабатывания. В результате общий разброс
времени срабатывания достигает значительной величины, а это приводит к большому
разбросу координаты остановки рабочего органа и, как следствие, к снижению
производительности оборудования и снижению стабильности времени цикла.
Управление торможением по пути позволяет устранить указанные недостатки, но при
этом управляющее гидроустройство должно располагаться на станке, что несколько
усложняет конструкцию привода.
циклический станочный автоматический гидропривод
3.
Математическая модель циклического гидропривода с автоматическим регулятором
В настоящее время происходит интенсификация работы машин, что приводит к
одновременному увеличению скоростей и масс движущихся частей. Но при
значительных массах невозможно повысить скорость движения, если не обеспечить
требуемый закон торможения.
К управляемому гидроустройству предъявляется следующие основные
требования:
минимальное время приходного процесса;
отсутствие ударов, отскоков и колебаний рабочего органа;
ограничение экстремальных давлений в гидросистеме;
высокая стабильность координаты остановки рабочего органа.
Для выполнения этих требований при проектировании управляющего
гидроустройства (УГУ) необходимо произвести расчет его геометрической
характеристике, исходя из заданного закона движения рабочего органа, подобрать
форму и размеры его рабочего элемента и выполнить анализ движения рабочего
органа при использовании разработанного УГУ.
С целью стабилизации характеристики торможения в условиях изменяющихся
параметров целесообразно применять управляющее гидроустройство с автоматическим
регулятором, который поддерживает постоянный перепад давления на рабочей
дросселирующей щели [4].
Синтез управляющего гидроустройства может быть выполнен на основе
математической модели, которая представляет собой систему алгебраических и
дифференциальных уравнений.
Под математической моделью понимается описание реальной физической
системы, в данном случае привода, в котором некоторые математические объекты и
отношения между ними связаны правилами соответствия с элементами этой системы и
отношениями между ними и содержат в простом и удобном виде информацию о
наиболее существенных (в том числе и неизвестных) свойствах системы [14].
В данном случае модель относится к классу динамических систем, так как
она описывает изменение параметров во времени.
При составлении уравнений движения ГП приняты следующие допущения:
Величина утечек пренебрежимо мала по сравнению с расходами жидкости в
полостях ГЦ.
Расходы жидкости через дроссели РП отсутствуют, так как при исследовании
стабильности координаты точки перехода стола с БП на РП они обычно закрываются
полностью.
Влияние сжимаемости жидкости в каналах, соединяющих УГУ с редукционным
клапаном и дросселями пренебрежимо мало, поэтому используем Г-образную схему
для замещения исполнительных линии, соединяющих УГУ с ГЦ.
Давление питания постоянно во время переключения.
Инерционные перепады давления в линиях пропорциональны ускорению поршня
ГЦ, что допустимо при отсутствии резких колебаний давления.
Потери давления в местных сопротивлениях и силу трения в направляющих
стола и уплотнениях ГЦ определяем по полученным экспериментально зависимостям и
аппроксимируем их многочленами второй степени, так как они наиболее удобны для
исследования и дают достаточную точность.
Принимая за основу гидравлическую схему путевого управления переключением
скорости силового стола при переходе с БП на РП с УГУ с регулятором,
установленным в напорной линии при дифференциальном включении цилиндра, добавив
в нее подпорный клапан, устанавливаемый обычно на выходе из ГЦ, с учётом
принятых допущений расчетную схему ГППУ можно представить в виде, показанном на
рисунке 3.
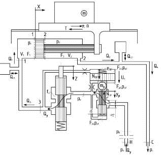
На схеме (рисунок 3.1) приняты следующие обозначения:
Рисунок 3.1 - Расчетная схема УГУ с автоматическим регулятором
где m - масса подвижных частей;
х, ν, а - перемещение, мм; скорость, м/сек; ускорение поршня, м/сек2;
Рн - давление в напорной линии;
р1,р2 - давление в полостях гидроцилиндра, МПа;
F1,F2 - эффективные площади гидроцилиндра, м2;
V1,V2 - объемы полостей гидроцилиндра с присоединенным к ним
исполнительным линиям, м3;
Т - сила трения в направляющих стола и уплотнениях поршня ГЦ, Н;
Рр - редуцированное давление, МПа;
Fр1, Fр2, Fр3 - эффективные площади золотника в полостях управления
редукционного клапана,м2;Р, dР, уР,
UР - масса, кг; диаметр, мм; перемещение, мм и скорость золотника редукционного
клапана, м/сек;Р - открытие рабочей щели редукционного клапана в
установившимся режиме;
еПР, NПР - жесткость и сила пружины редукционного
клапана;Р1, pР2, pР3 - давления в полостях
редукционного клапана, МПа;ГР - осевая составляющая реактивной
гидродинамической силы в редукционном клапане;У, Q4 -
расходы жидкости соответственно в напорной и сливной линиях, м3/сек;С1,
QС2 - расходы жидкости, определяемые сжимаемостью ее в поршневой и
штоковой полостях ГЦ и присоединенных к ним исполнительных линиях, м3/сек;У
- площадь проходного сечения рабочей щели УГУ,м2;
z -
перемещение золотника УГУ, мм.
Уравнение движения силового стола ГЦ:
m·a = P1·F1 - P2·F2 - T, (3.1)
Уравнения связи между давлениями:

, МПа;
(3.2)

, МПа;
(3.3)

(3.4)

, МПа;
(3.5)
где
-
суммарные потери давления в гидроаппаратах, площадь проходного сечения которых
не изменяется в процессе торможения, соответственно для напорной линии и линии
2-1, МПа;

- потери
давления в редукционном клапане, МПа;

-
инерционные перепады давления в напорной линии (н-3) и линиях, присоединенных
соответственно к поршневой (3-1) и штоковой (2-3) полостям ГЦ, МП. Потери
давления в каналах подпорного клапана учитываются в 
.
Потери
давления в соответствии с принятыми допущениями можно определить по формулам:

(3.6)

; 
; (3.7)

(3.8)
где

постоянные
коэффициенты, определяемые на основании экспериментальных данных или по справочным
таблицам [15];

-
удельный вес рабочей жидкости;

-
коэффициенты расхода соответственно в редукционном и подпорном клапанах; g -
ускорение свободного падения;

длины и
площади проходных сечений прямых и выпрямленных участков линий н-3, 3-1, 2-3;

- числа
участков в линиях.
Коэффициенты
аппроксимирующих зависимостей потерь давления в линиях от расхода можно
подсчитать по формулам [15]:
где

и 
-
номинальный расход и потери давления при номинальном расходе, которые
определяются экспериментально для каждого аппарата, а для нормализованных
гидроаппаратов приведены в справочниках [19]. Сила трения:

; (3.9)
Причем:
где

-
критическое значение скорости стола, при котором смешанное трение уступает
место жидкостному;

, Аж,
Кс, Ас, Вс - коэффициенты аппроксимирующих
зависимостей коэффициента трения от скорости стола соответственно для участка
жидкостного (индекс "ж") и смешанного (индекс "с") трения,
определяемые на основании экспериментальной или расчетной характеристик трения.
Принимая

(где

и 
-
скорости жидкости в линиях н-3 и 2-3, отнесенные соответственно к площади штока
и площади поршня в штоковой полости ГЦ), уравнения (3.1)-(3.5) с учетом
зависимостей (3.6)-(3.9) приводятся к виду:

(3.10)

(3.11)

(3.12)

(3.13)


-
коэффициенты, зависящие от знаков скоростей соответственно 
и 

;
Уравнение
неразрывности:

(3.16)

(3.18)
(3.19)
где

- модуль
упругости рабочей жидкости.
Принимая

(где 
-
скорость жидкости в сечении 3, отнесенная к площади поршня в поршневой полости
ГЦ), а также учитывая, что 
и 
,
уравнения (3.16)-(3.18) с учетом (3.19) приводятся к виду:

(3.20)

(3.21)

(3.22)
При
рассмотрении динамики редукционного клапана можно пренебречь силами сухого и
жидкостного трения в золотнике, так как они значительно меньше сил
гидравлического сопротивления демпфирующих отверстий. Считая положительным
перемещением золотника перемещение направленное в сторону увеличения проходного
сечения рабочей щели, уравнение равновесия золотника редукционного клапана
можно записать в виде [13].

(3.23)
Давление в полостях редукционного клапана могут быть
определены по формулам:

(3.24)

(3.25)

(3.26)
Здесь

, 
,
-
коэффициенты потерь на вязкое трение в канале управления и демпфирующих
отверстиях.
Полагая
в них ламинарный режим течения жидкости, коэффициенты Rpiможно
определить как [13]:
где

и dpi- соответственно длина и диаметр участков канала
управления или демпфирующих отверстий.
Сила
упругости пружины:

(3.27)
где

-
предварительное сжатие пружины при закрытом проходном сечении клапана.
Осевая
составляющая реактивной гидродинамической силы может быть определена как [13]:
где

-
"жесткость" от реакции гидродинамической силы, которая для кольцевого
проходного сечения может быть определена по формуле:
где

- угол
между направлением действия гидродинамической силы и осью золотника. Для
кольцевых проходных сечений при прямоугольной кромке золотника 
= 69°.
Учитывая
(3.7), после некоторых преобразований получаем:

(3.28)

(3.29)
Подставив
выражения (3.24) - (3.28) в уравнение (3.23) и обозначив
а также
учитывая, что
и 
получаем
уравнение равновесия золотника редукционного клапана в виде:

(3.30)
Необходимо
учесть, что золотник редукционного клапана перемещается лишь при выполнении
условия:
где

- максимальное
возможное открытие рабочей щели клапана. Если выполняется условие 
< 0,
то необходимо принять 
= 0.
Аналогично
для подпорного клапана можно записать:
(3,31)
(3,32)
(3.33)
(3.34)
(3.35)
(3.36)
где

-
коэффициент потерь на вязкое трение в канале управления;

, 
-соответственно
длины и диаметры участков канала управления;

-сжатиепружины
при совпадении рабочих кромок золотника и корпуса.
Подставив
выражения (3.32)-(3.35) в уравнение (3.31) и обозначив
, а также
учитывая, что 
получаем
уравнение равновесия золотника подпорного клапана в виде:
(3.37)
При
БП клапан, как правило, полностью открыт. Золотник клапана начинает
перемещаться в сторону закрытия рабочей щели при выполнении условия:
(3.38)
Если
выполняется условие 
<О
т.е. клапан закрыт, необходимо при расчете принять 
0.
Давление
на входе в подпорный клапан определяется по формуле:
(3.39)
Связь
между перемещением золотника УГУ и перемещением стола определяется формулой
(3.1).
С
помощью разработанной модели можно произвести расчет переходных характеристик в
процессе торможения, построить диаграммы переходного процесса при различных
значениях параметров гидропривода, исследовать влияние значений этих параметров
на характеристики гидропривода, выбрать оптимальные и произвести синтез
управляющего гидроустройства с регулятором. Ввиду сложности системы полученных
уравнений решение ее аналитически затруднено, поэтому применяем численные
методы. Приведенная система уравнений может быть применена и для исследования
УГУ без регулятора.
В
качестве примера приведены диаграммы переходных процессов при торможении УГУ
без регулятора (рисунок3.1 а) и с регулятором (рисунок 3.1 б), на основании
которых можно сделать вывод, что применение УГУ с регулятором позволяет
существенно уменьшить разброс координаты остановки стола (с 1,99 мм до 0, 22
мм) и нестабильность скорости установившегося движения (с 17,8% до 2,1%) при
изменении давления питания в диапазоне 4…5МПа.
а б
Рисунок 3.1 - Диаграммы переходного процесса гидропривода с УГУ без
регулятора (а) и с регулятором (б) при различных давлениях питания.
4.
Исследование влияния параметров гидропривода на его динамические характеристики
Процесс перемещения механизмов станков или роботов состоит, как правило,
из следующих переходов: разгон от скорости, равной 0, до скорости
установившегося движения, перемещение с установившейся скоростью и замедление
(торможение) перед остановкой в конечном положении или переходом на меньшую
скорость рабочей подачи. Для предотвращения или ограничения ударов в процессе
разгона и торможения необходимо ограничить возникающие при этом ускорения. На
рисунке 4.1 показан цикл работы гидропривода.
Рисунок 4.1 - Цикл работы гидропривода
Опыт эксплуатации гидроприводов показывает, что их разгон вследствие
упругости рабочей жидкости происходит достаточно плавно, без ударов и рывков. С
другой стороны, при торможении рабочих органов требуется введение
дополнительного управляющего тормозного устройства, параметры которого
выбираются на основании динамического расчета.
Динамический расчет производится для процесса торможения рабочего органа
при переключении с БП на РП или при его остановке после БП или БО (в
зависимости от типа оборудования) и включает две задачи: синтез и анализ [28].
Задача синтеза заключается в определении характеристики управляющего
(тормозного) гидроустройства (УГУ) (рисунок 4.2), исходя из требуемого закона
движения выходного звена ГД, подборе необходимых формы и размеров подвижного
УГУ.
Задача анализа заключается в определении закона движения выходного звена
ГД при известной геометрической характеристике УГУ (рисунок 4.3).
В данной работе рассмотрен синусоидальный закон движения. Геометрическая
характеристика УГУ - это зависимость площади проходного сеченияfy устройства от перемещения z его подвижного элемента, т.е.fy = f(z) (рисунок 4.2).
Динамический расчет ГП основан на рассмотрении дифференциальных уравнений
его движения [29].
Рисунок 4.2 - Геометрическая характеристика управляющего гидроустройства
Рисунок 4.3 - Закон движения выходного звена гидродвигателя
На рисунке 4.4 приведена диаграмма переходного процесса БП-РП,
рассчитанная при следующих значениях параметров:
Значение площадей определяем расчетным путем, задаваясь величинами подач.
Значения остальных параметров приведены на рисунке 4.4.
Рисунок 4.4 - Диаграмма переходного процесса БП-РП
= 100 мм/мин; р = 4,6 МПа; V = 0,7 10см; V = 2,6 10см; μ = 0,6; m = 5000 кг; р = 1,7 МПа; р =
0,3 МПа; к = 2,2 МПа см с; m = 4700 кг;α = 30; к = 0,017 МПа см с.
Анализ кривых переходного процесса показывает, что в начальной стадии
происходит некоторое повышение редуцированного давления, связанное с
запаздыванием срабатывания редукционного клапана, а также падение давления в полостях
ГЦ. Последнее явление вызывает расширение жидкости в полостях ГЦ и
присоединенных к ним исполнительных гидролиниях. Существенное различие между
значениями свидетельствует о сильном влиянии сжимаемости жидкости на переходный
процесс. Возрастание редуцированного давления и расширение жидкости приводят к
тому, что, несмотря на резкое уменьшение площади проходного сечения рабочей
щели УГУ, скорость стола в начальной стадии уменьшается очень медленно и только
после того, как площадь определяется только треугольными пазами и
восстанавливается перепад давления на рабочей щели УГУ (когда падает), скорость
стола начинает быстро уменьшаться. В конце переходного процесса наблюдаются
колебания скорости стола и давления, которые вызываются колебаниями золотника клапана
давления. Переходный процесс сопровождается также колебаниями давления на входе
в систему.
Рисунок 4.5 - Диаграмма переходного процесса БП-РП при разных
геометрических характеристиках УГУ
На рисунке 4.5-4.7 приведены расчетные диаграммы переходных процессов
БП-РП при разных значениях параметров привода. Анализ этих диаграмм показывает,
что наибольшее влияние на закон движения стола оказывает геометрическая
характеристика УГУ (рисунок 4.5), угол наклона кулачка управления (рисунок
4.6).
Угол наклона кулачка определяет в основном величину модуля ускорения
стола (рисунок 4.6). Так как при увеличении модуль ускорения возрастает, это
приводит к появлению колебаний стола.
Рисунок 4.6- Диаграмма переходного процесса БП-РП при разных величинах
угла наклона рабочей поверхности кулачка управления
Влияние величины РП сказывается только в нижней части диапазона подач
(рисунок 4.7). Если при больших подачах кривая скорости имеет плавный монотонный
характер, то при малых подачах наблюдается колебание скорости в конце
переходного процесса. Это можно объяснить влиянием падающей характеристики
трения, которое проявляется в большей степени при малых РП.
Поскольку наибольшее влияние на закон движения стола оказывает
геометрическая характеристика УГУ, при синтезе ГППУ целесообразно именно за
счет ее обеспечивать заданный закон движения СС, а остальные гидроаппараты
принять нормализованными, т.е. не менять их конструкционные параметры.
Рисунок 4.7 - Диаграмма переходного процесса БП-РП при разных величинах
РП
Синтез управляющего гидроустройства.
На рисунке 4.8 приведена геометрическая характеристика УГУ. Расчет
производился при U = 0,5; значения
остальных параметров совпадают со значениями, приведенными выше.
Рисунок 4.8 - Геометрические характеристики УГУ
На геометрическую характеристику УГУ оказывают влияние параметры привода.
Анализ результатов расчета показывает, что давление питания оказывает
незначительное влияние на геометрическую характеристику.
То же самое можно сказать и о влиянии перемещаемой массы (рисунок 4.9),
влияние же угла наклона кулачка управления оказывает большее воздействие на геометрическую
характеристику (рисунок 4.10). Положение поршня ГЦ в момент переключения с БП
на РП оказывает существенное влияние (рисунок 4.11).
Рисунок 4.9 - Геометрические характеристики УГУ, рассчитанные при разных
перемещаемых массах
Расчет производился для положений поршня. Близких к крайним. Анализ
характеристик показывает, что для достаточно точного осуществления заданного
закона движения стола при значительном изменении положения поршня ГЦ в момент
переключения необходимо вновь производить синтез УГУ.
Рисунок 4.10 - Геометрические характеристики УГУ, рассчитанные при разных
углах наклона рабочей поверхности кулачка управления
Рисунок 4.11 - Геометрические характеристики УГУ, рассчитанные при разных
скоростях стола при быстром подводе
5.
Определение оптимальных параметров гидропривода
Для определения оптимальных параметров гидропривода произведем анализ
получившегося графика зависимости (рисунок 5.1).
Рисунок 5.1 - График зависимости
На этом графике приведена форма рабочего элемента, позволяющая получить
геометрическую характеристику, наиболее близкой к заданной. В данном случае
наиболее близкое совпадение фактической и заданной характеристики
обеспечивается при цилиндрическом золотнике с треугольными пазами. Изучив
график получаем, что на геометрическую характеристику УГУ оказывают влияние
параметры привода. Анализ результатов расчета показывает, что давление питания
оказывает незначительное влияние на геометрическую характеристику.
То же самое можно сказать и о влиянии перемещаемой массы (рисунок 4.8),
влияние же угла наклона кулачка управления оказывает большее воздействие на
геометрическую характеристику (рисунок 4.9.). Положение поршня ГЦ в момент
переключения с БП на РП оказывает существенное влияние (рисунок 4.10). Расчет
производился для положений поршня. близких к крайним. Анализ характеристик
показывает, что для достаточно точного осуществления заданного закона движения
стола при значительном изменении положения поршня ГЦ в момент переключения
необходимо вновь производить синтез УГУ.
6. Программа
динамического расчета гидропривода на ПК
В данном разделе будет рассматриваться ход выполнения автоматизированного
расчета синтеза УГУ, а также анализа движения гидропривода и исследование
динамических характеристик гидропривода.
. Запускаем программу для выполнения динамического расчета «Project». Открывается окно №1. (рисунок
6.1).
Рисунок 6.1 - Окно программы №1
. В открывшемся окне №1, выбираем необходимую нам операцию, в данном
случае - «Ввод исходных данных для синтеза управляющего гидроустройства».
. Производим ввод исходных данных. Открывается окно №2. (рисунок 6.2).
. Возвращаемся к окну №1. При необходимости ввода новых значений редко
изменяемых параметров, выбираем соответствующую операцию- «Ввод редко
изменяемых параметров» . Открывается окно №3. (рисунок 6.3).
. В окне №3, выбираем соответствующий параметр, который вдальнейшем хотим
изменить. Выбрав параметр производим ввод данных. (Рисунок 6.4).
Рисунок 6.2 - Окно программы №2
Рисунок 6.3 - Окно программы №3
Рисунок 6.4 - Ввод редко изменяемых параметров
. После проведения перечисленных выше действий, переходим к окну №1 (при
этом, открывавшиеся при этом окна можно закрыть).
. Выбираем операцию - «Определение геометрической характеристики УГУ».
Программа выполняет необходимые расчеты, относящиеся к синтезу. После чего,
полученные результаты заносятся в таблицу Microsoft Office Excel. (рисунок 6.5).
Рисунок 6.5 - Фрагмент таблицы, результатов расчета
. По таблице расчетов строится график зависимости площади проходного
сечения устройства от перемещения zего подвижного элемента, т.е. (рисунок 6.6).
. При необходимости таблицы расчетов и графики можно распечатать.
Для анализа движения гидропривода также можно воспользоваться данной
программой. Для этого выполняем действия:
Рисунок 6.6 - График зависимости
. Запускаем разработанную нами программу для выполнения динамического
расчета «Project». Открывается окно №1 (рисунок 6.7).
Рисунок 6.7 - Окно программы №1
. В открывшемся окне №1, выбираем необходимую нам операцию, в данном
случае - «Ввод исходных данных для анализа движения гидропривода». Отрывается
окно №4.(рисунок 6.8).
. В окне №4 производим выбор необходимой нам, формы рабочего элемента.
. Выбрав форму рабочего элемента, вводим данные для анализа движения ГП,
а также параметры выбранного рабочего элемента (рисунок 6.9 и 6.10).
Рисунок 6.8 - Окно программы №4
Рисунок 6.9 - Окно программы №5
. При необходимости производим ввод редко изменяемых параметров, как было
указанно в разделе 6.1. в пунктах 4, 5.
. После проведения перечисленных выше действий, переходим к окну №1
(открывавшиеся при этом окна можно закрыть).
Рисунок 6.10 - Ввод параметров рабочего элемента
. Выбираем операцию - «Определение закона движения выходного звена ГД».
Программа выполняет необходимые расчеты, относящиеся к анализу. После чего,
полученные результаты заносятся в таблицу Microsoft Office Excel. (рисунок 6.11).
Рисунок 6.11 - Фрагмент таблицы, результатов расчета
) По таблице расчетов строится график зависимости от измененных
параметров (рисунок 6.12).
Рисунок 6.12 - График зависимости
ЗАКЛЮЧЕНИЕ
В ходе выпускной квалификационной работы были
выполнены следующие работы:
изучено устройство и принцип действия циклических
гидроприводов, в результате которого было выявлено, что наиболее
предпочтительным является гидропривод, управляемый гидроустройством с
автоматическим регулятором, который поддерживает постоянный перепад давления на
рабочей щели золотника.
проведён сравнительный анализ теоретических методов
динамического анализа и синтеза гидроприводов с детерминированным управлением;
разработана расчетная схема и математическая модель
циклического гидропривода, управляемого гидроустройством с автоматическим
регулятором;
разработана программа расчета гидропривода, управляемый
гидроустройством с автоматическим регулятором;
были проведены исследования влияния параметров
гидропривода на его динамические характеристики. Исследования показали, что
применение гидроустройства с автоматическим регулятором позволяет сократить
разброс координаты остановки рабочего органа, наибольшее влияние на
динамические характеристики оказывает форма рабочего элемента управляющего
устройства, скорость установившегося движения.
По результатам анализа определены оптимальные
параметры гидропривода, а разработанная математическая модель позволяет
произвести динамический синтез управляющего гидроустройства и динамический
анализ гидропривода с требуемыми техническими характеристиками.
СПИСОК ИСПОЛЬЗОВАННЫХ ИСТОЧНИКОВ
1. Ухин, Б.В.
Гидравлические машины. Насосы, вентиляторы, компрессоры и гидропривод / Б.В.
Ухин. - Москва: ФОРУМ, 2011. - 320 с. ил.
. Устройства
и элементы систем автоматического регулирования и управления / под ред. В.В.
Солодовникова // Техническая кибернетика. Книга 3. Исполнительные устройства и
сервомеханизмы. - Москва: Машиностроение, 1976. - С. 735 с. ил.
. Колпаков,
В.Н. Гидропневмопривод станочного оборудования: учебное пособие / В.Н.
Колпаков. - Вологда: ВоГТУ, 2008. - 135 с.
. Теория
автоматического регулирования / под ред. В.В. Солодовникова // Техническая
кибернетика. Книга 1: Математическое описание, анализ устойчивости и качества
систем автоматического регулирования. - Москва: Машиностроение, 1967. - С. 770
с. ил.
. Цуханова,
Е.А. Динамический синтез дроссельных управляющих устройств гидроприводов / Е.А.
Цуханова. - Москва: Наука, 1978. - 256 с.
. Левитский,
Н.И. Расчет управляющих устройств для торможения гидроприводов / Н.И.
Левитский, Е.А. Цуханова. - Москва: Машиностроение, 1971. - 232 с.
. Цуханова,
Е.А. Динамический синтез дроссельных управляющих гидроустройств машин / Е.А.
Цуханова. - Москва: 1975. - 423с.
. Алгоритм
анализа и синтеза механизмов. Исследование динамики гидроприводов с учетом
сжимаемости жидкости / Н.И. Левитский, Т.П. Неофитова, Б.И. Павлов и др. -
Москва: 1977, 274с.
. Цуханова,
Е.А, Теория машин и гидропневмопривода. Состояние теории гидросистем машин /
Е.А. Цуханова. - Москва: Машиностроение, 1970, с. 473.
.
Автоматизация исследований и контроля точности в машиностроении. Моделирование
движения гидропривода с учетом сжимаемости рабочей среды / В.И. Сергеев, Е.А.
Цуханова, И.Т. Чернявский. - Москва: Наука, 1967, с. 119-133.
. Механика
машин. Синтез пневматических и гидравлических механизмов / Н.И. Левитский, Е.В.
Герц, Г.В. Крейнин, Е.А. Цуханова. - Москва: 1976,. вып. 51, с. 95-102.
. Ермаков,
В.В. Гидравлический привод металлорежущих станков / В.В. Ермаков. - Москва:
Машгиз, 1963. - 324 с.
. Дрейшнер,
Э.Л. Исследование переходного процесса гидрофицированных силовых столов
агрегатных станков (при переключении с быстрого подвода на рабочую подачу) /
Э.Л. Дрейшнер. - Москва, 1970. - 214 с.
. Дрейшнер,
Э.Л. Исследование переходного процесса переключения силовых узлов агрегатных
станков с быстрого подхода на рабочую подачу / Э.Л. Дрейшнер. - Кишинев:
Тимпул, 1970. - 34 с.
. Дрейшнер,
Э.Л. Динамика переходного процесса в гидрофицированных агрегатных станках /
Э.Л. Дрейшнер // Станки и инструмент - Кишинев: Тимпул, 1973. - С. 11-13.
. Хаймович,
Е.М. Гидропривод и гидроавтоматика станков / Е .М. Хаймович. - Москва: Машгиз,
1959.- 556 с.
.
Методические рекомендации по оформлению выпускных квалификационных работ,
курсовых проектов, работ для студентов очной, очно-заочной (вечерней) и заочной
форм обучения / сост. Тритенко А.Н., Сафонова О.В. - Вологда: ВоГУ, 2016. - 79
с.
. Гурьев,
В.Л. Гидравлические объемные передачи / В.Л. Гурьев, В.И. Погорелов- Москва:
Машгиз, 1964. - 343 C.
. Праздников,
А.В. Применение гидравлических передач в машиностроении. Динамика подающего
аппарата с гидравлическим торможением / А.В. Праздников - Москва:
Машиностроение, 1964, часть 2, с. 148-158.
. Праздников,
А.В. Динамический расчет гидравлических тормозных устройств. / А.В. Праздников,
А.М. Иоффе // Теория машин-автоматов и гидропневмопривода - Москва:
Машиностроение, 1966, с. 285-293.
. Каменецкий,
Г.И. Унифицированные панели / Г.И. Каменецкий // Станки и инструмент - Москва:
Машиностроение, -. 1954, 12, с. 1-6.
. Ланский,
З.Дж. Современные американские методы конструирования и выработка спецификаций
для гидравлических и пневматических цилиндров, применяющихся в
металлообрабатывающих станках. / З.Дж. Ланский - Кливленд: Ханифин Корпорейшен,
- 1974. - С. 14 с.
. Лунев, В.В.
О частном случае торможения массы пи помощи гидродемпфера / В.В. Лунев //
Пневматика и гидравлика. - Москва: Машиностроение, - 1981, вып. 8, С. 104-110.
.
Немировский, И.А. Графоаналитический метод расчета гидроприводов / И.А.
Немировский. - Москва: Машиностроение, - 1968 - 144 с.
. Тарко, Л.М.
Переходные процессы в гидравлических механизмах / Л.М. Тарко. - Москва: Машиностроение,
- 1973. - 168 с.
. Навроцкий,
К.Л. Метод расчета переходного процесса в гидроприводе поступательного движения
/ К.Л. Навроцкий. - Известия ВУЗов. Машиностроение, - 1979, в.9, с. 58-62.
. Трифонов,
О.Н. Графический расчет переходных процессов при торможении поршня силового
гидроцилиндра / О.Н. Трифонов, В.Г. Чупин // Станки и инструмент. - Москва:
Машиностроение, - 1968, 4, С. 14-16.
. Цуханова,
Е.А. Теория машин и гидропневмопривода. Состояние теории гидросистем машин /
Е.А. Цуханова. - Москва: Машиностроение, - 1970, с. 9-267.
. Свешников,
В.К. Станочные гидроприводы: справочник. / В.К. Свешников. - Москва:
Машиностроение, - 2008. - 640 с: ил.