Разработка технологии монтажа гидравлического пресса 'Лайс'

  • Вид работы:
    Дипломная (ВКР)
  • Предмет:
    Другое
  • Язык:
    Русский
    ,
    Формат файла:
    MS Word
    1,15 Мб
  • Опубликовано:
    2016-11-21
Вы можете узнать стоимость помощи в написании студенческой работы.
Помощь в написании работы, которую точно примут!

Разработка технологии монтажа гидравлического пресса 'Лайс'

Оглавление

Введение

. Общая часть

.1 Краткая характеристика цеха, его технологическая схема

.2 Технологическая схема производства ЦМИ-1

.3 Назначение, конструкция, принцип работы пресса «Лайс»

.4 Техническая характеристика пресса

.5 Грузоподъемные механизмы, применяемые при монтаже и их техническая характеристика

.6 Роль и значение системы ТОиР при обслуживании и ремонте пресса

. Специальная часть

.1 Расчёт такелажной оснастки

.2 Карта смазки основных узлов

. Организационная часть

.1 Организация подготовки к монтажу

.2 Документация на проведение монтажных работ

.3 Технология монтажных работ

.4 Испытания

.5 Сдача в эксплуатацию

.6 Технологические карты

.7 Трудоемкость монтажных работ

. Охрана труда

.1 Охрана труда и техника безопасности

.2 Наряд-допуск

.3 Пожарная безопасность

.4 Бирочная система

Заключение

Библиографический список

Введение

Актуальность темы:

Производительность труда на то или ином предприятии находится в прямой зависимости от технического состояния оборудования, все механизмов, их бесперебойной работы и точности. Поэтому для достижения высоких темпов роста производительности труда производится работа по совершенствованию и организации ремонта и монтажа оборудования, внедрение прогрессивной технологии в выполнении ремонтных и монтажных работ.

С помощью гидравлических прессов прессуются различные огнеупорные изделия, прочные и точные в размерах, в соответствии с требованиями заказчика.

Цель работы:

Разработать технологию монтажа гидравлического пресса «Лайс».

Задача работы:

Произвести расчеты трудоемкости монтажных работ, такелажной оснастки.

Разработать техническую документацию, технологию монтажа. Представить техническое обслуживание пресса.

Представлены требования безопасности при обслуживании и монтаже, противопожарная безопасность и нормативная документация на монтаж пресса.

Объект работы:

Гидравлический пресс «Лайс»

Результат работы:

Рекомендуется использовать при монтаже гидравлических прессов на АО «Комбинат Магнезит» и ООО «Группа Магнезит»

1. Общая часть

.1      Краткая характеристика цеха, его технологическая схема

ОАО «Комбинат «Магнезит» является крупнейшим в мире предприятием по производству огнеупоров. Потребителями огнеупоров комбината являются более 700 отечественных и зарубежных предприятий черной и цветной металлургии, цементной, машиностроительной, стекольной, химической, целлюлозно - бумажной и других отраслей промышленности.

Одним из самостоятельных подразделений АО «Комбинат «Магнезит» является цех магнезиальных изделий № 1. В состав ЦМИ-1 входят: участок помола, участок прессования и формовки огнеупорных изделий №1, участок прессования и формовки огнеупорных изделий №2, участок обжига огнеупорных изделий, участок сортировки и погрузки огнеупорных изделий, мастерская механическая.

Функции цеха магнезиальных изделий №1:

)обеспечивать ритмичный выпуск продукции высокого качества в соответствии с утверждённым заданием и заказами потребителя, эффективно использовать основные и оборотные фонды, снижение издержек производства и рост производительности труда;

)организует планирование, учёт и составляет отчетность по производительной деятельности, работу по развитию и укреплению хозяйственного расчёта, улучшению нормирования труда;

)проведение работы по внедрению научной организации труда; совершенствование организации производства, технологии; предупреждение брака и повышение качества продукции, использование резервов повышения производительности труда и рентабельности производства;

)контроль за эксплуатацией оборудования и выполнение графиков их ремонта;

)систематически проводится работа по созданию безопасных условий труда, соблюдение правил и норм техники безопасности, промышленной санитарии и правил пожарной безопасности;

)координация работы начальников участков, служб, мастеров, сменных мастеров, начальников смен;

)обеспечение выполнения закона промышленной безопасности

Рассмотрим технологическое оборудование цеха магнезиальных изделий № 1.

)бункер дозатор. Марки БДЖ-60(жидкостный). Объём 60 дм3. БДК-450(круглый), объём 450дм3. БДП-650(прямоугольный), объём 650дм3;

)дозатор. Марки: ДК-100, объём - 100 дм3. Жидкостный управляемый ДЖУ-15В объём бака - 40 дм3. Круглый СДК-200 объём бункера - 200дм3. БДК-350, объём бункера 350дм3. Дозатор хрома, спеченного периклаза, СФП, хрома, шнековый, АД-500;

Дозаторы применяются для дозирования компонентов шихты.

)бегуны. Марки «Симпсон», цикл перемешивания 5,6 минут, масса замеса - 500кг. Мощностью двигателя 20 Квт. Применяются для смешивания компонентов шихты;

)пресса. Марки «ЛАЙС» ХПФ-2500 производительность 4 прессовки в минуту, мощность 2500Кн, фактическая производственная мощность 13, 49 тыс. тонн/год. Дугостаторный НБФ-1738 мощность 83 Квт, усилие 630 тонн, фактическая производственная мощности 2,59 тыс. тонн/г. Пресс гидравлика-автомат-двухударный НРF-1600мощность 1600КВт, усилие 16000Кн, гидравлический ДГО-542Н усилие 16000Тонн, рабочее давление 32 МПа производственная мощность 34,33 тыс. тонн/год. ДАО-241 усилие 1000тонн, фактическая производственная мощность 42,17 тыс. тонн /год , ДО-542Н номинальное усилие 10000Кн, производительность 4 прессования в мин., фактическая производственная мощность 38,33 тыс. тонн/год. «ЛАЙС» ХПФ-1600 усилие 16000Кн, производительность 4 прессовки в мин., фактическая производственная мощность 13,49 тыс.тонн/год; Технологическая схема производства цеха ЦМИ-1 такова:

) периклазовый спечённый порошок фракции 2-0 тонкомолотый, периклазовый порошок, хромовая руда или концентрат фракций 3-0, 5-0, тонкомолотая;

) периклазохромитовая смесь, брак обжига хромсодержащих изделий фракции 5-0 (3-0)мм поступают в бункера объёмом 10, 15, 30 тонн;

.2 Технологическая схема производства ЦМИ-1

Рисунок 1 - Технологическая схема ЦМИ-1

С бункеров магнезит, пыль и хром поступают на дозаторы. На бункере объёмом 10 тонн дозатор типа АД-125. На бункере объёмом 30 тонн дозатор типа АД-500, АД-250, БДП-600. На бункере объёмом 15 тонн дозаторы типа АД-500, АД-250. Работу на дозаторах осуществляют дозировщики 3 разряда. Далее смесь поступает на бегуны: № 1-№14. И уже с бегунов смесь подается на пресса. В ЦМИ-1 имеются следующие пресса: Пресс №1 - ДГО-542Н , №2 - ДО-542Н, №3 - ДО- 542Н, №4 - ДО-542Н, №5 - ХПФ-1600, №6 - ДГО-542Н, №7 - ДГО-542Н, №8 - ДГО-542Н, №9 - ДГО-542Н, №10 - ДГО-542Н, пресса №11а-ДГО-542Н, №12а,№13а.

.3 Назначение, конструкция, принцип работы пресса «Лайс»

гидравлический пресс монтаж

Пресс гидравлический специальный для огнеупорных изделий усилием 16000кН модели Д0542Н предназначается для изготовления высокоплотных огнеупорных изделий из шамотных, многошамотных, динасовых, магнезиальных, карбидокремниевых и других сыпучих полусухих огнеупорных масс.

Наибольшие размеры окна в пресс-форме допускается 900x500 мм х мм

Наибольшая высота заполнения пресс-формы допускается 500 мм.

Процесс изготовления изделий после загрузки пресса массой полностью автоматизирован, включая укладку готового изделия на приемный транспортер или стол.

Управление прессом, осуществляемого с помощью системы программного управления, обеспечивает:

автоматическую регулировку высоты засыпки по заданному алгоритму с требуемым допуском размеров по высоте засыпки;

измерение высоты отпрессованного изделия с точностью ±0.1 мм;

световую мнемосхему с указателем диагноза неисправностей;

контролем последовательности выполнения операций и относительного положения рабочих узлов пресса, а также цифровой индексацией основных параметров;

Максимальная производительность пресса при размерах изделий (длина х ширина х высота) 250x125x65 мм, без вентиляции с автоматическим заполнением и извлечением составляет 4 прессования в минуту;

Климатическое исполнение пресса - УХЛ4 по ГОСТ 15150.

Пример обозначения при заказе пресса гидравлического специального для огнеупорных изделий усилием 16000 кН, модели Д0542Н климатического исполнения УХЛ4: Д0542Н УХЛ4Т32.041.05748602.023-92;

Принцип действия пресса таков: при опускании верхних пуансонов в пресс-форму происходит прессование верхних слоёв порошка и одновременно под действием цилиндров выталкивания перемещается нижняя траверса с пресс-формой, которая подвигается на нижние пуансоны. Так происходит прессование нижних слоёв порошка и таким образом осуществляется двухстороннее прессование порошка в пресс-форме. Для выталкивания отпрессованных изделий нижняя траверса отпускается в нижнее положение под действием цилиндров выталкивания, а для захвата изделия съёмником необходимо, чтобы верхняя плоскость штемпельной пластины нижнего пуансона на 10 мм выступала из отверстия пресс-формы. Составные части пресса представлены в таблице 1.

Таблица 1-Общий вид пресса с обозначениями составных частей

Позиция по чертежу ДО 542Н.

Обозначение

Наименование

Количество

1

2

3

4

1

ДО 542Н.110

Станина

1

2

ДО 542Н 120

Цилиндр главный

1

3

ДО 542Н. 130

Цилиндры ползуна матрицы

1

4

ДО 542Н. 140

Стол подачи массы

1

5

ДО 542Н. 150

Каретка засыпная

1

6

ДО 542Н. 160

Контейнер для массы

1

7

ДО 542Н.170

Устройство для съёма изделий

1

8

ДО 542Н.180

Бункер

1

9

ДО 542Н. 190

Воронка загрузочная

1

10

ДО 542Н.210

Питатель ленточный

1

11

ДО 542Н.220

Бункер засыпной

1

12

ДО 542Н.230

Устройство предохранительное

1

14

ДО 542Н. 250.

Привод датчика перемещения ползуна главного и ползуна матрицы

1

15

ДО 542Н..260

Привод датчика перемещения каретки засыпной

1

17

ДО 542Н.270

Установка конечных выключателей

1

20

ДО 542Н.310

Установка гидроаппаратуры

1

21

ДО 542Н.311

Клапан наполнения

1

22

ДО 542Н.312

Блок настройки и контроля

1

23

ДО 542Н.313

Блок управления формой

1

24

ДО 542Н.314

Блок каретки

1

25

ДО 542Н.315

Блок холостого хода

1

26

ДО 542Н.316

Установка гидроаккумуляторов

1

28

ДО 542Н.317

Блок управления и наладки

1

29

ДО 542Н.319

Блок гидроаппаратуры

1

31

ДО 542Н.321

Бак наполнения

1

32

ДО 542Н.322

Бак питательный

1

33

ДО 542Н.323

Установка насосов

1

34

ДО 542Н.324

Блок фильтрации и охлаждения

1

35

ДО 542Н.325

Блок управления гидроаккумулятором

1

37

ДО 542Н.330

Трубопровод гидравлический

1

38

ДО 542Н.340

Воздухопровод

1

39

ДО 542Н.350

Проводка

1

40

ДО 542Н.360

Смазка пресса

1

41

ДО 542Н.361

Устройство для смазки инструмента

1

45

ДО 542Н.510

Рама опорная

1

48

ДО 542Н.520

Ограждение гидроаппаратуры

1


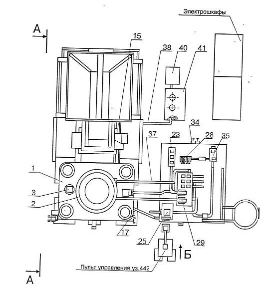
Рисунок 2 - Общий вид пресса «Лайс» (вид сверху)

Рисунок 3 - Общий вид пресса «Лайс»

Рисунок 4 - Общий вид пресса «Лайс» (вид сзади)

Система управления прессом осуществлена с применением микропроцессорного программируемого контроллера, имеет световую мнемосхему с указателем диагноза неисправностей. Управление прессом в основном сосредоточено на пульте управления и щитах управления. Расположение пульта управления прессом относительно прессовой установки показано на рисунке 2.

Станина пресса.

К колонной конструкции, в верхнюю траверсу которой установлены гидроцилиндр главный, для перемещения по направляющим колоннам ползуна главного, несущего верхние пресс-штемпели и гидроцилиндры матрицы, для перемещения ползуна матрицы, несущего пресс-формы. К основанию станины крепятся нижние пресс-штемпели;

К боковой стенке ползуна матрицы прикреплен стол подачи массы, по направляющим роликам которого горизонтально перемещается каретка засыпная, несущая прикрепленный к ней контейнер массы и устройство для съема изделий. Выше контейнера для массы, на стойках, прикрепленных к боковым стенкам стола подачи массы, расположен бункер с секторным затвором в нижней части;

Бункер засыпной имеет раму опорную, установленную на фундаменте. К этой же раме, под бункером засыпным, прикреплен питатель ленточный. Питатель ленточный и бункер соединены воронкой загрузочной;

К верхней траверсе станины прикреплено устройство предохранительное и привод датчика ползуна главного и ползуна матрицы. Привод датчика каретки засыпной прикреплен к столу подачи массы. На вертикальных стойках из швеллеров, присоединенных к станине, установлены конечные выключатели, и фотоэлектрическая защита;

Сверху на цилиндре главном установлен бак наполнения, внутри которого находится клапан наполнения.

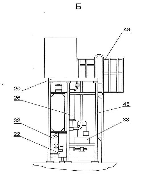
Гидропривод и гидроаппаратура пресса

Гидропривод и гидроаппаратура пресса смонтированы на раме опорной, которая установлена на фундаменте справа от пресса. Внутри рамы опорной также на фундаменте установлен бак питательный.

В нижней части рамы опорной смонтированы: установка насосов, блок фильтрации и охлаждения, установка гидроаккумуляторов, блок настройки и контроля. Сверху на раме опорной расположена установка гидроаппаратуры, связывающая своим трубопроводом узлы: блок гидроаппаратуры, блок управления формой, блок холостого хода, блок управления и наладки, блок управления гидроаккумулятором.

Гидропривод и гидроаппаратура связаны с прессом при помощи трубопровода.

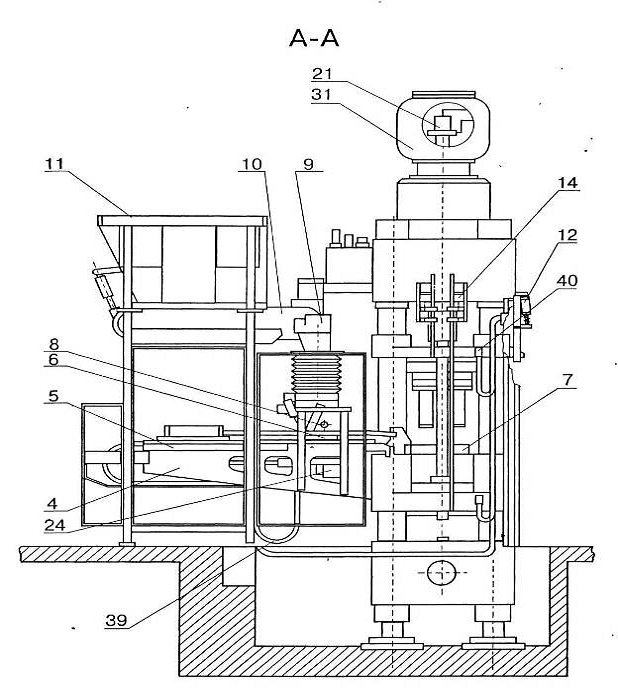
Конструкция основных узлов пресса:

1)      станина состоит из верхней и нижней траверс (архитрава и основания) и четырех колонн. Между траверсами размещаются подвижные ползуны и для верхнего штемпеля и матрицы, для которых колонны являются направляющими. Направляющие бронзовые втулки ползунов для удобства разборки при их замене разрезаны вдоль и защищены грязесъемниками. Гайки колонн имеют контровку от самоотвинчивания при помощи стяжек. Колонны пресса опираются на башмаки, которые после выставки пресса крепятся к фундаменту фундаментными болтами. Инструмент, пресс-штемпель, может крепиться к плитам, а пресс-форма к ползуну матрицы. Ползун матрицы имеет съемные упоры;

2)      цилиндр главный поршневого типа с глухим дном вставлен в верхнюю траверсу станины снизу и прикреплен к ней болтами. Нижний торец штока соединен с ползуном главным станины с помощью высокопрочных болтов. На шток одет поршень, удерживаемый от смещения при помощи гайки. Гайка контрится относительно штока планкой. Пыль и грязь, попадающая на поверхность штока, удаляется скребком. Стабильность и равномерность затяжки уплотнений достигается установкой комплекта колец. Необходимо обеспечивать постоянство высоты каждого комплекта;

3)      цилиндры ползуна матрицы - 2шт. поршневого типа вставлены в верхнюю траверсу снизу и прикреплены к ней болтами. Свободный конец штока связан с ползуном матрицы через проставку. Проставка убирается во время демонтажа цилиндра, или смены изношенной манжеты. Пыль и грязь удаляется со штока грязесъемником;

4)      стол подачи массы крепится непосредственно к ползуну матрицы болтами и содержит: раму, внутри которой помещена лежащая на регулируемых по высоте роликах плита с приводом от гидроцилиндра. В рабочем состоянии плита постоянно прижата гидроцилиндром к пресс-форме и стыкуется с ней при помощи трех фиксаторов. Плита с целью уменьшения деформации притянута к раме болтами. Для сопрягаемого узла "Каретка засыпная" предусмотрены ролики, подшипники, которые установлены на эксцентричных осях, а также направляющие рельсы. Плита должна лежать в одной плоскости с поверхностью пресс-формы. Это достигается перемещениями шпинделей и винтов;

5)каретка засыпная состоит из каретки, которая перемещается с помощью гидроцилиндра на роликовых опорах, прикрепленных к столу подачи массы. Параллельность хода каретки обеспечивается регулированием положением эксцентриситета роликов на столе подачи массы при помощи эксцентриковых осей.На каретке сбоку установлен гидроцилиндр для подъема устройства для съема изделий;

)контейнер для массы расположен внутри каретки и крепится к ней болтами через пазовые отверстия в контейнере, благодаря которым возможна регулировка положения контейнера относительно каретки. Нижняя часть контейнера, обращенная к плите стола подачи, обрамлена по периметру скребками изготовленными из высококачественной, износоустойчивой стали. Внутри контейнера находится мешалка массы, состоящая из вала, установленного на подшипниках качения с защитными шайбами и укрепленного на нем стержнями. Вал вращается от мотор-редуктора через цепную передачу. Натяжение цепи осуществляется винтами перемещая кронштейн. Для контроля наличия массы в контейнере на передней стенке установлены датчики, регулируемые по высоте путем смещения уголков. Датчики отделены от внутренней поверхности контейнера экранами. Между скребками контейнера для массы и плитой стола подачи массы должен быть установлен зазор 0,3 0,6 мм., путем регулирования положения эксцентриситета роликов, установленных на столе подачи массы, а также отжимных винтов;

7)устройство для съема изделий присоединяется к боковым стенкам каретки засыпной при помощи осей Д0542Н.150.414, которые вставляются в соответствующие отверстия держателя и крепятся к нему винтами. Движение держателя вниз ограничено двумя упорами на каретке, в которые упираются болты, ввернутые в боковые листы держателя. Поворот держателя во время смены формы осуществляется гидроцилиндром Д0542Н.152. Зажимные устройства состоят из кронштейнов, на которые надеты мембранные пневматические зажимы, состоящие из движков, соединенных с кронштейнами при помощи втулок и винтов с мембранами, посредством направляющих пальцев и винтов. Сжатый воздух подается в рабочую полость под мембраны через коллектор, трубопровод и отверстия в кронштейнах. Направляющие поверхности на кронштейнах для движков, защищены уплотняющими полосами из войлока и скребками. Рабочие поверхности движков, покрыты резиновыми накладками с рифленой поверхностью. Кронштейны крепятся к держателю болтами и имеют возможности раздвигаться или сдвигаться по Т-образному пазу держателя в зависимости от ширины изделия. Между планками и движками, может устанавливаться деревянная планка. Толщина планки устанавливается в зависимости от зазора между прессуемыми изделиями;

)бункер служит промежуточным накопителем формовочной массы и введен с целью сокращения времени загрузки контейнера для массы. Бункер крепится к столу подачи массы болтами и состоит из бункера, установленного на двух опорах, которые крепятся к боковым стенкам стола. Нижнее отверстие бункера, обращенное к контейнеру для массы закрыто подвижной секторной заслонкой, сидящей на осях и приводимой в движение пневмоцилиндром. Внутри бункера помещена мешалка массы, состоящая из вала, установленного на подшипниках качения с защитными шайбами, и укрепленными на нем стержнями. Вал вращается от мотор-редуктора через цепную передачу. Натяжение цепи осуществляется тягой посредством смещения качающегося кронштейна. Для контроля наполнения бункера массой на передней стенке установлен емкостной датчик, отделенный от внутренней поверхности бункера экраном и защищенный кожухом;

9)воронка загрузочная предназначена для направления загружаемой в бункер ленточным питателем прессуемой массы и предохранения окружающей среды от пыли. Состоит из воронки, прикрепленных к ней чехла, рамы и чехла, расположенного внизу по периметру выходного отверстия воронки. Воронка вверху прикреплена к ленточному питателю, а внизу к бункеру при помощи откидных болтов. Во время осмотров и ремонтов внутренней части бункера и воронки откидные болты удерживают подвижный чехол сложенным в верхнем положении;

10)питатель ленточный предназначен для перемещения прессуемой массы из бункера засыпного и заполнения ею контейнера для массы или бункера, а также для опорожнения бункера засыпного от некондиционной пересохшей массы обратным движением ленты конвейерной. Питатель ленточный имеет раму, на которой прикреплен барабан приводной и сносно установленный с ним на кронштейне червячный редуктор с приводом от реверсивного электродвигателя через косозубые шестерни, а также барабан, держатель с роликом для поддержки ленты конвейерной от провисания, сбрасыватель для очистки внутренней поверхности ленты конвейерной. На боковых кромках ленты установлены бурты. Ролики предохраняют ленту конвейерную от сползания с барабанов. Натяжение ленты конвейерной осуществляется путем перемещения барабана винтами, связанными с ползушками.

Вал приводного барабана связан с редуктором через втулочно-пальцевую муфту;

)бункер засыпной предназначен для приема прессуемой массы, поступающей от смесителя при помощи мостового крана или ленточного транспортера. Бункер засыпной состоит из бункера, расположенного в верхней части рамы опорнойи прикрепленной к ней болтами. Рама опорная установлена на фундаменте и крепится к нему фундаментными болтами. Для предотвращения случайного проникновения к подвижным частям во время работы пресса рама опорная снаружи закрыта ограждениями, имеющими металлическую сетку. Для доступа к подвижным частям пресса имеются двери, шарнирно прикрепленные к раме опорной и сблокированные с главным приводом конечными выключателями так, что при открывании дверей главный привод отключается и движение всех механизмов прекращается. Низ бункера закрыт подвижной конвейерной лентой. В нижней части бункера имеется два боковых отверстия: одно, обращенное в сторону пресса, предназначено для загрузки пресса массой размер отверстия устанавливается вручную при помощи заслонки, второе предназначено для опорожнения бункера от некондиционной пересохшей массы и закрыто поворотным шибером, приводимым в движение посредством пневмоцилиндра;

12)привод датчика ползуна главного и ползуна матрицы имеет две вертикально установленные штанги, свободные концы которых прикреплены соответственно к ползуну главному и к ползуну матрицы, а вторые концы прикреплены при помощи планок и винтов к зубчатому ремню. С помощью которого кинематически связаны с преобразователем 6FX2001 посредством шкива, вала, установленного на подшипниках качения в стакане. Стакан прикреплен к кронштейну, а тот при помощи кронштейна, болтов и шпонки прикреплен к верхней траверсе станины. Штанги направляются посредством кронштейнов и втулок. Натяжение зубчатого ремня осуществляется при помощи резьбового стержня и гаек.

Работа пресса:

1)прессуемая масса может поступать в бункер засыпной от смесителя при помощи мостового крана или ленточногоконвейера. Минимальный уровень прессуемой массы, находящейся в бункере засыпном, контролируется емкостным датчиком. Если объем прессуемой массы опустится ниже минимального уровня, на экране пульта управления появляется сигнализирующая надпись;

)перед началом цикла все механизмы должны находиться в исходном положении:

ползун главный в верхнем положении;

ползун матрицы располагается на таком уровне, при котором верхняя кромка пресс-формы находится ниже уровня рабочей поверхности нижнего штемпеля на 5 - 10 мм. Каретка засыпная с контейнером для массы находится в исходном заднем положении.

3)питатель ленточный перемещает прессуемую массу из бункера засыпного через воронку загрузочную и бункер в контейнер для массы.

Заполнение контейнера может производиться двумя способами:

Первый способ. Контейнер для массы заполняется при открытой заслонке бункера до уровня, определяемого установкой емкостных датчиков на контейнере. По команде от емкостных датчиков питатель ленточный отключается и через некоторое время заслонка бункера закрывается.

Второй способ. Бункер предварительно заполняется. При закрытой заслонке до уровня, определяемого установкой емкостного датчика на бункере (объем массы составляет примерно 75% необходимого объема заполнения контейнера). Затем заслонка открывается, и бункер полностью опорожняется в контейнер для массы. После открытия заслонки во избежание зависания массы при первом и втором способе заполнения может быть включена мешалка.

Дозаполнение контейнера (примерно 25%) далее производится при открытой заслонке посредством питателя ленточного до уровня, определяемого установкой емкостных датчиков на контейнере. По команде от емкостных датчиков на контейнере заслонка бункера закрывается и вновь производится заполнение бункера до отметки, составляющей примерно 75% требуемого объема заполнения контейнера.

Третий способ заполнения контейнера является предпочтительным, так как сокращается время цикла ввиду того, что во время заполнения бункера контейнер для массы одновременно может находиться в зоне прессования на заполнении пресс-формы;

4)последовательность и содержание операций в цикле при изготовлении изделий в форме кирпича. Зажим изделия, изготовленного в предыдущем цикле, захватами устройства для съема изделий. Ход ползуна матрицы вверх в зависимости от уровня расположения поверхности приемного стола или транспортера для готовых изделий.

Может производиться два варианта заполнения формы:

1-й вариант - подъем ползуна сразу на высоту заполнения формы. При этом варианте поверхность приемного стола или транспортера должна находиться на уровне верхних кромок пресс-формы в поднятом положении ползуна матрицы;

-й вариант - подъем ползуна предварительно на промежуточную высоту, до того, как верхняя кромка формы установится на 5 -10 мм выше рабочей поверхности нижнего штемпеля. Затем ход каретки засыпной в зону прессования, а после того, как контейнер для массы встанет над формой, подъем ползуна матрицы дополнительно вверх до расчетной высоты засыпки формы;

При этом варианте поверхность приемного стола или транспортера должны находиться на 5 -10 мм ниже рабочей поверхности нижнего штемпеля.

Контроль движения ползуна производится с помощью датчика ползуна матрицы. Точная установка на высоту заполнения корректируется электронной системой автоматической регулировки высоты засыпки. Второй вариант предпочтительней, так как улучшается качество заполнения формы;

5)ход каретки засыпной с контейнером для массы в рабочую зону пресса. При втором варианте заполнения ход каретки засыпной производится после предварительного подъема ползуна матрицы. Когда форсунки устройства для смазки достигнут кромки пресс-формы, включается и производится смазка нижнего пресс-штемпеля и пресс-формы. Когда каретка засыпная переместит контейнер для массы в зону прессования, производится заполнение пресс-формы массой, в этой же позиции происходит разжим захватов съемника и выгрузка изделий на стол или конвейер для выдачи изделий;

)разжим захватов устройства для съема изделий, выгрузка изделий. Позиция выгрузки изделий по высоте может находиться в зависимости от выбранной технологии заполнения пресс-формы или на уровне 5 - 10 мм. ниже рабочей поверхности нижнего пресс-штемпеля, или на уровне положения поверхности стола подачи массы при заполнении пресс-формы;

)вибрация движение каретки засыпной назад-вперед. Производится до 3-х толчковых возвратно-поступательных коротких ходов каретки с контейнером над формой для улучшения равномерности засыпки малотекущей массы. Амплитуду вибрации можно регулировать. Предусмотрена также работа пресса без вибрации. При необходимости включается мешалка в контейнере для массы. При втором варианте заполнения формы вибрация производится во время дополнительного хода ползуна матрицы;

8)для изготовления изделий клинового типа предусмотрена пропорциональная прямая и обратная клиновая засыпка, осуществляемая одновременными взаимозависимыми движениями каретки засыпной и ползуна матрицы.

Прямая клиновая засыпка осуществляется одновременным ходом вниз ползуна матрицы и обратным ходом каретки засыпной.

Обратная клиновая засыпка производится одновременным ходом вверх ползуна матрицы и обратным ходом каретки засыпной.

Скорости движений ползуна матрицы и каретки засыпной задаются с пульта управления и регулируются бесступенчато с помощью распределителей с пропорциональным управлением;

9)возврат каретки засыпной в исходное положение. Во время обратного хода каретки засыпной разравнивающие скребки, прикрепленные к пазу контейнера разравнивают массу в форме;

10)дополнительный ход ползуна матрицы вверх на 20 -30 мм.,чтобы масса во время процесса прессования не прилипла к верхней кромке пресс-формы производится дополнительный ход ползуна матрицы вверх, после того как передний разравнивающий скребок контейнера пересечет кромку пресс-формы со стороны бункера;

11)холостой ход ползуна главного вниз. Холостой ход ползуна главного вниз производится до входа в пресс-форму, сначала ускоренно со скоростью до 400 мм/с, затем перед входом в пресс-форму замедленно со скоростью 100 мм/с;

12)прессование. Перед самым входом верхнего штемпеля в пресс-форму скорость ползуна главного изменяется с замедленной на скорость прессования.

Различные прессуемые массы имеют свой график уплотнения при прессовании. В соответствии с этим графиком с пульта управления можно установить 7 скоростей прессования. Каждая установленная скорость постоянна до давления 5 МПа (5.0 кгс/см2), а затем она снижается в соответствии с графиком возрастания давления рабочей жидкости в гидроцилиндре ползуна главного до максимального 32.0 МПа (320 кгс/см2). Правильный выбор скорости прессования имеет важное значение для удаления воздуха из прессуемого изделия, а также для сокращения количества вентиляций;

13)движение ползуна матрицы во время прессования. Движение ползуна матрицы во время прессования зависит от положения ползуна главного. Во время холостого хода ползуна главного ползун матрицы находится в режиме плавания, то есть удерживается в зависшем состоянии некоторым избыточным давлением рабочей жидкости в штоковых полостях гидроцилиндров, движение ползуна неуправляемое осуществляется только от действия сил трения, возникающих под влиянием распорных сил в массе при прессовании. В момент переключения замедленной скорости ползуна главного на скорость прессования включается временно элемент, по окончании действия которого начинается управляемое движение ползуна матрицы вниз. Отношение скоростей движения ползуна главного к скорости ползуна матрицы при этом устанавливается и регулируется с пульта бесступенчато в пределах от 2:1 до 1:1;

14)вентиляция во время прессования. В процессе прессования осуществляется вентиляция (удаление воздуха из формы).

Вентиляция осуществляется в зависимости от хода и от давления:

- вентиляция в зависимости от хода верхнего штемпеля с обратным ходом. Верхний штемпель прессует до определенной точки, затем нагрузка снимается, когда давление рабочей жидкости упадет до установленной величины, начинается обратный ход ползуна главного в соответствии с предварительно заданным временем (величина хода приблизительно 10 - 15 мм.). После прохождения заданного времени и окончания обратного хода - пуск следующего прессования и второй вентиляции, и т.д.;

вентиляция в зависимости от давления с обратным ходом: верхний штемпель прессует до тех пор, пока не будет достигнуто определенное давление, заранее заданное, затем - разгрузка гидросистемы, когда давление в гидросистеме упадет до установленной величины, начинается обратный ход в соответствии с предварительно заданным временем;

15)движения формы во время вентиляции - вытягивание формы. Для уменьшения износа боковых стенок формы, ползун матрицы во время вентиляции может отходить на определенную высоту, устанавливаемую с помощью временных элементов: перемещения можно установить при первой вентиляции, или при первой и второй вентиляции;

)окончание прессования. По достижении размера изделия верхний штемпель на некоторое время останавливается, но находится под нагрузкой, установившееся высокое давление рабочей жидкости в главном цилиндре не снимается, гидравлические клапаны все закрыты. Потеря давления только за счет утечки. Время действия высокого давления устанавливается временными элементами. По истечении этого времени высокое давление снижается на низкое, время действия которого также задается временным элементом. Во время снятия нагрузки, производится измерение толщины изделия;

17)извлечение изделия. Извлечение изделия может производиться тремя способами: без нагрузки, с нагрузкой и с уменьшенной нагрузкой:

Первый способ - без нагрузки, применяется для изделий, которые не изменяют или незначительно изменяют свой объем после снятия нагрузки. После проведенного процесса прессования ползун главный сразу возвращается в верхнее исходное положение, одновременно ползун матрицы опускается вниз до тех пор, пока изделие не появится над поверхностью матрицы;

Второй способ - с нагрузкой, применяется для изделий, которые изменяют свой объем после снятия нагрузки. При этом способе пресс-штемпель после проведенного процесса прессования сохраняет свое положение изделия под собственным весом до тех пор, пока изделие не освободится из формы путем опускания ползуна матрицы;

Третий способ - с уменьшенной нагрузкой на изделие, применяется для тонкостенных сложных изделий, таких как трубы. При этом способе верхний штемпель сохраняет свое положение на изделии с уменьшенным весом благодаря тому, что поршневая полость главного цилиндра в это время находится под некоторым избыточным давлением.

18)зажимы изделия с устройством для съема изделий. Ползун матрицы будет находиться в позиции извлечения изделия до тех пор, пока не будет произведен зажим изделия. Время зажима задается временными элементами.

1.4 Техническая характеристика пресса

Таблица 2 - Основные технические данные и характеристика пресса «Лайс»

Наименование параметров

Значение

1

2

1 Основные параметры и размеры


1.1 Номинальное усилие пресса, кН

16000

1.2 Ход ползуна главного, мм

603 + 20

1.3 Наибольшее усилие выталкивания изделия, кН

1600

1.4 Наибольшие размеры крепления коробки формовочной, мм х мм

1200 х 1300

1.5 Наибольшие размеры окна в пресс-форме, мм х мм

900 х 500

1.6 Наибольшая высота заполнения пресс-формы, мм

500

1.7 Количество одновременно прессуемых изделий , шт

1-4

1.8 Скорость холостого хода ползуна главного, мм/с

300-400

1.9 Скорость замедленного ползуна главного, мм/с

100-20

1.10 Скорость прессования, мм/с

2,5-36

1.11 Количество ступеней прессования, шт, не менее

6

1.12 Отклонение высоты спрессованного изделия от номинального, мм

 + /- 0,4

1.13 Расстояние от верхней плоскости нижней подштамповочной плиты до нижней плоскости верхней подштамповочной плиты в поднятом положении ползуна главного (открытая высота пресса), мм, не менее

 2090

1.14 Расстояние от верхней поверхности нижней подштамповочной плиты до опорной поверхности крепления коробки, при максимально поднятом ползуне матрицы мм, не менее

   710

1.15 Номинальное усилие цилиндра каретки засыпной, кН

31

1.16 Ход каретки засыпной, мм

1500+20

1.17 Расстояние между центрами колонны, мм х мм

(1750+0,1) х (1100+0,1)

1.18 Номинальное рабочее давление в гидросистеме, МПа

32

1.19 Номинальное рабочее давление в гидросистеме низкого давления, МПа

5-15

93000

1.21 Габаритные размеры собственно пресса (без насосной установки), мм, не более: Длина Ширина Высота Высота над уровнем пола

  5200 2800 7320 6000

1.22 Максимальная производительность пресса при размерах изделия 230-115х65 мм, без вентиляции, с автоматическим заполнением и извлечением в минуту

4

2. Характеристика электрооборудования


2.1 Род тока питающей сети Частота, Гц Напряжение, В

50+1,0 380+38

2.2 Род тока силовой цепи Напряжение, В

380+38

2.3 Род тока цепей управления Напряжение, В

Переменный 220+22 Постоянный 24+2,4 110+11

2.4 Мощность главного привода, кВт, не более

114

2.5 Тип программируемого контроллера управления прессом

MODICON* 980-А 120


.5 Грузоподъемные механизмы применяемые при ремонте и их техническая характеристика

Основными грузоподъёмными средствами, используемые при проведении ремонта являются: домкраты и краны.

Домкраты - переносные грузоподъёмные механизмы, которые предназначены для подъёма конструкций и оборудования на высоту 200 - 500 мм. Они находят применение при выполнении вспомогательных работ, а также для перемещения грузов по горизонтали и выверке конструкций при их установке. Помимо вспомогательных работ домкраты применяют и на основных монтажных работах при подъёме грузов массой 1000 тонн и более. Привод домкратов может быть ручным и машинным. Различают домкраты винтовые, рычажно - реечные, зубчато - реечные и гидравлические. Для проведения монтажных работ мы используем домкраты с ручным приводом винтовые. Они имеют самотормозящую резьбу, обеспечивающую удержание поднятого груза. Подъёмный стальной винт ввёрнут в гайку , укреплённую в корпусе домкрата. На верхней части винта установлена рифлёная поворачивающаяся головка. Вращение винта производится рукояткой с двусторонней храповой собачкой. В зависимости от установки собачки осуществляется вращение винта в ту или другую сторону. Корпус домкрата в нижней части имеет опорную плиту- гайку, перемещающуюся по направляющим салазкам при вращении винта горизонтального перемещения. Вращение этого винта производится рукояткой, снабжённой собачкой. Винтовые домкраты изготовляются грузоподъемностью от 1 до 20 т.

Для подъёма и транспортировки деталей и узлов при выполнении сборочных и монтажных работ применяются мостовые краны ( ручные и электрические). Грузоподъёмность ручных кранов от 1 до 20 тс, а электрических кранов от 5 до 350 тс. Если грузоподъёмность одного крана недостаточна, то груз можно поднимать спаренными кранами при помощи траверсы, цепляющейся на крюки кранов.

Для проведения монтажных работ применяют краны. При этом краны мостового типа. Так как грузоподъёмности одного крана недостаточно для подъёма монтируемых деталей пресса, то используют два крана. Рассмотрим характеристику этих кранов.

1)      кран мостовой крюковой заводской, изготовлен в марте 1978г.

Кран мостовой с раздельным приводом, для подъема и перемещения груза, исполнение нормальное. Режим работы механизмов; главного подъема средний пв-25. Передвижение; крана средний; тележки средний. Грузоподъемность; главного крюка 10 тс. Высота подъема; главного крюка 9 м. Скорость подъема; главного крюка 8,78 м-мин. Рабочая скорость передвижения крана 69,3 м-мин. Скорость тележки 39,7 м-мин. Пролет крана 11,0 м. Вес крана полный 12,1 тс. Вес основных частей крана; моста 7,2 тс. Тележка с механизмами 2,3 тс. Нагрузка от колеса крана на рельс 9,22 тс. Расстояние от головки рельс до настила 39 м. Характеристика механизма подъема. Механизмы главного подъема; тип передачи зубчатая, диаметр барабана 411 мм, диаметр блоков полиспаса 350 мм, диаметр уравнительных блоков 280 мм, число ветвей полиспаса.

Характеристика канатов:

назначение каната, грузовой главного подъема; конструкция каната и обозначение стандарта ГОСТ 2688-69, 14,0-Г-1-А-А-180,диаметр каната 14 мм, временное сопротивление проволоки при растяжении, кгс-кв, 180 мм.; разрывное усилие каната в целом, кгс 11050. Длина каната 73 м. Коэффициент запаса прочности 5,7.

Расчетное натяжение каната 1765 кгс.

2)      кран мостовой , грузоподъёмностью 12,5 т 5к модернизированный в 1995 г.

Тип привода машинный, электрический. Максимальная грузоподъемность 12,5т.

Место управления при работе при монтаже испытании из кабины. Конструкция каната и обозначение стандарта 6х19(1+6+6/6)+10,с ГОСТ 2688-80 ту 14-4-1413-87. Диаметр каната 15мм, длина 94м.

Коэффициент использования запаса прочности, расчетный 5,7, нормативный 5,6.

Механизмы, крюк однорогий. Обозначение стандарта и номер крюка по стандарту гост 6627-74 № 17А. Номинальная грузоподъемность 12,5 т.

1.6 Роль и значение системы ТОиР при обслуживании и ремонте пресса

Главная задача оборудования состоит в том, чтобы обеспечить эффективную, безаварийную работу оборудования при минимальных затратах трудовых и материальных ресурсов. Одним из важнейших условий решения этой задачи является применение системы технического обслуживания и ремонта (ТОиР), суть которой состоит в чётком чередовании и регламентации периодов ритмичной работы оборудования в соответствии с установленным режимом и профилактических мероприятий с целью предупреждения преждевременного его износа, включая плановые ремонты и межремонтное техническое обслуживание.

Согласно этой системе оборудование в процессе эксплуатации подвергается техническому обслуживанию ( профилактический уход и надзор, регулировка, смазка, очистка, периодический осмотры инженерно-техническим персоналом, устранение дефектов и неполадок, необходимые испытания и т.п.) и плановым ремонтом, направленным на восстановление его работоспособности, частично утраченной в период работы. Системой ТОиР предусмотрено предварительное изготовление запасных частей для замены повреждённых и предельно изношенных, а также расчёт и планирование затрат труда ремонтного персонала и материалов для выполнения намеченных ремонтных работ.

Внедрение системы ТОиР практически означает:

1)выполнение правил и норм по техническому обслуживанию и эксплуатации агрегатов, механизмов и организация контроля за их соблюдением;

)организация учёта работы и состояния оборудования, учёт и анализ затрат на его техническое обслуживание и ремонт, разработка и осуществление мероприятий по совершенствованию агрегатов и механизмов;

3)планирование и проведение периодических осмотров оборудования силами ИТР, обеспечение межремонтного технического обслуживания и ремонта агрегатов, машин и механизмов, контроль и учет своевременного и качественного их исполнения;

)установление и соблюдение норм технического обслуживания, структур ремонтного цикла, длительности межремонтных периодов, состава и содержания ремонтных работ для всего оборудования с учетом его эксплуатации;

5)организация производственной базы для подготовки и выполнения ремонтов и межремонтного технического обслуживания, оснащение ее необходимым оборудованием, инструментами и материалами, укомплектование рабочей силой, а также внедрение прогрессивной технологии изготовления запасных частей, упрочняющей технологии, унификации узлов и деталей, организацию их учета и хранения;

6)организация материально-технического снабжения предприятий необходимыми видами проката, метизов, канатов, смазочных и других материалов, необходимых для содержания оборудования в исправном состоянии;

7)применение совершенных методов ремонта оборудования с использованием средств механизации, систематическое повышение ремонтопригодности агрегатов, машин и механизмов, широкое применение узлового, агрегатного рассредоточенного и других прогрессивных методов ремонта;

)организация смазочного хозяйства производственных цехов и предприятий в целом;

)организация чертёжного хозяйства и паспортизация агрегатов;

)совершенствование организации, нормирование и стимулирование труда работников ремонтной службы;

)разработка и внедрение нормативов технического обслуживания и межремонтный период, периодичность и продолжительность плановых ремонтов оборудования, трудоемкость ремонтных работ, расход материалов при ремонтах, установление неснижаемого запаса частей и т.п.;

2. Специальная часть

.1 Расчёт такелажной оснастки

. Колонна весом 3045 кг.

) Находим усилие возникающие в одной ветви стропа


где, Q - вес поднимаемого груза, кгс

 - коэффициент неравномерности нагрузки на ветви стропа

m - количество ветвей стропа

Cosα - угол между ветвями стропа

 - коэффициент зависящий от угла наклона α, ветви

α°

15°

30°

45°

60°

1,0

1,03

1,15

1,42

2,0


При количестве ветвей m=4 и более =0,75 ; при m˂4 =1

) Определяем разрывное усилие в ветви стропа


где, К - коэффициент запаса прочности для стропа, определяем по таблице ГОСТа

К = 6,0

Пользуюсь таблицами ГОСТа подбираем канат и определяем его технические данные:

Тип - ТЛК-0;

Конструкция - 6х37;

Разрывное усилие - 18400 кгс;

Предел прочности на разрыв - 160 кгс/мм;

Диаметр каната - 17,5 мм.

. Главный ползун весом 5684 кг.

) Находим усилие, возникшее в одной ветви стропа

) Определяем разрывное усилие в ветви стропа

Пользуясь таблицами ГОСТа подбираем канат и определяем технические данные:

Тип - ТЛК-0;

Конструкция - 6х37;

Разрывное усилие - 18400 кгс;

Предел прочности на разрыв - 160 кгс/мм;

Диаметр каната - 17,5 мм.

. Верхняя траверса весом 26600 кг.

) Находим усилие, возникшее в одной ветви стропа

) Определяем разрывное усилие в ветви стропа

Пользуясь таблицами ГОСТа подбираем канат и определяем технические данные:

Тип - ТЛК-0;

Конструкция - 6х37;

Разрывное усилие - 80750 кгс;

Предел прочности на разрыв - 180 кгс/мм;

Диаметр каната - 39,0 мм.

. Нижняя траверса весом 17664 кг.

) Находим усилие, возникшее в одной ветви стропа

) Определяем разрывное усилие в ветви стропа

Пользуясь таблицами ГОСТа подбираем канат и определяем технические данные:

Тип - ТЛК-0;

Конструкция - 6х37;

Разрывное усилие - 53300 кгс;

Предел прочности на разрыв - 160 кгс/мм;

Диаметр каната - 33,0 мм.

.2 Карта смазки основных узлов

Таблица 3 - Карта смазки

№ места смазки

Наименование мест смазки

Кол-во мест

Способ смазки

Периодичность смазки

Смазочный материал

1

Колонны пресса

4

Ручная

Ежемесячно

Литол

2

Подшипники ленточного питателя

4

Ручная

Раз в квартал

Литол, смазка 1:3

3

Прессформы

1

Механическая

Каждую смену

Минеральные масла


Рисунок 5 - Гидравлический пресс «Лайс» - карта смазки

3. Организационная часть

.1 Организация подготовки к монтажу

Под термином монтаж подразумевают совокупность работ, состоящих из отдельных операций по установке на фундамент, сборку, опробованию и пуску механизмов. Законченные работы по монтажу должны обеспечить длительную и бесперебойную работу оборудования в соответствии с заданным процессом производства.

Подготовка к монтажу - проведение подготовительных мероприятий к монтажу оборудования. Эти мероприятия делятся на три группы:

1) мероприятия по получению необходимой технической документации, изучение её и выдача заказов на приобретение и изготовление различных требующихся для монтажа изделий, а также для составления проекта производства работ и подготовки монтажных формуляров. Основными документами при проведении монтажа являются технологическая схема и пояснительная записка;

) мероприятия, выполняемые непосредственно на строительной площадке: а) проверка готовности площадки для производства монтажных работ и приёмка фундамента, а также посадочных мест на стальные конструкции сооружений на которые монтируется пресс; б) сооружение подъездных железнодорожных путей, приобъектных складов, автодорог; в) завоз и расстановка на площадке монтажных механизмов, завоз оборудования на склады; г) организация на монтажной площадке подсобных помещений для хранения инструмента;

) организация работ водой, воздухом, электроэнергией и другими материалами;

) устройство наружного освещения территории;

) мероприятия по обеспечению работающих бытовыми условиями;

Сборка является весьма трудоёмкой и ответственной частью процессов ремонта пресса. Детали в процессе сборки соединяются в соответствии с техническими условиями. Собранные узлы и детали должны обеспечить нормальное взаимодействие механизмов пресса, её мощность и производительность.

Своё рабочее место слесарь-ремонтник должен содержать в чистоте.

Собирают механизмы в порядке, обратном разборке. Детали, снятые при разборке последними, устанавливаются при сборке первыми.

Перед монтажом необходимо очистить детали от предохранительной консервирующей смазки с помощью скипидара или бензина. При очистке деталей от консервирующей смазки запрещается применять металлические предметы и наждачную бумагу. Покрытые поверхности деталей протираются насухо чистой ветошью и смазываются чистым минеральным маслом.

Инструменты и приспособления, применяемые при монтаже пресса, должны соответствовать характеру выполняемой работы и быть в исправном состоянии.

Во время подготовки к монтажу потребитель должен обеспечить:

1) грузоподъёмным оборудованием усилием до 30тс.;

) приемку фундамента от строительных организаций и проверку его на соответствие размерам и требованиям чертежа стройзадания Д0542Н;

) электросварочной аппаратурой;

) плоскошлифовальной машиной для торцевого шлифования;

) домкратом, грузоподъемностью 10 т.;

) уровнем рамным 200-002 ГОСТ 9392.;

) поверочной линейкой ШД 1-2000 ГОСТ 8026.;

) брусом деревянным 150x150x400 мм. -3 шт.;

При приёмке фундамента под монтаж необходимо проверить:

) геометрические размеры фундамента, фундамент должен быть изготовлен по строительным чертежам, разработанным на основании стройзадания, выданного заводом изготовителем;

) основные монтажные оси и высотные отметки;

) наличие зазора для монтажных подкладок между поверхностью фундамента и подошвой устанавливаемого оборудования;

4) наличие гидроизоляции, исключающей проникновение воды внутрь фундамента;

После окончания монтажа фундамент железнить, затем окрасить маслостойкой краской для предохранения от разрушающего действия масла;

После установки фундамента начинается монтаж пресса.

3.2 Документация на проведение монтажных работ

При подготовке к монтажу оборудования должна быть оформлена необходимая документация, которую можно разбить на три группы.

К первой группе относятся документы, которые получает монтажная организация. Это общие виды, разрезы и планы зданий и сооружений; установочные чертежи оборудования, общие виды машин, узловые и рабочие чертежи, заводские инструкции; сметы на строительно-монтажные работы и единичные расценки; пояснительные записки к проекту; сводная ведомость оборудования и списки чертежей по объектам.

Ко второй группе относятся документы, разработанные монтажной организацией и входящие в состав требований технологии. Это проект производства работ; технологические карты и калькуляции стоимости трудовых затрат; ведомости комплектования объекта оборудованием и снабжения метизами, фитингами; перечень изделий, изготовляемых монтажной организацией.

К третьей группе относятся исполнительные документы. Это акты на строительные работы; формуляры на установку и испытание машин, промывку гидравлических и смазочных систем и другие документы, связанные с качеством исполнения работ, которые изготовляются монтажной организацией в процессе производства работ.

Для изготовления монтажных приспособлений и механизмов, такелажного оборудования, стальных конструкций, нестандартного оборудования, фасонных частей и деталей трубопроводов, инструментов, не выпускаемых промышленностью, ремонта монтажного оборудования и т. д. монтажная организация должна располагать соответствующей производственной базой.

Основным технологическим документом для монтажников является проект производства работ, который составляется по рабочим чертежам в соответствии с решениями, принятыми в проекте организации строительства. Проект организации строительства разрабатывается проектной организацией и включает в себя объемы основных работ по годам и способам их выполнения, потребность в кадрах, строительных механизмах, транспортных средствах, временных зданиях и сооружениях, а также сроки начала различных монтажных работ.

Кроме того, должен быть генеральный план строительной площадки перед выполнением монтажных работ, календарные графики поставки оборудования и производства монтажных работ, рациональные способы ведения монтажных работ, эффективные для данного объекта средства механизации работ и схемы расстановки монтажных механизмов, наиболее простые схемы перемещения оборудования в пределах рабочей площадки, ведомости заготовок, фланцев и других изделий, изготовляемых монтажной организацией, ведомости крепежных изделий, ведомости фитингов и труб для системы смазки, пояснительную записку по технике безопасности.

Для бесперебойного хода монтажных работ составляются графики работ. График поставки оборудования составляется совместно с заказчиком и является основным документом по обеспечению производства работ в установленные сроки Параллельно с графиком поставки оборудования составляются графики производства строительных работ, а на основании этих документов, календарный график производства монтажных работ. Для контроля за сроками поставки и изготовления оборудования вводится комплектовочная ведомость поставки оборудования, которая состоит из двух частей: первая часть содержит данные по оборудованию, поставляемому другими предприятиям, вторая - по оборудованию, изготовляемому па месте.

Приёмка монтажных работ оформляется актом. По каждому объекту ведётся журнал учёта выполненных работ. Данные этого журнала служат основанием для оформления акта, в который включаются объёмы работ, выполненных с начала монтажа за вычетом объёмов выполненных и принятых ранее. Акты являются документом, на основании которого производится оплата за выполненные работы.

3.3 Технология монтажных работ

Совокупность операций по установке, сборке, наладке пресса, проводимых в необходимой последовательности, называют технологическим процессом монтажа.

Технология монтажа пресса состоит из следующих этапов:

а) сборка станины

1) на установленные и выверенные по уровню подкладки установить опоры , вместе с фундаментными болтами. Положение опор выверяется по наружной поверхности на горизонтальность в продольном и поперечном направлениях с помощью линейки и уровня или геодезическим прибором, а также на соответствие межцентровым размерам (с проверкой равенства размеров по диагонали) с помощью штангенциркуля или рулетки.

Допускаемые отклонения сопрягаемых с колоннами поверхностей от общей прилегающей горизонтальной поверхности при притянутых опорах не должно превышать 0.15 мм., а межцентровым размерам не более ± 1,0мм;

) после окончательной выставки опор производится цементная заливка фундаментных болтов. Бетон при подливке уплотняется вручную. После заливки дается соответствующая выдержка для гарантированного затвердевания бетона и производится затяжка фундаментных болтов;

) четыре нижние гайки колонн устанавливаются на предварительно смазанные машинным маслом поверхности опор. На гайках следует отметить начало резьбы, также отмечают начало резьбы на сопрягаемых колоннах.

Три бруса 150x150x400 укладываются сверху на три нижние гайки колонн, на которые затем устанавливается траверса нижняя так, чтобы оси отверстий в опорах и траверсы совпадали. Под место, куда будет вводиться колонна, следует поставить домкрат, предохраняющий траверсу от опрокидывания;

)        колонна со стыковочным кольцом вводится в отверстие траверсы, пока резьба колонны не коснется верхнего торца гайки, но так, чтобы не смять заход резьбы. Одновременным вращением гайки и опусканием колонны производится завинчивание гайки до упора.

С помощью рым-болта, ввернутого в стыковочное кольцо, и стержня, введенного в ухо рым-болта, можно предохранить колонну от поворачивания при навинчивании гайки на колонну, при этом стыковочное кольцо должно быть соответствующе стянуто.

После навинчивания гайки на колонну траверса освобождается от поддержки домкратом, колонна своим торцом опирается в дно проточки опоры и фиксируется винтами;

5) после монтажа первой колонны домкрат устанавливается к колонне расположенной по диагонали от первой колонны, траверса поднимается, из под нее удаляется деревянный брус, расслабляются фундаментные болты опоры и осуществляется монтаж второй колонны в последовательности;

) при необходимости, для совмещения посадочных диаметров колонны и опоры , последнюю смещают ударным способом. После монтажа колонны опору притянуть к фундаменту;

7) монтаж последующих колонн осуществляется так, как это описано в пунктах 4) и 5);

8) когда будут смонтированы все 4 колонны следует проверить горизонтальность рабочей поверхности траверсы с помощью уровня в двух взаимно перпендикулярных поверхностях; допускаемое отклонение от горизонтальности не должно превышать 0.2 мм. на длине 1 метр.

В случае, если негоризонтальность рабочей поверхности превышает допустимую, следует произвести выравнивание траверсы путем дополнительной шлифовки торцов стыковочных колец и подтяжки гаек колонн. Окончательную подтяжку гаек осуществить при помощи стяжки;

б) монтаж ползуна матрицы

Перед монтажом ползуна матрицы необходимо проконтролировать чистоту поверхностей колонн, сопрягаемых с направляющими втулками ползунов. Предохранительная консервирующая смазка должна быть смыта. Четыре нижних грязесъемника и фланцы крепящие их, должны быть сняты и одеты на колонны. Ползун матрицы подвешивается горизонтально, затем своими втулками сверху одевается на четыре колонны и опускается вниз до упоров на нижней траверсе. Четыре нижних грязесъемника и фланцы вновь крепятся к ползуну матрицы;

в)монтаж ползуна главного

К ползуну главному и нижней траверсе должны быть прикреплены плиты и проставки. Сверху на проставки, прикрепленные к нижней траверсе, необходимо уложить 3 деревянных бруса 150x150x400: два рядом, один сверху.

Монтаж ползуна главного производится аналогично монтажу ползуна матрицы. Необходимо также предварительно снять 4 нижних грязесъемника и фланцы. Ползун главный опускается на предварительно уложенные деревянные брусья 150x150x400 мм. Четыре нижних грязесъемника и фланцы вновь крепятся к ползуну главному;

г) монтаж траверсы верхней

Предварительно в центральное отверстие траверсы должен быть вставлен и закреплен цилиндр главный узел (Д0542Н.120). Подвешенная на кране траверса должна быть без перекоса надета на колонны пресса и опущена до упора на предварительно установленные на колоннах разрезные кольца. После установки траверсы на колонны навернуты гайки до упора. Стяжки можно установить после сборки всех узлов пресса;

д) монтаж цилиндров ползуна матрицы (ДО542Н.130)

Для монтажа цилиндра ползуна матрицы необходимо в место крепления угольника трубопровода по диагонали ввернуть два рым-болта М24.

Шток цилиндра должен быть зафиксирован от продольного перемещения. Проставка должна быть снята.

Монтаж цилиндров матрицы осуществлять посредством рым-болтов М24 через отверстия в верхней траверсе снизу - вверх.

После закрепления цилиндров, проставки установить и соединить со штоками цилиндров;

е) монтаж устройства предохранения ползуна главного (ДО542Н.230)

Устройство предохранения ползуна главного крепится к траверсе верхней при помощи шпонки и болтов. Пружина удерживает рычаг в вертикальном положении. При помощи крана ползун главный поднимается вверх до соприкосновения со штоком цилиндра главного. В конце подъема кулачок должен отжать рычаг и войти в его паз. Ползун зафиксирован. Теперь можно соединить ползун главный со штоком цилиндра главного;

ж) монтаж клапана наполнения и бака наполнения (ДО542Н.311) и бака наполнения (ДО542Н.321)

Клапан наполнения вставляется в отверстие днища цилиндра главного и крепится посредством болтов. Обеспечить равномерность затяжки болтов.

Бак наполнения устанавливается на днище цилиндра главного, уплотняется посредством шнура и крепится при помощи болтов. Клапан наполнения внутри бака соединить с трубами;

з) монтаж стола подачи массы

Стол подачи массы крепится к ползуну матрицы посредством болтов. Рама стола подачи внизу опирается на регулировочные винты. Кронштейны должны быть установлены совместно с цилиндром каретки засыпной;

и) монтаж каретки засыпной (ДО542Н.150)

Предварительно должен быть установлен цилиндр. Каретка засыпная с установленными на ней контейнером для массы, цилиндром, с присоединенным к нему поворотным держателем узла "Устройство для съема изделий", устанавливается на ролики стола подачи массы. Затем присоединяется цилиндр. Крепление труб узла "Проводка" осуществляется к крайнему поперечному ребру каретки;

к) монтаж бункера (ДО542Н.180)

Бункер устанавливается на двух опорах, которые прикрепляются болтами к раме стола подачи массы. Над бункером устанавливается воронка загрузочная;

л) монтаж бункера засыпного (ДО542Н.220) и питателя ленточного (ДО542Н.210)

После установки рамы опорной на нее следует смонтировать питатель ленточный, и только после этого бункер. Бункер и питатель ленточный соединяются посредством воронки загрузочной;

м) монтаж приводов датчиков перемещений ползуна главного, ползуна матрицы и каретки засыпной (ДО542Н.250), (ДО542Н.260)

На специально отфрезерованные площадки на верхней траверсе установить кронштейн. Соединить корпуса посредством штанг с ползуном главным и ползуном матрицы. Преобразователь 6FX2001 рекомендуется устанавливать при пуске пресса, чтобы избежать повреждения чувствительной аппаратуры.

Аналогичной рекомендации следует придерживаться при установке привода датчика каретки засыпной;

н) монтаж гидропривода и гидроаппаратуры пресса (ДО542Н.310), (ДО542Н.316), (ДО542Н.322), (ДО542Н.323), (ДО542Н.324), (ДО542Н.510)

Узлы гидроаппаратуры установлены на раме узла "Установка гидроаппаратуры".

Перед монтажом гидропривода и гидроаппаратуры следует проверить фундамент на плоскостность. Допускается неплоскостность не более 2 мм.

Монтаж следует начинать с установки бака питательного. Окончательное положение бака питательного определяется после установки сливной трубы от бака наполнения и проверяется на параллельность относительно колонн пресса.

Затем устанавливается рама опорная. Установка насосов осуществляется на резиновые амортизаторы и крепится к раме опорной болтами. Следует обращать внимание на маркировку насосов. После этого можно монтировать узел "Установка гидроаппаратуры".

Внутри рамы опорной монтируются «установка гидроаккумулятора», и установка насосов. Баллоны гидроаккумулятора внизу своей сферической поверхностью опирается на кронштейн. Между сферической поверхностью баллона и поверхностью в кронштейне должно быть проложено резиновое кольцо.

Установка насосов осуществляется на резиновые амортизаторы и крепится к раме опорной болтами. Следует обращать внимание на маркировку насосов;

о) монтаж трубопроводов (ДО542Н.330), (ДО542Н.340), (ДО542Н.350)

Сборка, сварка и испытания трубопроводов выполняются на заводе-изготовителе, которые затем отгружаются потребителю. Потребитель производит повторную сборку трубопроводов по вышеуказанным чертежам и гидравлической схеме.

После завершения монтажа трубопроводов производятся их испытания согласно технических требований в чертежах. При обнаружении течи в соединениях трубопроводов во время испытаний, необходимо ее устранить (заменить уплотняющие прокладки, кольца, подтянуть резьбовые соединения и т.д.) и испытания повторить;

п) подготовка к первоначальному пуску и пуск.

3.4 Испытания

Испытание пресса ДО542Н производится путём прокручивания механизма вручную, вхолостую и под нагрузкой. Нагрузка должна быть вначале небольшой, а затем постепенно увеличиваться до нормальной. Переход к каждому новому этапу испытаний может производиться только при удовлетворительных показателях на предыдущем этапе. При испытании оборудования необходимо предусмотреть ограждения, блокировочные устройства и другие меры защиты для предотвращения несчастных случаев.

Пресс считается подготовленным к наладке при выполнении следующих условий:

) все механические, гидравлические и электрические узлы собраны, смонтированы и проверены на соответствие с нормами точности технических требований сборочных чертежей и технического задания Т32.041.05748602.023-92;

) помещение, в котором установлен пресс, должно соответствовать требованиям для прессовых цехов огнеупорного производства, в том числе температура окружающей среды должна быть от +10°С до +30°С;

) все трубопроводы высокого и низкого давления осмотрены, затяжка гаек в соединениях труб и колодках проверена;

) проверить чистоту внутреннего пространства масляных баков: в баке не должно быть частиц грязи или жидкости, а также остатков прежних заполнений;

) заполнить баллоны гидроаккумулятора азотом согласно инструкции;

) заполнить станцию густой смазки, узел Д0542Н.360, консистентной смазкой в соответствии с указаниями Руководства;

) заполнить бак питательный маслом до верхней отметки маслоуказателя. Рекомендации по маркам масел даны Руководству.

Масло можно закачивать только через фильтр, установленный в узле Д0542Н.324 "Блок фильтрации и охлаждения", где имеется присоединение для внешней заправки. Холодное масло перед заправкой следует подогреть, чтобы облегчить прохождение через фильтр.

После пуска пресса уровень масла может опуститься вследствие заполнения трубопроводов и пустот в резервуарах, поэтому, установив все механизмы в исходное положение, бак питательный следует дополнить до первоначальной верхней отметки.

Перед пуском пресса включить обогрев масла, для этой цели в бак питательный вмонтированы обогреватели.

В документах по обслуживанию пресса должна быть отметка о марке заливаемого масла, его количестве и дате заполнения бака питательного;

) подключить охлаждающую воду, температура охлаждающей воды должна быть 8...28°С. давление Р=1,5...2,5 кгс/см2, предполагаемый расход воды - 1,5...2,5 м3/час;

) подключить сжатый воздух, давление сжатого воздуха должно быть в пределах 4...6 кгс/см2. Предполагаемая потребность - 90 дм3/мин;

) места подключения заправки бака питательного маслом, охлаждающей воды, подвод воздуха указаны в чертеже Д0542Н., а также в чертежах Д0542Н.324-02 , Д0542Н.340 , Д0542Н.361;

) перед пуском пресса выполнить все требования, относящиеся к первоначальному пуску;

) перед первым пуском пресса должны быть установлены верхние и нижние прес-штемпели, которые ограничивают ход поршня главного цилиндра вниз в случае несрабатывания конечного выключателя;

) рекомендуется придерживаться следующей последовательности при первом пуске пресса:

включить вводной выключатель;

включить обогрев масла, подождать, пока не будет достигнута начальная температуры масла равная +25°С;

установить на гидроклапанах давления и разгрузочно-предохранительной аппаратуре пониженное давление;

открыть все задвижки на всасывании насосов и на подводе охлаждающей воды;

включить управление прессом;

проверить направление вращения вала электродвигателя насоса охлаждения и фильтрации (узел Д0542Н.324) и главных насосов (узел Д0542Н.323); для чего последовательно по одному на короткое время включить электродвигатель, если направление вращения неверно, сразу отключить электродвигатель и сменить подключение фаз;

включить насос охлаждения и фильтрации (узел Д0542Н.324) и дать поработать один час;

включить главные насосы (узел Д0542Н.323) проверить нет ли вибрации, если есть, то устранить причину вибрации;

ручным управлением выполнить движения отдельно каждым механизмом пресса на минимальных скоростях, проверив при этом паспортные хода и настройку конечных выключателей;

открыть поочередно все воздухоспускные клапаны, посредством которых удалить воздух из трубопроводов и гидроцилиндров, до тех пор пока не исчезнет пена в масле;

дозаполнить бак питательный, если в этом появилась необходимость;

ручным управлением дать безостановочно проработать каждому механизму в течение 10-20 минут;

по гидравлической схеме настроить гидравлические клапаны давления и разгрузочно-предохранительную аппаратуру на рабочее давление: медленно, прибавляя по 10 кгс/см2, довести давление до 320 кгс/см2;

проверить давление в гидроаккумуляторе;

проверить работу блокирующих устройств;

провести работы на прессе в режиме "Наладка";

в режиме "Автоматика" произвести прессование дерева;

приступить к испытанию пресса согласно программе испытаний;

После испытания пресс сдаётся в эксплуатацию.

3.5 Сдача в эксплуатацию

Пресс будет работоспособен за установленный срок службы с сохранением установленных предприятием изготовителем основных параметров при выполнении требований по настройке и регулировке гидроаппаратуры, указаний, касающихся порядка и последовательности операций при пуске пресса, указаний мер безопасности, указаний, касающихся требований к исходному материалу для прессования и инструменту, положений, касающихся причин возникновения неисправностей при работе пресса и мер по их устранению, а также указаний руководства по эксплуатации электрооборудования ДО542.400, по настройке и регулировке электрооборудования. Работоспособность пресса сильно зависит от соблюдения и выполнения планово предупредительного технического обслуживания пресса. При этом особое внимание следует обратить на работу системы смазки, а также конструкции предохранения от попадания пыли и абразивных частиц в сопряжения поверхностей скольжения штоков гидроцилиндров, направляющих колонн и их втулок, в узлы подшипников качения, в электрические переключатели и т.д. С этой целью в конструкциях применяются резиновые грязесъёмники, защитные кожуха и уплотнители. Необходимо тщательно следить за исправным состоянием этих устройств и своевременно заменять изношенные.

.6 Технологические карты

Основу технической документации составляет технологическая карта. Карты разрабатываются на каждый агрегат или на отдельные сложные узлы. Она должна содержать график производства работ с данными об объёме, стоимости работ и потребность в рабочих, потребность в материалах и полуфабрикатах, потребность в оборудовании, инвентаре и приспособлениях, описание операции, связанных с такелажем и разгрузкой деталей оборудования, технологическую схему сборки, описание операции контроля сопряжения узлов или групп, положения пресса относительно здания и других прессов, указания о зазорах, натягах, величинах свободного хода и др., описание и последовательность операций по пуску и наладке пресса, и т.п.

.7 Трудоемкость монтажных работ

В основу нормативов трудоёмкости положена пропорциональная зависимость затрат труда на ремонт оборудования от его конструктивных особенностей, которая выражается в единицах ремонтной сложности (К.р.с.). Категория ремонтной сложности любого вида оборудования определяется путём сопоставления трудоёмкости его капремонта и капремонта эталонного механизма и выражается формулой

Крс = Ткр / Чкр

где, Ткр - трудоёмкость монтажа данного оборудования (чел/час),

Чкр - нормативная трудоёмкость капремонта механизма эталона или его категория ремонтной сложности.

Ремонт пресса - вторая категория ремонтной сложности. Единица трудоёмкости составляет 1 / 11 часть от трудоёмкости ремонта пресса. (R).

R = 480 / 11 =44 норма/часа

У пресса ЛАЙС категория сложности 25 , следовательно:

Т.к.р. = 25 * R = 25 * 44 = 1100 чел*часа.

4. Охрана труда

.1 Охрана труда и техника безопасности при проведении монтажных работ

Организация охраны труда на предприятии является одной из важнейших задач и обязанностей администрации, которая должна обеспечивать надлежащее техническое оборудование всех рабочих мест и создавать условия работы, соответствующее требованиям охраны труда. Конкретная работа в области охраны труда предусматривается коллективным договором. Трудовой кодекс РФ возлагает на администрацию предприятия или её соответствующие службы проведение инструктажа рабочих и служащих по вопросам безопасности труда, а также осуществление постоянного контроля за соблюдением работниками всех нормативных документов по охране труда.

Рассмотрим конкретные указания мер безопасности:

) при установке пресса на месте эксплуатации;

) при монтаже пресса на месте установки необходимо соблюдать:

действующие правила техники безопасности при работе с прессами для изготовления огнеупорных изделий; правила безопасности, изложенные в данном руководстве, руководстве по эксплуатации электрооборудования

Д0542Н.400.РЭ, в технических требованиях чертежей; а также правила техники безопасности для выполнения отдельных видов работ;

инструменты и приспособления, применяемые при монтаже пресса должны соответствовать характеру выполняемой работы и быть в исправном состоянии;

грузоподъемные приспособления, тросы и цепи должны быть проверены и находиться в исправном состоянии;

резку и гибку труб и другие подготовительные работы следует выполнять на земле перед их сборкой на прессе;

запрещается выполнять газосварочные работы на аппаратах и

трубопроводах, находящихся под давлением;

монтаж, демонтаж, испытания и эксплуатация сосудов, работающих под давлением, должно соответствовать инструкциям по монтажу, пуску и

регулированию на месте их применения.

Помещение для пресса должно быть обеспечено необходимыми

средствами пожаротушения. Запасной выход из помещения должен быть постоянно свободным, открытым и освещенным.

) требования безопасности при подготовке к работе.

Перед началом работы обслуживающий персонал должен изучить конструкцию пресса, все требования безопасности согласно

"Правил безопасности в огнеупорном производстве".

К самостоятельной работе на прессе должны допускаться обученные рабочие, подходящие по своим физическим данным, проинструктированные по технике безопасности и знающие, как вести себя в экстремальных случаях, и умеющие предотвращать их.

К самостоятельной работе на прессе должны допускаться обученные рабочие, подходящие по своим физическим данным, проинструктированные по технике безопасности и знающие, как вести себя в экстремальных случаях, и умеющие предотвращать их;

) требования безопасности при работе пресса.

Запрещается эксплуатация пресса при:

неисправных измерительных приборах

неисправных блокирующих устройствах;

неисправных предохранительных устройствах;

наличии течи, "потения" в сварных швах соединений труб и поверхностей цилиндров, просачивании рабочей жидкости через уплотнительные соединения сверх допустимого, установленного в технической характеристике;

наличии воздуха в гидросистеме;

частичном отсутствии деталей крепежа в уплотнениях на гидро-воздухопроводах и на механических узлах;

нарушенном заземлении пресса;

уровне масла в баке гидросистемы ниже нижней отметки уровня масло-

указателя;

температуре масла в гидросистеме выше плюс 60°С;

возрастании давления рабочей жидкости свыше допустимого;

срабатывании аварийной сигнализации;

Для безопасного обслуживания пресс снабжен:

устройством (фиксатором) предохранительным для удержания ползуна главного в верхнем положении, сблокированным с системой пуска пресса;

фотоэлектрической защитой открытого рабочего пространства пресса, отключающей главный привод при прерывании световой завесы во время движения главного ползуна;

защитным механическим ограждением подвижных механизмов пресса и узлов гидравлики, двери в котором, обеспечивающие доступ к подвижным механизмам для обслуживания, предохранены конечными выключателями, отключающими главный привод при открывании дверей;

электроконтактным термометром, отключающим главный привод, если температура рабочей жидкости ниже 20°С или выше 55°С;

блокировками, отключающими главный привод при превышении предельно допустимой мощности, при отсутствии давления воздуха, при загрязнении приемных фильтров свыше допустимого;

емкостными датчиками, останавливающими автоматический цикл при незаполненном до определенного уровня контейнере для массы;

вводным выключателем ручного действия с устройством для его запирания и сблокированного с дверцами электрошкафа таким образом, что исключается включение напряжения при открытых дверцах электрошкафа;

нулевой защитой электрооборудования, исключающей независимо от положения органов управления самопроизвольное включение механизмов пресса при восстановлении внезапно исчезнувшего напряжения;

кнопкой "Общий стоп", установленной на пульте управления, легко до-ступной оператору, и обеспечивающей отключение и быстрый остановке машины независимо от режима ее работы;

электронно-цифровыми устройствами для измерения и указания на световом табло положений ползуна главного, ползуна матрицы и каретки за-сыпной с точностью до десятых долей миллиметра;

болтами заземления для надежного заземления узлов пресса и электро-шкафов, удовлетворяющими требованиям ПУЭ;

устройством для смены матрицы.

) требования безопасности при проверке технического состояния пресса и обслуживанию.

Все работы по осмотру и проверке состояния оборудования должны проводиться специалистами при предварительном оповещении оператора о проводимых работах.

Во время работ по техническому обслуживанию, по устранению неполадок и ремонтам пресс должен быть отключен, на вводном выключателе должна висеть табличка "Не включать! Работают люди".

После каждой разборки и ремонта узлов необходимо производить контрольные движения для проверки правильности выполненных работ и ис-ключения непредвиденных самопроизвольных движений на замедленной ско-рости в импульсном режиме.

Во всех случаях возникновения аварийной ситуации пресс должен быть немедленно остановлен, неисправность устранена и сделана соответствующая отметка в журнале.

Указания мер безопасности по электрооборудованию приведены в "Руководстве по эксплуатации электрооборудования" Д0542Н.400.

4.2 Наряд-допуск

Наряд-допуск выдается на проведение работ повышенной опасности на предприятиях и в организациях металлургии.

Выдающий наряд-допуск несёт ответственность за безопасность производства работ, за достаточность указанных в наряде-допуске мер безопасности.

Допускающий к работе несёт ответственность за выполнение мероприятий по обеспечению безопасности труда, указанных в наряде-допуске, за предупреждение лиц, обслуживающих действующее оборудование.

Производитель работ несёт ответственность за безопасное ведение работ, в соответствии с технической документацией.


.3 Пожарная безопасность

Сотрудники ответственные за обеспечение пожарной безопасности помещений назначаются приказом директора учреждения. Лица, назначенные приказом, являются ответственными за обеспечение пожарной безопасности помещений или участков территории. Ответственные за пожарную безопасность обязаны в конце рабочего дня производить ежедневный осмотр закрепленных за ними объектов.

При осмотре следует контролировать уборку помещений:

корзины для сбора мусора должны быть пусты;

находящиеся в помещении электроприборы обесточены, штепсельные вилки вынуты из электрических розеток;

окна, форточки и фрамуги закрыты и зафиксированы;

проходы и выходы из помещений свободны и оборудованы знаками пожарной безопасности и так же планами эвакуации;

электрическое освещение, за исключением дежурного освещения, отключено;

входные двери закрыты;

автоматическая сигнализация включена и исправна;

первичные средства пожаротушения должны находиться в специально отведенных местах и доступ к ним должен оставаться свободным.

Если при осмотре выявлены нарушения настоящих правил, следует незамедлительно доложить о нарушениях ответственному за пожарную безопасность лицу.

Предпринять действия по устранению выявленных в ходе осмотра нарушений.

Для предотвращения возникновения пожаров от электрического тока, искрения, нагрева токоведущих частей, дугового разряда и т.п., необходимо неукоснительно соблюдать «Правила техники безопасности при эксплуатации электроустановок потребителей», инструкции по эксплуатации электрических приборов. Все помещения должны быть обеспечены первичными средствами пожаротушения согласно нормам и правилам пожарной безопасности. Средства пожаротушения должны размещаться в пожарных шкафах, и обязательно отмечены соответствующим знаком пожарной безопасности. Все имеющиеся первичные средства пожаротушения должны постоянно содержаться в исправном состоянии и регулярно, в соответствии с техническими условиями эксплуатации, испытываться на пригодность.

Сотрудники учреждения обязаны выполнять правила пожарной безопасности.

.4 Бирочная система

Назначением бирочной системы является обеспечение чёткой и безопасной организации труда между ремонтным персоналом и обслуживающим персоналом данного оборудования. Эта система является обязательной для всех цехов. В основу системы положен принцип создания полной безопасности и гарантии ремонтного и дежурного персонала от случайного включения механизма во время производства работ. Обслуживающий персонал лишается права включать оборудование в течение всего времени нахождения на нём ремонтного персонала. Перед допуском ремонтной бригады на агрегат он должен быть надёжно обесточен на время производства работ с обязательным документальным оформлением в специальном журнале соответствующими лицами и выдачей бирки ремонтной бригаде на разборку оборудования. Бирка даёт право ремонтному дежурному персоналу на остановку и пуск механизма, связанных с разборкой вращающихся частей.

Заключение

При выполнении курсового проекта была спланирована организация монтажа гидравлического пресса «Лайс», где описывалась назначение пресса, принцип его работы, устройство и работа основных частей, техническая характеристика, грузоподъемные механизмы, используемые при монтаже, а так же был произведен расчет такелажной оснастки и грузоподъёмных механизмов, необходимых при монтаже.

Неотъемлемой частью было рассмотрение организационной части, где описывалось подготовка монтажных работ, техническая документация, методы и технологии монтажа, установка и выверка пресса, контроль сборки, испытания в холостую и под нагрузкой.

Таким образом, в курсовом проекте было спланированно и организованно мероприятие по монтажу гидравлического пресса «Лайс», что являлось достижением цели технического задания на проектирование.

Библиографический список

. Технический паспорт пресса.

. Под ред. Проф. В.Я. Горфинкеля, В.А. Швандара - М.: ЮНИТИ-ДАНА, 2006г.

. Под ред. О.И. Волкова - М.: ИНФРА-М, 2002г.

. Байсоголов В.Г., Галкин П.И. «Механическое и транспортное оборудование заводов огнеупорной промышленности», 1972г.

Похожие работы на - Разработка технологии монтажа гидравлического пресса 'Лайс'

 

Не нашли материал для своей работы?
Поможем написать уникальную работу
Без плагиата!
Без нейросетей!