Электрические методы исследования скважин
Реферат
Электрические методы исследования
скважин
Содержание
Введение
Метод потенциалов собственной поляризации
Диффузионное распределение ионов
Метод электрических сопротивлений (КС)
Кажущееся сопротивление (КС)
Электрические зонды КС
Стандартный зонд
Электрокаротаж в колонне
Микрозондирование (МКЗ)
Боковое каротажное зондирование (БКЗ)
Интерпретация диаграмм
Определение истинного удельного сопротивления пласта ρп
Определение характера насыщения пласта
Боковой каротаж (БК)
Индукционный каротаж (ИК)
Ядерно-магнитныи каротаж (ЯМК)
Физические основы ядерно-магнитного каротажа
Взаимодействие радиоактивных излучений с веществом
Гамма - каротаж (ГК)
Отбивка забоя (локатор муфт и ГК)
Нейтронный гамма-каротаж (НГК)
Диаграмма НГК
Нейтрон-нейтронный каротаж (ННК)
Импульсный нейтронный каротаж (ИНК)
Литература
Введение
Исследования электрическими методами (каротажи-франц.
carottage, от carotte - буровой керн, буквально - морковь) геофизические
исследования скважин, выполняемые с целью изучения геологических разрезов и
выявления полезных ископаемых. Термин "каротаж", вошедший в практику
горного дела, не вполне соответствует описываемому понятию. Вместо термина
"каротаж" в научно-технической литературе также используются термины:
геофизические методы исследования скважин, промысловая геофизика, буровая
геофизика. Электрокаротаж проводится в буровых скважинах до спуска
эксплуатационной колонны труб. Время для проведения исследований, отведенное по
проекту строительства скважины, составляет всего 2-3 суток после окончания
бурения. Записанные диаграммы используются в течение всего периода эксплуатации
скважин (20-30 лет). Все геологические и технические работы в скважинах
проводятся с обязательным использованием диаграмм электрического каротажа. По
ним определяются многие параметры пластов, решаются различные геологические
задачи: отмечаются глубинные границы каждого пласта с точностью до десятых
долей метра, определяется литологическая характеристика пласта, выделяются
пласты-коллекторы, в которых возможно содержание флюидов, определяется характер
насыщения пластов-коллекторов (нефть, вода, газ) и величины
емкостно-фильтрационных параметров (пористость, проницаемость) и коэффициент
нефтенасыщенности пластов.
Электрический каротаж является обязательным для любой
категории скважин. Без этой документации скважина не может быть сдана в
эксплуатацию.
После спуска эксплуатационной колонны данные электрические
методы не применимы, т.к. электрическое поле электродов скважинных приборов
через металлическую колонну не проходит. Но на сегодняшний день существует
электрокаротаж в колонне.
Из всех категорий геофизических методов исследования скважин
электрометрия отличается самыми высокими скоростями записи диаграмм - около
2500 м/час.
Метод
потенциалов собственной поляризации
Методы потенциалов самопроизвольной поляризации горных пород
основаны на изучении естественных электрохимических процессов, протекающих на
границах между скважиной и породами, а также на границах между пластами
различной литологии в разрезе скважины.
Электрохимическая активность может иметь
диффузионно-адсорбционный, окислительно-восстановительный и фильтрационный
характер.
Диффузионно-адсорбционная ЭДС возникает на границе
растворов различной концентрации (пластовые воды и фильтрат промываемой
жидкости) и границе раствор и горной породы. Пластовые воды являются
электролитами, поскольку в них присутствуют ионы растворенных солей, в
большинстве случаев - ионы Na и Cl. Ионы диффундируют (распространяются) в
стороны раствора меньшей концентрации, каким является пресная вода промывочной
жидкости. Анионы (ионы Cl) двигаются быстрее, чем катионы (ионы Na). Поэтому в
скважине напротив проницаемых пород (коллекторов) возникает объемный
отрицательный заряд.
Катионы адсорбируются (концентрируются) на поверхности
твердых минеральных высокодисперсных частиц, эта поверхность заряжается положительно.
Таким образом, диффузионно-адсорбционная активность возрастает с повышением
содержания глинистого материала, и в скважинах против однородных
высокодисперсионных глинистых пород создается наибольшая положительная величина
разности потенциалов.
Наименьшими значениями диффузионно-адсорбционной активности
характеризуются чистые песчаные и карбонатные породы с высокой пористостью и
проницаемостью
Диффузионное
распределение ионов
На контакте двух растворов возникает ЭДС ЕД, величина
которой определяется по формуле Нернста:
R -
универсальная газовая постоянная, Т - абсолютная температура, -
валентность электронов, - число Фарадея, (96500 кулон/моль)
С - концентрация
раствора,- подвижность положительных ионов (катионов),
v -
подвижность отрицательных ионов (анионов)
Если Сп = Сс, то lg1=0 и ЭДС возникать не
будет.
Окислительно-восстановительные потенциалы возникают в горных породах, содержащих минералы
с электронной проводимостью. При контакте последних с раствором происходит
реакция окисления - потеря электронов Fe+2®окисление®Fe+3+ē. Поверхность пород при этом заряжается
положительно, а раствор - отрицательно.
FeS2+7O2+2H2O=2FeSO4+2H2SO4.
Фильтрационные потенциалы возникают при течении жидкости через горные породы под давлением.
Жидкость увлекает часть ионов диффузного слоя. В результате капилляр заряжается
положительно, а на его конце с высоким давлением возникает отрицательный
потенциал. Таким образом, между концами капилляра возникает разность
потенциалов течения - фильтрационная ЭДС.
Диаграммы методов ПС характеризуют изменения соответствующих
потенциалов - диффузионно-адсорбционных, окислительно-восстановительных, фильтрационных.
Наибольшее распространение получили методы, основанные на
диффузионно-адсорбционной активности.
Диаграмма ПС не имеет нулевой линии. Горизонтальный масштаб
зарегистрированной кривой ПС указывается числом миллиВольт, приходящимся на
отрезок 2 см. Знаками "+" и "-", помещаемыми по краям этого
отрезка указывается полярность кривой ПС. Отсчет берут справа налево. Обычно
знаки "+" и "-" расположены так, что отклонение кривой
ПС влево означает уменьшение потенциала, вправо - его увеличение.
Ввиду отсутствия на диаграмме ПС нулевой линии в качестве условной
нулевой линии, от которой отсчитывают отклонение кривой ПС в мВ, используют
линию глин, проводя ее по участкам кривой с наиболее положительными показаниями
ПС, соответствующим интервалам разреза, которые представлены глинами (в
терригенном разрезе).
Границы пластов на кривой ПС соответствуют точкам перегиба. При мощности пласта,
превышающей 3 диаметра скважины (>20м), границы пластов составляют половину
максимального отклонения амплитуды ПС. Чем меньше мощность пласта, тем больше
смещаются границы пласта к максимуму кривой.
Таким образом, метод потенциалов ПС является одним из основных
методов электрометрии для исследования разрезов нефтяных и газовых скважин.
Он позволяет решать круг геологических задач, связанных с
изучением литологии разреза, установлением границ пластов, проведением
корреляции разрезов, выделением в разрезах пород-коллекторов, определением
минерализации пластовых вод и фильтрата пластовых вод и фильтрата промывочной
жидкости, определением коэффициента глинистости, пористости и проницаемости и
нефтегазонасыщения.
Метод
электрических сопротивлений (КС)
Электрическое сопротивление любого материала определяется по
известной формуле:

где l - длина проводника, - поперечное сечение,
ρ - удельное сопротивление
- показатель качества материала.
Величина ρ определяется для 1 м3
материала, поэтому считается, что она не зависит от геометрических размеров
пород, тем более что длина и сечение.
Пласта это понятия в скважинных условиях неопределенные. Если
называть его точнее, то КС - это метод кажущихся удельных сопротивлений.
Метод относится к категории электрических, поэтому исследования
проводятся в необсаженных колонной скважинах, в буровых. Применяется он для
решения одной из важнейших задач нефтепромысловой геологии: определение
характера насыщения пластов-коллекторов.
Нефтеносные пласты имеют высокие сопротивления, водоносные -
низкое. Горные породы в сухом виде обладают большим электрическим
сопротивлением.
В пласте-коллекторе обязательно содержится какое-то
количество воды. Даже в нефтяном пласте небольшое содержание воды (5-15%)
сильно снижает общее сопротивление пласта.
электрический каротаж скважина горная порода
Сопротивление можно измерять во включенной цепи по закону Ома
и без тока, по размерам и качеству проводника






Электрический каротаж проводится посредством электрических полей,
которые создаются в скважине оголенными электродами в буровом растворе.
Электроды эти представляются в виде концов жил каротажного кабеля, и считаются
точечными.
В области геофизики применяются данная формула:
Где
- коэффициент зонда
Кажущееся
сопротивление (КС)
Скважинная среда в реальности является сложной. Она состоит
из многих компонентов, которые охватывает большое пространственное поле:
- пласт, основной объект изучения,
- сопротивление соседних пород сверху и снизу
(вмещающие породы),
- буровой раствор,
заполняющий скважину.
Кроме того, на измеряемую величину искажающим образом
действуют

- диаметр скважины,
- размер каротажного (трехэлектродного) зонда,
- сопротивление зоны
проникновения бурового раствора.
Вследствие искажающего влияния перечисленных факторов не
удается записать на диаграмму точную величину сопротивления какого-то пласта.
Эту искаженную величину называют кажущимся (приблизительным)
сопротивлением.
Электрические
зонды КС
Зонд - это трехэлектронная скважинная установка для
измерения удельного электрического сопротивления скважинной среды.
В электрической схеме КС участвует 4 электрода - два токовых
(АВ), для питания среды и два измерительных (MN) для
измерения один из этих четырех электродов (любой) заземляется на поверхности.
Зонд является окончанием скважинного 3-х жильного кабеля.
Расстояние между электродами зонда не одинаковые. Одно из них
малое (l), другое большое (L); L / l=
/4 - 10/
В зависимости от соотношения расстояний между электродами
различают градиент-зонды и потенциал-зонды.
§ АВ - одноименные электроды (парные), AM -
разноименные (непарные),
§ MN - одноименные электроды (парные), BN -
разноименные (непарные).
§ Потенциал зонд - расстояние между парными
электродами АВ и MN больше, чем между непарными. Если один из парных электродов
потенциал-зонда удален в бесконечность, то такой П-3 называется
идеальным.
§ Градиент-зонд - расстояние между парными
электродами меньше, чем между непарными. Градиент-зонд с очень малым
расстоянием MN называется идеальным.
Стандартный
зонд
Для каждого нефтяного района выбирается один определенный
зонд в качестве стандартного. Это необходимо для сопоставления разрезов в
скважине по данному месторождению, для корреляции. Стандартный зонд выбирается
в самом начале разбуривания месторождения.
К нему предъявляются определенные требования:
1) Кажущееся удельное сопротивление должно по величине как
можно ближе подходить к истинному сопротивлению пласта
. Хорошая дифференциация разреза.
. Четкость отбивки границ пластов.
При выборе стандартного зонда исходят из особенностей
геологического строения данного месторождения: преобладание карбонатных или
терригенных пластов, их толщины. Кроме того, учитываются удельные сопротивления
буровых растворов, а также средние диаметры скважин (буровых долот).
В стандартном зонде расстояние между сближенными электродами
берется максимальное, но при котором кривая еще не сглаживается.
В районах Волго-Уралъской нефтяной провинции в качестве
стандартного принят потенциал-зонд В 7,5 А 0,75 М, а с 2000 г. cтал
применяться его аналог - потенциал-зонд N 11 M 0,5 A.
Потенциал - зонд имеет некоторые преимущества.
. Симметричность форм кривой для отдельных пластов.
. Расстояние между электродами не оказывает существенного
влияния на форму кривой.
Пример выделения пластов коллекторов по электрическим методам
ПС и КС. В интервале 1655-1664м и 1676,2-1683,8 выделены пласты коллекторы.
пласт - по показаниям КС нефтеносный;
пласт - водоносный.
Электрокаротаж
в колонне
В последнее десятилетие особое внимание привлек к себе
электрокаротаж в колонне. Это связано с тем, что многие нефтяные и газовые
месторождения находятся на поздней стадии разработки. В связи с этим необходимо
максимальное повышение коэффициента нефтеизвлечения.
Применение данного метода позволяет надежно определить
текущее нефтенасыщение в процессе эксплуатации, что важно для поисков нефти и
газа на длительно разрабатываемых месторождениях и выявления невыработанных
участков пластов.
Промышленные исследования электрическими методами в
скважинах, обсаженных металлическими колоннами, в России начались в 1995 г.,
хотя возможность таких измерений была предложена профессором Л.М. Альпиным еще
в 1939 г. Прибор ЭКОС (электрический каротаж обсаженных скважин), созданный ООО
НППГТ "Геофизика" (г. Пятигорск), является аналогом приборов компаний
Schkimberger - CHFR (Cased Hole Formation Resistivity) и Baker Hughes - TCRT
(Through Casing Resistivity Tool).
Зонд ЭКОС обеспечивает измерение удельных электрических
сопротивлений в диапазоне от 0-200 Омм (аппаратура ЭКОС-31-7М) в скважинах,
заполненных проводящей жидкостью на водной основе и в смеси с нефтью, а также в
"сухих" скважинах.
В аппаратуре ЭКОС используют зонд, состоящий из двух токовых
и трех измерительных электродов. В колонну через каждый токовый электрод
поочередно подают электрический ток. При каждой из подач тока измеряют
потенциал электрического поля колонны и определяют УЭС по соответствующей
формуле.
Прибор ЭКОС-31-7 был приобретен и опробован ОАО
"Когалымнефтегеофизика" на месторождениях Западной Сибири. В новых
скважинах по данному методу подтверждается довольно высокая сходимость
показаний электрического сопротивления в открытом стволе по боковому каротажу и
в обсаженной скважине данным прибором. Данные исследования представлены на
рисунке 1.
Рис.1. Сопоставление данных каротажа ЭКОС-31-7 с данными
бокового каротажа и ГК. Западно-Салымское месторождение.
Есть ограничения в технологии выполнения измерений при
значительных нарушениях целостности колонны, разделения интервалов, насыщенных
нефтью и обводненных пресными водами, а также с отсутствием возможности
получения достоверных значений удельного электрического сопротивления в
многоколонных конструкциях скважин.
С 2007 г. в ГК "Таймзиск" разрабатывается
модификация дивергентного каротажа, получившая название метода
наноэлектрического каротажа (НЭК). Типичное сопротивление пород примерно в
миллиард раз больше, чем сопротивление обсадной колонны. Это означает, что
измеряемая разность потенциалов находится в диапазоне нановольт.
Еще один метод измерения УЭС в обсаженных стальной колонной
скважинах f-аппаратурный комплекс ЭКРАН - внедрен в опытное производство в
марте 2007г. на предприятии ЗАО "ПГО "Тюменьпромгеофизика".
В аппаратуре ЭКРАН реализован двухэтапный принцип измерения,
когда размер утечки тока по колонне учитывается с помощью дополнительной
калибровки (по принципу прибора CHFR).
Преимущество технологии ЭКРАН - большая глубинность
исследования (более 4 м), что минимизирует влияние ближней зоны, а благодаря
созданию по периметру колонны эквипотенциальной поверхности метод исключает
влияние скважинной жидкости. Существует возможность определения текущего
насыщения в низкопористых коллекторах, где применение ядерно-физических методов
неэффективно.
Проведенные исследования с использованием аппаратурного
комплекса ЭКРАН показали высокую точность определения УЭС горных пород. Это
позволяет использовать существующие интерпретационные схемы и алгоритмы
обработки для получения оценки текущей насыщенности пласта.
К ограничениям технологии следует отнести большой диаметр
скважинного прибора, что исключает работу через лифтовые трубы, неширокий
диапазон измерения удельного сопротивления, точечное производство измерений (от
трех минут) для обеспечения хорошего контакта электродов с обсадной колонной, а
также необходимость очистки стенок колонны перед исследованием.
Данный метод выполняет следующие задачи:
o При исследовании старых
скважин:
·обнаружение и оценка пропущенных и
неразработанных пластов;
·проведение повторной оценки продуктивности после
многолетней эксплуатации.
o При исследовании новых
скважин:
·измерения в скважинах высокой аварийной опасности,
в которых нельзя проводить;
·исследования в открытом стволе из-за существующих
условий. При контроле за поведением продуктивного пласта;
·оценка изменений в зоне водонефтяного контакта;
·оценка изменений текущего коэффициента насыщения;
·возможность проводить геофизические исследования
на действующих месторождениях, обсаженных высокопроводящими стальными трубами.
Микрозондирование
(МКЗ)
Это разновидность метода КС, основанная на применении зондов
очень малых размеров. Расстояния между электродами зонда составляет по 2,5 см.
Создается очень маленькое электрическое поле, которое едва
касается пластов. Микрозонд имеет рессорную конструкцию, благодаря которой
электроды прижимаются к стенке скважины. Они вмонтированы в башмак из плотной
резины, который экранирует влияние бурового раствора (рис.11).
А 0,025 М 0,025 N градиент - микрозонд
(ГМЗ),
А 0,05 N - потенциал - микрозонд (ПМЗ).
У ПМЗ третий электрод (М0) удален от трех электродов на
большое расстояние (1-2 м), которое считается бесконечностью. По этой причине
(MN>>AN) ПМЗ считается идеальным зондом.
Вследствие малой величины электрического поля на показания МЗ
не влияют соседние пласты, поэтому переходные границы между пластами (кровля,
подошва) отмечаются почти горизонтально.
На показания МЗ оказывают влияние буровой раствор и глинистая
корка на стенке скважины, которая образуется за счет фильтрации бурового
раствора (глинистый раствор) в пласт-коллектор за счет избыточного
гидростатического давления столба жидкости в стволе скважины.
Назначение МКЗ можно определить четырьмя пунктами:
) Точная отбивка границ пластов. Это связано с более
горизонтальной конфигурацией границ по сравнению с диаграммами других геофизических
методов (ПС, КС и др.) Точность глубинных отметок границ продуктивных пластов
необходима при подсчете запасов нефти.
) Выделение тонких непроницаемых прослоев величиной 10-40 см
(глины, аргиллиты, гипс) в пластах-коллекторах. Они бывают незаметны на
диаграммах других методов. Эти прослои являются помехой для равномерного
вытеснения нефти, особенно при контроле за подъемом ВНК.
) Выделение и уточнение пластов-коллекторов в разрезе
пробуренной необсаженной скважины. Проницаемые интервалы отмечаются повышенными
показаниями на диаграммах ПМЗ по сравнению с ГМЗ. Эффективная длина ПМЗ больше,
чем ГМЗ, поэтому и глубинность действия первого больше.
4) Определение пористости пластов по специальному параметру
пористости P.
ДиаграммаМКЗ
Пласты коллекторы четко выделяются по расхождению
(положительное приращение) кривых ГМЗ и ПМЗ. Пласты глин четко выделяются по
минимальным значениям удельных сопротивлений и хорошему совпадению обеих
кривых.
По данным ПС выделены отрицательными показаниями коллектора,
что подтверждается по показаниям МКЗ положительными приращениями МПЗ.
Боковое
каротажное зондирование (БКЗ)
При БКЗ определяются
и
. Таким образом, в
скважине измеряется удельное сопротивление какой-то сложной многокомпонентной
среды.
При измерении удельного электрического сопротивления породы
на величину
влияет много искажающих факторов:
. удельное сопротивление раствора,
. зона проникновения,
. диаметр скважины,
. вмещающие породы,
. толщина пласта h.
В Волго-Уральском районе БКЗ проводится следующими зондами:
N 11 M 0,5 A - стандартный
М 7,5 А 0,75 В - подошвенный Г-З
М 0,3 А 0,1 В - подошвенный Г-З
М 0,8 А 0,1 В - подошвенный Г-З
М 4,0 А 0,5 В - подошвенный Г-З
М 7,5 А 0,5 В - подошвенный Г-З
В 0,5 А 4,0 М - кровельный Г-З
Интерпретация
диаграмм
Боковое каротажное зондирование - это серия исследований
методом КС зондами различной длины. Проводится оно для определения истинного
удельного сопротивления пласта (
). А по величине этого
параметра устанавливается характер насыщения пласта. Определения эти проводятся
по пластам-коллекторам, которые уже ранее выделены по диаграмме ПС и
микрозондированию.
БКЗ проводится однотипными зондами КС, исходя из особенностей
геологического строения. Для региона Среднего Поволжья приняты подошвенные
градиенты - зонды, на диаграммах которых острым максимумом четко отмечается
подошва пласта. А кровля пласта отмечается менее четко по минимуму КС.
подошвенный зонд кровельный зонд
В районе Татарстана применяется пять таких зондов различной
длины. Кроме того, для четкой отбивки кровли пласта применяется один,
кровельный градиент-зонд. Поскольку БКЗ вычерчено на гладкой бумаге, для
определения глубинных отметок надо пользоваться миллиметровой линейкой. Масштаб
глубин - 1: 200.
Определение
истинного удельного сопротивления пласта ρп
Оно определяется наложением кривой зондирования на семейство
кривой палетки.
Кривая зондирования перемещается по вертикали и
горизонтали до наилучшего совпадения с кривыми палетки. При перемещении
обязательно надо соблюдать параллельность координатных осей палетки и кривой
зондирования.
Каждая кривая палетки имеет свой - шифр:
Необходимо взять значение шифра кривой, с которой совпала
кривая зондирования. Если кривая проходит между двумя кривыми палетки, то надо
произвести пропорциональное интерполирование. По значению шифра определяется
удельное сопротивление пласта.
Определение
характера насыщения пласта
Насыщение пласта устанавливается по специальному
относительному параметру, который называется параметром насыщения или
коэффициентом увеличения сопротивления:
где
- удельное сопротивление пласта;
- удельное сопротивление
того же пласта при условии его 100% насыщенности водой. Величина может быть
взята для данного пласта за контуром нефтеносности (в водной части пласта). Для
девонских пластов песчаника Ромашкинского и Ново - Елховского месторождений
берется - 1,2 Омм. Критерии оценки характера насыщения пластов: Q > 15 -
пласт нефтеносный, Q = 7 ÷ 15 - пласт слабо
нефтенасыщенный, Q < 7 - пласт водоносный.
Боковой
каротаж (БК)
Фокусировка тока
Это электрический метод, дающий информацию об удельном
электрическом сопротивлении пластов. Следовательно, это разновидность метода
КС, и исследования проводятся в необсаженной скважине. Нормальный буровой
раствор должен иметь сопротивление 0,5-8 Омм.
Эффективность всех электрических методов сильно зависит от
качества промывочной жидкости (ПЖ), удельное сопротивление которой должно быть
не менее 0,5 Омм. Если это условие не выполняется, то приходится менять ПЖ.
Однако есть некоторые геологические условия, при которых
замена ПЖ не дает желаемых результатов. Это бывает связано с поступлением в скважину
соленой пластовой воды, которая снижает сопротивление ПЖ. При этом ток
электродов цепи питания (АВ) растекается по стволу скважины, по вертикали, а
для исследований геологического разреза надо, чтобы ток распространялся в
пласты, по горизонтали.
Индукционный
каротаж (ИК)
Этот метод, основанный на измерении удельной электропроводности
s = 1/ρ (или удельного
электрического сопротивления) пород по вторичному магнитному полю. Относится он
к категории электрических методов, исследования проводятся в необсаженной
скважине. ИК применяется для определения характера насыщения пласта. На
показания метода мало влияет литология, в большей степени проявляется характер
флюида (нефть, вода). Поэтому исключительно важным представляется применение
его для исследования карбонатных интервалов, где другие электрические методы
дают большие погрешности в закономерностях между физическими и геологическими
параметрами. В методе ИК глубинность исследования в пласт примерно в 4 раза
больше, чем в методе КС.
Большая часть электрических методов по возможностям
применения ограничена условиями качества бурового раствора (= 0,5 - 8,0 Омм). В
реальных условиях сопротивление бурового раствора может выходить за эти
пределы.
Это может быть при добавлении нефти в промывочную жидкость
при бурении. Еще выразительнее бывает отсутствие раствора в верхних частях скважины.
Электромагнитное поле проходит в любой среде, в т. ч. и в вакууме.
Скважинный прибор содержит 4 катушки - две основные (L1, L4)
и две дополнительные (L2,L3). Генераторная катушка L1 излучает первичное
электромагнитное поле Е1 которое наводит в породе ЭДС с частотой 30 - 40 кГц.
Для исключения прямого влияния L1 на L4 (по вертикали) служит
компенсирующая катушка L3, которая дает синхронную частоту в противофазе с L1.
На показания ИК, как и других электрических методов, влияют
различные помехи.
буровой раствор в стволе скважины,
зона проникновения бурового раствора,
соседние пласты (вмещающие породы).
Диаметр скважины и повышающее проникновение бурового раствора
на показания ИК не влияют. Сильное искажение вносит понижающее проникновение
(при < 0,3 Омм). Эта помеха бывает сильной, если диаметр зоны проникновения
превышает диаметр скважины в 3 раза. На показания ИК сильнее всего влияют
породы на расстоянии, равном длине зонда. При длине около 1 м зафиксированное
на диаграмме значение σк (кажущееся) ближе всего
соответствует истинной проводимости пласта σк σп.
На диаграмме ИК кривая σк соответствует
перевернутой кривой КС (зеркальное отображение ρк) с гиперболическим масштабом. Среда с низкими удельными
сопротивлениями ρ < 50 Омм на диаграмме
ИК дифференцируется хорошо, в диапазоне ρ = 50 - 200 Омм
расчленение пород плохое, а при ρ > 200 Омм
дифференциации нет совсем. Это существенный недостаток индукционного каротажа.
Причиной сглаживания кривой является скин-эффект, т.е. взаимодействие по фазе
вихревых токов. Этот эффект растет с увеличением частоты. Кривые ИК
симметричны, границы пластов отмечаются легко - по середине спада кривой.
Индукционный каротаж рекомендуется для:
. Изучения карбонатных интервалов разрезов скважин (в
комплексе с боковым каротажем БК).
. Исследования сухих интервалов необсаженных скважин.
. Исследования скважин, заполненных буровым раствором с
высоким удельным сопротивлением (более 8 Омм).
Комплексная интерпретация электрических методов (ИК, БК)
Ядерно-магнитныи
каротаж (ЯМК)
Исследования проводятся в бурящихся скважинах, где
определяется много параметров емкостно-фильтрационных свойств пластов. Метод
интенсивно развивался и внедрялся в Татарстане, где накоплен материал в большом
количестве.
. Эффективная толщина пластов-коллекторов,
. Эффективная пористость пластов (индекс свободного флюида
ИСФ),
. Коэффициент содержания связанной воды,
. Коэффициент остаточной нефтенасыщенности,
. Содержание подвижного пластового флюида.
Метод ЯМК обладает низкой глубинностью исследования. Это
определяет его эффективность при исследовании горизонтальных скважин. Вмещающие
породы не влияют на его показания, поэтому хорошо выделяются наиболее
проницаемые зоны пласта.
Впервые, за всю историю геофизических исследований, стало
возможным определение эффективной пористости пластов, содержания неподвижных
флюидов, выделения интервалов с высоковязкой нефтью, остаточной
нефтенасыщенности в промытой зоне пластов. Кроме того, определяются глинистость
коллекторов, абсолютная и фазовая проницаемость.
По результатам этих исследований стало возможным проведение
подсчетов запасов подвижной, извлекаемой нефти, и как результат этого -
прогнозирование нефтеотдачи пластов. Для решения этих задач нужны средние
значения емкостных и фильтрационных параметров по площадям, залежам.
Физические
основы ядерно-магнитного каротажа
Проявление поляризации
Ядерно-магнитный каротаж основан на взаимодействии магнитных
свойств ядер химических элементов скважинной среды и внешнего магнитного поля,
создаваемого скважинным прибором.
Ядра элементов состоят из протонов и нейтронов, которые
характеризуются некоторыми общими физическими параметрами, и поэтому называются
одним определением - нуклоны.
Распределение и расположение нуклонов в ядре определяют
величины механического, электрического и магнитного моментов.
Собственный механический момент ядра (S - спин) - момент
вращения частицы вокруг своей оси. Для элементарных частиц электрический момент
ядра Q. Расположение заряженных частиц в ядре не обладает сферической
симметрией. (При симметрии Q = 0).
Магнитный момент ядра - М обусловлен определенным
направлением токов внутри ядра при движении нуклонов и отсутствием симметрии в
распределении собственных магнитных моментов. При Q = 0, М ≠ 0.
Из всех элементов скважинной среды водород обладает
наибольшим магнитным моментом (М=2,8 магнетонов) и максимальным гидромагнитным
отношением (γ=М/S). Ядра водорода свободной жидкости
ориентированы в направлении магнитного поля Земли (H3). Если в скважине создать
сильное постороннее магнитное поле (поляризацию НП), то оно изменит ориентацию
ядер. Это явление называют ядерной намагниченностью.
Магнитные моменты совершают сложное вращательное движение.
Ядра вращаются вокруг своей оси, а ось тоже совершает свое вращательное
движение. Такое сложное движение называется прецессией. Оно подобно вращению
волчка в детской игре.
В скважинном приборе ЯМК основной частью является катушка
индуктивности, которая выполняет двойную функцию.
При включении катушки в цепь постоянного тока она создает
сильное магнитное поле (поляризация НП), которое изменяет ориентацию ядер
свободной жидкости. Ядра атомов не свободной жидкости (связанная вода, пленка
смачивания и субкапиллярная жидкость) на это возмущение не реагируют. Поэтому
определяется часть пористости, занятая свободной, подвижной жидкостью. А это и
есть эффективная пористость.
При выключении тока подмагничивания ядра водорода
возвращаются в исходное положение ориентации в магнитном поле Земли (НЗ). Это
меняющееся магнитное поле наводит ЭДС в скважинной среде, которая фиксируется
той же катушкой. В скважинном приборе ЯМК происходит периодическое переключение
катушки с частотой 1 Гц на излучение магнитной напряженности и на прием ЭДС
индукции. Этим переключением управляет электронный коммутатор.
Частота прецессии равна собственной резонансной частоте
водорода (Ларморова частота f = 2 кГц). Процессы возмущения и возврата - инерционные.
Процесс установления равновесного состояния магнитных моментов называется
ядерной магнитной релаксацией. Часть периода, соответствующая созданию
искусственного магнитного поля называют продольной релаксацией (Т1). Другая
часть, соответствующая возврату в исходное состояние поля Земли, называется
поперечной релаксацией (Т2).
Релаксация в ЯМК
Образующаяся ЭДС при Т2 имеет затухающий характер
- экспонента.
Степень затухания ЭДС для различных сред разная. Метод ЯМК
основан на регистрации скорости затухания ЭДС по стволу скважины. Величина ЭДС
определяется числом свободных протонов в единице объема (ядра водорода).
Скважинный прибор перемещается по стволу скважины непрерывно
со скоростью 100 - 300 м/час с задержкой регистрации 30 мс.
Кривая ЭДС калибруется в условных единицах ИСФ (индекс
свободного флюида). Этот параметр характеризует процент объема пор, занятых
свободными флюидами (эффективную пористость). При значении ИСФ > 6% можно
ожидать приток жидкости из пласта. При значениях ИСФ более 10% проводятся
детальные исследования с определением скорости продольной релаксации τ1 с целью определения характера насыщения пласта - коллектора. При τ1 < 300 мс пласт считается водоносным, при τ1 > 300 мс - нефтеносным, а если τ1 > 600 мс, то это
признак высоковязкой нефти.
В ЯМК фиксируется сигнал свободной процессии (ССП). Этот
сигнал имеет характер затухающей экспоненты. ИСФ определяется по начальной
амплитуде сигнала - U0.
Максимум сигнала зафиксировать не удается, т.к. после
окончания продольной релаксации Т1 действуют гистерезисные явления
намагничивающего поля. Поэтому U0 определяется расчетным методом по
трем мгновенным значениям экспоненты U1, U2, U3,
отмечаемым в соответствующие значения времени t1, t2, t3.
Аналогично можно рассчитать U0 по двум другим промежуточным
сигналам U1 и U3.
Амплитуды сигналов ЯМК
На диаграмму ЯМК записываются три идентичные кривые с разными
амплитудами (U1,U2,U3).
Кривые ЯМК симметричны относительно середины однородных
пластов. Максимум совпадает с серединой пласта. Границы пластов отбиваются в
точках, соответствующих половине максимального значения амплитуды.
Аппаратура для измерения эффектов ЯМК в магнитом поле Земли
позволяет выделять коллекторы, определять ИСФ и время продольной релаксации -
решить те задачи, которые стандартным комплексом ГИС не решаются. ЯМК не вошел
в стандартный комплекс ГИС по ряду причин:
. сильное влияние скважин,
. низкое отношение сигнала к шуму,
. большое мертвое время,
. сложность калибровки аппаратуры.
Исследования в сильных полях постоянных магнитов создают
новые возможности исследований.
Релаксация жидкости в поровом пространстве происходит с
разной скоростью в зависимости от размеров пор, свойств поверхностей воды и
вязкой жидкости. Поэтому огибающая импульсной последовательности является
суммой отдельных экспонент пор разных размеров или вида флюида (В, Н, Г).
Параметры аппаратуры ЯМК поддерживаются путем калибровки и
компенсации влияния окружающей среды. Калибровка проводится в стационарных
устройствах, заполненных водой. Модели соответствуют 100% пористости и
водородному индексу, равному 1. Настройка на частоту прецессии проводится
трижды: перед основным и повторным замерами и после окончания каротажа.
При интерпретации данных ЯМК в значение U0 вводят
поправки влияния скважины, глинистой корки, угла наклона скважины. Эти поправки
определяются по палеткам и номограммам.
В интервале 2004-2026 м. выделен пласт коллектор по ПС. По
низким показаниям КС пласт - водоносный. По методу ЯМК отмечается подвижность
флюида в данном интервале.
Радиоактивные методы
Физические основы радиометрии:
Радиоактивность - это свойство атомных ядер
переходить из одного энергетического состояния в другое, более устойчивое.
Радиоактивность бывает естественная и искусственная.
Естественная - процесс самопроизвольного
распада ядер атомов с испусканием a, b, g - лучей.
Искусственная - распад ядер атомов при их
бомбардировке элементарными частицами (протоны, нейтроны).
Радиоактивный распад происходит по экспоненциальному закону:
Здесь l - постоянная распада, характеризующая скорость
распада, N0 - начальное число ядер,

- число ядер, не распавшихся за время t. t - время жизни ядра, Т -
период полураспада. За единицу радиоактивности принято кюри. 1 Си = 3,7.10 10
расп/сек (как в 1 г радия).
В практике ядерной геологии используется единица (на 1 г
породы).
Численно это единица равна суммарной концентрации
радиоактивных элементов, при которой в породе происходит за 1 сек столько же
распадов, сколько и в 1 г Ra. Из всех видов радиоактивных излучений для
исследования разрезов скважин используются g - лучи. Количественная
оценка воздействия g - излучений на среду проводится по эффекту
ионизации. Доза g - излучения - рентген. Мощность дозы -
рентген/час.1R - доза, при которой в 1 см3 воздуха образуется 2.109 пар ионов.
Интенсивность (мощность дозы) естественного g - излучения в скважинных
условиях оценивается в мкR/час.
Взаимодействие
радиоактивных излучений с веществом
Ядерные методы исследования скважин основаны на регистрации
нейтронов и g - лучей, т.е. потоков с большой проникающей способностью.
Малопроникающие a и b - лучи в радиометрии
скважин не используются. Однако с этими лучами связаны способы фиксации n и g - квантов, применяемые в
геофизической скважинной аппаратуре.
Все эти частицы взаимодействуют с атомами окружающего
вещества, вызывая их ионизацию или возбуждение. Характер взаимодействия зависит
от физико-химических свойств вещества и частиц (энергия, масса, заряд).
. Альфа-лучи - поток положительно заряженных ядер
атомов гелия (2Не4) ++. Это частицы с максимальной массой (6,6 ×10-22 г или 4 ат. ед).
Они обладают большой энергией Е=0,5 Мэв, энергетический
спектр их излучений - однородный.
a - лучи обладают очень высоким уровнем ионизации.
Проникающая способность их минимальная - в воздухе Сmax = 11,5 см, а в твердых
веществах она измеряется в микронах. Их задерживает тонкая бумага.
Траектория - прямолинейная. a - частицы вызывают
сильную люминесценцию (ZnS). В газах a - частица вырывает
электроны и сильно ионизирует газ, (в воздухе на 1 см - 60000 пар ионов). В результате
a
- излучения номер элемента (Z) уменьшается на 2, а масса (А) - на 4.
. Бета-лучи - это поток электронов и
позитронов.
Проникающая способность b - лучей значительно
больше, чем a - частиц: горная порода - 9 мм, алюминий - 4 мм, свинец - 1 мм.
Ослабление потока b - лучей происходит по
закону:
где - коэффициент поглощения (зависит от плотности вещества),
- толщина слоя. В результате b - излучения номер элемента (Z) возрастает на 1,
а масса (А) не меняется:
З. Гамма-лучи - это электромагнитное
излучение СВЧ. Природа их такая же, как и радиоволн, света, рентгеновского
излучения. Энергия их Е измеряется в Мэв.
Возникновение g - квантов связано с
дискретными переходами ядер из одного энергетического состояния в другое. При a и b-излучениях возникает
новое ядро в возбужденном состоянии (неустойчиво). Возвращаясь в нормальное
состояние, атом испускает g - кванты. g - лучи различных
минералов отличаются по энергии и ширине энергетического спектра. Они обладают
большой проникающей способностью: в алюминии проходят 90 см, в свинце - 25 см.
Взаимодействие g - лучей с веществом
очень сложное.
Основными являются 3 процесса взаимодействия:
а) Фотоэлектрическое поглощение (фотоэффект).
б) Комптоновское рассеяние (Комптон-эффект).
в) Образование электрон-позитронных пар.
Гамма -
каротаж (ГК)
Это метод естественной радиоактивности пород. В разрезе
скважины все породы обладают каким-то уровнем гамма-излучения. Причиной
радиации является содержание остаточных соединений урана, радия, тория.
Среди всех типов горных пород максимальной радиоактивностью
обладают некоторые разновидности кислых изверженных пород. Но в
нефтепромысловой геологии они не являются предметом детального изучения, т.к.
не являются коллекторами возможного скопления углеводородов.
Нефтяные скважины бурятся в толще осадочных пород. Глубоким
разведочным бурением и геофизическими методами подробно изучаются геологические
и физические свойства терригенных и карбонатных пород. В этом комплексе
максимальной радиоактивностью обладают глины, активность которых возрастает с
увеличением глубины залегания. По диаграммам ГК глины выделяются легко -
максимальными аномалиями. А между пластами глин чаще всего выделяются
терригенные пласты коллекторы: песчаники и алевролиты. Эти две породы очень
схожи между собой по составу. Их минералогическая формула одна и та же.
Отличаются они по содержанию глинистой фракции. Следовательно, на диаграмме ГК
они отличаются разными уровнями гамма-излучения.
Известно, что с увеличением глинистости уменьшается
проницаемость. Поэтому можно утверждать, что ГК является методом определения
проницаемости.
По диаграмме гамма-каротажа выделяются пласты-коллекторы в
разрезе скважины. Эта же задача довольно просто решается по диаграмме ПС
электрического каротажа, где основным фактором, определяющим литологическое
расчленение, также является глинистость. Не случайно, что эти две диаграммы, ГК
и ПС, по конфигурации хорошо накладываются, довольно близко повторяют друг
друга.
На приведенном диаграммном рисунке четко выделяются
экстремальными значениями гамма-излучения литологические разности: известняки
минимальными значениями, глины максимальными значениями ГК. Наиболее
интересными являются пласты-коллекторы, которые отмечаются различными уровнями
излучения. В пласте песчаника гамма-активность меньше, это значит, что в нем
глинистого материала меньше, чем в алевролите. Следовательно, проницаемость
первого пласта лучше, чем второго. К1 > К2.
Гамма-каротаж широко используется при контроле за
разработкой нефтяных месторождений. Выделяются интервалы радиоактивного загрязнения
разрабатываемых нефтяных пластов. При выносе из пласта этого загрязнения
отмечается активация цементного камня в интервалах перфорации. Грязь может
отложиться на забое скважины и на НКТ. Радиоактивные загрязнения отмечаются по
сопоставлению вновь записанной диаграммы ГК с первоначальной. Если нет
загрязнения, то обе эти диаграммы полностью совпадают. Следует заметить, что
загрязнение проявляется далеко не в каждой скважине. Но, учитывая сильную
экологическую опасность, приходится повторно писать диаграмму ГК при каждом
исследовании скважины.
По гамма-каротажу ведутся также попутные поиски радиоактивных
руд и вод в интервале глубин до 500 м. Диаграммы ГК пишутся на малых скоростях
движения прибора по стволу скважины - 300 - 400 м/час. Это же относится и к
другим разновидностям радиоактивных каротажей. Скорости записи меньше, чем у
электрических методов примерно в 10 раз.
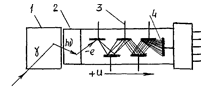
Основной частью скважинного прибора ГК является
сцинтилляционный счетчик, схема которого представлена ниже на рисунке.
Сцинтилляционный счётчик
Диаграмму ГК можно записывать в пробуренной скважине до
спуска колонны или после спуска. Качество диаграммы при этом меняется
незначительно. Но, поскольку в открытом стволе существует опасность прихвата
скважинного прибора, то эти исследования обычно проводятся в скважине,
обсаженной колонной. Кривая ГК записывается при обязательном радиоактивном
каротаже двухканальным скважинным прибором (ГК - НГК).
Скважинный прибор ГК используется при работе с жидкими
радиоактивными изотопами, которые являются гамма-излучателями и применяются при
определении заколонной циркуляции. В этой операции диаграмма ГК записывается
дважды - до закачки изотопов и после.
Спектрометрический гамма-каротаж (СГК)
СГК позволяет определять в породах концентрации отдельных
естественных радиоактивных элементов: К, Тh,U (Ra) и, тем самым резко увеличить
возможности ГК, оценить загрязнение техногенными радионуклеидами и решения
других радиоэкологических задач.
Комплексная интерпретация электрических (БК, ИК) и
радиоактивных методов (ГК, НГК).
Отбивка забоя
(локатор муфт и ГК)
Локатор муфт представляет собой многослойную индуктивную
катушку со стальным сердечником. Катушка расположена между двумя постоянными
магнитами. Полюсы магнитов (N,S) направлены на встречу друг к другу. Прибор
помещен в антимагнитный корпус. При перемещении прибора по стволу скважины
изменение магнитного сопротивления среды приводит к изменению напряженности
магнитного поля вокруг катушки, которая возбуждает электродвижущую силу
индукции. Разность потенциалов передается на поверхность по жиле кабеля на
регистрирующий прибор.
Применение:
уточняет положение в муфтовых соединений колонны или НКТ;
уточняет интервалы перфорации;
осуществляет точную привязку показаний различных приборов по
глубине.
Нейтронный
гамма-каротаж (НГК)
Это метод искусственной радиоактивности, основанный на
облучении пород нейтронами. В результате сложного взаимодействия нейтронов с
ядрами элементов скважинной среды, порода отвечает гамма-излучением.
Нейтрон, это элементарная ядерная частица, обладающая атомной
единичной массой, и не имеющая электрического заряда. Самой примечательной
величиной является высокая скорость его - 30 тыс. км/с. Она составляет 0,1
скорости света. Кинетическая энергия его очень высокая, она измеряется в Мэв.
Благодаря такой энергии нейтрон обладает высокой проникающей способностью в
веществах, независимо от их плотности.
Нейтронный источник, применяемый в скважинном приборе НГК,
представляет собой порошкообразную смесь полония и бериллия (РоВе). Полоний -
это тяжелый элемент с естественной радиоактивностью с периодом полураспада
Т=140 дней. Из всего комплекса излучений полония используются альфа-лучи,
которые производят бомбардировку бериллия. В результате ядерной реакции
рождаются нейтроны. Напомним, что альфа-лучи представляют собой поток ядер
гелия.
Нейтроны, рожденные в этой реакции, называются быстрыми. При
движении их в скважинной среде происходят многочисленные столкновения их с
ядрами элементов среды. При этом скорость нейтронов постепенно уменьшается,
энергия снижается, они переходят в новое качество - медленные. А еще далее,
медленные нейтроны переходят в категорию тепловых, энергия которых еще ниже.
Столкновение нейтронов с ядрами может быть упругим, когда
энергия нейтрона сохраняется, а меняется направление движения. Неупругим
считается столкновение, когда часть энергии нейтрона передается другой частице
- ядру вещества. Наибольшая потеря энергии отмечается при столкновении с
частицей равной массы. Это механическое столкновение подобно удару биллиардных
шаров, когда скорость первого шара уменьшается, а второго - увеличивается.
Самым сильным замедлителем нейтронов является водород. В скважинной среде
водород является примечательным элементом - он содержится в пластовых флюидах.
Абсолютное содержание водорода в воде и нефти примерно одинаковое. В пластовых
условиях флюиды содержатся в поровом пространстве. Количество флюидов в пласте
соответствует пористости, поэтому НГК является методом определения пористости
пластов.
Когда нейтроны сильно ослабевают до уровня тепловых, они
захватываются ядрами других элементов. Ядра переходят в состояние избытка
энергии. Такое состояние называется возбуждением, оно является неустойчивым, и
ядра не могут долго находиться в этом состоянии. Они стремятся избавиться от
лишней энергии, чтобы перейти в устойчивое состояние.
Диаграмма НГК
В скважинной, пластовой системе эта реакция проявляется
выбросом избыточной энергии в виде гамма-излучения, которое фиксируется
скважинным прибором НГК.
На диаграмме НГК показания интенсивности вторичного
гамма-излучения обратно пропорциональны пористости. В интервале терригенных
пород максимальной пористостью обладают глины, поэтому на диаграмме они
отмечаются минимальными значениями. А плотные известняки, пористость которых
близка к нулю, отмечаются максимальными значениями НГК.
Наиболее интересные пласты - песчаники и алевролиты,
отмечаются промежуточными значениями. На приведенном рисунке видно, что
пористость первого пласта выше, чем второго. Точная величина пористости
определяется по величине относительной амплитуды НГК (АНГК).
- интенсивность НГК в интервале данного пласта,
- интенсивность в глинах (min),
интенсивность в самом плотном пласте (max).
Диаграмма НГК записывается в условных единицах,
соответствующих пористости. При калибровке скважинного прибора показания в баке
с водой соответствуют пористости 100%.
Интенсивность НГК фиксируется сцинтилляционным счетчиком.
Скважинный прибор радиоактивного каротажа (РК) содержит два независимых канала
- ГК и НГК. Канал ГК находится в верхней части скважинного прибора. Он удален
от канала НГК на 2 м, чтобы вторичное гамма-излучение от источника нейтронов не
доставало его.
На схематическом рисунке скважинного прибора РК обозначения
соответствуют:
- источник нейтронов,
- канал ГК;
- кабель каротажный,
- канал НГК;
- экран свинцовый (против прямого излучения по
вертикали).
Двухканальный скважинный прибор РК
В физических процессах взаимодействия нейтронов с веществом
можно отметить несколько подробнее эффект захвата тепловых нейтронов. По
возможностям захвата ядра всех элементов скважинной среды обладают конкретными
количественными характеристиками. Параметром этого свойства является ядерное
сечение захвата. Из всех элементов природы максимальным сечением захвата
обладает хлор. При захвате одного теплового нейтрона ядра выдают один
гамма-квант, а хлор выдает три кванта. Следовательно, вещества, содержащие
хлор, отмечаются на диаграммах НГК повышенными значениями. В геологическом
разрезе скважины в водоносных интервалах содержится хлор (соль NaCl). Поэтому
водоносные интервалы отмечаются повышенными значениями относительно
нефтеносных.
Пример выделения коллектора методами ГК и НГК в интервале
1762-1772м.
Отметка ВНК по НГК и ННКт
На приведенном рисунке в нижней части пласта на диаграмме НГК
отмечается повышенным значением. Это означает, что нижняя часть пласта
водоносна, а верхняя - нефтеносна, т.е. в пласте отмечается ВНК. Это позволяет
применять НГК для контроля за обводнением нефтяного пласта в процессе
разработки.
Нейтрон-нейтронный
каротаж (ННК)
При исследованиях этим методом скважинная среда облучается
потоком быстрых нейтронов от источника, в качестве которого используется тот же
источник, что и в методе НГК. В горных породах происходит замедление нейтронов,
ослабление их энергии до уровня медленных, а затем и тепловых. Главным
замедлителем является водород, а в эффекте захвата основным элементом является
хлор. Следовательно, эффективность ННК сильно зависит от минерализации
пластовых вод. Часть замедленных нейтронов в результате диффузии и рассеяния
возвращается на скважинный прибор и фиксируется сцинтилляционным счётчиком.
Метод ННК имеет две модификации: по тепловым нейтронам (т) и
по надтепловым (нт), энергия которых несколько выше, чем тепловых. Эти две
категории нейтронов фиксируются разными способами.
ННКнт (по надтепловым нейтронам) является результатом
замедляющего действия водорода, поэтому применяется для определения пористости
пластов. В практике исследования скважин эта модификация применяется очень
редко. Это объясняется тем, что в пробуренных скважинах уже бывает проведено
исследование методом НГК, который является обязательным методом для всех
скважин. Поэтому вторично определять пористость нет необходимости. К тому же,
следует заметить, что метод ННК обладает меньшей глубинностью исследования в
пласт.
Что касается ННКт, то он применяется часто. По плотности
потока тепловых нейтронов можно судить о содержании хлора в пласте т.к. он
является главным захватчиком их. В пластах, содержащих соленую воду, много
тепловых нейтронов бывает поглощено хлором, поэтому на скважинный прибор
возвращаются слабые потоки малой плотности, водоносные пласты отмечаются
пониженными показаниями относительно нефтеносных. На диаграмме ННКт отмечается
ВНК. Этот эффект зависит от минерализации пластовой воды. При малой солености
ВНК на диаграмме ННКт может не отмечаться. В действующих добывающих скважинах
чаще всего нефть извлекается вместе с водой. В разных скважинах минерализация
воды может изменяться в широком диапазоне. О ней судят по плотности, что
адекватно минерализации. Плотность добываемой воды (r) по различным причинам
может быть от 1030 до 1180 кг/м3. Граничным критерием для эффективности ННКт
является r=1100 кг/м3, ниже которой водоносные интервалы не отмечаются.
Другой проблемой метода ННК является низкая его глубинность в
пласт по горизонтали, которая составляет всего 15-20 см. Это ограничивает
эффективность применения его для исследования остановленных скважин. В этих
скважинах ствол заполняется соленой водой, создается большое забойное давление,
которое по величине больше пластового. Создаётся перепад давления ΔР, под действием которого вода из ствола скважины фильтруется в
перфорированные продуктивные пласты, из которых до остановки скважины отбирали
нефть с водой. Поглощённая пластом вода оттесняет пластовые флюиды на глубину,
превосходящую возможности нейтронных методов НГК, ННКт, поэтому исследования по
определению интервалов обводнения нефтяных пластов часто бывают безрезультатными.
Напрашивается необходимость применения других методов, обладающих большей
глубинностью исследования.
Импульсный
нейтронный каротаж (ИНК)
Радиоактивные методы широко применяются для решения различных
геолого-технических задач, связанных с контролем за разработкой нефтяных
месторождений. Их главное достоинство заключается в возможности прохождения
нейтронных и гамма-излучений через мощную толщу преград в конструкции скважины
- через металл обсадной колонны и других труб в стволе скважины, а также через
цементный камень крепления скважины. Тем не менее, глубинность исследования
методами радиометрии остается очень низкой. Это связано с рассеянием и
поглощением ядерных излучений в скважинной среде. Глубинность их крайне не
достаточна для исследования пластов-коллекторов.
ГГК 10-15 см
ННК 15-20 с
НГК 20-30 см
Для увеличения глубинности исследований нужны более мощные
источники излучений, а это противоречит безопасности работ.
Другим крупным недостатком при исследовании скважин является
влияние жидкости ствола скважины. Все ядерные процессы происходят не только в
пластах, но и в стволе. Хоть диаметр скважины не большой, но это ближняя зона
для скважинного прибора, и все реакции в ней происходят сильнее, чем в дальних
зонах пласта, где содержится полезная информация. По этой причине на диаграммах
радиоактивных методов записываются и полезная информация от пласта, и
бесполезная - от ствола скважины. Таким образом, геологическая эффективность
диаграмм снижается.
В импульсных нейтронных методах ИНГК, ИННК влияние этих
недостатков снижено. Скважинный прибор ИНК - нейтронный генератор. В нем
предусмотрена ядерная реакция в ускорительной трубке с получением потока
нейтронов с высокой энергией. Если ампульный нейтронный источник (Р0Ве) даст
непрерывное излучение нейтронов с энергией 3¸7 Мэв, то нейтроны на
выходе генератора ИНК имеют энергию 14 Мэв. Это означает, что в породе они
могут пройти большее расстояние, что увеличивает глубинности исследования,
которая составляет 30-45 см.
Нейтронный генератор работает в импульсном управляемом
режиме. В нем использована электронная коммутация кратковременных сигналов,
длительность которых измеряется в микросекундах (мкс). Основной частью прибора
является ускорительная трубка, содержащая дейтерий под небольшим давлением. Под
действием высокого напряжения (70 тыс. вольт) положительные ионы (дейтоны)
развивают очень большую скорость, и, бомбардируют мишень в виде катода,
изготовленного из циркония. Результатом этой реакции является выход нейтронов.
При выключении напряжения питания скважинного прибора все реакции прекращаются.
На поверхности, при подготовительных работах прибор не представляет никакой
опасности. Электрическое питание включается после спуска его в скважину.
Помеха от влияния ствола скважины исключается благодаря
импульсному режиму работы.
Импульсный нейтронный режим
десь t1 - импульс выхода нейтронов, t2 - пауза, при которой
измерительная схема отключается для исключения влияния ствола скважины, t3 -
окно измерений полезной информации от пласта, измерительная схема включена.
Затем следует t4 - пауза, схема отключается, пропускаются все вторичные ядерные
реакции в стволе скважины. Далее снова следует t1 - инжекция нейтронов, цикл
повторяется. Периодичность циклов определяется частотой ¦=400 Гц.
На диаграммах импульсного нейтронного каротажа ИНГК, ИННК
нефтеносные интервалы пластов отмечаются повышенными показаниями, водоносные -
пониженными.
Как нейтронный метод с максимальной глубинностью
исследования, ИНК широко применяется для определения водонефтяного контакта в
пласте (ВНК) и выделения водоносных интервалов и пластов при контроле за
разработкой продуктивных интервалов в добывающих скважинах. Применяется он в
комплексе с другими геофизическими и гидродинамическими методами.
Кроме того, импульсные нейтронные методы нашли применение и
для исследования карбонатных интервалов, в которых заключения по электрическим
методам часто бывают неоднозначными, когда не удается четко определить характер
насыщения пласта-коллектора с трещиноватой пористостью.
ИНК применяется и в новом виде геофизических исследований, в
углеродно-кислородном каротаже, при котором проводится спектральный
энергетический анализ по наведённой вторичной радиоактивности для выделения
углерода, содержащегося в нефтеносном пласте, и кислорода, содержащегося в
водоносном интервале.
Применение - детальное расчленение разреза
политологии (выделение карбонатных, песчаных пород, глин);
определение начального и текущего ВНК;
определение пористости коллекторов.
Импульсный нейтрон - нейтронный каротаж АИНК 90
Импульсный нейтрон-гамма каротаж АИНК 36-3С
Применение:
детальное расчленение разреза по литологии;
определение общей пористости (водородосодержания)
коллекторов;
определение нефтенасыщенности коллекторов;
определение интервалов обводнения в добывающих нефтяных
скважинах;
определение удельного расхода воды в интервалах перфорации в
нагнетательных скважин;
выявление и определение расхода восходящих и нисходящих
заколонных перетоков воды.
Литература
1.
Ахметов С.А., Ишмияров М.Х., Кауфман А.А. Технология переработки нефти, газа и
твердых горючих ископаемых; Недра - Москва, 2009. - 844 c.
.
Бакиров А.А., Бакиров Э.А. Теоретические основы и методы поисков и разведки
скоплений нефти газа. В 2т. Кн.1. Теоретические основы прогнозирования
нефтегазоспособности недр. Бакиров А.А., Бакиров Э. А.; Недра - Москва, 2012. -
467 c.
.
Вержичинская С.В., Дигуров Н.Г., Синицин С.А. Химия и технология нефти и газа; Форум
- Москва, 2011. - 400 c.
.
Грабчак Л.Г., Багдасаров Ш.Б., Иляхин С.В., др. Горноразведочные работы; Высшая
школа - Москва, 2003. - 664 c.
.
Евдокимов А.В., Симанкин А.Г. Сборник упражнений и задач по маркшейдерскому
делу; Издательство Московского государственного горного университета - Москва,
2004. - 304 c.
.
Елкин С.В., Гаврилов Д.А. Инженерно-техническое творчество в нефтегазовой
отрасли; - , 2014. - 368 c.
.
Желтов Ю.П. Разработка нефтяных месторождений; Книга по Требованию - Москва,
2012. - 332 c.
.
Заблоцкий Евгений Горное ведомство дореволюционной России. Очерк истории.
Биографический словарь; [не указанo] - Москва, 2015. - 280 c.
.
Закиров С.Н., Индрупский И.М. Новые принципы и технологии разработки
месторождений нефти и газа. Часть 2; - , 2009. - 488 c.
.
Закожурников Ю.А. Хранение нефти, нефтепродуктов и газа; ИнФолио - Москва,
2010. - 432 c.
.
Иванов А.Н., Рапацкая Л.А., Буглов Н.А., Тонких М.Е. Нефтегазоносные комплексы;
Высшая школа - Москва, 2009. - 232 c.
.
Карнаухов М.Л., Пьянкова Е.М. Современные методы гидродинамических исследований
скважин; Инфра-Инженерия - Москва, 2010. - 432 c.
.
Корзун Н.В., Магарил Р.З. Термические процессы переработки нефти. Учебное
пособие; КДУ - Москва, 2008. - 864 c.
.
Кязимов К.Г., Гусев В.Е. Эксплуатация и ремонт оборудования систем
газораспределения; НЦ ЭНАС - Москва, 2008. - 420 c.
.
Малофеев Г.Е., Мирсаетов О.М., Чоловская И.Д. Нагнетание в пласт теплоносителей
для интенсификации добычи нефти и увеличения нефтеотдачи; НИЦ "Регулярная
и хаотическая динамика", Институт компьютерных исследований - Москва,
2008. - 224 c.