Модернізація агрегату синтезу аміака з розробкою колони синтезу, котла – утилізатора та виносного теплообміника
Перелік скорочень, умовних позначень та термінів
Умовні позначення:- висота, м;
С - додаток до розрахункової товщини, м;
D, d - діаметри, м;потужність, Вт;
G - масова витрата, кг/с;об’ємна витрата, м3/с;швидкість,
м2/с;, p - тиск, Па;- температура, К;поверхня теплообміну, м2;- термічний опір,
м2∙К/Вт;
с - питома теплоємність, Дж/(кг∙К);- масова доля,
%;молярна маса, г/моль;
α − коефіцієнт
тепловіддачі, Вт/(м2·K);
λ - коефіцієнт
теплопровідності, Вт/(м∙К);
К - коефіцієнт теплопередачі, Вт/м2·K.
Критерії:- критерій Нуссельта;- критерій Рейнольдса;-
критерій Прандтля.
Вступ
Аміак вперше був отриманий англійським хіміком Джозефом
Прістлі. в 1774 році. Він назвав відкритий їм газ «лужним повітрям», хімічного
складу якого визначити не зміг. Це зробив 11 років потому, в 1785 році,
французький хімік Клод Луї Бертолле, відомий ще й як винахідник «бертолетової
солі» - складу, який знайшов широке застосування в піротехніці і медицині
Аміак - один з найбільш поширених промислових хімікатів, що
використовується в промисловості; газ який не має кольору, але володіє різким
специфічним запахом. Щільність аміаку майже в два рази менше, ніж щільність
повітря. При температурі 15 oC вона становить 0,73 кг / м3. Щільність
рідкогоаміаку в нормальних умовах становить 686 кг / м3. Молекулярна маса
речовини - 17,2 г / моль. Відмінною особливістю аміаку є його висока
розчинність в воді. Так, при температурі 0 °C її значення досягає близько 1200
об`ємів в обсязі води, при 20 °C - 700 обсягів. Розчин «аміак - вода» (аміачна
вода) характеризується слабощелочной реакцією і досить унікальною властивістю в
порівнянні з іншими лугами: зі збільшенням концентрації щільність знижується.
Близько 80 % аміаку, що виробляється
промисловістю, використовується в сільському господарстві як добриво. Аміак
використовують також у холодильних установках, для очищення водного приладдя, у
виробництві пластику, вибухових речовин, текстилю, пестицидів, барвників та
інших хімічних речовин. Він міститься в багатьох побутових і промислових миючих
розчинах. Побутові засоби, що містять аміак, виготовляються з додаванням 5-10 %
аміаку, концентрація аміаку в промислових розчинах вище - 25 %, що робить їх
їдкими.
Метою даного проекту є модернізація агрегату синтезу аміаку з
розробкою колони синтезу, котла - утилізатора та виносного теплообмінника.
Для досягнення цієї мети поставлено такі задачі:
удосконалити конструкцію розроблювального
апарата(виносного теплообмінника) таким чином, щоб компенсувати температурні
напруження в трубах і цим самим збільшити період між двома капітальними
ремонтами;
визначити економічний ефект від проведеної
модернізації та виробництва апарата в цілому;
виконати технологічні й конструктивні розрахунки, а
також розрахунки на міцність, що підтверджують працездатність і надійність
розроблюваних конструкцій, їхню відповідність вимогам техніки безпеки;
розробити рекомендації з виготовлення, монтажу та
експлуатації розроблюваних апаратів;
розробити технологію свердління кришкивиносного
теплообмінника[1].
. Призначення та область використання установки виробництва
аміаку деталь котел аміак утилізатор
деталь котел аміак утилізатор
1.1 Опис технологічного процесу
Промислові схеми синтезу аміаку, не дивлячись на відмінне
технологічне і апаратурне оформлення, базується на спільних принципах, заснованих
на кінетичних і термодинамічних особливостях процесу. Умови проведення процесу
синтезу аміаку в значній мірі визначаються прагненням досягнути максимальної
продуктивності апарата при мінімальних матеріальних і енергетичних витратах.
Свіжий циркуляційний газ, стиснутий у відцентровому
компресорі до тиску 30 МПа, після охолодження в повітряному холодильнику
поступає в нижню частину конденсаційної колони 8 для очищення від залишкових
Н2O і СО2.Очищення здійснюють барботажем газу через шар рідкого аміаку, що
сконденсувався.
Пройшовши шар рідкого аміаку, свіжа азотоводнева суміш
насичується аміаком до 3-5% і змішується з циркуляційним газом. Суміш свіжого і
циркуляційного газів проходить по трубах теплообмінника конденсаційної колони 8
і спрямовується в міжтрубний простір виносного теплообмінника 4, де
нагрівається до температури не вище 195°С за рахунок тепла газу, що виходить з
колони синтезу. З виносного теплообмінника 4 циркуляційний газ поступає в
колону синтезу 2, проходячи знизу до верху по кільцевій щілині між корпусом
колони і кожухом насадки, а потім в міжтрубний простір внутрішнього
теплообмінника, розміщеного в верхній частині корпусу колони 2. У
теплообміннику циркуляційний газ нагрівається до 400-440°С за рахунок тепла
газу, що виходить з каталізаторної коробки, послідовно проходить чотири шари
каталізатора, на якому здійснюється синтез аміаку. Температурний режим перед
кожною полицею підтримують поданням газу між полицями. Газ відбирають з потоку
перед колоною з температурою до 190°С.
Пройшовши третій, нижній шар каталізатора азотоводнева суміш
з вмістом аміаку - 16% і температурою 500-530°С по центральній трубі
піднімається вгору, входить в трубки внутрішнього теплообмінника, охолоджуючись
до температури 310 - 330°С, і виходить з колони синтезу. Далі газова суміш
проходить трубний простір котла - утилізатора 3, охолоджуючись до температури
215°С. Потім суміш потрапляє в трубний простір виносного теплообмінника 4, де
вона охолоджується циркуляційним газом (подача у міжтрубному просторі) до 65°С.
З 65°С до 45°С газ охолоджується у блоці апаратів повітряного охолодження5
(вузол первинної конденсації), де з газу конденсується частина аміаку. Аміак,
що сконденсувався, відділяється в сепараторі рідкого аміаку 6, а газова суміш,
що містить 10-12% NH3, поступає в циркуляційний компресор 16, де стискається до
30 МПа.
Циркуляційний газ з температурою 44°С поступає в систему
вторинної конденсації, що складається з конденсаційної колони 8 і випарників
рідкого аміаку 9. Газ подається в конденсаційну колону згори, проходить
міжтрубний простір теплообмінника, охолоджуючись до 35°С газом, що йде по
трубках. Далі газ подають у випарник рідкого аміаку 9, де, проходячи по
U-подібним трубкам високого тиску, охолоджується за рахунок кипіння аміаку при
температурі мінус 10°С у міжтрубному просторі випарника. Випарники по газу
ввімкнені послідовно, в аміачна система має розімкнутий вигляд. Газоподібний
аміак з міжтрубного простору випарника спрямовується в холодильну установку для
зріджування аміаку і повертається до випарника у вигляді рідкого аміаку.
З трубного простору випарника суміш охолодженого
циркуляційного газу і аміаку, що сконденсувався, поступає в частину сепарації
конденсаційної колони 8, де відбувається відділення рідкого аміаку від газу.
Тут свіжий газ змішується з циркуляційним. Далі газова суміш проходить кошик,
заповнений напівфарфоровими кільцями, де відділяється від крапель рідкого
аміаку, піднімається по трубках теплообмінника конденсаційної колони 8 і
спрямовується у виносний теплообмінник 4, а потім - в колону синтезу аміака 2.
Так циркуляційний цикл замикається.
Рідкий аміак після первинного сепаратора з температурою 40°С
пройшовши магнітні фільтри 7, очищається від каталізаторного пилу, дроселюється
до тиску 4 МПа і поступає у збірник рідкого аміаку 13, куди також під тиском 4
МПа поступає аміак з конденсаційної колони 8. За рахунок дроселювання рідкого
аміаку з високого тиску до тиску 4 МПа відбувається виділення розчинених в
рідкому аміаку газів Н2, N2, Аr, СН4. Ці гази, що називаються танковими, містять
близько 16% NH3. Утилізація аміаку з танкових газів виконують шляхом його
конденсації у випарнику 12 на лінії танкових газів при температурі від мінус 20
- 25°С.
З випарника 12 танкові гази і аміак, що сконденсувався,
поступають в сепаратор 15, там рідкий аміак відділяється і подається у збірник
рідкого аміаку 13. Для підтримки в циркуляційному газі вмісту інертів в межах
14-18% виконують постійний відбір частини газу після первинної конденсації.
Кількість продувальних газів залежить від змісту інертних домішок у свіжому
газі, тиску в системі синтезу, активності каталізатора і коливається в межах
3-8 тис.м3. Аміак з продувочних газів виділяється при температурі мінус 25 -
30°С в конденсаційній колоні 8 і випарнику 9. Суміш танкових і продувочних газів,
після виділення аміаку, аргону, водню і гелію використовують як паливний газ, і
прямує на спалювання у блок риформінгу метану [1].
.2 Вибір типу апаратів та їх місце в технологічній схемі
Основним та найбільш складним апаратом технологічної схеми
синтезу аміаку є колона синтезу.
Для проведення теплового розрахунку насадки колони синтезу
слід попередньо обрати тип та конструкцію насадки.
При виборі типу насадки необхідно вирішити чи буде насадка що
проектується, трубчастою чи поличною, та чи використовується в ній тепло
реакції. Для трубчатої насадки з відбором тепла реакції обирають спосіб відводу
тепла та місце розташування котла по ходу циркуляційного газу. Визначають
конструкцію трубок для відводу теплоти з каталізаторної коробки, кількість та
місця вводу холодильних байпасів, а також місце розташування пускового
електронагрівача.
В поличних насадках, для спрощення виготовлення та монтажу
каталізаторної коробки намагаються звести до мінімуму число полиць; однак при
цьому збільшуються скачки температури. В аміачних колонах кількість полиць
приймають не менше трьох, що найбільше відповідають умовам застосування
сучасних каталізаторів.
Виходячи з вище вказаного, в проекті розробляється колона
синтезу аміаку з поличною насадкою з кількістю полиць - три.
Одним із конструктивних апаратів для здійснення процесу
теплообміну є виносний (кожухотрубний) теплообмінник. Ці теплообмінники
відносяться до найбільш застосовуваних в багатьох процесах найрізноманітніших
сфер промисловості. Вони використовуються як для підігріву так і для
охолодження робочих рідин та газів, що беруть участь в хімічних та інших видах
процесів. Отже, в якості виносного теплообмінника для здійснення процесу
теплообміну між двома протитоками циркуляційного газу застосовуємо вертикальний
кожухотрубний теплообмінник.
В якості котла - утилізатора за основу також приймаємо
вертикальний кожухотрубний теплообмінник з тією відмінністю, що в ньому
встановлена центральна труба для кращої циркуляції води в міжтрубному просторі,
яка є холодоагентом в даному апраті.
Отже, головною вимогою вибору апаратає відповідність його
даному технологічному процесу. Необхідно дотримуватися умов, які забезпечують
регулювання температурного режиму, тривалість перебування продукту в апараті;
відповідні робочі швидкості продукту; відповідність апарата тискам робочих
середовищ, а також вибір матеріалу апарата відповідно до хімічних властивостей
продукту. Також необхідно обов’язково розглядати економічну сторону доцільності
проведення процесу. Приділяти увагу високій продуктивності процесу, підвищенню
інтенсивності теплообміну за умов дотриманням оптимальних гідравлічних опорів
апарата.
Розглядаючи конструктивний підхід, необхідно забезпечити
оптимальні габарити апарата(компактність) та його вагу, зручність монтажу і
ремонту апарата, простоту конструкції. З цієї точки зору впливають такі фактори
як: конфігурація поверхні теплообміну, спосіб кріплення труб в трубних
решітках, наявність встановленого компенсатора, який знаходиться у виносному
стакані, ущільнень.
Вище представлені вимоги були покладені в основу
конструювання і вибору апаратів, які розробляються в дипломному проекті[2].
. Технічна характеристика апаратів
Технічні характеристики апаратів приведені в таблицях 2.1,
2.2 і 2.3.
Таблиця 2.1 - Технічна характеристика котла - утилізатора
|
Параметри
|
Розмірність
|
Значення
|
|
Тиск в трубному просторі
|
МПа
|
30
|
|
Тиск в міжтрубному просторі
|
МПа
|
8,6
|
|
Температура циркуляційного газу на вході в труби
|
0К
|
592
|
|
Температура циркуляційного газу на виході з труб
|
0К
|
448
|
|
Температура води на вході в міжтрубний простір
|
0К
|
383
|
|
Температура води на виході з міжтрубного простору
|
0К
|
573
|
|
Масова витрата циркуляційного газу у трубному
просторі
|
кг/с
|
89,716
|
|
Поверня теплообміну
|
м2
|
1722
|
|
Об'єм трубного простору
|
м3
|
4,4
|
|
Об'єм міжтрубного простору
|
м3
|
15,51
|
|
Масова витрата води у міжтрубному просторі
|
кг/с
|
38,335
|
|
Кількість труб
|
шт
|
2263
|
|
Діаметр апарата
|
мм
|
1798
|
|
Діаметр цетральної труби
|
мм
|
426
|
|
Маса апарата
|
кг
|
69300
|
|
Трубний простір - циркуляційний газ: агресивне,
токсичне, вибухо та пожежонебезпечне середовище
|
|
Міжтрубний простір: вода
|
|
Матеріал
|
09Г2С, 12Х18Н10Т ГОСТ 19281-89
|
Таблиця 2.2 - Технічна характеристика виносного
теплообмінника
|
Параметри
|
Розмірність
|
Значення
|
|
Тиск в трубному просторі
|
МПа
|
30
|
|
Тиск в міжтрубному просторі
|
МПа
|
30
|
|
Температура циркуляційного газу на вході в труби
|
0К
|
488
|
|
Температура циркуляційного газу на виході з труб
|
0К
|
338
|
|
Температура циркуляційного газу на вході в
міжтрубний простір
|
0К
|
308
|
|
Температура циркуляційного газу на виході з
міжтрубного простору
|
0К
|
4638
|
|
Площа теплообміну
|
м2
|
3197
|
|
Кількість труб
|
шт.
|
6115
|
|
Діаметр апарата
|
мм
|
1916
|
|
Об'єм трубного простору
|
м3
|
5,4
|
|
Об'єм міжтрубного простору
|
м3
|
18,6
|
|
Маса апарата
|
кг
|
142100
|
|
Міжтрубний простір - циркуляційний газ: агресивне,
токсичне, вибухо та пожежонебезпечне середовище
|
|
Трубний простір - циркуляційний газ: агресивне,
токсичне, вибухо та пожежонебезпечне середовище
|
|
Матеріал
|
09Г2С, 12Х18Н10Т ГОСТ 19281-89
|
Таблиця 2.3 - Технічна характеристика колони синтезу
|
Параметри
|
Розмірність
|
Значення
|
|
Тиск в реакторі
|
МПа
|
30
|
|
Масова витрата циркуляційного газу
|
кг/с
|
89,716
|
|
Температура циркуляційного газу на вході
|
0К
|
485,5
|
|
Температура циркуляційного газу на виході
|
0К
|
592
|
|
Температура реакції
|
0К
|
773
|
|
Діаметр апарата
|
мм
|
26602
|
|
Висота парата
|
мм
|
22932
|
|
Поверхня теплообміну
|
м2
|
1722
|
|
Обєм каталізатора(СА-1)
|
м3
|
47,97
|
|
Маса апарата
|
кг
|
140000
|
|
Середовище: агресивне, токсичне, вибухо та
пожежонебезпечне
|
|
Матеріал
|
09Г2С, 12Х18Н10Т ГОСТ 19281-89
|
|
|
|
|
3. Опис та обґрунтування вибраної конструкції апаратів
.1 Конструкція і принцип дії апаратів, основних складальних
одиниць та деталей
Важливий та найбільш складний апарат системи синтезу аміака -
колона синтезу аміаку.
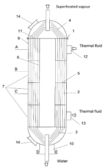
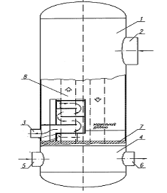
На рисунку 3.1 представлений поличний реактор синтезу аміака
- вертикальний апарат, що складається з двох корпусів високого тиску 1 і 2, а
також насадки 6.
- корпус , 2 - корпус, 3 - теплообмінник, 4 - днище, 5 -
кришка, 6 - насадка
Рисунок 3.1 - Реактор синтезу аміаку з поличною насадкою
Насадка складається з каталізаторної коробки і теплообмінника
3. Каталізаторна коробка розміщена в корпусі високого тиску Теплообмінник
встановлений у верхній частині основного корпусу і в корпусі, розташованому, на
основному корпусі. Між корпусом високого тиску і насадкою є зазор, по якому
знизу вхерх проходить газ, що подається в колону. Насадка має ізоляцію.
Внутрішній корпус рулонований, із сталі 12Х18Н10Т зовнішній
із сталі 09Г2С, кришка і днище ковані.. Завантаження і вивантаження
каталізатора ведуть через люки. Вирівнювання каталізатора на полицях і
видалення залишків проводять вручну.
Через всі полиці каталізатора проходять дві кишені для багато
зонних термопар. Температуру заміряють в двох точках по перетину на вході і
виході газу з шару каталізатора на кожній полиці.
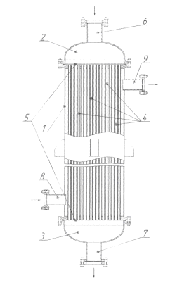
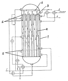
Основною деталлю виносного теплообмінника (рисунок 3.2)
високого тиску є циліндрична обичайка-кожух 1, з привареним фланцем до якого з
прикріплено за допомогою шпильок плоску кришки 2 та днище 3.
- обичайка , 2 - плоска кришка, 3 - днище, 4 - трубчатка, 5 -
вхідна камера,6 - вихідна камера, 7 - опора
Рисунок 3.2 - Теплообмінник виносний
В середині корпусу розміщено трубчатку, яка складається з
пучка труб 4, та вхідної і вихідної камери 5 і 6 відповідно. Для вводу та
виводу теплоносіїв до кожуха і днищ приварено патрубки. Один потік теплоносія
направляється через патрубок в вхідну камеру , проходить по трубкам та виходить
через патрубок у вихідній камері теплообмінника. Другий потік теплоносія
вводиться через лівий патрубок в кожусі в між трубний простір теплообмінника
,омиває зовні трубки та виводиться через правий патрубок.
Тепло від одного теплоносія іншому передається через стінки
труб. Теплообмінник стоїть на опорі 7.
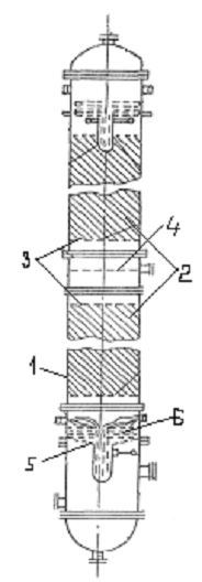
Основною деталлю котла - утилізатора (рисунок 3.3) є
циліндрична обичайка-кожух 1, з привареними фланцями до якого з двох сторін
приварено днища 2 та 3.
- обичайка , 2 -кришка, 3 - днище, 4 - трубчатка, 5 - опора
Рисунок 3.3 - Котел - утилізатор
В середині корпусу розміщено трубчатку, яка складається з
пучка труб 4. Для вводу та виводу теплоносіїв до кожуха і днищ приварено
патрубки .
Один потік теплоносія направляється через патрубок в вхідну
камеру, проходить по трубкам та виходить через патрубок у вихідній камері
теплообміннику. Другий потік теплоносія вводиться через верхній патрубок в
кожусі в між трубний простір теплообмінника, омиває зовні трубки та виводиться
через нижній патрубок Тепло від одного теплоносія іншому передається через
стінки труб. Котел розміщений на опорі 5[1].
.2 Вибір матеріалів елементів конструкцій апаратів
Матеріали, що застосовуються для виготовлення апаратів
високого тиску, мають відповідати державним стандартам та технічним умовам
заводів - виробників. Матеріали слід вибирати з урахуванням можливих змін
вихідних фізико-хімічних властивостей під впливом середовища та температури у
період експлуатації.
При виборі матеріалів для апаратури керуємося галузевим
стандартом ОСТ 26-291-71 «Сосуды и аппараты стальне. Технические требования».
Виносний теплообмінник.
Теплообмінник працює з агресивною
вибухонебезпечною азотоводневою сумішю під високим тиском, виходячи з цього для
виготовлення корпуса апарата застосовано рулуновану обичайку. Обичайка складена
з таких шарів: центральний кожух сталь 09Г2С а зовнішня зі шарів 12Х18Н10Т.
Кришка, еліптичне днище, трубна решітка та штуцера виконані зі сталі 09Г2С.
Труби у міжтрубному просторі виконані зі сталі 12Х18Н10Т.
Котел - утилізатор працює при меншому
тиску у між трубному просторі ніж теплообмінник, середовище з яким контактують
деталі апарата циркуляційний газ, враховуючи ці фактори для виготовлення
складальних елементів апарата застосовують наступні матеріали. Обичайка
виготовляється зі сталі 12Х18Н10Т, оскільки ця частина постійно контактує з
циркуляційним газом. Кришка, конічне днище, та штуцера виконані зі сталі 09Г2С
.
Колона синтезу також працює з
агресивною вибухонебезпечною сумішшю - циркуляційним газом під високим тиском,
виходячи з цього для виготовлення корпуса апарата застосовано рулуновану
обичайку. Обичайка складена з таких шарів: центральний кожух сталь 09Г2С з
08Х18Н10Т. Кришка, еліптичне днище, трубна решітка та штуцера виконані зі сталі
22Х3М та 09Г2С. Труби виконані зі сталі 12Х18Н10Т.
Корозійно-стійка сталь 12Х18Н10Т
використовується для виготовлення зварної апаратури в різних галузях
промисловості, а також конструкцій, що працюють у контакті з азотною кислотою
та іншими окисними середовищами, деякими органічними кислотами середньої
концентрації, органічними розчинниками, в атмосферних умовах. Сталь 12Х18Н10Т
рекомендується для зварних виробів, що працюють в середовищах більш високої
агресивності, ніж сталь 12Х18Н10Т і володіє підвищеною опірності
міжкристалічної корозії Характеристика сталі: щільність - 7,9∙10³ кг/м³, модуль пружності - 18∙104,
Н/мм2 при 20°С, питомий електроопір - 0,75∙106, Ом∙м при 20°С.
Хромонікелеєві нержавіючі сталі використовують для зварних конструкцій в
кріогенної техніки при температурі до -269оС, для ємнісного, теплообмінного і
реакційного обладнання високого тиску з температурою експлуатації до 600°С
Сталь 12Х18Н10Т добре зварюються всіма видами ручної і автоматичної зварки.
Таким чином, завдяки унікальному
поєднанню властивостей і характеристик міцності, нержавіюча сталь 12Х18Н10Т
знайшла найширше застосування практично у всіх галузях промисловості, вироби з
цієї сталі мають тривалий термін служби і незмінно високі характеристики
протягом усього терміну служби.
Обрані матеріали задовольняють
поставленим вимогам та забезпечують надійну роботу апаратів[3,4].
.3 Патентний огляд конструкцій основного обладнання установки
Розглянемо конструкцію кожухотрубного теплообмінного апарата
високого тиску.
Виносний теплообмінник містить вертикальний циліндричний корпус
одну кришку, еліптичне днищета теплообмінні труби.
Предметом пошуку є: 1) теплообмінний кожухотрубний апарат з
трубчатими теплообмінними елементами; 2) конструкція й матеріал трубчатих
теплообмінних елементів.
Суттєвими ознаками апарата є:вертикальний корпус; права і
ліва плоскі кришки; трубчасті теплообмінні елементи; нероз’ємне закріплення
теплообмінних елементів у трубних плитах за допомогою розвальцьовки та сварки.
. Вертикальний кожухотрубний теплообмінникм [5]. Схема
даного апарата зображена на рисунку 3.4.
Корисна модель належить до теплообмінних апаратів, може бути
використана у хімічній, нафтохімічній, фармацевтичній та інших галузях
промисловості. Запропонований теплообмінник можна використовувати як для
охолодження так і для підігрівання рідини.
Очікуваний ефект - підвищення продуктивності кожухотрубного
теплообмінника, забезпечення інтенсифікації теплообміну. Засоби досягнення
ефекту: шляхом виконання його теплообмінних трубок з турбулізаторами потоку.
Кожухотрубний теплообмінник містить
циліндричний кожух 1, кришку 2 і днище 3, які кріпляться до циліндричного
кожуха 1 болтами, що розташовані по всьому діаметру кожуха. Теплообмінні трубки
4 закріплені до верхньої та нижньої трубних решіток 5, що розташовані на
торцевих поверхнях кожуха. Рідина, яка нагрівається або охолоджується,
потрапляє в кришку апарата по штуцеру 6, а відводиться - по штуцеру 7.
Теплоносій надходить в міжтрубний простір теплообмінника по штуцеру 8 і
виходить через штуцер 9.
Рідина, яку потрібно нагріти або
охолодити, під тиском надходить по штуцеру 6 в кришку 2 з трубною решіткою 5.
Далі рідина направляється по пучках теплообмінних трубок 4 в наступну камеру,
яка утворюється днищем 3 і трубною решіткою 5.
Таким чином рідина поступово
нагрівається або охолоджується, проходячи всі пучки теплообмінних трубок 4.
Рідина з потрібною температурою відводиться з апарата по штуцеру 7. Всередину
циліндричного кожуха 1 по штуцеру 8 надходить нагріваючий або охолоджуючий
теплоносій, який омиває трубний пучок і виходить через штуцер 9.
-кожух; 2 - кришка; 3- днище; 4 - теплообмінні труби; 5-
трубні решітки; 6,7-штуцер для трубного простору; 8,9- штуцер для міжтрубного
простору
Рисунок 3.4 - Вертикальний кожухотрубний теплообмінник
В кожухотрубному теплообмінному
апараті використовуються теплообмінні трубки 4, на внутрішній поверхні яких
виконані спіралеподібні канавки з правою та лівою нарізкою. При проходженні
рідини по цих трубках в місцях спіралеподібних канавок пристінний шар потоку
створює турбулентні вихри, які поширюються вздовж стінки, змішуються з ядром
потоку, що і призводить до збільшення коефіцієнта теплообміну в теплообмінних
трубках.
Технічний результат від запропонованої конструкції
кожухотрубного теплообмінника з використанням теплообмінних трубок, на
внутрішній поверхні яких виконані спіралеподібні канавки з правою та лівою
нарізкою, які турбулізують потік в пристінному шарі та забезпечують
інтенсифікацію теплообміну всередині трубок, а відповідно і збільшується
коефіцієнт тепловіддачі, а отже і теплопередачі, полягає у збільшенні
продуктивності такого теплообмінного апарата.
Перевагою даної конструкції є можливість турбулізації потоку
в пристінному шарі, що забезпечить інтенсифікацію теплообміну всередині трубок,
а значить збільшить коефіцієнт тепловіддачі; збільшення продуктивності.
Недоліком даної конструкції є збільшення витрат на монтаж та обслуговування,
обмежене використання середовищ, важкість очищення трубного простору.
2. Вертикальний
теплообмінник[6]. Дана схема апарата зображена на рисунку 3.5. Корисна модель
належить до теплообмінних апаратів, може бути використана у хімічній,
нафтохімічній, фармацевтичній та інших галузях промисловості. В якості
регенеративних систем, систем теплопостачання. Очікуваний ефект - інтенсифікації
теплообміну, зниження вартості апарата та монтажних робіт. Засоби досягнення
ефекту: встановленням оребрення на трубах, спрощення конструкції за рахунок
дефлектора. Кожухотрубний теплообмінник містить циліндричний корпус 9, в якому
розміщено ряд вертикальних труб 2, між якими встановлено горизонтальні
перегородки, що в свою чергу утворюють полиці 7.
В центрі корпуса встановлено
дефлектор 6, для проходження теплоносія, на кришках встановлено штуцер 14, за
допомогою якого можливо здійснювати моніторинг деталей. Для здійснення
кругового руху теплоносії є впускний 4 і випускний 3 колектори. Гарячий
теплоносій надходить в трубний простір теплообмінника по штуцеру 12 і виходить
через штуцер 13.
Теплообмінник працює наступним чином:
рідина, яку потрібно нагріти або охолодити, під тиском надходить по штуцеру 6 в
кришку 2 з трубною решіткою 5. Далі рідина направляється по пучках
теплообмінних трубок 4 в наступну камеру, яка утворюється днищем 3 і трубною
решіткою 5. Таким чином рідина поступово нагрівається або охолоджується,
проходячи всі пучки теплообмінних трубок 4. Рідина з потрібною температурою
відводиться з апарата по штуцеру 7. Всередину циліндричного кожуха 1 по штуцеру
8 надходить нагріваючий або охолоджуючий теплоносій, який омиває трубний пучок
і виходить через штуцер 9.
-теплообмінник; 2-труба; 3,4 - колектор; 5- перегородки;
6-центральний дефлектор; 7-полиця, 9 - циліндричний корпус, 10-розширення
11-трубна решітка, 12, 13- вхід і вихід гарячого теплоносія;14-штуцер
Рисунок 3.5 - Вертикальний кожухотрубний теплообмінник
В циліндричному корпусі розташовано пучок паралельних
вертикальних труб, в яких тече перший теплоносій, по центральному дефлектору
проходить другий теплоносій (вода) з нижчою температурою. В теплообміннику
забезпечується зворотньо-поступальний рух теплоносії за рахунок встановлення
горизонтальних перегородок з отворами для проходження теплоносія, перегородки
утворюють полиці впускного та випускного колектора. Кількість трубок 2 залежить
від потоку пари, необхідно керуватися такими параметрами як тиск і температура.
Трубки 2 оснащені поперечними або поздовжніми ребрами (не показані), ці ребра
розташованих по спіралі, щоб збільшити поверхню теплопередачі, яка знаходиться
в контакті з теплоносієм.
Теплоносій проходить через пучок труб 2 горизонтально на
кожній полиці 7 с по суті з горизонтальним вектором швидкості, а потім
переходить до наступної полиці і тощо, в режимі зворотного обертання, тобто
поперемінно за годинниковою стрілкою і проти годинникової стрілки обертання від
однієї полиці 7 до наступної, знову біжить через пучок труб і так далі.
Концепція теплообмінника відповідно до цього винаходу
дозволяє використовувати труби з ребрами (не показані), так, щоб оптимізувати
теплообмін.
В центрі корпуса розташовано циліндричний дефлектор з
закріпленими кінцями, при цьому утворюючи на кожній полиці кільцевий простір за
допомогою другої текучого середовища, утворені проходи між двома полицями, так
що другий теплоносій поперемінно протікає у зворотному напрямку в зазначених
двох суміжних перегородках. Колектори забезпечені спеціальними порожнинами, що
створюють доступ для управління, ремонту або заміни будь-яких трубчатих
елементів або їх складання.
Перевагою даної конструкції є можливість турбулізації потоку
це забезпечує інтенсифікацію теплообміну, а значить збільшить коефіцієнт
тепловіддачі, за рахунок використання регенерованого теплоносія процес стає
дешевшим.
Недоліком даної конструкції є великий гідравлічний опір, а
також обмежене використання середовищ, важкість очищення трубного простору.
Корисна модель належить до теплоенергетичної, хімічної та
нафтохімічної промисловості і призначений для використання в багатотоннажних
промислових установках.
Очікуваний ефект - розширення діапазону параметрів
експлуатації теплообмінника по температурі, тиску і витратах, підвищенні
надійності роботи і довговічності, а також зниженні матеріалоємності.
Спосіб досягнення ефекту: за рахунок зміни форми
конструктивних елементів, а також їх розташування досягається поставлення технічна
задача.
В кожухотрубному теплообміннику, що містить корпус, днище,
трубний пучок, закритий з двох сторін трубними решітками, виконаними у формі
диска з безперервними, розташованими концентрично виступами і западинами, в
яких виконані отвори для кріплення трубок трубного пучка. Будь-який виступ або
западина в поперечному перерізі мають форму прямокутного трикутника, одна
сторона якого перпендикулярна площині трубної решітки, а інша нахилена до неї,
при цьому отвори для кріплення трубок виконані на середині похилій боку, а в
центрі трубної решітки є циліндровий виступ з отвором для кріплення центральної
трубки.
Теплоносій трубного простору надходить через днище 2 на
трубну решітку 4 і в трубки 7 і 9, закріплені в ній. Проходячи через трубки 7 і
9, теплоносій обмінюється теплом через їх стінки з теплом теплоносія
міжтрубному простору, яке обмежене корпусом 1 теплообмінника і трубними
решітками 4, потім через другу трубну решітку 4, в якій трубки 7 і 9 закріплені
іншими кінцями, надходить в протилежне днище 2 і через отвір в цьому днищі
проходить в інший апарат. При цьому на трубну решітку 4 діють тиск теплоносія,
власна маса, маса трубок 7 і 9 з розміщеними в них інтенсифікатором
теплообміну, а також викликані перепадом температур напруги. Виступи і западини
5 на трубних решітках 4 сприяють розсіюванню напружень в декількох напрямках,
запобігаючи виникненню опуклостей або тріщин, підвищують жорсткість трубної
решітки 4 і дозволяють зменшити її масу. Досягається більш рівномірний розподіл
потоку трубного простору по всіх трубках 7 і 9, а також більш інтенсивний
теплообмін поблизу трубних решіток 4.
Перевагою даної конструкції є розсіюванню напружень в
декількох напрямках, запобігаючи виникненню опуклостей або тріщин, що підвищує
жорсткість трубної решітки та веде до зменшення її маси. Досягається
рівномірний розподіл потоку трубного простору по всіх трубках, а також більш
інтенсивний теплообмін поблизу трубних решіток.
Недоліком даної конструкції є великий гідравлічний опір,
складність конструкції.
Розглянемо конструкціюкотла-утилізатора високого тиску.
В якості котла-утилізатора за основу приймається вертикальний
кожухотрубний теплообмінний апарат.
Теплообмінний апарат містить вертикальний циліндричний
корпус, теплообміні трубки.
Предметом пошуку є: 1) теплообмінний кожухотрубний апарат з
трубчатими теплообмінними елементами; 2) конструкція й матеріал трубчатих
теплообмінних елементів.
Суттєвими ознаками апарата є: вертикальний корпус; трубчасті
теплообмінні елементи нероз’ємне закріплення теплообмінних елементів у трубних
плитах за допомогою підвальцовки з обваркою.
. Вертикальний теплообмінник[8], що зображений на
рисунку 3.7 відноситься до області енергетики і може бути використаний в
теплообмінних апаратах регенеративних систем, систем теплопостачання, призначених
для підігрівання води за рахунок конденсації пари на трубах поверхні
теплообміну.
Очікуваний ефект:підвищиння економічності роботи
теплообмінника і забезпечення оптимальних умов для теплообміну.
Засоби досягнення ефекту: за рахунок спрощення конструкції.
Запропонований теплообмінник, що включає корпус з патрубками входу пари і
виходу його конденсату, розподільну водяну камеру з перегородкою і патрубками
входу і виходу води, що нагрівається, трубну систему з вбудованим охолоджувачем
конденсату з бічними вертикальними стінками і горизонтальними перегородками.
Прицьому в бічних стінках охолоджувача конденсату між трубною дошкою і першою
направляючою горизонтальною перегородкою, а також між останньою і
передостанньою горизонтальними перегородками виконані отвори, сполучені між
собою герметичними коробами, розташованими за межами охолоджувача конденсату, а
друга горизонтальна перегородка охолоджувача конденсату сполучена з корпусом
над патрубком виходу конденсату. Рішення, що заявляється, дозволяє забезпечити
на більшій частині поверхні теплообміну протиточний рух теплоносіїв, а отже,
зменшити поверхню теплообміну на 10-15% в порівнянні з прямоточним рухом за
однакових початкових умов. Одночасно у верхню частину охолоджувача конденсату
поступає переохолоджений (по відношенню до температури насичення) конденсат, що
унеможливлює його скипання і появи гідроударів, здатних зруйнувати охолоджувач
конденсату. Таким чином, рішення, що заявляється, дозволяє підвищити
економічність роботи теплообмінника за рахунок спрощення конструкції і
забезпечення оптимальних умов для теплообміну. Недоліком є складність
внутрішньої будови та збільшений гідравлічний опір.
- корпус; 2, 5 - патрубки входа теплоносіїв; 3,6 - патрубки
вихода теплоносіїв; 4 - розподільна камера; 7 - трубна плита; 8 - теплообмінні
трубки
Рисунок 3.6 - Схема теплообмінника
. Вертикальний теплообмінник, який зображений на рисунку 3.8.
Винахід відноситься до галузі енергетики і може бути
використане в теплообмінних апаратах регенеративних систем, систем
теплопостачання, призначених для підігріву води за рахунок теплоти перегрітого
пара, конденсації на трубах поверхні теплообміну та переохолодження конденсату
що гріє пара.
Очікуваний ефект:підвищення надійності і економічності
теплообмінника.
Засоби досягнення ефекту: за наявності лише одного джерела
теплоти для підігріву води (пар з одного відбору турбіни) здійснює підігрів
води у двох самострільних трубних системах, які мають «свої» автономні трубні
дошки, перепад температур в яких буде с оставлять половину заданого
максимального перепаду, тобто максимальний підігрів води порівну між двома
трубними системами, що знижує можливість «викривлення» трубних дощок, порушень
щільності фланцевого з'єднання трубної дошки з фланцями вод ної камери і
корпусу, а також вальцювальних з'єднань труб поверхні теплообміну в трубних
дошках, зменшує вигин трубних систем і можливість стирання трубок поверхні
теплообміну в місцях проходу їхчерез отвори в перегородках.
Недоліком є складність конструкції та збільшений гідравлічний
опір.
- корпус; 2 - трубні плити; 3 - теплообмінні трубки; 4 -
перегоротки; 5 - розподільча камера
Рисунок 3.7 - Схема теплообмінника
. Вертикальний теплообмінник [10] зображений на рисунку 3.9.
Винахід призначене для застосування в конструкціях теплообмінних апаратів,
переважно водо-водяних підігрівачів, а також може бути використане в системах
теплопостачання.
Очікуваний ефект:підвищення надійності і економічності
теплообмінника, підвищиення технологічність виготовлення теплообмінника при
забезпеченні універсальності його використання, забезпечення ефективності
роботи, зниження габаритів і металоємність при забезпеченні заданої
ефективності роботи.
Засоби досягнення ефекту. Теплообмінник містить кожух з
розташованими в ньому теплообмінними трубами, поперечними і поздовжньої
перегородками, трубні дошки, що утворюють з кожухом міжтрубний простір,
компенсатор, виконаний на кожусі, що має внутрішню перегородку камеру подачі
середовища в труби і відведення з них і камеру повороту середовища, що
примикають до трубним дощок, що утворюють з трубами трубне простір і виконані
шарнірно відкривають, і патрубки подачі та відводу середовища в міжтрубний
простір і камеру подачі середовища. Теплообмінник виконаний з можливістю
організації руху середовищ по трубному і міжтрубний простір в 2 або 4 ходи і
секціонування.
- корпус; 2 - теплообмінні трубки; 3 - перегоротки; 4 -
теплоізольована перегоротка; 5 - трубні плити
Рисунок 3.8 - Схема теплообмінника
Продольная перегородка кожуха виконана плоскою або
хрестоподібної. Поперечні і поздовжня перегородки кожуха забезпечені
ущільненнями.
Перевагою є те, що винахід дозволяє підвищити технологічність
виготовлення теплообмінника при забезпеченні універсальності його використання
при зміні положення його поздовжньої осі, а також знизити габарити і
металоємність при забезпеченні заданої ефективності роботи.
Розглянемо конструкції колони синтезу аміаку.
Колонний апарат містить вертикальний циліндричний корпус, дві
кришки, внутрішню насадку з полками.
Предметом пошуку є: 1) колонний апарат з насадкою; 2)
конструкція й матеріал насадки.
Суттєвими ознаками апаратів є: вертикальний корпус ;верхня й
нижня кришки; полчата насадка.
. Колона синтезу [11].зображений на рисунку 3.9.
Винахід відноситься до конструкцій колон для проведення тепло-масообмінних
процесів і може бути використане в нафтохімічній, хімічній та харчовій
промисловості.
- корпус; 2 - трубчаті контактні пристрої; 3 - пристрій для
відводу тепла; 4 - розподільчий пристрій; 5 - трубні решітки
Рисунок 3.9 - Схема колони
Очікуваний ефект:підвищення ефективності.
Засоби досягнення ефекту: запобігання термічного розпаду
термолабільних компонентів і раціонального розподілу потоків мас.
Колонна містить корпус 1, у верхній частині якого розміщено
пристрій для відводу тепла у вигляді холодильника 2 з трубними гратами 3 і 4, а
в нижній частині - пристрій, для теплоподвода у вигляді нагрівача 5 з трубними
гратами 7 і 8. Тим трубними гратами вздовж всього корпусу розміщені трубчасті
контактні пристрої 9, верхня частина яких має потовщення 10 (в порожнину
контактних пристроїв), а нижня частина - потовщення 11 (на зовнішню поверхню
контактних елементів). Над холодильником 2 встановлено розподільчий пристрій у
вигляді тарілки 12 з трубними пристроями 13 введення і розподілу кубового
залишку атмосферної частини в влкуумірованную порожнину пристроїв 9. Колона
забезпечена штуцерами 14-23 і пристрій розподілу вихідної суміші (не показано).
Колона також має виносні теплообмінники 24-28 та нагрівачі 29 і 6.
8. Колонасинтезу [12]зображений на
рисунку 3.11. Винахід відноситься до масообмінних обладнання, що застосовується
в лабораторіях НДІ і промислових підприємств хімічної, нафтохімічної, газової,
хіміко-фармацевтичної та суміжних галузях промисловості.
- корпус; 2 - тубус; 3, 4 - вхідний та вихідний сферичні
шліфи; 5 - перфорована воронка; 6 - насадка; 7 - патрубки; 8 - робочий простір
заповнений насадкою
Рисунок 3.10 - Схема колони
Очікуваний ефект:- підвищення ефективності процесу
массопередачі на насадці.
Засоби досягнення ефекту:за рахунок
посилення турбулізації взаємодіючих потоків пари (газу) - рідини.
Насадокова колона, яка містить
вертикальний циліндричний корпус, опорну перфоровану воронку, розташовану в
нижній частині корпусу, тубус, закріплений на нижній частині корпусу зовні
опорної воронки і виконаний з шліфують, насадку, вміщену в корпус на лійку, і
поміщені в воронку зігнуті патрубки, вхідні кінці яких упаяні у верхню частину
воронки, а вихідні розташовані нижче їх і на відстані щодо воронки, що
відрізняється тим, що з метою підвищення ефективності процесу массопередачі за
рахунок посилення турбулізації взаємодіючих потоків, інші кінці вигнутих
патрубків відігнуті до центру, при цьому вісь патрубків розташована коаксіалию
поверхні тубуса, патрубки розташовані щодо стінки воронки на відстані 0.5
діаметру патрубка.
9. Ректифікаційна колона[13]зображений на рисунку 3.12.
Винахід відноситься до тепло-масообмінний пристрій і може знайти застосування в
хімічній та суміжних галузях промисловості при регенерації відпрацьованої
азотної кислоти.
Очікуваний ефект:інтенсифікація процесу абсорбції оксидів
азоту, зменшення втрат товарного продукту від термохімічних розкладання і з
дистилятом, виключення забруднення навколишнього середовища.
Засоби досягнення ефекту:контактні тепломассообменні пристрої
складаються з переплетених труб, розташованих на сітчатой конусної решітці, при
цьому в центральній частині решітки труби укладені в кожух, закріплений верхній
відкритою частиною решітці і має зрошувач, що знаходиться у верхній частині
кожуха.
Ректифікаційної колони для концентрування азотної кислоти, що
містить вертикальний циліндричний корпус, розділений по висоті на окремі
секції, парціальний конденсатор, шламовідстійників, зрошувачі, трубчасті
контактні тепло-масообмінний пристрій, конденсатор і випарник.
- корпус; 2 - насадка; 3 - решітка; 4 - колектор; 5 - конусна
решітка; 6 - трубчаті тарілки
Рисунок 3.11 - Схема колони
У результаті проведення патентних досліджень встановлено:
. Винахідницька активність промислово-розвинутих країн у
галузі розроблення та вдосконалення обладнання синтезу аміаку спрямована на
зменшення енергоспоживання та підвищення якості одержуваного продукту.
Зокрема, основними цілями модернізації колон синтезу є
зменшення робочого тиску та підвищення стабільності температурного режиму.
Переважно патентуються технічні рішення, що стосуються насадок, каталізаторів
та іншого застосування в процесі синтезу.
Вдосконалення конструкцій котлів-утилізаторів та
теплообмінників спрямовано на інтесифікацію теплообміну, зменшення
гідравлічного опору та оптимізацію режиму руху теплоносіїв. При цьому
патентовані винаходи й корисні моделі стосуються як апаратів у цілому, так і
їхніх складових частин.
. Державами, що переважно патентують технічні рішення в
галузі синтезу аміаку, є країни з розвинутою хімічною промисловістю - США,
Німеччина, Японія та Китай. Кількість українських винаходів і корисних моделей
за темою проекту останнім часом скоротилося.
. Компенсувати температурне розширення труб можна за
допомогою компенатора, який знаходиться у виносному стакані.
. Попередній аналіз конструкцій проектованих апаратів
дозволяє припустити, що модернізація не потребуватиме придбання ліцензій на
випуск нової продукції.
. Прийняті технічні рішення відповідають сучасному рівню
науки й техніки.
. Розрахунки, що підтверджують працездатність та надійність
конструкцій
.1 Розрахунок матеріального балансу колони
Метою розрахунку матеріального балансу колони є визначення
основних матеріальних потоків, обчислення концентрацій компонентів на різних
стадіях процесу, визначення основних геометричних розмірів.
Розрахунок ведеться за допомогою програми, на мові QBasic за
методикою, викладеною в [1].
Вихідні дані:
Продуктивність по аміаку, G, т/добу 1420;
Тиск, Р, МПа 30;
Вміст аміаку в початковій суміші, z1(2), % 3,1;
Вміст аргону в початковій суміші, z 1(3), % 4;
Вміст метану в початковій суміші, z1(5), % 3,6;
Температура реакції, Tp,0C 500.
Розрахункова схема представлена на рисунку 4.1
Рисунок 4.1 - Схема до розрахунку матеріального балансу
колони
Коефіцієнти з індексом 1, відповідають процесам і речовинам,
що надходять до реактора, 2 - речовини, що виходять з реакторау.
Скористаємось алгоритмом, запропонованим авторами [1].
З метою спрощення вводимо наступні індекси позначень окремих
компонентів - 1-азот, 2-аміак, 3-аргон, 4-водень, 5-метан. Визначаємо
початковий склад циркуляційного газу. З вихідних даних відомо вміст аміаку,
аргону і метану.
За довідником [14] визначаємо молярні маси компонентів
циркуляційного газу
Синтез аміаку може бути описаний оборотною екзотермічною
реакцією:
,5Н2+0,5N2 = NH3+Q
Відомо, що до колони подається циркуляційний газ
стехіометричного складу (z1(4):z1(1)=3:1). Звідции випливає, що вміст азоту
z1(1) та водню z1(4) можна визначити наступним чином:
де z1(2) - вміст аміаку, z1(3) - вміст аргону, z1(5) - вміст
метану.
Згідно з принципом Ле-Шательє вихід продукту буде
збільшуватись при збільшенні тиску і зниженні температури[1].
Продуктивність реактора по аміаку:
Для розрахунку значень константи рівноваги Кр при різних
температурах і тисках запропоновано ряд емпіричних і теоретичних рівнянь, з
яких найбільш простим є емпіричне рівняння А.Ларсона і Р.Доджа [ ]:
де
та i- константи інтегрування:
,
Теоретична рівноважна концентрація аміаку в газовій суміші:
Де
де bтаu - коефіцієнти.
Звідси приймаємо значення частки аміаку на виході з колони:
Мольна витрата циркуляційного газу на виході у колону,
кмоль/с:
Мольна витрата циркуляційного газу на вході у колону,
кмоль/с:

Мольна витрата циркуляційного газу на вході у колону синтезу по
компонентам, кмоль/с:
Об’ємна витрата циркуляційного газу на в ходіу колону синтезу по
компонентам,
:
де h=22,4 л - згідно закону Авогадро(1 моль газу при нормальних умовах
займає 22,4 літра).
Масова витрата циркуляційного газу на вході у колону синтезу по
компонентам,
:
Загальна масова витрата циркуляційного газу на входіу колону синтезу по
компонентам,
:
Масові частки циркуляційного газу на вході у колону синтезу по
компонентам:
Мольна витрата циркуляційного газу на виході з колони синтезу
по компонентам, кмоль/с:
Об’ємні витрати циркуляційного газу на виході з колони
синтезу по компонентам:
Об’ємні витрати циркуляційного газу на виході з колони
синтезу по компонентам, м3/с:
Сума об'ємних витрат циркуляційного газу на виході з колони
синтезу
:
Масові витрати циркуляційного газу з колони синтезу по
компонентам, кг/с:
Загальні масові витрати циркуляційного газу з колони синтезу
по компонентам, кг/с:
Масові частки компоненті циркуляційного газув на виході з
колони синтезу:
Сума масових часток компонентів на виході з колони синтезу:
Запишемо параметри циркуляційного газу на вході до колони
синтезув таблицю 4.1 та на виході з колони в таблицю 4.2.
Таблиця 4.1- На вході до колони синтезу
|
Компонент
|
г\моль
|
|
кмоль/с
|
м3/с
|
кг/с
|
|
|
1
|
2
|
3
|
4
|
5
|
6
|
7
|
|
азот
|
28,014
|
0,223
|
1,943
|
43,526
|
54,434
|
0,607
|
|
аміак
|
17,031
|
0,031
|
0,27
|
6,044
|
4,595
|
0,051
|
|
аргон
|
39,948
|
0,04
|
0,348
|
7,799
|
13,908
|
0,155
|
|
водень
|
2,016
|
0,67
|
5,829
|
130,577
|
11,752
|
0,131
|
|
метан
|
16,043
|
0,036
|
0,313
|
7,019
|
5,027
|
0,056
|
|
Сума
|
|
1,00
|
8,704
|
194,964
|
89,716
|
1,00
|
Таблиця 4.2- На виході з колони сентезу
|
Компонент
|
г\моль
|
|
кмоль/с
|
м3/с
|
кг/с
|
|
|
1
|
2
|
3
|
4
|
5
|
6
|
7
|
|
азот
|
28,014
|
0,189
|
1,461
|
32,718
|
40,917
|
0,456
|
|
аміак
|
17,031
|
0,16
|
1,235
|
27,66
|
21,03
|
0,234
|
|
аргон
|
39,948
|
0,045
|
0,348
|
7,799
|
13,908
|
0,155
|
|
водень
|
2,016
|
0,566
|
4,382
|
98,153
|
8,834
|
0,098
|
|
метан
|
16,043
|
0,04
|
0,313
|
7,019
|
5,027
|
0,057
|
|
Сума
|
|
1,00
|
7,739
|
173,348
|
89,716
|
1,00
|
4.1.2 Розрахунок об’єму каталізатору в колоні
Мета: розрахувати потрібний об’єм каталізатору для заданої
кількості аміаку на кожній полиці і в цілому.
Вихідні дані:
Виробність колони по аміаку, G, т/добу 1420;
Загальний тиск у колоні, Р, МПа 30;
Температура газової суміші, С:
- на вході в шар каталізатору, Tn 468,05;
- на виході з каталізатора, TK 532,9;
Температура реакції синтезу, Tp,С, 500.
Стехіометричний склад циркуляційного газу.
Домішки, %:
- азоту,
22,3;
аміаку,
3,1;
аргону,
4;
водню,
67;
метану,
3,6.
Об’ємна витрата на вході,
,V1
Об’ємна витрата на виході,
,V2
Розраховуємо матеріальний баланс по кожній полиці.
Розрахункова схема представлена на рисунку 4.2
Циркуляційний газ потрапляє на першу полицю де відбувається
реакція синтезу. Виходячи з неї він змішується із свіжим байпасним газом
температура якого від газу який виходь з полиці. На другу полицю циркуляційний
газ потрапляє з дещо нижчою температурою.
Після реакції на другій полці циркуляційний газ вміщує в собі
більше аміаку і також змішується з байпасним газом перед входом до третьої
полиці. Після третьої полиці циркуляційний газ з максимальною концентрацією
аміаку виходить з реактору.
Рисунок 4.2 - Схема до розрахунку полиць колони
Приймаємо, що доля байпасного газу становить КВ = 0,25 від
основного потоку. kW = 52400 - кінетичний коефіцієнт.
Фізичні властивості циркуляційного газу задаємо у вигляді
поліномів в залежності від температури і концентрації аміку.
(4.1)
Приймаємо, що температура циркуляційного газу на кожній
полиці змінюється від Tn=468,050Cдо Tк=523,9 0Cпричому кінцеву температуру
приймаємо постійною, а початкову температуру змінюємо при необхідності до
досягнення результату.
Масова витрата циркуляційного газу яка потрапляє на першу полицю
визначається за формулою:
m11 = m1 (1 - КВ)= 89,716 (1-0,25)=67,287 кг/с.
Визначаємо V1(i) витрату аміаку на вході:
(2) = m11b11(2)=67,2870,051=3,446 кг/с;(2) =
m11(2)/M(2)=3,01/17,0304=0,202 кмоль/с.
Сумарні витрати:
= V11(2)/z11(2)=0,176/0,043=6,528 кмоль/с
Нехай температура початку реакції становить Tn=468,050C
кінцева температура реакції Tk=532,90C. Середня температура:
с = (Tn + Tk)/2=(468,05+532,9)/2=500,5C.
Приймаємо концентрацію аміаку на першій полиці такою, як в на
вході в колону:
ср = z1(2)=0,031.
Середню питому теплоємність циркуляційного газу визначаємо за
(4.1):
Кількість тепла, що виділиться в результаті реакції
становить:
Q1 = m11Cp1 (Tk - Tn)=67,287 3466 (532,9-468,05)=1,512 107
Дж.
Питома теплота реакції визначається за формулою:
Кількість аміаку, що утворилась на першій полиці становить
Обчислюємо витрати та склад газової суміші на виході з першої
полиці аналогічно розрахунку витрат та складу суміші на виході із колони. Всі
результати зводимо в таблицю 4.3.
Розрахунок теплового та матеріального балансу змішувача.
При подачі байпасного газу в змішувач температура
циркуляційного газу повинна дорівнювати початковій температурі Tn =468,050C.З
теплового балансу обчислюємо масову витрату байпасу після першої полиці.
b = m11(Tk - Tn)/(Tk - Tb)=67,287
(532,9-468,05)/(532,9-35)=8,764 кг/с.
Обчислюємо витрати компонентів байпасного газу після першої
полиці:
b(i) = m1b b1(i) (4.2)b(i)
= m1b(i)/M(i) (4.3)b(i)
= V1b(i) 22,4 (4.4)
Обчислюємо витрати компонентів на вході на другу полицю як
суму витрат компонентів після першої полиці та витрати компонентів байпасного
газу після першої полиці за формулами (4.2), (4.3), (4.4) отримані результати
характеризують циркуляційний газ який потрапляє на другу полицю.
Матеріальний баланс другої полиці та змішувача після неї
виконуємо аналогічно першій полиці. Розрахунок матеріального балансу третьої
полиці виконуємо також аналогічно першій полиці. Всі результати розрахунку
зведені в таблицю 4.3. З результатів розрахунку видно, що незважаючи на розміри
полиць на них утворюється приблизно рівна кількість аміаку.
Таблиця 4.3 - Результати розрахунків матеріальних балансів
полиць і змішувачів.
|
Компонент
|
z, %. част.
|
V, кмоль/с
|
U, м3/с
|
m, кг/с
|
b, мас. част
|
|
Вхід на першу полицю
|
|
Азот
|
0,223
|
1,457
|
32,644
|
40,826
|
0,607
|
|
Аміак
|
0,031
|
0,202
|
4,533
|
3,446
|
0,051
|
|
Аргон
|
0,04
|
0,261
|
5,849
|
10,431
|
0,155
|
|
Водень
|
0,67
|
4,372
|
97,933
|
8,814
|
0,131
|
|
Метан
|
0,036
|
0,235
|
5,264
|
3,77
|
0,056
|
|
Сума
|
1
|
6,528
|
146,223
|
67,287
|
1,00
|
|
Вихід з першої полиці (вхід до першого змішувача)
|
|
Азот
|
0,21
|
1,318
|
29,531
|
36,933
|
0,549
|
|
Аміак
|
0,077
|
0,48
|
10,759
|
8,18
|
0,122
|
|
Аргон
|
0,042
|
0,261
|
5,849
|
10,431
|
0,155
|
|
Водень
|
0,633
|
3,955
|
89,594
|
7,973
|
0,118
|
|
Метан
|
0,038
|
0,235
|
5,264
|
3,77
|
0,056
|
|
Сума
|
1
|
6,25
|
139,997
|
67,287
|
1
|
|
Кількість аміаку що утворилося на першій полиці
0,278 кмоль/с.
|
|
Вхід на другу полицю (вихід з першого змішувача)
|
|
Азот
|
0,212
|
1,508
|
33,783
|
42,25
|
0,555
|
|
Аміак
|
0,071
|
0,507
|
11,349
|
8,629
|
0,114
|
|
Аргон
|
0,042
|
0,295
|
6,611
|
11,79
|
0,155
|
|
Водень
|
0,637
|
4,525
|
101,35
|
9,121
|
0,12
|
|
Метан
|
0,037
|
0,266
|
5,95
|
4,261
|
0,056
|
|
Сума
|
1
|
7,1
|
159,043
|
76,051
|
|
Вихід з другої полиці (вхід до другого змішувача)
|
|
Азот
|
0,199
|
1,351
|
30,262
|
37,847
|
0,498
|
|
Аміак
|
0,121
|
0,821
|
18,391
|
13,983
|
0,184
|
|
Аргон
|
0,043
|
0,295
|
6,611
|
11,79
|
0,155
|
|
Водень
|
0,597
|
4,053
|
90,787
|
8,17
|
0,107
|
|
Метан
|
0,039
|
0,266
|
5,95
|
4,261
|
0,056
|
|
Сума
|
1
|
6,786
|
152,001
|
76,051
|
1
|
|
Кількість аміаку що утворилася на другій полиці
0,314 кмоль/с.
|
|
Вхід на третю полицю (вихід з другого змішувача)
|
|
Азот
|
0,202
|
1,647
|
36,892
|
46,138
|
0,512
|
|
Аміак
|
0,106
|
0,862
|
19,312
|
14,683
|
0,163
|
|
Аргон
|
0,043
|
0,348
|
7,799
|
13,908
|
0,154
|
|
Водень
|
0,607
|
4,941
|
110,676
|
9,961
|
0,111
|
|
Метан
|
0,042
|
0,339
|
7,593
|
5,438
|
0,06
|
|
Сума
|
1
|
8,137
|
182,27
|
90,127
|
1
|
|
Вихід з третьої полиці
|
|
Азот
|
0,188
|
1,461
|
32,717
|
40,917
|
0,454
|
|
Аміак
|
0,159
|
1,235
|
27,662
|
21,031
|
0,233
|
|
Аргон
|
0,045
|
0,348
|
7,799
|
13,908
|
0,154
|
|
Водень
|
0,564
|
4,382
|
98,151
|
8,834
|
0,098
|
|
Метан
|
0,044
|
0,339
|
7,593
|
5,438
|
0,06
|
|
Сума
|
1
|
7,764
|
173,921
|
90,127
|
1
|
|
Кількість аміаку що утворилася на третій полиці
0,373 кмоль/с.
|
|
Сумарна кількість аміаку що утворилася на трьох
полицях 0,965 кмоль/с.
|
|
|
|
|
|
|
|
|
|
|
|
|
|
|
|
|
|
Визначаємо об'ємну швидкість циркуляційного газу на вході до
першої полиці:
Визначаємо об'ємну швидкість циркуляційного газу на виході з
першої полиці:
Розраховуємо кількість каталізатору на полицях для утворення
необхідної кількості аміаку. Схема розрахунку представлена на рисунку 4.3.
Рисунок 4.3 - Схема розміщення каталізатору в колоні
Розрахунок першої полиці:
Об’ємна швидкість - це витрати циркуляційного газу
віднесеного до 1 м3 каталізатора за годину, визначені за умови досягнення
заданої концентрації.
В основу розрахунку об'єму каталізатора на полиці покладені
співвідношення:
= U13600/W1=146,223 3600/158600=3,319 м3;= U2 3600/W2=139,997
3600/33790=14,916 м3;= Vkf2 - Vkf1 =14,15-3,319=11,596 м3.
де U1=146,223м3/с - об’ємна витрата циркуляційного газу на
вході до першої полиці, U2=139,997м3/с - об’ємна витрата циркуляційного газу на
виході з першої полиці, W1=158600 год-1 - об’ємна швидкість циркуляційного газу
на вході в першу полицю, W2=33790год-1- об’ємна швидкість циркуляційного газу
на виході з першої полиці.
Дві інші полиці розраховуються за таким же алгоритмом.
Результати розрахунків зведені в таблицю 4.4.
Таблиця 4.4 - Результати розрахунку об’єму каталізатору
|
Полиця
|
z11, %. част.
|
W1, год-1
|
Vkf1, м3
|
z12, %. част.
|
W2, год-1
|
Vkf2, м3
|
Vk, м3
|
|
1
|
0,031
|
158600
|
3,319
|
0,077
|
33790
|
14,916
|
11,596
|
|
2
|
0,071
|
38040
|
15,052
|
0,121
|
16950
|
32,289
|
17,237
|
|
3
|
0,106
|
20610
|
31,839
|
0,159
|
11450
|
54,66
|
22,821
|
|
сума
|
-
|
-
|
-
|
-
|
-
|
-
|
51,654
|
Висновок:з розрахунку видно, що кількість утвореного аміаку
на кожній полиці приблизно рівна, але об’єм каталізатору повинен бути
більшим(робиться запас по каталізатору).
4.1.3 Розрахунок геометричних розмірів реактора та насадки
Мета: визначити геометричні розміри елементів та швидкості
потоків в апараті.
Розрахункова схема представлена на рисунку 4.4.
Визначаємо внутрішні розміри.
Приймаємо коефіцієнт запасу об’єму каталізатора К = 1,3.[1]
Необхідний об’єм каталізатора:кат = К Vк=1,15 51,654=59,402
м3.
Приймаємо співвідношення між внутрішньою висотою та внутрішнім
діаметром колони Y = 13 [1].
Тоді для даного типу колони розрахунковий внутрішній діаметр
становить:
D8 =
Приймаємо за ГОСТ 11876 - стандартний діаметр колони D1 = 2,6
м.
Визначення геометричних розмірів насадки.
Для подальших розрахунків приймаємо температурний режим
роботи колони, С:
- середня температура циркуляційного газу в першому
каналіTc1 = 186,5;
- середня температура циркуляційного газу в другому
каналі Tc2 = 424,5;
середня температура циркуляційного газу в третьому
каналі Tc3=500.
Рисунок 4.4 - Геометричні розміри каналів реактору
Коефіцієнт стисливості (число Амага) для газової суміші
заданого складу при середніх температурах у відповідних каналах [2]:
Об’ємна витрата циркуляційного газу в каналах:
- перший:
- другий:
- третій:
Для подальшого розрахунку діаметрів елементів насадки,
попередньо приймаємо [2]:
- зовнішній діаметр пускового електронагрівника, d1, м 0,135;
- товщину стінки центральної труби,Sc, м 0,005;
товщину стінки каталізаторної коробки,Sк, м
0,01;
швидкість газової суміші в каналах,W, м/с, 10.
Знаходимо площу перерізу відповідного каналу:
- першого fk1 = Uk1/W=1,246/10=0,125 м2;
- другого fk2 = Uk2/W=1,821/10=0,182 м2;
третьогоfk3 = Uk3/W=1,781/10=0,178 м2.
Розрахунковий внутрішній діаметр центральної трубки:
Зовнішній діаметр центральної трубки:
= D2 + 2 Sc=0,496+2
0,005=0,507 м.
Розрахунковий зовнішній діаметр каталізаторної коробки:
Висновок: в результаті розрахунків було визначено внутрішній
діаметр колони.
.1.4 Розрахунок температурного режиму колони
Метою розрахунку - є визначення параметрів теплообміну в
каналах колони. Розрахунок коефіцієнту тепловіддачі від зовнішньої поверхні
колони в навколишнє середовище. Приймаємо температура зовнішньої поверхні
стінки колони Tcт.6=186,5С, степінь чорноти = 0,95.
Коефіцієнт тепловіддачі випромінюванням:
Критерій Грасгофа при вільній конвекції (при обдуванні колони
вітром):
Розраховуємо значення критерію Прандтля:
Критерій Нусельта при поперечному обтіканні одинокої труби
(при Gr Pr ≥2 107):
Розрахункова схема представлена на рисунку 4.5.
Рисунок 4.5 - Схема до розрахунку температурного режиму
колони
Коефіцієнт теплопровідності конвекцією:
де S0- товщина стінки колони.
Коефіцієнт тепловіддачі від зовнішньої поверхні колони в
навколишнє середовище:
Теплопередача та тепловіддача в елементах насадки. Уточнення
температурного режиму.
Розраховуємо температуру газу на виході зі щілини між
корпусом колони та каталізаторною коробкою.
Еквівалентний діаметр кільцевої щілини:
ек.5 = D1 -
D7=2,6-2,557=0,0318 м.
Теплофізичні властивості циркуляційного газу за його
середньої температури в першому каналі [14]:
- теплопровідність, 5, Вт/мК 0,134;
- динамічна вязкість,5, Пас
2,1110-5;
- густина,5, кг/м377,00;
- теплоємність с5,Дж/кгК3499.
Розраховуємо значення критерію Прандтля:
Розраховуємо значення критерію Рейнольдса:
Розраховуємо значення критерію Нусельта:
Коефіцієнт тепловіддачі від газової суміші до стінки
внутрішньої частини стінки колони:
Коефіцієнт теплопередачі через стінку корпусу колони:
Орієнтовна площа бокової поверхні колони:= D9 Ha=3,142,577
23=186,11 м2.
Теплові втрати в оточуюче середовище через бокову поверхню
колонивт1 = K56 FK (Tср.1 - Tн.с.)=22 186,11 (180-20)=660735,7 Вт
Два інші канали розраховуються за таким же алгоритмом.. Результати
розрахунків зведені в таблицю (4.5)
Таблиця 4.5 - Результати розрахунків температурного режиму
колони
|
Канал
|
Qвт, Вт
|
К, Вт/ м2К
|
α1, Вт/м2К м2К м2К
|
α2, Вт/ м2К
|
|
1
|
660735,7
|
22
|
24
|
3630
|
|
2
|
203590,6
|
6,64
|
3630
|
5133
|
|
3
|
85524
|
1169,6
|
2787
|
2565
|
З результатів розрахунку видно, що втрати в навколишнє
середовище досить великі і на реакторі потрібно зробити ізоляцію.
.2 Розрахунок температурного режиму теплообмінника колони
Мета: визначити площу теплообміну та основні характеристики
теплообмінника.
Вихідні дані:
Циркуляційний газ в трубному просторі:
Тиск, Р,МПа 30;
Температура на вході,T21С 530;
Температура на виході,T22,С 319;
Масова витрата, m, кг/с 67,287;
Об’ємна витрата,Ugm,м3/с 194,964;
Циркуляційний газ в міжтрубному просторі:
Тиск, Рm,МПа 30;
Температура на вході,T11,С 187,5;
Температура на виході,T12,С 470;
Масова витрата, m , кг/с 89,716;
Об’ємна витрата,Ugm,м3/с 173,348.
Розрахункова схема температурного режиму зображена на рисунку
4.6.

Рисунок 4.6 - Схема температурного режиму
Розрахунок проведений в програмі, методом послідовних
ітерацій. Нище нведено останій розрахунок.
Визначаємо
середнє арифметичне значення температурициркуляційного газу у між трубному
просторі:
При знайдених значеннях температур теплоносіїв кількість
теплоти яка потрібна для нагріву холодного теплоносія:
Середня логарифмічна різниця температур теплоносіїв:
Остаточні значення середніх температур теплоносіїв:
Об’ємні витрати теплоносіїв:
Приймаємо для теплообмінника труби із зовнішнім діаметром
dz=0,012м та внутрішнім діаметром dv=0,009 м, із довжиноюLt=6 м, а також
задаємося орієнтовним значенням коефіцієнту теплопередачі k=1699
визначимо орієнтовне значення
поверхні теплообміну:
Поверхня теплообміну однієї трубки:
Кількість трубок необхідних для здійснення теплообміну при
даному значені коефіцієнту теплопередачі:
Визначаємо кількість трубок по стороні зовнішнього шестикутника:
Приймаємо a=25 шт.
Визначаємо діаметр трубного пучка:
За значенням Dtr приймаємо внутрішній діаметр корпуса Dv=0,86
м.
Густина циркуляційного газу у трубному просторі:
Швидкість
течії теплоносія в трубному просторі:
Критерій Рейнольда для трубного простору:
Значення критерію Прандтля для трубного простору:
Значення критерію Нусельта для Re>10000
Коефіцієнт тепловіддачі в трубному просторі:
Прохідний переріз руху теплоносія в міжтрубному просторі:
Визначаємо кількість трубокв перерізі паралельно вісі
апарату:
ПриймаємоNn=34 шт.
де Nn- кількість трубок в перерізі паралельному вісі апарату
в кінці перегородки,tk=0,017м - крок мыж трубами і h = 0,4 м. - відстань між
перегородками визначається конструктивно.
Густина циркуляційного газу у між трубному просторі:
Швидкість
руху газу в міжтрубному перерізі:
Критерій Рейнольда для міжтрубного просторі:
Критерій Прандтля для міжтрубного просторі:
Значення критерію Нусельта для Re>10000:
Коефіцієнт тепловіддачі в міжтрубному просторі
Уточнене значення коефіцієнту теплопередачі:
де
де r1=1/11000 м2К/Вт таr2=1/11000 м2К/Вт - тепловапровідність
забруднених стінок органічним газом.
Розраховуємо поверхню теплообміну:
Запас поверхні теплообміну:
Висновок: за результатами розрахунку ми отримали геометричні
розміри апарату що проектується.
Довжина труб становитьLt=6 м, внутрішній діаметр апарата
Dv=0,86 м, кількість теплообмінних трубок nтр=1925 шт., площа теплообміну
F1=435,54 м2.
.3 Розрахунок поверхні теплообміну котла - утилізатора
Мета: визначити площу теплообміну та основні характеристики
котла - утилізатора.
Вихідні дані:
Циркуляційний газ в трубному просторі:
Тиск, Р2, МПа 30;
Температура на вході,T21, С 319;
Температура на виході,T22, С 215;
Масова витрата, m2,кг/с
89,716;
Об’ємна витрата,Ug, м3/с 173,348;
Коцентрація по аміаку на виході з колони, z2 0,16;
Вода в міжтрубному просторі:
Тиск, Р1,МПа 8,6;
Температура на вході,T11, С 110;
Температура на виході,T12,С, 300.
Розрахункова схема представлена на рисунку 4.7

Рисунок 4.7 - Схема температурного режиму
Розрахунок проведений в програмі методом послідовних
ітерацій. Нище нведено останій розрахунок.
Визначаємо
середнє арифметичне значення температурициркуляційного газу у трубному
просторі:
Приймаємо тепломність циркуляційного газу у трубному просторі
c2=3532Дж/кг0С при середній арифметичній температурі
При знайдених значеннях температур теплоносіїв кількість
теплоти яка потрібна для нагріву холодного теплоносія:
Середня логарифмічна різниця температур теплоносіїв:
Визначаємо середню температуру циркуляційного газу у
міжтрубному просторі:
Приймамо тепломність циркуляційного газу у трубному просторі
c1=4524 Дж/кг0С при середній арифметичній температурі
Визначаємо масову витрату води, яка потрібна для охолодження:
Об’ємні витрати теплоносіїв м3/с:
де
Прийнявши для теплообміннику трубки із зовнішнім діаметром
dz=0,022м і внутрішнім діаметром dv=0,022м із довжиноюLt=11 м, а також
задавшись діаметром внутрішньої труби d0=0,426м та внутрішнім діаметром апарата
Dv=1,6м.
Визначаєм кількість трубок, яка помістилася б на місці
внутрішньої труби:
де
де a=3 - необхідна кількість трубок для повного заповнення
об'єму.
Визначамо кількість труб, яка помістилася б на місці
внутрішньої труби:
де
Приймаємо a=8 шт[15].
Приймаємо b=14 шт[15].
Де
Визначаємо кількість труб на діагоналі, якщо заповнити
повністю простір апарата:
Приймаємо b1=52шт[15].
Кількість труб на стороні:
Приймаємо a1=27 шт[15].
Загальна кількість труб, яка могла б поміститися при
внутрішньому діаметрі апарата Dv=1,6м:
Визначаємо дійсну кількість труб, яка може помісттися:
Приймаємо із стандартного ряду N1=2263шт.
Визначаємо дійсну кількість трубок по стороні зовнішнього
шестикутника:
Приймаємо a=28 шт[15].
За значенням Dtr приймаємо внутрішній діаметр апаратаDv = 1,7
м.
Визначаємо орієнтовне значення поверхні теплообміну:
Густина циркуляційного газу у трубному просторі:
Швидкість течії теплоносія в трубному просторі:
Критерій Рейнольда для трубного простору:
Значення критерію Прандтля для трубного простору:
Значення критерію Нусельта для Re>10000:
Коефіцієнт тепловіддачі в трубному просторі:
Критерій Рейнольдса у міжтрубного просторі:
Де de - еквівалентний діаметр:
де P=1,007м-периметр,F=162,69 м2- площа.
Швидкість руху газу в міжтрубному перерізі:
Критерій Рейнольда для міжтрубного просторі:
Значення критерію Нусельта для перехідного режиму:
Коефіцієнт тепловіддачі в міжтрубному просторі:
Уточнене значення коефіцієнту теплопередачі:
Де
де r1=1/1420 м2град/Вт - для води таr2=1/11000 м2град/Вт -
теплова провідність забруднення стінки органічним газом.
Розраховуємо поверхню теплообміну:
Запас поверхні теплообміну:
Висновок: за результатами рахунку геометричні розміри апарату
що проектується. Довжина труб становитьLt=11 м, внутрішній діаметр апарата
Dv=1,7м, кількість теплообмінних трубокN1=2263шт., площа теплообмінуF1= 1722м2.
.4 Розрахунок виносного теплообмінника
.4.1 Розрахунок температурного режиму виносного
теплообмінника
Метою розрахунку є визначення площі поверхні теплообміну та
основних характеристик виносного теплообмінника.
Вихідні дані:
Продуктивність реактора,G, т/добу 1420;
Тиск газу в трубному та міжтрубному просторі, P, МПа 30;
Початкова температура гарячого газу,T2п, 0С (215);
Кінцева температура гарячого газу,T2к,0С (65);
Початкова температура холодного газу,T1п, 0С (35);
Масова витрата гарячого газу, m2, кг/с 89,176;
Масова витрата холодного газу,m1, кг/с 89,176;
Об’ємні витрати гарячого газу,U22, м3/с 173,348;
Об’ємні витрати холодного газу,U11, м3/с 194,964;
Коцетрація аміаку в трубному просторі,z2 0,031;
Коцетрація аміаку в міжтрубному просторі,z1 0,16.
Схема температурного розрахунку виносного теплообмінника
зображена на рисунку 4.8. Схема руху циркуляційного газу зображена на рисунку
4.9.
Рисунок 4.8 - Схема температурного розрахунку виносного
теплообмінника
- холодний циркуляційний газ; 2- гарячий циркуляційний газ
Рисунок 4.9-Принципова схема руху циркуляційного газу
Скористаємось алгоритмом, запропонованим авторами [4].
Приймаємо противотокову схему руху теплоносіїв. Холодний
циркуляційний газ подаємо в міжтрубний простір, а гарячий циркуляційний газ у
трубний простір.
Розрахунки проведені мовою програмування Qbasic.
Розрахунок проведено методом послідовних наближень. Нижче
приведені результати останнього наближення.
Визначаємо середнє арифметичне значення температуригарячого
циркуляційного газу:
Кількість теплоти, яку відає гарячий циркуляційний газ:
де с2 = - теплоємність гарячого теплоносія при середній
температурі.
Визначаємо температуру холодного циркуляційного газу на
виході:
Визначаємо середнє арифметичне значення температурихолдного
циркуляційного газу:
Середній температурний напір
ср визначаємо за формулою:
оскільки:
Визначаємо середнє значення температури холодного теплоносія:
Холодний теплоносій:
Визначимо кількість теплоти, яка потрібна для нагріву
холодного теплоносія:
де с1 = 3468
- теплоємність холодного теплоносія при середній температурі.
Перевіряємо умову теплового балансу:
Умова виконується.
Для проведення наступних розрахунків необхідно обрати
теплообмінник, попередньо задавшись орієнтовним значенням коефіцієнту
теплопередачі та параметрами труб. Приймаємо коефіцієнт теплопередачі рівним
Кор=494 Вт/м2град.
Визначимо орієнтовне значення поверхні теплообміну:
Поверхня теплообміну однієї труби:
Кількість трубок необхідних для здійснення теплообміну при
даному значенні коефіцієнта теплопередачі:
Приймамо nt=6115шт.
- кількість труб у шестикутнику[15].
Для визначення внутрішнього діаметра корпусу теплообмінника
необхідно спочатку визначити параметри розташування труб у трубному пучку[15].
Кількість труб на стороні зовнішнього шестикутника:
Приймаємоа=42[15].
Діаметр трубного пучка:
Де tk = 1,4∙ dv = 1,4∙0,012 = 0,017 м.
де tk= 0,017м - крок між трубами[15].
Приймаємо внутрішній діаметр корпусу теплообмінника
Визначаємо інтенсивність теплообміну для трубного простору
(подача гарячого теплоносія).
Відповідно до концентрації та середньої температури
визначаємо теплофізичні властивості теплоносіїв згідно з наступними
залежностями:
де z- вміст аміаку в азотоводневій суміші, t- середня
температура теплоносія.
Теплоємність гарячого теплоносія при розраховано за
залежністю (4.1):
В’язкість гарячого теплоносія розраховано за залежністю
(4.2):
Теплопровідність гарячого теплоносія розраховано за
залежністю (4.3):
Коефіцієнт Амага визначається за залежністю при середній
температурі азотоводневої суміші та тиском:
де
.
Об’ємна витрата гарячого теплоносія становить:
Густина гарячого теплоносія становить:
Швидкість течії теплоносія в трубному просторі:
Критерій Рейнольдса трубного простору:
Визначаємо критерій Прандтля для трубного простору:
Критерій Прантдля при температурі стінки труби:
оскіль для газів:
Значення критерію Нуссельта для розвиненого турбулентного
режиму Re>10000:
.
Коефіцієнт тепловіддачі в трубному просторі:
Визначаємо інтенсивність теплообміну для міжтрубного простору
(подача холодного теплоносія).
Відповідно до коцентрацції та середньої температури
визначаємо теплофізичні властивості теплоносіїв згідно з наведеними вище
залежностями (4.1), (4.2), (4.3).
Теплоємність холодного теплоносія розрахована за залежністю
(4.1):
В’язкість холодного теплоносія при розрахована за залежністю
(4.2):
Теплопровідність холодного теплоносія розрахована за
залежністю (4.3):
Коефіцієнт Амага визначається за залежністю(4.4):
.
Об’ємна витрата холодного теплоносія становить:
Густина холодного теплоносія становить:
Швидкість течії теплоносія в міжтрубному просторі:
Де Sмтр - площа міжтрубного простору:
де S2 та S1 - відповідні площі.
Критерій Рейнольдса міжтрубного простору:
Де de - еквівалентний діаметр:
де P- периметр;- площа.
Визначаємо критерій Прандтля для трубного простору:
Критерій Прантдля при температурі стінки труби:
оскільки для газів:
Значення критерію Нуссельта для розвиненого турбулентного
режиму, оскільки Re>10000:
.
Коефіцієнт тепловіддачі в міжтрубному просторі:
Знаючи значення коефіцієнтів тепловіддачі уточнюємо значення
коефіцієнту теплопередачі:
де ст= 0,0015 м - товщина стінки трубки, ст = 46 Вт/мК -
теплопровідність сталі,
- сума теплових опорів забруднених стінок.
= r2 = 1/11000 м2К/ Вт - тепловий опір забруднень стінок від
органічного газу.
Розрахуємо поверхню теплообміну:
Висновок: враховуючи отримані результати приймаємо
вертикальний кожухотрубний теплообмінник з такими параметрами: площа поверхні
теплообміну 3204 м², внутрішній діаметр 1,6 м, довжина
труб 14 м.
.4.2 Конструктивний розрахунок виносного теплообмінника
Метою конструктивного розрахунку виносного теплообмінника є
визначення основних геометричних розмірів апарата і його складових частин, а
також вибір конструкційних матеріалів з яких він буде виготовлений.
Розрахункова схема зображена на рисунку 4.10.
Вихідні дані:
Зовнішній діаметр труб,dv, м 0,012;
Внутрішній діаметр труб,dz, м 0,009;
Кількість труб,nt, шт. 6115.
Приймаємо схему розташування теплообмінних труб у трубній
решітці по вершинах правильних трикутників, оскільки забезпечується більш компактне
розташування труб у трубній решітці.
Визначаємо крок труб:= 1,5∙ dz = 1,5∙0,012 =
0,017 м.
Рисунок 4.10 - Схема розташування теплообмінних труб в
корпусі апарата
Розрахунок проведено за методикою наведеною в [4]:
Розміщення труб в шестикутнику зображено на рисунку 4.11.
Рисунок 4.11 - Розрахункове розміщення труб в шестикутнику в
трубній решітці
Для шахового розташування труб, яке широко приймають як саму
компактну схему, зв’язок між загальною кількістю труб - n, числом отворів на
діагоналі - b і на стороні -а, найбільшого шестикутника виражається наступною
залежністю:
Кількість труб на стороні шестикутника:
де nw=5167шт. - кількість труб в шестикутнику.
Приймаємоа=42шт.
Кількість труб на діагоналі шестикутника:
В результаті розрахунку труби було розміщено по вершинах
трикутника, з кроком t=18 мм. Кількість труб на діагоналі шестикутника
приймаємо b=83 шт.
Визначаємо діаметр трубного пучка:
Приймаємо внутрішній діаметр апарата Dv=1,6м.
Висновок: в результаті розрахунку було прийнято кількість
труб в круглих плоских трубних решітках, кількість труб в шестикутнику та для
повного заповнення трубної решітки, остальні труби розміщуємо сегментах
шестикутника.
.4.3 Визначення діаметрів штуцерів
Метою розрахунку є визначення оптимальних діаметрів
технологічних штуцерів за тиском і нормативним діаметром.
Схема розрахунку наведена на рисунку 4.12.
Вихідні дані:
Рекомендована швидкість рухуциркуляційного газу в трубах,
м/с15;
Рекомендована швидкість руху циркуляційного газуміжтрубному
просторі,
м/с 17;
Масова витрата циркуляційного газу,
кг/c 89,716;
Густина гарячого циркуляційного газу,
кг/м3 89,009;
Густина холодного циркуляційного газу,
кг/м3 74,871.
Рисунок 4.12 - Принципова схема розміщення штуцерів
Розрахунок проводимо за методикою викладеною в [17].
Діаметр штуцера, близький до оптимального, визначається при
виборі швидкостей для рідин, парів та газів, встановлених практикою.
Рекомендована швидкість для газів, які знаходяться під тиском вище МПа
заходиться в межах10…25
[5].
Враховуючи дані рекомендації розраховуємо відповідні діаметри
штуцерів.
Розраховуємо діаметр штуцера для холодного циркуляційного
газу:
Розраховуємо діаметр штуцера для гарячого циркуляційного
газу:
З конструктивних міркувань приймаємо штуцер для гарячого газу
з умовним діаметром 300 мм і штуцер для холодного газу з нормативним діаметром
500 мм.
Розрахуємо дійсну швидкість теплоносіїв в штуцерах:
Для холодного циркуляційного газу:


Для гарячого циркуляційного газу:


Висновок: в результаті приймаємо штуцер для входу і виходу в
міжтрубний простір холодного циркуляційного газуз нормативним діаметром 300 мм,
для входу і виходу в трубний простір гарячого циркуляційного газуз нормативним
діаметром 500 мм. Марку сталі для штуцерів приймаємо 09Г2С. Система працює під
високим тиском 30 МПа.
.4.4 Розрахунок товщини стінки еліптичного днища
Метою розрахунку є визначення товщини стінки товстостінного
еліптичного днища виносного теплообмінника, яка задовольняє умовам міцності
апарата, що працює під високим тиском.
Розрахункова схема товстостінного еліптичного днища приведена
на рисунку 4.13.
Вихідні дані:
Внутрішній діаметр апарата,Dv,м 1,6;
Розрахунковий тиск в середині апарата,Р,МПа 30;
Середня температура циркуляційного газу в
міжтрубному просторі,Tc1,0С 110,25;
Розрахунок проводимо за методикою викладеною в [15].
Приймаємо:
Коефіцієнт міцності зварного шва,φ
1;
Допустиме напруження матеріалу стінки при середній
температурі стінки МПа 176,2;
Матеріал Сталь09Г2С.
Рисунок 4.13 - Схема до розрахунку товстостінного еліптичного
днища
Днище необхідно перевірити за умовою міцності, у випадку
невиконання збільшити товщину стінки.
Висота еліптичної частини:
Розрахунковий радіус кривизни днища:
Розрахункова товщина стінки еліптичного днища, навантаженого
внутрішнім надлишковим тиском:
Із врахуванням прибавок товщина стінки днища буде рівна:
де с=0,002 - додаток на корозію матеріала.
Товщина еліптичного днища не може бути меншою за товщину
циліндричної обичайки. Отже приймаємо товщину стінки S =158 мм.
Допустимий внутрішній надлишковий тиск:
Перевіримо умову міцності днища:
Перевірка умов застосування розрахункових формул:
Умови застосування формул виконуються.
Висновок: допустимий тиск більше фактичного, умова міцності
виконується. Отже, маємо стандартне еліптичне днище з внутрішнім базовим
діаметром 1,6 м та товщиною стінки 158 мм.
.4.5 Розрахунок затвору з двоконусним кільцем
Метою даного розрахунку є визначення основних розмірів
затвору з двоконусним кільцем, а також знаходження зусиль, які виникають у
з’єднанні.
Розрахункова схема показана нарисунку 4.14.
Вхідні дані:
Середня температура циркуляційного газу в
міжтрубному просторі, Tср1,0С 110,25;
Внутрішній діаметр , Dv,м 1,6.
Визначаємо розрахункову температуру затвору з двоконусним
кільцем:
Приймаємо [15].
Висота кільця,h1, м 0,135;
Висота кільця,h2,м 0,068;
Ширина кільця,b, м 0,061;
Матеріал двоконусного кільця Сталь
20Х2М.
Кут нахилу ущільнювальної поверхні до вертикалі,γ, град 30;
Допустиме напруження матеріалу шпильки при
середній температурі стінки,МПа, [σ] 140,6.
Розрахунок проводимо згідно
алгоритму, приведеному в [15].
Розрахунковий тиск з урахуванням впливу попереднього
затягання при визначенні розрахункового зусилля вибирается з умови:
Рисунок 4.14 - Схема до розрахунку двоконусного затвору
Приймаємо за розрахунковий тиск 40МПа.
Розрахунковий діаметр ущільнювальної
поверхні:
Середня висота кільця:
Осьове навантаження від дії тиску середовища:
Осьова реакція ущільнювального кільця:
Розрахункове зусилля, що діє на шпильки:
.4.6 Розрахунок шпильок на міцність
Метою даного розрахунку є визначення основних розмірів
шпильки для фіксації кришки з двоконусним кільцем. Розрахункова схема показана
на рисунку 4.15.
Вихідні дані:
Середня температура циркуляційного газу в
міжтрубному просторі, Tср1,0С, 110,25;
Внутрішній діаметр корпуса, Dv,м, 1,6;
Розрахунковий внутрішній тиск, P, МПа 30;
Розрахункове зусилля, що діє на шпильки, F,МН 88,34.
Приймамо[15]:
Кількість шпильок, n, шт 24;
Ущільнення двоконусне кільце;
Матеріал шпильки сталь
35Х;
Діаметр центрального отвору у шпильці, ,d0,м 0,012;
Коефіцієнт що враховує тангенціальні
напруження при затягуванні шпильки,
1,0;
Коефіцієнт що враховує нерівномірність
розподілу навантаження поміж шпильками,
1,5.
Визначаємо розрахункову температуру шпильки для визначення
допустимого напруження:
Рисунок 4.15 - Схема до розрахунку шпильки на міцність
Розрахунок проводимо згідно
алгоритму, приведеному в [1].
Приймаємо допустиме напруження шпильки[15]:
Розрахунковий діаметр стержня шпильки:
Приймаємо шпильку М186х6[15].
Розрахункова довжина згвинчування різьби:
Крок різьби
Отже, умова застосування розрахункових формул виконується.
Висновок: визначені основні розміри шпильки для фіксації
плоскої кришки.
.4.7 Перевірочний розрахунок закріплення труб в трубній
решітці
Метою розрахунку є перевірка міцності кріплення труб у
трубній решітці. В попередніх розрахунках було обрано розміщення труб в трубній
решітці - по вершинах правильних трикутників(шахматне розташування).
Труби закріплюються в трубних решітках за допомогою
розвальцьовування з відбортовкою, яке забезпечить надійне закріплення труб, що
працюють під високим тиском. Схема закріплення труб в решітці наведена на
рисунку 4.11.
Вихідні дані:
Зовнішній діаметр труб, dz, м 0,012;
Внутрішній діаметр труб , dv,м 0,009;
Тиск системи, Р, МПа 30;
Допустиме навантаження на поверхню q, МН/м2. 40.
Рисунок 4.16 - Схема закріплення труб в решітці
Розрахунок проводимо згідно
алгоритму, приведеному в [14].
Необхідно провести розрахунок сили, яка діє в місці
закріплення труби в решітці. Розрахункова осьова сила залежить від
конструктивної схеми апарата, отже для даного теплообмінника:
Перевірка міцності закріплення труб в трубній решітці:
де l- глибина вальцювання:= 1,5∙dz=1,5∙0,012=0,018
м.
Висновок: умова міцності виконується, можна зробити висновок,
що прийнятий спосіб закріплення труб в трубній решітці є технічно правильним
рішенням.
.4.8 Розрахунок товщини циліндричної рулонованої обичайки
виносного теплообмінника
Метою розрахунку є визначення товщини стінки обичайки, що
знаходиться під дією внутрішнього тиску, із урахуванням додатків на корозію і
зручність транспортування та монтажу.
Вихідні дані:
Розрахунковий тиск в апараті Р,МПа 30;
Внутрішній діаметр апарата Dv, м 1,6.
Приймаємо[15]:
Допустиме напруження матеріалу обичайки при розрахунковій
температурі для матеріалу шарів обичайки к, МПа 176,2;
Допустиме напруження матеріалу обичайки при розрахунковій температурі
для центральної обичайки, Мпа 173,2;
Коефіцієнт міцності зварного шва 1;
Товщина центральної обичайки Sц,мм 0,02;
Товщина шару багатошарової обичайки S1c, мм
0,006
Полотнища рулонів виготовлені з низьколегованої сталі 09Г2С;
Центральна обичайка виготовлена з високолегованої сталі 12X18H10T.
Розрахункова схема наведена на рисунку 4.15.
Рисунок 4.17 - Розрахункова схема циліндричної обичайки
Для розрахунку рулонованої обичайки необхідно мати середню
температуру стінки центральної обичайки. Розрахункова схема показана на рисунку
4.16.
Рисунок 4.18 - Схема до розрахунку середньої температури
стінки
Розрахунок ведеться за методикою, викладеною в[1].
Вихідні дані:
Коефіцієнт тепловіддачі повітря
.
Температура повітря навколишнього середовища
.
Коефіцієнт теплопровідності матеріалу
центральної обичайки
Коефіцієнт теплопередачі від апарату до зовнішнього
середовища:
Теплопровідність стінки циліндричної обичайки:
Різниця температур:
Температура стінки зі сторони холодного газу:
Температура стінки зі сторони повітря:
Середня температура стінки центральної обичайки:
Середнє значення допустимого напруження багатошарової
обичайки:
Розрахунковий коефіцієнт товстостінності у першому наближені:
Товщина циліндричної багатошарової обичайки стінки у першому
обичайки:
де С=0,002 - додаток на корозію метеріалу.
Приймаєщо що товщина стінки становить
Загальна виконавча товщина шарів:
Зовнішній діаметр кожуха апарата:
Допустимий тиск:
Кількість шарів рулонованої частини:
Умова міцністі:
Висновки: визначена та прийнята товщина стінки обичайкиs/ =
0,158 м. Умова міцності та по тискам за вказаних умов вконується.
.4.9 Розрахунок приварних фланців багатошарової обичайки
Метою даного розрахунку є визначення основних розмірів
кованих фланців, що з’єднуються з багатошаровою циліндричною обичайкою за
допомогою зварювання. Розрахунок проводимо згідно алгоритму, приведеному в
[16]. Розрахункова схема показана на рисунку 4.19.
Вихідні дані до розрахунку:
Виконання фланця Ковка;
Матеріал фланців Сталь
09Г2С;
Ущільнення в з’єднанні Двоконусне
кільце;
Внутрішній діаметр обичайки корпусу Dv, м 1,6;
Розрахунковий внутрішній тиск
, МПа 30;
Кількість шпильок
, шт. 24;
Зовнішній діаметр шпильки м 0,186;
Допустиме напруження матеріалу[], МПа 176,2;
Додаток до компенсації корозії
, м 0,002;
Виконавча товщина обичайки, що стикується зфланцем
, м0,158.
Глибина отвору під шпильки у фланці:


Приймаємо
Зовнішній діаметр фланця:
Приймаємо
Рисунок 4.19- Схема до конструктивного розрахунку фланця
Кут нахилу твірної частини фланця:
Приймаємо значення
Коефіцієнт міцності зварного шва
. Стовідсотковий контроль.
Допустиме напруження матеріалу при розрахунковій температурі:
Розрахунковий коефіцієнт товстостінності:
Розрахункова товщина стінки циліндричної частини фланця, що стикується з
обичайкою корпуса:


Сума
додатків до розрахункової товщини:
Виконавча
товщина стінки циліндричної частини фланця, що стикується з обичайкою корпусу:
де
- додаток на корозію матеріала.
Приймамо що товщина стінки дорівнює товщині стінці циліндричної
обичайки
.
Радіус
переходу від конічної частини фланця до циліндричного корпусу:
Приймаємо
Висота
циліндричної частини фланця корпусу:
Приймаємо
Висота
циліндричної частини фланця, що стикується зциліндричною
обичайкою:
Приймаємо
Допустимий
тиск:
Умова міцністі:
Висновок:
визначено основні розміри кованого фланця що з’єднується з
багатошаровою циліндричною обичайкою.
4.4.10 Розрахунок плоскої кришки апарату
на міцність
Метою даного розрахунку є конструктивний розрахунок плоскої кришки
апарату. Розрахунок проводимо згідно алгоритму, приведеному в [14]. Розрахункова схема показана на
рисунку 4.20.
Вихідні дані до розрахунку:
Виконання кришки Ковка;
Матеріал кришки Сталь
09Г2С;
Ущільнення в з’єднанні Двоконусне
кільце;
Розрахунковий діаметр ущільнюваної поверхні
, м 1,619;
Розрахунковий внутрішній тиск
, МПа 30;
Діаметр кола центрів шпильок
, м 2,993;
Діаметр отвору під кріпильну шпильку
, м 0,188;
Допустиме напруження матеріалу [s], МПа 176,4;
Осьове навантаження від дії тиску середовища на кришку
, МН 82,381;
Розрахункове зусилля, що діє на шпильки
, МН 88,34;
Сума додатків до розрахункової товщини
, м 0,002.
Рисунок 4.20 - Схема до конструктивного
розрахунку плоскої кришки
За ГОСТ 9065-75 приймаємо шайбу для шпильки М186 з наступними розмірами:
Внутрішній діаметр
м.
Зовнішній діаметр
м.
Товщина шайби
м.
Зовнішній діаметр кришки:
Так як зовнішній діаметр приварного фланця корпусу
, приймаємо зовнішній діаметр кришки
.
Діаметр отвору для труби приймаємо:
Сума хорд отворів для найбільш ослабленого діаметрального перерізу:
Попередня розрахункова товщина периферійної частини плоскої кришки:
Виконавча товщина периферійної частини плоскої кришки у першому наближенні:
Конструктивно приймаємо:
Найменший діаметр виточки під ущільнення,
.
Найбільший діаметр виточки під ущільнення,
.
Товщина центральної частини кришки,
.
Мінімальна товщина кришки у місці розташування виточки під ущільнення, м:
=
Виконавча товщина кришки у місці розташування виточки під ущільнення, м:
Уточнена після конструктивного оформлення товщина периферійної частини
кришки:
Виконавча товщина (висота) периферійної частини плоскої кришки:
Приймаємо
.
Висновок: визначено основні розміри плоскої кришки виносного теплообмінника.
.4.11 Розрахунок
гідравлічного опору в міжтрубному і в трубномупросторі теплообмінника
Метою розрахунку є визначення гідравлічного опору в міжтрубному і в
трубному просторі теплообмінника, а також визначення затрат потужності на
переміщення теплоносіїв.
Вхідні дані:
Внутрішній тиск,Р ,МПа,30;
Густина холодногоциркуляційного газу ,ρ1, кг/м3 74,871;
Густина гарячогоциркуляційного газу,ρ2, кг/м3 89,009;
Довжина труб, L, м 14;
Швидкість холодного циркуляційного газу ,W1,м/с, 0,902;
Швидкість гарячого циркуляційного газу ,W2, м/с, 2,625;
Коефіцієнт місцевого опору на вхід і вихід в теплообмінник,ζ1 1,5;
Коефіцієнт місцевого опору на вхід і вихід з труб, ζ2 1;
Критерій Рейнольдса для холодного циркуляційного газу, Re1 79540;
Критерій Рейнольдса для гарячого циркуляційного газу Re2
100900;
Розрахункова схема визначення гідравлічних опорів зображена нарисунку 4.21.
Рисунок 4.21 - Розрахункова схема визначення
гідравлічних опорів
Трубний простір.
Розрахунок тиску який втрачається на створення швидкості
потоку:
Розрахунок втрат тискук на подолання опору тертя в трубах:
Розрахунок сумарного коефіцієнту місцевого опору:
Розрахунок втрат які виникають через місцеві опори:
Розрахунок сумарних втрат тиску:
Потужність:
Уміжтрубному просторі.
Відносна нерівність труб:
Коефіцієнт тертя:
Розрахунок тиску який втрачається на створення швидкості потоку:
Гідравлічний опір у між трубному просторі:
Потужність:
Сумарна потужність:
Висновок: із результатів розрахунку сумарної потужності в
теплообмінику, яка становить 10,06 кВт потрібно її враховувати при виборі і
розрахунку компресорного обладнання.
4.2.12 Розрахунок товщини трубної решітки
Мета розрахунку: за даними геометричними розмірами корпуса і
трубок жорстко з’єднаних з трубною решіткою перевірити їх на міцність та
стійкість, а також розрахувати товщину трубної плити.
Схема трубної решітки вказана на рисунку 4.22.
Вихідні дані:
внутрішній діаметр апарата, Dv , м 1,6;
Різниця тисків трубного і міжтрубного просторур,МПа 2,5;
Матеріал кришки Сталь
09Г2С;
Діаметр отворів під труби dz, м 0,012
Розрахункова температураТc1 ,МПа110,25
Допустиме напруження матеріалу трубної решітки при розрахунковій
температурі[s], МПа
176,2.
Методика розрахунку наведена в [15]:
Номінальна
розрахункова висота ґратки зовні:
Кі=0,28 коефіцієнт.[15]
h1= Кі×
=
=
0,053 м.
омінальна розрахункова висота ґратки посередині:
К2=0,47 коефіцієнт[15].
h2= К2×
= 0,47×1,6
= 0,128 м,
-
коефіцієнт послабення кришки отворами;
де
- сума инутришніх діаметрів труби:
де
- коефіцієнт послаблення ґратки отворами.
Рисунок 4.22 - Схема трубної решітки
Трубні решітки вибрані по ГОСТу 13203-67.
Висновки: в
результаті проведеного розрахунку прийнято товщину трубної решітки, яка становить
.
4.4.13 Вибір
опори колони
Метою розрахунку є визначення навантаження, що діє на опору колонного
апарата, та вибір опори, що витримує це навантаження.
Розрахункова схема представлена нарисунку 4.23.
Вихідні дані до розрахунку:
Внутрішній діаметр колони Dv, м 1,6;
Густина
матеріалу 
;
Матеріал
корпусу сталь18Н10Т, 09Г2С.
Розрахунок
ведемо за методикою
.
Опора
- циліндрична. Розрахунок проводиться для робочих умов.
Визначимо
навантаження пустого апарата на опору:
де
- масапустогоапарата, щодорівнюєсумімаскорпусататруб.
Днище, кришка,фланці, виносний стаканатаарматура
становитить 0,1% від загальної маси труб та кожуха:
Рисунок
4.23 - Розрахункова
схема навантаження на опору
Маса циліндричної частини кожуха апарата:
Масас труб апарата:
Загальна маса апаратастановитить:
Навантаження:
Рисунок
4.24 - Циліндрична опорна обичайка
Висновок: згідно ОСТ 26-467-78 вибираємо циліндричну опору 2 з нтрішнімдіаметром опори
2000мм.
4.4.14 Вибір компенсатора
Метою розрахунку є визначення температурноговидовження
трубного пучка і вибір компенсатора, який компенсував би це видовження.
Вихідні дані:
Внутрішній діаметр циліндричної обичайки Dv,м 1,6;
Внутрішній тиск,Р,МПа,30;
Довжина труби L,м
14;
Коефіцієнт термічного розширення сталі 
;
Матеріал виготовлення труб Сталь 12X18H10T.
Принципова схема вибору компенсатора зображена на рисунку 4.24.
Рисунок 4.24- Принципова схема вибору компенсатора
Приймаємо:
Визначаємо видовження трубного пучка труб:
Вибираємо компенсатор з такими геометричними розмірами:
dn=0,325 м;
D=0,475м;
l=0,148м;
S=0,004 м.
-
компенсація температурного розширення (однією лінзою).
Висновок: зробивши розрахунок на термічне видовження трубного пучка, ми
вибрали компенсатор із технічними характеристика, які вказані вище(компенсатор
має дві лінзи).
.4.15 Розрахунок теплової ізоляції
Метою розрахунку теплової ізоляції циліндричної обичайки
виносного теплообмінника є визначення товщини теплоізоляційного матеріалу.
центральної обичайки
Коефіцієнт теплопровідності полотна обичайки
17;
Середня
температура циркуляційного газу в
між
трубному просторі, Тc1, 0C110,25;
Теплоізоляційний матеріал: базальтовий прошивний, вогнегасний,
рулонний.
Приймаємо:
Пранкль
повітря приТ=20
становить,Prп 0,7;
Пранкль
стінки обичайки (повітря)
при 20
становить ,Prст 0,7;
Коефіцієнт теплопровідності повітря
Середня швидкість повітря, яке обдуває обичайку,Wp,м/с 7;
Температура
повітря навколишнього середовища,
;
Температура
ізоляційного матеріалу зовні
;
Теплопровідністьізоляційного матеріалу
;
Зовнішній діаметр апарата,Dі,м1,916;
Товщина стінки циліндричної обичайки,S ,
м0,158;
Кінематична в’язкість повітря
.
Визначаємо критерій Рейнольдса повітря:
Значення критерія Нуссельта для розвиненого турбулентного
режимуRe>10000:
Коефіцієнт тепловідачі повітря:
Тепловенавантаження:


Різниця
температур:
Необхідна товщина ізоляційного шару:
Висновок: провівши розрахунки, ми отримали що необхідна
товщина ізоляційного матеріалу становить 8мм. Оскільки найменша товщина рулона
матеріалу становить 5мм, тоді приймаємо товщину ізоліції 10 мм.
. Охорона праці та безпека у надзвичайних ситуаціях
Умови та безпека праці, їх стан та покращення - самостійна і
важлива задача соціальної політики будь-якого сучасного промислово розвинутого
підприємства. Рівень безпеки будь-яких робіт у суспільному виробництві значною мірою
залежить від рівня правового забезпечення цих питань, тобто від якості та
повноти викладання відповідних вимог в законах та інших нормативно-правових
актах. У відповідності до Закону України «Про охорону праці» виробничі будови,
приміщення, обладнання та технологічні процеси повинні відповідати вимогам, що
задовольняють безпечним умовам праці. Машини та механізми, що проектуються,
повинні відповідати вимогам виробничої безпеки та санітарії. Жодний зразок нової машини не може
бути переданий у серійне виробництво доки не буде відповідати вимогам охорони
праці.
Охорона праці й навколишнього середовища включає в себе питання безпеки
праці, усунення причин травматизму і попередження професійних захворювань,
аварійних ситуацій на виробництві; питання правової охорони праці.
Відповідно до теми дипломного проекту «Модернізація блоку синтезу аміаку з розробкою колони синтезу, котла -
утилізатора та виносного теплообмінника» на стадії виробництва при роботі лінії розроблені заходи
щодо забезпечення безпечних умов праці. Виходячи з принципів гігієнічної класифікації, умови праці
на даному виробництві відносять до 2-го класу-допустимі. Під час роботи від
працівника вимагається підвищена увага, певна швидкість виконання окремих
технологічних операцій, швидка переробка одержаної інформації, точна
координація рухів.
Дана лінія виробництва аміаку розташована на відкритому майданчику.
Робоче місце оператора згідно ДСанПіН 3.3-2-007-98 «Державні санітарні
правила і норми роботи з візуальними дисплейними терміналами електронно-обчислювальних
машин», площею S = 24 м2 і
об'ємом V = 60 м3 розташовано безпосередньо біля робочої лінії, а отже
існують такі шкідливі і небезпечні виробничі фактори:
враження електричним струмом (електромережа живлення установки);
шкідливість газових сумішей робочої зони;
можливість травмування рухомими та обертовими деталями машин;
вибухопожежна небезпека.
5.1 Електробезпека
Аналіз нещасних випадків в промисловості, свідчить про те, що
кількість травм, викликаних дією електрики, порівняно невелика і складає 0,5-1%
від загальної кількості нещасних випадків. Проте з загальної кількості нещасних
випадків зі смертельним наслідком на виробництві 20-40% трапляється внаслідок
ураженням електрострумом, що більше, ніж в наслідок дії інших причин, причому близько
80% смертельних уражень електричним струмом відбувається в електроустановках
напругою до 1000 В [20].
Через те, що установка розташована на відкритому повітрі,
згідно Правил устрою електроустановок (ПУЕ) вона відноситься до особливо
небезпечних.
Для живлення елементів установки використовується трифазна
напруга 220/380 В з частотою 50 Гц. Нейтраль ізольована.
Причини враження обслуговуючого персоналу можуть бути такими:
помилкове включення установки;
пробій на корпус;
випадки дотику персоналу до відкритих струмопровідних частин
електроустаткування;
втрата ізоляцією її властивостей;
дотик до частин установки, що можуть опинитися під напругою у
випадку короткого замикання.
Трифазні ланцюги відповідно Правил устрою електроустановок
(ПУЕ) при напрузі до 1000 В застосовуються як трьохпровідні мережі з
ізольованою нейтраллю.
Небезпека враження для людини визначається опором ізоляції і
людини. Зі збільшенням цих опорів небезпека зменшується.
Безпека експлуатації обладнання забезпечується рядом
організаційних і технічних заходів захисту: використання малих напруг, захисним
розділенням мереж, контролем і профілактикою пошкодження ізоляції, подвійною
ізоляцією, забезпеченням недоступності до струмоведучих частин, застосуванням
засобів індивідуального захисту і т. ін.
З метою запобігання травм визначені такі заходи безпеки:
рубильники вмикання, установки знаходяться у спеціальній
шафі;
передбачається спеціальне захисне вимикання електродвигунів у
випадку враження людини струмом;
дроти проводяться в захисних рукавах;
на панель керування виводяться сигнальні лампи індикації
вмикання електроустаткування;
вузли установки, що можуть виявитися під напругою, мають
зажими для приєднання заземлення.
Принцип захисту захисного заземлення у випадку мережі з
ізольованою нейтраллю на рисунку 5.1.
Рисунок 5.1 - Принципи захисту захисного заземлення
Призначення захисного заземлення: захист від напруги дотику, тобто від
напруги на корпусі електроустановки (при пошкодженні робочої ізоляції і переході
напруги металевому корпусі) відносно землі. В аварійному режимі захисне
заземлення
= 3,8 Ом за ГОСТ 12.1.030-82.
Заземлення установки виконано відповідно ГОСТ 12.1.030-81.
Біля затисків заземлення нанесені незмивні червоні знаки “Земля” за ГОСТ 21.1.030-75.
Електрична міцність ізоляції перевіряється на випробувальну напругу 200 В частотою 50 Гц протягом 1 хвилини.
Опір ізоляції має бути не менше 0,5 МОм.
Електрична апаратура, яка встановлена всередині приміщень,
має ступінь захисту IP-54 ГОСТ 14254-80.
Ізоляція провідників вимірюється мегаомметром 11044 ТУ
25-04-798-18.
Напруга вимірюється вольтметром 351512 ТУ 25-04-1970-80.
Ступінь захисту електричної апаратури всередині приміщень контролюється
за ГОСТ 14254-80.
Інструмент має неструмопровідний корпус і ізольовані ручки.
При роботі використовуються гумові рукавички, чоботи, індикатори напруги, що
розташовують поблизу щита.
.2 Повітря
робочої зони
Санітарно-гігієнічне нормування умов мікроклімату
здійснюється за ДСН 3.3.6.042-99, які встановлюють оптимальні і допустимі
параметри мікроклімату залежно від загальних енерговитрат організму при
виконанні робіт і періоду року.
Робота операторів на лінії виробництва аміаку відноситься до
легкої роботи категорії 1б через те, що установка розташована ні відкритому
майданчику, а виробництво повністю автоматизоване, тому основна робота
виконується сидячи, деколи виникає необхідність наочної перевірки обладнання, а
отже супроводжується деяким фізичним напруженням.
Робота проводиться в 3 зміни, цілодобово, у будь-який час
року. Енерговитрати за таких умов праці складають більш 173 Дж/с.
Параметри температури, відносної вологості і швидкості руху
повітря в робочій зоні для даної категорії робіт наведено у таблиці 5.1.
Таблиця 5.1 - Параметри температури, відносної вологості і
швидкості руху повітря в робочій зоні
|
Сезон року
|
Категорія робіт - 1б
|
|
Температура, 0 С
|
Відносна вологість, %
|
Швидкість руху повітря, м/с
|
|
Оптим
|
Фактич
|
Оптим
|
Фактич
|
Оптим
|
Фактич
|
|
Холодний
|
21-23
|
20-22
|
60-40
|
40-60
|
Не більше 0,1
|
0,1
|
|
Теплий
|
22-24
|
23- 25
|
60-40
|
40-60
|
Не більше 0,2
|
0,2
|
Параметри повітря робочої зони відповідають ГОСТ 12.1.005-88.
Забезпечення параметрів здійснюється в зимовий час за допомогою водяного
опалення з температурою теплоносія 70-900С, а в теплий час року -
конденціонером ДСН 3.3.6.042-99.
У виробництві задіяні токсичні речовини, необхідно
встановлювати датчики контролю граничної концентрації токсичноактивних речовин:
нижня концентраційна межа аміаку складає 16%, нижня концентраційна межа метану
складає 4,6%, тому загальна нижня концентраційна межа вибуху не повинна
перевищувати 20%, у іншому випадку вмикається аварійна вентиляція.
Відповідно до СН 245-71 і ГОСТ 12.1.007-76 всі шкідливі
речовини за ступенем впливу на організм людини підрозділяють на чотири класи
небезпеки:перший - надзвичайно небезпечні - ГДК менше 0,1 мг/м3 (свинець, ртуть
- 0,001 мг/м3);другий - високонебезпечні - ГДК від 0,1 до 1 мг/м3 (хлор - 0,1
мг/м3;сірчана кислота - 1 мг/м3);третій - помірно небезпечні - ГДК від 1,1 до
10 мг/м3 (спирт метиловий - 5 мг/м3; дихлоретан - 10 мг/м3);четвертий -
малонебезпечні - ГДК більше 10 мг/м3 (аміак - 20 мг/м3; ацетон - 200 мг/м3;
бензин, керосин - 300 мг/м3; спирт етиловий - 1000 мг/м3).
За характером на організм людини шкідливі речовини можна
розділити: на подразнюючі (хлор, аміак, хлористий водень та ін.); задушливі
(оксид вуглецю, сірководень та ін.); наркотичні (азот під тиском, ацетилен,
ацетон, чотирихлористий вуглець та ін.); соматичні, викликають порушення
діяльності організму (свинець, бензол, метиловий спирт, миш'як).
Таблиця 5.2- ГДК азотних токсичнихречовин
|
Речовина
|
Токсичнадія
|
Гранично допустимі концентрації
|
Група виробничих процесів
|
Ширина санітарно-захисної зони, м
|
|
|
в повітрі роб.зони, мг/м3
|
в атмосферному повітрі населених пунктів, мг/м3
|
|
|
|
|
|
max
|
Доб.
|
|
|
|
ААзот
|
отруйна, викликає опіки
|
1,0
|
0,4
|
0,4
|
ІІІ-а 2
|
1000
|
|
N NO2
|
нудота, оніміння ніг, при сильних отруєннях можливасмерть
|
2,0
|
00,6
|
0,06
|
ІІІ-а 2
|
1000
|
|
|
|
|
|
|
|
|
|
Отже, з вище вказаного можна охарактеризувати процес синтезу
аміаку, тоді за класом небезпеки процес належить до малонебезпечних гранично
допустимою концентрацією аміаку 20 мг/м3, за характером впливу робочої речовини
до подразнюючих.
Оскільки, установка працює з шкідливими для здоров’я
персоналу речовинами, а робоче місце оператора знаходиться на території робочої
зони устаткування, існує небезпека викиду цих речовин у повітря робочої зони,
тому необхідно вжити таких заходів безпеки:
наявність повітряних апаратів та марлевих пов’язок;
встановлення спеціальної вентиляційної системи
приміщення;
встановлення спеціальних фільтрів на апаратах
конденціювання повітря.
Застосовуються сучасні повітряні апарати МПА (3 шт.),
призначені для захисту органів дихання від впливу високотоксичного газового
середовища на об’єктах хімічних виробництв. Цей апарат забезпечує візуальний і
звуковий контроль залишку повітря в балоні, а також надлишковий тиск під маскою
підвищують безпеку використання апарата в аварійних умовах.
Вентиляція за способом переміщення повітря штучна
(механічна), за направленням повітряного потоку комбінована (проточно-витяжна),
за методом дії - загальна. При механічній вентиляції повітрообмін досягається
за рахунок різниці тисків, які створює вентилятор.
Розрахунок механічної вентиляції складається з таких пунктів:
Визначення повітрообміну
Розрахунок необхідної кількості повітря для провітрювання
приміщення.
Знайдемо кількість тепла, яке виділяється від персоналу:
де q- кількість тепла, що виділяється від одного
працівника,
; n- кількість працівників.
Розрахуємо кількість тепла, яке виділяється від нагрітої техніки
(комп’ютери, перехідники, стабілізатори, сервери):
де F- загальна площа поверхні, що виділяє теплоту,
м2; g- кількість теплоти, що виділяється з одного м2.
Знайдемо кількість тепла, яке виділяється від джерел освітлення:
де
- потужність освітлювальної установки, кВт.
Тепер необхідно знайти сумарне значення надлишкового тепла, яке
потрапляє в приміщення від різноманітних приладів та процесів:
Розрахуємо питомі тепловтрати зовнішніх огороджень:
де
- тепловтрата від покриттів, стін, підлоги
;
-
розрахункова температура повітря зовні, град;
-
середня температура в приміщенні, град;
-
температура повітря, яке виходить з приміщення, град;
- температура повітря, що надходить до приміщення,
град.
Тепер можемо розрахувати кількість повітря, що необхідне для видалення
надлишків тепла при використанні механічної вентиляції:
де
- масова теплоємність сухого повітря,ккал/кг∙град;
- питома маса повітря, кг/м3.
Розрахунок повітредувів
Розрахуємо втрати тиску:
де
- питомі витрати тиску на тертя, кг/м2;
- довжина частини повітрядувів, м;
- втрати тиску на місцевий опір, кГ/м2.
Втрати тиску на місцевий опір:
де
- коефіцієнт місцевого опору;
- динамічний тиск, кГ/м2.
Вибір вентилятора
Знайдемо необхідну потужність на валу електродвигуна:
де
- тиск, що створюється вентилятором, кГ/м2;
- ККД вентилятора і передачі,
- продуктивність вентилятора,
.
Продуктивність вентилятора визначаться за формулою:
де
- коефіцієнт, що враховує втрати чи підбір повітря.
Схема встановлення вентиляції в приміщення зображено на рисунку 5.2.
Рисунок 5.2 - Схема встановлення вентиляції в приміщення
Отже, за обрахованими даними можна вибрати вентилятор з
такими параметрами [20]:
Для швидкості повітря: υ=8 м/с.
Вентилятор мц-4.
Число обертів колеса в хвилину: n=1410 об/хв.
Діаметр колеса dк=130
мм.
ККД η=0,41.
ПотужністьN=0,4 кВт.
Висновок: за результатами проведених
розрахунків, було вибрано вентилятор, з вказаними вище параметрами, даний
вентилятор повністю створює умови праці, які відповідають вимогам санітарно-гігієнічних
нормувань умов мікроклімату за ДСН 3.3.6.042-99 та з урахуванням умов безпеки
при вибухонебезпечній ситуації.Аеродинамічні випробування вентиляційних систем проводять не рідше одного
разу на рік, а також після кожного капітального ремонту або реконструкції
згідно з ГОСТ 12.3.018-79.
5.3 Промислове
освітлення
Освітлення робочих місць - одна з основних вимог охорони
праці. Правильно спроектоване та виконане освітлення на підприємствах
машинобудівної промисловості забезпечує можливість нормальної виробничої
діяльності. Збереження зору, стану нервової системи людини та безпека на
виробництві у значній мірі залежить від умов освітлення.
Розташування ліні виробництв на майданчику вимагає
встановлення штучного освітлення у темний час доби. Таке освітлення
встановлюється по периметру відкритого майданчика. Також необхідно розмістити
аварійне освітлення , це освітлення безпеки, яке передбачено у випадках
відключення робочого освітлення і пов’язане з цим порушення обслуговування
устаткування і може викликати:
вибух, пожежу, отруєння працівників;
тривале порушення технологічного процесу;
порушення роботи таких об’єктів, як електричні станції,
диспетчерські пункти насосні установки водопостачання, каналізації і
теплофікації.
Евакуаційне освітлення передбачено у місцях небезпечних
проходів людей, на робочих місцях та на виробничій площадці без природного
освітлення. Евакуаційне освітлення повинно забезпечувати найменшу освітленість
на підлозі основних проходів (або на землі) і на сходах: у приміщеннях 0,5 лк,
на відкритих територіях - 0,2 лк.
.4 Вибухопожежна безпека
ДНАОП 0.00.-1.07.-94 «Правила будови безпечної експлуатації
посудини, що працюють під тиском», оскільки у схемі виробництва використані
апарати високого тиску необхідно приділити увагу системам контролю за
перепадами тиску в апаратах.
У процесі виробництва аміаку використовуються такі речовини:
водень, метан, азот, аргон, вода та природні гази.
У чистому вигляді водень для газополуменевої обробки застосовують в
основному при зварюванні та паянні свинцю, а також при особливих видах
кисневого різання, де потрібна подача пального газу в різак під високим тиском.
Частіше водень є одним із компонентів горючої суміші газів. Чим більше водню в
суміші, тим нижчі теплові характеристики останньої.
Водень і аргон мають негативний вплив на здоров’я людини, а
саме при атмосферному тиску понижають парціальний тискповітря. Аргон при
застосуванні його під тиском проявляє себе, як наркотичний засіб. При
потраплянні на відкриту ділянку шкіри викликає термічний опік 2-го ступеня,
може викликати загальне подразнення всієї шкіри.
Метан у суміші з повітрям та киснем має широкі концентраційні границі
вибуху. Його одержують із природного або коксового газу шляхом глибокого
охолодження. Температура запалювання метану 340°С. Для повного згорання 1м3
метану необхідно 2 м3 кисню. Максимальна швидкість поширення полум'я метану в
суміші з киснем 3,3 м/с. Метан - єдиний вуглеводень, який має критичну
температуру, значно нижчу температури навколишнього середовища, поряд з воднем
та вуглекислим газом. Для людини метан токсичний, викликає головний біль, слабкість, блювоту,
зниження тиску, втрату свідомості [34].
Природні гази являють собою суміші газоподібних вуглеводнів з переважною
кількістю метану (75,7.99,4 %) та невеликою кількістю інертних газів й азоту.
Нижча теплота згорання природних газів коливається в межах 31300-37800 кДж/м3. Природний газ практично
не має запаху, тому в газ додають адорант, який має різкий запах, за яким можна
визначити витікання газу.
Згідно ПУЕ клас зони установки - 2, за ОНТП 24-86 виробництво
за пожежонебезпечністю віднесено до категорії Б, та до IIА класу вибухонебезпечності за ГОСТ Р 513305-99.
Вогнестійкість будинку за СНиП 2.01.02-85 відповідає ступеню
вогнестійкості II.
Серед причин, що можуть викликати загорання, найбільше
ймовірними є такі:
несправність електроустаткування;
струми короткого замикання і перевантаження кабелів живлення;
загоряння ізоляції електропроводки;
використання вогню в неналежному місці.
Запобігання загоряння забезпечується такими заходами:
дотримання технологічних норм і правил експлуатації;
обмеження в застосуванні відкритого вогню;
паління тільки у відведених для цього місцях;
своєчасне проведення інструктажу з охорони праці серед
обслуговуючого персоналу;
організація агітації з протипожежної безпеки;
наявність засобів сигналізації, зокрема, системи електричної
пожежної сигналізації (ЕПС) і засобів оперативного зв'язку з пожежною частиною;
наявність засобів пожежегасіння в безпосередній близькості
від установки (пісок, ковдри, вогнегасники).
Для гасіння пожеж на об’єктах, які представляють собою значну
матеріальну цінність (обчислювальні центри, операторні) застосовують газові
установки - батареї з ручним пуском 2БР-2МА; батареї автоматичні електричні з
автоматичним пуском БАЕ (агент гасіння - хладон).
Для гасіння невеликих ділянок загоряння при вимкнутому
електроустаткуванні застосовують вуглекисневі вогнегасники ОУ-5 (3 шт.) і пінні
вогнегасники повітряно-механічний ОВП-10 (2 шт.). Для гасіння включених
електромереж приймаємо порошкові вогнегасники ОП-9 (3 шт.). На поверхні будівлі
встановлено декілька порошкових вогнегасників типу «САМ-9», ці вогнегасники
працюють за принципом теплового замка, це дозволяє без втручання людини почати
процес гасіння пожежі, оскільки при досягненні критичних встановлених
температур вони самостійно вмикаються.
На площадці, де розташовується установка, на відстані 30
метрів один від одного повинні бути встановлені пожежні гідранти з рукавами
довжиною до 15 метрів. Вогнегасники
та пожежний інвентар пофарбовані в
червонийколір.
В зоні робочого приміщення повинний бути пожежний вихід.
Кількість виходів - 1. Ширина прорізу двері еваковиходу - 2 метри. Двері
еваковиходу повинні відкриватись назовні. Це відповідає СНиП 2.09.02-85.
Для протипожежного захисту блоку
апаратів передбачені стаціонарні установки пінного підшарового пожежогасіння та
зрошувальні системи. Для охолодження при пожежі резервуарів, що знаходяться
поруч з місцем пожежі передбачені стаціонарні зрошувальні системи по висоті
резервуарів і які складаються з двох полукілець, що дає змогу охолоджувати
тільки ту частину резервуарів, яка нагрівається. Пожежогасіння в резервуарах здійснюється за допомогою
стаціонарної установки пінного підшарового пожежогасіння.
Для протипожежного захисту компресорної і насосної
використовується система порошкового пожежегасіння - модулі порошкового
пожежегасіння у вибухозахищеному виконанні, згідно ДБН В.2.5-13-98. Зовнішнє
пожежогасіння виробничого будинку здійснюється від пожежних гідрантів існуючої
кільцевої протипожежної мережі.
Пожежна небезпека відкритого вогню зумовлена інтенсивністю
теплового впливу, площею впливу, орієнтацією у просторі, періодичністю і
тривалістю його впливу на горючі речовини. Відкрите полум'я небезпечне не тільки при безпосередньому
контакті з горючим середовищем, але і як джерело опромінювання горючого
середовища. Воно має достатню температуру та запас теплової енергії, спроможні
викликати горіння усіх видів горючих речовин і матеріалів як при
безпосередньому контакті, так і в результаті опромінення. У випадку пожежної небезпеки
створено 2 еваковиходи з приміщення, схема евакуації при надзвичайній ситуації
зображена на рисунку 5.3.
Рисунок 5.3- Схема евакуації з приміщення
При цьому відстань від робочого місця до дверей А=1,5 м,
відстань від робочого кабінету до еваковиходу №1 Б=3,5м, з інших робочих кімнат
до еваковиходу №2 В= 2м.
У разі реєстрації на території виробництва перевищення
загальної нижньої концентраційної межі вибуху (дорівнює 20%) відбувається
автоматичне ввімкнення вентиляційних систем.
На виробництві створено спеціалізовану пожежну систему
оповіщення, яка миттєво передає сигнал на найближчий відділ пожежно-рятувальної
служби, а кваліфікація робочого персоналу дозволяє оперативно використати
підручні засоби для гасіння пожежі.
Як вже зазначалось, відповідно до ГОСТ 12.1.004-91. ССБТ,
вибухопожежна безпека об'єкта забезпечується системами:попередження вибухів і
пожеж;протипожежного та противибухового захисту;організаційно-технічних заходів.
.5 Протигрозовий захист
Так як апарати технологічної схеми виробництва розташовані на
відкритому майданчику і значна частина апаратів має висоту понад 10 м, тому
необхідно вжити заходів щодо забезпечення безпеки на виробництві під час
несприятливих погодних умов.
Схема встановлення блискавковідводу зображена на рисунку 5.4.
Рисунок 5.4- Схема встановлення блискавковідводу на
майданчику виробництва аміаку
Всі будівлі і споруди по захисту від блискавки поділяються на
три категорії, виробництво аміаку як було вказано вище згідно ПУЕ клас зони
установки - П2А, за ОНТП 24-86 виробництво за пожежонебезпечністю віднесено до
категорії Б, та до IIА класу
вибухонебезпечності за ГОСТ Р 513305-99, отже за належними категоріями
виробництво належить до другої категорії захисту від блискавки.
На майданчику необхідно встановити одинарний стержневий
блискавковідвід. При висоті блискавковідвода близько h=60 м, зона захисту являє собою конус
з основою у вигляді ломаної лінії. Основою конуса є коло радіусом r =1,5∙60=90 м.
. Рекомендації, щодо монтажу та експлуатації установки
Всі роботи по транспортуванню до
місця роботи повинні виконуватися із дотриманням правил і вимог техніки безпеки
для цього виду робіт і методами, що забезпечують збереження обладнання.
Перевезення обладнання з
транспортно-розвантажувальних майданчиків до місця монтажу або складського
приміщення у замовника повинне проводитися засобами і методами, що забезпечують
повне збереження обладнання.
При цьому не допускається:
1.
Проводити
кріплення обладнання в місцях непередбачених для цього.
2.
Транспортувати
обладнання без санчат, підкладних листів і інших пристосувань.
Зняті для транспортування і установки
вузли і деталі встановлюють на машину відповідно до креслень і інших позначень,
виконаних на заводі-постачальнику.
Підготовка виробу до монтажу:
– Розпаковування виробу
проводити обережно, щоб не пошкодити забарвлених поверхонь, механізмів і
приводів.
– Перевірити стан виробу після
розпаковування шляхом огляду.
– Провести розконсервацію,
перевірити комплект поставки, згідно відомості упаковки, ознайомитися із
супровідною документацією і конструкцією.
– Перевірити стан механічно
оброблених поверхонь, у разі виявлення вибоїн, задирок або подряпин провести
зачистку.
Фундамент повинен володіти достатньою
жорсткістю для забезпечення постійного взаємного розташування складових частин
виробу.
Для монтажу необхідно мати підйомний
механізм вантажопідйомністю не менше 50 тонн.
Виносний теплообмінник збирають у такій послідовності:
встановлюють на фундамент юбчату циліндричну опору, потім корпус теплообмінника
підіймають за прикручені до корпуса рим-болти, встановивши корпус вертикально,
у цьому положенні його приварюють і останнє з’єднання корпуса теплообміннка з
плоскою кришкою шпильками. Після чого, проводятьсперевірку
відхилень від осей та відміток в горизонтальному та вертикальному напрямках.
Відхилення не повинні перевищувати 20 мм по головним осям, від вертикалі - в
межах 3 мм на 1 м висоти, але не більше 35 мм на весь апарат. Після
встановлення апарату проводять
перевірку правильності встановлення[2].
Магнітний фільтр збирають у наступній послідовності:
Рама встановлюється на фундамент після чого закріплюється
корпус зя ким стикується соленоїдна ємність. На корпус соленоїдної ємності
закріплюється сам соленоїд. Після цих операцій встановлюється механізм
переміщення соленоїда. Всі вище згадані приєднання дійснюються за допомогою
болтового з’єднання. Після
чого, проводятьсперевірку
відхилень від осей та відміток в горизонтальному та вертикальному напрямках.
Відхилення не повинні перевищувати 20 мм по головним осям, від вертикалі - в
межах 3 мм на 1 м висоти, але не більше 35 мм на весь апарат. Після
встановлення апарату проводять
перевірку правильності встановлення[17].
Конденсаційну колону збирають у наступній послідовності:
встановлюють на фундамент юбчату циліндричну опору, потім за прикручені до
корпуса рим-болти підіймають і приварюють корпус конденсаційної колони.
Попередьно до корпуса було прикріплено теплообмінник і в нижній частині корпуса
встановлено барботер. Коли корпус встановлено на опору в вертикальному
положенні прикріплюється патрубок і останнє з’єднання корпуса конденсаційної
колони з плоскою кришкою шпильками. Після чого,
проводятьперевірку відхилень від осей та відміток в горизонтальному та
вертикальному напрямках. Відхилення не повинні перевищувати 20 мм по головним
осям, від вертикалі - в межах 3 мм на 1 м висоти, але не більше 35 мм на весь
апарат. Після встановлення апарату проводять перевірку правильності встановлення[2].
При монтажі окремих частин апаратів потрібно перевірити
розташування фланцевих з’єднань та їх відхилення від проектних відміток,
необхідно перевірити, щоб при монтажі співпадали всі роз’ємні з’єднання,
з’єднання трубопроводів.
Після закінчення монтажно-збиральних
робіт апарати мають неодмінно пройти випробування. Пуск установки дозволяється
проводити тільки після перевірки наявності мастила на всіх поверхнях вузлів і
механізмів, що труться.
Спочатку проводять підготовчі роботи,
пов'язані з оглядом та перевіркою стану всіх частин та вузлів апаратів. При
цьому особливу увагу необхідно звернути на присутність в конструкції арматури,
приладів, кришок, заглушок, болтів, прокладок та інших деталей, які
забезпечують герметичність системи [21].
В програму випробувань входить гідравлічне випробування
апаратів разом з трубопроводами на тиск, який вказаний на кресленні. Потім
проводять перевірку витрат теплоносіїв, температур теплоносіїв на вході та на
виході з апарату, тиск всередині апарата та в трубопроводі. Оптимальний режим
роботи апаратів забезпечується підтриманням заданих температур, тисків і
витрат.
Результати випробувань виявляють
дефекти та недоліки, які заносять в акт випробувань на теплообмінник, магнітний
фільтр та конденсаційну колонну тобто на конкретно взятий апарат.
Апарат вважається прийнятим в
експлуатацію після підписання акта з боку представників монтажної організації
та замовника .
7. Рівень стандартизації та уніфікації
Стандартизація - установлення і
використання стандартів з метою упорядкування діяльності у визначеній області,
економного використання ресурсів, дотримання вимог техніки безпеки, підвищення
якості продукції і послуг.
Уніфікація - приведення продукції і засобів
виробництва або їх елементів до однієї форми, розмірів, структури, складу. В
техніці і будуванні раціональніше зменшення типових розмірів (марок, форм і
т.д.) машинобудівельних і будівельних об'єктів однакового функціонального
призначення. Уніфікація - це самий розповсюджений і самий ефективний метод стандартизації.
Рівень стандартизації виносного
теплообмінника,котла - утилізатора та колони синтезу необхідно оцінити склавши
співвідношення стандартних деталей до загальної їх кількості.
В свою чергу рівень уніфікації
визначається відношенням кількості запозичених та стандартних деталей до
загальної кількості деталей. Використання принципу уніфікації дозволяє значно
скоротити обсяг конструкторських робіт і період проектування. У дипломному
проекті передбачено використання максимально можливої кількості уніфікованих
деталей з метою зменшення витрат на виготовлення спеціальних деталей та
обслуговування апаратів.
У виносному теплообміннику стандартизовано наступні вузли та
деталі:
- болти ГОСТ 52644-2006;
гайкиГОСТ 9064-75;
шайбиГОСТ 22355-77;
шпилькиГОСТ 9066-75;
лінзиГОСТ 10493-81.
Отже, загальна кількість деталей становить N=620, з них
стандартних nс=370, уніфікованих nу=48.
Коефіцієнт стандартизації для виносного теплообмінника
визначаємо із залежності:
де
- кількість стандартних деталей в апараті,
-
загальна кількість деталей в апараті,
Коефіцієнт уніфікації для виносного теплообмінника визначаємо із
залежності:
де nу- кількість уніфікованих деталей в апараті, nу=20.
В котлі утилізаторі стандартизовано наступні вузли та деталі:
фланці ГОСТ 12820-80;
болти ГОСТ 15589-70;
гайки ГОСТ 15521-70;
шайби ГОСТ 22355-77.
Отже, загальна кількість деталей становить N=171, з них
стандартних nс=162, уніфікованих nу=15.
Коефіцієнт стандартизації для котла - утилізатора визначаємо
із залежності:
де
- кількість стандартних деталей в апараті,
-
загальна кількість деталей в апараті,
Коефіцієнт уніфікації для виносного теплообмінника визначаємо із
залежності:
де nу- кількість уніфікованих деталей в апараті, nу=15.
В колоні синтезу аміаку стандартизовано наступні вузли та
деталі:
болти ГОСТ 7805-70;
гайки ГОСТ 5927-70;
шайби ГОСТ 11371-78;
шпильки ГОСТ 22042-76;
Отже, загальна кількість деталей становить N=295, з них
стандартних nс=288, уніфікованих nу=24.
Коефіцієнт стандартизації для колони синтезу визначаємо із
залежності:
де
- кількість стандартних деталей в апараті,
-
загальна кількість деталей в апараті,
Коефіцієнт уніфікації для конденсаційної колони визначаємо із
залежності:
де nу- кількість уніфікованих деталей в апараті, nу=24.
Висновок: відповідно до отриманого результату, можна зробити висновок,
що рівень стандартизації та уніфікації є середнім, це дає можливість частково
скоротити витрати на виробництво спеціальних деталей, а також зменшити терміни
виготовлення обладнання та деталей [2].
8.
Очікувані техніко-економічні показники застосування установки
.1 Економічне обґрунтування доцільності проведення
модернізації
Теплообмінні апарати є великогабаритним, металоємним і
дорогим устаткуванням, що в значній мірі визначає компоновку, ефективність і
надійність роботи лінії виробництва аміаку в цілому. Більшість теплообмінних апаратів в
схемі синтезу аміаку мають кожухотрубну конструкцію.
Критеріями оцінки сучасного рівня розробок теплообмінних апаратів з точки зору
їх надійності і довговічності прийнято рахувати наступні показники:
встановлений термін служби не менше 10
років;міжремонтний період (між капітальними ремонтами) тасереднє напрацювання (між двома
капітальними ремонтами).
Кожухотрубні
агрегати останнім часом користуються високим попитом, і більшість споживачів
віддають перевагу саме дананому типу агрегату. Такий вибір не випадковий
- кожухотрубні агрегати мають безліч переваг.
Основним, і найбільш вагомою
перевагою є висока стійкість даного типу агрегатів до гідроударів.
Другою перевагою є те, що кожухотрубні агрегати не потребують чистого середовища. Більшість приладів в агресивних середовищах працюють
нестабільно. Наприклад, пластинчасті теплообмінники такою властивістю не
володіють, і здатні працювати виключно в чистих середовищах.
Третьоювагомою перевагою кожухотрубних
теплообмінників є їх висока ефективність.
Таким чином, можна з упевненістю говорити про те, що кожухотрубні
теплообмінники є одними з найнадійніших, довговічних і високоефективних
агрегатів.
В основу модернізації виносного теплообмінника покладено завдання у збільшені показника міжремонтного періоду, середнього
напрацювання та надійності за рахуноквстановлення
компенсатора, який знаходиться у виносному стакані.
Для визначення коефіцієнта ефективності поліпшеного апарата
слід користуватися критеріями оцінки, які наведені в таблиці 8.1.
Таблиця 8.1 - Техніко - економічні показники устаткування
|
Показник
|
Одиниця виміру
|
Техніка
|
|
|
базова
|
нова
|
|
Між ремонтний період (між двома капітальними ремонтами)
|
рік
|
10
|
12
|
|
Середнє напрацювання (між двома капітальними
ремонтами)
|
год
|
6480
|
8000
|
8.2 Розрахунок загальних витрат на проектні роботи
Всі розрахунки в даному розділі проведені згідно літератури[ ].
Витрати на проектні роботи включають наступні статті:
·
основна заробітна
плата розробників;
·
додаткова
заробітна плата;
·
відрахування на
соціальні заходи;
·
матеріали на
проектування;
·
консультації;
·
вартість
оснащення;
·
вартість
машинного часу;
·
накладні витрати.
Розрахунок трудомісткості конструкторської роботи.
По кожному з виду робіт відповідно до новизни, складністю проектованого
об'єкта і використанням норм часу на розробку конструкторської документації.
Визначаємо загальний норматив часу конструкторської підготовки виробництва з
вказівкою професії і кваліфікації виконавців. Результати розрахунку
конструкторської підготовки приводимо в таблиці 8.2.
Таблиця 8.2 - Трудомісткість конструкторської підготовки
|
Найменування конструкторської документації або видів робіт
|
Кількість облікових одиниць
|
Групи
|
Норми часу, год
|
Кваліфікація виконавців
|
|
|
Новизни
|
складності
|
На одиницю
|
всього
|
|
|
1
|
2
|
4
|
5
|
6
|
7
|
|
Складальне креслення Теплообмінник виносний
|
2
|
Б
|
2
|
12
|
24
|
І.К.-I
|
|
Технологічна схема
|
1
|
Б
|
1
|
22
|
22
|
І.К.-І
|
|
Складальне креслення Виносний стакан
|
1
|
Б
|
3
|
16
|
16
|
І.К.-II
|
|
Складальне креслення Трубчатка
|
1,5
|
Б
|
3
|
16
|
24
|
І.К.-II
|
|
Креслення Трубна решітка
|
1
|
Б
|
3
|
16
|
16
|
І.К.-II
|
|
Креслення Опора апарата
|
1
|
В
|
3
|
19
|
19
|
І.К.-ІІ
|
|
Креслення корпуса апарата та приварних фланців
|
1
|
В
|
3
|
1,3
|
1,3
|
І.К.-ІІ
|
|
Креслення деталі Кришка
|
1
|
Б
|
4
|
1,8
|
1,8
|
С.Т.К
|
|
Технологічні карти
|
6
|
Б
|
2
|
1,8
|
10,8
|
І.Т.-II
|
|
Принципова схема автоматики
|
1
|
Б
|
3
|
76
|
76
|
І.К.-I
|
|
Специфікації
|
6
|
Б
|
2
|
0,6
|
3,6
|
С.Т.К.
|
|
Пояснювальна записка
|
130
|
Б
|
3
|
1,3
|
169
|
І.К.-II
|
|
Усього
|
|
|
|
|
383,5
|
|
|
|
|
|
|
|
|
|
Розрахунок трудомісткості технологічної підготовки виробництва.
Технологічна підготовка виробництва включає:
забезпечення технологічності конструкції виробу;
проектування технологічних процесів;
проектування і виготовлення технологічного оснащення.
Результати розрахунку трудомісткості проектування технологічних процесів
приведені в таблиці 8.3.
Таблиця 8.3 - Трудомісткість технологічної підготовки
|
Види робіт
|
Групи складності
|
Кількість облічених одиниць
|
Норма часу, год
|
Кваліфіка-ція виконавця
|
|
|
|
На одиницю
|
Всього
|
|
|
Проектування технологічних процесів: операційна технологія
маршрутна технологія
|
2 2
|
3 3
|
16,8 1,8
|
50,4 5,4
|
І.Т.-II І.Т.-II
|
|
Усього: трудомісткість проектування технологічних процесів
|
55.8
|
|
|
Проектування оснастки
|
3
|
3
|
13,9
|
41,7
|
І.К.-І
|
|
Усього
|
97,5
|
|
|
|
|
|
|
|
|
Розрахунок основної заробітної плати.
Основна заробітна плата розроблювачів визначається на підставі даних
трудомісткості окремих робіт і посадових окладів. Результати розрахунку
основної заробітної плати зводимо в таблицю 8.4.
Таблиця 8.4 Основна заробітна плата
|
№ п/п
|
Найменування посади робітника
|
Трудомісткість, год
|
Відпрацьовано люд.-міс.
|
Оклад, грн.
|
Сума зарплати, грн.
|
|
1
|
Інженер-конструктор 1-ої категорії
|
163,7
|
1,02
|
6400
|
6528
|
|
2
|
Інженер-конструктор 2-ої категорії
|
236,94
|
1,48
|
5120
|
7577,6
|
|
3
|
Старший технік - конструктор
|
5,4
|
0,03
|
4960
|
148,8
|
|
Усього
|
14254,4
|
Розрахунок додаткової заробітної плати.
Додаткову заробітну плату обчислюємо у відсотках від основної заробітної
плати. Норматив, що діє на виробництві, складає 12%. Відповідно сума додаткової
заробітної плати складе:
Здійснюємо
розрахунок відрахувань на соціальні заходи.
Відрахування
на соціальні заходи визначається у відсотках від суми основної й додаткової
заробітних плат(39%):
%
- пенсійний фонд;
,9%
- соціальне страхування у зв’язку з тимчасовою втратою працездатності;
,2%
- соціальне страхування від нещасних випадків на виробництві;
,9%
- соціальне страхування на випадок безробітності;
Розрахунок
вартості матеріалів.
Вартість
матеріалів, витрачених на проектування, розраховується в оптових цінах.
Розрахунок
вартості зводимо в таблицю 8.5.
Таблиця
8.5 -Витрати й вартість матеріалів для проектування
|
№ п/п
|
Найменування матеріалу
|
Одиниця виміру
|
Кількість
|
Ціна за одиницю, грн.
|
Сума в грн.
|
|
1
|
Ватман, А1
|
шт.
|
15
|
3
|
45,00
|
|
2
|
Папір офісна, А4
|
шт.
|
250
|
0,16
|
40,00
|
|
3
|
Картридж до принтера Samsung ML-1615
|
шт.
|
1
|
400
|
400,00
|
|
4
|
Олівець
|
шт.
|
4
|
2
|
8,00
|
|
Невраховані матеріали,10%
|
49,3
|
|
Усього: витрати на матеріали
|
542,3
|
Розрахунок накладних витрат.
Накладні витрати визначаються у відсотках від основної
заробітної плати і складають 100%.
Приймаємо величину накладних витрат 100% від основної
заробітної плати:
Розраховуємо сумарні витрати.
Сумарні витрати на проектні роботи визначаються як сума всіх часткових
витрат:
Результати розрахунку витрат на проектну підготовку виробництва зведені
в таблиці 8.6.
Таблиця
8.6 - Витрати на конструкторську підготовку виробництва
|
№ п/п
|
Статті витрат
|
Витрати, грн.
|
Питома вага витрат на загальному тлі, %
|
|
1
|
Основна заробітна плата
|
7927,2
|
29,43
|
|
2
|
Додаткова заробітна плата
|
4756,2
|
17,65
|
|
3
|
Вартість проектних матеріалів
|
542,3
|
2,01
|
|
4
|
Відрахування на соціальні заходи
|
4946,53
|
18,36
|
|
5
|
Накладні витрати
|
4756,2
|
17,7
|
|
6
|
Вартість машинного часу
|
4000
|
14,85
|
|
Усього
|
26928
|
100
|
.3 Розрахунок витрат на виготовлення й обґрунтування ціни
Розрахунок собівартості по статтях витрат.
Розрахунок кількості матеріалів і їхню вартість робимо по
визначених найменуваннях і маркам матеріалів, з урахуванням внесених змін у
норми витрат матеріалів.
Розрахунки витрат матеріалів представлені в таблиці 8.7.
Таблиця 8.7 - Розрахунки витрат на матеріали
|
Матеріали
|
Чорна маса,кг
|
Коефіціент використання
|
Чиста маса, кг
|
Ціна за одиницю, грн./кг
|
Сума, грн.
|
|
1
|
2
|
4
|
5
|
6
|
7
|
|
433370,939003,3702730231
|
|
|
|
|
|
|
76170,957236,230217086
|
|
|
|
|
|


|
328300,9295471805318460
|
|
|
|
|
|
|
Усього
|
83784
|
75786,5
|
|
8265777
|
|
Транспортно-заготівельні витрати (4 - 6 % вартості
матеріалів) Приймаємо 6 %
|
8265777×1,06 =
|
8761723,62
|
|
|
|
|
|
|
|
|
4333,79390040,2
|
|
|
|
|
|
|
|
|
|
|
|
|
380,831142,4
|
|
|
|
|
|

|
328339849
|
|
|
|
|
|
|
Відходи усього
|
7997,5
|
|
401031,6
|
|
Усього зар. матер. (відходи віднімаємо)
|
8265777-401031,6=
|
7864745,4
|
|
Невраховані матеріали (8 - 10 % вартості врахованих)
. Приймаємо 9%
|
7864745,4× 0,09 =
|
707827,09
|
|
Усього матеріалів
|
7864745,4+ 707827,09=
|
8572572,49
|
|
|
|
|
|
|
|
Ціни на матеріали, напівфабрикати, покупні вироби узяті на
момент дипломного проектування.
Ціна на відходи взята приблизно 25 % вартості матеріалів.
Розрахунок витрат на придбання напівфабрикатів і покупних
виробів представлений у таблиці 8.8.
Таблиця 8.8 - Розрахунок витрат на придбання напівфабрикатів і покупних
виробів
|
Витрати
|
Одиниця
|
Марка
|
Ціна за од., грн
|
Кількість
|
Сума, грн.
|
|
1
|
2
|
3
|
4
|
5
|
6
|
|
кабель силовий
|
м
|
КВВГ 7х2,5
|
6,6
|
20
|
132
|
|
шина - мідний провід
|
кг
|
S ³10 м2
|
20
|
10
|
200
|
|
проводка
|
м
|
ПВ - 1, ПВ - 2
|
0,2
|
30
|
6
|
|
комплект інструментів
|
|
|
120
|
1
|
100
|
|
кільця
|
|
|
40
|
2
|
80
|
|
прокладки
|
шт
|
|
2
|
20
|
40
|
|
графітове змащення
|
кг
|
|
10
|
5
|
50
|
|
осьовий компенсатор
|
шт
|
|
12000
|
1
|
12000
|
|
Усього
|
12528
|
Витрати на придбання матеріалів, напівфабрикатів і покупних виробів:
Основна
зарплата виробничих робітників:
де:
Тн - нормативна трудомісткість виготовлення нового виробу, год;
Стср
- тарифна ставка IV розряду.
Приймаємо
Стср = 16 гр/год
Нормативну
трудомісткість розраховуємо по формулі:
де:
Тб - 9600 норма годин - трудомісткість виготовлення базового устаткування (за
даними заводу виробника);н і Gб - маса відповідно нового і базового
устаткування.
Розрахуємо
собівартість:
де
М - витрати на матеріали, напівфабрикати і покупні вироби, грн.;
З0
- основна зарплата виробничих робітників, грн.;
Р
- витрати на експлуатацію й обслуговування устаткування, цехові і
загальнозаводські витрати у відсотках до основної зарплати виробничих
робітників, Р = 200 %;
-
додаткова зарплата та нарахування,
=100 %;
h - поза виробничі
витрати у відсотках до загальнозаводської собівартості, h = 2 %;
Зпр.раб .- витрати на проектні роботи;- кількість модернізованих машин.
Розраховуємо ціну апарата.
Розрахункову ціну нового виробу знаходять, виходячи з його собівартості
Сн, нормативного прибутку Пн і податку на додаткову вартість:
Нормативний
прибуток розраховуємо по формулі:
де
h = 30 % - норматив рентабельності.
Податок
на додаткову вартість:
де:
g = 20 % - ставка податку на додаткову вартість.
8.4 Розрахунок техніко-економічних показники після
модернізації
Витрати на доставку, монтаж устаткування і будівництво фундаментів
розраховуємо у відсотках від ціни устаткування 10%.
Спеціальні
витрати:
Капітальні витрати складуть:
де
Кдм - витрати на доставку і монтаж;
Кс
- спеціальні витрати (КВП і автоматика);
Цн
- розрахункова ціна;
Затрати по новому обладненю становлять
, оскільки витрати на доставку, монтаж та інші роботи
включені в ціну товару.
Економічний ефект від виробництва і використання нового обладнання,
розраховуємо по формулі:
Висновок: розрахувавши всі показники, ми бачимо що економічний ефект
виносного теплообмінника від виробництва і використання нового обладнання
набагато дешевше що у грошовому еквівалентні становить Е=2495683,6грн.
Висновок
У даному дипломному проекті розроблено колону синтезу та суміжні апарати (котел - утилізатор та гарячий теплообміник). При виконанні дипломного проекту зроблені розрахунки, що
підтверджують працездатність і надійність конструкцій цих апаратів, що містять
у собі визначення основних параметрів колони синтезу аміаку, конструктивний
розрахунок, розрахунок матеріального балансу, розрахунок елементів апаратів на
міцність. Розрахунки виконані у виді програми з описом методик розрахунків, що
використовувалися в проекті.
Результати розрахунків і звіт про пророблену роботу зведені в
пояснювальну записку яка також включає дані відповідності розробленої
конструкції вимогам техніки безпеки і промислової санітарії. Приведені
рекомендації з виготовлення, монтажу й експлуатації розробленого апарату.
По техніко - економічним показникам розроблений апарат є на
2495683,6 грн. грн вигіднішим за свої аналоги. Рівень стандартизації і
уніфікації апарата, який розробляється, складає 87 %.
Було розроблено заявку на корисну модель виносного
теплообмінника, яка дозволяє яка дозволяє компенсувати температурні напруження
в трубах. При цьому регулюється температура та витрата циркуляційного газу і
температура всередині колони. Також було розроблено технологію виготовлення
деталі.
Вывод
В данном дипломном проекте разработано колонну синтеза и сопредельных
аппаратов (котла утилизатора и горячего теплообменника). При выполнении проекта
сделаны расчеты, которые подтверждают трудоспособность и надежность конструкций
этих аппаратов, которые содержат в себе определение основных параметров колонны
синтеза аммиака, конструктивный расчет, расчет материального баланса, расчет
элементов аппаратов на прочность. Расчеты выполнены в виде программы по
описанием методик расчетов, которые использовались в проекте.
Результаты проделанных расчетов и отчет о проделанной работе сведены в
пояснительную записку, которая включает данные соответствия разработанной
конструкции требованиям техники безопасности и промышленной санитарии.
Приведены рекомендации по изготовлению, монтажу и эксплуатации разработанного
аппарата.
По технико-экономическим показателям разработанный аппарат на 2495683,6 грн.выгоднее своих аналогов. Уровень
стандартизации и унификации аппарата, который разрабатывается, составляет 87 %.
Была разработана автоматическая система регулирования колонны, которая
разрешает руководить процессом без вмешательства человека. При этом
регулируется температура и затрата циркуляційного газа и температура внутри колонны. Также была разработана
технология изготовления детали.
Conclusion
the produced degree design it is developed a column of
synthesis and adjacent apparatuses (a copper utilizer and the hot heat
exchanger). At design execution calculations which one affirm work capacity and
reliability of constructions of these apparatuses which one comprise definition
of key parameters of a column of synthesis of ammonia, constructional
calculation, material balance calculation, calculation of members of
apparatuses on strength are made. Calculations are executed in the form of the
program under the exposition of methods of application of calculations which
one were used in the design.of the done calculations and the record on the done
job are shown in an explanatory note which one switches on the produced
conformity of a designed construction to demands of the accident prevention and
industrial sanitary. Recommendations about fabrication, mounting and
exploitation of the designed apparatus are resulted.technical and economical
parameters the designed apparatus on 2495683,6grn. more favorably the analogues. Level of
standardization and unification of the apparatus which one develops compounds
87 %.automatic regulating system of a column which one allows to supervise over
process without a human intervention has been developed. The temperature and
expenditure and temperature in a column is thus controlled. Also the
manufacturing methods of a detail have been developed.constructing and
functioning of apparatuses and their basic parts have been acquainted with
problems of conducting of process of synthesis of ammonia and with processes
which one track with it, to hardware decor of process.
Перелік посилань
1. Синетез аммиака / [Кузнецов Л. Д.
Дмитеренко Л.М, Рабина П.Д., Соколинский Ю.А.] //Под ред. Кузнецова Л.Д. - М., «Химия», 1982. -
296 с.
2. Румянцев О. В. Оборудование цехосинтеза высокого
давления в азотной промышленности / О. В. Румянцев. - М.: Химия, 1970. - 376 с.
3. Производство
аммиака / Семенов В.П., Киселев Г.Ф., Орлов А. А. и др. // Под ред.
Семенова В.П. - М., «Химия», 1985. - 368 с.
4. Тимонин А.С. Основы конструирования и расчета химико-технологического
и природоохранного оборудования: Справочник,
Т.1, изд. 2-ое / А. С. Тимонин - Калуга.,
2002. -845 с.
5. ГОСТ 5632-72 Стали высоколегированные и сплавы
коррозионно-стойкие, жаростойкие и жаропрочные. Марки.
6. ГОСТ 22790-89
Сборочные единицы и детали трубопроводов на Pу от 10,0 до 100,0 МПа. Общие
технические условия
<http://www.ngk-rf.ru/download/%D0%93%D0%9E%D0%A1%D0%A2%2022790-89.pdf>.
7. ГОСТ 9940-62
Трубы безшовные горячекатные.
. ГОСТ 15180-86 -
Прокладки плоские эластичные. Основные параметры и размеры.
. ГОСТ 481-80 Паронит
и прокладки из него. Технические условия.
. Патент України № 93521
Вертикальний кожухотрубний теплообмінник,
МПК F28 F1/00, опубл. 10.10.2014, бюл. №19 / Дайсан А.Є.,
Швед М.П. власники: Дайсан А.Є., Швед М.П.
11. ПатентEP№ 2600092 А1Vertical
heat exchanger/ Dethier, AlfredB-4140 Sprimont
(BE)Cockerill Maintenance & Ingenierie S.A.4100 Seraing (BE).
. Патент Росії
№ 2516998 C2 Кожухотрубный теплообменник, МПК F28D 7/16, опубл. 27.05.2014, бюл. №15 / Гуреев В.М.,
Гортышов Ю. Ф. та інші.власники
Федеральное государственное бюджетное образовтельное учреждение высшего профессионального образования
«Казанский национальный
исследовательскийтехнический университет им.
А.Н.
Туполева-КАИ" (КНИТУ-КАИ).
13. Патент
України № 101386 Магнітний фільтр для очищення рідких і газових середовищ, B01D 35/06, опубл. 25.03.2013, бюл. №6 /
Геращенко В.І.,Геращенко О.В. власники:Національний університет водного
господарства та природокористування.
14. ПатентСШA № 7553414, МПК B01D 35/06Magnetic filter device / Harold Hall, - 2009.
15. Патент
України № 82059Магнітний фільтр, B01D 35/06, опубл. 25.07.2013, бюл. №6 / Піменов Ю.М.
власники:Донецький національний університет.
16. ПатентСШA № 2005/0028554, F25j 3/00 Сolumn gas-liquid contactingapparatus
and its use thereof/ Yoichi Shimoi, Junichi Goda,, - 2002.
. Патент
України № 107526,Конденсаційна
колона для
грануляційної установки, МПК F27B 1/10, опубл. 12.01.2015, бюл. №1 / Вельдінгер Боб. власники:Поль Вурт.
18. ПатентСШA № 6423235, С02F 1/78 Multistoreyed bath condenser/Alfred
Wanner, - 2005.
19. Справочник
азотчика. Физико-химические свойства газов и жидкостей. Производство
технологических газов. Очистка технологических газов. Синтез аммиака. -2-е изд. - М.: «Химия», 1986. - 512 с.
20. Справочник
азотчика. Производство азотной кислоты. Производство азотных удобрений. Техника
безопасности производства свя-занного азота и органических продуктов.-2-е изд.
- М.: «Химия», 1987. - 46 с.
21. Ганз С.Н. Теоретические основы и
технология синтеза аммиака: Учеб.
пособие для вузов / Ганз
С.Н. // Под ред. А. М. Николаева. - Киев: Вища школа, 1969. - 260 с.
22. Йоффе
И. Л. Проектирование процессов и аппаратов химической технологи / И. Л Йоффе. -
Л.: Химия, 1991. - 352 с.
. Павлов
К. Ф. Примеры и задачи по курсу процессов аппаратов химической технологи:
учебное попосие для ВУЗов / К.Ф. Павлов, П.Г Романков, А.А. Носков. М.: Химия, 1987. - 576 с.
24. Маньковский
О. Н. Теплообменная аппаратура химических производств О. Н. Маньковский, Л.:
Химия, 1976. - 368 с.
25. Лащинский А. А. Основы конструирования и расчета
химической аппаратуры / А. А.Лащинский, А. Р.Толчинский // Машиностроение,
1970. - 752 с.
26. Дытнерский Ю. И. Основные
процессы и аппараты химической технологии: Пособие по проектированию / Ю. И.
Дытнерский. - М.:
Химия, 1987. - 496 с.
27. ГОСТ 14249-89. Сосуды и
аппараты. Нормы и методы расчёта на прочность.
. Андреєв І. А. Конструювання
та розрахунок апаратів високого тиску: Навчальний посібник / І. А. Андреєв, О.
Г. Зубрій. - К.: ІЗМН, 1999. - 144 с.
. Сандуляк А.В. Электромагнитные фильтр-осадители /А.В. Сандуляк,В.И. Гаращенко.- Львов.:
«Вища школа», 1982.-69
с.
. Сандуляк А.В. Новое в
технике и технологи физических методов очистки гидкостей и газов / А.В.
Сандуляк.- К.: «Вища школа», 1989.-54 с.
. Миргородский В.Т. Алгоритм
расчета колонных аппаратов Методические указания / В.Т. Миргородский, О.Г.
Зубрий, В.Л. Кочетов. - К., КПИ, 1986. - 35 с.
32. Ткачук
К. Н. Основи охорони праці / К. Н. Ткачук, М.О. Халімовський та ін. - К.,
Основа. 2006. - 448 с.
33. Арламов
О. Ю. Конспект лекцій з дисципліни «Основи охорони праці» / Арламов О. Ю. - НТУ
КПІ., 2012 - 50 с.
. Ведерников
М. И. Техника безопасности при производстве, хранении и транспортировании
аммиака / М. И. Ведерников. М., «Химия», 1977. - 128 с.
. СеледцовВ.Ф. Методические указания по выполнению
раздела «охрана труда» в дипломных работах и проектах студентов специальностей
факультета химического машиностроения / Селедцов В.Ф.,Орленко А.Т., Ступницкая З. С.,
Халимовский М.А - К., КПИ, 1979, 453с.
. Система
технического обслуживания и ремонта оборудования предприятий химической
промышленности / [Азаров В.Н., Востриков В. С., Ломакин В. С. и др.]. - М.: Химия, 1986. - 352 с.
. Мікульонок
І. О. Виготовлення, монтаж та експлуатація обладнання хімічних виробництв
[Електронний ресурс] : підручник / І. О. Мікульонок; НТУУ «КПІ». - Електронні
текстові дані (1 файл: 12,1 Мбайт). - Київ : НТУУ «КПІ», 2012.
. Методичні
вказівки до написання економічного розділу дипломного проекту для студентів
інженерного-хімічного факультету НТУУ «КПІ» ОКР «Спеціаліст»/ Національний
технічний університет України «Київський політехнічний інститут», кафедра
міжнародної економіки. - Київ : НТУУ «КПІ», 2013. - 15 с.
39. Курсовое
проектирование по технологии машиностроения /Под ред. А.Ф. Горбацевича. -
Минск: Высш. шк., 1975. - 287 с.
40. Справочник
технолога-машиностроиля. Т.1 и 2 / Под ред. А.Г. Косиловой и Р.К. Мещерякова. - 4-е изд., перераб. и доп. - М.
Машиностроение, 1985 - 1986. - 823 с.
41. Ансеров
М.А. Приспособление для металлорежущих станков. - Л.: Машиностроение, 1975. -
656 с.
42. Методические
рекомендации к практическим занятиям и индивидуальной работе по дисциплине
«Технология машиностроения» для студентов специальностей химического
машиностроения. /Сост. С.С. Добрянский, В.К.
Фролов, И.М. Малафеев. - К.: КПИ, 1991 - 91с.
43. Автоматические
приборы, регуляторы и вычислительные системы. Справочное пособие. Изд. 3-е,
перераб. и доп. Под ред. Б.Д. Кошарского Л.: «Машиностроение» (Ленинград.
отделение), 1976. - 488 с.
Методические
указания к дипломному и курсовому проектированию по разделу «Автоматизация
производственных процессов» для студентов факультетов химического
машиностроения и химико-технологического /Сост. Б.Б. Булгаков, Л.Ф. Семикина.
Киев: КПИ, 1987 - 56 c.