Разработка конструкции лабораторной установки по влиянию магнитного поля на свойства газа в процессе его горения
СОДЕРЖАНИЕ
ВВЕДЕНИЕ
.
СОВРЕМЕННОЕ СОСТОЯНИЕ ПРОБЛЕМЫ ИССЛЕДОВАНИЯ
ВЛИЯНИЯ
МАГНИТНОЙ АКТИВАЦИИ ТОПЛИВА НА ПОВЫШЕНИЕ ЭФФЕКТИВНОСТИ ЭНЕРГЕТИЧЕСКИХ УСТРОЙСТВ
.1
Общие сведения о магнитной активации топлива
.2
Обзор оборудования из Internet - ресурсов
.3
Обзор на полезные изобретения и патенты
.4
Общие недостатки существующих устройств
.5
Анализ нормативных документов
.
АНАЛИЗ РЕЗУЛЬТАТОВ РАНЕЕ ПРОВОДИМЫХ ЭКСПЕРИМЕНТАЛЬНЫХ ИССЛЕДОВАНИЙ
.1
Обзор исследований по влиянию магнитного поля на свойства углеводородного
топлива на автотранспорте
.2
Обзор конструкции установки для исследования влияния на свойства природного
газа импульсного магнитного поля в процессе его горения
.
ЭКСПЕРИМЕНТАЛЬНОЕ ИССЛЕДОВАНИЯ ВЛИЯНИЯ МАГНИТНОЙ АКТИВАЦИИ ТОПЛИВА НА ПОВЫШЕНИЕ
ЭФФЕКТИВНОСТИ ЭНЕРГЕТИЧЕСКИХ УСТРОЙСТВ
.1
Разработка лабораторной установки для исследования эффективности сгорания
газового топлива при воздействии на него магнитного поля
.2
Принцип работы лабораторной установки
.3
Результаты исследования
.3.1
Исследование изменения масса баллона
.3.2
Исследование формы и характера пламени
.
ТЕХНИКО-ЭКОНОМИЧЕСКОЕ ОБОСНОВАНИЕ ПРИМЕНЕНИЯ МАГНИТНОЙ АКТИВАЦИИ газового
топлива
.1
Магнитный активатор газового топлива
.2
Расчет экономии топлива при использовании магнитного активатора
.3
Расчет капиталовложения в мероприятие
.4
Расчет срока окупаемости магнитного активатора топлива
.5
Разработка товарного знака магнитного активатора газового топлива
.
АВТОМАТИЗАЦИИ ГАЗОРЕГУЛЯТОРНОЙ УСТАНОВКИ
.1
Общие положения
.2
Схема автоматизации ГРУ
.3
Характеристика оборудования
.
БЕЗОПАСНОСТЬ ЖИЗНЕДЕЯТЕЛЬНОСТИ
.1
Эксплуатация объектов систем газораспределения и газопотребления
.2
Техника безопасности при монтаже внутренних систем
.3
Противопожарные мероприятия
ЗАКЛЮЧЕНИЕ
СПИСОК
ИСПОЛЬЗОВАННЫХ ИСТОЧНИКОВ
ВВЕДЕНИЕ
Преамбула. В современных условиях при переходе к
рыночным отношениям для решения проблемы энергосбережения и энергоэффективности
значительное внимание уделяется снижению потребления топлива нефтяного и
газового происхождения, ввиду повышения стоимости и снижения общемировых
запасов. Одной из новых технологий в области энергосбережения является
магнитная активация топлива. Известны исследования влияния магнитного поля на
свойства газообразного углеводородного топлива. В одних примерах положительные
качества топлива увеличиваются, а в других - уменьшаются.
Актуальность исследования. Проблема экономии в
использовании газообразного топлива, а также экологические проблемы, связанные
с продуктами его сгорания, несгоревший углеводород (СН) и вещества, которые
отравляют окружающую среду, например, угарный газ (СО), относятся к наиболее
актуальным на сегодняшний день проблемам. Согласно закону от 23 ноября 2009 г.
N 261-ФЗ «Об энергосбережении и о повышении энергетической эффективности, и о
внесении изменений в отдельные законодательные акты Российской Федерации»
энергосбережения и повышение энергетической эффективности основывается на
следующих принципах:
Эффективное и рациональное использование
энергетических ресурсов;
Системность и комплексность проведения
мероприятий по энергосбережению и повышению энергетической эффективности;
Использование энергетических ресурсов с учетом
ресурсных, производственно-технологических, экологических и социальных условий.
Магнитная обработка топлива позволяет
существенно повысить экономическую эффективность и экологические показатели,
что и определяет актуальность предлагаемой дипломной работы.
Целью ВКР является разработка конструкции
лабораторной установки по влиянию магнитного поля на свойства газа в процессе
его горения и оценка экономической эффективности создания серии промышленных
установок для реализации магнитной обработки топлива перед его сжиганием. сгорание газовый топливо магнитный активатор
Постановка задачи. Для достижения поставленной
цели при проведении исследований влияния магнитного поля на свойства природного
газа в процессе его горения необходима разработка лабораторной установки, на
которой должны быть отработаны режимы работы и варианты применения магнитной
активации на движущийся поток топлива. На основании сравнения данных
использования устройства магнитной активации и эффекта без него, делаются
выводы о целесообразности применения подобных устройств в промышленных
установках.
Объект исследования. В качестве объекта
исследования был взят газовый баллон «Турист» для портативных газовых приборов.
Состав газа, который обрабатывался магнитным полем: бутан, изобутан, пропан,
соответствует ГОСТ 20448-90 «Газы углеводородные сжиженные топливные для
коммунально-бытового потребления»; соответствует европейскому стандарту EN 417;
отвечает требованиям ISO 9001, ISO 14001. Выбор основан на его общедоступности
и низких выбросах вредных веществ в окружающую среду.
Методы исследования: В процессе работы
применяются такие методы исследования, как изучение существующих устройств по
теме исследования, нормативной базы, аналитический и сравнительный методы, а
также методы, заключающиеся в испытании изучаемого явления такие, как
наблюдение, сравнение, измерение, эксперимент.
1. СОВРЕМЕННОЕ СОСТОЯНИЕ ПРОБЛЕМЫ ИССЛЕДОВАНИЯ
ВЛИЯНИЯ МАГНИТНОЙ АКТИВАЦИИ ТОПЛИВА НА ПОВЫШЕНИЕ ЭФФЕКТИВНОСТИ ЭНЕРГЕТИЧЕСКИХ
УСТРОЙСТВ
.1 Общие сведения о магнитной активации топлива
В современных условиях при переходе к рыночным
отношениям для решения проблемы энергосбережения и энергоэффективности
значительное внимание уделяется снижению потребления топлива нефтяного и
газового происхождения, ввиду повышения стоимости и снижения общемировых
запасов. Одной из новых технологий в области энергосбережения является
магнитная активация топлива.
На сегодняшний день такие отечественными фирмы,
как КБ «Нитрон», ООО «Иннова-Орто», предлагают к применению большой спектр
магнитных активаторов различных сред. В их основу положены изменения, которые
происходят в среде при её движении в магнитном поле. По данным изготовителей
происходит полная очистка двигателей от копоти и кокса, нагара на клапанах,
поршневых кольцах, стенках цилиндров, уменьшается выброс вредных газов в
атмосферу, снижается уровень шума и вибраций. Однако, несмотря на кажущуюся
простоту конструкции устройств и доступность обработки, в эксплуатации далеко
не всегда удается получить положительный эффект, заявленный производителем. В
связи с этим, исследования, направленные на разработку новых методов магнитной
активации топлива для улучшения эксплуатационных характеристик двигателей,
являются актуальными.
История развития магнитной активации топлива
началась с предположения о том, что магнитный резонанс значительно увеличивает
энергию атома и качество сгорания топлива. Ученый доктор Роберт Кан разработал
конструкция устройства активатора, параметры которого обеспечивают улучшение
эксплуатационных показателей автомобильных двигателей. В эту конструкцию
вводился состав, состоящий из неодимового сплава [1].
В конце 20 века проводились исследования, в которых
авторы Катана О.И., Давыдов В.Я., Пугачев А.В успешно использовали эффект,
наступающий при активации топлива в двигателях внутреннего сгорания. Ученые
использовали уравнение Лоренца, описывающего силу воздействия магнитного поля
на любые заряженные частицы, пересекающие силовые линии этого поля. В момент
прохождения магнитных силовых линий меняется структура и свойства топлива.
Происходит снижение силы поверхностного натяжения. Частично дробятся и
ионизируются сложные молекулы топлива на более мелкие фракции, двигаясь в
направлении противоположном направлению внешнего магнитного поля. Наблюдается
увеличение растворимости кислорода в топливе, возрастает ядерная поляризация,
изменяются константы скорости химической реакции горения [2].
На рисунке 1.1 показан поток топлива, проходящий
через линии магнитного поля.
Рисунок 1.1 - Поток топлива, проходящий через
линии магнитного поля
Использование магнитного поля повышает
внутреннюю энергию топлива, меняется вязкость, скорость испарения, плотность,
коэффициент поверхностного натяжения. Улучшаются условия смесеобразования. Все
эти факторы благотворно влияют на эксплуатационные показателей двигателей
внутреннего сгорания. Снижаются выбросы вредных веществ в атмосферу с выхлопными
газами автомобильных двигателей, снижается расход топлива и частично
увеличивается ресурс двигателя.
.2 Обзор оборудования из Internet - ресурсов
В таблице 1.1 приведены основные устройства для
магнитной обработки жидкого и газообразного топлива.
Таблица 1.1 - Обзор оборудования из Internet -
ресурсов
|
Аналог
№1
|
|
1.
Наименование
|
Активатор
топлива Союзинтеллект [3]
|
|
2.
Производитель
|
ООО
НТК "Союзинтеллект", г. Москва, ул. Тверская, дом 7, офис 503
|
|
3.
Техническая характеристика
|
Наибольшее
рабочее давление - 17 Bar Рабочая температура -40 до+85 °С Рабочие зоны - 4
шт Значение напряженности магнитного поля в рабочем зазоре - 0,7 Тл (7000
Эрстед) Масса - 400 г. Длина - 70 мм.
|
|
4.
Эффект
|
-
Снижение расхода топлива до 20% в зависимости от состояния мотора и качества
исходного заливаемого топлива; - Полная очистка цилиндро-поршневой группы
любого б/у мотора от копоти, нагара шлака и кокса; - Предотвращение
образование сажи, нагара на клапанах, форсунках, поршневых кольцах, стенках
цилиндров, свечах зажигания; - Рост экологичности автомобиля, за счет
снижения выброса вредных веществ; - Повышение срока службы свечей зажигания;
- Повышение срока службы автомобильных двигателей; - Снижение выбросов
вредных газов в атмосферу (СО до 70%, СН до 50%) до Евростандартов Евро-5 -
Легкий запуск ДВС в холодный и зимний периоды; - Снижение шума и вибраций,
плавность и приемистость в работе ДВС - Продлевает ресурс двигателя
внутреннего сгорания до 30%.
|
|
5.
Стоимость
|
6
995 рублей.
|
|
6.Внешний
вид
|
Рисунок
1.2 - Активатор топлива Союзинтеллект
|
|
Аналог
№2
|
|
1.
Наименование
|
Активатор
топлива Powermag [4]
|
|
2.
Производитель
|
Не
указан
|
|
3.
Техническая характеристика
|
Рабочая
температура -30 до +95 °С. Масса - 200 гр. Длина - 40 мм.
|
|
4.
Эффект
|
-
снижение расхода любого топлива до 20% в зависимости от состояния мотора и
качества исходного заливаемого топлива; - увеличение срока службы
автомобильных двигателей; - уменьшение выброса вредных газов в атмосферу (СО
до 70%, СН до 50%) до Евростандартов Евро-5; - меньшее расходование масла
(на 5%); - предотвращение образования сажи и углеродно-шлакового налета на
клапанах, поршневых кольцах, цилиндрах, свечах зажигания и значительное
продление срока их службы; - улучшенную работу системы смазки.
|
|
5.
Стоимость
|
890
рублей.
|
|
6.Внешний
вид
|
Рисунок
1.3 - Активатор топлива Powermag
|
|
Аналог
№3
|
|
1.
Наименование
|
Карбюраторный
активатор топлива [5]
|
|
2.
Производитель
|
КБ
"Нитрон", г. Самара, ул. Осипенко, дом 144, офис 172
|
|
3.
Техническая характеристика
|
Не
указана
|
|
4.
Эффект
|
-
Снижение расхода топлива на 15-30 %, поскольку активированное и очищенное
топливо более полно сгорает в двигателе. - Увеличивает приемистость двигателя
внутреннего сгорания на 15-20% - Значительно снижает выброс вредных веществ -
не менее чем в 10 раз. - Продлевает ресурс двигателя на 20% - За счет
экономии топлива вы сможете проехать расстояние на 25% больше. -
Электромагнитный активатор-фильтр окупает себя в течение нескольких месяцев в
результате уменьшения расхода топлива. - Постоянные магниты в данном
устройстве не создают помехи электрическим приборам;
|
|
5.
Стоимость
|
1790
рублей.
|
|
6.Внешний
вид
|
Рисунок
1.4 - Карбюраторный активатор топлива
|
|
Аналог
№ 4
|
|
1.
Наименование
|
Магнитный
активатор топлива АТ-1 [6]
|
|
2.
Производитель
|
КБ
"Нитрон", г. Самара, ул. Осипенко, дом 144, офис 172
|
|
3.
Техническая характеристика
|
Не
указана
|
|
4.
Эффект
|
-
снижение расхода различных видов обрабатываемого топлива до 15% (при
качественном топливе и ресурсном двигателе); - продление ресурса двигателя
внутреннего сгорания и его отсрочка от капитального ремонта; - снижение
выбросов вредных газов в атмосферу (СО до 50%, СН до 40%) - меньшее
расходование масла (на 10%); - предотвращение образования сажи и
углеродно-шлакового налета на клапанах, поршневых кольцах, цилиндрах, свечах
зажигания ;
|
|
5.
Стоимость
|
3500
рублей.
|
|
6.Внешний
вид
|
Рисунок
1.5 - Магнитный активатор топлива АТ-1
|
|
Аналог
№5
|
|
1.
Наименование
|
ОРТО-модификатор
ОМТ-5 [7]
|
|
2.
Производитель
|
ООО
«Иннова-Орто» Россия, Вологодская область, г. Череповец, пер. Ухтомского, 5
|
|
3.
Техническая характеристика
|
-
магнитная индукция в рабочем зазоре 1,0 - 1,2 Тесла - присоединительный
диаметр штуцеров 8 - 10 мм - рабочее давление топлива до 10,0 кг/см2 - длина
от 110 мм, диаметр от 38 мм, масса от 250 грамм
|
|
4.
Эффект
|
-
Уменьшить расход топлива до 15% и более. - Снизить уровень вредных выбросов в
атмосферу от 40% до 70%. - Увеличить мощность двигателя на 15% и положительно
изменить динамику движения автомобиля. - Продлить срок службы свечей
зажигания в 2 и более раз. - Очистить инжектор, форсунки, топливные жиклеры и
каналы, камеру сгорания двигателя на 100%. - Повысить срок службы
катализатора и лямбда-зонда в 2 и более раз.
|
|
5.
Стоимость
|
Не
указана
|
|
6.Внешний
вид
|
Рисунок
1.6 - ОРТО-модификатор ОМТ-5
|
|
Примечание
- Стоимость на устройства в таблице указана по данным на апрель 2016 года
|
|
|
|
.3 Обзор на полезные изобретения и патенты
В таблице 1.2 приведен обзор патентов на
устройства для магнитной обработки жидкого и газообразного топлива по данным
ФИПС (Роспатент).
Таблица 1.2 - Обзор на полезные патенты и
изобретения, полученные на аналогичные устройства
|
Аналог
№1
|
|
1.
Наименование
|
Устройство
для магнитной обработки жидкости (патент РФ №2452691) [8]
|
|
2.
Описание
|
Устройство
для магнитной обработки различных сред предполагает свое использование в
энергосбережении для обеспечения энергоэффективности в различных отраслях
экономики. Находит применение в химической, нефтяной и газовой промышленностях.
Устройство состоит из металлического корпуса, куда монтируются модули
магнитов, состоящие из шайб и постоянных магнитов из сплава
неодим-железо-бор. Набор модулей составляется с образованием проточного
канала. Корпус имеет крышки, расположенные с каждой из сторон устройства. В
них выполнено отверстие со штуцером.
|
|
3.
Преимущество в сравнении с аналогами
|
Главным
преимуществом в сравнении с другими аналогами является то, что обрабатываемая
среда разделяется на два потока, а потом вновь интенсивно сталкивается и
снова разделяется. Тем самым уменьшается вязкость обрабатываемой среды.
|
|
4.
Эффект
|
Топливо,
обработанное при помощи данного устройства, лучше распыляется, полнее
сгорает, что повышает мощность двигателя, уменьшает токсичность выхлопных газов,
а расход топлива сокращается на 15-20%.
|
|
Рисунок
1.7 - Устройство для магнитной обработки жидкости: 1 - корпус; 2 - крышка; 3
- штуцер для подвода жидкости; 4 - штуцер для отвода жидкости; 5 - модуль
магнита; 6 - зигзагообразный проточный канал; 7 - шайба; 8 - магнит
|
|
Аналог
№2
|
|
1.
Наименование
|
Устройство
магнитной обработки топлива для карбюраторных двигателей (патент РФ №2168052)
[9]
|
|
2.
Описание
|
Устройство
для магнитной обработки топлива, содержащее корпус из немагнитного материала,
проточные каналы, постоянные магниты и магнитопровод, отличающееся тем, что
корпус выполнен в виде пластины, магнитопровод выполнен в виде двух
С-образных скоб, огибающих с торцов пластину корпуса, в корпус вставлены с
зазором относительно друг друга две пары постоянных магнитов преимущественно
прямоугольной формы, между каждой парой магнитов расположены проточные
каналы, соответствующие выходным отверстиям диффузоров карбюратора, при этом
диаметр каналов не превышает длины каждого из магнитов, укрепленных в
пластине, а толщина пластины составляет приблизительно десятую часть ее
длины.
|
|
3.
Преимущество в сравнении с аналогами
|
Молекулы
смеси, получив дипольный момент, ориентируются в пространстве силовыми
линиями магнитного ноля, что способствует более равномерному их распределению
по объему цилиндра и, вследствие этого, более полному сгоранию
углеродосодержащих частиц при воспламенении смеси.
|
|
4.
Эффект
|
Экспериментальная
проверка показала, что в выхлопных газах CO на испытуемом автомобиле
снизилась с 2,8% до 0,1%, CH снизилось в 3 раза.
|
|
Рисунок
1.8 - Устройство магнитной обработки топлива для карбюраторных двигателей: 1
- корпус; 2 - магниты; 3 - проточный канал; 4 - отверстия под крепежные
элементы; 5 - С-образные скобы
|
|
Аналог
№3
|
|
1.
Наименование
|
Магнитный
активатор жидких сред (патент РФ №2411190) [10]
|
|
2.
Описание
|
Магнитный
активатор содержит неферромагнитный корпус, внутри которого расположен
концентратор магнитных силовых линий, с вырезами, образующими рабочие
промежутки аппарата. Концентратор магнитных силовых линий выполнен в виде
шести пластин, однократно обработанных магнитным импульсом, создающих
максимально эффективные рабочие магнитные поля в зоне обработки активируемой
жидкости за счет собственной остаточной индукции пластин. Рабочие промежутки
аппарата выполнены разной величины и расположены в шахматном порядке
относительно друг друга. Толщина пластин концентратора также выполнена
различной.
|
|
3.
Преимущество в сравнении с аналогами
|
Возможность
регулировки при конструировании и настройке всех основных магнитотропных
параметров: напряженности, градиента напряженности, времени пребывания,
скорости движения в магнитном поле и др.
|
|
4.
Эффект
|
Повышение
эффективности обработки жидкости, возможность контроля и регулирования
рабочих режимов магнитного активатора
|
|
Рисунок
1.9 - Магнитный активатор жидких сред: 1 - корпус; 2 - концентратор силовых
линий; 3 - регулировочные прокладки; 4 - подводящий патрубок; 5 - отводящий
патрубок
|
|
Аналог
№4
|
|
1.
Наименование
|
Аппарат
Помазкина для магнитной обработки жидкостей (патент РФ №2096339) [11]
|
|
2.
Описание
|
Аппарат
для магнитной обработки жидкостей, содержащий соленоидную катушку,
установленные внутри нее корпус и концентратор магнитных силовых линий,
выполненный в виде расположенных на расстоянии один от другого ферромагнитных
дисков с вырезами, образующих рабочие промежутки аппарата, отличающийся тем,
что диски концентратора расположены на разных расстояниях один от другого и
выполнены с возможностью обеспечения разных значений скорости движения
обрабатываемой жидкости, напряженности и градиента напряженности магнитного
поля в рабочих промежутках аппарата.
|
|
3.
Преимущество в сравнении с аналогами
|
При
настройке аппарата имеется возможность регулировки всех четырех
магнитотропных параметров, что не обеспечивает ни один из существующих
аналогичных аппаратов
|
|
4.
Эффект
|
Обеспечивает
высокую эффективность магнитной активации обрабатываемой жидкости даже при
достаточно больших колебаниях эксплуатационных режимов рабочей магистрали; -
стабильность эффективности омагничивания по отношению к изменению рабочего
тока в обмотке соленоида возрастает в 15-20 раз; - стабильность эффективности
магнитной активации по отношению к изменению скорости течения жидкости
рабочей магистрали увеличивается в 5-6 раз.
|
|
Рисунок
1.10 - Аппарат Помазкина для магнитной обработки жидкостей: 1 - соленоидная
катушка; 2 - корпус; 3 - диски; 4 - сформированные выпуклости; 5 - регулировочные
кольца
|
|
Аналог
№5
|
|
1.
Наименование
|
Фильтр
магнитной очистки и обработки автомобильного и авиационного топлива
ЭКОМАГ-10г (патент РФ №2327895) [12]
|
|
2.
Описание
|
Фильтр
содержит цилиндрический корпус с входным каналом, крышку с выходным каналом,
магнитную систему из постоянных С-образных магнитов, установленных попарно
вдоль оси устройства с разворотом каждой последующей пары на 90°;
цилиндрический стержень, выполненный с каналом, соединен с крышкой;
дополнительные постоянные цилиндрические магниты, расположенные в канале
стержня одноименными полюсами друг к другу вплотную или на расстоянии друг от
друга.
|
|
3.
Преимущество в сравнении с аналогами
|
Обработка
в фильтре ЭКОМАГ-10Г обеспечивает получение тонкодисперсной
топливно-воздушной смеси
|
|
4.
Эффект
|
Фильтр
активатор обеспечивает топливу, поступающему в двигатель внутреннего сгорания
одновременно и последовательно: - ионизацию молекул, всех составляющих
топлива по всему его объему; молекулы находятся на равном расстоянии друг от
друга; - однородную структуру всех веществ, составляющих топливо - уменьшение
смольности, коксообразования, гидравлического сопротивления потоку топлива в
трубах, каналах, жиклерах, форсунках. - повышается теплотворная способность
топлива, и за счет получения особо тонкодисперсной структуры
топливно-воздушной смеси, которая в камере сжатия более полно и с повышенной
скоростью сгорает, улучшаются технические характеристики двигателя.
|
|
Рисунок
1.11 - Фильтр магнитной очистки и обработки автомобильного и авиационного
топлива ЭКОМАГ-10г: 1 - корпус; 2 - крышка; 3 - входной канал; 4 - выходной
канал; 5 - стержень; 6 - внутренний канал; 7 - канал в форме полого
усеченного конуса; 8 - полость в корпусе; 9 - система постоянных магнитов;
10 - втулка; 11 - постоянные магниты; 12 - торец канала стрежня; 13 -
кольцевой канал; 14 - диск с каналами
|
|
Аналог
№6
|
|
1.
Наименование
|
Устройство
для магнитной обработки жидкого топлива (патент РФ №2319854) [13]
|
|
2.
Описание
|
Устройство
содержит выполненный из немагнитного материала корпус с продольным проточным
топливным каналом и поперечно относительно последнего установленными соосными
парами стержневых постоянных магнитов, отличающееся тем, что в продольном
канале установлена трубка из немагнитного материала, а оси каждых соседних
пар магнитов расположены взаимно перпендикулярно, при этом отношение наружных
диаметров трубки Д1 и магнитов Д2 составляет Д2/Д1=1,2-1,7, а отношение
расстояния между соседними парами магнитов к диаметру магнитов составляет
Л/Д2=2,1-3.
|
|
3.
Преимущество в сравнении с аналогами
|
Эффективность
данного устройства существенно зависит от величин соотношений диаметров
трубки и магнита и расстояния между соседними парами магнитов к диаметру
магнитов, причем оптимальными являются указанные выше диапазоны величин этих
соотношений.
|
|
4.
Эффект
|
Топливная
экономичность котельных установок, работающих на тяжелых углеводородных
топливах и отработанном масле, увеличивается на 25-30%, а содержание ядовитых
газов в выхлопе снижается примерно на 30%.
|
|
Рисунок
1.12 - Устройство для магнитной обработки жидкого топлива: 1 - корпус; 2 -
топливный канал; 3 - стержневые постоянные магниты; 4 - трубка из медного
сплава
|
|
Аналог
№7
|
|
1.
Наименование
|
Магнитный
активатор топлива (патент РФ №2324838) [14]
|
|
2.
Описание
|
Магнитный
активатор топлива выполнен в виде корпуса, состоящий из двух идентичных
половин. Внутри размещаются постоянные магниты из сплава неодим-железо-бор.
Также внутри располагаются разделительные немагнитные регуляторы. Монтируется
устройство непосредственно на самом топливопроводе вблизи карбюратора.
|
|
3.
Преимущество в сравнении с аналогами
|
Шахматное
расположение магнитов внутри корпуса устройства обеспечивает турбулизацию
обрабатываемого потока.
|
|
4.
Эффект
|
Увеличивается
плотность и полнота сгорания обрабатываемого топлива в любых модификациях
двигателей внутреннего сгорания на 25%.
|
|
Рисунок
1.13 - Устройство для магнитной обработки жидкого топлива: 1 - корпус; 2 -
крышка; 3 - постоянные магниты; 4 -разделительный регулятор; 5 - выступ в
виде втулки; 6 - паз; 7 - топливопровод; 8 - пружинный зажим
|
|
Аналог
№8
|
|
1.
Наименование
|
Магнитный
активатор жидких топлив (патент РФ №2082897) [15]
|
|
2.
Описание
|
Магнитный
активатор жидких топлив, содержит корпус с размещенными внутри постоянными
магнитами. Корпус и магниты разделяет винтовой канал в котором происходит
движение топлива. Соединение с топливопроводом осуществляется штуцерами.
|
|
3.
Преимущество в сравнении с аналогами
|
Турбулизация
потока обрабатываемой среды за счет форм и расположения винтовых каналов.
|
|
4.
Эффект
|
Снижение
расхода обрабатываемой среды 15 - 20%, снижение концентрация окиси углерода в
выхлопных газах до 40%
|
|
Рисунок
1.14 - Магнитный активатор жидких топлив: 1 - корпус; 2 - соединительный
штуцер; 3 - втулка; 4 - постоянные магниты; 5 - немагнитные полюсные
наконечники; 6 - винтовые каналы
|
|
Аналог
№9
|
|
1.
Наименование
|
Накидной
магнитный активатор топлива (патент РФ №138130) [16]
|
|
2.
Описание
|
Магнитный
активатор топлива содержит немагнитный корпус из двух составных частей с
наполнителем. На каждой из частей располагаются постоянные магниты.
Располагается на топливопроводе автомобиля.
|
|
3.
Преимущество в сравнении с аналогами
|
-
простота конструкции, - магниты защищены наполнителем от прямого контакта с
обрабатываемой средой, - монтаж и демонтаж может осуществить не
квалифицированный специалист.
|
|
4.
Эффект
|
Снижается
расход топлива и токсичность выхлопных газов.
|
|
Рисунок
1.15 - Накидной магнитный активатор топлива: 1 - корпус; 2,3 - составные
половинки; 4 - наполнитель; 5,6 - постоянный магнит; 7 - топливный шланг;
8,9- полость в виде полуцилиндра; 10 - топливо
|
|
Аналог
№10
|
|
1.
Наименование
|
Активатор
топлива "СТАТ-7" (патент РФ №2158842) [17]
|
|
2.
Описание
|
Активатор
топлива выполненный из термостойкого материала. Устройство имеет
активационную камеру. Корпус заполнен композитным наполнителем. Располагается
на топливопроводе двигателя.
|
|
3.
Преимущество в сравнении с аналогами
|
Композитный
наполнитель, который заполнен в корпусе, обработан электромагнитным
излучением. Происходит воздействие на обрабатываемую среду в активационной
камере. Изменяется электрическая проводимость топлива.Улучшаются условия его
сгорания.
|
|
4.
Эффект
|
Активатор
топлива прошел испытания на автотранспорте, где был снижен расход при
различных условиях. В городском цикле заметно снижение до 15%, а на
автомагистрали - до 5%.
|
|
Рисунок
1.16 - Активатор топлива "СТАТ-7": 1 - корпус; 2 - активационная
камера; 3 - композитный наполнитель; 4 - съемный фланец
|
|
Аналог
№11
|
|
1.
Наименование
|
Аппарат
для повышения эффективности сжигания топлива (United States Patent №5558765)
[18]
|
|
2.
Описание
|
Аппарат
для интенсивного воздействия на углеводородное топливо к магнитному полю,
содержащий по меньшей мере два постоянных магнита, имеющие противоположные
полярности и крышку отсека, содержащую магниты, изготовленные из немагнитных
материалов.
|
|
3.
Преимущество в сравнении с аналогами
|
Простота
конструкции и монтажа.
|
|
4.
Эффект
|
Значительное
уменьшение количества выбросов вредных веществ: то есть углеводороды, окись
углерода, окиси азота и двуокиси углерода, а также значительное увеличение
экономии топлива, указывающего явно заметное повышение эффективности сжигания
топлива.
|
|
Рисунок
1.17 - Аппарат для повышения эффективности сжигания топлива: 1,2 - корпус с
магнитами; 3 - фиксатор; 4 - топливопровод
|
|
Аналог
№12
|
|
1.
Наименование
|
Реактор
для магнитной активации органических энергоносителей (UA. Україна, №59522)
[19]
|
|
2.
Описание
|
Пары
неодимовых магнитов, на корпусе реактора, расположены дискретно по винтовой
траектории, так чтоб магнитное поле взаимодействовало с биметаллическим
дефлектором. В результате взаимодействия магнитного поля с потоком жидкости и
биметаллическим дефлектором, во внутреннем корпусе реактора образуется
кавитация. При соединении процессов кавитации и дискретной
магнитно-импульсной обработки происходит активное перемешивание и достигается
высокая объемная поляризация молекул углеводородов.
|
|
3.
Преимущество в сравнении с аналогами
|
Магнитный
активатор работает по принципу дискретно-градиентной обработки топлива.
Кластеры в топливе разделяются на более мелкие и более упорядоченные части, в
результате чего достигается более эффективное сгорание топлива.
|
|
4.
Эффект
|
Повышается
КПД и достигается экономия топлива на 5-15%. Происходит полное сгорание
топлива.
|
|
Рисунок
1.18 - Реактор для магнитной активации органических энергоносителей: 1 -
корпус реактора; 2 - внутрений корпус реактора; 3 - постоянные сферические
неодимовые магниты разной напряженности; 4 - бимиталические дифлекторы
кавитационной обработки
|
|
Примечание
- патенты,представленные в таблице, утратили силу и не поддерживаются
|
1.4 Общие недостатки существующих устройств
Таким образом в настоящее время имеется
множество вариантов устройств для магнитной обработки сред, что затрудняет их
общую классификацию и сопоставление. В основу классификации аппаратов могут
быть положены различные признаки, например, источник магнитного поля -
постоянные магниты или переменные; какова форма потока жидкости -
прямолинейная, спиральная, каков характер изменения магнитного поля - постоянное,
пульсирующее. Известны устройства, например, такие как, «Powermag»,
«Союзинтеллект», устройства активации таких компаний, как КБ «Нитрон», ООО
«Иннова-Орто», а также изобретения такие как, «ЭКОМАГ-10Г», «СТАТ-7», «Аппарат
Помазкина», при этом все патенты на эти устройства утратили силу и не
поддерживаются.
Главным недостатком аппаратов для магнитной
обработки сред является точная настройка их параметров. Отсюда сильная
зависимость эффективности магнитной активации от изменения параметров магистрали,
на которой он установлен, в частности, от скорости среды в рабочих зазорах
аппаратов. Это делает практически невозможным их эффективную работу на
магистралях, где поток обрабатываемой среды не стационарен во времени.
В существующих аппаратах очень низок коэффициент
использования рабочего объема аппарата. Он равен отношению рабочих зазоров (их
длины), в которых и происходит процесс омагничивания, к общей длине рабочей
части аппарата, по которой движется обрабатываемая среда. Отношение не
превышает 60% общего рабочего объема аппарата магнитной активации.
Сделан вывод, что широкому внедрению магнитной
обработки различных сред в значительной степени препятствует отсутствие простых
и надежных методов контроля эффективности магнитной обработки. Критериями оценки
достигаемого эффекта чаще всего служат изменение мощностно-тяговых
характеристик двигателя, его экономичности, устойчивости работы, изменение
процентного содержания токсичных компонентов в отработавших газах. Однако эти
методики абсолютно непригодны для оперативного контроля и оптимизирования
режима обработки топлива.
.5 Анализ нормативных документов
Из выполненного обзора магнитный активатор
топлива АТ-1, как заявляет производитель КБ «Нитрон», соответствует требованиям
ТУ 4573-002-5647765332-08, ГОСТ Р 52230-2004 «Электрооборудование
автотракторное Общие технические условия», ГОСТ Р 50905-96 «Автотранспортные
средства. Электронное оснащение. Общие технические требования», и признан
годным к эксплуатации.
Магнитный активатор «ОРТО-модификатор ОМТ-5»,
представленный производителем ООО «Иннова-Орто», также прошел проверку и
признан годным к эксплуатации в соответствии с ТУ 4591-005-90449293-2011.
При обзоре приведенных выше ГОСТ и ТУ, не были
выявлены общие положения и стандарты для магнитного активатора. Это говорит о
том, что в настоящее время нет существующих нормативных документов,
стандартизирующих устройство и их работу. Таким образом, дальнейшее изучение и
разработка подобных активаторов топлива должны быть направлены на составление
общих технических условий.
2. АНАЛИЗ РЕЗУЛЬТАТОВ РАНЕЕ ПРОВОДИМЫХ
ЭКСПЕРИМЕНТАЛЬНЫХ ИССЛЕДОВАНИЙ
.1 Обзор исследований по влиянию магнитного поля
на свойства углеводородного топлива на автотранспорте
На базе научно-технической лаборатории кафедры
«Судовых энергетических установок и общеинженерной подготовки» Одесского
Национального Морского Университета были проведены исследования по влиянию
магнитного поля на свойства углеводородного топлива. Научные сотрудники под
руководством д.т.н. профессора Малыгина Б.В. провели испытания магнитных
активаторов топлива на двигателе 6ЧН35/34.
При первоначальном опыте без активатора расход
топлива за 3 минуты составил 250 мл дизельного топлива на один цилиндр. В
дальнейшем при установке различных активаторов в различных местах топливной
системы расход топлива начал снижаться и достиг минимального значения в 220 мл
на один цилиндр двигателя при опыте с установкой 5 активаторов до топливного
насоса высокого давления, что составляет уменьшение на 10% от первоначальных
значений. Согласно этим исследованиям был разработан опытный образец накладного
магнитного активатора топлива для автомобилей.
На рисунке 2.1 показан магнитный активатор для
использования на автотранспорте.
Рисунок 2.1 - Магнитный активатор для
использования на автотранспорте
Рисунок 2.2 - Установленный магнитный активатор
на (Volkswagen Golf 1.9 TDI)
Согласно рисунку 2.2, активатор был установлен и
проходил испытания на автомобилях марок: Volkswagen Golf 1,9 TDI; Renault
Kangoo 1.5 dCi; Mazda 3 2.0. Автомобили находились в технически исправном
состоянии. Условия и сроки эксплуатации для проведения испытаний были выбрана
одинаковыми. После установки магнитного активатора топлива на автомобилях разница
между средним расходом топлива с активатором и без него составила в процентах:
Volkswagen Golf Variant1.9 TDI - 8%; Renault Kangoo 1.5 dCi - 8%; Mazda 3 2.0 -
8%. Данные результаты позволяют сделать вывод, что при использовании активатора
топлива для автотранспорта, расход топлива на данных автомобилях максимально
снизился и приблизился к заводским параметрам.
Так же известны исследования, проведенные
Оренбургским государственным университетом. Автомобиль ВАЗ-2106 прошел
стендовые испытания с целью оценки влияния разработанного магнитного активатора
топлива на изменение топливно-экономических, мощностных и экологических
показателей работы двигателя. Активатор устанавливался в разрез топливпровода
между карбюратором и топливным насосом. В испытания активатора входило снятие
внешней и частичной скоростных характеристик двигателя на обкаточно-тормозном
стенде КИ-5543. По результатам проведенных испытаний выявлено, что при
использовании магнитного активатора частота вращения коленчатого вала
уменьшилась на 0,2 %, крутящий момент увеличился на 4,1 %, мощность двигателя
увеличилась на 3,7 %, удельный расход топлива уменьшился на 6,1 %, содержание
углекислого газа в выхлопных газах снизилось на 14,3 %, содержание
углеводородов снизилось на 22,5 %.
Такие результаты объясняются тем, что топливо,
проходя через камеру активатора, становится мелкодисперсным. Процесс сгорания
топлива происходит с повышенной скоростью и более полно, в связи с чем,
увеличивается его теплотворность и, соответственно, возрастает мощность. В камере
активатора находится устройство, создающее электромагнитное поле, пульсирующее
с большой частотой, которое резко увеличивает собственное колебание молекул
топлива, вследствие чего уменьшается образование нагара и закоксовывание
двигателя.
Так же известен результат опыта
магнитоэлектрической обработки топлива на штатной Ниве Шевроле.
На рисунке 2.3 показаны магнитные сегменты,
установленные на топливный шланг.
Рисунок 2.3 - Топливный шланг с установленным
устройством
В качестве шланга использован гибкий
топливопровод «обратки». Пробег с устройством составил 70000 км после чего были
достигнуты следующие результаты:
. Средний расход бензина по трассе и по городу
уменьшился и был равен 8-9 л на 100 км;
. Снижение оборотов «подхвата» двигателя
до1800-1900 об/мин;
. Увеличился динамический диапазон работы
двигателя - стабильно работает от холостых оборотов до 4-5 тыс. об/мин;
. Увеличение мощности двигателя около 15%.
Одним из последних устройств в области магнитной
обработки топлива является ОРТО-модификатор ОМТ-5 компании ООО «Иннова-Орто».
Автопарки таких компаний как ООО «Авторемонт» г. Череповец, МУП
«Автоколонна-1456», г. Череповец, ООО «Барселона», г. Севастополь, ООО
«СтройПуть», Вологодская область, ОАО «Белаз-Холдинг», провели испытания
данного устройства. Результаты, зафиксированные различными актами и отзывами
компаний, утверждают, что сократилось время запуска и прогрева двигателя в
зимнее время, снизилась стартовая нагрузка на аккумулятор, улучшилась работа двигателя
при пониженной температуре и повышенной влажности, снизился расход топлива на
15% и масла на 12%, уменьшилась дымность двигателя, увеличилась
производительности труда на 7%.
На рисунке 2.4 показан ОРТО-модификатор ОМТ-5,
установленный на топливный шланг автомобиля.
Рисунок 2.4 - Топливный шланг с установленным
ОРТО-модификатор ОМТ-5
2.2 Обзор конструкции установки для исследования
влияния на свойства природного газа импульсного магнитного поля в процессе его горения
Учебной лабораторией Херсонской государственной
морской академии была разработана установка для исследования влияния
импульсного магнитного поля на свойства природного газа.
На рисунке 2.5 показан установка для
исследования влияния импульсного магнитного поля на свойства природного газа.
Рисунок 2.5 - Установка для исследования влияния
импульсного магнитного поля на свойства природного газа
В качестве обрабатываемой среды был взят газ
пропан-бутан, который обрабатывался импульсным магнитным полем. Выбор основан
на простоте достижения стабильного химического состава газа и его давления.
Как известно газообразное топливо содержит целый
ряд углеводородных органических соединений, где среднее количество атомов
углерода в молекуле составляет 7-8, а водорода 10-11. При воздействии
импульсного магнитного поля на молекулы углеводорода удается получить
молекулярные комплексы с малым содержанием углерода и низким молекулярным
весом, которые обладают более высокой теплотой сгорания. Таким образом,
предполагается возможность экономии газа при совершении одной и той же работы.
На рисунке 2.6 показана схема установки для
исследования влияния импульсного магнитного поля на свойства природного газа.
Рисунок 2.6 - Схема установки для исследования
влияния импульсного магнитного поля на свойства природного газа:
-газовый баллон с краном; 2-газовый редуктор с
регулятором давления; 3-шаровые газовые краны; 4-расходомер газа; 5-датчик
температуры; 6-датчик СО; 7-газовая горелка;
-разёмное соединение; 9-магнитно-импульсный
активатор
Согласно рисунку 2.6, установка снабжена газовым
баллоном 1, газовым редуктором с регулятором давления 2 и двумя линиями
топливопровода на которых установлены: шаровые краны 3, активатор
обрабатываемой среды 9, служащий источником магнитного поля, который
представляет собой соленоид, работающий по принципу дискретно-градиентной
обработки. Линия топливопровода с активатором снабжена разъемным соединение 8,
для монтажа активатора. Установка снабжена расходомером газа 4 модели РМ-ГС
(основная допускаемая погрешность ротаметров составляет ± 4% от верхнего
предела измерений), газовой горелкой 7 в которой происходит сжигание газа. На
горелке закреплен датчик температуры (термопара типа медь-константан) 5 он
позволяет проконтролировать температуру сгорания, не активированного газа, а
также температуру сгорания активированного газа (при переключении шаровых
кранов 3).При неизменности условий эксперимента физико-химического состава газа,
давление газа, температуры воздуха, условий горения с помощью датчика (СО) 6,
который подключён к газоанализатору (ИНФРАКАР-М) возможно измерить объемные
доли оксида углерода (СО) и углеводородов (СН), оксида азота (NO), диоксида
углерода (СО2), кислорода (О2) в продуктах горения газа.
3. ЭКСПЕРИМЕНТАЛЬНОЕ ИССЛЕДОВАНИЯ ВЛИЯНИЯ
МАГНИТНОЙ АКТИВАЦИИ ТОПЛИВА НА ПОВЫШЕНИЕ ЭФФЕКТИВНОСТИ ЭНЕРГЕТИЧЕСКИХ УСТРОЙСТВ
.1 Разработка лабораторной установки для
исследования эффективности сгорания газового топлива при воздействии на него
магнитного поля
Для дальнейшего исследование влияния магнитного
поля на свойства газа в процессе его горения была построена лабораторная
установка. Она включает в себя газовый баллон, регуляторный клапан с
фиксатором, ОРТО-модификатор ОМТ-5, газовую горелку. В качестве удерживающего
устройства для всей установки служит штатив.
В качестве топлива для лабораторной установки
был взят газовый баллон «Турист» для портативных газовых приборов. Один баллон
для серии испытаний с использованием магнитных дисков из сплава
неодим-железо-бор, другой для испытаний немагнитных дисков из сплава
медно-никелевого.
Состав газа: Бутан, изобутан, пропан.
Соответствует ГОСТ 20448-90 «Газы углеводородные сжиженные топливные для
коммунально-бытового потребления», соответствует европейскому стандарту EN 417,
отвечает требованиям ISO 9001, ISO 14001.
Технические характеристики газового баллона
«Турист»
Тип баллона: клапанный, стальной.
Масса сжиженного газа: 220 г.
Масса: 315 г.
Габариты: 68,5 x 184 мм (диаметр x высота).
Объем баллона: 527 мл.
Газовая смесь: 527 мл.
Диапазон рабочих температур: от -20 до +35 С°.
Тип клапана: нажимной с цанговым зажимом.
Производство: Южная Корея.
На рисунке 3.1 показан газовый баллон «Турист»
Рисунок 3.1 - Газовый баллон «Турист»
Источником магнитного поля установки для
исследования эффективности сгорания газового топлива при воздействии на него
магнитного поля являются модули магнитов диаметром 20 мм, толщиной 2 мм,
магнитной индукцией 1,2 Тл. Установлены последовательно в корпусе параллельно
друг другу в ОРТО-модификаторе ОМТ-5.
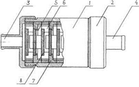
На рисунке 3.2 показано устройство для магнитной
обработки сред ОРТО модификатор ОМТ-5
Рисунок 3.2 - Устройство для магнитной обработки
сред ОРТО модификатор ОМТ-5:
- корпус; 2 - крышка; 3,4 - штуцер; 5 - модуль
магнита;
- зигзагообразный проточный канал; 7 - шайба; 8
- магнит
Согласно рисунку 3.2, устройство содержит корпус
1, на наружную поверхность которого с двух сторон крепятся крышки 2 со
штуцерами для подвода 3 и отвода 4 газа. Внутри корпуса 1 находится источник
магнитного поля, выполненный в виде модулей магнитов 5, которые установлены
последовательно в корпусе 1 параллельно друг другу, образуя зигзагообразный
проточный канал 6. Модуль магнита 5 состоит из шайбы 7 и магнита 8, образуя
между собой сквозной канал. Модули магнитов 5 установлены в корпусе 1 без
жесткого крепления к корпусу путем набора шайб 7 с прикрепленными к ним
магнитами 8 поочередно таким образом, что сквозной канал последующего модуля
магнитов смещен с разворотом по отношению сквозного канала предыдущего модуля
магнитов. Такое расположение обеспечивает увеличение зигзагообразной формы
канала для протока газа, делающего дополнительные повороты [8].
На одной из сторон шайбы выполнены глухие
каналы, обеспечивающие разворот жидкости во время ее движения по
зигзагообразному каналу 6.
На рисунке 3.3 показана шайба, расположенная в
корпусе активатора топлива ОРТО-модификатор ОМТ-5.
Рисунок 3.3 - Шайба ОРТО-модификатора ОМТ-5:
- магнит; 9 - сквозной канал; 10 - глухой канал;
11 - установочный штив; 12 - глухое отверстие
Согласно рисунку 3.3, на сторонах шайб,
обращенных друг к другу, выполнен фиксатор, представляющий собой установочный
штифт 11, выполненный заодно с шайбой предыдущего модуля магнитов в процессе ее
изготовления или запрессованный в шайбу, и глухое отверстие 12, расположенное
на стороне шайбы последующего модуля магнитов, при этом глухое отверстие 12
сдвинуто по центральной оси относительно установочного штифта 11 на заданный
угол α.
В
процессе сборки блока модулей магнитов установочный штифт 11 предыдущего модуля
входит в глухое отверстие 12 последующего модуля, обеспечивая и фиксируя
требуемое смещение и разворот сквозного канала каждого последующего модуля
магнитов по отношению сквозного канала предыдущего модуля магнитов. Шайбы
модулей магнитов выполнены из немагнитного материала.
Устройство, содержит шесть модулей. Источник
магнитного поля выполнен в виде набора идентичных модулей, конструкция которых
в собранном виде обеспечивает зигзагообразную траекторию протекания
обрабатываемого газа. Длина средней линии зигзагообразного канала более 240 мм
при длине собранного блока модулей 48 мм. Предлагаемая зигзагообразная форма
рабочего канала обеспечивает гидродинамическую турбулизацию потока.
На рисунке 3.4 показаны магнитный диск из сплава
неодим-железо-бор и немагнитный диск из сплава медно-никелево.
Рисунок 3.4 - Варианты исполнения дисков модулей
Согласно рисунку 3.4, дисковые магниты имеют
диаметр 20 мм, толщину 2 мм, магнитная индукция 1,2 Тл. Материал магнитных
дисков - сплав неодим-железо-бор (NdFeB). Материал немагнитных дисков - сплав
медно-никелевый.
В качестве горелочного устройства используется
портативная газовая горелка RS.701 TT-701.
Технические характеристики портативной газовой
горелки
Масса: 70 г.
Габариты: 25 x 175 мм (диаметр x высота)
Расход газа: от 50 до 250 г/час
Рисунок 3.5 - Портативная газовая горелка RS.701
TT-701
Для дальнейших испытаний газовая горелка
разделена на две части. К каждой части горелки приварен входной штуцер, для
присоединения к активатору ОРТО-модификатор ОМТ-5.
На рисунке 3.6 показаны горелка и регулировочный
клапан со штуцером диаметром 8 мм.
Рисунок 3.6 - Горелка и регулировочный клапан со
штуцером
В качестве удерживающего устройства служит
штатив. Он позволяет крепко зафиксировать горелку и выставить ее на необходимую
высоту. С помощью закрепленной линейки производится измерение высоты и формы
пламени.
На рисунке 3.7 показан штатив установки.
Рисунок 3.7 - Штатив установки:
- мерная линейка; 2 - фиксатор горелки; 3 -
регулятор штатива по высоте
При наличии всех составляющих осуществляется
сборка лабораторной установки. При помощи отрезков шланга и хомутов с
открывающимся замком устанавливается герметичное соединение входного штуцера
ОРТО модификатора ОМТ-5 и штуцера регулировочного клапана горелки, также
производится соединение выходного штуцера модификатора и входного штуцера
портативной горелки.
Технические характеристики хомута DAR 25-110/9.
Масса: 20 г.
Материал: нержавеющая сталь W2.
На рисунке 3.8 показан хомут DAR 25-110/9 с
закрывающимся замком.
Рисунок 3.8 - Хомут DAR 25-110/9
На рисунке 3.9 показана установка для
исследования влияния магнитного поля на свойства газа.
Рисунок 3.9 - Установка для исследования влияния
магнитного поля на свойства газа:
-газовая горелка; 2-штатив; 3- ОРТО-модификатор
ОМТ-5; 4-газовый шланг; 5-регулятор с фиксатором; 6-газовый баллончик
Согласно рисунку 3.9, ОРТО-модификатор 3 при
помощи шланга 4 подключен к газовому баллончику 6 с одной стороны и к газовой
горелке 1 с другой. В качестве удерживающего устройства для всей установки
служит штатив 2.
На рисунке 3.10 показана установка для
исследования влияния магнитного поля на свойства газа в размерах
Рисунок 3.10 - Установка для исследования
влияния магнитного поля на свойства газа
.2 Принцип работы лабораторной установки
Собранная установка для исследования влияния
магнитного поля на свойства газа работает следующим образом. Поток
обрабатываемого газа, поступающий из газового баллончика, через входной штуцер
модификатора поступает в корпус. Далее через сквозные каналы происходит деление
на два потока, затем потоки газа движутся навстречу друг другу к центру модуля с
магнитом. Потоки сталкиваются и разворачиваются на заданный угол α
(90 градусов),
далее попадают в глухие каналы и, двигаясь к периферии модуля вдоль оси Z,
попадают в сквозные каналы последующего модуля, после прохождения которых
процесс повторяется [8].
На рисунке 3.11 показано движение потоков газа
активатора топлива ОРТО-модификатор ОМТ-5.
Рисунок 3.11 - Движение потоков газа в
модификаторе
Согласно рисунку 3.11 все четные модули магнитов
развернуты относительно нечетных модулей магнитов на угол α
(90 градусов) по оси X. Обрабатываемый газ движется по зигзагообразному
проточному каналу перпендикулярно силовым линиям магнитного поля. Поток
турбулизируется за счет гидродинамического сопротивления, обусловленного формой
проточного канала. В турбулентном потоке группы молекул интенсивно трутся и
сталкиваются, что приводит к их частичному распаду, уменьшению вязкости и
увеличению объемной доли топлива, и, в конечном итоге, повышению активности
топлива в окислительных реакциях. Газ, обработанный магнитным полем, через
выходной штуцер выходит из корпуса и поступает в горелку.
Конструкция модулей шайб с магнитами,
обращенными одноименными полюсами друг к другу, формирует конфигурацию
магнитного поля с увеличением индукции за счет компрессии магнитного потока и
увеличивает количество зон неоднородного магнитного поля, в этом месте его
воздействие на молекулы среды возрастает.
На рисунке 3.12 показано магнитное поле
активатора топлива ОРТО-модификатор ОМТ-5.
Рисунок 3.12 - Магнитное поле
Порядок работы на лабораторной установке для
исследования влияния магнитного поля на свойства газа проходит в следующем
порядке:
Установка магнитных дисков из сплава
неодим-железо-бор (немагнитных дисков из сплава медно-никелевого) в шайбы
модулей орто-модификатора ОМТ-5.
Формирование модулей, с образование проточного
канала, и фиксация их в модификаторе.
Присоединение крышек и корпусу модификатора.
Присоединение регулятора с фиксатором к
модификатору при помощи двух хомутов и отрезка шланга.
Присоединение горелки к модификатору при помощи
двух хомутов и отрезка шланга.
Взвешивание газового баллона «Турист»
электронными весами МИДЛ ЕНА251.
Занесение показаний весов в таблицу 3.1
Присоединение газового баллона.
Закрепление горелки на штативе, с выставленной
высотой.
Открытие клапана с фиксатором.
Одновременный поджиг и включение таймера
времени.
Длительность горения три минуты.
Закрытие клапана.
Снятие баллона и взвешивание.
Занесение показаний весов в таблицу 3.1
Испытания проводятся пять раз. Далее, магнитные
диски в модулях модификатора заменяются на немагнитные, и исследования
повторяются в той же последовательности.
В таблице 3.1 приведена форма для заполнения
показаний изменения массы газового баллона «Турист».
Таблица 3.1 - Результаты исследования изменения
массы газового баллона «Турист»
|
Материал
дисков модификатора
|
Масса
газового баллона, г
|
|
|
Испытание
|
|
Начальная
|
1
|
2
|
3
|
4
|
5
|
|
Сплав
неодим-железо-бор (магнит)
|
|
|
|
|
|
|
|
Сплав
медно-никелевый
|
|
|
|
|
|
|
Взвешивание газового баллона «Турист»
осуществляется электронными портативными весами МИДЛ ЕНА251.
Технические характеристики электронных весов
МИДЛ ЕНА251.
Наибольший предел взвешивания: 500 г.
Дискретность: 0,1 г.
Масса: 112 г.
Размеры платформы: 60х72 мм.
Дисплей: жидкокристаллический.
Габариты: 75х114х15 мм.
На рисунке 3.13 показаны электронные портативные
весы МИДЛ ЕНА251
Рисунок 3.13 - Электронные портативные весы МИДЛ
ЕНА251
.3 Результаты исследования
.3.1 Исследование изменения масса баллона
В таблице 3.2 приведены результаты исследования
изменения массы газового баллона «Турист».
Таблица 3.2 - Результаты исследования изменения
массы газового баллона «Турист»
|
Материал
дисков модификатора
|
Масса
газового баллона, г
|
|
Начальная
|
Испытание
|
|
|
1
|
2
|
3
|
4
|
5
|
|
Сплав
неодим-железо-бор(магнит)
|
297
|
293,7
|
290,6
|
288,0
|
285,3
|
282,4
|
|
Сплав
медно-никелевый
|
297
|
293,2
|
289,7
|
286,5
|
283,3
|
280,3
|
На рисунке 3.14 показан график изменения массы
газового баллона при использовании магнитных дисков из сплава неодим-железо-бор
и немагнитных дисков из сплава медно-никелевого в шайбах модулей
орто-модификатора.
Рисунок 3.14 - График изменения массы газового
баллона
По результатам проведенных испытаний выявлено,
что предлагаемый орто-модификатор ОМТ-5 для магнитной обработки различных сред
позволяет более эффективно использовать газ для последующего применения. Расход
сокращается на 12,6%.
.3.2 Исследование формы и характера пламени
Для описания формы и характера пламени сгорания
газа используется фотофиксация горелок.
На рисунке 3.15 показано пламя горелки при
использовании немагнитных дисков.
Рисунок 3.15 - Пламя горелки при использовании
немагнитных дисков
На рисунке 3.16 показано пламя горелки при
использовании магнитных дисков.
Рисунок 3.16 - Пламя горелки при использовании
магнитных дисков
На рисунке 3.17 показано сравнительное пламя
горелок с размерами при использовании магнитных и немагнитных дисков.
Рисунок 3.17 - Сравнительное пламя горелок с
размерами при использовании магнитных и немагнитных дисков
Для описания формы и характера пламени
используются схемы свободных факелов: ламинарного и турбулентного [20].
На рисунке 3.18 показан ламинарный факел.
Рисунок 3.18 -Ламинарный факел:
- чистый газ; 2 - смесь газов и продуктов
сгорания; 3 - смесь из продуктов сгорания и воздуха; 4 -конусный фронт пламени
Согласно рисунку 3.18, внутри конусного ядра 1
находится чистый газ, вытекающий из трубки при ламинарном режиме течения. В
зоне 2 смесь из газа и продуктов сгорания, в зоне 3 смесь из продуктов сгорания
и воздуха. Граница 4 представляет собой гладкий конусный фронт пламени, к
которому снаружи диффундируют молекулы воздуха, а изнутри молекулы газа.
Рисунок 3.19 -Турбулентный факел:
- чистый газ; 2 - зона медленного горения; 3 -
зона интенсивного горения; 4 -фронт пламени с преобладанием воздуха
Согласно рисунку 3.19, структура пламени состоит
из ядра чистого газа 1, зоны сравнительно медленного горения 2, размытой зоны
наиболее интенсивного горения 3 с высоким содержанием продуктов сгорания и зоны
горения 4 с преобладанием в ней воздуха.
На рисунке 3.20 показан ламинарный факел в сравнении
с факелом горелки, где использовались немагнитные диски в модулях модификатора.
Рисунок 3.20 - Ламинарный факел с использованием
немагнитных дисков
Согласно рисунку 3.20, можно отметить яркую
светимость пламени и заметно просматриваемый конусный фронт. Заметны и четкие
границы пламени, характерные для ламинарной формы.
На рисунке 3.21 показан турбулентный факел в
сравнении с факелом горелки, где использовались магнитные диски в модулях
модификатора.
Рисунок 3.21 - Турбулентный факел с
использованием магнитных дисков
Согласно рисунку 3.21, можно отметить, что нет
четкого конусного фронта горения, при этом видны отдельные частицы факела,
которые раздроблены пульсациями пламени. Процесс горения протекает по всему
объему, просматривается повышенная интенсивность горения пламени по аналогии с
результатами в работах [21, 22].
4. ТЕХНИКО-ЭКОНОМИЧЕСКОЕ ОСНОВАНИЕ ПРИМЕНЕНИЯ
МАГНИТНОЙ АКТИВАЦИИ ГАЗОВОГО ТОПЛИВА
.1 Магнитный активатор газового топлива
Для дальнейшего технико-экономического основания
применения магнитной активации газового топлива, разрабатывалась конструкция,
применимая на газовой лини котельной.
Рисунок 4.1 - Магнитный активатор газового
топлива
- отверстие фланцевого соединения; 2 -
постоянный магнит; 3 -съемные кассеты; 4 -газовое соединение
Согласно рисунку 4.1, магнитный активатор
газового топлива состоит из корпуса с закрепленными постоянными магнитами 2.
Они являются источником магнитного поля. Сплав магнитов может состоять из
неодим-железо-бор. Количество и расположение магнитов зависит от диаметра
газопровода. Внутри корпуса располагается модуль, собранный из съемных кассет
3, образовывающих проточный канал для магнитной обработки газа. Количество
кассет в модуле зависит от размеров корпуса и диаметра газопровода. Соединение
к газовой линии 4 может осуществляется с помощью отверстий для фланцевого
соединения 1. Установка размещается на вводе к горелочному устройству газового котла.
На рисунке 4.2 показано место установки
магнитного активатора газового топлива.
Рисунок 4.2 - Место установки магнитного
активатора
Рисунок 4.3 - Возможный вариант магнитного
активатора, устанавливаемого на газовой линии:
- блок управления; 2 - съемные кассеты; 3 -
магнитный модуль
Согласно рисунку 4.3, магнитный активатор,
установленный на газовой линии, имеет блок управления 1, который управляет
параметрами магнитного модуля 3. Блок управления подключается к электрической
сети 220 В.
4.2 Расчет экономии топлива при использовании
магнитного активатора
Экономическую эффективность использования
магнитной активации газового топлива определим по формуле:
|
, ,(4.1)
|
|
где
- тариф на природный газ,
;
- работы котла в году,
;
- удельный расход топлива на отпуск
тепловой энергии фактический,
;
- удельный расход топлива на отпуск
тепловой энергии планируемый,
.
Удельный расход топлива на отпуск
тепловой энергии фактический рассчитываем по формуле:
|
, ,(4.2)
|
|
где
- теплопроизводительность котла
ЗИОСАБ - 1000,
;
- низшая рабочая теплота сгорания
топлива,
;
- КПД котла ЗИОСАБ - 1000,
.

.
Удельный расход топлива на отпуск тепловой
энергии планируемый рассчитываем по формуле:
|
, ,(4.3)
|
|
где
- удельный расход топлива на отпуск
тепловой энергии фактический,
;
Снижение удельного расхода газового
топлива на отпуск тепловой энергии вызвано технологией магнитной обработки.
|
, ,
|
|
,
.3 Расчет капиталовложения в
мероприятие
К капитальным затратам относятся:
затраты на строительство и оборудование новых предприятий, зданий и сооружений,
и затраты на реконструкцию, расширение и техническое перевооружение действующих
предприятий.
В мероприятия по установке
магнитного активатора газового топлива входит стоимость:
оборудования - определяется согласно
договорным ценам;
проектных работ - до 10% от
стоимости строительно-монтажных работ;
строительно-монтажных работ - 25-30%
от стоимости оборудования;
пуско-наладочных работ - 3-5% от
стоимости оборудования.
В таблице 4.1 приведены основные
укрупненные капиталовложения.
Таблица 4.1 - Укрупненные
капиталовложения
|
№
п/п
|
Наименование
работ
|
Стоимость,
руб
|
|
1
|
Покупка
оборудования
|
155
000
|
|
2
|
Проектные
работы
|
15
500
|
|
3
|
Строительно-монтажные
работы
|
46
500
|
|
4
|
Пуско-наладочные
работы
|
4
650
|
|
Итого
К =
|
221
650
|
.4 Расчет срока окупаемости магнитного
активатора топлива
Срок окупаемости мероприятия по установке
магнитного активатора газового топлива определяется по формуле:
|
, ,(4.4)
|
|
где
- капиталовложение мероприятия,
;
- экономическая эффективность,
;
|
, .
|
|
4.5 Разработка товарного знака магнитного
активатора газового топлива
На рисунке 4.3 показан возможный вариант
товарного знака Gas Magnetic для установки магнитного активатора газового
топлива.
Рисунок 4.3 -Возможный вариант товарного знака
Gas Magnetic
5. АВТОМАТИЗАЦИЯ ГАЗОРЕГУЛЯТОРНОЙ УСТАНОВКИ
.1 Основные положения
Автоматизация - это процесс,
направленный на применение технических средств с частичным или полным
освобождением человека из трудового процесса путем передачи его функций
специальным системам. Автоматизация позволяет повысить уровень и
производительность труда
<https://ru.wikipedia.org/wiki/%D0%9F%D1%80%D0%BE%D0%B8%D0%B7%D0%B2%D0%BE%D0%B4%D0%B8%D1%82%D0%B5%D0%BB%D1%8C%D0%BD%D0%BE%D1%81%D1%82%D1%8C_%D1%82%D1%80%D1%83%D0%B4%D0%B0>,
улучшить качество продукции
<https://ru.wikipedia.org/wiki/%D0%9A%D0%B0%D1%87%D0%B5%D1%81%D1%82%D0%B2%D0%BE_%D0%BF%D1%80%D0%BE%D0%B4%D1%83%D0%BA%D1%86%D0%B8%D0%B8>,
оптимизировать
<https://ru.wikipedia.org/wiki/%D0%9E%D0%BF%D1%82%D0%B8%D0%BC%D0%B0%D0%BB%D1%8C%D0%BD%D0%BE%D0%B5_%D1%80%D0%B5%D1%88%D0%B5%D0%BD%D0%B8%D0%B5>
процессы управления. Немаловажным является и ограждение человека от вредных и
опасных для жизни работ.
Автоматизированная система - это
совокупность устройств, которые выполняет функции по получению, преобразованию,
хранению, использованию и передачу информации или материала в определенной
последовательности и в режиме автоматического управления. В состав подобных
систем входят различные датчики, сенсоры, контроллеры, устройства для ввода и
вывода.
Создание автоматизированных систем
управления технологическими процессами на ГРУ являются важнейшими факторами в
качестве её работы. Особую роль уделяют монтажу и качеству основных
использующихся устройств. А именно фильтрам, запорным устройствам, ПЗК, регуляторам
давления.
К основным функция
автоматизированных систем можно отнести:
Получение и регистрация данных с
приборов.
Обработка и передача информации на
пульт оператора.
Аварийная сигнализация о
неиспрвности и отклонении параметров
Отслеживание газопотребления.
Занесение оптимальных параметров в
процессе работы системы
Управление технологическими
процессами дистанционно.
Диспетчер, ответственный за работу
автоматизированной системы, может в любое время повлиять на выбранный параметр
и получить данные о каждой зоне системы. В случае необходимости внести все
возможные коррективы. Для управления и контроля применяются системы
телемеханики.
Важную роль в эффективности
автоматизации определяет вычислительный комплекс, который является центром
обработки информации, поступающей от большого числа датчиков. Этот комплекс
является быстродейственным и предполагает наличие большого объем оперативной и
внешней памяти для реализации задач по указаниям оператора.
С развитием систем мобильной связи
ГРУ оснащаются GSM-модемами для передачи данных. Они пришли на смену дорогой в
обслуживании городской телефонной и радиорелейной линии передачи данных.
Шкаф контроля и управления
газораспределительным установкам предназначен для дистанционного контроля. Он
осуществляет сбор, регистрацию и передачу электрических сигналов с датчиков
температуры, положения, давления, первичных и вторичных преобразователей, а
также обеспечивает, при необходимости, формирование сигналов управления
запорно-регулирующей арматурой, вентиляционной системой и другими устройствами.
Главной задачей телеметрии
газорегуляторной установки является контроль технологического процесса на
удаленном объекте, контроль газового хозяйства и введения диспетчерской службой
работы по сбору, непрерывному контролю и архивированию состояния значений
технологических параметров, с оповещением специалистов аварийно-диспетчерской
службы по аварийно-пороговым показателям состоянии эксплуатируемого
оборудования.
Газорегуляторные установки
оснащаются самым современным оборудованием автоматизированного управления на
базе контроллеров Compact Logix фирмы Allen-Bradley и I-8000 фирмы ICP DAS,
Simatic S6-300 и др. По требованию заказчика газорегуляторные установки могут
оснащаться:
Датчиком избыточного давления.
Датчиком перепада давления.
Датчик загозованности.
Другие датчики, выбранные заказчиком
по каталогу.
Комплексная автоматизация позволяет
снизить расходы энергии на 15-20 % и организовать единую эффективную
информационную систему.
.2 Схема автоматизации
В дипломной работе разработана схема
автоматизации газорегуляторной установки, в соответствии с разделом
«Автоматизация» и с ГОСТ 21.208-2013 «Автоматизация технологических процессов».
На рисунке 5.1 показана схема
автоматизации газорегуляторной установки.
Рисунок 5.1 - Схема автоматизации
газорегуляторной установки
.3 Характеристика оборудования
Главной задачей телеметрии ГРУ
является контроль технологического процесса на удаленном объекте и введения
диспетчерской службой работы по сбору, непрерывному контролю и архивированию
состояния значений технологических параметров, с оповещением специалистов
аварийно-диспетчерской службы по аварийно-пороговым показателям состоянии
эксплуатируемого оборудования.
Сбор сигналов осуществляется контроллером
системы телеметрии с последующей передачей данных на диспетчерский пункт.
Контроллер является неотъемлемой частью автоматизированной системы сбора данных
и управления любого необслуживаемого объекта, для которого обязательным
условием является возможность удаленного мониторинга рабочих процессов,
удаленное управление процессами и гибкая настройка работы АСУ без выезда на
объект. Передача сигналов осуществляется по каналу связи стандарта GSM/GPRS.
Для измерения давления газа на входе
и выходе применяются микроэлектронные датчики давления во взрывозащищенном
исполнении МИДА-ДИ-14П-Вн, которые предназначенные для непрерывного
пропорционального преобразовании значений давления природного газа в
унифицированный выходной сигнал постоянного тока.
Измерение перепада давления на
фильтре газа осуществляется посредством датчика Метран-160CD, выполненного во
взрывозащитном исполнении.
Температура воздуха в
технологическом отделении, а также температура газа на входе и выходе
измеряются с помощью термопреобразователей сопротивления во взрывонепроницаемой
оболочке ТСМУ0150Exd / АГ-02Exd.
Положение дверей в технологическом
отделении ШРП определяется с помощью взрывозащищенных путевых выключателей
ВПВ-1А-31ХЛ1. Положение двери шкафа электрического определяется с помощью
охранного извещателя ИО102-2.
Положение предохранительно-запорных
клапанов определяется с помощью датчиков конечных положений взрывозащищенными
ДКПГ-1-10.
В таблице 5.1 приведена
метрологическая карта средств автоматизации.
Таблица 5.1 - Метрологическая карта
средств автоматики
|
№
п/п
|
Наименование
оборудования
|
Предел
измерений
|
Диапазон
показа-ний шкалы прибора
|
Длина
шкалы
|
Цена
деления прибора
|
Чувствитель-ность
прибора
|
Класс
точности
|
Погреш-ность
измерения
|
|
1
|
2
|
3
|
4
|
5
|
6
|
7
|
8
|
9
|
|
1
|
Датчик
давления МИДА-ДИ-14П-Вн
|
0...1,6
МПа
|
-
|
-
|
-
|
0,25
|
-
|
±0,2
|
|
2
|
Датчик
измерения перепада давлений на фильтре Метран-160 CD
|
1,25...63
кПа
|
-
|
-
|
-
|
0,2
|
-
|
±0,075
|
|
3
|
Термопреобразователь
сопротивления ТСМУ0150Exd/А Г-02Exd
|
-50...100
оС
|
-
|
-
|
-
|
-
|
0,25
|
±0,1
|
|
4
|
Выключатель
путевой взрывозащищенный ВПВ-1А-31ХЛ1
|
-60...+40
оС
|
-
|
-
|
-
|
-
|
-
|
±0,1
|
|
5
|
Датчик
конечных положений ДКПГ-1-10
|
-50...70
оС
|
-
|
-
|
-
|
0,2
|
-
|
±1,5
|
|
6
|
Термозонд
1187 / 4 БГ
|
-50...100
оС
|
-
|
-
|
-
|
-
|
В
|
±0,25
|
В таблице 5.2 приведена спецификация контурной
схемы автоматизации.
Таблица 5.2 - Спецификация контурной схемы
автоматизации
|
Позиция
|
Наименование
|
Обозначение
|
Количество
|
|
1,4
|
Датчик
избыточного давления МИДА-ДИ-14П-Вн-90-0,5/ 1,6МПа-01-М20-УБ
|
|
2
|
|
2,
8
|
Термозонд
ТС 1187/4 БГ/100М/ (-50... 100) / 2/80/Ø8/0,5
|
|
2
|
|
Корпус
головки с измерительным преобразователем ТСМУ 0150Exd/АГ-02 Exd9/ (-50...100)
/ t5070/ 05
|
|
|
|
3
|
Датчик
разности давлений (0-16) кПа Метран-160CD2- 2-L3-А-М5-ЕМ-S5-Q4-SC-РС
|
|
1
|
|
5,
6
|
Датчик
конечных положений герконовый ДКПГ-1-10
|
|
2
|
|
Позиция
|
Наименование
|
Обозначение
|
Количество
|
|
7
|
Датчик
избыточного давления МИДА-ДИ-13П-Вн-У2-0,25/0,4МПа-0,1-М20-УБ
|
|
1
|
|
9,
10
|
Выключатель
путевой взрывозащищенный ВПВ-1А-31ХЛ1
|
|
2
|
|
|
|
|
|
|
|
6. БЕЗОПАСНОСТЬ ЖИЗНЕДЕЯТЕЛЬНОСТИ
.1 Эксплуатация объектов систем
газораспределения и газопотребления
Для выполнения работ газораспределительных и
газопотребительных систем допускаются специалисты и рабочие, прошедшие обучение
по технологии проведения данных работ и технике безопасности.
Далее происходит проверка теоретических знаний и
получение допуска к выполнению работ. Практические навыки должны отрабатываться
на учебных полигонах с действующими газопроводами и газовым оборудованием или
на рабочих местах с соблюдением мер безопасности, по программам, согласованным
с территориальными органами Госгортехнадзора России.
Перед самостоятельным произведением работ,
каждый обязан пройти стажировку. Допуск к самостоятельному выполнению
газоопасных работ, и стажировка оформляются решением по предприятию.
Проведение аттестации проходит в определенные
сроки: у руководителей и специалистов 1 раз в 3 года; у рабочих 1 раз в 12
месяцев (проверка знаний безопасных методов труда и приемов выполнения работ).
Проверке знаний рабочих должна предшествовать их
дополнительная теоретическая подготовка по программам, разработанным с учетом
профиля работ и утвержденным техническим руководителем организации.
Лица, ответственные за подготовку кадров,
предварительно уведомляют территориальные органы Госгортехнадзора России о
времени и месте проведения аттестации в целях обеспечения участия в работе
аттестационной комиссии представителя территориальных органов Госгортехнадзора
России. Такое уведомление целесообразно подавать не менее чем за 5 дней.
К производственным инструкциям по техническому
обслуживанию и ремонту оборудования ГРУ и котельных прилагаются технологические
схемы газопроводов и газового оборудования.
На каждый наружный газопровод, электрозащитную
установку, ГРУ владельцем составляется эксплуатационный паспорт, содержащий
основные технические характеристики объекта, а также данные о проведенных
капитальных ремонтах.
Лица, ответственные за безопасную эксплуатацию
опасных производственных объектов газопотребления, вправе:
Осуществлять связь с газоснабжающей
(газораспределительной) организацией, а также организациями, выполняющими по
договору работы по техническому обслуживанию и ремонту.
Требовать отстранения от обслуживания газового
оборудования и выполнения газоопасных работ лиц, не прошедших проверку знаний
или показавших неудовлетворительные знания настоящих правил и других
нормативных правовых актов и нормативно-технических документов, а также
инструкций по безопасным методам и приемам выполнения работ.
Природные газы, подаваемые потребителям, должны
соответствовать требованиям государственного стандарта, устанавливающего
технические условия для горючего природного газа.
Величина давления и качество газа на выходе из
газораспределительных станций (ГРС) должна поддерживаться на уровне
номинальной, определенной проектом.
Контроль давления газа в газопроводах поселений
должен осуществляться измерением его не реже 1 раза в 12 мес. (в зимний период)
в часы максимального потребления газа в точках, наиболее неблагополучных по
режиму газоснабжения, устанавливаемых газораспределительной организацией.
Установленные на газопроводах запорная арматура
и компенсаторы должны подвергаться ежегодному техническому обслуживанию и при
необходимости - ремонту.
Сведения о техническом обслуживании заносятся в
журнал, а о капитальном ремонте (замене) - в паспорт газопровода.
Действующие наружные газопроводы должны
подвергаться периодическим обходам, приборному техническому обследованию,
диагностике технического состояния, а также текущим и капитальным ремонтам с
периодичностью, установленной настоящими правилами. При обходе надземных
газопроводов должны выявляться утечки газа, перемещения газопроводов за пределы
опор, наличие вибрации, сплющивания, недопустимого прогиба газопровода, просадки,
изгиба и повреждения опор, состояние отключающих устройств и изолирующих
фланцевых соединений, средств защиты от падения электропроводов, креплений и
окраски газопроводов, сохранность устройств электрохимической защиты и
габаритных знаков на переходах в местах проезда автотранспорта. Обход должен
производиться не реже 1 раза в 3 мес. Выявленные неисправности должны
своевременно устраняться.
При обходе подземных газопроводов должны
выявляться утечки газа на трассе газопровода по внешним признакам и приборами
(отбор и анализ проб) на присутствие газа в колодцах и камерах инженерных
подземных сооружений (коммуникаций), контрольных трубках, подвалах зданий,
шахтах, коллекторах, подземных переходах, расположенных на расстоянии до 15 м
по обе стороны от газопровода; уточняться сохранность настенных указателей,
ориентиров сооружений и устройств электрохимической защиты; очищаться крышки
газовых колодцев и коверов от снега, льда и загрязнений; выявляться пучения,
просадки, оползни, обрушения и эрозии грунта, размывы газопровода паводковыми
или дождевыми водами; контролироваться условия производства строительных работ,
предусматривающие сохранность газопровода от повреждений.
Работы по текущему ремонту должны выполняться по
плану или графику, утвержденному техническим руководителем эксплуатирующей
(газораспределительной) организации.
Капитальный ремонт газопровода, с перекладкой
его по новой трассе должен производиться по проекту. Капитальный ремонт
газопровода без изменения его местоположения допустимо по эскизу, с внесением
изменений в исполнительную документацию. Реконструкция стальных газопроводов
может осуществляться открытым или бестраншейным методом.
.2 Техника безопасности при монтаже внутренних
систем
Работники не моложе 18 лет, прошедшие
соответствующую подготовку, имеющие профессиональные навыки для работы
монтажниками, перед допуском к самостоятельной работе должны пройти:
обязательные предварительные (при поступлении на
работу) и периодические (в течение трудовой деятельности) медицинские осмотры
(обследования) для признания годными к выполнению работ в порядке,
установленном Минздравом России;
обучение безопасным методам и приемам выполнения
работ, инструктаж по охране труда, стажировку на рабочем месте и проверку
знаний требований охраны труда.
Монтажники обязаны соблюдать требования
безопасности труда для обеспечения защиты от воздействия опасных и вредных
производственных факторов, связанных с характером работы:
повышенная запыленность и загазованность воздуха
рабочей зоны;
расположение рабочих мест на значительной
высоте;
передвигающиеся конструкции;
обрушение незакрепленных элементов конструкций
зданий и сооружений;
падение вышерасположенных материалов,
инструмента.
Для защиты от механических воздействий
монтажники обязаны использовать предоставляемые работодателями бесплатно:
комбинезоны хлопчатобумажные, рукавицы, комбинированные с двумя пальцами,
костюмы на утепляющей прокладке и валенки для зимнего периода года.
При нахождении на территории стройплощадки
монтажники должны носить защитные каски. Кроме того, при работе со шлифовальной
машинкой следует использовать щиток из оргстекла или защитные очки.
Находясь на территории строительной
(производственной) площадки, в производственных и бытовых помещениях, участках
работ и рабочих местах, монтажники обязаны выполнять правила внутреннего
распорядка, принятые в данной организации.
Монтажники обязаны немедленно извещать своего
непосредственного или вышестоящего руководителя работ о любой ситуации,
угрожающей жизни и здоровью людей, о каждом несчастном случае, происшедшем на
производстве, или об ухудшении своего здоровья, в том числе о появлении острого
профессионального заболевания (отравления).
Работы по монтажу трубопроводов внутренних
систем разрешается вести после приемки объекта (захватки) под монтаж. Монтаж
трубопроводов должен производиться из укрупненных узлов, изготовленных в
заводских условиях. Трубные заготовки, скомплектованные по этажесекциям,
стоякам или осям, поступают на объект в контейнерах, а трубы - связанными в
пакетах. Трубы и трубные заготовки должны быть уложены горизонтально,
прислонять их к стенам не разрешается. Монтаж трубопроводов вблизи действующих
электрических сетей осуществляется только после снятия напряжения. Рабочие
места и подходы к местам монтажа должны быть освещены; работать в плохо
освещенных местах не разрешается.
Использование случайных непроверенных
механизмов, блоков, строп и тросов запрещается. Пеньковые канаты, применяемые
для оттяжек, не должны иметь перетертых или размочаленных мест. Не следует
использовать в качестве грузовых пеньковые канаты. Подачу труб на высоту
следует осуществлять при помощи оттяжки, один конец которой должен находиться в
руках у стоящего внизу рабочего; он удерживает поднимаемый трубопровод от
раскачивания. Снятие стропов с поднятого трубопровода допускается только после
надежного его закрепления [23].
Монтажная зона по возможности должна быть
ограждена; при монтаже должна строго соблюдаться технологическая
последовательность работ.
При обнаружении неисправности в инструменте,
оборудовании, защитных средствах, а также при нарушении правил техники
безопасности рабочим бригады необходимо немедленно прекратить работу и сообщить
об этом своему бригадиру или мастеру.
.3 Противопожарные мероприятия
При производстве строительно-монтажных работ на
проектируемых объектах необходимо руководствоваться определенными правилами и
требованиями:
«Правилами безопасности в нефтедобывающей
промышленности» РД 08-200-98;
требованиями СНиП 12-03-99 «Безопасность труда в
строительстве»;
ППБ 01-93 «Правила пожарной безопасности в
Российской Федерации».
Монтаж узлов оборудования и звеньев
трубопроводов, воздуховодов вблизи электрических проводов (в пределах
расстояния равного наибольшей длине монтируемого узла) должен производиться при
снятом напряжении.
При невозможности снятия напряжения работы
следует производить по наряду - допуску, утвержденному в установленном порядке.
Для обеспечения противопожарной безопасности
данным проектом предусмотрены следующие мероприятия:
места сварки и установки передвижных трансформаторов
не ближе 5 м от легковоспламеняющихся материалов;
заземление оборудования для предотвращения
разрядов статического электричества.
Для тушения небольших очагов пожара применяют
ручные огнетушители. При использовании огнетушителя в холодное время года (при
хранении его вне здания или в не отапливаемом помещении) обычный заряд
огнетушителя должен быть заменен на зимний. На каждом строящемся объекте должен
быть выбран приказом работник, на которого возлагается ответственность за
пожарную безопасность.
Проектируемый объект содержит систему пожарной
безопасности, которая направлена на предотвращение воздействия на людей опасных
факторов пожара, в том числе их вторичных проявлений [24].
Опасными факторами, воздействующими на людей и
материальные ценности, являются:
пламя и искры;
дым;
повышенная температура окружающей среды;
токсичные продукты горения и термического
разложения;
пониженная концентрация кислорода.
К вторичным проявлениям опасных факторов пожара,
воздействующим на людей и материальные ценности, относятся:
осколки, части разрушившихся конструкций;
электрический ток, возникший в результате выноса
высокого напряжения на токопроводящие части конструкций;
токсичные вещества и материалы, вышедшие из
разрушенных конструкций;
опасные факторы взрыва, происшедшего вследствие
пожара.
В основу предлагаемых противопожарных
мероприятий положены общие принципы, изложенные в ГОСТ 12.1.004-91 «Пожарная
безопасность. Общие требования» [24], в соответствии с которыми пожарная
безопасность объектов на стадии проектирования должна обеспечиваться:
системой противопожарной защиты;
системой предотвращения пожара;
организационно-техническими мероприятиями.
Система предотвращения пожара предусматривает
выполнение мероприятий по исключению условий образования горючей среды и
появления в ней источников зажигания.
На проектируемом объекте это достигается:
ограничением массы и объема горючих веществ и
материалов;
использованием наиболее безопасных способов
размещения горючих веществ и материалов;
изоляцией горючей среды от
источников зажигания;
применением электрооборудования,
соответствующего классу пожароопасной зоны;
применением оборудования и режимов
проведения технологического процесса, исключающих образование статического
электричества;
применением устройств, исключающих
возможность распространения пламени из одного объема в смежный, другими
мероприятиями.
Система противопожарной защиты
включает комплекс мероприятий по защите людей и имущества от воздействия
опасных факторов пожара и ограничению его последствий. Основными способами
защиты людей и имущества от воздействия опасных факторов пожара и ограничения
последствий их воздействия на рассматриваемом объекте являются:
применение объемно-планировочных
решений и средств, обеспечивающих ограничение распространения пожара за пределы
очага;
применение систем коллективной
защиты и средств индивидуальной защиты людей от воздействия опасных факторов
пожара.
Система противопожарной защиты
предусматривает выполнение одной или нескольких следующих задач:
снизить опасность воздействия
опасных факторов пожара на людей до нормативного значения или исключить её
полностью;
локализовать пожар на объекте и
предотвратить распространение пожара на близлежащие объекты;
сохранить работоспособность объекта
в условиях пожара до принятия мер по его локализации или тушению;
снизить опасность воздействия
опасных факторов пожара на близлежащие объекты до нормируемого порогового
значения или исключить полностью;
своевременно передать сообщения о
пожаре (только в совокупности с другими задачами) и сформировать импульс на
управление системой оповещения людей о пожаре, отключение вентиляции;
потушить пожар на объекте.
Организационно-технические
мероприятия включают в себя:
организацию пожарной охраны;
основные виды, количество,
размещение и обслуживание первичных средств пожаротушения, обеспечивающие
эффективное тушение пожара (загорания) и безопасность для природы и людей;
разработку мероприятий по действиям
администрации, рабочих, служащих и населения на случай возникновения пожара и
организацию эвакуации людей.
ЗАКЛЮЧЕНИЕ
По итогам выпускной квалификационной работы была
разработана конструкция лабораторной установки по влиянию магнитного поля на
свойства газа в процессе его горения. Она позволила исследовать форму и
характер пламени, а также зафиксировать изменение массы газового топлива при
воздействии на него магнитного поля с использованием магнитных дисков из сплава
неодим-железо-бор в сравнении с немагнитными дисками из медно-никелевого
сплава. Произведена оценка экономической эффективности создания промышленной
установки для реализации магнитной обработки.
В главе 1 произведён обзор оборудования для
магнитной обработки жидкого и газообразного топлива из Internet - ресурсов, а
также информационных ресурсов в области полезных моделей и изобретений,
полученных на аналогичные устройства по данным ФИПС (Роспатент). Выявлены общие
недостатки существующих устройств и сделан вывод, что широкому внедрению
магнитной обработки топлив в народное хозяйство в значительной степени
препятствует отсутствие простых и надежных методов контроля эффективности
омагничивания. Произведён анализ нормативных документов, представленных
устройств и сделан вывод, что в настоящее время нет существующих нормативных
документов, стандартизирующих устройство и их работу. Таким образом, дальнейшее
изучение и разработка подобных активаторов топлива должны быть направлены на
составление общих технических условий.
В главе 2 произведен обзор исследований по
влиянию магнитного поля на свойства углеводородного топлива на автотранспорте,
а также обзор конструкции установки для исследования влияния на свойства
природного газа импульсного магнитного поля в процессе его горения.
Собственными силами разработана лабораторная
установка для исследования эффективности сгорания газового топлива при
воздействии на него магнитного поля. В главе 3 описан принцип работы
лабораторной установки и представлены результаты исследования по изменению
массы баллона, формы и характера пламени.
Разработана конструкция устройства по магнитной
активации газового топлива, применимая на газовой лини котельной и описанная в
главе 4. Выполнено технико-экономическое основание возможности применения
магнитной активации природного газа перед сжиганием в энергетической установке.
В главе 5 подобрана система автоматического
контроля и управления ГРУ, включающая предлагаемое устройство. Рассмотрено её
устройство, составлена спецификация на основные технические средства
автоматизации и метрологическая карта средств автоматизации.
Глава 6 включает в себя обзор нормативных документов
и положений, определяющих безопасность жизнедеятельности и охрану труда при
монтаже и эксплуатации газовой линейки, которая может быть оснащена исследуемым
устройством.
Техническим результатом выпускной
квалификационной работы является следующее:
) Сокращение расхода газового топлива при
воздействии на него магнитного поля на 12,6 % , при этом магнитное поле влияет
на характер пламени.
) Экономическая эффективность использования
магнитной активации газового топлива на котле ЗИОСАБ - 1000 составляет 432 тыс.
руб./год.
) Срок окупаемости мероприятия по установке
магнитного активатора газового топлива на котел ЗИОСАБ - 1000 составит пол
года.
Научным результатом выпускной квалификационной
работы является определение условий снижения расхода топлива за счет
воздействия магнитного поля на турбулизированную движущуюся топливную смесь
перед ее сжиганием.
СПИСОК ИСПОЛЬЗОВАННЫХ ИСТОЧНИКОВ
Super
Fuel Max FAQ [Электронный ресурс]. - Режим доступа:
http://www.o-fuel.ru/faq.html (дата обращения: 25.04.2016)
Малыгин
Б.В., Погорлецкий Д.С., Васильченко Г.Ю., Сапронов А.А. Методы повышения
экологической безопасности в процессе магнитной обработки углеводородных топлив
для двигателей внутреннего сгорания. Науковий вісник Херсонського державного
морського інституту: Науковий журнал. - Херсон: Видавництво ВНЗ «ХДМІ», 2011. -
№2(5).- С. 130-139.
Активатор
топлива Союзинтеллект [Электронный ресурс]. - Режим доступа:
<http://soyuzintellect.su/aktivator-topliva/4-aktivator-topliva.html>
(дата обращения: 25.04.2016)
Активатор
топлива Powermag [Электронный ресурс]. - Режим доступа:
<http://www.shop-dudishev.ru/index.php?page=shop.product_details&flypage=flypage.tpl&product_id=142&category_id=1&option=com_virtuemart&Itemid=1>.html
(дата обращения: 25.04.2016)
Карбюраторный
активатор топлива [Электронный ресурс]. - Режим доступа:
<http://shop-dudishev.ru/index.php?page=shop.product_details&flypage=flypage.tpl&product_id=3&category_id=1&option=com_virtuemart&Itemid=80>.html
(дата обращения: 25.04.2016)
Магнитный
активатор топлива АТ-1 [Электронный ресурс]. - Режим доступа:
<http://inzhektor.fo.ru/shop/75624> (дата обращения: 25.04.2016)
ОРТО-модификатор
ОМТ-5 [Электронный ресурс]. - Режим доступа:
<http://ortomod.com/index.php/ru/history.html> (дата обращения:
25.04.2016)
Пат
2452691 Российская Федерация, МПК С 02 F 1/48. Устройство для магнитной
обработки жидкости/ В.Н Юрченко, И.Н Бойко, И.А Дукачев. - №2011101482/05;
заявл. 17.01.2011; опубл. 10.06.2012. - Б. и. - 2012. - № 16.
Пат
2168052 Российская Федерация, МПК F 02 B 51/04. Устройство магнитной обработки
топлива для карбюраторных двигателей/ П.Ф Самойлов. - № 98122260/06
<http://www1.fips.ru/fips_servl/fips_servlet?DB=RUPATAP&DocNumber=98122260/06&TypeFile=html>;
заявл. 3.12.1998; опубл. 27.10.2000. - Б. и. - 2000. - № 15.
Пат
2411190 Российская Федерация, МПК С 02 F 1/48. Магнитный активатор жидких сред/
В.А Помазкин, Е.В Цветкова. - № 2009124037/05
<http://www1.fips.ru/fips_servl/fips_servlet?DB=RUPATAP&DocNumber=2009124037/05&TypeFile=html>;
- заявл. 23.06.2009; опубл. 10.02.2011. - Б. и. - 2011. - № 4.
Пат
2327895 Российская Федерация, МПК F 02 M 27/04. Фильтр магнитной очистки и
обработки автомобильного и авиационного топлива экомаг-10г/ Ю.В Голиков. - №
2006112414/06 <http://www1.fips.ru/fips_servl/fips_servlet?DB=RUPATAP&DocNumber=2006112414/06&TypeFile=html>;
- заявл. 17.04.2006; опубл. 27.06.2008. - Б. и. - 2008. - № 30.
Пат
2096339 Российская Федерация, МПК С 02 F 1/48. Аппарат помазкина для магнитной
обработки жидкостей / В.А Помазкин. - № 94013168/25 <http://www1.fips.ru/fips_servl/fips_servlet?DB=RUPATAP&DocNumber=94013168/25&TypeFile=html>.
- заявл. 15.04.1994; опубл. 20.11.1997. - Б. и. - 1997. - № 16.
Пат
2319854 Российская Федерация, МПК F 02 M 27/04. Устройство для магнитной
обработки жидкого топлива / А.А Купцов. - № 2005134706/06
<http://www1.fips.ru/fips_servl/fips_servlet?DB=RUPATAP&DocNumber=2005134706/06&TypeFile=html>.
- заявл. 10.11.2005; опубл. 20.03.2008. - Б. и. - 2008. - № 8.
Пат
2324838 Российская Федерация, МПК С 02 F 1/48. Магнитный активатор топлива/ Е.В
Антонян, А.А Карбушев. - № 2006111123/06
<http://www1.fips.ru/fips_servl/fips_servlet?DB=RUPATAP&DocNumber=2006111123/06&TypeFile=html>.
- заявл 05.04.2006; опубл. 20.05.2008. - Б. и. - 2008. - № 14.
Пат
2082897 Российская Федерация, МПК F 02 M 27/04. Магнитный активатор жидких
топлив/ Ю.В Голиков. - № 94016890
<http://www1.fips.ru/fips_servl/fips_servlet?DB=RUPATAP&DocNumber=94%20%2094016890&TypeFile=html>.
- заявл 06.05.1994; опубл. 10.06.1995. - Б. и. - 1995. - № 14.
Пат
138130 Российская Федерация, МПК F 02 M 27/04. Накидной магнитный активатор
топлива/ В.Д Дудышев. - № 2012148358/06
<http://www1.fips.ru/fips_servl/fips_servlet?DB=RUPMAP&DocNumber=2012148358/06&TypeFile=html>.
- заявл 13.11.2013; опубл. 27.02.2014. - Б. и. - 2014. - № 6.
Пат
2158842 Российская Федерация, МПК F 02 M 27/04. Активатор топлива/ А.Ф Панов. -
№ 99122628/06
<http://www1.fips.ru/fips_servl/fips_servlet?DB=RUPATAP&DocNumber=99122628/06&TypeFile=html>.
- заявл 26.10.1999; опубл. 10.11.2000. - Б. и. - 2000. - № 31.
Аппарат
для повышения эффективности сжигания топлива [Электронный ресурс]. - Режим
доступа: http://www.freepatentsonline.com/5558765.pdf (дата обращения:
25.04.2016)
Пат
59522 Украина, МПК F 02 M 27/04. Способ магнитной активации топлива/ А.П Бень.
- № 20062628/06
<http://www1.fips.ru/fips_servl/fips_servlet?DB=RUPATAP&DocNumber=99122628/06&TypeFile=html>.
- заявл 26.10.2005; опубл. 10.01.2006. - Б. и. - 2006. - № 16.
Справочник
газоснабжения. Глава 8. Характеристики горения газов. Принципы сжигания. [Электронный
ресурс]. - Режим доступа: http://fas.su/page-517.html (дата обращения:
10.05.2016)
Синицын,
А.А. Пульсирующее горение // Энергия: экономика, техника, экология. 2007. № 1.
С. 80.
Синицын,
А.А. Исследование особенностей работы котла пульсирующего горения / А.А.
Синицын, В.И. Игонин // Новости теплоснабжения. 2010. № 3. С. 20-25.
Методические
рекомендации по оценке эффективности проектов / Минэкономики РФ, Минфин РФ,
Госстрой РФ, М., 1999. - 214 с.
ГОСТ
12.1.004-91 ССБТ. Пожарная безопасность. Общие требования. - Введ. 01.07.1992.
- М.: Издательство стандартов, 1996. - 63 с.