Розплавлювач-гомогенізатор розплавів полімерів на базі дискового екструдера
РОЗПЛАВЛЮВАЧ-ГОМОГЕНІЗАТОР РОЗПЛАВІВ ПОЛІМЕРІВ НА
БАЗІ ДИСКОВОГО ЕКСТРУДЕРА
Швед М.П., Швед
Д.М., Бояркін О.О. Національний технічний Університет України «Київський
політехнічний інститут імені Ігоря Сікорського»
Анотація
У даній статті проведений аналіз
каскадної схеми екструзії для перероблення полімерних матеріалів. Обґрунтовано
використання дискового екструдера в якості розплавлювача гомогенізатора.
Зроблений аналіз експериментальних досліджень залежності продуктивності від
частоти обертання диска. Проведений аналіз залежності продуктивності від
температури розплаву. Також розглянутий аналіз експериментальних досліджень
залежності температури розплаву від величини робочого зазору.
Ключові слова: екструзія, полімер,
гомогенізація, дисковий екструдер, шестеренний насос.
дисковий екструдер
розплавлювач гомогенізатор
Вступ
Актуальність дослідження. Завдяки
високим техніко-економічним показникам полімерні матеріали все ширше
використовуються в усіх галузях промисловості. Ріст світових обсягів
виробництва та перероблення полімерів з 2000 до 2010 року склав зі 150 до 258
млн. тон при середньому річному зростанні в 7,2% [1]. Така динаміка і обсяги
виробництва та переробки полімерних матеріалів обумовлює створення нових
економічно обґрунтованих, високопродуктивних, ресурсоенергоощадних процесів та
обладнання для переробки полімерів.
Постановка проблеми. На сьогоднішній
день широкого застосування набула термозбіжна плівка з полімерних матеріалів,
яка використовується для пакування виробів різних галузей промисловості.
Згідно ГОСТу 25951-83 - плівка
поліетиленова термозбіжна [2], в залежності від товщини, допускає відхилення
розмірів, які складають від 15% до 20% від номінального значення. Такі значні
відхилення пов’язані з тим, що для виробництва плівок використовуються в
основному технологічні лінії, які базуються на одночерв’ячних екструдерах, де
процеси живлення, плавлення, гомогенізації та дозування виконуються одним
робочим органом - черв’яком, що унеможливлює оперативно керувати вищеназваними
процесами. Тому продуктивність таких екструдерів в більшості випадків не
перевищує 50-70% відномінальних значень із коливаннями тиску і, відповідно,
продуктивності, чим і обумовлені завищені допуски на геометричні розміри
плівок.
До того ж енергоефективність зони
дозування, яка базується фактично на в’язкісному черв’ячному насосі, не
перевищує 10% [3]. Каскадні установки в порівнянні з традиційними черв’ячними
екструдерами характеризуються кращими питомими показниками, широкою
номенклатурою перероблюваних матеріалів та можливістю розділяти процес на
окремі операції чи їх групи з можливістю автономного керування ними.
Мета статті. Обґрунтування
доцільності використання дискового екструдера в якості роз- плавлювача
гомогенізатора при каскадній дисково-шестеренній екструзії.
Виклад основного матеріалу
досліджень
Якість полімерних виробів в значній
мірі залежить від температури розплаву. Тому можливість регулювання температури
є важливою задачею при екструзії полімерів. Змінювати температуру розплаву можливо
або підведенням (відведенням) теплоти від зовнішніх нагрівачів або ж за
допомогою енергії дисипації, тобто регулюванням термомеханічного навантаження
на розплав за допомогою зміни частоти обертання робочого органу екструдера при
дозованому живленні. Останній спосіб більш доцільний оскільки він мало
інерційний і дозволяє, не змінюючи продуктивність, гнучко керувати температурою
розплаву. Прикладом можливості такого керування є каскадний дисково-шестеренний
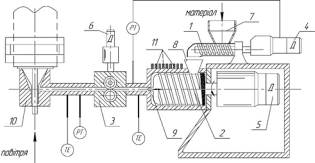
екструдер схема якого приведена на рис. 1 [4-6].
- шнековий дозатор, 2 - дисковий
екструдер, 3 - шестеренний насос, 4, 5, 6 - приводи обертових органів
екструдера, 7 - бункер, 8 - завантажувальна горловина, 9 - торцевий робочий
зазор дискового екструдера, 10 - формувальний інструмент, 11 - датчики
температури ЗПЗ, РТ - датчики тиску; ТЕ - датчики температури
Рис. 1. Схема каскадного
дисково-шестеренного екструдера
Особливістю такого екструдера є те,
що всі три пристрої оснащені приводами 4, 5, 6 з можливістю безступінчастого
регулювання кутової швидкості робочих органів. Перероблюваний полімер з бункера
7 дозується в завантажувальну горловину 8 дискового
розплавлювача-гомогенізатора, де він захоплюється багатозахідною гвинтовою
нарізкою завантажувально-пласти- кувальної зони (ЗПЗ). Розігрівається за
рахунок енергії дисипації і у вигляді розплаву надходить у торцевий робочий
зазор 9 дискового екструдера, де завершується плавлення полімеру і його
гомогенізація. Під дією вакууму, що утворюється на вході в шестеренний насос та
тиску, який забезпечується ЗПЗ та ефектом Вайссенберга, розплав заповнює
міжзубні западини шестерень, які під час обертання забезпечують сталу
продуктивність і тиск розплаву, необхідний для його проходження крізь
формувальний інструмент 10. Датчики температури 11 встановлені в корпусі
екструдера фіксують зміну температури по довжині ЗПЗ і дозволяють визначити
місце максимального
градієнту температур по довжині корпусу. Регулюванням частоти обертання диска
та величини робочих зазорів при заданій продуктивності максимальний градієнт
температур встановлюють так, щоб він знаходився в кінці ЗПЗ, що свідчить про
те, що процес плавлення відбувається в ЗПЗ, а гомогенізація в дисковому зазорі,
тобто в призначених для цього місцях.

Дозоване живлення дозволяє
регулювати термомеханічне навантаження на розплав за допомогою частоти
обертання диска та величини робочого зазору при незмінній продуктивності. З
рис. 2 видно що частота обертання дискового екструдера при дозованому живленні
прямопро- порційна продуктивності.
Із рис. 3 видно, що регулюванням
частоти обертання диска в межах ±10% від номінального значення при одній і тій
же продуктивності температуру можна регулювати в межах ±5оС, а
регулюванням величини робочого зазору (рис. 4) в межах від 1 до 3 мм
температуру можна змінювати в межах ±3,5оС. роботи каскадного
дисково-шестеренного екструдера, одна з яких, для поліетилену низької густини
(ПНГ) марки 15803-020, приведена на рис. 5.
Рис. 5. Номограма для визначення
режимів роботи дисково-шестеренного екструдера
За результатами досліджень
розроблено номограми для визначення узгоджених режимів
По заданій продуктивності
встановлюються оберти шнека дозатора, оптимальні частота обертання та робочий
зазор дискового екструдера, оберти шестеренного насоса. В разі необхідності
підвищити чи понизити температуру розплаву, або покращити гомогенність розплаву
можливо оперативно, не змінюючи продуктивність та встановлені температури по
зонах екструдера змінювати оберти та робочий зазор екструдера в діапазоні ±10%
від номінального значення, що свідчить про можливість гнучкого керування
процесом екструзії.
Висновки і пропозиції
Таким чином використання
дисково-шестеренного екструдера дає можливість керувати температурою розплаву в
межах 436-442оС при незмінній продуктивності в 35 кг/год та дозволяє
вибирати раціональні режими переробки полімеру та розширювати номенклатуру
перероблюваних матеріалів.
Список
літератури
1. [Електронний
ресурс] «Тенденции
индустрии пластмасс» - Дата доступу 02.03.2017. - Режим доступу: <http://www.polymerbranch.com/>
magazineclause.pdf
2. [Електронний
ресурс] «ГОСТ
25951-83
Пленка
полиэтиленовая термоусадочная. Технические условия» - Дата доступу 02.03.2017.
- Режим доступу: <http://vsegost.com/Catalog/10/1001.shtml>
3. Раувендааль
К. Экструзия полимеров / К. Раувендааль, при участии П.Дж. Грэммана, Б.А.
Дэвиса, Г.А. Осс- вальда. Пер. с англ, под ред. А.Я. Малкина - СПб.: Профессия,
2008. - 751 стр., ил.
4. Мурдід Н.В.
Каскадний дисково-шестеренний екструдер для переробки полімерних матеріалів /
І.О. Мікульонок, Н.В. Мурдід, Д.М. Швед, М.П. Швед // Наукові вісті нТуУ «КПІ». - 2009. - № 2. - С. 74-77.
5. Мітусов Р.О.
Процес високошвидкісної каскадної дисково-шестеренної екструзії / Р.О. Мітусов,
Д.М. Швед, М.П. Швед // Хімічна промисловість України. - 2015. - № 2. - С.
36-39.
6. Плешко О.В.
Ресурсоенергоощадний каскадний екструдер для переробки полімерних матеріалів /
О.В. Плеш- ко, Д.М. Швед, М.П. Швед // IV міжнародна науково-практична
конференція «Інформаційні енерготехнології» Одеса, Україна, 11-13 вересня. -
2013. - С. 70-72.