Разработка конструкции и технологии изготовления машины для нанесения логотипа
Дипломная работа
Разработка конструкции и технологии
изготовления машины для нанесения логотипа
СОДЕРЖАНИЕ
ВВЕДЕНИЕ
1ЛИТЕРАТУРНЫЙ ОБЗОР
.1 Методы изготовления металлической тары
.2 Методы нанесения логотипа
КОНСТРУКТОРСКАЯ ЧАСТЬ
.1 Разработка пневматической схемы машины
.2 Пневматические расчеты
.2.1 Расчет и выбор пневмоцилиндров
.2.2 Расчет стандартной аппаратуры
.2.3 Расчет и выбор трубопроводов
.2.4 Определение потерь давления в пневмоаппаратуре и
трубопроводах
.3 Разработка конструкции пневмоблока управления
.4 Разработка компоновки и общего вида машины
.5 Разработка конструкции узлов машины
.6 Расчеты на прочность
.7 Расчет режущего инструмента
3ТЕХНОЛОГИЧЕСКАЯ ЧАСТЬ
.1Разработка технологии изготовления плиты пневмоблока
управления
.1.1 Анализ исходных данных
.1.2 Анализ технологичности конструкции
.1.3 Выбор метода изготовления и формы заготовок
.1.4 Выбор маршрута обработки
.1.5 Выбор типа производства и формы его организации
.1.6 Выбор оборудования
.1.7 Расчет припусков
.1.8 Расчет режимов резания
.1.9 Выбор станочных приспособлений
.1.10 Техническое нормирование времени операций
.2 Разработка программы для обработки детали на станке с ЧПУ
ЗАКЛЮЧЕНИЕ
СПИСОК ИСПОЛЬЗОВАННЫХ ИСТОЧНИКОВ
ВВЕДЕНИЕ
ООО ПФ «Метапласт» - российский технологический лидер в производстве
металлической тары средней группы 10-30, 42-65, 80-100 литров в коническом и
цилиндрическом исполнении открытого и закрытого типа. Упаковочная тара
различных объемов востребована крупнейшими предприятиями химической, нефтехимической,
пищевой, лакокрасочной промышленности. Производственный процесс, применяемый на
предприятии, соответствует серийному типу производства, что характеризуется
средним объемом выпуска, с невысокой долей ручного труда с применением
различного универсального и специализированного оборудования.
Цех по производству промышленной тары действует уже больше 10 лет. За это
время были освоены следующие виды металлической тары, полностью отвечающие
российским и европейским стандартам: бочки стальные объемом 30-65 литров в
коническом и цилиндрическом исполнении, ведра конические и цилиндрические
объемом от 10-27 литров, бочки стальные закатные с двумя заливными горловинами
объемом 50 и 100 литров, барабаны стальные закатные объемом 50 и 100 литров,
бочки стальные закатные с открытым верхом объемом 100 литров. [1]
Основными потребителями данной продукции являются крупнейшие предприятия,
такие как «Утес-инвест», ГМК «Норильский Никель», ЗАО НПК «ЯрЛИИ», ОАО
«Ярославская лакокраска» и другие.
По желанию заказчиков предприятие имеет возможность наносить на
выпускаемую продукцию фирменный логотип покупателя. В настоящее время логотип
наносится на металлическую тару вручную с помощью трафаретов. Такая работа
является трудоемкой, малопроизводительной и требует больших затрат.
В процессе расширения производства и увеличения объемов выпускаемой
продукции необходимо механизировать процесс нанесения логотипа на металлическую
тару. Это позволит повысить производительность и снизить трудоемкость.
Цель дипломного проекта: разработка машины для нанесения логотипа на
металлическую тару. Для этого мы разработали пневматическую схему машины;
разработали конструкцию пневмоблока управления; разработали компоновку и общий
вид машины; разработали технологическую схему сборки.
Так же произвели анализ структуры затрат на производство работ по
нанесению логотипа и определили оценку предельно необходимых затрат на
производство машины.
Произвели анализ ОПФ и ВПФ, систему мер по обеспечению устойчивости
работы объекта в условиях ЧС и охране окружающей среды.
пневматическая
схема машина логотип тара
1 ЛИТЕРАТУРНЫЙ ОБЗОР
1.1 Методы
изготовления металлической тары
Почти на всех предприятиях, занимающихся изготовлением
металлической тары процесс одинаковый.
Для изготовления бочек используется сухой рулонный
металл 08пс, раскрой которого на требуемые заготовки производится на линии
размотки и резки рулонного металла. Донья бочек вырубаются и формуются на
прессах. Далее донья передаются на станок предварительной завальцовки доньев.
На этом же станке происходит нанесение слоя герметика на предварительно
завальцованную кромку. Готовые донья после высыхания герметика передаются в
контейнерах к сборочной линии. Пачка заготовок обечайки устанавливается на
загрузочный стол машины автоматической подачи, вальцовки листа и сварки
обечайки. Пачка заготовок перемещается на подающее устройство, а на загрузочный
стол устанавливается следующая пачка. Подающее устройство автоматически выдает
по одному листу из пачки на вальцы сварочного автомата. На автомате происходит
процесс вальцовки листа и проварка продольного шва обечайки. После сварки
обечайка перемещается ленточным выходным конвейером на кантователь. Обечайка
поворачивается на 90° в вертикальное положение и транспортируется угловыми
рольгангами и цепными конвейерами к автоматическому многофункциональному блоку.
При изготовлении закрытых бочек донья загружаются операторами в кассетные
устройства автоматических питателей доньями завальцовочных автоматов
многофункциональных блоков. С транспортной линии после проварки продольного шва
обечайка шаговым конвейером перемещается на позицию автоматического расширителя
(экспандера), где производится формовка обечайки в цилиндр. На позиции
отбортовочного автомата с гофратором происходит процесс формирования отбортовки
и гофра. На позиции завальцовочного автомата происходит процесс завальцовки дна
и обечайки. Обечайка перемещается на кантователь, переворачивается на 180° и
перемещается к автоматическому многофункциональному блоку. На позиции
отбортовочного автомата с гофратором происходит процесс отбортовки второй части
обечайки. На позиции завальцовочного автомата происходит процесс завальцовки
дна и обечайки. Далее буферной транспортной системой бочки перемещаются: 50% на
тестер контроля утечек и 50% на параллельную транспортную систему.
Металлическая тара (бочки, барабаны) с нанесенным лакокрасочным покрытием
поступает на рольганги перегружателей. Тара ёмкостью 50 литров от окрасочной
камеры в один поток рольгангами передается на трехрядный перегружатель.
Перегружатель перемещает тару на три ряда транспортера сушильной печи.
Транспортером тара перемещается в сушильную печь. Сушка покрытия осуществляется
при непрерывном движении транспортера. После прохождения зоны охлаждения тара
передается на трехрядный перегружатель, который передает тару на рольганг. Тара
ёмкостью 100 литров от окрасочной камеры в один поток рольгангами передается на
однорядный перегружатель. Перегружатель перемещает тару на один ряд
транспортера сушильной печи. Транспортером тара перемещается в сушильную печь.
Сушка покрытия осуществляется при непрерывном движении транспортера. После
прохождения зоны охлаждения тара передается на однорядный перегружатель,
который передает тару на рольганг. Готовые бочки проходят процесс окраски,
сушки, маркируются и передаются на склад.
Виды металлической тары производимой ООО ПФ «Метапласт»
представлен на рисунке 1. [1]
Существует несколько способов нанесения логотипа.
Шелкография или трафаретная печать, получила свое название еще в древности.
Технология трафаретной печати позволяет любые изображения на любые Поверхности,
такие как бумага, ткань, стекло, металл. [2]
Рисунок 1 - Виды металлической тары
1.2 Методы нанесения
логотипа
“Трафаретная печать, как способ печати, позволяющий
получать оттиск продавливанием краски через форму. В качестве печатной формы
используется трафарет, он представляет собой тонкую сетку из натурального
шелка, синтетического материала или металлических нитей с нанесенным
изображением. В большинстве случаев используется сетка из синтетических
материалов или металлическая. Через открытые ячейки сетки, несущие изображения,
краска наносится на запечатываемый материал. Таким образом, форма трафаретной
печати, как комбинация сетки и шаблона.” Трафаретная печать в сравнении с
другими видами печати имеет широкую область применения на самых разнообразных
запечатываемых поверхностях. Шаблон на сетке определяет собственно сам оттиск.
Шаблон располагают на стороне сетки, противоположной той, по которой двигается
ракель, чтобы избежать повреждения и износа.
Для высококачественной печати при изготовлении шаблона
используются исключительно диазотипные светочувствительные копировальные слои.
После нанесения слоя и сушки позитивный оригинал экспонируется УФ - излучением.
Оно отверждает копировальный слой на пробельных участках (прозрачные участки
копировального образца). Печатающие элементы не отверждаются и удаляются
потоком воды в процессе проявления. Затем происходит сушка. Участки с дефектами
могут быть устранены лаком для ретуши.
Процесс печати можно разделить на четыре отдельных
этапа. Трафарет удерживается трафаретной рамой. Краска, которая находится на
трафарете, движется ракелем, как волна. Эту область называют "зоной
наполнения". Перед острием ракеля в контактной зоне краска проходит
печатную форму и соприкасается с запечатываемым материалом. После ракеля, в так
называемой "зоне прилипания", печатная краска обеспечивает прилипание
печатной формы к запечатываемому материалу. Силы упругости сетки вытягивают красочные
нити в "зоне выпуска" из слоя печатной краски. Таким образом, часть
краски остается в ячейках сетки. На запечатываемом материале образуется
равномерный слой краски.
Лазерная гравировка, как способ нанесения изображения,
при котором происходит "выжиг" поверхностного слоя изделия под
воздействием лазерного луча. Эта технология позволяет сохранять мельчайшие
детали изображения, варьировать контрастность изображения и глубину рельефа
гравировки. Принцип ее простой луч лазера, управляемый компьютером, испаряет поверхностный
слой металла, "прожигая" его на заданную глубину и ширину. В
результате получается рисунок в стиле гравюры. Технология лазерной , гравировки
идеально подходит для обработки металлических поверхностей, а так же
применяется для нанесения изображения на изделия из стекла, дерева, кожи и
кожзаменителя, пластика, охватывая таким образом, практически весь спектр
представительской продукции. Лазерная гравировка обеспечивает такую
долговечность нанесения изображения на изделия, которая не доступна другим
способам персонализации.
Недостатками этого способа являются дорогостоящее
оборудование, комплектующие к нему. Лазерную гравировку в основном применяют
для нанесения логотипа на ручки, брелки, зажигалки и на другую сувенирную
продукцию “Тампопечать, как непрямой процесс глубокой печати. Изображение
фотогравировочным способом наносится на поверхности плоского клише так, что
печатные элементы представляют собой углубления на его поверхности. Затем клише
смачивается краской. Излишняя краска удаляется ракельным ножом. После этого
мягкий силиконовый тампон опускается на клише, забирает с него краску и
переносит ее на запечатываемую поверхность. Это напоминает процесс нанесения
изображения с помощью резинового штампа, с одним лишь отличием: тампон только
переносит изображение, не являясь ее источником.”
По сравнению с клише (трафаретом) в шелкографии, в
тампопечати клише не позволяет добиться растрового изображения. В конечном
итоге мы можем получить многоцветное изображение, но только несколькими
плашечными цветами. Основные этапы процесса печати: двигаясь поступательно,
ракельный нож наносит краску на клише с выгравированным на нем изображением.
Возвратное движение ножа снимает с клише излишки краски. При этом некоторое
количество летучего растворителя (солвента), содержащегося в краске испаряется,
за счет чего она становится более вязкой. Тампон под давлением опускается на
клише. Изменения в химическом составе краски, происшедшие к этому моменту,
облегчают перенос краски на тампон. Тампон поднимается с клише и движется по
направлению к запечатываемому предмету. Во время движения из красочного слоя на
тампоне испаряется еще некоторое количество солвента, делая возможным более
полный перенос краски с тампона на предмет. Тампон под давление опускается на
запечатываемый предмет. Тампоны конструируются таким образом, что, несмотря на
значительное давление, угол между контуром тампона и поверхностью предмета
всегда отличен от нуля. Поэтому между предметом и тампоном никогда не создается
разрежение, что облегчает перенос краски на запечатываемую поверхность. Тампон
поднимается и принимает оригинальную форму. Если все составляющие процесса
подобраны правильно, после поднятия на тампоне не остается краски, и он
полностью готов к следующему циклу. Недостатками тампопечати являются
дорогостоящее оборудование, используемые материалы, комплектующие. А так же
неудобство нанесения логотипа на металлическую тару.
Исходя из вышеизложенного, можно сделать вывод, что для
нанесения логотипа на металлическую тару наиболее подходит трафаретный способ
печати. По сравнению с другими видами печати трафаретная печать имеет широкую
область применения на самых разнообразных запечатываемых поверхностях.
2 КОНСТРУКТОРСКАЯ ЧАСТЬ
2.1
Разработка пневматической схемы машины
Выбираем пневматический привод, так как к основным
преимуществам пневматических устройств относятся надежность и долговечность,
быстрота действия (срабатывания), простота и экономичность, обусловленные
одноканальным питанием исполнительных пневмомеханизмов (отработавший воздух выпускается
непосредственно в атмосферу без отводящих трубопроводов) и дешевизной самой
рабочей среды. Для работы машины нет необходимости использовать гидропривод,
так как усилия небольшие [3].
Пневмооборудовние машины для нанесения логотипа на
металлическую тару состоит из блока подготовки воздуха (БПВ), пневмоцилиндров
Ц1, Ц2,ЦЗ,Ц4,Ц5,Ц6 и пневмораспределителей Р1,Р2,РЗ,Р4,Р5 [4].
Составление принципиальной схемы пневмопривода
производим, начиная с исполнительных механизмов. Исполнительными механизмами в данной
установке являются двигатели поступательного движения (пневмоцилиндры
Ц1,Ц2,ЦЗ,Ц4,Ц5,Ц6). Назначение пневмоцилиндров:
Ц1- привод отсекателя;
Ц2, ЦЗ- привод подъемника;
Ц4- привод поворота отсекателя ;
Ц5- привод каретки;
Ц6- привод прижима.
Затем наносим на схему все необходимые элементы в
порядке их работы и размещения: дросселей, пневмораспределителей с глушителями,
блок подготовки воздуха, который включает в себя фильтр - влагоотделитель,
маслораспылитель, датчик давления и редукционный пневмоклапан давления. Все
элементы на схеме обозначаем и приводим подробное описание ее работы. Перечень
основных элементов схемы:
БПВ - блок подготовки воздуха;
Ф - фильтр- влагоотделитель;
М - маслораспылитель;
ДД - датчик давления;
ПК - редукционный пневмоклапан давления.
Р1,Р2,Р3,Р4,Р5 - пневмораспределители с
электропневматическим управлением;
ДР1÷ДР10 - дроссель;
Ц1÷Ц6 - пневмоцилиндры.
2.2
Пневматические расчеты
2.2.1
Расчет и выбор пневмоцилиндров
Расчет требуемого диаметра поршня Ц1, Ц4 и Ц6
Исходные данные:
Рн=1,0 МПа- максимальное давление воздуха в
пневмосистеме;
Рр=0,4 МПа- расчетное давление воздуха в
пневмосистеме;
R=450 Н - требуемое осевое усилие на штоке пневмоцилиндра;
S=63 мм- рабочий ход поршня пневмоцилиндра.
Определим требуемый диаметр пневмоцилиндра по формуле
[5]:
,мм;
(2.1)
где К= 1,5- коэффициент, учитывающий потери в манжетах
и сальниках;
р=рр- расчетное давление в пневмолинии;
Подставляя значения в формулу, получаем:
Выбираем из справочных данных стандартный диаметр
поршня
Dст=50мм Цилиндр ПМЦ 1. 050. 05. 063- 08 ГОСТ 15608-81 [4].
Расчет требуемого диаметра поршня Ц2, Ц3 и Ц5
Исходные данные:
Рн=1,0 МПа- максимальное давление воздуха в
пневмосистеме;
Рр=0,4 МПа- расчетное давление воздуха в
пневмосистеме;
R=500 Н - требуемое осевое усилие на штоке пневмоцилиндра;
S=100 мм- рабочий ход поршня пневмоцилиндра.
Определим требуемый диаметр пневмоцилиндра по формуле:
где K=
1,5- коэффициент, учитывающий потери в манжетах и сальниках;
р=рр- расчетное давление в пневмолинии;
Подставляя значения в формулу получаем:
Выбираем из справочных данных стандартный диаметр
поршня
Dст=50мм Цилиндр ПМЦ 1. 050. 05. 100- 10 ГОСТ 15608-81.
Цилиндры этой серии имеют алюминиевый профиль, который
имеет два продольных паза для размещения магнитных датчиков.
Управление цилиндром с регулированием скорости в
прямом и обратном направлении достигается следующим образом: скорость
перемещения поршня пневмоцилиндра в прямом направлении регулируется
дросселированием на выходе пневмодросселем. В обратном направлении скорость
перемещения поршня пневмоцилиндра регулируется дросселированием на выходе
пневмодросселем. Применение двух пневмодросселей позволяет производить
независимую регулировку скорости прямого и обратного ходов поршня.
Пневмораспределитель служит для изменения направления движения поршня.
2.2.2
Расчет стандартной аппаратуры
Выбор пневмоаппаратуры, (производится из справочной
литературы) [4] по величине расхода и рабочего давления воздуха, в той линии,
где установлен аппарат. Наименьшее значения расхода воздуха и давления аппарата
должны быть ближайшими большими к расчетным.
Аппараты должны соответствовать стыковому способу
монтажа. Расчет расхода воздуха Расход воздуха при рабочем ходе определяем по
формуле [5]:
Qрх = Vрх* Fцг , м3/с; (2.2)
где Vрх-
скорость перемещения поршня, м/с;
Fцг - эффективная площадь пневмоцилиндра, м2.
Расчет расхода воздуха Ц1-Ц6.
Определение эффективной площади цилиндра [5]:
F1 = π·D2/4, м2 , (2.3)
F2 = π·(D2_ d2) /4,
м2 . (2.4)
где D-
диаметр поршня цилиндра,м;
F1-площадь поршневой полости цилиндра,м2;
F2 - площадь штоковой полости цилиндра,м2.
D=0,05м; d=0,018м.
F1=3,14*0,052/4=1,963*10-3 м2;
F2=3,14*(0,052-0,0182)/4=1,711*10-3
м2.
Скорость перемещения поршня Ц1-Ц6 не более V=0,1м/с.
Расход воздуха:
Q1= Vрх* F1= 1,963* 10-3*0,1=1,963*10-4
м3/с (0,70668 м3/ч );
Q2= Vрх* F2= 1,711* 10-3*0,1=1,711*10-4
м3/с (0,62132 м3/ч ).
Выбор пневмораспределителей.
При выборе управляющей аппаратуры отдаем предпочтение
пневматическим распределителям с электропневматическим управлением марки
331-14-0-1-A220-УХЛ4 ГОСТ 21251-85 [4].
Распределитель этой марки трехпозиционный пятилинейный с двусторонним
электропневматическим управлением предназначен для изменения направления
потоков воздуха в пневматических системах. Третья устойчивая позиция
обеспечивается возвратом в исходное положение механической пружиной при
отсутствии сигнала. Работают на отфильтрованном сжатом воздухе, содержащем
распыленное масло. Распределители предназначены для монтажа на плитах. При
монтаже пневмораспределителей обеспечивают горизонтальное положение его
продольной оси во избежание самопроизвольного перемещения поршня с золотником в
момент снятия давления воздуха. Техническая характеристика:
условный проход- 20 мм;
присоединительная резьба по ГОСТ 6111-52- К 3/4"
дюйма;
номинальное давление - 1,0 МПа;
пропускная способность- 5 м3/ч;
номинальное напряжение - 220 В;
потеря давления при наибольшем расходе не более - 0,02
МПа.
Выбор дросселей.
Назначаем пневмодроссель с обратным клапаном 16-2 УХЛ4
ГОСТ 19485-81Е. Они предназначены для регулирования расхода сжатого воздуха в
одном направлении и обеспечения свободного прохода его в обратном направлении.
Монтируют дроссели с обратным клапаном в пневматических системах
непосредственно на трубопроводе в любом положении при помощи резьбовых
присоединительных отверстий.
Техническая характеристика:
условный проход - 16 мм;
присоединительная резьба по ГОСТ 6111-52-К 1/2"
дюйма;
номинальное давление - 1,0 МПа;
пропускная способность через открытый дроссель при
закрытом клапане- 1,70 м3/ч;
пропускная способность через обратный клапан при
закрытом дросселе- - 2,80 м3/ч;
потеря давления через полностью открытый дроссель при
закрытом обратном клапане не более 0,05 МПа.
Выбор блока подготовки воздуха
Повышение надежности и долговечности пневмоприводов и
пневмосистем управления необходима качественная подготовка сжатого воздуха,
включающая очистку его от загрязнений.
Пневмоблок подготовки воздуха предназначен для
подготовки сжатого воздуха в пневматических приводах и системах технологического
оборудования. Блок подготовки воздуха включает в себя следующие аппараты:
фильтр- влагоотделитель;
маслораспылитель;
клапан давления редукционный;
реле давления.
“Фильтр - влагоотделитель предназначен для чистки
сжатого воздуха от влаги и механических примесей более 0,05 мм. Принцип
действия - сжатый воздух попадая в фильтр - влагоотделитель и проходя через
щели отражателя движется по винтовой линии и под действием центробежных сил
отбрасывает на внутреннюю стенку резервуара мелкие частицы воды и механические
примеси.” Осушенный сжатый воздух проходит через металлокерамический фильтр и
попадает в выпускное отверстие влагоотделителя. Из справочной литературы [4]
выбираем влагоотделитель типа 22-16х80- УХЛ4 ГОСТ 17437-81.
Техническая характеристика:
условный проход - 16 мм;
присоединительная резьба по ГОСТ 6111-52 К 1/2"
дюйма;
рабочее давление - 1,0 МПа;
наибольший расход воздуха при давлении 0,63 МПа - 0,4
м3/мин;
наибольшая потеря давления - 0,01 МПа;
пропускная способность- 4,9 м3/ч;
полезная вместимость резервуара для сбора конденсата
-100/250 см3.
Маслораспылители служат для внесения в сжатый воздух
распыленного масла для смазки трущихся поверхностей пневматических устройств.
Из справочной литературы [4] выбираем маслораспылитель типа 2-16- УХЛ4 ГОСТ
25531-82.
Техническая характеристика:
условный проход - 16 мм;
номинальное давление воздуха- 1,0 МПа;
расход воздуха при давлении 0,4 МПа
максимальный - 1,25 м3/мин;
минимальный - 0,25 м3/мин;
потеря давления при максимальном расходе не более -
0,025МПа;
пропускная способность - 3,5 м3/ч;
присоединительная резьба по ГОСТ 6111-52 К 1/2"
дюйма;
полезная вместимость резервуара для масла - 200см3.
Пневмоклапан давления редукционный с ручной или с
пневматической настройкой давления на выходе служит для понижения давления
сжатого воздуха и поддержания его на заданном уровне в пневмосистемах. Из
справочной литературы выбираем пневмоклапан редукционный марки 122-16 УХЛ4 ГОСТ
18468-79 [4].
Техническая характеристика:
условный проход - 16 мм;
номинальное давление воздуха- 1,0 МПа;
пределы настройки давления воздуха на выходе из
клапана 0,05-0,9 МПа
номинальный расход воздуха при давлении 0,4 МПа
пропускаемого через клапан- 1,6 МПа;
присоединительная резьба по ГОСТ 6111-52 К 1/2"
дюйма;
Реле давления предназначено для контроля давления в
пневматических системах, осуществляемого воздействием на контакты
микропереключателя, включенного в электрическую цепь управления. Из справочной
литературы [4] выбираем реле давления марки 23 УХЛ4 ГОСТ 18486-74.
Техническая характеристика:
условный проход - 16 мм;
номинальное давление воздуха- 1,0 МПа;
зона нечувствительности 0,03-0,06 МПа;
диапазон контролируемых давлений 0,1-1,0 МПа;
- номинальное напряжение, Н, не более- постоянного
тока 220;
- присоединительная резьба по ГОСТ 6111-52 К 1/8"
дюйма.
Выбор глушителя шума.
Пневматические глушители шума предназначены для
снижения аэродинамического шума, возникающего при выхлопе в атмосферу сжатого
воздуха из пневмоприводов. Принцип действия основан на погашении энергии
звуковых колебаний при прохождении сжатого воздуха через пористую втулку. Из
справочной литературы выбираем пневматические глушители типа 1111-16 УХЛ4 ГОСТ
25144-82 [4].
Техническая характеристика:
условный проход - 16 мм;
номинальное давление- 0,63 МПа;
пропускная способность 4 м3/ч;
долговечность -8400ч;
присоединительная резьба по ГОСТ 6111-52 К 1/2"
дюйма.
2.2.3
Расчет и выбор трубопроводов
В качестве соединительных трубопроводов назначаем
трубопроводы из полиэтилена высокого давления. Данные трубки рассчитаны на
давление до 1,0÷1,4 МПа. Внутр. диаметр трубопровода
определяем по формуле [5]:
, м;
(2.5)
где Q -
расход воздуха через данный трубопровод;
V- скорость сжатого воздуха через данный трубопровод (V= 8... 12 м/с);
ρ0-плотность воздуха при атмосферном
давлении (ро=1,29 кг/см3);
ρ- плотность воздуха при соответствующем
давлении в воздухопроводе.
При давлении р=0,4 МПа и t=20°С- (р=4,67 кг/см3 ). На основании расчетных
данных принимаем трубы, у которых внутренний диаметр и толщина стенки является
ближайшими большими стандартными значениями.
Линия: 1-2;
= 1,963*10-4 м3/c;V= 8... 12 м/с;
d = 2,938*10-3м (≈3мм)
Принимаем трубу 8* 1,5; dу=5мм,
Линии 3-4; 5-6; 7-8; 9-10;
Q = 1,962*10-4 м3/c;V= 8... 12 м/с;
d = 2,937*10-3м (≈3мм)
Принимаем трубу 8x1,5; dу=5мм,
Линии: 11-12; 13-14.
= 1,963*10-4 м3/c;V= 8... 12 м/с;
d = 2,938*10-3м (≈3мм)
Принимаем трубу 8x1,5; dу=5мм.
2.2.4 Определение
потерь давления в пневмоаппаратуре и трубопроводах
Потери давления воздуха в пневмосистеме - это потери,
связанные с трением воздуха о стенки сосудов и с местными сопротивлениями в
местной сети. Давление в пневмосети установки настраивается редукционным клапаном,
который устанавливается на выходе из блока подготовки воздуха, поэтому потери в
аппаратах блока управления не учитываются. Определим потери давления при работе
цилиндра Ц6.
При работе цилиндра Ц6 воздух проходит через плиту
блока управления, распределитель Р5, дроссель ДР10, попадает в поршневую
полость Ц6-напорная линия рабочего хода; из штоковой полости воздух проходит
через дроссель ДР9, распределитель Р5, блок управления и глушитель Гл. Потери
давления от сопротивления протеканию воздуха через приборы, а также поворотах
трубопроводов, через винтили, тройники, т.е. от местных сопротивлений, находят
по формуле:
∆ρ= 51·ξ·V2·γ·10-7 , МПа; (2.6)
где ξ-коэффициент местного сопротивления,
определяемый эмпирическим путем по таб. 2.2. [3]
γ- удельный вес воздуха
γ=
ρ*g= 4,67*9,8=45,766 Н/ м3.
Напорная линия:
Пневмораспределитель 331-14-0-1-А220-УХЛ4 ГОСТ
21251-85
ξ= 48; γ= 45,766 Н/ м3; dу= 20мм (0,020м); Q = 1,9624*10-4 м3/c;
м/с;
∆ρ= 51·48·6,252·45,766·10-7 = 0,438 Па (0,5*10-6 МПа).
Дроссель с обратным клапаном 16-2 УХЛ4 ГОСТ 19485-81Е
ξ= 130; γ= 45,766 Н/ м3; dу= 16мм (0,016м); Q = 1,9624*10-4 м3/c;
м/с;
∆ρ=
51*130*0,982*45,766*10-7 =0,292 Па (0,3*10-6 МПа).
Общие потери давления в пневмоаппаратах в напорной
линии:
n
∆ρ = Σ =∆ρi = (0,5+0,3)* 10-6 =0,8*
10-6 МПа.
i=1
Линия выхлопа
Пневмораспределитель 331-14-0-1-А220-УХЛ4 ГОСТ
21251-85.
ξ= 48; γ= 45,766 Н/ м3; dу= 20мм (0,020м); Q = 1,711*10-4 м3/c;
м/с;
∆ρ=
51*48*5,442*45,766*10-7 = 0,331 Па (0,4*10-6 МПа).
Дроссель
ξ= 130; γ= 45,766 Н/ м3; dу= 16мм (0,016м); Q = 1,711*10-4 м3/c;
м/с;
∆ρ=
51*130*0,852*45,766*10-7 =0,222 Па (0,25*10-6 МПа).
Общие потери давления в пневмоаппаратах в напорной
линии:
n
∆ρ = Σ =∆ρi = (0,4+0,25)* 10-6 =0,65*
10-6 МПа.
i=1
Общие потери давления в пневмоаппаратах:
n
∆ρ = Σ =∆ρi = (0,8+0,65)* 10-6 =1,45*
10-6 МПа.
i=1
Определение потерь в трубопроводах
Трубопроводы прокладывают по наиболее кратчайшим
расстояниям между соединяемыми приборами и агрегатами (в местах, доступных для
монтажа, обслуживания и ремонта). В местах укладки не должно быть колебаний
температуры окружающего воздуха. (При монтаже воздухопроводов необходимо
обеспечить возможность удаления из них компрессорного масла, конденсированной
воды и других загрязнений).
Потери давления по длине
Потери давления по длине определены трением при
движении воздуха по трубопроводу. Различают два режима движения: ламинарный и
турбулентный, при ламинарном движении все слои воздуха движутся параллельно не
смешиваясь один с другим, а скорость отдельных слоев в поперечном сечении
потока изменяется по параболическому закону от нуля у стенок трубы до максимума
в ее центре по сечению. При турбулентном движении , параболический закон
нарушается, так как частицы воздушного потока совершают кроме продольного
дополнительные, поперечные движения.
На прямых участках трубопровода потери давления ∆p,
МПа, определяют по формуле:
∆p= β·(1/d)·γ·V2 , МПа; (2.7)
где β - коэффициент трения о стенки
трубопроводов, который определяется по формуле:
β= 8,3· 10-5/Gy0,148 ; (2.8)
где V- скорость
движения воздуха в трубопроводе,
- длина; d - диаметр трубопровода. Gy= Q·γ (Н/с) - весовое количество
воздуха, протекающее за единицу времени.
Напорная линия 1-2:
γ= 45,766 Н/ м3; d= 5мм (0,005м); l=0,7м; Q = 1,963*10-4 м3/c;y= 1,963*10-4 *45,766= 8,9838*10-3 (Н/с);
β= 8,3* 10-5/(8,9838*10-3)
0,148 = 1,667* 10-4 ;
м/с;
∆p=
1,667* 10-4 *(0,7/0,005)*45,766*2,7632= 8,115
Па (9*10-6 МПа).
Напорная линия:
γ= 45,766 Н/ м3; d= 5мм (0,005м); l=1,0 м; Q = 1,963*10-4 м3/c;y= 1,963*10-4 *45,766= 8,9838*10-3 (Н/с);
β= 8,3* 10-5/(8,9838*10-3)
0,148 = 1,667* 10-4 ;
м/с;
∆p= 1,667* 10-4 *(1,0/0,005)*45,766*2,7632=
10,59 Па (12*10-6 МПа).
Линия выхлопа:
γ= 45,766 Н/ м3; d= 5мм (0,005м); l=1,1 м; Q = 1,963*10-4 м3/c;y= 1,962*10-4 *45,766= 8,9792*10-3 (Н/с);
β= 8,3* 10-5/(8,9792*10-3)
0,148 = 1,667* 10-4 ;
м/с;
∆p= 1,667* 10-4 *(1,1/0,005)*45,766*2,7582=
11,21 Па (12*10-6 МПа).
Общие потери давления в трубопроводах по длине:
n
∆ρ = Σ =∆ρi = (9+12+12)* 10-6 =33* 10-6
МПа.
i=1
Местные потери давления
Потери давления от сопротивления протекания воздуха
через приборы, а также при поворотах трубопроводов, через винтили, тройники,
т.е. от местных сопротивлений находят по формуле [3]:
n
∆ρ = Σ =∆ρi = (33+0,003+0,002+0,004)* 10-6 =33,009*
10-6 МПа.
i=1
Общие потери давления:
n
∆ρ = Σ =∆ρi = (33,009+1,45)* 10-6 =34,459*
10-6 МПа.
i=1
По результатам расчетов можно сделать вывод, что в
нашей пневмосистеме потери давления очень маленькие и они не превышают
допустимого значения давления.
2.3 Разработка
конструкции пневмоблока управления
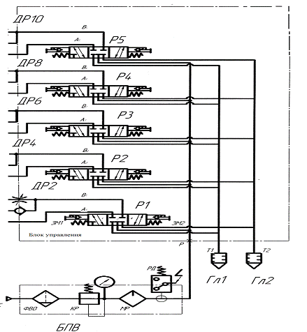
Блок управления включает в себя следующие аппараты:
электропневматические распределители Р1,Р2,РЗ,Р4,Р5;
глушители шума Гл1, Гл2.
Принципиальная схема блока управления приведена на
рисунке 2.1. На распределительной плите устанавливают пять распределителей
Р1,Р2,РЗ,Р4,Р5. Распределители закреплены к плите при помощи специальных
пустотелых винтов, которые вкручены в присоединительные отверстия.
Герметичность обеспечивает прокладка, которая
устанавливается между плитой и винтом. В плите просверлено три центральных
отверстия (одно -подвод воздуха "Р", два других - отвод воздуха
"Т1" и "Т2"). С торца плиты отверстия глушатся пробками. На
плите по плоскости стыковки распределителей напротив отверстий "Т1" и
"Т2" выполнено два присоединительных отверстия "Гл1" и
"Гл2" для установки глушителей.
Рисунок 2.1- Принципиальная схема блока управления:
Гл1, Гл2 - глушители шума;
А1,В1,А2,В2,А3,В3,А4,В4,А5,В5- выходы к пневмоцилиндрам;
Т1,Т2- отвод воздуха; Р1,Р2,Р3,Р4,Р5-
электропневмораспределители; Р- подвод воздуха
Описание работы схемы
При включении магнита ЭМ1, прямой ход:
ПС - ФВО - КР - МР - РД - Р1(Р1)А1 - ГЦ1(ПП)/ГЦ1(ШП) -
В1(Р1)Т21 - ГЛ2
От компрессора сжатый воздух в пневмосистеме попадает
в вильтр-влагоотделитель - клапан редукционный - маслораспределитель - реле
давления - по линии Р1 попадает в распределитель Р1, дальше по линии А1
попадает в поршневую полость (ПП) - штоковую полость (ШП) - затем по линии В1 в
распределитель Р1, дальше по линии Т21 попадает в глушитель шума (ГЛ2). Этим
самым мы обеспечиваем прямой ход отсекателя и отсекаем бочку. При включении
магнита ЭМ2, обратный ход:
ПС - ФВО - КР - МР - РД - Р1(Р1)В1 - ГЦ1(ШП)/ГЦ1(ПП) -
А1(Р1)Т11 - ГЛ1. Дальше при одновременном включении ЭМ1 (Р2,Р3) сжатый воздух
попадает в ГЦ2,ГЦ3,ГЦ4 и приводим подъемник в верхнее положение, при включении
ЭМ1 (Р5) приводим прижим в нижнее положение, и при включении ЭМ1 (Р4) приводим
привод каретки в прямой ход, от силы трения каретки бочка делает один оборот,
далее при включении ЭМ2 (Р5) прижим поднимается в верхнее положение, а при
включении ЭМ2 (Р4) каретка делает обратный ход, затем при включении ЭМ2 (Р2,Р3)
приводим подъемник в нижнее положение, ролики подъемника поворачиваются и
передают бочку на следующие направляющие.
2.4
Разработка компоновки и общего вида машины
“При выборе параметров машины, основной схемы и типа
конструкции в центре внимания должны быть факторы, определяющие экономическую
эффективность машины: высокая полезная отдача, малые энергопотребление и
расходы на обслуживание, низкая стоимость эксплуатации и длительный срок
применения” [6]. Машина предназначена для нанесения логотипов специальными
чернилами на цилиндрической поверхности металлических бочек Ø
= 356 мм. Машина для
нанесения логотипа имеет устойчивую стальную станину . На станине закреплены
функциональные узлы: рама , отсекатель , прижим ,каретка. Каретка имеет пневматический
привод .
Принцип работы машины для нанесения логотипа на
металлическую бочку: Бочка устанавливается на направляющие машины и
перемещается до отсекателя, при отсутствии тары на подъемнике отсекатель
срабатывает, пропускает тару на подъемник и возвращается в исходное положение.
При прохождении команды о наличии бочки на подъемнике происходит подъем ее в
верхнее положение до рамки логотипа. Прижим отпускается до соприкосновения с
сеткой логотипа. Каретка с рамкой логотипа перемещается, при этом бочка делает
один оборот. Каретка останавливается, прижим поднимается в верхнее положение.
Ролики подъемника поворачиваются, передают бочку на следующие направляющие и
возвращаются в исходное положение.
Общий вид машины для нанесения логотипа на тару изображен
на рисунке 2.2.
Рисунок 2.2 - Общий вид машины для нанесения логотипа
Технология нанесения логотипа на разработанной машине.
Чернила наливаются на поверхность сетки трафарета
локальным пятном, находящимся вне наносимой надписи (в непроницаемой части), но
в зоне движения ракеля. Ракель- это резиновая пластина с одной заточенной
стороной, служит для размазывания чернил по трафарету.
Оператор следит за процессом нанесения логотипа на
металлическую бочку и за наличием чернил на трафарете.
Складировать бочки после нанесения логотипа необходимо
таким образом, чтобы они не касались друг друга, так как время высыхания чернил
составляет 4 минуты при 25°С.
Техническое обслуживание машины для нанесения логотипа
на металлическую бочку:
перед началом работы проверять исправность основных
узлов машины;
периодически смазывать движущиеся детали, работающие с
механическим трением;
при остановке работы более чем на 2 минуты трафарет
тщательно очищается от краски и промывается растворителем, особенно в зоне
надписи (проницаемая часть).
2.5
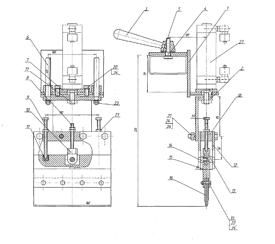
Разработка конструкций узлов машины
Подъемник предназначен для подъема бочки до
соприкосновения с рамкой логотипа. Этот узел состоит из следующих сборочных
единиц:
щека -2 шт, опора - 2 шт, рычаг -1 шт., балка -1 шт.,
кронштейн - 1 шт., опора шаровая - 2 шт., опора - 4 шт., боковина -2 шт.;
и следующих деталей: ось- 4 шт., ролик -4 шт., крышка-
4 шт., втулка- 8 штук., . палец - 1 шт.,опора- 4 шт.
Рычаг является одной из сборочных единиц подъемника, представлен
на рисунке 2.3.
Рисунок 2.3 - Рычаг: 1 - щека; 2- втулка
Отсекатель предназначен для того, чтобы пропускать
бочки на подъемник по одной штуке. Этот узел необходим, так как линия по
выпуску металлической тары поточная.
Состоит из следующих сборочных единиц: балки, щеки,
рычага, опоры и кронштейна. На рисунке 2.4 представлена щека.
Рисунок 2.4 - Щека: 1- пластина; 2- втулка; 3- втулка
Прижим предназначен для плотного прилегания сетки
экрана логотипа к металлической таре. На конце узла расположен скребок, который
предназначен для распространения чернил по всей поверхности сетки экрана
логотипа. Опускание узла до поверхности соприкосновения происходит при помощи
пневмоциллиндра Ц6. Прижим изображен на рисунке 2.5.
Рисунок 2.5 - Прижим: 1- кронштейн; 2- подвеска;
3-фиксатор; 4- винт; 5-шайба; 6-направляющая; 7- фланец; 8-винт; 9-болт;
10-серьга; 11-упор; 12- щека; 13- втулка; 14-винт; 15-планка; 16-скребок;
17-гайка; 18- упорная планка
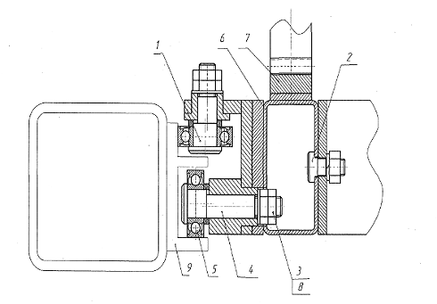
Каретка предназначена для нанесения логотипа на
металлическую тару, так как экран с сеткой соприкасается с бочкой и при
поступательном движении каретки бочка делает один оборот. На ее цилиндрической
поверхности появляется изображение. С помощью фиксатора рамка логотипа
закрепляется на раме каретки. Рейки крепятся к раме каретки с помощью винтов М6
ГОСТ 11738. На раме расположены две направляющие, по которым с помощью
шариковых однорядных радиальных подшипников 80203 ГОСТ 7342 происходит движение
каретки. Механизм передвижения каретки приведен на рисунке 2.6.
Рисунок 2.6 - Механизм перемещения каретки: 1-ось;
2-болт; 3-гайка; 4-ось; 5-подшипник 80203 ГОСТ 7342; 6- рама; 7-рейка; 8-
шайба; 9-направляющая
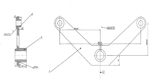
Рамка логотипа состоит из уголков и сетки, (которая
состоит из металлических нитей с нанесенным изображением). Через открытые
ячейки сетки, несущие изображение, краска наносится на запечатываемый материал.
Рамка логотипа представлена на рисунке 2.7.
Рисунок 2.7 - Рамка логотипа: 1-уголок 50x50x5, L=177 мм; 2-уголок
Привод каретки предназначен для передачи
поступательного движения каретке. Состоит из следующих сборочных единиц:
корпуса и планки. В свою очередь корпус состоит из основания и бобышки. Для
основания используем сталь СтЗ лист 20, для бобышки - сталь 35. Планка состоит
из втулки и пластины. Для втулки используем сталь 35 ГОСТ 1050, для пластины -
сталь СтЗ.
Привод каретки состоит из следующих деталей: вала,
рейки, шестерни, двух зубчатых колес со ступицами, крышек для подшипников,
стопорных колец, оси, гайки. Привод каретки представлен на рисунке 2.8.
Рисунок 2.8 - Механизм привода каретки: 1-корпус;
2-шестерня; 3- ступица; 4-зубчатое колесо; 5-крышка; 6- крышка; 7-кольцо;
8-кольцо; 9- ось; 10-кольцо; 11-подшипник; 12- шпонка
Реечная передача, состоящая из рейки зубчатой и
зубчатого колеса, используется для преобразования вращательного движения в
прямолинейно - поступательное и обратно. В данном случае рейка представлена в
виде прутка с прямоугольным сечением, на котором нарезают зубья. Такие рейки не
трудоемки и могут быть изготовлены с высокой точностью.
В малонагруженных подшипниковых узлах применяем
фиксацию стопорными кольцами. Устанавливаем подшипник в корпус и фиксируем с
помощью крышек. Для фиксации крышек используем болты М6×16
ГОСТ6402.
Осевую фиксацию зубчатых колес и шестерни на валу
осуществляем при помощи установочных винтов М8х16 ГОСТ 1476. Для передачи
вращающего момента применяем призматические шпонки ГОСТ 23360-78 2-12x8x40 и
2-12x8x100. При передаче момента шпонкой на посадочных поверхностях вала и
отверстия колеса следует создавать натяг, гарантирующий не раскрытие стыка.
Соединение штока цилиндра привода каретки с рейкой с помощью гайки.
2.6
Расчеты на прочность
Расчет статической прочности валов ведут по наибольшей
кратковременной нагрузке, которую определяют исходя из наибольших тяжелых
условий работы машины с учетом динамических нагрузок и колебаний. Относительные
размеры валов позволяют во многих случаях рассматривать вал как стержень,
работающий на изгиб и кручение. При расчете вал рассматривают как стержень,
лежащий на шарнирных опорах и нагруженный сосредоточенными силами и моментами.
Подшипники качения можно принимать при расчете за шарнирные опоры.
Оценка величины предельно допустимых перемещений
производится на основании анализа работоспособности деталей, сопряженных с
валом.
Для определения опасных сечений в валах строят эпюры
крутящих моментов. При кручении вала в поперечном сечении действуют касательные
напряжения, которые распределяются по радиусу вала по линейному закону. В
центре вала напряжение равно нулю, а у поверхности достигает максимального
значения.
Проверка зубьев колес по контактным напряжениям.
Расчетное контактное напряжение для прямозубых колес [7]:
(2.9)
Кнa -
коэффициент распределения нагрузки между зубьями. Для прямозубых колес
принимают равным 1.0;
Кнβ - коэффициент концентрации нагрузки.
Для прямозубых колес при твердости зубьев
Кнν - коэффициент динамической нагрузки.
Для прямозубых колес при твердости зубьев
Z - коэффициент, зависящий от числа зубьев; z=0,791. Тогда расчетное контактное
напряжение будет равно
Полученное расчетное контактное напряжение бн должно
находится в интервале (0,9...,05)х[ б]н : 571 входит в интервал 522,9...610,05
при [б]н= 581 МПа.
Расчет вала на прочность проводим в такой
последовательности: по чертежу составляем расчетную схему, на которую наносим
все внешние силы, нагружающие вал, приводя плоскости их действия к двум взаимно
перпендикулярным плоскостям (горизонтальной х и вертикальной у). Затем
определяем реакции опор в горизонтальной и вертикальной плоскостях. В этих же
плоскостях строим эпюры изгибающих моментов Мх и Му и крутящего момента Мк.
Устанавливаем опасные сечения, исходя из эпюр моментов, размеров сечения вала и
концентратора напряжений. Проводим расчеты на статическую прочность, на
сопротивление усталости.
Расчетная схема представлена на рисунке 2.9.
Рисунок 2.9 - Расчетная схема
Исходные данные:
Реакции от сил в плоскости ХОZ:
Следовательно реакции найдены правильно. Реакции от сил в плоскости УОZ:
Расчетная схема определения моментов в горизонтальной
плоскости представлена на рисунке 2.10.
По этой схеме строится эпюра изгибающих моментов в
горизонтальной плоскости.
Рисунок 2.10 - Расчетная схема
Сечение О Мх=0;
Сечение А Мх=Ft1·11=6640·0,057=378,48
Hм;
Сечение В Mx=Ft1·(11+12)-Rar·12=6640·(0,057+0,42)-5635,84·0,42=
,23 Нм;
Сечение Д Мх=0;
Сечение С Мх= Ft2·14=11850,6·0,03=355,52
Нм.
Эпюра изгибающих моментов, действующих в
горизонтальной плоскости представлена на рисунке 2.11.
Рисунок 2.11 - Эпюра изгибающих моментов
Далее строим эпюру изгибающих моментов, действующих в
вертикальной плоскости. Она представлена на рисунке 2.12.
Рисунок 2.12 - Расчетная схема и эпюры изгибающих
моментов в вертикальной плоскости, крутящего момента
В соответствии с эпюрами изгибающих моментов Мх, Му и
вращающего момента Мкр. Предположительно опасным сечением является сечение В.
Расчет сечения вала на статическую прочность.
Результирующий изгибающий момент
(2.10)
Осевой момент сопротивления сечения для вала с одной
призматической шпонкой
(2.11)
где d -
диаметр вала, мм;
в - ширина шпонки,мм;
h- высота шпонки, мм .
На валу диаметром d=40 мм установлена призматическая шпонка размерами
в=12 мм, h=8 мм,
Тогда:
Эквивалентное напряжение
(2.12)
Для стали 45:
δв = 900 Н/мм2,
δт = 650 Н/мм2,
δ-1 = 380 Н/мм2,
τ-1 = 230 Н/мм2.
Коэффициент запаса прочности по текучести при
коэффициенте перегрузки кп=2,5:
(2.13)
> [St]=1,6
Т.е. можно сделать вывод, что статическая прочность
вала в сечении В обеспечивается.
Расчет шпоночных соединений
Шпоночные соединения рассчитывают на напряжение смятия
[6].
Шпонка призматическая 12x8x40 ГОСТ 23360,в=12 мм, h=8 мм, длина шпонки 1=40 мм.
Вращающий момент Т=480Н*м.
Тогда расчетное напряжение смятия
где d-
диаметр вала,мм,
lр-рабочая длина шпонки,
мм
(2·5480·103)/(40·8·28)=
107,14 МПа,
Что
меньше =110 МПа. Шпонка призматическая 12x8x40 ГОСТ 23360, в=12 мм, h=8
мм, длина шпонки 1=100 мм.
Диаметр
вала 40мм.
мм;
(2·480·103)/(100·8·88)= 13,64 МПа.
Что меньше =110 МПа.
2.7 Расчет
режущего инструмента
Рассчитать и сконструировать спиральное сверло из быстрорежущей стали для
сверления под последующую технологическую операцию. Диаметр сверла выбрать
исходя из технологического назначения отверстия.
Обрабатываемый материал: сталь 45.
Предел прочности: σв =680 МПа.
Глубина сквозного отверстия: l = 9 мм.
Назначение сверления: нарезание резьбы М10.
Материал рабочей части сверла принимаем быстрорежущую сталь Р18, материал
хвостовика принимаем сталь 45.
Определение наружного диаметра D
При нарезании резьбы М10 согласно ГОСТ 8724-81 стандартный шаг резьбы
будет 1,5 мм. Следовательно, диаметр отверстия будет 8,5 мм, принимаем диаметр сверла
равным D = 8,5 мм ГОСТ 10903-77.
Определяем
режим резания
При сверлении углеродистой стали с пределом прочности σв = 680 МПа подачу на оборот принимаем равной: Sо = 0,2-0,25 мм/об.
Скорость главного движения резания, допускаемая режущими свойствами
сверла:
Сv - постоянная, значение берется из
справочника;
D -
диаметр сверла;
q, у, m - показатели степени для конкретных
условий обработки;
Т- средний период стойкости, мин;
S -
подача, мм/об;
Kv - суммарный поправочный коэффициент, учитывает фактические условия
резания, данные берутся из таблиц.
Cv = 9,8; qv = 0,4; yv = 0,5; m = 0,2 - при Sо > 0,2 мм/об и без охлаждении;
T -
период стойкости сверла, для сверла диаметром D = 8,5 мм при обработке углеродистой стали сверлом из
быстрорежущей стали принимаем T=25
мин;
Общий поправочный коэффициент:
,
KМv - поправочный коэффициент,
учитывающий обрабатываемый материал;
KИv - поправочный коэффициент,
учитывающий материал инструмента;
Klv - поправочный коэффициент, учитывающий глубину сверления
,
nv - показатель степени;
σB=680 Н/мм2 - предел
прочности обрабатываемого материала, МПа.
nv = 0,9; σв
= 680 МПа.
,
KИv
- поправочный коэффициент, учитывающий материал инструмента, для сверла из
быстрорежущей стали Р18 принимаем KИv
= 1,0;
Klv -
поправочный коэффициент, учитывающий развертывание, принимаем Klv = 1,0;
,
.
Определяем осевую составляющую силы резания по формуле:
,
Ср
- постоянная, значение берется из справочника;
х,
у- показатели степени для конкретных условий обработки для каждой из
составляющих силы резания;
S - подача,
мм/об;
D - диаметр
сверла, м/с;
kр - суммарный поправочный коэффициент, учитывает
фактические условия сверления, данные берутся из таблиц
CP =
68; qP = 1,0; yP = 0,7;
KP -
поправочный коэффициент на осевую составляющую силы резания,
,
np - показатель степени;
σB=680 Н/мм2 - предел
прочности обрабатываемого материала, МПа.
nP = 0,75.
,
,
.
Определяем момент сил сопротивления резанию (крутящий момент) по формуле


,
СM - постоянная, значение берется из
справочника;
х, у- показатели степени для конкретных условий обработки для каждой из
составляющих крутящего момента;
S -
подача, мм/об;
D -
диаметр сверла, м/с;
KMP - поправочный коэффициент на осевую составляющую силы
резания
CM = 0,0345; qM =
2,0; yM = 0,8 - для углеродистой стали с
пределом прочности σв = 680МПа;
.
,
Определяем
номер конуса Морзе хвостовика
Момент
трения между хвостовиком и втулкой определяется по формуле:
,
Рх - осевая сила, Н;
μ- коэффициент трения стали по стали;
θ- половина угла конуса;
D1 ,d2 - диаметры конуса хвостовика, мм.
Приравниваем момент трения к максимальному моменту сил сопротивления
резанию, т. е. к моменту, создающемуся при работе затупившимся сверлом, который
увеличивается до 3 раз по сравнению с моментом, принятым для нормальной работы
сверла.
Следовательно, 3×Мс.р. = Мтр .
Средний диаметр конуса хвостовика определяется по формуле: dср = (D1 + d2)/2,
,
Мср - момент сопротивления сил резанию, Н·м;
Θ = 1о26'16'' - половина угла конуса (конусность равна
0,05020; sin
Θ = 0,0251);
Рх - осевая сила, Н;
μ = 0,095 - коэффициент трения стали по стали ;
∆Θ = 5' - отклонение угла конуса.
,
По ГОСТ 25557 - 82 выбираем ближайший больший конус, т. е. конус Морзе №
1 с лапкой, со следующими основными конструктивными размерами: D1 = 12,2 мм; d2 = 9,0 мм; l3 = 62 мм; l4 = 65 мм.
Определяем длину сверла
Общую длину сверла L,
длину рабочей части lо, длину хвостовика lх и длину шейки l2 принимаем по ГОСТ 2092 - 77.
L = lо + lх + l2 = 75 + 37,5+ 4,5 = 117 мм.
L -
общая длина сверла, мм;
lо - длина рабочей части, мм;
lх - длину хвостовика lх, мм;
l2 - длину шейки, мм.
Определяем геометрические и конструктивные параметры рабочей части
сверла.
Форму заточки принимаем Н (нормальная). Принимаем данный вид заточки, т.к
обрабатываемый материал - сталь, а Н используется для обработки поверхностей
стальных деталей после предшествующей обработки этой детали резанием.
Угол наклона винтовой канавки ω = 31°. Углы между режущими кромками: 2φ
= 118°;
2φо = 70°. b =
2,5 мм. Задний угол α = 12°. Угол наклона поперечной кромки ψ
= 55°. Размеры подточенной части
перемычки: a = 1,0 мм, l = 2,0 мм. Шаг винтовой канавки:
H = π × D/tg ω = 3,14 × 8,5/tg30° = 46,252 мм.
H -
шаг винтовой канавки, мм;
D-
диаметр сверла, мм;
ω - угол наклона винтовой канавки, °.
Толщину сердцевины сверла выбираем в зависимости от диаметра сверла.
Для сверла диаметром D =
8,5 мм толщину сердцевины у переднего конца принимаем
dс = 0,14 × D = 0,14 × 8,5 = 1,19 мм ,
D-
диаметр сверла, мм;
dс - толщина сердцевины сверла, мм.
Принимаем это утолщение равным 2 мм.
Обратную конусность сверла (уменьшение диаметра по направлению к
хвостовику) на 100 мм длины рабочей части для сверла диаметром D = 8,5мм принимаем равной 0,06 мм
Ширина пера
B =
0,38 × D = 0,38 × 8,5 = 3,23 мм ,
D-
диаметр сверла, мм;
В - ширина пера, мм.
Геометрические элементы профиля фрезы для фрезерования канавки сверла
определяем упрощенным аналитическим методом
Больший радиус профиля:
,
,
,
при отношении толщины сердцевины dс к диаметру сверла D, равном 0,14, Cr = 1;
,
Dф - диаметр фрезы.
При
Dф = 13 × ÖD, Cф = 1.
Следовательно,
R0 = 0,477 × 1 × 1 × 8,5 = 4,0545 мм.
Меньший
радиус профиля Rк = Cк × D, где
Cк = 0,015 × ω0,75 = 0,015 × 310,75
= 0,197.
Следовательно,
Rк = 0,197 × 8,5= 1,6745 мм.
Ширина
профиля B = R0 + Rк = 4,0545 + 1,6745 = 5,729 мм.
Устанавливаем
основные технические требования и допуски на размеры сверла (по ГОСТ 885 - 77*)
Предельные
отклонения диаметров сверла D = 8,5h9(-0,043) мм. Допуск на общую длину и длину
рабочей части сверла равен удвоенному допуску по 14-му квалитету с симметричным
расположением предельных отклонений
по ГОСТ
25347 - 82. Предельные отклонения размеров конуса хвостовика устанавливают по
ГОСТ 2848 - 75* (степень точности AT8). Радиальное биение рабочей
части сверла относительно оси хвостовика не должно превышать 0,15 мм. Углы 2φ = 118° ± 2°; 2φ0 = 70°+5°. Угол наклона
винтовой канавки ω
= 31°-2°.
Предельные
отклонения размеров подточки перемычки режущей части сверла +0,5 мм. Твёрдость
рабочей части сверла 63 - 66 HRCэ, у
хвостовика сверла 32 - 46,5 HRCэ.
3 ТЕХНОЛОГИЧЕСКАЯ ЧАСТЬ
3.1 Разработка технологии
изготовления плиты пневмоблока управления
Широкое применение пневмоприводов в машиностроении, позволяет уменьшить
металлоемкость, повысить надежность, точность и уровень автоматизации.
Пневмоприводы предназначены для бесступенчатого регулирования скорости
движения приводов. Возможность работы в динамических режимах, защиту системы от
перегрузок и точный контроль действующих усилий.
Стыковой монтаж пневмоаппаратуры позволяет сократить потери давления в
трубопроводах, уменьшить габариты привода, настройку и обслуживание
оборудования.
3.1.1 Анализ исходных данных
Разрабатываемая плита используется для монтажа пневмоаппаратов блока
управления пневмопривода. При стыковом монтаже необходимо обеспечить высокое
качество стыковых поверхностей и точность отверстий.
В качестве материала для заготовки используем Сталь 45 ГОСТ 1050-88.
Химический состав стали представлен в таблице 3.1 [8].
Таблица 3.1 - Химический состав в % материала Сталь 45ГОСТ 1050-88
|
C
|
Si
|
Mn
|
Ni
|
S
|
P
|
Cr
|
Cu
|
As
|
|
0.42 - 0.5
|
0.17 - 0.37
|
0.5 - 0.8
|
до 0.3
|
до 0.04
|
до 0.035
|
до 0.25
|
до 0.3
|
до 0.08
|
В материале не допускаются пористость и раковины. Содержание примесей и
неметаллических включений должно быть минимальным.
Механические свойства Стали 45 представлены в таблице 3.2.
Таблица 3.2 - Механические свойства стали 45
|
Предел текучести sm, Н/мм2
|
Временное сопр. разрыву sв, Н/мм2
|
Относит. удлин-е d, %
|
Относит. сужение Y,%
|
ан, Дж/см2
|
НВ (не более)
|
|
не менее
|
|
без терм. обработки.
|
отожженной
|
|
355
|
600
|
16
|
40
|
49
|
229
|
197
|
3.1.2 Анализ технологичности
конструкции
Технологический анализ конструкции обеспечивает качество улучшения
технико-экономических показателей разрабатываемого технологического процесса.
Технологический анализ - один из важнейших этапов технологической разработки.
Задачи, решаемые при технологическом анализе конструкции обрабатываемой
детали, сводятся к возможному уменьшению трудоёмкости и металлоёмкости,
возможности обработки высокопроизводительными методами. Таким образом,
улучшение технологичности конструкции позволяет снизить себестоимость
изготовления без ущерба для её служебного назначения.
Оценка технологичности производится по системе показателей, связанных с
конструкцией детали [8].
1. Материал детали технологичен.
2. Заготовка приближена к готовой детали по форме и размерам. Расход
материала обработкой резания не велик. Конструкция детали технологична.
. Виды обработки: фрезерные, сверлильные, шлифовальная, слесарная.
. Возможно использование универсальных приспособлений: сверлильный
станок - тиски;
. Режущие инструменты.
Возможность использования стандартных режущих инструментов.
6. Средства измерения и контроля.
Универсальные средства измерения и контроля: штангенциркуль, рычажный или
гладкий микрометр (для наружных поверхностей).
7. Объем слесарной обработки.
В основном станочная обработка, слесарной очень мало.
8. Деталь имеет малые размеры, деталь удобная, компактная, является
удобной для выполнения обработки.
9. Жесткость.
Деталь жесткая. Можно сделать вывод, что деталь удовлетворяет основным
требованиям технологичности.
3.1.3 Выбор метода изготовления и
формы заготовки
Метод выполнения заготовок для деталей машин определяется
назначением и конструкцией детали, материалом, техническими требованиями,
масштабом и серийностью выпуска, а также экономичностью изготовления. Главным
при выборе заготовки является обеспечение заданного качества готовой продукции
при ее минимальной себестоимости. Вопрос выбора заготовки решается конструктором
при проектировании детали [6]. Для рационального выбора заготовки необходимо
учитывать исходные данные. Окончательное решение можно принять после
экономического комплексного расчёта себестоимости заготовки и механической
обработки для её изготовления.
Эскиз заготовки представлен на рисунок 3.1.
Рисунок 3.1 - Эскиз плиты
Исходные данные:
материал Сталь 45;
масса заготовки 12,1 кг;
годовая программа 2000 шт.
Сравним два варианта получения заготовки:
из проката;
из отливки.
Себестоимость заготовки из проката определяется по формуле [6]:
Sзаг =
М+ΣСоз , руб, (3.1)
где, М - затраты на материал заготовки, руб;
ΣСоз - технологическая
себестоимость операции отрезки, руб;
Затраты на материал заготовки находим по формуле:
(3.2)
где Q - масса заготовки, кг; - цена 1 кг материала заготовки, руб;
- масса готовой детали q= 10,2кг;
Sотх - цена 1 т отходов, руб Sотх= 26000 за тонну.
Определяем технологическую себестоимость операции
отрезки:
(3.3)
где Cп.з - приведенные затраты на рабочем месте, коп./ч; шт(ш-к)
- штучное или штучно-калькуляционное время выполнения заготовительной
операции (правки, калибрования, резки и др.).
Со.з. = (1450*1,1)/60·100= 0,26 руб.
Тогда:
Sзаг =
22,90+0,26 = 23,16 руб.
Определим стоимость заготовки из отливки:
(3.4)
где Сi - базовая стоимость 1 т заготовок, руб.; т,
kc, kв, kм, kп - коэффициенты,
зависящие от класса точности, группы сложности, массы, марки материала и объема
производства заготовок.
kт - повышенная точность штамповки, kт = 1,05 (по II классу точности);
kм - коэффициент материала заготовки, kм = 1,22;
kс - коэффициент сложности, kс = 1;
kв - коэффициент массы заготовок, kв =0,87;
kп - годовой выпуск, kп =1,0.
Sзаг=(23/1000·12,10·1,05*1·0,78·1,22·1,0)-(12,10-10,20)·26000/1000=62,75
руб.
Из технико-экономического расчета видно, что заготовка полученная методом
листового проката экономична, так как себестоимость изготовления заготовки
равна 23,16 руб.
3.1.4 Выбор маршрута обработки
Выбор маршрута обработки зависит от требований, предоставляемых к
точности и классу шероховатости обработки данной детали. Кроме того, при
составлении плана обработки детали следует учитывать следующие рекомендации:
механическую обработку детали целесообразно начинать с поверхности, которая на
большинстве последующих операций будет использоваться в качестве
технологической базы [9].
Для данной детали заготовка выполняется прокатом. Таким образом,
механическая обработка будет включать в себя следующие операции:
1. Отрезная
2. Фрезерная
3. Сверлильная
. Шлифовальная
. Слесарная
. Гальваника
. Гравировка
Подробный маршрут обработки детали «плита пневмоблока управления» указан
в таблице 3.3.
Таблица 3.3 - Маршрут обработки детали «плита пневмоблока управления»
|
Технологическая операция
|
Обработка поверхности
|
|
1. Отрезная
|
Отрезать заготовку
|
|
2. Фрезерная
|
1.1 Фрезеровать две
плоскости в размер 30мм 1.2 Фрезеровать два ребра в размер 205мм 1.3 Фрезеровать
2 торца в размер 120мм
|
|
3. Сверлильная операция
|
1 установ 3.1 Центровать
отверстие 3.2 Сверлить отверстие Ø14Н14 на глубину 165мм 3.3 Развернуть отверстие под
коническую резьбу К3/8" 3.4 Нарезать коническую дюймовую резьбу 2
установ 3.5 Центровать 2 отверстия 3.6 Сверлить отв. Ø 14Н14 на глубину 186 мм 3.7 Сверлить отв. Ø 14Н14 на глубину 180 мм 3.8 Развернуть 2 отверстия под
коническую резьбу К3/8"
|
|
Технологическая операция
|
Обработка поверхности
|
|
3.9 Нарезать коническую
дюймовую резьбу в 2-х отверстиях 3 установ 3.10 Центровать 10 отверстий Ø 16Н14 3.11 Сверлить 10 отв. Ø 16Н14 - сквозные 3.12 Центровать все отверстия 3.13
Сверлить 5 отв Ø
8Н14 3.14 Сверлить 4 отв. Ø 6,6 Н14 3.15 Сверлить 2 отв. Ø6,4Н14 3.16 Развернуть конус под коническую резьбу 3.17
Нарезать резьбу коническую К1/4"
|
|
4.Шлифовальная
|
Шлифовать поверхность
205*120мм -предварительно; -окончательно.
|
|
5. Слесарная
|
Притупить острые кромки
|
|
6. Гальваника
|
Покрытие хим. окс.
|
|
7. Гравировка
|
Нанесение гравировки.
|
3.1.5 Выбор типа производства и формы
его организации
Тип производства по ГОСТ 3.1108-74 характеризуется коэффициентом
закрепления операций Кз.о., который показывает отношение всех
различных технологических операций, выполняемых в течение месяца, к числу
рабочих мест. Так как Кз.о. отражает периодичность обслуживания
рабочего всей необходимой информацией, а также снабжения рабочего места всеми
необходимыми вещественными элементами производства, то Кз.о.
оценивается применительно к явочному числу рабочих подразделений из расчета на
одну смену [10]:
(3.5)
где∑По - суммарное число различных операций;
Ря - явочное число рабочих подразделений, выполняющих
различные операции.
Располагая штучным или штучно-калькуляционным временем, затраченным на
каждую операцию, определяют количество станков:
(3.6)
гдеN - годовая программа, N=2000 шт;
Тшт - штучное или штучно-калькуляционное время, мин;
Fд - действительный годовой фонд
времени, ч;
ηз.н. - нормативный коэффициент загрузки
оборудования. Средние значения нормативного коэффициента загрузки оборудования
по отделению или участку цеха при двухсменной работе следует принимать для
серийного производства - 0,75..0,85.
Определим штучно-калькуляционное время для каждой операции [11]:
,(3.7)
где Т0 - основное технологическое время.
Найдем основное технологическое время каждой операции:
. Фрезерная операция:
.1. Фрезеровать 2 узкие поверхности в размер 30мм
.2. Фрезеровать поверхность в размер 205мм
Т0 = 4l =4·205=0,82мин;
.3. Фрезеровать 2 поверхности в размер 120мм
Т0 = 4l = 4·120·2=0,96мин.
. Сверлильная операция:
.1.Сверлить отв. Ø14Н14 на глубину 16,5мм
Т0 = 0,52dl= 0,52·14·165=0,12мин;
2.2. Сверлить отв. Ø 14Н14 на глубину 180 мм
Т0 = 0,52dl= 0,52·14·180=0,13мин;
.3 Сверлить отв. Ø 14Н14 на глубину 186 мм
Т0 = 0,52dl= 0,52·14·186=0,135мин;
.4 Развернуть 3 отверстия под коническую резьбу К3/8"
Т0 = 0,18dl·3 = (0,18·14·165)·3=0,46 мин;
.5 Нарезать коническую дюймовую резьбу в 3-х отверстиях
Т0 =3·0,4dl =3·0,4·14·185 = 0,31мин;
2.6 Сверлить 10 отв. Ø 16Н14 - сквозные
Т0 = 10·0,52dl = 10·0,52·16·30 = 2,4 мин;
.7 Сверлить 5 отв. Ø8Н14
Т0 = 5·0,52dl = 5·0,52·8·8= 0,17 мин;
.8 Сверлить 4 отв. Ø6,6Н14
Т0 = 4·0,52dl = 4·0,52·6,6·30= 0,41 мин;
2.9 Сверлить 2 отв. Ø 6,4 Н14 ( 1/4" = 6,4 мм.)
Т0 = 2·0,52dl = 2·0,52·6,4·8= 0,053 мин;
.10 Расточить конус под коническую резьбу
Т0 = 0,18dl = 0,18·14·15=0,038 мин;
2.11 нарезать резьбу коническую К1/4"
Т0 =0,4dl =0,4·14·15 = 0,084 мин;
. Шлифовальная операция:
Т0 =2,5·l =
2,5·120 = 0,3 мин;
Т0 =2,5·l =
2,5·30 = 0,075 мин.
Найдем сумму штучно-калькуляционное время для каждой операции по формуле:
Т шт-к = φк· ∑Т0 (3.8)
1. Фрезерная операция
Т0 = 0,24+0,82+0,96 = 2,02 мин;
Т шт-к = φк·∑Т0 =
1,84·(0,24+0,82+0,96) = 3,71 мин;
. Сверление отверстий и нарезание резьбы
Т0 = (3,916)+(0,394) = 4,31 мин;
Т шт-к = φк∑Т0 = 1,72·(4,31) = 7,41 мин;
. Шлифование поверхностей
Т0 = (0,3)+(0,075) = 0,375мин;
Т шт-к = φк∑Т0 = 2,1·(0,3+0,075) = 0,79 мин.
Расчетное количество станков, необходимых на каждую операцию, для
выполнения программы рассчитаем по формуле:
(3.9)
где åtшк - сумма штучно калькуляционного
времени, мин;
N - годовая
программа выпуска изделий, шт;
Fg = 2112 - действительный фонд работы оборудования, ч.
ƞзо = нормативный коэффициент загрузки оборудования, ƞзо = 0,8.
Определим количество станков по расчетной формуле (3.6):
mр1=(2000·3,71)/(60·2112·0,8)=0,073;
mр2=(2000·7,41)/(60·2112·0,8)=0,15;
mp3=(2000·0,79)/(60·2112·0,8)=0,015.
После расчета mp
устанавливаем принятое число рабочих мест Р, округляя до ближайшего большего
целого числа полученные значения mp.
Далее по каждой операции вычисляют значение фактического коэффициента
загрузки оборудования по формуле:
ηз.ф..= mр/P, (3.10)
Подставляем ранее рассчитанные значения в формулу (3.8), получаем:
ηз.ф.1=0,073/1=0,073;
ηз.ф.2=0,15/1=0,15;
ηз.ф.3=0,015/1=0,015.
Количество операций, выполняемых на рабочем месте, определяем по формуле:
О=ηз.н
/ ηз.ф.,(3.11)
Проведем вычисления:
О1=0,8/0,073=11;
O2=0,8/0,15=5;
O3=0,8/0,015=53;
Результаты вычислений заносим в таблицу 3.4.
Таблица 3.4 - Данные по укрупненному нормированию операций
|
Операция
|
Тшт.к, мин
|
mр
|
P
|
ηз.ф.
|
О
|
|
1.Фрезерная 2.Сверлильная
3.Шлифовальная
|
3,71 7,41 0,79
|
0,073 0,15 0,015
|
1 1 1
|
0,073 0,15 0,015
|
11 5 53
|
|
Всего:
|
-
|
0,238
|
3
|
-
|
69
|
Коэффициент закрепления операций определяется по формуле:
Кзо = åО/ åР = 69/3 = 23 (3.12)
Так как Кзо > 10, то следовательно производство данной детали
относится к мелкосерийному производству.
Форма организации производства может быть согласно ГОСТ 14.312-74
поточной или групповой. Первое используется в крупносерийном и массовом
производстве. Целесообразно применение поточной формы организации производства,
как наиболее эффективной. Принимается на основании сравнения заданного выпуска
изделий и расчетной суточной производительности поточной линии при двухсменной
работе ее загрузки не менее 60%. В нашем способе целесообразно применить
групповую форму организации. При групповой форме организации производства
запуск изделий производится партиями с определенной периодичностью. [11]
Группирование станочного оборудования и рабочих мест производится либо по
видам технологической обработки изделий, либо по виду технологических
процессов. При втором способе группировки специализированные участки создаются
по конструкторско-технологическому признаку.
В нашем случае воспользуемся группированием станочного оборудования по
видам обработки. Он заключается в формировании участков станков одного
наименования.
3.1.6 Выбор оборудования
Выбор оборудования (моделей металлорежущих станков) осуществляется на
основании таких данных, как метод обработки, точность обработки, расположение
размеров обрабатываемых поверхностей, габаритных размеров заготовки, количество
инструментов в наладке станка, обеспечение заданной производительности,
эффективность использования станка по времени и по мощности. [10]
Для сверлильной операции выбираем вертикально- сверлильный станок 2Р135Ф2
с ЧПУ. Изображен на рисунке 3.2.
Технические характеристики:
Наибольший диаметр, мм:
сверления в заготовке из стали 45………………………………18
Размеры рабочей поверхности, мм:
- плиты……………………………………………………...1600×860
Скорость быстрого перемещения, мм/мин:
- салазок…………………………………………………………8000
- сверлильной головки ………………………………………....8000
- шпинделя………………………………………………………5000
Подача, мм/мин:
- салазок……………………………………………………....1-2000
- сверлильной головки……………………………………….1-2000
Габаритные размеры станка мм………………………………..910×550
Суммарная мощность электродвигателей, кВт………………….....2,2
Рисунок 3.2 Вертикально - сверлильный станок
3.1.7 Расчет припусков
Всякая заготовка, предназначенная для дальнейшей механической обработки,
изготовляется с припуском на размеры готовой детали. Этот припуск,
представляющий собой излишек материала, необходимый для получения окончательных
размеров и заданного класса шероховатости поверхности деталей, снимается на
станках режущими инструментами. Поверхность детали, не подвергающиеся
обработке, припусков не имеют [8].
Разность размеров заготовок и окончательно обработанной детали определяет
величину припуска, т.е. слоя, который должен быть снят при механической
обработке.
Для большинства поверхностей припуски выбираются по таблицам, только для
наиболее ответственных поверхностей производится расчет.
Расчет припусков на механическую обработку может производиться
расчетно-графическим методом или по таблицам.
Схема установки детали при фрезеровании и шлифовании представлена на
рисунке 3.3. По данной схеме производим расчет припусков на обработку.
Рисунок 3.3 1-2 - плоскости размером 205*120мм; 3-4 - плоскости размером
120*30мм; 5-6 - плоскости размером 205*30мм.
Исходные данные:
деталь - плита пневмоблока;
заготовка- листовой прокат;
приспособление- тиски.
Рассчитаем припуски на поверхности 1-2. Суммарное значение
пространственных отклонений для заготовки данного типа определяется по формуле
[8]:
(3.13)
где ρсм - смятие, ρсм = 0,5 мм= 500мкм;
ρкор- коробление, ρкор = 205*0,3 = 61,5 мкм;
мкм.
Остальные пространственные отклонения:
после предварительного фрезерования: ρ1 = 95 мкм;
после окончательного фрезерования: ρ2 = 65 мкм;
после однократного шлифования: ρ3 = 36 мкм.
2Zmin=2·(Rzi-1+Ti-1+√(ρ²i-1+E²i)), мкм, (3.14)
следовательно;
Zmin=2·(150+150+504) = 2·804 мкм;
Zmin=2·(50+50+95) = 2·195 мкм;
Zmin=2·(150+150+65) = 2·125 мкм.
Расчетный размер dp определяем начиная с конечного (чертежного) размера:
dp1 = 30 + 0,25= 30,25 мм;
dp2 = 30,25 + 0,39= 30,64мм;
dp3 = 30,64 + 1,604= 32,244 мм.
Предельные значения припусков Z прmax определяем
как разность наибольших предельных размеров, а Zпр min - как разность наименьших предельных размеров предшествующего и
выполняемого переходов:
2Zmaxпр=30,36 - 30,025 = 0,335 мм = 335 мкм;
Zmaxпр=30,86 - 30,36 = 0,5 мм = 500 мкм;
Zmaxпр=32,455 - 30,86 = 1,595 мм = 1595 мкм;
Zminпр=30,25 - 30,0 = 0,25 мм= 250 мкм;
Zminпр=30,64 - 30,25 = 0,39 мм= 390 мкм;
Zminпр=32,244 - 30,64 = 1,604 мм= 1604 мкм.
Результаты расчетов сводим в таблицу 3.5.
Таблица 3.5 - Расчет припусков и предельных размеров по технологическим
переходам на обработку поверхности 205*120
|
Технологические переходы
обработки поверхности
|
Элементы припуска, мм
|
Расчетный припуск, 2zmin
|
Расчетный размер dp, мм
|
Допуск δ, мкм
|
Предельный размер, мм
|
Предельные значения
припусков, мкм
|
|
Rz
|
T
|
ρ
|
|
|
|
dmin
|
dmax
|
2zminпр
|
2zmaxпр
|
|
Фрезерование
предварительное
|
50
|
50
|
95
|
2*804
|
30,64
|
220
|
30,42
|
30,64
|
1604
|
1595
|
|
Окончательное
|
30
|
30
|
65
|
2*195
|
30,25
|
110
|
30,14
|
30,25
|
390
|
500
|
|
Шлифование однократное
|
10
|
20
|
36
|
2*125
|
30,00
|
25
|
28,98
|
30,00
|
250
|
335
|
|
Итого:
|
|
|
|
|
|
|
|
|
2244
|
2430
|
После корректировки предельных размеров и припусков получим:
dmaxзаг = 34 мм;
dminзаг = dmaxзаг - δ заг = 34- 1,2 = 32,8 мм;
* Zmin1пр = dmaxзаг - dmin черн = 32,80- 30,64 -1,16мм = 1160
мкм;
* Zmax1пр = dmaxзаг - dmax черн = 34,00- 30,86мм = 3140 мкм.
3.1.8 Расчет режимов резания
При выборе режимов обработки придерживаются определенного порядка, т.е.
при расчете и назначении режима резания учитывают тип и размеры режущего
инструмента, материал его режущей части, материал заготовки, тип оборудования
[12].
Режим
резания металлов определяется следующими основными параметрами: глубиной
резания t (мм), подачей S (мм/об) и
скоростью резания
(м/мин).
Фрезерование двух широких поверхностей размером 205*120.
Расчет длины рабочего хода фрезы Lрх выполняется по формуле [12]:
Lр.х
=L1+ L2 +L3 , мм; (3.15)
L3 - длина обрабатываемой детали, L = 205мм,
L1 и L2 - величина врезания и перебега фрезы.
Для цилиндрической фрезы принимаем L1+ L2 = 18 мм,
тогда:
Lр.х
= 18 + 205 = 223
мм.
В качестве инструмента выбираем торцевую фрезу ГОСТ 9304-69 (материал
режущей части Р6М5). Диаметр фрезы: D = 100 мм, количество зубьев: z = 10, внутренний диаметр: d =40
мм, ширина зуба: L = 135 мм [13].
Производим расчет следующих величин:
скорость резания V/мин;
число оборотов шпинделя n, мин-1;
миныты подачи Sм, мм/мин.
Окружная скорость фрезы:
(3.16)
где Сv=35,4; q=0,45; x=0,3; у=0,4; m=0,33;
u=0,1; p=0,1;
это показатели которые определяются по справочнику [10].
Sz -
выличина подачи на один зуб, мм/зуб;
для черновой обработки Sz-
0,2 мм/зуб;
для чистовой Sz - 0,15;
T -
период стойкости инструмента, T =180
мин;
t -
глубина резания, tчерн = 2 мм, tчист = 0,5 мм;
В - ширина обрабатываемой поверхности, В = 120;
Kv -
общий поправочный коэффициент, учитывающий фактические условия резания:
(3,17)
где Kmv - коэффициент, учитывающий влияние
физико-механических свойств обрабатываемого материала:
(3.18)
Knv -
коэффициент, учитывающий состояние поверхностного слоя,
Knv =
0,9;
Kuv -
коэффициент, учитывающий влияние инструментального материала, Kuv = 1.
Kv =
1·0,9·1 = 0,9.
Тогда для черновой обработки:
м/мин,
Расчет числа оборотов шпинделя:
об/мин.
Принимаем стандартное значение числа оборотов шпинделя станка:
n=100
об/мин, тогда уточненная скорость резания определиться по формуле: Определяем
минутную подачу по форме:
Sm =
0,2 · 10 · 100 = 200 мм/мин.
Для чистовой обработки:
м/мин.
Расчет числа оборотов шпинделя:
об/мин.
Принимаем стандартное значение числа оборотов шпинделя станка:
n =
160 об /мин, для станка 6Р81Г, тогда уточненная скорость резания определим по
формуле:
м/мин.
Плоское шлифование поверхностей 205*120 выполняем периферией
шлифовального круга.
Расчет скорости круга Vкр,
м/с:
Принимаем nкр = 3340 об/мин,
тогда:
м/с.
Выбор характеристик шлифовального круга:
тип круга: ПП;
наружный диаметр: 160 мм;
ширина круга: 30мм;
марка шлифовального материала: 25А;
зернистость: 40;
степень твердости: СМl;
структура: 7;
коэффициент шлифования: 5.
Определяем минутную подачу круга:
Sm = Smтабл ·К1 ·К2, мм/об; (3.20)
где К1 = 1,1; К2 = 0,9.
Sm =
0,15 · 1,1 · 0,9 = 0,15 мм/об.
Время выхаживания:
Твых = 0,6мин;
Снимаемый слой при выхаживании:
Авых = 0,05мм = 50мкм.
Таким образом шлифовальная операция выполняется шлифовальным кругом
ПП25А40СМ15К7 на шлифовальном станке 3701.
Режимы резания заносим в таблицу 3.6.
Таблица 3.6 - Режимы резания
|
Операция, технологический
переход
|
Инструмент
|
V, м/мин
|
n, мин-1
|
S, мм/мин
|
t, мм
|
|
Фрезерная операция: -
фрезеровать 2 плоскос-ти в размер 30мм; -фрезеровать 2 ребра в размер 205мм;
-фрезеровать 2 торца в размер 120 мм.
|
Фреза торцевая 2210-0073
ГОСТ 9304-69
|
35,5 35,5 35,5
|
160 160 160
|
200 200 200
|
1 1 1
|
|
Сверлильная операция: 1
установ -центровать отверстие Ø14h 14: -
сверлить отв.Ø14h14
на глубину 165мм; -развернуть отверстие под коническую резьбу К3/8";
-нарезать коническую дюймовую резьбу; 2 установ -центровать 2 отверстия Ø14h
14; - сверлить отв.Ø14h
14 на глубину 186мм; - сверлить отв.Ø14h 14 на
глубину 180мм; -развернуть 2 отверстия под коническую резьбу К3/8";
-нарезать коническую дюймовую резьбу в 2-х
|
-сверло центровочное
2317-0017 ГОСТ 14952-75, Ø1мм;
- сверло 2300-2507 ГОСТ 10902-77; - развертка коническая Р6М5; - метчик
Р6М5, ГОСТ 6227-80; -сверло центровоч-ное ГОСТ 14952-75; - сверло 2300-2507,
ГОСТ 10902-77; - сверло 2300-2507, ГОСТ 10902-77; - развертка коническая
Р6М5; - метчик Р6М5, ГОСТ 6227-80;
|
22,3 40,1 1,4 3,1
22,3 40,1 40,1 1,4 3,1
|
710 710 45 45
710 710 710 45 45
|
200 200 16 16
200 200 200 16 16
|
5 10 1,45 1,5 5
10 10 1,45 1,5
|
|
Операция, технологический
переход
|
Инструмент
|
V, м/мин
|
N, мин-1
|
S, мм/мин
|
t, мм
|
|
отверстиях; 3 установ
-центровать 10 отверстий Ø16H 14;
-сверлить 10 отверстий Ø16Н14 - сквозные; -центровать все отверстия;
-сверлить 5 отв. Ø8H
14; -сверлить 4 отв. Ø6,6H14;
-сверлить 2 отв. Ø6,4H14;
-развернуть конус под коническую резьбу; - нарезать коническую резьбу К
1/4".
|
-сверло центровоч-ное
ГОСТ 14952-75; -сверло 2300-2516, ГОСТ 10902-77; -сверло центровоч-ное ГОСТ
14952-75; -сверло 2300-2452; -сверло 2300-2439 -сверло 2300-2437; -развертка
коническая Р6М5; пробка коническая; -метчик Р6М5 ГОСТ 6227-80.
|
22,3 40,1 22,3 22,3
22,3 22,3 1,4 1,4
|
710 710 710 710 710
710 45 45
|
200 200 200 200 200
200 16 16
|
5 10 5 0,8 0,8 0,8
1,45 0,8
|
|
Шлифовальная: плоское
шлифование поверхности 205*120. -предварительное; -окончательное.
|
Шлифовальный круг
ПП25А40СМ15К7.
|
22 22
|
160 160
|
0,15 0,15
|
0,01 0,01
|
3.1.9 Выбор станочных приспособлений
Выбор осуществляется, по возможности, из числа стандартных или типовых
конструкций станочных приспособлений, обычно универсальных. Станочное
приспособление должно обеспечивать базирование заготовки в соответствии с
выбранной схемой базирования, надежное закрепление заготовки [14].
Для фрезерной, сверлильной и слесарной операций используем стандартное
приспособление - тиски: ТИП 3340 QKG
150А, с шириной 150мм.
Тиски изображены на рисунке 3.4.
Рисунок 3.4 - Тиски
Выбор приспособлений оформлен в таблицу 3.7.
Таблица 3.7 - Станочные приспособления
|
Наименование операции
|
Станочное приспособление
|
|
Фрезерная
|
Стандартные: тиски
|
|
Сверлильная
|
Стандартные: тиски
|
|
Шлифовальная
|
Стандартные: магнитный стол
|
|
Слесарная
|
Стандартные: тиски
|
3.1.10 Техническое нормирование
времени операций
Техническое нормирование времени представляет собой установление
технически обоснованных ресурсов: энергии, материала, инструментов, рабочего
времени и т.д.
В современных условиях экономия производственных ресурсов приобретает
важное значение. Особенно важной задачей является задача технического
нормирования рабочего времени. В серийном производстве определяется норма
штучно-калькуляционного времени:
Рассчитаем норму штучно- калькуляционного времени для операции
фрезерования плоскости 205*120мм и высотой 30 мм торцевой фрезой 2210-0073 ГОСТ
9304-69. Масса детали 10,2 кг, производство мелкосерийное. Деталь
устанавливается в лекальные тиски. Основное время 1,064 мин.
Найдем по формуле [8]:
(3.21)
Где Тп.з - подготовительно-заключительное время, мин;
n -
количество деталей в настроечной партии, шт;
То - основное время, берется из п. 3.1.5;
Тус - время на установку и снятие детали;
Тзо - время на за крепление и открепление детали;
Туп - время на приемы управления;
κ - поправочный коэффициент на
вспомогательное время (для среднесерийного производства К=1,85);
Тоб.от - общее время на обслуживание и отдых, мин;
Тиз - время на измерения, мин.
Определим состав подготовительно-заключительного времени:
Расчет Тш-к ведем по формуле для мелкосерийного производства.
Определяем состав подготовительно-заключительного времени: установка
тисков с креплением четырьмя болтами - 14 мин; установка фрезы - 2мин;
получение инструмента и приспособлений до начала работы и сдачи их после
завершения работы- 7мин:
Тп.з=14+2+7=23мин.
Тус+Тзо=0,132 мин.
Время на приемы управления включить и выключить станок кнопкой - 0,01
мин; подвести деталь к фрезе в продольном направлении - 0,03 мин; переместить
стол в обратном (продольном) направлении на 240 мм 0,06 мин; тогда
Туп= 0,01+0,03+0,06=0,1 мин.
Время, затраченное на измерение детали, равно 0,16 мин; при 20%
контролируемых деталей, получим
Тиз=0,16·20/100=0,032 мин.
Поправочный коэффициент на вспомогательное время при мелкосерийном
производстве κ=1,85.
Вспомогательное время:
Тв=(0,132+0,1+0,032)1,85=0,488 мин.
Оперативное время:
Топ=1,604+0,488=1,552 мин.
Время на обслуживание рабочего места и отдыха составляет 6% оперативного
времени, тогда
Тоб.от = (1,552·6)/100=0,093 мин.
Штучно-калькуляционное время
Тш-к=23/(2000+1,064+(0,132+0,1+0,032)1,85+0,093)=1,657 мин.
Техническая норма времени на выполнение фрезерной операции составляет
1,657 минуты.
3.2 Разработка программы для
обработки детали на станке с ЧПУ
Для того чтобы разработать программу ЧПУ на вертикально-сверлильном
станке 2Р135Ф2 представим маршрут обработки детали плита (для 1 установа).
установ
Т1 - Центровать отверстие Ø14h14;
Т2 - Сверлить отверстие Ø14h14;
Т3 - Развернуть отверстие под коническую резьбу К3/8";
Т4 - Нарезать коническую дюймовую резьбу.
Станок работает в абсолютной системе координат.
Занесем данные в таблицу 3.8.
Таблица 3.8 - Технологические данные
|
№ п/п
|
V
|
n
|
S
|
F
|
|
1
|
25
|
800
|
0,02
|
100
|
|
2
|
40
|
800
|
0,08
|
100
|
|
3
|
30
|
800
|
0,1
|
100
|
|
4
|
3
|
100
|
-
|
-
|
Обозначение функций
G81 -
рабочий ход, быстрый отвод (сверление, центрование);
G84 -
рабочий ход, отвод (нарезание резьбы метчиком);
М03 - включение шпинделя;
М05 - остановка шпинделя (торможением);
М08 - включение охлаждения;
М09 - отключение охлаждения;
L01,L02,L03 - коррекция.
Текст управляющей программы для сверлильной операции
%
№001 Т01 S800 M03 F100 X+000000
Y+000000 Z+000000
№002 X+001500 Y+06000 L01 M08
№003 G81 R+010000 Z +11000
№004 M09
№005 M05
№006 T02 S800 M03 F100
№007 X+001500 Y+06000 L02 M08
№008 G81 R+010000 Z +16500
№009 М09
№010 М05
№011 Т03 S800 M03 F100
№012 X+001500 Y+06000 L03 M08
№013 G81 R+010000 Z+15000
№014 M09
№015 M05
№016 T04 S100 M03
№017 X+001500 Y+06000 L04 M08
№018 G84 R+010000 Z+15000
№019 М09
№020 М05
№021 М02
ЗАКЛЮЧЕНИЕ
В результате выполнения выпускной квалификационной работы была
спроектирована и разработана машина для нанесения логотипа для металлической
тары. Этапы разработки включили в себя следующее:
В п.1 проведен литературный обзор производства металлической тары ,
приведены технические характеристики, маршрут производства и приведены методы
нанесения логотипа, на основе которых выбран трафаретный способ.
В конструкторской части п.2, разработали пневматическую схему машины,
выбрали необходимые аппараты и трубопроводы. Разработаны узлы, которые
необходимы для разрабатываемой машины. Выполненные конструкторские расчеты
подтверждают соответствие важных узлов и деталей задаваемой нагрузке.
В технологической части п.3, проекта разработал технологию изготовления
детали «плита пневмоблока управления», разработал маршрут обработки, выбрал
соответствующее оборудование, назначил режимы резания. Рассчитал время
обработки. Разработал технологию сборки привода каретки и ее подробную схему.
СПИСОК ИСПОЛЬЗОВАННЫХ ИСТОЧНИКОВ
1.Справочник «РусПрофайл» [Электронный ресурс]:
информационный справочник. Режим доступа: http://www.rusprofile.ru/.
. Компания «Форси» [Электронный ресурс]: офиц. сайт. - Режим
доступа: http://www.4-see.ru/texts/stflash/print_logo/.
. Бавельский, М.Д. Справочник по пневмоприводу и
пневмоавтоматике деревообрабатывающего оборудования / М. Д. Бавельский, С. И.
Девятов. -2-е изд. перераб. и доп.-М.: Лесн. пром-сть, 1983.- 168 с.
. Каталог « Элементы и устройства пневмоавтоматики высокого
давления». Е. А. Гарулин, Ж.М. Кривко, А.Ф. Караго, А.П. Пятидверный, Н.Д.
Шабалтас, А.В. Никитинский, Л.Д. Водопьян, А.И. Кудрявцев, И.Н. Оленин, В.А.
Плюснин, А.П. Хлуденев.: Москва 1986.-161 с.
. Колпаков, В.Н. Гидропривод станочного оборудования: учебное
пособие/В.Н. Колпаков. - Вологда: ВоГТУ, 2008.- 135 с.
. Орлов, П.И. Основы конструирования: справочно- методическое
пособие: в 3-х кн. Кн.2 / П. И. Орлов. - Изд. 2-е, перераб. и доп. - М.:
Машиностроение, 1977.-567с.
. Заплетохин, В.А. Конструирование деталей механических
устройств: справочник / В. А. Заплетохин. - Л.: Машиностроение. Ленинградское
отделение, 1990.- 669 с.
. Горбацевич, А.В. Курсовое проектирование по технологии машиностроения
/ А. В. Горбацевич.- Минск: Высшая школа, 1983.-256 с.
. Анурьев, В.И. Справочник конструктора- машиностроителя / В.
И. Анурьев.-М.: Машиностроение, 1980.-Т.1. - 728 с.
.Анурьев, В.И. Справочник конструктора- машиностроителя / В.
И. Анурьев.-М.: Машиностроение, 1980.-Т.2. - 559 с.
. Ковшов, А.Н. Технология машиностроения: Учебник для
студентов машиностроительных специальностей вузов / Ковшов А.Н. - М.:
Машиностроение, 1987. - 320 с.: ил.
. Общемашиностроительные нормативы режимов резания для технического
нормирования работ на металлорежущих станках.- М.: Машиностроение, 1987.-416 с.
. Родин, П.П. Металлорежущие инструменты: учебник для вузов /
П. П. Родин.- 3-е изд., перераб. и доп. -М.: Высшая школа, 1986.- 455 с.
. Ансеров, М.А. Приспособления для металлорежущих станков /
Ансеров М. - М.: 1960. - 620 с.
. ООО «Компания «РуСтан» [Электронный ресурс]: офиц. сайт. -
Режим доступа: http://www.rustan.ru.
. Транспортно экспедиционная компания [Электронный ресурс]:
офиц. сайт. - Режим доступа: http://www.incom-cargo@inbox.ru.
. Экономика машиностроительного производства: Учебник для
машиностроительных вузов/ Ю.А. Абрамов, И.Э. Берзинь, Н.Н. Эастрожнова и др.
под ред. И.Э. Берзиня, В.П. Калинина. - М.: Высш. шк., 1988. - 304 с.
. Справочник «Индустрия бизнеса» [Электронный ресурс]:
рекламно-информационный справочник. Режим доступа: http://www.biznesurfo.ru.
. ООО ТД «Промсмазки» [Электронный ресурс]: Компания
«Промсмазки» 2009г. Режим доступа: http://www.rd@promsmazki.ru.
. Компания «Инструмент Импекс» [Электронный ресурс]: офиц.
сайт. - Режим доступа: http://www.rustools.ru/rekviz.
. ОАО «Вологодская сбытовая компания» [Электронный ресурс]:
офиц. сайт. - Режим доступа: http://www.vscenergo.ru/.
. Веретенникова, И.И. Амортизация и амортизационная политика
/ И. И. Веретенников.- М.: Финансы и статистика, 2004.- 192 с.
. Федеральная налоговая служба [Электронный ресурс]: офиц.
сайт. - Режим доступа: http://www.nalog.ru.
. Компания ООО «Промпортал» [Электронный ресурс]: Компания
«промпортал» 2001-2013г., офиц. сайт. - Режим доступа:
http://www.promportal.ru.
. Промышленные и оптовые товары [Электронный ресурс]: офиц.
сайт. Режим доступа: http://www.vologda.tiu.ru/.
. Безопасность жизнедеятельности / под ред. С.В. Белова, -
5-е изд., испр и доп. - М.: Высш. шк., 2006. - 423 с.: ил.
. Зотов, Б.И. Безопасность жизнедеятельности на производстве:
учебник для вузов / Б. И. Зотов. - М.: Колос, 2000. - 423 с.
. Инженерные расчеты систем безопасности труда и промышленной
экологии / под ред. А.Ф. Борисова. -М.: Вента-2, 2000.-256 с.
. Кукин, П.П. Безопасность технологических процессов и
производств. Охрана труда / П. П. Кукин, В. Л. Лапин. - М.: Высшая школа,
1999.-386 с.
. Экология и безопасность жизнедеятельности: учеб, пособие
для вузов / под ред. Л.А. Муравья. - М: ЮНИТИ-ДАНА, 2000. - 447 с.