Средства и способы взрывания

  • Вид работы:
    Контрольная работа
  • Предмет:
    Военная кафедра
  • Язык:
    Русский
    ,
    Формат файла:
    MS Word
    1,59 Мб
  • Опубликовано:
    2017-01-23
Вы можете узнать стоимость помощи в написании студенческой работы.
Помощь в написании работы, которую точно примут!

Средства и способы взрывания













Контрольная работа

Средства и способы взрывания

Содержание

Средства и способы взрывания

1. Инициирующие взрывные вещества

2. Огневой способ инициирования зарядов

3. Электроогневой способ

4. Электрический способ

5. Взрывание с помощью детонирующего шнура (ДШ)

6. Система "Нонель"

Литература

Средства и способы взрывания


Совокупность средств взрывания и приемов, обеспечивающих инициирование зарядов в заданный момент времени и в заданной последовательности, называется способом взрывания.

Средства взрывания - это совокупность принадлежностей для инициирования зарядов.

В зависимости от используемых средств различают следующие способы взрывания: огневой, электрический, электроогневой и с помощью детонирующего шнура.

 

1. Инициирующие взрывные вещества


Инициирующие ВВ (ИВВ) предназначаются для возбуждения детонации промышленных ВВ. Основные их свойствами являются способность детонировать от простого начального импульса (луч огня, удар, трение и др.). ИВВ имеют малый период детонации скорости взрывчатого превращения до скорости детонации. Причем разгон реакции происходит при высоких плотностях ВВ и малых величинах заряда.

По сравнению с другими ВВ инициирующие ВВ весьма чувствительны к внешним воздействиям и имеют малую теплоту взрыва, что делает их непригодными к самостоятельному использованию.

Характерные ИВВ - гремучая ртуть, азид свинца и тенерес.

Гремучая ртуть - кристаллический порошок серого цвета. Плотность при прессовании до 4 г/см3. Не растворяется в воде и не гигроскопична. При увлажнении теряет взрывчатые свойства: при 10% -ной влажности горит без взрыва, при 30% -ной не горит.

Увлажненная гремучая ртуть реагирует с металлами. При взаимодействии с медью образуются взрывчатые соединения - фульминаты меди; при взаимодействии с алюминием образуются невзрывчатые соединения пористой структуры.

Температура вспышки 170-180°С. Гремучая ртуть токсична и вызывает раздражение слизистой оболочки или увлажненной кожи.

Азид свинца - мелкокристаллический порошок белого цвета. Плотность при прессовании до 3,5 г/см3. Не растворяется в воде и не гигроскопичен. Детонирует даже во влажном состоянии.

С алюминием не взаимодействует; с медью в увлажненном состоянии образует весьма опасные взрывчатые соединения окисной и закисной меди, поэтому его не снаряжают в медные оболочки.

Температура вспышки азида свинца 310-324°С. Азид токсичен.

Тенерес - мелкокристаллический порошок желтого цвета. Плотность при прессовании до 2,9 г/см3. Чувствительность тенереса к удару ниже, чем у азида свинца, к нагреву выше, поэтому в детонаторах их обычно используют в паре.

Тенерес не растворим в воде, не реагирует с металлами. Температура вспышки 275°С.

Все ИВВ используют для снаряжения средств взрывания и перевозятся только в изделиях.

 

2. Огневой способ инициирования зарядов


Огневой способ инициирования зарядов осуществляется капсюлем-детонатором (КД), который получает импульс от горящего огнепроводного шнура (ОШ). Он применяется на открытых работах и при проходке горных выработок. Запрещается взрывание этим способом в условиях, опасных по газу и пыли, в выработках с углом наклона более 30° и в тех случаях, когда своевременный отход взрывника затруднен.

Средства взрывания: КД, ОШ и средств зажигания ОШ.

взрыв детонирующий шнур заряд

КД представляет собой комбинированный заряд из инициирующего и бризантного ВВ, запрессованного в цилиндрическую гильзу (рис.1). Выпускается детонаторы гремуче-ртутно-тетриловые, которые содержат 0,5 г гремучей ртути и 1 г тетрила. В качестве бризантного ВВ в детонаторах используют также тэн или гексоген (1 г).

Рис. 1. Капсюль-детонатор. 1 - гильза; 2 - чашечка; 3 - первичное ВВ; 4 - вторичное ВВ; 5 - кумулятивная выемка.

Для работ в высокотемпературных скважинах выпускаются термостойкие детонаторы ТКД-2 (гексоген), ТКД-200 и ТКД-250 (октоген) с порогом термостойкости 165-250°С.

Гильзы детонаторов изготавливает из меди, стала, бумаги и др.

ОШ - это шнур с сердцевиной из дымного пороха с направляющими нитями. Сердцевина заключена в хлопчатобумажные оплетки (рис.2). Выпускаются ОШ для различных условий: ОША - асфальтированных (для сухих и влажных условий), ОШДА - двойной асфальтированный, ОШП - пластиковый (для сухих и обводненных условий).

Рис. 2. Огнепроводный шнур: 1-6 - оплетки; 7 - пороховая сердцевина; 8 - направляющие нити.

ОШ зажигают спичкой, тлеющим фитилем (скорость горения 0,4-1,0 см/мин), с помощью отрезка ОШ (с надрезами через 2-5 см) и зажигательных патронов. Зажигательный патрон - это бумажный стаканчик, на дно которого помещен воспламенительный состав. При зажигании патрона отрезком ОШ воспламеняется пучок отрезков ОШ (7-37 штук), введенных в патрон.

Порядок работ при огневом взрывании.

. Изготовление зажигательной и контрольной трубок (отрезков). Зажигательная трубка представляет собой детонатор, в дульце которого закреплен отрезок ОШ необходимой длины. Предназначается она для инициирования заряда. Контрольная трубка служит для контроля времени при зажигании более 5 зажигательных трубок на открытых работах и в горных выработках. Конструктивно контрольная трубка аналогична зажигательной, но во всех случаях разница в длинах отрезков ОШ зажигательной и контрольной трубок (или их отрезков) должна быть не менее 60 см.

. Изготовление патрона-боевика.

. Заряжание и забойка.

. Зажигание отрезков ОШ. На поверхности количество зажиганий на одного взрывника определяется временем горения контрольной трубки. В горных выработках на одного взрывника приходится не более 16 отрезков или 10 зажигательных патронов. При смешанном зажигании общее количество зажиганий не более 16, из них патронов не более 6.

. Осмотр места взрывания после взрыва. При отсутствии отказа осмотр можно проводить: на открытых работах через 5 мин, в горных выработках через 15 мин с момента последнего взрыва. В случае отказа осмотр места взрыва разрешается не ранее чем через 15 мин.

Достоинства способа: простота исполнения и низкая стоимость. Недостатки: повышенная опасность работ (при зажигании отрезков ОШ взрывная находится вблизи зарядов), отсутствие средств контроля, увеличение выхода ядовитых газов за счет сгорания ОШ.

3. Электроогневой способ


Суть способа заключается в инициировании заряда зажигательной трубкой, отрезок ОШ которой получает импульс от электровоспламенителя.

Средства взрывания: КД, ОШ, электрозажигательная трубка ЭЗТ-2 и средства зажигания ЭЗ-ОШ-Б и ЭЗП-Б.

Электрозажигательная трубка ЭЗТ-2 (рис. 3.) предназначается для работ в сухих местах. Она представляет собой трубку, к отрезку ОШ которой с помощью гильзы, присоединен электровоспламенитель.

Электрозажигатель огнепроводного шнура ЭЗ-ОШ-Б (рис.4) предназначается для зажигания одиночных отрезков ОШ и состоит из бумажной гильзы и электровоспламенителя.

Рис. 3. Электрозажигательная трубка ЭЗТ-2: 1 - отрезок огнепроводного шнура; 2 - гильза; 3 - электровоспламенитель.

Рис. 4. Электрозажигатель огнепроводного шнура ЭЗ-ОШ-Б: 1 - бумажная гильза; 2 - электровоспламенитель.

Электрозажигательные патроны ЭЗП-Б (Рис.5) предназначаются для одновременного зажигания пучка отрезков ОШ. ЭЗП-Б представляет собой бумажную гильзу, на дне которой размещена лепешка зажигательного состава с электровоспламенителем. В зависимости от диаметра гильзы (20-43 мм) в патрон можно одновременно ввести от 1-7 до 28-38 отрезков ОШ.

Рис.4. Электрозажигательный патрон ЭЗП-Б:

- провода; 2 - бумажная гильза; 3 - зажигательный состав; 4 - электровоспламенитель.

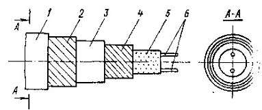
Рис.6. Детонирующий шнур.

-4 - оплетки, 5 - сердцевина из тэна, 6 - направляющие нити

 

4. Электрический способ


Инициирование заряда при этом способе взрывания осуществляется электродетонатором (ЭД), который получает импульс от электровоспламенителя (ЭВ).

Способ применяется на открытых и подземных горных работах, включая выработки, опасные по газу и пыли, при сейсморазведочных и прострелочно-взрывных работах в скважинах.

Средства взрывания: ЭД, провода, источника тока, контрольно-измерительная аппаратура.

ЭД - это капсюль-детонатор, в дульце которого жестко закреплен ЭВ. Электровоспламенитель состоит из мостика накаливания (нихромовой проволочки диаметром 0,03 мм, припаянной к концам детонаторных проводов) и нанесенного на мостик воспламенительного состава (рис.7, а).

Рис. 7. Электродетонаторы мгновенного (а) и коротко-замедленного (б) действия: 1 - гильза; 2 - вторичное ВВ; 3 - первичное ВВ; 4 - электровоспламенитель; 5 - пробка; 6 - детонаторные провода; 7 - воспламенительная головка; 8 - замедлитель

Основные параметры электродетронаторов: сопротивление ЭД - электросопротивление мостика и детонаторных проводов - 2,0 - 4,2 Ом; безопасный ток - максимальный ток, который, протекая без ограничения времени через ЭД, не вызывает его взрыва - 0,15-0,18 А; гарантийный ток - минимальный ток, который, проходя через последовательно включенные ЭД, вызывает взрыв - постоянный 1 А, переменный 2,5 А.

По времени срабатывания - время от момента включения тока до момента взрыва ЭД - различают ЭД мгновенного действия, короткозамедленного действия (ЭДКЗ) и замедленного действия (ЭДЗД). ЭДКЗ и ЭДЗД отличаются от обычных ЭД тем, что в них между ЭВ и зарядом ВВ размещен столбик замедлителя (рис.7, б). Время замедления определяется длиной столбика или его химическим составом.

Выпускаются следующие марки электродетонаторов: ЭД-8-Э, и ЭД-8-Ж, ЭДС (сейсмические), ТЭД-2, ТЭД-200 и ТЭД-270 с порогом термостойкости 165-270°С. ЭДКЗ-15 (6 серий) и ЭДКЗ-25 (8 серий) с интервалом замедления 15 и 25 мс. ЭДЗД с временем срабатывания: 0,5; 0,75; I; 1,5; 2; 4; 6; 8 и 10 с.

Термостойкие ЭД используются при прострелочно-взрывных работах в скважинах.

При монтаже электровзрывных сетей используют магистральные соединительные, участковые и концевые провода. Магистральные провода (марки СПП-1, ВМП и др.) служат для соединения источника тока со смонтированными в сеть ЭД; их сечение должно быть не менее 0.75 мм2. Сечение остальных проводов (марки ЭВ, ЭП, ЭВЖ, ЭПЖ и др.) - не менее 0.2 мм2. Электровзрывная сеть должна быть двухпроводной.

В качестве источников тока используются взрывные конденсаторные приборы (КВП-1/100М, ПИВ - 100М, СВМ-2 и др.), осветительные и силовые электросети, передвижные электростанции и батареи.

Особенностью сейсмического взрывного прибора СВМ-2 является возможность проведения взрыва синхронно с началом сейсмозаписи.

При взрывании от электрических сетей должны использоваться взрывные станции, представляющие собой комплект рубильников, сигнальных ламп и измерительных приборов.

Для контроля качества средств взрывания и монтажа электровзрывных сетей используют:

измерительный мост Р-353 - определение численных значений сопротивлений ЭД и сетей в диапазонах 0,2-500 и 20-5000 Ом;

омметр взрывных цепей ОВЦ-2 - определение сопротивлений в диапазонах 1-50 и 10-500 Ом;

омметр-классификатор ОКЭД-1 - определение сопротивлений ЭД в диапазоне 0,5-8,5 Ом;

пьезоэлектрический взрывной испытатель ВИО-3 - проверка токопроводимости ЭД и сети (сопротивление не более 100 Ом) по светосигнальному устройству.

Порядок работ при электрическом взрывании.

. Проверка ЭД на целостность мостика накаливания.

. Изготовление патрона-боевика.

. Заряжание и забойка. В шпурах и скважинах боевик располагают первым от устья.

. Монтаж электровзрывной сети. Монтаж проводится от заряда к месту расположения источника тока. В подземных выработках расстояние от забоя до источника тока должно быть не менее 75 м; в других случаях оно принимается в зависимости от метода взрывных работ.

. Измерение сопротивления или проверка токопроводимости сети. Разница в расчетном и измеренном сопротивлении не должна превышать 10%.

. Осмотр места взрыва. При отказе осмотр разрешается через 10 мин; при отсутствии отказа осмотр проводится после полного проветривания выработки или окончания подвижки пород на открытых работах, но не ранее чем через 5 мин.

Достоинства способа: неограниченная область применения, наличии приборов контроля, возможность взрывания в любой последовательности, повышенная безопасность.

Недостатки: сложность монтажа взрывных сетей, опасность преждевременных взрывов от блуждающих токов, токов утечки и др.

5. Взрывание с помощью детонирующего шнура (ДШ)


Суть способа заключается в инициировании заряда ДШ (у порошкообразных и прессованных ВВ) или ДШ в сочетании с дополнительным зарядом (у гранулированных ВВ). ДШ инициируют огневым или электрическим способом.

Способ применяется в горнорудной промышленности, при сейсморазведочных и прострелечно-взрывных работах.

Средства взрывания: ДШ, пиротехнические реле.

ДШ представляет собой сердцевину из бризантного ВВ, заключенную в нитяные оплетки с внешней водоизолирующей оплеткой красного цвета или любого цвета с двумя красными нитями (рис.10). Диаметр шнура 6-10 мм. Скорость детонации 6,5 км/с.

Выпускаются ДША (асфальтированный, тэн, 12-14 г/м), ДШВ (водоустойчивый, тэн, 14 г/м), ДШТ-165 и ДШТ-180 (термостойкие, гексоген,20 г/м).

Пиротехнические реле КЗДШ-69 используются для короткозамедленного взрывания. Реле представляет собой картонную трубку, в которой помещен КД и пиротехнический замедлитель. Время замедления 10, 20, 35 и 50 мс.

Порядок работ при взрывании с помощью ДШ.

. Нарезка отрезков ДШ.

. Изготовление боевиков. Для порошкообразных ВВ боевик - это заряд ВВ, в который введен отрезок ДШ; для гранулированных - набор шашек тротила или ТГ-50/50, обвитых концом отрезка ДШ. При глубине скважины 15 м и более ДШ дублируется.

. Монтаж взрывной сети. Отрезки ДШ соединяются внакладку на длине 10 см. Инициаторы (зажигательная трубка, ЭД, КЗДШ-69) Прикрепляются к шнуру внакладку.

. Взрывание.

Достоинства способа: простота работ, высокая степень безопасности, возможность применения в условиях блуждающих токов.

Недостатки: высокая стоимость и отсутствие средств контроля.

 

6. Система "Нонель"


Все современные неэлектрические системы инициирования полностью безопасны к различного рода электромагнитных наводкам и, при этом, позволяют создавать схемы взрывания зарядов с практически неограниченными возможностями управления процессами разрушения массивов горных пород.

Основным элементом системы "НОНЕЛЬ" является полый пластиковый шнур-волновод, внутренняя поверхность которого покрыта тонким слоем взрывчатой смеси. При инициировании воздушная ударная волна распространяется по каналу шнура со скоростью 2 км/с. Ударная волна передает энергию, которой достаточно для инициирования КД, закрепленного на одном из концов шнура-волновода (рис.8)

Шнур "НОНЕЛЬ", выполненный в виде пластиковой трубки (внешний диаметр 3 мм, внутренний - 1,5 мм), не имеет взрывчатых свойств, он не при каких условиях не возбуждает детонацию ни в одном из ВВ, которые используются на практике. Шнур не взрывается ни от удара, ни от воздействия огня. При передаче ударной волны шнур не разрушается, выполняя роль только лишь проводника сигнала.

Шнуры серии HD имеют повышенную прочность на разрыв, износостойкость и сохраняют свою работоспособность до температур +50°C.

КД "НОНЕЛЬ" представляет собой алюминиевую гильзу, в середине которой находится чувствительное к огню первичное инициирующее ВВ, вызывающее детонацию во вторичном бризантном ВВ.

Достоинства "НОНЕЛЬ":

- безразличие к действию блуждающих токов, электростатических зарядов и электромагнитных полей в диапазоне разных частот;

- повышение продуктивности вследствие ускорения подготовки взрыва;

- снижение стоимости взрывных работ;

- высокая надежность.

Недостатки "НОНЕЛЬ":

- невозможность проверки целостности взрывной сети;

- многоэлементность.

Неэлектрическая система "НОНЕЛЬ" предназначена для открытых и подземных взрывных работ, в том числе и в условиях шахт, опасных по взрыву газа или пыли.

Рис.8 Соединительный блок и последовательность его монтажа в системе "НОНЕЛЬ": а) - общий вид соединительного блока; б) - подключение шпуров-волноводов к соединительному блоку; в) - соединительный блок в сборе с четырьмя шнурами-волноводами; 1 - шнур-волновод; 2 - неэлектрический капсюль-детонатор; 3 - соединительный блок; 4 - заслонка; 5 - крышка; 6 - выводные шнуры для подключения к скважинным зарядам; 7 - внутрискважинный шнур "НОНЕЛЬ" для замедленного взрывания зарядов ВВ; 8 - скважина.

Литература


Основная

. Кутузов Б.Н. Разрушение горных пород взрывом. МГГУ, М., 2007

. Единые правила безопасности при взрывных работах (ПБ-13-407-01), Госгортехнадзор, Россия, 2002

Дополнительная:

. Кутузов Б.Н. Разрушение горных пород взрывом. Взрывные технологии в промышленности.М., МГГУ, 1994.

. Безопасность взрывных работ в промышленности. Под ред. Кутузова Б.Н., Недра, М., 1992.

. Макарьев В.П., Михайлов В.А. Проектирование взрывных работ в горной промышленности и строительстве.Л., ЛГИ, 1985.

Похожие работы на - Средства и способы взрывания

 

Не нашли материал для своей работы?
Поможем написать уникальную работу
Без плагиата!
Без нейросетей!