Разработка компрессионно–холодильного устройства для нормализации теплового состояния человека в процессе эксплуатации теплоэнергетических установок
ВВЕДЕНИЕ
На сегодняшний день теплоэнергетические
установки получили широкое распространение в различных отраслях деятельности
человека, в том числе и в промышленности. Здесь они применяются для придания
материалам или изделиям свойств, необходимых для их дальнейшей обработки, или
для выпуска окончательного продукта и представлены промышленными печами самых
разных видов: металлургические - доменные, мартеновские, сталеплавильные,
нагревательные прокатные; на машиностроительных предприятиях- литейные, нагревательные,
кузнечные, термические; печи для обжига керамических изделий и другие.
Технологические процессы, осуществляемые с
использованием такого оборудования, происходят в условиях достаточно высоких
температур, потому сопровождаются значительными выделениями тепла внутрь
производственных помещений (цехов), вследствие чего люди, работающие в этих
помещениях, находятся в условиях определенного микроклимата, оказывающего
влияние на тепловое состояние организма.
Микроклимат характеризуется действующим на человека
сочетанием температуры воздуха, температур поверхностей ограждающих конструкций
помещения (стены, потолок, пол) и технологического оборудования, относительной
влажности и скорости движения воздуха, а также интенсивности теплового
облучения.
Продолжительное пребывание в условиях высоких
температур воздуха способствует быстрой утомляемости работающего, ухудшает его
самочувствие, снижает работоспособность и производительность труда, а также
может стать причиной патологических изменений в организме и, как следствие,
привести к заболеваниям.
Для обеспечения благоприятных условий труда и
предотвращения возникновения профессиональных заболеваний разработаны и
утверждены нормативные документы, регламентирующие меры профилактики
неблагоприятного воздействия условий микроклимата на работающих. Положения,
закрепленные этими документами, являются обязательными для выполнения всеми
предприятиями и организациями и предусматривают соблюдение регламентируемых
значений параметров микроклимата, а также применение защитных мероприятий,
способных ослабить или компенсировать воздействие вредных производственных
факторов.
Но практическая реализация этих требований и мер
не всегда возможна по причинам, связанным с технологией производственного
процесса, либо из - за экономической нецелесообразности. Именно в таких случаях
будет уместно использование в рабочем процессе эффективных теплотехнических
разработок, направленных на быстрое восстановление теплового состояния
организма работников после нахождения под влиянием высоких температур.
Проводимые исследования являются на данный
момент актуальными еще и ввиду того, что 15 апреля 2014 года Постановлением
Правительства РФ № 294 была утверждена государственная программа «Развитие
здравоохранения», одной из основных целей которой является сохранение здоровья
населения, в том числе работающего. Программа определяет развитие
здравоохранения в России до 2020 года и реализуется в два этапа, одним из
которых является развитие инновационного потенциала в здравоохранении (2016 -
2020 годы).
Таким образом, разработка нового
теплотехнического устройства, позволяющего снижать температуру тела человека,
работающего в цехе с высокими выделениями тепловой энергии, является на данный
момент актуальной задачей.
Цель настоящей диссертации заключается в
исследовании механизмов реакции организма человека на повышение температуры
окружающей среды и эффективности регулирования температуры тела в условиях
повышенных температур воздуха с последующей разработкой теплотехнического
устройства для обеспечения нормализации теплового состояния организма в
условиях производственных помещений с выделениями тепла.
Для достижения поставленной цели необходимо
решить следующие задачи:
) проведение аналитического исследования
существующего на данный момент научного задела и уровня развития техники по
рассматриваемому вопросу;
) выбор оптимального варианта локализации
охлаждения организма человека, способа охлаждения, взаимодействия устройства с
человеком, а также конструкции устройства;
) определение технических характеристик
устройства, в т.ч. мощности охлаждающей камеры, диапазона температур и условий
разрежения;
) проведение экспериментальных исследований
теплопроведения от кисти руки человека к водной среде для различных групп
испытуемых с целью определения технических характеристик проектируемого
устройства;
) технико - экономическое обоснование проекта.
1. СОВРЕМЕННОЕ СОСТОЯНИЕ ИССЛЕДУЕМОЙ ПРОБЛЕМЫ
1.1 Постановка задачи
Первый раздел диссертации посвящен современному
состоянию исследуемой проблемы, а именно обзору и анализу способов обеспечения
нормального теплового состояния организма человека, находящегося в условиях
повышенных температур.
Выделено три направления исследования:
) нормативная база, регламентирующая
метеорологические условия производственной среды;
) результаты научных исследований механизмов
реакции организма человека на повышение температуры окружающей среды и
эффективности регулирования температуры тела в условиях повышенных температур
воздуха;
) обзор методов и устройств, позволяющих
регулировать температуру тела человека.
1.2 Нормативная база
Метеорологические условия производственной среды
(микроклимат), включающие в себя температуру, относительную влажность и
скорость движения воздуха, оказывают значительное влияние на функциональное
состояние различных систем организма человека, его самочувствие,
работоспособность и состояние здоровья в целом, поэтому для обеспечения
комфортных условий труда работников и предотвращения неблагоприятного влияния
микроклимата его показатели регламентируются нормативными документами, в
частности ГОСТ[1], СанПиН[2] и СП [3].
Эти документы содержат требования к микроклимату
и организации труда в производственных помещениях, а также меры профилактики
неблагоприятного воздействия условий производственной среды на работающих.
Согласно [1] и [2], показатели микроклимата
внутри производственных помещений подразделяются на оптимальные и допустимые.
Оптимальные условия микроклимата соответствуют
критериям оптимального теплового и функционального состояния человека. Они
обеспечивают тепловой комфорт в течение всей рабочей смены при минимальном
напряжении механизмов терморегуляции, не вызывают отклонений в состоянии
здоровья и позволяют поддерживать высокую работоспособность. Такие параметры
микроклимата на рабочих мечтах являются предпочтительными.
Допустимые условия микроклимата соответствуют
критериям допустимого теплового и функционального состояния человека во время
рабочей смены. Они не вызывают нарушений в состоянии здоровья, но могут стать
причиной ощущения теплового дискомфорта, напряжению механизмов терморегуляции,
ухудшению самочувствия и, как следствие, снижению работоспособности.
Допустимые значения показателей микроклимата
устанавливаются в тех случаях, когда по технологическим требованиям,
техническим и экономически обоснованным причинам не могут быть обеспечены
оптимальные значения.
Согласно документу [3], на производствах, где
присутствуют процессы, сопровождающиеся выработкой тепла или холода и
приводящие к ухудшению микроклиматических условий на рабочих местах, следует
предусматривать специальные помещения для кратковременного отдыха работающих с
целью нормализации их теплового состояния. Кроме того, в зависимости от
интенсивности теплового облучения и от условий труда, на рабочих местах или в
помещениях для отдыха следует предусматривать приспособления для охлаждения
(полудуши, кабины или поверхности радиационного охлаждения).
Еще одним документом, принятым на
государственном уровне и затрагивающим охрану здоровья работающего населения,
является Подпрограмма Б государственной программы [4]«Медико - санитарное
обеспечение отдельных категорий граждан». Среди задач, которые требуется решить
путем реализации этой подпрограммы, обозначены следующие:
) повышение эффективности мероприятий в области
профилактики профессиональных заболеваний и оказания специализированной
медицинской помощи больным с профессиональной патологией;
) разработка инновационных технологий в сфере
защиты отдельных категорий граждан от воздействия особо опасных факторов
физической, химической и биологической природы.
1.3 Научный задел
Все применявшиеся до настоящего времени способы
охлаждения организма человека (такие как холодная вода, пакеты со льдом,
вентиляторы и т.п.) заключались в охлаждающем воздействии снаружи.
Исследования, направленные на поиск эффективных
способов борьбы с гипертермией, показали, что традиционные способы охлаждения
для снижения температуры тела малоэффективны и оказывают непродолжительное
действие. Это можно объяснить тем, что воздействуют они на поверхность кожи, и
холод с трудом проникает внутрь организма через саму кожу, жировую прослойку и
мышцы, поскольку они являются очень эффективными теплоизоляционными
материалами. Для того, чтобы охлаждение было эффективным, внутренние органы и
интенсивно работающие мышцы должны охлаждаться изнутри.
На сегодняшний день одними из лидеров в области
исследований эффективности регулирования температуры тела человека в условиях
повышенных температур воздуха окружающей среды являются ученые - биологи
университета Стэнфорда Х. Крейг Хеллер (H. Craig Heller) и Деннис Грэн (Dennis
Grahn).Именно эти ученые, изучая особенности температурного режима тела
млекопитающих, обнаружили, что все млекопитающие имеют природные
терморегуляторы - участки тела, обладающие обширной сосудистой сетью, расположенной
близко к поверхности кожи. Сосудистые структуры, образующие эту сеть, не питают
кожу, а служат для рассеивания образующегося в организме избыточного тепла,
т.к. обладают переменным кровотоком, который реагирует на малейшие изменения
температуры тела, изменяясь от совсем незначительного в холодную погоду до 60%
всего сердечного выброса в жаркую погоду либо во время интенсивной физической
деятельности.
Теплообмен с окружающей средой практически
полностью происходит за счет этих областей. У большинства животных такими
участками являются подушечки лап, язык, а у некоторых видов - уши и хвосты. У
людей же эффективными механизмами для рассеивания тепла при повышении
температуры тела являются венозные сплетения, расположенные под кожным покровом
ладоней рук, подошв ног и некоторых участков лица.
Пропуск потоков крови в эти сплетения регулируют
сосудистые структуры, называемые артериовенозными анастомозами (далее - AVAs).
Сосудистые сплетения и AVAs
составляют единую сосудистую сеть, участвующую в теплообмене.
Более подробно устройство сосудистого
терморегулирующего механизма и его роль в процессе регулирования температуры
организма будут рассмотрены в следующем разделе.
Модели процессов терморегулирования организма
человека, созданные ранее, не учитывали этот механизм. Большинство таких
моделей вовсе не включали руки и ноги по причине того, что их было трудно
описать геометрически, и они имели небольшую площадь поверхности.
Открытие роли AVAs
в процессе рассеивания избыточного тепла тела объясняет, почему разработанные
ранее модели более точно описывали терморегуляцию в холодной среде, чем в
горячей. При моделировании реакции на холодную среду это оказывало не очень
значительное влияние, так как в этих условиях AVAs были бы открыты, и потери
тепла от рук и ног были бы минимальными, а вот при моделировании реакции на
жаркую среду это искажало описание реально происходящих процессов.
Включение в модели сосудистых терморегулирующих
структурпозволит сделать моделирование более точным и приближенным к реальным
процессам и использовать его результаты при разработке средств защиты от
теплового стресса.
Для более детального изучения открытого ими
явления и понимания механизма его влияния на регулирование температуры тела
человека Х. Крейг Хеллер и ДеннисГрэн разработали технологию, способную усилить
теплообменную способность этих структур. Новая технология предусматривает
совместное применение локального давления ниже атмосферного (35 - 45 мм рт.
ст.) для расширения просвета сосудов и увеличения объема крови и теплоотвода (18
- 22°С) чтобы извлечь тепло из циркулирующей крови.
Для экспериментальной проверки сделанного
открытия было создано устройство для извлечения тепла из организма человека,
работающее по вышеописанной технологии.
Используя созданное устройство, ученые провели
масштабные экспериментальные исследования, подробное описание которых приведено
в работах [5] и [6].
Краткое описание целей экспериментальных
исследований, результатов обработки и анализа полученных в их ходе данных
приведены в таблице 1.
Более подробно об этих экспериментах можно
прочитать в статье [6].
Таблица 1 -Некоторые экспериментальные
исследования Х. КрейгаХеллера и Д. Грэна
|
№
п/п
|
Цель
исследования
|
Графическое
представление результатов
|
Основные
выводы по результатам исследований
|
|
1
|
Количественная
оценка удельных потерь тепла от кожи гладких участков поверхности тела
(ладони и лицо) и участков, покрытых волосами (плечо, спина, бедро и живот)
|
Рисунок
Т1.1 - Данные о местных потерях тепла одного испытуемого Рисунок
Т1.2 - Усредненные данные о местных потерях тепла всех испытуемых Условные
обозначения: Т - бедро; LB - нижняя часть спины; UA - плечо; AB - живот; UB -
верхняя часть спины; F - лицо; Р - ладонь
|
По
рисунку Т1.1: 1) на начало эксперимента потери тепла от гладкой кожи лица и
ладони были в два - три раза выше, чем потери от участков кожи, покрытых
волосами; 2) во время выполнения физических упражнений в условиях повышенных
температур окружающей среды потери тепла от негладкой кожи существенно не
увеличивались, тогда как потери от гладкой кожи постоянно возрастали, и к
концу эксперимента были примерно в пять раз выше, чем теплопотери областей с
негладкой кожей. По рисунку Т1.2: 1) начальные значения потерь тепла для областей
гладкой кожи были более чем в два раза выше, чем для негладких участков кожи;
2) на большинстве участков негладкой кожи за время тренировки не наблюдается
значительного увеличения потерь тепла, тогда как в областях гладкой кожи
потери тепла увеличиваются более чем в два раза; 3) двумя негладкими зонами,
на которых наблюдается некоторое увеличение потерь тепла, являются верхняя
часть спины и бедро. Примечательно, что эти области находятся над мышцами,
активно участвующими в упражнениях.
|
|
2
|
Исследование
влияния применения к руке отрицательного давления во время передачи тепла
|
Рисунок
Т2 - Усредненные значения потерь тепла от ладони всех испытуемых Условные
обозначения: W / O - без применения вакуума; W - с применением вакуума
|
Применение
лёгкого вакуума увеличивает потерю тепла от кожи руки на 33%
|
|
3
|
Влияние
местного охлаждения на максимальную частоту сердечных сокращений во время
тренировки с фиксированной нагрузкой
|
Рисунок
Т3 - Усредненные частоты сердечных сокращений всех испытуемых Условные
обозначения: как на рис. Т1.2; WV - разряжение, приложенное к руке
одновременно с охлаждением
|
1.
Охлаждение (в том числе с применением вакуума) оказало значительное влияние
на максимальную частоту сердечных сокращений (далее - ЧСС). 2. Существенных
различий в ЧСС на конец тренировки между сеансами, в которых обрабатывались
различные области негладкой кожи, выявлено не было, также как и между
сериями, в которых обрабатывались различные участки гладкой кожи. 3.
Воздействие охлаждения различных участков кожи на сердечный ритм при
фиксированной нагрузке было выше для гладкой, чем для покрытой волосами кожи,
несмотря на то, что охлаждаемая площадь поверхности была значительно меньше.
|
|
4
|
Влияние
усиленной вакуумом теплоотдачи от ладони напроизводительность
(эффективность)во время теплового воздействия и физических нагрузок
(эксперимент в реальных условиях)
|
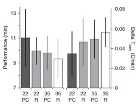
Рисунок
Т4 - Расстояние, пройденное за каждый цикл тренировки при разных условиях
эксперимента (полевые испытания) Условные обозначения: Та - температура
окружающей среды; 22РС - при Та = 22°C с охлаждением ладони; 22R - при Та =
22°C только отдых; 35РС - при Та = 35°C с охлаждением ладони; 35R - при Та =
35°C только отдых
|
1.
Расстояние, пройденное за каждый последующий цикл, уменьшалось при любых
условиях. 2. Расстояние, пройденное за первые циклы, в теплые дни было
меньше, чем в прохладные. 3. В сериях без охлаждения ладони быстрота
постепенного уменьшения пройденных расстояний с каждым последующим циклом
была выше, чем в прохладные дни или в жаркие дни с охлаждением ладони. 4. В
прохладные дни эффекта от охлаждения ладони не наблюдалось. 5. Эффект от
охлаждения ладони в жаркие дни заключался в замедлении постепенного падения
пройденного расстояния таким образом, что производительность была схожа с
производительностью в прохладные дни. 6. В результате применения охлаждения
ладони в жаркие дни расстояние, пройденное в последних трех циклах и общее
пройденное расстояние было значительно больше, чем без охлаждения.
Результатом периодического применения вакуумного охлаждения ладоней людей,
работающих в жаркой среде, стало снижение скорости повышения температуры ядра
и повышение производительности.
|
5 Влияние усиленной вакуумом
теплоотдачи от ладони на скорость повышения температуры тела и
производительность (эффективность)во время теплового воздействия и физических
нагрузок
Рисунок Т5.1 - Изменение температур
пищевода и барабанной перепонки одного испытуемого во время тренировочных
циклов с 5 - ти минутными перерывами при разных условиях эксперимента
(лабораторные испытания)
Условные обозначения:температура
пищевода;температура барабанной перепонки;
РС-отдых с охлаждением ладони;только
отдыхПо
рисунку Т5.1:
)в результате применения охлаждения
ладони наблюдается замедление скорости повышения температуры тела и более
низкая температура на конец тренировки.
|
|
|
|
|
Рисунок
Т5.2 - Усредненные значения производительности (суммарного времени
тренировки) и скорости изменения температуры барабанной перепонки при разных
условиях отдыха между циклами для всех испытуемых (лабораторные испытания)
Условные обозначения: Та - температура окружающей среды; 22РС - при Та = 22°C
с охлаждением ладони; 22R - при Та = 22°C только отдых; 35РС - при Та = 35°C
с охлаждением ладони; 35R - при Та = 35°C только отдых
|
По
рисунку Т5.2: 1)суммарная продолжительность упражнения при наилучших условиях
(прохладная среда с охлаждением ладони) превышает продолжительность
тренировки в наихудших условиях (жаркая среда без отвода тепла от ладони)
почти на треть. 2) два центральных столбца, представляющие испытания, в
которых имелся либо охлаждающий фактор окружающей среды, либо фактор
охлаждения ладони различаются несущественно. Производительность в этих двух
наборах испытаний была средней между двумя сериями испытаний в экстремальных условиях.
3) в условиях прохладной окружающей среды и охлаждения ладони скорость
повышения температуры тела была наименьшей, а в условиях теплой окружающей
среды без охлаждения ладони скорость роста температуры тела была наибольшей.
В прохладной среде без охлаждения ладони и в теплой среде с охлаждением
наблюдались промежуточные значения.
|
|
6
|
Реакция
организма испытуемых на охлаждение ладони
|
Рисунок
Т6 - Влияние
охлаждения ладони на температуру «ядра» в зависимости от влияния на
производительность
|
Некоторые
испытуемые сохраняли один и тот же уровень производительности, но испытывали
меньшую скорость повышения температуры «ядра». Другие же достигали прироста
производительности, но показывали одинаковую скорость повышения температуры
«ядра» в экспериментальных и контрольных условиях.
|
Таким образом, к настоящему времени по
исследуемому вопросу имеется научный задел, состоящий в следующем:
) понимание терморегулирующей роли, которую
играют определенные участки поверхности кожи, содержащие сосудистую сеть и AVAs,
позволит переформулировать модели терморегуляции человека, которые используются
при разработке и создании устройств для защиты от теплового стресса [6];
) в ходе обширных экспериментальных исследований
было осуществлено практическое применение технологии, усиливающей теплообмен
между голыми участками кожи и окружающей средой;
) на основе данных, полученных в процессеэтих
исследований, сделаны следующие выводы:
применение легкого вакуума совместно с
охлаждением способно усилить отвод тепла от ладони;
непрерывное охлаждение ладони во время
выполнения физических упражнений в жарких условиях способствовало замедлению
роста температуры «ядра» тела[5];
воздействие на ладонь охлаждения и вакуума
способно понизить частоту сердечных сокращений человека при физических
нагрузках в жарких условиях;
совместное применение охлаждения ладони и
давления ниже атмосферного способно повысить выносливость при выполнении
физических нагрузок в жаркой среде. Такое изменение характеризуется экспоненциальной
зависимостью. Семьдесят процентов экспериментальных данных можно описать
функцией вида у = 12,724е0,0372х, где у и х - продолжительность выполнения
упражнения с охлаждением ладони и без него соответственно[5];
эксперименты по охлаждению ладоней спортсменов,
участвующих в высокоинтенсивных тренировках, привели к наблюдению, что мышечная
усталость может быть в значительной степени вызвана повышением температуры
мышцы и работоспособность мышц значительно повышалась при охлаждении ладони
[6]. Этот факт объясняется тем, что фермент пируваткиназа, в котором нуждаются
мышцы для воспроизведения химической энергии, чрезвычайно чувствителен к
температуре и при нормальной температуре тела он активен, а при повышении
температуры начинает деформироваться в неактивную форму и при достижении
температуры в мышце 104°F (40°С), деятельность фермента полностью завершается.
При охлаждении мышечной клетки фермент возвращается в активное состояние.
Таким образом, технология, основанная на
усиленном вакуумом отводе тепла от организма через некоторые участки
поверхности кожи, является перспективной по нескольким причинам:
во-первых, она может стать основой для создания
эффективных средств для предотвращения и лечения теплового и холодового
стресса;
во - вторых, дает представление о влиянии
температуры на спортивные результаты человека и предлагает средства для
повышения результативности тренировок;
в - третьих, существует много потенциальных сфер
применения вакуумного ускоренного охлаждения в медицине, охране труда, а также
в спорте.
1.4 Уровень развития
техники по исследуемому вопросу
Для обзора существующих на данный момент методов
и устройств, предназначенных для регулирования температуры тела человека, было
выбрано два направления поиска:
) патентные документы;
) коммерчески реализуемые устройства.
1.4.1 Обзор патентных
документов
.4.1.1 Методы и
устройства для извлечения тепловой энергии из «ядра» тела млекопитающих (Патент
США №6656208)
В патентном документе [7] описывается способ,
позволяющий регулировать тепловое состояние тела млекопитающих, в том числе и
человека. Его практическое осуществление предполагает помещение части тела
млекопитающего (например, конечности или ее части) в герметичную камеру, где
она контактирует с низкотемпературной средой в условиях отрицательного давления
в течение периода времени, достаточного для достижения желаемого снижения
температуры тела.
Охлаждающей средой может быть твердый материал с
регулируемой температурой, жидкость или газ. Выбор зависит от конкретного
используемого на практике устройства.
Температура среды может варьироваться, ноне
настолько, чтобы вызвать местное сужение сосудов на охлаждаемой поверхности
млекопитающего. Диапазон возможного изменения температуры - от 0 до 35°С, но
наиболее оптимальная температура от 15 до 25°С. Процесс охлаждения обычно
длится не более 5 минут. Значения отрицательного давления находятся в границах
от -20 до -85 мм рт. ст, но обычно не превышают -50 … -60 мм рт. ст.
Помимо описания метода, в патенте [7] приводятся
примеры устройств, реализующих этот метод на практике. Одно из таких устройств
представлено на рисунке 1.
Рисунок 1 - Устройство для регулирования
температуры тела человека
Устройство 100 состоит из корпуса 102,
включающего камеру отрицательного давления 104 и теплообменник 106 и мягкого
уплотнения 108, поддерживаемого каркасными элементами 110. Корпус 102 может
быть представлен в единой конструкции либо состоять из отдельных деталей -
крышки 112, основания 114 и торцевой крышки 116, имеющей два порта 118. Первый
порт может использоваться для подключения к источнику вакуума, а второй - для
вакуумного манометра.
Предпочтительным материалом для изготовления
корпуса102является пластик.
Если используется разъемная конструкция, то
крышка112и основание114могут быть скреплены друг с другом при помощи болтовых
соединений120. В таком случае для герметизации периферии корпуса 102можно
использовать прокладку или уплотнение.
Камера отрицательного давления 104,находящаяся
между теплообменным элементом 106 и крышкой 112, выполнена таким образом, чтобы
соответствовать руке человека любого размера. Также возможно выполнение корпуса
такой формы, чтобы в него можно было поместить ногу человека.
Теплообменная поверхность 122, служащая для
передачи или приема тепловой нагрузки от пользователя, также является частью
камеры 104. Пользователь может контактировать с теплообменной поверхностью 122
непосредственно либо через перчатку или носок. Теплообменный элемент 106
изготавливается из алюминия или другого хорошо проводящего тепло материала. Для
обеспечения температурной разности он может контактировать с устройством
Пельтье, осушающим охлаждающим устройством либо с источником эндотермической
или экзотермической химической реакции.
Однако более предпочтительно, чтобы
теплообменник 106 контактировал с потоком перфузионной жидкости, находящейся
под поверхностью теплообмена 122 и поступающей через входное и уходящей через
выходноеотверстия124. Охлажденная или нагретая вода может использоваться для
поддержания контактной поверхности элемента при желаемой температуре.
Перфузионная жидкость проходит через серию поворотов в полости 126 между
теплообменным элементом 106 и основанием 114. Задняя часть корпуса 102 и теплообменного
элемента 106 может быть снабжена пластиной 128, содержащей входное и выходное
отверстия124 в полость для теплообмена 126 и отверстие 130 в камеру 104.
На рисунке не показаны устройства для контроля
температуры и перфузии, необходимые при обеспечении потока теплообменных сред с
регулируемой температурой, а также источник и регулятор вакуума.
Во время работы данное устройство способно
поддерживать давление в пределах 20… 25 дюймов водяного столба и температуру от
19 до 22°С при охлаждении тела и от 40 до 45°С при нагреве.
1.4.1.2 Контролируемая
передача тепла от тел млекопитающих (Патент США №7947068)
Патент [8]описывает способ и устройство для
управления и регулирования температуры тела млекопитающего, а также алгоритм
для создания программного обеспечения с целью реализации данного способа на
практике.
Представленная система способна выявить
состояние вазоконстрикции (сужения) или вазодилатации (расширения) кровеносных
сосудов определенной части тела и обеспечить подвод к ней тепла (при вазоконстрикции)
или его отвод (при вазодилатации).
Передача или отвод тепла осуществляется путем
контакта какой - либо части тела млекопитающего (обычно руки или ноги) с
проводником тепла. Скорость теплопередачи может быть увеличена за счет создания
отрицательного давления вокруг части тела для расширения просвета кровеносных
сосудов и увеличения проходящего по ним потока крови.
Примерная структура рассматриваемой системы
приведена на рисунке2.
Рисунок 2 - Примерная структура системы
управляемой передачи тепла через поверхность кожи млекопитающих
Основными составными частями являются: 4 -
контроллер (устройство управления) системы; 5 - вакуум - насос; 6 -
теплообменник; 7 - контроллер терморегулирующего сенсорного устройства
управления; 8 - терморегулирующее сенсорное устройство управления; 12 -
герметичные корпуса для рук, состоящие из самого корпуса 2 и проводника 1,
который, в свою очередь, служит для взаимодействия рук и ног человека 9 с
теплообменной средой для их нагрева или охлаждения; 13 - герметичный корпус для
ног; 3 - гидравлические и (или) электрические соединения; 10 - датчики
состояния кровотока; 11 - датчики температуры тела.
Основным управляющим устройством системы
является контроллер 4. Он обменивается сигналами со всеми основными
компонентами, обеспечивающими работу системы: теплообменником 6, источником
вакуума 5, контроллером терморегулирующего сенсорного устройства управления 7,
резервуаром для хранения теплоносителя (на рисунке не показан) и с каждым датчиком
из наборов 10 и 11.
Теплообменник 6, способный нагревать или
охлаждать теплообменную среду и источник давления 5, создающий разряжение в
герметичном корпусе 2 соединяются с проводником 1 и герметичным корпусом 2
соответственно через гидравлическое и (или) электрическое соединения 3,
проводящие теплоноситель и давление отдельно или в комбинации. В качестве
теплоносителя может использоваться жидкость (вода, масло и т.п.), либо газ или
воздух. Также возможен полупроводниковый или прямой электрический нагрев.
Контроллер терморегулирующего сенсорного
устройства управления 7 управляет терморегулирующим сенсорным устройством
управления 8.
Устройство управления 8 способно создавать,
например, легкую гипотермию для управления терморегуляционной реакцией млекопитающего
9 путем воздействия на чувствительные терморегуляционные механизмы мозга (или
тела). Соответствующие устройства управления 8 могут представлять из себя
приспособления для передачи температурных и влажностных раздражителей к частям
тела в следующих комбинациях: вся поверхность кожи; голова, плечи, грудь,
спина, туловище и руки; голова, плечи, грудь, спина и руки; голова, плечи,
грудь и спина; плечи, грудь, спина и руки; плечи, грудь, спина и туловище;
грудь, спина, туловище и ноги; туловище и ноги.
Группа датчиков 10, расположенных внутри или
связанных с проводником 1, путем обратной связи передают контроллеру
4характеристики, связанные с вазоконстрикцией или вазодилатацией, например, об
относительном состоянии кровотока, указывающем на вазоконстрикцию или
вазодилатацию части тела, помещенной в корпус 2.
Датчики температуры тела 11, расположенные на
поверхности или внутри тела млекопитающего 9, также путем обратной связи
обеспечивают контроллер системы 4 данными о температуре тела.
Взаимодействие между частью тела млекопитающего
9 и теплообменной средой для нагрева или охлаждения части тела обеспечивает
проводник 1, находящийся внутри корпуса 2.
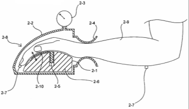
Пары герметичных корпусов для рук 12 (рисунок3а)
и для ног 13 (рисунок3б) выполняют одинаковые функции - обеспечивают физическую
поверхность теплообмена между ладонью руки 2 - 9 и проводником 2 - 1 и между
подошвой ноги 3 - 9 и проводником 3 - 1; обеспечивают требуемую температуру и
(или) влажность, воздействующие на руку 2 - 9 и ногу 3 - 9; позволяют осуществлять
мониторинг и (или) управление вазоконстрикцией или вазодилатацией при помощи
различных датчиков, связанных с контроллером системы.
а б
Рисунок 3 - Герметичные корпуса для рук и ног
Конструкции корпусов также аналогичны. Их
основными составными элементами служат: проводники2 - 1 и 3 - 1 соответственно,
которые являются теплообменной поверхностью и могут быть изготовлены из любого
материала, обладающего высокой теплопроводностью (например, металла: алюминия,
нержавеющей стали или титана),и имеют форму, обеспечивающую максимально
возможную площадь контакта между ладонью или подошвой и проводником;
уплотняющие манжеты 2 - 4 и 3 - 4; датчики давления 2 - 3 и 3 - 3, облегчающие
поддержание и контроль отрицательного давления внутри корпусов 2 - 8 и 3 - 8;
датчики теплового потока и температуры2 - 10 и 3 - 10, расположенные между
рукой 2 - 9 или ногой 3 - 9 и проводником 2 - 1 и 3 - 1 соответственно;
лазерные допплеровские датчики либо датчики поглощения потоком крови света 2 -
5 и 3 - 5, служащие для измерения кровотока в руке 2 - 9 и ноге 3 - 9 и
расположенные внутри проводников 2 - 1 и 3 - 1 соответственно или вблизи них;
датчики передачи тепловой энергии 2 - 6 и 3 - 6, расположенные внутри
проводников 2 - 1 и 3 - 1 для измерения передачи тепловой энергии между рукой 2
- 9 и проводником 2 - 1 и ногой 3 - 9 и проводником 3 - 1. Герметичные корпуса
для рук и ног 2 - 8 и 3 - 8 также могут содержать датчики температуры кожи,
служащие для измерения разности температур между участками руки и ноги 2 - 9 и
3 - 9 (например, изменение температуры от предплечья до кончиков пальцев (2 -
9) либо от голени до кончиков пальцев (3 - 9)), а также датчики биоимпеданса
(электрического сопротивления)2 - 7 и 3 - 7 для мониторинга кровотока в руке 2
- 9 и ноге 3 - 9 соответственно.
1.4.1.3 Устройство и
метод для извлечения тепла из ладони руки (Патент США № 8641745)
Патент [9] описывает устройство, позволяющее
отводить тепловую энергию от организма человека через его ладони (рисунок 4).
Рисунок 4 - Устройство для отвода тепловой
энергии через ладони
Данное изобретение ориентировано на ускорение
естественного отвода тепла во время и после физических упражнений. Оно
способствует охлаждению поверхности ладони, тем самым охлаждая кровь,
проходящую по сосудам ладони и повышая эффективность естественного процесса охлаждения
организма.
Устройство состоит из корпуса, внутри которого
находится хладагент и крепежных средств, фиксирующих его на ладони. Размеры
корпуса с содержащимся в нем хладагентом должны как можно точнее
соответствовать габаритам ладони для достижения максимально возможной площади
контакта устройства с ладонью как при открытой, так и при закрытой ладони.
Хладагентом может служить вещество, способное
сохранять холодную или прохладную температуру в течение длительного времени, а
также оставаться пластичным в замерзшем состоянии. Таковым является гель,
содержащий воду и натриевую соль сшитой полиакриловой кислоты.
1.4.1.4 Устройство для
обеспечения охлаждения тела человека (Патент США № 5766235)
Патент [10] описывает устройство для охлаждения
организма человека, предназначенное для ношения на запястье(рисунок 5).
Рисунок 5 - Устройство для охлаждения организма
человека для ношения на запястье
Изобретение представляет собой неглубокий отсек,
в который помещается охлаждающий блок. Верхняя створка отсека снабжена
крепежными элементами. К боковым сторонам отсека прикрепляются ремни для
фиксации устройcтвана руке
человека таким образом, чтобы нижняя панель отсекаконтактировала с внутренней
стороной запястья(рисунок 6).
Рисунок 6 - Способ фиксации устройства
Охлаждающим блоком может служить, например,
пакет с гелем, способным сохранять низкую температуру в течение достаточно
длительного периода времени после того, как он был охлажден или заморожен.
1.4.1.5 Охлаждающий
браслет (Патент США № 6772445)
Патент [11] описывает устройство для охлаждения,
выполненное в виде браслета(рисунок7).
Рисунок 7 - Устройство для охлаждения в виде
браслета
Данное изобретение представляет собой браслет с
емкостью для хладагента, выполненный из растяжимого материала. На наружной
стороне изделия расположен небольшой участок ленты типа «крючок - петля» для
крепления съемного часового механизма. Хладагентом может служить любая
замерзающая жидкость, например, вода. Во время замерзания и оттаивания внутри
емкости хладагент удерживает специальная заглушка.
После заморозки браслет будет сохранять холодную
температуру в течение нескольких часов, пока весь лед не растает, после чего
его потребуется повторно заморозить.
При использовании браслет должен располагаться
так, чтобы емкость с хладагентом контактировала с внутренней стороной запястья
пользователя у основания ладони. В этом положении использование браслета будет
иметь максимальную эффективность благодаря непосредственной близости к сосудам,
проходящим через запястье.
1.4.2 Анализ
результатов патентного поиска
В ходе патентного поиска было найдено пять
документов, посвященных методам и устройствам, способным снижать температуру
тела человека за счет охлаждения крови, циркулирующей в организме. Все
представленные устройства имеют разную конструкцию, но сходный принцип
действия.
Далее был проведен детальный анализ патентов[7]
- [11] по семи критериям, представленным в таблице 2, а также общий анализ
результатов патентного поиска, по итогам которого были сделаны следующие
выводы:
) все найденные документы зарегистрированы за
рубежом, а именно в США, что свидетельствует о слабом развитии исследований в
этом направлении в нашей стране;
) все рассмотренные объекты можно разделить на
две группы: комплексные системы, способные воздействовать на различные части
тела и оказывать не только охлаждающее, но и согревающее воздействие и
компактные устройства, закрепляемые на определенной части тела и способные
оказывать только охлаждающее воздействие.
Достоинства и недостатки представителей обеих
групп представлены в таблице 3.
Таблица2 - Сравнение методов и устройств для
регулирования температуры тела человека, описанных в патентных документах
|
Критерии
сравнения
|
Патент
США №6656208
|
Патент
США №7947068
|
Патент
США № 8641745
|
Патент
США № 5766235
|
Патент
США № 6772445
|
|
   
|
|
|
|
|
|
1.
Нагрев / охлаждение
|
+
/ +
|
+
/ +
|
-
/ +
|
-
/ +
|
-
/ +
|
|
2.
Наличие соединительных проводов / шлангов
|
+
|
+
|
-
|
-
|
-
|
|
3.
Необходимость замены теплообменной среды
|
зависит
от вида используемого теплоносителя
|
зависит
от вида используемого теплоносителя
|
+
|
+
|
+
|
|
4.
Портативность
|
-
|
-
|
+
|
+
|
+
|
|
5.
Автономность
|
не
оговаривается
|
не
оговаривается
|
+
|
+
|
+
|
|
6.
Воздействие на различные части тела человека
|
+
|
+
|
-
|
-
|
-
|
|
7.
Наличие датчиков и КИП
|
+
|
+
|
-
|
-
|
-
|
Таблица 3 - Анализ результатов патентного поиска
|
Группа
|
Достоинства
|
Недостатки
|
|
1.
Комплексные системы
|
1.
Более широкий функционал: способны не только понижать, но и повышать
температуру тела человека
|
1.
Сложность конструкции, затрудняющая практическую реализацию и эксплуатацию
|
|
2.
Возможно воздействие на различные части тела (обычно - ладони и подошвы)
|
2.
Наличие соединительных проводов и шлангов негативно сказывается на надёжности
и эргономичности
|
|
3.
Наличие датчиков и контрольно - измерительных приборов позволяет
контролировать параметры процесса охлаждения или нагрева и управлять ими
|
3.
Сложность конструкции и большое количество функциональных частей негативно
сказываются на портативности
|
|
2.
Портативные устройства
|
1.
Маленькие размеры и небольшой вес
|
1.
Предназначены для воздействия только на определенную часть тела
|
|
2.
Отсутствие потребности в источнике питания позволяет использовать их
автономно
|
2.
Длительность использования ограничена необходимостью замены либо повторной
заморозки хладагента через определенные промежутки времени
|
|
3.
Отсутствие соединительных проводов и шлангов
|
|
На основе данных, представленных в таблице 3,
можно сделать вывод о том, что обе группы устройств имеют свои достоинства и
недостатки.
1.4.3 Коммерчески
доступные устройства
На основе технологии, описанной в патенте [7],
создано устройство, способное снижать температуру тела человека путем
охлаждения крови, циркулирующей в его ладони.
Данное устройство, продаваемое под торговой
маркой CoreControlPro
(рисунок 8а - составные части изделия; 8б - изделие в сборе), состоит из трех
основных элементов: блока контроля температуры, охладителя, в который
заливается хладагент, пластикового корпуса, куда помещается рука, и
соединительного шланга длиной 0,9 м. В комплект также входят зарядное
устройство и сумка для переноски.
Хладагентом служит чистая вода, которую нужно
периодически заменять по мере ее нагревания.
Рисунок 8 - Устройство CoreControlPro
Более легким и, соответственно, мобильным
вариантом является RTX
(«RapidThermalExchange»
- «быстрый теплообмен») (рисунок9).
Рисунок 9 - Устройство RTX
Оба устройства служат для быстрого отвода
избыточного тепла от ладони человека за счет совместного воздействия
температуры и небольшого вакуума.
СoolWarePersonalCoolingSystem (Персональная
система охлаждения) (рисунок 10)представляет собой алюминиевый обруч,
крепящийся на шею и состоящий из двухскоростного вентилятора и резервуара с
холодной водой, которую нужно менять каждые 2 - 4 часа.
Рисунок 10 - Устройство СoolWare
(рисунок 11)- это браслет, ускоряющий
естественный механизм охлаждения организма путем отведения избыточного тепла из
крови, проходящей через запястье. Хладагентом в этом устройстве является вода,
которую нужно периодически заменять.
Рисунок 11 - Устройство dhamaSPORT
Характеристики коммерчески доступных устройств
для охлаждения организма человека приведены в таблице4.
Таблица4 - Характеристики коммерчески доступных
устройств
|
CoreControlPro
|
RTX
|
CoolWare
|
dhamaSPORT
|
|
Габаритные
размеры ДхШхВ, мм
|
305
х 203 х 330
|
330
х 152 х 152
|
-
|
-
|
|
Вес,
кг
|
≈
6,6
|
≈
2,5
|
≈
0,3
|
0,085
|
|
Стоимость,
USD
|
1
791,0
|
718,20
|
35,0
|
199,99
|
|
Время
работы батареи, ч
|
от
4 до 6
|
≈
2
|
≈
20
|
от
45 мин до 1,5
|
По итогам обзора и анализа коммерчески доступных
устройств, предназначенных для снижения температуры тела человека, можно
сделать следующие выводы:
) все представленные устройства производятся и
реализуются за рубежом;
) наряду с несомненными достоинствами, они
обладают также и некоторыми недостатками, например:
достоинством устройств CoreControlPro
и RTXявляется их
портативность, но в то же время на портативности отрицательно сказывается их
довольно большой вес - более 6 кг и 2 кг соответственно;
все представленные в обзоре устройства способны
функционировать в автономном режиме, поскольку не требуют стационарного
источника энергии, однако длительность их непрерывной работы ограничивается
необходимостью периодической замены охлаждающей воды, используемой в качестве
хладагента, и зарядки либо замены аккумуляторов.
Кроме того, следует обратить внимание на
достаточно высокую стоимость некоторых из них (CoreControlPro
- более 1,5 тыс. долларови RTX-
более 700 долларов) и элементы конструкции, отрицательно влияющие на надежность
и эргономичность устройства (в частности, соединительные шланги в комплектации CoreControlPrо).
.5Итоги исследования
Изучив современное состояние исследуемой
проблемы, можно сделать следующие выводы.
.Внастоящеевремяв нашей стране принята и
действует нормативная база, регламентирующая требования к параметрам
микроклимата, организации труда и мерам профилактики неблагоприятного
воздействия метеорологических условий производственных помещений на работающих
там людей.
Но предписываемые нормативными документами
требования удается соблюдать не всегда ввиду различных причин, в том числе
обусловленных технологией производственного процесса либо экономической
нецелесообразностью. В связи с этим особенно актуальными становятся
исследования, направленные на изучение механизмов реакции организма на
повышение температуры окружающей среды и, как следствие, температуры тела, а
также поиск способов регулирования температуры тела и нормализации теплового
состояния человека, находящегося в условиях повышенных температур.
.Однако анализ научных исследований, патентный
поиск и обзор коммерчески реализуемых устройств свидетельствуют о крайне слабом
развитии данного направления исследований в нашей стране, тогда как за рубежом
(в частности, в США) изучению и поиску решения проблем, связанных с гипертермией,
уделяется более пристальное внимание.
.Из основных результатов, достигнутых
зарубежными учеными, следует выделить следующие:
) открытие нового терморегулирующего механизма
млекопитающих и в том числе человека;
) разработка технологии, основывающейся на вновь
открытом механизме и позволяющей интенсифицировать теплообмен организма
человека с внешней средой;
) разработка и создание различных устройств,
работающих с использованием этой технологии и способных регулировать
температуру тела человека.
. Таким образом, для нашей страны подобные
направления исследований являются новыми и достаточно перспективными, а их
результаты могут быть востребованы не только в области промышленной
теплоэнергетики, но и в других сферах деятельности, связанных с нахождением
человека в условиях повышенных температур окружающей среды.
. ВЫБОР ЛОКАЛИЗАЦИИ ВОЗДЕЙСТВИЯ УСТРОЙСТВА НА
ОРГАНИЗМ, ЕГО ОПТИМАЛЬНОЙ КОНСТРУКЦИИ И СПОСОБА ВЗАИМОДЕЙСТВИЯ С ЧЕЛОВЕКОМ
2.1 Постановка задачи
Одним из путей нормализации теплового состояния
организма человека в момент нахождения его в условиях повышенных температур
окружающей среды может стать использование теплотехнического устройства,
способного снижать температуру тела, охлаждая организм изнутри.
Второй раздел диссертации посвящен выбору места
воздействия устройства на организм человека, обоснованию оптимальной
конструкции и способа взаимодействия с человеком.
2.2 Выбор локализации
воздействия устройства на организм
При выборе места (локализации) воздействия
устройства на организм было принято решение ориентироваться на биологические
механизмы функционирования организма человека с целью минимизировать
вмешательство в естественные процессы и одновременно по возможности максимально
их задействовать.
В основу принципа действия разрабатываемого
устройства была положена технология усиленного вакуумом отвода тепла от
организма человека, ориентированная на сосудистый терморегуляторный механизм.
Данный механизм появился у человека и высших
животных в процессе эволюции для поддержания температуры тела на постоянном
уровне независимо от температуры окружающей среды, так как нормальное
функционирование организма возможно лишь в узком диапазоне значений температуры
тела.
Как уже говорилось в предыдущем разделе,
сосудистый терморегуляторный механизм включает в себя густую сосудистую сеть,
расположенную близко к поверхности кожи, и специальные сосудистые структуры,
называемые артериовенозными анастомозами (AVAs),
которые представляют собой прямое соединение артерии и вены, способное
пропускать потоки крови из артерии в вену, минуя капиллярную сеть (рисунок 12).
Рисунок 12 - Артериовенозный анастомоз
Такой механизм позволяет регулировать
теплоотдачу от тела человека за счет изменения интенсивности кровотока в сосудах
кожи, поскольку ширина просвета AVAs
регулируется гладкой мышцей, и они способны минимизировать потерю тепла в
холодных условиях и максимизировать её в жаркой среде.В условиях холода
кровоток в микрососудах кожи резко снижен, кровь идет через анастомоз (рисунок
13а). При повышении температуры тела происходит перераспределение потоков
крови, и большие объемы горячей крови от головного мозга и интенсивно
работающих мышц направляются к наружным покровам тела для усиления теплоотдачи.
В результате кровоток в кожных сосудах усиливается, тем самым увеличивая
теплоотдачу (рисунок 13б).
Рисунок 13 - Механизмы теплоотдачи при различных
температурах внешней среды
Наиболее интенсивно теплоотдача от тела человека
происходит на участках поверхности кожи, не покрытых волосами - это ладони,
подошвы и некоторые участки лица. Это подтверждают результаты экспериментов,
проведенных Х. КрейгомХеллером и ДеннисомГрэном (п.1 таблицы 1).
Поэтому в качестве вариантов локализации
воздействия разрабатываемого устройства рассматривались именно ладони и
подошвы. Но так как эксплуатировать устройство планируется в производственных
условиях, для удобства рабочих было решено из всех возможных зон воздействия
устройства на человека (ладони, подошвы и лицо) выбрать ладонь, так как он
является наиболее удобным и практичным.
2.3 Выбор оптимальной
конструкции устройства
Основными критериями для выбора конструктивного
решения устройства стали:
) принцип действия, основанный на технологии
усиленного вакуумом теплообмена;
) компенсация недостатков рассмотренных ранее
устройств аналогичного назначения, выявленных по итогам проведенного в
предыдущем разделе обзора;
) условия, в которых планируется эксплуатировать
устройство - удобство при использовании в производственных помещениях;
) минимальное вмешательство в естественные
процессы функционирования организма человека;
) максимальное использование физиологических
процессов в работе устройства.
Таким образом, ставится задача по разработке
устройства, способного извлекать избыточное тепло из организма человека, и
бытькомпактным, простым в изготовлении, портативным, удобным в использовании,
простым в управлении, и в то же время недорогим.
Соответствие выбранного конструктивного решения
устройства заявленным критериям представлено в таблице 5.
Таблица 5 - Соответствие конструктивного решения
устройства заявленным критериям
|
№
п/п
|
Критерий
|
Конструктивное
решение
|
|
1
|
Соответствие
принципу действия
|
Наличие
двух основных функциональных систем: 1) система охлаждения; 2) система
создания и поддержания легкого вакуума внутри корпуса устройства
|
|
2
|
Компенсация
недостатков устройств - аналогов
|
1.
Отсутствие хладагента 2. Отсутствие соединительных проводов или шлангов 3.
Компактность (моноблочное исполнение) 4. Простота конструкции (всего три
функциональные системы: охлаждающая, вакуумная и управляющая)
|
|
3
|
Учет
предполагаемых условий эксплуатации
|
1.
Компактность 2. Моноблочное исполнение
|
|
4
|
Минимальное
вмешательство в функционирование организма
|
Диапазоны
температуры и разрежения, создаваемых внутри корпуса устройства, подобраны
таким образом, что они не причиняют вред организму человека, не нарушают
физиологические процессы и не вызывают дискомфортных ощущений
|
|
5
|
Максимальное
использование физиологических процессов
|
Принцип
действия устройства основан на сосудистом механизме терморегуляции,
заложенном в человеке природой
|
2.4 Способ
взаимодействия устройства с человеком
Способ взаимодействия устройства с человеком
заключается в следующем: человек помещает кисть руки внутрь корпуса, где ладонь
охлаждается и вследствие чего кровь, циркулирующая по кровеносным сосудам
ладони, также охлаждается и, возвращаясь к «ядру» тела, охлаждает организм
изнутри до комфортного состояния. Для предотвращения сужения просвета сосудов
под действием охлаждения внутри корпуса поддерживается небольшой вакуум.
Таким образом, функционирование устройства
основывается на естественных процессах, происходящих в организме человека, и
тем самым в процессе использования не нанесет ему вреда.
. ТЕХНИКО - ЭКОНОМИЧЕСКОЕ ОБОСНОВАНИЕ ПРОЕКТА
3.1 Постановка задачи
Реализация любого проекта подразумевает вложение
определенного объема различных ресурсов (интеллектуальных, финансовых,
материальных и человеческих) с целью получения планируемого результата и достижения
поставленных целей за определенный период времени. Финансовым итогом
осуществления проекта является получение прибыли, а материальным - создание
новых объектов или модернизация уже существующих.
Пятый раздел диссертации посвящен разработке
технико - экономического обоснования проекта и содержит решение ряда
взаимосвязанных задач:
) оценка затрат, необходимых для реализации
проекта;
)расчет ожидаемых финансовых результатов
проекта;
) расчет и анализ срока окупаемости проекта.
Таким образом, для оценки эффективности проекта
требуется определить общие затраты на производство и стоимость единицы
продукции, после чего провести расчет показателей операционной деятельности и,
наконец, оценить эффективность проекта и рассчитать срок его окупаемости.
3.2 Исходные данные для
расчета
В качестве исходных данных для расчета
экономических показателей проекта используем следующие:
) изготовление продукции будет осуществляться в
арендуемом помещении площадью 100м2;
) штат работников состоит из трех человек;
) планируемый объем производства - 20 единиц
продукции в месяц;
) объем инвестиций в проект - 1,3 млн рублей.
3.3 Расчет ежемесячных
затрат на производство
Первым этапом является определение ежемесячных
затрат на производство. Суммарные затраты складываются из множества элементов,
таких как оплата труда, амортизация, плата за аренду производственного
помещения и накладные расходы.
Накладные расходы представляют собой затраты на
управление, организацию и обслуживание производства (например, это могут быть
затраты на рекламу, содержание производственного помещения, расходы на услуги
связи и т.п.). Данные расходы закладываются в себестоимость товара, но не
прямо, а косвенно. Параметры, пропорционально которым будут распределяться
накладные расходы, определяются компанией самостоятельно. В нашем случае
затраты на накладные расходы приняты в размере 20% от стоимости материалов,
необходимых для изготовления единицы продукции. Стоимость материалов составила 13
200 рублей.
Расчет ежемесячных затрат приведен в таблице 11.
Таблица 11 - Расчет ежемесячных затрат на
производство
|
№
п/п
|
Элемент
затрат
|
Стоимость,
руб
|
|
1
|
Заработная
плата основного производственного персонала
|
45
000,0
|
|
2
|
Начисления
на ФОТ
|
13
590,0
|
|
3
|
Амортизация
оборудования
|
21
666,7
|
|
4
|
Арендная
плата за помещение
|
80
000,0
|
|
5
|
Накладные
расходы
|
2
640,0
|
|
Итого
ежемесячные расходы:
|
162
896,7
|
3.4 Расчет
цены устройства
Следующим этапом является расчет цены
устройства. При формировании цены учитывается себестоимость единицы продукции и
нормальная прибыль.
Себестоимость, в свою очередь, включает в себя
стоимость материалов и ежемесячные затраты на производство, взятые из расчета
на единицу продукции.
Расчет цены устройства представлен в таблице 12.
Таблица 12 - Расчет цены устройства
|
№
|
Статья
затрат
|
Стоимость,
руб
|
|
1
|
ФОТ
с начислениями
|
2
929,5
|
|
2
|
Материалы
|
13
200,0
|
|
3
|
Амортизация
|
1
083,3
|
|
4
|
Арендная
плата за помещение
|
4
000,0
|
|
5
|
Накладные
расходы
|
132,0
|
|
6
|
Итого
себестоимость единицы
|
21
344,8
|
|
7
|
Нормальная
прибыль
|
10
672,4
|
|
8
|
Итого
цена изделия за единицу:
|
32
017,3
|
3.5 Расчет показателей
операционной деятельности
Следующий этап заключается в расчете показателей
операционной деятельности при реализации проекта. Именно операционная
деятельность является основным компонентом деятельности предприятия и приносит
основной доход и основные потоки денежных средств.
Денежные потоки от операционной деятельности
учитывают все виды доходов и расходов, связанные с производством, на
определенном расчетном этапе, а также выплачиваемые с доходов налоги. Основными
доходами в нашем случае являются доходы от реализации продукции. Итогом расчета
является чистый поток от операций на каждом расчетном этапе.
Расчет показателей операционной деятельности
приведен в таблице 13.
3.6 Оценка
эффективности проекта
Основные показатели эффективности проекта
основываются на учете стоимости финансовых ресурсов во времени, которая
определяется с помощью дисконтирования - приведения стоимости разновременных
денежных потоков к их ценности на определенный момент времени, называемый
моментом приведения.
Для осуществления процесса дисконтирования
используется коэффициент дисконтирования, который определяется по формуле (8):
(8)
Где Е - ставка (норма) дисконтирования;
n - порядковый
номер периода дисконтирования.
Для оценки эффективности нашего проекта
используем следующие показатели:
) чистый дисконтированный доход;
) дисконтированный срок окупаемости проекта.
Расчет показателей эффективности проекта
приведен в таблице 14.
Поитогам анализа показателей эффективности,
полученных в результате расчета, можно сделать следующие выводы:
) чистый дисконтированный доход к концу
расчетного периода (на пятый год реализации проекта) составит 6,2 млн рублей;
) окупаемость проекта наступает уже на первом
году его реализации;
) дисконтированный период окупаемости проекта
составит 0,8 года.
.7 Результаты технико -
экономического обоснования проекта
В процессе разработки технико - экономического
обоснования проекта получены следующие результаты:
) ежемесячные затраты на производство составят
порядка 163 000 рублей;
) цена одного устройства - 32 000 рублей;
) чистый поток от операций в течение первого
года реализации проекта составит порядка 1,7 млн рублей, с учетом того, что в
течение первого года еще не будет достигнута полная производственная мощность.
Во втором и последующих годах чистый поток от операций составит порядка 2,2 млн
рублей;
) дисконтированный срок окупаемости проекта
составит 0,8 года, т.е. окупаемость наступает уже на первом году его
реализации. На основании этого можно сделать вывод о том, что проект относится
к категории быстроокупаемых, что делает его более привлекательным для
инвесторов.
Таблица 13 - Расчет показателей операционной
деятельности
|
№
|
Показатель
|
Значение,
руб
|
|
|
0
год
|
1
год
|
2
год
|
3
год
|
4
год
|
5
год
|
|
1
|
Объем
продаж
|
|
180
|
240
|
240
|
240
|
240
|
|
2
|
Выручка
|
|
5
763 105,0
|
7
684 140,0
|
7
684 140,0
|
7
684 140,0
|
7
684 140,0
|
|
3
|
Себестоимость
|
|
3
842 070,0
|
5
122 760,0
|
5
122 760,0
|
5
122 760,0
|
5
122 760,0
|
|
4
|
Прибыль
до вычета налогов
|
|
1
921 035,0
|
2
561 380,0
|
2
561 380,0
|
2
561 380,0
|
2
561 380,0
|
|
5
|
Налоги
|
|
461
048,4
|
614
731,2
|
614
731,2
|
614
731,2
|
614
731,2
|
|
6
|
Чистая
прибыль
|
|
1
459 986,6
|
1
946 648,8
|
1
946 648,8
|
1
946 648,8
|
1
946 648,8
|
|
7
|
Амортизация
|
|
260
000,0
|
260
000,0
|
260
000,0
|
260
000,0
|
260
000,0
|
|
8
|
Чистый
поток от операций
|
|
1
719 986,6
|
2
206 648,8
|
2
206 648,8
|
2
206 648,8
|
2
206 648,8
|
Таблица 14 - Расчет показателей эффективности
проекта
|
№
|
Показатель
|
Значение,
руб
|
|
|
0
год
|
1
год
|
2
год
|
3
год
|
4
год
|
5
год
|
|
1
|
Инвестиции
|
1
300 000,0
|
|
|
|
|
|
|
2
|
Чистый
поток от операций
|
0
|
1
719 986,6
|
2
206 648,8
|
2
206 648,8
|
2
206 648,8
|
2
206 648,8
|
|
3
|
Сальдо
суммарного потока
|
-1
300 000,0
|
1
719 986,6
|
2
206 648,8
|
2
206 648,8
|
2
206 648,8
|
2
206 648,8
|
|
4
|
Коэффициент
дисконтирования
|
1
|
0,8929
|
0,7972
|
0,7118
|
0,6355
|
0,5674
|
|
5
|
Дисконтированное
сальдо суммарного потока
|
-1
300 000,0
|
1
535 776,0
|
1
759 140,4
|
1
570 692,6
|
1
402 325,3
|
1
252 052,5
|
|
6
|
Чистый
дисконтированный доход
|
-1
300 000,0
|
235
776,0
|
1
994 916,5
|
3
565 609,1
|
4
967 934,4
|
6
219 986,9
|
. БЕЗОПАСНОСТЬ ЖИЗНЕДЕЯТЕЛЬНОСТИ В
ПРОИЗВОДСТВЕННЫХ ПОМЕЩЕНИЯХ С ВЫДЕЛЕНИЯМИ ТЕПЛА
Обеспечение безопасности жизнедеятельности на
производственных предприятиях связано, в первую очередь, с охраной труда.
Охрана труда представляет собой систему
мероприятий, направленных на сохранение жизни и здоровья работников в процессе
трудовой деятельности.
Одним из элементов системы охраны труда является
производственная санитария - комплекс организационных мероприятий и технических
средств, предотвращающих или уменьшающих воздействие на работающих вредных
производственных факторов.
Мероприятия, ориентированные на снижение
температуры тела, актуальны для представителей тех профессий, которые требуют
интенсивной физической работы в термически стрессовой среде. Отвод от тела
избыточного тепла способствует защите таких лиц от теплового стресса, а также
восстановлению измененных в процессе работы физиологических механизмов.
Одним из традиционных способов нормализации
теплового состояния организма работающих, предусмотренным, в частности, СП [3],
является применение гидропроцедур, например, полудушей. Согласно [13],к
устройствам полудушей предъявляются следующие требования: они должны
размещаться вблизи рабочих мест и ограждаться шторами из водонепроницаемых
материалов, к ним должен быть организован подвод теплой воды и отвод стоков в
канализацию. Количество полудушей определяется из расчета один полудуш на 15
человек.
Применение устройства для регулирования
температуры тела может служить альтернативой традиционным способам, так как
позволит достичь того же самого результата, однако оно не требует каких - либо
дополнительных затрат на организацию процесса нормализации теплового состояния
организма работающих - для его работы требуется только источник электрической
энергии.
Принцип действия устройства основан на
биологических механизмах функционирования организма человека - в частности, на
сосудистом терморегуляторном механизме, что позволило минимизировать
вмешательство в естественные процессы и одновременно по возможности максимально
их задействовать, поэтому при использовании устройство не способно нанести вред
здоровью человека.
Таким образом, применение устройства для
регулирования температуры тела человека может быть включено в комплекс мер по
охране труда на производствах со значительными тепловыделениями.
. ЭКОЛОГИЧЕСКИЕ АСПЕКТЫИССЛЕДОВАНИЯ
Экологическую составляющую представленного
проекта следует рассматривать спозиции одного из разделов экологии, а именно -
экологии человека.
Экология человека изучает закономерности
взаимодействия человека с окружающей его средой, воздействующей на него в форме
природных, социальных, производственных и некоторых других факторов, а также
проблемы сохранения и укрепления здоровья человека.
Данный проект затрагивает влияние на человека
производственных факторов, а именно микроклимата производственного помещения.
Как уже отмечалось ранее, производственные помещения с теплоэнергетическими
установками характеризуются рисками, связанными с повышенной температурой
воздуха в помещении и нагретыми поверхностями оборудования, что негативным
образом сказывается на тепловом состоянии организма человека.
Установлено, что комфортное самочувствие и
нормальное функционирование организма человека возможно лишь в узком диапазоне
температур - 36 - 38°С. Оптимальная температура тела составляет 37°С; верхняя
летальная температура - 43,4°С. При более высокой температуре начинается
внутриклеточная денатурация белка и необратимая гибель; нижняя летальная
температура - 24°С [14].
Снижение или повышение температуры тела хотя бы
на 1°С по сравнению с нормальной приводит к ухудшению состояния здоровья и
снижению работоспособности.
Под влиянием высокой температуры воздуха
производственного помещения у находящегося там человека расширяются кровеносные
сосуды кожи, увеличивается приток крови к поверхности тела, за счет чего отдача
тепла в окружающую среду становится значительно интенсивней. Если же
необходимого охлаждения не происходит, либо температура окружающей среды
продолжает повышаться, избыточная теплота отводится от тела путем испарения с
поверхности кожи. В результате этого процесса организм теряет влагу, а с ней и
соли, играющие важную роль в жизнедеятельности организма.
При недостаточном отводе избыточного тепла
возникают условия для сильного перегревания организма. При значительном
перегревании происходит сбой терморегуляции, нарушается тепловой баланс, в
результате чего повышается температура тела, достигая отметки 38°С и выше.
Такая гипертермия может привести к ухудшению общего самочувствия человека,
ослаблению когнитивных функций (памяти, внимания, координации движений, речи,
мышления), снижению работоспособности, ухудшению работы мышц, а также к
опасности возникновения теплового удара, способного привести к смерти.
Кроме острого перегревания организма, при
продолжительной работе в неблагоприятных температурных условиях в организме
происходят нарушения, носящие хронический характер.
В целях профилактики неблагоприятного
воздействия повышенных температур на человека будет уместно применение
специального устройства, которое позволит извлекать излишнее тепло из организма
и тем самым нормализовать его тепловое состояние.
Использование устройства позволит за короткое
время улучшить самочувствие человека и восстановить его работоспособность, а
также ослабить воздействие неблагоприятного микроклимата и сохранить здоровье
людей, работающих в условиях помещений с высокими выделениями тепла.
охлаждение тело локализация
производственный
ЗАКЛЮЧЕНИЕ
В настоящей диссертации рассмотрены вопросы,
связанные с разработкой компрессионно - холодильного устройства для
нормализации теплового состояния человека в процессе эксплуатации
теплоэнергетических установок.
Каждый раздел диссертационной работы посвящен
решению одной из задач, определенных в начале исследования.
В первой главе проведен обзор современного
состояния исследуемой проблемы, а именно: нормативных документов,
регламентирующих требования к микроклимату и организации труда в
производственных помещениях, обзор научных исследований, направленных на поиск
эффективных способов снижения температуры тела человека, а также обзор
патентных документов и коммерчески реализуемых технических устройств,
используемых для данной цели.
Более пристальное внимание уделено исследованиям
американских ученых Х. Крейга Хеллера и Денниса Грэна (Стэнфордский
университет, Калифорния), являющихся на данный момент одними из лидеров в
области исследования эффективности регулирования температуры тела человека в
условиях повышенных температур воздуха окружающей среды. В краткой форме описан
их вклад в изучение процессов терморегуляции организма человека, цели и
основные результаты их экспериментальных исследований, а также технология
усиленного вакуумом теплообмена, использованная ими в экспериментах.
По результатам обзора было проведено сравнение
методов и устройств, позволяющих снижать температуру тела человека, выявлены их
сильные и слабые стороны, достоинства и недостатки.
Вторая глава работы посвящена обоснованию выбора
локализации воздействия устройства на организм, его оптимальной конструкции и
способа взаимодействия с человеком.
Опираясь на биологические механизмы
функционирования организма человека и принцип действия разрабатываемого
устройства, в качестве места воздействия на организм была выбрана ладонь как
наиболее удобный и практичный вариант.
Итогом выбора оптимальной конструкции устройства
стало решение реализовать его в виде компактного прибора, включающего в свой
состав компоненты, позволяющие охлаждать поверхность ладони путем её
физического контакта с теплообменной поверхностью и создавать небольшое
разрежение внутри корпуса для расширения кровеносных сосудов и усиления
кровотока в ладони.
Способ взаимодействия устройства с человеком
заключается в следующем: человек помещает кисть руки внутрь корпуса, где ладонь
контактирует с теплообменной поверхностью, вследствие чего кровь, циркулирующая
по кровеносным сосудам ладони, охлаждается и, возвращаясь к «ядру» тела,
охлаждает организм изнутри до комфортного состояния. Для предотвращения сужения
просвета сосудов под действием охлаждения внутри корпуса вакуум - насосом
поддерживается небольшой вакуум.
В третьей главе приводится описание внешнего
вида устройства, более подробно рассмотрены его составные части, их
взаимодействие и роль в процессе работы. Проведен технический расчет и подбор
оборудования для системы охлаждения и компрессионного устройства для создания
разрежения в рабочей зоне.
В четвертой главе диссертационной работы описано
проведение экспериментальных исследований, целью которых было определение
необходимой холодопроизводительности устройства, а также установление
зависимости между физическими параметрами человека (его весом, ростом и объемом
кисти) и параметрами процесса теплопроведения от кисти руки к водной среде.
В результате обработки экспериментальных данных
был определен диапазон холодильной мощности, которую должно обеспечивать
устройство, а также получены экспериментальные зависимости между количеством
тепла, переданным от кисти руки человека к водной среде и антропометрическими
параметрами этого человека (его ростом, весом и объемом кисти).
В пятой главе представлено технико -
экономическое обоснование проекта.
Ежемесячные затраты на производство составят 163
000 рублей, а цена одного устройства - 32 000 рублей. Экономический эффект
выражен сроком окупаемости инвестиций в 0,8 года. Предполагаемый объем
инвестиций в проект составляет 1,3 млн. руб.
В шестой и седьмой главах рассмотрены вопросы
безопасности жизнедеятельности и экологическая составляющая проекта.
Научная новизна работы заключается в следующем:
) предложено конструктивное решение устройства,
отличающееся от известных аналогов тем, что оно имеет моноблочное исполнение и
не требует использования хладагента;
) в результате обработки данных, полученных в
ходе экспериментальных исследований, выведена формула, описывающая связь между
количеством тепла, переданного от кисти руки человека и его антропометрическими
параметрами (ростом, весом и объемом кисти).
Основные положения и отдельные вопросы работы
докладывались и обсуждались на вузовских, межрегиональных и международных
конференциях.
СПИСОК ИСПОЛЬЗОВАННЫХ ИСТОЧНИКОВ
1.
ГОСТ 12.1.005-88. Система стандартов безопасности труда. Общие санитарно -
гигиенические требования к воздуху рабочей зоны. - Введ. 01.01.1989. - Москва:
Стандартинформ, 2005. - 49 с.
.
СанПиН 2.2.4.548-96. Санитарные правила и нормы. Гигиенические требования к
микроклимату производственных помещений: утв. постановлением
Госкомсанэпиднадзора РФ 01.10.1996. - Введ. 01.10.1996.
.
СП 2.2.1.1312 - 03. Санитарно - эпидемиологические правила. Гигиенические
требования к проектированию вновь строящихся и реконструируемых промышленных
предприятий: утв. Гл. гос. санитар. врачом РФ 22.04.2003. - Введ. 25.06.2003. -
Москва: Минздрав России, 2003. - 40 с.
.
Об утверждении государственной программы Российской Федерации «Развитие
здравоохранения»: постановление Правительства РФ от 15.04.2014 №294 //
Российская газета. - 2014. - 24 апреля.
5.
Grahn, D.A. Heat extraction through the palm of one hand improves aerobic
exercise endurance in a hot environment / D.A. Grahn, V.H. Cao, H.C. Heller //
Journal of Applied Physiology. - 2005. - P. 972 - 978.
.
Heller, H.C. Enhancing Thermal Exchange in Humans and Practical Applications /
H.C. Heller, D.A. Grahn // Disruptive science and technology. - 2012. - №1. -
P. 11 - 19.
.
Pat. 6656208 United States, Int. Cl.7А61Н
33/00. Methods and devices for extracting thermal energy from the body core of
a mammal / Dennis A. Grahn (Stanford, CA, US), H. Craig Heller (Stanford, CA,
US); assignee The Board of Trustees of the Leland Stanford Junior University
(Palo Alto, CA, US). - Appl. No. 09/839,590; filed: Apr. 20, 2001; pub. Dec. 2,
2003.
.
Pat. 7947068 United States, Int. Cl.7А61F
7/00. Controlled heat transfer with mammalian bodies / Dennis A. Grahn (Palo
Alto, CA, US), H. Craig Heller (Stanford, CA, US); assignee The Board of
Trustees of the Leland Stanford Junior University (Palo Alto, CA, US). - Appl.
No. 11/486,429; filed: Jul. 12, 2006; pub. May 24, 2011.
.
Pat. 8641745 United States, Int. Cl.7А61F
7/02, А61F
7/10. Device and method for extracting heat from the palm of a hand / Brett W.
Warner (Austin, TX, US), Anna Ercius Warner (Austin, TX, US); assignee Cool
Palms LLC (Austin, TX, US). - Appl. No. 12/843,433; filed: Jul. 26, 2010; pub.
Feb. 4, 2014.
.
Pat. 5766235 United States, Int. Cl.7А61F
7/00. Apparatus for providing cooling to a human body / Thomas J. Kostopoulos
(Wellington, Chicago, US). - Appl. No. 799,309; filed: Feb. 18, 1997; pub. Jun.
16, 1998.
.
Pat. 6772445 United States, Int. Cl.7А41D
20/00. Cooling bracelet / Benjamin Yeager (Long Beach, CA, US). - Appl. No.
09/683,378; filed: Dec. 19, 2001; pub. Aug. 10, 2004.
.
Kryotherm [Электронный
ресурс]: программный комплекс / Компания «Криотерм». - Режим доступа:
http://kryothermtec.com/ru/kryotherm-software.html.
.
Справочник по охране труда / под ред. Л.П. Шарикова. - Ленинград: Судостроение,
1973. - 552 с.
.
Физиология. Основы и функциональные системы: Курс лекций / под ред. К.В.
Судакова. - Москва: Медицина, 2000. - 784 с.