|
Наименование
|
Масса детали,
кг
|
Масса отл., кг
|
Шт. на изделие
|
Масса на
изделие, кг
|
|
Матрица
|
12
|
18
|
1
|
18
|
|
Рамка
|
25
|
43
|
1
|
43
|
|
Пуансон
|
16
|
20
|
1
|
20
|
|
Кольцо
|
40
|
60
|
1
|
60
|
|
Фланец
|
35
|
60
|
1
|
60
|
|
Корпус
подшипника
|
42
|
75
|
1
|
75
|
|
Итого:
|
170
|
276
|
|
276
|
. Количество отливок для выполнения годовой программы:
(1.1.1)
где М - годовая мощность цеха, т;
- масса отливки, т;
ki
- количество отливок на изделие, шт.
. Количество отливок на изделие:
(1.1.2)
где
- брак механических цехов, 5% (от литья
на изделие));
αз/ч - литье на запчасти, 10% от литья на
изделие.
. Масса отливок на изделие:
(1.1.3)
. Количество отливок на запчасти:
(1.1.4)
. Масса отливок на запчасти:
(1.1.5)
. Количество отливок на брак механических цехов:
(1.1.6)
. Масса отливок на брак механических цехов:
(1.1.7)
Результаты расчета приведены в таблице 1.2
На основе данных производственной программы цеха составляется
баланс металла, который в свою очередь является производственной программой
плавильного отделения. Баланс металла по цеху рассчитывается по следующим
формулам:
. Масса литников по программе:
(1.1.8)
где
- вес отливки с литниковой системой, т.
. Масса отливок на технологически неизбежный брак:
(1.1.9)
где
- технологически неизбежный брак по
отливке, %
=8,5%
. Масса отливок на технологические потери:
(1.1.10)
где
- процент технологических потерь,
связанных с транспортировкой и разливкой металла, а также с переналадкой
оборудования
=2,5%
. Масса жидкого металла:
(1.1.11)
. Масса угоревшего металла:
(1.1.12)
где
- угар элементов шихты при плавке, %;
= 4 %.
. Металлозавалка:
(1.1.13)
Результаты расчета приведены в таблице 1.3
Для расчета производственной программы отделений цеха литья
по выплавляемым моделям определяется, какое количество изделий в пределах
технологического процесса должно быть изготовлено с учетом всех технологических
потерь. Для учета технологически неизбежного брака и потерь, вводятся
коэффициенты технологических потерь, которые рассчитываются по отделениям и
учитывают потери и брак не только по операциям в отделении, но и по всем
последующим операциям.
. Число модельных блоков на программу:
(1.1.14)
где
- число моделей в блоке.
. Масса модельного состава на одну модель:
(1.1.15)
где
- плотность модельного состава и
материала отливки, г/см3.
. Масса модельного состава на один блок:
(1.1.16)
где
- объем литниковой системы и модельного
стояка, дм3.
. Масса модельного состава на программу:
(1.1.17)
. Количество модельных блоков на программу с учетом потерь:
(1.1.18)
где R4 = 1,42 - коэффициент технологических
потерь на изготовление модельных блоков.
. Количество модельного состава на программу с учетом потерь:
(1.1.19)
. Количество оболочек на программу с учетом потерь:
(1.1.20)
где R3 = 1,2 - коэффициент
технологических потерь на изготовление форм.
. Количество суспензии на программу с учетом потерь:
(1.1.21)
где Vф - объем оболочковой формы, м3,Брсус
= 0,5% - потери при изготовлении суспензии.
. Количество блоков отливок на программу с учетом потерь:
(1.1.22)
где R2 = 0,6 - коэффициент
технологических потерь на изготовление блоков отливок.
. Количество отливок на программу с учетом потерь:
(1.1.23)
где R1 = 1,1 - коэффициент технологических
потерь на обрубке и отделке отливок.
. Масса отливок на программу с учетом потерь:
(1.1.24)
. Металлозавалка на программу с учетом потерь:
(1.1.25)
где αу,
тп - общий процент угара и технологических
потерь.
Результаты
расчета приведены в приложении А, в таблицах 1 и 2.
1.2 Структура
цеха. Транспортно-технологическая схема
Весь технологический процесс изготовления отливок, начиная от
получения моделей и заканчивая отгрузкой готовых отливок, осуществляется в
одном цехе.
Цех состоит из четырех основных производственных
подразделений:
. Модельное;
2. Отделение изготовления оболочковых форм;
. Плавильно-заливочное;
. Обрубное.
В состав помещений литейного цеха производства отливок литьем
по выплавляемым моделям входят: производственные, вспомогательные и складские
помещения.
Вспомогательное отделение состоит из участков подготовки
шихты, приготовления огнеупорной массы, удаления отходов, ремонтные службы
цехового механика и энергетика, трансформаторная и насосная станция,
вентиляционные и пылеочистные установки, пульты управления, инструментальная,
цеховая лаборатории.
Склады цеха литья по выплавляемым моделям: модельной массы,
пресс-форм, огнеупоров, цехового механика и энергетика, готовых отливок,
кладовые вспомогательных материалов.
1.3 Режим
работы и фонды времени
В проектируемом цехе литья по выплавляемым моделям
применяется параллельный режим работы цеха (все технологические операции по
изготовлению изделия идут параллельно друг другу). Номенклатура деталей указана
в таблице 1.1.
В соответствии с Трудовым Кодексом для трудящихся на
машиностроительных заводах, в том числе и для литейных цехов, установлена
продолжительность рабочей недели 40 часов, с продолжительностью смены 8 часов,
в предпраздничные дни - 7 часов.
При проектировании применяют три вида годовых фондов времени
работы оборудования и рабочих:
) календарный Фк = 365×24=8760 ч.
) номинальный Фн, являющийся временем (в
часах), в течение которого может выполняться работа по принятому режиму, без
учета неизбежных потерь;
) действительный Фд, определяемый путем
исключения из номинального фонда неизбежных потерь времени для нормально
организованного производства.
При 40-часовой рабочей неделе Фн составляет
3698 часа при работе в две смены, 5547 час при трех сменах.
Для определения Фд работы оборудования из Фн
условно исключают время пребывания оборудования в плановых ремонтах,
установленное нормами системы планово-предупредительных ремонтов. Простои
оборудования, вызванные недостатками в организации производства по внешним
причинам, при определении Фд не учитывают. Все проектные
работы ведут относительно Фд работы оборудования и рабочих.
Режим работы спроектированного цеха должен соответствовать
режиму работы предприятия. Данный цех спроектирован для работы в две и три
смены.
Результаты расчета фондов времени по проектируемому цеху
приведены в таблицах 9.1 и 9.2.
При расчете фонда рабочего времени одного работающего, помимо
трех вышеупомянутых фондов времени используют так называемый эффективный фонд
времени, который учитывает потери рабочего времени, связанные с отпусками
(очередными, административными, по учебе, по болезни, в связи с родами), а
также с различными гособязанностями.
Расчет Фэф одного работающего представлен в
таблице 9.3.
2.
Конструкторская часть
2.1
Обоснование способа производства
Многие детали современных машин, аппаратов и приборов
изготовить механической обработкой либо невозможно, либо очень длительно и
дорого. На помощь приходит литейное производство. Литая деталь может быть
получена различными методами: литьем в песчаные формы, литьем в кокиль, литьем
в оболочковые формы, литьем по выплавляемым моделям. Выбор способа литья
выбирается характером производства детали: индивидуальное, серийное, массовое.
Наиболее целесообразным способом из всех приведенных способов
изготовления детали, является литье по выплавляемым моделям, так как только при
этом способе литья возможно получение детали:
из жаропрочного сплава с направленной (монокристаллической) структурой;
с высокой чистотой и точностью поверхности.
Промышленное применение этого метода обеспечивает получение
из любых литейных сплавов, сложных по форме отливок массой от нескольких
граммов до десятков килограммов, со стенками, толщина которых в ряде случаев
менее 1 мм, с шероховатостью от Rz=20 мкм до Ra=1,25 мкм (ГОСТ 2789-73) и повышенной
точностью размеров (до 9-10-го квалитетов).
Вследствие химической инертности и высокой огнеупорности
оболочек форм, пригодных для нагрева до температур, превышающих температуру
плавления заливаемого сплава, создается возможность эффективно использовать
методы направленной кристаллизации, управлять процессом затвердевания для
получения герметичных прочных тонкостенных точных отливок, либо
монокристаллических деталей с высокими эксплуатационными свойствами. Указанные
возможности метода позволяют максимально приблизить отливки к готовой детали, а
в ряде случаев получить готовую деталь, дополнительная обработка которой не
требуется. Вследствие этого резко снижаются трудоемкость и стоимость
изготовления изделий, уменьшается расход металла и инструмента, экономятся
энергетические ресурсы, сокращается потребность в рабочих высокой квалификации,
в оборудовании, приспособлениях, производственных площадях.
Отливки по выплавляемым моделям изготовляют практически из
всех литейных сплавов: углеродистых и легированных сталей, коррозионно-стойких,
жаростойких и жаропрочных сталей и сплавов, чугуна, цветных сплавов и др.
В связи с тем, что "Матрица" изготавливается из
сплава ЖС6У имеет большие габариты, единственным рациональным способом ее
изготовления на сегодняшний день является литье по выплавляемым моделям. [9]
2.2 Анализ
технологичности конструкции детали
Под технологичностью отливки понимают соответствие ее
конструкции требованиям литейного производства.
Литьем по выплавляемым моделям называется способ изготовления
отливок путем, заполнения расплавленным металлом разовых форм, полученных по
разовым выплавляемым (растворяемым, выжигаемым) моделям и подвергнутых перед
заливкой прокаливанию при высоких температурах. Разработка технологического
процесса изготовления отливки начинается с анализа технологичности конструкции
детали. Технологичной является такая конструкция детали, которая позволяет
изготовить отливку, отвечающую требованиям, предъявляемым к точности,
шероховатости поверхности и физико-механическим свойствам металла и качеству
при наименьших затратах производства.
Оценка технологичности заключается в следующем:
) проверка толщины стенки отливки во всех сечениях;
) проверке равномерности сечения в различных местах
конструкции;
) анализ конфигурации отливки. [1]
Толщина стенок проверяется с целью установки возможности
получения детали литьем по выплавляемым моделям. Наименьшая толщина стенок
отливки, которая может быть выполнена в отливке, равна 0,5…0,7 мм. В
рассматриваемой отливке "Матрица" - толщина стенок составляет 70 мм,
что является допустимой толщиной. По данному показателю деталь технологична.
Причина изготовления отливки методом литья по выплавляемым
моделям является ее серийность снижение трудоемкости и стоимости изготовления
изделия.
2.3
Разработка технологии получения отливки ЛПВМ
Рисунок
2.1 - Общая схема технологического процесса
2.3.1
Оформление чертежа "Элементы литейной формы"
Оформление чертежа производится в соответствии с ГОСТом
31125-88 "Правила графического выполнения элементов литейной формы и
сплавов”.
Согласно указанным правилам, чертеж элементов литейной формы
выполняется на карте заготовки или на копии чертежа детали. Надпись
"Элементы литейной формы" помещается над основной надписью чертежа.
Литниковую систему изображают в масштабе чертежа сложной
тонкой линией. Если близкое расположение и необходимо изображать литниковую
систему в масштабе, то разрешается изображать ее без учета масштаба.
Припуски на механическую обработку изображаем сплошной тонкой
линией. Припуски назначаем на самые тонкие поверхности, чтобы упрочнить
отливку.
Точность отливки регламентируется ГОСТ 26645-88. Величина
припуска на механическую обработку устанавливаем на основании данного ГОСТа, в
зависимости от допуска и размеров отливки для обработки каждого элемента. Класс
точности отливок на размеры и припуск зависит от способа литья отливки (5-6-5-4
ГОСТ 26645-85). Припуски назначаем только на те поверхности которые
подвергаются впоследствии механической обработке.
2.3.2 Выбор
типа и расчет литниково-питающей системы
Литниково-питающая система (ЛПС) служит для обеспечения
заполнения литейной формы металлом с оптимальной скоростью, исключающей
образование в отливке недоливов и неметаллических включений, и компенсации
объемной усадки в период затвердевания отливки с получением в ней металла
заданной плотности. ЛПС должна также удовлетворять требованиям технологичности
при изготовлении моделей, форм и отливок. Необходимо стремиться к уменьшению
ЛПС, так как излишнее их развитие ведет к перерасходу металла, завышению затрат
труда, низкой эффективности использования оборудования и площадей.
При выборе конструкции ЛПС необходимо стремиться к соблюдению
следующих принципиальных положений, направленных на получение годных отливок и
на экономичность их производства:
) обеспечивать принцип направленного затвердевания, т.е.
последовательного затвердевания от наиболее тонких частей отливки через ее
массивные узлы к прибыли, которая должна затвердевать последней;
) наиболее протяженные стенки и тонкие кромки ориентировать в
форме вертикально, т.е. наиболее благоприятно для их спокойного и надежного
заполнения;
) создавать условия для экономичного и механизированного
производства отливок, в том числе: унификацию типов размеров ЛПС и их элементов
с учетом эффективного использования оснастки, имеющегося технологического
оборудования, печей; возможность применения модельных блоков и форм с
металлическими каркасами; удобство выполнения и минимальный объем механической
обработки при отрезке отливок и последующем изготовлении из них деталей.
По классификации [1] существует семь типов ЛПС: с центральным
стояком, с горизонтальным коллектором, с вертикальным коллектором и другие.
Для исследуемой детали выбираем систему VI типа (верхняя
прибыль). Эта прибыль представляет собой резервуар металла над главным тепловым
узлом отливки, получаемой в одноместной форме. Металл в прибыль заливают из
ковша. Сосредоточение наиболее горячего расплава в верхней части прибыли
приводит к созданию в форме наиболее благоприятного для питания отливки
градиента температур. Отличаясь вследствие этого высокой питающей способностью,
верхняя прибыль надежно обеспечивает получение плотного металла крупных
высоконагруженных литых деталей.
На чертеже литниковую систему выполняем сплошной тонкой
линией. Сечения элементов литниковой системы выносим на поле чертежа, они не
штрихуются. У каждого сечения элементов литниковой системы допускается
указывать площадь сечения в квадратных сантиметрах, количество сечений и их
суммарную площадь.
2.3.3 Расчёт
элементов питания методом вписанных сфер
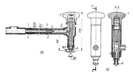
Диаметр сферы вписанной в верхний узел, определяется по
чертежу отливки. Для обеспечения полного заполнения формы диаметр сферы
выбирается наибольший и составляет:у= 70мм.
Шейка прибыли рассчитывается по следующим формулам:
§ Толщина (диаметр):
ш= (1.1,2) хDу= (1.1.2) х70=70.84мм
Примем aш=70мм.
§ Ширина:
ш=aш=70мм.
§ Высота:
ш= (0,2.0,5) хDу= (0,2.0,5) х70=14.35мм
Примем hш=20мм.
Прибыль:
§ Толщина нижнего основания:
п=k1хDу=1,55х70=108мм,
где k1=1,55 - коэффициент, отражающий характер и
величину усадки сплава [1].
§ Ширина нижнего основания:
п=aп=108мм;
§ Угол при вершине конуса: a=10.15°.
§ Высота прибыли:
¢n= (2,5.3) хDу= (2,5.3) х70=175.210мм.
Принимаем h¢n= 180мм.
§ Радиус действия прибыли:
д=k3хDУ=2,5х70=175мм,
где k3=2,5 - коэффициент, отражающий характер и
величину усадки сплава.
2.3.4
Разработка чертежа отливки
Чертеж отливки выполняем на основании чертежа элементов
литейной формы. Он содержит технические требования и все данные необходимые для
изготовления, контроля и приемки отливки. [4]
При вычерчивании отливки все припуски и допуски учитывают с
указанием их величины, в соответствие с ГОСТом 26645-88. Припуски назначают на
механическую обработку, усадку сплава.
Внутренний контур обрабатываемых поверхностей, а также
отверстий, впадин и выточек, не выполняемых в литье, вычерчиваем сплошной
тонкой линией. Остатки питателей, выпоров, промывников, стояков и прибылей,
если они не удаляются полностью в литейном цехе, - вычерчиваем тонкой линией.
При обрезке резцом, дисковой фрезой, пилой и т.д. линию реза выполняем сплошной
тонкой линией; при огневой резке - сплошной волнистой линией.
2.3.5
Конструирование пресс-формы модели
Пресс-форма - форма для изготовления выплавляемых моделей.
Они должны отвечать следующим основным требованиям: обеспечивать получение
моделей с заданной точностью и чистотой поверхности; иметь минимальное число
разъёмов при обеспечении удобного и быстрого извлечения моделей; иметь
устройства для удаления воздуха из рабочих полостей; быть технологичными в
изготовлении, долговечными и удобными в работе.
При серийном и массовом производстве отливок рекомендуется
изготовлять пресс-формы по эталону, из металлических легкоплавких сплавов. В
таких пресс-формах можно изготовить до нескольких тысяч моделей с удовлетворительной
точностью.
Пресс-форму проектируют на основании чертежа отливки, который
составляется по чертежу детали. На чертеже указывают плоскость разъёма
пресс-формы, припуски на обработку, базовую поверхность, место подвода металла,
размеры элементов литниковой системы (обычно питателей), и технические
требования, предъявляемые к отливке.
Пока еще нет способа расчета полости пресс-форм, который бы
гарантировал получение отливок с размерами, отвечающими чертежу. В зависимости
от принятой технологии колеблется усадка модельного состава и металла,
изменяется расширение оболочковой формы. Изменение этих величин зависит от
модельного состава, материала формы, способа уплотнения наполнителя, вида и
температуры заливаемого металла, а также от геометрической формы самой детали и
расположения ее в литейном блоке.
Формообразующие поверхности пресс-форм, изготовляемых на
металлорежущих станках, необходимо полировать. Сопрягаемые поверхности
пресс-форм (стыковые), поверхность штырей, втулок, колодок и других подвижных
частей следует выполнять с шероховатостью Ra = 0,8-0,4 мкм; поверхности,
образующие литниковую систему, с Ra = 1,6-0,8 мкм; остальные нерабочие части
пресс-форм можно выполнять с Rz = 40-10 мкм.
Для детали "Матрица" с проектирована одногнёздная
алюминевая пресс-форма с вертикальным разъёмом.
2.3.6 Оценка
экономической целесообразности разработанной технологии
При проектировании технологического процесса необходимо
провести оценку экономической целесообразности, т.е. произвести приблизительную
оценку разработанной технологии по признаку рационального расходования металла.
Известно: вес отливки равен 18 кг,
вес литниково-питающей системы равен 40 кг,
вес детали по чертежу равен 12 кг.
Выход годного:
(2.3.6.1)
где Qотл - вес отливки, кгж. м. - вес
жидкого металла, приходящегося на одну отливку:
, (2.3.6.2)
где Qл. с. - вес литниково-питающей системы, кг.
ВГ =18/ (18+
40) *100% = 31%.
Коэффициент использования заготовки:
, (2.3.6.3)
где Qдет - вес детали по чертежу, кг.
КИЗ = 12/18
= 0,66.
Коэффициент использования металла:
, (2.3.6.4)
где Qн. р. - норма расхода металла на одну деталь
(отливку):
, (2.3.6.5)
где gоп - масса безвозвратных потерь и неиспользуемых
отходов, кг:
н. р. = 20;
КИМ = 18/20
=0,9
В результате получили: выход годного составил 31%,
коэффициент использования заготовки 0,66, коэффициент использования металла
0,9.
На основе полученных значений можно сделать вывод, что
разработанный технологический процесс является экономически целесообразным по
признаку рационального расходования металла.
3. Технология
изготовления отливки Матрица
3.1
Технология изготовления модели
3.1.1
Подготовка исходных материалов
В условиях данного производства для изготовления моделей
используется модельный состав, исходными материалами которого являются: карбид
марки А гранулированный ГОСТ 2081 (далее по тексту мочевина), состав модельный
ЗГВ - 101, масса модельная регенерированная (далее по тексту регенерат).
К свойствам модельного состава предъявляется комплекс
требований, которые зависят от конфигурации, размеров и назначения отливки,
необходимой размерной точности, вида производства, принятого технологического
варианта процесса изготовления оболочек форм, требований к уровню механизации и
экономическим показателям производства. Свойства данного модельного состава
достаточно обеспечивают получение качественных моделей при одновременной
технологичности состава (простоте его приготовления, удобстве использования,
возможности утилизации).
Дробление мочевины.
Ссыпают мочевину из мешка в ларь, затем ее раздробляют
молотком на куски размером не более 20´20´20мм.
Размол мочевины.
Пересыпают мочевину в вибромельницу ВМ-50 совком. Открывают
вентиль охлаждения вибромельницы, нажимают кнопку "вкл." и производят
помол в течение 30-50 минут. В завершении процесса нажимают кнопку
"стоп" и закрывают вентиль охлаждения вибромельницы.
Сушка мочевины.
Ссыпают мочевину в тару совком, высота насыпного слоя 15см не
более. Устанавливают тару с мочевиной в сушильный шкаф и подсушивают при
температуре 60 - 80°С 2 часа, не менее, при включенной вытяжной
вентиляции и рециркуляции воздуха. Контроль режима сушки осуществляют при
помощи потенциометра КСПЗ ГОСТ7164, работающего в автоматическом режиме.
Естественным путем мочевину остужают до комнатной температуры. Тару с подсушенной
мочевиной хранят в сушильном шкафу.
Рассев мочевины.
Мочевину совком загружают в бегуны и размельчают в течение 10
- 15 минут. Подставляют под желобок вибрационного сита тару, затем загружают
размельченную мочевину совком в сито и включают, нажав на кнопку
"Пуск". Просеяв мочевину, нажимают кнопку "Стоп"
вибрационного станка. Просеянную мочевину ссыпают в тару и ставят в сушильный
шкаф.
Размельчение и просеивание мочевины производится
непосредственно перед процессом приготовления модельной массы.
. Подготовка модельного состава ЗГВ - 101.
Включают обогрев печи, открыв вентиль подачи пара. Давление
пара по манометру должно быть 0,1мПа (1кгс/см2). Загружают модельный
состав впечь, максимальная загрузка 40кг или не более 3/4 объема ванны печи.
Затем модельный состав доводят до полного расплавления, периодически помешивая
лопаткой. При достижении полного расплавления модельного состава замеряют его
температуру термометром. Температура должна быть 80 - 100°С. В завершение процесса
давление пара снижают до 0,04 - 0,05мПа (0,4 - 0,5кгс/см2), прикрыв
вентиль подачи пара.
Примечания:
подготовку модельного регенерата производят аналогично,
модельный состав ЗГВ - 101 и регенерат готовят в разных
печах,
неиспользованный расплавленный модельный состав разрешается
хранить в печи при давлении пара не более 0,05мПа (0,5кгс/см2),
допускается при необходимости подготовку модельного состава
ЗГВ - 101 вести с добавлением 1% (от массы состава) триэтаноламина при
температуре 90 - 100°С с тщательным перемешиванием, в течение 10 - 15
минут.
3.1.2
Приготовление модельной массы МВ
Предварительное
приготовление модельного состава состоит в поочередном расплавлении
составляющих с последующей подачей на операцию приготовления пастообразного
состава. Для получения данной отливки наиболее целесообразными являются
модельные составы 1-й группы. Модельные составы других групп имеют ряд
недостатков: имеют высокую температуру каплепадения, смачиваемость суспензией и
высокий коэффициент расширения при нагреве, высокую вязкость и др. Будем использовать
модельную массу ЗГВ-101, как наиболее полно отвечающую поставленным
требованиям.
Модели из модельной массы ЗГВ-101 получаются прочными,
теплостойкими, точными, с твердой и чистой поверхностью, при хранении в сухом
месте хорошо сохраняют качество поверхности и размерную точность.
Для приготовления модельной массы МВ используют модельный
состав ЗГВ - 101, и мочевину. Соотношение модельного состава ЗГВ - 101 и
мочевины 1: 1 по массе.
Примечания:
для элементов литниковой системы модельную массу МВ готовят
из модельного регенерата,
модельную массу из ЗГВ - 101 и из модельного регенерата
готовят в разных термостатах.
Последовательность процесса.
. Включают термостат с глицериновым обогревом. Индекс
потенциометра КСП - 3 устанавливают на температуру 75 - 80°С. Расплав модельного
состава перемешивают в печи лопаткой для полного исчезновения нерасплавленных
кусков и осадка.
. Устанавливают ведро у носка печи, наклоняют печь поворотом
рычага и наполняют его модельным составом. Затем ведро с содержимым взвешивают и
фиксируют результат на листке. Выливают расплав в термостат, не допуская
пролива, и взвешивают пустое ведро, также фиксируя результат.
. Вычисляют количество модельного состава. При необходимости
(если залитого в термостат количества модельного состава недостаточно)
повторяют операцию. Рекомендуемое количество модельного состава, залитого в
термостат 8-12 кг, но не более 14 кг.
. Измеряют температуру модельного состава термометром.
Температура расплава перед загрузкой мочевины должна быть 75 - 85°С.
. В предварительно взвешенное пустое ведро совком загружают
мочевину. Взвешивают ведро с мочевиной и отмеренное количество совком загружают
в ванну термостата в 2 или 3 приёма, перемешивая массу лопаткой после каждой
загрузки.
. Устанавливают мешалку над ванной термостата и опускают её,
нажав на кнопку "Вниз", до полного погружения лопастей. Закрывают
крышкой термостат и включают мешалку.
. Перемешивают смесь по всей высоте до получения однородной
массы. В готовой модельной массе не допускается наличие комочков мочевины.
Время перемешивания 20 - 30 минут.
В связи с высокими требованиями к размерной точности и
качеству поверхности отливки, систематически контролируется качество исходных
материалов, и проверяются свойства модельного состава. Контролируют прочность,
пластичность, твердость, теплоустойчивость, температуру размягчения, плавления,
воспламенения, кипения, вязкость, плотность, зольность, жидкотекучесть,
объемную и линейную усадку, расширение при нагреве, качество поверхности
моделей или специальных образцов.
3.1.3 Выбор,
расчет, характеристика оборудования и технология приготовления модельной массы
Для приготовления модельной массы используем установку модели
ПБ 1646, характеристика которой приведена в таблице 3.1
Таблица 3.1 - Техническая характеристика установки модели ПБ
1646:
|
Параметры
|
|
|
Наибольшая
производительность, л/ч
|
63
|
|
Наибольшее
давление в мазепроводе, Мпа
|
1
|
|
Температура
модельной массы на выходе, ˚С
|
70-80
|
|
Содержание
воздуха в модельной массе, %
|
0-20
|
|
Температура
воды в насосно-нагревательной станции, ˚С
|
40-90
|
|
Давление пара,
Мпа
|
0,11-0,14
|
|
Температура
пара, ˚С
|
100-110
|
|
Расход: пара,
кг/ч сжатого воздуха, м3/ч воды, м3/ч
|
25 0,5 1
|
|
Мощность
нагревателей, кВт
|
24
|
|
Установленная
мощность, кВт
|
34,1
|
|
Габаритные
размеры, мм: длина ширина высота
|
1100 900 1300
|
|
Масса, кг
|
500
|
Расчет потребного количества оборудования производится по
формуле:
Рр=38324,24/ (1812*20) =1,06;
Rз = 1,06/2 = 0,53.
Т.о. необходимое количество установок для приготовления
модельного состава равно 2.
3.1.4
Изготовление модели детали
Процесс изготовления моделей в пресс-формах включает
подготовку пресс-формы, введение в ее полость модельного состава, выдержку
модели до затвердевания, разборку пресс-формы и извлечение модели, а также
охлаждение модели до температуры производственного помещения.
Требования к пресс - формам.
В работу допускаются пресс-формы с наличием оформленного
паспорта с заключением о её годности. Перед началом работы проверяют состояние
пресс-формы, на её рабочих частях не должно быть забоин, глубоких рисок и
других дефектов, ухудшающих геометрию и внешний вид модели. Зажимные
приспособления должны быть исправными. На формообразующих поверхностях и
плоскостях разъёма пресс-формы не допускаются остатки модельной композиции.
Перед работой смазывают рабочие полости пресс-формы при помощи кисти смазкой
состава: эфиральдегидная фракция (далее ЭАФ) - 95 - 97%, касторовое масло - 3 -
5%. Необходимо учесть, что обильная смазка ухудшает качество поверхности
моделей.
Пресс-форму собирают в строгой последовательности для данного
типа. Зажимы должны быть плотно завернуты, при необходимости с помощью ключей.
Температура пресс-формы оказывает важное, часто решающее
влияние на качество моделей. Пресс-формы перед началом работы обычно
подогревают введением в них модельного состава. При этом первые (одна - две)
модели направляются на переплав.
Оптимальная температура пресс-формы зависит от свойств
состава и формы моделей. Для данного модельного состава она находится в
пределах 22 - 28ºС. Колебания температуры пресс-формы
вызывают снижение размерной точности моделей, а низкая температура ее
увеличивает внутренние напряжения в моделях и приводит к короблению и
образованию трещин в них.
За время разборки для выема моделей и сборки пресс-формы
обычно не успевают охладиться до оптимальной температуры. Поэтому применяют
принудительное охлаждение их погружением в воду или обдувкой.
Запрессовка модельной композиции.
Запрессовку модельной композиции МВ производят на
пневмопрессах. Собранную пресс-форму устанавливают на столе пресса так, чтобы
заливочное отверстие находилось под штоком пневмопресса. Далее подбирают стакан
для запрессовки модельной композиции в зависимости от объема модели, или
согласно указаниям в подетальной технологии. Ход штока должен обеспечивать
заполняемость пресс-формы с минимальным остатком модельной композиции (далее по
тексту пресс-остаток) в стакане. Смазывают пуансон и стакан смазкой, ставят
стакан на пластину, загружают в него модельную композицию совком из термостата
или раздаточной печи. Температуру модельной композиции поддерживают в пределах
60 - 85°С
при помощи потенциометра КСПЗ. В процессе работы производят периодическое
перемешивание модельной композиции механической массомешалкой.
Устанавливают стакан с порцией модельной композиции на
заливочное отверстие, вставляют в стакан пуансон и производят запрессовку.
Делают выдержку под давлением. Далее давление убирается, стакан снимается,
вытаскивается пуансон и удаляется пресс-остаток.
Запрессовку модельной массы производится на пневмопрессах М31
Расчет потребного количества оборудования производится по формуле:
где Q - годовой объем работ выполняемых на данном виде оборудования,
шт.;
Фд - действительный годовой фонд времени работы оборудования, ч;
Вр - расчетная производительность (на 10 % меньше паспортной);
RH - коэффициент неравномерности;
для серийного производства:
H = 1 - 1,2;
Рр = (130933,7·1) / (2030·20) = 1,22;
Интенсивность использования оборудования, относительно
действительного фонда времени регламентируется коэффициентом загрузки Rз,
он должен быть в пределах
(0,8 - 0,85):
Rз
= 1,22/2 =0,61.
Т.о. необходимое количество прессов 2 штук.
Таблица 3.2 - Техническая характеристика пневмопресса М31
|
Параметры
|
|
|
Наибольшая
производительность: по числу запрессовок в час
|
250
|
|
Усилие
выдавливания массы, Па
|
(1-4) - 105
|
|
Наибольший
объем запрессовки, л
|
10
|
|
Усилие поджатия
пресс-формы, кг
|
1300
|
|
Температура
модельного состава на выходе, ˚С
|
70
|
|
Установленная
мощность, кВт
|
1,5
|
|
Диаметр
цилиндра, мм
|
175
|
|
Ход поршня, мм
|
150
|
|
Габаритные
размеры, мм: длина ширина высота
|
1010 590 1556
|
|
Масса, кг
|
1750
|
3.1.5
Контроль моделей и их отделка
Отделку моделей и подготовку их к сборке проводят совместно
контролем их качества. Зачищать модели и контролировать их качество следует
только после их выдержки до полного охлаждения - не менее 5 часов.
На моделях не допускаются трещины, неспаи, незаливы, утяжины,
коробление и другие грубые дефекты.
Заусенцы и облой на моделях устраняют по плоскостям разъёма
пресс-формы ножом. Дефекты и шероховатость на поверхностях модели отливки
затирают при помощи горячего ножа и чистой салфетки, используя модельный состав:
церезин 50 - 80%, вазелин 20 - 50%. Для нагрева ножей используют электроплиту.
На модели допускается заделка единичных дефектов в виде
воздушных пузырей, утяжек, царапин, мелких не сквозных трещин и т.п. модельным
составом КПЦ - 1б, не нарушая размеров модели отливки.
Для удаления крошек, модель протирают марлей или салфеткой и
обдувают сжатым воздухом.
3.1.6 Сборка
модельных блоков
Подбирают необходимые элементы литниковой системы для сборки
блока согласно подетальной технологии.
Сборку моделей в блоки производят по фотоэталону или эскизу
согласно инструкции с использованием "паука". Проверяют наличие литых
номеров деталей (штампов). На модель литниковую систему (прибыль) и на образец
для химического анализа иглой пишут порядковый номер отливки, марку сплава.
В прибыли делают воздухоотводы для удаления воздуха из
полости модельного блока во время воздушно - аммиачной сушки.
Для увеличения адгезии на прибыль модели рамки иглой наносят
сетку (глубина риски до 1мм ориентировочно, размеры ячеек менее 30´30мм ориентировочно).
Собирают блок на "паук" с помощью паяльника
согласно эскизу подетальной технологии, контрольному образцу на сборку блока.
При необходимости места пайки промазывают модельным составом КПЦ-1б с помощью
кисти. Не допустимы поднутрения на блоках, трещины, раковины, зазоры в местах
пайки, подтеки модельной композиции и повреждения горячим паяльником. При
припаивании модели необходимо зачищать место спая, выполняя плавные переходы от
питателя на модель.
Припаивают к литниковой системе образец на химический анализ,
согласно подетальной технологии.
На всех элементах литниковой системы чертилкой указывают
индекс материала.
Собранный блок обдувают сжатым воздухом и протирают сухой
салфеткой для удаления с поверхности крошек. Далее необходима выдержка для
полного охлаждения всех частей модельного блока до температуры
производственного помещения. Собранный необлицованный блок хранят не более 7
суток.
3.1.7
Контроль блоков
Проверяют внешним осмотром качество и правильность сборки
модельного блока согласно эскизам и фотоэталонам. К обязательной проверке
относится также проверка качества склейки элементов литниковой системы с
моделью визуально. Здесь не допускаются трещины, неспаи, подтеки, раковины.
Проверяют наличие и правильность маркировки индекса материалов на детали и на
всех элементах литниковой системы.
3.2
Технология изготовления керамической оболочки
Литейная форма - инструмент для обработки расплава металла в
целях получения отливок с заданными размерами, шероховатостью поверхности,
структурой и свойствами. Основа способа литья по выплавляемым моделям -
оболочка: неразъемная, горячая, негазотворная, газопроницаемая, жесткая, с
гладкой контактной поверхностью, точная.
Известны два типа оболочек в зависимости от способа их
изготовления: многослойные, получаемые нанесением суспензии с последующей
обсыпкой и сушкой, и двухслойные, получаемые электрофоретическим способом.
В данной технологии используется многослойная оболочка.
Поверхность блока моделей смачивают суспензией окунанием и тут же обсыпают
зернистым материалом. Суспензия прилипает к его поверхности и точно
воспроизводит конфигурацию; зернистый же материал внедряется в слой суспензии,
смачивается ею, фиксирует суспензию на поверхности блока, создает скелет
оболочки и утолщает ее.
3.2.1 Приготовление
исходных материалов
3.2.1.1
Приготовление гидролизованного этилсиликата
Исходные материалы:
§ Этилсиликат 40 ГОСТ 26376-80;
§ Растворитель - спирт этиловый (головная фракция);
§ Кислота соляная - ГОСТ 3118-77;
§ Вода дистиллированная;
§ Кислота уксусная.
1. Гидролиз ЭТС
Гидролиз - это процесс замещения содержащихся в
этилсиликате этоксильных групп (С2Н5О) гидроксильными
(ОН), содержащимися в воде.
Гидролизу подвергают этилсиликат для придания ему свойств
связующего. Гидролиз сопровождается поликонденсацией (объединение различных или
одинаковых молекул в одну с образованием полимеров и выделением простейшего
вещества)
(C2H5O) 4 + H2O =
Si (C2H5O) 3OH + C2H5OH
или:
Таблица 3.3 - Состав гидролизованного ЭТС-40
|
ЭТС-40
|
1 л
|
ГОСТ 26371-74
|
|
ЭАФ
|
1,15 л
|
ОСТ 18-121-80
|
|
Н2О
|
80 мл
|
-
|
|
HCl
|
40 мл
|
ГОСТ 3118-72
|
Гидролиз этилсиликата для получения связующих растворов
проводят подкисленным раствором воды в спирте или ацетоне, так как этилсиликат
и вода хорошо растворяются в них. Для ускорения реакции гидролиза применяют
кислоты, чаще всего соляную кислоту HCl. Обычно гидролизованный раствор
этилсиликата (ЭТС) содержит 0,2-0,3 % HCl.
Последовательность процесса.
Приготовление подкисленной воды: отмеренное количество
кислоты вливают в дистиллированную воду и смешивают. Добавляют подкисленную
воду растворителя в количестве »10 % от общего количества растворителя и
тщательно перемешивают. Заливают в гидролизер ½ часть ЭТС-40, включают
перемешивание и вливают ½ часть подкисленной воды.
Смесь перемешивают в течение 8.10 минут. Вливают в гидролизер ½ часть общего количества растворителя, предназначенного для
разбавления ЭТС-40 и оставшуюся часть исходного ЭТС-40. Перемешивают 2.3
минуты. Вливают в гидролизер оставшуюся часть подкисленной воды, смесь
перемешиввают в течение 8.15 минут. Вливают оставшуюся часть растворителя,
смесь перемешивают в течение 10.15 минут. Выключают гидролизер. Общее время
гидролиза 35.40 минут, температура гидролиза »45 °С. Сливают гидролизат в
полированные емкости и охлаждают до комнатной температуры.
Срок годности гидролизата не более 3-х суток, с момента его
изготовления.
Гидролизат должен обеспечивать следующие показатели:
2 = 18¸22 %= 0,18¸0,24 %
Вязкость - 9,5¸11,5 сантистоксов.
Вязкость гидролизата проверяется перед выдачей для работы.
3.2.1.2
Подготовка дистенсилиманита
Полученный дистенсилиманит прокаливается в камерных печах с
электрообогревом при 950-1000 °С в течение 3-х часов.
Высота насыпанного слоя в противне 120-130 мм. Прокаленный
дистенсилиманитовый концентрат просеивается через сито. Режим прокаливания
записывается на диаграмму. Контроль дистенсилиманита производится на содержание
несвязанного железа. Допускается содержание от 0,09 до 1,0 %.
3.2.2
Приготовление керамической суспензии
Суспензия для оболочковых форм - это взвесь твердых
различной величины окатанных частиц огнеупорной основы в жидкости.
Керамическая суспензия готовится на основе гидролизата или
силлиманита. В ёмкость для суспензии, тщательно очищенную, от остатков старой
краски вливают через сито (80 - 90%) расчётного количества гидролизата.
Устанавливают винт краскомешалки над ёмкостью, опустив на нужную высоту, и
включают её.
Совком небольшими порциями засыпают силлиманит. Для суспензии
на первый слой ориентировочное соотношение материалов: 3,5 кг силлиманита на 1
литр гидролизата. Для упрощения доводки суспензии по вязкости, рекомендуется
готовить её с вязкостью на верхнем пределе по таблице 3.4
Таблица 3.4 - Вязкость
|
Вязкость, с
|
|
1 слой
|
Последующие
слои
|
Закрепление
|
|
45 - 55
|
25 - 30
|
15 - 20
|
После введения последней порции силлиманита, суспензию
перемешивают не менее 2 часов.
Отключают краскомешалку и выдерживают суспензию 2 - 3 минуты
для удаления пузырьков воздуха.
Замеряют вязкость суспензии вискозиметром. Вискозиметр,
находящийся в работе, должен иметь индивидуальный номе, выбитый на бирке и
свидетельство поверки с указанием поправочного коэффициента и даты запуска в
работу.
Закрывают пальцем сопло вискозиметра. Заливают черпаком через
сито в резервуар готовую суспензию в уровень с краями вискозиметра. Открывают
отверстие, одновременно включая секундомер.
Вязкость определяется временем истечения суспензии в
секундах, умноженным на поправочный коэффициент. Результаты должны
соответствовать данным таблицы 4.2, если особо не оговорены в технологическом
процессе на деталь. После каждого замера вязкости вискозиметр и сито промыть
синтезспиртом в таре. При необходимости произвести корректировку вязкости путем
добавления в неё гидролизата небольшими порциями через сито с последующим
перемешиванием не менее 20 минут. Запрещается при доводке вязкости добавлять в
суспензию силлиманит.
Выдержка суспензии после окончания перемешивания:
для 1 и 2 слоёв 8 часов, но не более 24 часов;
для 3 слоя и далее - 2 часа, но не более 5 суток.
3.2.3
Обезжиривание модельных блоков
Для обезжиривания модельных блоков, с целью удаления
поверхностных загрязнений и более прочного загрязнения первого слоя
огнеупорного керамического покрытия, использовать промывочный раствор состава:
фракция головная этилового спирта - 70%,
спирт этиловый синтетический (синтезспирт) - 30%
Модельный блок окунают в ёмкость с промывочным раствором,
выдерживают 5 - 10 секунд, поворачивая его, с целью промывки всей поверхности
модельного блока.
Температура раствора 20 - 26°С, её определяют
термометром. Крепость должна быть 90 - 96%, определяют спиртометром. Далее
достают модельный блок и дают стечь промывочному раствору.
Блоки, не помещающиеся в ёмкость, разрешается протирать
марлей, смоченной в промывочном растворе. Следующий процесс - сушка блоков на
воздухе до полного испарения промывочного раствора с поверхности. При
необходимости модельные блоки обдувают сжатым воздухом.
Остаток промывочного раствора очищают от загрязнения
(процеживают), сливают в ёмкость с плотной крышкой и хранят до очередного
набора блоков.
3.2.4
Нанесение керамического покрытия
Обезжиривание модели и литниковой системы производят примерно
не ранее чем за 1,5 ¸ 2 часа до покраски. После покраски каждого слоя
снимают торцовую часть чаши и торцы промывников щеткой или ножом в
автоматическом режиме, с выдержкой на воздухе. Далее на модель наносят
суспензию, погружая в содержащую ее емкость, затем окунают в установку с
псевдокипящим слоем электрокорунда (снизу в емкость с обсыпкой подается сжатый
воздух через пористую перегородку):
-й слой - Nо 20;
последующие - Nо 63; 50.
При этом зерна электрокорунда прилипают к суспензии. Операции
повторяют до образования оболочки заданной толщины.
После нанесения каждого слоя керамическое покрытие счищается
с поверхности литниковой чаши и технологических знаков для возможности удаления
модельной массы.
Начиная с первого слоя, производят выдержку блоков 20 минут,
сушку в камере УВС-3, проходящую в газообразном аммиаке. Выдержка после аммиака
-
20 минут. После 9-10 слоя производят армирование чаши нихромовой проволокой Æ 0,9 ¸ 1,5мм, путём обматывания
по окружности, расстояние между витками 25 ¸ 30мм. Последний слой
оболочки наносят без последующей обсыпки зернистым материалом. Такой прием
несколько повышает общую прочность оболочки и предотвращает осыпание
поверхностных зерен при выплавлении модели. Сушка закрепленной керамики не
менее 3-х часов на воздухе. Всего 15 слоев плюс один слой на закрепление.
Затем производят контроль качества облицовки на отсутствие
трещин, отслоения, плохой присыпки и других дефектов. Данные по облицовке и
замечания качеству покраски заносятся в журнал.
3.2.5 Сушка
блоков
Во время сушки протекают процессы собственно сушки, диффузии,
гидролитической поликонденсации, коагуляции, усадки образования капилляров.
Необходимо выбирать оптимальный температурный режим сушки. Чем скорее
происходит испарение, тем качественнее получившаяся оболочка. Высокая
температура сушки приводит к появлению трещин в оболочке вследствие
термического расширения моделей. Понижение температуры сушки замедляет
испарение растворителя, снижает прочность оболочки и вызывает брак по трещинам.
Кроме того, это вызывает усадку моделей, что приводит к короблению оболочки,
отслаиванию ее от моделей и тоже к браку.
Сушка блоков проходит в вакуумно-аммиачной установке УВС-3М
или 12Г-101. Способ основан на известном явлении - снижении температуры
испарения жидкостей с понижением давления.
Установка вакуумно-аммиачной сушки керамических блоков во
взрывобезопасном исполнении состоит из следующих основных узлов: щит
управления, кран подачи сжатого воздуха, кран стравливания конденсата, корпус
установки, контролируемый манометр, рабочий манометр, диафрагма, клапан
воздушный, тележка-стол, привод тележки, аммиачные клапаны, аммиачный баллон, вакуумный
затвор, слив воды охлаждения насоса, вакуумный насос, уровнемер масла,
рубильник. Режим работы автоматический, поддерживание заданного давления внутри
камеры и запись технологического цикла осуществляется при помощи прибора КСД-2
и моновакууметра.
Режим сушки: с закрытием двери камеры начинается цикл:
открывается вакуумный затвор - происходит набор вакуума в течение 7-10 минут.
При достижении вакуума (0,97-0,96) закрывается вакуумный затвор, открывается
клапан впуска аммиака. При сбросе вакуума (за счет подачи аммиака) до - (0,92 -
0,90) закрывается затвор подачи аммиака, происходит выдержка в среде аммиака
2,5 - 3 минуты. Открывается затвор вакуумного насоса - производится набор
вакуума до величины (0,97 - 0,96). Открывается задвижка подачи воздуха
(воздушный клапан) - происходит продувка камеры. Падение вакуума в диапазоне -
(0,47 - 0,39) производится в течение 3 - 5 минут. Закрывается затвор вакуумного
насоса - сброс вакуума до нуля. Открывается дверь камеры - цикл окончен. Блоки
достают из камеры и проверяют на просушенность. Для проверки просушенности
используют свидетель - оболочку на типичной модели, которую сушат вместе со
всей партией. Его опускают в связующий раствор и, если нет набухания и
отслаивания оболочки, на него наносят очередной слой.
Готовность оболочек к формированию на нем очередного слоя
оценивают
с водно-спиртовыми и водными суспензиями по содержанию в
процентах остаточной влаги методом взвешивания. Предварительно экспериментально
устанавливают допустимую наибольшую влажность, например 1,3 - 1,5.
3.2.6
Удаление модельной массы
Существует 3 метода удаления модельной массы из оболочки:
выплавление, растворение, выжигание. Восковые модели выплавляют, солевые-растворяют,
пенополистироловые-выжигают. В данном случае используется выплавление,
так как для изготовления модели используется модельная масса ЗГВ-101, относящаяся к классу
восковых. В литейных цехах применяют следующие способы выплавления модельного
состава: горячей водой, горячим воздухом, нагретым модельным составом и др. При
выплавлении модели в оболочке могут возникнуть трещины, если блок нагревать
медленно, так как модель, прогреваясь на всю толщину, расширяется, давит на
оболочку изнутри и разрывает ее. При быстром нагреве модель оплавляется с
поверхности, жидкий модельный состав вытекает через зазор между моделью и
оболочкой или оболочка впитывает его.
Для данной технологии применяем метод выплавления в горячей
воде.
В начале производят зачистку чаши и торцов промывников ножом,
удаляют заглушку чаши. Затем проводят вымочку в следующей последовательности.
. Устанавливают блоки в корзину и опускают в ванну
замочки. Температура воды должна быть не более 30°С. Выдерживают в течении
30.50 минут без последующей выдержки на воздухе.
2. Затем переставляют корзину с блоками в ванну вымочки
с горячей водой и выдерживают в течение 1.3 часов (в зависимости от габаритов и
массоемкости блоков) до полного удаления модельной массы. Температура воды
должна быть е ниже 97°С.
. По окончании вымочки поднимают корзину с оболочками,
выдерживают до полного вытекания из оболочки воды. Визуально проверяют на
полноту удаления (через промывники) модельной массы. Если масса удалена не
полностью, вымочку повторяют. Во время вымочки поддерживают уровень воды в
ванне таким образом, чтобы модельная масса перетекала в отстойник.
Выплавление в горячей воде имеет ряд достоинств. Основное
достоинство - снижение потерь модельной массы при вытапливании. Кроме того, в
результате пропитывания водой теплопроводность оболочки возрастает, и
уменьшается вероятность растрескивания оболочки при вытапливании модельной
массы.
Удаление модельной массы из блоков производить в ванне
вымочки, модели ПБ2953, характеристика которого дана в таблице 3.5 После
удаления модельной массы, чаши блоков заклеить бумагой.
Таблица 3.5 - Техническая характеристика ПБ2953:
|
Параметры
|
|
|
Наибольшие
размеры обрабатываемых блоков, мм диаметр длина
|
750 500
|
|
Наибольшая
производительность, блоков/час
|
10
|
|
Рабочая
температура выплавляющей среды, ˚С
|
не более 100
|
|
Рабочий объем
ванны, м3
|
1,5
|
|
Расход воды, м3/ч
|
0,2
|
|
Установленная
мощность, кВт
|
45
|
|
Габаритные
размеры, мм: длина ширина высота
|
1900 1800 1200
|
|
Масса, кг
|
1300
|
Расчет потребного количества оборудования производится по
формуле:
где Q - годовой объем работ выполняемых на данном виде
оборудования, шт.;
Фд - действительный годовой фонд времени работы оборудования, ч;
Вр - расчетная производительность (на 10 % меньше паспортной);
RH - коэффициент неравномерности;
для серийного производства:
H = 1 - 1,2;
Рр
= 6136 ·1/3700 ·10 =0,6;
Интенсивность использования оборудования, относительно
действительного фонда времени регламентируется коэффициентом загрузки Rз,
он должен быть в пределах (0,8 - 0,85).
где Рпр - принятое количество оборудования;
з = 0,6/1
=0,6.
Т.о. необходимое количество бойлерклавов равно 1.
3.2.7
Прокаливание оболочковых форм
При прокаливании оболочек решаются три задачи:
. Удаление газотворных составляющих.
. Повышиние прочности.
. Нагрев оболочки для лучшего заполнения полостей
металлическим расплавом.
Прокаливают оболочки в окислительной среде нагревом до 800-1100 °С с последующей
выдержкой. При этом протекают процессы:
нагрев оболочки;
удаление из нее газотворных составляющих, источником которых
является влага;
удаление остатков модельного состава и продуктов деструкции
связующего;
гидролитическая поликонденсация связующего;
образование кристаллических структур связующего;
термическое расширение оболочки и полиморфные превращения;
образование капиллярных каналов.
Оболочковые формы заливают горячими и поэтому нельзя отрывать
прокаливание их от заливки. Температура формы должна быть при заливке сплавов
на основе никеля 900.1100 °С. Состав газов в печи должен быть окислительным,
чтобы выгорели все остатки модельного состава и продукты деструкции связующего,
включая углерод.
Для прокаливания оболочковых форм выбираем газовые печи, так
как в электрических печах теневые части форм непосредственно не получают
теплоту, в результате чего создается температурный градиент в различных частях
оболочки и замедляется процесс прогрева. Также в этих печах трудно поддерживать
избыток кислорода, необходимый для окисления продуктов деструкции остатков
модельного состава, связующего и углерода.
Подготовленную оболочку устанавливают на поддон прокалочной
печи КЭСмвп-3000N, далее устанавливают индексы приборов на температуру 950°С, учитывая поправку.
Режим прокалки составляет (950±50) °С. Загрузку форм
производят при любой температуре в интервале от комнатной до 950°С. При прокалке
необходимо прямой набор температуры. Выдержка оболочки при температуре 950°С должна быть не менее 8
часов.
3.2.7.1
Загрузка и выгрузка оболочек
Загрузка оболочек в прокалочную печь осуществляется
механически. Формы ставят на поддон с формами в печь и проталкивают весь узел
поддонов. Внутри печи поддоны перемещаются по водоохлаждаемым рельсам, вне печи
-
на тележке.
Разгрузочный толкатель предназначен для извлечения из печи
очередного поддона и продвижение его на тележку. При нажатии кнопки управления
поднимается выходная дверь печи, приводится в действие механизм разгрузки,
который захватами цепляет один поддон с формами и вытаскивает его из печи на
тележку.
3.2.8
Регенерация керамического покрытия
Крошку, полученную после предварительной очистки отливок
(вибрацией), особенно из дорогостоящих материалов (корунда, циркона и др.)
можно использовать повторно [3]. Предварительно эту крошки размалывают в
шаровой мельнице, после чего регенерируемый материал отправляется на химическую
очистку. В бак емкостью 1750л загружается электрокорунд и щелочь. После чего
смесь подогревается до температуры кипения. Кипение поддерживается в течение
4-х часов. После этого электрокорунд промывается 3 раза. Каждая операция длится
45 минут. Далее идет сушка и разделение по фракциям. Сушка ведется воздухом,
подаваемым под давлением.
3.2.9
Формовка оболочек в опоку
Формовку оболочки производят в соответствии с эскизом,
выполняя следующие переходы:
свободную опоку ставят на поворотный стол,
из другой опоки со смесью дроби Æ1,5¸5мм, установленной с
помощью кран-балки и палки в кантователь насыпают слой дроби, в зависимости от
высоты блока;
заформованную оболочку проинжектировать и закрыть
металлической крышкой. Перед загрузкой опоки под заливку крышку с формы
снимают. Заформованные оболочки хранят не более 16 часов. При хранении более 16
часов оболочки расформовывают и подсушивают при температуре не более 3°С.
Прокалку блоков производить в электропечи КЭСовп-3000N.
Таблица 3.6 - Рабочие режимы для прокалки оболочек
|
Температура
загрузки форм на прокалку
|
не более 900ºС
|
|
Температура
прокалки
|
1050±20ºС;
|
|
Длительность
прокалки
|
не менее 8
часов
|
3.3
Обоснование выбора сплава для заданной отливки
3.3.1 Общие
подходы к выбору сплава
Отливки по выплавляемым моделям изготовляют практически из
всех литейных сплавов: углеродистых и легированных сталей, коррозионно-стойких,
жаростойких и жаропрочных сталей и сплавов, чугуна, цветных сплавов и др.
При проектировании литых деталей учитывают условия их работы,
в связи с чем некоторые свойства металла отливок приобретают первостепенное
значение. Рамка, в первую очередь должна обладать высокой жаропрочностью при
рабочих температурах и напряжениях, иметь возможно меньший коэффициент линейного
расширения.
При выборе литейного сплава необходимо четко сформулировать
требования к материалу отливок. Исходя из требований, определяют основу сплава,
например никель. Далее уточняют марку сплава, свойства которого наиболее близки
к требуемым, причем учитывают технологичность этого сплава в специфических
условиях изготовления отливок по выплавляемым моделям, например сплав ЖС6-У.
Для окончательного решения целесообразно отлить пробные
детали и образцы для проверки всех положительных и вредных для качества отливки
свойств выбранного сплава.
Жаропрочные стали и сплавы отличаются свойством противостоять
пластической деформации под воздействием напряжений при повышенных
температурах.
На жаропрочность большое влияние оказывает природа твердого
раствора сплава, ее температура плавления и тип кристаллической решетки. Чем
выше температура плавления основы, тем выше жаропрочность сплава. Сплавы с
гранецентрированной решеткой имеют большую жаропрочность, чем сплавы с объемно
- центрированной решеткой. Кроме типа кристаллической решетки на выбор основы
сплава влияют полиморфные превращения. Они сопровождаются активными
диффузионными процессами, которые приводят к резкому снижению жаропрочности.
Повышению жаропрочных и других свойств сплавов способствует
также легирование. Наибольший эффект достигается при одновременном легировании
многими элементами.
Свойства жаропрочных сплавов зависят от чистоты шихтовых
материалов, применяемых при плавке. Сера из шихты, при повышенном ее
содержании, вступая в соединение с никелем, образует легкоплавкую эвтектику,
которая располагается по границам зерен, в результате чего снижается
жаропрочность сплава.
Еще в большей степени снижаются жаропрочные свойства сплавов
при загрязнении их легкоплавкими примесями (висмут, свинец, сурьма и др.).
Для создания жаропрочных материалов для штамповой оснастки
большую роль играет выбор основы сплава. Отечественная промышленность, в
основном, использует сплавы на основе вольфрама, железа, кобальта, молибдена,
никеля, ниобия, хрома.
Сплавы на основе молибдена, вольфрама и ниобия обладают
высокими жаропрочными характеристиками. Однако, все тугоплавкие металлы и
сплавы на их основе имеют серьезный недостаток - низкую стойкость против
окисления в атмосфере воздуха при температуре > 600 °С, поэтому они требуют
обязательной защиты покрытиями или инертной средой. Реализация этих требований
в производственных условиях - технически сложная задача.
Штамповые стали и сплавы на основе железа успешно работают до
700 °C
и не годятся для деформирования титановых и жаропрочных сплавов.
Хром является хорошей основой для создания жаропрочных
сплавов благодаря высокой жаростойкости. Хромовые сплавы могут конкурировать со
сплавами на никелевой основе по жаропрочности при высоких температурах. Однако
высокие свойства хромовых сплавов трудно реализовать из-за низкотемпературной
хрупкости хрома и его сплавов. Таким образом, хром как основа штампового
материала не приемлем.
Сплавы на основе кобальта: обладают высоким сопротивлением
термоусталости при многократных теплосменах; до 1150 °С по жаропрочным
свойствам уступают никелевым, а при температурах > 1150 °С незначительно их
превосходят. Однако, превышение абсолютных значений предела 100-часовой
длительной прочности при 1200 °С настолько малы, что применение сплавов на
основе кобальта в качестве штампового материала для рабочих температур 1150°С и более (например для
штамповки в условиях сверхпластичности) не представляется возможным. Кроме
того, необходимо принять во внимание высокую стоимость и дефицитность кобальта
и его сплавов по сравнению с никелевыми.
Матрица из никелевого материала обладает рядом преимуществ:
не имеет полиморфных превращений, Т.о. сохраняет ГЦК решетку до температуры
плавления; является основой, для которой можно использовать большое количество
легирующих элементов. В качестве штамповых материалов для изотермической
штамповки до 1000 °С в отечественной практике наиболее приемлемыми
оказались сплавы типа ЖС-6К и ЖС-6У, обладающие наиболее высоким пределом
текучести и жаропрочностью при температурах изотермической штамповки.
Для изготовления штампа матрица используется сплав на
никелевой основе ЖС6-У, т.к. он обладает более высокой жаропрочностью, чем
ЖС6-К.
Химический состав сплава приведен в таблице 3.7.
Таблица 3.7- Состав сплава ЖС6-У
|
Показатель
|
Хим. состав по
ТУ
|
Требуемый хим.
состав
|
Содержание
элемента в возврате
|
Угар элемента
|
|
Содержание
элементов, %
|
Ni
|
остальное
|
остальное
|
остальное
|
-
|
|
C
|
0,13¼0, 20
|
0,17
|
0,13
|
23
|
|
Cr
|
8,0¼8,5
|
8,4
|
8,2
|
2,4
|
|
Al
|
5,1¼6,0
|
5,6
|
5,2
|
8
|
|
Mo
|
1,2¼2,4
|
1,8
|
1,8
|
-
|
|
Ti
|
2,0¼2,9
|
2,5
|
2,1
|
16
|
|
Co
|
9,0¼10,5
|
9,7
|
9,7
|
-
|
|
Nb
|
0,8¼1,2
|
1
|
1
|
-
|
|
W
|
9,5¼11,0
|
10,4
|
9,8
|
5,8
|
|
B
|
£0,035
|
£0,035
|
0,03
|
14
|
|
Zr
|
£0,04
|
£0,04
|
0,04
|
-
|
|
Ce
|
£0,02
|
0,02
|
-
|
|
Mn
|
£0,4
|
£0,4
|
0,4
|
-
|
|
Si
|
£0,4
|
£0,4
|
0,4
|
-
|
|
Fe
|
£0,1
|
£0,1
|
0,1
|
-
|
|
S
|
£0,01
|
£0,01
|
0,01
|
-
|
|
P
|
£0,05
|
£0,05
|
0,05
|
-
|
|
V
|
£0,01
|
£0,01
|
0,01
|
-
|
3.3.2
Механические и литейные свойства сплава
Механические свойства сплава приведены в таблице 3.8.
Таблица 3.8 - Механические свойства сплава
|
Температура
испытаний, °С
|
800
|
|
Временное
сопротивление разрыву, МПа
|
950
|
|
100-ч длительная
прочность, МПа
|
320
|
|
Относительное
удлинение, %
|
1,7
|
|
Относительное
сужение, %
|
6
|
Литейные и специальные свойства сплава приведены в таблице
3.9.
Таблица 3.9 - Литейные и специальные свойства
|
Температура
заливки, °С
|
1580.1650 (в
вакууме)
|
|
Линейная свободная
усадка, %
|
2,3
|
|
Специальные
свойства
|
Жаростойкость
до 1100 °С, жаропрочность до 1000 °С
|
3.4 Плавка и
заливка сплава
Плавка металла и заливка форм являются важнейшей частью
технологического процесса производства отливок, определяющей конечное качество
литых деталей. Плавка металлов и сплавов характеризуется сложными
физико-химическими процессами, протекающими при высоких температурах. Процесс
плавки состоит из физических преобразований исходных материалов и химических
реакций, в которых участвуют составляющие сплава и флюсы, а также печные газы и
футеровка печей.
Жаропрочные сплавы на основе никеля выплавляют в индукционных
вакуумных печах, так как содержащиеся в сплаве Al и Ti легко окисляются на
воздухе и образуют плотные окисные плены, которые попадая в отливку нарушают
сплошность материала и снижают прочность деталей. Вакуум благоприятствует любой
химической реакции, в ходе которой из нелетучих веществ образуются газы или
летучие вещества, в результате чего понижается температура и становится возможным
протекание данной реакции. На основании этих фактов плавку и заливку металла
проводят на вакуумной установке ВИАМ - 24.
Технические характеристики индукционной вакуумной плавильной
печи ВИАМ-24 приведены в таблице 3.10
Таблица 3.10 - Технические характеристики печи ВИАМ-24
|
Номинальная
емкость тигля (по стали), т
|
0,04
|
|
Установленная
мощность, кВ×А
|
250
|
|
Частота
контура/питающей сети, Гц
|
2400/50
|
|
Максимальная
температура расплава в тигле, °С
|
1650
|
|
Предельное
разрежение в холодной печи, Па
|
(1.5) *10-2
|
|
Производительность,
т/ч
|
0,04
|
|
Удельный расход
электроэнергии, кВ×ч/т
|
3100
|
|
Габаритные
размеры форм, м: ширина Х длина Х высота
|
6,0 Х 7,5 Х 4,0
|
|
Масса
электропечи, т
|
17
|
После расплавления металл подогревают до температуры (1560+20)
°С,
затем охлаждают до температуры заливки. Температура металла при заливке должна
быть (1510¸10°) С.
Заливку проводят непрерывной струей (в промежуточной чаше
должен стоять металл). Прибыль залитой формы сверху накрывают листовым
асбестом.
Примечания:
в журнале плавки необходимо сделать запись, где указывают все
параметры заливки, полный номер штампа, роспись плавильщика
на термограмме указывают номер штампа, порядковый номер
штампа, роспись плавильщика, дату;
при дефиците свежего материала допускается 100% возврата.
Расчет потребного количества оборудования производится по
формуле:
где Q - годовой объем работ выполняемых на данном виде
оборудования, шт.;
Фд - действительный годовой фонд времени работы оборудования, ч;
Вр - расчетная производительность (на 10 % меньше паспортной);
RH - коэффициент неравномерности;
RH =
1 - 1,2;
Рр =246246.1056/
(3254*100) =0,76;
Интенсивность использования оборудования, относительно
действительного фонда времени регламентируется коэффициентом загрузки Rз,
он должен быть в пределах (0,8 - 0,85):
где Рпр - принятое количество оборудования;
з = 0,76/1 =
0,76.
Т.о. необходимое количество печей 1 штук.
3.5
Охлаждение
После снятия вакуума залитую оболочку выдерживают в нагревательной
печи в течение 3-х минут (до затвердевания). Затем залитый блок помещают в
термостат, где он находится в течение 20 минут. Дальнейшее охлаждение идет на
воздухе естественным путем, которое происходит медленно.
Постепенное медленное охлаждение повышает механические
свойства получаемых отливок, уменьшает внутренние напряжения, которые могут
вызвать образование трещин, ведет к более высокому качеству отливок.
Несмотря на практически одинаковую плотность отливок и более
измельченную кристаллическую структуру, механические свойства отливок с
крупнокристаллической структурой, охлаждаемые с малой скоростью, выше, чем при
быстром охлаждении. Это объясняется тем, что основное влияние на механические
свойства металла оказывают не плотность, степень раздробленности и число пор, а
размер пор и их форма, которая приближается к сферической и уменьшает
отрицательное влияние на механические свойства.
3.6 Очистка
отливки от керамики
3.6.1 Выбивка
форм и отбивка керамики
Выбивка форм.
После заливки, формы, охлаждённые естественным путём,
выбивают. Выдержка между заливкой формы и выбивкой должна быть не менее 12
часов (если нет особых указаний в подетальной технологии). Из формы совком
убирают верхний слой опорного наполнителя, затем вытаскивают залитый блок и перемещают
его на выбивную решётку.
Отбивка керамики.
Отбивку керамики производят с помощью пневматического молотка
на выбивной решётке. Удары производят только по элементам литниковой системы,
не допуская, ударов молота по опоке, во избежание её механических повреждений.
Сбор электрокорундовой крошки производят в специальной таре,
установленной в приямке, под выбивной решёткой. По мере наполнения тары,
производят выгрузку крошки и отправку её на участок регенерации.
3.6.2 Отрезка
литниковой системы
Отрезку литниковой системы производят на отрезном станке РС -
131 или 12РС - 258 армированными кругами на бакелитовой основе. Причём
присутствие керамики в местах резки не допускается.
При помощи станка 12РС - 258 проводят отрезку и зачистку
питателей и прибылей на крупногабаритных заготовках, закрепленных на план -
шайбе, вращающейся вокруг горизонтальной оси. Отрезка производится дисковым
абразивным кругом, подача которого осуществляется вручную. После отрезки
производится зачистка мест среза другим абразивным кругом, установленным на
шлифовальной головке.
3.6.3 Обдувка
отливки электрокорундом
Для полного удаления остатков керамики и окалины отливку
обдувают электрокорундом до получения матовой поверхности. Процесс проводят в
пескоструйной камере Г - 251.
Последовательность процесса.
Загружают в бункер электрокорунд марки 12АРК - 12АРБ,
зернистость 32П, 32Н, 40П, 40Н в соответствии с требованиями.
При помощи кран - балки поднимают деталь в камеру и
закрепляют её на планшайбе. Закрывают дверцы камеры и открывают вентиль подачи
сжатого воздуха на сопло. За равномерной очисткой детали наблюдают через
смотровое окно. В случае необходимости деталь поворачивают через отверстие в
камере. Необходимо следить, чтобы электрокорунд был сухой и не допускать
обдувку мокрых деталей. По мере израсходования электрокорунда, добавляют свежий
электрокорунд до указанной нормы.
По окончании работы закрывают вентиль подачи сжатого воздуха
на сопло, открывают дверцу камеры и снимают деталь при помощи кран - балки.
Затем отключают вытяжку, вентиляцию (пылесборник вентиляционной системы очищают
не реже 1 раза в месяц). Далее проверяют отливку внешним осмотром. Для проверки
качества отливки подготавливают образцы на химический анализ. Химический анализ
проверяется от каждой плавки.
3.7 Разделка и
заварка дефектов зачистка
После внешнего осмотра отливки, при обнаружении дефектов
проводят мероприятия по их устранению. После отделения отливок от литниковой
системы на них остаются приливы (выступы) от питателей, прибылей и выпоров. Их
удаляют на наждачных станках вручную или на обрубных прессах и шлифовальных
установках. Очистку отливок от электрокорунда проводят обдувкой с помощью
сжатого воздуха. Проводят очистку до получения матовой поверхности (до удаления
керамики и окалины). Не допускается обдувка мокрых деталей и электрокорунд
должен быть сухой.
Допускается зачистка любых поверхностных дефектов (кроме
трещин) на отливках как до так и после механической обработки, если при этом
размеры отливки не выходят за пределы допусков. Допускается исправление
дефектов на отливках штампов в любом месте, кроме мест, оговоренных чертежом,
путем заварки с разделкой дефектного места до чистого металла.
3.8 Контроль
качества отливок
3.8.1
Контроль химического состава сплава
Химический состав сплава контролируем лабораторным анализом.
Состав сплава определяем методами химического и спектрального анализов.
Химический анализ позволяет выделить в чистом виде или в виде
соединений отдельные элементы сплава и определить их процентное содержание. При
содержание определяемого элемента в сплаве больше 1%, этот метод
достаточно точен, но длителен (до нескольких часов).
Спектральный анализ основан на рассмотрении спектра излучений
при воздействии дугового разряда на поверхность анализируемого сплава. По
сравнению с химическим анализом он имеет следующие преимущества: быстрота
анализа, высокая точность определения большинства элементов, универсальность.
При литье по выплавляемым моделям пробу на химический и
спектральный анализ выполняют в виде прилитого к блоку образца, с которого
берут стружку для химического анализа, а оставшуюся часть образца используют
для спектрального анализа.
Контроль сплава производится на следующие элементы: C, Cr,
Al, Ti, Co, Nb, W, Fe, B.
Контроль качества отливок
При производстве отливки "Матрица" на производстве
встречаются следующие виды браков: засор и усадочная раковина, вследствие
больших габаритов отливки.
Засор возникает при попадании формовочных материалов в
полость формы через трещины в оболочке, смывании струёй металла керамических
заусенцев в оболочке формы, загрязнённости модельного состава, осыпании
футеровочного материала печи и ковша. Из-за большого количества причин,
вызывающих засор, его достаточно трудно предупредить на всех стадиях
технологического процесса.
Усадочная раковина может возникать из-за не соблюдения
технологии, в частности температуры заливки, а также причина может быть в
уменьшении навески.
В производстве данной детали допускаются:
дефекты в пределах припуска на механическую обработку;
чистые, единичные раковины (засоры, шлаковые включения и др.
дефекты) диаметром не более 4 мм, глубиной не более 2 мм, расположенные друг от
друга на расстоянии не менее 10 мм.
групповые раковины диаметром не более 2,5 мм., с отдельными
раковинами диаметром до 3 мм и глубиной не более 1,5 мм с количеством раковин в
группе не более 5 штук на площади 1 см2. Расстояние между группами
должно быть не менее 15 мм.
На рабочей поверхности гравюры, на базовых и опорных
поверхностях штампа наличие литейных дефектов не допускается.
4.
Организация ремонтной службы оборудования и оснастки
Выбор
ремонтного оборудования
Производственное оборудование представляет собой наиболее
важную часть основных фондов предприятия. В процессе эксплуатации машин
происходит потеря их работоспособности главным образом из-за износа и
разрушения отдельных деталей или поверхностных слоев, что приводит и к потере
точности и уменьшению его мощности и производительности. Восстановление этих
важнейших показателей эксплуатационных характеристик осуществляется путем
ремонта.
В предприятии необходимо иметь строгий план-график ремонта
оборудования для своевременного и организованного проведения ремонтных работ,
составленный на основе ремонтного цикла и межремонтного периода оборудования.
Ремонтный цикл равен:
(4.1.1)
где
А - норматив
отработанных часов в течение ремонтного цикла, для литейного оборудования А=
12500 ч;
- коэффициент, учитывающий тип производства, при серийном
производстве равен 1,1 - 1,3.
Тр = 12500·1,3 = 16250 ч.
Межремонтный и межосмотровый периоды рассчитываются на основе
известной структуры ремонтного цикла, которая имеет вид:
для всех типов оборудования, кроме печей:
К-0-0-0-М1-0-0-0-М2-0-0-0-С1-0-0-0-М3-0-0-0-М4-0-0-0-С2-0-0-0-К;
для печей:
K-0-M1-O-M2-0-C1-0-M3-0-M4-O-C2-0-M5-0-M6-O-K.
Межремонтный цикл равен:
(4.1.2)
где
, nм - количество
средних и малых ремонтов.
Межосмотровый цикл:
(4.1.3)
где nо - количество осмотров.
Для технологического оборудования:
дней;
дня;
Для печей:
дней;
дня.
Определяя дату любого ремонта путем прибавления к дате предыдущего
ремонта длительности межремонтного периода, составляем план-график ремонта
оборудования.
Расчет
персонала ремонтного отделения
На основе годового плана - графика ремонта определяется
численность ремонтного персонала по профессиям:
(4.2.1)
где Qр - суммарная величина общая трудоемкости
ремонтных работ в расчетном периоде, ч;
Фэ
- эффективный фонд времени одного ремонтного рабочего;
Фэ
= 1461 ч.
Общая годовая трудоемкость вычисляется по формуле:
(4.2.2)
где Nk, Nc, Nм,
Nо - количество ремонтных единиц, подлежащих за год
капитальному, среднему, малому ремонтам и осмотру;
R -
ремонтная сложность оборудования;
tk, tc, tм, tо - норма времени соответственно капитального,
среднего малого ремонтов и осмотра по профессиям, см. таблицу 4.1.
Таблица 4.1 - Нормы времени в часах на одну ремонтную единицу
|
Вид
оборудования
|
Вид работ
|
Технический
уход
|
Ремонт
|
|
|
промыв.
|
провер.
|
осмотр перед
кап. ремонт.
|
осмотр
|
мелкий
|
средний
|
капитал.
|
|
Технологическое
и подъемно-транспортное
|
слесарные
станочные прочие всего
|
0,35 0,35
|
0,4
|
1 0,1 1,1
|
0,75 0,1 0,85
|
4,0 2,0 0,1 6,1
|
16,0 7,0 0,5
23,5
|
23,0 10,0 2,0
35,0
|
Потребное количество дежурного ремонтного персонала
определяется по формуле:
(4.2.3)
где kcм - число смен;
Нобс - норма обслуживания для дежурного персонала, по таблице 4.2.
Таблица 4.2 - Норма обслуживания дежурного персонала
|
Профессия
|
Норма
обслуживания, рем. единиц
|
|
Слесарь
|
150
|
|
Наладчик оборудования
|
135
|
Численность ремонтного персонала по цеху приведена в таблице
4.2.3.
Разряд ремонтных рабочих определяется средней ремонтной
сложностью установленного оборудования.
Таблица 4.3 - Численность ремонтного персонала по цеху
|
Профессия
|
Разряд
|
Списочная числ.
|
По сменам
|
|
|
|
1
|
2
|
|
Слесарь
|
5
|
4
|
2
|
2
|
|
Наладчик
|
5
|
4
|
2
|
2
|
По числу ремонтного персонала определяется потребное
количество станков и верстаков для ремонта оборудования.
5. Расчет
площадей цеха
Расчет площадей ведется по формуле [7]:
(5.1)
где j = 1 ¸
l - количество
применяемого оборудования;j - площадь, занимаемая единицей
оборудования j-го вида;
k дon j - коэффициент, учитывающий площадь, добавляемую по всему
периметру зоны (с учетом проходов, проездов и т.д.);
Pnp j - принятое количество оборудования j-го вида.
Наиболее точно площади производственных помещений получаются
компоновочно.
Вспомогательную площадь для ремонта оборудования и оснастки
рассчитываем на основе числа верстаков и станков и норме площадей для
ремонтного персонала,
Нормы площадей для административно-бытовых и др. помещений
приведены в таблице 5.1.
Таблица 5.1 - Нормы площадей
|
Наименование
площади
|
Норма, м2
|
|
Каб. начальника
цеха
|
15 - 25
|
|
Каб. зам.
начальника цеха
|
8 - 10
|
|
Технологическое
бюро
|
25 - 45
|
|
ПДБ
|
14 - 18
|
|
Кладовая
запчастей
|
0,1 - 0,12
|
|
Ремонтное
хозяйство: на станок на верстак на слесаря для дежурного персонала
|
10 5 5 - 25 5
|
|
Площади
контроля, на чел.
|
6
|
|
На общественное
питание, на чел, по сп. числ.
|
0,78
|
6. Складское
хозяйство
Задача складского хозяйства заключается в приеме, хранении,
учете материалов и регулировании уровня их запаса, подготовка готовой продукции
к отправке потребителю. На складах выполняется большой объем
погрузочно-разгрузочных работ, перемещение материалов. Поэтому основным
направлением в разработке складского хозяйства является комплексная механизация
и автоматизация работ направленная на повышение производительности труда и
ликвидацию тяжелых ручных операций, улучшение использования складских помещений
и их сокращение.
6.1 Расчет
складских площадей
По функциональному назначению склады подразделяют на
заводские и цеховые. Устройство и оснащение складов зависит от ряда факторов.
Определяющие из них - грузооборот, длительность хранения, формы и габариты
изделий, требования к условиям хранения, вид применяемой нормы, вид
используемого подвижного состава. Материалы и готовая продукция хранятся на
специально оборудованных открытых площадках, в отапливаемых и не отапливаемых
помещениях.
Складские площадки рассчитываются по всем складам и кладовым,
которые создаются в цехе. Площадь зависит от способа хранения.
Для материалов, хранимых в закромах, и штабелях:
(6.1.1)
где
d -
среднедневная потребность в материале, т;
t - периодичность
поставок, дни;
fдоп - допустимая нагрузка, т/м2;
fдоп = 2,5 ¸ 3,5
тс/м2
f - коэффициент
использования площади склада.
Для материалов хранимых на стеллажах:
(6.1.2)
где Vя - полезный объем ячейки стеллажа, м3;
g - объемная масса материала, т/м3;
kзaп = 0,5 ¸ 0,75 -
коэффициент заполнения ячейки;
Scm
- площадь, занимаемая одним стеллажом.
7.
Организация грузопотоков в цехе
В проектируемом цехе литья по выплавляемым моделям
производственные отделения расположены с учетом технологических операций
изготовления отливок.
Шихта на склад доставляется автотранспортом. Затем шихта
электрокарами подается в ячейки стеллажей склада.
Со склада взвешенная шихта в таре подается мостовым краном в
плавильное отделение и загружается в печь.
Отливки после обрубки укладываются в тару и электрокарами
подаются на участок обработки.
После обработки и линии контроля отливки электрокарами
перевозятся на склад готовой продукции.
8.
Строительная часть
Важнейшими проблемами строительного проектирования
предприятий машиностроительной промышленности являются:
выбор места для строительства;
планировка;
определение строительного типа производственного здания с
наибольшей степени обеспечивающего возможность оптимального протекания технологического
процесса;
организация и застройка территории.
Основные направления в строительном проектировании литейных
предприятий определяют следующие факторы:
удовлетворение требованиям технологии;
учет климатических условий района;
рациональная экономия затрат на строительство и эксплуатацию
здания;
сокращение сроков проектирования и строительства;
экономное использование земель под строительство;
широкое применение каркасных зданий;
создание производственных и вспомогательных зданий (зданий
административно-бытового назначения), отвечающих не только экономическим, но
эстетическим требованиям.
8.1 Элементы
конструкции зданий
При проектировании зданий следует ориентироваться на
индустриализацию строительства:
унификацию;
типизацию;
стандартизацию элементов здания.
Выбор строительных конструкций зданий зависит от назначения
литейного цеха, объема выпускаемой продукции, применяемого оборудования,
механизации производства, нагрузок от механического и кранового оборудования, а
также объема планируемого решения здания.
Несущий каркас состоит из колонн, установленных на
фундаментах и связанных балками и фермами. Колонны и опирающиеся на них фермы
образуют поперечные рамы, которые связаны в продольном направлении фундаментами
и подкрановыми балками.
Шаг колонн наружной оси принимают равным 6 метров, внутренний
- 12 метров. Колонны имеют сечение:
· наружный ряд - 0,4 ¸ 0,6 м;
· центральные колонны - 0,8 ¸ 0,6 м.
· высота колонн - 10,8 м.
Ширина пролетов и шаг принимаются кратными укрупненным
модулям 60 М (6 м) и 30 М (3 м), высоту этажей производственных зданий кратной
укрупненным модулям 12 м (1,2 м) и 6 м (0,6 м), зданий административно -
бытового назначения кратной 3 м (0,3 м).
В качестве перекрытия здания используются сборные (составные)
железобетонные стропильные фермы, длина пролетов 30 м. Стены несут функцию
ограждающей конструкции. В качестве материала используется керамзит - бетонные
панели размером 6х1,2 м. В основе кровельного материала используются рулоны
многослойной кровли из водостойких материалов, которые укладываются на битумной
постели на слой утеплителя. Отвод воды устраивается через воронки в кровле и
через сливную канализацию.
На крыше здания устанавливаются светоаэрационные фонари. Для
освещения рабочих мест в дневное время используются окна шириной 4 м.
Ввиду большой трудоемкости и стоимости изготовления полов
лучше использовать полы, изготовленные индустриальным способом. В литейных
цехах полы должны обладать высокой прочностью и стойкостью к износу и
воздействию агрессивных сред, расплавленного металла и горячих изделий. Полы во
всех отделениях спроектированного цеха, за исключением плавильного, изготовлены
из железобетонных плит с цементным покрытием.
Участок пола в термообрубном отделении необходимо
облицовывать стальными штампованными перфорированными плитами толщиной 15 мм.
Это связано с тем, что полы в термообрубном отделении подвергаются значительным
нагрузкам (как механическим, так и вибрационным).
Полы в плавильном отделении выполнены из жаростойкого бетона.
Полы проездов выполнены из стальных перфорированных плит
толщиной 3 мм, так как они подвергаются значительным механическим и
динамическим нагрузкам.
В основных проездах цеха имеются тамбуры с воротами размером
4х3 м.
9.
Организационно-экономическая часть
Задачей организационно-экономической части дипломного проекта
является определение оптимального варианта спроектированного цеха с наименьшими
затратами.
В организационно-экономической части рассматриваются вопросы
управления и организации производственного процесса в цехе литья по выплавляемым
моделям, определяются капитальные вложения, себестоимость продукции,
рассматриваются основные технико-экономические показатели цеха.
На основе приведенных расчетов сравниваются основные
технико-экономические показатели базового и спроектированного цехов,
рассчитывается изменение затрат на выпуск одной тонны годного литья и за счет
этого снижение себестоимости, в конечном итоге оценивается эффективность
заложенных в проекте технологических решений.
9.1
Технический уровень производства
Уровень механизации труда в цехе характеризует коэффициент
технического уровня производства, который определяется по формуле:
(9.1)
где Кi - коэффициенты характеризующие уровень
прогрессивности технологических процессов, технической оснащенности и т.д.
=1. n;
; (9.2)
где К1 - коэффициент, характеризующий прогрессивность
техпроцессов;
; (9.3)
К2 - коэффициент, характеризующий производительность
оборудования;
; (9.4)
К3 - коэффициент, характеризующий занятость основных
рабочих механизированным трудом;
; (9.5)
К4 - коэффициент, характеризующий занятость
вспомогательных рабочих механизированным трудом;
; (9.6)
К5 - коэффициент, характеризующий занятость
транспортных рабочих механизированным трудом; К6 - КИМ; К6=0,424.
Коэффициент технического уровня производства для данного цеха
равен:
Таблица 9.1 - Исходные данные для расчета технического уровня
производства
|
Наименование
показателя
|
Показатель
|
|
Количество
техпроцессов, всего: в т. ч. прогрессивных
|
6 6
|
|
Количество
оборудования, всего: в т. ч. высокопроизводительного
|
26
|
|
Количество
основных рабочих, всего: в т. ч. занятых механизированным трудом
|
32
|
|
Количество
вспомогательных рабочих, всего: в т. ч. занятых механизированным трудом
|
12 9
|
|
Количество
транспортно-складских рабочих, всего: в т. ч. занятых механизированным трудом
|
4 3
|
|
Коэффициент
использования металла
|
0,424
|
9.2
Организация производства и управления
В основу организации управления положена
линейно-функциональная система управления. В условиях линейно-функциональной
системы управления руководители, используя право единоначалия, осуществляют
управление производством, принимают решения, доводят их до конкретных
исполнителей и контролируют выполнение решения в целях достижения конечного,
положительного результата.
Во главе спроектированного цеха стоит начальник цеха. Он
отвечает за внедрение новой техники, прогрессивной технологии, механизации и
автоматизации производственных процессов. Начальник цеха занимается подбором,
расстановкой и воспитанием кадров. В его обязанности также входит обеспечение
правильности установления норм времени и норм выработки, соотношения между
ростом производительности труда и средней заработной платы; организация
подготовки и переподготовки, технического обучения и повышения квалификации
работающих в цехе. Начальник цеха обеспечивает укрепление трудовой дисциплины и
соблюдение правил внутреннего распорядка, следит за созданием надежных
производственных, санитарно-гигиенических и культурно-бытовых условий, за
соблюдением установленных норм и правил охраны труда и техники безопасности.
Для оперативного руководства отдельными участками цеха в
помощь начальнику цеха назначены: заместитель начальника цеха по технической
части и заместитель начальника цеха по производству. Они решают вопросы
текущего планирования, своевременного запуска и выпуска отливок по заранее
разработанному графику, организуют и контролируют работу всех производственных
участков и отделений цеха, отвечают за своевременное обеспечение цеха
инструментами и другой технической оснасткой.
Производственно-техническое бюро (ПДБ) устанавливает
производственным участкам и группам оперативные плановые задания путем
составления месячных, подекадных и сменно-суточных графиков, контролирует и
регулирует ход их выполнения, организует обеспечение производства всеми
необходимыми материалами и сырьём, подводит итоги работы участков и отделений
цеха в целом.
Бюро труда и заработной платы (БТиЗ) выполняет работы по нормированию
труда и организации заработной платы, устанавливает численность рабочих, вместе
с экономистами цеха ведёт планирование, учет и анализ экономической
деятельности цеха.
Технологическое бюро занимается разработкой и уточнением хода
технологического процесса, осуществляет контроль за технологической
дисциплиной, организует хранение и выдачу чертежей и технологической оснастки
на рабочие места, внедряет в производство передовую технологию, средства
механизации и автоматизации изготовления и обработки отливок, обеспечивает
повышение производительности труда и эффективности производства.
Бюро технического контроля (БТК) подчиняется начальнику
технического контроля предприятия. БТК цеха осуществляет контроль качества
отливок по всем стадиям технологического процесса, производит клеймение
принятой и забракованной продукции.
Сменный мастер является единоначальником и непосредственным
организатором и руководителем производства на участке. Сменный мастер
назначается директором предприятия по представлению начальника цеха.
Организационная структура управления представлена на рисунке
9.1.
Рисунок 9.1 - Организационная структура управления литейного
цеха литья по выплавляемым моделям
9.3 Расчет
персонала цеха по категориям
Работники литейного цеха по характеру выполняемых функций
подразделяются на следующие категории:
а) основные (производственные) рабочие;
б) вспомогательные рабочие;
в) руководители и специалисты;
г) служащие;
д) младший обслуживающий персонал (МОП).
К основным рабочим относятся все рабочие, выполняющие
основные технологические операции по изготовлению отливок. Набор профессий и
классификация основных производственных рабочих по отделениям цеха зависят от
применяемого вида литья.
В дальнейшем расчете используются данные из таблиц фондов
времени.
Таблица 9.2 - Фонды времени работы оборудования
|
Оборудование
|
Число смен
|
Номин. год.
фонд, ч
|
Потери от
номин. фонда, %
|
|
Оборудование
для приготовления модельного состава, суспензии, изготовление моделей,
удаление мод. состава, выбивка форм, обрубка и очистка отливок
|
1
|
1849
|
1812
|
2
|
|
Нанесение
керамического покрытия, сушка, печи для прокаливания форм.
|
2
|
3698
|
3513
|
5
|
|
Печи плавильные
для жаропрочных сплавов
|
2
|
3698
|
3254
|
12
|
Таблица 9.3 - Потери рабочего времени основных рабочих
|
Наименование
профессии
|
Потери рабочего
времени, %
|
Фд, ч.
|
|
На отпуск
|
На гос.
обязанности по факту
|
На больничные
|
Всего
|
|
|
Оператор
установки УВС-ЗМ
|
9
|
0,5
|
2
|
11,5
|
1723
|
|
Плавильщик
|
9
|
0,5
|
2
|
11,5
|
1723
|
|
Термист
оболочек
|
9
|
0,5
|
2
|
11,5
|
1723
|
|
Приготовитель
суспензии
|
9
|
0,5
|
2
|
11,5
|
1723
|
|
Облицовщик
|
9
|
0,5
|
2
|
11,5
|
1723
|
|
Приготовитель
мод. массы
|
8,2
|
0,5
|
2
|
10,7
|
1738
|
|
Приготовитель
исх. матер.
|
8,2
|
0,5
|
2
|
10,7
|
1738
|
|
Модельщик
|
8,2
|
0,5
|
2
|
10,7
|
1738
|
|
Модельщик ЛПС
|
8,2
|
0,5
|
2
|
10,7
|
1738
|
|
Сборщик блоков
|
8,2
|
0,5
|
2
|
10,7
|
1738
|
|
Вытопщик
|
8,2
|
0,5
|
2
|
10,7
|
1738
|
|
Выбивщик
|
8,2
|
0,5
|
2
|
10,7
|
1738
|
|
Обрубщик
|
8,2
|
0,5
|
2
|
10,7
|
1738
|
|
Чистильщик
|
8,2
|
0,5
|
2
|
10,7
|
1738
|
Таблица 9.4 - Потери рабочего времени вспомогательных рабочих
|
Наименование
профессии
|
Потери рабочего
времени, %
|
Фд, ч.
|
|
На отпуск
|
На гос.
обязанности по факту
|
На больничные
|
Всего
|
|
|
Персонал по
вспом. техн. работам
|
|
|
|
|
|
|
Контролер
|
8,2
|
0,5
|
2
|
10,7
|
1738
|
|
Транспортировщик
|
8,2
|
0,5
|
2
|
10,7
|
1738
|
|
Персонал по
содержанию и обслуживанию:
|
|
|
|
|
|
|
Электромонтер
|
9
|
0,5
|
2
|
11,5
|
1723
|
|
Слесарь
|
9
|
0,5
|
2
|
11,5
|
1723
|
|
Персонал по
ремонту оборуд-я и оснастки
|
|
|
|
|
|
|
Станочник
ремонтной мастерской
|
8,2
|
0,5
|
2
|
10,7
|
1738
|
|
Слесарь -
ремонтник
|
9
|
0,5
|
2
|
11,5
|
1723
|
|
Слесарь КИП
|
9
|
0,5
|
2
|
11,5
|
1723
|
|
Электромонтер
|
9
|
0,5
|
2
|
11,5
|
1723
|
|
Инструментальщик
|
8,2
|
0,5
|
2
|
10,7
|
1738
|
|
Электрогазосварщик
|
9
|
0,5
|
2
|
11,5
|
1723
|
Численность основных рабочих определяется по профессиям с
учетом характера работ (нормируемые или ненормируемые).
Расчет производится по явочной и списочной численности по
формуле [9]:
, (9.7)
где Чсп - списочная численность, чел.; Чяв -
явочная численность, чел.; а - процент планируемых потерь рабочего времени.
а = (Фд/Фн) *100 - 100 = (1738/1947) *100 -
100 = 10,7% (9.8)
Данный цех по выплавляемым моделям мощностью 450 тонн в год
спроектирован на работу в одну, две и три смены. Продолжительность рабочей
смены составляет восемь часов, рабочей недели - сорок часов (пять дней).
Режим работы смен: первой - с 8.00 до 16.00, второй - с 16.00
до 00.00 часов, третьей - с 00.00 до 8.00.
Численность основных рабочих на нормируемых работах (очистка
литья, изготовление и модельных блоков, исправление дефектов и т.п.)
рассчитывают по трудоемкости [1]:
, (9.9)
где j - индекс технологической операции; i - индекс
изготавливаемой отливки; tн. в. - норма времени на изготовление
i-той отливки на j-той операции, мин; Ni - годовая программа, шт.; Фд
- действительный фонд рабочего времени одного рабочего, ч.
Количество основных рабочих на ненормируемых работах
определяется по норме обслуживания или норме численности [9]:
, (9.10)
где j - индекс технологической операции; Cj -
количество однородного оборудования на каждой технологической операции, шт.; Hоб
- норма численности, чел. /шт.; Hоб - норма обслуживания, шт. /чел.;
s - количество смен работы оборудования.
Результаты расчета численности основных производственных рабочих
занесены в таблицу 9.5.
Таблица 9.5 - Численность основных производственных рабочих
по цеху
|
Профессии по
отделениям цеха
|
Разряд
|
Численность,
чел.
|
|
|
Явочная
|
по сменам
|
Списочная
|
|
|
|
1
|
2
|
3
|
|
|
Модельное
отделение
|
|
Приготовитель
модельной массы
|
4
|
2
|
2
|
|
|
2
|
|
Модельщик
|
4
|
3
|
3
|
|
|
3
|
|
Модельщик ЛПС
|
4
|
3
|
3
|
|
|
3
|
|
Сборщик блоков
|
4
|
3
|
3
|
|
|
3
|
|
Отделение
нанесения керамического покрытия и вытопки
|
|
Приготовитель
исходных материалов
|
4
|
2
|
2
|
2
|
|
4
|
|
Приготовитель
суспензии
|
4
|
1
|
1
|
1
|
|
2
|
|
Облицовщик
|
4
|
1
|
1
|
1
|
|
2
|
|
Оператор
установки УВС
|
4
|
2
|
2
|
2
|
|
4
|
|
Вытопщик
|
4
|
1
|
1
|
|
|
1
|
|
Отделение
формовки и прокалки
|
|
Термист
оболочек
|
5
|
1
|
1
|
1
|
|
2
|
|
Отделение
плавки и заливки
|
|
Плавильщик
|
6
|
2
|
2
|
1
|
|
3
|
|
Обрубное
отделение
|
|
Выбивщик
|
4
|
1
|
1
|
|
|
1
|
|
Обрубщик
|
4
|
1
|
1
|
|
|
1
|
|
Чистильшик
|
3
|
1
|
1
|
|
|
1
|
|
Итого
|
|
24
|
24
|
8
|
|
32
|
К вспомогательным рабочим относится персонал цеха,
выполняющий функции по обслуживанию процесса производства.
Расчет численности вспомогательных рабочих производится
аналогично расчету по основным рабочим:
а) по трудоемкости выполняемых работ (ремонтные работы при
применении системы планово-предупредительного ремонта, контрольные операции,
повторяющиеся транспортные работы);
б) по нормам обслуживания или нормам численности.
Численность вспомогательных рабочих, которые по роду своей
деятельности связаны с определенным оборудованием и закреплены за ним в течение
всей смены, рассчитывается по нормам обслуживания или нормам численности. При
установлении этих норм за объект берутся либо рабочие места (транспортные
рабочие, рабочие складов), либо единицы ремонтной сложности (рабочие по
межремонтному обслуживанию оборудования), либо количество основных рабочих
(распределители, экспедиторы).
Результаты расчета численности вспомогательных рабочих
занесены в таблицу 9.6.
Численность руководителей, специалистов, служащих зависит от
организации управления цехом, количества рабочих, объема выпуска, широты номенклатуры
отливок, сложности технологического процесса и применяемого оборудования.
Численность руководителей, специалистов, служащих по
должностям рассчитывается на основе типовых нормативов с учетом практических
данных с производственной практики. Для массового характера производства в
литейных цехах численность руководителей и специалистов составляет 10-12 % от
числа всех рабочих, служащих 4-5 %.
Численность МОП определяется исходя из норм обслуживания или
норм численности, и на всех рабочих в цехе приходится 1,5-2 %.
Результаты расчета численности руководителей, специалистов,
служащих и МОП занесены в таблицу 9.7.
Таблица 9.6 - Численность вспомогательных рабочих по цеху
|
Наименование
профессии
|
Разряд
|
Численность,
чел
|
|
|
Явочная
|
По сменам
|
Списочная
|
|
|
|
1
|
2
|
3
|
|
|
Персонал по
вспом. технологическим работам
|
|
|
|
|
|
|
|
Кладовщик
|
4
|
1
|
1
|
|
|
1
|
|
Уборщик цеха
|
1
|
1
|
1
|
|
|
1
|
|
Контролер
|
4
|
1
|
1
|
|
|
1
|
|
Транспортировщик
|
4
|
1
|
1
|
|
|
1
|
|
Итого
|
|
4
|
4
|
|
|
4
|
|
Персонал по
содержанию и обслуживанию оборудования
|
|
|
|
|
|
|
|
Электромонтер
|
1
|
1
|
|
|
1
|
|
Слесарь
|
5
|
1
|
1
|
|
|
1
|
|
Итого
|
|
2
|
2
|
|
|
2
|
|
Персонал по
ремонту оборудования и оснастки
|
|
|
|
|
|
|
|
Слесарь-ремонтник
|
5
|
1
|
1
|
|
|
1
|
|
Слесарь КИП
|
5
|
1
|
1
|
|
|
1
|
|
Электромонтер
|
5
|
1
|
1
|
|
|
1
|
|
Электрогазосварщик
|
5
|
1
|
1
|
|
|
1
|
|
Инструментальщик
|
5
|
1
|
1
|
|
|
1
|
|
Станочник
ремонтной мастерской
|
4
|
1
|
1
|
|
|
1
|
|
Итого
|
|
6
|
6
|
|
|
6
|
|
Итого
|
|
12
|
12
|
|
|
12
|
Таблица 9.7 - Численность руководителей, специалистов,
служащих, и МОП
|
Наименование
должности
|
Численность,
чел
|
|
Начальник цеха
|
1
|
|
Зам. нач. цеха
по технической части
|
1
|
|
Зам. нач. цеха
по производству
|
1
|
|
Зам. нач. цеха по
оборудованию
|
1
|
|
Техническое
бюро
|
|
|
Начальник ТБ
|
1
|
|
Технолог
|
1
|
|
Механик цеха
|
1
|
|
Конструкторское
бюро
|
|
|
Начальник КБ
|
1
|
|
Конструктор
|
1
|
|
Планово-диспетчерское
бюро
|
|
|
Начальник ПДБ
|
1
|
|
Диспетчер
|
1
|
|
Экономист
|
1
|
|
Вед. экономист
|
1
|
|
Энергетик цеха
|
1
|
|
Мастер
|
2
|
|
Бюро труда и
зарплаты
|
|
|
Начальник БТиЗ
|
1
|
|
Нормировщик
|
1
|
|
Группа по
оснастке
|
|
|
Начальник бюро
инструментального хозяйства
|
1
|
|
Итого
|
19
|
|
Служащие
|
|
|
Секретарь-табельщик
|
1
|
|
Бухгалтер
|
1
|
|
Секретарь-машинист
|
1
|
|
Архивариус
|
1
|
|
Итого
|
4
|
|
МОП:
|
|
|
Уборщик АБК
|
1
|
|
Итого
|
1
|
|
Итого
|
24
|
После подбора численности персонала определяется структура
ППП
Таблица 9.8 - Структура ППП
|
Категории
рабочих в цехе
|
Численность
|
Удельный вес в
%
|
|
Основные
рабочие
|
32
|
47,05
|
|
Вспомогательные
рабочие
|
12
|
17,64
|
|
Руководители,
специалисты
|
19
|
27,94
|
|
Служащие
|
4
|
5,88
|
|
МОП
|
1
|
1,49
|
|
Итого по
цеху
|
68
|
100
|
9.4 Расчет
фонда оплаты труда персонала цеха
Весь фонд оплаты труда рабочих можно разделить на основной
фонд оплаты труда и фонд дополнительной заработной платы.
Основная заработная плата выплачивается производственным
рабочим за работу, выполняемую непосредственно по изготовлению продукции, а
также и ИТР. Она включает все виды оплат и доплат за фактически отработанное
время. В ее состав входят: оплата за выполнение операций и работ по сдельным
нормам и расценкам, оплата труда рабочих-повременщиков, ИТР, доплаты и премии.
Прямой фонд оплаты труда определяется по формуле:
а) для сдельщиков
; (9.11)
б) для повременщиков
Чспj
; (9.12)
где Тj - трудоемкость годовой программы на j-той
операции нормо-час; Ссрj - часовая тарифная ставка среднего разряда
на j - той операции, р; Рсрj - сдельная расценка на i-той
операции, р.
Трудоемкость работы находится произведением нормы времени
обслуживания на операции на годовую программу.
Доплаты производственным рабочим за фактически отработанное
время включают:
- фонд премии для рабочих;
- премия за личное клеймо производственным
рабочим;
- доплата за руководство бригадами;
- доплата за проф. мастерство рабочим;
- доплата молодым рабочим;
- доплата за работу в праздники;
- доплата за совмещение профессий;
- оплата (доплата) ученикам.
Для учета климатических условий работы вводится районный
коэффициент на заработную плату, который для условий Урала равен 15 %.
Начисляется на основной фонд оплаты труда.
С учетом этого общий фонд заработной платы рабочих составит:
ФЗПобщ = (ФЗПосн +ФЗПдоп) ×1,15 (9.13)
Фонд дополнительной заработной платы рабочих включает в себя
оплату очередных и дополнительных отпусков, выплат за выслугу лет, перерывов в
работе кормящих матерей, времени выполнения государственных и общественных
обязанностей и пр. Это выплаты, предусмотренные Трудовым кодексом или трудовыми
договорами за непроработанное на производстве время. Величина дополнительной
заработной платы берется примерно 10.12 % от основного фонда оплаты труда.
Социальные отчисления производятся с полного фонда оплаты
труда, суммы основного и дополнительного фондов оплат труда. Статьи видов
отчислений перечислены в таблице 9.8
Таблица 9.8 - Перечень социальных отчислений
|
Вид отчисления
|
%
|
|
На социальное
страхование
|
2,9
|
|
Медицинское
страхование
|
3,1
|
|
Пенсионный
|
на рабочих
|
14
|
|
в бюджет
|
6
|
|
Всего
|
|
26
|
Результаты расчета фонда оплаты труда рабочих заносятся в
таблицу 3 и 4 приложения А.
Фонд заработной платы руководителей, специалистов, служащих и
МОП рассчитывается на основе должностных окладов по штатному расписанию с
учетом районного коэффициента 15 % и доплат за ночное время 10 % и вредные
условия труда для персонала от 10 - 20 %, находящегося непосредственно в
производственных помещениях, а также премии за компетентность 40 % и за
выполнение плана 80 %.
Результаты расчета заносят в таблицу 5 приложения А.
9.5 Расчет
стоимости основных производственных фондов
Производственные фонды цеха складываются из основных и
оборотных, которые различаются по характеру участия в производственном
процессе, способу переноса стоимости на готовую продукцию и порядку ее
возмещения.
К основным фондам относятся здания, сооружения, все виды
оборудования, транспорт, производственный и хозяйственный инвентарь.
Стоимость зданий определяется исходя из рассчитанных площадей
цеха, стоимости 1 кв. м, которая принята равной 5000 руб.
В эту стоимость включены затраты на санитарно-технические
устройства, проектирование и подготовку площадки.
Стоимость сооружений, передаточных
устройств: включает в себя стоимость внутрицеховых рельсовых и подкрановых
путей, эстакад, тоннелей, трубопроводов и электросетей. Она была принята 20% от
стоимости технологического оборудования.
Стоимость технологического оборудования определена по
утвержденным прейскурантам с учетом упаковки, и транспортировку и монтаж
оборудования укрупненно принято 12%.
Стоимость инструмента и оснастки, включаемых в основные фонды
приняты в размере 2% от стоимости технологического оборудования.
Стоимость производственного инвентаря определяется из расчета
1,5% от стоимости технологического оборудования.
Результаты расчета стоимости основных производственных фондов
представлены в таблице 9.9.
Таблица 9.9 - Основные производственные фонды по цеху
|
Названия ОПФ
|
Стоимость
|
|
Здания и
сооружения
|
10605600
|
|
Оборудование
|
8626766
|
|
Транспорт
|
1035211,92
|
|
Инвентарь
|
129401,49
|
|
Инструмент
|
172535,32
|
|
Итого
|
20569514,73
|
Амортизации зданий, оборудования, транспортных средств и др.
рассчитываются по формуле [10]:
(9.14)
где Ц - первоначальная стоимость производственного оборудования,
зданий, инвентаря, руб; а - нормы амортизационных отчислений, %.
Сумма основных производственных фондов составила 20569514,73
рублей.
9.6 Расчет дополнительных
капитальных затрат
Внедрение новых технологических процессов, улучшение
существующих связано со значительными капитальными вложениями в производство.
Потребность в капитальных вложениях складывается из вложений
в основные средства и оборотные средства. Капитальные вложения в основные
средства проектируемого цеха включают в себя стоимость зданий,
технологического, подъемно-транспортного и вспомогательного оборудования.
Расчет дополнительных капитальных вложений D выполняется по формуле:
D=Аренда-Лизинг; (9.15)
Таблица 9.10 - Дополнительные капитальные затраты
|
Наименование
группы ОПФ
|
Стоимость ОПФ,
р.
|
|
|
Аренда
|
Лизинг
|
|
Здания
|
10990800
|
15 664 788
|
|
Оборудование
технологическое
|
10661977,92
|
10 970 388
|
|
Транспорт
|
1279437,35
|
1 164 060
|
|
Инвентарь
|
159929,6688
|
300869,49
|
|
Инструмент,
оснастка
|
213239,5584
|
296468
|
|
Итого
|
23305384,5
|
28 396 573
|
|
|
|
|
|
D= 5 091 189 рублей.
9.7 Расчет
материальных затрат
Потребность в основных материалах рассчитывается исходя из
массы отливок и программы выпуска.
Стоимость основных материалов рассчитывается по формуле:
Смо= (НрЦм-mотхЦотх)
N (9.16)
где Нр - норма расхода материала, кг; Цм - оптовая
цена материала, р. /кг; mотх - масса отходов, кг; Цотх -
цена отходов руб/кг; N - годовая программа, шт.
Таблица 9.11 - Затраты на основные материалы
|
Наимен. дет.
|
Сплав
|
Ст-ть
мат,руб/кг
|
Кол-во, кг
|
Кол-во сучетом
возврата, кг
|
Сумма,руб
|
Сумма с учетом
возврата, руб
|
|
Матрица
|
ЖС6У
|
1260,36
|
29276,69
|
5367,3942
|
36899176
|
6764848,99
|
|
Рамка
|
ЖС6У
|
1260,36
|
60563,36
|
11103,284
|
76331647
|
13994135,38
|
|
Пуансон
|
ЖС6У
|
1260,36
|
30284,41
|
5552,1438
|
38169267
|
6997699,05
|
|
Кольцо
|
ВЖЛ14Н
|
1132,16
|
63060,81
|
11561,148
|
71394929
|
13089070,32
|
|
Фланец
|
ЖС6У
|
1260,36
|
63060,81
|
11561,148
|
79479325
|
14571209,61
|
|
Корпус
подшипника
|
Сталь 14Х17Н2Л
|
123,43
|
102766,9
|
18840,611
|
12684527
|
2325496,66
|
|
|
|
|
|
|
|
|
|
Всего
|
|
|
349013,
|
|
31495887
|
57742460,01
|
Таблица 8.12 - Калькуляция на 1 т жидкого сплава ЖС6У-ВИ
|
|
Количество
|
Цена, руб
|
Сумма, руб
|
|
Металлозавалка,
кг
|
183185,29
|
1260,36
|
230 879 417
|
|
Годное литье,
кг
|
61305
|
|
|
|
Электроэнергия,
кВт
|
5551200
|
1,24
|
6 883 488
|
|
Себестоимость
|
|
|
1 297,94
|
|
1т
жидкого сплава
|
|
|
|
|
|
|
|
|
|
Потребность во вспомогательных материалах рассчитывается на
основе норм расхода и количества потребителей.
Стоимость вспомогательных материалов определяется по формуле:
Смв=НрвКпСм;
(9.17)
где Нрв - норма расхода материала, кг; Кп
- количество потребителей, использующих данный вспомогательный материал, шт.; См
- стоимость вспомогательных материалов, руб.
Затраты на вспомогательные материалы приведены в таблице 6
приложения А.
9.8 Расчет
энергетических затрат
Затраты на топливо и энергию для технологических целей
включают стоимость всех видов топлива и энергии, непосредственно расходуемых в
процессе производства продукции (как получаемых со стороны, так и вырабатываемых
самим предприятием).
К таким расходам относятся затраты на:
электроэнергию для электропечей в литейном производстве,
термических печей, для электродуговой и точечной сварки, для высокочастотных и
других установок [2];
=N×kw×Fд×kз/КПД; (9.18)
где N - суммарная мощность оборудования цеха, кВт×ч; kw -
коэффициент потерь в электросети (kw=1,06); Fд -
действительный фонд работы оборудования, ч; kз - коэффициент
загрузки оборудования;
топливо и энергию, расходуемые на проведение испытаний
изделий (стендовых и других испытаний изделий и их систем), предусмотренных
технологическим процессом;
пар, горячую и холодную воду, сжатый воздух, кислород, холод,
расходуемые цехом, участком для технологических нужд [10]:
а) расход пара на отопление:
=0,47×V (9.19)
где V - наружный объем здания, м3,б) расход
сжатого воздуха:
=1,5×Нр×kз×Fд (9.20)
где Нр - суммарная норма расхода сжатого воздуха
для оборудования, м3,в) расход воды:
Результат расчетов расхода потребляемой энергии сведены в
таблицу 9.13.
Таблица 9.13 - Стоимость потребляемой энергии
|
Расчет
энергетических затрат
|
|
|
|
Наимен. вида
энергии
|
Ед. изм.
|
Цена,руб/ед.
|
Год. потреб.
|
Стоимость,руб.
|
|
1. На технол.
нужды
|
кВт/ч
|
1,24
|
57742460,01
|
71600650,41
|
|
Итого
|
|
|
|
71600650,41
|
|
2. На произв.
нужды
|
|
|
|
|
|
- эл. энергия
силовая
|
кВт/ч
|
1,24
|
1947588,48
|
2415009,715
|
|
- вода
техничекая
|
м³
|
4,45
|
128832
|
573302,4
|
|
- воздух
сжатый
|
м³
|
1,69
|
63635,2
|
107543,488
|
|
Итого
|
|
|
|
3095855,603
|
|
3. На хоз.
нужды
|
|
|
|
|
|
- эл. энергия
на освещ.
|
кВт/ч
|
1,24
|
33418,24
|
41438,6176
|
|
- пар на
отопление
|
м³
|
6,5
|
4822,2
|
31344,3
|
|
- вода
хозяйственная
|
м³
|
30,9
|
2673,264
|
82603,8576
|
|
Итого
|
|
|
|
155386,7752
|
|
Всего
|
|
|
|
74851892,79
|
9.9 Смета
цеховых расходов
Расходы по управлению и обслуживанию производства включают в
себя расходы по содержанию и эксплуатации оборудования и общецеховые расходы по
управлению и обслуживанию в цехе.
Расходы по содержанию и эксплуатации оборудования (РСЭО)
включают затраты на содержание, амортизацию и текущий ремонт производственного
и подъемно-транспортного оборудования, ценных инструментов, цехового транспорта
и рабочих мест, износ и затраты на восстановление малоценного и
быстроизнашивающегося инструмента и др. (см. таблицу 9.14)
Таблица 9.14 - Смета цеховых расходов
|
Наименований
статей
|
Расчетная формула
|
Сумма, руб
|
|
РСЭО
|
|
1. Амортизация
ОПФ
|
|
|
|
оборудования
технологического
|
таблица 8.12
|
1294014,9
|
|
транспорта
|
таблица 8.12
|
165633,9072
|
|
инструмента и
оснастки
|
таблица 8.12
|
86267,66
|
|
Итого по статье
1:
|
|
381316,4672
|
|
2. Эксплуатация
оборудования
|
|
|
|
- вспом. мат.
на содерж. оборуд.
|
таблица 8.16
таблица 1.16
|
74119659,62
|
|
-
электроэнергия
|
таблица 8.17
|
2415009,715
|
|
- вода
|
таблица 8.17
|
573302,4
|
|
- пар
|
таблица 8.17
|
31344,3
|
|
- сжатый
воздух
|
таблица 8.17
|
107543,488
|
|
- ЗП (осн и
доп) вспом. рабочих, обслуживающих оборудование
|
таблица 8.10
|
1282189,4
|
|
- отчисления
на соц. нужды
|
таблица 8.10
|
333369,244
|
|
Итого по статье
2:
|
|
78862418,17
|
|
3. Текущий
ремонт
|
|
|
|
- оборудования
|
3%от баланса
стоимости
|
3882,447
|
|
итого по статье
3
|
|
3882,447
|
|
4. Износ МПБ
|
390 руб на
человека
|
26520
|
|
итого по статье
4:
|
|
26520
|
|
5. Прочие
расходы
|
1% от суммы
пред. статей
|
80438737,08
|
|
итого по статье
5:
|
|
80438737,08
|
|
Всего РСЭО
|
|
160877474,2
|
|
Общецеховые
расходы
|
|
1. Содержание
аппарата управления цеха
|
|
|
|
- ЗП
рукодителей и специалистов
|
таблица 8.11
|
4705532,27
|
|
- ЗП служащих
|
таблица 8.11
|
581138,21
|
|
- ЗП МОП
|
таблица 8.11
|
134325,99
|
|
- отчисления
на соц. нужды
|
таблица 8.11
|
1409459,08
|
|
Итого по статье
1:
|
|
6830455,54
|
|
2. Содержание
прочего цехового персонала
|
|
|
|
- ЗП
вспомогательных рабочих
|
таблица 8.9
|
4931497,5
|
|
- отчисления
на соц. нужды
|
таблица 8.9
|
1282189,4
|
|
Итого по статье
2:
|
|
6213686,9
|
|
3. Амортизация
ОПФ
|
|
|
|
- зданий
|
таблица 8.12
|
94500
|
|
- инвентаря
|
таблица 8.12
|
32350,3725
|
|
Итого по статье
3
|
|
126850,4
|
|
4. Содержание
зданий, сооружений
|
|
|
|
- стоимость
мат. на хоз. нужды цеха
|
таблица 8.16
|
74119659,62
|
|
- стоимость
энергии на хоз. нужды
|
таблица 8.17
|
155386,7752
|
|
Итого по статье
4:
|
|
74275046
|
|
5. Текущий
ремонт зданий
|
1% от стоимости
здания
|
37800
|
|
Итого по статье
5:
|
|
37800
|
|
6. Износ МПБ
|
300 руб на 1
работающего
|
20400
|
|
Итого по статье
6:
|
|
20400
|
|
7. Охрана труда
|
400 руб на 1
работающего
|
27200
|
|
Итого по статье
7:
|
|
27200
|
|
8. Испытания,
опыты, исследования
|
360 руб. на 1
работающего
|
24480
|
|
Итого по статье
8:
|
|
24480
|
|
9. Прочие
расходы
|
1% от суммы
пред. статей
|
875559, 19
|
|
Итого по статье
9:
|
|
875559, 19
|
|
Всего
общецеховых расходов
|
|
175111838
|
|
|
Всего цеховых
расходов
|
|
335989312,6
|
|
Процент цеховых
расходов, %
|
|
192
|
9.10 Смета
затрат на производство
Смета затрат на производство представляет собой общую сумму
затрат в проектируемом цехе по экономическим элементам. Эта смета составляется
на год путем выборок всех однородных по экономическому содержанию расходов из
ранее произведенных расчетов прямых и косвенных затрат.
Таблица 9.15 - Смета затрат на производство
|
Наименование
элементов затрат
|
Сумма
затрат,руб
|
Уд. вес,%
|
|
1. Материальные
затраты
|
|
|
|
- основные
материалы
|
314958872,8
|
71,22
|
|
-
вспомогательные материалы
|
74119660
|
16,76
|
|
- эл. энергия
|
10348152
|
2,34
|
|
- вода
|
1995414
|
0,45
|
|
- пар
|
73932
|
0,0167
|
|
- сжатый
воздух
|
3846637
|
0,8699
|
|
2. Расходы на
оплату труда
|
26125930
|
5,91
|
|
3. Отчисления
на соц. нужды
|
6792742
|
1,54
|
|
4. Амортизация
ОФ
|
3067030
|
0,69
|
|
5. Прочие
расходы
|
875559
|
0,69
|
|
Итого затрат на
производство
|
442203927,90
|
100
|
Себестоимость 1 т годного литья рассчитывается по формуле:
; (9.22)
где åЗi
- затраты на производство, руб.; М - выпуск годного литья, т.
Себестоимость 1 т годного литья составит 3 687 735,42 руб.
9.11 Основные
технико-экономические показатели
При определении технико-экономической целесообразности
строительства нового цеха рассчитываются его основные показатели, которые
сравниваются с аналогичными показателями базового цеха. В качестве базы
сравнения необходимо выбирать передовой цех данного вида литья.
Технико-экономические показатели цеха характеризуют все
стороны его работы - уровень использования производственных фондов, рабочей
силы, рациональность технологического процесса.
Таблица 9.16 - Расчет основных технико-экономических
показателей цеха
|
Наименование
показателей
|
Условное
обозначение
|
Ед. изм.
|
Методика
расчета
|
Значение
показателя
|
|
Выпуск годного
литья
|
Q
|
т
|
|
120
|
|
Общая площадь
цеха:
|
Sобщ
|
м²
|
(SАБК + Sцеха)
|
1404
|
|
Производств.
площадь цеха
|
Sпр
|
м²
|
|
756
|
|
Съем с 1м² общей площади:
|
qj,o
|
т/м²
|
qобщ=Q/Sобщ
|
0,09
|
|
Производственной
|
qпр
|
т/м²
|
qпр=Q/Sпр
|
0,16
|
|
Численность
персонала цеха
|
Чобщ
|
чел
|
|
68
|
|
Основных
рабочих
|
Чосн
|
чел
|
|
32
|
|
Вспомогательных
рабочих
|
Чвсп
|
чел
|
|
12
|
|
Руководителей,
специалистов, МОП
|
Чрук
|
чел
|
|
24
|
|
Выпуск на 1
рабочего
|
ПТр
|
т/чел
|
ПТр=Q/
(Чосн+Чвсп)
|
2,73
|
|
Выпукс на осн.
рабочего
|
ПТо
|
т/чел
|
ПТо=Q/Чосн
|
3,75
|
|
Стоимость ОПФ
|
Fосн
|
руб
|
Таблица
|
20569514,73
|
|
Фондоотдача
|
ФО
|
т/руб
|
ФО=Q/Fосн
|
0,0000058
|
|
Фондовооруженность
|
ФВ
|
руб/чел
|
ФВ=Fосн/Чобщ
|
302492,86
|
|
Выход годного
литья
|
аг
|
|
аг= (Q/Мз) 100
|
15,4
|
|
Цеховая
себестоимость 1т годного литья
|
|
|
|
3 687 735
|
9.12 Расчет
экономической эффективности внедрения новой техники и технологии
Экономическая эффективность от внедрения новой техники и
технологии рассчитывается как разность между результирующей и затратной оценкой
проекта:
Эт=Рт-Зт; (9.23)
где Эт - годовой экономической эффект, руб.; Рт
- стоимостная оценка результатов от внедрения, руб.; Зт -
стоимостная оценка затрат на внедрение, руб.
Снижение трудоемкости производственной программы произошло в
результате внедрения новой прокалочной печи КЭСмвп-3000N вместо печи
СДО. Снижение трудоемкости рассчитывается по формуле:
, (9.24)
где Тб - базовая, нормо-часов;
Тпр - проектная трудоемкость, нормо-часов.
Внедрение высокопроизводительной техники и технологии позволяет
снизить трудоемкость ∆Т на 37,5 %.
Прирост выработки рабочих в результате снижения трудоемкости
производимой продукции рассчитывается по формуле:
Условное высвобождение численности рабочих рассчитывается по
формуле:
; (9.26)
где kвн= 1,2…1,3 - планируемый коэффициент выполнения
норм выработки.
Это означает, что по цеху высвобождается 4 человека.
Рассчитаем изменение затрат по изменяющимся статьям: на
энергию, амортизацию, заработную плату на 1 тонну годного литья.
Dэл=r'пр-r'б=3241,31-4946,62,
кВт×ч (9.27)
(9.28)
Таблица 9.17 - Расчет изменения энергии 1 тонны годного литья
в результате замены и внедрения нового оборудования
|
Показатели
|
Единица
измерения
|
Аренда
|
Лизинг
|
Формула
|
|
Расход энергии
на плавку 1т жидкого Ме
|
кВт
|
300,70
|
65,68
|
|
|
Расход энергии
на плавку 1т годного литья
|
кВт
|
1949,55
|
425,82
|
|
Изменение затрат на энергию в расчете на 1т годного литья руб -1737,06
∆ = - 1737,06 руб.
Таблица 9.19 - Изменение затрат на амортизацию в расчете на 1
тонну годного литья
|
Показатели
|
Условное
обозначение
|
Единица
измерения
|
Аренда
|
Лизинг
|
Фрмула
|
|
Стоимость
оборудования
|
С
|
руб
|
10661977,9
|
8626766
|
Таблица 1.12
|
|
|
|
|
|
|
|
Амортизация
оборудования
|
А
|
руб
|
1279437,35
|
1294014,9
|
|
|
|
|
|
|
|
|
Амортизация в
расчете на 1т годного литья
|
А'
|
руб
|
10661,98
|
10783,46
|
|
|
|
|
|
|
|
|
|
|
|
|
|
|
Изменение
затрат на амортизацию
|
А
|
руб
|
121,48
|
|
Таблица 9.20 - Изменение затрат на заработную плату в расчете
на 1 тонну годного литья
|
Показатели
|
Условное
обозначение
|
Единица
измерения
|
Аренда
|
Лизинг
|
|
Численность
персонала цеха
|
Ч
|
чел
|
72
|
68
|
|
Зарплата
основных рабочих
|
ЗПо
|
руб
|
3132498
|
1832431,381
|
|
Зарплата в
расчете на 1т годного литья
|
ЗП'о
|
руб
|
26104,15
|
15270,26
|
|
Изменение
затрат на зарплату
|
ЗП'о
|
руб
|
-10833,89
|
|
Общее изменение себестоимости:
(9.29)
Снижение себестоимости:
;
(9.30)
Снижение себестоимости для сплава ЖС6-У составит 0,47 %.
Условно-годовая экономия от снижения себестоимости:
Эуг. = ∆общ. × Q = 12449,47×120=1493936,4 руб. (9.31)
Срок окупаемости капитальных вложений определяется по формуле:
Ток=442 528 250,45/1 493 936,4
5 091 189 =6,8 (9.32)
Коэффициент сравнительной экономической эффективности
рассчитывается:
; (9.33)
Ток =6,8 >Тн=5;
Ер=0,14< Ен=0,2.
Расчеты показывают, что внедрение новой техники и технологии
экономически эффективно (см. таблицу 9.21).
Таблица 9.21 - Показатели экономической эффективности
внедрения новой техники и технологии
|
Наименование
показателей
|
Усл. обозн.
|
Ед. изм.
|
Значение
|
|
Снижение
трудоемкости производственной программы
|
DТ
|
%
|
37,5
|
|
|
|
|
|
Прирост
выработки рабочих в результате снижения трудоемкости производства продукции
|
DПТ
|
%
|
60,0
|
|
|
|
|
|
|
|
|
|
Условное
высвобождение численности рабочих
|
DЧ
|
чел
|
2
|
|
|
|
|
|
Снижение
расхода электроэнергии
|
Dэл
|
кВт×ч
|
|
|
|
%
|
|
|
Снижение
себестоимости
|
DС
|
%
|
0,47
|
|
Изменение
затрат на 1т
|
D общ
|
руб
|
-12449,47
|
|
годного литья,
из них по след.
|
|
|
|
|
элементам
(-уменьшение):
|
|
|
|
|
а) энергия;
|
D
|
|
-1137,00
|
|
б)
амортизационные отчисления;
|
DА
|
|
121,48
|
|
в) зарплата
|
DЗП'о
|
|
-10833,89
|
|
|
%
|
|
|
Условно-годовая
экономия от снижения себестоимости
|
Эуг
|
руб
|
1 493 936,40
|
|
|
|
|
|
1) расходы на
оплату труда
|
|
|
|
|
2) материальные
затраты
|
|
|
|
|
Дополнительные
капитальные вложения
|
DК
|
руб
|
-3 552 459
|
|
|
|
|
|
Годовой
экономический эффект
|
Эг
|
руб
|
2 939 776,28
|
|
Срок
окупаемости
|
Ток
|
лет
|
6,8
|
|
Коэффициент
сравнительной экономической эффективности
|
Ер
|
|
0,14
|
|
|
|
|
В организационно-экономической части дипломного проекта были
рассчитаны численность промышленно-производственного персонала (ППП) цеха и
фонд оплаты труда; стоимость ОПФ и размер амортизационных отчислений.
Составлена смета затрат на производство и рассчитана
себестоимость одной тонны годного литья.
Рассчитаны показатели экономической эффективности внедрения
новой техники и доказана экономическая эффективность проектирования нового
цеха.
В спроектированном цехе благодаря внедрению новой техники и
технологии снизится трудоемкость на 10,54%, повысится производительность труда
на 37,5%, высвободится 2 рабочих, снизятся затраты на: электроэнергию в расчете
на 1 т годного литья на 1189,37 руб.; заработную плату на 233375,7 руб.
Условно-годовая экономия составит 595 919,63 руб., при
дополнительных, капитальных вложениях в размере 1 357 209 руб. Годовой экономический
эффект составит 324 477,84 руб. Дополнительные капитальные затраты, необходимые
для внедрения новой техники и технологии, окупятся в течение 2,3 лет.
10.
Безопасность и экологичность проекта
Разработка мероприятий по обеспечению безопасности труда и
защиты окружающей среды
В настоящее время в машиностроительной отрасли существует
большое количество предприятий, так или иначе загрязняющих атмосферу.
Происходит это различными способами: к примеру, в воздух попадают продукты
сгорания топлива, взвешенные вещества (как твердые, так и газообразные) от
различных производств, разнообразные испарения химических веществ и горючего,
пыль сучастков погрузки, подготовки и использования формовочных смесей и т.п.
Государство регулирует и нормирует количество вредных
выбросов. В Федеральном законе "Об охране атмосферного воздуха"
написано, что "юридические лица, имеющие источники выбросов вредных
(загрязняющих) веществ в атмосферный воздух, должны разрабатывать и
осуществлять мероприятия по охране атмосферного воздуха. Производство и
использование на территории Российской Федерации технических, технологических
установок, транспортных средств допускаются только при наличии сертификатов,
устанавливающих соответствие содержания вредных (загрязняющих) веществ в их
выбросах техническим нормативам выбросов. Запрещается выброс в атмосферный
воздух веществ, степень опасности которых для жизни и здоровья человека и для
окружающей природной среды не установлена".
Данный раздел посвящен обеспечению безопасности
функционирования цеха, включая обеспечение безопасных условий труда и
мероприятия по защите окружающей среды.
10.1
Обеспечение безопасности на рабочем месте
Окружающий человека атмосферный воздух на предприятии
непрерывно подвергается загрязнению. Воздух производственных помещений
загрязняется выбросами технологического оборудования или при проведении
технологических процессов без локализации отходящих веществ. Удаляемый из
помещения вентиляционный воздух может стать причиной загрязнения атмосферного
воздуха промышленных площадок и населенных мест.
В цехе литья по выплавляемым моделям возможны многие
источники загрязняющих веществ: это печи, участки складирования и переработки
шихты и формовочных материалов; участки формовки готовых к заливке форм;
транспортные механизмы - конвейеры, пневмотранспортные установки; участки
выбивки и очистки литья.
Все рабочие, работа которых непосредственно происходит в
данных местах или связана с ними, должны быть защищены от вредных выбросов.
Необходимо организовать общую и местную вентиляцию, достаточную для вывода
всего загрязненного воздуха из помещения. К примеру, над крупными печами имеет
смысл размещать большие вытяжки.
Удаляемый из помещений воздух необходимо очищать. Конкретно в
случае выделения большого количества пыли, необходимо использовать класс
устройств, называемых пылеуловителями.
Безопасность труда обеспечивается с соблюдением стандартов по
безопасности труда, правил по технике безопасности, санитарных норм и правил,
инструкций по охране труда. Условия труда на рабочих местах производственных
помещений или площадок складываются под воздействием большого числа факторов,
различных по своей природе, формам проявления, характеру действия на человека.
Цель раздела дипломной работы: обеспечение безопасности и
экологичности в цехе литья по выплавляемым моделям.
Задачи:
) Анализ опасных и вредных производственных факторов
на участке;
2) Расчет пылевой нагрузки на участке подготовки и
безопасного времени работы;
) Расчет общеобменной вентиляции.
10.2
Идентификация и анализ опасных и вредных производственных факторов
Производительность, качество труда и здоровье рабочего во
многом зависят от условий труда на рабочем месте. Для обеспечения качества и
безопасной деятельности работ в цехе литья по выплавляемым моделям требуется
минимизировать уровни выбросов опасных и вредных веществ. Данные мероприятия
окажут положительное психофизиологическое воздействие на работающих,
поспособствуют повышению эффективности и безопасности труда, снизят утомление и
травматизм, сохранят высокую работоспособность.
Безопасность труда обеспечивается с соблюдением стандартов по
безопасности труда, правил по технике безопасности, санитарных норм и правил,
инструкций по охране труда. Условия труда на рабочих местах производственных
помещений или площадок складываются под воздействием большого числа факторов,
различных по своей природе, формам проявления, характеру действия на человека.
В данной работе рассмотрены вопросы связанные с влиянием
опасных и вредных факторов на человека, а также разработкой мероприятий снижающих
их воздействие.
10.2.1
Содержание вредных веществ в воздухе рабочей зоны
В воздухе рабочей зоны содержится следующие вредные вещества:
окись углерода, ПДК= 20 мг/ м3 - 4 класс
опасности;
кремнеземосодержащая пыль (SiO2 >20%), ПДК=2
мг/ м3;
фенол, ПДК = 0,1 мг/ м3-2 класс опасности;
формальдегид, ПДК=0,05 мг/ м3-2 класс опасности.
10.2.2
Организация вентиляции
Задачей вентиляции является обеспечение чистоты воздуха и
заданных метеорологических условий. Для исключения попадания в воздух рабочей
зоны газа и пыли применяют местную вытяжную вентиляцию.
Общеобменная вентиляция на участке обеспечивает приток
свежего воздуха вдоль колонн в рабочую зону с высоты 3 метра и создание
комфортных температурных условий на рабочих местах.
Кратность воздухообмена - 8.
Для исключения загазованности воздуха внутри помещений от
плавильных печей в их конструкции предусмотрено наличие вытяжной вентиляции,
для отвода пыли, вредных газов, паров, избыточного тепла. В конструкции
вентиляции предусмотрено наличие циклонов для осаждения взвешенных частиц и
фильтров для улавливания вредных веществ.
10.2.3
Организация отопления производственных и служебных помещений
По СНиП 41-01-2003 для производственного здания применяется
воздушное отопление, совмещенное с вентиляцией.
В осенне-зимнее время для защиты рабочих мест от притока
холодного воздуха при открытии ворот и дверей предусматриваются завесы и
тамбуры.
Для отопления административных помещений применяется водяное
отопление с радиаторами и ребристыми трубами.
10.2.4
Организация производственного освещения
В соответствии со СНиП 23-05-95 освещение обеспечивает:
санитарные нормы освещенности на рабочих местах; отсутствие резких теней;
постоянство освещенности во времени и правильность направления светового
потока.
Освещенность на рабочих местах и в производственных
помещениях контролируется не реже одного раза в год
10.2.5 Шум и
вибрация
Источниками шума на участке являются оборудования для выбивки
форм, абразивно-отрезные станки, а так же пескоструйные камеры. Шум от
оборудовании, постоянный, уровень звука которого за восьмичасовой рабочий день
изменяется во времени не более чем на 5дБА при измерении на временные
характеристики шумометром по ГОСТ 12.1.036 - 81.
По ГОСТ 12.1.003-83 уровень шума в цехах допускается не более
80 дБА.
Согласно ГОСТ 12.1.012 - 90 "Вибрационная
безопасность" допускается значение вибрации на рабочих местах 92 дБ.
10.3
Мероприятия по снижению вредного воздействия рассмотренных ОВПФ
Для предотвращения воздействия опасных и вредных факторов в
цехе литья по выплавляемым моделям необходимо предусмотреть следующие
мероприятия:
) обеспечить рабочие места достаточно мощной
общеобменной и местной вентиляцией, осуществляемой через кожуха;
2) оборудование, раздаточные печи, места хранения и
перемещения горячих отливок оборудовать укрытиями;
) установить устройства систем душирования для
снижения температуры воздуха в рабочих зонах до нормативных значений;
) для улучшения условий труда обеспечить
теплоизоляцией раздаточные печи;
) для снижения шума применить оборудования с
уменьшенными аэродинамическими показателями.
10.4 Расчет
пылевой нагрузки
Показателем оценки степени воздействия вредных веществ на
органы дыхания работающих является пылевая нагрузка за весь период реального
или предполагаемого контакта с вредным фактором производства.
Пылевая нагрузка (ПН) на органы дыхания работающего - это
реальная или прогностическая величина суммарной экспозиционной дозы пыли,
которую рабочий вдыхает за весь период фактического или предполагаемого
профессионального контакта с фактором.
ПН на органы дыхания рабочего (или группы рабочих, если они
выполняют аналогичную работу в одинаковых условиях) рассчитывается исходя из
фактических среднесменных концентраций в воздухе рабочей зоны, объёма лёгочной
вентиляции (зависящего от тяжести труда) и продолжительности контакта с пылью:
где 
- фактическая среднесменная концентрация пыли в зоне дыхания
работника, мг/м3;

- рабочих смен в календарном году;

- количество лет контакта с аэрозолями преимущественно
фиброгенного действия (АПФД);

- объём лёгочной вентиляции за смену, м3.
Пылевую нагрузку можно рассчитать за любой период работы в
контакте с пылью для получения фактической или прогностической величины.
Рекомендуется использование следующих усредненных величин объемов
легочной вентиляции, которые зависят от уровня энерготрат и, соответственно,
категорий работ (согласно СанПиН 2.2.4.548-96 "Гигиенические требования к
микроклимату производственных помещений”):
для работ категории Iа - Iб объём лёгочной вентиляции за
смену 4 м3;
для работ категории IIа - IIб - 7 м3;
для работ категории III - 10 м3.
Полученные значения фактической ПН сравнивают с величиной
контрольной пылевой нагрузки, значение которой рассчитывают в зависимости от
фактического или предполагаемого стажа работы, предельно допустимой
концентрации (ПДК) пыли и категории работ.
Контрольный уровень пылевой нагрузки (КНП) - это пылевая
нагрузка, сформировавшаяся при условии соблюдения среднесменной ПДК пыли в течение
всего периода профессионального контакта с фактором.
где
- среднесменная предельно допустимая концентрация пыли в зоне
дыхания работника, мг/м3;

- рабочих смен в календарном году;

- количество лет контакта с АПФД;

- объём лёгочной вентиляции за смену, м3.
При соответствии фактической пылевой нагрузки контрольному уровню
условия труда относят к допустимому классу и подтверждается безопасность
продолжения работы в тех же условиях (табл.1).
Кратность превышения контрольных пылевых нагрузок указывает на
класс вредности условий труда по данному фактору.
Таблица 10.1 - Классы условий труда в зависимости от содержания в
воздухе рабочей зоны вредных веществ и пылевых нагрузок на органы дыхания
(кратность превышения ПДК и КПН)
|
Показатели
|
Классы условий
труда
|
|
Допустимый
|
Вредный
|
Опасный
(экстремальный) **
|
|
2
|
3.1
|
3.2
|
3.3
|
3.4
|
4
|
|
Превышение
ПДК, раз
|
|
Концентрация
пыли
|
£ ПДК
|
1,1 - 2
|
2,1 - 5
|
5,1 - 10
|
> 10
|
|
|
Превышение
КПН, раз
|
|
Пылевая
нагрузка (ПН) *
|
£ КПН
|
1,1 - 2
|
2,1 - 5
|
5,1 - 10
|
> 10
|
|
Пылевая нагрузка для пылей с выраженным фиброгенным действием (ПДК
1 мг/м3) а также для
асбестсодержащих пылей.
£ КПН
|
1,1 - 1,51,6 -
33,1 - 5>5
|
|
|
|
|
|
|
* За исключением пылей, обладающих выраженным фиброгенным
действием и имеющих ПДК 1 мг/м3 и менее, а также для
асбестсодержащих пылей.
**Угольная и другая органическая пыль в концентрациях,
превышающих 200 - 400 мг/м3, представляет опасность для
возникновения пожаров и взрывов.
При превышении контрольных пылевых нагрузок рекомендуется
использовать принцип "защиты временем".
Для оценки возможности продолжения работы в конкретных
условиях труда, расчета допустимого стажа работы в этих условиях труда (для
вновь принимаемых на работу) необходимо сопоставление фактических и контрольных
уровней пылевой нагрузки.
В том случае, когда фактические ПН не превышают КПН,
подтверждается возможность продолжения работы в тех же условиях.
При превышении КПН необходимо рассчитать стаж работы (T1),
при котором ПН не будет превышать КПН. При этом КПН рекомендуется определять за
средний рабочий стаж, равный 25 годам. В тех случаях, когда продолжительность
работы более 25 лет, расчёт следует производить исходя из реального стажа
работы.
где
- допустимый стаж работы в данных условиях;

- контрольная пылевая нагрузка за 25 лет работы в условиях
соблюдения ПДК;

- фактическая среднесменная концентрация пыли;

- количество смен в календарном году;

- объём лёгочной вентиляции за смену.
При этом значение 
принимается как средневзвешенная величина за все периоды работы:
где 
- фактические среднесменные концентрации за отдельные периоды
работы;

- периоды работы, за время которых фактические концентрации пыли
были постоянны.
Величина 
рассчитывается аналогично.
В случае изменения уровней запылённости воздуха рабочей зоны или
категории работ (объёма лёгочной вентиляции за смену) фактическая пылевая
нагрузка рассчитывается как сумма фактических пылевых нагрузок за каждый
период, когда указанные показатели были постоянными. При расчёте контрольной
пылевой нагрузки также учитывается изменение категории работ в различные
периоды времени.
Пылевая нагрузка в проектируемом цехе литья по выплавляемым
моделям в основном будет состоять из пыли и других взвешенных частиц на участке
подготовки керамической суспензии. Состав пыли на этом этапе - в основном
взвесь оксидов алюминия.
Расчет будет проведен именно для контроля количества Al2O3
воздухе производственного помещения.
Пылевая нагрузка:
где

- фактическая среднесменная концентрация пыли в зоне дыхания
работника, мг/м3, для участка подготовки это 3мг/м3;

- рабочих смен в календарном году, в данном случае 250 смен;

- количество лет контакта с АПФД, в данном случае 5 лет;

- объём лёгочной вентиляции за смену, м3, для
категории IIб составляет 7 м3.
К категории IIб относятся работы с интенсивностью энергозатрат
201-250 ккал/ч (233-290 Вт), связанные с ходьбой, перемещением и переноской
тяжестей до 10 кг и сопровождающиеся умеренным физическим напряжением (ряд
профессий в механизированных литейных, прокатных, кузнечных, термических,
сварочных цехах машиностроительных и металлургических предприятий и т.п.).
ПН=3
250
5
7=26250 мг
Контрольная пылевая нагрузка:
где
- среднесменная предельно допустимая концентрация пыли в зоне
дыхания работника, мг/м3, в данном случае 2 мг/м3;

- рабочих смен в календарном году, в данном случае 250;

- количество лет контакта с АПФД, в данном случае 5 лет;

- объём лёгочной вентиляции за смену, м3, для
категории IIб составляет 7 м3.
КПН=2
250
5
7=17500 мг
Величина превышения КПН:
Фактически пылевая нагрузка превышает контрольную за тот же период
работы в 1,5 раза.
Соответственно, согласно табл.1, класс условий труда работника на
участке подготовки - вредный 3.1.
Определим КПН за средний рабочий стаж, который принимаем равным 25
годам:
КПН25=2
250
25
7=87500 мг
Определим допустимый стаж работы в данных условиях:
где 
- допустимый стаж работы в данных условиях;

- контрольная пылевая нагрузка за 25 лет работы в условиях
соблюдения ПДК, составляет 87500 мг;

- фактическая среднесменная концентрация пыли, в данном случае 3
мг/м3;

- количество смен в календарном году, в данном случае 250 смен;

- объём лёгочной вентиляции за смену, для категории IIб
составляет 7 м3.
Т1=
лет
Таким образом, в означенных условиях труда работник на участке
подготовки керамической суспензии может проработать не более 17 лет. После
этого его необходимо перевести на другую работу.
10.5 Расчет
вентиляции
В производстве при плавке в рабочей зоне при недостаточной ее
вентиляции могут накапливаться оксид азота, диоксид азота, сероводород и оксид
углерода.
При поступлении в воздух вредных газов, паров или пыли
необходимый воздухообмен L, м3/ч, определяют по
формуле
,
где G - количество выделяющегося в помещении вредного
вещества, мг/ч;
qвыт - концентрация вредного
вещества в вытяжном воздухе, мг/м3;
qприт - концентрация вредного
вещества в приточном воздухе, мг/м3;
По санитарным требованиям qвыт
ПДК (поступающий воздух
должен разбавлять концентрацию вредного вещества до пределах допустимой
концентрации), следовательно
, м3/час
а qприт должно быть
0,3 ПДК.
Количество поступающего в помещение вредного вещества G,
мг/ч, если известна концентрация этого вещества в рабочей зоне, определяют
по формуле
,
где qфакт - фактическая концентрация
вредного вещества в единице объема
воздуха производственного помещения, мг/м3;
Vпом - объем плавильного помещения, м3
(Vпом=8985,6м3);
К - коэффициент запаса, учитывающий неравномерность
распределения вредного вещества по объему помещения (К=1,5
2).
Концентрации вредных веществ в воздухе рабочей зоны
плавильного участка литейного цеха мощность 120 т/год приведены в таблице 2.
Таблица 10.2 - Концентрация вредных веществ в воздухе рабочей
зоны
|
Наименование
вещества
|
Концентрация,
мг/м3
|
|
Азота диоксид
|
2,1
|
|
Азота оксиды
|
5,2
|
|
Сероводород
|
10,5
|
|
Углерода оксид
|
20,4
|
Предельно допустимые концентрации этих вредных веществ в
воздухе рабочей зоны представлены в таблице 3.
Так как в помещение выделяются одновременно несколько вредных
веществ, необходимый воздухообмен рассчитывается в зависимости от того,
обладают эти вещества однонаправленным действием или нет. Если вещества
обладают однонаправленным действием, необходимый воздухообмен
, м3/ч,
определяют по формуле
,
где
- воздухообмен необходимый для каждого
выделяющегося вредного вещества, м3/ч.
|
Наименование
вещества
|
ПДК, мг/м3
|
Преимущественное
агрегатное состояние в условиях производства
|
Класс опасности
|
Особенности
действия на организм
|
|
Азота диоксид
(NO2)
|
2
|
Пары и (или)
газы
|
3
|
О
|
|
Азота оксиды
(NO)
|
5
|
Пары и (или)
газы
|
3
|
О
|
|
Сероводород (H2S)
|
10
|
Пары и (или)
газы
|
2
|
О
|
|
Углерода оксид
(CO2)
|
20
|
Пары и (или)
газы
|
4
|
О
|
Примечание - О - вещество с остронаправленным механизмом
действия, требующее автоматического контроля за его содержанием в воздухе.
Произведем расчет количества поступающих в помещение вредных
веществ и необходимого воздухообмена для каждого из них
мг/ч;
м3/час;
мг/ч;
м3/час;
мг/ч; 
м3/час;
мг/ч;
м3/час;
Произведем расчет общего необходимого воздухообмена
общ =
∑Li = 20217,6 +20025,0 +20217,6 +19639,9 =
80100,1 м3/ч.
Кратность воздухообмена К, ч-1 рассчитывают по
формуле:
,
где
- необходимый воздухообмен, м3/ч;
- объем помещения, м3.
К = Lобщ
/ V =80100,1/ 8985,6= 8,9 ч-1.
Расчет значения общего необходимого воздухообмена ведут не
только по массе выделяющихся вредных веществ, но и по избыткам теплоты. Расчет
проведем для теплого времени года.
Тепловыделения от работающего оборудования с электрическим
приводом за счет перехода механической энергии в тепловую определяется по
выражению
,
где Nуст - установленная мощность привода
электродвигателя в расчёте на единицу оборудования, кВт; kисп -
коэффициент использования мощности электродвигателя, обычно рекомендуется
принимать 0,8; kв - коэффициент одновременности работы оборудования,
можно принять равным 1. Величина Qоб от периода года не зависит.
Теплопоступления от освещения для теплого периода года
рассчитывается
,
где F=864 м2 - поверхность пола в помещении;oc
= 40 Вт/м2 - норма освещенности 1 м2 в соответствий со
СНиП;
kв - коэффициент одновременности работы
осветительных установок: в тёплый период kв = 0,5 - 0,6.
Теплопоступления от обслуживающего персонала для теплого
периода года рассчитывается по выражению
,
где m - число работников на заливочном участке; Qявн
- явные тепловыделения от одного человека, кДж/ч; r = 2250 кДж/кг - скрытая
теплота парообразования; Wп - влаговыделения от одного человека,
г/ч.
Теплопоступления от солнечной радиации через световые
(оконные) проемы рассчитываются только для теплого периода года
,
где Focт - суммарная поверхность остекления, м2;
qocт - плотность теплового потока, передаваемого за счет солнечной
радиации, зависящая от ориентации световых проемов по сторонам света; Аост
- эмпирический коэффициент, зависящий от вида остекления; k - эмпирический
коэффициент зависящий, от прозрачности стекол.
Теплопоступления от нагретых поверхностей оборудований
=Кст
S
(tср-tв) =0,35
12,56
(1560-18) =6769,84Вт,
где Кст - коэффициент теплопередачи, Вт/ (м2
К); S-площадь нагреваемых поверхностей, м2; tср
- температура среды: tв - температура в помещении.
Суммарные теплопоступления в помещение для теплого периода года в
общем случае составляют
Произведем расчет общего необходимого воздухообмена:
где
- суммарное теплопоступление в помещении
для теплого периода года;
- теплоемкость воздуха;
и
- соответственно расчетная температура воздуха внутри помещения
для теплого периода и температура приточного воздуха.
м3/ч.
Кратность воздухообмена составит:
Кратность воздухообмена показывает, сколько раз в течение
одного часа воздух в помещении полностью обновляется. Величина кратности
воздухообмена регламентируется СНиП в зависимости от назначения помещения.
Проведённые расчёты показывают, что необходимый воздухообмен
Lобщ = 80100,1м3/ч, а кратность
воздухообмена, К = 8,9 ч-1.
Специальная
часть выпускной квалификационной работы
Введение
Метод литья по выплавляемым моделям,
благодаря преимуществам по сравнению с другими способами изготовления отливок,
получил значительное распространение в машиностроении и приборостроении.
Промышленное применение этого метода обеспечивает получение из любых литейных
сплавов сложных по форме отливок массой от нескольких граммов до десятков
килограммов со стенками, толщина которых в ряде случаев менее 1 мм, с
шероховатостью достигающей значений Ra=1,25мкм (ГОСТ 2789-73) и повышенной
точностью размеров (до 9-10-го квалитетов).
В производстве находятся установки которые были введены в
производство в 80-х годах или же их модификации. Конечно же они морально
устарели. Производство высокоточных отливок, выполнение предъявляемых
требований, на морально устаревающем оборудовании становиться дорогостоящим.
Рассмотрим это на примере установки по запрессовки модельной массы в
пресс-формы. Если запрессовочные установки справлялись с планом до нынешнего
времени количеством самих установок, то с увеличением плана, приведет к
нехватке площадей и мощностей.
За последние 15 лет возникла возможность выйти на Европейский
рынок, рынок Индии и других стран, что требует более дешевого и экологичного
производства.
Что бы быть конкурентоспособным на этом рынке, повысить
рентабельность производства, за счет повышения качества и понижение брака,
необходимо внедрять новые технологии или модернизировать (автоматизировать)
имеющие мощности.
Задание к специальной части ВКР: "Модернизация
конструкции для приготовления и запрессовки модельной массы".
11. Обзор
литературных источников
Процесс изготовления моделей в пресс-формах при ЛВМ включает
подготовку пресс-формы, введение в ее полость модельного состава, выдержку
модели до затвердевания, разборку пресс-формы и извлечение моделей, а также
охлаждение моделей до температуры производственного помещения.
Используют обычно один из следующих способов заполнения
пресс-форм модельным составом:
) свободной заливкой расплава;
) заливкой под давлением расплава или смеси расплава с
порошком твердого наполнителя;
) запрессовкой в пастообразном состоянии; заливкой под
давлением пластифицированных (размягчаемых нагревом) гранул компактного или
вспенивающегося термопласта;
) вдуванием или засыпкой гранул материала, вспенивающегося
при последующем прогреве (водой, паром и т.д.).
В отдельных исключительных случаях модели для получения
штучных отливок можно изготовить обработкой резанием из блоков вспененного
полистирола.
Далее рассмотрим устройства для запрессовки модельной массы в
пресс-форму наиболее чаще используемые в производстве.
11.1 Шприцы
пистолетного типа для запрессовки модельного состава
Рисунок 1-Шприцы пистолетного типа для запрессовки модельного
состава
Пресс-формы устанавливают на стационарных или вращающихся
столах. Для заполнения пресс-формы штуцер 6 (рисунок 1, а и б) прижимают к ее
литниковому отверстию, после чего нажатием на рукоятку 7 открывают доступ
модельного состава из шланга в пресс - форму. Шланг 1 и корпус шприца
обогревают проволочным нагревательным элементом мощностью 25 Вт при напряжении
не более 36В. Гибкий шланг состоит из рукава 3 из малоустойчивой резины и двух
тканевых прокладок 4 и 5, между которыми помещен нагревательный элемент 2.
Сверху шланг обматывается киперной лентой.
На рисунке 2 показан шприц конструкции РПЗ. Преимуществом его
являются наличие усовершенствованного устройства для включения и возможность
регулирования давления.
Рисунок 2-Шприц конструкции РПЗ с регулируемым давлением:
- носок; 2 - корпус шприца; 3 - рукоятка шприца; 4 -
ограничитель; 5 - фиксатор угла поворота рукоятки крана; 6 - рукоятка крана; 7
- шкала переключения крана; 8 - корпус крана; 9 - микровыключатель; 10 -
соединительная гайка; 11 - пастопровод.
11.2
Установка с шестеренным насосом для приготовления модельного состава и
изготовления моделей
Установка с шестеренным насосом сконструирована и применена
на Ижевском машиностроительном заводе, а затем модернизирована во ВНИИЛИТмаше.
Она пригодна не только для составов на основе парафина, но и для смесей с более
высокой температурой пастообразного состояния, например типа МАИ, что является
положительным отличием этой установки от других.
В верхней части станины 1 установлен шестеренный насос 3,
приводимый в движение от электродвигателя 2 через систему клиноременных
передач. На этой же станине смонтированы стол 9 для установки пресс-формы,
бачок 5 для модельного состава с водяной рубашкой 6, шприц (узел А) и система
обогреваемых трубок, соединяющих между собой бачок 5, шестеренный насос и
шприц.
Для приготовления пастообразного состава в бачок наливают
жидкий состав. Вода в рубашке бачка подогревается с помощью электроспирали, что
позволяет точно регулировать температуру и поддерживать ее постоянной.
Модельный состав из бачка по трубке 4 засасывается шестеренным насосом,
шестерни которого вращаются с частотой 60 об/мин и перегоняют состав по трубке
8 в корпус шприца (через зазор 13 в полость 14) и из нее через трубку 7
вновь в бачок 5. В процессе такой перегонки модельный состав нагревает рабочие
полости установки (насос, шприц, трубки), охлаждается и в течение 8-15 мин
становится пастообразным.
Пресс-форму 10 ставят на стол 9, который благодаря винтовому
устройству может перемещаться в вертикальном направлении. Воронку литника
пресс-формы подводят к наконечнику шприца. При этом с помощью золотникового
устройства в шприце отверстие трубки 5, подводящей модельный состав от
шестеренного насоса, совмещается (как показано на рисунке) с отверстием 15 в
трубке шприца, через которое модельный состав нагнетается в полость
пресс-формы. Наконечник шприца оснащен электроподогревом.
В процессе запрессовки давление модельного состава регулируют
изменением зазора 13 между трубкой 8 и золотником 11. Излишек состава,
непрерывно подаваемого насосом, отводится через зазор 13 в возвратную трубку 7.
После заполнения пресс-формы давление модельного состава начинает повышаться, в
результате чего поднимается клапан 16. При опускании пресс-формы пружина 12
Рисунок 3-Установка с шестеренным насосом для приготовления
модельного состава и изготовления моделей
11.3
Пневматический настольный пресс
Для запрессовки применяют рычажные, винтовые, пневматические
и гидравлические прессы. Наибольшее распространение получил пневматический
настольный пресс (рисунок 4). К основанию 1 болтами прикреплен кронштейн 4, на
котором установлены рабочий цилиндр 7 и золотниковый механизм 3. В полость
цилиндра через золотниковое устройство подводят сжатый воздух, давление
которого 0,4-0,6 МПа. При повороте рукоятки 2 вниз открывается доступ через
кран 8 сжатого воздуха в верхнюю камеру цилиндра. При этом воздух из нижней
камеры цилиндра выходит в атмосферу через специальное отверстие. Поршень 6
через шток 5 оказывает давление на поршень запрессовочного устройства. Модель
выдерживают под запрессовочным давлением до 10 кН, после чего поворотом
рукоятки 2 открывают доступ сжатого воздуха в нижнюю камеру цилиндра и
одновременно выход для воздуха в атмосферу из верхней камеры. Поршень пресса со
штоком поднимается при этом вверх в исходное положение.
Рисунок 4 - Пневматический пресс для изготовления моделей
11.4
Установка для запрессовки модельной массы
Данная установка используется в литейном производстве при
литье по выплавляемым моделям для запрессовки модельной массы в пресс-формы,
описание и схема которого приведена в патенте № 772681.
Работает установка следующим образом: Предварительно
установку приводят в рабочее состояние, для чего в емкость 4 через окно в плите
9 загружают модельную массу 5 в виде кусков и расплавляют за счет тепла
жидкости 2, нагреваемый нагревателями 3. Более целесообразно модельную массу
загружать в установку в расплавленном состоянии. По регулятору температуры (на
чертеже не показан) устанавливают требуемую температуру в зависимости от ее
состава и включают установку в режим перемешивания. При достижении требуемой
температуры модельной массы установка готова для работы.
Процесс запрессовки модельной массы производиться следующим
образом: Подачей воздуха под поршень 11 отводят в верхнее положение прессующий
поршень 7, при этом мешалка 8, укрепленная над ним, осуществляет перемешивание
модельной массы. После этого воздух подается в полость над поршнем 11 и
прессующий поршень 7, перемещаясь вниз, входит в запрессовочный цилиндр 13. В
это же время пресс-форма (на чертеже не показана) поджимается к наконечнику 18,
и происходит заправка модельной массы.
Избыток модельной массы выдавливается из запрессовочного
цилиндра через клапан 14 максимального давления обратно в емкость 4. После
запрессовки модельной массы пресс-форма отводится вниз, а подача воздуха
переключается в режим подъема прессующего поршня. В этот момент над прессующим
поршнем 7 создается вакуум, за счет которого срабатывает клапан 15, открывая
доступ модельной массе из емкости 4 в полость запрессовочного цилиндра 13, тем самым
облегчая подъем прессующего поршня. Конструкция установки предусматривает
возможность вакуумирования модельной массы при малых усилиях с использованием
только давления сжатого воздуха через патрубок 17.
В предлагаемой установке прессующий поршень 7 и мешалка 8
имеют один привод, что значительно упрощает ее конструкциюи исключает
применение самостоятельного привода для мешалки. Мешалка может быть выполнена,
например, в виде диска с отверстиями, которые для улучшения перемешивания могут
быть просверлены под различными углами к горизонтальной плоскости. Одновременно
мешалка служит направляющей для обеспечения соосности прессующего поршня 7 и
запрессовачного цилиндра 13. Кроме обеспечения непрерывного перемешивания
мешалка при движении вниз создает подпор модельной массы 5, за счет чего
улучшается заполнение запрессовочного цилиндра 13.
Перепускной клапан 14 максимального давления обеспечивает
удаление остатков модельной массы из запрессовочного цилиндр, а через
перепускной клапан 15 в него поступает свежая порция модельной массы, что
повышает надежность работы установки за счет непрерывной циркуляции модельной
массы через запрессовочный цилиндр.
В качестве обогреваемой жидкости 2 применяют масло, например
веретенное.
Нагреватели 3 выполнены в виде стержней, которые вставляются
в отверстия корпуса 1, что обеспечивает возможность их быстрой замены в случае
выхода из строя.
Рисунок 5-Установка для запрессовки модельной массы
11.5
Шприц-машина модель 659А
Шприц-машина модели 659А предназначена для приготовления
модельной пасты из готовых модельных составов с температурой расплава не выше
80°С и изготовления выплавляемых моделей в ручных пресс-формах методом
прессования с допрессовкой при мелкосерийном и серийном производстве точных
отливок по выплавляемым моделям.
Шприц-машина мод.659А может эксплуатироваться автономно или в
составе линии полуавтоматической для изготовления моделей с избирательным
охлаждением пресс-форм модели 6А50.
Шприц-машина обеспечивает выполнение следующих
технологических операций:
расплавление твердого модельного состава на паровом радиаторе
агрегата плавильного;
приготовление модельной пасты в мешалке шестеренчатой
(охлаждение жидкого модельного состава и замешивание в него необходимого
количества воздуха);
накопление модельной пасты в сборнике;
запрессовка модельной пасты через шприц в пресс-форму
шестеренчатым насосом;
допрессовка модельной пасты с регулируемым давлением;
выдержка модельной пасты под давлением допрессовки в
пресс-форме.
Рисунок 6 - Шприц-машина модель 659А
Таблица 1 - Основные параметры и характеристики шприц-машины
модели 659А
11.6
Заключение по литературному обзору
В результате литературного обзора была обработана информация
о различных типах запрессовки модельной массы. В ходе анализа была выбрана
наиболее оптимальная установка - установка для запрессовки модельной массы
патент №772681.
Она имеет простую конфигурацию, позволяет сократить
производственную площадь, обладает более высокими эксплуатационными
показателями. Данная установка выбрана для модернизации с целью сокращения
запрессовки и улучшения свойств модельной массы.
В выпускной квалификационной работе необходимо
модернизировать выбранную установку, разработать функциональную схему
запрессовки модельной массы, провести расчет расхода сжатого воздуха на
запрессовку одной пресс-формы, а также сделать аналитический расчет основных
элементов установки.
11.7
Модернизация установки для запрессовки модельной массы
Выбранная установка для запрессовки модельной массы имеет ряд
недостатков, связанных с расходом воздуха и рабочим циклом, а также с
непрерывностью нагрева. Эти недостатки устраняются путем замены и модернизации
некоторых узлов установки:
) замена простого электрического нагрева модельной
массы на нагрев с глицерином, что позволит поддерживать постоянную температуру
без резких скачков;
2) замена верхней части установки, а именно цилиндра и
поршня на более оптимальную - шестеренчатый насос, что позволит сократить
расход воздуха и рабочий цикл;
) замена наконечника ввода модельной массы в форму на
шприц с золотником управления, что позволит регулировать запрессовку;
) изменить механизм подъема стола с ручного на ножной,
управление которым осуществляется рале времени;
) с началом подъема стола запускается насос, что
позволяет с сокращением электроэнергии сделать процесс непрерывным.
11.7.1
Описание работы модернизированной установки для запрессовки модельной массы
Шестеренчатый насос засасывает модельную массу по подающей
магистрали. Если в данный момент пресс-форма не надавливает на носик шприца, то
модельная масса по отводящей магистрали попадает в резервуар. Пресс-форма
подается к запрессовочному носику с помощью пневматического стола, нажимает на
запрессовочный носик, который толкает золотник управлении.
Происходит запрессовка модельной массы. По окончанию
запрессовки давление в канале увеличивается, золотник поднимается вверх и
прекращает доступ модельной массы в пресс - форму. Пресс - форма на
пневматическом столе опускается вниз. Пневматический стол управляется от
педали, далее цикл повторяется.
11.8
Аналитический расчет рабочего процесса устройства
11.8.1 Расход
сжатого воздуха на запрессовку одной пресс - формы
Для расчета пневмопривода необходимо знать параметры стола,
пресс - формы, поршня, время и высоту подъема плиты.
Исходные данные для расчета:
) стол изготовлен из алюминиевого сплава диаметром 250
мм, высотой 50 мм. Объем стола равен 0,005 м³. плотность алюминия при
комнатной температуре составляет 2700 кг/ м³. Масса стола mст =14 кг;
2) размеры пресс - формы (200х100х90) мм, масса пресс -
формы mпр. ф. =1,9 кг.;
) масса модели, изготовленной из модельной массы
mм=0,150 кг;
) поршень изготовлен из стали 40Х. Диаметр поршня
равен 50 мм. Объем поршня равен 0,00019 м³. Плотность стали 40Х
составляет 7700 кг/ м³. Длина хода поршня l=250
мм;
) шток изготовлен из стали 40Х, диаметр штока равен 16
мм.
Сначала рассчитаем массу поршня:
Исходя из того, что объем штока примерно равен 0,00005 м³, определим массу штока:
Суммарная масса будет состоять из следующих показателей:
Определим силу тяжести:
Сила, действующая при запрессовке модельной массы:
Равнодействующая сил, действующих на поршень:
Давление поступает из магистрали и равно 6 МПа.
Проверим, достаточно ли прочности у выбранного пневмопривода и
соответствует ли он ГОСТ 15608-70:
) диаметр цилиндра
=50 мм;
) диаметр штока
=16 мм;
) длина хода поршня
=250мм.
Пневмопривод с данными значениями пневмоцилиндра и штока
отвечает ГОСТ 15608-70 и имеет следующие параметры:
1) диаметр цилиндра
=50 мм;
) диаметр штока
=16 мм;
) диаметр отверстий для подвода воздуха
=8 мм;
) площадь поршня в полости А
=19,6 см²;
) площадь поршня в полости Б
=17,6 см²;
) длина хода поршня
=250мм.
Время срабатывания пневмоцилиндра, при полезной нагрузке на
пневмопривод и давление в сети р=6атм, по рекомендуемым графикам завмисимости
времени срабатывания от полезной нагрузки по Л.А. Горскому равно t=0,28с.
Подъем пресс - формы осуществляется за 0,1 с. А скорость движения плиты
=0,5 м/с.
Рассчитаем затрачиваемую мощность, исходя из того, что объем
сжатого воздуха равен 0,00025 м³:
11.8.2 Подбор
шестеренчатого насоса
Конструктивно шестеренчатые насосы представляют собой
объемные насосы. Роль рабочего органа выполняют шестерни. При вращении шестерен
на стороне всасывания создается разрежение, и жидкость под перепадом давления
(атмосферного и на всасывании насоса) заполняет полости между зубьями,
перемещается в сторону нагнетания и вытесняется в нагнетательный патрубок.
В соответствии с ТУ 26-06-1558-89 подбирается насос НМШ
0,6-6-0,25/3К, который имеет характеристики, отвечающие техническим и
экономическим требованиям.
Технические характеристики выбранного насоса:
1) Q=0,25 м3/час -
производительность насоса, подача;
2) Р=0,3 МПа - давление насоса в агрегате;
3) N=0,75 кВт - мощность насоса;
4) N=980 об/мин - частота вращения.
Условные обозначения электронасосного агрегата:
НМШ 0,6-6-0,25/3К ТУ26-06-1558-89
) НМШ - насос маслянный шестеренный на лапах;
) 0,6 - подача насоса в литрах на 100 оборотов;
) 6 - наибольшее давление насоса, кгс/см2;
) 0,25 - подача насоса в агрегате, м3/час;
) 3 - давление на выходе из насоса в агрегате, кгс/см2;
) К - индекс обозначающий материал рабочих деталей насоса,
нержавеющая сталь.
11.8.3 Расчет
нагревательных элементов
Нагрев модельной массы осуществляется путем передачи тепла от
нагреваемой жидкости вокруг емкости с самой модельной массой. Объем емкости с
модельной массой Vм. м=20л, а объем емкости с нагреваемой жидкостью Vн. ж.
=50л.
В качестве нагреваемой жидкости применяем глицерин, так как
он надолго сохраняет тепло, и тем самым устраняет резкие скачки температур.
Запрессовка модельной массы в пресс - форму осуществляется
при Т-75-80°С. Для поддержки данной температуры устанавливаются регуляторы
температуры. С понижением температуры нагревательные элементы нагревают
глицерин до температуры 80°С.
Нагреватели выполнены в виде стержней, которые вставляются в
отверстия корпуса, что обеспечивает возможность их быстрой замены в случае
выхода из строя.
Подбираем стандартный трубчатый ТЭН:
1) длина ТЭНа
=240мм;
) диаметр
=13мм;
) количество 4 шт;
) мощность одного ТЭНа N=2,5кВт.
Рассчитаем время на нагрев емкости объемом Vн. ж. =50л с
глицерином:
.
Заключение
В данной выпускной квалификационной работе была обработана
информация о различных типах запрессовки модельной массы. В ходе анализа была
выбрана наиболее оптимальная установка - установка для запрессовки модельной
массы патент №772681.
Она имеет простую конфигурацию, позволяет сократить производственную
площадь, обладает более высокими эксплуатационными показателями. Однако,
выбранная установка имеет ряд недостатков, связанных с расходом воздуха и
рабочим циклом, а также с непрерывностью нагрева. Все эти недостатки были
устранены путем замены и модернизации некоторых узлов установки.
Разработана функциональная схема запрессовки модельной массы,
произведен расчет расхода сжатого воздуха на запрессовку одной пресс-формы, а
также сделан аналитический расчет основных элементов установки.
Список использованной
литературы
1.
Литье по выплавляемым моделям.В.Н. Иванов, и др., под общей ред.Я.И.
Шкленника и В.А. Озерова. - 3-е изд. Переработанное и доп.М. Машиностроение
1984. - 408 с., ил.
.
Технология литейного производства: Специальные виды литья. /Учебник для
студ. высш. учеб. заведений/ Э.Ч. Гини, А.М. Зарубин, В.А. Рыбкин; Под ред.В.А.
Рыбкина. - М.: Издательский центр "Академия”, 2005. - 352 с.
.
Специальные способы литья: Справочник/ В.А. Ефимов, Г.А. Анисович, В.Н.
Бабич и др.; Под общ. ред.В.А. Ефимова. - М.: Машиностроение, 1991. - 436 с.
.
Справочник конструктора - машиностроителя. Анурьев В.М. В 3-х т.
Т.2-изд.8-е., перераб. и доп. Под ред. И.Н. Жестоковой - М.: Машиностроение,
2001. - 912 с.: ил.
.
Матвеенко, И.В. Оборудование литейных цехов: Учебник для вузов. - М.:
Машиностроение, 1985. - 400 с.
.
Аксенов, П.Н. Оборудование литейных цехов. М.: Машиностроение 1977.
.
Сафронов, В.Я. Справочник по литейному оборудованию. М.: Машиностроение,
1985, - 320 с., ил.
.
Шуляк, В.С. Проектирование литейных цехов: Учебное пособие, 3-е изд.,
стереотип. - М.: МГИУ, 2007. - 92 с.
.
Основы проектирования литейных цехов и заводов: Учебник для вузов по
специальностям МиТЛП/ Л.И. Фанталов, Б.В. Кнорре и др. Под ред. Б.В. Кнорре -
2-е изд., перераб. - М.: Машиностроение, 1979. - 376 с., ил.
.
Миляев, А.Ф. Проектирование новых и реконструкция действующих литейных
цехов: Учебное пособие. - Магнитогорск: МГТУ им.Г.И. Носова, 2001. - 410 с.
.
Белов, С.В., Ильницкий А.В. и др.; под общ. ред. С.В. Белова.
Безопасность жизнедеятельности: Учебник для вузов - 2-е изд. испр. и доп. - М.:
Высш. шк., 1999. - 448 с.
.
Матвеенко, И. В.; Оборудование литейных цехов: Учебник для учащихся
средних специальных учебных заведений-2-е изд., перераб. и доп. - М.:
Машиностроение., 1985. - 400 с., ил.
.
Аксенов, П. Н.; Оборудование литейных цехов. Учебник для
машиностроительных вузов - 2-е изд., перераб. и доп. - М.: Машиностроение.,
1977. - 510 с., ил.
.
Маслов, А.Ф. Экономика, организация и планирование литейного
производства: Учебник для машиностроит. техникумов по спец. ЛП. - 2-е изд.,
перераб. и доп. М.: Машиностроение, 1985. - 288 с., ил.
.
Новицкий, Н.И. Организация производства на предприятиях: Учеб. - метод.
пособие. - М.: Финансы и статистика, 2004. - 392 с.: ил.
.
ГОСТ 3.1125-88. Правила графического выполнения литейных форм и отливок.
.
ГОСТ 26645-85. Отливки из металлов и сплавов. Допуски размеров, массы и
припуски на механическую обработку.
.
ГОСТ 25199-82. Оборудование пылеулавливающее. Термины и определения.
.
ГОСТ 12.2.043-80. Оборудование пылеулавливающее. Классификация.
.
ГОСТ 12.1.005-88. "Воздух рабочей зоны. Общие
санитарно-гигиенические требования".
.
Руководство 2.2.2006-05 "Гигиенические критерии оценки и классификации
условий труда по показателям вредности и опасности факторов производственной
среды, тяжести и напряженности трудового процесса" (утв. Главным
государственным врачом РФ 29 июля 2005г.)
.
Правила безопасности в литейном производстве (ПБ 11-551-03) 5.6.1 (утв.
постановлением Госгортехнадзора РФ от 24.04.03 № 16)
.
Санитарные правила и нормы СанПиН 2.2.4.548-96 "Гигиенические
требования к микроклимату производственных помещений" (утв.
постановлением Госкомсанэпиднадзора РФ от 1 октября 1996 г. N 21)