Автоматическая линия изготовления автомобильных стекол

  • Вид работы:
    Курсовая работа (т)
  • Предмет:
    Другое
  • Язык:
    Русский
    ,
    Формат файла:
    MS Word
    459,49 Кб
  • Опубликовано:
    2016-11-13
Вы можете узнать стоимость помощи в написании студенческой работы.
Помощь в написании работы, которую точно примут!

Автоматическая линия изготовления автомобильных стекол

Министерство образования и науки Украины

Севастопольский национальный технический университет











Пояснительная записка к курсовому проекту

по курсу «Основы проектирования средств автоматизации»

Тема: «Автоматическая линия изготовления автомобильных стекол»

Выполнил: Мощеев Е.А.

Проверил: Круговой А.Н.





Севастополь 2014

Содержание

Введение

. Производство листового стекла

. Описание объекта автоматизации

.1 Заливочная технология изготовления триплекса

.2 Пленочная технология изготовления триплекса

.3 Безавтоклавная пленочная технология

. Операционная технология

.1 Резка стекла

.2 Обработка кромки стекла

.3 Шлифование торцов стекла

. Описание технологического процесса

. Описание физического процесса растрескивания стекла

Заключение

Список использованной литературы

Введение

За последние годы широкое распространение в сфере новых технологий получило такое понятие, как автоматизация промышленных установок и технологических комплексов.

Автоматизация производства - это применение комплекса средств, позволяющих осуществлять производственные процессы без участия человека, но под его контролем. Автоматизация производственных процессов приводит к увеличению выпуска, снижению себестоимости и улучшению качества продукции. Автоматика позволяет меньше времени тратить на контроль производственного процесса.

Промышленная автоматизация уменьшает численность обслуживающего персонала, повышает надежность и долговечность машин, дает экономию материалов, улучшает условия труда и повышает безопасность производства. Выполнять свою работу настолько качественно, как промышленная автоматика, человек вряд ли смог бы физически.

Автоматизация незаменима там, где имеются сложный технологический процесс, утомляемость рабочих, опасность для рабочих, повышенное давление и температура. В результате автоматизации человек освобождается от тяжелого ручного труда, что снижает уровень производственного травматизма и выступает в роли обслуживающего персонала, осуществляющего ремонт и наладку.

Высокий уровень производительности достигается благодаря тому, что в производстве сегодня используются технические средства автоматизации. Они обеспечивают автоматическое получение, передачу, преобразование, сравнение и использование информации в целях контроля и управления производственными процессами.

1. Производство листового стекла

Изготовление листового стекла по флоат-технологии.[4] Первым этапом производства листового стекла является приготовление стекольной массы. Основными компонентами для нее служат кварцевый песок, известь, сода и прочие добавки. Эти компоненты смешиваются между собой и подвергаются плавлению в специальных печах, обеспечивающих температуру нагрева до 1600 градусов Цельсия.

После того, как стекольная масса приобретает однородную жидкую структуру, ее выливают в ванны, наполненные расплавленным до жидкого состояния металлом. Стекольная масса равномерно распределяется по поверхности расплавленного металла, образуя ленту с идеально ровной глянцевой поверхностью.

Полученная лента подается в охлаждающие установки, обеспечивающие ее равномерное остывание. Уже в холодном состоянии стеклянная лента подвергается раскрою на стандартные листы, после чего готовое листовое стекло готово к хранению и транспортировке.

2. Описание объекта автоматизации

Многослойное стекло представляет собой изделие, состоящее из одного или нескольких листов неорганического стекла и пленочных или жидких полимерных и силикатных материалов, склеивающих и/или покрывающих стекла.

Многослойное стекло применяется в качестве защиты человека от различных травм. За счет полимерной прослойки прозрачность материала несколько ниже, а тепло- и звукоизоляционные качества выше, чем у обычного стекла той же толщины.

Рисунок 2.1 - Схематическое изображение триплекса

Согласно ГОСТ 30826-2001, многослойное стекло в зависимости от назначения подразделяют на следующие виды:

o     стойкое к механическим воздействиям;

o     огнезащитное;

o     шумозащитное;

o     морозостойкое;

o     многослойное со специальными свойствами.

Заливной триплекс изготавливается путем склеивания стеклянных пластин друг с другом по всей поверхности специальной склеивающей жидкостью, который затем полностью полимеризуется под воздействием УФ-облучения. Пленочный триплекс изготавливается путем склеивания стекол под воздействием высокой температуры и давления готовой полимерной пленкой, например, поливинилбутиральной.

В качестве исходных стеклянных пластин могут быть использованы: листовое стекло марок М0, М1, М2 , узорчатое, армированное, окрашенное в массе, закаленное, солнцезащитное, энергосберегающее стекло с твердым или мягким покрытием.

Для изготовления строительного триплекса допускается применение органического стекла (в качестве внутренних слоев), поливинилбутиральные пленки (по ГОСТ 9438) и другие полимерные и силикатные материалы по нормативным документам, которые могут отличаться по типу и составу материала, механическим и оптическим характеристикам.

Форма пластин может быть не только прямой, так и гнутой. Требуемая форма придается заранее до склейки.

Склеивание листов стекла не увеличивает механическую прочность составляющих триплекс стекол, однако, за счет формирования слоистой структуры, у всего изделия возрастает в целом гибкость и сопротивление к разрушению (на 60-89 %). Кроме того, триплпекс относится к группе безопасных или защитных стекол, поскольку при его разбивании осколки не разлетаются, а остаются приклеенными к слою полимера.

Триплекс, как разновидность многослойного стекла в зависимости от стойкости к удару мягким телом может подразделяться на классы защиты СМ1-СМ4. В этом классе защиты испытания проводятся мягким телом (мешком), имитирующим механическое воздействие тела человека, движущегося с различной скоростью при столкновении со стеклом.

Триплекс в зависимости от стойкости к удару твердыми предметами подразделяют на классы защиты: от пробивания Р1А-Р5А и от проникновения Р6В-Р8В.

Сущность метода на испытание от проникновения состоит в определении стойкости многослойного стекла к многократным механическим ударам с фиксированными характеристиками, наносимыми по испытываемому стеклу молотком и топором весом 2 кг. Фиксируется суммарное число ударов, которое потребуется для прохождения топора сквозь испытываемый образец.

Триплекс может быть бесцветным и тонированным. Для тонированного триплекса используют окрашенное в объеме стекло, всевозможные тонированные пленки и полимеры, а для автомобильных стекол - пленки с солнцезащитной полосой, расположенной в верхней части стекла.

Кроме того, триплекс должен быть стойким к воздействию ультрафиолетового излучения, быть влагостойким, иметь ограниченный уровень оптические искажения, а склеивающая пленка в составе изделия должна выдерживать испытание кипячением в течение 2 ч.

Триплекс может быть изготовлен матовым или цветным. Применяются два разных способа придания цветового окраса изделию. В первом случае триплекс изготавливается из уже окрашенных или тонированных в массе стеклянных пластин. Во втором случае, на поверхность уже готового триплекса наклеивается специальная пленка, придающая триплексу желаемый цвет.

При необходимости на одно из стекол триплекс может быть нанесена художественная матировка.

Для изготовления триплекса, испытывающего повышенные нагрузки, может использоваться закаленное стекло. Прочность закаленного стекла на изгиб в несколько раз превышает аналогичные характеристики обычного стекла, поэтому применение закаленного стекла может существенно улучшить прочностные свойства многослойного стекла.

.1 Заливочная технология изготовления триплекса

Преимущество этого способа в том, что соединить можно разные стекла как по толщине, так и по цвету и фактуре. Производство многослойного стекла по заливочной технологии включает в себя следующие шаги:

·              подготовка и мойка стекол;

·              нанесение двусторонней ленты;

·              присоединение второго стекла;

·              подпрессовка полученной конструкции;

·              заполнение межстекольного пространства;

·              отверждение смолы.

Ниже будут рассмотрены наиболее важные особенности процесса производства заливного триплекса.

Мойка стекол. После мойки важно контролировать, чтобы перед следующим шагом технологического процесса стекла были абсолютно сухими, обезжиренными, и не содержали на поверхности остатков моющих средств, иных веществ и твердых частичек. При изготовлении заливного триплекса, сначала производятся стекла нужного размера и конфигурации, а затем между ними заливается жидкий полимер. При резке стекла допустимо применять только масел, растворимых в воде.

Нанесение двусторонней ленты и присоединение второго стекла. Для создания межстекольного пространства для заливки смолы стекла соединяются с помощью двусторонней клейкой прозрачной лентой. В углу делается заливное отверстие. Оно же служит одновременно и для выхода воздуха из межстекольного пространства. Оба стекла заклеиваются по периметру.

Подпрессовка полученной конструкции. Для улучшения герметизации межстекольного пространства конструкция нагружается.

Отверждение смолы. Качественные оптические свойства изделий получаются при условии, что слой жидкой смолы имеет одинаковую толщину по всей площади изделия. Создание равномерного слоя смолы требует абсолютной горизонтальности и устойчивости основания поверхности, на котором проводится отверждение, а также, равномерность облучения УФ-излучателем. По этой причине изготовление в один прием многослойного (с тремя и более стеклами) стекла не производится, так как велика вероятность возникновения колебаний толщины слоя смолы. При изготовлении многослойных стекол проводятся последовательные операции последовательного отверждения слой за слоем.

Стекла с покрытием. Использование объемно окрашенного стекла или стекла с покрытием требует отработки режимов облучения, поскольку такие стекла могут задерживать УФ излучение. В случае использования стекла с покрытием, сторона, на которую нанесен слой, ни в коем случае не должна соприкасаться со слоем смолы.

.2 Пленочная технология изготовления триплекса

листовой стекло триплекс растрескивание

Преимущество этой технологии в том, что многослойное стекло, изготовленное по этой технологии, обладает лучшими оптическими характеристиками.

При использовании пленочной технологии между листами стекла закладывается поливинилбутиральная пленка (ПВБ), после чего пакет проходит предварительную подпресовку в колландере, а затем в автоклаве происходит его окончательное склеивание.

Колландер предназначен для проведения предварительного вакуумирования собранного пакета триплекс. Данное устройство представляет собой специальную камеру, встроенную в автоматическую линию, в которой собранный пакет триплекс разогревается до температуры 110-115˚С и воздух, находящийся между слоями стекла и пленкой, механически выдавливается при помощи резиновых валков, что приводит к возникновению определенной адгезии пленки к стеклу. Из колландера пакет выгружается практически прозрачным. На заключительном этапе проводится окончательное прессование в автоклаве при температуре +150˚С и давлении 12,5 Бар.

.3 Безавтоклавная пленочная технология

Преимущество данного метода в том, что произведенное многослойное стекло при использовании особого класса пленок по техническим параметрам может превосходить не только жидкостные триплексы, но и классический пленочный триплекс на основе поливинилбутиральной пленки.

Недостатком изготовления пленочного триплекса является более высокая себестоимость изделий по сравнению с заливной технологии.

Технологический процесс включает в себя следующие шаги:

·              подготовка и мойка стекла;

·              составление комбинированного пакета из стекла и пленки;

·              создание вакуума;

·              контролируемый нагрев в конвекционной камере при вакууме;

·              выдержка при температуре 130-140˚С в течение 20-40 минут в зависимости от толщины пакета;

·              охлаждение при вакууме до комнатной температуры и выгрузка готового изделия.

Линии оборудования, реализующие данную технологию, работают по следующей схеме. После подготовки и мойки стекла в рабочую зону загружается нижняя часть триплекса в горизонтальном положении. Далее загружается отрезанный заранее кусок адгезионной пленки и второе стекло (верхняя часть триплекса). Камера закрывается и обеспечивается герметичность рабочей зоны. На следующем шаге включаются насосы и достигается неглубокий вакуум рабочей зоны (несколько десятков мм. рт. ст). При этом происходит обжатие листов стекла и достижение плотного прилегания пленки по всей площади. Далее осуществляется нагрев рабочей зоны в конвекционной камере до 130-140 ˚С. При этой температуре изделие выдерживается в течение определенного времени (длительность зависит от толщины триплекса). Фактически цикл нагрева делится на 2 части: нагрев (около 30 минут) и выдержка от 10 и более минут в зависимости от толщины триплекса.

3. Операционная технология

.1 Резка стекла

Для резки стекла используется трехосный автоматический стол раскроя с ЧПУ Genius 61 CT с одной рабочей головкой для прямого и криволинейного раскроя и разлома стеклянных листов.[3]

Рисунок 3.1 - Стол раскроя с ЧПУ Genius 61 CT

Функции стола резки:

·              Прямолинейная резка и оптимизация раскроя стекла и зеркала

·              Криволинейная резка и оптимизация раскроя стекла и зеркала

·              Резка виниловой пленки

·              Сканирование и оцифровка шаблонов из стекла, зеркала, картона и пластмассы

·              Резка триплекса

·              Полуавтоматический разлом с помощью реек

Таблица 3.1 - Технические характеристики Genius 61 CT


Описание конструкции:

)        Рабочий стол

Надежная сварная конструкция состоит из массивной основы и наклоняемого стола. Рабочий стол обладает следующими характеристиками:

·              Гидродинамическая система с предохранительным клапаном на цилиндре и виброустойчивым компенсатором объема для наклона рабочего стола;

·              Воздушная подушка создается мощным вентилятором с низким уровнем шума, который оптимально распределяет потоки воздуха по поверхности стола;

·              Автоматические выравнивающие устройства для листов по длинной стороне и по двум коротким сторонам с электропневматическим приводом. Левая сторона используется при обработке монолитного стекла, правая - при обработке триплекса. Такое расположение выравнивающих устройств обеспечивает позиционирование заготовки всегда в одном и том же месте. Это позволяет избежать потери симметрии при повороте заготовки при обработке триплекса;

·              Рейки разлома X и Y на рабочем столе управляются пневматическими педалями, установленными на полу.

) Режущий мост

Рисунок 3.2 - Режущий мост

Режущий мост представляет собой прочную конструкцию, которая приводится в движение бесщеточным мотором. Мост перемещается по двум зубчатым направляющим. Точность резки обеспечивается дополнительной конструкцией из цилиндрических реек, которые устанавливаются с двух сторон станка. Это обеспечивает:

·              синхронное перемещение моста по оси у, поэтому добивается точность резки 0,15 мм;

·              долговечность конструкции.

) Режущая головка

Рисунок 3.3 - Режущая головка

Режущая головка, имеющая ось вращения "С" для выполнения резки фасонного стекла. Имеет следующие характеристики:

·              Постоянная автоматическая регулировка давления раскроя в зависимости от скорости резки;

·              Смазка режущего ролика: используются два отдельных цикла (в зависимости от вязкости смазки), автоматически регулируемые с контроллера;

·              Лазер для считывания шаблонов. Материал, с которого может осуществляться сканирование: дерево, металл, стекло, пластмасса и картон;

·              Система автоматической смены инструментов с использованием магазина инструментов, расположенного на рабочем столе. Магазин рассчитан на 6 инструментов для прямого и криволинейного раскроя: три с пластмассовым держателем и три со стальным держателем.

) Лазер для считывания шаблонов

Рисунок 3.4 - Лазер для считывания шаблонов

Лазерное устройство позволяет сканировать шаблоны из следующих материалов: дерево, металл, стекло, пластмасса и картон. Кроме этого лазер можно использовать как устройство позиционирования стекла.

) ЧПУ серии IWNC

Функции ЧПУ:

·              Управление сменой инструментов и соответствующими параметрами скорости;

·              Управление параметрами давления, контроль за избыточным давлением;

·              Контроль типа и количества используемой смазки;

·              Программа имитации и интерфейс оператора;

·              Специальная функция распила триплекса с автоматическим зеркальным разворотом;

·              Программное обеспечение для оптимизации прямого и криволинейного раскроя. В пакет программного обеспечения, установленного на станке, включены следующие программы:

·              Графический редактор для быстрого создания схемы раскроя;

·              Библиотека параметрических фигур для криволинейного раскроя;

·              Программа оптимизации для прямого и криволинейного раскроя;

·              Дополнительная программа интерфейса ОТД, которая обеспечивает возможность использования любой другой программы оптимизации.

Эти программы активируются их производителями.


Описание изобретения к авторскому свидетельству (11) 484069. [5]

Изобретение относится к устройствам для обработки кромки стекла с криволинейным контуром и может найти применение на заводах, вырабатывающих изделия из стекла.

Известно устройство для обработки кромки стекла, содержащее стол с электродвигателем и обрабатывающий инструмент с подпружиненным копиром.

Недостаток известного устройства заключается в том, что при обработке деталей, конфигурация которых отличается от круга, режим обработки практически неуправляем, так как скорость относительного перемещения в зоне контакта стеклоинструмента непостоянна, что приводит к перерасходу алмазов (в случае обработки алмазным инструментом) или ухудшению качества кромки (в случае огневой обработки).

Устройство работает следующим образом.

Заготовку стекла укладывают на поворотный стол таким образом, чтобы кромка ее совпадала с кромкой копира, конфигурация которого должна быть аналогична конфигурации заготовки стекла. Созданием разрежения в зоне между стеклом и столом заготовка закрепляется. Включается электродвигатель, который через редуктор начинает вращать стол в подшипниках станины, и стекло проворачивается относительно горелки, которая зажигается одновременно с началом вращения. Система - копир, вилка, закрепленная на горелке, с копирующим роликом и пружиной - обеспечивает постоянство расстояния между кромкой стекла и горелкой, так как при вращении стола ролик все время поджат к копиру. Если стекло круглое, то вращение стола происходит с равномерной скоростью. Равномерная скорость и постоянство расстояния от кромки до горелки обеспечивают постоянство режима обработки.

Если же стекло имеет форму отличную от круга, например автомобильное стекла, то с увеличением или уменьшением расстояния от участка кромки стекла, контактирующего с копирующим роликом, до центра вращения стекла, горелка перемещается в подшипниках и перемещает подвижный контакт на реостате, в результате чего изменяется ток в якорной цепи исполнительного двигателя и соответственно число оборотов стола при сохранении постоянства относительной скорости перемещения кромки стекла относительно горелки. Т.е. и в данном случае обеспечивается постоянство режима обработки. После обкатки полного периметра горелка отключается, укладывают следующую заготовку, и цикл повторяется.

Аналогичное управление числом оборотов стола может быть достигнуто также установкой исполнительного двигателя с полюсным управлением.

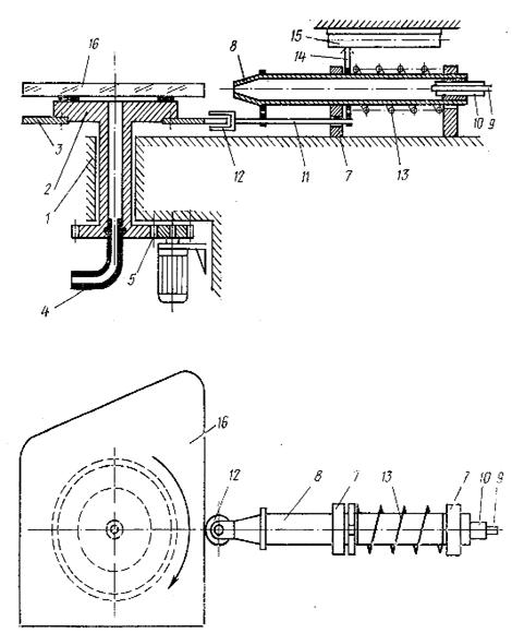
Рисунок 3.5 - Схема устройства для обработки кромки стекла

- станина; 2 - поворотный стол; 3 - копир; 4 - вакуумопровод; 5 - редуктор; 6 - двигатель; 7 - подшипники; 8 - газовая горелка; 9, 10 - трубопровод; 11 - вилка; 12 - копирующий ролик; 13 - пружина; 14 - подвижный контакт; 15 - реостат; 16 - заготовка.

Устройство модернизируется с целью применения его для удобства отделения стекла по контуру (горелка устанавливается вертикально над листом стекла). После прохождения горелки по периметру контура, она отключается, стекло растрескивается по контуру резки.

3.3 Шлифование торцов стекла

Рисунок 3.6 - Ленточный шлифовальный станок СШЛС 6.06

Ленточный шлифовальный станок СШЛС предназначен для применения на малых и средних предприятиях, работающих на рынке обработки стекла и производства мебели.[2] Спроектирован с учетом их потребностей и возможности.

Модель 6.06 пользуется повышенным спросом, имеет два режима работы: сухой и мокрый. Эта модель стоит на потоке. Серийный вариант комплектуется столом СКВП-1 с воздушной подушкой. Станок СШЛС способен обрабатывать изделия прямолинейной и криволинейной формы, как с внешним, так и с внутренним радиусом.

Станок позволяет обрабатывать кромку стекла в форме "трапеция" и "карандаш". Встроенный пылесос эффективно удаляет продукты обработки. Система очистки воздуха состоит из трех контуров и позволяет получить чистый воздух (подтверждено гигиеническим сертификатом), который выводится непосредственно в рабочее помещение (нет необходимости во внешней вытяжке воздуха).

Система натяжения шлиф. ленты имеет ручную и автоматическую подстройку, защиту от мощных динамических ударов при обрыве ленты, смену направления движения шлиф ленты. Станок комплектуется системой увлажнения ленты, упором для режима полирования и повышения производительности обдирки.

Таблица 3.2 - Технические характеристики СШЛС 6.06


4. Описание технологического процесса

Для заданного технологического процесса был составлен следующий порядок выполняемых операций:

) Подача заготовки в виде листа стекла на автоматический стол раскроя;

) Резка стекла алмазным роликом по контуру автомобильного стекла;

) Перемещение стекла на устройство для обработки кромки газовой горелкой;

) Нагрев стекла по периметру газовой горелкой для растрескивания стекла.

) Стачивание кромки стекла на шлифовальном станке.

После обработки кромки стекло отправляется на мойку, чистку и склеивание многослойного стекла.

5. Описание физического процесса растрескивания стекла

Растрескивание стекла определяется его термостойкостью. Термической стойкостью называется способность стекла противостоять резким изменениям температуры.[1] При изменении температуры стекла благодаря его низкой теплопроводности температура его внешних и внутренних слоев становится различной. Это вызывает вследствие термического расширения возникновение напряжений в стекле. Таким образом, термостойкость стекла будет зависеть от теплопроводности, температурного коэффициента линейного расширения и теплоемкости. Кроме того, термостойкость зависит от предела прочности стекла при растяжении и модуля упругости.

Хотя термостойкость таким образом связана со многими свойствами стекол, основное влияние оказывает на нее температурный коэффициент линейного расширения. Чем он ниже, тем выше термостойкость стекла. Кварцевое стекло, для которого характерен самый низкий температурный коэффициент линейного расширения, является и самым термостойким стеклом, выдерживающим наиболее значительные перепады температуры. На термостойкость стеклянных изделий влияют их форма, размеры и толщина стенки. Общеизвестно, что такие, например, изделия, как граненые стаканы, выдерживают гораздо меньший перепад температур, чем тонкостенные стаканы, получаемые выдуванием. Многие виды стеклянных изделий, в частности посуда, химико-лабораторное стекло, колбы электроламп, постоянно испытывают резкие перепады температур.

Коэффициент термостойкости материала может быть рассчитан с помощью формулы Винкельмана-Шотта:

,

где P - прочность при растяжении; - температурный коэффициент линейного расширения (ТКЛР); Е - модуль упругости;  - коэф. теплопроводности; с - теплоемкость; d - плотности. При резком увеличении и уменьшении температуры материал прогревается неравномерно. Например, при резком увеличении температуры сначала расширяются поверхностные слои материала, затем внутренние. Соответственно между наружными и внутренними слоями возникает напряжение. Если напряжение превысит предел прочности, то материал разрушится. Предел прочности при растяжении в 20 раз меньше, чем при сжатии.

Заключение

В ходе выполнения данного курсового проекта была разработана автоматическая линия изготовления автомобильных стекол. Рассмотрено и выбрано используемое оборудование для технологических операций.

Выполнен лист с иллюстратором технологического процесса, который представлен в Приложении А. Внесены незначительные изменения в конструкцию устройства для обработки кромки стекла газовой горелкой для удобства применения в заданном технологическом процессе.[5]

Список использованной литературы

1. Теплофизические свойства стекол: теплоемкость, теплопроводность, термич. расширение, термостойкость <http://bgtu-ief.com/index.php?Itemid=66&catid=89:2012-05-25-06-52-36&id=1790:teplofizicheskie-svoistva-stekol&option=com_content&view=article>

. СШЛС 6.06 <http://stanok-chel.ru/stekloobrabotka/obrabotka_kromki_stekla/SSHLS6_06/>

. YTA Каталог Стеклообработка Оборудование для резки монолитного стекла и триплекса Оборудоване для резки стекла Interma http://www.yta.ru/catalogue/stekloobrabotka/ObordovanieDliaRezkiInermac/ObordovanieDliaRezkiInermac_403.html

. Производство листового стекла флоат-методом. - Стекло - Статьи | ООО «Содаст Трейд» http://www.sodast-trade.ru/useful/steklo/proizvodstvo-listovogo-stekla-float-metodom

. Устройство для обработки стекла. Патент СССР 484069 <http://www.findpatent.ru/patent/48/484069.html>

Похожие работы на - Автоматическая линия изготовления автомобильных стекол

 

Не нашли материал для своей работы?
Поможем написать уникальную работу
Без плагиата!
Без нейросетей!