Разработка гидравлических прес-ножниц для профилирующей линии ЛПБ-40
Введение
ОАО “СКДМ” является крупнейшим в России заводом специализирующемся на
производстве мобильных быстровозводимых зданий контейнерного типа системы
“Мобикон” различного назначения (жилого, санитарно-бытового, производственного
складного). Производство гнутых профилей является одним из определяющих
направлений предприятия. Гнутые профили производятся на профилегибочном
оборудовании. В состав этого профилегибочного оборудования входит устройство
резки профиля, включающее в себя гидравлические пресс-ножницы, которые нужно
спроектировать в данном проекте.
Использование гидроприводов в строительных и дорожных машинах
способствует значительного повышению уровня механизации в этих отраслях.
Гидравлические устройства устанавливаются в системах управления на экскаваторах,
бульдозерах, подъемниках , погрузчиках, кранах, а также в качестве силовых
передач на движитель этих машин.
В результате внедрения современных технологических процессах и
совершенствования гидравлического оборудования и машин с объемным гидроприводом
за последние два десятилетия значительно улучшилось качество их изготовления ,
повысились продолжительность безотказной работы и технический ресурс.
Перспективным является использование гидравлических и пневматических
передач в сочетании с электрическим, для автоматизации технологических
процессов во многих отраслях народного хозяйства, с целью повышения
производительности и улучшения условий труда.
К основным преимуществам гидропривода относятся:
Возможность универсального преобразования механической характеристики
приводного двигателя в соответствии с требованиями нагрузки, простота
управления и автоматизации;
простота предохранения приводного двигателя и исполнительных органов
машин от перегрузок;
широкий диапазон бесступенчатого регулирования скорости выходного звена:
большая передаваемая мощность на единицу массы привода;
надежная смазка трущихся поверхностей при применении минеральных масел в
качестве рабочих жидкостей
Гидропривод обеспечивает бесступенчатое регулирование скоростей в широком
диапазоне, получение больших сил и мощностей при малых размерах и весе
передаточного механизма , возможность осуществления различных видов движения,
возможность частых и быстрых переключений при возвратно-поступательных и
вращательных прямых и реверсивных движениях.
Преимущества гидропривода перед обычными механическими передачами
становятся столь существенными, что во многих случаях предпочтение отдается
именно ему, и в данном случае разрабатываются пресс-ножницы с гидравлическим
приводом , которые широко применяются на ОАО “СКДМ”
1. Литературный обзор
.1 Состояние вопроса и задачи проектирования
Основным из важных процессов в заготовительных производствах по
изготовления металлоконстукций является рубка и резка профильного материала в
размер, которая выполняется пресс-ножницами.
В современных строительных технологиях широко применяются
высокоэффективные металлические гнутые профили , имеющие при повышенных
характеристиках прочности, жесткости и ресурса невысокую цену и отличное
качество. Современные , легкие , прочные, гнутые профили выполняют одновременно
несколько строительно-архитектурных задач и являются по существу сложными
профильными конструкциями.
Многие профили появились в России в последние годы в связи с внедрением
зарубежных (в основном западноевропейских) строительных технологий. Все этапы
строительных работ основываются на использовании гнутых профилей: формирование
фундаментов зданий и несущих стен происходит в скользящей опалубке, основу
конструкции и которой составляют специальные гнутые профили . Каркас
металлических дверей различного назначения полностью изготавливается из
специально гнутых профилей.
Для каркаса кровли и ее покрытия широко применяются специальные
металлические профили , в том числе с различными коррозионно-стойкими покрытиями.
На основе применения гнутых профилей успешно развиваются системы мансардного и
фасадного строительства. В данном случае в качестве исходных заготовок
используется высокопрочные , коррозийно-стойкие стали с различными видами
покрытий , а так же нержавеющие и цветные сплавы. Разработаны и производятся
целые системные группы профилей с возможностью взаимной перестыкничовки, что
позволяет собрать из них каркас дома или мансарда любой пространственной формы
. Эти профили могут быть со сложной перфорацией ,снижающей возможность
промерзания конструкции. Широкая номенклатура и большой объем потребления
гнутых профилей в строительстве сделали освоение их производства в России
необходимым. В настоящее время основная масса этих профилей изготавливается
отечественными производителями , так как операции штамповки , профилирования,
волочения, прессования были достаточно развиты в отечественной промышленности
(металлургии, машиностроении, авто-,судо-, авиастроении и др).
Преимущества гнутых профилей , определяющие быстрое развитие их
производства, обусловлены широкими возможностями процесса профилирования и его
высокими технико-экономическими показателями, а так же большим комплексом
технологических достоинств.
Обладая высокой прочностью и жесткостью , и при этом, имея малую массу ,
гнутые листовые профили используются в качестве фасадного и кровельного
материала. Листовые гнутые гофрированные профили производятся из рулонной
стальной полосы, методом формовки(профилирования) полосы в холодном состоянии
между вращающимися профильными валками профилегибочного станка. Наиболее часто
в строительстве используются листовые гнутые профили с трапециевидными гофрами
по ГОСТ 24045-94. Согласно ГОСТ 24045-94, профнастил классифицируется: по
назначению, материалу исходной заготовки, а также наличию защитно-декоративного
покрытия. Профилированные листы подразделяют:
по назначению: Н-настил, НС - настил и стеновой, С- стеновой;
по материалу тонколистового проката(заготовки) : оцинкованный , с
алюмоцинковым покрытием , алюминированный, с электролитическим цинковым
покрытием;
по наличию защитно-декоративного покрытия : без лакокрасочного покрытия ,
с лакокрасочным покрытием.
Производятся также и другие листовые профили , которые могут иметь гофры
различной формы: полукруглые , прямолинейные и другие.
Основным параметром, характеризующим несущую способность профилированных
листов , является - высота гофра. Чем больше его значение , тем выше, как
правило, прочность листового материала. “Низкие” профили (8-21мм) предназначены
для облицовки и ограждений, “средние” (20-60мм) используются для кровли,
“высокие ” (свыше 60мм) могут быть использованы в качестве элементов несущих
конструкций. Монтаж профилированных листов выполняется при помощи саморезов.
Для удобства и упрощения работы следует использовать шуруповерты . К
достоинствам профнастила , как строительного материала , следует отнести его
долговечность ,малый вес, простоту монтажа, разнообразие цветовой гаммы
защитных покрытий. Материал можно легко обрабатывать: резать , сверлить. Монтаж
гофрированных профилей не требует высокой квалификации. Использование гнутых
профилей значительно ускоряет и удешевляет строительство.
Также следует отметить, что гнутые листовые профили экологически
безопасны. Область применения гофрированных листовых профилей весьма
разнообразно - обшивка стен, потолков, фасадов зданий, устройство кровли.
Данный строительный материал повсеместно используется при строительстве
промышленных цехов, ангаров, складских помещений, торговых комплексов, и других
более мелких объектов.
Таким образом, перспективным направлением следует считать более широкое
использование гофрированных листовых профилей с повышенной несущей способностью
, что значительно снижает металлоемкость каркаса здания или сооружения и
упрощает его конструкцию за счет использования минимального количества узлов и
связей. ОАО “СКДМ” является крупнейшим в России заводом, специализирующемся на
производстве мобильных быстровозводимых зданий контейнерного типа системы
“Мобикон” различного назначения (жилого, санитарно-бытового, производственного,
складского). Производство гнутых профилей является одним из определяющих
направлений предприятия.
1.2 Способы резки
Суть процесса резания заключается в разделение целого на части или же в
получении деталей определенной формы из исходного материала (к примеру, из
металлического листа) с целью их дальнейшей механической обработки и получения
конечного продукта .
Существует два основных способа обработки материалов:
1 способ
- Механическое воздействие.
· Разрезание ножницам
· Фрезерование
· Штампование
· Распилка
способ - Термическое воздействие.
Понятие “термическое резание” может быть представлено общим определением
“резание струей…”
· Лазерная резка: поток светящихся частиц (фотонов);
· Плазменная резка : плазменная струя (поток ионизированных
частиц);
· Резка водой: струя воды под высоким давлением;
· Кислородная резка: струя кислорода (иногда с примесью порошка
железа);
· Резка методом электрической эрозии.
Фундаментальное различие этих двух способов резки заключается в том, что
при термическом воздействии абсолютно исключен факт применения силы, независимо
от толщины разрезаемого материала.
. Разрезание ножницами
Разрезание - процесс разделения заготовки на части , удаления излишков
металла, вырезание отверстий . Тонкий листовой металл разрезают ножницами , а
профильный материал , трубы и толстые листы - ножовкой.
Острогубцы - особо заостренные щипцы для разделения, откусывания
проволоки, металлической жилы, прутка, гвоздей, кусков металла. К острогубцам
относят отрезные клещи или щипцы с острыми губами.
Ручные ножницы по металлу используются в заготовительных цехах
машиностроительных предприятий, строительных площадках, механическим
мастерских, а также в домашних условиях. Допустимая толщина листового металла,
разрезаемого ручными ножницами составляет от 0,7 до 2,5 мм.
Стуловые ножницы отличаются от ручных большими размерами и применяются
при разрезании листового металла толщиной до 5мм. Одна из ручек изогнута под
углом 900 относительно другой и жестко крепится (вбивается) на столе
или на другом жестком основании. Стуловые ножницы малопроизводительны и при
длительной работе требуют значительной затраты усилий.
Рычажные ножницы применяются при разрезании листового металла толщиной
1,5 - 2,5 мм с пределом прочности 45-50 кгс/мм2 (сталь, дюралюминий
и т.д.) На этих ножницах можно резать металл любой длины, передвигая постепенно
лист.
Гильотины используются для резки полосового и листового материала.
Гильотина используется для качественного и быстрого разреза металла. Основными
характеристиками , исходя из которых выбирается гильотина, считаются
максимальная толщина разрезаемого металла и длина реза. Гильотина может быть
как ручной, так и электромеханической. Электромеханическая гильотина оснащена
педалью управления. Помимо этого, любая электромеханическая или гидравлическая
гильотина может быть дополнена различного рода электроникой и опциями для
повышения ее производительных возможностей. Гильотинные ножницы применяются для
поперечно и продольной резки проката. За один ход гильотины производится
поперечная резка листа, затем гильотина совершает ряд повторных резов с
продвижением металла вдоль линии разреза. Длина материала в таком случае не
ограничена, а вот ширина регламентируется максимальным вылетом станины
гильотины.
Пресс-ножницы предназначены для отрезки полосового , сортового и
фасонного проката , к частности , для рубки профиля на мерные отрезки заданной
длины . Комбинированные гидравлические пресс-ножницы обладают большим спектром
возможностей: помимо резки листовой стали , их используют для резки швеллера и
тавра (при условии , что на ножницы установлено дополнительное оборудование ),
рубки уголка, прошивки, пробивки специальных отверстий.
. Фрезерование
Фрезерование (фрезерная обработка) - обработка материалов резанием с
помощью фрезы. В процессе фрезерования участвуют два объекта - фреза и
заготовка. Заготовка - это будущая деталь. Классификация фрезерования может
происходить по разному, в зависимости от того, что хотят выделить наиболее
значимым:
· В зависимости от расположения шпинделя станка и удобства
закрепления обрабатываемой заготовки - вертикальное, горизонтальное. На
производстве в большец степени используют универсально-фрезерные станки
позволяющие осуществлять горизонтально и вертикальное фрезерование, а также
фрезерование под разными углами различным инструментом.
· В зависимости от типа инструмента (фрезы) - концевое,
торцовое, периферийное , фасонное и т.д.
концевое фрезерование - пазы, канавки, подсечки; колодцы(сквозные пазы),
карманы(пазы, стороны которых выходят более , чем на 1 поверхность), окна
(пазы, которые выходят только на 1 поверхность).
Торцовое фрезерование - фрезерование больших поверхностей
Фасонное фрезерование - фрезерование профилей. Примеры профильных
поверхностей - шестерни, червяки, багет, оконные рамы.
существуют также специализированные фрезы, предназначенные для отрезки
(дисковые фрезы).
· В зависимости от направления вращения фрезы относительно
направления ее движения (либо движения заготовки) - попутное “под зуб” когда
фреза “подминает” заготовку, получается очень чистая поверхность, но также
велика опасность вырыва заготовки при большом съеме материала; и встречное “на
зуб” , когда движение режущей кромки происходит навстречу заготовке.
Поверхность получается похуже, зато увеличивается производительность. На
практике используют оба вида фрезерования , “на зуб” при предварительной
(черновой) и “под зуб” окончательной (чистовой) обработке. При помощи резаков с
разным заострением лезвий снимается фаска, позволяющая получить прямоугольные и
остроугольные конфигурации с внутренним радиусов от 2 мм. Методом фрезерования
подвергаются такие материалы как : ПВХ, оргстекло, полистеролы, ПЭТ
(полиэтилентерефталат) , пластмассы, древесина, пластик, легкие металлы (сталь,
латунь, медь, алюминий).
. Штампование
Штамповка - процесс пластической деформации материала с изменением формы
и размеров тела. Чаще всего штамповке подвергаются металлы или пластмассы.
Существуют два основных вида штамповки - листовая и объемная. Листовая
штамповка подразумевает в исходном виде тело, одно из измерений которого
пренебрежимо мало по сравнению с двумя другими (лист - до 6мм). В противном
случае штамповка называется объемной. Для процесса штамповки используются
прессы - устройства, позволяющие деформировать материалы с помощью механического
воздействия.
По типу применяемой оснастки штамповку листовых материалов можно
разделить на виды:
· Штамповка в инструментальных штампах;
· Штамповка эластичными средами;
· Импульсная штамповка:
o Магнитно-импульсная,
o Гидро - импульсная;
· Штамповка взрывом;
· Валковая штамповка.
Этим методом изготавливают полуфабрикаты, детали и готовые изделия из
листовых металлических заготовок деформированием их под воздействием давления.
Детали , полученные штампованием, обладают высокой прочностью при относительно
небольшой массе и отличаются рациональностью форм. Благодаря использованию
пластических материалов получаются сложные по форме тонкостенные детали, и
массивные прочные детали, которые не могут быть получены иным способом
(например, стрелку ручных часов и пятиметровый лонжерон грузового автомобиля).
Точность деталей оценивается 3-4-м классом, после проведения дополнительных
операций (зачистка, пробивка) можно добиться 2-го класса. Таким методом
обрабатываются легкие и тугоплавкие металлы.
. Распилка
Распилка металла обычно осуществляется пилами по металлу , которые
имеются в специализированной продаже. Техника распила та же, что и распилка на
ус - очень точно, без отколов. Не рекомендуется использовать универсальные
диски для нарезки пластиковых профилей для резки металла - оцинкованных
профилей или штрипса. Лучше всего для этой цели подходят диски с напайками из
твердого сплава и отрицательными углами резания. Для распилки применяются , как
правило, отрезные, двухголовочные усорезные и вырезные пилы. Этот метод
используется для резания стройматериалов (фанеры, арматуры, гипсокартона,
шифера), а также древесины (мебельная промышленность). Процесс трудоемкий ,
скорость и качество распила значительно ниже, чем при распиле с помощью
лазерных установок и других методах распила термического воздействия.
.Лазерная резка
Виды лазерной резки различаются в зависимости от назначения операции и
ожидаемого результата.
· Лазерная резка металлов . В промышленности наиболее
распространенным процессов обработки является лазерная резка по сложному
контуру листов из стали толщиной до 20 мм. Данный метод применяют для
изготовления таких деталей как панели, кронштейны, прокладки, двери,
декоративные решетки, приборные щитки и т.д. Сейчас все большую популярность
набирает лазерная резка фигурных изделий . Обусловлено это высокой гибкостью
оборудования. В данных случаях , лазерная резка обойдется намного дешевле , чем
использование оборудования для гидроабразивной резки или эрозионной проволоки.
· Сварка. С помощью лазерной сварки довольно просто осуществить
соединение из легированных и углеродистых сталей при толщине до 10 мм. Лучше
всего достоинства проявляются при сварке изделий небольшой толщины (до 1мм).
Например, электроконтактов, аккумуляторных батарей, корпусов приборов,
переключателей и т.д. Также возможна сварка драгоценных металлов.
· Маркировка. Наиболее широко распространен , когда требуется
нанести шкалу на измерительные инструменты , а также при производстве
указателей, табличек, маркировк товаров. При этом лазерная резка не только
отличается низкой стоимостью, но и высокой производительностью.
· Лазерная гравировка. Осуществляется посредством удаления или
разрушения части материала при воздействии лазерного излучения. Производят
гравировку на импульсных лазерах. Также могут применяться затворы, которые
работают в импульсном режиме.
· Пробивка отверстий. Оборудование для лазерной резки может
использоваться для пробивки отверстий диаметром 0,2-1,2 мм, если исходная
толщина материала до 3 мм. По экономичности такой способ превосходит всё
остальное. Данной технологии подвергаются: сита, ушки игл, фильтры и т.д.
Оборудование для лазерной резки настолько точное, что его применяют для
пробивки отверстий в часовых камнях.
· Лазерная закалка. Осуществляется посредством воздействия луча
лазера на поверхность сплава. При этом достигается глубина упрочнения до 1,5
мм. Обычно закалка с помощью оборудования для лазерной резки применяется для
изделий, подверженных высокому износу: детали двигателей, валы , детали
подшипников и т.д. После обработки стойкость изделия к износу увеличивается от
1,5 до 5 раз.
· Легирование и наплавка. На поверхности сплава наносится слой
, который обладает специальными свойствами : повышенной теплостойкостью,
износостойкостью и т.д. Чаще всего лазерной наплавке подвергаются изношенные
детали машин с целью их восстановления. Деформация деталей при проведении
процесса минимальна.
· Процессы микрообработки. Благодаря лазеру , стало возможным
осуществлять процессы напыления тонких пленок, выращивания кристаллов и т.д.
С помощью сфокусированного лазерного луча регулируемой мощности,
обеспечивается гладкая поверхность реза широкого спектра материалов.
Современное оборудование обеспечивает раскрой любой степени сложности листов
стали(толщиной до 5мм), медных сплавов (толщиной до 1,5 мм), оргстекла ,
пластиков, древесных материалов (толщиной до 30-40 мм), а гибкое программное
обеспечение и короткий технологический цикл позволяют выполнять единичные
заказы даже в присутствии заказчика. Расходным материалом служит электроэнергия
или газ.
Среди недостатков лазерной резки можно перечислить следующие:
Невозможность резки светопропускающих и светоотражающих материалов
(например ,медь и стекло), высокий расход энергии, термическое воздействие на
материал. Недостатком лазерной резки , имеется ввиду промышленная резка,
является относительно высокая стоимость стана для ее осуществления.
.Плазменная резка
Газ (воздух , азот) или вода, подающейся в режущее сопло ,под
воздействием высокой температуры и электрического тока , разлагается на
составные части (атомы), которые действуют на материал , вызывая его
разрушение, что приводит к разрезанию материала с четкими краями. Таким
способом можно резать нелегированную и слаболегированную сталь, все черные и
цветные металлы, нержавеющую сталь.
Недостатки плазменной резки металла:
· Максимальная толщина разрезаемого металла меньше, чем у
металлов при кислородной и кислородно-флюсовой резке. Кислородная резка
обеспечивает разделение металла толщиной до 1,0 - 1,5 м, кислородно-флюсовая - стали
и чугуна толщиной до 500 мм, плазменная - металла толщиной не более 200-300мм.
· Более сложное и дорогостоящее оборудование , содержащее
источник тока и электронную систему управления резаком.
· Более сложное оборудование
· Случайное прикосновение к металлу в процессе резки может
вывести из строя режущий плазмотрон.
· Сложность плазменного оборудования и его обслуживания
затрудняет одновременную резку одинаковых деталей несколькими резаками ,
установленными на одной машине.
. Гидроабразивная резка (резка водой).
Резка производится сжатой под давлением в несколько тыся атмосфер водой,
направленной в определенную точку , в результате силы воздействия происходит
механическое разрушение материала. Струя не изменяет физико-механические
свойства материала и исключает деформацию, оплавление и пригорание материала.
Резать гидроабразивной струей можно почти все. Основное применение
гидроабразивной резки - это обработка листовых материалов: изготовление
художественных панно, мозаик и бордюров из натурального камня и керамогранита
для отделки интерьеров и фасадов зданий, быстрый и качественный раскрой и
изготовление несерийных изделий из металла, стекла , пластмассы и др.
Важнейшим преимуществом технологии водоструйной резки перед другими
видами обработки является отсутствие нагрева разрезаемых заготовок , т.е.
отсутствие термического воздействия на материал , что исключает термические
напряжения и деформации обрабатываемого материала. Также это предотвращает
упрочнение, деформирование, стекание шлака или амальгамирование , а также
загрязнение такими элементами , как вредные испарения и газы, присущие другим
видам резания при обработке пластмасс, композиционных материалов и т.п., нет
запыленности.
К недостаткам гидрорезания относят : конструктивные трудности , возникающие
при создании высокого давления жидкости , невысокая стойкость сопла и сложность
его изготовления.
К недостаткам водно-абразивной резки относятся:
· Существенно меньшая скорость разрезания стали малой толщины
по сравнению с плазменной и лазерной резкой;
· Высокая стоимость оборудования и высокие эксплуатационные
затраты (характерно и для лазерной резки), обусловленные расходом абразива,
электроэнергии, воды, заменами смесительных трубок, водяных сопел и
уплотнителей, выдерживающих высокое давление, а также издержками по утилизации
отходов
· Повышенный шум из-за истечения струи со сверхзвуковой
скоростью (характерно и для плазменной резки).
. Кислородная резка металла
Основана на способности железа сгорать в кислороде, применяется обычно
для резки сталей толщиной от 5 до 100 мм, возможно разделение материала
толщиной до 2000мм. Кислородной резкой выполняют также операции, аналогичные
обработке режущих инструментом, строжку, обточку, зачистку и т.п. Резку
некоторых легированных сталей , чугуна, цветных металлов, для которых обычный
способ малопригоден, осуществляют кислородно-флюсовым способом. Кислородная
обработка нашла применение на металлургических и машиностроительных заводах,
ремонтных предприятиях и т.п. Расходным материалом при этом методе служит газ
для нагрева и газ для резки.
К отрицательным сторонам относится: резка только углеродистых сталей,
низкая скорость резки небольших толщин (менее 30 мм), широкий разрез ,
значительная зона термического воздействия, качество резки сильно зависит от
состояния поверхности материала.
. Резка металла методом электрической эрозии
Этот метод основан на явлении электрической эрозии и полярного переноса
материала анода на катод в условиях импульсных разрядов в газовой среде.
Благодаря полярному эффекту , преимущественный перенос эродируемого материала
(анода) на катод обеспечивает разрезания материала с ровными краями. Этим
способом возможна резка : толстолистового материала (до 400 мм), высокой
точность резки (5 µм) , сразу нескольких листов малой толщины (уложенных в
пакет), гофрированного материала. Минусом этого метода является низкая скорость
резки.
Анализируя способы резки , можно сделать следующий вывод : общим
недостатком термических способов резки является низкая скорость резания, что
неперспективно в условиях массового производства.
Если раньше для обработки и подготовки материала для металлических
конструкций требовалось много времени и сил, то сейчас на смену тяжелому
крупногабаритному оборудованию пришли пресс-ножницы гидравлические, которые
используются как крупными, так и мелкими металлоперерабатывающими
предприятиями. Ножницы отличаются от обычных прессов большей функциональностью
и компактностью. Также среди их достоинств выделяют надежность и простоту в
использовании. Различают несколько типов пресс-ножниц: гидравлические,
кривошипные, гильотинного типа. Чаще всего их используют в заготовительном
производстве для резки разнообразного проката.
2. Конструкторская часть
.1 Устройство и работа профилирующей линии ЛПБ - 40
.1.1 Общие сведения об оборудование
Линия профилирующая ЛПБ -40.00.000.000 (в дальнейшем линия) предназначена
для изготовления гнутых профилей БКС600-01.01.001 , БКС600-01.01.402 ,
БКС600-02.01.001-01 , БКС600-02.01.001-02, БКС600-03.00.001 ,
БКС600-03.01.001-01 , БКС601-01.01.001-01 , БКС601-01.01.402 , БКС601-02.01.001
, БКС601-02.01.001-01 , БКС601-02.01.001-02 , БКС601-03.01.001-01 ,
БКС601-08.00.001 , ПШ05-484.200.002.
Область применения линии - преимущественно заготовительное производство
строительных предприятий.
Линия должна эксплуатироваться в закрытых помещениях при температуре
окружающей среды +50…+400 при наличии напряжения в сети
380 В и частотой 50 ГЦ.
Линия питается от сети сжатого воздуха давлением 0,4…0,5 МПа и расходом
20 м3/час.
Климатические условия УХЛ4.2 по ГОСТ 15150 для стран с умеренным
климатом.
2.1.2 Основные технические данные и характеристики
Параметры исходного материала
· Толщина, мм4,0
· Ширина, мм 400
· Наружный диаметр рулона, мм не более 1200
· Внутренний диаметр рулона, мм 500-600
· Масса рулона, кг. не более 2500
· Покрытие цинковое
Наибольшая длина профиля, мм 10000
Максимальная скорость профилирования, м/мин 20
Средняя производительность при прокатке профилей 6м, м/мин
· Из листа толщиной 4,0 мм .8-10
Допускаемое отклонение длины профиля от заданного , мм
· При длине профиля до 3 м-1
· При длине профиля свыше 3 м -2
Установленная мощность, кВт.89
Количество операторов , обслуживающих линию 2
Время на переналадку комплекта инструмента, час 2
Характеристика тока питающей сети
· Род тока трехфазный, переменный
· Напряжение, В 380
· Частота , Гц 50
Габаритные размеры
· Длина, мм.11857
· Ширина, мм.1270
· Высота, мм 1914
Масса инструмента , кг 53360
2.1.3 Состав линии
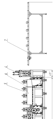
Линия состоит из следующих основных блоков и устройств (см. рис.2.1) :
1. Рулоноразматыватель;
2. Машина профилирующая;
. Устройство заправки ленты;
. Устройство резки профиля;
. Датчик длины;
. Установка аварийных выключателей;
. Приемное устройство;
Рисунок 2.1. Линия профилирующая
· Электрооборудование;
· Гидрооборудование;
· Система смачивания;
· Пульт управления.
профилирующий пресс ножницы
2.1.4 Устройство линии
Рулоноразматыватель предназначен для подачи рулонной ленты в машину
профилирующую. Машина профилирующая состоит из следующих узлов и механизмов:
· Станины;
· Профилирующих моделей;
· Устройства направляющего;
· Рамок поддерживающих;
· Привода
Станина представляет собой сборную из четырех рам конструкцию. Рамы
сварные, открытого типа, стянутые между собой четырьмя болтами. Станина
установлена на винтовых опорах. В станине установлены семь приводов.
Модуль профилирующий состоит из плиты, на которой установлены профилирующие
клети. Модули профилирующие имеют двадцать шесть исполнений и крепятся на
машине в зависимости от профилируемого профиля согласно монтажным чертежам.
Клети профилирующие с инструментальными роликами предназначены для выполнения
основной технологической операции - гибки рулонной ленты.
Устройство направляющее предназначено для точного направления ленты перед
ее подачей в профилирующие клети машины.
Рамки поддерживающие предназначены для поддержки ленты на участке
профилирующей машины перед подачей ее в направляющее устройство.
Привод предназначен для передачи крутящего момента на профилирующие
модули.
Устройство заправки ленты предназначено для подготовки ленты к
профилированию и состоит из:
· Рамы;
· Приемного столика;
· Устройства правильного;
· Ножниц гильотинных;
· Камеры смачивания.
Рама представляет собой сварную из труб конструкцию, к которой
прикрепляются остальные устройства.
Приемный столик предназначен для приема рулонной ленты , поступающей от
рулоноразматывателя и задания направления ленты перед ее подачей в правильное
устройство.
Устройство правильное предназначено для правки рулонной кривизны ленты.
Ножницы гильотинные предназначены для резки ленты при необходимости
окончания работы с ней при неиспользованном рулоне , а также в процессе наладке
линии.
Камера смачивания предназначена для нанесения на обе стороны движущейся
ленты жидкости, предотвращающей налипания покрытия ленты на профилирующие
ролики.
Устройство резки профиля предназначено для отрезки профиля после
профилирующей машины и состоит из:
· Рамы
· Корпуса турголовки
· Турголовки
· Пресс-ножниц
· Комплекта штампов
Рама представляет собой сварную из труб конструкцию, к которой
прикрепляются остальные устройства.
Корпус турголовки предназначен для выставки турголовки и пресс-ножниц относительно
выкатываемого профиля, которые закрепляются с двух сторон корпуса на ступицах.
Турголовка устанавливается на корпусе перед пресс-ножницами и
предназначена для поворота профиля вокруг своей оси и устранения возможной
спиральности несимметричных профилей, выходящих из профилирующей машины.
Пресс-ножницы установлены после турголовки , имеют возможность
регулировки по высоте , и предназначены для рубки профиля на мерные отрезки
заданной длины.
Штампы являются сменными и устанавливаются или снимаются в зависимости от
марки профиля.
Датчик длины обеспечивает резку профиля на отрезки заданной длины. Датчик
длины установлен после профилирующей машины.
Установка аварийного выключателя крепится с обеих сторон линии и
предназначена для обеспечения безопасного обслуживания профилирующей машины.
Устройство приемное служит для приема профиля , выходящего из
пресс-ножниц после отрезки.
Электрооборудование линии состоит из:
· Шкафа управления;
· Центрального пульта управления ;
· Наладочного пульта;
Гидрооборудование.
Описание гидросистемы.
Гидросистема работает на чистых минеральных маслах вязкостью от 17 до 213
сСт при температуре окружающей среды от 50С до 400С.
Контрольно-регулирующая и гидрораспределительная аппаратура гидросистемы
расположена на плитах блока гидростанции.
Назначение гидросистемы.
Гидросистема линии обеспечивает :
· Ход гильотинных ножни “вниз-вверх”;
· Ход пресс-ножниц “вниз-вверх”.
Шкаф управления предназначен для установки в нем силовых электроаппаратов
и для подвода электропитания извне.
Центральный пульт управления служит для дистанционного управления работой
линии в автоматическом и наладочном режимах , а также для отображения
информации о состоянии механизмов и агрегатов линии.
Наладочный пульт предназначен для заправки рулонной ленты в машину
профилирующую.
2.1.5 Работа на линии
Порядок работы на линии следующий:
· Установить на рулоноразматыватель рулон ленты соответствующей
ширины и толщины;
· Заправить ленту в приемочный столик, и далее в правильное
устройство;
· Опустить верхний , правильный ролик до значения ,
определённого экспериментально;
· Заправить ленту в профилирующую машину;
· При необходимости выставить турголовку в положение,
определенное экспериментально;
· Выставить датчик длины на соответствующий профиль;
· В наладочном режиме лента доводится до ножниц резки профиля и
обрезается кромка;
· Замеряются размеры полученного профиля и , при необходимости
производят наладку инструмента;
· На панели управления устанавливается номер заказа , длина
профиля и их количество;
· Включается автоматический режим работы линии;
· Отрубленные профили вручную снимаются с приемочного
устройства.
Краткое техническое описание работы автоматизированной линии
Металлическая лента в рулоне (штрипс) устанавливается на
рулоноразматыватель консольного типа. Фиксация штрипса на рулоноразматывателе
производится ручным механизмом разжима. Раскручиваемая лента поступает в
устройство заправки ленты профилегибочного станка, где осуществляется
центрирование заготовки относительно оси профилирования. Далее заготовка
подается в валки профилегибочного станка, где методом интенсивного
деформирования(МИД) производится профилирование изделия заданной конфигурации .
За последней клетью профилегибочного станка установлено правильное устройство,
которое осуществляет перераспределение остаточных напряжений в уже готовом
профиле и придание ему необходимой прямолинейности в продольном направлении.
После профилирования готовый профиль поступает в отрезной штамп на подвижной
платформе, где производится его порезка в заданный размер по длине.
Отрезанный в размер профиль поступает на приемный стол, который снабжен
накопителем для промежуточного складирования и упаковки готовой продукции.
Процесс изготовления готовой продукции производится в автоматизированном
режиме, без остановки линии профилирования. Электронная система управления
обеспечивает плавное выполнение команд “пуск/стоп” , регулировку скорости
профилирования , задание длины и количества деталей, включение аварийных
блокировок при возникновении нештатных ситуаций.
2.2 Разработка конструкции пресс-ножниц
Пресс-ножницы предназначены для отрезки полосового, сортового и фасонного
проката, в частности , для рубки профиля на мерные отрезки заданной длины.
Ножницы по типу привода делятся на несколько видов: гидравлические , механические,
комбинированные и пневматические.
Достоинства пневматического привода: простота конструкции и технического
обслуживания ; надежность работы в широком диапазоне температур, в условиях
пыльной и влажной окружающей среде; высокое быстродействие (реализуемые
скорости рабочих движений , обеспечиваемых высокими скоростями движения
воздуха); возможность передачи пневмоэнергии на относительно большие
расстояния. Недостатки пневмопривода : высокая стоимость пневмоэнергии;
относительно большой вес и габариты пневмомашин; трудность обеспечения
стабильной скорости движения; высокий уровень шума; малая скорость передачи
сигнала (управляющего импульса).
Механический привод прост, надежен и ремонтопригоден (в данном случае под
ремонтопригодностью понимается возможность монтажа на месте своими силами). В
числе его недостатков - неудобство и большие усилия при манипулировании
рычагами управления, высокие трудоемкость и частота техобслуживания, а также
опасность загрязнения среды из-за регулированного применения смазочных
материалов.
К достоинствам гидравлического привода относят: возможность создания
больших усилий , малые габариты , высокое быстродействие (способность привода
увеличивать скорость действия за 10ые доли секунды), простота кинематики,
бесступенчатое (плавное ) регулирование скорости , надежность и долговечность.
К недостаткам можно отнести : требуемый высокий профессионализм в поизводстве,
поддержка запаса жидкости в гидробаке.
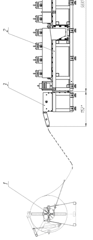
Конструкция пресс-ножниц сконструирована таким образом , что все узлы обладают
повешенной эксплуатационной надежностью , низкими энергозатратами на единицу
перерабатываемого материала. Пресс-ножницы (рис 2.1 а и рис 2.1. б )
установлены после турголовки и имеют возможность регулировки по высоте. Они
состоят из нижней 1 и верхней 2 плит, которые скреплены между собой
направляющими стойками 3. На штоке гидроцилиндра
Рисунок 2.1 а - пресс-ножницы
Рисунок 2.1 б. пресс-ножницы
установлен наконечник 4, который присоединяется к установленному на
нижнюю плиту штампу и приводит его нож в движение. Верхнее и нижнее положение
траверсы регулируется бесконтактными выключателями 6. Ножницы установлены на
задней плите 7, которая закрепляется на корпусе турголовки. Управление работой
пресс-ножниц осуществляется с центрального пульта управления.
Принцип работы устройства для отрезки профиля.
В процессе работы профиль поступает из профилегибочного стана в матрицу ,
закрепленную в гидравлическом прессе. Из ЭБУ отсчитывающего устройства
поступает сигнал на гидрораспределитель , который открывает подачу жидкости в
верхнюю или нижнюю полость гидроцилиндра. При поступлении сигнала с ЭБУ на
орезку , из ресивера жидкость поступает в верхнюю полость гидроцилиндра. В
результате этого поршень с ножом приходят в движение и врезаются в профиль.
Профиль и матрица с ножом составляют замкнутую систему, при этом поступательное
движение профиля предается подвижному каркасу отрезного устройства. Каркас
вместе с профилем двигается вперед по направляющим. Происходит рубка. После
этого гидрораспределитель, получив очередной сигнал с ЭБУ, перенаправляет
подачу жидкости в нижнюю полость пневмоцилиндра , при этом поршень с ножом
возвращается в исходное положение. Далее под действием пружин происходит
возврат подвижного каркаса в первоначальное положение. Максимальный ход поршня
при отрезке профиля составляет 100 мм. Если при отрезке профиля подвижная часть
каркаса вместе с ножом проходит конечное положение и нажимает на путевой
выключатель , происходит аварийная остановка линии.
2.3 Расчеты на прочность
Как показали исследования, проведенные Н.Е. Жуковским, силы
взаимодействия между витками винта и гайки распределены в значительной степени
неравномерно, однако действительный характер распределения нагрузки по виткам
зависит от многих факторов , трудно поддающихся учету : неточности изготовления
, степени износа резьбы , материала и конструкции гайки и болта и т.д. Поэтому
при расчете резьбы условно считают , что все витки нагружены одинаково , а неточность
в расчете компенсируют значением допускаемого напряжения
Условие прочности резьбы на срез имеет вид:
, (2.1)
где Q - осевая сила (Q=125
кН/4=31,25 кН);
Аср - площадь среза витков нарезки.
Для винта , (2.2)
Для гайки . (2.3)
- высота гайки (Н=5 мм);
-коэффициент, учитывающий ширину основания витков резьбы: для
метрической резьбы:
для винта
,
для гайки
;
Так как винт и гайка из одного материала, то на срез проверяют только
винт, так как
.
Условие прочности выполняется:
Условие прочности резьбы на смятие имеет вид:
, (2.4)
где Асм - условная площадь смятия (проекция площади контакта
резьбы винта и гайки на плоскость, перпендикулярную оси):
, (2.5)
где
- длина одного витка по среднему диаметру (
=22,57);- рабочая высота профиля
резьбы (1,0825);
, (2.6)
где z - число витков резьбы в гайке
высотой Hr
р - шаг резьбы (p=1,25)
Условие прочности выполняется:
2.4 Разработка принципиальной гидравлической схемы
Составление принципиальной схемы (рис.2.2) гидропривода начинаем от
гидроцилиндра, то есть наносим на схему гидроцилиндр, а затем на его гидролинии
устанавливаем регулирующие и направляющие гидроаппараты в соответствии с
циклограммой работы привода и способом регулирования скорости. После этого объединяем
напорную, сливную и дренажную линии отдельных участков схемы. Последним этапом
является изображение гидросхемы насоса (Н), резмещение фильтра (Ф),
предохранительного клапана (КП), дросселя (Д), распределителей(Р), гидрозамка
(ЗМ).
Схема насосной установки окончательно определяется после выбора ее
модели. Необходимо предусмотреть разгрузку насоса в положении “стоп” , что
обычно достигается выбором соответствующей схемы реверсивного распределителя.
Работа гидросистемы.
Рабочая жидкость в гидросистему подается насосом Н (рис. 2.2) через
фильтр Ф (тонкость фильтрации 25 мкм) к гидрораспределителю Р. Для настройки в
гидросистеме заданного давления, предохранения системы от перегрузок и
разгрузки насоса в системе установлен предохранительный клапан КП. Когда
электромагнит клапана YA1
выключен , происходит разгрузка насоса. При включении электромагнита YA1 в гидросистеме устанавливается
рабочее давление 16МПа. Если давление превышает заданное , золотник клапана
снимает пружину и часть жидкости сливается в бак, т.е. в гидросистеме
поддерживается давление Р=16МПа . Гидрозамок ЗМ обеспечивает герметичное
запирание полостей цилиндра Ц после прекращения подачи рабочей жидкости.
Гидродроссель ДР позволяет регулировать скорость движения исполнительного
механизма. Для замера давления и настройки предохранительного клапана КП в
гидросистеме установлена кнопка манометра ПМ . Настройка гидросистемы
производится следующим образом . Гидроклапаном КП в системе настраивается
давление 10МПа (шток магнита клапана нажат вручную), против часовой стрелки -
давление уменьшается.
Рисунок 2.2. Принципиальная гидравлическая схема
2.5 Гидравлические расчеты
.5.1 Расчет и выбор исполнительного гидродвигателя
.5.1.1 Определение нагрузочных и скоростных параметров
гидродвигателя
Решение этой задачи производится на основании нагрузочных и скоростных
параметров привода, приведенных в задании , и кинематической схемы
передаточного механизма между выходным звеном гидродвигателя и рабочим органом.
По заданию даны :
гидродвигатель поступательного движения(гидроцилиндр);
движение рабочего органа поступательное;
номинальные усилия на штоке гидроцилиндра - 125 кН
наибольшая линейная скорость Vmax=0.04 м/с;
номинальное давление - 10 МПа.
В нашем случае рабочий орган и выходное звено гидродвигателя совершают
поступательное движение.
На основании параметров привода определяются максимальная скорость и
максимальное осевое усилие:
Vдmax=Vmax=0.04 м/с; Rд max=Rmax=125 кН
2.5.1.2 Определение геометрических параметров и выбор ГЦ
В качестве исполнительного гидродвигателя выбираем гидроцилиндр
двухстороннего действия с одностронним штоком. Основным ипараметрами
гидроцилиндра являются диаметры поршня и рабочее давление.
Диаметр поршня гидроцилиндра определяется по формуле[2]:
D=2
,
где : p1 и p2 - давление соответственно в напорной
и сливной полостях гидроцилиндра ; принимаем p1 = 10 МПа , p2 = 0.6 МПа.
=
= 0 ;
=
=
- коэффициенты, которые принимаются с учетом выбранной
конструкции ГЦ (с односторонним штоком).
D=2
= 98 мм
По полученному значению D из
справочника выбирается стандартный гидроцилиндр , у которого диаметр поршня Dст>D, Dст=100мм, диаметр штока d2 = 0,5⋅Dст = 50 мм.
Основным параметры гидроцилиндра:
Dст = 100 мм, dст = 50 мм, гидроцилиндр с односторонним штоком ;
Рном = 10 МПа.
Обозначение : ГЦО 100-50-100
ТУ2-053.0221050.007-89
2.5.2 Расчет и выбор насосной установки
Выбор насосной установки осуществляется исходя из требуемых расхода
жидкости и давления в гидроприводе.
Для гидроцилиндра с односторонним штоком:
ρx max = Ѵдmax px ⋅ F1cт,О
max = Ѵдmax о ⋅ F2cт ,
где Qρx max , QО max - максимальные расходы жидкости
соответственно при рабочем и обратном ходах.
F1cт , F2cт
- эффективные площади стандартного гидроцилиндра соответственно в напорной и
сливной полостях;
Ѵдmax px , Ѵдmax о - максимальные скорости движения
поршней соответственно при рабочем и обратном ходах;
Ѵдmax px = 0,03 м/с (по условию) ; Ѵдmax о = 0,04 м/с (по условию).
F1cт =
, (м2) ;
F2cт =
, (м2) ;
F1cт =
= 0,00785 м2 ;
F2cт =
= 0,00589 м2 .
Определяем максимальные расходы жидкости , для питания ГЦ:
=
⋅ F1cт = 0,03 ⋅ 0,00785 = 2,3 ⋅ 10-4 (м3/с) =
14,6 л/мин ;
=
⋅ F2cт = 0,04 ⋅ 0,00589 = 2,3 ⋅ 10-4 (м3/с) =
14,6 л/мин ;
Номинальная подача насоса должна превышать
:
н треб = 21 л/мин
Потери давления могут быть определены только после разработки
гидропривода ,поэтому предварительно выбор насосной установки производится ,
приняв : pн =
⋅ p1 =
⋅ 10 = 15 МПа.
На основании полученных значений из справочника выбираем модель насосной
установки и насоса :
2КС63В-В1.16.21.2,2УХЛ4,
где : 2 - исполнение по высоте гидрошкафа; Н=1400мм;
К - закрытый шкаф;
C -
тип насосной установки;
- вместимость бака 63 л ;
В - с воздушным маслоохладителем ;
В1 - исполнение насосного агрегата: вертикальный с однопоточным насосом ;
- номинальное давление насоса ;
- номинальная подача насоса 21 л ;
,2 - номинальная мощность электродвигателя ;
УХЛ - климатическое исполнение ;
- категория размещения.
н
= 21 л/мин = 3,5 ⋅ 10-4 м3/с ;
Подача насоса данной установки удовлетворяет условию :
н >
max ;
> 14,6
2.5.3 Расчет и выбор гидроаппаратуры и трубопроводов
.5.3.1 Выбор гидроаппаратуры
Параметрами для выбора гидроаппаратуры является величина расхода жидкости
и рабочего давления в той линии, где установлен аппарат. Номинальные значения
расхода и давления - ближайшие большие к расчетным значениям. Выбранные
аппараты должны соответствовать заданному способу монтажа, в данном случае -
резьбового, а для гидроблока управления - стыкового. Выбор аппаратуры
производим из справочника. При выборе направляющей аппаратуры предпочтение
отдаем распределителям типа В , отличающимся меньшими габаритами и
металлоемкость [3].
Р (схема 44) - распределитель :
ном = 33 л/мин ;
max = 80 л/мин ; Pном = 32 МПа
ВЕ.10.44.41/В220-50.НД.УХЛ4 ГОСТ 24679 - 81
В - гидрораспределитель золотниковый ;
- диаметр условного прохода, мм ;
- исполнение по схеме ;
/ - номер конструкции ;
В - переменный ток ;
- напряжение , В ;
- частота , ГЦ ;
Н - электромагнит ;
Д - подвод кабеля сверху
УХЛ4 - климатическое исполнение и категория размещения .
ГЗ - гидрозамок:
ном = 40 л/мин ;
max = 63 л/мин ; Pном = 32 МПа
Г310/3С4УХЛ4
ГЗ - гидрозамок ;
- диаметр условного прохода, мм ;
/3 - номинальное давление на входе, 32 МПа ;
C -
способ монтажа - стыковой ;
- исполнение по конструктивно-функциональным признакам : без
вспомогательного клапана, без дренажа ;
УХЛ4 - климатическое исполнение и категория размещения.
Д - дроссель :
ном = 25 л/мин ;
max = 40 л/мин ; Pном = 32 МПа
ДК-С12 ТУ2-053-1651-83Е
ДК - дроссель с обратным клапаном ;
C -
способ монтажа - стыковой ;
- диаметр условного прохода, мм ;
Ф - фильтр :
ном = 32 л/мин ; Pном = 32 МПа
ФГМ32-10К ТУ2-053-1778-86 ;
КП - предохранительный клапан :
ном = 63 л/мин ;
max = 100 л/мин ; Pном = 32 МПа
МКПВ16/3С3Р.24.УХЛ4 ТУ2-053-1737-85
М - присоединительные размеры, принятые в международной практике ; КПВ -
тип аппарата - клапан предохранительный на базе вставных элементов ;
- диаметр условного прохода, мм ;
/3 - исполнение по номинальному давлению настройки, 32 МПа ;
С - исполнение по способу монтажа - с корпусом для стыкового монтажа ;
- с электромагнитным управлением ;
Р- исполнение по виду регулировочного устройства - с рукояткой ;
- 24 В , для электромагнитов постоянного тока ;
УХЛ4 - климатическое исполнение и категория размещения.
МН - манометр :
МТП-100/1-ВУ-100-0,5 ГОСТ 8625-77
ПМ - переключатель манометра:
ПМ320 ТУ2-053-1707-84Е
.5.3.2 Расчет и выбор трубопроводов
Внутренний диаметр трубопровода [4]:
d = 2
, мм
где
- максимальный расход жидкости в трубопроводе , м3/с
;
- рекомендуемая скорость течения жидкости в трубопроводе,
м/с ;
Максимально допускаемая толщина стенки трубопровода :
δ =
⋅ KБ, мм,
где р - максимальное давление жидкости в трубопроводе ;
- предел прочности на растяжение материала трубопровода :
= 340 МПа ;
KБ - коэффициент безопасности ,
принимаем KБ = (2…8) = 4 ;
Трубопроводы разбиваем на участки и производим расчет для каждого
участка.
Напорная линия : участки 0-3 : 3-17.
max =
н
= 21 л/мин = 3,5 ⋅ 10-3 м3/с ; Pном = 16 МПа ;
= 4 м/с
d = 2
= 10,6 мм;
Выбираем ближайшее большее стандартное значение
Dуст
= 12 мм ;
dcт
= 16 - 2 ⋅ 2 = 12 мм ;
проверим толщину стенки :
= 340 кг/мм2 ; КБ = 4
δ =
⋅ 4 = 1,129 (мм) ;
Для данного участка выбираем стальные бесшовные холоднодеформируемые
трубы 16х 2 по ГОСТ 8734-75
Соединение с шаровым ниппелем : 2-16-К1/2 ’’ ОСТ 2 Г91-26-78.
где : 2- конструктивное исполнение на давление до 16 МПа ;
- наружный диаметр трубы dн, мм ;
К 1/2’’ - резьба коническая ,
Участок 3-4.
max =
рx
= 14,6 л/мин = 2,3 ⋅ 10-4 м3/с ; Рном = 16 МПа ;
= 4 м/с
d = 2
= 8,6 мм;
Выбираем ближайшее большее стандартное значение
Dуст
= 10 мм ;
dст = 14 - 2 ⋅ 2 = 10 мм ;
Проверим толщину стенки :
= 340 кг/мм2 ; КБ = 4
δ =
⋅ 4 = 0,94 (мм) ;
Для данного участка выбираем стальные бесшовные холоднодеформируемые
трубы 14х 2 по ГОСТ 8734-75
Соединение с шаровым ниппелем : 2-14-К 3/8’’ ОСТ 2 Г91-26-78.
Напорно-сливные линии : участок 5-8.
max =
’БО =
⋅ F1cт
= 0,04 ⋅ 0,00785 = 3,14 ⋅ 10-4 м3/с =
18,84 л/мин ;
= 2 м/с
d = 2
14 мм;
Выбираем ближайшее большее стандартное значение [1] :
Dуст
= 15 мм ;
dст = 20 - 2 ⋅ 2,5 = 15 мм ;
Проверим толщину стенки :
= 340 кг/мм2 ; КБ = 2
δ =
⋅ 4 = 1,41 (мм) ;
Для данного участка выбираем трубопроводы 20х2,5 по ГОСТ 8734-75.
Соединение с шаровым ниппелем : 2-20-К 1/2’’ ОСТ 2 Г91-26-78.
Участок 9-14.
max =
БО = 14,6 л/мин = 2,3 ⋅ 10-4 м3/с ;
= 2 м/с
d = 2
мм;
Выбираем ближайшее большее стандартное значение
Dуст
= 12 мм ;
dст = 16 - 2 ⋅ 2 = 12 мм ;
Проверим толщину стенки :
= 340 кг/мм2 ; КБ = 2
δ =
⋅ 4 = 1,13 (мм) ;
Для данного участка выбираем трубопроводы 16х 2 по ГОСТ 8734-75
Соединение с шаровым ниппелем : 2-16-К 1/2’’ ОСТ 2 Г91-26-78.
Сливная линия : участок 15-16.
max =
’БО = 3,14 ⋅ 10-4 м3/с =
18,84 л/мин ;
= 2 м/с
d = 2
14 мм;
Выбираем ближайшее большее стандартное значение [1] :
Dуст
= 15 мм ;
dст = 20 - 2 ⋅ 2,5 = 15 мм ;
Проверим толщину стенки :
= 340 кг/мм2 ; КБ = 2
δ =
⋅ 4 = 0,079 (мм) ;
Для данного участка выбираем трубопроводы 20х2,5 по ГОСТ 8734-75.
Соединение с шаровым ниппелем : 2-20-К 1/2’’ ОСТ 2 Г91-26-78.
Участок 18-19.
max =
н
= 21 л/мин = 3,5 ⋅ 10-4 м3/с ;
= 2 м/с
d = 2
мм;
Выбираем ближайшее большее стандартное значение
Dуст
= 15 мм ;
dст = 20 - 2 ⋅ 2,5 = 15 мм ;
Проверим толщину стенки :
= 340 кг/мм2 ; КБ = 2
δ =
⋅ 4 = 0,079 (мм) ;
Для данного участка выбираем трубопроводы 20х 2,5 по ГОСТ 8734-75
Соединение с шаровым ниппелем : 2-16-К 1/2’’ ОСТ 2 Г91-26-78.
2.5.4 Разработка конструкции гидроблока управления
В гидроблок управления входят следующие аппараты : распределитель Р
(ВЕ.10.44.41/В220-50.НД.УХЛ4 ГОСТ 24679-81), гидрозамок ( ГЗ10/3С4УХЛ4) и
дроссель ( ДК-С12 ТУ2-053-1651-83Е).
Данные аппараты компонуются на специальном корпусе , к которому
прикрепляются посредством стандартных крепежных деталей. При проектировании
корпуса гидроблока управления обеспечивается максимальная простота,
компактность и технологичность конструкции, удобство сборки, а также
возможность установки его на оборудование (на задней стенке корпуса предусмотрены
резьбовые крепежные отверстия). Диаметры отверстий в корпусе соответствуют
диаметрам отверстий в аппаратах , которые к нему присоединяются. Толщина
перемычек между отверстиями не превышает 3…5 мм.
На основе компоновки выполняется сборочный чертеж гидроблока управления,
на котором проставляются габаритные, присоединительные и установочные размеры.
На основании сборочного чертежа блока управления выполняется рабочий чертеж
корпуса. Учитывая сложность конструкции корпуса, отверстия пронумеровываются (обозначаются)
и их размеры указываются в таблица 2.1.
Таблица 2.1. Параметры отверстий корпуса гидроблока управления
|
№ отверстия
|
Диаметр отверстий
|
Резьба
|
Глубина сверления
|
Номера соединяемых отверстий
|
|
Р
|
11
|
К 1/2''
|
30
|
Рр
|
|
А
|
11
|
К 1/2''
|
40
|
Ар
|
|
В
|
11
|
К 1/2''
|
40
|
Вр
|
|
Т
|
11
|
К 1/2''
|
26,5
|
Тр
|
|
Рр
|
11
|
-
|
38
|
Р
|
|
Ар
|
11
|
-
|
55
|
А
|
|
Вр
|
11
|
-
|
25
|
В
|
|
Тр
|
11
|
-
|
25
|
Т
|
|
1
|
11
|
К 3/8''
|
50
|
Рр
|
|
Ок
|
10
|
-
|
29
|
Пд
|
|
Пк
|
10
|
-
|
30
|
Р
|
|
Од
|
10
|
-
|
40
|
Рр
|
|
Пд
|
10
|
-
|
58
|
Ок
|
2.5.5 Определение потерь давления в аппаратах и трубопроводах
.5.5.1 Определение потерь давления в аппаратах
Потери давления ∆рга в гидроаппаратах определяются по
формуле:
∆рга = ∆р0 + AQ + BQ2
где ∆рга - давление открывания или настройки аппарата ;
А и В - коэффициенты аппроксимации экспериментальной зависимости потерь
давления в аппарате от расхода жидкости через него ;
Qmax - расход жидкости через аппарат на данном этапе цикла.
Величина ∆р0 для обратных клапанов приводится в
справочнике , а для напорных, редукционных и переливных клапанов выбирается при
расчете гидродвигателя и насосной установки. Для распределителей, фильтров и
дросселей ∆рга = 0. Коэффициенты А и В определяются по
формулам :
А =
;
В =
;
где Qном - номинальный расход аппарата ;
Рном - потери давления в аппарате при номинальном расходе.
Величина Рном для стандартных гидроаппаратов указывается в
справочнике в таблицах основных параметров.
Напорная линия :
Фильтр Ф : Qном = 32 л/мин = 5,33 ⋅ 10-4 м3/с ;
А =
;
А =
;
∆рга = 0 + 75 ⋅ 3,5 ⋅ 10-4 + 140800,9 (3,5 ⋅ 10-4)2 =
0,0435 МПа.
Распределитель Р : Qном = 33 л/мин = 5,5 ⋅ 10-4 м3/с ;
А =
;
А =
;
∆рга = 0 + 18,2 ⋅ 2,3 ⋅ 10-4 + 33057,8 (2,3 ⋅ 10-4)2 =
0,0059 МПа.
Гидрозамок ГЗ : Qном = 40 л/мин = 6.67 ⋅ 10-4 м3/с ;
А =
;
А =
;
∆рга = 0 + 37,48 ⋅ 2,3 ⋅ 10-4 + 56193,7 (2,3 ⋅ 10-4)2 =
0,0116 МПа.
Сливная линия :
Дроссель Д : Qном = 25 л/мин = 4,16 ⋅ 10-4 м3/с ;
А =
;
А =
;
∆рга = 0 + 120,2 ⋅ 1,77 ⋅ 10-4 + 288923,8 (1,77 ⋅ 10-4)2 =
0,0303 МПа.
Гидрозамок ГЗ : Qном = 40 л/мин = 6,67 ⋅ 10-4 м3/с ;
А =
;
А =
;
∆рга = 0 + 37,48 ⋅ 1,77 ⋅ 10-4 + 56193,7 (1,77 ⋅ 10-4)2 =
0,0084 МПа.
Распределитель Р : Qном = 33 л/мин = 5,5 ⋅ 10-4 м3/с ;
А =
;
А =
;
∆рга = 0 + 18,2 ⋅ 1,77 ⋅ 10-4 + 33057,8 (1,77 ⋅ 10-4)2 =
0,0042 МПа.
Потери давления сводим в таблицу 2.2
Таблица 2.2. Потери давления в гидроаппаратах
Напорная линия : ∆рга = 0.061 МПа
Сливная линия : ∆рга = 0.0429 МПа
Сумарные потери в ГА : ∆рга∑ = 0,1039 МПа
.5.5.2 Определение потерь давления в трубопроводах
.5.5.2.1 Потери давления по длине
Потери давления по длине обусловлены вязким трением жидкости при ее
течении в трубопроводе. Существенное влияние на величину этих потерь оказывает
режим течения жидкости. Различают два режима : ламинарный и турбулентный,
причем переход из одного режима в другой происходит при критическом числе
Рейнольдса (Reкр).
Поэтому прежде всего для каждого трубопровода определяем число Рейнольдса
(Re).
Re =
21200
,
где Q - расход жидкости в линии (л/мин) ;
dст - внутренний диаметр стандартной
трубы (мм) ;
v = 30
(мм2/с) - кинематический коэффициент вязкости масла (рабочая среда
минеральное масло ИГП30 (р=890 кг/см3).
Затем сравниваем это число с Reкр :
если Re < Reкр , то режим течения ламинарный.
Для гладких круглых труб , а так же для отверстий в корпусе гидроблока
управления Reкр = 2300, для рукавов Reкр = 1600.
При расчете потерь давления трубопроводы разбиваются на участки , имеющие
одинаковый диаметр и расход жидкости . Потери давления ∆рi на вязкое трение :
∆рi =
⋅
где
- плотность рабочей жидкости ;
- коэффициент гидравлического трения на i-м участке ;
- число участков ;
,
,
- длина , внутренний диаметр и площадь внутреннего сечения
трубопровода на i-м участке ;
Для гладких цилиндрических трубопроводов коэффициент
определяется по формулам :
при ламинарном режиме
= 64/ Rei (2.19)
при турбулентном режиме
= 0,3164/ (Rei )0,25 (2.20)
где Rei - число Рейнольдса на i-м участке..
Участок 0-3
f0-3
= π(dст)2/4 = 3,14 (0,012)2/4 = 1,13 ⋅ 10-4 (м)3
U0-3
= Q/ f0-3 = 3,5 ⋅ 10-4/1,13 ⋅ 10-4 = 3,09 (м/с)
Re =
21200 ⋅
= 1242,6 ;
Режим течения ламинарный.
𝛌0-3 = 64/ (Re0-3) = 64/1242,6 = 0,052
∆р0-3 =
⋅ 0,052 ⋅
= 0,01035 (МПа)
Расчет производится при рабочем ходе при максимальных значениях расхода
жидкости на данном этапе для сливной и напорной линии.
Потери давления по длине сводим в таблицу 2.3
Таблица 2.3. Потери давления по длине
∆рдн = 0,0281 МПа
∆рдс = 0,0278 МПа
∑р = 0,0559 МПа
2.5.5.2.2 Местные потери давления
Местные потери складываются из потерь в различных местных сопротивлениях
и определяются по формуле :
∆рe = р
ji
где Ɛji - коэффициент i-го местного сопротивления:
- площадь внутреннего сечения трубопровода переем i-ым участком ;
n -
число местных сопротивлений.
∆рн = 890
1,14
= 0,0049 МПа
Местные потери давления для других трубопроводов представлены в таблице
2.4
Таблица 2.4. Местные потери давления
|
Этап цикла
|
линия
|
Qmax [м3/с]
|
участок
|
fст ; [м2]
|
Вид местного сопротивления
|
количество
|
Ɛi
|
∑Ɛi
|
∆рMj [МПа]
|
|
РХ
|
Н
|
3,5⋅10-4
|
0-3
|
1,13⋅10-4
|
Резкое расширение (d32/d37,5)
Резкое сужение (d37,5/d32) Тройник
|
1 1 1
|
0,6 0,24 0,3
|
1,14
|
0,0049
|
|
|
2,3⋅10-4
|
3-4
|
0,78⋅10-4
|
Резкое расширение (d15/d17,5)
Колено 90 0
|
1 1
|
0,6 1,2
|
1,8
|
0,0069
|
|
|
2,3⋅10-4
|
5-8
|
1,76⋅10-4
|
Колено 90 0 Резкое сужение (d17,5/d15) Изгиб трубы 900 Вход в емкость
|
2 1 2 1
|
1,2 0,24 0,2 2
|
5,04
|
0,0038
|
|
Этап цикла
|
линия
|
Qmax [м3/с]
|
участок
|
fст ; [м2]
|
Вид местного сопротивления
|
количество
|
Ɛi
|
∑Ɛi
|
∆рMj [МПа]
|
|
РХ
|
С
|
1,77⋅10-4
|
9-14
|
1,76⋅10-4
|
Вход в трубу Изгиб трубы 900 Резкое расширение (d15/d17,5) Колено 900
|
1 2 1 2
|
0,5 0,2 0,6 1,2
|
3,9
|
0,0016
|
|
|
1,77⋅10-4
|
15-16
|
1,76⋅10-4
|
Резкое сужение (d17,5/d15) Изгиб трубы 900
|
1 2
|
0,24 0,2
|
0,64
|
0,003
|
∆рмн = 0,0156 МПа
∆рмс= 0,0019 МПа
∑рм = 0,0175 МПа
Суммарные потери в линиях сводим в таблицу 2.5
|
∆рГАн , МПа
|
∆рГАс , МПа
|
∆рДн , МПа
|
∆рДс , МПа
|
∆рМн , МПа
|
∆рМс , МПа
|
|
0,061
|
0,0429
|
0,0281
|
0,0278
|
0,0156
|
0,0019
|
Проссумируем потери в напорной и сливной линиях :
∆рн = 0.1047 МПа , ∆рс = 0,0726 МПа.
По результатам расчета уточняется расчет и выбор насосной установки по
давлению по следующей формуле :
рн. треб = р1 + ∆р∑н ≤
рн ,
рн. треб = р1 + ∆р∑н = 10 +
0,1773 = 10,1773 МПа ≤ 16 МПа
Условие выполняется , значит принятая ранее насосная установка
обеспечивает требуемое давление.
3. Технологическая часть
.1 Описание конструкции и назначение детали
Устройство отрезное предназначено для резки металлических профилей, как в
составе автоматизированной линии профилирования, так и отдельно. Инструментом
для резки служат отрезные матрицы, которые выполняются под конкретный профиль.
Основные технические характеристики устройства в зависимости от модели:
максимальные ширина отрезаемых профилей - 400 мм, толщина металла - 4 мм,
технологическое усилие - 125 КН.
Матрица - это часть штампа отрезного устройства, входящего в состав
профилирующей линии. Матрица работает в условиях, контактного напряжения и
интенсивного трения скольжения. Точность поверхностей матрицы непосредственно
влияет на точность получаемых изделий.
Шероховатость поверхностей матрицы влияет на шероховатость получаемых
поверхностей, поэтому к рабочим поверхностям матрицы предъявляются высокие
требования по точности размеров, формы и взаимного расположения поверхностей, а
также шероховатости поверхностей.
Твёрдость матрицы должна быть значительно выше твёрдости обрабатываемого
материала, чтобы обеспечить обрабатываемость и уменьшить износ. Полуматрица -
это часть матрицы. В нашем случае полуматрица является телом V образной формы, имеющая шесть
отверстий.
Рисунок 3. Полуматрица нижняя
.2 Техническое задание
Цель проекта - разработать технологический процесс. Объектом
проектирования является полуматрица.
Твёрдость матрицы должна быть значительно выше твёрдости обрабатываемого
материала, чтобы обеспечить обрабатываемость и уменьшить износ. Поэтому, для
изготовления матрицы отдаем предпочтение инструментальному материалу - сталь
Х12М. (инструментальная легированная штамповая сталь).
Исходные данные:
материал заготовки - Сталь Х12М ГОСТ 5950-2000 ;
масса детали, кг - 5;
годовая программа, шт - 2 000;
3.3 Технологический контроль чертежа детали
Технологический контроль чертежа детали сводится к тщательному его
изучению. Технологический контроль чертежа выполняется по параметрам:
.Адекватность изображения
.Размеры
.Точность
.Шероховатость Ra ≤ T/32
.Технические условия
.Материал
Рабочий чертеж обрабатываемой детали содержит все необходимые сведения,
дающие полное представление о детали, т.е. все проекции, разрезы иссечения,
совершенно четко и однозначно объясняющие ее конфигурацию, и возможные способы
получения заготовки. На чертеже должны быть указаны все размеры с необходимыми
отклонениями, требуемая шероховатость обрабатываемых поверхностей, допускаемые
отклонения от геометрических форм. Чертеж содержит все необходимые сведения о
материале детали, термической обработке, применяемых защитных и декоративных
покрытиях, массе детали и др (технические условия). Рабочий чертеж детали дает
полное и однозначное представление о конструкции детали, содержит все
необходимые, позволяющие однозначно объяснить ее конфигурацию и возможные
способы получения заготовки.
3.4 Анализ технологичности конструкции
Технологичность - это свойство конструкции изделия, обеспечивающее
возможность его выпуска с наименьшими затратами времени, труда и материальных
средств, при сохранении заданных потребительских качеств.
Изделие
является технологичным, если оно удовлетворяет следующим требованиям:
- обрабатывается на высокопроизводительном оборудовании;
обрабатываемые поверхности легкодоступны;
совпадают технологические и измерительные базы;
характеристики станков позволяют получить детали с заданными
отклонениями;
есть возможность непосредственного измерения заданных на чертеже
размеров;
на изделии отсутствуют конструктивные элементы, вызывающие коробления,
изменение формы.
Полуматрица имеет V
образную форму со сквозными отверстиями. Это позволяет применять
высокопроизводительные методы обработки. К таким методам можно отнести:
одновременное фрезерование нескольких деталей, набранных в пакет;
сверление отверстий на станках с ЧПУ.
Следовательно, деталь удовлетворяет основным требованиям технологичности.
3.5 Выбор
заготовки
Метод выполнения заготовки для деталей машин определяется назначением и
конструкцией детали, материалом, техническими требованиями, масштабом и
серийностью выпуска. Для изготовления полуматрицы воспользуемся методом -
ковки.
Себестоимость поковок определяем по формуле:
Sзаг=(S∙Q∙km∙kc∙kb∙kм∙kn)
- (Q-q)∙Sотх, руб.,
где Q - масса заготовки,6,5 кг;- цена 1 кг материала заготовки, S = 70
руб./кг;- масса готовой детали,5 кг;omx - цена 1 кг отходов, Somx
= 15 руб./кг.
km∙kc∙kb∙kм∙kn - коэффициенты, зависящие от
точности, сложности, массы, марки материала и объема производства заготовок.
Sзаг=(70∙6,5∙1 ∙1∙0,9∙1,2∙1)
- (6,5 - 5)∙15=468,9 руб.
Коэффициент использования материала определяется по формуле:
Ku.м.=mд /m3,
где mд - масса детали, кг;
m3 - масса заготовки, кг.
Ku.м.=5/6,5=0,76
3.6 Выбор маршрута обработки
Маршрут обработки детали приведен в таблице 3.1
Таблица 3.1. Маршрут
обработки
|
№ п/п
|
Обработка детали
|
Оборудование ттип, модель)
|
Содержание операции
|
|
Заготовительная
|
Ун. горизонтально-ковочная машина ГКМ
|
Изготовление поковки
|
|
1
|
Вертикально-фрезерная
|
Вертикально-фрезерный станок 6Р13
|
бок
|
|
2
|
Вертикально-фрезерная
|
Вертикально-фрезерный станок 6Р13
|
В пакете 4 стороны
|
|
3
|
Вертикально-фрезерная
|
Вертикально-фрезерный станок 6Р13
|
V образный паз
|
|
4
|
Вертикально-фрезерная ЧПУ
|
Фрезерно-сверлильный станок с ЧПУ 6Р13Ф3 NC-110
|
Обнижение, 6 отверстий, V образный контур
|
|
5
|
Слесарная
|
напильник
|
зачистка заусенцев
|
|
6
|
Термообработка
|
печь
|
Закалка 1150 0 , отпуск 200 0, НRC 60…64
|
|
7
|
Плоскошлифовальная
|
Плоскошлифовальный станок 3701
|
бок
|
|
8
|
Плоскошлифовальная
|
Плоскошлифовальный станок 3701
|
основание
|
|
9
|
Плоскошлифовальная
|
Плоскошлифовальный станок 3701
|
275
|
|
10
|
Плоскошлифовальная
|
Плоскошлифовальный станок 3701
|
V образный контур
|
|
11
|
Заточная
|
Точильный станок ВИХРЬ ТС-150
|
V образный контур режущая часть
|
|
12
|
Контроль
|
Контр. приспособление
|
Контролировать качество изготовления
|
3.7 Предварительное нормирование времени операций
Нормирование выполняем с учетом производительности, методов обработки и
величины снимаемого припуска, используя приближенные формулы.
Результаты вычислений заносим в таблицу 3.2
Таблица 3.2. Штучно-калькуляционное время
|
Операция
|
Тш.к., мин
|
|
Вертикально-фрезерная
|
8
|
|
Вертикально-фрезерная
|
8
|
|
Вертикально-фрезерная
|
6
|
|
Вертикально-фрезерная ЧПУ
|
7
|
|
слесарная;
|
|
|
термическая операция;
|
4
|
|
плоскошлифовальная
|
4
|
|
плоскошлифовальная
|
4
|
|
плоскошлифовальная
|
3
|
|
заточная;
|
|
|
контрольная операция.
|
|
|
∑
|
44
|
3.8 Расчет припуска на обработку
Припуски имеют очень важное значение в процессе разработки
технологических операций механической обработки деталей. Правильное назначение
припусков на обработку заготовки обеспечивает экономию материала и трудовых
ресурсов, качество выпускаемой продукции.
Выбор и расчёт припусков на обработку производится расчётно-аналитическим
методом профессора Кована :
Zmin=2(Rz+T)+ρ+Ɛ
где Rz - высота микронеровностей,
Т - глубина дефектного поверхностного слоя;
ρ - пространственные отклонения
заготовки;
ε - погрешность закрепления заготовки.
(Rz+T)=800
Ρ=1000 мкрм
Ɛ=500
Zmin=2(800)+1000+500=
3 мм
3.9 Выбор типа и формы производства
Исходные данные:
годовая программа - 2000 шт.;
Маршрут обработки (только те операции, которые определяют тип
производства):
.Вертикально-фрезерная tшк=8
.Вертикально-фрезерная tшк=8
.Вертикально-фрезерная tшк=6
.Вертикально-фрезерная ЧПУ tшк=7
.Плоскошлифовальная tшк=4
.Плоскошлифовальная tшк=4
.Плоскошлифовальная tшк=4
.Плоскошлифовальная tшк=3
Тип производства характеризуется коэффициентом загрузки оборудования Кз.о
, который определим по формуле :
Кз.о =
где
- годовая программа выпуска, шт (2000);
Fd - действующий годовой фонд времени работы оборудования, час;
Тшт. - среднее время, мин (только тех операций, которые
определяют тип производства).
Кз.о = (5,5*2000)/(60*2000)=0,09
В зависимости от Кз.о определяем тип производства:
Кз.о = 1 (массовое-М)
Кз.о=0,1-0,5 (крупносерийное-КС)
Кз.о=0,04-0,1 (среднесерийное-СС)
Кз.о=0,005-0,04 (мелкосерийное-МС)
Вычислив коэффициент загрузки оборудования и сравнив его со стандартным,
приходим к выводу, что для изготовления данной детали подходит среднесерийный
тип производства.
Такт выпуска - это промежуток времени, через который необходимо
изготавливать изделия, для обеспечения заданной программы выпуска.
Такт выпуска определим по формуле:
, мин/шт
где
- годовая программа выпуска, шт;
- действительный годовой фонд времени работы оборудования, ч;
=2000 ч.
τ =
= 60 мин/шт.
Формы организации технологических процессов в соответствии с ГОСТ
14312-74 зависят от установленного порядка выполнения операции технологического
процесса, расположение технического процесса, расположения технического
оборудования, количество деталей в партии и движение в процессе изготовления, а
также от применяемого средства автоматизации.
3.10 Выбор оборудования
Выбор металлорежущих станков для изготовления предложенной детали
осуществлен с учетом следующих факторов:
·
вид обработки;
·
точность
обрабатываемой поверхности;
·
расположение
обрабатываемой поверхности относительно технологических баз;
·
габаритные
размеры и масса заготовки;
·
производительность
операции;
·
тип производства.
Выбранное оборудование и его основные параметры приведены в таблице 3.3
Таблица 3.3. Оборудование и его основные параметры
|
Наименование операции
|
Станок
|
Техническая характеристика станка
|
|
Вертикально-фрезерная
|
Вертикально-фрезерный станок 6Р13
|
Размеры стола: - длина 1600 мм - ширина 400 мм Расстояние
от оси шпинделя до вертикальныхнаправляющих станка 500 мм Расстояние от торца
шпинделя до стола 70-450 мм Наибольший ход стола: - продольный 1000 мм -
поперечный 400 мм Наибольший ход ползуна 150 мм Вертикальный ход стола 580 мм
Диапазон скоростей вращения шпинделя 40-2000 об/мин Число скоростей 18
Диапазон подач стола, салазок, ползуна
|
|
Наименование операции
|
Станок
|
Техническая характеристика станка
|
|
|
Вертикально-фрезерная ЧПУ
|
Фрезерно-сверлильный станок с ЧПУ 6P13A3 NC-110
|
Наибольший диаметр сверления 35 мм Размер рабочей
поверхности стола…………………………….630´400 мм Наибольшее расстояние от торца шпинделя до
стола..600 мм Наибольший ход стола: - продольный (Х) 560 мм - поперечный (Y)
360 мм Наибольший ход револьверного суппорта (Z,R)..560 мм Количество
скоростей шпинделя 12 Пределы скоростей шпинделя …32-1400 об/мин Количество
рабочих подач …….18 Пределы рабочих подач.........10-500мм/мин Скорость
перемещения стола…………………….…500,3800мм/мин Скорость быстрого перемещения
суппорта……………………….4000 мм/мин Дискретность перемещений 0,01 мм Мощность
главного привода 4 кВт
|
|
|
Плоскошлифовальная
|
Плоскошлифовальный станок 3701
|
Габариты, мм: 1440x1625x1830Начало серийного производства:
1970Мощность двигателя главного движения, кВт: 2.2Масса станка с выносным
оборудованием, кг: 2435 Класс точности: АДлина (диаметр) рабочей поверхности
стола, мм: 400
|
|
|
Заточная
|
Точильный станок ВИХРЬ ТС-150
|
Номинальная мощность 150 Вт Частота вращения шлифовального
круга, мм ……….2950 Размер заточного круга, мм …………. 125*16*12.7 Напряжение, В
………………. 220 Вес нетто, кг ………………… 4,4 Частота, Гц ……………………….50
|
|
|
|
|
|
|
|
|
3.11 Выбор приспособлений
Станочные приспособления (СП) применяют для установки заготовок на
металлорежущие станки. Обоснованное применение СП позволяет получать высокие технико-экономические
показатели. Трудоемкость и длительность цикла технологической подготовки
производства, себестоимость продукции можно уменьшить за счет применения
стандартных систем СП, сократив трудоемкость, сроки и затраты на проектирование
и изготовление СП.
Точность обработки деталей по параметрам отклонений размеров, формы и
расположения поверхностей увеличивается (в среднем на 25-40 %) за счет
применения СП точных, надежных, обладающих достаточной собственной и контактной
жесткостью, с уменьшенными деформациями заготовок и стабильными силами их
закрепления.
Применение СП позволяет обоснованно снизить требования к квалификации
станочников основного производства (в среднем на разряд), объективно
регламентировать длительность выполняемых операций и расценки, расширить
технологические возможности оборудования.
Необходимые станочные приспособления представлены в таблице 3.4
Таблица 3.4. Станочные приспособления
|
№
|
Наименование операции
|
Наименование приспособления
|
Обозначение и регламентирующий документ
|
|
1.
|
Фрезерная
|
Тиски 7200-0227
|
ГОСТ 14904-80
|
|
2.
|
Шлифовальная
|
Тиски 7200-0227
|
ГОСТ 14904-80
|
3.12 Уточненное техническое нормирование времени операции
Для основных операций технологического процесса (фрезерной,
плоскошлифовальной) определяем нормы штучно-калькуляционного времени
Штучно-калькуляционная норма времени определяется по формуле:
Тшт-к = tо + tв + tтех + tорг+ tп + tп.- з., мин
где tо - основное (машинное) время - рассчитывается для всех
основных технологических переходов;
, мин
tв - вспомогательное время -
продолжительность выполнения вспомогательных приёмов и холостого хода;
tтех - время на техническое обслуживание;
, мин
tорг - организационное время - время на
снабжение рабочего места деталями и инструментом;
, мин
tп - время перерывов;
, мин
, мин,
Где р - количество деталей в партии;
N -
годовая программа.
tп-з.=300/2000=0,15 мин
Нормы времени по операциям приведены в таблице 3.5
Таблица 3.5. Нормы времени по операциям
|
Наименование операции
|
tо, мин
|
tв, мин
|
tтех, мин
|
tорг, мин
|
tп, мин
|
Тшт-к, мин
|
|
|
Вертикально-фрезерная
|
2
|
0,5
|
0,2
|
0,3
|
0,062
|
3,21
|
|
|
Вертикально-фрезернаа
|
2
|
0,5
|
0,2
|
0,3
|
0,062
|
3,21
|
|
|
Наименование операции
|
tо, мин
|
tв, мин
|
tтех, мин
|
tорг, мин
|
tп, мин
|
Тшт-к, мин
|
|
Вертикально-фрезерная
|
2,5
|
0,5
|
0,25
|
0,36
|
0,075
|
3,83
|
|
Вертикально-фрезерная ЧПУ
|
2
|
0,5
|
0,2
|
0,3
|
0,062
|
3,21
|
|
Плоскошлифовальня
|
1,5
|
0,5
|
0,15
|
0,24
|
0,05
|
2,59
|
|
Плоскошлифовальная
|
2
|
0,5
|
0,2
|
0,3
|
0,062
|
3,21
|
|
Плоскошлифовальная
|
1,5
|
0,5
|
0,15
|
0,24
|
0,05
|
2,59
|
|
плоскошлифовальная
|
1,5
|
0,5
|
0,15
|
0,24
|
0,05
|
2,59
|
|
|
|
|
|
|
|
|
|
|
|
|
|
|
|
3.13 Выбор средств для контрольной операции
Выбраны средства для контрольной операции. Контроль осуществляется для
наиболее ответственных поверхностей, отверстий, элементов конструкции деталей.
Контроль детали осуществляется:
. станочниками на основных технических операциях;
2. на операции приемного контроля в конце маршрута.
Главным контрольным мероприятием является приемочный контроль.
В основу выбора положена следующая зависимость:
Исходные данные:
- тип контролируемой поверхности и размера;
масса детали и её габаритные размеры;
размеры контролируемой поверхности;
точность;
метрологические характеристики средства измерения;
тип производства.
Выбранные средства измерения и их метрологические характеристики
приведены в таблице 3.6
Таблица 3.6. Средства измерения
|
Наименование операций и переходов
|
Наименование средства измерения
|
Метрологическая характеристика
|
|
Вертикально-фрезерная
|
Штангенциркуль с цифровым отсчетом модель БВ-6265
|
|
Плоскошлифовальная
|
Профилограф - профилометр А1, 252 ГОСТ 19299-73
|
Увеличение кратности 200-100000. Диапазон изменения
профилографом 0,02-250 мкм.
|
Так же необходим контроль :
параллельности
перпендикулярсности
Проверка параллельности и перпендикулярности плоскостей и отверстий, а
также проверка расположения осей отверстий, пазов и выступов производится
универсальными способами или в специальных контрольных приспособлениях
4. Безопасность и экологичность проекта
4.1 Анализ условий труда при работе линии ЛПБ-40
При эксплуатации профилирующей линии возникает большое количество вредных
и опасных факторов, таких как неудовлетворительные метеорологические условия
производственной среды, неудовлетворительные санитарно-гигиенические условия,
возможность травматизма, недостаточное освещение, психофизиологические и другие
факторы.
При холодной обработке металлов на работников возможно воздействие
следующих опасных и вредных производственных факторов: движущиеся машины и
механизмы; подвижные части производственного оборудования; передвигающиеся
изделия, заготовки и материалы; движущиеся транспортные средства; повышенная
запылённость и загазованность воздуха рабочей зоны; повышенное значение
напряжения в электрической цепи, замыкание которой может произойти через тело
человека; повышенный уровень шума на рабочем месте; пожаро- и взрывоопасность;
острые кромки, заусеницы и шероховатость на поверхностях заготовок,
оборудования, материалов; повышенный уровень вибрации; патогенные
микроорганизмы (при работе со смазочно-охлаждающими жидкостями); тяжесть и
напряжённость труда.
Вредными для здоровья физическими факторами являются: повышенные уровни
шума работающего оборудования, вибрации, ультразвука и различных излучений;
пониженная или повышенная температура воздуха рабочей среды; повышенная
скорость движения воздуха; запыленность и загазованность воздуха рабочей зоны;
недостаточная освещенность рабочей зоны. Недостаточная освещенность рабочей зоны вызывает преждевременное
утомление, притупляет внимание работающего, снижает производительность труда,
ухудшает качественные показатели, зрение.
К опасным физическим факторам относятся: вращающиеся части оборудования и
инструмента; падающие заготовки металла; отлетающая стружка, осколки
обрабатываемых деталей и инструмента; повышенное значение напряжения в
электрической цепи; повышенная температура поверхностей оборудования и
инструмента.
Химические опасные и вредные производственные факторы по характеру
действия на организм подразделяются на общетоксические, раздражающие,
сенсибилизирующие (вызывают аллергию), канцерогенные (вызывают развитие
опухолей), мутагенные (действующие на половые клетки организма). В процессе
производства, сборки (при промывке деталей) профилирующей линии
производственный персонал работает с легковоспламеняющимися жидкостями: парами
бензина, керосина, ацетона, герметиков, этиловых спиртов, эфиров,
смазочно-охлаждающих жидкостей, красок, что может негативно сказываться на
органы чувств человека, появлению кожных заболеваний.
К психофизиологическим опасным и вредным производственным факторам
относятся физические перегрузки (статические и динамические) и
нервно-психические перегрузки (умственное перенапряжение анализаторов зрения,
слуха и др.). Плохое самочувствие при длительной работе на установке большей
частью связано с неудовлетворительной организацией рабочего места и неудобной
рабочей позой. Неудобная поза вызывает утомляемость различных групп мышц,
нарушение в кровеносной и дыхательной системах.
К биологическим опасным и вредным производственным факторам относятся
микроорганизмы (бактерии, вирусы и т.п.) и макроорганизмы (растения, животные).
Воздействие опасных производственных факторов вызывает травмы, а вредных
факторов - профессиональные заболевания (если они превышают
предельно-допустимые значения).
Для предотвращения всех выше перечисленных негативных явлений, необходимо
разработать меры по обеспечению безопасных и здоровых условий труда.
4.2 Меры по обеспечению безопасных и здоровых условий труда
Производственный цех представляет собой помещение длиной 94 м, шириной 18
м, высотой 6 м, площадь цеха 1692 м2. Цех оборудован средствами
пожаротушения, вентиляцией. Предусматривается искусственное освещение
производственного цеха. Для обеспечения нормируемых значений освещенности в
помещении, предусматривается проводить чистку стекол оконных рам и светильников
не реже двух раз в год и производить своевременную замену перегоревших ламп.
Предусмотрено поддержание оптимальных норм микроклимата в помещении с
помощью систем отопления и вентиляции; кондиционеров и дополнительных
обогревателей:
холодный период года: температура воздуха -22-240 С,
относительная влажность воздуха 40 - 60 % , скорость движения воздуха - 0,1
м/с;
теплый период года: температура воздуха 23-250 С,
относительная влажность воздуха 40 - 60 %, скорость движения воздуха - 0,1 м/с.
Для поддержания в производственных помещениях чистоты воздуха и
метеорологических условий, удовлетворяющих санитарно-гигиеническим требованиям,
устраивается вентиляция.
Удаление загрязнённого и подача свежего воздуха в помещения
осуществляется под действием естественных сил (естественная вентиляция) или с
помощью специальных механических побудителей движения воздуха - вентиляторов
(механическая вентиляция).
Предусмотрена система противопожарной защиты, включающая в себя:
применение средств пожаротушения; применение конструкции объектов с
регламентированными пределами огнестойкости и горючестью; эвакуацией людей;
применение средств пожарной сигнализации и средств извещения о пожаре.
Применяемые на производстве средства пожаротушения максимально
ограничивают размеры пожара и обеспечивать его быстрое тушение. Предусмотрено
применение порошковых огнетушителей, (огнетушитель ОП-3) относящиеся к числу
средств пожаротушения, которые могут быть эффективно использованы в начальной
стадии пожара. В коридоре здания имеется пожарный кран с рукавом для тушения с
помощью воды.
Так как успех ликвидации пожара на производстве зависит, прежде всего, от
быстроты оповещения о его начале, то предусмотрена пожарная сигнализация. В
помещении производственного участка, сборочного участка устанавливается
тепловой оповещатель. Он срабатывает от воздействия тепла в случае
возникновения на производственном участке пожара.
Для защиты от опасных и вредных производственных факторов применять
индивидуальные и коллективные средства защиты.
К индивидуальным средствам защиты относится спецодежда - х/б халаты
серого или белого цветов, специальная обувь, средства защиты глаз, лица, рук,
органов дыхания, слуха, средства защиты от падения с высоты и другие
предохранительные средства.
К средствам коллективной защиты при проектировании, производстве,
относятся сигнализаторы об опасности; специальные средства безопасности.
К специальным средствам безопасности относят, например, системы освещения
и вентиляции; кондиционеры и дополнительные обогреватели; система
противопожарной безопасности.
Выполнение всех вышеперечисленных рекомендаций и требований способствует
сохранению здоровья и работоспособности трудового персонала. При этом
необходимо осуществлять систематический контроль за состоянием производственных
факторов. В целях санитарно-бытового обслуживания работников на предприятии
предусмотрены гардеробные, умывальные, туалеты, душевые, столовые, комнаты приема
пищи.
В связи с тем, что работа человека на машиностроительном предприятии
связана с продолжительной умственной, физической нагрузками, то предусмотрена
система организации режима труда и отдыха. Рациональный режим способствует
поддержанию высокой работоспособности трудящегося. Согласно существующим
рекомендациям время непрерывной работы за компьютером не превышает двух часов,
длительность перерыва для отдыха составляет 5-15 минут. Если инженер занят
работой за компьютером 46-65% времени смены, то время на отдых должно
составлять 4-6,5% времени смены.
4.3 Расчёт заземления
Защита от поражения электрическим током является
одним из основных вопросов безопасности жизнедеятельности.
Корпуса электрических машин, переносного
электроинструмента, светильников и другие металлические нетоковедущие части
электрооборудования при нарушении изоляции могут оказаться под напряжением. В
этих аварийных условиях прикосновение к нетоковедущим частям равнозначно
прикосновению к токоведущим частям. Ток, протекающий через тело человека, может
вызвать электрическую травму. Устранение опасности поражения током при переходе
напряжения на нетоковедущие части электроустановки достигается устройством
защитного заземления.
Заземлению подлежит профилирующая линия. Напряжение
в трёхфазных электрических сетях 380В. Грунт - суглинок. Климатический
коэффициент (при сухом грунте)
=1,4, а удельное сопротивление грунта
=700 Ом∙м.
Заземляющее устройство представляет собой
прямоугольник размером 20×40м. В качестве
вертикальных стержней предполагается применить угловую сталь с шириной полки
40мм, длиной 2,5м, в качестве соединительной полосы - стальную шину сечением 40×4мм. Имеются естественные заземлители с
сопротивлением 5,7 Ом.
Целью расчета заземления является определение
количества электродов заземлителя и заземляющих проводников, их размеров и
схема размещения в земле, при которых сопротивление заземляющего устройства
растеканию тока или напряжение прикосновения при замыкании фазы на заземленные
части электроустановок не превышают допустимых значений.
Расчет защитного заземления ведется в следующей
последовательности [2]:
. Определение расчетного тока замыкания на землю:
, А ,
где U- линейное напряжение сети.
.
По величине тока замыкания определяем параметры
болтового соединения, заземляющего проводника с нетоковедущими частями,
подлежащими заземлению. Выбираем болт М6. Согласно Правилам устройства
электроустановок в электроустановках напряжением до 1000В в сети с
изолированной нейтралью сопротивление заземляющего устройства должно быть не
более 4 Ом. Принимаем RH = 4 Ом.
2. Определение расчетного удельного сопротивления
грунта
:
= 
, Ом∙м , (4.2)
где
- климатический коэффициент (при сухом
грунте),
=1,4;
- удельное сопротивление грунта (
=700 Ом∙м).
= 1,4 ∙ 700 = 980 Ом ∙м.
. Определение сопротивления естественных
заземлителей: Rе = 5,7 Ом.
4. Определение сопротивления искусственного
заземлителя RИ:
RИ =
, Ом, (4.3)
RИ =
13,4 Ом.
.Определение сопротивления одиночного вертикального
искусственного заземлителя Rст. од.[ 3]: Эквивалентный
диаметр стержней d=0,95b (b- ширина полки
угловой стали). Тогда d=0,95∙0,04=0,038 м,
Rст. од =
, Ом
где
- длина вертикальных стержней (
=2,5м);
- удельное сопротивление грунта (
= 980 Ом ∙м);
H =1,75м.
Rст. од =
Ом.
. Предварительное размещение заземлителей:
Длина соединительной полосы (шины) равна периметру
прямоугольника 20×40 м, т.е. 120 м.
Вертикальные стержни размещаются через каждые 2 м - всего 60 стержней.
. Определение сопротивления соединительных полос RП [1]:
RП = R/
, Ом,
где R - сопротивление соединительной полосы;
- коэффициент использования полосы.
=
, Ом,
где
- длина соединительных полос (
=120м);
- удельное сопротивление грунта (
= 980 Ом ∙м);
H =0,5м;
b- ширина полки угловой стали (b=0,04 м).
R=
=18,43 Ом.
С учетом коэффициента использования полосы
=0,20 [1]:
RП = R/
=
Ом.
.Определение сопротивления заземлителей
:
, Ом,
где RП =92,15 Ом, RИ = 13,40 Ом.
Тогда
Ом.
9. Определение числа заземлителей:
Окончательно определяется число вертикальных
стержней. Принимая предварительно их число равным 60, длину 2,5м и расстояние
между ними 2м, находим коэффициент использования
[1],
=0,39, откуда
n= Rст. од / (
∙
), шт. , (4.8)
n= 360, 73 / (0,39 ∙15,7) =58,91 ≈
60 шт.
Таким образом, для заземления вибрационной мельницы
необходимо 60 шт. заземлителей, расположенных по периметру 20×40 м, длиной 2,5м и с шагом 2м.
4.4 Меры по обеспечению устойчивости работ объекта в условиях
чрезвычайной ситуации
При эксплуатации линии на заводе могут возникнуть следующие чрезвычайные
ситуации: пожар, обрушение конструкции здания, выход из строя в зимний период
системы отопления, аварии, связанные с нарушениями в системе энергообеспечения.
К факторам, влияющим на устойчивость работы завода строительных
конструкций и дорожных машин, относятся: район расположения, планировка и
застройка территории объекта, системы электроснабжения, производственные связи
объекта (завода), система управления, подготовленность объекта к
восстановлению.
Основными причинами возникновения чрезвычайных ситуаций являются:
внутренние (недостаточная квалификация персонала, физический и моральный износ
оборудования и конструкции здания, низкая трудовая и технологическая дисциплина
и т.д.), внешние (неожиданное прекращение работы ТЭЦ, короткое замыкание и
др.).
Один раз в полгода комиссия под представительством главного инженера
цеха, производит техническое обследование технологического оборудования
участка, пожарной безопасности, выполнения графиков технического обслуживания и
ремонта оборудования. Один раз в год цеховой комиссией проводится прием
экзаменов по правилам пожарной безопасности, на знание правил технической
эксплуатации объектов, планов по ликвидации и локализации аварийных ситуаций.
Разрабатывается и утверждается график планового ремонта оборудования на
производственных объектах. При возникновении аварийной ситуации на участке создается
штаб по ее локализации и ликвидации.
В состав штаба входят представители производства, службы охраны
окружающей среды и охраны труда. Общее руководство штаба осуществляет комиссия
производства.
Для обеспечения пожарной безопасности участков сборки и производства
используют: систему предотвращения пожара, систему пожарной защиты, а также
организационно-технические мероприятия. Система предотвращения пожара
предусматривает повышение огнестойкости здания путём облицовывания,
оштукатуривания либо покраски металлических конструкций, установку
противопожарных дверей.
Для обеспечения безопасности персонала при возникновении пожара
предусматриваются эвакуационные выходы. При этом на видных и доступных местах
вывешивается план эвакуации.
Система противопожарной защиты предусматривает: применение установок
пожаротушения, тепловых извещателей, установку пожарных рукавов и других
средств противопожарной защиты.
Организационно-технические мероприятия предусматривают: создание
пожарно-технической комиссии, а также прохождение рабочими и служащими
противопожарной подготовки.
Меры по обеспечению безопасности персонала при условии обрушения здания
предусматривают: мероприятия по предотвращению обрушений, наличие эвакуационных
выходов, а также проведение организационно-технических мероприятий.
Безопасность здания, где расположен цех, сборочный участок, КБ
предлагается обеспечивать путём проведения ремонтов, осмотров и наблюдений.
Организационно-технические мероприятия включают: назначение ответственных
лиц за сохранность зданий, наличие у здания технического паспорта и
технического журнала, в котором ведётся учёт всех видов работ.
Для предотвращения выхода из строя системы отопления в зимний период
предлагается использовать мероприятия, заключающиеся в наблюдении, осмотре,
ремонте, а также назначение ответственных лиц за рабочее состояние данной
системы.
В случае нарушения подачи электроэнергии, где действия сотрудников КБ
заключаются в следующем:
. все обесточенные машины отключить от сети питания;
. на компьютерах, снабженными источниками бесперебойного питания
необходимо корректно завершить работу и сохранить информацию, после чего
выключить компьютеры.
Действия персонала в условиях ЧС регламентируются письменной инструкцией.
Наиболее полное и организованное выполнение мероприятий гражданской обороны на
объекте достигается заблаговременной разработкой плана мероприятий, которые
необходимо провести при возникновении чрезвычайной ситуации. План гражданской
обороны объекта представляет собой заранее разработанный перечень мероприятий
по защите служащих, повышению устойчивости работы объекта в условиях
чрезвычайной ситуации. В нем определяются объем, организация и порядок
осуществления мероприятий по приведению ГО объекта в готовность к выполнению
возложенных на нее задач в условиях чрезвычайной ситуации.
4.5 Меры по охране окружающей среды
Основными мероприятиями по снижению выбросов вредных веществ в атмосферу
является совершенствование технологических процессов, строительство новых и
повышение эффективности существующих очистных сооружений, ликвидация источника
загрязнения, перепрофилирование производства.
На ОАО «СКДМ» наиболее значимым представляется газо- и пылеулавливание
вентиляционных выбросов. Очистку и обезвреживание газовых составляющих выбросов
промышленного производства осуществляют методами, выбор которых определяется
составом, концентрацией загрязняющих веществ, типом производства, условиями
выброса.
В настоящее время используют следующие методы обезвреживания газообразных
выбросов:
1. конденсационный - охлаждение паровоздушной смеси ниже точки росы
в специальных установках;
2. компрессионный - сжатие обезвреживаемого газа и его последующие
охлаждение;
. абсорбционный, основанный на диффузии газообразных примесей на
поверхности раздела газ - жидкость с переходом газа в жидкую фазу;
. электростатический, окислительный и др.
Очистку вентиляционных выбросов от механических примесей осуществляют
аппаратами мокрого и сухого пылеулавливания, волокнистыми фильтрами и
электрофильтрами.
Предприятие загрязняет почву различными отходами: стружками, опилками,
шлаками, золой, пылью. На заводе обустроены временные площадки для накопления
отходов. Это специально обустроенное место на территории предприятия для
хранения отходов до момента их использования в последующем цикле или отправки
на переработку на др. предприятия. Все цеха снабжены контейнерами, которые
промаркированы с указанием вида отхода.
При охране земельный ресурсов мерами по утилизации отходов
металлообрабатывающих предприятий, содержащих частицы песка, породы и механические
примеси, изменяют структуру, физико-химический и механический состав почвы.
Указанные отходы используются при строительстве дорог, засыпке котлованов и
отработанных карьеров после обезвоживания. В то же время отходы
машиностроительных заводов, содержащие соли тяжелых металлов, цианиды, щелочи,
кислоты, токсичные вещества, утилизации не подлежат. Эти виды отходов собирают
в шлаконакопители, после чего их засыпают, утрамбовывают. Место захоронения
озеленяют.
В сточных водах ОАО «СКДМ» содержатся различные примеси: механические -
органического и минерального происхождения, нефтепродукты, эмульсии, токсичные
различные соединения.
Использованная предприятием вода поступает в очистные сооружения
предприятия, очищается и повторно используется (повторное, оборотное
водоснабжение).
Очистка сточных вод от механических примесей в зависимости от их свойств,
концентрации и фракционного состава осуществляется методами процеживания,
отстаивания, отделения механических частиц в поле действия центробежных сил и
фильтрования.
Очистка сточных вод от маслосодержащих примесей в зависимости от состава
и концентрации примесей осуществляется следующими методами: отстаиванием,
обработкой в гидроциклонах, флотацией и фильтрованием.
Для очистки сточных вод от металлов и солей применяют реагентные,
ионообменные, сорбционные, электрохимические, биохимические и другие методы.
Профилирующая линия является источником воздействия на окружающую среду.
В результате её деятельности в воздушную среду могут поступать вредные
различные вещества в виде паров, газов и пыли. Вредное вещество-это вещество,
которое при контакте с организмом человека может вызвать производственные
травмы, профессиональные заболевания или отклонения в состоянии здоровья.
Воздействие пыли на человека зависит от её токсичности, дисперсности и
концентрации в воздушной среде. Пыль бывает крупнодисперсной (размер частиц
более 50 мкм), среднедисперсной ( 50…10 мкм) и мелкодисперсной (менее 10 мкм).
Предельно допустимую концентрацию (ПДК, мг/м3) вредных веществ в
воздухе регламентирует ГОСТ 12.1.005-88 ССБТ «Общие санитарно-гигиенические
требования к воздуху рабочей зоны». Выбросы в атмосферу воздуха, содержащего
вредные вещества, следует предусматривать и обуславливать расчётом так, чтобы
концентрация их не превышала норм предельно допустимых выбросов. В противном
случае требуется очистка выбросов. Контроль загазованности воздушной среды
осуществляется следующими методами: лабораторными, экспрессными и
индикаторными.
В процессе производства образуется определённое количество отходов
(отходы металлов, промышленный мусор), которые при соответствующей обработки
могут быть вновь использованы как сырьё для производства промышленной
продукции. Применяется следующая малоотходная технология - использование
металлолома после обработки на специализированных обогатительных предприятиях.
Любой процесс резания не представляется без СОЖ. В процессе эксплуатации,
жидкости загрязняются различными примесями, подвергаются биопоражению и, в
итоге, теряют свой технологический потенциал. Это приводит к необходимости
частой замены загрязненных СОЖ свежеприготовленными, а отработанные сливаются в
систему обезвреживания или непосредственно в окружающую среду.
Существующие на сегодняшний день методы обезвреживания эмульсий можно
разделить на три основные группы: термические, физико-химические и
биологические. Ни одна из указанных групп методов не может самостоятельно
обеспечить современных требований по качеству получаемой воды и количеству
образующихся отходов. В связи с этим, в промышленной практике, в основном,
применяют комплексные технологии разложения СОЖ. Одним из наиболее
распространенных промышленных способов обезвреживания отработанных эмульсий
является их предварительная очистка от грубодисперсных механических примесей и
масел, разложение различными деэмульгаторами (химреагентами и нефтесорбентами).
Заключение
Производство гнутых профилей является одним из определяющих направлений
предприятия. Гнутые профили производятся на профилегибочном оборудовании. В
состав этого профилегибочного оборудования входит устройство для резки профиля,
включающее в себя гидравлические пресс-ножницы. Целью выпускной
квалификационной работы была разработка пресс-ножниц для профилирующей линии
ЛПБ-40. Была разработана принципиальной гидравлической схемы. Проведены
гидравлические расчеты. Разработана конструкция гидроблока управления.
В ходе выполнения работы был разработан совершенно новый технологический
процесс изготовления детали полуматрицы. Было подобрано оптимальное
оборудование для ее изготовления.
Был проведен анализ условий труда при работе линии ЛПБ-40. Рассмотрены
меры по обеспечению безопасных и здоровых условий труда, меры по обеспечению
устойчивости работ объекта в условиях чрезвычайной ситуации и меры по охране
окружающей среды. Также произведен расчет заземления.
Список использованных источников
профилирующий пресс ножницы
1. В. Е.
Васильченко Основные Средства №6/2005 /В. Е. Васильченко Устройство и
эксплуатация.
2. Свешников В. К. Станочные гидроприводы. справочник - 2-е издание, переработанное и дополненное/ В. К.
Свешников , А. А. Усов - М.: Машиностроение, 1988, -512с.
3. Абрамов Е. И., Элементы гидропривода: справочник- 2-е издание, переработанное
и дополненное / К. А. Колесниченко, В. Г. Маслов - М.: К. Техника.
4. Башта Т. М. Гидропривод и гидроавтоматика: учебник для ВУЗов / Т. М. Башта. - М.: Машиностроение, 1972. -
320с.
5. Малов, А.Н. Справочник технолога машиностроителя /А.Н. Малов - М.: Машиностроение, 1972. Т. 2 - 568 с.
6. Монахов, Г.А. Обработка металлов резанием: справочник технолога. Изд.
3-е/ Г.А. Монахов,
В.Ф.Жданович, Э.М. Радннский и др. под ред. Монахова Г.А. - М.: Машиностроение,
1974. - 600 с.: ил.
7. Ансеров, М, А, Приспособления для металлорежущих станков. изд. 4-е, исправл. и доп./
М.А. Ансеров. - Л.: Машиностроение (Ленингр. отд-ние), 1975 - 656с.
8. Барановский, Ю. В, Режимы резания металлов: справочник. Изд. 3-е. перераб. и доп./ Ю.В. Барановский и
др. - М.: Машиностроение, 1972 - 407 с.: ил.
9. Абрамов, Ю.А. Экономика машиностроительного производства: учебник для машиностроительных, вузов/ Ю.А.
Абрамов И.Э. Берзинь, Н.Н. Застрожнова и др. под ред. И.Э. Берзиня, В.П.
Калинина. - М.: Высш. шк., 1988.-304с.
10. Справочная книга по охране труда в машиностроении / Г.В.
Бектобеков, Н.Н.
Борисова, В.И. Коротков и др.; под ред. О.Н. Русака. - Л.: Машиностроение,
1989. - 541с.
11.
Строительные нормы и правила. Естественное и искусственное
освещение;
СНиП 23-05-95: введ. 02.10.95. - М., 2003. - 69с.
12.
Справочная книга по светотехнике под редакцией доктора техническихнаук Ю. Б. Айзенберга
/ Ю. Б. Айзенберг-Москва: Энергоатомиздат. 1995.
13.
Методические рекомендации по оформлению выпускных квалификационных работ,
курсовых проектов/работ для студентов очной, очно-заочной (вечерней) и заочной
форм обучения. - Вологда: ВоГУ, 2015. - 75 с.