Конвейерная моечная машина типа ММД-6

  • Вид работы:
    Контрольная работа
  • Предмет:
    Другое
  • Язык:
    Русский
    ,
    Формат файла:
    MS Word
    92,42 Кб
  • Опубликовано:
    2016-11-25
Вы можете узнать стоимость помощи в написании студенческой работы.
Помощь в написании работы, которую точно примут!

Конвейерная моечная машина типа ММД-6

1. НАЗНАЧЕНИЕ, КОНСТРУКЦИЯ И ПРИНЦИП ДЕЙСТВИЯ АВТОМАТИЗИРУЕМОГО УСТРОЙСТВА

Автоматизируемое устройство предназначено для мойки деталей вагонов.

Работа моечной установки производится в следующей последовательности. После загрузки деталей на конвейерную линию моечной машины происходит открытие двери. Затем конвейерная лента с деталями перемещается внутрь моечной установки. Дверь закрывается, и электрооборудование подготавливается к действию. Включается насос, идет процесс обмывки деталей. Далее автоматически выключается насос и начинается подача сжатого воздуха, который одновременно обдувает и сушит детали. Затем поступление сжатого воздуха прекращается. Открывается вторая дверь. Начинается движение конвейера в крайнее положение с уже вымытыми и высушенными деталями. После остановки конвейера происходит закрытие двери. Аналогично осуществляется мойка следующей партии деталей.

Конструкция автоматизируемого устройства показана на рисунке 1.

Рисунок 1 - Конвейерная моечная машина типа ММД-6 для очистки деталей вагонов: 1 - нижняя часть корпуса; 2 - душевая система; 3 - лента конвейера; 4 - натяжное устройство конвейера; 5 - фильтр; 6 - верхняя часть корпуса; 7 - вытяжная система; 8 - теплообменник; 9 - приводное устройство конвейера; 10 - приемный стол с рольгангами; 11 - пульт управления; 12 - перепускной бачок; 13 - верхний рельс конвейера; 14 - фундамент; 15 - отвод в канализацию; 16 - нижний рельс конвейера; 17 - электродвигатель привода конвейера; 18 - боковой карман для раствора; 19 - нагревательная система с паропроводом

2. РАЗРАБОТКА КОНСТРУКТИВНОЙ СХЕМЫ АВТОМАТИЗИРУЕМОГО УСТРОЙСТВА

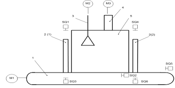
Рисунок 2 - Конструктивная схема конвейерной моечной машины типа ММД-6 для очистки деталей вагонов: 1 - конвейер; 2 - двери (1) и (2); 3 - душевая система; 4 - вытяжная система; 5 - защитный короб

3. ОПРЕДЕЛЕНИЕ ПЕРЕЧНЯ АВТОМАТИЗИРУЕМЫХ ОПЕРАЦИЙ

ожидание;

открытие двери (1);

движение конвейера;

закрытие двери (1);

обмывка;

обдувка;

открытие двери (2);

движение конвейера;

закрытие двери (2).

. РАЗМЕЩЕНИЕ СИЛОВЫХ ПРИВОДОВ НА АВТОМАТИЗИРУЕМОМ УСТРОЙСТВЕ

Для приведения конвейера в движение используется электродвигатель М1. Электродвигатели М2 и М3 используются для приведение в действие душевой и вытяжной систем соответственно (рисунок 2). Для подъёма и опускания дверей (1) и (2) применяются два пневмоцилиндра ПЦ(1) и ПЦ(2).

. ОПРЕДЕЛЕНИЕ УСТРОЙСТВ АВТОМАТИКИ НЕПОСРЕДСТВЕННО УПРАВЛЯЮЩИХ СИЛОВЫМИ ПРИВОДАМИ

Электродвигатели М1, М2 и М3 управляются электромагнитными контакторами КМ1, КМ2 и КМ3 соответственно.

Пневмоцилиндры ПЦ(1) и ПЦ(2) управляются электромагнитным золотниковым распределителями УА1 и УА2. КатушкиУА1.1 и УА2.1 управляют подъёмом, а катушки УА1.2 и УА2.2 опусканием дверей (1) и (2). Электромагнитный золотниковый распределитель УА3 управляет подачей сжатого воздуха при обдувка.

. ОПРЕДЕЛЕНИЕ ПЕРЕЧНЯ УСТРОЙСТВ АВТОМАТИКИ, ВЫРАБАТЫВАЮЩИХ УПРАВЛЯЮЩИЕ СИГНАЛЫ

Входные управляющие сигналы вырабатывают концевые выключатели и реле времени.

Концевые выключатели SQ1 - SQ6 размещаются в крайних точках возможных перемещений элементов конвейерной линии (рисунок 2).

Реле времени КТ1 и КТ2 обеспечивают необходимую выдержку времени.

7. РАЗРАБОТКА ЦИКЛОГРАММЫ РАБОТЫ АВТОМАТИЗИРУЕМОГО УСТРОЙСТВА

Циклограмма работы автоматизируемого устройства приведена на рисунке 3.

Рисунок 3 - Циклограмма работы автоматизируемого устройства

8. РАЗРАБОТКА ГРАФА АВТОМАТИЗИРУЕМОГО УСТРОЙСТВА

Состояние автомата обозначается буквой «а» и соответствует выполняемым производственным операциям:

а1 - ожидание;

а2 - открытие двери (1);

а3 - движение конвейера;

а4 - закрытие двери (1);

а5 - обмывка;

а6 - обдувка;

а7 - открытие двери (2);

а8 - движение конвейера;

а9 - закрытие двери (2).

Входные сигналы обозначаются буквой «х» и вырабатываются концевыми выключателями и реле времени:

х1 = 1 - при замыкании кнопочного выключателя SB3;

х2 = 1 - при замыкании концевого выключателя SQ1;

х3 = 1 - при замыкании концевого выключателя SQ2;

х4 = 1 - при замыкании концевого выключателя SQ3;

х5 = 1 - при срабатывании реле времени KT1;

х6 = 1 - при срабатывании реле времени KT2;

х7 = 1 - при замыкании концевого выключателя SQ4;

х8 = 1 - при замыкании концевого выключателя SQ5;

х9 = 1 - при замыкании концевого выключателя SQ6.

Выходные сигналы обозначаются буквой «w» и соответствуют устройствам, управляющим силовыми приводами автомата и реле времени:

w1 = 1 - для открытия двери (1), работает УА1.1;

w2’ = 1 - для движения конвейера, работает КМ1;

w3 = 1 - для закрытия двери (1), работает УА1.2;

w4 = 1 - для обмывки и вытяжки воздуха, работают КМ2, КМ3, КТ1;

w5 = 1 - для обдувки и вытяжки воздуха, работают КМ3, УА3;

w6 = 1 - для открытия двери (2), работает УА2.1;

w2” = w2’ = 1 - для движения конвейера, работает КМ1;

w8 = 1 - для закрытия двери (2), работает УА2.2;

w2 = w2” = w2’.

Граф состоит из вершин и ветвей. Вершина графа соответствует состоянию автомата (производственной операции) и обозначается « », внутри которого указываются обозначения соответствующего состояния.

Рядом с вершиной указывается обозначение выходной переменной, которая действует в этом состоянии автомата.

Вершины автомата соединяются ветвями или дугами. Ветвь обозначается «              ».

Ветви графа соответствуют переходам автомата из одного состояния в другое. Над ветвью проставляются обозначения входных переменных, под действием которых осуществляется данный переход. На рисунке 4 показан граф абстрактного автомата.

Рисунок 4 - Граф абстрактного автомата

Элементом памяти является триггер. Он представляет собой устройство, имеющее возможность находиться в одном из двух устойчивых состояний. Одно из этих состояний условно обозначается «0», а второе «1».

Граф структурного автомата строится на основе графа абстрактного автомата. Если в графе абстрактного автомата число вершин нечётное, то граф структурного автомата дополняется одной фиктивной вершиной. В вершинах графа структурного автомата проставляется двоичный шифр, соответствующий состоянию элементов памяти (триггеров) в данном состоянии автомата.

Разрядность двоичного шифра соответствует числу элементов памяти. В данном случае четыре. Шифры соседних верши должны различаться только величиной одного разряда, шифры не должны повторяться. Вершины имеют следующие шифры:

а1 = 0000; а2 = 0001; а3 = 0011; а4 = 0010; а5 = 0110;

а6 = 1110; а7 = 1111; а8 = 1101; а9 = 1100; а10 = 1000.


Над ветвями графа проставляются обозначения переключений триггеров. Если при переключается из состояния с «0» в состояние «1»,то это переключение обозначается буквой S, а если с «1» на «0», то буквой R. Рядом с этими буквами проставляется обозначение триггера, который переключается. Граф структурного автомата приведен на рисунке 5.

Рисунок 5 - Граф структурного автомата

. СОСТАВЛЕНИЕ ЛОГИЧЕСКИХ УРАВНЕНИЙ, ОПИСЫВАЮЩИХ РАБОТУ АВТОМАТИЗИРУЕМОГО УСТРОЙСТВА

конвейерный моечный машина вагон

Логическая функция автомата представляет собой конъюнкцию, составленную из переменных, характеризующих состояние автомата, в котором эта переменная принимает единичное значение. В данном случае под переменными состояния подразумеваются переменные, характеризующие состояние триггеров. Если триггер имеет состояние «0», то его переменная записывается со знаком инверсии, а если 1, то без знака инверсии.

;

;

;

;;

;

;

;

w2 = w2’+ w2”.



Логическая функция переключения триггеров представляет собой конъюнкцию переменных, характеризующих исходное состояние автомата и входной переменной, под действием которой происходит рассматриваемое переключение.

;

;

;

;

;

;

Упростим полученные функции;

;

;

;

;

.

переключения триггеров.


;

;

;

;

;;

;

;

;

.



ЛИТЕРАТУРА

1 Алексеев В.Д., Сорокин Г.Е. «Ремонт вагонов»: -М, «Транспорт» 1978.

Похожие работы на - Конвейерная моечная машина типа ММД-6

 

Не нашли материал для своей работы?
Поможем написать уникальную работу
Без плагиата!
Без нейросетей!