Технология скважинных тракторов

  • Вид работы:
    Курсовая работа (т)
  • Предмет:
    Другое
  • Язык:
    Русский
    ,
    Формат файла:
    MS Word
    106,71 Кб
  • Опубликовано:
    2016-10-25
Вы можете узнать стоимость помощи в написании студенческой работы.
Помощь в написании работы, которую точно примут!

Технология скважинных тракторов

Содержание

Введение

. Устройство скважинных тракторов

1.1 Скважинный трактор с шарнирно установленными расклинивающими опорами

1.2 Вибротрактор

.3 Гусеничный скважинный трактор

.4 Способы создания силы тяги

. Проведение геофизических исследований наклонных и горизонтальных скважин с избыточным давлением на устье

. Классификация исполнения скважинных тягачей

. Доставка гибких труб (колтюбинга)

. Образцы скважинных тракторов

.1 Забойный трактор WellTec

.2 Скважинный трактор WellTec

Заключение

Источники информации

Введение


Раньше освоение наклонных и горизонтальных скважин шло не так активно из-за ограничений, которые создавали доступные на тот момент способы доставки оборудования в ствол скважин. Традиционно для этих целей использовались бурильная труба, спуско-подъем под давлением и гибкие НКТ малого диаметра, однако в силу того, что для осуществления операций с применением всех этих методов требуется большое количество вспомогательного оборудования, иногда работы прекращались, не успев начаться.

Увеличение дальности проникновения в глубь ствола по сравнению с традиционным каротажным канатом привело к созданию такой технологии доставки оборудования в скважины, которая стала одной из самых эффективных и обладающих дополнительной ценностью среди всех, применяемых в последнее десятилетие. Это достижение позволило нефтедобывающим компаниям повысить экономичность проводимых скважинных операций, благодаря которым сократились расходы, закладываемые в разрешение на расходование средств, и увеличился общий объем добычи нефти и газа.

Оригинальная технология скважинных тракторов, совершившая настоящую революцию в области скважинных операций, была разработана, а затем и усовершенствована различными компаниями. Она эффективно дополняет способы проведения скважинных операций с использованием каротажного каната и гибких НКТ. Быстрое распространение этой технологии по всему миру является четким показателем того, что она действительно помогает сократить расходы и повысить безопасность при проведении скважинных операций.

1. Устройство скважинных тракторов

 

.1 Скважинный трактор с шарнирно установленными расклинивающими опорами


Изобретение относится к нефтегазодобывающей промышленности и может быть применено для доставки оборудования в горизонтальные скважины. Трактор содержит цилиндрический корпус с установленным в нем электродвигателем, шарнирно установленными расклинивающими опорами, и, по крайней мере, одну секцию с движителем, выполненным в виде установленных в корпусе колес с радиусом закругления, равным радиусу исследуемой скважины. При этом трактор дополнительно снабжен насосом с приводом от электромотора, гидромотором с цепным приводом на колеса, а также активатором расклинивающих опор. В корпусе может быть установлен дополнительный электродвигатель для активатора расклинивающих опор. Технический результат заключается в повышении тягового усилия устройства.

Рис.1.1- Устройство скважинного трактора

Изобретение относится к бурению горизонтальных и сильнонаклоненных нефтяных и газовых скважин, в частности к устройствам для доставки приборов в скважину.

Известно устройство для доставки приборов в горизонтальную скважину (Патент РФ № 2175374, Е 21В 23/14, 27.10.2001), содержащее цилиндрический корпус, шарнирно установленные расклинивающие опоры, направляющие штоки и движитель, выполненный в виде четырех втулок, попарно соединенных расклинивающими опорами, причем в каждой паре подвижная втулка имеет ходовую гайку и установлена с возможностью перемещения, а другая втулка неподвижно закреплена на направляющих штоках, установленных в соответствующих корпусах, в каждом из которых установлен электродвигатель с понижающим редуктором и ходовым винтом с шагом, исключающим его самоторможение.

Недостатком данного устройства является низкая производительность работы ввиду небольшого линейного перемещения прибора, ограниченного расстоянием между втулками и большим временем цикла проводимой операции.

Ближайшим аналогом заявленного устройства является устройство для доставки приборов в горизонтальную скважину (патент РФ № 2236549, Е 21В 23/14, 20.09.2004), содержащее цилиндрический корпус с установленным в нем электродвигателем с понижающим редуктором и ведущим валом, шарнирно установленные расклинивающие опоры, движитель, выполненный в виде установленных в корпусе колес с радиусом закругления, равным радиусу исследуемой скважины, снабженное другим электродвигателем с понижающим редуктором, колеса, установленные в корпусе, соединены с ведущим валом червячной передачей на каждое колесо, а расклинивающие опоры шарнирно соединены рычагами с ходовыми гайками, установленными на ходовых винтах с правой и левой резьбой с возможностью сближения при вращении ходовых винтов от другого электродвигателя, при этом каждая расклинивающая опора снабжена роликами.

Недостаток устройства заключается в недостаточном тяговом усилии из-за использования в конструкции исключительно электродвигателя с понижающим редуктором.

Задача изобретения - повысить тяговое усилие устройства для доставки в скважину не только измерительных, но и сервисных приборов, с целью проведения сервисных операций.

Поставленная цель достигается тем, что скважинный трактор, содержащий цилиндрический корпус с установленным в нем электродвигателем, шарнирно установленными расклинивающими опорами, и по крайней мере одну секцию с движителем, выполненным в виде установленных в корпусе колес с радиусом закругления, равным радиусу исследуемой скважины, согласно изобретению снабжен насосом с приводом от электромотора и гидромотором с цепным приводом на колеса, а также активатором расклинивающих опор.

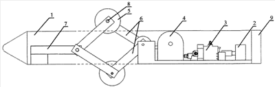
Кроме того, в корпусе скважинного трактора может быть установлен дополнительный электродвигатель для активатора расклинивающих опор. Устройство содержит цилиндрический корпус 1 с установленным в нем электромотором 2, насосом 3 и гидромотором 4, расклинивающими опорами 6, и активатором расклинивающих опор 7. На задней части корпуса 1 установлена муфта 9. Движитель устройства содержит колеса 5 с радиусом закругления, равным радиусу исследуемой скважины, установленные на осях 8 расклинивающих опор 6. Количество колес и их диаметр определяется конструктивно при изготовлении устройства.

Доставку геофизического прибора или сервисного оборудования в горизонтальную скважину с помощью данного устройства осуществляют следующим образом.

Скважинный трактор соединяют муфтой 9 с геофизическим прибором и геофизическим кабелем (не показан), или с сервисным оборудованием и геофизическим кабелем (не показан), и спускают в скважину. При достижении трактором горизонтального участка скважины включают электродвигатель 2, который приводит в движение активатор расклинивающих опор 7. Расклинивающие опоры 6 раздвигаются и колеса 5 упираются в стенки скважины. При достижении необходимой силы прижатия активатор расклинивающих опор 7 прекращает раздвигать расклинивающие опоры. Крутящий момент с электродвигателя 2 передается на насос 3, приводящий в действие гидромотор 4. С гидромотора 4 через цепную передачу (не показана) приводятся в движение колеса 5.

Для подъема скважинного трактора из скважины включают активатор расклинивающих опор 7 в обратном направлении, для складывания расклинивающих опор, и скважинный трактор извлекается путем наматывания геофизического кабеля на бухту каротажного подъемника.

Повышение тягового усилия, развиваемого скважинным трактором, обеспечивается использованием гидромотора 4 в конструкции устройства. Таким образом, существенно повышается крутящий момент, передаваемый на колеса 5 скважинного трактора. [1;2;3;4;5;6;7;8;9;17]

 

.2 Вибротрактор


Изобретение относится к работам в скважинах, а именно к способу и вариантам устройства для перемещения предметов, в частности приборов на кабеле в горизонтальных скважинах. Способ создания силы тяги в скважине, при котором используют скважинный трактор с опорами, взаимодействующими со стенками скважины, и вибровозбудителем, создают вибрации корпуса скважинного трактора вдоль скважины, передают вибрации на прижимаемые к стенкам скважины колесные и/или рычажные опоры. Опоры выполняют такими, что они препятствуют смещениям скважинного трактора в направлении, противоположном требуемому направлению движения по скважине. Колесно-опорный скважинный трактор включает корпус, механизмы для прижатия/отжатия колес к стенкам скважины, колеса, прижимаемые к стенкам скважины, по меньшей мере, один вибровозбудитель, по меньшей мере, один узел упругого механического и эластичного электрического соединения с транспортируемыми устройствами. Колеса снабжены механизмами, блокирующими вращение колес в сторону, не соответствующую направлению движения по скважине. Рычажно-опорный скважинный трактор включает корпус, механизмы для раскрытия/закрытия рычажных опор и рычажные опоры, по меньшей мере, один вибровозбудитель. Рычажные опоры выполнены так, что одним концом шарнирно прикреплены к корпусу, а другим при раскрытии пружинно упираются в стенки скважины. Все опоры образуют с осью корпуса острые углы - углы раскрытия опор, направленные вершинами в одну сторону, или трактор имеет два набора опор с углами раскрытия, направленными вершинами в противоположные стороны. Трактор также содержит, по меньшей мере, один узел упругого механического и эластичного электрического соединения с транспортируемыми устройствами. Обеспечивает расширение арсенала технических средств доставки приборов в скважины, повышение эффективности и снижение технической сложности скважинных тракторов.

Изобретение относится к работам в скважинах и может быть использовано для создания силы тяги и перемещения предметов, в частности приборов на кабеле в горизонтальных скважинах.

Горизонтальными называют скважины, у которых хотя бы часть ствола имеет зенитный угол более 60-70°. Для перемещения, например, приборов на кабеле по горизонтальным скважинам используют устройство, называемое скважинным трактором. Скважинный трактор создает силу тяги, опираясь на стенки скважины опорами различной конструкции.

Известен применяемый в скважинных тракторах способ создания силы тяги в скважинах с помощью колесных опор: колеса прижимают к стенкам скважины и передают на них вращающий момент от осей электродвигателей. Способ не гарантирует создание необходимой силы тяги в скважинах с неровными стенками из-за пробуксовки колес.

Известен применяемый в скважинных тракторах способ создания силы тяги с помощью фиксирующих опор, при котором поочередно с помощью опор фиксируют в скважине одну часть трактора, продвигая в это время вдоль ствола другую с помощью специального привода. Недостатком способа является, в частности, техническая сложность выполнения.

Во всех скважинных тракторах применяют или привод на колеса, или привод на фиксирующие опоры. Из уровня техники не известен способ создания силы тяги в скважинах, в котором вместо привода используют вибрацию.

Задачей изобретения является разработка вибрационного способа создания силы тяги в скважинах.

Задача решается тем, что в заявляемом способе скважинный трактор снабжают вибровозбудителем, создают вибрации корпуса скважинного трактора вдоль скважины, передают вибрации на прижимаемые к стенкам скважины опоры, такие, что они препятствуют смещениям скважинного трактора в направлении, противоположном требуемому направлению движения по скважине.

Скважинный трактор, в котором сила тяги создается благодаря вибрациям, будем далее называть вибротрактором, опуская для краткости определение "скважинный".

Источником колебаний корпуса вибротрактора является вибровозбудитель. Наиболее распространенными являются дебалансные вибровозбудители, в которых для генерации колебаний используют силу инерции, возникающую при вращении неуравновешенного инерционного элемента. Для вибротрактора полезными являются колебания, направленные вдоль оси скважины. Существуют дебалансные вибровозбудители, в которых благодаря использованию нескольких неуравновешенных инерционных элементов, вращающихся синхронно в разные стороны, генерируются колебания, направленные вдоль прямой, - такие вибровозбудители могут быть применены в вибротракторе. Также могут быть применены электромагнитный или электродинамический вибровозбудители. В электромагнитных вибровозбудителях силы, возбуждающие колебания, создают в результате воздействия переменного во времени магнитного поля на ферромагнитные тела. Например, электромагнитный вибровозбудитель может содержать уложенный в статоре соленоид, через который пропускают переменный ток, и пружинно закрепленный железный сердечник в качестве инерционного элемента, совершающий под действием переменного магнитного поля соленоида поступательно-возвратные движения - вибрации. Статор жестко закреплен в корпусе вибротрактора и вместе с корпусом также вибрирует.

Для осуществления способа существенно наличие вибровозбудителя, а не его устройство.

Технический результат достигается за счет преобразования продольных колебаний корпуса вибротрактора в поступательное движение, т.е. вибротрактор является вибродвижителем [8, стр.47-48]. Сила тяги создается на концах закрепленных на корпусе вибротрактора опор следующим образом. Смещения корпуса вибротрактора, направленные в сторону требуемого направления движения, назовем прямыми смещениями, а смещения, направленные в противоположную сторону, - обратными смещениями. Прямые смещения происходят беспрепятственно. Обратные смещения затруднены действием сил трения со стороны стенок скважины на опоры. Эти силы передаются на корпус вибротрактора. Таким образом, сила тяги вибротрактора создается как средняя по времени сила трения между опорами и стенками скважины.

Отличительными признаками способа являются использование вибраций и затрудняющих обратные смещения опор, отсутствие механизмов привода на опоры. Способ упрощает конструкцию и повышает эффективность скважинного трактора.

Способ может быть реализован с применением опор различной конструкции, например колесных или рычажных.

Колесные опоры вибротрактора представляют собой колеса, прижимаемые к стенкам скважины с помощью механизмов, аналогичных тем, которые применяют в известных колесных тракторах. Например, механизм, обеспечивающий прижим колес аналогично, может содержать рычаги с колесами, шарнирно присоединенные к корпусу и шарниро же соединенные с рычагами, соединенными с ходовыми гайками. При этом ходовые гайки установлены на ходовых винтах, приводимых во вращение электродвигателем. Вращение ходовых винтов в одну сторону приводит к прижатию колес к стенкам скважины, вращение в другую отодвигает колеса от стенки скважины. Для того чтобы обеспечить прижатие колес в условиях неровных стенок скважины, прижатие должно быть пружинным. Для этого, например, выполняют рычаги, соединенные с ходовыми гайками как пружинное звено, обладающее подвижностью в продольном направлении.

Для осуществления способа с помощью колесных опор существенно наличие механизмов прижатия колес, а не их устройство.

Для того чтобы колесные опоры, прижимаемые к стенкам скважины, препятствовали обратным смещениям вибротрактора, их снабжают механизмом, блокирующим вращение колес в одну сторону. Примером подходящего механизма является храповой механизм, включающий в простейшем варианте выполнения храповое колесо и подпружиненную собачку. Известно множество разновидностей храповых механизмов. В частности, храповой механизм может быть выполнен в виде втулки с внутренними зубьями и расположенной внутри втулки собачкой. Известны храповые механизмы с несколькими собачками и переменным шагом зубчатого колеса - в этом случае уменьшается угол поворота колеса, при котором блокируется обратное вращение, т.к. при малейшем повороте срабатывает одна из собачек. Известны реверсивные храповые механизмы, т.е. такие, в которых направление вращения переключают, например, используя собачку двустороннего действия.

Для осуществления предлагаемого способа с помощью колесных опор существенно наличие механизма, блокирующего вращение колес в одну сторону, а не его устройство.

Рычажные опоры представляют собой шарнирно закрепленные на корпусе рычаги, свободные концы которых пружинно прижимают к стенкам скважины. При обратном смещении между опорой и стенкой скважины возникает сила трения, большая, чем при прямом смещении, т.к. при обратном смещении возникает эффект расклинивания. Эффективность рычажных опор повышают, например, выполняя их концы острыми или зубчатыми. Также для повышения эффективности рычажных опор свободные концы рычагов могут быть изогнутыми так, чтобы обеспечивать контакт со стенкой скважины и расклинивающий эффект при изменении диаметра скважины. Одновременно могут быть применены опоры разной длины и формы. Рычажные опоры могут раскрываться, т.е. прижиматься к стенкам скважины, и складываться, т.е. прижиматься к корпусу вибротрактора. Механизм раскрытия/закрытия рычажных опор может быть выполнен различными способами, например, к опорам могут быть шарнирно присоединены рычаги, соединенные с ходовыми гайками, установленными на ходовых винтах, приводимых во вращение электродвигателем. Пружинность прижатия рычажных опор может быть обеспечена, например, выполнением рычагов, соединенных с опорами и ходовыми гайками, в виде пружинных звеньев [8, стр.354], обладающих подвижностью в продольном направлении. Величина силы прижатия рычажных опор не существенна, так как сопротивление обратным смещениям обеспечивается расклинивающим эффектом.

Известен колесно-опорный скважинный трактор [3] (аналог 1), состоящий из модулей, каждый из которых включает электродвигатели, механизмы для выдвижения и прижатия к стенкам скважин колесных опор, механизмы для передачи на колеса вращающего момента. Электродвигатели преобразуют электрическую энергию в механическую работу, при этом сила тяги создается благодаря передаче вращающего момента с оси электродвигателя на колеса. Колесно-опорный скважинный трактор применяют главным образом в обсаженных скважинах, так как не гарантируют создание силы тяги, если стенки скважины неровные, а диаметр скважины изменяется с глубиной.

Технической задачей заявляемого изобретения является упрощение конструкции и повышение эффективности скважинного трактора путем создания колесно-опорного вибротрактора.

Технический результат достигается тем, что устройство, колесно-опорный скважинный трактор, включающий корпус, механизмы для прижатия/отжатия колес к стенкам скважины, колеса, прижимаемые к стенкам скважины, содержит, по меньшей мере, один вибровозбудитель, а колеса снабжены механизмами, блокирующими вращение колес в сторону, не соответствующую направлению движения по скважине, а также по меньшей мере один узел упругого механического и эластичного электрического соединения с транспортируемыми устройствами.

Технический результат обеспечивается тем, что из-за блокировки вращения колес в одну из сторон между колесами и стенками скважины возникает сила трения, которая и является силой тяги, при этом не требуется передачи вращающего момента на колеса. Предполагается большая эффективность в скважинах с неровными стенками по сравнению с аналогом, т.к. прямые смещения колесного скважинного вибротрактора происходят благодаря инерции. Кроме того, упрощается конструкция скважинного трактора.

Колесно-опорный скважинный вибротрактор может включать механизмы, переключающие направление возможного вращения колес и, соответственно, направление движения трактора по скважине, например реверсивные храповые механизмы.

Известен скважинный трактор без колес, в котором тяга обеспечивается с использованием двух способных перемещаться вдоль корпуса секций осесимметрично расположенных фиксирующих опор - по три опоры в каждой секции, при этом поочередно во время движения скважинного трактора опоры одной из секций опираются на стенки скважины и перемещают трактор вдоль скважины, в это время другая секция опор, перемещаясь вдоль трактора, занимает исходное положение. Устройство имеет два электродвигателя, гидравлическую и механическую системы. Электродвигатели преобразуют электрическую энергию в механическую работу, при этом сила тяги создается благодаря механическому приводу, перемещающему секции опор вдоль скважинного трактора. Главным недостатком устройства является его техническая сложность.

Технической задачей заявляемого изобретения является упрощение конструкции и повышение эффективности скважинного трактора путем создания рычажно-опорного вибротрактора.

Технический результат достигается тем, что устройство, рычажно-опорный скважинный трактор, включающий корпус, механизмы для раскрытия/закрытия рычажных опор и рычажные опоры, содержит по меньшей мере один вибровозбудитель, а рычажные опоры выполнены так, что одним концом шарнирно прикреплены к корпусу, а другим при раскрытии пружинно упираются в стенки скважины, при этом все опоры образуют с осью корпуса острые углы - углы раскрытия опор, направленные вершинами в одну сторону, а также по меньшей мере один узел упругого механического и эластичного электрического соединения с транспортируемыми устройствами.

Технический результат обеспечивается тем, что сила трения между концами опор и стенками скважины зависит от направления смещения: если смещение таково, что сила трения стремится увеличить углы раскрытия опор, то из-за эффекта расклинивания возникает сила трения, большая, чем при смещениях в противоположную сторону. Если концы опор имеют маленькую площадь, то, прижимаясь к стенкам скважины, они позиционируются в неровности, упираются в них. Кроме того, опоры могут быть острыми, зубчатыми, выполненными из твердых материалов и втыкаться в стенки скважины при обратных смещениях. Также опоры могут быть выполнены изогнутыми так, чтобы обеспечивать контакт со стенкой скважины и расклинивающий эффект при изменении диаметра скважины. Таким образом, опоры являются фиксирующими при обратных и скользящими при прямых смещениях. Предполагается большая по сравнению с аналогом эффективность рычажно-опорного вибротрактора в скважинах с неровными стенками и переменного диаметра. Кроме того, упрощается конструкция скважинного трактора.

Для того, чтобы рычажно-опорный вибротрактор создавал силу тяги как в сужениях, так и в расширениях скважины, он может содержать опоры разной длины: в сужениях к стенке скважины под оптимальным углом прижимаются и обеспечивают тягу короткие, а в расширениях - длинные опоры.

Рычажно-опорный вибротрактор может иметь два набора опор, отличающихся направлением углов раскрытия. В этом случае можно переключать направление силы тяги вибротрактора и направление движения по скважине, раскрывая опоры только одного из наборов.

Как колесно-опорный, так и рычажно-опорный вибротракторы должны передавать силу тяги на транспортируемое устройство, но не передавать вибрации. Для этого в состав вибротрактора включают упругое механическое соединение, например пружинный виброизолятор, который обеспечивает передачу силы тяги и одновременно изоляцию транспортируемого устройства от вибраций, в то же время давая возможность корпусу вибротрактора совершать вибрации. Эластичное электрическое соединение обеспечивает передачу электрической энергии и сигналов управления и может быть осуществлено, например, с помощью кабеля, имеющего достаточную "слабину".

Между вибротрактором и транспортируемым прибором может дополнительно располагаться демпфер колебаний в виде массивного тела с упругим механическим и эластичным электрическим соединением.

Вибротрактор может содержать в своем составе не один, а несколько не обязательно одинаковых блоков, описанных выше, в том числе колесно-опорные блоки и рычажно-опорные блоки, упругомеханически и электрически соединенные между собой непосредственно или через транспортируемые приборы. [1;2;3;4;5;6;7;8;9;17]

1.3 Гусеничный скважинный трактор


Изобретение относится к области нефтяной и газовой промышленности, а именно к системам и способам транспортировки оборудования в скважине. Тягач может включать гусеничный узел, включающий множество катков и непрерывную гусеницу, расположенную с возможностью вращения вокруг катков. Электродвигатель может быть выполнен с возможностью вращения гусеницы вокруг катков. С противоположными концами гусеничного узла могут быть шарнирно соединены верхние и нижние рычаги, шарнирно соединенные с корпусом тягача. Может быть предусмотрен узел звеньев для приложения направленной наружу силы к гусеничному узлу для перемещения гусеничного узла в открытое положение и отвода гусеничного узла в закрытое положение. Для приведения в действие исполнительного рычага или узла звеньев может быть предусмотрен ходовой винт, соединенный со вторым электродвигателем, или шток, соединенный с гидравлической системой. Обеспечивает транспортировку инструментов в необсаженных скважинах для оценки пластов, работу при погружении в буровые растворы в скважинах с высокими температурами.

Предпосылки создания изобретения

. Область техники, к которой относится изобретение

Настоящее изобретение в целом относится к устройствам, системам и способам транспортировки оборудования в скважине, а более конкретно - к скважинному тягачу, который может быть использован как в обсаженных, так и в необсаженных скважинах и который - при использовании в необсаженных скважинах - применим к условиям грунта и консистенциям пластов всех типов, будь то мягкие, твердые или иные.

В нефтяной и газовой промышленности известно применение скважинного тягача для транспортировки оборудования, такого как каротажное оборудование, внутри скважины, а также то, что применение скважинного тягача зачастую особенно полезно, когда желательно транспортировать оборудование в значительно наклоненных и горизонтальных стволах скважин. Примеры скважинных тягачей можно найти патенте США №4670862 (Staron и др.), выданном 2 июня 1987 г., и патенте США №6089323 (Newman и др.), выданном 18 июня 2000 г. Известные скважинные тягачи несовершенны во многих отношениях, включая области работы в необсаженных скважинах, где от тягача может потребоваться преодоление множества консистенций грунтов и/или пластов (например, мягких, твердых, жестких, и т.д.), и в стволах скважин, имеющих изменяющиеся диаметры, а также неоднородные и неправильные профили стволов. Кроме того, известные тягачи несовершенны по своей способности развивать силы, требуемые для транспортировки инструментов, используемых в необсаженных скважинах для оценки пластов, поскольку упомянутые инструменты обычно значительно тяжелее, чем инструменты, используемые в обсаженных скважинах для проведения каротажа. Еще одной областью, в которой известные тягачи несовершенны, является их способность работать при погружении в буровые растворы в скважинах с высокими температурами, превышающими 150 градусов по Цельсию; это имеет место, в частности, из-за недостаточной эффективности теплоотдачи таких известных тягачей. Однако, как будет очевидно из нижеследующих описания и рассуждений, настоящее изобретение позволяет преодолеть недостатки известных устройств и представляет собой усовершенствованный и более эффективный скважинный тягач.

Краткое изложение сущности изобретения

В широком аспекте настоящее изобретение может представлять собой скважинный тягач, содержащий гусеничный узел, включающий вращаемую гусеницу, электродвигатель, обеспечивающий вращение гусеницы, нижний рычаг, имеющий первый конец, опертый на корпус тягача, и второй конец, соединенный с гусеничным узлом, верхний рычаг, имеющий первый конец, опертый на корпус тягача, и второй конец, соединенный с гусеничным узлом, и исполнительный рычаг, установленный с возможностью перемещения гусеничного узла между открытым и закрытым положениями. Еще один признак этого аспекта изобретения может заключаться в том, что гусеница расположена с возможностью вращения вокруг множества катков, установленных на гусеничный узел. Еще один признак этого аспекта изобретения может заключаться в том, что гусеница включает множество катков. Еще один признак этого аспекта изобретения может заключаться в том, что тягач включает ходовой винт или шток, а исполнительный рычаг при этом включает первый конец, шарнирно соединенный с винтом или штоком, и второй конец, шарнирно соединенный с гусеничным узлом. Еще один признак этого аспекта изобретения может заключаться в том, что гусеница вращается по траектории, определенной общей формой одного из овала, параллелограмма, трапецоида и треугольника. Еще один признак этого аспекта изобретения может заключаться в том, что тягач может дополнительно включать трансмиссию, подсоединенную между электродвигателем и ведомым натяжным колесом, выполненным с возможностью вращения гусеницы. Еще один признак этого аспекта изобретения может заключаться в том, что тягач может дополнительно включать ходовой винт, соединенный непосредственно или косвенно с исполнительным рычагом, вследствие чего этот винт заставляет исполнительный рычаг перемещать гусеничный узел в его открытое положение, когда упомянутый винт вращается в первом направлении, и перемещать гусеничный узел в его закрытое положение, когда упомянутый винт вращается во втором направлении. Еще один признак этого аспекта изобретения может заключаться в том, что тягач может дополнительно включать шток, соединенный с исполнительным рычагом, вследствие чего этот шток заставляет исполнительный рычаг перемещать гусеничный узел в его открытое положение, когда шток перемещается в первом направлении, и перемещать гусеничный узел в его закрытое положение, когда шток перемещается во втором направлении. Еще один признак этого аспекта изобретения может заключаться в том, что первый конец нижнего рычага расположен с возможностью перемещения внутри паза в корпусе тягача. Еще один признак этого аспекта изобретения может заключаться в том, что тягач дополнительно включает узел ползуна, соединенный с гусеничным узлом и нижним рычагом и выполненный с возможностью допускать относительное перемещение между гусеничным узлом и нижним рычагом. Еще один признак этого аспекта изобретения может заключаться в том, что тягач может дополнительно включать узел ползуна, имеющий внутренний элемент, расположенный с возможностью перемещения внутри расточенного канала внешнего элемента, причем один из внутреннего элемента и внешнего элемента соединен с верхним рычагом, а другой из внутреннего элемента и внешнего элемента соединен с гусеничным узлом. Еще один признак этого аспекта изобретения может заключаться в том, что исполнительный рычаг включает колесо, введенное в контакт с наклонной поверхностью, предусмотренной на корпусе тягача. Еще один признак этого аспекта изобретения может заключаться в том, что гусеничный узел дополнительно включает ведомое натяжное колесо, непосредственно или косвенно подсоединенное к электродвигателю. Еще один признак этого аспекта изобретения может заключаться в том, что электродвигатель непосредственно или косвенно подсоединен к ходовому винту, который введен в зацепление с гусеницей, вследствие чего вращение винта вызывает вращение гусеницы.

В еще одном аспекте изобретение может представлять собой скважинный тягач, содержащий гусеничный узел, включающий множество катков и непрерывную гусеницу, расположенную с возможностью вращения вокруг катков, электродвигатель, обеспечивающий вращение гусеницы вокруг катков, нижний рычаг, имеющий первый конец, шарнирно соединенный с корпусом тягача, и второй конец, шарнирно соединенный с гусеничным узлом, верхний рычаг, имеющий первый конец, шарнирно соединенный с корпусом тягача, и второй конец, шарнирно соединенный с гусеничным узлом, ходовой винт или шток и узел звеньев, содержащий первое звено, имеющее первый конец, шарнирно соединенный с винтом или штоком, и второй конец, шарнирно соединенный с гусеничным узлом, и второе звено, имеющее первый конец, шарнирно соединенный с гусеничным узлом, и второй конец, шарнирно установленный на корпус тягача. Еще один признак этого аспекта изобретения может заключаться в том, что второй конец первого звена и первый конец второго звена шарнирно установлены на гусеничный узел в точке поворота на гусеничном узле. Еще один признак этого аспекта изобретения может заключаться в том, что первый конец нижнего рычага расположен с возможностью перемещения внутри паза в корпусе тягача. Еще один признак этого аспекта изобретения может заключаться в том, что гусеница вращается по траектории, определенной общей формой одного из овала, параллелограмма, трапецоида и треугольника. Еще один признак этого аспекта изобретения может заключаться в том, что тягач может дополнительно включать трансмиссию, подсоединенную между электродвигателем и ведомым натяжным колесом. Еще один признак этого аспекта изобретения может заключаться в том, что тягач дополнительно включает гидравлическую систему, выполненную с возможностью перемещения штока между первым положением, при котором гусеничный узел находится в закрытом положении, и вторым положением, при котором гусеничный узел находится в открытом положении. Еще один признак этого аспекта изобретения может заключаться в том, что тягач дополнительно включает второй электродвигатель, обеспечивающий вращение винта в первом направлении для перемещения гусеничного узла в открытое положение и втором направлении для перемещения гусеничного узла в закрытое положение. Еще один признак этого аспекта изобретения может заключаться в том, что винт или шток выполнен с возможностью перемещения первого конца первого звена в направлении, в общем параллельном центральной оси корпуса тягача. Еще один признак этого аспекта изобретения может заключаться в том, что тягач дополнительно включает узел ползуна, соединенный с гусеничным узлом и нижним рычагом и выполненный с возможностью допускать относительное перемещение между гусеничным узлом и нижним рычагом. Еще один признак этого аспекта изобретения может заключаться в том, что гусеничный узел дополнительно включает ведомое натяжное колесо, непосредственно или косвенно подсоединенное к электродвигателю. Еще один признак этого аспекта изобретения может заключаться в том, что электродвигатель непосредственно или косвенно подсоединен ко второму ходовому винту, который введен в зацепление с гусеницей, вследствие чего вращение второго ходового винта вызывает вращение гусеницы.

В еще одном аспекте изобретение может представлять собой скважинный тягач, содержащий гусеничный узел, включающий множество катков и непрерывную гусеницу, расположенную с возможностью вращения вокруг катков, электродвигатель, выполненный с возможностью вращения гусеницы вокруг катков, нижний рычаг, имеющий первый конец, шарнирно соединенный с корпусом тягача, и второй конец, шарнирно соединенный с гусеничным узлом, верхний рычаг, имеющий первый конец, шарнирно соединенный с корпусом тягача, и второй конец, шарнирно соединенный с гусеничным узлом, ходовой винт или шток и исполнительный рычаг, имеющий первый конец, шарнирно соединенный с винтом или штоком, и второй конец, шарнирно соединенный с гусеничным узлом, и колесо, введенное в контакт с наклонной поверхностью, соединенной с корпусом тягача. Еще один признак этого аспекта изобретения может заключаться в том, что первый конец нижнего рычага расположен с возможностью перемещения внутри паза в корпусе тягача. Еще один признак этого аспекта изобретения может заключаться в том, что тягач дополнительно включает трансмиссию, подсоединенную между электродвигателем и ведомым натяжным колесом. Еще один признак этого аспекта изобретения может заключаться в том, что тягач дополнительно включает гидравлическую систему, выполненную с возможностью перемещения штока между первым положением, при котором гусеничный узел находится в закрытом положении, и вторым положением, при котором гусеничный узел находится в открытом положении. Еще один признак этого аспекта изобретения может заключаться в том, что тягач дополнительно включает второй электродвигатель, обеспечивающий вращение винта в первом направлении для перемещения гусеничного узла в открытое положение и втором направлении для перемещения гусеничного узла в закрытое положение. Еще один признак этого аспекта изобретения может заключаться в том, что винт или шток выполнен с возможностью перемещения первого конца первого звена в направлении, в общем параллельном центральной оси корпуса тягача. Еще один признак этого аспекта изобретения может заключаться в том, что тягач дополнительно включает узел ползуна, соединенный с гусеничным узлом и нижним рычагом и выполненный с возможностью допускать относительное перемещение между гусеничным узлом и нижним рычагом. Еще один признак этого аспекта изобретения может заключаться в том, что гусеничный узел дополнительно включает ведомое натяжное колесо, непосредственно или косвенно подсоединенное к электродвигателю. Еще один признак этого аспекта изобретения может заключаться в том, что электродвигатель непосредственно или косвенно подсоединен ко второму ходовому винту, который введен в зацепление с гусеницей, вследствие чего вращение второго ходового винта вызывает вращение гусеницы. Еще один признак этого аспекта изобретения может заключаться в том, что дополнительно используют второй скважинный тягач, отделенный от упомянутого скважинного тягача расстоянием, превышающим длину размытой секции ствола скважины.

В еще одном аспекте изобретение может представлять собой способ транспортировки объекта в стволе скважины, заключающийся в том, что обеспечивают скважинный тягач, включающий гусеничный узел, имеющий вращаемую гусеницу, электродвигатель, обеспечивающий вращение гусеницы, нижний рычаг, имеющий первый конец, шарнирно соединенный с корпусом тягача, и второй конец, шарнирно соединенный с гусеничным узлом, верхний рычаг, имеющий первый конец, шарнирно соединенный с корпусом тягача, и второй конец, шарнирно соединенный с гусеничным узлом, и исполнительный рычаг, установленный с возможностью перемещения гусеничного узла между открытым и закрытым положениями, подсоединяют объект к тягачу, вводят гусеницу в контакт с внутренней поверхностью ствола скважины, включают электродвигатель и перемещают тягач по упомянутой поверхности. Еще один признак этого аспекта изобретения может заключаться в том, что способ может включать обеспечение второго скважинного тягача, отделенного от упомянутого скважинного тягача расстоянием, превышающим длину размытой секции ствола скважины.

 

.4 Способы создания силы тяги


. Способ создания силы тяги в скважине, при котором используют скважинный трактор с опорами, взаимодействующими со стенками скважины, отличающийся тем, что скважинный трактор снабжают вибровозбудителем, создают вибрации корпуса скважинного трактора вдоль скважины, передают вибрации на прижимаемые к стенкам скважины колесные и/или рычажные опоры, при этом опоры выполняют такими, что они препятствуют смещениям скважинного трактора в направлении, противоположном требуемому направлению движения по скважине.

. Колесно-опорный скважинный трактор, включающий корпус, механизмы для прижатия/отжатия колес к стенкам скважины, колеса, прижимаемые к стенкам скважины, отличающийся тем, что содержит, по меньшей мере, один вибровозбудитель, а колеса снабжены механизмами, блокирующими вращение колес в сторону, не соответствующую направлению движения по скважине, а также, по меньшей мере, один узел упругого механического и эластичного электрического соединения с транспортируемыми устройствами.

. Колесно-опорный скважинный трактор по п.2, отличающийся тем, что имеет механизмы переключения направления вращения колес.

. Рычажно-опорный скважинный трактор, включающий корпус, механизмы для раскрытия/закрытия рычажных опор и рычажные опоры, отличающийся тем, что содержит, по меньшей мере, один вибровозбудитель, а рычажные опоры выполнены так, что одним концом шарнирно прикреплены к корпусу, а другим при раскрытии пружинно упираются в стенки скважины, при этом все опоры образуют с осью корпуса острые углы - углы раскрытия опор, направленные вершинами в одну сторону, или трактор имеет два набора опор с углами раскрытия, направленными вершинами в противоположные стороны, а также, по меньшей мере, один узел упругого механического и эластичного электрического соединения с транспортируемыми устройствами[17]

 

2. Проведение геофизических исследований наклонных и горизонтальных скважин с избыточным давлением на устье


Изобретение относится к нефтяной и газовой промышленности, а именно к устройствам, обеспечивающим проведение геофизических исследований в наклонных и горизонтальных нефтяных и газовых скважинах приборами и инструментами на геофизическом кабеле.

Проведение геофизических исследований наклонных и горизонтальных скважин с избыточным давлением на устье (действующих скважин) является сложной технологической проблемой из-за технических трудностей доставки геофизических приборов в горизонтальные и наклонные участки скважин. Решение этой проблемы связано с большими материальными затратами и повышенной опасностью выполнения операций. В настоящее время известно очень мало технических средств и технологических комплексов в той или иной степени позволяющих выполнять такие работы.

Известен технологический комплекс на базе специализированного жесткого геофизического кабеля, состоящего из токоведущих жил, электрической изоляции, двухслойного полива брони, отличающийся тем, что поверх этой брони нанесено покрытие из пластичного материала толщиной 1.5 2.5 мм, дополнительная двухслойная броня с взаимно противоположным повивом и промежутками между отдельными проволоками в повивах, равными 0.5 1 диаметра проволок, поверх которой нанесено общее покрытие из пластичного материала, заполняющего промежутки между проволоками, (см., например. Патент РФ на изобретение №2087929 кл. 6 G01V 3/18, 1996 г.).

Недостатком такого комплекса являются большой диаметр кабеля и его пружинящие свойства, что приводит к невозможности эффективной герметизации кабеля и спуска его в скважину при наличии избыточного давления на устье скважины.

Известен способ спуска геофизического пробора в скважину с избыточным давлением, при котором устанавливают на устьевой арматуре превентор, приемную секцию лубрикатора с размещенным в ней скважинным прибором, выравнивают давление в приемной секции и скважине и затем посредством уплотнителя и системы роликов спускают прибор в скважину, отличающийся тем, что предварительно соединяют скважинный прибор с отрезком кабеля и осуществляют спуск прибора до момента расположения свободного конца отрезка кабеля над превентором, закрывают превентор, стравливают давление в приемной секции, секцию убирают, соединяют свободный конец отрезка кабеля с каротажным кабелем подъемника, а на превенторе устанавливают уплотнитель и направляющий ролик и спускают прибор до заданной глубины, (см., например, Патент РФ на изобретение №2029853 кл.6 E21B 33/03, 47/00 1991 г.).

Недостатком такого способа является невозможность его использования для исследования горизонтальных и наклонных действующих скважин, поскольку он применим только в вертикальных скважинах.

Известен технологический комплекс на базе непрерывной гибкой металлической трубы, намотанной на барабан подъемника (coiled tubing), внутри которой пропускается геофизический кабель, к которому подсоединен скважинный прибор. Этот комплекс позволяет доставлять геофизические скважинные приборы в нужные зоны горизонтальных скважин путем их заталкивания в ствол скважины с помощью барабана подъемника, на котором намотана труба. Комплекс можно использовать в том числе для исследования скважин с избыточным давлением на устье, (см. например, А.Г. Молчанов и др. "Подземный ремонт и бурение скважин с применением гибких труб". Стр. 182-183 М., Издательство Академии горных наук, 1999 г.).

Недостатком такого комплекса является высокая стоимость работ в связи с необходимостью использования дорогостоящего спуско-подъемного оборудования и комплектующих, а также существенные ограничения по глубине исследуемых действующих скважин и по величине избыточного давления на устье.

Наиболее близким к предлагаемому является технологический комплекс для геофизических исследований наклонных и горизонтальных скважин "Латераль", который позволяет осуществлять исследование скважин с избыточным давлением на устье Для этого в составе комплекса имеется оборудование, которое позволяет проводить герметизацию геофизического кабеля и труб малого диаметра, а также их принудительный спуск и подъем при наличии давления на устье скважины до 35 МПа.

Технологический комплекс "Латераль" состоит из наземного оборудовании, основными узлами которого являются превентор с трубными и кабельными плашками, герметизирующая головка, лубрикатор, сальниковый очиститель геофизического кабеля, устройство для принудительного спуска (проталкивания) труб и скважинного оборудования: колонны насосно-компрессорных труб (НКТ) малого диаметра, геофизического кабеля повышенной прочности, кабельного зажима для присоединения колонны НКТ к кабелю и устройства осуществления электрической связи между скважинным прибором и наземным оборудованием ("мокрый контакт").

Технологические операции по доставке геофизических приборов в горизонтальную часть ствола действующей скважины выполняются в следующей последовательности.

. Превентор и нижнюю часть проталкивающего устройства присоединяют к устью скважины.

. Собирают подвеску в составе: геофизический скважинный прибор, неподвижная часть "мокрого контакта", нижняя труба НКТ, верхняя часть проталкивающего устройства.

. Подвеску поднимают над устьем и проталкивают в скважину до задвижки.

. Приводят в рабочее положение оборудование принудительного спуска (проталкивающее устройство).

. Открывают задвижку и производят принудительный спуск необходимого количества НКТ.

. Присоединяют колонну НКТ к кабелю.

. На превентор монтируют лубрикатор с герметизирующей головкой

. Осуществляют спуск колонны НКТ в скважину на кабеле. (см., например, А.Д. Савич "Геофизические исследования горизонтальных скважин. Состояние и проблемы" Научно-технический вестник "Каротажник" Выпуск 2(191) стр.28-31 Тверь 2010).

Недостатком комплекса "Латераль" является сложность конструкции, пониженная надежность узла электрической связи скважинного прибора с наземным оборудованием, возможность возникновения аварийных ситуаций при работах с использованием проталкивающего устройства, ограниченный диапазон давлений на устье действующей скважины, высокие материальные затраты при эксплуатации комплекса.

Сущностью изобретения является упрощение конструкции и удешевление оборудования, повышение надежности узла электрической связи скважинного прибора с наземным оборудованием, возможность работы в скважинах при любом избыточном давлении на устье, повышение безопасности работ по исследованию скважин за счет исключения аварийных ситуаций, снижение материальных затрат при эксплуатации комплекса.

Это достигается тем, что за счет использования специальной технологии поэтапного спуска прибора в действующую скважину и конструктивных особенностей комплекса, из его состава исключается проталкивающее устройство, в состав скважинной сборки, состоящей из скважинного прибора, стыковочных узлов и геофизического кабеля включаются стыковочные узлы различной конструкции, выполняющие роль движителя и удлинителя, электрический контакт скважинного прибора с наземным оборудованием осуществляется через геофизический кабель и высоконадежные стандартные разъемы.

В обсаженных скважинах коэффициент трения существенно ниже, чем в бурящихся, поэтому доставка приборов может успешно производиться в горизонтальную часть ствола за счет собственного веса скважинной сборки. Для этого в верхнюю часть скважинной сборки необходимо включать достаточное количество стыковочных узлов, изготовленных из толстостенных утяжеленных труб, выполняющих роль движителей а в нижнюю часть сборки напротив надо включать стыковочные узлы, изготовленные из тонкостенных легких труб, выполняющих роль удлинителей и обеспечивающих определенную "плавучесть" сборки в горизонтальной части скважины, в которой нижняя часть сечения ствола, как правило, заполнена водой. При необходимости для уменьшения трения стыковочные узлы могут дополнительно оснащаться шарнирами и подпружиненными роликами.

Используя технологию поэтапного спуска скважинной сборки можно существенно упростить и удешевить наземную часть технологического комплекса.

Конструкция стыковочного узла обеспечивает возможность его изгиба до 5°, что облегчает прохождение скважинной сборкой участков интенсивного набора угла в скважине. При необходимости прохождения сборкой больших зенитных углов отклонения ствола скважины, в состав стыковочных узлов дополнительно включаются шарниры и подпружиненные ролики.

Специальные межтрубные высоконадежные соединители разъемов стыковочных узлов позволяют состыковывать стыковочные узлы путем вертикальной сборки на устье скважины, обеспечивая надежное механическое соединение и электрический контакт.

Стыковочные узлы выполняют роль информационного канала связи, грузонесущую и проталкивающую роль. Стыковочные узлы из толстостенных утяжеленных труб устанавливаются в верхней части скважинной сборки и выполнят роль движителей, стыковочные узлы, из тонкостенных легких труб, устанавливаются в нижней части сборки и выполняют роль удлинителей.

Описанная технология принципиально позволяет осуществлять скважинные исследования при любом избыточном давлении на устье действующей скважины, ограничений по верхней границе давления нет.

. Технологический комплекс для геофизических исследований наклонных и горизонтальных скважин с избыточным давлением на устье, состоящий из наземного оборудования, основными узлами которого являются плашечный превентор, герметизирующая головка и лубрикатор с приемной камерой, и скважинного оборудования, включающего геофизический кабель и скважинную сборку, отличающийся тем, что лубрикатор помимо приемной камеры содержит поворотный кронштейн, а скважинная сборка состоит из скважинного прибора и стыковочных узлов, выполняющих роль движителя и удлинителя, причем электрическая связь между скважинным прибором и наземным оборудованием осуществляется через геофизический кабель и разъемы, а доставка скважинного прибора в интервал исследования осуществляется за счет собственного веса скважинной сборки.

. Способ геофизических исследований наклонных и горизонтальных скважин с избыточным давлением на устье, характеризующийся тем, что скважинная сборка, включающая скважинный прибор и стыковочные узлы, выполняющие роль движителя и удлинителя, а также геофизический кабель спускают в скважину и извлекают из скважины поэтапно, под действием собственного веса с использованием быстросъемной приемной камеры лубрикатора и плашечного превентора, устанавливаемого на устье скважины, причем герметизацию устья скважины в процессе производства спуско-подъемных операции производят на переходниках стыковочных узлов. [17]

 

3. Классификация исполнения скважинных тягачей


. Скважинный тягач, содержащий гусеничный узел, включающий вращаемую гусеницу, электродвигатель, обеспечивающий вращение гусеницы, погруженный в масло, систему компенсации, выполненную с возможностью поддержания масла под надлежащим давлением, для защиты погруженного двигателя от скважинного давления, нижний рычаг, имеющий первый конец, опертый на корпус тягача, и второй конец, соединенный с гусеничным узлом, верхний рычаг, имеющий первый конец, опертый на корпус тягача, и второй конец, соединенный с гусеничным узлом, и исполнительный рычаг, выполненный с возможностью перемещения гусеничного узла между открытым и закрытым положениями.

. Скважинный тягач по п.1, в котором гусеница установлена с возможностью вращения вокруг множества катков, установленных на гусеничный узел.

. Скважинный тягач по п.1, в котором гусеница включает множество катков.

. Скважинный тягач по п.1, дополнительно включающий ходовой винт или шток, а исполнительный рычаг включает первый конец, шарнирно соединенный с винтом или штоком, и второй конец, шарнирно соединенный с гусеничным узлом.

. Скважинный тягач по п.1, в котором гусеница способна вращаться по траектории, определенной общей формой одного из овала, параллелограмма, трапецоида и треугольника.

. Скважинный тягач по п.1, дополнительно включающий трансмиссию, подсоединенную между электродвигателем и ведомым натяжным колесом, приспособленным для вращения гусеницы.

. Скважинный тягач по п.1, дополнительно включающий ходовой винт, соединенный непосредственно или косвенно с исполнительным рычагом и вызывающий перемещение исполнительным рычагом гусеничного узла в его открытое положение при вращении винта в первом направлении, и перемещение гусеничного узла в его закрытое положение при вращении винта во втором направлении.

. Скважинный тягач по п.1, дополнительно включающий шток, соединенный с исполнительным рычагом и вызывающий перемещение исполнительным рычагом гусеничного узла в его открытое положение, при перемещении штока в первом направлении, и перемещение гусеничного узла в его закрытое положение, при перемещении штока во втором направлении.

. Скважинный тягач по п.1, в котором первый конец нижнего рычага выполнен с возможностью перемещения внутри паза в корпусе тягача.

. Скважинный тягач по п.1, дополнительно включающий узел ползуна, соединенный с гусеничным узлом и нижним рычагом и обеспечивающий относительное перемещение между гусеничным узлом и нижним рычагом.

. Скважинный тягач по п.1, дополнительно включающий узел ползуна, имеющий внутренний элемент, выполненный с возможностью перемещения внутри расточенного канала внешнего элемента, причем один из внутреннего элемента и внешнего элемента соединен с верхним рычагом, а другой из внутреннего элемента и внешнего элемента соединен с гусеничным узлом.

. Скважинный тягач по п.1, в котором исполнительный рычаг включает колесо, введенное в контакт с наклонной поверхностью, выполненной на корпусе тягача.

. Скважинный тягач по п.1, в котором гусеничный узел дополнительно включает ведомое натяжное колесо, непосредственно или косвенно подсоединенное к электродвигателю.

. Скважинный тягач по п.1, в котором электродвигатель непосредственно или косвенно подсоединен к ходовому винту, введенному в зацепление с гусеницей, вследствие чего вращение винта вызывает вращение гусеницы.

. Скважинный тягач, содержащий гусеничный узел, включающий множество катков и непрерывную гусеницу, расположенную с возможностью вращения вокруг катков, электродвигатель, обеспечивающий вращение гусеницы вокруг катков и погруженный в масло, систему компенсации, выполненную с возможностью поддержания масла под надлежащим давлением, для защиты погруженного двигателя от скважинного давления, нижний рычаг, имеющий первый конец, шарнирно соединенный с корпусом тягача, и второй конец, шарнирно соединенный с гусеничным узлом, верхний рычаг, имеющий первый конец, шарнирно соединенный с корпусом тягача, и второй конец, шарнирно соединенный с гусеничным узлом, ходовой винт или шток, и узел звеньев, включающий первое звено, имеющее первый конец, шарнирно соединенный с винтом или штоком, и второй конец, шарнирно соединенный с гусеничным узлом, и второе звено, имеющее первый конец, шарнирно соединенный с гусеничным узлом, и второй конец, шарнирно установленный на корпус тягача.

. Скважинный тягач по п.15, в котором второй конец первого звена и первый конец второго звена шарнирно установлены на гусеничный узел в точке поворота на гусеничном узле.

. Скважинный тягач по п.15, в котором первый конец нижнего рычага расположен с возможностью перемещения внутри паза в корпусе тягача.

. Скважинный тягач по п.15, в котором гусеница вращается по траектории, определенной общей формой одного из овала, параллелограмма, трапецоида и треугольника.

. Скважинный тягач по п.15, дополнительно включающий трансмиссию, подсоединенную между электродвигателем и ведомым натяжным колесом.

. Скважинный тягач по п.15, дополнительно включающий гидравлическую систему, выполненную с возможностью перемещения штока между первым положением, при котором гусеничный узел находится в закрытом положении, и вторым положением, при котором гусеничный узел находится в открытом положении.

. Скважинный тягач по п.15, дополнительно включающий второй электродвигатель, обеспечивающий вращение винта в первом направлении для перемещения гусеничного узла в открытое положение, и втором направлении для перемещения гусеничного узла в закрытое положение.

. Скважинный тягач по п.15, в котором винт или шток выполнен с возможностью перемещения первого конца первого звена в направлении, в общем параллельном центральной оси корпуса тягача.

. Скважинный тягач по п.15, дополнительно включающий узел ползуна, соединенный с гусеничным узлом и нижним рычагом и обеспечивающий относительное перемещение между гусеничным узлом и нижним рычагом.

. Скважинный тягач по п.15, в котором гусеничный узел дополнительно включает ведомое натяжное колесо, непосредственно или косвенно подсоединенное к электродвигателю.

. Скважинный тягач по п.15, в котором электродвигатель непосредственно или косвенно подсоединен ко второму ходовому винту, введенному в зацепление с гусеницей, вследствие чего вращение второго ходового винта вызывает вращение гусеницы.

. Скважинный тягач, содержащий гусеничный узел, включающий множество катков и непрерывную гусеницу, расположенную с возможностью вращения вокруг катков, электродвигатель, обеспечивающий вращение гусеницы вокруг катков, нижний рычаг, имеющий первый конец, шарнирно соединенный с корпусом тягача, и второй конец, шарнирно соединенный с гусеничным узлом, верхний рычаг, имеющий первый конец, шарнирно соединенный с корпусом тягача, и второй конец, шарнирно соединенный с гусеничным узлом, ходовой винт или шток, и исполнительный рычаг, имеющий первый конец, шарнирно соединенный с винтом или штоком, и второй конец, шарнирно соединенный с гусеничным узлом, и колесо, введенное в контакт с наклонной поверхностью, соединенной с корпусом тягача.

. Скважинный тягач по п.26, в котором первый конец нижнего рычага расположен с возможностью перемещения внутри паза в корпусе тягача.

. Скважинный тягач по п.26, дополнительно включающий трансмиссию, подсоединенную между электродвигателем и ведомым натяжным колесом.

. Скважинный тягач по п.26, дополнительно включающий гидравлическую систему, выполненную с возможностью перемещения штока между первым положением, при котором гусеничный узел находится в закрытом положении, и вторым положением, при котором гусеничный узел находится в открытом положении.

. Скважинный тягач по п.26, дополнительно включающий второй электродвигатель, обеспечивающий вращение винта в первом направлении для перемещения гусеничного узла в открытое положение, и втором направлении для перемещения гусеничного узла в закрытое положение.

. Скважинный тягач по п.26, дополнительно включающий узел ползуна, соединенный с гусеничным узлом и нижним рычагом и обеспечивающий относительное перемещение между гусеничным узлом и нижним рычагом.

. Скважинный тягач по п.26, в котором гусеничный узел дополнительно включает ведомое натяжное колесо, непосредственно или косвенно подсоединенное к электродвигателю.

. Скважинный тягач по п.26, в котором электродвигатель непосредственно или косвенно подсоединен ко второму ходовому винту, введенному в зацепление с гусеницей, вследствие чего вращение второго ходового винта вызывает вращение гусеницы.

. Скважинный тягач по п.26, в котором электродвигатель расположен на верхнем или нижнем рычаге.

. Способ транспортировки объекта в стволе скважины, включающий следующие стадии:

обеспечение скважинного тягача, включающего гусеничный узел, имеющий вращаемую гусеницу, погруженный в масло электродвигатель, обеспечивающий вращение гусеницы, систему компенсации, выполненную с возможностью поддержания масла под надлежащим давлением, для защиты погруженного двигателя от скважинного давления, нижний рычаг, имеющий первый конец, шарнирно соединенный с корпусом тягача, и второй конец, шарнирно соединенный с гусеничным узлом, верхний рычаг, имеющий первый конец, шарнирно соединенный с корпусом тягача, и второй конец, шарнирно соединенный с гусеничным узлом, и исполнительный рычаг, установленный с возможностью перемещения гусеничного узла между открытым и закрытым положениями;

подсоединение объекта к тягачу;

введение гусеницы в контакт с внутренней поверхностью ствола скважины;

включение электродвигателя;

перемещение тягача по упомянутой поверхности.

. Способ по п.36, дополнительно предусматривающий обеспечение второго скважинного тягача.

. Способ по п.36, дополнительно предусматривающий обеспечение второго скважинного тягача, отделенного от упомянутого скважинного тягача расстоянием, превышающим длину размытой секции ствола скважины.

. Способ по п.37, в котором второй скважинный тягач содержит гусеничный узел и ориентирован таким образом, что этот гусеничный узел смещен от гусеничного узла первого тягача.

. Способ по п.37, в котором гусеничный узел второго тягача смещен на 90° от гусеничного узла первого тягача.

. Способ по п.37, в котором второй тягач также считывает проскальзывание первого тягача.

. Скважинный тягач, содержащий гусеничный узел, включающий множество катков и непрерывную гусеницу, расположенную с возможностью вращения вокруг катков, первый электродвигатель, обеспечивающий вращение гусеницы вокруг катков, нижний рычаг, имеющий первый конец, шарнирно соединенный с корпусом тягача, и второй конец, шарнирно соединенный с гусеничным узлом, верхний рычаг, имеющий первый конец, шарнирно соединенный с корпусом тягача, и второй конец, шарнирно соединенный с гусеничным узлом, ходовой винт или шток, и узел звеньев, включающий первое звено, имеющее первый конец, шарнирно соединенный с винтом или штоком, и второй конец, шарнирно соединенный с гусеничным узлом, и второе звено, имеющее первый конец, шарнирно соединенный с гусеничным узлом, и второй конец, шарнирно установленный на корпус тягача, при этом электродвигатель расположен на верхнем или нижнем рычаге.

. Скважинный тягач по п.42, дополнительно включающий второй электродвигатель, обеспечивающий вращение винта или штока в первом направлении для перемещения гусеничного узла в открытое положение, и его втором направлении для перемещения гусеничного узла в закрытое положение.

. Скважинный тягач по п.42, в котором второй электродвигатель расположен на верхнем или нижнем рычаге.

. Скважинный тягач по п.44, в котором первый и второй электродвигатели расположены на разных - верхнем и нижнем - рычагах. [17]

4. Доставка гибких труб (колтюбинга)


Увеличение показателей продуктивности скважины посредством доставки гибких труб (колтюбинга) на забой с помощью скважинного трактора.

В 1993 году компанией Welltec® был разработан и успешно испытан первый в мире скважинный трактор Well Tractor® для колонны гибких насосно- компрессорных труб (ГНКТ), который позволял увеличивать глубину их спуска и тем самым достигать более высоких показателей продуктивности пласта. Традиционно кислотная обработка ведется с той максимальной глубины, которой достигает колтюбинг, однако эффективность такого метода интенсификации добычи может быть повышена, если обработку проводить с забоя при поднятии ГНКТ из скважины. Данный подход также актуален и для других видов работ, в которых используются жидкости, например, очистка, промывка и т.д. Несмотря на то, что колтюбинг является достаточно распространенным инструментом внутрискважинных работ, он сталкивается с рядом механических ограничений в сильно искривленных скважинах, уменьшающих глубину его спуска. При движении по горизонтальному участку скважины увеличиваются силы трения, которые могут вызывать "посадку" ГНКТ. В качестве альтернативы скважинный трактор Well Tractor® для колтюбинга используется, чтобы создать осевое усилие, за счет которого ГНКТ доставляются дальше по стволу скважины. Чем больше типоразмер оборудование № 2 (044) Июнь /June 2013 93 трактора и/или количество колесных секций, тем большее усилие он развивает в скважине. Если предварительное моделирование внутрискважинных операций с использованием ГНКТ показывает возможность недохода до нужной глубины, то рекомендуется использовать скважинный трактор для колтюбинга. Компания Welltec® предлагает несколько типоразмеров скважинных манипуляторов Well Tractor® для ГНКТ - 218, 212 и 318. Недавно модель 218 была усовершенствована для возможности обеспечения работы в тандеме из двух тракторов (данная опция была до этого доступна только для типоразмеров 212 и 318) для создания дополнительного тягового усилия. Эта компоновка была разработана под заказ для одного из клиентов на Ближнем Востоке и успешно применяется для увеличения глубины спуска ГНКТ в скважинах с малым диаметром ствола. Также существует манипулятор Well Tractor® для производства работ на геофизическом кабеле, позволяющий доставить приборы и забойное оборудование в заданный интервал скважины. При этом необязательно использование станка КРС или ГНКТ, что позволяет значительно повысить эффективность проведения внутрискважинных работ при более рациональном использовании активов. [16]

На работах с ГНКТ в очень длинных горизонтальных скважинах часто используется забойный трактор для ГНКТ. Измерение сил, действующих на трактор, позволяет бурильщику принимать правильные решения. Обычно на таких работах без применения новейших систем измерения веса, воздействующего на инструмент, бурильщик интерпретирует изменение веса ГНКТ (отмечено синим) и циркуляционного давления (отмечено зеленым) на эффективность работы трактора (рисунок справа).

Если ГНКТ спускается в горизонтальный ствол без трактора, вес ГНКТ начнет снижаться до тех пор, пока ГНКТ не самоблокируется и вес ГНКТ не снизится скачкообразно. Такое явление, называемое "лок-ап ГНКТ", хорошо известно и значительно ограничивает использование колтюбинга в длинных горизонтах, зачастую не позволяя достичь требуемого забоя.

Так, в этом примере измеренная глубина ГНКТ (показана красным цветом) растет при спуске в ствол скважины. При активизации забойного трактора и неизменном расходе насоса система ACTive* помогла оценить эффективность трактора посредством считывания сил, действующих на инструмент, в реальном времени (показаны зеленым цветом). Постоянный контроль тягового усилия трактора, в том числе и скачок в изменении забойной силы на КНБК 2 800 фунтов (≈1 280 кг), теперь доступен бурильщику, который может поддерживать эту силу постоянной при общем весе ГНКТ, равном 11 000 фунтов (≈5000 кг). В определенный момент вес ГНКТ падает с начальных 23 500 фунтов (≈10 680 кг) до 1 600 фунтов (≈730 кг) и означает "лок-ап" ГНКТ, хотя трактор "работает" при номинальных, расчетных параметрах, и что эффективность забойного трактора в значительной мере зависит от характеристик забоя - длины секции, проходного диаметра, отклонения и сил трения в системе трактор-заканчивание.

Подтверждено, что функция замера тягового усилия трактора в реальном времени значительно повышает процент успешных работ с трактором в очень длинных горизонтальных стволах. [15]

 

5. Образцы скважинных тракторов

 

.1 Забойный трактор WellTec


Трактор движется по горизонтальному стволу за счет работы двигателя, толкая впереди себя геофизическую аппаратуру.

Рисунок 5.1- Скважинный трактор

В состав трактора входят:

два прочных центратора;

локатор муфт;

два комплекта выдвижных ведущих колес;

прибор для определения натяжения на головке;

секция электроники, обеспечивающей полную управляемость трактора и передачу в наземную систему данных о его состоянии.

Преимущества:

Для управления трактором необходимы лишь небольшая панель питания и ноутбук.

Удобен в эксплуатации и прост в транспортировке.

Может обслуживать скважины различного диаметра и любой длины горизонтального ствола.

Технология скважинного трактора является более простой, дешевой и безопасной технологией транспортировки измерительного комплекса в горизонтальные скважины.

5.2 Скважинный трактор WellTec

Рисунок 5.2- Общий вид скважинного трактора

Таблица 5.1 Характеристики скважинного трактора

Диаметр

2-1/8"  (54 мм)

3-1/8"  (79,4 мм)

4-1/2"  (114,3 мм)

Длина

5,33м XR

5,8м XR

5,5м XR

Вес

80кг

185кг

200кг

Максимальное давление

1700атм

1700атм

1700атм

Максимальная температура

205°С

205°С

205°С

Максимальное искривление ствола скважины

32°/30м

32°/30м  (@102мм ID)

32°/30м  (@127мм ID)

Рабочий диапазон по диаметру компоновки

55,9-233,7 мм

86,4-320,0 мм

Прочность на растяжение

18000кг

21000кг

21000кг

Прочность на сжатие

15000кг

25000кг

25000кг

Тяговое усилие

300-350кг*

300-1200кг*

360-1500кг*

Скорость

9-15м/мин*

9-15м/мин*

9-15м/мин*

* Тяговое усилие и скорость могут конфигурироваться для оптимального соотношения силы и скорости ** Все модели применимы для производства работ в открытом стволе[13]


Заключение

геофизический скважина трактор шарнирный

Теперь то, что можно спускать на каротажном кабеле в ствол вертикальной скважины, может транспортироваться в горизонтальной шахте с помощью скважинных тракторов.

Технология с использованием манипулятора на электрокабеле оказалась столь удачной, что вышла далеко за рамки первоначальной задачи - доставки каротажных приборов в горизонтальные скважины с обсаженным стволом. Изменение взгляда на использование электрокабеля - одно из самых заманчивых направлений, которое следует развивать. Компании уделяет пристального внимание расширению возможностей применения данной технологии, и в своей отрасли мы считаемся первопроходцами в прикладном использовании новых технологий.

Механические приспособления для внутрискважинных операций позволяют промысловикам выполнять следующие виды работ с использованием электрического кабеля:

·        Открывание и закрывание отсечных клапанов для разобщения пластов

·              Управление раздвижными дверцами (клапаны)

·              Установка пакеров с клапанами-отсекателями пластовой воды

·              Спуск и подъем газлифтных клапанов

·              Установка и извлечение механических пробок

·              Ловильные работы (доставание оборудования, спускаемого в скважину на кабеле или на тросе)

·              Удаление пробок, образуемых твердыми отложениями

·              Удаление выбуренной породы

·              Удаление песчаных перемычек

·              Зачистка поверхностей ниппеля под посадку разобщающих пакеров

·              Чистка подземных предохранительных клапанов

·              Разбуривание цементных пробок

·              Демонтаж отсечных клапанов Inconel и Super- chrome

·              Расфрезеровывание твердых отложений

·              Удаление баритовых перемычек из скважин для добычи природного газа

·              Восстановление линий тока в створчатых и шаровых клапанах

·              Устранение препятствий внутри скважины/ трубопровода

·              Расфрезеровывание чугунных мостовых пробок

·              Расфрезеровывание мостовых пробок из композитных материалов

·              Обработка ниппелей контурной фрезой[10]

 

Источники информации


. А.Д. Савич "Геофизические исследования горизонтальных скважин. Состояние и проблемы" Научно-технический вестник "Каротажник" Выпуск 2(191) стр.28-31 Тверь 2010).

. Доставщик скважинный ДС-2 (ДС-3). Система доставки геофизических приборов в горизонтальные участки скважин. НПО "Тарис", www.taris.rn.

. Downhole Tractor (MDT). Sondex. www.sondex.com.

4. Вибрации в технике: Справочник. В 6-ти т. - M.: Машиностроение, 1981. - т.4. Вибрационные процессы и машины. / Под ред. Э.Э. Лавендела. 1981. 509 с.

. Крайнев А.Ф. Словарь-справочник по механизмам. M.: Машиностроение, 1987.

. Патент США US 5,794,703.

7. Alden M., Arif F., Billingham M., Gronnerod, N., Harvey, S., Richards, M. and West, C., "Advancing Downhole Conveyance", Schlumberger Oilfield Rewiew, Vol.16, No. 3, p.30-43.

8 Патент РФ RU 2175374 C1.

. Патент США US 6,273,189 B1.

. Открытое Акционерное Общество "Коминефтегеофизика"(http://www.kngf.ru/)

. Патент РФ RU 2236549 С 2.

. Журнал "Нефтегазовые технологии" от 7 августа 2009 г. Б. Вилл, Вице-президент, Технологии Скважинных Тракторов

13. Башнефтьгеофизика(http://www.bngf.ru)

. Когалымнефтегеофизика(http://www.kngf.org/)

15. ОйландлгазЕвразия(https://www.oilandgaseurasia.com/ru/news)

16. Статья предоставлена компанией Welltec® Courtesy of Welltec®(http://www.cttimes.org/)

. © Федеральный институт промышленной собственности - 2012-2015 Валиуллин Аскар Салаватович (RU), Валиуллин Марат Салаватович (RU), Пархимович Александр Юрьевич (RU),Бадретдинов Юрий Альбертович (RU), Бачурин Александр Борисович (RU)-(http://www1.fips.ru/)

Похожие работы на - Технология скважинных тракторов

 

Не нашли материал для своей работы?
Поможем написать уникальную работу
Без плагиата!
Без нейросетей!