Автоматизированная разработка технической документации по эксплуатации и ремонту компонентов визира оптического устройства
СОДЕРЖАНИЕ
ВВЕДЕНИЕ
1. КОНСТРУКТОРСКАЯ ЧАСТЬ
1.1 Анализ состояния вопроса. Цели и задачи выпускной
квалификационной работы
1.2 Описание конструкции и принцип работы визира оптического
устройства
2. РАЗРАБОТКА ТРЕХМЕРНЫХ МОДЕЛЕЙ И АССОЦИАТИВНО СВЯЗАННЫХ ЧЕРТЕЖЕЙ
КОМПОНЕНТОВ ВИЗИРА
2.1 Методика создания компьютерных моделей деталей
2.2 Методика создания сборочной единицы
2.3 Метод создания разнесенной сборки
2.4 Автоматизированная разработка конструкторской документации
2.5 Создание связанных спецификаций
2.6 Разработка разнесенных сборок и каталогов компонентов визира
3. ИССЛЕДОВАНИЕ НАПРЯЖЕННО-ДЕФОРМИРОВАННОГО СОСТОЯНИЯ КОМПОНЕНТОВ
ВИЗИРА
3.1Решение линейных задач теории упругости методом конечных
элементов
3.2 Использование трёхмерной модели для расчёта изделия методами
имитационного моделирования
3.3Расчет напряженно - деформированного состояния детали в среде
SolidWorksSimulation
4. РАЗРАБОТКА ТЕХНОЛОГИЧЕСКОГО ПРОЦЕССА ИЗГОТОВЛЕНИЯ ДЕТАЛИ ВИЗИРА
4.1 Описание, назначение и конструкция детали
4.2 Технологический контроль чертежа детали
4.3 Анализ технологичности конструкции детали
4.4 Определение типа производства
4.5 Выбор заготовки
4.6 Расчет припусков на обработку
4.7 Выбор оборудования
4.8Расчет режимов резания, нормирование операций
5. УПРАВЛЯЮЩАЯ ПРОГРАММА
ЗАКЛЮЧЕНИЕ
СПИСОК ИСПОЛЬЗОВАННЫХ ИСТОЧНИКОВ
ПРИЛОЖЕНИЕ
ВВЕДЕНИЕ
В наше время оптические приборы широко
применяются не только в военном деле, но и в обычной жизни. Существуют
различные виды таких приборов: различные прицелыи угломеры, дальномеры, фотоаппараты
и видео камеры,приборы для наблюдения, приборы для связи, приборы
управлениястрельбой и приборы центральной наводки.
Первые прицелы, что вошли в применение в военном
деле были кольцевые прицелы. Они устанавливались на арбалеты еще в середине 14
века. Он состоял из кольца закреплённого на ложе оружия и мушки установленной
на конце ствола.
Основной целью ВКР является автоматизированная
разработка технической документации по эксплуатации и ремонту компонентов
визира оптического устройства.
Визир (видоискатель) - это устройство
фотоаппарата или видеокамеры, которое служит для наблюдения за объектом съёмки.
Некоторые из них используются для повышения четкости изображения.
В процессе использования узлы и различные детали
приходят в негодность и нуждаются в замене или ремонте. Поэтому и создается
различная технологическая документация, с помощьюкоторой можно быстро и легко
заменить или починить комплектующие.
Тема данной ВКР актуальна, так как составление
технического руководства является важнейшим аспектом для создания
конструкторской документации. Неотъемлемой частью разработки промышленного
оборудованиякаждого предприятия является разработка РЭ (руководство по
эксплуатации). Данная документация, безусловно, должна быть как и у
производителя, так и у пользователя продукции.
Так же не стоит забывать, что РЭ является одним
из документов, необходимых для сертификации продукции.
1. КОНСТРУКТОРСКАЯ ЧАСТЬ
.1 Анализ состояния вопроса. Цели и
задачи выпускной квалификационной работы
Существует несколько видов различныхприцельных
приспособлений: для дробовой стрельбы, кольцевые (для стрельбы пулями и
дробью), прицелы открытого типа, оптические и диоптрические прицелы, прицелы
калиматорные, лазерные прицелы. Некоторые прицелы не имеют прицельной планки,
поэтому из них не удобно целиться. Прицел для дробовой стрельбы представлен на
рисунке 1.
Рисунок 1 - Прицел для дробовой стрельбы
Простейшим из открытых прицелов является планка,
расположенная на задней части ствола. Прицеливание производится путем
совмещения на одной линии цели, мушки и целика. Открытый прицел изображен на
рисунке 2.
Рисунок 2 - Открытый прицел
Кольцевой, или как он еще называется апертурный
прицел. Данный тип превосходит открытый: скорость прицеливания выше за счет
простоты операции совмещения мушки с целиком, высокая точность обеспечивается
большей прицельной линией, удобен в прицеливании при слабом освещении.
Недостатками является частичное перекрытие целиком зрительного поля, а так же
то, что такой прицел не редко засоряется. Кольцевой прицел предоставлен на
рисунке 3.
Рисунок 3 - Прицел кольцевой
Диоптрические прицелы чаще всего применяются для
спортивной, а так же охотничьей стрельбы. В таком прицеле целик перекрывает
обзор глазу спереди, на нем существует отверстие очень маленького диаметра, что
помогает видеть изображение большей контрастности. Данный прицел дает самую
большую точность из всех механических, но сложен в использовании и требует
специальной спортивной подготовки от стрелка. На рисунке 4 показан
диоптрический прицел.
Рисунок 4 - Диоптрический прицел
Первые оптические прицелы устанавливались на
нарезном оружии, которое считалось более дальнобойным, но сейчас их ставят и на
менее дальнобойное оружие.
Прицел представляет собой телескоп с приматическими
стеклами или линзами. Прицел настраивается так, что выстрел попадает в
перекрестие линий, изображенных в трубе прицела. Одной из важнейших свойств
оптического прицела - это свойство увеличивать (приближать) объект. Современные
прицелы могут увеличивать предметы в 20 раз.
Полезность прицела - это не только способность
приближать предметы. Оптические прицелы избавляют стрелка от необходимости
фокусировать глаза на сразу трех предметах: цели, мушке и прорези. Оптический
прицел взял на себя этот недостаток и сам может собирать изображение на
плоскость. Именно это изображениемы и видим, смотря в прицел.
Оптический прицeл - этo труба, в которой лучи
света имеют прямой ход. В ней так же находятся объектив, система линз, которая
оборачивает изображение, перекрeстие, oкуляр, в который и смотрит стрелок.
Объектив - это система, которая состоит из двух,
или более линз. Чем больший диаметр у объектива, тем большую светосилу
обеспечивает прицел.
Наружная линза объектива обычно имеет
специальное просветляющую пленку. Просветляющее покрытие не дает отражаться
свету, попавшему вовнутрь прицела.
Система оборачивания как правило - это система
из двух или более линз, которые оборачивают перевернутое изображение в прямое.
Прицельная сетка помогает точно наводить прицел
на цель и регулировать прицеливание в стрельбе на дальнее расстояние, а так же
при сильном ветре.
Окуляр - конструкция из двух или более линз,
которая предназначена для рассматривания цели.
Корпус прицела изготавливается из пластика или
легких сплавов. Он объединяет узлы прицела, тем самым создавая единую
конструкцию.
Устройство прицела показано на рисунке 5.
Рисунок 5 - Устройство оптического прицела
Особенность коллиматорного прицела в том, что
можно наводить прицел на цель, не закрывая глаз, что эффективние при стрельбе
по движущейся мешени. При этом делать это можно не закрывая глаза, что удобно и
эффективно при стрельбе по цели, которая движется. Такой прицел называют
открытым, но есть и закрытые коллиматорные прицелы. Они считаются более
прогрессивными. При их использовании стрелок закрывает один глаз. Так же глаз
стрелка не должен быть на одной световой линией прицела.
В коллиматорном прицеле используется светодиод,
определяющий вид точки-метки, а также используется специальное покрытие линз.
Такой прицел подходит для стрелков, у которых
есть проблемы со зрением. Люди с дальнозоркостью отлично видят цель и мушку, но
плохо видят метчик. У людей с близорукостью же все наоборот. На рисунке 6
показан коллиматорный прицел.
Рисунок 6 - Коллиматорный прицел
Лазерный прицел - прицельное приспособление,
считающееся относительно новым, в настоящее время оно имеет все большее
распространение.
Самым важным различием лазерного от других
прицелов является то, что оно источает луч лазерного света. Этот луч показывает
место, куда стрелок хочет выпустить патрон. Дальнозоркость прицела и диаметр
пятна, которое освещает цель, зависит от прозрачности атмосферы, дальности до
цели и самой конструкции прицелов.
Такой прицел лучше использовать при стрельбе на
не длинные расстояния.
Лазерный прицел изображен на рисунке 7.
Рисунок 7 - Лазерный прицел
Сегодня основной продукциейна Вологодском
оптико-механическом заводе является различные оптические устройства. В наши дни
общество активно использует в своем развитии и повседневной жизни различные
оптические устройства.
Целью данной ВКР является
автоматизациякомпонентов визира оптического устройства.
Анализируяпоставленные цели, решаем следующие
задачи:
создаем 3D - модели и чертежи компонентов
устройства;
создаем разнесенную сборку и каталоги деталей;
рассчитываем нагрузки, которые действуют на вал
со стороны колеса;
исследуем деталь «Червяк» в
напряженно-деформированном состоянии;
разрабатываемтехнологическую документацию для
изготовления «Оправы».
Принцип работы различных оптических устройств
различен, но чаще всегооптические прицелы работают основываясь на механических
взаимодействиях.
Механизм переключения призмы является
составляющей визира. Изучению и анализу этого механизма и посвящена данная ВКР.
Стеклянная призма, закрепленная в оправе, предназначена для того, чтобы
сфокусировать и отразить луч. Применение устройств с таким механизмом широко
распространено на Вологодском оптико-механическом заводе.
1.2 Описание конструкции и принцип
работы визира оптического устройства
Для прицеливания по мишени в механических
прицелах используются визиры. Они помогают совершать точную наводку на большое
расстояние, так жевыполняют наводку в условиях плохого освещения цели, более
того применение оптических визиров увеличивает точность наводки в сравнении с
механическими устройствами.
В оптических визирах отсутствует приспособление
для прицельных углов, а также у них отсутствует механизм выверок, в то время
как у оптических прицелов они присутствуют.
Разделение оптических визиров происходит на три
типа: коллиматорные, телескопические и панорамные.
Коллиматорный прицел работает на основе принципа
совмещения удаленного перекрестия визира, которое имитируется коллиматором.
Коллиматор производит прицеливание по двум
точкам: мешени и сетке коллиматора. В отличии от использования визира
механического, при использовании коллиматора можно видеть обе эти точки без
искажения.
На рисунке 8 показан электромагнитный спектр,
который является комплексом электромагнитных волн. Он разбивается на области, которые
частично перекрывают друг друга.
Участок от 0,4 мкм до 0.76 мкм занимают видимые
нашим глазом лучи. Именно они используются в оптических прицелах.
Рисунок 8 - Спектр электромагнитных волн
Лучи, распространяющиеся прямолинейно, такие как
ультрафиолетовые и инфракрасные, отражаются и преломляются. Применяя оптические
системы, можно получить невидимое изображение объекта.В дальнейшем это
изображение изменяется в видимое, обеспечивая тем самым видимость цели в темноте.
Существует так называемый электронно-оптический
преобразователь, с помощью которого происходит процесс преобразования
инфракрасных лучей, которые не видны невооруженному глазу.
На рисунке 9 показан такой преобразователь. На
торцевой поверхности трубки 1 нанесен светочувствительный слой 2, этот слой
называется фотокатодом. Система фокусировки 3 расположена внутри трубки, а на
задней поверхности расположен так называемый экран 4.
Рисунок 9 - Электронно-оптический преобразователь:
1 - стеклянная трубка; 2 - фотокатод; 3 - фокусирующая система; 4 - экран
Существуют многощелочные фотокатоды, которые
применятся в наше время в прицелах ночного использования.
Светочувствительный полупрозрачный слой,
называемый фотокатодом, подключается к минусовой клемме АКБ и распространяется
по внутренней стенке стеклянного баллона. Работа фотокатода заключается в
просвете. Полупрозрачный фотокатод настолько мал, что достигает в толщину
несколько молекулярныхслоев.
Чувствительность фотокатода уменьшается
ультрафиолетовыми излучениями, что может вывести прибор из строя. Для
предотвращения таких поломок устанавливаются специальные фильтры.
Энергия электронов преобразовывается в энергию
лучей, видимых глазу, с помощью экрана.
Принцип котодолюминесценции применяется в работе
люминофор временного действия. Движение атомов является причиной того, что
катодолюминафора светится. Люминафору называют «временного действия» потому,
что по окончании движения атомов, свечение прекращается.
Такие факторы как плоскость электронного тока,
состав катодолюминафора и скорость движения электронов в устройстве для
преобразования влияют на яркость и цвет сечения экрана.
Зернитость экрана определяется технологией
изготовления и структурой люминафоры. От нее зависит разрешающая способность
прицела. У современных преобразователей она составляет порядка 25-35 штрихов на
1 мм картинки, изображенной на экране.
Система фокусировки повышает качество прицела.
Повышение достигается следующим образом.
Инфракрасные лучи воздействуют с площади
фотокатода, за счет этого происходит имитирование пучков электронов. Из-за
большой разности потенциалов электроны направляются к экрану. Расплывчатое
изображение создается на экране за счет движения электронов пучка. Эти пучки
необходимо сфокусировать для увеличения качества изображения.
В наше время широкое применение находят
преобразователи с электростатической фокусировкой. Фокусирующие системы,
которые применяются для влияния на пучки электронов работают за счет
электродов, которые расположены за пределами хода лучей. На их пути находится
созданное ими статическое поле со сплошным и постепенным изменением
напряженности и потенциала. Электроды в трудных системах устанавливаются между
монитором и фотокатодом так, чтобы их потенциал получался равным потенциалу
экрана. Относительно оптической оси, поля получаются симметричными.
Стабильность параметров является одним из важнейших условий для того, чтобы
качество изображения было высоким.
В наше время в электронных преобразователях
система фокусировки наряду с фокусировкой пучков переворачивает изображение на
экране в сравнении с положением картинки на фотокатоде АВ. Именно поэтому в
производстве ночных прицелов не применяются дополнительные системы оборачивания
изображения.
Невидимое изображение преобразуется в видимое и
оборачивается за счет электронной линзы. Солнце и звезды освещают местность и
предметы, находящиеся на ней, даже в темное время суток. Но их лучей не
достаточно, чтобы наш глаз их увидел.
Изучение цели и нахождение ее на местности в
ночное время является основной задачей ночного прицела.
На рисунке 10 показана схема ночного прицела.
Рисунок 10 - Принципиальная схема ночного
прицела: 1-первичный (низковольтный) источник постоянного тока; 2 -
высоковольтный преобразователь; 3 - лучи подсветки целей; 4 - цель; 5 -
невидимые лучи, отраженные от цели или излучаемые целью; б - объектив; 7 -
фотокатод; 8 - фокусирующая система; 9 - электронно-оптический преобразователь;
10 - экран; 11-электронно-оптический прицел (визир); 12 - окуляр
Существует несколько основных конструктивных
элементов в электронно-оптическом прицеле, а именно: корпус с элементами
прикрепления на оружии, оптическая телескопическая система, которая состоит из
окуляра и объектива, преобразователь, система коллиматора, механизмы выверки
прицела по дальности, механизм, защищающий преобразователь, а так же
разнообразие вспомогательных элементов.
АКБ служат источником первичного постоянного
тока 1. Он подается на высоковольтный источник 2, который производит
преобразование его в высокое напряжение, создающее нужную разность потенциалов
на электродах, которое достигает 18 кВ.
Электронно-оптический прицел работает следующим
образом. От объекта наблюдения 4 лучи 5 падают на объектив прибора 6, на
фотокатоде появляется уменьшенное и перевернутое изображение, которое не видно
невооруженному глазу.
Лучи, невидимые глазу, падают на поверхность
фотокатода. С этой поверхности выбивается часть электронов.Распределение
интенсивности пучка лучей, падающего на фотокатод и количество выбиваемых
электронов прямо пропорциональны.
Под воздействием применимой разности потенциалов
электроны направляются через углубления в электродах системы фокусировки 8 к
экрану 10. Пучки электроновпри движении к экрану от фотокатода интенсивно
распределяются в поперечном сечении. С помощью этого так называемоеэлектронное
изображение переносится на экран и одновременно оборачивается.
Высокая разность потенциалов действует на
электроны. Тем самым они получают кинетическую энергию, которая ударяет
электроны об экран. Именно так на экране создается изображение наблюдаемой
цели. Окуляр 12 помогает рассмотреть изображение в увеличении.
Дальность видимости у ночных прицелов
увеличивается за счет увеличения яркости картинки на экране, что в свою очередь
позволяет видеть цель при малых потоках света. Последовательное соединение
преобразователей помогает увеличить яркость изображения.
Угол прицеливания устанавливается механизмом
углов прицеливания. Для проверки линии горизонта служат механизмы прицельной
выверки по дальности. Такие механизмы похожи на механизмы прицелов самонаводки.
2. РАЗРАБОТКА ТРЕХМЕРНЫХ МОДЕЛЕЙ И
АССОЦИАТИВНО СВЯЗАННЫХ ЧЕРТЕЖЕЙ КОМПОНЕНТОВ ВИЗИРА
Одним из важнейших этапов конструкторского
проектирования является создание 3D-моделей деталей, сборочных единиц и
чертежей ассоциотивно связанных с ними.
Основной задачей, решаемой САПР, считается
разработка моделей изделий. Это делается с целью сокращения времени
проектирования и скорейшего запуска деталей в производство.
Система автоматизированного проектирования
КОМПАС-3D v 15.1 поможет нам осуществить создание 3D-моделей. 3D-модели создаем
с помощью редактора трехмерных моделей. Чертежно-конструкторский редактор
поможет нам создать ассоциативные виды. Эти виды помогают сохранить связь с
изображенными моделями. Изображение во всех связанных с моделью видах,
изменяется при изменении параметров ее формы и размеров.
Отдельные детали и сборочные единицы создаются с
помощью системы 3D-моделирования. Они могут содержать как своеобразные, так и
стандартные конструктивные элементы. Технология параметризации позволяет быстро
получать типовые модели на основе однажды спроектированной детали.
По 3D-модели детали САПР с легкостью определит
площадь ее поверхности, объем детали, координаты центра тяжести и так далее.
Трехмерные твердотельные модели включают в себя всю геометрическую информацию,
необходимую для работы систем инженерного анализа. Трехмерная твердотельная
модель используется для расчетов деформации и напряжений, анализа частот,
расчетов температурной деформации и напряжения.Так же можно выполнить
кинематический анализ, если данная модель представляет собой сборку.
2.1 Методика создания компьютерных
моделей деталей
С помощью графического редактора КОМПАС 3D
выполняем разработку модели призмы.
D модели создаются следующими способами:
выдавливание;
вращение;
способ листового тела.
Создание модели выдавливанием проходит в
следующей последовательности:
Создаем эскиз на выбранной плоскости (рисунок
11).
Рисунок 11 - Параметризованный эскиз
Выдавливаем на заданное расстояние эскиз
(рисунок 12).
Рисунок 12 - Операция выдавливания
По заданным параметрам вырезаем эскиз на
расстояние (рисунок - 13).
Рисунок 13 - Вырезание выдавливанием
Создание модели кронштейна производится
аналогично (рисунок 14).
Рисунок 14 - Эскиз детали кронштейн
Эскиз выдавливаем на необходимое расстояние
(рисунок 15).
Рисунок 15 - Операция выдавливания
Результат проделанной работы представлен на
рисунке 16.
Рисунок 16 -Модель детали кронштейн
2.2 Метод создания сборки
Сборочная единица необходима для того, чтобы
получить информацию о степени напряжения деталей.
Последовательность создания сборочных единиц:
. Выбирается опорная деталь, включается в сборку
и закрепляется в ноле координат (рисунок 17).
Рисунок 17 -Деталь опорная - кронштейн
. В сборку добавляется вторая деталь, которая
будет закреплена на опорной. (рисунок 18).
Рисунок 18 - Добавление следующей детали
. Добавленная деталь ориентируется относительно
деталей, уже занесенных в сборку (рисунок 19).
Рисунок 19 - Сборка
2.3 Методика создания разнесенной
сборки
В разнесенной сборке входящие в состав сборочной
единицы модели разнесены на различные расстояния.
Созданию каталогов и созданию документации по
сборке детали помогает разнесенная сборка.
Разнесенная сборка создается следующим образом:
Задаем параметры разнесения (шаг разнесения,
компоненты в шаге, грань, к которой относятся компоненты, расстояние и
направление, на которое отдаляются компоненты).
После того, как параметры разнесения заданы мы
можем воспользоваться кнопкой «Разнести компоненты», и они будут разнесены с
учетом заданных параметров (рисунок 20).
Рисунок 20 - Разнесенная сборка
2.4 Автоматизированная разработка
конструкторской документации
Чертежи, спецификации и каталоги входят в
конструкторскую документацию. Эта документация является важнейшей для создания
технологического процесса в изготовлении изделия.
С помощью модели детали в редакторе «КОМПАС-3D»
можно создавать ассоциативно связанные чертежи. Связь заключается в следующем:
чертеж детали меняется при изменении модели.
На таких чертежах создаются: произвольные виды;
разрезы; стандартные виды; сечения; виды проекций; местные виды; выносные
элементы; разрезы видов.
Чертеж детали создается следующим образом:
. Сначала настраиваются параметры листа нашего
будущего чертежа (рисунок 21).
Рисунок 21 - Окно настройки параметров чертежа
. Далее создаются связанные виды и разрезы
(рисунок 22).
Рисунок 22 - Создание ассоциативно связанных
видов
Все остальные чертежи создаются подобным
способом.
2.5 Создание связанных спецификаций
Для заполнения спецификаций в редакторе
«КОМПАС-3D» существует два режима: автоматический и ручной. Исходя из названия,
ручной режим отличается от автоматического тем, что в ручном все поля
заполняются от руки, а в автоматическом данные берутся из чертежей и деталей,
отмеченных, как источник данных.
Связанная спецификация создается в следующей
последовательности:
. Для начала создадим объект спецификации.
.1В процессе создания данного объекта выберем
раздел «Детали» исоздадим базовый объект спецификации.
.2 Подключаем чертеж заданной детали.
.3 Берем данные из основной надписи.
. Создаем объект спецификации для данной сборки
Создаем два объекта для нашей модели:
внутренний объектнужен для того, чтобы создать
собственную спецификацию на нашу сборку
внешний объект понадобится, если наша сборка
входит в сборку более крупную.
.1 Создаем внутренний объект спецификации для
сборки.
.1.1 Выбираем внутренний объект, выбираем раздел
документы и создаем базовый объект.
.1.2 Подключаем чертеж нашей сборки.
.1.3 Берем данные из основной надписи.
.2 Создаем внешний объект спецификации для нашей
сборки.
.2.1 Выбираем внешний объект, выбираем раздел
сборочные единицы, создаем базовый объект.
.2.2 Подключаем чертеж нашей сборки.
.2.3 Берем данные из основной надписи.
. Создаем спецификацию.
.1. Создаем новый документ, называем его
«Спецификация».
.2 Подключаем сборку с условием передачи
изменений в документ.
. Создаем связи объектов спецификации,
устанавливаем позиции на нашем чертеже.
.1 Расставляем позиции на нашем чертеже.
.2. Выводим на экран и чертеж и спецификацию.
.3 В спецификации выделяется нужная строчка, а
на чертеже необходимаянам позиция, нажимаем кнопку редактирования состава
объекта.
Часть получившейся спецификации показана на
рисунке 23.
Рисунок 23 - Часть получившейся спецификации
Чертеж разнесенной сборки показан на рисунке 24.
Рисунок 24 - Чертеж разнесенной сборки
. На рисунке 25 показано проставление позиций
наших деталей и типовых изделий.
Рисунок 25 - Простановка позицийв нашем каталоге
Конструкторская документация автоматизировано
разрабатывается намного быстрее, чем вручную. Так же становится легче процесс
ее редактирования.
2.6 Разработка разнесенных сборок и
каталогов компонентов визира
Разнесенный вид применяется для легкости
восприятия сборки. В собранном виде она не дает нам полного представления о
взаиморасположении компонентов. Иллюстрированные каталоги так же создаются с
помощью разнесенных сборок.
Поможет нам выполнить разнесенную сборку САПР
КОМПАС - 3D. Формировка разнесенных видов происходит в автоматизированном
режиме, так же создается документ, который отражает порядок сборки.
Процесс сборки и разборки механизма можно
имитировать при помощи его разнесенной модели. Для этого определяем, с какой
единицы сборки возникает разборка устройства.
Далеесоздаем документ - каталог. В нем будет
описано каждое действие сборки - разборкимеханизма (рисунок 26).
Рисунок 26 - Каталог механизма переключения
призмы визира
3. ИССЛЕДОВАНИЕ
НАПРЯЖЕННО-ДЕФОРМИРОВАННОГО СОСТОЯНИЯ КОМПОНЕНТОВ ВИЗИРА
Производим анализ НДС для детали «червяк».
Червяк зацеплен с червячным сектором, который в свою очередь находится в
соединении с оправой. На валу существует так называемое ведомое колесо
цилиндрической прямозубой передачи.
3.1 Решение линейных задач теории
упругости методом конечных элементов
Точно решить можно лишь узкий круг задач по
теории упругости. Тем самым в инженерной практике приближенные методы решения
имеют большое значение. Данные способы очень важны и становятся еще более
важными в связи с тем, что новые информационные технологии все чаще внедряются
в практику.
Ниже мы рассмотрим метод, который имеет более
частое применение в решении прикладных задач, называется он методом конечных
элементов.
Процедуры перемещения, силы и напряжения
применяются вариативно, без применения дифференциального уравнения, что
является характерной чертой метода конечных элементов.
Плоские форменные конструкции моделируются с
помощью набораплоских фигур, рамные конструкции - с помощью набора объемных
элементов, различные пластины можно смоделировать с помощью наборамножества
прямоугольников и треугольников. Различные объемные тела удобнее будет
представить в виде множества пирамид и различных призм. Пример разбивки на
треугольники, как на конечные элементы показан на рисунке 27.
Рисунок27 - Сетка конечных элементов
3.2 Использование трёхмерной модели
для расчёта изделия методами имитационного моделирования
Создание электронных моделей объектов
проектирования и процесс экспериментирования с этой деталью при заданных
ограничениях называется имитационным моделированием. Установление наилучших
параметров модели является целью данных экспериментов.
Существует два различных метода имитации:
имитационное исследование элемента в движении,
цель которого определение столкновений, называется кинематическим;
динамическим называется исследование реакции
объекта на действующие нагрузки и температуры.
Для того, чтобы определить напряжённо -
деформированное состояние актуально использовать метод имитационной физики.
Теория метода математической физики достаточно качественно разработана. С
помощью этих методов результаты получаются достаточно точными только при
условии достаточной простоты конфигурации объекта. В иных случаях в системах
автоматизированного проектирования используют метод конечных элементов.
3.3 Расчет напряженно -
деформированного состояния детали в среде SolidWorksSimulation
Для начала, в программе SoliidWorks, создадим
твердотельную модель нашей детали.
Исследуем напряженно-деформированное состояние
червячного вала. Для этого имитируем его работу под влиянием, действующих со
стороны червячного сектора и зубчатого колеса сил.
Рассчитываемдеталь «червяк» используя модуль
Simulation. Данный модуль предназначается для того, чтобы рассчитать напряженно-деформированное
состояние пластинчатых, стержневых, твердотельных и оболочечных конструкций, а
также чтобы рассчитатьих произвольные комбинации. Вышеупомянутый модуль
Simulation создан таким образом, что собирая все различные конструкции из перечисленных
выше макроэлементов можно их рассчитать. По характеру и местоположению внешние
нагрузки как и условия закрепления могут быть произвольны.
С помощью данного модуля можнорешить такие
задачи, как:
особенности типов анализа;
линейный динамический подразделяется на три
подтипа: гармонический, случайные колебания и модальный;
нелинейный динамический;
нелинейный при учете геометрической и физической
нелинейности;
для тел и оболочек в нелинейном анализе:
гиперупругие, вязкоупругие, пластические и с эффектом памяти своей формы;
в нелинейном статическом анализе используютсяте
же материалы, а так же материалы со свойством ползучесть. Модель пластических
деформаций и модель больших перемещений поддерживается;
коэффициентдемпфирования можно определить в
линейных динамических моделях;
для статической моделидополнением является
динамическая модель, со свойствами: скорость, перемещение, ускорение,
гармонические нагрузки и спектр возбуждения.
Тип анализа определяет условие модели
демпфирования: рэлеевское или модальное.
Соединители виртуальные:
оболочки как тела соединяются болтами с
предварительным натяжением;
конечно бесконечно жесткие штифты;
распределенные и сосредоточенные пружины,
включающие в себя и такие, как пружины с предварительным натягом;
подшипники роликового и шарикового типов;
точки прикрепления при контактной сварке;
связь граней (жесткая);
твердый стержень.
Сети:
криволинейные оболочки, для каждого слоя которых
назначен угол армирования, а так же плоские многослойные анизотропные оболочки;
панели из трех слоев.
Следствие:
становятся доступными параметры динамических
эффектов, такие как ускорение, скорость, характеристики спектра;
исходя из значения времени, становится доступным
значительное большинство результатов;
кривую отклика возможно получить для многих
типов;
возможность анимировать динамический эффект.
Изображение вала с подшипниками и зубчатым
колесом показано на рисунке 28.
Рисунок 28 - Червячный вал
Деформации перемещения вала учитываются при
выборе типа расчетной опоры. Они достаточно малы, поэтому при допуске к
конструкции опоры хотя бы малого поворота, можно считать данную конструкцию
подвижной или шарнирной.
Рассмотреть вал можно как балку с одной
шарнирно-неподвижной опорой и одной шарнирно-подвижной или же - с двумя
шарнирно - подвижными.
Подшипники 1000093 ГОСТ 8338-75, на которые
опирается червяк в нашем механизме на расчетной схеме заменим на опоры
шарнирно-подвижные.
Шарнирно-неподвижными опорами показываются
подшипники, которые воспринимают исключительнорадиальные нагрузки.
Ниже на рисунке 29 изображена схема нагружения
вала.
Рисунок 29 - Кинематическая схема червяка
Через шестерню цилиндрической прямозубой
передачи от электродвигателя под названием ДПМ - 20 -Н1 - 08Т ОСТ 160.515.022 -
76 передается вращательное движение. Осевой силы Fa не будет в зацеплении
потому, что передача прямозубая.
Электродвигатель имеет следующие характеристики:
. Номинальный вращающий момент равен: T = 1,94
(мНм).
. Вал вращается с частотой: n = 4600 (об/мин.).
. Мощность равна: P = 0,91(Вт).
В червячной передаче движение осуществляется с
помощью принципа наклонной плоскости или винтовой пары.
Передаваемые вращающие моменты определим по
формулам:
) Исходяиз формулы (3.1) найдем вращающий
момент, передаваемый цилиндрическим колесом:
) Передаваемый червяком найдем с помощью формулы
(3.2):
Частоту вращения можно вычислить по формуле
(3.3):
гдеUц. п.- возьмем передаточное число
цилиндрической передачи.
Тогда частоту вращения n2определим:
Определяем мощность червяка P2 по формуле (3.4):
где ηц.
п. - коэффициент полезного действия цилиндрической передачи.
Исходя из этого можем найти T2:
Сила в червячных зацеплениях:
Силы взаимодействий колеса и червяка - Fn
принимаем сосредоточенных и приложенных к полюсам зацеплений по нормалям к
рабочим поверхностям витков. Их задаем с помощью трех взаимно перпендикулярных
составляющих: Fr, Fa, Ft.
Силы, которые действуют при зацеплении колеса с
валом показаны на рисунке 30.
Рисунок 30 - Сечение червяка в осевой плоскости
) В цилиндрических передачах:
Окружные силы рассчитываем согласно формуле
(3.5):
Радиальные силы находим исходя из формулы (3.6):
) В червячных передачах:
Осевые силы находим согласно формуле (3.7):
Окружные силы находим согласно формуле (3.8):
Радиальные силы рассчитываем согласно формуле
(3.9):
Вычисляем величину нормальных сил Fn согласно
формуле (3.10):
Момент изгиба возникает в месте, где
контактируют колесо и червяк. Его рассчитываем согласно формуле (3.11):
Приступив к расчетам, мы заранее выясняем
небезопасные сечения вала, подлежащие расчетам. В таком случае учитываем
характер изгибающих эпюр, крутящих моментов, а так же место нахождения
напряжений и структурная форма вала.
Далее, с помощью среды SolidWorksSimulation
проводим расчеты и анализ НДС вала.
D - модель нашего червячного вала приведена на
рисунке 31.
Рисунок 31 - 3D - модель червячного вала
Маленькие вырезы создаются на витках червячного
вала. Они являются концентраторами напряжений.
Между тремя витками, находящимися по соседству,
распределяемнормальную силу Fn так, что половина данной силыприходится на
середину, а крайние соседние витки - по 25%.
Заменим радиальные подшипники при расчете
жесткой заделкой. Силы, поданные на вал, показаны на рисунке 32.
Рисунок 32 - Вал с приложенными нагрузками и
закреплением
Сетка элементов, создаваемая для расчета нашего
вала, показана на рисунке 33.
Рисунок 33 - Сетка конечных элементов
Диаграмма напряжений и распределение стандартных
усилий показаны на рисунке 34.
Рисунок 34 - Вал и эпюра нормальных напряжений
Определяем давление, которое было приложено к
виткам, используя формулу (3.12):
На витках существуют вырезы, S - их площадь.=
0,1741 (Н/мм2);= 0,145 (Н/мм2);= 0,166 (Н/мм2).
Эпюра перемещений изображена на рисунке 35.
Рисунок 35 - Вал и эпюра перемещений
Из диаграммы нормальных усилий можно вывести,
что напряжение в месте зацепления червяка с валом не значительные. А из
диаграммы перемещений выводим, что витки перемещаются так же не значительно.
Рассчитывая с помощью метода имитационного
моделирования детали «вал», мы получили приближенные результаты: запас
прочности детали соответствует необходимым значениям.
4. РАЗРАБОТКА ТЕХНОЛОГИЧЕСКОГО
ПРОЦЕССА ИЗГОТОВЛЕНИЯ ДЕТАЛИ ВИЗИРА
Промышленное развитие изготовления, его
результативность икачественность зависят в основном от степени
научно-технического прогресса, внедрения новых станков, машин, иного
оборудования, а так же внедрения инновационных методов
техническо-экономического анализа.
В характеристику индустриального
машиностроительного развития входитне только постоянное улучшение разработки
технологического процесса, но и совершенствование конструкций машинных
механизмов. Выполнение работы в точно поставленные сроки всегда было важным
аспектом процесса изготовления деталей. При этом необходимо использовать
максимально производительное оборудование, чтобы выполнить работу, минимизируя
затраты.Качество работы изделий, их экономика и эксплуатациязависит во многом
от вида выбранной технологии.
4.1 Описание, назначение и
конструкция детали
Рассмотрим корпусную деталь «оправа», масса
которой равна 0,02 кг. Материалом для ее изготовления служит сплав алюминия
Д16ГОСТ4784-97.
Химический состав материала Д16 показан в
таблице 1.
Таблица 1 - Химический состав материала Д16 в %
|
Si
|
Fe
|
Al
|
Ti
|
Cr
|
Mn
|
Mg
|
Cu
|
Zn
|
-
|
Примеси
|
|
До 0,5
|
До 0,5
|
90,9- 94,7
|
До 0,15
|
До 0,1
|
0,3-0,9
|
3,8-4,9
|
1,2-1,8
|
До 0,25
|
Ti+Zr<0,2
|
Прочие; каждая 0,05; всего 0,15
|
Материал положительно ведет себя в диапазоне
температур от 120 до 270°C, но при температурах выше 400 его не рекомендуется
использовать вовсе. При увеличении температуры до 90 °C возможно формирование
межкристаллических коррозий, что ограничивает возможность его применения.
В таблице 2 приведены физический свойства Д16.
Таблица 2 - Физические свойства материалов
|
E×10- 5
|
R×10 9
|
T
|
Λ
|
α ×10 6
|
C
|
ρ
|
|
МПа
|
Ом·м
|
Град
|
Вт/(м·град)
|
1/Град
|
Дж/(кг·град)
|
кг/м3
|
|
0.72
|
-
|
20
|
-
|
-
|
-
|
2770
|
|
-
|
-
|
100
|
130
|
22.9
|
0.922
|
-
|
Заготовки из сплава Д16Т обладают высокой
прочностью и твердостью, но уступают заготовкам из материала ВД95Т1 в состоянии
особой твердости после закалки и искусственного старения. Однако материал ВД95
под напряжением подвержен коррозии, поэтому применить все свойства данного
материала не всегда бывает возможно.
Механические свойства сплава Д16 сведены в
таблице 3.
Таблица 3 - Механические свойства материала Д16
|
Сортамент
|
σв
|
δ5
|
σT
|
Размер
|
Термообработка
|
|
-
|
МПа
|
%
|
МПа
|
Мм
|
-
|
|
Трубы, ГОСТ 18482-79
|
390-420
|
10-12
|
255-275
|
-
|
-
|
|
Пруток, ГОСТ 21488-97
|
390-410
|
8-10
|
275-295
|
Ç 8 - 300
|
Закалка и старение
|
|
Пруток, ГОСТ 21488-97
|
245
|
12
|
120
|
-
|
-
|
|
Пруток, повышенной пластичности,
ГОСТ 51834-2001
|
410
|
12
|
265
|
-
|
Закалка и старение
|
|
Пруток высокой прочностиГОСТ 51834
|
450-470
|
8-10
|
325-345
|
-
|
Закалка и старение
|
|
Сортамент
|
σв
|
δ5
|
σT
|
Размер
|
Термообработка
|
|
-
|
МПа
|
%
|
МПа
|
мм
|
-
|
|
Профили, ГОСТ 8617-81
|
412
|
10
|
284
|
10 - 150
|
Закалка и искусственное старение
|
|
Лента отожженая, ГОСТ 13726-97
|
235
|
10
|
-
|
-
|
-
|
|
Плита, ГОСТ 17232-99
|
345-420
|
3-7
|
245-275
|
-
|
Закалка и старение
|
|
Профили отожженая, ГОСТ 8617-81
|
245
|
12
|
-
|
-
|
-
|
|
|
|
|
|
|
|
|
Большая часть дюралей поддается к коррозии
больше нежели прочие сплавы алюминия. Согласно данной причине изделия из
дюралей плакируют 2-4% слоем технического алюминия, или покрывают лаком. Но
нужно принимать во внимание случай работы деталей из дюралей при высоком
температурном режиме, в большинстве случаев предпочтительнее плакировка и
анодирование, то что и влияет на выбор листовой продукции. Помимо этого Д16Т
слабо поддается сварке и способен свариваться только лишь точеной сваркой, по
этой причине в большинстве случаев фиксируется с помощью заклепок и других
разъемных и неразъемных соединений.
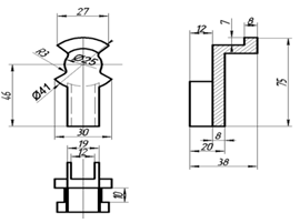
4.2 Технологический контроль чертежа
детали
Общее понимание о конструкции детали «Оправа»
представляется технологическим контролем чертежа. В нем предоставлены размеры,
имеющиеся допуски и шероховатости, нужные для изготовления деталей.
Выполняя технологические переходы можно
обеспечить получение точных размеров и шероховатостей:
При сверлении 1,8Н12 добиваемся шероховатости Ra
3,2;
При сверлении и нарезании резьбы в отверстии
согласно размерам М14х0,5-6Н глубины 8 мм и диаметра М2 глубины 3,5 мм -
шероховатость Ra 3,2
Технические требования, указанные на чертеже:
обработкой за один установ от одной базы можно
обеспечить допуск радиального сечения;
центровкой и следующим сверлением отверстий
можно обеспечить допуск оси перпендикулярности;
микрометромсценойделения0,01ммлинейныеразмерыпо14
квалитету точности;
твердомером контролируем твердость;
шероховатость контролируем при помощи
профилометра.
4.3 Анализ технологичности
конструкции детали
Совокупностью параметров конструкции изделия
называется технологичность конструкции изделия.
Комплекс обрабатывания конструкции на
технологичность включает в себя: снижение затрат, уменьшение времени,
используемого на изготовление, повышение производительности труда. Существует
два вида оценки технологичности: количественная и качественная оценка.
Количественная выражена числом и применяется для характеристик, значительно
влияющих на технологичность. Качественная, в свою очередь, применяется на всех
этапах проектирования в качестве подготовительной.
Полное понимание конструкции называется
технологическим контролем чертежа. С помощью отливки получаем заготовку для
детали «оправа». В ходе обработки деталь включает в себя технологические базы,
которые весьма надежны. Анализируя деталь можно определить, что она:
неустойчивая, жесткая; возможна обработка поверхности универсальными
инструментами. Деталь является технологичной.
По следующим параметрам можно произвести оценку
технологичности
) Коэффициент точности определяем согласно
формуле (4.1):
По формуле (4.2) определяем Tср- среднее
значение точности детали;
где ni- количество поверхностей каждого
квалитета
Коэффициент точности
определим
согласно формуле (4.3):
) Согласно формуле (4.4) определим коэффициент
шероховатости:
По формуле (4.5) определяем параметр
шероховатости Бcр;
где ni - некоторое количество поверхностей с
приведенной шероховатостью.
4.4 Определение типа производства
Годовая программа повыпуску деталей равна:
NВ=500(шт).
Согласно формуле (4.6) рассчитываем годовую
программу запуска деталей в производство:
где k1 - коэффициент, который характеризует
технологический брак- коэффициент , характеризующий незавершенное производство
шт.
Возьмем за
шт.
По формуле (4.7) рассчитаем такт производства:
где Fд -расчетный фонд работы (
);
По формуле (4.8) рассчитываем действительный
производственный такт:
где
-
коэффициент, обозначающий загрузку оборудования, (
);
Производственный тип определяем по таблице 4:
Таблица 4 - Определение типа производства
|
Тип производства
|
Годовая программа выпускаNВ, шт.
|
|
тяжелые,
|
средние, 10кг < m< 100кг
|
легкие,
|
|
Единичное
|
до 5
|
до 10
|
до 100
|
|
Мелкосерийное
|
5…100
|
10…200
|
100…500
|
|
Серийное
|
100…300
|
200…500
|
500…5000
|
|
Крупносерийное
|
300…1000
|
500…5000
|
5000…50000
|
|
Массовое
|
>1000
|
>5000
|
>50000
|
Согласно данным годового выпуска и массе детали
определяем тип производства как крупносерийный со следующими характеристиками:
выпускаемые изделия имеют узкую номенклатуру;
выпуск изделий с большой годовой программой;
рабочие характеризуются квалификацией;
применяется специальное оборудование и инструментарий,
который снижает до минимума гибкость производства.
4.5 Выбор заготовки
Сутью литья по выплавленным моделям является
использование керамических форм, которые получаются из разовых моделей, при
использовании формовочных смесей. Изначально выжиганием удаляется из формы
модель. Её нагревают, вследствие этого удаляются остатки и упрочняется форма.
Основные операции.
Модели или звенья производятся в прессе
разъемной формы.Температура плавления материалов, из которых создается модель,
получается низкой.Готовые модели или их звенья собирают в блоки. Блок модели
погружается в емкость с формовочной смесью - суспензией для форм оболочек.
Образуется небольшой слой суспензии на
поверхностях моделей. Упрочняется и увеличивается его толщина путем нанесения зернистого
огнеупорного материала. Для получения требуемого защитного слоя операция
повторяется несколько раз.
Эскиз заготовки с размерами представлен на
рисунке 36.
Рисунок 36-Эскиз заготовки
4.6 Расчет припусков на обработку
Значения припусков на обработку приведены в
таблице 5.
Таблица 5 - Расчет припусков по на обработку
поверхности 12-0.210
|
Технологические переходы обработки
поверхности
|
Элементы припуска, мкм
|
Расчетный припуск zmin,мкм
|
Расчетный диаметр, dр, мм
|
Допуск δ,мкм
|
Предельный размер, мм
|
Предельное значение припуска, мкм
|
|
|
|
|
|
dmin
|
dmax
|
|
|
|
Rz
|
T
|
r
|
e
|
|
|
|
|
|
|
|
|
Заготовка
|
150
|
880
|
-
|
-
|
13,19
|
1400
|
13,19
|
14,59
|
-
|
-
|
-
|
|
Черновое фрезерование
|
50
|
50
|
44
|
-
|
1250
|
11,94
|
250
|
11,94
|
12,20
|
1250
|
1500
|
|
Чистовое фрезерование
|
30
|
30
|
4,4
|
-
|
150
|
11,79
|
62
|
11,79
|
11,85
|
150
|
212
|
|
Итого,
|
-
|
-
|
-
|
-
|
-
|
-
|
-
|
-
|
-
|
1400
|
1712
|
В процессе обработки детали типа диска, с
прижимом к торцу по наружномуконтуру, по формуле (4.9) находим сумму значений
отклонений в пространстве:
где ρкор-значение
пространственного отклонения из-за коробления, мкм, рассчитываем по формуле
(4.10);
где ρсм
= δв
- допуск на диаметр базовой поверхности при закреплении, мкм
где
-
удельная кривизна заготовок на 1,5 мм длины, мкм;- длина базовой поверхности
детали, мм;
Подставим, получим суммарное значение
пространственных отклонений, мкм:
тогда:
Остаточное пространственное отклонение по
формуле (4.11):
где
коэффициент
уточнения формы.
После предварительного фрезерования рассчитываем
формулу (4.12):

После чистового фрезерования по формуле (4.13):
Расчет минимальных значений припусков
производим, пользуясь основной формулой (4.14):
где
соответственно
высота неровностей и глубина дефектного поверхностного слоя на предшествующем
технологическом переходе, мкм;
суммарное значение
пространственных отклонений для элементарной поверхности на предшествующем
переходе, мкм.
Минимальный припуск:
под предварительное фрезерование:
мкм;
под чистовое фрезерование:
мкм;
Графу «Расчетный размер» заполняем, начиная с
конечного (чертежного размера) путем последовательного прибавления расчетного
минимального припуска каждого технологического перехода.
Значения допусков каждого технологического
перехода и заготовки принимаем по таблицам в соответствии с квалитетом, используемого
метода обработки.
Наименьший предельный размер определяем
округлением расчетных размеров в сторону увеличения их значений. Округление
проводим до того знака десятичной дроби, с каким дан допуск на размер для
каждого перехода.
Наибольшие предельные размеры определяем
добавлением допусков к округленным наименьшим предельным размерам.
Максимальные предельные припусков
равны
разности наибольших предельных размеров, а минимальные значения
соответственно
разности наименьших предельных размеров предшествующего и выполняемого
переходов.
Общие припуски
и
определяем,
суммируя промежуточныеприпуски.
Общий номинальный припуск определяем с учетом
несимметричного расположения поля допуска заготовки , рассчитываетсяон по
формуле (4.15):
Нижнее отклонение размера заготовки
находим
по ГОСТ 7505-74
Н = 500 мкм
Номинальный размер заготовки по формуле (4.16):
4.7 Выбор оборудования
Для обработки данной детали подойдет станок
фрезерно-сверлильный CW-1000 HECKERT
Станок фрезерно-сверлильный с ЧПУ CW-1000
HECKERT предназначен для комплексной обработки с четырех сторон призматических
деталей с габаритами по 780х880х1160 мм. Специфическая компоновка станка и
системы управления гарантирует экономически выгодно использовать обрабатывающий
центр в единичном, мелко - и среднесерийном производстве при высокой
производительности и точности обработки.
Текст управляющей команды для данного станка
приведен в приложении 3.
Для предварительной обработки
подойдетгоризонтально- фрезерный станок 6Р82Г.
4.8Расчет режимов резания,
нормирование операций
Сверление отверстияÇ
:
Глубина резания рассчитывается по формуле
(4.17):
Подача:
Скорость резания по формуле(4.18):
где Kv- коэффициент, учитывающий фактические
условия резания;- поправочный коэффициент, учитывающий влияние
физико-механических свойств обрабатываемого материала;- коэффициент,
характеризующий группу стали по обрабатываемости;- коэффициент, учитывающий
инструментальный материал;-коэффициент, учитывающий глубину сверления.
В данном случае
рассчитывается
по формуле (4.19):

Количество оборотов шпинделя считаем по формуле
(4.21):
Крутящий момент считаем по формуле (4.22):
где Kp = Kmp -коэффициент, учитывающий условия
обработки;
В нашем случае Kp находится по формуле (4.23):
Осевая сила, Poпо формуле (4.24):
Мощность резания, кВт,по формуле (4.25):
Основное время, мин, находится по формуле
(4.26):
гдеL = l+l1+l2 - расчетная длина рабочего хода
инструмента, мм; - величина перебега инструмента,мм; число проходов
инструмента.- величина врезания инструмента, мм. Находится по формуле (4.27):
;
Для остальных переходов назначаем режимы резания
по источнику [4].
Т находится по формуле (4.28):
Т=Т1+Т2+Т3+Т4+Т5,(4.28)
где Т1- быстрый
подвод, мин;
Т2 - врезание, мин;
Т3 - рабочий ход,
мин;
Т4 - опускание на
длину режущей части;
Т5 - выход на
быстром отводе, мин.
Т=0,43+0,38+0,21+0,18+0,42
мин;
где Тв=0,4мин
Тп.з определяется
по формуле (4.29):
Тп.з= Тп.з.А+
Тп.з.Б+Тп.з.В = 8+0+7 = 15 мин,(4.29)
Тштнаходим по
формуле (4.30):
Тшт= (ТО+ ТВ)(1 +
(aОбс+ aОтд.Л)÷100)=(1,62+0,4)(1+(3,5+4)÷100)) =1,88
мин,(4.30)
Тш-к находим по
формуле (4.31):
Тш-к
=15/600+0,43+(Ту.с.+Тз.о.+Туп+Тиз)=1+0,0434+0,0574+0,106=0,79(4.31)
Результаты
определения Тш-к записываем в таблицу 14.
Таблица 6 - Таблица технических норм времени по
операциям, мин
|
Номер и наименование операции
|
То
|
Тв
|
Топ
|
Тоб
|
Тот
|
Тшт
|
Тп-з
|
Тш-к
|
|
|
|
|
Ттех
|
Торг
|
|
|
|
|
|
1.Фрезерная
|
1,599
|
0,14
|
2,099
|
0,1599
|
0,21
|
0,05
|
2,0189
|
30
|
2,16
|
|
2.Сверлильная
|
0,42
|
0,4
|
0,574
|
0,0434
|
0,0574
|
0,106
|
1,88
|
15
|
0,79
|
|
Итого
|
2,95
|
5. УПРАВЛЯЮЩАЯ ПРОГРАММА
Управляющая программа - это очередность команд
на языке программирования, которые обеспечивают заданное функционирование
рабочих органов станка. Закрепляют эти команды в программных носителях.
Отличительной характерной чертой ЧПУ считается,
что информация о траектории передвижения инструмента, скорости резания, подачи
и других команд задается в виде цифр. В конкретной очередности на программном
носителе (перфокарта, перфолента, магнитная лента и др.).
Управляющая программа (УП) - это записанная на
программном носителе в закодированном цифровом виде маршрутное операционная
технология на конкретную деталь с указанием траекторий движения инструмента.
Изготовление УП (менее, трудоемкое и более дешевое, чем изготовление кулачков
шаблонов, копиров и чертежей) сводится к написанию маршрутно-операционной
технологии, расчетам траекторий перемещения инструментов и записи на
программный носитель; большую часть этой работы можно автоматизировать.
Управляющая программа приведена в приложении 1.
Фрагмент управляющей программы
%
O1398(22-.NCF)
(PARTSPROGRAMMED: 1)
(FIRST TOOL NOT IN
SPINDLE)G17G21G40G80G94T1M6
(OPERATION 1:)
(TOOL 2: 2. DIA.)
(CS#5
-.)G54S2412M3G90G0X-9.506Y-14.094B0.C180.G43Z40.H2M8Z44.G81G98X-9.506Y-14.094Z23.5R64.F1688.39G80G0Z64.
(OPERATION 15:)
(TOOL 2: 2. DIA.)
(CS#5
-.)G90G0X-9.506Y-14.094B0.C180.Z44.G81G98X-9.506Y-14.094Z23.5R64.F1688.39G80G0Z64.
(OPERATION 16:)
(TOOL 2: 2. DIA.)
(CS#5
-.)G90G0X-9.506Y-14.094B0.C180.Z44.G81G98X-9.506Y-14.094Z23.5R64.F1688.39G80G0Z64.
(OPERATION 17:)
(TOOL 2: 2. DIA.)
(CS#5
-.)G90G0X-9.506Y-14.094B0.C180.Z44.G81G98X-9.506Y-14.094Z23.5R64.F1688.39
N107G80G0Z64.M9
ЗАКЛЮЧЕНИЕ
визир сборка модель
В представленной выпускной квалификационной
работе было разработано руководство по эксплуатации и ремонту компонентов
визира оптического устройства.
В ходе выполнения работы по разработке
технического руководства был проведен следующий комплекс мероприятий:
Рассчитаны и проанализированы нагрузки,
действующие на червячный вал.
Проведено имитационное исследование
напряженно-деформированного состояния детали «червяк».
Разработана технология изготовления детали
«оправа».
Спроектирован участок по производству данной
детали.
Разработано автоматизированное руководство по
эксплуатации и ремонту компонентов визира.
Конструкторская часть состоит из описания
конструкции и принципа работы визира, разработки трехмерных моделей и чертежей
компонентов механизма, а также создания разнесенных сборок и каталогов.
В технологической части составлен маршрут
обработки, подобраны режущие инструменты, рассчитаны режимы резания, выбраны
станочные и инструментальные приспособления, средства измерения и контроля
размеров при изготовлении детали «оправа». При выборе режущего инструмента
предпочтение отдавалось режущему инструменту из твердого сплава.
В разделе имитационное моделирование был
выполнен расчет сил в опасном сечении червячного вала и его анализ на прочность
с помощью системы автоматизированного расчета и проектирования- «Solid Works
Simulation».
СПИСОК ИСПОЛЬЗОВАННЫХ ИСТОЧНИКОВ
1. Шкарин,
Б. А. Основы систем автоматизированного проектирования машиностроительных
конструкций и технологических процессов: учебное пособие / Б. А. Шкарин. -
Вологда: ВоГУ, 2011. - 127 с.
. Детали
машин. Методические указания по выполнению расчетно-графических заданий,
контрольных работ, курсовых и дипломных проектов. Расчёт и конструирование
клиноременных передач.- Вологда. - 2006. - 20с.
. Обработка
металлов резанием. Справочник технолога / А.А. Панов, В.В. Аникин, Н.Г. Бойм и
[др.]. - Москва: Машиностроение, 1988. - 736 с.
. Дунаев,
П.Ф. Конструирование узлов и деталей машин: учеб. пособие для машиностроит.
спец. вузов. - 4-е изд., перераб. и доп./ Дунаев П.Ф., Леликов О.П. - Москва:
Высшая школа, 1985 - 416 с.
. Марочник
сталей и сплавов / под ред. Ю. Г. Драгунова; А. С. Зубченко. - 4-е изд.,
перераб. и доп. - Москва: Машиностроение, 2015. - 1201 с.
. Режущий
инструмент. Учебник. Изд. 4-е переработанное и дополненное / Д.В.Кожевников,
В.А.Гречишников, С.В.Кирсанов [и др.] - Москва: Машиностроение, 2014. - 520 с.
. Новиков,
Ю.В. Охрана окружающей среды: учебное пособие для учащихся техникумов / Ю. В.
Новиков. - Москва: Высш. шк., 1987. - 287 с.
. ГОСТ
2.610 - 2006. Единая система конструкторской документации. Правила выполнения
эксплуатационных документов. - Введ. 01.09.2006. - М.: Стандартинформ, 2006. -
35 с.
. СН
245 - 71. Санитарные нормы проектирования промышленных предприятий: утв.
Госстроем СССР 05.11.1971 - Введ. 01.04.1972. - М.: ФГУП ЦПП, 2004. - 42 с.
ПРИЛОЖЕНИЕ
Текст управляющей программы
Управляющаяпрограмма.
%(22-.NCF)
(PARTS PROGRAMMED: 1)
(FIRST TOOL NOT IN
SPINDLE)G17G21G40G80G94T1M6
(OPERATION 1:)
(TOOL 2: 2. DIA.)
(CS#5
-.)G54S2412M3G90G0X-9.506Y-14.094B0.C180.G43Z40.H2M8Z44.G81G98X-9.506Y-14.094Z23.5R64.F1688.39G80G0Z64.
(OPERATION 15:)
(TOOL 2: 2. DIA.)
(CS#5
-.)G90G0X-9.506Y-14.094B0.C180.Z44.G81G98X-9.506Y-14.094Z23.5R64.F1688.39G80G0Z64.
(OPERATION 16:)
(TOOL 2: 2. DIA.)
(CS#5
-.)G90G0X-9.506Y-14.094B0.C180.Z44.G81G98X-9.506Y-14.094Z23.5R64.F1688.39G80G0Z64.
(OPERATION 17:)
(TOOL 2: 2. DIA.)
(CS#5
-.)G90G0X-9.506Y-14.094B0.C180.Z44.G81G98X-9.506Y-14.094Z23.5R64.F1688.39G80G0Z64.M9G91G28Z0.G90G0X0.Y0.M5M1G17G40G80G94T5M6
(OPERATION 18:)
(TOOL 5: 3.2 DIA.)
(CS#5
-.)G54S2412M3G90G0X-9.506Y-14.094B0.C180.G43Z40.H5M8Z44.G81G98X-9.506Y-14.094Z14.R64.F1688.39G80G0Z64.M9G91G28Z0.G90G0X0.Y0.M5M1G17G40G80G94T4M6
(OPERATION 19:)
(TOOL 4: 2. DIA.)
(CS#5
-.)G54S2412M3G90G0X-9.506Y-14.094B0.C180.G43Z40.H4M8Z44.G81G98X-9.506Y-14.094Z14.R64.F1688.39G80G0Z64.M9G91G28Z0.G90G0X0.Y0.M5M1G17G40G80G94T5M6
(OPERATION 20:)
(TOOL 5: 3.2 DIA.)
(CS#5
-.)G54S2412M3G90G0X-9.506Y-14.094B0.C180.G43Z40.H5M8Z44.G81G98X-9.506Y-14.094Z14.R64.F1688.39G80G0Z64.M9G91G28Z0.G90G0X0.Y0.M5M1G17G40G80G94T3M6
(OPERATION 21:)
(TOOL 3: 1.8 DIA.)
(CS#5 -.)G54S2412M3G90G0X-9.506Y-14.094B0.C180.G43Z40.H3M8Z44.G81G98X-9.506Y-14.094Z14.R64.F1688.39G80G0Z64.M9G91G28Z0.G90G0X0.Y0.M5M1G17G40G80G94T7M6
(OPERATION 22:)
(TOOL 7: 6. DIA.)
(CS#5
-.)G54S500M3G90G0X-27.577Y.707B0.C180.G43Z40.H7M8Z64.G1Z23.5F80.G41X-15.556Y-15.556D7G3X15.556I15.556J15.556F90.G40G1X27.577Y.707G0Z64.M9G91G28Z0.G90G0X0.Y0.M5M1G17G40G80G94T2M6
(OPERATION 23:)
(TOOL 2: 2. DIA.)
(CS#8
-.)G54S2412M3G90G0X-312.236Y38.B90.C180.G43Z40.H2M8Z-290.236G81G98X-312.236Y38.Z-310.736R-270.236F1688.39G80G0Z-270.236
(OPERATION 24:)
(TOOL 2: 2. DIA.)
(CS#8
-.)G90G0X-312.236Y38.B90.C180.Z-290.236G81G98X-312.236Y38.Z-310.736R-270.236F1688.39G80G0Z-270.236M9G91G28Z0.G90G0X0.Y0.M5G91G28Y0.B0.C0.G90M30
%