Применение методик '5S' при проектировании оснащения АО 'ВОМЗ'

  • Вид работы:
    Дипломная (ВКР)
  • Предмет:
    Другое
  • Язык:
    Русский
    ,
    Формат файла:
    MS Word
    1,49 Мб
  • Опубликовано:
    2017-08-12
Вы можете узнать стоимость помощи в написании студенческой работы.
Помощь в написании работы, которую точно примут!

Применение методик '5S' при проектировании оснащения АО 'ВОМЗ'

СОДЕРЖАНИЕ

ВВЕДЕНИЕ

. ОБЗОР ТЕМЫ ПО ЛИТЕРАТУРНЫМ ИСТОЧНИКАМ

.1 Понятие «Бережливое производство», методы системы «5S». История возникновения, области применения

.2 Преимущества внедрения «5S» на предприятии

.3 Примеры отечественных предприятий и организаций, использующих принципы бережливого производства

.4 Виды и методы контроля качества продукции на предприятии

.4.1 Методы, применяемые для контроля качества применяемого инструмента

2. АНАЛИЗ ЗАДАЧ ПРОЕКТИРОВАНИЯ ТЕХНОЛОГИЧЕСКОЙ ОСНАСТКИ И РЕЖУЩЕГО ИНСТРУМЕНТА

2.1 Проектирование твердосплавных концевых фрез

.2 Проектирование станочных приспособлений

. РАЗРАБОТКА МЕТОДИК УСКОРЕННОГО ПРОЕКТИРОВАНИЯ ТЕХНОЛОГИЧЕСКОЙ ОСНАСТКИ И РЕЖУЩЕГО ИНСТРУМЕНТА

.1 Разработка системы интерактивных электронных каталогов

.2 Принцип работы с каталогами

. РЕАЛИЗАЦИЯ ПРОЦЕССА ПРОЕКТИРОВАНИЯ ОСНАЩЕНИЯ С ПРИМЕНЕНИЕМ ЭЛЕКТРОННЫХ КАТАЛОГОВ

.1 Пример реализации процесса проектирования оснащения с применением электронных каталогов

.1.1 Проектирование твердосплавной концевой фрезы с применением каталогов оснащения

.2 Технология применения фрезы при обработке детали «Кулачок»

. ОПЫТ РЕАЛИЗАЦИИ ПРИМЕНЕНИЯ «5S» В ПРОЦЕССЕ ПРОЕКТИРОВАНИЯ ОСНАСТКИ «АО ВОМЗ»

ЗАКЛЮЧЕНИЕ

СПИСОК ИСПОЛЬЗОВАННЫХ ИСТОЧНИКОВ

ПРИЛОЖЕНИЕ 1. Чертеж концевой фрезы

ПРИЛОЖЕНИЕ 2. Операционный эскиз из технологического процесса по изготовлению детали «Кулачок»

ПРИЛОЖЕНИЕ 3. Операционный эскиз из технологического процесса по изготовлению детали «Кулачок

ВВЕДЕНИЕ

В современных условиях глобальной конкуренции и потребности в постоянном совершенствовании, модернизации выпускаемой продукции и применяемых материалов все отрасли, в том числе и машиностроение, нуждаются в использовании современных методик управления и организации производственного процесса.

Эти методики обычно и чаще всего содержат снижение затрат, увеличение объема производства и номенклатуры выпускаемой продукции, а так же, повышение гибкости. Важно помнить о том, что выявление причин неэффективности компании на уровне отдельных операций даёт возможность сократить или устранить затраты на выполнение операций, которые не создают добавленной ценности в процессе движения товаров - от закупок до отгрузки.

В подавляющем большинстве компаний, что являются мировыми лидерами индустрии в своих отраслях, моделью, которая опирается на конкурентную среду и ориентирована на создание инноваций, признана производственная система на основе принципов Кайдзен («Бережливое производство» или же «5S»), Tоyоtа, Fоrd, Bоеing, Аirbus, GЕ, Scаniа, Аlcоа, Хеrох, Lеnоvо, Fiаt и др [1].

В мировом машиностроении сегодня практически повсеместно основой корпоративной философии лидеров являются эти принципы.

Главная цель методик бережливого производства полностью состоит из повышения операционной эффективности. Основная особенность инструментов «Бережливого производства» в основном заключается в том, что они не противоречат глобальной организационной структуре предприятия и не изменяют её.

Рассматриваемый объект данной выпускной работы - проектирование и изготовление режущего инструмента, специальных станочных приспособлений, технологической тары для транспортировки деталей внутри подразделений предприятия.

Предмет исследования: разработка основных положений комплексного подхода к организации процесса проектирования режущего инструмента и станочного оборудования (оснащения), что в последствии, позволит минимизировать затраты по подбору необходимого оснащения для дальнейшего технологического процесса на машиностроительном предприятии.

Цель работы: повышение эффективности проектирования, производства и применения фрезерного инструмента, технологической тары, а также станочного оснащения в рамках машиностроительного производства.

Основные задачи, поставленные в ходе изучения проблематики вопроса:

)        Разработка методики проектирования.

)        Отработка методики.

)        Создание системы электронных каталогов имеющегося оснащения, режущего инструмента (Р.И), тары.

В диссертационной работе рассмотрены методы оптимизации процесса проектирования станочного оснащения и режущего инструмента, (на примере проектирования и применения концевой фрезы), что, в свою очередь, позволяет сократить время проектирования оснащения, а также повысить качество изготавливаемых деталей, снизить износ инструмента и станка, на котором планируется использование инструмента.

. ОБЗОР ТЕМЫ ПО ЛИТЕРАТУРНЫМ ИСТОЧНИКАМ

1.1    Понятие «Бережливое производство», методы системы «5S, области применения

«Бережливое производство» - концепция по управлению производственным процессом предприятия, которая основывается на стремлении к устранению всех видов потерь. Данная концепция предполагает максимально ориентироваться на потребителя и привлекать к процессу оптимизации бизнеса (производства) каждого сотрудника.

Концепция возникла в качестве интерпретации идей производственной системы компании Tоyоtа[2] и изначально является разработкой американских исследователей.

Ранее «Бережливое производство» применялось только на автомобильных заводах[3], но с течением времени подход был адаптирован и к условиям других отраслей. Сейчас в списке компаний применяющих «Бережливое производство», можно встретить не только промышленные, крупные предприятия, но и небольшие предприятия и организации сферы услуг, банки, службы доставки.

Графически системы можно изобразить следующим образом, рисунок 1.1:

Рисунок 1.1 Графическое изображение систем «Бережливого производства»

Применение систем «Бережливого производства» можно наблюдать в следующих областях деятельности:

·              логистика. (В этой сфере «Бережливое производство» стало называться «Бережливая логистика»);

·              банковские услуги;

·              маркетинг и торговля;

·              информационные технологии. (В этом направлении систему называют Бережливая разработка программного обеспечения);

·              строительство. (Систему бережливого производства здесь принято называть «Бережливое строительство»);

·              образование;

·              медицинские услуги. (В данной сфере систему называют Бережливое здравоохранение);

·              добыча полезных ископаемых (газ и нефть).

·              домовые управления (ТСЖ)

·              охрана безопасности

В каждой из применяемых сфер подход «Бережливого производства», требует некоторой модернизации и доработок под конкретные условия.

Несмотря на это, применение данной концепции в любой организации позволяет добиться значительного повышения рабочей эффективности и сокращения потерь всех видов.

Таблица 1.1 содержит в себе перечень отличительных особенностей компаний, расположенных по всему миру, которые были выявлены в результате наблюдения за процессами внедрения «Бережливого производства».

Каждая из представленных компаний использует собственный, необходимый набор инструментов, они отличаются друг от друга названием и некоторыми деталями, но в остальном сходы друг с другом[4]. В дальнейшем информация об этих инструментах становится составляющей операционной системы, и носит уникальное название компании, в которой данные инструменты используются.

Таблица 1.1 - Индивидуальные особенности компаний применяющие «5S»

Страна

Внедряемые Инструменты

Название индивидуальной системы

Бразилия

"Kаiеzеn", "(точнововремя)"Just-in-timе", "TQM, "ISО-9000"

«FiаtSuррliеrSimрlе»

Германия

(точнововремя)"«Just-in-timе», «Just-in-sеquеncе "dеlivеry tо рrоductiоn linеs», flоwcеhаrts, "schеdulеs еmеrgеncy" "рlаns реr businеss/custоmеr".

«VоlvоРrоductiоn Systеm»

Канада

(точнововремя)"Just-in-timе"

«CаnаdiаnАutоmоtivе Рrоductiоn»

КНР

"Kаiеzеn", система менеджмента Качества(СМК), "ISО 9001 версии2008, Kаiеzеn, "5S", "SMЕD", "ТРМ", "Kаnbаn".

Lеаn Рrоjеct DеlivеryTM Systеm, Flехiblе Mаnufаcturing Systеm

Северная Америка

"рullsystеm, "Визуальное управление", "стандартизация работы и безопасности", "kаiеzеn", "LеаnMаnufаcturing" +6 Sigmа

Lеаn Рrоjеct DеlivеryTM Systеm, Flехiblе Mаnufаcturing Systеm

Швеция

"TоtаlQuаlityMаnаgеmеnt", "ISО 9000:версия2000", "Just-in-timе",

Mоdеl fоr аn еffеctivе suррliеr - buyеr rеlаtiоnshiр

Япония

Kаizеn, Kаnbаn, Hаndling circlеs, visuаl, mаnаgеmеnt, stаndаrdizе wоrk, TРM, система 5S, Just-intimе,TQM

Tоyоtа Рrоductiоn Systеm, Hоndа Рrоductiоn Systеm аndеtc.


1.2 Преимущества внедрения «5S» на предприятии

Исходя из сказанного выше, можно сделать следующие выводы о преимуществах внедрений системы «5S».В целом, они перечислены в таблице ниже (1.2) и состоят из семи наиболее ярко выраженных свойств: отсутствие переналадок, отсутствие дефектов, отсутствие отходов, отсутствие задержек, отсутствие травм на производстве, безаварийность производства, отсутствие всевозможных жалоб и претензий.

Таблица 1.2 - Плюсы применения «5S» на предприятии

Результат «Бережливого производства»

+ Для предприятия

1

Отсутствие переналадок

Диверсификация продукции

2

Отсутствие дефектов

Рост качества продукции

3

Отсутствие отходов

Снижение затрат

4

Отсутствие задержек

Надежность поставок

5

Отсутствие травм на производстве

Улучшений условий труда

6

Отсутствие аварийности

Бесперебойная работа оборудования

7

Отсутствие жалоб

Лояльность потребителя


Рассмотрим подробнее каждое из перечисленных преимуществ:

Преимущество 1

Чтобы оставаться на высоком, конкурентоспособным уровне, компании должны сократить время, требуемое для перехода к выпуску новой продукции, до минимальных значений. Затем в рамках организации (или предприятия) необходимо увеличить частоту переналадки производства и более плавно и беспроблемно переходить к конверсии (диверсификации, либо же смене) основной продукции. Применение системы «5S» поможет значительно уменьшить время перехода к выпуску другой продукции за счет значительного облегчения процесса поиска необходимых средств, и повышения общей эффективности деятельности[5].

Преимущество 2

Причин возникновения дефектов и брака может быть огромное множество, к примеру, из-за того, что при производстве были использованы неподходящие детали, заготовки либо же шаблоны. Мероприятия по сортировке и приемы рационального хранения помогают предотвратить подобные неполадки. Содержание оборудования в чистоте помогает снизить процент сбоев в работе оборудования и в дополнении, способствует быстрой переналадке. При сложении этих и других факторов мы делаем вывод о том, что это позволяет, уменьшить количество дефектов и процент брака любого рода.

Преимущество 3

Заводы и офисы по истечении определенного времени зачастую превращаются в полигоны для хранения различных отходов производства.

Внедрение и использование системы «5S» помогает справиться со следующими проблемами:

переизбыток запасов, требуемых для текущих работ, и складских запасов;

нерациональное использование слишком больших складов и других помещений для хранения;

временные потери, потраченные на ожидание оборудования и транспорта для ресурсов передвижения;

временные затраты на поиски нужных предметов, инструментов, заготовок;

потери при передвижении, проявляют себя, когда рабочим приходится затрачивать время на лишние движения из-за неправильного расположения оборудования и материалов.

Преимущество 4

На заводах, где не внедрена система «5S», часто выпускают продукцию с дефектами вне зависимости от того, какие методы применяются для их устранения. В то время как рабочие исправляют мелкие дефекты и более крупный брак, сроки поставок срываются, происходят ненужные конфликты и прочие неприятные последствия. В ситуациях, когда приходится исправлять слишком много дефектов и неполадок, трудно соблюдать заранее оговоренные сроки. Если эти проблемы ликвидировать, поставки будут совершаться точнее и быстрее[6].

Преимущество 5

В ситуациях, когда в производственной зоне цеха проходы заставлены ящиками с деталями, а заготовки свалены в кучу в зоне хранения или транспортировки, практически невозможно избежать травмоопасных ситуаций и повреждений продукции.

Преимущество 6

Если повседневная деятельность сопровождается регулярной уборкой рабочей зоны, операторы чаще замечают проблемы, способные привести к сбою оборудования. В таком случае оборудование наиболее подготовлено к эксплуатации. Чистое оборудование, которое хорошо, а главное вовремя и качественно обслуживается, выходит из строя реже, в нём быстрее выявляются неполадки, а в случае сбоя его намного проще ремонтировать.

Рекомендуется ежедневно, в конце либо начале рабочей смены уделять несколько минут мониторингу и клинингу рабочего пространства.

Преимущество 7

На заводах, которые внедрили систему «5S», практически не бывает дефектов продукции и срывов планов производства. Это означает, что у потребителей нет нареканий на качество поставок продукции.

Исследователи и руководители компаний заинтересованы в области применения концепции «Бережливого производства», а именно в консолидации данных и выявлении технологических особенностей внедрения инструментов и методов «Бережливого производства» вследствие анализа опыта отечественных и зарубежных компаний.

1.3 Примеры отечественных предприятий и организаций, использующих принципы «Бережливого производства»

С 2004 г. практика применения «5S»опробована и на территории Российской Федерации. Множество отечественных предприятий, включая «РУСАЛ», Группу «ГАЗ, КАМАЗ», холдинг «ТЕХНОНИКОЛЬ», кондитерская компания «Большевик», управляющая компания «СТАТУС», «Лидер» - является ведущим производителем электрических предпусковых подогревателей для двигателей, «Заволжский моторный завод», «Винзилинский завод керамических материалов», «Производственное объединение «Елабужский автомобильный завод», «Производственное объединение «Завод имени Серго», «Казанское моторостроительное производственное объединение», «Казанское авиационное производственное объединение имени С.П. Горбунова», «АКОМ» - производство и продажа аккумуляторных батарей, и другие компании. Стоит отметить, что, пожалуй, каждый гражданин нашей страны столкнулся с применением «5S»

Примечательно то, что в 2008 году, во всех отделениях «Сбербанка» для повышения операционной эффективности запущена программа по использованию принципов и инструментов «Бережливого производства».

Перечисленные организации на сегодняшний день не только приступили к построению таких производственных систем, но и достигли реальных результатов и являются ведущими игроками в своих сферах деятельности.

Рассмотрим подробнее наиболее «яркие примеры» компании и предприятия:

ОАО «Завод «Сарансккабель»

С 2007 года коллектив ОАО «Завод «Сарансккабель» успешно перенял наработки по принципам «Бережливого производства» японской фирмы «Тойота».

Опыт этой фирмы и других западных производителей показывает, что «Бережливое производство» позволяет добиваться больших результатов с наименьшими затратами. Заинтересованность руководства компании кВ западной системе объясняется еще и тем, что многие меры, составляющие основные принципы бережливого производства, на предприятии уже начали внедряться независимо от принципов «Тойоты». Например, давно и успешно внедряется то, что касается культуры производства. Японцы именно с нее начинали, и считают, что культура производства - это самое главное, основа системы.

На «Сарансккабеле» многое делается, ля того, что бы не отставать от достижений азиатских коллег. Всеобщий контроль и уход за оборудованием, включающий регулярные санитарные часы, технические осмотры и обслуживание, своевременный ремонт давно осуществляются на предприятии.

Большая доля внимания всегда уделяется и организации рабочего места: каждая заготовка, деталь, каждый инструмент должны находиться всегда под рукой и лежать в строго определенном порядке.

В целом работа предприятия строится полностью под потребителя, учитывает все его пожелания, выявляет то, чем он недоволен, после чего производятся своевременные корректировки. Для этого проводятся социальные опросы как внутри предприятия, среди различных служб, которые выдвигают свои предложения по улучшению работы, так и среди заказчиков и потребителей, посещающих завод.

Следует отметить, что «Бережливое производство», дающее ощутимые результаты, - это усердная работа каждого члена коллектива и каждой службы[7]. Кропотливый труд отдела маркетинга является одним из самых важных. Он не только должен обеспечить цеха заказами, но и выгодно продать готовую продукцию. Концепция бережливого производства подразумевает совершенно иной порядок ценообразования. Конечная цена товара - это та цена, которую готов заплатить за него потребитель. Из этого и должны исходить все посылы работы - уложить в эту сумму все издержки и запланированную прибыль. Система бережливого производств позволяет без особых дополнительных затрат в 2 раза повысить общую производительность труда, на 90% сократить время выпуска продукции и уровень запаса. Она позволяет изготавливать больше с меньшими затратами, в то же время постоянно двигаясь к тому, чтобы предоставить потребителю именно то, чего он хочет. Говоря о практике внедрения принципов бережливого производства, о том, что в этом смысле организована большая работа по пропаганде ценностей японского учения и главных его направлений.

Заводская библиотека регулярно проводит образовательные семинары и знакомит работников с теоретической базой, с коллективами цехов проводятся собрания, где разъясняется важность соблюдения и внедрения «Бережливого производства» на предприятии. Важный момент под номером 2 - технологический. Многое зависит от состояния оборудования, его производительности и проделанной работы. Оборудование необходимо загрузить так, чтобы было меньше переходов на другие сечения. Экономии способствует и то, что в цехах научились неплохо перерабатывать вторичные материалы производства. В частности, из отходов полиэтилена, в виде скопившихся спрессованных кубов нарезаются «жгутики», которые затем дробятся на гранулы средней фракции и вновь используются в производстве при нанесении внутренней оболочки каналов. По такому же принципу перерабатываются и все отходы пластиката. Важным управленческим аспектом является комплексная программа направленная на улучшения работы по всем направлениям.

В рамках реализации политики руководства ОАО «Завод «Сарансккабель» в области «Кайдзен»и применения инструментов «Кайдзен» согласно «Плану организационных мероприятий по внедрению стратегии Кайдзен в ОАО «Завод»Сарансккабель» создан ряд Кайдзен - команд ОАО «Завод «Сарансккабель»

На предприятии «Сарансккабель» руководством созданы кайдзен-команды различных уровней - от бригадных и цеховых, до кайдзен-команды заместителей генерального директора. Для каждой из них определен свой участок работы, своя программа действий, но в итоге общие усилия направлены на повышение эффективности работы всего предприятия.

Каждая из существующих кайдзен-команд ежемесячно отчитывается о проделанной работе перед руководством и постоянно разрабатывает предложения по улучшению своей деятельности.

Структура «Кайдзен - команд» основанных на территории предприятия «Сарансккабель» показана на рисунке1.2 в виде производственной схемы.

В каждом из существующих подразделений компании разработаны планы мероприятий по внедрению системы «5S».Наиболее существенны результаты внедрения системы «5S» в цехе по производству установочных проводов.

Каждое из подразделений стремится догнать лидера, создается здоровая конкуренция.

Реализация мероприятий, разработанных производственным цехом № 1 в 2007 году, позволила получить экономию в размере 254600 руб./месяц (за период с сентября по декабрь 2007 года), всего 1018,4 тыс. рублей.

Рисунок 1.2 - Структура «Кайдзен - команд» ОАО «Завод «Сарансккабель»

Применение инструментов Кайдзен осуществляется достаточно успешно и на других предприятиях ассоциации «Электрокабель».

ОАО «КАМАЗ»

На КАМАЗе успешно запущен проект «Маяк» - система организации и управления производством по технологиям «Бережливого производства» - совместный проект КАМАЗ и Dаimlеr. Внедрение проекта «Маяк» на главном сборочном конвейере только на одной линии увеличил объёмы выпуска автомобилей до 48 тысяч единиц в год при работе в две смены.

В рамках реализации с 2006 года проектов по оптимизации затрат и повышению производительности труда на «КАМАЗе» «разгружено» от «неэффективного захламления» 360 тысяч квадратных. метров. Площадей.

Полученный экономический эффект составил 16 млрд. рублей, а затраты на развитие производственной системы составили менее 1% от экономического эффекта. На территории предприятия ОАО «КамАЗ» подобно заводу «Сарансккабель» были сформированы межфункциональные рабочие группы, охватывающие все подразделения и технологические цепочки - от выдачи конечной продукции до отделов по закупке сырья. В задачу «сквозной» бригады входит мониторинг и выявление неиспользованных резервов, и устранение потерь на своем направлении.

Отчеты-результаты анализа по решению выявленных несоответствий на конвейере, позволили сделать поток непрерывным, что в значительной степени помогло разгрузить рабочих, оптимизировать производственную линию, сократить производственный цикл.

ОАО «Елабужский автомобильный завод».

На «ЕлАЗе» в рамках внедрения «Бережливого производства» было обучено более тысячи сотрудников, подготовлено 37 внутрикорпоративных тренеров. Создано 11 эталонных участков, внедрено около 2 тысяч предложений на улучшение, реализовано 180 проектов. Экономическая эффективность ресурсосбережения составила более 290 млн. рублей.

ОАО «Казанское моторостроительное производственное объединение»

Внедрение инструментов «Бережливого производства» на пробном участке предприятия позволило в 2 раза сократить количество применяемых операций, дальность перемещения в пределах производственного объединения - в 22 раза, полный производственный цикл обработки детали - в 4 раза.

Российский производственный холдинг «ТЕХНОНИКОЛЬ»

Основной номенклатурой выпускаемой холдингом является производство кровельных, гидроизоляционных и теплоизоляционных материалов. Холдинг, работающий в отрасли стройматериалов с 1992 года, состоит из сорока девяти предприятий находящихся на территории России, Украины, Белоруссии, Чехии, Италии, Литве. Помимо сети представительств и торговых сетей «Технониколь» имеет собственные научные центры. Общая численность сотрудников холдинга составляет около 6500 человек.

Каждый год, на протяжении десяти лет, на предприятиях холдинга реализуется более двух тысяч предложений по улучшению производственных процессов. Они поступают, как и от инженерно-технических работников, так и со стороны рабочих. Данные предложения могут являться «прорывными / инновационными» принося холдингу существенную выгоду. К примеру:

Совершенствование процессов переналадки производственной линии проводимое в период с 2010 по 2013годы, привело к сокращению времени перехода с одного вида продукции на другой на 60 процентов.

Экономический эффект этих мероприятий составляет 150 млн. рублей в год.

С помощью построения системы ТРМ (эксплуатация и обслуживание оборудования) на заводах холдинга добились снижения времени внеплановых простоев оборудования на 25 процентов.

1.4 Виды и методы контроля качества продукции на предприятии

Одной из важнейших частей производственного процесса является контроль качества производимой продукции. Внедрение и применение систем «Бережливого производства» так же оказывает огромное влияние на работу отделов обеспечивающих контроль качества выпускаемой продукции.

Контроль предусматривает и подразумевает своим присутствием проверку продукции на начальном этапе производственного процесса и в период эксплуатационного обслуживания, обеспечивая в случае отклонения от регламентированных требований качества, принятие мер по корректировке, направленных на производство качественной продукции, надлежащее техническое обслуживание во время эксплуатации и полное удовлетворение требований заказчиков[12].В общем, контроль продукции включает в себя такие меры на месте её производства и в условиях её эксплуатации, в результате которых допущенные отклонения от нормы требуемого уровня качества могут быть исправлены еще до того, как будет выпущена продукция с дефектами или не соответствующая техническим требованиям.

Дефицит или некомпетентность контроля в процессе изготовления серийной продукции приведет к появлению материальных трудностей и в конечном итоге приведет к дополнительным издержкам. Контроль качества включает:

Входной контроль - осмотр качества поступившего сырья, вспомогательных и основных материалов, полуфабрикатов, комплектующих, инструментов, которые поступают на склады предприятия;

Пооперационный производственный контроль за соблюдением технологического режима, установленного на предприятии, а иногда и межоперационную приемку продукции;

Систематический контроль за состоянием машин, оборудования, режущих, измерительных инструментов, различных средств измерения, контрольно-измерительных приборов, а так же штампов, моделей испытательной аппаратуры и весового хозяйства, новых и находящихся в эксплуатации приспособлений. Контролируются так же и условия производства, транспортировка изделий и т.д.;

Контроль опытных образцов и моделей;

Контроль готовой продукции (деталей, малых сборочных единиц, подузлов, узлов, блоков и изделий).

Стимулировать качество можно следующими способами:

.        разработать документацию, отражающую методы и средства для мотивации в области обеспечения качества продукции;

.        разработать положения о поощрении работников на предприятии за качество выполненной работы (вместе с отделом организации заработной платы и труда);

Повышение квалификации и обучение всего персонала.

Один из типов контроля качества - это процедура проверки, а затем испытания готовой продукции. Испытания готовой продукции представляет из себя процесс наблюдения или исследования одной или нескольких характеристик продукции под воздействием совокупности физико-химических, природных и эксплуатационных условий и факторов.

Испытания проводят по соответствующим программам. Существуют следующие основные виды испытаний, в зависимости от целей:

.        предварительные - это испытания опытных образцов. необходимые, для того чтобы определить возможности приемочных испытаний;

.        приемочные - это испытания опытных образцов с целью определения возможности их запуска в производство;

.        приемосдаточные - это испытания каждого изделия, которые проводят, чтобы определить возможности его поставки заказчику;

.        периодические - это испытания, приводящиеся один раз в 3 - 5 лет. Они служат для проверки стабильности производства;

.        типовые - это испытания серийных изделий после того, как были внесены существенные изменения в конструкцию или технологию.

На некоторых предприятиях меры контроля продукции охватывают весь цикл серийного производства. В течение цикла закупленные материалы и элементы превращаются, переходят от одного процесса к другому, в готовый продукт. Однако, на предприятиях, которые работают в области обработки деталей, эти меры могут охватить только часть всего цикла, которая связанна с обработкой элементов. На иных предприятиях контроль продукции ограничивается контролем процесса сборки. Однако, во всех случаях контроль сопряжён с упорядоченным потоком материалов и деталей, которые подлежат обработке. Здесь выделяются следующие стадии:

. Получение заказа на изделие (деталь или сборку), материал.

. Исследование требований заказчика и планирование шагов, которые потребуется сделать для выполнения задачи, рациональное распределение имеющихся ресурсов технологического оборудования и инструментов для контроля.

. Передача в производство данного заказа.

. Контроль материала во время его изготовления.

.Одобрение продукции.

. Проверка качества продукции и оценка полученных результатов.

. Упаковка и последующая доставка продукции заказчику.

Меры, которые принимаются для контроля продукции на протяжении этих семи стадий, можно разделить на две следующие группы:

.        Меры по установке и поддержанию производственных стандартов

.        Меры по контролю материала в период серийного производства

Среди разнообразных форм и видов контроля качества продукции выделяются следующие виды контрольных операций:

В классификации по стадиям жизненного цикла изделия существует

контроль:

·        проектирования новых изделий;

·        производства, реализации продукции;

·        эксплуатации или потребления.

Классификация по объектам контроля. Контролю подвергаются:

·        предметы труда;

·        средства производства;

·        применяемые технологии;

·        трудно исполнителям;

·        условия труда.

Классификация по стадиям процесса производства:

·        входной контроль, создан для проверки качества полуфабриката, материала, инструмента и приспособлений до того, как начнётся производство;

·        промежуточный контроль, который выполняется по ходу выполнение операций технологического процесса (пооперационный);

·        контроль при приёмке, применяемый к заготовкам, деталям, сборками и готовым изделиям;

·        контроль при транспортировке и хранении продукции.

Контроль классифицируется по степени охвата продукции:

Сплошной контроль, который выполняется при охвате всей предъявляемой продукции. Данный вид контроля применяется в случае:

·        ненадежности качества поставляемого полуфабриката, материала, заготовок, деталей, сборок;

·        когда специфика техпроцесса или применяемое оборудование не обеспечивают стабильность качества изделий;

·        при сборке, когда отсутствует взаимозаменяемость;

·        после операций, в итоге которых определённая степень качества играет важную роль для последующей обработки или сборки;

·        после операций с вероятным большим процентом брака;

·        при испытании изделий с особым назначением;

Выборочный контроль, который осуществляется не над всей партией продукции, а только над выборкой нескольких, используется в случаях, когда:

·        большой объём одинаковых деталей;

·        если присутствует устойчивость техпроцесса;

·        после второстепенных операций.

По месту выполнения:

Стационарный контроль, который выполняется в стационарных контрольных пунктах. Контрольные пункты принято создавать в следующем ряде случаев:

·        требуется проверка огромного количества одинаковых объектов, которые требуют пунктов для контроля и наличия в них специального оборудования (сложная измерительная аппаратура);

·        требуется включение в работу специального стационарного контрольного пункта в поток завершающих операций процесса производства;

Скользящий контроль, проводящийся напрямую на рабочем месте в следующих случаях:

·        при контроле крупногабаритных или имеющих большой вес изделий, сложных для транспортировки;

·        при изготовлении малой партии изделий;

·        если есть возможность применения простых контрольно-измерительных инструментов, либо приборов.

По временному фактору контроль делится на два типа:

·        Непрерывный;

·        Периодический.

По форме организации выявления и предупреждения брака различают:

·        «летучий» контроль, который выполняется контролёром без четко назначенного времени при систематическом обходе рабочих мест, закрепленных за ним;

·        кольцевой контроль, суть которого в том, что за контролёром закрепляется некоторое количество рабочих мест, которые он обходит по очереди периодически в соответствии с назначенным для этого временем, причем продукция контролируется на месте, где была изготовлена;

Статистический контроль - это форма периодического контроля выборки. Он основывается статистических методах и помогает обнаружить и ликвидировать отклонения от требуемого хода техпроцесса раньше, чем они приведут к браку.

Текущий контроль, который выполняется с целью предупреждения брака во время обработки. В контроле содержатся следующие действия:

·        проверка первых экземпляров изделий;

·        слежение за соблюдением технологических режимов;

·        проверка поступающих в производство материала, инструмента, оснастки и др.

Контроль, который влияет на последующее решение использовать ли продукцию:

·        Разрушающий контроль;

·        Неразрушающий контроль.

По степени внедрения в процесс контроля механизмов или автоматики:

·        Ручной контроль;

·        Механизированный контроль;

·        Автоматизированный контроль;

·        Автоматический контроль;

·        Активный и пассивный контроль.

По исполнителям:

·        Самоконтроль;

·        Контроль мастеров;

·        Контроль ОТК

·        Инспекционный контроль;

·        Одноступенчатый контроль (исполнителя плюс приемка ОТК);

Многоступенчатый контроль (исполнительский контроль, а так же операционный, специальный, и приемочный).

Градация контроля по используемым средствам:

·        Измерительный контроль, который применяют для оценивания значения контролируемого параметра изделия: по конкретному значению (задействуются приборы шкальные, индикаторные, циферблатные и др.) и по допускаемой шкале значений параметров (применяются шаблоны, калибры и т.п.);

·        Регистрационный контроль, осуществляют чтобы оценить объект контроля, основываясь на результатах подсчета (регистрируются определенные качественные признаки, события, изделия);

·        Органолептический контроль, который осуществляется при задействовании только органов чувств;

·        Визуальный контроль - относится к вышеупомянутому, контроль производится только с участием органов зрения;

·        Контроль по образцу, при котором сравниваются признаки изделия, подвергаемого контролю, с признаками контрольного образца (эталона);

·        Технический осмотр, который осуществляется по большей части с помощью органов чувств, иногда с привлечением простейших средств контроля.

Методы технического контроля зависят от специфики каждого участка производства и объекта контроля.

В этом направление принято разделять на следующие типы: фактический зрительный осмотр, позволяющий выявить отсутствие или наличие дефектов на открытых поверхностях;

В правильности формы и точном соблюдении заданных по КД размерах можно удостовериться с помощью замеров размеров заготовках, в материалах, деталях и сборках;

Субъекты, занимающиеся контролем качества продукции разделяются не только по типам контроля, но по уровням управления, над которыми они осуществляют свой надзор.

Проверками качества выпускаемой продукции и вместе с тем применением мер и воздействием на нарушителей на всероссийском уровне занимаются:

·        "Госстандарт России" и его региональные филиалы;

·        Органы по сертификации всех видов продукции, работ, услуг, систем качества и производств;

·        Органы по таможенному и антимонопольному надзору;

·        Судебные органы и органы Госарбитража;

·        Комиссии целиком состоящие из местных органов власти.

Контроль качества продукции на уровне отдельных отраслей и ступени предприятий в соответствии с предопределенными заранее обязанностями и наделенными особыми полномочиями производят нижеперечисленные структуры:

·        Министр и штат его помощников-заместителей;

·        Главные инспекции, регулирующие качество работы министерств;

·        Подразделения, созданные для надзора за качеством разработок в разных отраслевых организациях;

·        Испытательные центры отдельной индустрии;

·        Ген. директора, главные инженеры предприятий индустрии;

·        Подразделения по контролю над качеством и актуальность нормативно-технической и конструкторской внутризаводской документации;

·        Разработчики новых конструкторских и технологических разработок (изобретатели), в последствии направленных в производство;

·        ОТК на предприятиях и их подструктуры и прочие дочерние ветви;

·        Цеховые бюро технического контроля находящиеся непосредственно на территории участков;

·        Рабочие группы контролеров ОТК;

·        Контролеры ОТК высшей степени с личным клеймом;

·        Лаборатории исследования и измерения, станции контрольных испытаний, подразделения служб главного конструктора, главного металлурга, главного технолога, главного инженера, главного уборщика, главного повара, главного охранника, главного механика, главного метролога, главного бухгалтера, мастера над монетой, материально-технического снабжения, сбыта, юридический, финансовый и др.;

·        Мастер (главный мастер);

·        Бригадир;

·        Заместитель бригадира, старший станочник;

·        Рабочий занятый производственными операциями, в которых подразумевается самоконтроль (допуск при наличии лично клейма);

·        Исполнитель производственных операций, чья работа не предусматривает самоконтроль (без личного клейма);

В связи со строго разграниченными предоставленными полномочиями и действующего законодательства Российской Федерации, межведомственный контроль, направленный на повышение и соблюдение качества продукции имеют право осуществлять:

·        Органы Госторгинспекции, которые контролируют подразделения торговых, снабженческих, сбытовых и других организаций

·        Заказчик (представитель заказчика на предприятиях изготовителях);

·        Конечный потребитель (общества, ассоциации, союзы потребителей и т.п.).

Каждому из названных субъектов контроля соответствует свой, конкретный, вид контроля качества, отличающийся от других видов следующими признаками:

Основные направления и конкретные задачи проверок:

·        Имеющиеся средства и методы осуществления контроля качества выпускаемой продукции (работ, услуг);

·        Дата, время и место, предназначенные для проведения контроля;

·        Степень понимания сути явлений и охвата всей совокупности факторов и причин, так или иначе влияющих на качество производимой продукции (работ, услуг);

·        Процент консолидации результатов проверок;

·        Совокупность рычагов воздействия на объект контроля;

Лабораторные анализы служат для определения механических, физико-химических, металлографических и других свойств деталей, материалов, заготовок;

·        Механические испытания для определения твердости, прочности и других параметров;

·        Электротермические, рентгенографические, и другие физические методы испытаний;

·        Технологические пробы, проводимые в тех случаях, когда недостаточно лабораторного анализа;

·        Контрольно-сдаточные испытания, служащие для определения заданных показателей качества;

·        Контроль, предназначенный для соблюдения "техдисциплины";

·        Изучение качества продукции в сфере напрямую потребления;

·        Методы измерения параметров деталей основанные на электрофизических свойствах;

·        Методы анализа и контроля, основанные на использовании электронных, ионных, ортонных пучков (вторичная ионная масс-спектроскопия, электронная

·        Ожеспектроскопия, электроннозондовый рентгеновский микроанализ и др.).

Для того, чтобы быть максимально эффективным, контроль должен иметь стратегическую направленность, то есть отражать общие приоритеты предприятия и поддерживать их.

Внимательно рассматривая основные виды и формы по контролю качества продукции, можно удостовериться, в его необходимости по каждом из направлений деятельности предприятия. Для того чтобы применение контроля приносило результат, он должен иметь следующие характеристики:

Своевременность контроля

Эффективный контроль всегда должен быть проведен своевременно.

Смысл подобного заявления заключается в том временном интервале между проведением измерений и оценок, который наиболее адекватно соответствует контролируемому явлению, но никак не в крайне высокой скорости или частоте его проведения.

Гибкость контроля

Любой контроль должен приспосабливаться к происходящим изменениям и быть достаточно "гибким".

1.4.1 МЕТОДЫ, применяемые для контроля качества применяемого инструмента

Качество инструмента, который поставляется инструментальными предприятиями - промышленностью в целом и цехами в частности, регламентирует государственный общесоюзный стандарт, который является техническими условиями при приёмке инструмента. Основные требования к инструменту, описанные в технических условиях, это требования к размерам и допускам, материалу, твердости, испытанию в работе, шикарности клеймения, внешнему вид и упаковке.

Низкое инструментальное качество обуславливается неправильным выбором инструментального материала, либо наличием в нем дефектов: трещин, раковин, плен, волосовин и т. п. Важно подбирать материал инструмента, ориентируясь на материал обрабатываемой детали. Для сварного инструмента в сварном шве (швах) не должно присутствовать раковин или непровара.

Качество термообработки

Качество термообработки можно контролировать прибором Роквелла (по шкале, С) замеряя твердость, которая определяется или эталонным напильником. Однако проверка по Роквеллу имеет изъян в том, что производится каждый раз лишь в одной точке, чем сильно усложняется осуществление проверки в малодоступных участках.

При помощи напильника, мы не только можем, обрабатывает готовые детали , но и задействовать его в качестве эталона твердости. Используя его при помощи метода сравнения образца с эталоном твердости. Это обеспечивает проверку в любом месте независимо от конфигурации инструмента. При помощи такого грубого средства как напильник мы имеем возможность проверки твердости не в конкретной точке, а на участке любой из возможных длин лезвия. Главным преимуществом напильника является быстрота процесса проверки. Однако применение его требует определенного навыка со стороны проверяющего.

Инструментальная твердость

Инструментальная твердость зависит от структуры режущего материала и термической обработки, которой он подвергался. Инструменты из быстрорежущей стали, к примеру, имеют следующие единицы твердости НRС 62 - 65 единиц, в независимости от подтипа инструмента. Для мелких инструментов твердость вполне законно может быть понижена на 1-2 единицы. Для инструментов из углеродистой и легированной стали твердость составляет HRC 59 - 62 единиц. Хвостовики концевых инструментов, корпуса сборных инструментов принято изготавливать с твердостью НRС 30 - 40 единиц.

Инструмент должен быть осмотрен со всех сторон. На нем не должно находиться заусенцев, забоин, зазубрин, дробления, выкрошенных мест, следов ржавчины, коррозии.

Части, которые неотшлифованы, следует обработать "начисто" и обеспечить коррозионную стойкость.

Дабы облегчить удаление стружки канавкам следует быть вычищенными и гладкими, а для некоторых инструментов их нужно полировать (например, у сверл из быстрорежущей стали и др.).

Центровые отверстия допускаются обработанными и зачищенными, не допускаются забоины и разработанные места. Ответственные инструменты, например, метчики со шлифованной резьбой, чистовые развертки и друге должны иметь центровые отверстия, подверженные зачистке после термообработки.

Непосадочные торцы, например концевого инструмента, требуется чисто обрабатывать резцом или зачистить шлифовальным кругом.

Чтобы избежать налипания стружки и загрязнения инструмент обязательно нужно размагничивать после шлифовки на магнитном столе или в магнитном патроне (например, круглые плашки, резцы, зубья сборных инструментов, зуборезные резцы и гребенки и т. д.).

Шпоночные канавки тщательно обрабатываются и должны иметь закругления по углам. При отсутствии закруглений по углам появляются трещины при термической обработке. Зубья затылованных нешлифованных фрез должны быть обработаны, без рисок, следов дробления, неровностей, следов несвоевременного входа или выхода резца при затыловании. Острые кромки на нережущих поверхностях должны быть закруглены или снабжены фасками, например по наружной окружности и у отверстий насадного инструмента, на шпоночных канавках, торцах концевого инструмента и т. п.

На всех шлифованных и заточенных поверхностях инструмента не должно быть черновин, поджогов или цветов побежалости. Режущие кромки должны быть острыми, без завалов, зазубрин и забоин. Передние и задние поверхности следует чисто и гладко отшлифовать, а для некоторых инструментов и довести. Тщательно отшлифованы должны быть посадочные отверстия насадных инструментов, посадочные поверхности, например, торцы насадного инструмента, конические и цилиндрические хвостовики концевого инструмента и т. п. Для червячных фрез с повышенной точностью, зуборезных долбяков и шеверов отверстия подвергаются доводке.

Шероховатость рабочих поверхностей

К шероховатости поверхностей заготовок предъявляются высокие требования, так как их качество оказывает влияние на правильное сопряжение деталей, их работоспособность и усталостную прочность.

Шероховатость поверхностей обрабатываемых заготовок в основном зависит от, шероховатостей рабочих поверхностей режущего инструмента.

Качество инструментально отделки

Стойкость инструмента увеличивается в разы если улучшается качество отделки рабочих поверхностей инструмента С "доведенными" рабочими поверхностями инструмент обладает большими преимуществами по сравнению с "недоведенными". "Недоведенный" инструмент всегда имеет дефекты, расположенные на его поверхности (мелкие зазубрины, неровность краев, крошение, трещины, отклонения по размеру, риски). Заточкой довольно таки сложно устранить данные типы дефектов. В последствии, из каждого дефекта могут развиться неприятные моменты, такие как разрушения режущих кромок, вызывающими ускоренный и повышенный износ инструмента. У доведенного инструмента эти дефекты, преимущественно, устранены.

Доводка инструмента способствует получению правильной геометрической формы рабочей части инструмента, что повышает производительность и стойкость инструмента, а также качество обрабатываемой поверхности.

Нужно сделать замечание касательно того, что режущие кромки создаются в результате сопряжения друг с другом передней и задней поверхностей, следовательно, чем чище "произведены" эти поверхности, тем лучше лезвие инструмента. Более чистая и гладкая поверхность инструмента способствует снижению сил трения в процессе резания и уменьшению окисления металла, что особенно важно при высоких температурах, например при скоростном резании. Доведенный инструмент дает более равномерный и устойчивый износ рабочих поверхностей по сравнению с заточенным инструментом.

При помощи специальных приборов (микроскопы и другие средства измерения) в лабораторных условиях мы можем адекватно оценить качество обработки рабочих и нерабочих поверхностей режущих инструментов. В заводских условиях оно определяется методом сравнения с эталонами чистоты поверхности. Оценка качества поверхности определяется посредством измерения микронеровностей перпендикулярно направлению штрихов обработки. В стандартах на технические условия приведены данные по качеству поверхностей инструментов, которые должны быть соблюдены при приемке.

Требования, предъявляемые к шероховатости обрабатываемой поверхности

Проблеме повышения качества обрабатываемой поверхности требует особенного внимания. Особенно это относится к инструментам, которые предназначены для чистовых операций. В пример можно привести червячную фрезу, служащую для обработки цилиндрических зубчатых колес под шевингование. Чем больше значение подачи(S) при зубофрезеровании, тем больше становится высота "гребней" на верхнем слое обрабатываемой поверхности, следовательно, обработка с большими значениями подачи в данном случае не рекомендуется. Из формулы (3) в [33] определяющей высоту гребешков, выходит, что с уменьшением угла профиля фрезы шероховатость обрабатываемой поверхности становится лучше. Поэтому, если применять червячные фрезы с заниженным значением угла профиля (например, вместо 20° возможно принять 8-10°), можно добиться вполне достаточной для шевингования чистоты поверхности нарезанных колес.

При повышении требований к шероховатости возрастает необходимость повышения качества поверхностей режущих инструментов.

Также значение шероховатости рабочей поверхности и режущей кромки важно для инструмента и если рассматривать повышение эффективности его использования. К примеру, если дополнительно полировать стружечные канавки сверл, концевых цилиндрических фрез, метчиков и т. п. улучшается качества поверхности и вследствие инструмент работает гораздо эффективнее.

Это происходит благодаря снижению трения и лёгком удалению стружки из канавок.

Главным разделом технических условий является «Размеры и допуски». Необходимо, чтобы размеры инструмента соответствовали габаритным размерам согласно государственным общесоюзным стандартам и рабочим чертежам изготовителя или заказчика.

Технические условия

По технические условия определяется допуск на следующие элементы: 1) габаритные размеры; 2) основные размеры; 3) посадочные, опорные и установочные поверхности; 4) режущие элементы.

Отклонения габаритных размеров

Отклонения габаритных размеров обычно соответствуют отклонениям на свободные размеры. Следует обратить внимание, на то что габаритные размеры не влияют на сопряжение режущего инструмента с крепежном на станке и никак не отражается на его режущих свойствах. С этой точки зрения они как будто являются и лишними в технических условиях. Однако это не так, и их отслеживание проводится с целью того, чтобы заранее были известны требования к упаковке и транспортировке, а так же дальнейшему использованию продукции. Соблюдение этих норм поддерживает порядок в производстве и торговле.

Отклонения основных размеров

Основные размеры инструмента напрямую зависят от размеров обрабатываемой детали и требований, которые к ней предъявлены в отношении точности изготовления. С этой точки зрения некоторые инструменты, по большей части специального назначения, например зуборезные, резьбонарезные) производятся нескольких классов пли степеней точности. К основным размерам относятся:

·              Диаметр инструментов для обработки отверстий (сверл, зенкеров, разверток, метчиков);

·              угол профиля фасонного инструмента (резьбонарезного, зуборезного);

·              шаг между витками или зубьями инструмента (резьбонарезного, зуборезного);

·              модуль;

·              конусность по длине инструмента (резьбонарезной фрезы, червячной фрезы);

·              форма профиля (дисковая зуборезная фреза);

·              утонение или обратная конусность (инструментов для обработки отверстий и резьбонарезных).

Отклонения посадочных размеров

Не менее важными являются посадочные, опорные и установочные размеры, потому как они напрямую влияют на точность установки, а в последствии и на точность обработки. К таким размерам относятся:

диаметр отверстия насадного инструмента;

правильная форма его (отсутствие конусности и овальности);

перпендикулярность оси отверстия по отношению к торцам;

правильное расположение профилирующих режущих кромок по

отношению к геометрической оси инструмента (отсутствие торцового и радиального биения, биение основной и наружной окружности зубьев относительно оси, отсутствие несовпадения осей рабочей части и хвостовика концевого инструмента).

Отклонения режущих элементов

Отклонения режущих элементов встречаются в значениях углов: переднего, заднего, главного и вспомогательного в плане, а также угла наклона режущей кромки.

Завод-изготовитель является ответственным за качество и работоспособность поставляемого им инструмента и в случае рекламации (недовольства заказчика работой) обязан принять его обратно. Режущие свойства инструмента проверяются в работе. Обрабатываемым материалом служит сталь марки 40 или сталь Ст. 6 твердостьюНВ160-190.

Испытания производится на соответствующих станках, которые удовлетворяют требованиям их точности. В качестве охлаждающе-смазывающей жидкости применяют 5%по весу раствор эмульсии в воде с расходом не менее 5 л/мин. Инструмент должен либо обработать определенное количество отверстий или пройти установленную общую длину прохода (например, фрезы и др.). На условия испытаний и режимы обработки есть соответствующие стандарты.

После испытания режущие кромки не должны затупиться, выкрошиться, не допускается присутствие вмятин, инструмент должен остаться пригодным для дальнейшей обработки. Хвостовик, шейка и квадрат концевого инструмента не должны деформироваться при испытании.

Обработанная поверхность после испытания должна соответствовать требованиям, которые предъявлялись при производственной работе к данному виду инструмента в зависимости от его размера и точности изготовления.

Все поставляемые инструменты должны быть снабжены хорошо видимыми знаками маркировки, содержащую марку завода-изготовителя, режущего материала, характеристики инструмента (рабочая длина, общая длина, и т.д.). Для инструментов, которые предназначены для окончательной обработки (шеверов, долбяков, резцовых головок, протяжек и др.) указываются класс (или степень точности), год выпуска, номер обрабатываемой детали, индивидуальный номер инструмента, и, если нужно, ряд дополнительных обозначений.

Перед упаковкой каждый инструмент очищают и смазывают составом, предохраняющим от коррозии. После этого инструмент завертывается в бумагу, предохраняющую от сырости, и складывается в пачки, которые затем укладываются в деревянные ящики.

Инструменты повышенной точности (долбяки, шеверы и т. п.) упаковываются каждый в отдельную прочную коробку (из дерева, пластмассы, картона и т. п.), на которую наклеивается этикетка или ставится штамп с данными, характеризующими инструмент. В коробку, также вкладывается паспорт с указанием результатов измерения элементов инструмента.

Инструмент высокого класса точности

Инструмент, производимый инструментальными заводами, предназначен для использования на заводах общего машиностроения, для сельского хозяйства, для ремонтных цехов машиностроительных заводов.

Для заводов, выпускающих продукцию более высокого уровня, этот инструмент не удовлетворяет требованиям не только по своему качеству, но также и по конструкции и размерным допускам, хотя они и установлены стандартами (например, резьбонарезные инструменты со шлифованным профилем, зуборезные инструменты повышенной точности и т. п.). Заводы вынуждены изготовлять такой инструмент в своих инструментальных цехах.

Эти инструменты более совершенны по конструкции, более точны по размерам и более качественны по другим параметрам. Стоимость такого инструмента, конечно, намного выше нормализованного, но зато, ни исполняет свои функции, тогда как нормализованный инструмент или совсем не может быть применен, или требует серьезной доделки, что иногда и выполняется заводами-потребителями.

Таким образом, если для одних заводов вполне удовлетворяют допуски на инструмент, установленные государственными стандартами, другие требуют их ужесточения в своих нуждах, то целесообразно поставить вопрос о введении классности для инструментов. На сегодняшний день установлены классы точности лишь по малой части номенклатуры инструментов, если конкретнее то по метчикам, долбякам, червячным фрезам для зубчатых колес и шлицевых валов.

Задача повышения точности формы и размеров обрабатываемых деталей становится особенно актуальной при производстве особо точных инструментов.

Технические условия на инструмент, регламентированные в общероссийских стандартах и нормативах (ГОСТы, СТП, СТО и другие), установлены на основании технологических возможностей специализированных инструментальных заводов. Нужно отметить, что они должны быть установлены в первую очередь с учетом требований, предъявляемых к обрабатываемым заготовкам исходя из их служебного назначения, и во вторую очередь - с учетом технологии изготовления инструментов [9]. Применение такого принципа позволяет правильно установить размерные допуски без значительных отклонений в большую или меньшую сторону. С этой точки зрения необходимо подвергнуть серьезной переработке размерные допуски на весь нормализованный инструмент, включая зуборезный, резьбонарезной и для обработки отверстий.

Подводя итог обзорной части работы, можно сделать следующие выводы: в целом предприятия, идущие по пути внедрения принципов и инструментов «Бережливого производства», при минимальных вложениях добиваются следующих результатов: увеличение производительности труда - до 70%; рост качества - до 60%; высвобождение производственных площадей - до 50%; сокращение брака - в среднем на 65%; сокращение сроков реализации инвестиционных проектов - до 20%.

В дополнение, следует отметить, что в результате внедрения «Бережливого производства» изменяются психология, менталитет рабочих, инженерно-технических кадров и руководителей предприятий. В целом, радикально, меняется подход к организации и подготовке производства.

        

. АНАЛИЗ ЗАДАЧ ПРОЕКТИРОВАНИЯ ТЕХНОЛОГИЧЕСКОЙ ОСНАСТКИ И РЕЖУЩЕГО ИНСТРУМЕНТА

электронный каталог оснащение интерактивный

Режущие инструменты и приспособления (оснастка), в широком смысле, представляют собой орудия, применяемые при ручной и механической обработке различного рода материалов в машиностроении, горном деле, в деревообрабатывающей промышленности, сельском хозяйстве, в медицине, в домашнем обиходе и т. п. Режущим инструментом, в узком смысле данного термина, называется та часть металлорежущих устройств, которая непосредственно изменяет форму обрабатываемой детали.

Проектирование режущего инструмента и технологической оснастки это сложный и трудоемкий процесс, ставящий перед собой ряд конкретных задач, таких как: получение новых образцов Р.и, доработка имеющейся номенклатуры инструментов, оснащения [10]. Рассмотрим подробнее данные процессы на примерах проектирования концевых твердосплавных фрез и станочных приспособлений.

2.1    Проектирование твердосплавных концевых фрез

Фрезерование является одним из наиболее распространенных методов обработки. По уровню производительности оно в разы превосходит строгание и в условиях крупносерийного производства уступает лишь наружному протягиванию. Кинематика процесса фрезерования характеризуется быстрым вращением инструмента вокруг его оси и медленным движением подачи [11].

Многообразие операций, выполняемых на фрезерных, фрезерно-центровальных и расточных станках, обуславливает разнообразность типов, форм и размеров фрез.

Фреза́ - инструмент <https://ru.wikipedia.org/wiki/%D0%98%D0%BD%D1%81%D1%82%D1%80%D1%83%D0%BC%D0%B5%D0%BD%D1%82> с одним или несколькими режущими лезвиями (зубьями или кромками) для фрезерования <https://ru.wikipedia.org/wiki/%D0%A4%D1%80%D0%B5%D0%B7%D0%B5%D1%80%D0%BE%D0%B2%D0%B0%D0%BD%D0%B8%D0%B5>. Принято различать следующие виды фрез по геометрии (исполнению) - цилиндрические, торцевые, червячные, концевые, конические и др. Виды фрез по обрабатываемому материалу - дерево, сталь, чугун, нержавеющая сталь, закаленная сталь, медь, алюминий, графит. Применяемый материал режущей части инструмента - быстрорежущая сталь <https://ru.wikipedia.org/wiki/%D0%91%D1%8B%D1%81%D1%82%D1%80%D0%BE%D1%80%D0%B5%D0%B6%D1%83%D1%89%D0%B0%D1%8F_%D1%81%D1%82%D0%B0%D0%BB%D1%8C>, твёрдый сплав <https://ru.wikipedia.org/wiki/%D0%A2%D0%B2%D1%91%D1%80%D0%B4%D1%8B%D0%B9_%D1%81%D0%BF%D0%BB%D0%B0%D0%B2>, мелкозернистый твердый сплав, минераллокерамика, материалы по свойствам схожие с алмазами, металлокерамикой, массив кардной проволоки. В зависимости от конструкции и типа зубьев, фрезы могут быть, цельные (состоящие полностью из одного материала), сварные (хвостовик и режущая часть состоит из различного материала, соединённые друг с другом сваркой), напайные (с напаянными режущими элементами), сборные (из различного материала, но соединённые стандартными крепёжными элементами - винтами, болтами, гайками, клиньями). Отдельно выделяют так называемые фрезерные головки - они представляют из себя фрезы со сменными твердосплавными пластинами или же пластинами, состоящими из быстрорежущей стали (например, сталь Р6М5). Также такие фрезы часто называют механическими, а головку без лезвий (ножей) - принято называть корпусом.

По конструкции различают фрезы цельные, составные и сборные с пластинами из твердых сплавов или из быстрорежущей стали. Существуют следующие подтипы фрез: фрезы цилиндрические (преимущественно с зубьями, расположенными по винтовой линии), торцовые, дисковые, трехсторонние (например, пазовые), прорезные (например, шлицевые), отрезные, концевые (пальцевые), одно - и двухугловые, зуборезные фасонные, наборные (наборы из нескольких отдельных фрез). Основные размеры фрез, геометрические параметры и технические требования к ним приведены в стандартах или справочной литературе, гостах, учебниках по проектированию инструмента и так далее.

Надежная и высокопроизводительная работа оборудования невозможна без комплектации его столь же надежным производительным режущим инструментом. Режущий и вспомогательный инструмент, средства предварительной настройки инструмента вне станка, средства контроля инструмента на станке и системы инструментального обеспечения играют важную роль в достижении высокой экономической эффективности дорогостоящего оборудования с ЧПУ.

Концевые фрезы.

Концевая фреза (еndmill) - это режущий инструмент, используемый в промышленных фрезерных станках и станках с числовым программным управлением. Она отличается от сверла применением, геометрией и производством. В то время как сверло может работать только в осевом направлении, концевые фрезы в общем случае могут работать во всех направлениях, хотя некоторые из них не могут работать в осевом направлении.

Концевые фрезы отличаются креплением в шпинделе фрезерного станка.

Крепление фрез в шпинделе станка производят при помощи цилиндрического или конического хвостовика.

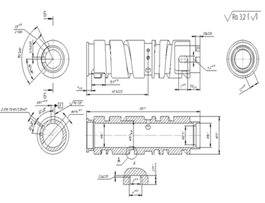
Концевые фрезы предназначены для обработки плоскостей, уступов, прямоугольных пазов и изготавливаются с цилиндрическим хвостовиком (ГОСТ 17025-71) диаметром 3...32 мм, с коническим хвостовиком(ГОСТ 17026-71) диаметром 14...63 мм, для станков с ЧПУ (ТУ2-035-0222232.3-90) диаметром 14...50 мм. Для чернового фрезерования открытых широких поверхностей на деталях с большими припусками применяют обдирочные концевые фрезы (ГОСТ 15086-69). На рисунке 2.1 показана типовая конструкция, и геометрические параметры стандартной концевой фрезы из быстрорежущей стали для обработки стали и чугуна.

Концевые фрезы, их подтипы:

Ø   концевые обыкновенные с неравномерным окружным шагом зубьев, с цилиндрическим и коническим хвостовиками;

Ø   концевые, оснащённые коронками и винтовыми пластинками из твёрдого сплава;

Ø   концевые шпоночные с цилиндрическим и коническим хвостовиками;

Ø   шпоночные, оснащённые твёрдым сплавом;

Ø   концевые для Т-образных пазов;

Ø   концевые для сегментных шпонок.

Ø   концевые острозаточенные фрезы

Ø   концевые фасонные фрезы

Ø   прочие специальные концевые фрезы

Рисунок 2.1 - Конструкция и геометрические параметры концевой фрезы

2.2 Проектирование станочных приспособлений

Вспомогательные устройства к технологическому оборудованию, которые используются при выполнении различных операций механической обработки, а так же сборки или контроля - называются приспособлениями в машиностроении.

Около 70% всех существующих приспособлений составляют так называемые "механические приспособления" предназначенные для содействия при обработке деталей на станках и обрабатывающих центров в независимости от их предназначения, фрезерные или токарные[8].

Внедрение приспособлений для станка позволяет: базировать и закреплять деталь, которая подвергается обработке, с сохранением её жесткости; стабильно добиваться качества деталей, которые находятся в процессе обработки, и при этом по минимуму зависеть от квалификации рабочего; произвести дополнительную механизацию, таким образом повышая производительность труда; повысить качество условий работы и обеспечить ее безопасность; увеличить технологические возможности оборудования; применять технически обоснованные нормы времени.

2.2.1 Номенклатура и назначение станочных приспособлений

Целевое назначение станочных приспособлений:

·        станочные приспособления для того, чтобы устанавливать и закреплять обрабатываемые заготовки на станках. Их различают в зависимости от вида обработки. Широко применяются токарные приспособления, приспособления для фрезерных операций, приспособления для сверления, расточные системы, кондукторы, шлифовальные установки и другие приспособления;

·        приспособления предназначенные для крепления режущего инструмента к станку. Большая часть их деталей и конструкций нормализуется регламентами стандартов в следствии того, что нормализуются и стандартизируются сами режущие инструменты;

·        при выполнении сборочных

операций, требующих большой точности сборки и приложения больших усилий применяются специальные сборочные приспособления;

·        для контроля заготовок, промежуточного и окончательного контроля деталей, а также для проверки собранных узлов и машин задействуют контрольно-измерительные приспособления;

Контрольные приспособления предназначаются для монтирования к ним мерительного инструмента;

·        приспособления для захвата, перемещения и перевертывания обрабатываемых заготовок и отдельных деталей или узлов при сборке.

Приспособления по степени специализации классифицируются по следующим группам: универсальные, специализированные и специальные.

Универсальные (УП) служат для увеличения технологических возможностей обрабатывающего оборудования (многокоординатных обрабатывающих центров, и самых простых металлообрабатывающих станков). К ним относятся универсальные, поворотные, делительные столы, цанги, зажимы, магнитные и криогенные "подложки", самоцентрирующие патроны.

Стоит упомянуть универсальные приспособления не нуждающиеся в наладке (УБП). УБП предназначаются для базировать и закреплять заготовки одного типа. УБП работают в условиях единичного, мелкосерийного производства. К этому класс приспособлений относятся универсальные патроны с неразъемными кулачками, универсальные фрезерные и слесарные тиски.

Универсально-наладочные приспособления (УНП) необходимы в условиях многономенклатурного производства. Использоваться они могут б в качестве универсальных патронов со сменными кулачками, универсальных тисках, скальчатых кондукторах.

Специальные безналадочные приспособления (СБП)служат для заготовок, которые близки по конструктивным признакам и требуют одинаковой обработки. Примерами этой группы являются для обработки ступенчатых валиков, втулок, фланцев, дисков, корпусных деталей и др.

Существуют специальные приспособления требующие наладки (СНП).

СНП задействуются, когда заготовки близки по конструктивно-технологическим признакам. Над ними выполняются однотипные операции и используются определённые наладки.

Универсальные приспособления сборного типа (УСП). Судя по названию можно сделать вывод о том, что их изготавливают специально для определённых форм и типоразмеров конкретной детали или группы деталей, в зависимости от их количества и прочих факторов.

Из комплекта УСП собирают специальное приспособление, которое разбирается после использования, а элементы УСП многократно используют или трансформируют для новой оснастки.

Специальные приспособления (СП) предназначены для выполнения одной определённой операции при обработке конкретной детали. Они называются одноцелевыми. Находят применение в крупносерийном и массовом производстве.

Степень механизации и автоматизации приспособлений выражается следующим образом: ручные, механизированные, полуавтоматические и автоматические.

Так как техпроцессов великое множество, как и конструктивных форм и размеров обрабатываемых изделий, номенклатура станочных приспособлений весьма широка. Однако, заметим, что, несмотря на большое количество отличительных особенностей в конструктивном оформлении, приспособления структурно схожи следующими элементами:

. Установочные элементы (опоры). Ориентируют заготовку или деталь в пространстве.

. Специальные зажимные элементы и устройства. Обеспечивают необходимый контакт базовых поверхностей заготовок с установочными элементами приспособлений и не допускают их смещения во время обработки.

. Силовые приводы. Работают, обеспечивая зажимное усилие, направленное на удержание заготовки.

. Элементы, которые определяют положение и направление инструментов. Устанавливают обрабатывающий инструмента в необходимое положение.

. Корпусы. Базовые, наиболее ответственные элементы, с помощью которых все детали и устройства приспособлений объединяются в единое устройство.

. Вспомогательные устройства и элементы. Такие устройства и элементы предназначены для расширения технологических возможностей и предотвращения всевозможных проблем. Помогают повысить быстродействие приспособлений, удобство их управления и обслуживания.

2.2.2 Методика проектирования приспособлений

Проектирование приспособлений осуществляется на базе ряда положений, принципов и правил, которые изложены в общей методике проектирования средств технологического оснащения, учитывая специфические особенности, присущие всем приспособлениям. При проектировании приспособлений опираются на следующие основные принципы:

·        обеспечивается предельная простота конструкции, любое усложнение должно быть обосновано;

·        главные качества - прочность, жесткость и устойчивость упругой системы конструкции. Они достигаются не увеличением массы, а применением как можно более качественных материалов, исходя из технико-экономических показателей, а так же подбором наиболее эффективных и рациональных форм деталей и конструкции в целом;

·        соблюдение принципа агрегатирования разработка на основе предпочтительных размеров, а так же элементов, которые стандартизованы, унифицированы и нормализованы.

Применение оригинальных деталей и узлов обосновывается:

·        тщательным изучением, анализом всех исходных материалов и поиском информации об аналогичных конструкциях перед тем, как начать проектирование;

·        учетом минимума затрат на изготовление, обслуживание и ремонты.

·        безопасность работы.

Исходные данные для проектирования приспособления:

конструкторская документация на деталь;

операционный эскиз заготовки, операции или перехода;

справочная литература и стандарты;

необходимые размеры станка и его характеристики.

Процесс проектирования приспособлений состоит из ряда последовательных этапов:

. Сначала изучается чертеж изделия, которое следует обработать, а так же последовательность и содержание технологических операций, которые должны над ним проводится; прорабатывается схема базирования и закрепления заготовки, чертятся схемы наладок. Изучается характеристика станка, на который будет монтироваться приспособление, изучается траектория или расположение режущего инструмента, способ подачи охлаждающей жидкости. Далее выбирают средства механизированной установки изделия (если его масса не более 20 кг). Учитывается так же и тип производства, положение станочника по отношению к оборудованию и приспособления, количество деталей в партии изделий, срочность выполнения работы и другие факторы.

Анализируется чертеж обрабатываемой детали и её поверхности, которые будут обрабатываться в проектируемом приспособлении, выставляются технологические базы, поверхности под зажимные элементы.

Так же изучается форма, размеры, координаты взаимного расположения поверхностей (осей), требования к точности и шероховатости обработки.

. Следующий шаг - обзор и анализ существующих конструкций, которые использовались для аналогичных работ; уточняются схемы базирования и закрепления; производится расчет сил резания и зажима; выбирается места приложения силы зажима; определяется типы и размеры установочных элементов, их взаимное расположение и количество.

. Выбираются тип зажимного устройства и его привода. Определяются параметры привода с учетом заданного времени на установку.

. Определяют типы и размеры элементов для направления и контроля положения режущего инструмента.

. Определяют конструкции и размеры вспомогательных элементов и устройств.

. Разработка эскиза и общего вида приспособления

.Уточняются параметры выбранного варианта конструкции приспособления, а именно: уточняются размеры деталей, допуска соединений и расположение поверхностей и осей в пространстве.

Продумывается кинематика, составляются, электрические, пневматические схемы.

. После того, как схема приспособления отработана, необходим выбор и основание параметра, который в дальнейшем будет использован для расчета на точность.

. Выполняется расчет на точность приспособления по выбранному параметру, заканчивая его разбивкой значения расчетного параметра на допуски размеров приспособления, входящих в размерную цепь.

. Выполняется силовой расчет и расчеты на прочность. Составляется схема действующих нагрузок.

Следом за ним рассчитывается зажимное устройство и привод приспособления. Для расчета необходимо выбрать одну либо две наиболее нагруженные детали приспособления.

. Выполняется графическое оформление общих видов (сборочных) конструкции приспособления.

. Окончательно отрабатывается конструкция.

. Выполняют технико-экономические расчеты целесообразности и еще эффективности применения (модернизации, замены) приспособления.

Конструкцию приспособления по принципиальной схеме, предложенной технологом, разрабатывает конструктор, специализирующийся по конструированию оснастки.

Конструирование приспособления проводят в следующей последовательности:

Вычерчивают приближенный контур обрабатываемой детали в требуемом количестве проекций на таком расстоянии, чтобы осталось место для размещения на этих проекциях всех деталей и узлов приспособления.

Вокруг контура детали располагают базирующие элементы приспособления, а затем зажимные элементы приспособления, приводы зажимных элементов и вспомогательные элементы приспособления. Все эти элементы обрамляют, проектируя корпус. Полученную конструкцию вычерчивают в проекциях, которые необходимы для её понимания и представления, даются необходимые размеры и сечения, разрезы.

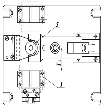
На рисунках 2.2 - 2.7 в качестве примера рассмотрим поэтапную последовательность проектирования приспособления, которое служит для закрепления заготовки на специальном двух шпиндельном станке для одновременного сверления отверстий диаметрами D1 и D2в ступенчатом валу (в соответствии с рисунком 2.2).

Технологические базы в данном случае цилиндрические поверхности А и В (двойная направляющая база, точки 1, 2, 3, 4), буртик вала (поверхность Г, опорная база, точка 5) и цилиндрическое отверстие (поверхность Д, опорная база, точка 6) (в соответствии с рисунком 2.3).

На две опорные призмы 1 и 2, с упором на торец призмы 1. производится размещение заготовки. Угловое положение детали определяется при помощи плавающего конического срезанного пальца 3.

Точность относительного положения обрабатываемых отверстий обеспечивается кондукторными втулками 4 и 5 (в соответствии с рисунком 2.4).

В качестве зажимного использовано устройство, которое состоит из рычажного и эксцентрикового, механизмов с ручным приводом. Механизм вычерчивается относительно контура заготовки. Вычерчивается ориентировочный корпус приспособления. По полученному чертежу выполняется расчет на точность по выбранному параметру TΔ(допуск расстояния от оси кондукторной втулки5 до опорного торца призмы 1) (в соответствии с рисунком 2.5).

Выполняется силовой расчет приспособления. В первую очередь определяется потребная сила зажима Fз. Определяются геометрические параметры рычага и эксцентрикового механизма (согласно рисунку 2.6).

Наиболее нагруженный элемент конструкции (шпилька) рассчитывается на прочность.

Разрабатывается эскизный, сборочный чертеж на приспособление в целом виде (в соответствии с рисунком 2.7).

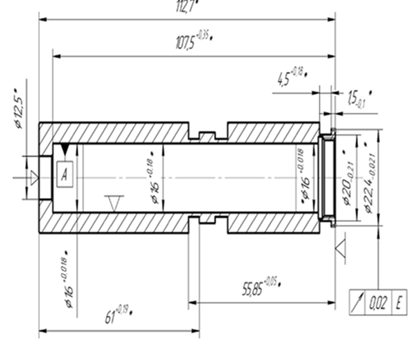
Рисунок 2.2- Чертеж детали Ступенчатый вал

Рисунок 2.3- Теоретическая схема базирования детали

Рисунок 2.4- Схема установки, и закрепления детали

Рисунок 2.5- Схема приспособления для расчета на точность

Рисунок 2.6- Схема для расчета зажимного устройства:

-        прихват; 2 - шпилька; 3 - эксцентриковый кулачок; 4 - рукоятка

Рисунок 2.7- Эскиз сборочного чертежа спроектированного приспособления: 1 - корпус; 2, 3 - опорные призмы; 4 - палец; 5, 6 - кондукторные втулки; 7 - планка; 8 - шпилька; 9 - гайка; 10 - эксцентриковый кулачок; 11 - опора эксцентрикового кулачка

. РАЗРАБОТКА МЕТОДИК УСКОРЕННОГО ПРОЕКТИРОВАНИЯ ТЕХНОЛОГИЧЕСКОЙ ОСНАСТКИ И РЕЖУЩЕГО ИНСТРУМЕНТА

Любой метод проектирования в конечном итоге направлен на разработку проектов на основе оптимального сложения множества условий у с целью получения конечных готовых, сбалансированных, и главное-верных решений.

Перечислим часть из них: научные, социальные, эстетические, технические, и иных.

С помощью автоматизации и моделирования на электронно-вычислительных машинах последнего поколения можно поддерживать процессы систематизации, накопления, переработки потока информации.

Проектирование, в целом, предполагает и подразумевает внутри себя, аналитическое сравнение готовых вариантов с запрограммированными параметрами (константами) и выбором лучшего варианта решения, его технической и графической фиксации (переменные), а также в получении необходимого количества проектной документации (результат).

Сроки и качество проектирования оснастки и режущего инструмента напрямую влияют на конечный продукт (детали, изделия). Используя современные САПР и технологии проектирования, мы можем значительно ускорить, как процесс проектирования, так и изготовление инструмента и оснастки.

3.1 Разработка системы интерактивных электронных каталогов

Одним из ключевых недостатков проектирования оснащения является объем времени постоянно тратящийся на создание новых образцов.

Исследуя предпочтения как инженерного и рабочего персонала предприятия «АО ВОМЗ», была предложена идея создания единой сети, для стандартизации и унификации имеющегося оснащения и инструмента. К примеру, можно дополнительно снабдить сеть классификаторами и дорабатывать её при наличии необходимости.

Данная сеть (система) должна гармонично вписываться в схему - организации производственного процесса проектирования и изготовления оснащения изображенную ниже (рисунок 3.1).

Рисунок 3.1- Схема общей организации производственного процесса проектирования и изготовления оснащения

Проведя анализ полноценного процесса заказа и проектирования оснащения и режущего, основываясь на ключевых аспектах системы «Бережливого производства», а именно:

Sеiry (整理) « аспект «сортировка» (нужное-ненужное) - чёткое разделение вещей на подгруппы нужные и ненужные с дальнейшим избавлениемот последних.

Sеitоn (整頓) «соблюдение порядка» (всему своё место) - организация хранения необходимых вещей, которая позволяет быстро и просто их найти и использовать по конкретному назначению.

Sеisо (清掃) «содержание в чистоте» (уборка) - содержание рабочего места, инструментов, документов, в чистоте и опрятности. (к примеру сохранение порядка на посменном столе, или на стойке у станка.

Sеikеtsu (清潔) «аспект «стандартизации» (поддержание общего порядка) - обязательное условие необходимое для "работоспособности" первых трёх аспектов

Sitzukе (躾) « аспект «совершенствование» аспект стремления по модернизации и постоянному прогрессу в определенных направлениях.

Были сделаны следующие выводы: при проектировании и оформлении заказов на Р.И и приспособления постоянно нарушаются все пять вышеперечисленных принципов.

К примеру, прежде чем технолог-заказчик сформирует техническое задание на проектирование оснащения (или Р.И), он отправляется в конструкторский архив и старается выбрать оснащение из перечня имеющегося, тратя время, изучая и перебирая чертежи.

Либо же технологу приходится направлять запрос о наличии желаемого и подходящего инструмента/оснастки на территории инструментального склада. Ответ на запрос зачастую требуется ждать несколько часов, которые, в свою очередь, могли быть потрачены с пользой на решение других задач. Данные ситуация отражают несоблюдение принципов I, II, III, IV.

Пример номер 3: молодой конструктор, в должной мере не имеющий нужного опыта в проектировании периодически может совершать ошибки при проектировании типовых образцов инструментов/оснащения. Это негативно сказывается на его работе. Нарушается принцип V.

Дабы избежать подобных ситуаций и лишних временных затрат внутри структур предприятия было предложено создать группу электронных документов (каталогов) содержащих в себе ряд данных необходимых для проектирования оснащения. К таким данным относятся: Электронный сборник конструкторской документации (чертежей) имеющегося оснащения и режущего инструмента, наличие инструмента в данный момент на цеховом, инструментальном складе, геометрические параметры и размеры запрашиваемого оснащения, комплект иллюстрации, изображающий объект каталога.

3.2 Принцип работы с каталогами

Вначале открывается диалоговое окно каталога, где располагаются таблицы наполненные гиперссылками, при взаимодействии с которыми открывается необходимый чертеж (их, свою очередь, возможно, отсортировать по уникальным номерам)

Данные каталогов можно отфильтровывать по различным параметрам, такими как - размеры, порядковый номер, код детали, материал, наличие и количество на инструментальном складе. Справочными иллюстрациями снабжен каждый из разработанных каталогов. Время, затрачиваемое на поиск необходимых сведений и чертежей инструмента, оснастки, существенно сокращается за счет работы с каталогами. В дальнейшем планируется внедрить в каталоги новые параметры, модели и изображения тары и инструмента для большей наглядности, и возможности их дальнейшей доработки. В качестве дополнительной опции, в каталоги было решено добавить параметрические 3dмодели инструмента (тары, либо станочного оснащения)Каталоги, изначально, созданы в программе MSЕХCЕL, но в дальнейшем возможна их «вёрстка» и компиляция в виде вэб-страниц, либо уже в виде более сложных электронных документов, с возможностью их печати на бумажном носителе.

Примеры страниц каталогов показаны на рисунках 3.2 - 3.6:

На рисунках 3.2 и 3.3 мы можем видеть справочную информацию из каталогов: примеры размеров, кодификации, применяемое покрытие, параметрическую трехмерную модель концевой фрезы, а так же, код фрезы - аналога, на основе которой был спроектирован и изготовлен инструмент для каталога.

Рисунок 3.2 -Фрагмент страницы каталога концевых фрез

Рисунок 3.3 -Фрагмент страницы каталога концевых фрез (2)

Рисунок 3.4-Фрагмент страницы каталога концевых фрез, параметрическая 3dмодель

Рисунок 3.5-Фрагмент страницы каталога технологической тары

На рисунке 3.5 изображен фрагмент страницы каталога специальной технологической тары предназначенной для перемещения деталей и сборок внутри предприятия. Данные в таком каталоге, также как и в каталоге фрезерного инструмента можно отфильтровать по различным параметрам. Это не только упрощает подбор тары для деталей с определенными размерами, но и способствует сохранению качества готовой продукции за счет точности изготовления. На рисунке 3.6 приведен пример тары для переноски плоских деталей (оснований).

Рисунок 3.6-Фрагмент страницы каталога технологической тары (справочные иллюстрации)

Проблемы проектирования, решаемые с помощью применения систем каталогов:

)        Отсутствие «переизбытка информации».

)        На поиск необходимых материалов уходит меньше времени.

)        «Наглядность» представленных материалов.

)        Оптимизация доступа персонала к имеющимся материалам (чертежам, тех. процессам, сведениям о наличии инструмента).

. РЕАЛИЗАЦИЯПРОЦЕССА ПРОЕКТИРОВАНИЯ ОСНАЩЕНИЯ С ПРИМЕНЕНИЕМ ЭЛЕКТРОННЫХ КАТАЛОГОВ

4.1 Пример реализации процесса проектирования оснащения с применением электронных каталогов

Рассмотрим процесс проектирования концевой фрезы, как с использованием электронного каталога, так и без. Разработка инструмента состоит из следующих этапов:

)        В конструкторском отделе разрабатывается новое изделие. На него создаются конструкторские модели, чертежи, необходимая конструкторская документация и другие документы.

)        Конструкторская документация направляется к руководителю отдела главного технолога для последующего распределения работы между бюро.

)        После распределения работ, руководитель отдела дает необходимые указания и материалы (документацию) начальнику бюро механической обработки.

)        Начальник бюро распределяет полученную работу между технологами бюро. От них требуется расписать какая оснастка, инструмент и приспособления нужны для изготовления деталей и изделий. В обязанность технологов так же входит подготовка ведомостей оснащения и технологического задания для конструкторов бюро, с последующей передачей их в работу.

)        Производится запрос в инструментальный склад и архив отдела, с целью «подбора» необходимого оснащения, конструкторской документации на него.

)        На этом этапе происходит проектирование необходимого оснащения. В качестве ресурсов используются САПР, ГОСТы, СТП. Происходит анализ чертежей имеющихся аналогов режущего инструмента, приспособлений (в зависимости от требований технолога-заказчика)

)        Спроектированная оснастка (её чертежи) направляется в архив, и уже после открытия заказа на изготовление копии чертежей передаются в цех-изготовитель.

)        Оснастка и режущий инструмент изготавливается по чертежам в инструментальном цехе, после этого, в готовом виде направляется в цеха-потребители.

Процесс изготовления детали с применением спроектированного инструмента показан на рисунке 4.1

Рисунок 4.1 - Схема организации производственного процесса проектирования и изготовления оснащения

Зачастую бывает так, что задание для проектирования поступает напрямую от начальника бюро и по завершению работы отправляется непосредственно в цех-изготовитель, минуя архив.

Появление интерактивных каталогов оснащения предлагает альтернативное решение в пунктах 5,6,7. Появляется возможность подбора уже имеющегося оснащения, минуя бумажный архив и инструментальный склад. Становится возможным проектирование «с нуля», либо же создание нового оснащения, заимствуя конструктивные элементы предшествующих работ. За счет наглядных иллюстраций и 3dмоделей, становится возможным изучение данных с меньшими временными потерями.

В результате создания каталогов мы получаем альтернативную схему организации процесса проектирования оснащения, она показана на рисунке 4.2

Рисунок 4.2- Альтернативная схема организации процесса проектирования оснащения

На данной схеме показано, что процесс проектирования может происходить без обращения к бумажному архиву предприятия и без запроса о наличии инструмента на складе. Все необходимые данные уже занесены в каталоги.

4.1.1 Проектирование твердосплавной концевой фрезы с применением каталогов оснащения

Рассмотрим процесс проектирования инструмента под конкретную задачу:

На стадии проектирования выбирается структурная схема инструмента, принципиальная схема режущей части, элементы геометрии и конструктивные размеры фрезы.

Требуемый инструмент: мерная концевая фреза.

В процессе проектирования необходимо определить:

1)      Количество и форму зубьев, их профиль

2)      Длина инструмента и длина рабочей части

)        Материал режущей части и хвостовика

)        Геометрические параметры режущей части

Сведения для проектирования: обработка производится на фрезерном обрабатывающем центре, имеется чертеж детали.

Для обработки сложной корпусной детали представленной в виде эскиза на рисунке 4.3 и операционного эскиза (рисунок 4.4) требуется проектирование и изготовление высокоточного режущего инструмента (в рассматриваем случае, это - концевая фреза).

Материал обрабатываемой детали: Сталь 30ХГСА.

К инструменту предъявляются следующие требования:

·        Точный размер диаметра режущей части (D).

·        Правильная геометрия режущих кромок, их высокая прочность и износостойкость.

·        Высокую производительность благодаря большой экономии времени, связанной с высокой скоростью резания.

·        Высокое качество обрабатываемых поверхностей.

·        Достаточную жесткость конструкции

·        Обязательно требуется произвести выборочные испытания нескольких готовых фрез

·        Возможность «ремонта» (заточки, переточки)

·        Технологичность конструкций

·        Необходимо учитывать производственные мощности инструментального цеха

·        Обоснованную экономическую выгоду изготовления партии фрез

·        Должно быть достигнуто высокое качество доводки режущих кромок

·        соблюдение остальных требований показанных в справочной литературе

Рисунок4.3- Эскиз детали «Кулачок»

Рисунок 4.4 показывает в разрезе деталь «Кулачок» целиком

Рисунок 4.4- Операционный эскиз детали «Кулачок»

Рисунок 4.4 показывает в разрезе обрабатываемый паз детали «Кулачок»

Выбор инструментальных материалов:

Материал режущей части резца выбирается в соответствии с общеизвестными рекомендациями исходя из свойств обрабатываемого материала и требований к обработанной поверхности.

Исходя из твердости обрабатываемой детали и её материала (Сталь 30ХГСА) подбираем материал инструмента:

Из имеющихся в наличии инстурментальных материалов выберем твердый сплав K40UF.Это единственный из имеющихся материалов способный одновременно соответствовать всем требованиям, озвученным в начале данного подраздела.

Свойства выбранного материала показаны в таблице 4.1,их можно подробнее рассмотреть в справочной литературе от производителя материала его структуру мы можем видеть на рисунке 4.5.

Таблица 4.1 - Свойства твердого сплава K40UF

Наименование сплава

K40UF

Классификация по ISО

K40-K50

Диаметр заготовки

1,2-42,2 мм

Содержание Cо

10%

Содержание Wc

90%

Плотность

14,5кг/м3

Hv

1610 единиц

HRА

92,3 кгс

Прочность при изгибе

Свыше 4000МПа

Размер зерна

0,6мкм

n-фаза

Отсутствует

UF производится из ультрамелкого карбида вольфрама с размером зерна 0.6 микрона. Его, высокие твердость и вязкость достигаются благодаря десяти процентному содержанию кобальта (Cо).

Рисунок 4.5- Структура твердого сплава K40U

Исходя из свойств материала указанных в таблице выше, можно сделать вывод о правильности выбора при обработке легированной конструкционной стали30ХГСА.

Выбор геометрических параметров инструмента:

Диаметр фрезы влияет как на процесс фрезерования, так и на выбор конструктивных элементов инструмента. Целесообразно выбирать наибольший диаметр фрезы, так как с этим связано число зубьев, их размеры и форма, толщина тела корпуса. На практике для обеспечения достаточной прочности корпуса используется зависимость (формула 4.1)[27]:

= (1,6 − 2,5)d,мм, (4.1)

где D1- диаметр окружности впадин зубьев, мм;- диаметр посадочного отверстия, мм.

Размерный перечень острозаточенных фрез стандартизирован для каждого вида: например, фрезы концевые из быстрорежущей стали (ГОСТы 17025-71, 17026-71, ТУ 2-035-0222232-90, ГОСТ 15086-69) изготавливаются диаметрами от 3 до 63 мм, а твердосплавные концевые фрезы (ТУ 2-035-854-81, ТУ 2-035-824-81, ТУ 2-035-748-80) - от 3 до40 мм.

Концевые твердосплавные цельные фрезы изготавливаются по ТУ 2-035-0223131.159-90 диаметрами 14...30мм; дисковые трехсторонние фрезы быстрорежущие (ТУ2-035-0224638.1156-88) имеют диаметры 100...250 мм. В таком же диапазоне размеров отечественная инструментальная промышленность выпускает торцовые фрезы, включающие в себе вставки- ножи из Р6М5(быстрорежущая сталь) (ТУ2-035-0224638.1155-88).

Посадочным размером для насадных фрез является диаметр отверстия под оправку, который в зависимости от наружного диаметра инструмента выбирается из ряда 16, 22, 27, 32, 40, 50 и 60 мм.

Существует перечень требований, выполнение которых необходимо при проектировании новых конструкций и типов фрезерного инструмента.

Число зубьев (часто обозначается как "Z")необходимо принять по возможности большим, так как от него пропорционально зависит минутная подача, т. е. производительность обработки или же скорость.

Вместе с тем зубья должны быть достаточно прочными, а расстояние между ними, форма и шероховатость поверхности стружечных канавок должны обеспечивать надежное размещение и отвод стружки (последнее особенно важно для концевых фрез, обрабатывающих глубокие пазы). В случаях образования сплошной сливной стружки, у концевых фрез переднюю поверхность зубьев изготавливают ступенчатой.

Это необходимо для дробления стружки. Форма зубьев и впадин фрез должны обеспечивать прочность зубу и достаточное пространство для размещения стружки, ее отвод из зоны резания, а также максимальное количество переточек.

Помимо этого, целесообразно использовать не прямые, а изогнутые, так называемые «винтовые» зубья, потому как они обладают более высокими эксплуатационными показателями, позволяющими повысить производительность обработки и стойкость инструмента, улучшить качество обрабатываемой поверхности, а также снизить динамические нагрузки на станок, что важно в условиях гибких производственных систем (ГПС).

Фасонные инструменты обладают винтовыми зубьями, они , в свою очередь очень сложны в изготовлении, требуют особого оборудования и, как правило, имеют увеличенные погрешности. Это объясняется тем, что параметры поверхностей, формирующих винтовой зуб на сложных ИИП обусловливают изменения профиля обрабатывающего инструмента.

Следовательно, для создания таких поверхностей необходимо точное определение сопряженного инструментального профиля. Эти мероприятия являются оптимизационной задачей, решение которой зависит от точного нахождения профиля обрабатывающего инструмента и точного выбора формообразующих движений. Профиль зубьев концевых фрез с детальным описанием элементов зуба показан на рисунке 4.6.

Рисунок 4.6 -профиль зубьев концевых фрез

Для точной гарантии "погружения" режущей части фрезы в материал, в произвольном месте заготовки, фреза обязательно должна иметь концевые режущие кромки. Трапецеидальная форма зуба наиболее распространена для острозаточенных фрез (Рисунок4.7,а). Зуб такой формы затачивается по задней поверхности.

Высота зуба h выбирается в пределах 0,5...0,65 от окружного шага, а радиус r=(0,5-2,0) мм.

Крупные зубья фрез обычно оформляются согласно рисунку 4.7,б, форма зуба по рисунку 4.7.б имеет двойную прямолинейную спинку, гдеα - рабочий задний угол. В зависимости от обрабатываемого материала числовые значения углов могу варьироваться.

Рисунок4.7- Форма остроконечных зубьев

Зуб третьей формы (рисунок4.7в)имеет криволинейную спинку

Такую форму зуба имеют, к примеру, быстрорежущие концевые обдирочные фрезы (ГОСТ15186-69).

Число зубьев выбирается из условий обеспечения равномерности фрезерования. Из теории резания известно, для винтовых фрез равномерность фрезерования достигается при условии, когда ширина фрезерования кратна осевому шагу инструмента.

Углы режущей части выбираются в зависимости от типа фрезы, свойств обрабатываемого материала и технологических условий обработки.

Передние углы у быстрорежущих фрез при обработке стали изменяются в пределах 20...100,твердосплавных - +150...-150, причем меньшие значения γ назначаются для обработки стали с большей прочностью. Так как Высокопрочные стали имеют высокую прочность при достаточной пластичности (среднеуглеродистая легированная сталь 40ХН2МА), высокой конструктивной прочностью, малой чувствительностью к надрезам, высоким сопротивлением хрупкому разрушению, низким порогом хладноломкости, хорошей свариваемостью.

Задний угол α у мелкозубых фрез принимается равным 160, для фрез с крупным зубом - 120, а для дисковых и прорезных - до 300; у твердосплавных фрез α = 5...8 градусов.

Стоит отметить то, что, некоторые типы фрез имеют вспомогательные режущие кромки; задние углы α1 на них выбираются в пределах 4-8градусов.Для торцовых и трехсторонних фрез важную роль играет главный угол в плане, определяющий соотношение между шириной и толщиной среза, и вспомогательный угол в плане ϕ1 , при этом рабочая часть у фрез может быть оформлена различным образом в зависимости от типа фрезы и условий резания.

Углы наклона режущей кромки снабжены все типы фрез с угловой режущей кромкой - торцовые, дисковые, двух- и трехсторонние.

У цилиндрических фрез с винтовыми и наклонными зубьями. Обычно цилиндрические насадные фрезы имеют, концевые - угол ω = 45...60̊, а дисковые двух- 30…60̊ и трехсторонние -15̊-20̊.

Самая большая по назначению группа фрезерного инструмента состоит из быстрорежущей стали. Принято различать: цилиндрические, дисковые, угловые, торцовые, отрезные и пилы по металлу.

Основные характеристики длин "хвостовой части" любой фрезы являются диаметр и длина. Из этого можно сделать вывод, что диаметр хвостовика должен во всем соответствовать диаметру цанги или патрону станка.

Стружечная винтовая поверхность фрезы обязана обеспечивать:

оптимальные условия по срезанию припуска с заготовки, это достигается правильно подобранными (в зависимости от обрабатываемого материала) углами резания по всей длине режущих кромок;

необходимо соблюдать достаточную прочность режущего зуба.       Этого можно добиться формой зуба и равномерным увеличением глубины канавки в зависимости от возрастания диаметра образующей поверхности инструмента (наличие стружколомов и стружкоотводящих каналов (канавок));

поддержание постоянных размеров по всей дине "ленточки".

Подведем промежуточный итог. Модель стружечной винтовой канавки фасонного инструмента, полученная в результате соблюдения названных условий обеспечивает:

Постоянство величины ширины зуба вдоль всех режущих кромок;

Постоянство значений переднего угла (угол гамма);

Постоянство значений углов задних поверхностей зубьев (угол альфа) в торцовых сечениях и увеличение глубины канавки в случае движения подачи вдоль оси инструмента.

Часть геометрических параметров (общая длина, угол винтовой канавки, количество зубьев) позаимствовано из ранее спроектированных образцов концевых фрез и при поддержке каталогов цельных твердосплавных фрез производителей «Hаnitа», «Sаndvik», «Hаnitа», «Iskаr».

С учетом всех перечисленных выше факторов мы получили следующую конструкцию концевой фрезы и показали её на эскизе расположенном ниже (Рисунок4.8).

В соответствии с заявленными требованиями вносятся корректировки в габаритные размеры, рабочий диаметр, диаметр обнижения, углы резания.

Готовые эскизы спроектированной фрезы для обработки детали «кулачок», её рабочие поверхности, зубья и режущие углы представлены на рисунках4.8 и 4.9.

Дальнейшим шагом в проектирование фрезерного инструмента является перенос всех данных с эскиза (виды, разрезы) на форматный лист (в зависимости от размеров инструмента и эстетических соображений) занесение необходимых технических требований и вычерчивание чертежа в готовом виде. После всех перечисленных манипуляций чертеж, прикрепленный к ведомости заказа на изготовление, направляется в инструментальный цех для дальнейшего изготовления и испытания инструмента. После завершения испытаний фреза отправится в механообрабатывающий цех с целью производства деталей «Кулачок».

Рисунок 4.8 - Эскиз концевой фрезы

Рисунок4.9- Эскиз концевой фрезы. Режущие поверхности

4.2    Технология применения фрезы при обработке детали «Кулачок»

Чертеж готовой концевой фрезы представлен ниже (рисунок 4.10), более подробно его можно рассмотреть в приложении 1.Операционные эскизы с процессом обработки детали «Кулачок» помещены в приложения 2 и 3.

Рисунок 4.10-Чертеж концевой фрезы

Фреза монолитная, полностью состоящая из твердого сплава марки «К40UF» немецкой компании KоnrаdFriеdrichsGmbH&Cо. KG , что в свою очередь отличается высокой твердостью и износостойкостью.

Спроектированная фреза имеет 2 исполнения (черновое и чистовое).

Они предназначены для обработки точных пазов шириной 4мм. Пазы выполнены по 6 квалитету точности. Обрабатываемые поверхности деталь «Кулачок» отмечены и показаны на рисунках 4.12, 4.13, 4.14. Обработка заготовки для детали «Кулачок» будет происходить на высокоточном, вертикальном обрабатывающем центре «WillеminMаcоdеl-408s».Его можно увидеть на рисунке 4.11.

Ключевыми особенностями обрабатывающего центра являются наличие возможности работы в 5 осях(направлениях).

Станина и основные элементы конструкции обрабатывающего центра, отлитые из чугуна с шаровидным графитом, представляют собой закрытые секции со встроенными жесткими элементами, обеспечивающими высокие статические и динамические показатели, а также высокую жесткость.

Полное ограждение обеспечивает разделение между рабочей зоной и другими используемыми элементами станка.

Безопасный доступ к различным блокам обрабатывающего центра обеспечивается через раздвижную дверь с фронтальной стороны, а также двери, расположенные сзади и с левой стороны обрабатывающего цента.

Поворачивающаяся стойка ЧПУ расположена слева на фронтальной стороне станка.

Рисунок 4.11 - Горизонтальный фрезерный обрабатывающий центр WillеminMаcоdеl-408s

Рисунок 4.12-Деталь «Кулачок»

В первую очередь производится обработка паза №1. В данном случае заготовка детали перед обработкой «зажимается» в специальном станочном приспособлении (фиксирующие центра) с двух сторон. Паз №1 показан на рисунке 4.13, где он специально выделен другим цветом. Инструмент к заготовке подводится горизонтально.

Рисунок 4.13- Обрабатываемый паз №1

Затем идет процесс обработки паза №2. В данном случае деталь вновь «зажимается» в специальном станочном приспособлении (фиксирующие центра) с двух сторон, но уже с противоположной стороны. Паз №2 можно наблюдать на рисунке 4.14, там он так же, специально выделен другим цветом.

Рисунок 4.14- Обрабатываемый паз №2

В законченном виде деталь «Кулачок» показана со всех на рисунках 4.15, 4.16 и 4.17. Изначально, качество обработки можно оценить визуально, а затем подтвердить с помощью специального измерительного оборудования.

Рисунок 4.15-Деталь «Кулачок» вид №1

На данном рисунке хорошо виден паз №1,по завершению обработки деталь полностью покрывают хим. оксидированием.

Рисунок 4.16-Деталь «Кулачок» вид №2

На данном рисунке оба обрабатываемых фрезой участка хорошо просматриваются.

Рисунок 4.17-Деталь «Кулачок»

На данном рисунке хорошо виден паз под №2, деталь покрыта хим. оксидированием.

Следует отметить, что полученная деталь, в законченном виде, полностью соответствует заявленным в чертеже техническим требованиям, что в большей степени заслуга не только высокоточного обрабатывающего центра, (станка Willеmin-408S) но и применяемого при обработке инструмента.

Применение данной фрез позволило сократить время обработки деталей.

. ОПЫТ РЕАЛИЗАЦИИ ПРИМЕНЕНИЯ«5S» В ПРОЦЕССЕ ПРОЕКТИРОВАНИЯ ОСНАСТКИ «АО ВОМЗ»

За период прошедший с момента начала реализации проекта (Октябрь 2015г.) по сегодняшний день (Сентябрь 2016 года) число пользователей каталогами оснащения среди работников ИТР возросло на 30%. Процентное соотношение между сотрудниками, использующими в своей работе каталоги, а так же не использующими представлены на диаграммах 1 и 2. Рисунки 5.1 и 5.2. Диаграммы составлены на основе опроса проведенного среди рабочего персонала предприятия.

Рисунок 5.1 - Диаграмма «Сентябрь 2016»

Рисунок 5.2 -Диаграмма «Октябрь 2015»

Разработка каталогов в целом положительно отразилась на всех аспектах производственного процесса.

Дальнейшим шагом по внедрению станет занесение данных из каталогов (в том числе и конструкторскую документацию) в РLM системы, используемые внутри завода, это показано в виде схема и изображено на рисунке 5.3.

Рисунок 5.3- Схема внедрения каталогов в РLM системы и производство

При помощи систем электронных каталогов становится возможным разработка системы классификации режущего инструмента, технологической оснастки и тары. Такие классификаторы могут быть независимы от принятых на текущий момент классификаторов ЕСКД. Составление таких классификаторов, или же кодификаторов, так же можно считать одним из следующих этапов по внедрению практик «Бережливого производства» в процесс проектирования оснащения.

Заключение

В ходе проделанной работы были изучены:

Опыт зарубежных и отечественных предприятий использующих и успешно применяющих технологии «Бережливого производства» («5S»)

Каталоги зарубежного режущего инструмента (HОFMАN, Hаnitа, Sаndvik и другие) В них были рассмотрены фрезы различных размеров и геометрии.

Произведен анализ режущей части инструмента. На основе инструмента представленного в каталогах, внутри предприятия создан новый, в некоторых случаях модифицированный режущий инструмент отвечающий запросам производства.

Реализация результатов работы:

Была успешно предпринята попытка внедрения концевых фрез-аналогов на производстве. Они хорошо себя показали при применениях во всех условиях работы. К примеру, при обработке сложной корпусной детали «Кулачок». В дальнейшем планируется полностью заменить имеющуюся номенклатуру фрез на предприятии. Одним из результатов работы стала серия электронных каталогов: спроектированные фрезы-аналогов зарубежного инструмента, технологической тары, служащей для внутризаводских перемещений деталей и сборок. Каталоги, изначально, созданы в программе MSЕХCЕL, но в дальнейшем возможна их «вёрстка» в виде вэб-страниц. Использование методологии, и электронных каталогов облегчит труд, как и конструкторов, так и технологов. Это позволит сократить затрату времени и ресурсов. Разработанные методы были применены на практике в отделе главного технолога АО «ВОМЗ», полученные материалы постепенно внедряются в «Вертикаль».

СПИСОК ИСПОЛЬЗОВАННЫХ ИСТОЧНИКОВ

1       Вумек, Д. П. «Бережливое производство». Как избавиться от потерь и добиться процветания вашей компании / Д. П. Вумек, Д. Т. Джонс. - Москва: Альпина Паблишер, 2011. - 115с.

         Вумек, Д. П. Машина, которая изменила мир / Д. П. Вумек, Д. Т. Джонс, Д. Рус. - Москва: Попурри, 2007. - 384с.

       СигеоСуинго. Изучение производственной системы Тойоты с точки зрения организации производства / СигеоСуинго. -Москва:ИКСИ, 2010. - 299с.

       Голоктеев,К.Управление производством: инструменты, которые работают / К. Голоктеев, И. Матвеев. - Санкт-Петербург: Питер, 2008. -251с.

         Тайити Оно. Производственная система Тойоты: уходя от массового производства / Тайити Оно. - Москва: ИКСИ, 2012. - 18с.

         Паскаль Деннис. Сиртаки по-японски: о производственной системе Тойоты и не только / Паскаль Деннис. - Москва: ИКСИ, 2007. - 192с.

         Аверченков, В. В. САПР технологических процессов, приспособлений и режущих инструментов: учебное пособие для вузов / В. В. Аверченков, И. С. Кашталъян, А. Н. Пархутик. - Москва: Высшая школа,1993. - 288 с.

         Балакшин, Б. С. Основы технологии машиностроения / Б. С. Балакшин. -2-е изд., испр. - Москва: Машиностроение, 2003. - 88 с.

         Барангукова, И. А. Проектирование технологии: учебник для студентов машиностроительных специальностей вузов / И. А. Барангукова, А. Гусев.- Москва: Машиностроение, 2000. - 416 с.

       Кряжев, Д. Ю. Фрезерная обработка на станках с ЧПУ / Д. Ю. Кряжев. - Екатеринбург: [Б. и.], 2005. - 41 с.

       Серебряков, А. А. Библиотека технологических решений как инструмент автоматизации технологической подготовки производства /А. А. Серебряков // САПР и графика. - 2008. - №5. - С.70-75.

         ЯсухироМонден. Система менеджмента Тойоты / ЯсухироМонден. - Москва:ИКСИ, 2007. - 199с.

       Берхеев, М.М. Основы систем автоматизированного проектирования / М.М. Берхеев, И.А. Заляев, Ю. В. Кожевников. - Москва: Высшая школа, 2001. - 253 с.

15       ЛайкерДжэффри. Дао Tоyоtа: 14 принципов менеджмента ведущей компании мира / ЛайкерДжэффри. - Москва: Альпина Паблишер <https://ru.wikipedia.org/wiki/%D0%90%D0%BB%D1%8C%D0%BF%D0%B8%D0%BD%D0%B0_%D0%9F%D0%B0%D0%B1%D0%BB%D0%B8%D1%88%D0%B5%D1%80%D0%B7_%28%D0%B8%D0%B7%D0%B4%D0%B0%D1%82%D0%B5%D0%BB%D1%8C%D1%81%D1%82%D0%B2%D0%BE%29>, 2011. - 401с.

            Шук, Д. Учитесь видеть бизнес-процессы: практика построения карт потоков создания ценности / Д. Шук, М. Ротер. - 2-е изд. - Москва: Альпина Паблишер <https://ru.wikipedia.org/wiki/%D0%90%D0%BB%D1%8C%D0%BF%D0%B8%D0%BD%D0%B0_%D0%9F%D0%B0%D0%B1%D0%BB%D0%B8%D1%88%D0%B5%D1%80%D0%B7_%28%D0%B8%D0%B7%D0%B4%D0%B0%D1%82%D0%B5%D0%BB%D1%8C%D1%81%D1%82%D0%B2%D0%BE%29>, 2008. - 144с.

            Джордж Л. Майкл. «Бережливое производство» + шесть сигм. Комбинируя качество шести сигм со скоростью бережливого производства / Джордж Л. Майкл. - Москва: Альпина Паблишер <https://ru.wikipedia.org/wiki/%D0%90%D0%BB%D1%8C%D0%BF%D0%B8%D0%BD%D0%B0_%D0%9F%D0%B0%D0%B1%D0%BB%D0%B8%D1%88%D0%B5%D1%80%D0%B7_%28%D0%B8%D0%B7%D0%B4%D0%B0%D1%82%D0%B5%D0%BB%D1%8C%D1%81%D1%82%D0%B2%D0%BE%29>, 2007. -402с.

            Поппендик, М. «Бережливое производство» программного обеспечения: от идеи до прибыли / Мэри Поппендик, TомПоппендик. - Москва: Вильямс, 2010. - 256с.

            Вэйдер, М. Как оценить бережливость вашей компании: практическое руководство / Майкл Вэйдер.-Москва: ДЕАН, 2011. -136с.

            Вэйдер, М.Инструменты бережливого производства: мини-руководство по внедрению методик бережливого производства/ Майкл Вэйдер. - Москва: Альпина Бизнес Букс, 2007. - 125с.

            Царенко, А. С. «Бережливое государство»: перспективы применения бережливых технологий в государственном управлении в России и за рубежом / А. С. Царенко // Государственное управление. - 2014. - № 45. -С.5-7.

            Драгун, А. П. Режущий и инструмент / А. П. Драгун. − Ленинград: Лениздат, 1986. - 271 с.

            Захаров, В. А.Токарь / В. А. Захаров, А. С. Чистоклетов. − Москва: Машиностроение, 1989. - 272 с.

            Металлорежущие инструменты / Г. Н. Сахаров, О. Б. Арбузов, Ю. Л. Боровой и др. - Москва: Машиностроение, 1989. - 328 с.

            Фельдштейн, Е. Э. Режущий инструмент: курсовое и дипломное проектирование /Е. Э. Фельдштейн. − Минск: Дизайн ПРО, 1997. − 384 с.

            Семенченко, И. И. Проектирование металлорежущих инструментов / И. И. Семенченко, В. М. Матюшин, Г. Н. Сахаров. − Москва: Машиностроение, 1962. − 947 с.

            Общемашиностроительные нормативы режимов резания для технического нормирования работ на металлорежущих станках. Часть 1. - Изд. 2-е.-Москва: Машиностроение, 1974. - 416 с.

            Справочник технолога-машиностроителя. Т. 2./Ю. А. Абрамов, Э.Н. Андреев, Б.И. Горбунов и др.; под ред. А.Г. Косиловой и Р.К. Мещерякова. -Москва:Машиностроение, 1985. - 496 с.

            Справочник металлиста. Т. 3./Е.Д. Баклунов, А.К. Белопухов, М.И. Жебини др.; под ред. А.Н. Малова. -Москва:Машиностроение, 1977. -748 с.

            Справочник технолога-машиностроителя. Т. 2./В. Н. Гриднев, В.В. Досчатов, В.С. Замалин и др.; под ред. А.Н. Малова. - Изд. 3-е.-Москва: Машиностроение, 1972. - 568 с.

31    Сборник задач и примеров по резанию металлов и режущему инструменту /Н.А. Нефедов, К.А.Осипов. - Изд. 5-е. перераб. и доп. -Москва:Машиностроение, 1990. - 448 с.

ПРИЛОЖЕНИЕ 1

(рекомендуемое)

Чертеж концевой фрезы



ПРИЛОЖЕНИЕ 2

(рекомендуемое)

Операционный эскиз из технологического процесса по изготовлению детали «Кулачок»



ПРИЛОЖЕНИЕ 3

(рекомендуемое)

Операционный эскиз из технологического процесса по изготовлению детали «Кулачок»

Похожие работы на - Применение методик '5S' при проектировании оснащения АО 'ВОМЗ'

 

Не нашли материал для своей работы?
Поможем написать уникальную работу
Без плагиата!
Без нейросетей!