Особенности конструкции и эксплуатации сверх звукового транспортного воздушного судна (на примере самолета Ту-160)

  • Вид работы:
    Дипломная (ВКР)
  • Предмет:
    Другое
  • Язык:
    Русский
    ,
    Формат файла:
    MS Word
    671,13 Кб
  • Опубликовано:
    2017-11-14
Вы можете узнать стоимость помощи в написании студенческой работы.
Помощь в написании работы, которую точно примут!

Особенности конструкции и эксплуатации сверх звукового транспортного воздушного судна (на примере самолета Ту-160)

Аннотация

В дипломной работе рассмотрены особенности конструкции и эксплуатации сверх звукового транспортного ВС на примере самолета Ту-160, с целью поддержания заданного уровня безопасности и регулярности полетов, решение проблем по устранению отказов.

Первый раздел работы содержит общие сведения о факторах, влияющих на жизнедеятельность человека в полёте. Во втором разделе приведено техническое описание, и принцип работы, основных агрегатов систем кондиционирования воздуха. В третьем разделе рассмотрена комплексная система кондиционирования воздуха самолёта Ту-160 и произведена оценка надежности системы.

Дипломная работа содержит:

листов пояснительной записки - 79

разделов - 3

таблиц - 3

рисунков - 18

использованных источников - 8

Условные обозначения

СКВ - Система кондиционирования воздуха

КСКВ - Комплексная система кондиционирования воздуха

ВС - Воздушное судно

ЛА - Летательный аппарат

АТ - Авиационная техника

ТХУ (ТХ) - Турбохолодильная установка (Турбохолодильник)

ТНУ - Турбонасосная установка

ВСУ - Вспомогательная силовая установка

ПСВП - Пневматическая система весовой подачи (воздуха)

ПОС - Противообледенительная система

ВВТ - Воздухо-воздушный теплообменник

ВВР - Воздухо-воздушный радиатор

ТО - Техническое обслуживание

ТЭ - Техническая эксплуатация

ОТО - Оперативное техническое обслуживание

ПТО - Периодическое техническое обслуживание

САРД - Система автоматического регулирования давления

СРД - Система регулирования давления

УВЗ - Установка воздушного запуска

АТБ - Авиационно-техническая база

СУ - Силовая установка

ГК - Гермокабина

АЗС - Автомат защиты сети

ЭТД - Эксплуатационно-техническая документация

УРВ - Указатель расхода воздуха

РТА - Регулятор температуры автоматический

РТО - Регламент технического обслуживания

РТЭ - Руководство по технической эксплуатации

Оглавление

Введение

. Факторы, влияющие на жизнедеятельность человека в полёте

.1 Основные свойства земной атмосферы

.2 Влияние высотных полётов на организм человека

.3 Влияние на человека теплового воздействия и влажности окружающей среды

.4 Влияние высоты и скорости полета на авиационные системы охлаждения воздуха. Работоспособность авиационных систем охлаждения по высоте и скорости полета

. Основные агрегаты авиационных систем кондиционирования воздуха

.1 Теплообменные аппараты

.1.1 Воздухо-воздушные теплообменники

.1.2 Канальные воздухо-воздушные теплообменники

.1.3 Воздухо-жидкостные испарительные теплообменники

.1.4 Воздухо-водовоздушные испарительные теплообменники (ВВИТ)

.1.5 Особенности теплообменника-конденсатора

.2 Турбохолодильники

.2.1 Конструкция и принцип работы турбохолодильника

.2.2 Требования, предъявляемые к турбохолодильникам

.3 Элементы специального назначения

.3.1 Заслонки регуляторов температуры воздуха в гермокабине

.3.2 Влагоотделители

.3.3 Увлажнители воздуха

.3.4 Фильтры

.3.5 Воздухопроводы

. Комплексная система кондиционирования воздуха самолёта ТУ-160

.1 Назначение и состав

.1.1 Характеристика системы

.2 Управление и контроль, за работой комплексной системой кондиционирования воздуха

.2.1 Панель системы регулирования давления

.3 Работа системы КСКВ на земле и в воздухе

.3.1 Система регулирования давления воздуха в гермокабине

.3.2 Система отбора и подачи воздуха

.3.3 Система предварительной подготовки и распределения воздуха

.3.5 Система кондиционирования воздухом защитного снаряжения экипажа

.3.6 Система обогрева отсека ВСУ

.3.7 Система охлаждения аппаратуры переднего технического отсека

.3.8 Система охлаждения аппаратуры средних и заднего технических отсеков

.3.9 Система кондиционирования воздухом грузовых отсеков

.3.10 Система наддува заднего технического отсека

.3.11 Отказы и неисправности системы КСКВ самолета Ту-160

Выводы и рекомендации

Список использованной литературы

Введение

Создание систем кондиционирования ВС необходимо для нормальной жизнедеятельности человека при полёте в самолётах на больших высотах.

Практика знает множество примеров отказов СКВ, приведших к созданию неблагоприятных условий для членов экипажей, инцидентам и даже катастрофам. Так, под Афинами 14 августа 2005 года разбился самолёт Boeing 737 авиакомпании Helios Airways, совершавший рейс 522 Ларнака-Афины-Прага. Причиной трагедии стали неполадки в подсистеме наддува, что привело к недостаточной герметизации салона при наборе высоты. В результате кислородного голодания все пассажиры и члены экипажа потеряли сознание, после чего самолёт разбился. Существует похожий случай, произошедший 25 октября 1999 года. Известный американский гольфист Пэйн Стюарт погиб в результате катастрофы чартерного самолёта Learjet, совершавшего перелёт из Орландо в Даллас. Причиной стал закрытый клапан отбора воздуха в системе СКВ, и как следствие - кислородное голодание и потеря сознания. Самолёт, пролетев 2500 км на автопилоте, упал после израсходования топлива.

Как видно из примеров, вопросы понимания конструкции, принципа работы, слабых мест систем кондиционирования воздуха очень важны для поддержания заданного уровня безопасности и регулярности полётов.

Система кондиционирования воздуха, как и другие системы, должна соответствовать требованиям нормативных документов, и, в частности, по расходу воздуха, давлению и скорости его изменения, температуре, влажности, газовому составу, скорости движения воздуха в гермокабине в ожидаемых условиях эксплуатации на земле, а также на всех этапах и режимах полёта.

Принцип работы состоит из следующих этапов. Сначала происходит отбор воздуха от компрессоров двигателей. Эту функцию выполняет так называемая подсистема отбора или горячая часть системы, где воздух проходит первую стадию охлаждения, понижается его давление и регулируется расход. Затем воздух поступает в систему распределения (вентиляции) или холодную часть системы, где проходит вторую стадию охлаждения, регулирования оптимального количество влаги, уменьшения шума и создания выходной (заданной) температуры перед подачей его в герметичную часть фюзеляжа с параметрами, необходимыми для нормальной жизнедеятельности членов экипажа.

В настоящее время совершенство систем кондиционирования и обеспечиваемый ими уровень комфортности условий в кабине летательного аппарата во время полёта входят в число важных факторов.

1. Факторы, влияющие на жизнедеятельность человека в полёте

Человеческий организм достаточно хорошо приспособлен к разнообразным, но вполне определённым условиям среды обитания на земной поверхности. Однако полёты в земной атмосфере на воздушных шарах, начавшиеся в 1783 г., показали, что подъём на высоту может быть опасным для жизни. Человеку для совершения таких полётов необходимы специальные защитные средства. Для создания соответствующих эффективных средств потребовалось изучение особенностей условий полёта и способностей человека к преодолению воздействия неблагоприятных факторов.

1.1 Основные свойства земной атмосферы

Воздушная оболочка, образующая атмосферу Земли, по данным последних исследований, простирается до высот 2...3 тыс. км [2]. Теоретическая граница атмосферы - граница удерживания земным притяжением газовых частиц - лежит на высоте 28 тыс. км над полюсами и 42 тыс. км над экватором. Масса земной атмосферы составляет одну миллионную долю массы Земли и оценивается в 5,27·1018 кг. В нижнем слое атмосферы высотой 5,5 км сосредоточена половина всей её массы, а в нижнем слое высотой 20 км - 94 %.

Земная атмосфера в основном состоит (без учёта водяных паров) из азота (78,09 % по объёму), кислорода (20,95 %), аргона (0,93 %) и углекислого газа (0,03 %). Такой состав сохраняется неизменным до высот 80...100 км, в связи с чем данный слой называют гомосферой. Выше располагается гетеросфера - слой, где состав воздуха изменяется с изменением высоты. Под действием космического излучения молекулы компонентов воздуха разрушаются, и вещества переходят в атомарную и ионизированную форму. На высотах до 800 км главным газовым компонентом является атомарный кислород, а на высотах более 900 км преобладающими становятся водород и гелий, после чего земная атмосфера постепенно переходит в межпланетный газ.

Наличие водяных паров в самых нижних слоях атмосферы может быть весьма заметным. Во влажных тропиках водяной пар теоретически может занимать около 10 % объёма воздуха, соответственно тесня все остальные газовые компоненты. Решающим фактором, определяющим содержание водяного пара в воздухе, является сильная зависимость насыщающего влагосодержания от температуры. При +45 °С в воздухе может находиться в парообразном состоянии 65 г/м3 воды, при 0 °С - около 5 г/м3, при -50 °С - только 0,05 г/м3. Учитывая, что в нижних слоях атмосферы её температура быстро понижается с увеличением высоты (градиент равен -6,5 °С/км), можно легко объяснить факт присутствия в атмосфере водяных паров (в том числе и в виде облаков) лишь на малых высотах.

Следует отметить наличие в атмосфере озона - аллотропного видоизменения кислорода, отличающегося от обычной формы наличием трёх атомов в молекуле и образующегося из кислорода под действием коротковолновой ультрафиолетовой части спектра излучения Солнца на высотах 20...60 км. Распределение озона в атмосфере неравномерно, оно зависит от географической широты и, кроме того, имеет четко выраженные сезонные и суточные изменения. В средних широтах максимум концентрации озона наблюдается на высотах 19...21 км и составляет примерно 2,5·10-4 мг/л.

Озон весьма токсичен для человеческого организма: его предельно допустимая концентрация составляет 2·10-4 мг/л, что соответствует, например, предельно допустимой концентрации для отравляющего вещества фосгена. Отметим, что на высотах 19...21 км концентрация озона в атмосфере превосходит предельно допустимую ещё до сжатия воздуха (в 7...14 раз), необходимого для создания в кабине летательного аппарата требуемого давления. Следовательно, при полёте на этих высотах требуется защита человека от токсичного воздействия озона. Кроме того, под действием озона обесцвечиваются некоторые красители, а резиновые изделия разрушаются, рассыпаясь в порошок, при контакте в течение 2...4 ч с озоном с концентрацией 0,02...0,03 мг/л.

Экспериментально полученный график изменения температуры воздуха по высоте в атмосфере представлен на (рис. 1). Следует отметить, что показанная на графике высокая температура воздуха на больших высотах (до 1000 К) отражает только высокую скорость движения микрочастиц воздуха на этих высотах (температура является мерой кинетической энергии атомов и молекул вещества) и не вызывает заметного нагрева поверхности летательных аппаратов из-за большой разрежённости газа. Более важными для авиации являются закономерности поведения температуры воздуха на малых и средних высотах.

Рис. 1. Зависимость температуры воздуха T от высоты h в земной атмосфере (штриховкой показаны границы предельных отклонений на высотах до 30 км) [2]

По характеру изменения температуры по высоте атмосферу делят на пять слоёв (рис.1): тропосферу, стратосферу, мезосферу, термосферу, экзосферу. Участки перехода от слоя к слою называют паузами: тропопауза, стратопауза, мезопауза, термопауза.

Для получения зависимости давления от высоты необходимо рассмотреть статическое равновесие воздуха в поле гравитационных сил[1].

Для интегрирования уравнения (1.2) и получения аналитической зависимости р от h необходимо знать характер изменения ρ и g по высоте. В частности, для несжимаемой жидкости, например воды, когда g = const и ρ = const, интегрирование даёт линейную зависимость давления от глубины погружения: р = ро + ρgh, где ро - давление на свободную поверхность жидкости; h - глубина погружения, отсчитываемая от свободной поверхности вниз.

Если известен характер изменения температуры по высоте, уравнение (2) может быть проинтегрировано. В частности, для тропосферы при

 

Th = Tо - αh, (3)

где Th , То - значения абсолютной температуры на высоте h и нулевой высоте соответственно; α - градиент изменения температуры по высоте, α = 6,5 К/км, получаем

ph = po· , (4)

где po - давление на нулевой высоте; g - ускорение свободного падения, g = 9,80665 м/с2; R - газовая постоянная для воздуха, R = 287,05287 Дж/(кг·К).

Для начального участка стратосферы, на котором температура воздуха постоянна,

ph = po ст·exp , (5)

где hо ст - высота начала изотермического слоя стратосферы, м; ро ст - давление на высоте hо ст; Tо ст - значение абсолютной температуры.

В реальных условиях параметры атмосферы подвержены заметным отклонениям от своих средних значений (сезонным, суточным, метеорологическим и др.). В целях обеспечения сравнимости между собой результатов лётных испытаний авиационной техники, полученных в различных ситуациях, в нашей стране и за рубежом используется так называемая стандартная атмосфера, параметры которой рассчитываются по формулам типа (4), (5) [3]. В качестве констант в ней приняты (помимо уже упомянутых): То = 288 К (tо = 15 °С); ро = 101 325 Па (760 мм рт. ст.); hо ст = 11 км; Tо ст = 216,5 К (tо ст = -56,5 °С); ро ст = 22 690 Па (170 мм рт. ст.).

1.2 Влияние высотных полётов на организм человека

С ростом высоты, как было показано выше, атмосферное давление понижается. Это является причиной целого ряда неблагоприятных воздействий на человека, но в первую очередь ухудшается обеспечение организма кислородом. Кислород непрерывно участвует во всех жизненно важных процессах и доставляется ко всем органам, тканям и клеткам с помощью систем дыхания и кровообращения. Человек может обходиться без пищи более месяца, без воды - до двух недель, а без кислорода смерть наступает в течение нескольких минут.

При дыхании воздух через носоглотку, трахею и бронхи попадает в лёгочные альвеолы (диаметром около 0,2 мм), густо оплетённые капиллярными кровеносными сосудами. Через очень тонкие стенки сосудов (0,003...0,004 мм), представляющие собой полупроницаемые мембраны, происходят насыщение крови кислородом О2 и удаление углекислого газа СО2 в воздух. Общая поверхность альвеол достигает 90...120 м2. Кровь, насыщенная кислородом, доставляет его тканям организма и, обогатившись углекислым газом, вновь поступает в лёгкие.

Передача кислорода и углекислого газа по всему тракту систем дыхания и кровообращения подчиняется законам диффузии, т.е. происходит под действием разности парциальных давлений. Парциальное давление - это часть общего давления смеси, обусловленная наличием в ней данного компонента (такое давление имел бы газ, входящий в состав смеси, если бы он один занимал объём, равный объёму смеси при той же температуре). Сумма парциальных давлений всех компонентов составляет полное давление газовой смеси (закон Дальтона). Следовательно, парциальное давление пропорционально объёмной концентрации рассматриваемого вещества. В частности, для кислорода в атмосферном воздухе

, (6)

где - парциальное давление кислорода; ph - атмосферное давление на рассматриваемой высоте; - объёмная концентрация кислорода (в долях единицы); О2 - процентное содержание кислорода.

Парциальное давление кислорода в альвеолах легких отличается от парциального давления кислорода в атмосфере в связи с происходящими в альвеолах процессами газообмена:

, (7)

где - парциальное давление насыщенного водяного пара при температуре человеческого тела; - парциальное давление углекислого газа.

Из зависимостей (6) и (7) следует, что с ростом высоты даже при неизменном газовом составе атмосферного воздуха (характерном для гомосферы) парциальное давление кислорода уменьшается. Это вызывает снижение интенсивности процессов передачи кислорода в организм человека, причём его парциальное давление в альвеолах лёгких снижается в большей степени, чем в атмосфере.

При подъёме до высоты не более 2 км человек не испытывает какого-либо ухудшения самочувствия. С этой точки зрения диапазон высот от 0 до 2 км называют индифферентной зоной. На высотах от 2 до 3,5...4 км насыщение крови кислородом продолжает снижаться, но может быть парировано рефлекторным усилением деятельности сердца и лёгких. Данный диапазон высот называют зоной полной компенсации.

На высоте 3,5...4 км парциальное давление кислорода в альвеолярном воздухе становится равным 7,2...6,3 кПа (54...47 мм рт. ст.), и при дальнейшем увеличении высоты даже в условиях гипервентиляции легких нормальный газообмен нарушается. Эффекты кислородного голодания развиваются достаточно интенсивно, вплоть до полной потери человеком работоспособности, а нередко и потери сознания, которая у ряда лиц происходит на высотах 5...6 км, а у подавляющего большинства - на высотах 6...7 км. На высотах более 8 км возникают смертельно опасные для человека явления. Следует иметь в виду, что интенсивность кислородного голодания усиливается при выполнении человеком какой-либо работы.

Нормальная жизнедеятельность человека при подъёме на высоту может быть обеспечена поддержанием парциального давления кислорода в альвеолярном воздухе на уровне = 14,7 кПа (110 мм рт. ст.). Технически это можно осуществить путём поддержания соответствующего давления воздуха в окружающей человека среде (в герметической кабине или скафандре) или повышением процентного содержания кислорода во вдыхаемой смеси (применение кислородных приборов).

Требуемое изменение процентного содержания кислорода во вдыхаемом воздухе по высоте можно рассчитать с помощью формулы (8), задавшись необходимым (например, указанным выше) уровнем . В частности, можно установить, что на высоте 10 км необходимо подавать для дыхания чистый кислород, чтобы обеспечить в альвеолах парциальное давление кислорода, равное 14,7 кПа (110 мм рт. ст.). При дальнейшем подъеме будет снижаться даже при дыхании чистым кислородом. Из физиологических исследований известно, что минимальным парциальным давлением кислорода в альвеолах лёгких при котором кровь еще насыщается на 80...85 %, является давление 5,5...6,7 кПа (41...50 мм рт. ст.), что соответствует высоте 3,8...4,5 км при дыхании атмосферным воздухом или высоте 12,3...12,8 км, если для дыхания используется чистый кислород.

 (8)

Понижение атмосферного давления помимо кислородного голодания может вызвать ряд других неблагоприятных эффектов, в числе которых можно назвать высотный метеоризм, аэроэмболизм, высотную эмфизему и взрывную декомпрессию.

1.3 Влияние на человека теплового воздействия и влажности окружающей среды

В человеческом организме происходят процессы массоэнергообмена, при которых высвобождается энергия вследствие химического окисления веществ, получаемых с пищей, или окисления собственных органических веществ организма в случае, если суточный рацион не покрывает потребностей энергопотребления. Полученная энергия расходуется в основном на поддержание нормальной температуры тела 37 °С и на выполнение физической работы, к которой относится, в том числе и работа, затрачиваемая на поддержание определенного положения тела в гравитационном поле. Исследования показывают, что в общем балансе энергообмена доля, приходящаяся на внешнюю работу, совершаемую человеком, не превосходит в среднем 5 %, в то время как 95 % энергии выделяется в виде теплоты.

Теплообмен между человеческим организмом и окружающей средой происходит с помощью конвекции, испарения, излучения и теплопроводности. Интенсивность протекания этих процессов зависит от многих факторов - температуры, влажности и скорости движения окружающего человека воздуха, температуры ограждающих поверхностей, вида и свойств одежды, характера выполняемой работы и т.п.

Согласно официально принятому в США инженерами-теплотехниками и специалистами по системам кондиционирования воздуха определению [4] под тепловым комфортом подразумевается такое душевное состояние человека, при котором он выражает удовлетворённость микроклиматическими условиями окружающей его среды. Такое очевидно субъективное состояние соответствует полному тепловому равновесию, поддержание которого требует минимальных физиологических усилий, т.е. это состояние, при котором вся метаболическая (т.е. выработанная в организме) теплота быстро передается среде, непосредственно окружающей человека, не вызывая у него каких-либо значительных реакций (потения или озноба). Опыты свидетельствуют, что в состоянии теплового комфорта потребление человеком кислорода минимально (это, несомненно, важно для космических летательных аппаратов).

1.4 Влияние высоты и скорости полета на авиационные системы охлаждения воздуха. Работоспособность авиационных систем охлаждения по высоте и скорости полета

Как известно, холодопроизводительность систем охлаждения определяется двумя неизвестными, но не вполне равнозначными параметрами: температурой и расходом воздуха на выходе из системы. Неравнозначность их заключается в том, что получить требуемый расход воздуха для обеспечения заданной холодопроизводительностью в современных авиационных системах кондиционирования обычно технически проще, чем охладить воздух до более низкой температуры. Кроме того, повышение температуры на выходе из системы до уровня, превосходящего заданную температуру в охлаждаемом объекте, не может быть компенсировано никакими увеличением расхода воздуха. Система охлаждения воздушного цикла являются наиболее распространенными в современной авиационной технике, поэтому рассмотрим, как зависит их характеристика от скорости и высоты полета. При скорости полета, равной нулю, температура воздуха на выходе из системы, состоящей из компрессора, воздухо-воздушного радиатора и турбохолодильника, будет определяться зависимостью по формуле (9):

выхвх (9)

 

Где Т-температура на входе в турбохолодильник, которая для случая идеального теплообменника и нулевой скорости полета будет ровна статической температуре в атмосфере Т, а степень понижения давления воздуха П в турбохолодильнике будет определяться степенью повышения давления в компрессоре. При увеличении скорости полета в следствие торможения набегающего потока будет изменяться температура воздуха на входе в турбохолодильник, так и степень понижения давления в нем . Входящая температура будет равной температуре торможения:

 (10)

А степень понижения давления воздуха в турбине увеличится во столько раз, во сколько увеличится давление торможения

 (11)

 

Следовательно, для идеальных систем охлаждения воздушного цикла температура воздуха на выходе из системы не изменяется при изменении скорости полета. В реальных системах все процессы сопровождаются какими-либо потерями. Вследствие этого в реальных системах охлаждения воздушного цикла температура воздуха на выходе, чем в идеальных ,причем эта разница возрастает с увеличением температуры набегающего потока при соответствующем увеличении скорости полета. Таким образом ,всегда существует скорость полета, при повышении которой система становится неработоспособной вследствие перехода за требуемый уровень выходной температуры.


2. Основные агрегаты авиационных систем кондиционирования воздуха

.1 Теплообменные аппараты

Теплообменным аппаратом (теплообменником) называется агрегат, в котором происходит процесс передачи теплоты от среды с большей температурой к среде с меньшей температурой [2].

В СКВ применяются следующие типы теплообменников:

воздухо-воздушные (ВВТ);

топливовоздушные (ТВТ), в которых охлаждение воздуха происходит с помощью топлива, подаваемого из баков в двигатели самолета;

испарительные, в которых охлаждение воздуха происходит в результате изменения агрегатного состояния хладоносителя (воды, водоспиртовых смесей, сжиженных газов и т.п.).

Анализ современных СКВ показывает, что масса теплообменников на некоторых самолётах достигает 30 % массы системы [2].

Авиационные теплообменники характеризуются максимальной интенсификацией теплообмена, минимальными габаритными размерами и гидравлическим сопротивлением. Это обусловливает применение в их конструкции тонкостенных элементов и, следовательно, усложнение технологии изготовления.

В зависимости от направления относительного движения теплоносителей теплообменники бывают прямоточные, противоточные и перекрёстноточные. В прямоточных теплообменниках тепло и хладоносители движутся параллельно в одном направлении друг с другом, поэтому разность температур по длине теплопередающей поверхности уменьшается (один поток охлаждается, а другой - нагревается); этот тип теплообменников наименее эффективен. В противоточном теплообменнике потоки движутся навстречу друг другу, при этом разность температур мало изменяется и теоретически можно охладить теплоноситель до входной температуры хладоносителя. Однако реализовать конструкцию противоточного компактного авиационного теплообменника не всегда удаётся. Поэтому на практике очень часто применяют перекрёстноточные многоходовые теплообменники. В перекрёстноточном многоходовом теплообменнике (при двух-трёх ходах) удаётся обеспечить практически ту же эффективность, что и в противоточном. Обобщенной характеристикой совершенства теплообменника является его эффективность, или температурный КПД η, представляющий собой отношение количества переданной теплоты Q к максимально возможному её значению Qmax.

Эффективность теплообменника зависит от относительного движения теплоносителей, отношения водяных эквивалентов и совершенства теплообменной поверхности.

Современные теплообменники характеризуются значениями коэффициента теплопередачи kт. ср = 75...140 Вт/(м2·К) [6]. Эффективность теплообменника η = 0,5...0,95 и зависит в основном от его конструкции и соотношения водяных эквивалентов холодного и горячего потоков.

Выбор размеров теплообменника производится в каждом конкретном случае с учётом условий его компоновки на самолёте.

По конструктивному оформлению теплопередающей поверхности теплообменники можно разделить на две группы: трубчатые и пластинчатые.

В трубчатых теплообменниках горячий воздух высокого давления проходит внутри трубок, а хладоноситель - между трубок.

Большое распространение благодаря высокой интенсификации теплообмена, компактности и простоте изготовления получили пластинчато-ребристые теплообменники.

В пластинчато-ребристых теплообменниках теплопередающая поверхность состоит из плоских листов, между которыми располагаются гофрированные листы. Гофры, соединяя плоские листы в монолитную конструкцию, выполняют роль рёбер, значительно увеличивающих теплопередающую поверхность и повышающих прочность теплообменника.

.1.1 Воздухо-воздушные теплообменники

Охлаждение воздуха, отбираемого от компрессора двигателя, происходит за счёт передачи теплоты окружающей атмосфере. Наиболее распространён компактный ВВТ, в котором теплота отводится к специально организованному потоку продувочного воздуха. Часто встречается схема продува ВВТ с помощью вентилятора турбохолодильника. В этой схеме вентилятор обеспечивает продувку теплообменника при стоянке самолёта и его рулёжке по аэродрому, а в полёте основным побудителем движения продувочного воздуха становится скоростной напор. Вентилятор во время полёта может оказаться “узким местом”, ограничивающим расход и не позволяющим достигнуть максимально возможной эффективности ВВТ. Для преодоления данного недостатка схема может быть модернизирована введением обводной линии (вокруг вентилятора), соединяющей выходную полость теплообменника через обратный клапан с атмосферой. Увеличивая расход продувочного воздуха, удаётся получить коэффициент эффективности радиатора η = 0,8...0,85.

Понятие стартовой массы, заключается в идее о неэквивалентности установочной массы системы или агрегата с суммарной затратой массы на самолёте, учитывающей расход топлива на работу этой системы или агрегата и на транспортировку их на борту ЛА. Так, например, для работы ВВТ необходимо из общего потока отобрать какую-то часть воздуха, изменить направление его скорости и саму величину скорости, нагреть этот поток и выпустить в атмосферу. По оценке, приведенной в работе [7], стартовая масса отбора воздуха может превышать массу теплообменника в 20 раз. Отсюда вытекает важность оптимального выбора параметров теплообменника.

2.1.2 Канальные воздухо-воздушные теплообменники

Вместо компактных теплообменников на некоторых самолётах применяются поверхностные - канальные теплообменники, в которых стенка канала воздухозаборника представляет собой теплопередающую поверхность. Эта поверхность обдувается воздухом, поступающим в двигатель самолёта. Вследствие большого расхода воздуха в канале (50...200 кг/с) происходит интенсивная теплопередача и величина ηВВТ = 0,95. Сложность компоновки самолёта с таким радиатором (длина радиатора для СКВ с расходом 2500 кг/ч должна составлять около 1,5 м) и большая масса теплообменника не позволяют его применять на любом самолёте.

2.1.3 Воздухо-жидкостные испарительные теплообменники

Использование скрытой теплоты парообразования является одним из широко применяемых способов охлаждения воздуха в СКВ. В настоящее время многие скоростные самолёты в составе СКВ имеют воздухо-водяные или воздухо-водоспиртовые испарительные теплообменники. В испарительных теплообменниках охлаждаемый воздух, проходя по каналам, передаёт теплоту жидкости через стенки. Жидкость нагревается и при достижении насыщения при данном давлении начинает кипеть, интенсивно испаряясь. Воздухо-водяные испарительные теплообменники имеют коэффициент эффективности η = 0,85...0,9.

Наибольшее распространение в качестве хладагента получила вода. Она имеет крупный недостаток - замерзание при отрицательных температурах, однако её дешевизна, большая теплота парообразования заставляют конструкторов находить способы защиты конструкции от разрушения при замерзании воды.

2.1.4 Воздухо-водовоздушные испарительные теплообменники (ВВИТ)

 В целях повышения эффективности охлаждения горячего воздуха в испарительных теплообменниках и уменьшения выходной температуры в ряде систем применяется охлаждение за счёт увлажнения продувочного воздуха посредством впрыска в него воды. Испарение воды в потоке воздуха приводит к существенному снижению его температуры.

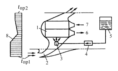
В качестве испарительного теплообменника с впрыском (рис. 2) применяют обычные ВВТ, как пластинчато-ребристые, так и трубчатые. Во входном патрубке продувочной линии устанавливается форсунка, через которую впрыскивается вода или водоспиртовая смесь. Расход жидкости зависит от тепловой нагрузки на теплообменник, температуры продувочного воздуха и выходной температуры горячего воздуха, как правило, выше 45 °С.

Рис. 2. Схема продувки воздухо-водовоздушного испарительного теплообменника [2]: 1 - теплообменник; 2 - воздухозаборник; 3 - форсунка; 4 - запорный кран; 5 - водяной бак; 6 - охлажденный воздух; 7 - горячий воздух; 8 - эпюра температуры продувочного воздуха tпр

2.1.5 Особенности теплообменника-конденсатора

Теплообменник-конденсатор применяется для выделения влаги из воздуха в линии высокого давления до турбины турбохолодильника и включается в систему по схеме “петля” (рис. 3). После дополнительного сжатия воздуха в компрессоре 3 и охлаждения в ВВТ 6 сжатый воздух подаётся в горячий тракт конденсатора 1. В результате отвода от него теплоты при переходе точки росы происходит капельная конденсация влаги на стенках каналов.

Образующиеся капли выносятся из конденсатора и улавливаются влагоотделителем 5. Далее сжатый воздух поступает на турбину 2 турбохолодильника для его охлаждения за счёт газодинамического расширения. В проточной части турбины происходят процессы гомогенной конденсации паров воды, а также дробления лопатками турбины капельной влаги, не уловленной влагоотделителем 5. В итоге на выходе турбины образуется аэрозольный туман с каплями диаметром 0,1...15 мкм. При попадании этого тумана в холодный тракт конденсатора 1 по мере увеличения температуры воздуха происходит практически адиабатическое испарение аэрозоля. Наличие водного аэрозоля резко увеличивает охлаждающую способность холодного воздуха.

Рис. 3. Принципиальная схема включения теплообменника-конденсатора[2]: 1 - теплообменник-конденсатор; 2 - турбина турбохолодильника; 3 - компрессор турбохолодильника; 4 - аэрозольный туман; 5 - влагоотделитель; 6 - ВВТ

.2 Турбохолодильники

.2.1 Конструкция и принцип работы турбохолодильника

Турбохолодильники - это лопаточные машины, в которых осуществляется близкий к адиабатическому процесс расширения потока воздуха с понижением его температуры. Заметим, что понижение температуры при расширении газов не единственный физический эффект, который можно использовать для искусственного охлаждения рабочего тела. Охлаждение достигается также, например, при фазовых превращениях, в процессах десорбции, при энергетическом разделении вихревых потоков, магнитотермических и магнитокалорических явлениях в парамагнитных веществах, использовании термоэлектрического эффекта, дросселировании.

При всех различиях перечисленных явлений у них есть одна общая принципиально важная особенность: стационарное (установившееся) охлаждение происходит только тогда, когда энергия, высвобождаемая при изменении теплового состояния рабочего тела, отводится от него и передается во внешнюю среду или в другие элементы системы. Более того, какими бы ни были исходные условия процессов охлаждения, количество потерянной теплоты будет зависеть от того, какая энергия отведена от рабочего тела.

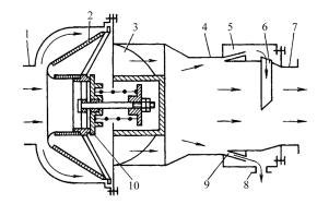
Рассмотрим работу ТХ (рис. 4). Сжатый воздух поступает в турбину через патрубок 1 и с помощью улитки 2 направляется в кольцевой сопловой аппарат 3. В сопловом аппарате вследствие изменения площади проходного сечения межлопаточных каналов скорость движения воздуха увеличивается, а давление падает. При падении давления в потоке температура газа понижается по

Рис. 4. Принципиальная схема турбохолодильника [2]: 1 - патрубок; 2 - улитка; 3 - сопловой аппарат; 4 - лопатки рабочего колеса; 5 - рабочее колесо турбины; 6 - вал; 7 - подшипник; 8 - рабочее колесо вентилятора

адиабатическому закону (если пренебречь теплообменом с окружающей средой). Ускоренный и охлаждённый поток воздуха подаётся затем на лопатки 4 рабочего колеса 5 турбины, при обтекании которых возникают силы, создающие момент вокруг оси вращения. Поток воздуха в межлопаточных каналах рабочего колеса может не только отклоняться от первоначального направления вследствие кривизны этих каналов, но и ускоряться при соответствующем изменении их поперечного сечения. В последнем случае охлаждение воздуха происходит не только в сопловом аппарате, но и в межлопаточных каналах рабочего колеса. Возникающий на рабочем колесе момент вращения передаётся через вал 6, установленный в подшипниках 7, к рабочему колесу 8 вентилятора или компрессора, выполняющему в данном случае роль потребителя энергии, отводимой от потока воздуха в турбине. Воздух в турбине движется от периферии к центру в плоскости, параллельной диску рабочего колеса. Такие турбины называют радиальными центростремительными. В особых случаях радиальные турбины могут быть и центробежными, хотя, как будет показано, направление потока от оси к периферии неэффективно для турбин, но рационально для компрессоров и вентиляторов. Достаточно широко (особенно в турбореактивных двигателях ЛА) распространены так называемые осевые турбины, в которых поток движется в цилиндрическом слое, параллельном оси рабочего колеса.

В ТХ происходят преобразование внутренней энергии потока воздуха в кинетическую и последующее превращение части кинетической энергии в работу. Итоговое понижение температуры воздуха на турбине ТХ определяется, с одной стороны, полнотой преобразования внутренней энергии газа в кинетическую энергию потока, а с другой - степенью превращения кинетической энергии потока в работу. В реальных турбинах процесс расширения газа сопряжен с потерями, из-за которых воздух в ТХ удаётся охладить лишь на 70...95 % разности температур, соответствующей адиабатическому закону расширения газа.

Отношение разности температур на входе и выходе в реальном турбохолодильнике ∆ТД к разности температур при адиабатическом расширении газа ∆ТАД при одинаковых значениях начальной температуры и степени понижения давления называется КПД турбохолодильника: ηтх = ∆ТД /∆ТАД .

Основным условием долговечности и надежности высокооборотных ТХ является нормальное функционирование системы смазки и охлаждения. Поэтому их совершенствованию уделяется большое внимание.

Выбор системы смазки зависит от конструкции ТХ и условий его эксплуатации. Подробно эти вопросы изложены в работе [8]. Смазка ТХ может осуществляться с помощью фитилей, подводящих масло из камеры, заполненной пористым материалом, пропитанным маслом. Другим способом является шнековая смазка, когда с помощью винтовых нарезок на валу масло подаётся к подшипникам. Для каждого подшипника выполняется своя нарезка. В ТХ с большим расходом применяют принудительную систему смазки, осуществляющую подачу к узлам подшипников масляного тумана, который обеспечивает не только смазку, но и охлаждение. В техническое обслуживание ТХ входит проверка наличия масла и его уровня без применения дополнительных средств контроля.

Для удобства контроля и обслуживания ТХ в системе смазки предусмотрен выносной уровнемер, выполняемый обычно в виде прозрачного цилиндра, на котором нанесены риски для контроля уровня масла. После отработки турбохолодильником установленного времени масло необходимо заменять. Для замены масла в конструкции ТХ должны быть предусмотрены сливная и заливная пробки, а при размещении ТХ - обеспечиваться возможность подхода к этим пробкам, а также доступность контроля.

При фитильной смазке масло в камеру заливают при помощи мерной ёмкости.

.2.2 Требования, предъявляемые к турбохолодильникам

Основными требованиями, предъявляемыми ко всем агрегатам авиационных систем, являются минимальные масса и габаритные размеры агрегата, высокий КПД, заданный уровень надёжности и живучести, производственная и эксплуатационная технологичность, максимальное использование стандартных, нормализованных и унифицированных деталей, точность выполнения присоединительных и крепёжных размеров, обеспечивающая взаимозаменяемость. В турбохолодильнике воздух, проходящий через турбинное колесо, не должен засоряться маслом, нагреваться до пожароопасной температуры и нарушать работоспособность других элементов летательного аппарата. Необходимо предусмотреть возможность установки ТХ на звукоизолирующем основании.

Использование новых, более совершенных материалов, обладающих повышенной прочностью при небольшой плотности (например, титановых сплавов), применение наиболее экономичных профилей сопловых и рабочих лопаток, обеспечение высокой чистоты и точности механической обработки элементов проточной части, использование специальных подшипников, уплотнений и маслоподводящих устройств позволяют получить наиболее рациональный, высокоэффективный ТХ.

Эффективность работы ТХ зависит от большого числа факторов, которые не всегда поддаются учёту с помощью теоретических расчётов. Поэтому при разработке новой конструкции ТХ проводится большой объём испытаний, в результате которых определяют функциональные и эксплуатационные характеристики агрегата и получают данные о влиянии чисто конструктивных параметров на качество ТХ.

.3 Элементы специального назначения

.3.1 Заслонки регуляторов температуры воздуха в гермокабине

Регулирование температуры воздуха в гермокабине (ГК) происходит в результате изменения температуры подаваемого в кабину воздуха при относительно постоянном расходе. Схемы возможных систем регулирования показаны на (рис. 5).

Регулирование температуры воздуха в ГК происходит следующим образом: воздух от компрессора разделяется на две линии - “горячую” и “холодную”. В “горячей” линии воздух в зависимости от температуры воздуха компрессора или частично охлаждается, или подогревается и через регулятор расхода поступает в общий трубопровод. В “холодной” линии воздух охлаждается и также поступает в общий трубопровод, где смешивается с горячим воздухом. Соотношение между расходами подаваемого в кабину горячего и холодного воздуха определяется положениями заслонок распределителя при схеме “а” или смесителя воздуха при схемах “б” и “г”, которые управляются с помощью привода по команде датчика температуры. При схеме “в” в кабину подаётся постоянно холодный воздух, а нужная температура обеспечивается подмешиванием к нему горячего воздуха с помощью заслонки регулятора температуры. В некоторых случаях для рационального использования холодного или горячего воздуха (холодный воздух - для создания вокруг человека микроклимата, горячий воздух - для защиты остекления от запотевания) в качестве смесителя используется сама кабина (схема “г”).

Рис. 5. Схемы систем регулирования температуры воздуха в ГК [2]: а - схема с распределителем воздуха; б - схема со смесителем воздуха; в - схема с одноканальной заслонкой; г - схема с раздельным вводом горячего и холодного воздуха; 1 - воздух, поступающий от двигателя; 2 - распределитель воздуха; 3 - агрегаты “горячей” линии; 4 - обратный клапан; 5 - воздух, поступающий в кабину; 6 - датчик температуры; 7 - ГК; 8 - регулятор температуры; 9 - агрегаты “холодной” линии; 10 - линия отбора холодного воздуха для создания микроклимата; 11, 13 - смеситель; 12 - одноканальная заслонка; М - мотор

Распределитель и смеситель регулятора температуры представляют собой агрегаты с двумя заслонками, кинематически связанными между собой рычагами и управляемыми электро- или пневмомеханизмом.

На (рис. 6) показана конструкция смесителя воздуха с электромеханизмом. Работа регулятора температуры воздуха в кабине происходит следующим образом: при отклонении температуры воздуха в ГК биметаллическая спираль, изменяя угол закрутки, замыкает электрический контакт, и электрический ток после усиления поступает на обмотку электродвигателя, который поворачивает заслонки. Поворот заслонок изменяет расход горячего и холодного воздуха и приводит к изменению температуры воздуха ГК.

 

Рис. 6. Смеситель воздуха с электромеханизмом [2]: 1 - заслонка “холодной” линии; 2 - корпус; 3,14 - ось; 4 - втулка; 5,11,13 - рычаг; 6, 10, 12 - тяга; 7 - пружина; 8 - качалка; 9 - электромеханизм; 15 - заслонка “горячей” линии; 16 - дренажный штуцер

В связи с большой инерционностью биметаллического термодатчика в настоящее время подобные регуляторы температуры заменяются на электронные регуляторы.

.3.2 Влагоотделители

При полёте самолета на малой высоте в воздухе, поступающем в ГК после его охлаждения в теплообменнике и турбохододильнике, влага содержится в парообразном и капельном состояниях. Капельная жидкость оседает на стенках трубопроводов, в блоках оборудования, что может вызывать отказ аппаратуры, или создает в кабине туман, затрудняющий экипажу самолёта пилотирование и вызывающий неприятные ощущения у пассажиров. Для удаления капельной влаги в СКВ устанавливаются влагоотделители (рис. 7).

Сложность применения механических влагоотделителей в СКВ связана с малыми размерами (до 10 мкм) капель влаги. Такие капли не отделяются центробежными силами, и их необходимо коагулировать (укрупнять) до

Рис. 7. Схема влагоотделителя с коагулятором [2]: 1 - входной фланец; 2 - коагулятор; 3 - винт; закручивающий поток; 4 - сепарационный канал; 5 - водоловушка; 6 - возвратная трубка; 7 - выходной фланец; 8 - дренажный штуцер; 9 - кольцевой зазор; 10 - предохранительный клапан

размеров 30...50 мкм. Для этого на входе во влагоотделитель устанавливается коагулятор из мелкоячеистой сетки (фетр), в порах которого капли задерживаются. В результате образуется плёнка жидкости, с которой затем воздушным потоком срываются укрупнённые капли.


2.3.3 Увлажнители воздуха

На больших высотах атмосферный воздух становится практически сухим. При длительных высотных полётах возникает неприятное ощущение сухости, которая может привести к заболеваниям гортани. Поэтому на некоторых самолётах в СКВ устанавливаются увлажнители воздуха. В увлажнителях воздуха парогенераторного типа вода в виде пара поступает в воздух. Электроувлажнители в СКВ применяются редко, так как при испарении воды в кипятильниках пар приобретает неприятный специфический запах.

Рис. 8. Форсуночный увлажнитель [2]: 1 - фланец; 2 - штуцер подвода воды; 3 - чека; 4 - кольцо; 5 - выходной фланец; 6 - стяжной винт; 7 - сетка; 8 - корпус; 9 - форсунка

Большое распространение получили конструкции испарительных увлажнителей (рис. 8) с пневматическим распылением воды непосредственно в увлажняемом воздухе. Такой увлажнитель, состоит из трубки Вентури, в горловине которой установлены форсунки 9, дозирующие и распыляющие воду в потоке воздуха. Неиспарившаяся вода попадает на сетку 7, где испаряется.

2.3.4 Фильтры

Подаваемый в кабину атмосферный воздух, загрязнённый взвешенными в нём твёрдыми частицами (пылью) размером от долей до десятков микрон, называется аэрозолем. К грубодисперсным аэрозолям относятся смеси с размером частиц от 1 до 100 мкм, к высокодисперсным - с размером менее 1 мкм.

Если попадающая в кабину вместе с воздухом пыль просто загрязняет кабину, то аэрозоли, осаждаясь на деталях электрорадиооборудования, изменяют параметры оборудования, что недопустимо. Поэтому в современных СКВ наличие аэрозольного фильтра считается обязательным.

В настоящее время разработаны специальные фильтрующие материалы, очищающие воздух от высокодисперсных аэрозолей. Эти материалы состоят из ультратонких волокон полиакрилата или стеклянных и базальтовых волокон и предназначены для фильтров, работающих при температуре до 250 или 450...600 °С соответственно.

2.3.5 Воздухопроводы

На пассажирских самолётах общая длина воздухопроводов СКВ достигает нескольких сот метров, а масса - 500...600 кг, что составляет 40...50 % массы всей системы. Воздухопроводы СКВ располагаются в гондолах двигателей, центроплане, проходят по пассажирским салонам, кабине экипажа. Трубы диаметром от 4 до 200 мм обеспечивают транспортировку воздуха с температурами от -40 до +600 °С и давлением до 2,6 МПа.

В основе проектирования воздухопровода лежат следующие положения:

минимальный вес и высокая надёжность в эксплуатации в течение всего технического ресурса самолёта;

геометрические размеры (диаметр и конфигурация) должны обеспечивать допустимое гидравлическое сопротивление;

применение современных технологий при изготовлении (автоматическая сварка, цельнотянутые трубы и т.п.) и монтаже (взаимозаменяемость отдельных участков); обеспечение компенсации температурных расширений и деформаций мест крепления на ЛА, герметичности воздухопровода.

Воздухопроводы изготавливаются из алюминиевых сплавов АМг или АМц, из стали Х18Н9Т, титановых сплавов ОТ4 или из армированных неметаллических материалов.

На воздухопровод воздействуют нагрузки, обусловленные внутренним давлением, монтажными и температурными деформациями, сосредоточенными массами (стыки труб, агрегаты), знакопеременными нагрузками при пульсации движущейся среды, вибрациями и т.п. Толщина стенок труб выбирается из прочностных расчётов по допустимому напряжению материалов при максимальной эксплуатационной температуре стенки.

Для применяемых в СКВ воздухопроводов с учётом их диаметров и материалов, температур и давлений воздуха толщина стенки трубы в основном определяется технологией изготовления воздухопровода, в частности возможностями сварки. Исходя из этого толщина стенки для воздухопровода из стали Х18Н9Т составляет 0,6...0,8 мм, из титанового сплава ОТ4 - 0,8...1 мм, из алюминиевых сплавов - 1...1,2 мм.

Монтажные напряжения в воздухопроводах часто возникают из-за неточности изготовления патрубков. Для их компенсации применяются технологические компенсаторы в виде сильфонов, специальные фланцевые стыки или прорезиненные муфты. В полёте при прохождении по воздухопроводам горячего воздуха они разогреваются до 500...600 °С и удлиняются. Удлинения, приходящиеся на каждый метр длины трубопровода, для стальных труб достигают 1,74 мм, для труб из титанового сплава - 0,96 мм, для труб из алюминиевого сплава - 2,5 мм на каждые 100 °С нагрева. Поэтому в конструкциях должны быть предусмотрены температурные компенсаторы.

3. Комплексная система кондиционирования воздуха самолёта ТУ-160

 

Рис. 9. Общий вид самолета в полете

.1 Назначение и состав

 Комплексная система кондиционирования воздуха (КСКВ) предназначена:

. Для создания заданного микроклимата в герметической кабине (ГК) экипажа;

. Для обеспечения требуемого давления и температуры воздуха, подаваемого в защитное снаряжение членов экипажа;

. Для поддержания необходимых температурных режимов в отсеках с оборудованием;

. Для поддержания необходимых температурных режимов в грузовых отсеках и в специальной аппаратуре изделия;

. Для наддува заднего технического отсека при аварийном сливе топлива.

Кроме того, комплексная система кондиционирования воздуха обеспечивает подачу воздуха:

1) от ВСУ, УВЗ или работающего двигателя на запуск двигателей самолёта;

) от ВСУ во время полета и при отработках на земле к турбонасосным установкам (ТНУ) гидросистемы;

) в систему аварийного наддува гидробаков;

) в систему дренажа и наддува топливных баков в случае выхода из строя азотной системы 3240;

) для наддува бачка с водоспиртовой смесью системы зашиты стёкол фонаря кабины экипажа от атмосферных осадков и загрязнений;

6) для обогрева приемников статического давления.

Комплексная система кондиционирования воздуха( рис.10) включает в себя:

. Систему отбора и подачи воздуха.

2. Систему предварительной подготовки и распределения воздуха

3. Систему кондиционирования воздуха (СКВ) кабины экипажа.

. Систему кондиционирования защитного снаряжения экипажа.

. Систему кондиционирования грузовых отсеков.

. Систему охлаждения специальной аппаратуры.

. Систему охлаждения аппаратуры носового технического отсека.

. Систему охлаждения отсеков изделий (ракет) на многопозиционную катапультную установку.

. Систему охлаждения аппаратуры переднего технического отсека.

. Систему охлаждения аппаратуры средних и заднего технических отсеков.

. Систему регулирования температуры.

.Систему наддува заднего технического отсека.

. Систему обогрева отсека ВСУ.

Рис. 10. Блок схема системы кондиционирования воздуха

3.1.1 Характеристика системы

 В качестве источника воздуха для КСКВ в полете используются двигатели самолета. Воздух отбирается от 12-ой ступени компрессоров высокого давления двигателей [7]. На земле КСКВ может работать с отбором воздуха от ВСУ или УВЗ. Для подсоединения рукавов УВЗ на борту самолета предусмотрены два штуцера ВОЗДУШНЫЙ ЗАПУСК, расположенных в нижней части левой и правой мотогондолы

Для охлаждения оборудования на земле, отыскания и устранения неисправностей и при проверках в процессе регламентных работ в КСКВ предусмотрены пять штуцеров подключения наземного кондиционера.

Для уменьшения теплообмена от нагрева конструкции и снижения шума в кабине экипажа от двигателей и набегающего воздушного потока на самолете установлена теплозвукоизоляция (стекловата, облицованная стеклотканью).

В конструкции воздухопроводов в качестве основных материалов применены алюминевые сплавы АМц, АМг2М и АМг3М и нержавеющая сталь 12Х18Н10Т-М. Воздухопроводы системы отбора воздуха от двигателей и системы предварительной подготовки и распределения воздуха, включая узел охлаждения воздуха в топливовоздушных теплообменниках, выполнены из нержавеющей стали. Характеристика системы указана в таб. 1.

Таблица 1 Характеристика системы кондиционирования воздуха

 

 Системы КСКВ

Расход воздуха (кг/час)

Давление на выходе (кгс/см2)

tо воздуха в системе ( о С)

tо воздуха в отсеке ( о С)

1.

Отбор и подача воздуха

до 8000±400

5± 0,5

+490 ±30

-

Предварительной подготовки и распределения: - режим кондиционирования - режим обогрева

  - -

  - -

  +30 ± 5 +70 ± 5

  - -

3.

Кабина экипажа

1000...2000

3,5...5

-

20 ± 5

4.

ВМСК

80...120

1,6...0,16

+16...+80

-

5.

Грузовых отсеков: - линия обогрева - линия охлаждения

 до 1200

 

 + 70+20-10 + 5 ± 1,5

 -20...+50

6.

Отсек ВСУ

80+20-10

3,5...5,5

+180..+350

+15 ± 3... ...+27 ± 3

7.

Носовой технический отсек: Н > 8000м Н<8000м

1140±110  500 ± 80 670+110-90


+30 ± 5  -20 ± 5 +5 ± 3

  

8.

Изделий и аппаратуры в грузовых отсеках: - вариант 1  - вариант 2

  1190+50-80 710 ± 50

  0,5 0,2

  +5 ± 3 +5 ± 3


9.

Передний технический отсек: - Н < 8000м - Н > 8000м

  1870+430-270 980±100

  2...5

+30  +5 ± 3 -20 ± 5

 не более +60

10.

Средних и заднего ТО: - средние ТО - задний ТО

 по 300 460

 1,6

 +5 ± 3 (тах +20)

 не более +60

11.

Наддува заднего ТО

500 ± 100

избыт. Р 0,05±0,02

+10...+50



3.2 Управление и контроль, за работой комплексной системой кондиционирования воздуха

Щиток СИСТЕМА КОНДИЦИОНИРОВАНИЯ (рис.11) установлен на боковом пульте рабочего места 3(штурмана-оператора).

Рис.11. Панель управления КСКВ: 2,24-выключатель ОТБОР; 5,21- выключатель МАГИСТРАЛЬ; 1- выключатель КОЛЬЦЕВАНИЕ; 6- кнопка-табло жёлтое КОЛЬЦЕВАНИЕ МАГИСТР; 8,19- выключатель ТО, ГО; 10- выключатель ГО ПЕРЕДНИЙ; 17- выключатель ГО ЗАДНИЙ; 15- выключатель КАБИНА ЭКИПАЖА; 16- выключатель ТО ПЕРЕДНИЙ И НОСОВОЙ; 13- переключатель РЕГУЛИР. Т° КАБИНЫ ЭКИПАЖА; 11-задатчик температуры; 12- переключатель ЗАЩИТНОЕ СНАРЯЖЕНИЕ; 4,22- табло желтое ОТБОР ОТКАЗ; 7,20 табло желтое ОТКАЗ (магистраль); 15- табло желтое ОТКРЫТЫЙ ЛЕВЫЙ, ОТКРЫТЫЙ ПРАВЫЙ открытое положение кранов левого, правого бортов; 9- табло желтое ПОДАЧИ НЕТ; 18- табло желтое ПЕРЕГРЕВ; 14- табло ТХУ ОТКАЗ желтое

На боковом пульте каждого члена экипажа и на месте отдыха экипажа имеется щиток ЗАЩИТНОЕ СНАРЯЖЕНИЕ (рис.12) управления системой кондиционирования воздуха в защитном снаряжении экипажа, на котором расположены:

 1-переключатель РЕГУЛИР;

2-задатчик температуры 4399ВТ ЗАДАТЧИК Т°

3-кран вентиляции снаряжения ВЕНТИЛЯЦИЯ

Рис. 12.

Похожие работы на - Особенности конструкции и эксплуатации сверх звукового транспортного воздушного судна (на примере самолета Ту-160)

 

Не нашли материал для своей работы?
Поможем написать уникальную работу
Без плагиата!
Без нейросетей!