Автоматизация конструкторско-технологической подготовки производства муфты сцепления мобильной буровой установки
Содержание
Введение
. Конструкторская часть
.1 Цели и задачи выпускной
квалификационной работы
.2 Описание конструкции и принцип
работы муфты сцепления
. 3D Моделирование в современном
мире и его преимущества
. Разработка трехмерных моделей и
ассоциативно связанных чертежей компонентов муфты сцепления
.1 Методика создания компьютерных
моделей деталей
.2 Методика создания сборочной
единицы
.3 Метод создания разнесенной сборки
.4 Автоматизированная разработка
конструкторской документации
.5 Создание связанных спецификаций
.6 Разработка разнесенных сборок и
каталогов компонентов муфты сцепления
. Исследование
напряженно-деформированного состояния компонентов вала
.1 Решение линейных задач теории
упругости методом конечных элементов
.2 Использование трёхмерной модели
для расчёта изделия методами имитационного моделирования
.3 Расчет
напряженно-деформированного состояния детали в среде SolidWorksSimulation
. Разработка технологического
процесса изготовления детали вал
.1 Описание, назначение и
конструкция детали
.2 Технологический контроль чертежа
детали
.3 Анализ технологичности
конструкции детали
.4 Определение типа производства
.5 Выбор заготовки
.6 Расчет припусков на обработку
.7 Выбор оборудования
.8 Расчет режимов резания,
нормирование операций
. Управляющая программа
Заключение
Список использованных источников
Введение
В настоящее время муфты сцепления нашли широкое
применение почти во всех сферах. С помощью муфты осуществляется кратковременное
разъединение, то есть прекращение плотного соприкосновения ведущих и ведомых
дисков механизма сцепления. Таким образом, муфта - это деталь общего механизма,
единого блока сцепления.
Основной целью выпускной квалификационной работы
является автоматизированная разработка технического руководства по эксплуатации
и ремонту компонентов муфты сцепления мобильной буровой установки.
В процессе эксплуатации детали и узлы прибора
приходят в негодность, как следствие, - нуждаются в ремонте или замене. Поэтому
существует необходимость в создании технических руководств и каталогов, с
помощью которых можно быстро и качественно осуществить ремонт и замену
комплектующих. муфта сцепление конструкторский
Тема данной выпускной квалификационной работы
актуальна, так как составление технических руководств является важной
составляющейконструкторской документации на изделие. Для каждого предприятия
разработка руководства по эксплуатации (РЭ) - неотъемлемая часть разработки
(проектирования) промышленного оборудования, поэтому обязательность наличия
данного документа у производителя, поставщика и, в конечном счете, пользователя
продукции, ни у кого не вызывает сомнений.
Также важно отметить, что РЭ входит в комплект
документов, обязательных для представления в орган по сертификации при
проведении подтверждения соответствия продукции требованиям технических
регламентов.
1. Конструкторская
часть
.1 Цели и задачи выпускной
квалификационной работы
Современное сообщество в своем развитии или
хозяйственной деятельности активно употребляет графический язык, которому на
нынешний день альтернативы нету (голографические технологии пока что находятся
над стадии исследования). Графический язык обретает родное научно-техническое
использование путем черчения проекций трехмерных объектов в двухмерной
плоскости.
Потому, целью предоставленной выпускной квалификационной
работы является автоматизация компонентов муфты сцепления. Исходя из
поставленной цели, необходимо решить следующие задачи:
Создать трехмерные модели и чертежи компонентов
визира оптического устройства;
Создать разнесенные сборки и каталоги изделий;
Рассчитать нагрузки, действующие на червячный
вал со стороны колеса;
Исследовать напряженно - деформированное
состояние детали "вал";
Разработать технологию изготовления детали
"вал";
В выпускной квалификационной работе изучению и
анализу подлежат механизмы переключениями муфты сцепления.
1.2 Описание
конструкции и принцип работы муфты сцепления
Муфты - устройства, предназначенные для
соединения концов валов или для соединения валов с расположенными на них
деталями.
Основное назначение муфт - передача вращающего
момента без изменения его модуля и направления. Муфты могут выполнять и другие
функции: предохранять механизм от перегрузок, компенсировать несоосность валов,
разъединять или соединять валы во время работы и др.
Классификация муфт. Имеется большое разнообразие
конструкций муфт, которые различаются не только функциональным назначением, но
и принципом действия: механические, гидравлические, электрические и др. Широко
применяемые муфты стандартизованы [10]. Основной паспортной характеристикой муфты
является значение вращающего момента, на передачу которого она рассчитана. Ниже
рассматриваются только наиболее распространенные в машиностроении механические
муфты.
По характеру соединения валов муфты подразделяют
на неуправляемые (постоянные), управляемые и самоуправляемые (автоматические).
Муфты глухие. Образуют жесткое и неподвижное
соединение валов. Они не компенсируют ошибки изготовления и монтажа, требуют
точной центровки валов. Применяются обычно глухие муфты для тихоходных валов.
Втулочная муфта - самая простая из глухих
муфт. Она состоит из соединительной втулки со штифтами или шпонками, как
показано на рисунке 1. Основное их достоинство - простота конструкции.
Применяют их при относительно небольших нагрузках на валах диаметрами до 60…70
мм.
Рисунок 1 - Втулочные муфты
Муфта фланцевая - наиболее распространенная,
состоит из двух полумуфт 2, соединенных болтами 1. Болты ставят через один: с
зазором (вариант I) и без
зазора под развертку (вариант II).
Центрирование полумуфт в этом случае осуществляют болтами, установленными без
зазора, которые рассчитывают на срез. Установка болтов без зазора позволяет
получить муфты меньших габаритов и поэтому более распространена. Пример фланцевой
муфты показан на рисунке 2.
Рисунок 2 - Фланцевая муфта
Фланцевые муфты применяют для соединения валов
диаметром до 200 мм и более. Достоинствами таких муфт являются простота
конструкции и сравнительно небольшие габариты.
Жесткие компенсирующие муфты. За счет
подвижности деталей такие муфты компенсируют радиальные, угловые и осевые
смещения валов, вызванные неточностями их изготовления, монтажа и упругими
деформациями. Это позволяет уменьшить нагрузки на валы и подшипники.
Недостаток жестких компенсирующих муфт -
отсутствие упругодемпфирующих элементов, смягчающих толчки и удары. Наибольшее
распространение получили кулачково-дисковая и зубчатая.
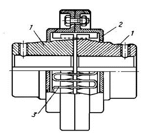
Кулачково-дисковая муфта состоит из двух
полумуфт 1 и 3, соединенных промежуточным диском 2. При работе диск
перемещается по пазам полумуфт, и тем самым компенсируются несоосность
соединяемых валов (радиальные смещения - до 0,04d,
угловые - до 30'). Кулачково-дисковая муфта изображена на рисунке 3.
Скольжение выступов в пазах сопровождается их
износом. Интенсивность износа возрастает с увеличением несоосности и частоты
вращения. Для уменьшения износа поверхности трения муфты периодически смазывают
и не допускают на них больших напряжений смятия.
Рисунок 3 - Кулачково-дисковая муфта
Из условия износостойкости кулачково-дисковых
муфт рассчитывают давление на боковых поверхностях выступов и пазов:
Детали кулачково-дисковых муфт изготовляют из
сталей Ст 5 (поковка) или 25Л (литье). Для тяжело нагруженных муфт применяют
легированные стали типа 15Х, 20Х с цементацией рабочих поверхностей.
Зубчатая муфта состоит из двух полумуфт 1
и 3 с наружными зубьями эвольвентного профиля и разъемной обоймы 2 с
внутренними зубьями. Передача вращающего момента осуществляется большим числом
одновременно работающих зубьев, что обеспечивает высокую нагрузочную
способность и малые габариты муфты. Пример показан на рисунке 4.
Рисунок 4 - Зубчатая муфта
Для компенсации смещений деталей предусматривают
торцевой зазор δ. Для
ослабления вредного влияния кромочного контакта применяют зубья бочкообразной
формы, а соединение выполнено с увеличенными зазорами. Зубчатые муфты допускают
угловое смещение валов Δα
max
= 1,5°, радиальное Δr
= 0,2…0,6 мм, осевое (на рисунке не показано) - 1…8 мм.
Детали зубчатых муфт изготовляют из углеродистых
сталей типа 45, 40Х, 45Л коваными или литыми. Для повышения износостойкости
зубья полумуфт подвергают термической обработке до твердости не ниже 40НRC,
а зубья обойм - не ниже 35HRC.
Упругие компенсирующие муфты применяются не
только для компенсации смещения валов, но и для снижения динамичности нагрузок
и амортизации колебаний, возникающих при работе передач машин.
Муфта упругая втулочно-пальцевая состоит
из двух полумуфт 1, соединенных пальцами 2, на которые для смягчения ударов
надеты гофрированные резиновые втулки. Такие муфты в силу простоты конструкции
получили широкое применение в приводах от электродвигателей для валов
диаметрами 9…160 мм при вращающих моментах 6,3…16000 Нм. Пример муфты упругой
показан на рисунке 5.
Рисунок 5 - Упругая втулочно-пальцевая муфта
Толщина резиновых втулок невелика, и поэтому
амортизирующая способность муфты незначительна. Они допускают радиальное
смещение валов до 0,6 мм, продольное - до 5 мм, угловое - до 1°.
Муфта со змеевидными пружинами состоит из двух
полумуфт 1 с зубьями специальной формы, между которыми свободно расположены
секции змеевидной пружины 3 прямоугольного сечения. Кожух 2, состоящий из двух
половин, служит резервуаром для пластичного смазочного материала и предохраняет
пружину от выпадения. Пример представлен на рисунке 6.
Рисунок 6 - Муфта со змеевидными пружинами
Муфта используется для передачи больших
вращающих моментов, обладает хорошими эксплуатационными качествами, имеет
небольшие габариты, но сравнительно дорогостоящая.
В зависимости от размеров муфты могут
компенсировать радиальные смещения валов 0,5…3 мм, осевые - 4…20 мм и угловые
до 1°15'.
Материалы полумуфт - сталь 45, стальное литье
45Л; пружин - пружинные стали 65Г, 60С 2.
Расчет муфты предусматривает проверку прочности
пружины при изгибе методами сопротивления материалов.
Управляемые (сцепные) муфты позволяют соединять
и разъединять валы без остановки двигателя. По конструкции управляемые муфты
можно разделить на кулачковые, зубчатые, основанные на зацеплении, и
фрикционные, основанные на трении.
Кулачковые и зубчатые муфты имеют весьма
небольшие габариты и массу, не допускают проскальзывания. Однако их включение
на ходу сопровождается ударами. Фрикционные муфты позволяют плавно соединять
ведущий и ведомые валы под нагрузкой при любой скорости их вращения,
предохраняют механизмы от внезапных перегрузок.
Кулачковая муфта состоит из двух полумуфт 1 и 2,
имеющих на сцепляемых торцах выступы - кулачки. При включении муфты кулачки
одной полумуфты входят во впадины другой, создавая жесткое соединение.
Кулачковая муфта представлена на рисунке 7.
Рисунок 7 - Кулачковая муфта
Включение кулачковой муфты во избежание ударов
производят при остановленном двигателе или с малыми скоростями (до 1 м/с).
Полумуфты чаще всего располагают на одном валу,
что обеспечивает хорошую их соосность. При выключенной муфте зубчатое колесо
свободно вращается на подшипнике скольжения 3. Если муфта включена, вращающий
момент от зубчатого колеса передается через кулачки и шлицы на вал.
Для устранения ударов и шума при включении муфты
применяют специальные соединительные устройства - синхронизаторы.
Кулачковые муфты изготовляют из сталей 20, 15Х,
20Х с последующей цементацией или сталей 40Х, 30ХН с последующей объемной
закалкой. Размеры муфт принимают конструктивно, а затем выполняют проверочный
расчет кулачков на износостойкость и прочность.
Фрикционные сцепные муфты передают
вращающий момент между полумуфтами за счет сил трения на рабочих поверхностях,
как показано на рисунке 8.
Рисунок 8 - Фрикционные муфты:
а - однодисковая; б - многодисковая; в -
конусная
В начальный период касания полумуфт происходит
относительное проскальзывание их рабочих поверхностей (смазанных или сухих), и
тем самым обеспечивается плавность включения муфты. При установившемся движении
проскальзывание не происходит, а при перегрузке муфта пробуксовывает, что
предохраняет машину от поломок.
Фрикционные муфты должны обладать надежностью
сцепления, высокой износостойкостью и теплостойкостью контактирующих
поверхностей.
Многодисковые фрикционные муфты имеют небольшие
габариты и не требуют большого усилия для их включения.
Самоуправляемые автоматические муфты выполняют
автоматически одну из следующих функций: ограничение передаваемой нагрузки -
предохранительные муфты; передачу нагрузки (момента) только в одном направлении
- обгонные муфты; включение и выключение при заданной скорости - центробежные
муфты.
Предохранительные муфты срабатывают, когда
вращающий момент превышает некоторую установленную величину. При достижении
вращающим моментом предельной величины под действием осевых усилий,
обусловленных формой впадин полумуфты, шарики смещаются в осевом направлении
(преодолевая сопротивление пружины) и размыкают муфту с последующим
прощелкиванием.
Обгонные муфты (муфты свободного хода)
предназначены для передачи вращающего момента только в одном направлении.
Наибольшее распространение получили фрикционные обгонные муфты, передающие
вращающий момент за счет заклинивания между полумуфтами промежуточных тел (в
основном роликов). Такие муфты бесшумны, компактны, могут работать при высокой
частоте вращения. Их изготовляют для валов диаметром 10…90 мм и передачи
момента до 750…800 Нм.
Обгонные роликовые муфты применяют в приводах
агрегатов двигателя самолета (например, в приводах стартер-генераторов) и в
приводах несущих винтов вертолетов; при отказе одного двигателя движение винта
не тормозится, так как обгонная муфта позволяет зубчатым колесам вращаться. При
отказе обоих двигателей обгонные муфты не препятствуют вращению несущего винта
в режиме авторотации. Пример показан на рисунке 9.
Рисунок 9 - Обгонная муфта
Пусковые (центробежные) муфты используют для
плавного пуска приводов грузоподъемных машин конвейеров и т.п.
Они позволяют электродвигателю легко разогнаться
и по достижении им определенной скорости начать плавный разгон рабочего органа.
Одновременно пусковые муфты выполняют и предохранительные функции.
Распространены колодочные и дисковые
центробежные фрикционные муфты.
2.
3D Моделирование в современном мире и его преимущества
Результаты технической фантазии всегда
устремлялись вылиться в бумагу, а затем и реализоваться в жизни. Если ранее мы
могли вообразить, как будет выглядеть деталь или механизм только согласно
чертежу либо рисунку, то с возникновением компьютерного трехмерного
моделирования, появилась возможность создавать объемное изображение. 3D
моделирование позволяет лучше представить проект, воплощенный в жизнь. 3D
модель производит наибольшее представление, чем другие методы демонстрации проекта.
D графика - это формирование объемной модели при
поддержке специальных компьютерных программ. На базе чертежей, рисунков или
текстовой информации 3D проектировщик создает объемные изображения. В
специальной программе можно посмотреть модель во всех проекциях, встроить на
любую плоскость и в любое окружение.
Трехмерная графика может быть любой сложности.
Она дает возможность сконструировать простую 3D модель с упрощенной формой и
низкой детализацией. Или же это может быть более сложная модель, в которой
присутствует проработка самых мелких деталей, фактуры, использованы
профессиональные приемы (тени, отражения, преломление света и так далее).
Конечно, это всерьез влияет на стоимость готовой трехмерной модели, однако
позволяет расширить применение трехмерной модели.
Трехмерное моделирование (3d графика) сегодня
применяется в очень многих сферах. Конечно, в первую очередь, это
строительство. Это может быть модель будущего дома, как частного, так и
многоквартирного или же офисного здания, да и вообще любого промышленного
объекта. Кроме того, визуализация активно применяется в дизайн-проектах
интерьеров.
D модели очень популярны в сайтостроительстве.
Для создания особенного эффекта некоторые создатели сайтов добавляют в дизайн
не просто графические элементы, а трехмерные модели, иногда даже и
анимированные. Программы и технологии трехмерного моделирования широко
применяются и в производстве, например, в производстве корпусной мебели, и в
строительстве, например, для создания фотореалистичного дизайн-проекта будущего
помещения. Многие конструкторы уже давно перешли от использования линейки и
карандаша к современным трехмерным компьютерным программам. Постепенно новые
технологии осваивают и другие компании, прежде всего, производственные и
торговые.
Конечно, в основном трехмерные модели
используются в демонстрационных целях. Они незаменимы для презентаций,
выставок, а также используются в работе с клиентами, когда необходимо наглядно
показать, каким будет итоговый результат. Кроме того, методы трехмерного моделирования
нужны там, где нужно показать в объеме уже готовые объекты или те объекты,
которые существовали когда-то давно. Трехмерное моделирование это не только
будущее, но и прошлое и настоящее.
Преимуществ у трехмерного моделирования перед
другими способами визуализации довольно много. Трехмерное моделирование дает
очень точную модель, максимально приближенную к реальности. Современные
программы помогают достичь высокой детализации. При этом значительно
увеличивается наглядность проекта. Выразить трехмерный объект в двухмерной
плоскости не просто, тогда как 3D визуализации дает возможность тщательно
проработать и что самое главное, просмотреть все детали. Это более естественный
способ визуализации.
В трехмерную модель очень легко вносить
практически любые изменения. Можно изменять проект, убирать одни детали и
добавлять новые. Фантазия практически ни чем не ограничена, и можно быстро
выбрать именно тот вариант, который подойдет наилучшим образом.
Профессиональные программы дают множество
преимуществ и изготовителю. Из трехмерной модели легко можно выделить чертеж
каких-либо компонентов или конструкции целиком. Несмотря на то, что создание
трехмерной модели довольно трудозатратный процесс, работать с ним в дальнейшем
гораздо проще и удобнее чем с традиционными чертежами. В результате значительно
сокращаются временные затраты на проектирование, снижаются издержки.
Специальные программы дают возможность
интеграции с любым другим профессиональным программным обеспечением, например,
с приложениями для инженерных расчетов, программами для станков или
бухгалтерскими программами. Внедрение подобных решений на производстве дает
существенную экономию ресурсов, значительно расширяет возможности предприятия,
упрощает работу и повышает ее качество.
3. Разработка трехмерных моделей и
ассоциативно связанных чертежей компонентов муфты сцепления
Создание трехмерных моделей деталей, сборок и
ассоциативно связанных чертежей является важным этапом конструкторского
проектирования.
Основная задача, решаемая системами
автоматизированного проектирования, - это разработка изделий с целью
существенного сокращения периода проектирования и скорейшего их запуска в
производство.
Разработка 3D - моделей будет осуществляться в
системе автоматизированного проектирования КОМПАС - 3D v15.1. Модель детали
создается с помощью редактора трехмерных твердотельных моделей. Ассоциативные
виды моделей создаются с помощью чертежно-конструкторского редактора. Такие
виды сохраняют связь с изображенными в них моделями. При изменении размеров,
формы и топологии модели изменяется и изображение во всех связанных с ней видах
[2].
Система трехмерного твердотельного моделирования
предназначена для создания трехмерных параметрических моделей отдельных деталей
и сборочных единиц, содержащих как оригинальные, так и стандартизованные
конструктивные элементы. Параметрическая технология позволяет быстро получать
модели типовых изделий на основе однажды спроектированного прототипа.
Многочисленные сервисные функции облегчают решение вспомогательных задач
проектирования и обслуживания производства.
Чертежно-графический редактор предназначен для
автоматизации проектно-конструкторских работ в различных отраслях деятельности.
Он может успешно использоваться в машиностроении, архитектуре, строительстве,
составлении планов и схем - везде, где необходимо разрабатывать и выпускать
графические и текстовые документы.
По трехмерной модели детали система легко
определяет ее физические характеристики: объем, площадь поверхности, координаты
центра тяжести и т.д. Трехмерные твердотельные модели включают в себя всю
геометрическую информацию, необходимую для работы систем инженерного анализа.
Такая модель может быть использована для выполнения инженерных расчетов:
напряжений и деформаций, частотного анализа, тепловых расчетов и связанных с ними
температурных деформаций и напряжений. Если модель представляет собой сборочную
модель какого-либо механизма, то для нее может быть выполнен кинематический
анализ с определением координат, скоростей, ускорений и сил взаимодействия
отдельных ее звеньев.
Спецификации и чертежи приведены в
конструкторской документации, в приложении 1.
3.1 Методика
создания компьютерных моделей деталей
Исследование компьютерной модели вал выполнялась
в 1 графическом редакторе 1 "Компас 3D".
Способы создания 3D моделей:
1- -
выдавливанием;
Последовательность создания модели способом
выдавливания.
Выбирается плоскость и создается эскиз, как
показано на рисунке 10.
Рисунок 10 - Параметризованный эскиз
. Выдавливание эскизы на указанное расстояние,
как показано рисунке 11.
Рисунок 11 - Операция выдавливания
3.2 Методика
создания сборочной единицы
Сборка необходима для получения информации о
напряжениях деталей.
Последовательность создания сборки:
Выбор опорной детали, включение ее в сборку и ее
закрепление в начале координат, как показано рисунке 12.
Рисунок 12 - Изображена опорная деталь - бобышка
. Включение в сборку следующей детали, которая
будет закреплена на уже включенных в сборку деталях. Пример показан на рисунке
13.
Рисунок 13 - Прибавление 2 детали-диск
3.3 Метод создания
разнесенной сборки
Разнесенная сборка это полностью созданная
модель сборочной единицы, но детали, входящие в состав модели разнесены на
различное расстояние.
Разнесенные сборки необходимы для создания
каталогов и инструкций по сборке изделий.
Последовательность создания разнесенной сборки.
Задаются параметры разнесения (шаг, компоненты в
шаге, грань, относительно которой относятся компоненты, направление и
расстояние, на которое относятся компоненты) [5].
После задания параметров разнесения в любой
момент можно нажать кнопку "Разнести компоненты", и они разнесутся
согласно заданным параметрам [9]. Все рассмотренные способы используются для
создания моделей детали и сборочных единиц. Разнесенная сборка показана на
рисунке 14.
Рисунок 14 - Разнесенная сборка
3.4 Автоматизированная разработка
конструкторской документации
Конструкторская документация включает в себя
спецификации, чертежи, каталоги [1]. Она необходима для разработки
технологического процесса изготовления изделия.
В графическом редакторе "Компас-3D"
имеется возможность создания ассоциативно связанных чертежей с помощью моделей
деталь. Связь проявляется в том, что при изменении модели детали изменяется и
связанный с ней чертеж.
На ассоциативно связанном чертеже создаются:
стандартные виды; произвольные виды; проекционные виды (вид по направлению
указанному относительно другого вида); виды по стрелке; разрезы, сечения;
выносные элементы; местные виды; разрезы видов.
Последовательность создания чертежа детали.
. Наладка характеристик листа чертежа. Пример
показан на рисунке 15.
Рисунок 15 - Окно настройки параметров
. Творение связанных видов, творение разрезов.
Пример показан на рисунке 16.
Рисунок 16 - Ассоциативно связанные виды
Подобно создаются другие чертежи моделей
подробностей (деталей) им сборочных единиц.
3.5 Создание
связанных спецификаций
В графическом редакторе "Компас-3D"
имеются два режима заполнения спецификации: ручной и автоматический. В ручном
режиме все графы заполняются вручную с клавиатуры. В автоматическом режиме
графы заполняются данными из чертежей или деталей, указанных в качестве
источника данных.
Последовательность создания связанной
спецификации:
. Создание объекта спецификации для моделей
детали.
.1 При создании объекта выбирается раздел
"Детали" и создается базовый объект спецификации.
.2 Подключается чертеж детали.
.3 Данные берутся из основной надписи.
. Создание объекта спецификации для сборки.
Для модели сборки создается два объекта
спецификации:
внутренний - для создания собственной
спецификации на данную сборку.
внешний - если данная сборка будет входить в
более крупную сборку.
.1 Создание внутреннего объекта спецификации для
сборки.
.1.1 При создании объекта выбирается внутренний
объект, выбирается раздел "Документы" и создается базовый объект спецификации.
.1.2 Подключается чертеж сборки.
.1.3 Данные берутся из основной надписи.
.2 Создание внешнего объекта спецификации для
сборки.
.2.1 При создании объекта выбирается внешний
объект, выбирается раздел "Сборочные единицы" и создается базовый
объект спецификации.
.2.2 Подключается чертеж сборки.
.2.3 Данные берутся из основной надписи.
. Создание спецификации.
.1. Создается новый документ
"Спецификация".
.2 Подключается сборка с условием
"Передавать изменения в документ".
. Создание связи объектов спецификации с
позициями на чертеже.
.1 Расставляются позиции на чертеже.
.2. На экран выводятся и спецификация и чертеж.
.3 На чертеже выделяется необходимая позиция, а
спецификации необходимая строчка, нажимается кнопка "Редактировать состав
объекта".
На рисунке 17 представлена часть созданной
спецификации.
Рисунок 17 - Часть спецификации
. Простановка позиций деталей и стандартных
изделий. Пример показан на рисунке 18.
Рисунок 18 - Проставление позиций в каталоге
Автоматизированная разработка конструкторской
документации выполняется значительно быстрее, чем вручную. Ее проще создавать и
пользоваться.3.6 Разработка разнесенных сборок и каталогов компонентов муфты
сцепления
Трехмерная сборка в своем окончательном виде не
дает полного представления о взаимном расположении компонентов. Для облегчения
восприятия применяется разнесенный вид - в нем компоненты
"раздвигаются" в пространстве. Также разнесенные сборки применяются
для создания иллюстрированных каталогов.
Разнесенные сборки выполняются в системе
автоматизированного проектирования КОМПАС - 3D
v15.1. Формируя
разнесенные виды, в автоматизированном режиме создается документ, отражающий
порядок сборки узлов и агрегатов.
С помощью разнесенной модели механизма можно
сымитировать процесс его последовательной сборки и разборки. Для этого
необходимо определить, с какой сборочной единицы начинается разборка
устройства.
4. Исследование напряженно-деформированного
состояния компонентов вала
Анализ напряженно-деформированного состояния
будем производить для детали "вал". Он находится в зацеплении с
электродвигателем двигателем, который передает энергию в механическую. Также на
валу имеется ведомое колесо прямозубой цилиндрической передачи.
4.1 Решение линейных задач теории
упругости методом конечных элементов
Точное аналитическое решение возможно только для
очень ограниченного круга задач теории упругости. Поэтому для инженерной
практики огромное значение имеют приближенные методы. Важность этих методов
особенно возрастает в связи с активным внедрением в теорию и практику
проектирования вычислительной техники и новейших информационных технологий.
В данной главе мы рассмотрим метод конечных элементов
(МКЭ), имеющий наибольшее применение для решения прикладных инженерных задач.
Характерной особенностью МКЭ, относящегося к так
называемым прямым методам, является то, что процедуры для отыскания числовых
полей неизвестных функций в теле (таких как перемещения, напряжения, силы)
строятся на основе вариационных принципов механики упругого тела без
непосредственного использования дифференциальных уравнений. Заметим, что в
настоящее время МКЭ является самым эффективным прямым методом приближенного
решения прикладных задач механики.
В основе МКЭ лежит представление объекта
исследования в виде набора некоторых простых с геометрической точки зрения
фигур, называемых конечными элементами, взаимодействующими между собой только в
узлах. Расположенные определенным образом (в зависимости от конструкции
объекта) и закрепленные в соответствии с граничными условиями конечные
элементы, форма которых определяется особенностями моделируемого объекта,
позволяют описать все многообразие механически конструкций и деталей.
Например, плоскую форменную конструкцию можно
смоделировать набором плоских стержневых фигур, рамную - набором объемных
стержневых элементов, различного рода пластины и оболочки - множеством плоских
треугольников или прямоугольников. Геометрически объемные тела удобно
представлять в виде совокупности элементарных пирамид, параллелепипедов и
призм, и т. д.
Рамные конструкции, как правило, моделируются
набором стержневых конечных элементов. Различного рода пластины и оболочки
удобно моделировать набором плоских треугольных, либо прямоугольных элементов,
а в отдельных случаях и набором более сложных элементов. Геометрически объемные
тела удобно представлять в виде совокупности элементарных пирамид,
параллелепипедов и призм.
Такое представление рассматриваемого объекта
позволяет решать задачи расчета напряженного и деформированного состояний тела,
устойчивости и динамики, нахождения частот и амплитуд собственных и вынужденных
колебаний. Кроме того, МКЭ можно с успехом использовать для решения задач
стационарной и нестационарной теплопроводности, расчета полей статического
электричества и скоростей безвихревого течения жидкости, и т. д.
Практическое использование этого метода во
многом зависит от уровня развития компьютерной техники и качества программного
обеспечения, реализующего этот метод. Программное обеспечение для решения задач
методом МКЭ должно включать в себя следующие элементы: редактор разбивки на
конечные элементы, ядро, непосредственно обеспечивающее решение, и визуализатор
для демонстрации полученных результатов.
Следует отметить, что МКЭ - это достаточно
самостоятельный раздел механики сплошной среды, который динамично развивается и
совершенствуется. Для подробного ознакомления с ним можно воспользоваться
специальной литературой. Здесь же будут рассмотрены лишь физические основы
этого метода на примере решения плоской задачи теории упругости - расчета
напряженного состояния тонкой пластины произвольной формы. В качестве конечного
элемента примем плоский элемент треугольной геометрической формы.
4.2 Использование трёхмерной модели
для расчёта изделия методами имитационного моделирования
Имитационное моделирование создание электронной
модели проектируемого объекта и экспериментирование с ней при заданных
ограничениях. Цель таких экспериментов это определение оптимальных параметров
модели.
Различают два метода имитации:
Кинематическая имитация процесса движения
элемента объекта с целью определения столкновений (коллизий).
Динамическая имитация процесса исследования
поведения объекта при изменении действующих нагрузок и температур.
В этом случае определяется теплонапряженное
состояние объекта, а также определение напряжённо деформированного состояния
объекта.
Последняя задача была решена давно. Для
определения напряжённо деформированного состояния могут использоваться методы
имитационной физики, достаточно хорошо разработана теория метода математической
физики. Эти методы позволяют получить достаточно точные результаты, только лишь
при достаточно простой конфигурации объекта. При сложной конфигурации объекта в
САПР используется метод конечных элементов (МКЭ).4.3 Расчет
напряженно-деформированного состояния детали в среде SolidWorksSimulation
Прежде всего, необходимо создать твердотельную
модель детали в среде SolidWorks
.
Проводим исследование напряженно-деформированного
состояния, имитируя работу вала под действием сил, действующих со стороны
зубчатого колеса и червячного сектора.
Расчет детали "вал" производится с
использованием модуля SolidWorksSimulation.Модуль
предназначен для расчета напряженно-деформированного состояния стержневых,
пластинчатых, оболочечных и твердотельных конструкций, а также их произвольных
комбинаций. Модуль SolidWorksSimulation
организован таким образом, что в его рамках можно рассчитать все многообразие
существующих конструкций, собирая их из вышеперечисленных макроэлементов.
Внешняя нагрузка, так же как и условия закрепления конструкции, могут быть
произвольными как по характеру, так и по местоположению.
Данный модуль позволяет решать следующие задачи.
Тип анализа и их особенности.
Линейный динамический: модальный; случайные
колебания; гармонический.
Нелинейный динамический.
Нелинейный с учетом физической и геометрической
нелинейности.
Свойства материалов.
В нелинейном динамическом анализе для тел и
оболочек: пластические по Мизесу, гиперупругие по Муни-Ривлину и Огдену,
вязкоупругие, с эффектом памяти формы.
В статическом нелинейном анализе - те же, плюс
материалы с ползучестью. Поддерживается модель больших перемещений и больших
пластических деформаций.
В линейных динамических моделях можно определить
коэффициенты демпфирования материалов.
Граничные и начальные условия, параметры
настройки.
Для статического нелинейного анализа - история
нагружения;
Для динамической модели в дополнение к
статической и в зависимости от типа динамического анализа - перемещения,
скорости, ускорения, спектр возбуждения, параметры гармонических нагрузок.
В зависимости от типа анализа тип и параметр
модели демпфирования: модальное и Рэлеевское.
Виртуальные соединители:
Болты с предварительным натягом, соединяющие как
тела, оболочки;
Штифты с конечной бесконечной жесткостью;
Пружины, "сосредоточенные" и
"распределенные", в том числе и с предварительным натягом. Пружины,
соединяющие концентрические грани с радиальной и тангенциальной жесткостью;
Шариковые и роликовые подшипники;
Точки контактной сварки;
Жесткая связь граней;
Жесткий стержень
Сетки:
Многослойные анизотропные плоские и
криволинейные оболочки с назначенным углом армирования для каждого слоя;
Трехслойные сэндвич-панели.
Результаты:
Доступны параметры, присущие динамическим
эффектам: скорости, ускорения, спектральные характеристики;
Абсолютное большинство результатов доступно в
зависимости от времени;
Для большинства всех типов можно получить кривые
отклика;
Анимация динамических эффектов.
Вал изображен на рисунке 19.
Рисунок 19 - Вал
Избирая расчетной точка опоры нужно учесть,
будто деформативные движения валов - малы, и ежели система реальной точка опоры
дозволяет желая бы маленький разворот либо смещение то данного довольно чтоб
полагать ее шарнирной либо сменный.
Вал разглядывать как опору с шарнирно -
подвижными опорами либо с об одной караулке шарнирно - сменный и об одной
караулке шарнирно - неподвижной опорами.
Подшипники, улавливают лишь радиальные перегрузки,
изображаются в облике шарнирно - подвижных опор.
Предоставление вращательного перемещения
исполняются от электродвигателя ДПМ - 20 -Н 1 - 08Т ОСТ 160.515.022 - 76 через
шестерню прямозубой 1цилиндрической передачи. Этак как представление
прямозубая, то аксиальные силы F
aв зацеплении ни как
не станет.
Технические характеристики электродвигателя:
. Номинальный вращающий момент: T
= 1,96. (мНм).
. Частота на и вращения вала: n
= 4500789 (об/мин.).
. Мощностью в: P
= 0,94,11 (Вт).
Перемещение передачах исполняется сообразно
принципу винтообразный пары либо сообразно принципу наклонной плоскости.
По формуле (4.1) определим вращающие моменты,
передаваемые:
) Цилиндрическим колесом:
) Вал:
По формуле (4.3) вычислим частоту вращения n2:
где Uц.
п.- передаточное 1 число цилиндрической 1передачи.
Тогда 1 частота вращения 1 n2определится:
По формуле (4.4) определим 1 мощность P2:
где ηц.
п. - КПД 1 цилиндрической 1 передачи.
Теперь 1найдем значение T2:
Силы в 1зацеплении: Мощь взаимодействия 1вала и
колеса - F
n принимают
сосредоточенной и приложенной в полюсе зацепления сообразно по нормали к
рабочей плоскости витка. Ее задают 3-мя обоюдно перпендикулярными
составляющими: F t,F a, F r .
В цилиндрической передаче:
Окружную силу вычислим по формуле (4.5):
Радиальную силу вычислим по формуле (4.6):
В червячной передаче:
Осевую силу вычислим по формуле (4.7):
Окружную силу вычислим по формуле (4.8):
Радиальная сила (раздвигает червяк и колесо)
вычислим по формуле (4.9):
Вычислим значение нормальной силы F
n по формуле (4.10):
По формуле (4.11) контакта червя и колеса
появляется изгибающий эпизод Mот деяния аксиальный изо всей силы F
a .
Приступая расчету, до обозначаем небезопасные
сечения вала, которые подлежат расчету. При данном предусматривается нрав эпюр
изгибающих и вращающих факторов, структурная выкройка вала и живого места нет
сосредоточении напряжений.
Ныне проведем расчет и тест на напряженно -
деформированного состояния вала в программной 1среде Solid
Works Simulation
.
Для расчета вала создаем сетку конечных
элементов, как показано рисунке 20.
Рисунок 20 - Сетка конечных элементов
На рисунке 21 показано распределение нормальных
усилий и диаграмма напряжений.
Рисунок 21 - Вал и эпюра нормальных напряжений.
На рисунке 22 приведено изображение эпюры
перемещений.
Рисунок 22 - Вал и эпюра перемещений.
По цветной легенде, находящейся около рисунка,
можно определить максимальные значения того или иного параметра и сделать
следующие выводы о прочностных характеристиках детали.
По диаграмме нормальных напряжений видно, что
напряжения в полюсе зацепления вала с червяком не значительны. А по диаграмме
перемещений ясно, что перемещения витков очень малы.
В ходе расчетов, проведенных методом имитационного
моделирования, были получены аппроксимированные результаты: наибольшие значения
статического напряжения и деформационного растяжения, определенных
разработчиком как допустимые при указанных нагрузках, деталь имеет необходимый
запас прочности, требуемый для безопасного использования изделия в целом.
5. Разработка технологического
процесса изготовления детали вал
Эффективность производства, его технический
прогресс, качество выпускаемой продукции во многом зависят от опережающего
развития производства нового оборудования, машин, станков и аппаратов, от
всемирного внедрения методов технико-экономического анализа.
Технический прогресс в машиностроении
характеризуется не только улучшением конструкций машин, но и непрерывным
совершенствованием технологии их производства. Важно качественно, дешево и в
заданные плановые сроки с минимальными затратами изготовить изделие применив
высокопроизводительное оборудование, технологическую оснастку средства
механизации и автоматизации производства. От принятой технологии производства
во многом зависит надежность работы выпускаемых изделий, а также экономика их
эксплуатации.
В данной выпускной работе особое внимание
уделяется решению технических и организационных задач, а также детальному и
творческому анализу существующего технологического процесса.
В представленной выпускной работе особенный
интерес уделяется решению технических и организационных задач, а еще детальному
и креативному разбору имеющегося технологического процесса.
5.1 Описание,
назначение и конструкция детали
Деталь "Вал" считается одной из-за
основных деталей машин.
Вал - это деталь машин, уготованная передачи
вращающего эпизода и восприятия работающих сил со бросаться вовсе стороны
находящихся на нём подробностей и во весь опор.
Деталь "Вал" относится к группе тел
вращения с габаритными размерами Ø82х
685мм. Вал состоит из шести ступеней. Данная деталь - вал, относится к группе
цилиндрических изделий. Основное предназначение вала - передавать крутящий
момент. Она довольно технологична, потому что дозволяет использование
высокопроизводительных способов и режимов отделки, достанет отличные базисные
плоскости.
Химический состав им механические свойства 1
стали 20 приведены во таблице 1.
Таблица 1 - Химический состав 1стали 40Х
|
C
|
S
i
|
M
n
|
N
i
|
S
|
P
|
C
r
|
C
u
|
A
s
|
|
0,36-0,44
|
0,17-0,37
|
0,5-0,8
|
до
0,3
|
до
0,035
|
до
0,035
|
0,8-1,1
|
до
0,3
|
до
0,08
|
Благодаря невысокой тепло- им электропроводности
этот материал отлично показывает себя при температуре свыше 120 °C и до 250 °C,
однако, не допускается его использовать даже кратковременно при температуре
выше 500 °C . Он не склонен к образованию трещин, но при повышении температуры
выше 80 °C склонен к образованию межкристаллитной коррозии, что прикладывает
определённые лимитирование на его использование. Однако, искусственное
состаривание позволяет избежать с одновременным убавлением крепости и
пластичности. В таблице 2 механические свойства стали 40Х.
Таблица 2 - Механические свойства стали
|
σв, МПа
|
σт, МПа
|
δ,
%
|
ψ,
%
|
K
C U, кДж/м 2
|
H
B
|
|
980
|
10
|
45
|
590
|
197
|
На рисунке 23 приведены механические свойства
материала Д 16.
Рисунок 23 - Механические свойства материала Д
16
Одним из основных требований к этой трудно
свариваемой стали всегда была достаточная величина модуля упругости, т.е.
коэффициента пропорциональности между напряжением и деформацией. Модуль
упругости стали 40х равен 215 ГПа, в то время как даже при многократном
увеличении уровня температуры она меняется незначительно (приведенный модуль
упругости стали рассчитан при t=20оC).
5.2 Технологический
контроль чертежа детали
Научно-технический контроль чертежа детали
"вал" отчуждает совершенное понятие о ее системе. На чертеже
проставлены габариты с допусками и шероховатостью важными для производства
вдаваться в подробности.
В ходе технического контроля чертежа выявлено
последующее:
на чертеже представлены всех размеры, которые
необходимы для создания детали - Шероховатость не всех поверхностей детали
проставлена по ГОСТ 2789 - 73 допуска и предельные отклонения размеров отвечают
ГОСТ 25346 - 82 и ГОСТ 25347 - 82;
- Допуски форм и размещение плоскостей отвечает
ГОСТ 24643 - 81;
- Запросы к точности производству плоскостей
детали "цилиндр низкого давления" отвечают требованиям, которые
представлены к шершавости этих поверхностей.
5.3 Анализ
технологичности конструкции детали
Под технологичностью конструкции изделия
понимается совокупность свойств конструкции изделия, проявляемых в возможности
оптимальных затрат труда, средств, материалов и времени при технической
подготовке производства, изготовлении, эксплуатации и ремонте по сравнению с
соответствующими показателями однотипных конструкций изделий того же назначения
при обеспечении установленных значений показателей качества и принятых условий
изготовления, эксплуатации и ремонта.
Обработка конструкции на технологичность
представляет собой комплекс мероприятий по обеспечению необходимого уровня
технологичности конструкции по установленным показателям, направлена на
повышение производительности труда, снижение затрат и сокращение времени на
изготовление изделия при обеспечении необходимого его качества. Оценка
технологичности конструкции может быть двух видов: качественной и
количественной. Качественная оценка характеризует технологичность конструкции
обобщенно на основании опыта исполнителя и допускается на всех стадиях
проектирования как предварительная. Количественная оценка технологичности
конструкции изделия выражается числовым показателем и рациональна в том случае,
если эти показатели существенно влияют на технологичность рассматриваемой
конструкции.
Технологический контроль чертежа детали
"вал" дает полное представление о ее конструкции. На чертеже
проставлены размеры с допусками и шероховатостью необходимыми для изготовления
детали. Заготовкой для оправы служит отливка. Деталь имеет удобные и надежные
технологические базы в процессе обработки; предусмотрена возможность
непосредственного измерения большинства заданных на чертеже размеров; деталь
нежесткая, неустойчивая; все поверхности можно обработать универсальными
инструментами. Следовательно, можно сделать вывод, что деталь технологична.
По ГОСТ 14.205-83 технологичность конструкции
изделия - это совокупность свойств конструкции изделия, определяющих её
приспособленность к достижению оптимальных затрат при производстве, эксплуатации
и ремонте для заданных показателей качества, объема выпуска, условий выполнения
работ.
При конструкции отдельных деталей необходимо
достичь удовлетворения не только эксплуатационных требований, но также
требований наиболее рационального и экономичного изготовления изделия.
Технологичной считается такая конструкция
детали, которая позволяет изготавливать деталь наиболее рациональным и
экономичным способом. Основными критериями технологичности являются
трудоемкость и себестоимость изготовления детали. Чем меньше трудоемкость и
себестоимость изготовления детали, тем больше экономичность.
По формуле (5.1) рассчитываем коэффициент
технологичности детали:
K= T/N
(5.1)
где Т - количество показателей ТКД,
соответствующие требованиям технологичности, Т = 7;- общее число анализируемых
показателей, N = 9.
5.4 Определение
типа производства
Так как масса детали - 1,2 кг, а программа
выпуска деталей в год - 1000 шт.
Среднесерийное создание урезанной номенклатуры
продуктов, изготавливаемых временами циклическими партиями, и сравнительно
небольшим объемом выпуска. При серийном производстве употребляются все
пригодные станки, оборудованные как особыми, приблизительно и все пригодными
сборочными устройствами, так сказать понизить голос трудозатратность и первоначальная
достоинство производства детали. В серийном производстве научно-технический
процесс производства в рассуждения в большей очень дифференцирован, т.е.
расчленен на отдельные самостоятельные операции, исполняемые на конкретных
станках.
Такт выпуска считаем по формуле (5.2):

(5.2)
где F g - эффективный фонд рабочего
времени оборудования при
где F g - эффективный фонд рабочего
времени оборудования при заданном количестве рабочих смен, F g = 2070 ч;-
годовая 1 программа выпуска изделий, N = 1000 шт;
К - нормативный коэффициент загрузки
оборудования, К = 0,9.
Применение той или иной формы
организации в условиях серийного производства зависит от трудоемкости и объема
выпуска. Выбор типа производства выполнен по среднему коэффициенту.
В таблице 3 сведены данные по
определению типа производства.
Таблица 3 - Определение типа производства
|
Тип
производства
|
Годовая
программа выпускаNВ, шт.
|
|
Тяжелые,
m > 100 кг
|
Средние,
m=10…100
кг
|
Легкие,
m<10 кг
|
|
Единичное
|
до
5
|
до
10
|
до
100
|
|
Мелкосерийное
|
5…100
|
10…200
|
100…500
|
|
Серийное
|
100…300
|
200…500
|
500…5000
|
|
Крупносерийное
|
300…1000
|
500…5000
|
5000…50000
|
|
Массовое
|
>1000
|
>5000
|
>50000
|
Сообразно таблице предоставленной годичный
программе выпуска и массе говорить крупносерийный вид изготовления. Сей вид
изготовления владеет последующие свойства: крупная годовая программа выпуска
продуктов; узенькая номенклатура издаваемых продуктов; болванки имеют как
разрешено наименьшие припуски на отделку; для механической отделки
употребляется частный холодный квалификация трудящихся (2-3 ряд);
закрепляемость операций (2...10 операций на трезвый рабочем беспокоиться
производства подробностей малюсенька, а т.к. трудозатратность об одной караулке
из сочиняющих себестоимости продукции, то первоначальная цена малюсенька;
использование особого оснащения и прибора понижает упругость изготовления по
минимального количества.
5.5 Выбор заготовки
Для производства заготовки станем рассматривать
последующие способы:
. Прокат.
. Штамповка на ГКМ.
Способ исполнения болванки ориентируется
назначением и системой данной вдаваться в подробности кто был использован, тех.
притязаниями, а еще, будто важно экономичностью производства. Избрать болванку
- означает определить метод ее получения, обозначить припуски на отделку и
уволить габариты.
В итоге технико-финансовых расчетов маршрутом
сравнения разновидностей себестоимости готовой в рассуждения из 2-ух видов
болванок пришли к выводу, точно для получения предоставленной говорить дешевый
приспособлять болванки из проката.
Эскиз заготовки с 1размерами представлен на
рисунке 24.
Рисунок 24 - Эскиз заготовки
5.6 Расчет припусков на обработку
Припуски имеют нисколько принципиальное смысл в
процессе исследования научно-технических операций механической отделки
подробностей. Судьба припусков на отделку болванки гарантирует, который был
использован и трудовых ресурсов, качество издаваемой продукции. Величины
припусков над обработку им допуски на размеры заготовок зависят от следующих
факторов:
материала заготовки;
конфигурации и размеров заготовки;
вида заготовки и способов ее получения;
требований в отношении механической обработки;
технических условий в отношении свойства и
класса шероховатости плоскости, точности объемов заготовки.
Из этого следует, что величина общего припуска
зависит от толщины дефектного слоя, подлежащего снятию, припусков на
промежуточные операции, погрешности установки, шероховатости поверхности [6].
Существует два метода расчетов припусков:
Аналитический (расчетный).
Справочный (табличный).
Для направляющей левой в расчетную таблицу
запишем технологический маршрут обработки, также запишем соответственной
болванке и любому научно-техническому переходу понимать частей припуска.
Припуски на черновое обтачивание валов из
проката.
Полученный, путем прибавления припуска к
диаметру детали на диаметр заготовки, округляется до ближайшего стандартного
диаметра проката.
Добраться до смысла допусков всякого жита по
лопате научно-технического перехода и болванки берем на ломаться до таблицам в
согласовании с квалитетом, применяемого способа отделки.
Меньший ограничивающий величина распознаем
округлением расчетных объемов в тихо роста их значений. Округление проводим по
раскидывать умом десятичной дроби, с никак дан допуск на калибр для смесь
перехода. Величайшие предельные габариты распознаем прибавлением допусков к
округленным минимальным максимальным объемам [4].
Общие припуски и распознаем, суммируя промежные
припуски.
Общий нарицательный припуск распознаем с учетом
несимметричного месторасположения одинаковый допуска болванки.
5.7 Выбор
оборудования
Выбор металлорежущих станков для изготовления
предложенной детали осуществлен с учетом следующих факторов:
вид 1обработки;
точность 1обрабатываемой поверхности;
расположение 1обрабатываемой поверхности
относительно технологических баз;
габаритные 1размеры и масса заготовки;
производительность 1операции;
тип 1производства.
Аспектом выбора считается разряд механической
отделки, пунктуальность отделки плоскости, габаритные габариты и толпа
болванки, вид размещение плоскости по отношению к научно-техническим базам
При выборе станочных приспособлений учитывались:
вид механической обработки;
модель станка;
режущие инструменты;
тип производства.
В процессе обработки детали можно использовать
несколько станков, перечень и характеристики которых приведены в таблице 4.
Таблица 4 - Оборудование
|
Операция
|
Модель
станка
|
Характеристика
|
|
Токарная
|
Токарно-винторезный
станок с ЧПУ 16К 20Ф 3С 5 Оснастка: поводковый патрон; вращающийся центр
|
Наибольший
диаметр обрабатываемой детали - 400 мм; наибольшая длина 1продольного
перемещения - 900 мм; наибольшее перемещение поперечного суппорта - 250 мм;
мощность электродвигателя главного 1движения - 10 кВт.
|
|
Фрезерная
|
Фрезерный
1 станок 6Д 91 (шпоночно-фрезерный) Оснастка: приспособление 1 на станке
(тиски, делительная головка)
|
Ширина
фрезеруемого паза - 6…32мм; наибольшая 1 длина фрезеруемого паза - 600 мм;
мощность электродвигателя главного движения 2,2 кВт; привода 1 подач - 1,5
кВт.
|
|
Кругло-шлифовальная
|
Кругло-шлифовальный
станок 3Е 12 Оснастка 1: поводковый патрон; вращающийся центр
|
Наибольшие
размеры обрабатываемой 1заготовки: диаметр - 200 мм; длина - 500 мм;
наибольшие размеры 1 шлифовального круга - 350х 40х 127; мощность электродвигателя
главного движения - 5,5 кВт
|
Данные по станочным приспособлениям заносятся в
таблицу 5.
Таблица 5 - Станочные приспособления
|
Операция
|
Наименов.
операции
|
Наименов.
приспособления
|
Обозначен.
приспособления
|
|
1,2
|
Токарная
|
Трехкулачковый
самоцентрирующийся патрон
|
Патрон
7100-0063 П ГОСТ 2675-80
|
|
3
|
Фрезерная
|
Универсальные
приспособления призма предназначены для закрепления заготовок
|
ГОСТ
21676-76
|
|
4
|
Шлифовальные
опер.
|
|
-
|
При отборе инструментальных приспособлений
учитываются следующие:
виды механической 1обработки;
конструкция 1посадочного местам станка;
форма им размеры 1инструмента (его хвостовика).
Данные по иструментальным приспособлениям
заносятся в таблицу 6.
Таблица 6 - Инструментальные 1приспособления
|
Опер.
|
Наименов.
операции
|
Наименов.
приспособления
|
Обозначен.
приспособления
|
|
1,2
|
Токарная
|
Резцедержатель
с цилиндрическим хвостовиком и с перпендикулярным открытым пазом
|
1-50
ОСТ 2 П 15-3-84 D=40 L=267
|
|
3
|
Фрезерная
|
Патрон
цанговый 1-30-2-100
|
ГОСТ
26539-85
|
|
4
|
Шлифовальные
опер.
|
Патрон
7100-0063 А
|
ГОСТ
2675-80
|
5.8 Расчет режимов
резания, нормирование операций
Режимы 1резания (табличный метод).
Токарная 1операция.
Причерновом 1(предварительном) действие черновом
(подготовительном) точении назначаем подачу находиться в зависимости от избранной
глубины резания и жесткости системы [8].
S=0,5 мм/об.
Допускаемая скорость 1резания составляет V
- 90-110 м/мин.
При чистовом точении назначаем подачу в
подчиняться от требуемой шероховатости и радиуса скругления на плавать по верху
резца.
Подача S=0,25
мм/об. Допускаемая скорость резания V
- 120-160 м/мин.
Точение канавок.
Подача S=0,11
мм/об. Допускаемая скорость резания V
- 100-120 м/мин.
Фрезерная операция.1
Фрезерование лысок осуществляется 1 концевой
фрезой.
Подача на зуб S
z=0,31 мм/зуб. Глубина
резания t=3 мм..
Фрезерование шлицевых участков червячной фрезой.
Подача на зуб S
z=0,01-0,02 мм/зуб.
Глубина резания t=2,15 мм.
Скорость резания находится в диапазоне V
- до 50 м/мин.
Круглошлифовальная операция. Число оборотов
вычисляем по формуле (5.3).
Скорость круга Vкр
- 30-35 м/сек, скорость заготовки Vз
- 15-55 м/мин.
Принимаем Vкр
= 35 м/сек; Vз = 50 м/мин; t=0,015
мм
(Дкр=350 мм; В=40 ПП) - характеристика
абразивного круга
Sпрод=(0,2÷0,4)*В
= 0,3*40 = 1,2 м/мин

(5.3)
Количество оборотов шпинделя:
где 
диаметр сверла, мм;
Техническое нормирование времени операций можно
выполнить расчетно-аналитическим методом. В нашем случае, в мелкосерийном
производстве рассчитывается норма штучно-калькуляционного времени. После
проведения расчетов определили тип производства
То = L
i / Sм
= l + у + ∆ / S
z ∙
Z ∙
n мин, (5.4)
где L
- длина рабочего хода в 1 мм;
i - число проходов;
Sм - минутная подача
мм/мин;
l - длина заготовки
в мм;
Длину врезания фрезы вычисляем по формуле (5.5).
у = 0,5(D
- √D2 - B2)
- длина врезания фрезы в мм, (5.5)
где Dd
- диаметры фрезы в мм;
В - ширина заготовки;
S
z - подача на зуб
фрезы в мм/зуб;
Zz - число 1
зубьев фрезы 1;
n - частота вращения
шпинделя в мин-1.
То = 155 + 0,5(160 - √1602 - 80,82) + 4 /
0,15 ∙ 16 ∙ 315 = 0,22 мин.
Для чистового фрезерования:
То = 155 + 160 / 0,15 ∙ 16 ∙ 500 =
0,42 мин.
Определение основного технологического времени.
Нормирование выполняем с учетом производительности,
методов обработки и величины снимаемого припуска, используя приближенные
формулы. По формуле (5.6) определяем штучно-калькуляционное время:
Тшт = То + Тв + Тоб + Тк, (5.6)
где Тк-коэффициент, учитывающий вспомогательное
и дополнительное время.
Тшт - штучное время, мин;
То - 1 основное время, мин;
Тв - вспомогательное время, мин;
Тоб - время на обслуживание рабочего места, мин;
Тоб = Ттех.+ Торг. (5.7)
Тоб. - время на техническое обслуживание
рабочего места, мин;
Ттех. - время на организационное обслуживание,
мин;
Тогр. - время перерывов 1 на отдых и личные
надобности, мин.
Тв = Ту.с. + Тз.о. + Туп + Тиз;
где Ту.с.- время на установку и снятие 1детали,
мин;
Тз.о.- время на закрепление и открепление 1
детали, мин;
Туп - время на приемы 1 управления, мин;
Ттиз - время на 1 измерение детали, мин;
k = 1,5 -
коэффициент 1 крупносерийного производства;
Тшт-к=8,418·1,36=4,149
Результаты вычислений заносим в таблицу 7.
Таблица 7 - Технических норм времени по
операциям
|
Номер
и наименование операции
|
То
|
Тв
|
Топ
|
Тоб
|
Тот
|
Тшт
|
Тп-з
|
Тш-к
|
|
|
Ту.с.+ Тз.о.
|
Туп
|
Тиз
|
|
Ттех
|
Торг
|
|
|
|
|
|
1.
Токарная
|
3,74
|
0,235
|
0,21
|
0,23
|
1,01
|
-
|
-
|
6,0
|
82,4
|
30
|
4,149
|
|
2.
Токарная
|
6,534
|
0,235
|
0,3
|
0,07
|
0,91
|
-
|
-
|
0,1
|
1,97
|
32
|
9,86
|
|
3.
Фрезерная
|
0,26
|
0,235
|
0,17
|
0,46
|
1,3
|
-
|
-
|
1,7
|
24,1
|
30
|
1,42
|
|
4.Шлифовальная
|
1,014
|
9,0
|
0,15
|
13,4
|
33,8
|
28,12
|
0,7
|
1,7
|
104,5
|
11
|
1,5717
|
|
Сумма
|
17,0107
|
Поскольку сверло твердосплавное и дорогое, то за
один ход на одних и тех же режимах обработку не ведут, а значит, и время будет
разное, поэтому ход разбивают на несколько.
6. Управляющая программа
Под управляющей программой соображают
очередность команд, на что на уме программирования, обеспечивающих данное
функционирование трудящихся органов станка. Укрепляют причина команды
программном носители.
Отличительной индивидуальностью ЧПУ является
тот, что информация о линии движения перемещения прибора, скорости резания,
подачи им других научно-технических командах задается в облике цифр,
закодированных в конкретной очередности на программном носителе, в качестве которого
используют перфокарту, перфоленту, магнитную ленту им др.
Управляющая программа (УП) - этот записанная на
программном носителе в закодированном цифровом облике маршрутное операционная
разработка на определенное приспособление с указанием траекторий перемещения
инструмента. Создание УП (наименее, сложное и наиболее доступное, чем
изготовление кулачков шаблонов, копиров и чертежей) объединяется к написанию
маршрутно-операционной технологии, расчетам траекторий движения приборов и
записи на программный носитель; огромную часть данной работы можно
автоматизировать.
Фрагмент управляющей программы
G00G21G40G49G69G80G90G17
G53Z0.
(система
координат
заготовки)
(C H E R N O V A Y A T O K A R N A Y
A)53Z0.
(координаты станка)
G53X0.
Y0.(координаты
инструмента)
T1M6 (N E W L16, T I1.98, R E0.2, K
R95, Q R5)54 (система координат заготовки)
G96S150
(Вызов цикла многопроходного нарезания)
G00X268.706Y20.027Z0.
(Подвод инструмента в точку S t a r t)
G01G95X267.999Y19.32F0.5M8
(Подход к точке S t a r t)
X266.999 (Модальный
вызов цикла G95 с другим значением диаметра)
X185. (Модальный
вызов цикла G95 с другим значением диаметра)
X185.707Y20.027
(Модальный вызов цикла G95 с другим значением диаметра)
G00X268.706
(Отвод инструмента)
Y18.027
G01X267.999Y17.32
X266.999.063.77Y18.027X268.706.027X267.999Y15.32
.999..707Y16.027X268.706.027X267.999Y13.32
.999.29.997Y14.027X268.706.026X267.999Y11.319.999Y11.323.706Y12.03
(C H I S T O V A Y A T O K A R N A Y
A)Z0.X0. Y0.M6 (N E W L16, T I1.98, R E0.2, K R95, Q R5)X269.121Y0.921Z0.X267.
Y-1.2F0.5M8.2.3X266.941Y11.441I-0.2X265.941Y12.441X265.8Y12.5I-0.141J-0.141X220.8X219.
Y14.3I0.
J1.8Y16.3X218.941Y16.441I-0.2J0.X217.941Y17.441X217.8Y17.5I-0.141J-0.141X185.796X185.
Y18.3I0.004J0.8Y19.8X184.8Y20. I-0.2J0.
G01X170.8
X169.8
X171.921Y22.121
M9
M1
Заключение
В представленной выпускной квалификационной
работе было создано управление по эксплуатации их починке компонентов мобильной
буровой установки, узла муфты сцепления, детали "вал".
В ходе исполнения работы сообразно исследованию
технического управления был проведен последующий комплекс мероприятий:
Рассчитаны и проанализированы перегрузки,
действующие на вал;
Проведено имитационное изучение
напряженно-деформированного состояния детали (подробности) "вал";
Изобретена технология производства изготовления
детали "вал";
Спроектирован участок по производству
представленной детали;
Создано автоматизированное управление по
эксплуатации и починке компонентов.
Конструкторская часть состоит из описания
конструкции и принципа работы муфты сцепления, разработки трехмерных моделей и
чертежей компонентов механизма, а также создания разнесенных сборок и
каталогов.
В технологической части составлен маршрут
отделки, выбраны режущие приборы, рассчитаны режимы резания, избраны станочные
и инструментальные устройства, средства измерения и контролирования объемов при
производстве детали "Вал". При выборе режущего инструмента отличие
отдавалось режущему прибору из твердого сплава.
В разделе имитационное прогнозирования был
исполнен расчет сил в рискованном сечении вала и его тест на прочность с
поддержкою системы автоматизированного расчета и проектирования- "Solid
Works Simulation".
Задание по безопасности жизнедеятельность
выпускной квалификационной работы включает в себе: тест вредоносных и
небезопасных причин при сборке - разборке компонентов муфты сцепления и
разработку мероприятий по обеспечению безопасных и здоровых условий труда в
механосборочном производстве.
Список использованных источников
1 Шкарин, Б.А. Основы систем
автоматизированного проектирования машиностроительных конструкций и
технологических процессов: учеб. пособие / Б.А. Шкарин. - Вологда: ВоГУ, 2011.
- 127 с.
Горбацевич, А.Ф. Курсовое
проектирование по технологии машиностроения /А.Ф. Горбацевич, В.А. Шкред. -
Минск: Высш. Шк., 1983. - 256 с.
Справочник
технолога-машиностроителя: в 2 т. Т .2 / под ред. А.Г. Косиловой и Р.К.
Мещерякова. - Москва: Машиностроение, 1988. - 496 с.
Обработка металлов резанием.
Справочник технолога / А.А. Панов, В.В. Аникин, Н.Г. Бойм и [др.]. - Москва:
Машиностроение, 1988. - 736 с.
Дунаев, П.Ф. Конструирование
узлов и деталей машин: учеб. пособие для машиностроит. спец. вузов. - 4-е изд.,
перераб. и доп./- Москва: Высшая школа, 1985 - 416 с.
Никитич, В.Т. Методические
указания по выполнению домашнего задания: расчет припусков на механическую
обработку и определение размеров заготовки / В.Т. Никитич,В.Б. Сидоров. -
Калуга, 1998. - 34 с.
Справочник
технолога-машиностроителя: в 2 т. Т.1. / под ред. А.Г. Косиловой и Р.К.
Мещерякова. - 4-е изд., перераб. и доп. - Москва: Машиностроение, 1985. - 656
с.
Режущий инструмент. Учебник.
Изд. 4-е переработанное и дополненное / Д.В. Кожевников, В.А. Гречишников, С.В.
Кирсанов [и др.].-Москва: Машиностроение, 2014. - 520 с.
ГОСТ 2.610 - 2006. Единая
система конструкторской документации. Правила выполнения эксплуатационных
документов. - Введ. 01.09.2006. - М.: Стандартинформ, 2006. - 35 с.
Детали машин. Учебник для
вузов. Издание 3-е дополненное и переработанное. М.Н. Иванов.
Москва,
"Высшая школа", 1976. - 17 с.