Основные виды переплавных процессов

  • Вид работы:
    Контрольная работа
  • Предмет:
    Другое
  • Язык:
    Русский
    ,
    Формат файла:
    MS Word
    142,15 Кб
  • Опубликовано:
    2016-10-12
Вы можете узнать стоимость помощи в написании студенческой работы.
Помощь в написании работы, которую точно примут!

Основные виды переплавных процессов

Введение


Качество стали - это постоянно действующий фактор, который на всех исторических этапах побуждал металлургов искать новые технологии и новые инженерные решения. Ограниченные возможности регулирования физических и физико-химических условий протекания процессов плавки в традиционных сталеплавильных агрегатах (конвертерах, дуговых, мартеновских и двухванных печах) привели к созданию новых сталеплавильных процессов, комплексных технологий, обеспечивающих получение особо чистых по содержанию нежелательных примесей марок стали.

Стали и сплавы специального назначения благодаря своим уникальным свойствам находят широкое применение в электроэнергетике, станкостроении, машиностроении, медицине и здравоохранение, а также в создании различных агрегатов и устройств для нужд автомобильной, химической и авиационно-космической промышленности

Поэтому возникла необходимость применения специализированных методов, относящихся к переплавным процессам, которые объединяют в особую группу специальной электрометаллургии - вторичные рафинирующие процессы. Общими для них являются переплав расходуемых заготовок (электродов), капельный перенос переплавляемого металла, последовательная кристаллизация его в водоохлаждаемом кристаллизаторе. Во всех этих процессах используется электрический источник тепла, под действием которого металл плавится. В то же время вторичные рафинирующие процессы различаются характером преобразования электрической энергии в тепловую, наличием или отсутствием вакуума и шлака в плавильном пространстве и рядом других особенностей.

1. Классификация основных видов переплавных процессов

Переплавные процессы объединены в особую группу специальной электрометаллургии - вторичные рафинирующие процессы. Общими для них являются переплав расходуемых заготовок (электродов), капельный перенос переплавляемого металла, последовательная кристаллизация его в водоохлаждаемом кристаллизаторе. Во всех этих процессах используется электрический источник тепла, под действием которого металл плавится. В то же время вторичные рафинирующие процессы различаются характером преобразования электрической энергии в тепловую, наличием или отсутствием вакуума и шлака в плавильном пространстве и рядом других особенностей.

Переплавные процессы представляют собой различные способы переплава (с целью повышения качества металла) слитков или заготовки, предварительно полученных обычными способами выплавки (в дуговой электропечи, конвертере). Изменение состава переплавленных заготовок заключается в том, что в них уменьшается содержание вредных примесей и включений.

Существует множество вариантов переплавных процессов: вакуумный индукционный переплав (ВИП), вакуумный дуговой переплав (ВДП), плазменный дуговой переплав (ПДП), электрошлаковый переплав (ЭШП), электронно-лучевой переплав (ЭЛП) и другие.

Источником нагрева при ВДII является энергия дугового разряда, при ЭЛП - энергия электронного луча, при ЭШП - тепло, выделяемое при прохождении тока через шлак, при ПДП - низкотемпературная плазма, температура которой колеблется в пределах 5000...30000 К.

1.1 Вакуумная индукционная плавка

Методом ВИП выплавляют в основном две группы марок стали:

жаропрочные сплавы на никелевой основе (это главный сортамент ВИП);

особо низкоуглеродистые коррозионностойкие стали.

Стали занимают меньший объем и если коррозионностойкие стали можно сразу передавать из ВИП на прокатку, то жаропрочные сплавы нельзя, так как структура слитка, получаемого при выплавке стали и сплавов ВИП, обладает теми же дефектами, что и обычный слиток, так как разливка производится в обычную изложницу.

ВИП является одним из самых распространенных процессов индукционной плавки как в промышленности, так и в области лабораторного эксперимента.

В расплавление металла в вакуумных индукционных печах осуществляется за счет индукционного нагрева, который основан на наведении в электропроводящем материале вихревых токов Фуко переменным магнитным полем, которое создаётся индуктором. При этом в металле, согласно закону электромагнитной индукции Фарадея, наводится ЭДС индукции:


ЭДС индукции создаёт в металле вихревой ток силой I, величина которого определяется из выражений:

; ; ; .

При прохождении через металл вихревого тока, металл нагревается и плавится.

В то же время вихревой ток нагревает только поверхность кусочков шихты, так как при увеличении частоты тока наблюдается скин-эффект: ток «выжимается» на поверхность проводника.

Таким образом, для увеличения силы тока нагрева нужно увеличивать частоту тока, питающего индуктор, или магнитный поток. Обычно в промышленности индукционные печи питают токами с частотой от 50Гц до 10кГц, которые получаются в генераторах токов высокой частоты различных конструкций (тиристорные, ламповые, машинные).

Конструктивно-технологические особенности.

Принципиальная схема вакуумных индукционных печей приведена на рисунке 1.1.

Рисунок 1.1 - Схема вакуумной индукционной плавки: а - индуктор расположен вне вакуумной камеры; б-г - индуктор расположен внутри вакуумной камеры; в - разливка путем наклона вакуумной камеры; в, г - разливка путем наклона тигля; г - ВИП полунепрерывного действия; 1 - тигель; 2 - индуктор; 3 - кожух; 4 - изложница; 5 - камера загрузки; 6 - дозатор

Для малых печей слив металла может проводиться путем наклона камеры, для больших печей - только тигля внутри камеры. Разливка проводится в изложницы (рисунок 1.1е), на центробежной машине (рисунок 1.1г), в кристаллизатор или литейные формы.

Печи, работающие в течение всей компании без разгерметизации камеры, называются печами полунепрерывного действия (рисунок 1.1г). Они оборудованы шлюзовыми камерами для загрузки шихты, разливки, подачи изложниц или литейных форм, дозаторами для присадок, устройствами для отбора проб и измерения температуры жидкого металла по ходу плавки и другим технологическим оборудованием. По режиму работы ВИП разделяются на печи:

)        периодического действия, в которых операции по загрузке шихты в тигель, установке изложниц, форм и кокилей, очистке, заправке и подготовке тигля к очередной плавке производят в разгерметизированной печи ВИП;

)        полунепрерывного действия, в которых все вышеперечисленные операции производят без нарушения герметичности ВИП.

Такие печи имеют многокамерную конструкцию, т.е. помимо основной (плавильной) камеры должны быть дополнительные шлюзовые камеры загрузки и изложниц, оборудованные вакуумными затворами и дающие возможность загружать тигель шихтовыми материалами, подавать порожние и извлекать заполненные изложницы, не нарушая вакуума в плавильной камере.

На заводах черной металлургии, когда поставлена цель получить металл наивысшего качества, ВИП используются в основном для выплавки заготовок для дальнейшего переплава.

.2 Вакуумный дуговой переплав

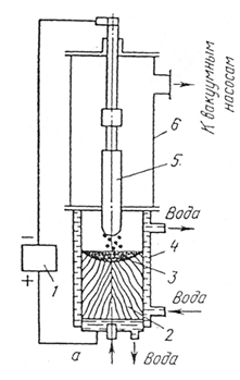
Данный метод переплава основан на том, что под действием высоких температур, возникающей в зоне электрической дуги, горящей между электродом и поддоном кристаллизатора в вакууме, металл расплавляется, и капли его падают в кристаллизатор. В водоохлаждаемом кристаллизаторе из капель металла формируется слиток. Электрод в этом процессе может быть расходуемым (тогда он и переплавляется) и не расходуемым (тогда переплавляются порошок или губчатый металл). До начала плавки установка вакуумируется до , далее вакуумная система работает в течение всей плавки. Таким образом, капли металла падают в жидкую лунку расплава, находящуюся поверх кристаллизуемого слитка, через разрежённое пространство. Кристаллизация расплава в водоохлаждаемом кристаллизаторе имеет выраженный направленный характер - вдоль направления теплоотвода.

Схема процесса с расходуемым электродом рассмотрена на рисунке 1.2.

Рисунок 1.2 - Схема вакуумного дугового переплава: 1 - источник питания; 2 - слиток; 3 - ванна расплава; 4 - кристаллизатор; 5 -электрод; 6 - герметизированная камера

При этом обеспечивается весьма полное очищение металла от газов, оксидных неметаллических включений и примесей некоторых цветных металлов. Слиток в этом процессе получается плотным. В результате переплава механические характеристики металла улучшаются и становятся почти изотропными.

ВДП принадлежит ведущая роль в производстве высококачественной стали и сплавов для атомной энергетики, авиации, космической промышленности и т.д.

.3 Электрошлаковый переплав (ЭШП)

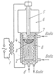
Суть процесса заключается в том, что капли металла проходят через слой жидкого шлака (через шлаковую ванну). Нерасходуемые электроды, используемые для поддержания требуемой температуры в шлаковой ванне, бывают графитовые или металлические водоохлаждаемые. Проходя через слой жидкого шлака, капли металла попадают или в кристаллизатор, или в огнеупорный тигель. В последнем случае плавка ведется в так называемых установках с керамическим тиглем. Для производства стальных слитков обычно используют процесс с расходуемым электродом и охлаждаемым кристаллизатором.

Процесс ЭШП разработан в Институте электросварки им. Е. О. Патона АН Украины. Практическое распространение метода ЭШП началось с 1958 г. на металлургическом заводе «Днепроспецсталь».

Принципиальная схема электрошлакового переплава представлена на рисунке 1.3.

Существует два типа установок ЭШП: с расходуемым электродом и с нерасходуемым электродом. Суть процесса при этом остается неизменной: капли металла проходят через слой жидкого шлака (через шлаковую ванну). Нерасходуемые электроды, используемые для поддержания требуемой температуры в шлаковой ванне, бывают графитовые или металлические водоохлаждаемые. Проходя через слой жидкого шлака, капли металла попадают или в кристаллизатор, или в огнеупорный тигель. В последнем случае плавка ведется в так называемых установках с керамическим тиглем. Для производства стальных слитков обычно используют процесс с расходуемым электродом и охлаждаемым кристаллизатором.

Рисунок 1.3 - Схема электрошлакового Переплава 1 - источник питания;2 - слиток; 3 - лунка расплава;4 - кристаллизатор; 5 - электрод; 6 - вакуумная камера; 7 - шлаковая ванна

В настоящее время методом ЭШП выплавляют слитки массой до 60 т различного сечения: круглые, квадратные, прямоугольные для дальнейшего передела.

.4 Плазменно-дуговой переплав (ПДП)

Плазменная плавка специальных сталей и сплавов является одним из важнейших способов получения металла высокого качества. В плазменных печах источником энергии является низкотемпературная плазма (T=10в5 К). Плазмой называется ионизированный газ, в котором концентрации положительных и отрицательных зарядов равны. Степень ионизации низкотемпературной плазмы близка к 1%. Низкотемпературная плазма получается при введении в дуговой электрический разряд газообразного вещества. В этом случае газ ионизируется и образуется плазма. В металлургии в качестве плазмообразующего газа чаще всего применяют аргон.

Плазменная металлургия создает условия для удовлетворения требований к прочностным показателям материалов в условиях сверхнизких, нормальных и повышенных температур, которые выдвигаются в настоящее время и сохранятся в будущем. Это относится и к требованиям ядерной энергетики, электротехнической промышленности, машиностроения и других развивающихся отраслей промышленности. Наряду со способами ЭШП и ЭЛП плазменно-дуговой переплав является еще одним методом электрометаллургии, который характеризуется широкими технологическими возможностями и значительным экономическим эффектом, проявляющимися в конечном качестве промышленной продукции и эффективности технологического оборудования, где могут быть использованы материалы только с исключительно высокими физическими свойствами.

Метод ПДП весьма эффективен для производства сталей с особо высоким содержанием азота, прецизионных сплавов, ряда жаропрочных сплавов и т.д. Особенно перспективен он для производства высокопрочных марганцевых сталей.

В зависимости от вместимости и мощности ПП могут иметь один или несколько плазматронов. При использовании одного плазматрона его укрепляют вертикально на своде. Несколько плазматронов располагают вертикально в своде или наклонно в боковых стенках. При питании печей трехфазным током подовый электрод в ванне подсоединяется к нулевой фазе электрической схемы, а количество плазматронов кратно трем.

В отличие от дуговых сталеплавильных печей в плазменной печи вместо графитированных электродов устанавливают один или три плазматрона, что зависит от размеров печи. В печах постоянного тока анодом служит ванна жидкого металла, ток к которой подводится через подовой электрод. Печи трехфазные имеют три плазматрона, а подового электрода нет. Плазменная печь полностью герметизирована.

Рисунок 1.4 - Схема плазменной печи с керамической футеровкой: 1 - корпус печи; 2 - плазменная дуга; 3- свод; 4 - плазматрон; 5 - источник питания; в - подовый водоохлаждаемый электрод

Металлургические возможности плазменных печей с нейтральной атмосферой очень широки и металл можно раскислять, десульфурировать, рафинировать от газов и неметаллических включений, легировать азотом. Кроме того, в плазменной печи возможно получение металла с особо низким содержанием углерода, т. е. активно вести окислительный процесс.

Схема плазменно-дуговой печи с водоохлаждаемым кристаллизатором приведена на рисунке 1.5

ПДП в кристаллизатор является классическим примером вторичного рафинирующего переплава, который обладает большими технологическими возможностями, что связано, во-первых, с широким диапазоном возможных скоростей наплавления слитка, во-вторых, с возможностью использования разных газовых и шлаковых смесей. ПДП легко обеспечивает рафинирование металла от неметаллических включений, газов, серы, легирование азотом из газовой фазы и раскисление.

Рисунок 1.5 - Схема плазменнодуговой печи с водоохлаждаемым тиглем: 1 - поддон; 2 - слиток; 3-жидкий металл; 4 - плазменная дуга; 5 - корпус печи; б-переплавляемый электрод; 7 - электрододержатель; в - плазматрон; 9 -источник питания; 10-кристаллизатор

Плазменная плавка является наиболее высокопроизводительным процессом среди всех существующих способов специальной электрометаллургии. Применительно к конкретным методам плавки имеются дополнительные преимущества, связанные со спецификой этих процессов.

.5 Электронно-лучевой переплав

Сущность электронно-лучевого нагрева заключается в том, что кинетическая энергия мощного направленного потока электронов при бомбардировке ими поверхности нагреваемого материала превращается в тепловую энергию. Применение электронно-лучевого нагрева в промышленных целях стало возможным благодаря интенсивному развитию электроники, обеспечившей получение мощных потоков электронов и возможность управления ими, и больших достижений в области вакуумной техники, позволивших создать эффективные вакуумные системы технологического оборудования.

В ЭЛП нагрев металла осуществляется потоком ускоренных электронов, генерируемых в специальных устройствах (электронных пушках). Электроны разгоняются электрическим полем, сталкиваются с переплавляемым веществом, взаимодействуя как с кристаллической решеткой в целом, так и с отдельными встречающимися микрочастицами: положительными ионами, свободными и связанными электронами. При этом электрическое поле первичных электронов вызывает соответствующее возмущение кристаллической решетки, которое проявляется в виде перемещения ионов и увеличения амплитуды их колебания.

Наплавленный слиток формируется в водоохлаждаемом кристаллизаторе по методу полунепрерывной разливки. Для создания наиболее выгодных условий рафинирования металла и упрощения конструкции плавильных установок поверхность жидкой ванны на протяжении всей плавки поддерживается на уровне верхнего среза кристаллизатора. Это достигается перемещением слитка по ходу плавки специальным механизмом вытягивания 14.

ЭШП, ВДП, ЭЛП и ПДП являются высокоэффективными рафинирующими процессами, гак как они повышают общую чистоту металла, снижают содержание в нем вредных примесей, а получаемый слиток имеет минимальное развитие физической и химической неоднородности. Указанные процессы позволяют устранить ликвациопные и усадочные дефекты, повысить служебные характеристики металла.

Сортамент сталей и сплавов, выплавляемых методами спецэлек-трометаллургии включает более 300 различных по своему химическому составу и назначению сталей и сплавов. Это высоколегированные жаропрочные сплавы на никелевой и хроможелезоникелсвой основе, нержавеющие стали, высокопрочные мартенситностареющие стали, стали и сплавы специального назначения, дисперсионно-твердеющие жаропрочные суперсплавы нового поколения.

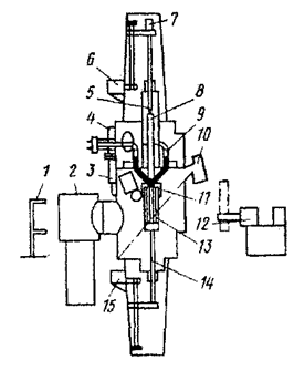
Рисунок 1.6 - Схема электронно-лучевой установки: 1 - площадка обслуживания; 2,3- вакуумные насосы; 4 - камера; 5 - шток механизма подачи заготовки; 6 - привод механизма подачи; 7- механизм вращения заготовки; 8 - заготовка; 9 - электроннолучевая пушка; 10 - стробоскопическая смотровая система; 11 - поворотный кристаллизатор; 12 - манипулятор; 13 - слиток; 14 - шток механизма вытягивания слитка; 15 - привод механизма вытягивания

2. Сравнительный анализ переплавных агрегатов для получения спецсталей

.1 Основные технологические возможности переплавных процессов

)        По применяемой футеровке:

         Огнеупорные материалы (ВИП);

         Медный водохлаждаемый тигель (ВДП, ПДП, ЭШП, ЭЛП).

)        По виды используемых для плавки материалов:

ВИП: Возможно использование любой шихты, в том числе и жидкой завалки металла, загружав мой в любой последовательности в необходимый момент времени

Использование литых или деформированных электродов определенного химического состава (ВДП, ПДП, ЭШП, ЭЛП).

)        Давление газов и плавильном пространстве печи в процессе рафинирования, Па:

         ВИП: 0,65... 6,65;

         ВДП: 0,65... 6,65;

         ЭЛП: 0,65 10-2... 1,3*10-2;

         ЭШП: 1,01* 105;

         ПДП: 0,65...4*105.

4)    По качеству структуры выплавленного слитка:

        ВИП: обычное, с возможностью возникновения дефектов, характерных для обычного слитка;

-        ВДП: высокое, возможность получения плотной бездефектной структуры;

         ЭЛП высокое, аналогичное ВДП;

         ЭШП: то же, что и при ВДП;

         ПДП: высокое, пониженная склонность к общей дендритной ликвации;

Кроме того, одним из ключевых факторов выступают величина экономических затрат на металургический предел (в данном случае приведенные затраты по сравнению с металлом открытой выплавки):

-   при ВИП - Выше в 73 раза;

-        при ВДП - Выше в 3,5 раза;

         при ЭЛП - Выше в 13 раз;

         при ЭШП -Выше в 2,15 раза;

         при ПДП - находится между ВДП и ЭЛП.

.2 Сопоставление основных показателей переплавных процессов

Одним из ключевых параметров показывающим эффективность применение того или иного метода вторичного переплава является способность удаления вредных примесей из кристаллизующегося слитка.

Причем выделяют следующие факторы, отрицательно влияющие на эффективность рафинирования:

- ВИП: неблагоприятная форма ванны и относительно малая величина удельной поверхности металл - газ. Загрязнение расплава кислородом футеровки тигля;

-        ВДП: экранирование поверхности ванны электродом, соответственно повышенное давление газов и паров в зоне поверхности. Образование короны;

         ЭЛП: интенсивное испарение основных компонентов расплава и соответственно сложность регулирования конечного химическое состава выплавленных сталей и сплавав;

         ЭШП: ведение процесса при атмосферном давлении, наличие шлаковой ванны, могущей быть Источником поступления водорода и кислорода;

         ПДП: возможное увеличение содержания азота в металле (зависит от чистоты газа).

Основные преимущества ВИП:

)        отсутствие электродов;

)        возможность глубокой дегазации металла;

)        низкое содержание оксидных и нитридных включений;

)        высокая однородность за счет хорошей циркуляции металла;

)        высокая производительность и др.

Основные недостатки ВИП:

)        Взаимодействие металла с огнеупорной футеровкой.

)        Получение слитков с дефектами, характерными для обычного слитка.

)        Низкая стойкость тиглей.

)        Металлоактивные шлаки.

)        Высокая стоимость оборудования.

Основные преимущества ВДП:

)     низкое содержание газов и неметаллических включений;

2)      меньше содержание вредных примесей цветных металлов;

)        выше пластические характеристики металла;

)        выше технологическая пластичность металла при температурах деформации;

Основные недостатки ВДП:

1) сравнительно сложное и дорогостоящее оборудование

2)      проведение плавки только на постоянном токе, что снижает электротехнические возможности ВДП.

)        нельзя улучшать качество сталей, легированных марганцем и азотом вследствие их удаления при переплаве;

)        низкое качество поверхности;

ЭШП

Основные преимущества ЭШП:

1)      Хорошее качество слитка, отсутствие усадочной раковины и пористости.

)        Меньшее количество и меньший размер включений.

)        Однородность структуры и химического состава.

)        Высокий выход годного.

)        Возможность регулируемого снижения содержания серы, кислорода, а в некоторых условиях и азот;

)        Возможность сохранения легирующих элементов,

Основным недостаток ЭШП - невозможность организовать в открытом агрегате удаление водорода.

Основные преимущества ПДП:

1) Хорошее качество получаемого слитка;

) Высокая стабильность и регулируемость процесса;

3) Однородность структуры и химического состава;

4) Возможность управления направлением и скоростью затвердевания.

) Высокий выход годного

) Плазменный разряд является «чистым» источником нагрева, т.е. не вносит каких-либо загрязнений в металл.

К главным недостаткам относится высокая стоимость оборудования и достаточно затратное последующее обслуживание установки.

Основные преимущества ЭЛП:

1)   регулирование в широких пределах скорости наплавления,

2)      возможность высокого перегрева металлов, позволяющего в сочетании с глубоким вакуумом удалить вредные примеси (например, цветные металлы);

)        глубокая дегазация металла в вакууме;

)        отсутствие контакта жидкого металла с загрязняющей его футеровкой;

)        переплав практически любой шихты

В результате Электроннолучевая плавка в 2-4 раза снижается содержание газовых примесей и неметаллических включений, повышаются плотность металла, изотропность его свойств.

Недостатки ЭЛП:

)        низкая производительность и, как следствие, низкий к.п.д.

)        сложность и высокая стоимость оборудования;

) высокие капитальные затраты;

) невозможность переплава сталей и сплавов, легированных азотом, марганцем (большие и часто неуправляемые потери легирующих элементов).

) высокая себестоимость металла, полученного электроно-лучевой плавки.

Все выше перечисленные преимущества и недостатки показывают, что выбор переплавного процесса зависит от конкретных условий данного предприятия и лимитируются как экономическими, так и производственными факторами.

сталь переплав электрошлаковый плазменный

Заключение

Традиционными методами выплавки и разливки в ряде случаев нельзя получить металл требуемого качества. Взаимодействие жидкой стати в процессе выплавки и разливки с огнеупорными материалами, шлаком и атмосферой неизбежно приводит к значительному загрязнению металла неметаллическими включениями и газами. Затвердевание металла в чугунных изложницах сопровождается дефектами кристаллизационного (усадочные раковины, пористость, трещины и т.д.) и локационного происхождения.

Поэтому возникла необходимость применения специализированных методов, относящихся к переплавным процессам, которые объединяют в особую группу специальной электрометаллургии - вторичные рафинирующие процессы.

Анализ представленных переплавных процессов показал, что самыми перспективными методами являются ЭШП, ЭЛП, ВДП и ЭЛП. Применение данных методов значительно расширяет номенклатуру сталей, подвергающихся переработке, и технологические возможности последующих переделов.

Кроме того, выбор переплавного процесса зависит от конкретных условий данного предприятия и лимитируются как экономическими, так и производственными факторами.

Список использованных источников

1)      Поволоцкий, Д.Я. Электрометаллургия стали и ферросплавов [Текст] / Д.Я. Поволоцкий, В. Е.Рощин, М. А. Рысс и др. - М.: Металлургия, 1984. - 568с.

2)      Падерин, С.Н. Теория и расчеты металлургических систем и процессов [Текст]. / С.Н. Падерин, В.В. Филиппов. - М.: МИСиС, 2002. - 334 с.

)        Гольдштейн, М.И. Специальные стали: учебник для вузов [Текст] / М.И. Гольдштейн, Грачев С.В., Векслер Ю.Г. - М.: Металлургия, 1985. - 408 с.

4)      Кудрин, В.А. Технология получения качественной стали [Текст] // В.А. Кудрин, В.М. Парма. - М: Металлургия, 1984. 320 с.

5)  Братковский, Е.В. Электрометаллургия стали и спецэлектро-металлургия [Текст] / Е.В. Братковский, А.В. Заводяный. - Новотроицк: НФ МИСиС, 2008.

6)      Габриэлян, Д. И. Прецизионные сплавы [Текст] / Д.И. Габриэлян. - М.: Металлургия, 1972. - 104с.

7)  Кудрин, В.А. Теория и технология производства стали: учебник для вузов [Текст] / Ю.В. Кряковский, А.Г. Шалимов. - М.: «Мир», ООО «Издательство АСТ», 2003. - 528 с.

8)      Донской, А.В. Электроплазменные процессы и установки в машиностроении [Текст] / А.В. Донской, В.С. Клубникин. - Л.: «Машиностроение», ЛО, 1979. - 221 с.

)        Воскобойников, В.Г. Общая металлургия: учебник для вузов [Текст] / В.Г. Кудрин, А.М. Якушев. - М.: ИКЦ «Академкнига», 2002. - 768 с.

)        Альперович, М.Е. Вакуумный дуговой переплав и его экономическая эффективность/ М.Е. Альперович. - М.: Металлургия, 1979. - 235 с.

Похожие работы на - Основные виды переплавных процессов

 

Не нашли материал для своей работы?
Поможем написать уникальную работу
Без плагиата!
Без нейросетей!