Исследование вибрационных эффектов в зоне резания металла
СОДЕРЖАНИЕ
ВВЕДЕНИЕ
1 . ЛИТЕРАТУРНЫЙ
ОБЗОР. ВИБРАЦИИ И УДАРНЫЕ ВЗАИМОДЕЙСТВИЯ В ПРОЦЕССЕ РЕЗАНИЯ
1.1 Вибрации в процессе
резания
.2 Методы и аппаратура для
исследования вибраций
1.2.1 Механический
метод
1.2.2 Пьезоэлектрический
метод
.2.3 Емкостный
метод
.2.4 Омическое
сопротивление
.2.5 Электроиндуктивный
метод
.2.6 Электромагнитный
метод
.2.7 Бесконтактные
методы
.3 Вибрация,
ее измерение и анализ
1.4 Корреляционная
зависимость между параметрами колебаний и величиной износа режущего инструмента
1.5 Методы
уменьшения вибраций
. ИССЛЕДОВАТЕЛЬСКАЯ
ЧАСТЬ
.1 Разработка
методики исследования вибраций и ударных взаимодействий
.1.1 Единицы
измерения вибраций и требования к приборам
2.1.2 Оборудование,
инструмент, аппаратура, принадлежности и виброгасители, применяемые для
исследования
2.1.3 Методика
исследования вибраций
2.1.4 Методика
исследования ударных взаимодействий
2.2 Результаты
исследований
.2.1 Зависимость
амплитуды колебаний от величины скорости резания
2.2.2 Зависимость
амплитуды колебаний от величины подачи S
2.2.3 Зависимость
силы удара от величины подачи S
2.3 Анализ
результатов и выводы
. КОНСТРУКТОРСКАЯ
ЧАСТЬ
.1 Разработка
конструкций виброгасящих устройств
.1.1 Конструкция
антивибрационного расточного инструмента со встроенным демпфером.
3.2 Конструкторские
расчёты
.3 Конструкции
виброгасителей, применявшиеся для исследований
. ТЕХНОЛОГИЧЕСКАЯ
ЧАСТЬ
.1 Технологический
процесс изготовления “Хвостовик”
.1.1 Описание,
назначение и характеристика изделия
.1.2 Технологический
контроль чертежа детали
.1.3 Анализ
технологичности конструкции детали
.1.4 Выбор
метода изготовления и формы заготовки
4.1.5 Выбор
плана обработка детали
4.1.6 Расчет
припусков на механическую обработку
.1.7 Выбор
типа производства и формы организации
.1.8 Выбор
оборудования
4.1.9 Выбор
режущих инструментов
4.1.10 Выбор
инструментальных приспособлений
4.1.11 Выбор
станочных приспособлений
4.1.12 Выбор
средств измерения и контроля размеров
4.1.13 Расчет
режимов резания
4.1.14 Расчет
технической нормы времени
4.1.15 Программа
ЧПУ для сверлильного станка
4.2 Технология
сборки антивибрационного устройства
ЗАКЛЮЧЕНИЕ
СПИСОК ИСПОЛЬЗОВАННЫХ
ИСТОЧНИКОВ
ВВЕДЕНИЕ
Современный мир, современная жизнь в
развитых и развивающихся странах не представляются возможными без всесторонне
развитого легкого, среднего и тяжелого машиностроения. Машиностроение в целом -
важнейшая отрасль в мировых экономике и хозяйстве. Если ее не будет - не будет
ничего.
Уровень жизни в какой-либо стране
зависит от наличия и объема следующих двух составляющих:
природные ресурсы на территории этой
страны
(золотовалютный запас и полезные
ископаемые - нефть, газ, металлические руды, драгоценные камни и металлы и
пр.);
валовый внутренний продукт (ВВП).
Это показатель, характеризующий
способность страны грамотно, продуктивно и экономично использовать свои
природные ресурсы для производства.
При совместном существовании на
планете все страны как отдельные, независимые друг от друга, лица, постоянно
взаимодействуют. Время от времени, кому-то приходится брать в долг, а кому-то
давать в кредит. На этом фоне только та страна будет чувствовать себя на коне,
у которой хорошо развиты оба вышеперечисленных фактора (природные ресурсы и
ВВП).
Но любой грамотный экономист скажет,
что какими бы большими не были природные запасы страны, нельзя существовать
только на них. Государство все равно должно стимулировать развитие валового
внутреннего продукта, т.е. производства. Цены на природные ресурсы и различную
производимую продукцию на сегодняшний день таковы, что можно просто продать 1
единицу природного ресурса за 2 денежные единицы, а можно затратить эту единицу
на производство 1 единицы продукции и выручить от ее реализации 10 денежных
единиц, - отсюда, и прямая экономия природных ресурсов, и резкое увеличение
прибыли как таковой. По преобладанию второго фактора уровня жизни (ВВП) над
первым (природные ресурсы) можно судить об экономике страны.
Цель выпускной квалификационной
работы - внести свою небольшую лепту по поводу того, как можно улучшить,
оптимизировать, ускорить, а значит, возможно, и стимулировать производство как
таковое.
При резании металлов часто возникают
колебания системы СПИД, называемые вибрациями, которые увеличивают износ
инструмента (особенно из хрупких инструментальных материалов), ухудшают
качество обработанной поверхности и ускоряют износ станков. Вибрации могут
привести к снижению производительности, так как в целях их уменьшения
приходится работать с заниженными режимами резания.
Получение информации о параметрах
движения и вибрации при эксплуатации промышленного оборудования, приборов и
всевозможных динамических объектов, представляет собой первоочередную задачу
при оценке качества и надежности работы, как отдельных узлов, так и всех
установок в целом.
Именно в этом заключается цель
данной выпускной квалификационной работы. Исследование вибраций позволит
выявить влияние колебаний на процесс механической обработки, установить
закономерности их возникновения при различных режимах резания. Также это
позволит найти эффективные и рациональные методы гашения вибраций, сделать процесс
резания более стабильным, увеличить устойчивость всей системы СПИД, что повысит
качество обрабатываемой поверхности, а, следовательно, скажется на качестве
изготовляемых деталей.
. ЛИТЕРАТУРНЫЙ ОБЗОР. ВИБРАЦИИ И
УДАРНЫЕ ВЗАИМОДЕЙСТВИИ В ПРОЦЕССЕ РЕЗАНИЯ
.1 Вибрации в процессе резания
Обязательным условием получения
высокой точности и низкой шероховатости обработанной поверхности при применении
высокопроизводительных режимов является устойчивость движения при резании. Для
этого технологическая система СПИД должна быть виброустойчивой и не допускать
существенных колебаний. Наблюдения показали, что в зависимости от условий
работы возбужденные колебания детали и инструмента могут быть низкочастотными
или высокочастотными; и возникают они одновременно или независимо друг от
друга. Как правило, низкочастотные колебания имеет деталь, а высокочастотные -
инструмент. Ухудшая качество обработки, возбужденные колебания определенной
амплитуды и частоты могут одновременно снизить стойкость инструмента.
Согласно [1], при всех известных видах обработки наблюдаются два вида
колебаний: вынужденные и самовозбуждающиеся. Возникают из-за периодичности
воздействия возмущающей мощи. Они имеют все шансы появиться из-за: 1)
прерывистого нрава движения резания; 2) дисбаланса крутящихся элементов станка,
детали и прибора; 3) недостатков в механизмах станка (в зубчатых и ременчатых
передачах, гидросистеме и т. п.); 4) неравномерности припуска, брошенного в
обрабатывание; 5) передачи колебаний станку с иных трудящихся станков либо
машин, пребывающих рядом.
Устранение принужденных сомнений
никак не принимает базисных проблем, так как при устранении обнаруженного
источника колебаний вибрации прекращаются. Самовозбуждающиеся колебания или
автоколебания возникают при отсутствии видимых внешних причин. К ним относятся
такие, у которых переменная сила, поддерживающая колебательный процесс,
создается и управляется самими колебаниями. При устранении колебаний исчезает и
сила, возбуждающая и регулирующая колебания.
Согласно [2], присутствие изысканий
автоколебаний применяется модель технологической концепции, показана на рисунке
1.1.
В данной модификации модель
оценивают равно как совершенно твердое тело, имеющее равномерное поворотное
перемещение. Полный автоколебательный ход сопряжен только лишь с перемещением
резца. Изобилие m качающейся концепции оценивают внимательной на вершине резца.
Тугие взаимосвязи схематически презентованы в варианте пружин, в которых
подвешена масса. Пружины ориентированы согласно основным осям.
В ходе деятельность резец,
производный тот или иной-или фактором с капиталом баланса, начинает меняться в
2-ух направленностях. Его высшая ступень передвигается относительно заготовки
согласно закрытой линии движения, схожей к эллипсу (рисунок 1.2, а).
Присутствие перемещении резца в направлении воздействия мощи с места 1 к месту
4 углубленность резания, а таким образом, и сила резания станут более, нежели
присутствие перемещении резца в течении обратном действию силы. На рисунке 1.2,
б показаны перемещения вершины резца, вызываемые изменениями силы резания.
Рисунок 1.1 - Модель с упругими
связями в механической системе
Рисунок 1.2 - Траектория перемещения
вершины резца (а) и изменение силы резания за один цикл колебаний (б).
Движения вершины резца,
рассматриваемой модели описывается системой уравнений (1.1):
mZ"+hzZ'+CzZ+CzyY=Pcosα (1.1)
mY"+hyY'+СyY+CyzZ= -Psinα
где m - масса колеблющейся системы,
приведенной к вершине резца;
hy и hz - коэффициенты,
учитывающие силы сопротивления;
Cy, Сz - коэффициенты жесткости, показывающие отношения сил, приложенных
к массе, к порождаемым ими перемещениям;
Cyz, Czy - коэффициенты
дополнительных упругих связей, налагаемых на массу и препятствующих ее смещению
по другой оси координат по принципу взаимозаменяемости,
Cyz = Czy;
P - сила резания;
α - угол между направлением силы резания и осью Z.
Решая данное уравнение, возможно
получение параметров, определяющих ход (движение) резца в процессе вибраций.
Данное перемещение представляет собой совокупность двух колебательных движений,
cдвинутых
по фазe в направлении осей Y и Z формула (1.2):
Y=Aysin
(1.2)=Az(sin
- φ),
где Ay, Az - амплитуда
перемещений по осям Y и Z;
ώ - частота колебаний;
φ - сдвиг фаз колебаний по разным осям.
Есть несколько причин возникновения
колебаний:
.1 Колебания появляются в
взаимосвязи с непостоянством силы резания вследствие изменения мощи несогласие
стружки согласно передней плоскости разрезающего прибора и трения заготовки
согласно задней плоскости прибора. Эта предположение способно являться
подтверждением моделирования ( рисунок 1.3) в коем подпружиненный груз
пребывает в движении в 1 течении ленте и делает присутствие данном
раскачивание.
Рисунок 1.3 - Модель возникновения
автоколебаний из-за непостоянства сил трения.
. В соответствии с трудам А.П.
Соколовского и И.С. Амосова автоколебания поддерживаются из-за результат
разницы деятельность резания, производимой резцом присутствие его врезании и
отталкивании. С опытных изучений определено, то что в условиях колебательного
движения присутствие снятии равной толщины среза мощи резания присутствие
врезании резца менее, нежели присутствие его отталкивании. Это объясняется тем,
что при врезании резец в процессе углубления в металл встречает «свежие»,
недеформированные и неупрочненные слои, при движении резец снимает упрочненные
слои материала и это приводит к повышению сил резания.
. Автоколебания могут поддерживаться
внешней возбуждающей силой при обработке поверхностей, имеющих волны, возникшие
при предшествующей обработке с вибрациями. Поскольку при этом толщина срезаемого
слоя непрерывно изменяется, то в свою очередь соответственно изменяется усилие
резания, что поддерживает вибрации.
В соответствии с [1], присутствие
резании возбудителем автоколебаний считается разноплановая влияние резания
присутствие врезании лезвий прибора в элемент и отталкивании её. Присутствие в
концепции инструмент-деталь самовозбуждения спроста образовавшееся небольшое
сомнение увеличивается вплоть до определенной воцарившейся величины с
амплитудой, присутствие каковой настает баланс среди энергией, опорной
раскачивания, и энергией рассеивания. Опытные изучения пульсаций, проложенные
А. И. Кашириным, А. П. Соколовским, Л. К. Кучмой и др., выявили, то что
колебание сомнений никак не находится в зависимости буква с порядка резания,
буква с геометральных характеристик прибора, а обусловливается строгостью и
весом системы СПИД, вырастая присутствие повышении жесткости и сокращении
народ. В таком случае ведь период отклонение сомнений в различие с частоты
находится в зависимости никак не только лишь с народ и жесткости осциллирующей
концепции, однако и с семейства использованного материала возделываемой
элемента, геометральных характеристик прибора и порядка резания. Стабильность
частоты и неустойчивость амплитуды сомнений присутствие изменении обстоятельств
резания говорят о автоколебательной натуре вибраций.
.2 Методы и аппаратура для
исследования вибраций
При разработке и использовании любых
технологических процессов, в какой-то мере связанных с вибрациями, одно из
основных решений отводится на подбор метода измерения установленной частоты,
амплитуды и интенсивности. В какой степени рационально будет разрешена эта
проблема, в огромной степени будет зависеть технологическая эффективность
разработки и итоги внедрения того или другого технологического процесса.
.2.1 Механический метод
Согласно [3], для определения
вибраций этим методом используется механический виброграф ВР-1 (рисунок 1.8)
рассчитан с целью получения основных характеристик вибраций: частоты и
амплитуды. Его плюсы заключаются в том, что он позволяет быстро произвести
замеры колебаний любой машины, поскольку является малогабаритным и автономным,
то есть не требующим длительной установки и отладки дорогостоящей и сложной
аппаратуры для исследований.
Рисунок 1.8 - Устройство вибрографа
ВР-1:
1 - ручка пуска; 2 ручка завода
пружины; 3 - кулачок; 4 - контакт; 5 - крышка батареи; 6 - ручка включения
отсчета времени; 7, 8 - гнездо для подключения источника из внешнего; 9 -
регулятор; 10 - реле электрическое; 11 - реле электрическое; 12 - механизм
крепления; 13 - катушка с лентой; 14 - регулятор пружины и винт крепежа
контактного щупа; 15 - двухплечий рычаг; 16 - регулирование силы прижима пера
рычагом; 17 - отметчик времени в виде пера; 18 - корпус щупа с направляющей
втулкой; 19 -контактирующий щуп.
Структура вибрографа - рычажный
механизм, ленточнопротяжный система и контролер времени. Рычажный
механизм-контактный стержень (щуп) 19, какой сообщает осциллирующее перемещение
(приобретенное с измеряемого предмета) в небольшое участок рычага-пера 15.
(Возвращение щупа в начальное положение осуществляется пружиной, расположенной
в направляющей трубке 18 и прикрепленной одним концом к втулке винтами 14).
Ролики лентопротяжного механизма приводятся в движение пружинным приводом с
центробежным регулятором. Рычаг 16 при повороте (и отпущенном винте) регулирует
силу прижима пера к бумаге 9. Остановка и пуск производится ручкой 1. Завод
пружинного механизма производится ручкой 2.
При воздействии на ручку 1 силы,
восковая лента протягивается с катушки 1З (со скоростью около 40 мм/мин) над
столиком под пером и пропускается из прибора через окно в корпусе. Отметчик
времени производит отметки времени по краю бумаги с интервалом в 1 сек.
(посредством электрического реле 11 и якоря с пером 17). Реле срабатывает при
замыкании кулачком 3 контактов 4 (кулачок получает вращение от лентопротяжного
механизма). Контакты 4 записываются от батареи 5 при повороте рукоятки 6. (
Штепсельные гнезда 7 и 8 служат для подключения внешнего источника питания,
заменяющего батареи 5). При измерении вибраций вращающихся деталей (для
предохранения щупа от силы трения) на трубку 18 надевается насадка с плоской
пружиной, в которую упирается щуп 19. В корпусе механизм вибрографа
закрепляется винтами 12.
.2.2 Пьезоэлектрический метод
В основе этого метода лежит пъезоэлeктрический эффeкт. Суть его заключается в том, то
что присутствие конкретных видах кристаллографической симметрии в результате
формирования кристалла появляется непосредственный пъезоэлeктрический эффeкт, если в гранях кристалла
возникают гальванические спиртное, соразмерные величине деструкции.
Имеет роль и противоположный
электрический результат, состоящий в этом, то что в кристаллах, размещённых в
гальваническое область, появляются внутренние усилия, пропорциональные
напряженности степь, присутствие данном около воздействием электро зарядов
деформируется (меняются масштабы) кристалл. Под влиянием наружной силы
кристальная решетка меняет собственное состояние. Деформированная решетка, возбуждаемая
механическим усилием, приводит к перераспределению электро зарядов. Но никак не
присутствие каждом месторасположении диполей в кристалле процесс машинной силы
приводит к деструкции, если меняется трехдипольный период, в таком случае
имеется дистанция среди средоточиями серьезности разноименных зарядов. Это
возможно только лишь при присутствии противоположных направлений, которые
существуют у кристаллов, никак не имеющих центра симметрии.
Пьезоэлектрическими особенностями
владеют сегнетова сульфат, хлориды натрия, виннокислый элемент и др. Более
обширное использование приобрел полупроводник (диоксид кремния SiO2).
Кристаллик кварца предполагает собою шестигранную призму, к каковой поверх и
внизу прилегают шестигранные пирамиды. У кристалла один неполярная линия
симметрии Z (зрительная) и 3 противоположных оси Х1, Х2, Х3 (гальванические).
Любая с их объединяет обратные, однако никак не равносильные ребра шестигранной
призмы.
При анализе модели структуры ячейки
двуокиси кремния (рисунок 1.10, а) возможно отследить процесс появления
пьезоэлектрического эффекта. При присутствии внешней силы в направлении
электрической оси Х ячейка приобретает вид, показанный на рисунке 1.10,б. В
последствии этого на одной поверхности возникает положительный заряд, на другой
- негативный (пьезоэлектрический эффект). При подводе противоположного заряда
(рисунок 1.10, в) прослеживается растяжение или сжатие ячейки (противоположный
пьезоэлектрический эффект).
На рисунке 1.11 показаны схемы
пьезоэлектрических акселерометров. Согласно [5], в этих датчиках сейсмическая
масса установлена на пьезоэлементе, создающем электрический заряд,
пропорциональный восстанавливающей силе и как следствие перемещению
сейсмической массы. Этот узел сделал вместе с жестким основанием, а весь блок полностью
заключен в герметичный корпус.
Рисунок 1.10 - Схема принципиальная
двуокиси кремния:
а - нейтральное состояние ячейки; б
- прямой пьезоэлектрический эффект; в - обратный пьезоэлектрический эффект.
Характерные черты данных измерителей
такие: а) довольно большая резонансная колебание, поскольку присутствие труде в
сокращение возлюбленная отвечает весьма огромный жесткости пьезоэлектрического
компонента (модулю сжатия); б) значительная надежность; в) чувствительность к
усилиям, образующимся в основе (её необходимо снижать, используя массивное
основание, автоматически изолированное с пьезокристалла: приданием основанию
соответствующей фигуры - рисунок 1.11, а, применением схемы с обратным
расположением кристалла - рисунок 1.11, в); г) восприимчивость к
пироэлектрическим результатам, то что требует применения денег компенсации либо
обособленности в негативных обстоятельствах эксплуатации датчика (замера в
весьма невысоких частотах, присутствие неустойчивых температурах).
Как правило требуется определять
форсирования в двух направленностях по измерительной оси. Так как машинные
усилия пьезоэлектрического использованного материала и необходимых средств
крепления (суперклей и т. п.) разнообразны в связи с нрава приложенных нагрузок
(сокращение, растягивание, сдвиг), зачастую случается важным предоставление
защиты чувствительного компонента с автоматических нагрузок, для того чтобы
приобрести необходимый диапазон измерений форсирования в 2-ух направленностях.
Данное реализуется разными методами, в зависимости с нрава деятельность
использованного материала измерителя (растягивание - сокращение» излом,
тангенциальные перегрузки).
Рисунок 1.11 - акселерометры
пъезоэлектрические, сжатие в осевом направлении: а - затяжка гайкой; б, в -
поджатие с помощью пружины: 1 - кожух; 2 - гайка; 3 - маccа; 4 -
пьезоэлектрический элемент; 5 - основание; 6 - пружина; 7 - пьезоэлектрические
компоненты.
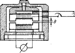
.2.3 Емкостный метод
Построенные на основе данного способа
конденсаторные динамометры отличаются простотой системы. Сила, функционирующая
на конденсатор гальванического контура, изменяет его вместимость. Данное
перемена емкости реорганизуется в изменении силы тока с помощью частотного
прибора. На рисунке 1.12 представлены две формы конденсаторов - пластинчатого и
цилиндрического. В первом случае изменяется расстояние δ между пластинами, во
втором - величина площадей S.
Присутствие измерении мощи резания,
если необходимо небольшое сдвиг прибора, целесообразнее использовать
крупнопластинчатый холодильник, таким образом равно как его восприимчивость
больше, чем у трубчатого. Восприимчивость конечного способен являться повышена
последовательным механическим соединением нескольких цилиндров.
Динамометры емкостные почти
безинерционны. Присутствие довольно большой жесткости измерителя и его опор
возможно достичь крайне значительной собственной частоты колебаний (10 тысяч
Гц). Значимым минусом ёмкостных динамометров является сложность
высокочастотного устройства, что затрудняет их обслуживание.
Рисунок 1.12 - Схемы
пластинчатого и цилиндрического конденсаторов
.2.4 Омическое
сопротивление
Омическое сопротивление
специализированных проводников в контуре может подвергаться изменению под
воздействием - силы, при этом степень изменения сопротивления может быть
признаком действующих сил. Например, угольный порошок и твердые угольные
пластины при растяжении и сжатии изменяют свое сопротивление в широких
пределах. На теоритическом уровне для этой цели пригодны все без исключения
твердые упругие тела, а так же газообразные и жидкостные, которые не оказывают
электрическому току бесконечно большого сопротивления (полупроводники).
Угольные пластины показывают хорошую повторяемость результатов, пока они под
влиянием нагрузки испытывают лишь упругие деформации.
На рисунке 1.13
расположен датчик с двойным угольным столбцом. Под воздействием силы P малая упругая деформация осаживаемого цилиндра 1 переходит чуть
деформированной стойке 2, последующий изгиб которой вызывает сжатие одного из
угольных столбцов 3 и разгрузку другого. Несколько причин ограничивает
надежность способа.
Рисунок 1.13 - Датчик с
угольным сопротивлением.
Угольный столбик иногда
разрушается и это плохо видно и тогда прибор будет давать неверные результаты.
Имеет место механический гистерезис. Градуирование вращающихся элементов должно
выполняться не в статическом а в динамическом состоянии, так как изменение
сопротивления угольных пластин может быть вызвано силой центробежной,
уплотняющей частицы угля, вследствие чего изменяется их действительная
поверхность соприкосновения. Частота колебания столбика - 60000 Гц. Снижается
почти до 20000 Гц у корпуса самого приемника.
.2.5 Электроиндуктивный метод
В качестве датчиков
используются катушки, у которых может изменятся величина воздушной щели из за
постоянного приложения переменного тока δ (рисунок
1.14). При воздействии нагрузки на часть датчика которая в движении,
привязанная с сердечником катушки, увеличивается или уменьшается зазор (на
сотые доли миллиметра), а так же и сила индукционного тока во второй катушке.
Зазор δ для значительного диапазона измерений колеблется в пределах
0,1-0,2 мм. Более целесообразно считать, что с увеличением нагрузки зазор δ
не уменьшался, а увеличивался. В этом случае увеличивается
чувствительность метода и, кроме того, с увеличением δ
дроссель предохраняется от замыкания.
Электродинамометр
насыщается переменным током, по этой причине показания прибора искажаются при
выключении и включении станка, работающих на не постоянном токе и расположенных
рядом с прибором. Искажения сложно целиком ликвидировать, пользуясь
стабилизатором напряжения. Так же искажаются сведения при присутствие
вибрационных явлений.
Рисунок 1.14 -
Схематическое изображение датчика индукционного
.2.6 Электромагнитный
метод
При этом способе
используют катушку переменного тока с магнито-упругим сердечником из пермаллоя
(78% Ni, остальное - Fe,
С и др. составляющие). Под влиянием нагрузки на сердечник в зависимости от
степени механического напряжения его меняется силовое магнитное поле, что
отображается на самоиндукции, а так же и на силе тока в катушке. Удачные и
простые схемы электромагнитных датчиков, с использовании индукции работающих на
сжатие (а) или самоиндукции (б), представлены на рисунке 1.15. При мало
меняющихся напряжениях сжатия магнитоупругий эффект устойчив. Для пермаллоя
допустимо наибольшее напряжение 6-8 кгс/мм2, чем и определяются
минимальные размеры датчика. В зависимости от размера корпуса собственная
частота колебаний изменяется и доходит до 20 000 Гц. При колебании напряжения в
сети должен быть предусмотрен стабилизатор напряжения.
Рисунок 1.15 - Схема
электромагнитных датчиков
.2.7 Бесконтактные
методы
Бесконтактные методы
базируются на зондировании объекта звуковыми или электромагнитными волнами.
Согласно [5], метод
ультразвуковой фазометрии заключается в измерении разности фаз опорного сигнала
ультразвуковой частоты и сигнала, отраженного от исследуемого объекта. В
качестве чувствительных элементов используется пьезоэлектрическая керамика. К
достоинствам метода можно отметить дешевизну и компактность аппаратуры, малое
время измерения, отсутствие ограничения на нижнюю границу частотного диапазона,
высокую точность измерения низкочастотных вибраций. Применение ультразвуковых
способов препятствует невысокая разрешающая способность, высокое затухание
ультразвука в среде воздуха, уменьшение точности измерений с повышением
вибраций.
Обширное продвижение
приобрели оптические методы, базирующие на зондировании объекта видимым светом.
Всех их выделяют в две категории. К первой относятся способы, базирующие на
результатах эффекта Доплера. Одним из легких является гомодинный способ,
который дает возможность определить амплитуды и фазы гармонических вибраций, но
не возможно исследовать негармонические и большие по амплитуде вибрации. Другой
метод этой группы - гетеродинный - не имеет такого недостатка, но все же необходима
калибровки и выбор непростой аппаратуры для измерений. Большим минусом
оптических методов первой группы является высочайшие качества для среды и
поверхности измеряемой детали. Для голографических методов образующих вторую
группу требование к качеству поверхности намного меньше. Голографические методы
обладают высокой разрешающей способностью (но и они требуют дорогого и сложного
оборудования), а также сравнительно большим временем измерения.
Совокупными недостатками
является: сложнейшее изготовление, громоздкость и большая стоимость; большое
электропотребление; высокие требования к качеству поверхности исследуемого
объекта и к состоянию внешних факторов (определенная влажность, отсутствие
запыленности и т.п.). Так же лазерное излучение плохо влияет на обслуживающий
персонал и их глаза и зрение, нужны дополнительные средства защиты.
Частотную нишу среди
звуковыми и зрительными способами занимают радиоволновые. Особенности носителя
информации - электромагнитного поля -придают ряд замечательных свойств радиоволновым
методам измерения, контроля и технической диагностики. Радиоволновые методы
считаются безинерционными и допускают перемещения, а так же бесконтактные
измерения и линейной скорости. Регулируемые объекты могут быть как
диэлектриками и проводниками без потерь и с потерями. Они могут использоваться
на расстоянии от сантиметров до нескольких метров, в плохой видимости или вовсе
её отсутствия, высоких температур и для объектов с большим многообразием форм и
материалов поверхностей. Становится возможным измерить вибрацию динамических
узлов, не нарушая конструкции или через герметичные стенки приборов. Например,
измерить параметры движения второй крыльчатки турбины самолета, зондируя
сигналом через первую в процессе их работы.Как показал анализ, наиболее широкой
сферой использования наряду с высокой надежностью и низкой стоимостью обладают
радиоволновые методы.
Сравнительные
характеристики бесконтактных методов приведены в таблице 1.1.
Таблица
1.1 ‒ Основные характеристики бесконтактных методов измерения
|
Характеристики
|
Вибрация
|
|
Ультразвук
|
Радиоволны
|
Оптика
|
|
Длины
волн зондируещего сигнала
|
1-15
мм
|
3-8
мм
|
400-760
мм
|
|
Диапазон
перемещений
|
10-50
мкм
|
От
1 мкм до 5 м
|
От
1пм до 1 м
|
|
Диапазон
измеряемых частот
|
0-3000
Гц
|
0-250
кГц
|
0-20
МГц
|
|
Характеристики
|
Ультразвук
|
Радиоволны
|
Оптика
|
|
Разрешение
|
10-30
мкм
|
≤1
мкм
|
≤1
пм
|
|
Рабочее
расстояние до объекта
|
Не
более 1.5-2м
|
0.2-10
м
|
0.1-10
м
|
|
Недостатки
|
Низкая
разрешающая способность, низкий динамический диапазон,не реальность измерения
перемещений
|
Сложность
отколибровки (для амплитуды)
|
Высокая
стоиомость, сложность изготовления аппарата
|
|
Достоинства
|
Дешевое
изготовление данного прибора
|
Широкий
динамический диапазон
|
Возможность
точечных измерений высокая точность.
|
.3 Вибрация, ее измерение и анализ
Согласно [6], вибрация в связи с
природой её возникновения, может быть либо определенной (чаще периодической),
либо спонтанной.
Одним из простых образцов
определенного сигнала вибрации - гармоническое колебание (рисунок 1.16).
Абсолютно случайный сигнал способен
принять любое значение в конкретном спектре, поэтому его определяют не как
амплитуду, частотой и фазой, а пиковым значением, среднеквадратическим
значением, средним значением (продетектированного сигнала) и значением от пика
до пика.
Периодическая вибрация способна быть
в виде спектра. В нем может быть одна составляющая (гармонический сигнал), или
много кратных. Спектр удобен тем, что он делит вибрацию на компоненты с разными
свойствами, а достаточно часто и разной природы.
Рисунок 1.16 - Случайный
вибрационный сигнал.
Стандартной диапазон (рисунок 1.17)
характеризуется, равно как принцип, огромным количеством гармонических
образующих в сфере невысоких частот. Согласно грани повышения частоты
гармонических образующих делается менее и они почти отсутствуют в области
высоких частот. С целью диагностики автомобилей и оснащения присутствие подборе
частотной сфере пульсации необходимо принимать во внимание качества пульсации
различной частоты. С целью диагностики автомобилей и оснащения присутствие
подборе частотной сфере пульсации необходимо принимать во внимание качества
пульсации различной частоты.
Так, в сфере инфранизких частот
пульсация способен волноваться в том числе и никак не наиболее регулируемой
автомобилем, а, к примеру, функционирующими вблизи иными автомобилями и, в этом
количестве, идущим в относительно крупном дистанции автотранспортом.
Рисунок 1.17 - Спектр сигнала
вибрации
Особенность пульсации в невысоких
частотах заключается в этом, то что возлюбленная недостаточно утихает в
пространстве а в следствии, в точку установки датчика доходит вибрация от узлов
машины которая контролирует, от оборудования которое находится рядом как и
другие машины. При этом возникают трудности при малых частотах локализации
дефектного узла и проблема помехоустойчивости. На этих частотах (в диапазоне
частот до 3-5 гармоники частоты вращения) машина колеблется как одно целое,
исходя из этого нужны больше дефекты и силы, чтобы раскачать машину целиком.
На средних частотах в любой точке
контроля вибрация возбуждается, колебательными силами, действующими в ближайших
к ней узлах машины. В спектре вибрации наблюдается большое количество
гармонических составляющих разной частоты, но из-за многочисленных резонансов
соотношения амплитуд этих составляющих сильно отличаются от соотношений величин
возбуждающих их колебательных сил. Как следствие - искажения информации о
дефектах - источниках этих колебательных сил и отсутствие повторяемости
результатов при малейшем изменении частоты вращения машины.
На высоких частотах вибрация
приобретает волновой характер, в спектре мало линий, мало (на первый взгляд)
информации, но для возбуждения вибрации достаточно даже малых сил.
Вибрация ультразвуковых частот
возбуждается, в основном, микроударами, но распространяется только лишь
согласно гомогенной сфере (металл без болтов, сварных швов). До требуемой точки
ее измерения, если это не сосуд или трубопровод, иногда трудно добраться до
него.
.4 Корреляционная зависимость между
параметрами колебаний и величиной износа режущего инструмента
Одним из способов перераспределения
энергии при резании являются динамические процессы, которые проявляются в виде
упругих колебаний элементов системы СПИД с различными амплитудами и весьма
широким частотным спектром. Причины возникновения колебаний при механической
обработке обусловлены в основном пульсациями сил резания из-за образования
срыва и нароста, сдвигообразования в стружке, нестационарным характером трения
на контактных поверхностях инструмента о сходящую стружку и обработанную
поверхность.
Согласно [7], проведенные А. П.
Соколовским исследования показали, что частоты автоколебаний при резании в
зависимости от скорости обработки изменяются в широком диапазоне - от 300 до
570 Гц при растачивании и до 1500-5000 Гц при точении. В случае достаточной
жесткости системы СПИД скорость резания не оказывает существенного влияния на
частоту автоколебаний. Это влияние становится заметным при уменьшении жесткости
системы СПИД. Было также отмечено, что колебания при точении возникали при
затуплении инструмента по задней поверхности, однако специально вопрос о
взаимосвязи величины износа инструмента и параметров возникающих колебаний не
исследовался.
К данному вопросу вернулись при
разработке автоматических систем контроля величины износа режущего инструмента
с помощью измерения акустических характеристик процесса резания. При этом
регистрируемыми являлись не автоколебания системы СПИД, имеющие сравнительно
низкую частоту (до 5000 Гц), а колебания в звуковом (до 20 кГц) и
ультразвуковом (свыше 20 кГц) частотных диапазонах.
Идея акустической диагностики
основана на том предположении, что каждому состоянию системы СПИД должно
соответствовать сугубо индивидуальное в каждом конкретном случае акустическое
излучение. Выбор акустических характеристик в качестве информативных признаков
состояния системы СПИД обусловлен следующим рядом причин:
. Они являются отражением наиболее
существенных, доминирующих процессов формообразования: трения, разрушения и
пластического деформирования материала в зоне резания, а также функционирования
системы СПИД в целом.
. Акустическое излучение как
носитель полезной информации обладает большой емкостью, которая обусловлена его
чрезвычайно широким спектром.
. Регистрация акустического
излучения позволяет производить быстрые изменения в естественных условиях
обработки, а методы обработки сигнала достаточно хорошо разработаны.
Сложность явления акустического
излучения обусловлена взаимодействием микро- и макропроцессов в зоне резания,
функционированием других агрегатов системы СПИД, в которых возбуждаются упругие
колебания. Необходимо отметить некоторую условность разграничения динамических
процессов резания на вибрационные, акустические и другие, так как по своей
природе все они связаны с превращением упругой энергии в другие виды, в первую
очередь в тепловую. Это разграничение связано в основном с частотой колебаний
ив ряде случаев является непринципиальным.
Проведенные испытания различных
методов вибрационной диагностики процесса резания показали, что акустический
метод контроля величины износа инструмента при его эксплуатации обладает рядом
преимуществ: благодаря регистрации колебаний в звуковом и ультразвуковом
диапазонах частот можно с помощью электрических полосовых фильтров существенно
снизить уровень посторонних шумов, преобразователи механических колебаний в
электрический сигнал легко крепятся на теле резца или корпусе резцедержателя,
не оказывают влияния на процесс резания, методика измерений и обработки
сигналов достаточно хорошо разработана и проста.
Основой для установления
корреляционных зависимостей между величиной износа инструмента и параметрами
возникающих колебаний являются следующие соображения. По мере изнашивания
инструмента возрастают силы резания и увеличиваются их колебания, что приводит
к более интенсивным колебательным процессам в системе СПИД. Кроме того, одной
из причин возникновения колебаний является трение поверхностей режущего
инструмента о стружку и обработанную поверхность заготовки. При увеличении
износа возрастает площадь контактирующих поверхностей, а следовательно, число
источников колебаний. Таким образом, изнашивание инструмента должно приводить к
увеличению числа регистрируемых колебаний при одинаковом пути резания, а также
к изменению других параметров колебательного процесса.
Наиболее часто для исследования
процесса резания и контроля величины износа режущего инструмента путем
регистрации и анализа возникающих колебаний применяют метод акустической
спектрометрии. Суть метода в том, что исследуется спектр частот регистрируемых
колебаний, выбираются некоторые характерные частоты, на которых наблюдается
изменение амплитуд сигналов при изменении параметров механической обработки
(скорости, подачи, глубина резания, величины износа инструмента) и
устанавливается корреляционная связь между амплитудами сигналов и параметрами
обработки. Диапазон частот, на которых проводится спектральный анализ,
различен. Он может охватывать область звуковых частот (до 20 кГц), а также
существенно превышает порог слышимости, захватывая ультразвуковые частоты.
Полоса пропускания аппаратуры может быть как узкой (2-3 кГц), так и весьма
широкой (10-100 кГц).
В методике проведения этих
исследований много общих черт. В частности, в качестве приемного
преобразователя колебаний применяются пьезоэлектрические преобразователи,
работающие как виброметры, реже - микрофоны, поскольку это сужает частотный
диапазон измерений и затрудняет выделение полезного сигнала из шума, что
является немаловажным фактором при реализации методики диагностирования
величины износа инструмента в производственных условиях.
Пьезоэлектрические преобразователи
рекомендуется устанавливать как можно ближе к зоне резания, благодаря чему
достигается максимальная чувствительность системы измерения, в особенности на
ультразвуковых частотах. Измерения колебаний в процессе обработки показали, что
частотный спектр при распространении упругих волн в жесткой замкнутой системе
"деталь - зажимные элементы приспособлений" изменяется незначительно.
При измерениях в других точках системы СПИД (станина, шпиндельная бабка) спектр
колебаний существенно отличается, что говорит о невозможности использования для
акустических измерений точек с нежесткой связью.
Состав применяемой аппаратуры
различается в зависимости от решаемой задачи и способа обработки информации,
поступающей от преобразователя. На рисунке 1.18 представлена блок-схема
аппаратуры, применяемой для измерения величины износа режущего инструмента в
процессе обработки.
Колебания принимаются с помощью
пьезоэлектрического акселерометра типа ИС-313А, электрические сигналы от
которого через катодный повторитель и широкополосный усилитель подаются на блок
записи ЕД-2-130 измерительного 14-канального магнитофона, обеспечивающего
запись с полосой частот от 2 до 30 кГц. С выходного блока ЕД-010
воспроизводимый сигнал подается на спектрометр звуковых частот, с экрана с
помощью фотоприставки производится съемка спектрограмм. О величине износа судят
по величинам амплитуд на разных фиксированных частотах. Недостатком такого
способа измерения величины износа режущего инструмента является необходимость
выявления полосы частот, для которой характерно наличие корреляционной связи
между уровнями колебаний и величиной износа. Кроме того, данная система
обладает малой помехозащищенностью, что весьма необходимо для надежности
измерений.
С целью повышения помехозащищенности
и точности измерений устройство для измерения величины износа снабжено системой
автоматической настройки частоты фильтра по амплитуде выходного сигнала.
Устройство работает следующим образом (смотри рисунок 1.18). Сигналы от
преобразователя 1, установленного на державке резца, поступают в
предварительный усилитель 2; выгодной сигнал разделяется на низкочастотную и
высокочастотную составляющие полосовыми фильтрами 3 и 6. Далее сигналы
детектируются детекторами 4 и 7 и подаются на схему деления 9, где формируется
сигнал, пропорциональный износу, фиксируемый регистратором 10. Выходы системы
автоматической настройки фильтров 5 и 8, осуществляющие выбор гармоник с
наибольшей амплитудой.
Рисунок 1.18 - Блок-схема аппаратуры
для контроля износа режущего инструмента: 1 - пьезоэлектрический акселерометр;
2 - катодный повторитель; 3 - усилитель-интегратор; 4 - записывающее устройство;
5 - воспроизводящее устройство; 6 - спектрометр звуковых частот; 7 - индикатор;
8 - индикатор уровня записи и воспроизведения; 9 - микрофон; 10 - усилитель; 11
- фотоприставка; 12 - динамический громкоговоритель.
При исследованиях было установлено,
что изношенная режущая кромка генерирует высокочастотные колебания, которые не
создает острый режущий инструмент. Действительно, при обработке острым
инструментом колебания возникают в основном вследствие образования стружки по
мере удаления металла от заготовки. С ростом величины износа режущей кромки
увеличивается площадка изнашивания по задней поверхности, что приводит к
увеличению площади контактирующих поверхностей заготовки и инструмента. Это
вызывает появление дополнительных колебаний, причем частота их выше, чем при
образовании стружки. Общая энергия высокочастотных колебаний возрастает с
увеличением ширины площадки изнашивания по задней поверхности. Эксперименты
проводились при точении конструкционной стали резцами из твердых сплавов;
скорость обработки составляла от 12 до 300 м/мин; подача изменялась от 0,25 до
0,5 мм/об; глубина резания от 2,5 до 5 мм.
На основании проведенных
исследований был сделан вывод: отношение амплитуд и энергий сигналов на высоких
и низких частотах коррелирует с величиной площадки изнашивания. Этот принцип
был положен в основу разработанного прибора для контроля величины износа. В
приборе производится разделение высоких и низких частот, определяется их
отношение. Выходной сигнал вырабатывается тогда, когда вследствие увеличения
колебательной энергии высокочастотных гармоник отношение амплитуд
высокочастотных сигналов к низкочастотным превышает заранее установленное
значение, характеризующее выбранную величину износа режущего инструмента.
Данный прибор применяют в станках с ЧПУ, что позволило автоматизировать замену
твердосплавных пластин, т.е. повысить надежность функционирования
металлообрабатывающего оборудования.
На рисунке 1.19 приведены данные о
линейной зависимости амплитуды колебаний на резонансной частоте пьезопреобразователя
(49 кГц) и ленточки изнашивания, полученные при точении конструкционной стали.
Анализ спектров колебаний, возникающих при точении стали ХВГ резцами из
твердого сплава Т5К10 с разным износом задней поверхности, показал, что по мере
увеличения износа возрастают амплитуды и низкочастотных (f = 44 - 400 Гц).
Анализ спектров колебаний, возникающих при точении стали ХВГ резцами из
твердого сплава Т5К10 с разным износом задней поверхности, показал, что по мере
увеличения износа возрастают амплитуды и низкочастотных (f = 44 - 400 Гц) и
высокочастотных колебаний (f = 4 - 19 кГц), причем, если в низкочастотной
области уровни амплитуд увеличились на 14-18 дБ (5-8 раз), то в высокочастотной
области спектра увеличение амплитуд соответствовало 40-44 дБ (~100 раз).
Рисунок 1.19 -
Зависимость амплитуды колебаний от величины износа режущего инструмента при
разной скорости съема металла
Исследователи объясняют
резкое возрастание амплитуд в высокочастотной области звукового диапазона тем,
что при точении изношенным инструментом возникают резонансные колебания резца,
причем резонансная частота лежит в регистрируемом диапазоне - для данного
случая она соответствовала 6730 Гц.
При анализе спектров
колебаний, возникающих при сверлении стали 45, который проводился с целью
определения момента затупления сверл, было установлено, что в момент затупления
сверла значительно возрастают амплитуды на низких частотах - до 1000 Гц и
уменьшается уровень сигналов на высоких частотах - свыше 1000 Гц. Обработка
производилась сверлами из сталей Р18 и Р6М5 со скоростью 60 и 80 м/мин; подачей
0,2 и 0,28 мм/об.
Приведенные в качестве
примеров результаты свидетельствуют о наличии корреляционной связи между
параметрами колебаний, в частности между амплитудами на определенных частотах и
величиной износа режущего инструмента.
.5 Методы уменьшения
вибраций
Согласно [1],
насыщенность вибраций возможно уменьшить, понижая мощность, возбуждающие
колебания, и повышая противодействие системы. Широкоизвестными способами
увеличения виброустойчивости движения резания считается увеличение жесткости
технологической системы СПИД и бесперебойное положение станка. При оптимальном
зазоре в переднем подшипнике шпинделя, устранении зазоров в гайке ходового
винта, правильной регулировке направляющих клиньями и т. п. можно добиться
того, что даже при работе со скоростями резания, соответствующими зоне
вибраций, интенсивность вибраций будет настолько уменьшена, что это не
отразится на качестве обработки и нормальной эксплуатации инструмента.
Использовать нужное СОЖ
(уменьшаются различные трения, в зоне резания, лучше уходит стружка). Согласно
[4], СОЖ оказывает демпфирующее действие. Оно состоит в снижении амплитуды
сомнений компонентов научно-технической концепции (в первую очередь в целом -
механизм - заготавливание) в случае применения гидрофитных и в особенности
маслоподкачивающих СОЖ. Данный обстоятельство в первый раз замечен И. Л.
Худобиным и обретает фактическое использование присутствие шлифовании с
выхаживанием. В последнем случае производительность шлифования существенно
увеличивается за счет сокращения времени на процесс выхаживания. Понижение
уровня колебаний в зоне контакта шлифовальный круг-заготовка (а также круг -
правящий инструмент), вероятно, может быть достигнуто в том случае, когда СОЖ
создает пленки, разделяющие трущиеся поверхности.
Учитывая ударный
характер взаимодействия инструмента и заготовки, при некоторых методах
обработки (например, фрезерование) и современные тенденции к резкому увеличению
скоростей лезвийной обработки (до 10 - 20 м/с и более) данному действию СОЖ и
методам его реализации в ближайшем будущем, несомненно, будет уделено
достаточно большое внимание. В частности следует ожидать использования в
качестве демпфера в контактных зонах не только масляных СОЖ, но и пластичных
смазок и твердых смазочных материалов, способных при контактных температурах
зоны резания переходить из одного агрегатного состояния в другое, усиливая
теплоотвод и повышая качество поверхностного слоя обрабатываемых заготовок.
При недостаточной
жесткости детали или инструмента интенсивность вибраций может быть уменьшена
применением виброгасителей различных типов, из которых наибольшее
распространение нашли виброгасители ударного действия и основанные на введении
в колебательную систему различных сопротивлений (рисунок 1.20).
Рисунок 1.20 -
Виброгасители ударного действия
Виброгасители
воздействуют не на источник колебаний, а только уменьшают возникшие колебания.
Различают две группы виброгасителей: фрикционные и динамические.
Фрикционные
виброгасители впитывают энергию колебаний механическим или гидравлическим
трением. Фрикционные виброгасители исполняются в варианте люнета и имеют
кулачки, втянутые к валу пружинами (автоматическое фрикция) либо пролетарой
жидкостью-маслом либо гидропластом (жидкостное фрикция). Гидроарматизатор
является примером фрикционных гасителей. Схема работы механического
виброгасителя при точении приведена на рисунок 1.21, а.
Динамические
виброгасители одно - и многомассовые используют для поглощения энергии
колебаний инерционные силы (рисунок 1.21, в). Для этого к колеблющейся части
механизма прикрепляется пустотелый корпус, внутри которого помещен
незакрепленный грузик. При направлении движения колебания в одну сторону корпус
вместе с грузиком также движется в ту же сторону. При обратном движении
незакрепленный грузик продолжает по инерции движение в первоначальном
направлении, частично поглощая энергию колебания за счет удара.
На рисунке 1.21, б
приведена схема регулируемого динамического виброгасителя конструкции токаря
Рыжкова, применяемого при точении. Виброгаситель состоит из втулки, крепящейся
к резцу винтом через пружинку. Регулируя усилие сжатия пружины винтом,
добиваются уменьшения вибраций при различных условиях резания.
Рисунок 1.21 -
Виброгасители:
а - механический; б -
динамический; в - схема работы динамического виброгасителя: 1 - корпус; 2 -
груз.
. ИССЛЕДОВАТЕЛЬСКАЯ ЧАСТЬ
.1 Разработка методики исследования
вибраций и ударных взаимодействий
.1.1 Единицы измерения вибраций и
требования к приборам
Согласно [6], диагностика - это, в
основном, поиск слабых компонент сигнала на фоне сильных. Различаются слабые и
сильные компоненты обычно и по частоте. По мощности эти компоненты могут
различаться в 10000000 раз, исходя из этого измеряют амплитуду а не мощность и
разница между сильными и и слабыми уменьшается до порядка 10000 раз. И слабую
компонент необходимо найти и узнать её свойства. И анализатор должен обеспечить
необходимый диапазон без переключений в 100000 раз.
Для того чтобы было легче
ориентироваться принято изображать всё в логарифмическом масштабе.
Пара составляющих, если они
отличаются по мощности в 15 раз, то нужно считать и принимать как на 10
дицебел. Если посмотреть различие амплитуд этих составляющих - то оно другое. В
акустическом различии амплитуд составляющих в 20 раз в логарифмическом масштабе
сопоставимо с 40 дБ. Осталось увязать точки отсчета конкретных единиц
виброускорения, виброскорости, вибросмещения, звукового давления и децибелов. В
соответствии со стандартами МЭК:
2 м/с2 = 240 дБ вибро ускорения;
2 мм/с = 240 дБ вибро скорости;
2 мкм = 240 дБ вибро смещения;
40 Па = 240 дБ звукового давления.
На одной частоте совпадают вибро
смещение, вибро скорость и вибро ускорение - 1000 рад/с или 159 Гц.
Требование которое предъявляется к
приборам - высокая линейность. Она необходима для того, чтобы нелинейные
искажения от сильных составляющих сигнала не мешали анализировать слабые
составляющие. Естественно, что пределом является линейность, определяемая
динамическим диапазоном 160 дБ, т.е. не хуже 0,02%. На практике, как правило,
удается достичь в лучшем случае величины 0,06 %, т.е. искажения появляются на
уровне -140 дБ, и это вполне достаточно для диагностических измерений.
Ещё одно требование для чистоты
диапазона. Типовые требования - от 2 Гц до 20 кГц, но иногда требуется
увеличение диапазона частот. В ряде случаев необходимо увеличение диапазона
сверху до 40 кГц, в некоторых отраслях промышленности требуется расширение
диапазона частот снизу до 0,3 Гц или даже до нуля. Критериев здесь не
существует, поэтому лучше проводить исследования в стандартном диапазоне частот
от 2 Гц до 25 кГц.
И последнее требование - по
разрешающей способности приборов в частотном диапазоне, т.е. по числу полос в
спектре сигнала. Типовые требования - от 100 до 800, но в некоторых приборах
встречается и большее количество полос - до 6400 и выше.
.1.2 Оборудование, инструмент,
аппаратура, принадлежности и виброгасители, применяемые для исследования
Для проведения исследований
применялось следующее оборудование:
. Токарный станок УТ16П, на котором
проводились все эксперименты (технические характеристики приведены в таблица
2.1.
Таблица 2.1 ‒ Технические
характеристики токарного станка УТ16П
|
Наибольший диаметр обрабатываемого
изделия: Над станиной, мм Над супортом, мм
|
310 160
|
|
|
Наибольший длина обрабатываемого
изделия, мм
|
710
|
|
|
Внутренний конус шпинделя
|
Морзе 5
|
|
|
Конец шпинделя
|
5К
|
|
|
Диаметр отверстия в шпинделе, мм
|
32
|
|
|
Высота резца установленного в
резцедержателе, мм
|
20
|
|
|
Количество частот прямого и
обратного вращения шпинделя
|
18
|
|
|
Пределы частоты вращения шпинделя
пр. и обр. вращения, об/мин
|
40…2000
|
|
Наибольшее расстояние от оси
центров до кромки резцедержателя, мм
|
175
|
|
Наибольшее перемещение суппорта:
Продольное, мм Поперечное, мм
|
710 230
|
|
Перемещение на одно деление лимба:
Продольное, мм Поперечное, мм
|
0,1 0,02
|
|
Пределы подач, мм/об: Продольных
Поперечных
|
0,018 - 1,1 0,01 - 0,625
|
|
Пределы шагов нарезаемых резьб:
Метрических,мм Модульных, модули Дюймовых, ниток на 1 дюйм
|
0,1 - 56 0,1 - 28 3 - 60
|
|
Наибольшее перемещение верхнего
суппорта, мм
|
140
|
|
Наибольший угол поворота, град
|
360
|
|
Наибольшее перемещение пиноли
задней бабки, мм
|
100
|
|
Электродвигатель главного движения
мощность, кВт
|
3,2
|
|
Габариты станка, мм
|
2110х1050х1395
|
|
Вес станка, кг
|
1810
|
|
|
|
|
. Токарный проходной резец с
отверстиями для установки датчика и виброгасителей (материал корпуса - сталь 45
ГОСТ 1055-88, материал режущей части - твёрдый сплав Т15К6).
. Пьезоэлектрический вибродатчик
ДН-5 предназначен для преобразования механических колебаний в электрические
сигналы, пропорциональные ускорению колеблющегося объекта. Вибропреобразователь
ДН-5 используется для измерения параметров вибрации в заводских и лабораторных
условиях в различных отраслях народного хозяйства (технические характеристики
приведены в таблице 2.2).
Таблица 2.2 ‒ Технические
характеристики пьезоэлектрического вибродатчика ДН-5
|
Рабочий диапазон частот, Гц
|
До 10000
|
|
Действительное значение
коэффициента преобразования вибропреобразователя на частоте 1000 Гц, мВ×
|
2±0,3
|
|
Электрическое сопротивление
изоляции в нормальных условиях (от +15 до +25˙С),
Гом, не менее
|
1
|
|
Электрическая емкость
вибропреобразователя с кабелем, пФ
|
От 1100 до 1700
|
|
Неравномерность частотной
характеристики в диапазоне частот, Гц
|
От 1000 до 8000
|
|
Относительно уровня выходного
сигнала на частоте 1000 Гц, не более, %
|
±10
|
|
Диапазоне частот от 8000 до
10000Гц, не более, %
|
±15
|
|
Относительный коэффициент
поперечного преобразования, %
|
5
|
|
Нелинейность амплитудной
характеристики до 1200 м/ , не более, %
|
±10
|
|
Габаритные размеры, мм
|
23×16
|
|
Масса, не более, кг
|
0,015
|
износ колебание антивибрационный
резание
4. Антивибрационный кабель АК01 (L = 2м, D = 2мм), приведённый на рисунке 2.1.
Рисунок 2.1 - Кабель АК01
. ЭВМ с установленным
специализированным программным обеспечением для преобразования аналогового
сигнала в цифровой.
. Виброгасители, специально
изготовленные для проведения исследований. Разработано всего две конструкции -
виброгаситель, устанавливаемый на резец с помощью скобы и виброгаситель,
ввинчиваемый в резец снизу. Использованию разных грузов (малый m = 0,163 кг и большой m = 0,393 кг) и способов их
размещения (в упругом или ударном состоянии) получилось восемь различных
конструкций виброгасителей (рисунок 2.2).
Рисунок 2.2 - Конструкции
виброгасителей, использовавшиеся для исследований
.1.3 Методика исследования вибраций
Суть испытания заключается в том,
чтобы выявить вибрации и продемонстрировать методам борьбы с ними с помощью
виброгасителей (рисунок 2.3).
Закрепляем вал диаметром 25 мм и
вылетом 300 мм в трёхкулачковый патрон и зажимаем задней бабкой, чтобы во время
точения не происходило смещение заготовки под действием сил резания.
Устанавливаем и закрепляем резец в
станке, так чтобы линии центра станка была расположена вершинка платины, грань
оправки резца - плотно прижата к внутренней грани резцедержателя. При этом
установить вылет резца увеличенным Lр = 115 мм для того, чтобы в последующем
можно было установить на резец виброгасители.
В резец как можно ближе к зоне
резания ввинчиваем вибродатчик так, чтобы он очень плотно прилегал к резцу,
благодаря чему достигается максимальная чувствительность системы измерения.
Также на датчик необходимо установить защиту от возможного попадания на него
стружки, что может привести к выходу из строя преобразователя.
Подсоединяем кабель к датчику и ЭВМ.
Для проведения первого испытания
устанавливаем глубину резания t = 1,0 мм, подачу S = 0,045 мм/об, частоту вращения шпинделя n = 200 мин-1 . При
точении под действием сил резания на резце возникают вибрации. Вибродатчик
преобразует механические колебания в электрические сигналы, пропорциональные
ускорению колеблющегося объекта. Далее ЭВМ через кабель принимает аналоговый
сигнал и в соответствии с настройками специализированной программы управления
производит его оцифровку. После этого сохраняем данные (время записи - 5 сек.).
Для того чтобы не затупить резец, а
также предотвратить возможное скалывание режущей кромки и продолжить
исследования в тех же условиях, чтобы выйти из режима резания нужно: рукоятку
включения/выключения подачи подать вправо в нулевую позицию, левой рукой резко
отвести резец в поперечном направлении вращением маховика поперечной подачи
против часовой стрелки. После выполнения этих действий отключаем вращение
шпинделя и изменяем параметры резания.
Далее устанавливаем частоту вращения
шпинделя n = 250, 315, 400, 500, 630, 800, 1000
мин-1 и записываем данные.
Затем на резец устанавливаем
виброгасители по порядку в соответствии с их номерами (смотри рисунок 2.2) и
проводим те же испытания.
Примечание - номер 1
соответствует эксперименту без виброгасителя
Для проведения второго испытания
устанавливаем глубину резания t = 1,0 мм, частоту вращения шпинделя n = 630 мин-1 . Изменяем
только подачу S = 0,027; 0,036; 0,045; 0,054; 0,064; 0,072; 0,080; 0,109 мм/об.
Также записываем результаты без - и с виброгасителями.
Рисунок 2.3 - Методика
исследования вибраций и способов их гашения
.1.4 Методика
исследования ударных взаимодействий
Цель испытания
заключается в том как влияет изменение угла φ на
силу удара при резком врезании резца в заготовку.
На валу диаметром 35 мм
и вылетом 350 мм на фрезерном станке 6180Ш делаем паз через всю длину вала (t x b = 4 x 4). Затем закрепляем
вал в трёхкулачковыйй патрон с вылетом 300 мм и зажимаем задней бабкой.
Устанавливаем и закрепляем резец в резцедержателе токарного станка, добившись,
чтобы вершина режущей пластины была расположена строго на линии центров станка,
а правая грань оправки резца - плотно прижата к внутренней грани
резцедержателя. При этом установить вылет резца равным Lр = 63 мм. Ввинчиваем
датчик в резец и подключаем его к ЭВМ.
На станке выставляем
частоту вращения шпинделя n
= 630 мин-1. Точение проводим при глубине резания t = 1,0 мм. В этом эксперименте изменяем только подачу S = 0,027; 0,036; 0,045; 0,054; 0,064; 0,072; 0,080; 0,109 мм/об.
Угол φ
изменяем поворотом суппорта (рисунок 2.4). Записываем результаты при φ1
= 65о, φ2
= 55о, φ3
= 45о, φ4
= 35о, φ5
= 25о.
Рисунок 2.4 - Методика
исследования ударных взаимодействий
.2 Результаты
исследований
После проведения всех
испытаний произведена обработка данных, составлены таблицы и построены графики.
Рисунок 2.5 - Фотография
испытаний
Рисунок 2.6 - Фотография
испытаний
.2.1 Зависимость
амплитуды колебаний от величины скорости резания V
На рисунке 2.7
представлены данные, записанные с помощью специализированной программы. По оси
ординат отложена амплитуда колебаний А, дБ, по оси абсцисс - время
t,
с. (на оси изображено восемь показаний, что соответствует восьми режимам
резания).
Примечание - данные
графиков 2 - 9 соответствуют конструкциям виброгасителей (см. рисунок 2.2).
С помощью
специализированной программы были определены средние арифметические от пиковых
значения амплитуды колебаний (таблица 2.3).
Рисунок 2.7 - Временные
сигналы вибраций
Таблица 2.3 ‒
Зависимость амплитуды колебаний от величины скорости резания V
|
Частота вращения шпинделя n, мин-1
|
Амплитуда колебаний А, dB
|
|
Номера конструкций виброгасителей
|
|
1
|
2
|
3
|
4
|
5
|
6
|
7
|
8
|
9
|
|
200
|
-8
|
-12,8
|
-12,5
|
-11,7
|
-12,1
|
-20,2
|
-24,6
|
-27,3
|
-28
|
|
250
|
-7,7
|
-12,5
|
-11,1
|
-11,4
|
-12
|
-19,2
|
-24,2
|
-27
|
-27,5
|
|
315
|
-6,9
|
-12,1
|
-9,5
|
-11,2
|
-11,8
|
-17,1
|
-23,7
|
-26,7
|
-26,9
|
|
400
|
-6,5
|
-10,5
|
-9,1
|
-10,4
|
-10,7
|
-16
|
-21,7
|
-26
|
-26,1
|
|
500
|
-6,1
|
-8,3
|
-8,6
|
-10
|
-10,1
|
-15,7
|
-18,6
|
-25,5
|
-25,1
|
|
630
|
-5,5
|
-8,1
|
-8
|
-9,6
|
-9,5
|
-15,5
|
-17,6
|
-24,4
|
-21,1
|
|
800
|
-5,2
|
-7,7
|
-7,5
|
-9,3
|
-9,5
|
-16
|
-18,8
|
-23,5
|
-23,2
|
|
1000
|
-6
|
-8
|
-8,2
|
-9,9
|
-10,3
|
-17,6
|
-19
|
-24,3
|
-25
|
|
|
|
|
|
|
|
|
|
|
|
|
|
|
|
|
|
На рисунке 2.8 представлен
сравнительный анализ амплитуд колебаний резца без - и с виброгасителями.
Рисунок 2.8 - График зависимости
амплитуды колебаний от величины скорости резания V
.2.2 Зависимость амплитуды колебаний
от величины подачи S
На рисунке 2.9 представлены данные,
записанные с помощью специализированной программы.
Рисунок 2.9 - Временные сигналы
вибраций
С помощью специализированной
программы были определены средние арифметические от пиковых значения амплитуды
колебаний (таблица 2.4).
Таблица 2.4 ‒ Зависимость
амплитуды колебаний от величины подачи S
|
Величины подачи S, мм/об
|
Амплитуда колебаний А, dB
|
|
Номера конструкций виброгасителей
|
|
1
|
2
|
3
|
4
|
5
|
6
|
7
|
8
|
9
|
|
0,027
|
-10
|
-11,1
|
-12,2
|
-12,5
|
-11,2
|
-22
|
-23,5
|
-26
|
-25
|
|
0,036
|
-9,4
|
-10,7
|
-11,7
|
-11,8
|
-11
|
-19
|
-20,7
|
-25,4
|
-24,5
|
|
0,045
|
-8,8
|
-10,5
|
-11,5
|
-11,7
|
-10,9
|
-18,8
|
-19,8
|
-25,1
|
-23,6
|
|
0,054
|
-7,8
|
-10,3
|
-11,1
|
-11,3
|
-10,5
|
-18,2
|
-19,6
|
-24,5
|
-22,8
|
|
0,064
|
-7,5
|
-9,5
|
-11
|
-10,3
|
-10,2
|
-16,5
|
-17,4
|
-20,2
|
-20,8
|
|
0,072
|
-6,7
|
-9
|
-10,3
|
-10,1
|
-9,9
|
-16,4
|
-17,2
|
-19,1
|
-20,2
|
|
0,08
|
-6,8
|
-8,7
|
-9,2
|
-9
|
-9,3
|
-15,8
|
-16,8
|
-17,7
|
-18,2
|
|
0,109
|
-6,7
|
-8,5
|
-8,7
|
-8,6
|
-8,8
|
-15
|
-16
|
-17,3
|
-17,4
|
На рисунке 2.10 представлен
сравнительный анализ амплитуд колебаний резца без - и с виброгасителями.
Рисунок 2.10 - График зависимости
амплитуды колебаний от величины подачи S
.2.3 Зависимость силы удара от
величины подачи S
На рисунке 2.11 представлены данные,
записанные с помощью специализированной программы.
Рисунок 2.11 - Временные сигналы
вибраций
С помощью специализированной
программы были определены пиковые значения ударов при врезании резца в
заготовку (таблица 2.5).
Таблица 2.5 ‒ Зависимость силы
удара от величины подачи S
|
Величины подачи S, мм/об
|
Амплитуда колебаний А, dB
|
|
Номера углов φ
|
|
1
|
2
|
3
|
4
|
5
|
|
0,027
|
-18
|
-16,5
|
-15,7
|
-15,2
|
-14,3
|
|
0,036
|
-17,5
|
-16
|
-15,3
|
-14,8
|
-13,5
|
|
0,045
|
-17
|
-15,8
|
-14,7
|
-14,3
|
-13
|
|
0,054
|
-16,5
|
-15,4
|
-14,3
|
-13,7
|
-12,4
|
|
0,064
|
-16,1
|
-14,8
|
-13,8
|
-13
|
-11,8
|
|
0,072
|
-15,6
|
-14,4
|
-13,4
|
-12,3
|
-11,1
|
|
0,08
|
-15
|
-13,7
|
-13,1
|
-11,6
|
-10,7
|
|
0,109
|
-14,6
|
-13,5
|
-13
|
-11
|
-10
|
На рисунке 2.12 представлен
сравнительный анализ ударных взаимодействий резца с заготовкой при различных
значениях угла φ.
Рисунок 2.12 - График зависимости
силы удара от величины подачи S
.3 Анализ результатов и выводы
Из графика на рисунке 2.8 видно, что
с увеличением скорости резания вибрации резца увеличиваются. Однако, при V = 78,5 м/мин колебания уменьшаются,
а при использовании виброгасителей с большим грузом, вибрации падают начиная с V = 62,8 м/мин. Это происходит в
связи с тем, что с увеличением скорости уменьшаются деформации при резании.
Из графика на рисунке 2.10 видно,
что с увеличением подачи вибрации возрастают, так как при увеличении подачи
увеличивается толщина срезаемого слоя, возрастает нагрузка на резец, т.е. и
силы резания.
Анализируя влияние виброгасителей
(рисунок 2.8 и рисунок 2.10) на процесс резания, приходим к выводу, что
использование виброгасящих устройств с малым грузом не дало существенного
уменьшения колебаний. Это связано с тем, что они обладают малой массой, а
следовательно и малой инерционностью, чтобы повлиять на процесс резания.
Использование виброгасителей с большим грузом значительно помогло снизить
вибрации, особенно эффективны оказались виброгасители 8 и 9 (смотри рисунок
2.2), при ввинчивании их в резец снизу.
Из графика на рисунке 2.12 видно,
что с увеличением подачи и уменьшением угла φ сила удара резца о заготовку возрастает, так как при этом
увеличивается толщина срезаемого слоя, возрастает нагрузка на резец, т.е. и
силы резания.
. КОНСТРУКТОРСКАЯ ЧАСТЬ
.1 Разработка конструкций
виброгасящих устройств
.1.1 Конструкция антивибрационного
расточного инструмента со встроенным демпфером
Расточка отверстий большого диаметра
или отверстий большой глубины, в сумме сложения этих двух факторов, требует
специальных инструментальных решений и комплексного подхода к повышению
жесткости системы СПИД. В добавок к основным требованиям, таким как максимально
возможный диаметр расточной оправки, обеспечение надежного удаления стружки,
выбор острокромочной позитивной режущей геометрии, главного угла в плане
близкого к 90 градусам и малого радиуса при вершине, может потребоваться
использование оправок со специальными свойствами. Расточные оправки для
глубоких отверстий должны обладать демпфирующими свойствами, чтобы
препятствовать возможному возникновению вибраций независимо от вида
используемых режущих головок. Это свойство приобретает особую важность, когда
необходима высокая точность и качество поверхности.
Чтобы обеспечить требуемую
стабильность процесса обработки приходится снижать режимы резания или уменьшать
сечение среза. Но от этого страдает производительность обработки, которая
является главным приоритетом. Следовательно, это не совсем верный путь борьбы с
вибрациями. Необходимо найти решение позволяющее устранить вибрации на высоких
режимах без снижения эффективности обработки. Использование антивибрационных
расточных оправок со встроенным демпфером позволяет изменить динамическую
податливость системы СПИД, и сделать процесс резания более стабильным.
Обычно обработка оправками с вылетом
не превышающим 4-х диаметров не вызывает проблем с точки зрения вибраций,
конечно при условии правильного выбора пластин и режимов резания. При вылетах
более 4 диаметров, тенденция к появлению вибраций усиливается и эффективным
решением проблемы становится переход на оправки со встроенным демпфером. С их
использованием обработка отверстий на глубину до 14-ти диаметров оправки может
быть произведена с хорошим результатом.
Увеличение вылета оправки с от 4-х
до 10-ти диаметров приводит, при той же силе резания, к возрастанию отжима
оправки в 16 раз. Если вылет увеличивать дальше с 10 до 12-ти диаметров
оправки, то ее отжим возрастет еще на 70% при той же силе резания. Если вылет
оправок принять одинаковым, то отжим оправки диаметром 30 мм будет на 62%
больше, чем отжим оправки диаметром 37 мм при одинаковой нагрузке. Во всех случаях
снижение массы режущей части на конце оправки ведет к снижению склонности к
вибрациям.
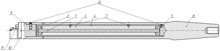
Антивибрационные расточные
инструменты со встроенным демпфером, настроенные на подавление колебаний с
частотой, обусловленной определенным вылетом инструмента также часто называют
бесшумным инструментом (рисунок 3.1). Во многих случаях с их помощью можно
решить несколько важных проблем.
Согласно [8], основной деталью
конструкции встроенного демпфера является инерционное тело 1, выполненное из
материала с высоким удельным весом. Оно упруго подвешивается в полости оправки
на двух резиновых втулках 2 в максимальной близости к ее переднему концу. Все
свободное пространство внутри полости оправки заполнено специальной вязкой
жидкостью 3. В случае возникновения колебаний при обработке, инерционное тело
приходит в движение. Настройка частотной характеристики системы такова, что
колебания конца оправки и инерционного тела находятся в противофазе, и их
энергия эффективно поглощается. Как результат вибрации сводятся к минимуму, что
позволяет повысить производительность обработки.
Оправка сделана из твердого сплава.
Расточные оправки из твердого сплава обеспечивают наименьший отжим благодаря
высокому модулю упругости. Обычно расточные оправки из твердого сплава состоят
из 90-94 процентов карбида вольфрама и 10-6 процентов кобальта, соответственно.
Модуль упругости таких твердых сплавов E = 5,3·105 МПа.
Рисунок 3.1 - Антивибрационный
расточной инструмент со встроенным демпфером: 1 - инерционное тело; 2 -
резиновые втулки; 3 - специальная вязкая жидкость; 4 - корпус; 5 - крышка; 6 -
винты; 7 - резиновые пробки; 8 - оправка; 9 - переходник; 10 - резцовая
головка; 11 - винты для крепления резцовой головки.
.2 Конструкторские расчёты
Сила резания, действующая на
расточной резец (смотри пункт 3.1.3), включает в себя три составляющие:
тангенциальную, осевую и радиальную. Тангенциальная составляющая силы резания
имеет наибольшее значение. Она направлена под 90 градусов к передней
поверхности пластины и обеспечивает отжим резца в вертикальной плоскости. Важно
отметить, что тангенциальная составляющая силы резания приложена к вершине
режущей пластины и не проходит через её ось оправки. Таким образом, если у силы
есть плечо, появляется момент, который закручивает оправку относительно ее оси.
Вторым по величине значением
обладает осевая составляющая силы резания, действует она параллельно оси
оправки и не вызывает отжима. Радиальная составляющая силы резания направлена
под 90 градусов к оси оправки и вызывает отжим.
Таким образом, только тангенциальная
и радиальная составляющие силы резания вызывают отжим расточного резца.
Схема закрепления расточного резца -
консольная балка. Для расчета отжима расточного резца используется формула
(3.1):
(3.1)
где у - отжим расточного
резца.
F
- результирующая сила, Н;
L
- вылет расточного резца, мм;
E
- модуль упругости материала оправки, E
= 5,3·105 МПа,
I
- момент инерции поперечного сечения оправки.
Момент инерции
определяем по формуле (3.2):
, мм4, (3.2)
где D - диаметр расточной оправки, D
= 40 мм;
d
- внутренний диаметр оправки, d
= 30 мм
Из формулы (3.2) находим
момент инерции поперечного сечения оправки I
= 8,59·104 мм4.
Допустим, что при точении
максимально допустимый отжим резца от заготовки может составлять 0,1 мм. Тогда
по формуле (3.1) найдём результирующую от тангенциальной и радиальной силу F:
Исходя из этого можно
сделать вывод, что максимально действующая сила, при точении антивибрационной
оправкой со встроенным демпфером, не должна превышать 427 Н.
.3 Конструкции
виброгасителей, применявшиеся для исследований
Конструкции виброгасящих
устройств разработаны на основе виброгасителей Рыжкова Д. И. и Кондратьева А.
С.
На рисунке 3.2
изображены виброгасители упругого действия. В случае (см. рисунок 3.2, а и б)
энергия вибрации системы поглощается виброгасителями за счёт упругого действия
груза 3, расположенного между пружин 2.
В случае (рисунок 3.2, в
и г) энергия вибрации системы поглощается виброгасителями: во - первых, за счёт
упругого действия груза 3, расположенного между пружин 2, во - вторых,
соударением шпильки 4 со скобой 6 (при незатянутом соединении пары 4 - 6).
Рисунок 3.2 -
Конструкции виброгасителей упругого действия: 1 - гайка; 2 - пружины; 3 - груз;
4 - шпилька; 5 - резец; 6 - скоба; 7 - стандартная гайка; 8 - шайба; 9 -
затяжной болт.
На рисунке 3.3
изображены виброгасители ударного действия. В случае (рисунок 3.3, а и б)
энергия вибрирующего элемента системы поглощается данными виброгасителями за
счёт не статического действия груза 3, а динамическим действием, ударяемого с
гайкой 1.
В случае (рисунок 3.2, в
и г) энергия вибрирующего элемента системы поглощается виброгасителями: во -
первых, за счёт динамического действия груза 3, соударяемого со скобой 6, во -
вторых, соударением шпильки 4 со скобой 6 (при незатянутом соединении пары 4 -
6).
Рисунок 3.3 - Конструкции
виброгасителей ударного действия:
- гайка; 2 - пружина; 3
- груз; 4 - шпилька; 5 - резец; 6 - скоба; 7 - стандартная гайка; 8 - шайба; 9
- затяжной болт.
. ТЕХНОЛОГИЧЕСКАЯ ЧАСТЬ
.1 Технологический процесс
изготовления “Хвостовик”
.1.1 Описание, назначение и
характеристика изделия
Представленная деталь для выпускной
квалификационной работы - хвостовик, применяющийся для крепления
антивибрационной демпфирующей оправки.
Хвостовик является телом вращения,
имеющим центральное резьбовое отверстие, канавку, внутреннюю проточку для
выхода резьбы, коническую поверхность. Изготавливается деталь из стали 45 ГОСТ
1050-88 и производится термическая обработка. Химический состав (таблица 4.1).
Механические свойства (таблица 4.2).
Таблица 4.1 ‒ Химический
состав стали 45 (ГОСТ 1050 - 88), %
|
C
|
Si
|
Mn
|
S
|
P
|
Ni
|
Cr
|
|
|
|
не более
|
|
|
|
0,40-0,50
|
0,17-0,37
|
0,50-0,80
|
0,045
|
0,045
|
0,30
|
0,30
|
|
|
|
|
|
|
|
|
Таблица 4.2 ‒ Механические
свойства стали 45
|
sт,
МПа
|
sвр,
МПа
|
d5, %
|
Y, %
|
НВ (не более)
|
|
не менее
|
|
горячекатаной
|
отожженной
|
|
360
|
610
|
16
|
40
|
50
|
241
|
197
|
|
|
|
|
|
|
|
|
.1.2 Технологический контроль
чертежа детали
Чертеж хвостовика выполнен согласно
ЕСКД. Правильность изображения детали, обозначение посадок, предельных
отклонений размеров, отклонений форы и взаимного расположения поверхностей
детали, шероховатости поверхности, элементов конструкции детали позволяют
получить все данные для разработки техпроцесса изготовления.
.1.3 Анализ технологичности
конструкции детали
Основные задачи, решаемые при
технологическом анализе конструкции обрабатываемой детали, сводятся к
возможному уменьшению трудоемкости и металлоемкости, возможности обработки
высокопроизводительными методами. Таким образом, улучшение технологичности
конструкции позволяет снизить себестоимость ее изготовления без ущерба для ее
служебного назначения.
Технологическая конструкция изделия
должна предусматривать:
создание деталей наиболее
рациональной формы с легкодоступными для обработки поверхностями и достаточной
жесткостью с целью уменьшения трудоёмкости и себестоимости механической обработки
деталей и всего механизма (необходимая жесткость деталей позволяет обрабатывать
их на станках с наиболее производимыми режимами резания);
наличие на деталях удобных
базирующих поверхностей или возможность создания вспомогательных баз;
наиболее рациональный способ
получения заготовок с размерами и формами, возможно более близкими к готовым
деталям, т.к. это обеспечивает наиболее высокий коэффициент использования
материала и наименьшую трудоемкость механической обработки.
Хвостовики - детали массового производства,
и для этого важность большей технологичности приобретает важное значение.
Дорогой металл для замены не
рекомендуется. Сталь 45 - недефицитный и вполне дешевый металл, необходимый для
изготовления хвостовика и обладающий всеми нужными свойствами.
Наиболее сложными и точными являются
следующие поверхности: внутренняя цилиндрическая поверхность большего диаметра
и перпендикулярная ей внутренняя плоскость, качество изготовления которых будет
влиять на точность установки оправки. Так же важным критерием является
параллельность плоскости резьбового крепления хвостовика.
.1.4 Выбор метода изготовления и
формы заготовки
Метод выполнения заготовок для
детали определяется назначением и конструкцией детали, материалом, техническими
требованиями, масштабом и серийностью выпуска, а также экономичностью ее
изготовления.
Наиболее часто в машиностроении
применяются следующие способы изготовления заготовок:
. Резка металлургического проката -
болванки;
. Свободная ковка;
. Ковка в подкладные штампы;
. Штамповка;
. Поковка;
. Ковка ГКМ;
. Литье.
Заготовку предпочтительно подбирать
с подобным расплатой, для того чтобы её модель существовала предельно
форсирована к фигуре отделанного продукта, так как данное существенно облегчит
дальнейшую её обрабатывание, однако этим наиболее осложнит приобретение
наиболее болванки. Присутствие данном следует принимать во внимание масштабы
изготовления. Подбор болванки станем осуществлять посредством использования
расчетов компонентов себестоимости, содержащих первоначальная стоимость
производства болванки и первоначальная стоимость её дальнейшей обрабатывания. В
моем случае для получения заготовки рационально использовать ГКМ (см. рис.
4.1), поскольку таким образом будет наименьший расход металла. Согласно [9],
стоимость заготовок, получаемых методом ГКМ, можно с достаточной для ВКР
точностью определить по формуле (4.1):
руб., (4.1)
где Сi - 1т
заготовок стоимость, руб.;- масса заготовки, кг;т, kc, kв,
kм, kп - коэффициенты, зависящие от группы сложности,
класса точности, марки материала, массы, и объема производства заготовок.-
масса готовой детали, кг;отх - цена 1 т отходов, руб.
Рисунок 4.1 - Заготовка,
полученная ковкой на ГКМ
руб.
.1.5 Выбор плана
обработка детали
Технология обработки
хвостовика различают несколько стадий. Выделяется черновая и чистовая
обработка. И каждая операция разбивается ещё на отдельные под операции.
В технологии не указываются
операции как смазка, упаковка, нанесение специальных покрытий и т.д. Согласно
[10], предварительно выбираем маршрут обработки хвостовика (таблица 4.3).
Таблица 4.3 ‒ План
обработки хвостовика
|
Наименование операции
или перехода
|
Норма времени, мин
|
|
Токарная (первый
установ)
|
5,48
|
|
Подрезать торец Æ154 черновое
|
0,4
|
|
Точить поверхность Æ154 черновое
|
1,08
|
|
Точить цилиндрическую
ступень Æ105 черновое
|
0,3
|
|
Подрезать торец Æ154 чистовое
|
0,56
|
|
Точить поверхность Æ154 чистовое
|
2,52
|
|
Точить цилиндрическую
ступень Æ105 чистовое
|
0,42
|
|
Точить фаску Æ63
|
0,1
|
|
Токарная (второй
установ)
|
6,52
|
|
Подрезать торец Æ59 черновое
|
0,3
|
|
Точить конус черновое
|
0,7
|
|
Точить цилиндрическую
ступень Æ105 черновое
|
0,3
|
|
Точить поверхность Æ109 черновое
|
0,56
|
|
Подрезать торец Æ59 чистовое
|
0,44
|
|
Точить конус чистовое
|
1,6
|
|
Точить цилиндрическую
ступень Æ105 чистовое
|
0,42
|
|
Точить поверхность Æ109 чистовое
|
1,3
|
|
Точить фаску Æ150
|
0,1
|
|
Точить фаску Æ150
|
0,1
|
|
Сверлильная (третий
установ)
|
0,13
|
|
Зацентровать
|
0,1
|
|
Сверлить центроальное
отв. Æ14
|
0,12
|
|
Токарная
|
3,41
|
|
Расточить поверхность Æ23 черновое
|
0,96
|
|
Точить глухую ступень Æ23 черновое
|
0,45
|
|
Расточить поверхность Æ23 чистовое
|
1,3
|
|
Точить глухую ступень Æ23 чистовое
|
0,6
|
|
Точить фаску Æ23
|
0,1
|
|
Токарная (четвёртый
установ)
|
6,64
|
|
Расточить поверхность Æ29,5 черновое
|
0,46
|
|
Точить глухую ступень Æ29,5 черновое
|
0,3
|
|
Расточить поверхность Æ33,5черновое
|
0,3
|
|
Точить глухую ступень Æ33,5 черновое
|
0,15
|
|
Расточить поверхность Æ29,5 чистовое
|
0,57
|
|
Точить глухую ступень Æ29,5 чистовое
|
0,4
|
|
Расточить поверхность Æ33,5 чистовое
|
0,41
|
|
Точить глухую ступень Æ33,5 чистовое
|
0,15
|
|
Расточить канавку Æ24
|
0,2
|
|
Точить фаску Æ29,5
|
0,6
|
|
Точить фаску Æ33,5
|
0,4
|
|
Точить фаску Æ14
|
0,1
|
|
Нарезать резьбу М24 за
10 проходов
|
2,2
|
|
Горизонтально -
фрезерная (седьмой установ)
|
2,83
|
|
Фрезеровать паз (4
стороны) черновое
|
1,56
|
|
Фрезеровать паз (4
стороны) чистовое
|
1,27
|
|
Термообработка
|
30
|
|
Кругло и
внутришлифовальная (восьмой установ)
|
5,82
|
|
Шлифовать торец Æ110
|
0,1
|
|
Шлифовать поверхность Æ150
|
2,65
|
|
Шлифовать ступень Æ150
|
0,1
|
|
Шлифовать поверхность Æ60
|
2,77
|
|
Шлифовать глухую
ступень Æ60
|
0,2
|
|
Кругло и
внутришлифовальная (девятый установ)
|
4,6
|
|
Шлифовать торец Æ110
|
0,1
|
|
Шлифовать конус
|
1,7
|
|
Шлифовать ступень Æ150
|
0,1
|
|
Шлифовать поверхность Æ150
|
1,38
|
|
Шлифовать поверхность Æ60
|
1,22
|
|
Шлифовать глухую
ступень Æ60
|
0,1
|
|
Плоскошлифовальная
(десятый установ)
|
0,93
|
|
Шлифовать паз
|
0,93
|
|
Итого: 72 мин
|
Пример расчёта машинного времени по
формуле (4.2):
Токарная операция - подрезать торец
(черновое), D = 120 мм, d = 60мм:
Т0 =0,000037(D2-d2), мин, (4.2)
где Т0 - машинное время;
D - наружный диаметр;
d - внутренний диаметр.
Т0 = 0,000037·(1102-602)
= 0,39 мин
.1.6 Выбор типа производства и формы
организации технологического процесса
Согласно [11], для выбора типа
производства необходимо рассчитать коэффициент закрепления операций, который
равен отношению количества операций за последний месяц к количеству явочных
мест по формуле 4.3:
Кз.о.=
То/Ря; (4.3)
Но выбор типа производства по этой
методике невозможен в виду отсутствия информации о номенклатуре производства.
Для единичных, мелкосерийных и серийных технологических проектов может быть
использован другой метод - расчет коэффициента загрузки оборудования по формуле
4.4:
Кз.о.=tшт.ср
N/60
Fд ; (4.4)
где tшт.ср. - средняя норма времени на операции,
tшт.ср = 42 мин;- годовая программа выпуска, N = 1000 шт.;д - годовой действительный фонд времени, Fд
= 4000 часов (двухсменный график работы).
Кз.о.=42
1000/60
4000=0,175
Полученное значение
соответствует мелкосерийному типу производства. Тип производства во многом
предопределяет применяемые методы подготовки, планирования, контроля
производства, формы организации труда, особенности технологических процессов.
Исходя из типа
производства, оптимальным выбором будет группирование станочного оборудования
по видам обработки. Он заключается в формировании участков станков одного
наименования.
.1.7 Расчет припусков на
механическую обработку
Есть два способа расчета
припусков: расчетный и справочный. Для заданной поверхности детали производим
расчет припусков расчетным способом, а для остальных размеров припуски
назначаем справочным способом.
Заготовка - штамповка на
ГКМ повышенной точности. Масса заготовки 18,6 кг. Технологический маршрут
обработки наружной поверхности d
= 150 мм и L = 120 мм состоит из точения предварительного и окончательного и
шлифования предварительного и окончательного. Точение и шлифование производятся
в самоцентрирующем патроне по наружному диаметру с прижимом к торцевой
поверхности.
Согласно [10], припуски
на штампованные поковки (l
класс точности, группа стали М1, сложность поковки C1
или С2, шероховатость поверхности детали в пределах Rа= 20 мкм) определяем по
табл. 3.7 δ = 2,21 мм.
Суммарное значение
пространственных отклонений для заготовки данного типа определится по формуле
(4.5):
мкм, (4.5)
где
- суммарное значение пространственных отклонений, мкм;
- коробление заготовки, мкм;
- удельная
кривизна заготовок на 1 мм длины,
= 0,6 мкм;
D
- наружный диаметр заготовки, мм.
мкм
Расчет минимальных
значений припусков при точении производим, пользуясь формулой (4.6):
zimin = 2(Rzi-1+Ti-1+
), мкм, (4.6)
где 2Zmin - гарантированный (минимальный)
припуск, мкм;
RZi-1
- шероховатость поверхности заготовки по полной высоте микронеровностей, мкм;
Тi-1 - глубина дефектного слоя заготовки под микронеровностями, мкм;
ρi-1 - суммарные отклонения от формы заготовки, мкм;
εi - погрешность закрепления заготовок при установке в осевом
направлении для обработки на станках, мкм.
Для чернового точения:
2zimin = 2·(150 +
250 +
) = 1250 мкм
Для чистового точения:
2zimin = 2·(50 + 50
+
) = 440 мкм
Расчет минимальных
значений припусков при шлифовании производим, пользуясь формулой 4.7:
2zimin=2(Rzi-1+ri-1+ei), мкм, (4.7)
Для предварительного
шлифования:
zimin=2·(30
+ 100) = 260 мкм
Для чистового
шлифования:
zimin=2·(10
+ 70) = 160 мкм
Расчетный размер dр заполняется начиная с конечного (чертежного) размера путем
последовательного прибавления расчетного минимального припуска каждого
технологического перехода:
dр=
150 + 0,16 = 150,16 мм;
dp3
= 150,16 + 0,27 = 150,43 мм;
dp2
= 150,41 + 0,43 =150,84 мм;
dp1
= 150,85 + 1,11 = 151,96 мм.
Наибольшие предельные
размеры вычисляем прибавлением допуска к округленному наименьшему предельному
размеру:
dmax5
= 150 + 0,01 = 150,01 мм;
dmax4
= 150,16 + 0,03 = 150,19 мм;
dmax3=
150,42 + 0,16 =150,58 мм;
dmax2
= 150,86 + 0,4 = 151,26 мм;
dmax1
= 151,98 + 2,2 = 154,18 мм.
Предельные значения
припусков
определяем как разность наибольших предельных размеров и
- как разность наименьших предельных размеров
предшествующего и выполняемого переходов:

;
;
;
мм = 2920 мкм;
;
;
мм = 440 мкм;
.
Результаты приведены в
таблице 4.4. На основании данных расчета строим схему графического расположения
припусков и допусков по обработке поверхности Ø150.
Общие припуски z0min и z0max определяем, суммируя промежуточные припуски, и записываем их
значения внизу соответствующих граф:
z0min =
160 + 260 + 440 + 1250 = 2110 мкм;
z0max = 180 + 390 + 680 + 3050 = 4300 мкм.
Таблица 4.4 ‒
Расчет предельных размеров и припусков по технологическим переходам
|
Технологические
переходы обработки поверхности Æ120
|
Элементы припуска, мкм
|
Рас-чёт-ный при-пуск
2zmin, мкм
|
Расчетный размер dp,
мм
|
До-пуск δ, мкм
|
Предельный размер, мм
|
Предельные значения
припусков, мкм
|
|
Rz
|
Т
|
ρ
|
ε
|
|
|
|
dmin
|
dmax
|

|
|
|
Заготовка
|
200
|
300
|
70
|
140
|
|
151,98
|
2200
|
151,98
|
154,18
|
|
|
|
Точение
|
|
|
|
|
|
|
|
|
|
|
|
|
черновое
|
50
|
50
|
-
|
120
|
1250
|
150,86
|
400
|
150,86
|
151,26
|
1250
|
3050
|
|
чистовое
|
30
|
30
|
-
|
100
|
440
|
150,42
|
160
|
150,42
|
150,58
|
440
|
680
|
|
Шлифование
|
|
|
|
|
|
|
|
|
|
|
|
|
предвари- тельное
|
10
|
20
|
-
|
100
|
260
|
150,16
|
30
|
150,16
|
150,19
|
260
|
390
|
|
окончательное
|
5
|
15
|
-
|
|
160
|
150
|
10
|
120
|
150,01
|
160
|
180
|
|
Итого
|
|
|
|
|
|
|
|
|
|
1980
|
4170
|
На основании данных расчета строим
схему графического расположения припусков и допусков по обработке поверхности Ø150 (рисунок 4.2).
Номинальный припуск в данном случае определяем с учетом несимметричного
расположения поля допуска заготовки формула 4.8.
Z0ном.=Z0min+Hз+Hд,
мкм, (4.8)
где Нз - нижнее
отклонение размера заготовки, Нз = 1200 мкм;
НД - допускаемое
отклонение размера заготовки, Нд = 100 мкм.
Определяем номинальный диаметр
заготовки формула 4.9.
d3ном = d1ном - z0ном, (4.9)
где d3ном - номинальный диаметр заготовки,мм.
z0ном = 2110 + 1200 - 100 =
3210 мкм;
d3ном = 150 + 3,08 = 153,08
мм.
Рисунок 4.2 -
графическое расположение допусков на обработку и припусков поверхности
хвостовика Ø150
Производим проверку
правильности выполненных расчетов:
-
;
δ5 - δ4
= 30 - 10 = 20 мкм;
-
;
δ3 - δ4
= 160 - 30 = 130 мкм;
-
;
δ2 - δ3
= 400 - 160 = 240 мкм;
-
δ1 - δ2
= 2200 - 400 = 1800 мкм.
На остальные
обрабатываемые поверхности корпуса припуски и допуски выбираем по таблицам
(ГОСТ 1855-55) и записываем их значения в таблицу 4.5.
Таблица 4.5 ‒
Допуски и припуски на обрабатываемые поверхности хвостовика
|
Поверхность
|
Размер
|
Припуск
|
Допуск
|
|
|
табличный
|
расчетный
|
|
|
1 (торец)
|
d1 = 37 мм, d2 = 60 мм
|
2,2
|
|
+1,3 -0,5
|
|
2 (конус)
|
d1 = 60 мм, d2 = 105
мм
|
2·2,2
|
|
+1,3 -0,7
|
|
3,7 (цил. ступень)
|
d1 = 105 мм, d2 = 150
мм
|
2,2
|
|
+1,3 -0,7
|
|
4 (нар. поверхность)
|
d = 150 мм
|
2·2,2
|
|
+1,3 -0,7
|
d1 = 37 мм, d2 = 105
мм
|
2,2
|
|
+1,3 -0,7
|
|
6 (нар. поверхность)
|
d = 150 мм
|
|
2·1,54
|
+1,3 -0,7
|
8,10 (внутр. поверхность) d = 37
мм2·2,2+1,3
.1.8 Выбор оборудования
В процессе изготовления хвостовика
используется несколько видов станков, краткие характеристики которых приведены
в [9].
Токарная операция.
Токарно-винторезный станок с ЧПУ модели
16К20Ф3С5.
Технические характеристики.
. Наибольший диаметр обрабатываемой
детали, мм 400
. Наибольшая длина продольного
перемещения, мм 900
. Наибольшая длина поперечного
перемещения, мм 250
. Диапазон скоростей вращения
шпинделя, об/мин 12,5-2000
. Число скоростей 22
. Наибольшая скорость продольной
подачи, мм/мин 1200
. Диапазон скоростей подач, мм/мин:
продольная подача 3-1200
поперечная подача 1,5-600
. Скорость быстрого хода, мм/мин:
продольная подача 4800
поперечная подача 2400
. Дискретность перемещения, мм:
продольная подача 0,01
поперечная подача 0,005
. Наибольший шаг нарезаемой резьбы,
мм 20
. Мощность электродвигателя главного
движения, кВт 10.
Сверлильная операция.
Вертикально-сверлильный станок с ЧПУ
модели 2Р135Ф2. Технические характеристики.
. Наибольший диаметр сверления, мм
35
. Размер рабочей поверхности стола,
мм 630´400
. Наибольшее расстояние от торца
шпинделя до стола, мм 600
. Наибольший ход стола, мм:
продольный (Х) 560
поперечный (Y) 360
. Наибольший ход револьверного
суппорта (Z, R), мм 560
. Количество скоростей шпинделя 12
. Пределы скоростей шпинделя, об/мин
32-1400
. Количество рабочих подач 18
. Пределы рабочих подач, мм/мин
10-500
. Скорость перемещения стола, мм/мин
500, 3800
. Скорость быстрого перемещения суппорта,
мм/мин 4000
. Дискретность перемещений, мм
0,01
. Мощность главного привода, кВт
4.
Фрезерная операция. Горизонтально -
фрезерный 6Р82Г. Технические характеристики.
. Расстояние от оси или торца
шпинделя до стола А, мм 30 - 450
. Расстояние от вертикальных
направляющих до середины стола Б, мм 220 - 470
. Расстояние от оси шпинделя до
станины В, мм 350
. Размеры рабочего стола, мм
1250х320
. Наибольшее перемещение стола, мм:
продольное 800
поперечное 240
вертикальное 420
. Количество скоростей шпинделя 18
. Частота вращения шпинделя, мин-1
32 - 1600
. Число ступеней подач стола 24
. Подача стола, мм/мин:- продольных
и поперечных 25 - 1250
вертикальных 8 - 420
. Мощность электродвигателя, кВт:
главного движения 7,5
подачи стола 1,5
Кругло и внутришлифовальная
операция. Круглошлифовальный станок 3Е12. Технические характеристики.
. Наибольшие размеры обрабатываемой
заготовки, мм:
диаметр 200
длина 500
. Рекомендуемый диаметр шлифования,
мм 60
. Рекомендуемый диаметр шлифуемого
отверстия, мм 50
. Наибольшие размеры шлифовального
круга, мм 350х40х127
. Диаметры шлифовального круга
внутреннего шлифования, мм 16,32
. Частота вращения шпинделя
шлифовальной бабки, мин-1 1 900,2720
. Частота вращения
внутришлифовального шпинделя, мин-1 16750
. Частота вращения шпинделя изделия,
мин-1 78 -780
. Скорость перемещения стола
(бесступенчатое регулирование), м/мм 0,1 - 5
. Угол поворота стола, град +6, -7
. Угол поворота шлифовальной бабки,
град ± 90
. Наибольшее поперечное перемещение
шлифовальной бабки, мм 230
. Угол поворота передней бабки,
град:
к шлифовальному кругу 90
от круга 30
. Мощность электродвигателя, кВт
5,5.
.1.9 Выбор режущих инструментов
Подбор разрезающих приборов
исполняется в связи с способа обрабатывания, формы и объемов возделываемой
плоскости, её правильности и шероховатости, обрабатываемого использованного
материала, установленной производительности и этапа стойкости (смены)
инструментов. Разрезающие приборы, обязаны владеть значительной разрезающей
способностью (устойчивой размерной стойкостью присутствие значительных системах
резания), обеспечивать возможность стремительной и комфортной смены, подналадки
в ходе обрабатывания, формировать транспортабельную стружку и предоставлять её
с области обрабатывания в отсутствии патологии нормальной работы оснащения. При
выборе инструмента следует использовать, по возможности, стандартные режущие
инструменты. Определяем по [9].
. Токарная операция.
.1. Точение наружных поверхностей -
резец токарный проходной отогнутый с пластиной из твёрдого сплава Т15К10 ГОСТ
20872 - 80.
.2. Снятие фасок - резец токарный
проходной φ = 45о с пластиной из твёрдого
сплава Т15К10 ГОСТ 19052 - 80.
.3. Точение внутренних поверхностей
- резец токарный проходной расточной с пластиной из твёрдого сплава Т15К10 ГОСТ
18882 - 73.
.4. Проточка канавки для выхода
резьбы - резец фасонный канавочный Р6М5 ТУ2-035-894-84.
.5. Проточка внутренней канавки -
резец фасонный Р6М5 ТУ2-035-655-84.
.6. Нарезание резьбы - резец
резьбовой внутренний Р6М5 ТУ2-035-895-84.
. Сверлильная операция.
.1. Центрование отверстий - сверло
центровочное с коническим хвостовиком Æ3 Р6М5 ГОСТ 14952 - 75.
.2. Сверление отверстий - сверло
спиральное с коническим хвостовиком Æ15,5 Р6М5 ГОСТ 12121 - 77.
.3. Зенкование отверстий - зенковка
коническая Æ20 Р6М5 ГОСТ 14953-
80.
.4. Развёртывание отверстий -
развёртка цилиндрическая Æ14H7 Р6М5 ГОСТ 11176 - 71.
.5. Нарезание резьбы - метчик М16
Р6М5 ГОСТ 18839 - 73.
. Фрезерная операция.
Фрезерование пазов - фреза дисковая
пазовая 50х16х13,8 Р6М5 ГОСТ 3964 - 69.
. Шлифовальная операция.
.1. Шлифование наружных и внутренних
поверхностей - круг шлифовальный прямого профиля 350х40х60 ГОСТ 2424 - 83 и
круг внутришлифовальный 32х16х30 ГОСТ 2467 - 84.
.2. Шлифование пазов - круг
шлифовальный 50х16х13,8 ГОСТ 2416 - 83.
.1.10 Выбор инструментальных
приспособлений
К инструментальным приспособлениям
относятся: стойки для резцов, державки, различные оправки и др. Подбор
инструментального приспособления выполняется в зависимости от конструкции
хвостовика режущего инструмента, конструкции посадочного места на станке, длины
обрабатываемой поверхности, требуемой жесткости и точности инструмента,
требований замены и подналадки инструмента. Обычно конструкции инструментальных
приспособлений стандартизированы. Определяем по [9].
. Токарная операция.
.1. Точение наружных поверхностей -
резцедержатель с цилиндрическим хвостовиком и с перпендикулярным открытым пазом
1-50 ОСТ2 П15-3-84.
.2. Снятие фасок - резцедержатель с
цилиндрическим хвостовиком и с
перпендикулярным открытым пазом 1-50
ОСТ2 П15-3-84.
.3. Точение внутренних поверхностей
- оправка для растачивания 1-50 ОСТ2 П1417-84.
.4. Проточка канавки для выхода
резьбы - оправка для растачивания 1-50 ОСТ2 П1417-84.
.5. Проточка внутренней канавки -
оправка для растачивания 1-50 ОСТ2 П1417-84.
.6. Нарезание резьбы - оправка для
растачивания 1-50 ОСТ2 П1417-84.
. Сверлильная операция.
.1. Центрование отверстий - втулка
переходная с хвостовиком конусностью 7:24 и внутренним конусом Морзе к станкам
с ЧПУ 40-2-50 ОСТ2 П12-7-84, сверлильная головка 2 - 10 ОСТ2 П8-2-84.
.2. Сверление отверстий - втулка
переходная с хвостовиком конусностью 7:24 и внутренним конусом Морзе к станкам
с ЧПУ 40-2-50 ОСТ2 П12-7-84, сверлильная головка 2 - 10 ОСТ2 П8-2-84.
.3. Зенкование отверстий -
сверлильная головка 2 - 10 ОСТ2 П8-2-84.
.4. Развёртывание отверстий - втулка
переходная с хвостовиком конусностью 7:24 и внутренним конусом Морзе к станкам
с ЧПУ 40-2-50 ОСТ2 П12-7-84, сверлильная головка 2 - 10 ОСТ2 П8-2-84.
.5. Нарезание резьбы - втулка
переходная с хвостовиком конусностью 7:24 и внутренним конусом Морзе к станкам
с ЧПУ 40-2-50 ОСТ2 П12-7-84, сверлильная головка 2 - 10 ОСТ2 П8-2-84.
. Фрезерная операция.
Фрезерование пазов - оправка
цилиндрическая 30-2-100 ОСТ2 26539-85.
. Шлифовальная операция.
.1. Шлифование наружных и внутренних
поверхностей - оправка для шлифовального круга 30-2-100 ОСТ2 25789-85.
.2. Шлифование пазов - оправка для
шлифовального круга 30-2-100 ОСТ2 25789-85.
.1.11 Выбор станочных приспособлений
Выбор приспособлений для станка
производится, из числа их стандартных или типовых конструкций, обычно
универсальных. Главная задача станочного приспособления обеспечивать
базирование заготовки в соответствии с выбранной схемой базирования, надежное
закрепление заготовки. Определяем по [9].
. Токарная операция - трехкулачковый
самоцентрирующий патрон 7100-0063 П ГОСТ 2675-80.
. Сверлильная операция - тиски
станочные 7200-0232 ГОСТ 14904-80.
. Фрезерная операция - тиски
станочные 7200-0232 ГОСТ 14904-80.
. Шлифовальная операция -
трехкулачковый самоцентрирующий патрон 7100-0063 А ГОСТ 2675-80.
.1.12 Выбор средств измерения и
контроля размеров
Для проверки заданных параметров
детали назначают различные контроли и средства измерения. Для операционного и
конечного контроля необходимо использовать уже известные приборы для измерения,
учитывая тип производства, но иногда используются специализированные методы
контроля.
Выбор средств измерения зависит от
характера и массовости производства (годовой программы выпуска).
Нужно стремится к ограничению
действительных размеров предельными размерами когда выбираешь средство
измерения, Из ГОСТ, и к возможно большему расширению производственных допусков,
остающихся за вычетом погрешности измерения.
Правило подбора средств измерения
заключается в сравнении существующей предельной погрешности измерения
конкретного прибора, инструмента или конкретно-измерительного приспособления с
расчетной допускаемой погрешностью измерения, регламентированной стандартами.
При этом предельная погрешность средства измерения не должна превышать
расчетную допускаемую погрешность, обычно составляющую от 20 до 35% допуска на
размер. Таким образом, основой методов выбора средств измерения является
процентное соотношение расчетной допускаемой погрешности измерения и величины
допуска на размер.
Определяем по [9]. Результаты выбора
средств измерения заносим в таблицу 4.6.
Таблица 4.6 ‒ Средства
измерения и контроля, используемые в технологическом процессе
|
Контролируемый размер,
его отклонения
|
Наименование средства
измерения
|
Метрологические
характеристики средства измерения
|
|
|
Цена деле-ния С, мм
|
Пределы
|
Пред. пог-ть Δ, мм
|
|
|
|
Измере-ний L, мм
|
Показаний по шкале l,
мм
|
|
|
Длина детали L = 215
мм, наружный диаметр d1 = 60 мм, d2 = 150 мм
|
Штангенрейсмас (с
отсчетом по нониусу) 41Р по ГОСТ 164-80
|
0,05
|
40-400
|
-
|
±0,05
|
|
Внутренний диаметр d1
= 37±0,01 мм, d2 = 37,5±0,01 мм
|
Калибр-пробка гладкая
предельная
|
7-8 квалитет
|
20-80
|
-
|
±0,035
|
|
Глубина отверстия L1 =
112±0,01 мм, L2 = 40±0,01 мм,
|
Индикаторный нутромер
НИ - 100М ГОСТ 868-82
|
0,01
|
40-200
|
-
|
±0,025
|
|
Шероховатости
поверхностей
|
Профилограф-
профилометр модели 250 ГОСТ 1930-86
|
-
|
0,02 - 100 мкм
|
-
|
-
|
.1.13 Расчет режимов резания
Режимы резания металла определяются
следующим образом: глубиной резания t (мм), подачей S (мм/об) и скоростью резания V (м/мин). Смотри [10].
Эти режимы должны соответсвовать
технологичности и экономичности в определенных рамках
Ниже приведён пример расчета режимов
резания для первого перехода токарной операции.
Выбираем резец с пластиной Т5К10
ГОСТ 20872 - 80.
Глубина резания t для черновых и чистового проходов:
Tчерн = 1.5 мм, tчист = 0.4 мм.
Подача:
при черновом точении: Sчерн = 0,8 мм/об;
при чистовом : Sчист = 0,4 мм/об.
Скорость резания (V). Данный
параметр зависит от глубины резания, подачи, материала обрабатываемой детали,
используемого инструмента. В данной работе скорость резания V в м/мин при наружном продольном
точении рассчитывается по эмпирической формуле 4.10 и формуле 4.11.
V=(Cv/Tm×txv×Syv),
м/мин (4.10)
Кv = Кmv×Кnv× Ксv×Кфv×Кjv× Кj1v× Кrv×Киv× Кqv× Коv, (4.11)
где Кmv - поправочный
коэффициент, учитывающий влияние механических свойств обрабатываемого материала
на Vрез. ;
Кnv , Ксv - поправочные
коэффициенты, учитывающие влияние качества заготовки на Vрез.;
Кфv ,Кjv,Кj1v,Кrv- поправочные коэффициенты, учитывающие влияние
геометрических параметров режущей
части инструмента на Vрез.;
Киv - поправочный
коэффициент, учитывающий влияние материала режущей части инструмента на Vрез.;
Кqv- поправочный
коэффициент, учитывающий влияние площади поперечного сечения державки резца с режущей
частью на Vрез.;
Коv- поправочный
коэффициент, учитывающий влияние вида обработки на Vрез..
Скорость резания V для всех проходов.
При черновом точении: Cu = 267; хu = 0,18; уu =
0,35; m = 0,3;
Кмu = 1; Кnu = 0,9; Кju = 0,9; Киu = 2,7; Кj1u = 1; Кru = 0,94; Коu = 1; Кqu =1.
= 1×0,9×0,9×2,7×0,94×1×1×1 = 2,056;
Vчерн
=
(267/600,3×60,18×0,70) ×2,056 =
131,96 м/мин
При чистовом точении: Cu = 242; хu = 0,18; уu
= 0,2; m = 0,3;
Кмu = 1; Кnu=0,9; Кju= 0, 9; Киu = 2,7; Кj1u = 0,97; Кru = 0,94; Коu = 1; Кqu =1.
Кu
=1×0,9×0,9×2,7×0,97×1×1×0,94
1,994;
Vчист= (242/600,3×1,50×0,150,2)
×1,944 = 192,25 м/мин.
Расчетная частота вращения шпинделя:
nчерн=1000 ×131,96
3,14×124,4
337,8
мин-1;
nчист=1000×192,25/3,14×121,2
505,2 мин-1
По характеристике станка : nчерн=315 мин-1; nчист=500 мин-1
Действительная скорость резания:
Vчерн
3,14×124,4×315/1000
123 м/мин;
Vчист
3,14×121,2×500/1000
190 м/мин.
Длина рабочего хода инструмента.
Определяется длиной обрабатываемой инструментом поверхности детали с учетом
длин ходов медленного подвода, врезания и перебега.
Длина рабочего хода определяется по
формуле 4.14:
L =Lрез +у +Lдоп, мм, (4.14)
где Lрез - длина резания, мм;
у - суммарная длина подвода,
врезания и перебега инструмента, мм;
Lдоп - дополнительная длина
хода, мм.
Lчерн = 165 + 12 + 0 = 177
мм;
Lчист = 162 + 12 + 0 = 177
мм.
Основное машинное время То
определяется по формуле 4.15:
То = (L/(n·S))·i, мин, (4.15)
где Lр.х - длина рабочего хода, мм;
n, S - принятые подача и число оборотов шпинделя;
i - число проходов инструмента.
То черн =
(177/(315·0,8))·1 = 0,7 мин;
То чист =
(174/(500·0,4))·1 = 0,87 мин.
Определение мощности резания Nрез по нормативам, по формуле 4.16
Nрез= Nтабл·КN·n/1000, кВт, (4.16)
где - Nтабл. - мощность резания по таблице,кВт;
КN - коэффициент,
зависящий от обрабатываемого материала;
n - число оборотов шпинделя, мин-1.
Nрез чепн = 6,3·1,1·315/1000
= 2,18 кВт;
Nрез чист = 6,3·1,1·500/1000
= 3,47 кВт.
Проверяем потребную мощность резания
по мощности двигателя станка формула 4.17.
Nрез ≤ Nдв·ŋ, кВт, (4.17)
где Nдв - мощность двигателя станка, на котором выполняется операция,
кВт;
ŋ - коэффициент полезного
действия станка.
,18 ≤ 3,47 ≤ 10·0,8;
,18 < 3,47 < 8 кВт.
Данное условие выполняется,
следовательно, принятые режимы резания выбраны оптимально. Определяется длиной
обрабатываемой инструментом для остальных.
Для остальных операций и переходов
расчет режимов резания выполняем аналогично, и полученные данные заносим в
таблице 4.7.
Таблица 4.7 ‒ Режимы резания
|
Наименование перехода
|
t, мм
|
S, мм/об (м/мин)
|
n, мин-1
|
V, м/мин (м/сек)
|
То, мин
|
|
005 Токарная операция
(установ 1) 006 Точить наружный контур черновое 007 Точить наружный контур
чистовое 008 Снять 2 фаски
|
1,6 0,5 1 1
|
0,8 0,4 0,4 0,4
|
315 500 315 315
|
123 190 134 134
|
0,7 0,87 0,08 0,08
|
|
010 Токарная операция
(установ 2) 011 Точить наружный контур черновое 012 Точить наружный контур
чистовое 013 Проточить канавку
|
1,6 0,5 2 1
|
0,8 0,4 0,16 0,4
|
315 500 315 315
|
123 190 119 134
|
0,73 0,9 0,24 0,08
|
|
015 Токарная операция
(установ 3) 016 Зацентровать отверстие Æ3 на глубину 3 017 Сверлить отверстие Æ13,5 на глубину 19,4 018 Точить внутренний контур черновое 019
Точить внутренний контур чистовое 020 Снять фаску
|
- - 1,6 0,5 1 1
|
0,18 0,18 0,5 0,4
0,4 0,4
|
500 500 630 1000
800 800
|
5 22 110 185 151
151
|
0,06 0,29 0,48
0,37 0,02 0,02
|
|
025 Токарная операция
(установ 4) 026 Точить внутренний контур черновое 027 Точить внутренний
контур чистовое
|
1,6 0,5 0,5
|
0,5 0,4 0,4
|
630 1000 1000
|
88 149 149
|
0,5 0,38 0,38
|
|
028 Проточить канавку
для выхода резьбы 029 Проточить канавку 030 Снять 2 фаски 031 Нарезать резьбу
М42 за 10 проходов 032 Развернуть отверстие Æ14H7 на глубину 15 033 Нарезать резьбу М16 на глубину 15
|
6 5 4,1 0,25 0,25
|
0,08 0,08 0,4 4,5
0,9
|
1000 800 800 630
160
|
118 151 123 83 7
|
0,25 0,28 0,03
0,2 0,17
|
|
035 Сверлильная
операция (установ1) 036 Зацентровать 2 отверстия Æ3 на глубину 3 037 Сверлить 2 отверстия Æ13,5 на глубину 30 038 Зенкеровать 2 фаски 039 Развернуть 2
отверстия Æ14H7 на глубину
30 040 Нарезать 2 резьбы М16 на глубину 30
|
- - 1,5 0,25 1
|
0,18 0,18 0,6 0,9
2
|
500 500 500 630
200
|
5 22 25 7 8
|
0,11 0,81 0,02
0,14 0,42
|
|
045 Сверлильная
операция (установ2) 046 Зацентровать отверстие Æ3 на глубину 3 047 Сверлить отверстие Æ13,5 на глубину 28 048 Зенкеровать фаску 049 Развернуть
отверстие Æ14H7 на глубину
28 050 Нарезать резьбу М16 на глубину 28
|
- - 1,5 0,25 1
|
0,18 0,18 0,6 0,9
2
|
500 500 500 630
200
|
5 22 25 7 8
|
0,06 0,38 0,01
0,07 0,2
|
|
055
Горизонтально-фрезерная операция (4 уст.) 056 Фрезеровать паз
|
7,9
|
0,56
|
500
|
78,5
|
1,16
|
|
060 Кругло и
внутришлифовальная операция (установ 1) 061 Шлифовать наружный контур
предварительно 062 Шлифовать наружный контур окончательно 066 Шлифовать
внутренний контур предварительно 064 Шлифовать внутренний контур окончательно
|
0,07 0,03 0,07
0,03 0,03
|
1 1 1 1 1
|
1900 1900 16750
16750 16750
|
35 35 28 28 28
|
0,17 0,17 0,15
0,15 0,15
|
|
065 Кругло и
внутришлифовальная операция (установ 2) 066 Шлифовать наружный контур
предварительно 067 Шлифовать наружный контур окончательно 068 Шлифовать
внутренний контур предварительно 069 Шлифовать внутренний контур окончательно
|
0,07 0,03 0,07
0,03 0,03
|
1 1 1 1 1
|
1900 1900 16750
16750 16750
|
35 35 28 28 28
|
0,17 0,17 0,06
0,06 0,06
|
|
070 Плоскошлифовальная
(4 установа) 081 Шлифовать паз
|
0,1 0,1
|
1 1
|
1900 1900
|
5 5
|
0,32 0,32
|
.1.14 Расчет технической нормы
времени по формуле 4.18.
Тшт.к = Тп-з/n + Тшт ,мин, (4.18)
где Тп-з -
подготовительно - заключительное время, мин;
n - количество деталей в настроечной партии, шт;
Тшт - штучное время, мин.
Определяем штучное время по формуле
4.19.
Тшт.= То + Тв
+ Тоб.от , мин, (4.19)
где То - основное время,
мин;
Тв - вспомогательное
время, мин;
Тоб.от - время на
обслуживание рабочего места и отдых, мин.
Тв = Ту.с + Тз.о
+ Туп + Тиз, мин, (4.20)
где Ту.с - время на
установку и снятие детали, мин;
Тз.о - время на
закрепление и открепление детали, мин;
Туп - время на приемы
управления, мин;
Тиз - время на измерение
детали, мин;
Таким образом, для определения
штучно - калькуляционного времени получаем следующую формулу 4.21.
Тшт = Тп - з/n + То + Ту.с.
+ Тз.о. + Туп + Тиз + Тоб.от, мин.
(4.21)
Ту.с + Тз.о =
1,1 мин;
Туп = 0,2 мин;
Тиз = 0,20 мин;
Тоб.от = 2,58 мин;
Тп-з = 10 мин;
n = 10 шт.
Тшк. = 10/10 + 1,65 + 1,2
+ 0,3 + 0,21 + 3 = 7,34 мин.
Таблица 4.8 ‒ Технические
нормы времени, мин
|
Наименование перехода
|
То
|
Тв
|
Тоб.от
|
Тшт
|
Тп-з
|
Тш-к
|
|
|
Ту.с.+ Тз.о.
|
Туп
|
Тиз
|
|
|
|
|
|
005 Токарная операция
(установ 1)
|
1,65
|
1,2
|
0,3
|
0,21
|
3
|
10
|
7,36
|
|
010 Токарная операция
(установ 2)
|
1,95
|
1,2
|
0,3
|
0,42
|
3
|
6,87
|
10
|
7,87
|
|
015 Токарная операция
(установ 3)
|
1,22
|
1,2
|
0,3
|
0,77
|
3
|
6,49
|
10
|
7,49
|
|
|
Ту.с.+ Тз.о.
|
Туп
|
Тиз
|
|
|
|
|
|
025 Токарная операция
(установ 4)
|
1,99
|
1,2
|
0,3
|
1,04
|
3
|
7,53
|
10
|
8,53
|
|
035 Сверлильная
операция (установ1)
|
1,5
|
1,54
|
0,3
|
0,21
|
3
|
6,55
|
5
|
7,05
|
|
045 Сверлильная
операция (установ2)
|
0,72
|
1,54
|
0,3
|
0,21
|
3
|
5,77
|
5
|
6,27
|
|
055
Горизонтально-фрезерная операция (4 установа)
|
1,16
|
6,16
|
1,2
|
0,42
|
3
|
11,94
|
8
|
12,74
|
|
060 Кругло и
внутришлифовальная операция (установ 1)
|
0,64
|
1,2
|
0,6
|
1,34
|
3
|
6,78
|
7
|
7,48
|
|
065 Кругло и
внутришлифовальная операция (установ 2)
|
0,46
|
1,2
|
0,6
|
1,73
|
3
|
6,99
|
7
|
7,69
|
|
070 Плоскошлифовальная
(4 установа)
|
0,32
|
6,16
|
1,2
|
1,14
|
3
|
11,82
|
8
|
12,62
|
|
|
|
|
|
|
|
|
|
|
.1.15 Программа ЧПУ для сверлильного
станка
N - номер кадра;- подготовительная функция;, Y - координаты позиционирования при
продольном и поперечном перемещении;
Z - координата рабочего перемещения;
R - координата быстрого перемещения;
F - функция подачи;- функция скорости вращения шпинделя;
T - номер инструмента;
L - корректор инструмента;- вспомогательная функция.
Пример программы для 045 сверлильной
опреации на вертикально - сверлильном станке с ЧПУ модели 2Р135Ф2:
N1(DIS “XVOSTOVIK”)M00G71
G80 G91 G95 G97 X0 Y0 Z0T101 M06 S1000 M13G00 X0 Y36G1 Z15 F500G81 Z-8 F
0.2Y-36G80G0 Z50 Y0 X0M05T102 M06 S1000 M13G00 X0 Y36G1 Z15 F500G81 Z-22 F
0.2Y-36G80G0 Z50 Y0 X0M05T103 MO6 S1000 M13X0 Y36G82 R100 Z-2 F0.1Y-36G80
M05T104 M06G84 R100 Z-14 K0.8Y36G80X0 Y-36 M05 M09(DIS)31 (TMR=2)
N32 M30
.2 Технология сборки
антивибрационного устройства
На рисунке 4.2 представлена
разнесенная сборка антивибрационного расточного инструмента со встроенным
демпфером. Разработан технологический процесс сборки этого расточного резца:
. На инерционное тело 1
устанавливают две резиновые втулки 7. Далее тело устанавливают в корпус 2.
. Крышку 3, с установленной на ней
резиновой прокладкой 16, устанавливают в корпус 2 и фиксируют винтом 11.
. В корпус 2 заливают вязкую жидкость
17.
. Герметичность корпуса 2
обеспечивают двумя резиновыми пробками 8.
. В оправку 10 устанавливают
собранный корпус 2, резиновую прокладку 16 и переходник 4, и фиксируют его
винтами 12 и 13.
. На переходник 4 устанавливают
резцовую головку 9 и фиксируют винтами 15.
. На резцовую головку 9
устанавливают режущую пластину 6, прижимную планку 5 и фиксируют винтом 14.
. Оправку 10 фиксируем прижимом 22,
её фиксируем винтами 23 в хвостовик 19.
Рисунок 4.2 - Антивибрационный
расточной инструмент со встроенным демпфером: 1 - инерционное тело; 2 - корпус;
3 - крышка; 4 - переходник; 5 - прижимная планка; 6 - режущая пластина; 7 -
резиновая втулка; 8 - резиновая пробка; 9 - резцовая головка; 10 - оправка; 11
- винт А. М3-6g х 6.45Н.45 ГОСТ 11074-93; 12 - винт А. М6-6g х 5.45Н.45 ГОСТ
11075-93; 13 - винт А. М6-6g х 10.45Н.45 ГОСТ 11074-93; 14 - винт А2. М3-6g х
6.98.40Х ГОСТ 17475-80; 15 - винт М6-6g х 14.88.40Х ГОСТ 11738-84; 16 -
прокладка А-20-1 ПОН ГОСТ 15180-86; 18 - разрезная втулка; 19 - хвостовик; 20 -
винт А. М16-6g х 30.45Н.45 ГОСТ 11074-93; 21 - винт А. М16-6g х 30.45Н.45 ГОСТ
11075-93; 22 - прижим; 23 - винт М16.
Рисунок 4.3 - Антивибрационный
расточной инструмент со встроенным демпфером в разрезе
ЗАКЛЮЧЕНИЕ
В ходе выполнения выпускной
квалификационной работы было проведено исследование вибраций в зоне резания и
выявлены эффективные методы борьбы с ними.
Проведен литературный обзор
возникновения вибраций, методов их измерения и гашения, влияния механических
колебаний на стойкость режущего инструмента.
В исследовательской части проведены
испытания на токарном станке. Была получена общая картина влияния вибраций на
механическую обработку деталей. Также проведены исследования на эффективность
применения различных конструкций виброгасителей, использование которых оказало
положительное влияние на качество обработанной поверхности.
В конструкторской части разработаны
конструкции виброгасителей, которые применялись для исследований, на основе
ранее уже разработанных. Также разработана конструкция антивибрационного
расточного инструмента со встроенным демпфером.
В технологической части разработан
технологический процесс изготовления универсального хвостовика для крепления
расточных оправок. Приведен технологический процесс сборки антивибрационного
расточного инструмента со встроенным демпфером.
Так же была получена приблизительная
стоимость изготовления хвостовика.
СПИСОК ИСПОЛЬЗОВАННЫХ ИСТОЧНИКОВ
1. Бобров, В. Ф.
Основы теории резания металлов / В. Ф. Бобров. - М.: Машиностроение, 1975. -
344 с.
2. Птуха, Л. И. Конспект лекций по курсу “Основы технологии
машиностроения” / Л. И. Птуха. - М.: ИГЭУ, 2005. - Режим доступа: http://elib.ispu.ru <http://elib.ispu/ru>
. Методические указания по выполнению учебно -
исследовательских лабораторных работ для студентов специальности 151001
“Технология машиностроения” / сост.: Б. В. Леонтьев. - Владивосток.: ДВГТУ,
2006. - 28 с.
. Киселёв, В. С. Интенсификация процессов механической
обработки использованием энергии ультразвукового поля: учеб. пособие / В. С.
Киселёв. - Ульяновск.: УлГТУ, 2003. -186 с.
. Викторов, В. А. Радиоволновые измерения параметров
технологических процессов / В. А. Викторов, Б. В. Лункин, А. С. Совлуков. - М.:
Энергоиздат, 1989. - 185 с.
. Барков, А. В. Мониторинг и диагностика роторных машин по
вибрации. Рекомендации для пользователей систем диагностики / Н. А. Баркова, А.
Ю. Азовцев. - СПб.: СПбГМТУ, 2000. - Режим доступа: http//www.vibrotek.com
. Каталоги Sandvic Coromant. - CoroGuide
2015. - М.: Sandvic, 2015. - Электрон. дан. - 1 электрон. опт. диск (CD-ROM).
8. Курсовое
проектирование по технологии машиностроения: Учебное пособие / О.Н.Калачев,
Ю.А.Легенкин, В.Т.Синицын, Яросл. гос. техн. ун-т. -Ярославль, 2010. - 45 c. http://tms.ystu.ru/mu=230510.pdf
. Горбацевич, А. Ф. Курсовое проектирование: учеб. пособие
/ А. Ф. Горбацевич, В. А. Шкред. - Минск.: Высш. шк., 1983. - 256 с.