Оптимизация и повышение эффективности эксплуатации скважин с помощью УЭЦН на примере Илькинского месторождения
МИНИСТЕРСТВО
ОБРАЗОВАНИЯ И НАУКИ РФ
ФГБОУ ВО
«УДМУРТСКИЙ ГОСУДАРСТВЕННЫЙ УНИВЕРСИТЕТ»
ИНСТИТУТ
НЕФТИ И ГАЗА ИМ М.С. ГУЦЕРИЕВА
Кафедра
разработки и эксплуатации нефтяных и газовых месторождений
ВЫПУСКНАЯ
КВАЛИФИКАЦИОННАЯ РАБОТА
по
направлению «Нефтегазовое дело»
профиль
«Эксплуатация и обслуживание объектов добычи нефти»
на тему: «Оптимизация
и повышение эффективности эксплуатации скважин с помощью УЭЦН на примере
Илькинского месторождения»
Работу выполнил студент В.И. Ананьев
Научный руководитель,
к.э.н., доцент кафедры БНГС С.Ю.Борхович
Ижевск 2017 г.
СОДЕРЖАНИЕ
ВВЕДЕНИЕ3.
ГЕОЛОГИЧЕСКИЙ РАЗДЕЛ
.1
Геолого-физическая характеристика Илькинского месторождения
.2
Литолого-стратиграфическая характеристика Илькинского месторождения
.3 Общая
характеристика продуктивных пластов
.4
Физико-химическая характеристика пластовых жидкостей и газов
Выводы по
геологическому разделу. ТЕХНОЛОГИЧЕСКИЙ РАЗДЕЛ
.1 Анализ
показателей разработки
.2 Применение
установок электроцентробежных насосов дляэксплуатации скважин в условиях
Илькинского месторождения
.3 Подземное
оборудование УЭЦН
.4 Наземное
оборудование УЭЦН
.5 Применение
УЭЦН в условиях Илькинского месторождения
.6 Подбор
оборудования УЭЦН к скважинам Илькинского месторождения
Выводы по
технологическому разделу. ЭКОНОМИЧЕСКИЙ РАЗДЕЛ
.1
Организационная и технико-экономическая характеристика Октябрьского цеха добычи
нефти и газа
.2
Экономическая характеристика НГДУ «Туймазанефть»
.3 Расчет
экономической эффективности
.4 Расчет
себестоимости дополнительной добычи нефти
Выводы по
экономическому разделу
ЗАКЛЮЧЕНИЕ
СПИСОК
ИСПОЛЬЗОВАННЫХ ИСТОЧНИКОВ
ВВЕДЕНИЕ
В настоящее время большинство нефтянных месторождения России и ближнего
зарубежья находятся на последней стадии разработки. Месторождения НГДУ
«Туймазанефть» не стали исключением. Снижаются средние дебиты жидкости и далее
скважины переводятся на разработку низко проницаемых продуктивных пластов.
Поэтому требуется всестороннее изучение технологического режима скважин и
поиск решений, позволяющих эксплуатировать их более эффективно, и с наименьшими
затратами.
В скважинах работают ЭЦНУ с номинальной подачей жидкости от 10 до 250 м3/сут.
Наибольшее число осложнений, включая "полеты" ЭЦН, происходит в
скважинах, где применяются насосы малой и средней подачи жидкости (до 125 м3/сут).
Необходим дифференцированный анализ причин отказов глубинного оборудования.
Реальная информация о распределении причин отказов оборудования насосной
скважины также необходима при разработке организационно-технических мероприятий
по устранению главных причин, для внесения соответствующих корректив в
технологический режим скважин.[7]
Выбрать оптимальный технологический режим достаточно сложено, так как,
включает в себя учет ряда геолого-технологических, энергетических и
технологических факторов. При этом зачастую даже опытному специалисту трудно
предугадать все при подборе оборудования.
Итогом новой технической политики руководства НГДУ «Туймазанефть», стало
привлечение информационных технологии. С 1997 года начато внедрение
программно-технологического комплекса ПТК «Насос» v.3.0 для подбора
глубинно-насосного оборудования и расчета оптимального технологического режима
скважин.
ПТК «Насос» v.3.0 - является новой разработкой ведущих специалистов
Башкирского научно - исследовательского проектного института нефти во главе с
доктором технических наук, профессором К.Р. Уразаковым.
Процесс внедрения комплекса сопровождается решением ряда проблем и
технологических задач, которые специалисты лаборатории техники и технологии
добычи нефти цеха нефтепромышленных исследований, и производственных работ
решали совместно с разработчиками программы.
На сегодняшний день комплекс используется во всех цехах добычи нефти, и
ни одно геолого-техническое мероприятие не проводится без предварительного
расчета по ПТК «Насос» v.3.0. Данная программа позволяет максимально эффективно
использовать имеющийся фонд, достичь наиболее эффективной эксплуатации каждой
отдельной скважины.
Использование ПТК «Насос» v.3.0 на нефтепромыслах показало, что запас для
оптимизации технологического режима насосных скважин имеется на разный стадиях
разработки месторождений, при различных технологических и технических условий.
Вследствие этого значит, что эффективность работы скважин на промыслах
возрастет.
Отечественные установки электроцентробежного насоса начали применяться в
1986 году на Илькинском нефтяном месторождении. В НГДУ «Туймазанефть»
применяются 32 типоразмера УЭЦН. Такое положение повышает значение
научно-технического прогресса в области добычи нефти механизированным способом.
Характеристики эксплуатации электроцентробежных насосов на разных
месторождениях различны, что связано, в первую очередь, с условиями
эксплуатации. На эффективность работы установок УЭЦН влияют различные факторы:
технологические, геологические. К таким факторам можно отнести: повышенное
содержание механических примесей, газа, парафина, интенсификацию добычи и т.д.
Обратим внимание что существенное влияние оказывает конструкция скважины
- кривизна ствола, конструктивное исполнение насоса, диаметр эксплуатационной
колонны.
Главными показателями работы УЭЦН являются производительность и
межремонтный период (МРП). Если производительность зависит от конструктивного
исполнения насоса, то на межремонтный период оказывают влияние
вышеперечисленные факторы, вызывая его ухудшение и снижение
технико-экономических показателей эксплуатации скважин.
При широком внедрении погружных ЭЦН особую важность приобретают вопросы
надежности оборудования и подземного ремонта скважин. Это определяется
спецификой применения ЭЦН - высокой нестационарностью работы установки,
подземным расположением привода насоса.
В представленной бакалаврской работе проведен анализ, оптимизация работы
скважин УЭЦН в условиях ОЦДНГ-1 НГДУ «Туймазанефть» на Илькинском
месторождении, и предложены мероприятия по увеличению текущего дебита скважин.
I. ГЕОЛОГИЧЕСКИЙ РАЗДЕЛ
.1
Геолого-физическая характеристика Илькинского месторождения
Илькинское нефтяное месторождение было открыто в 1956 году, а введено в
промышленную разработку в 1980 году. Месторождение расположено в юго-западной
части Башкортостана на территории Белебеевского района и находится в 9 км к
северо-западу от города г. Белебея. К югу от месторождения в 20 км. проходит
электрифицированная железнодорожная магистраль Уфа - Самара. От станции Аксаково
имеется железнодорожная ветка на г. Белебей, используемая для перевозки грузов
[1].
Разработку месторождения осуществляет нефтегазодобывающее управление
«Туймазанефть», расположенное в г. Октябрьский. Продукция нефтяных скважин чрез
перекачивающую станцию Субханкулово, откачивается по нефтепроводу на
нефтеперерабатывающие заводы г. Уфы.
В орогидрографическом отношении район месторождения представляет собой
склон водораздельного плато бассейна речек Ря на западе и Усень на севере.
Данный район располагается в пределах Бугульминско-Белебеевской возвышенности.
Формой основной рельефа является всхолмленная равнина, изрезанная речными
долинами, ручьями, оврагами. Средние абсолютные отметки от 182 до 358 м.
Гидрографическая сеть района хорошо развита. Речки Усень и Ря со своими
многочисленными притоками впадают в реку Ик.
Климат района умеренно-континентальный. Преобладающее направление ветров
юго-восточное. Среднегодовая температура составляет плюс 3ºС. Среднегодовое количество
атмосферных осадков около 500 мм и приходится, в основном на осенне-зимний
период года.
В экономическом отношении район промышленно - сельскохозяйственный,
густозаселенный.
Из полезных ископаемых, кроме нефти и попутного газа, имеются
строительные материалы: известняк, гипс, гравий, песчаник, медистые песчаники,
каменный уголь,
Обзорная карта размещения месторождения приведена на рисунке 1.
Рисунок 1 - Обзорная схема района Илькинского нефтяного месторождения
-
месторождения;
- границы тектонических зон;
1 - Серафимовское; 2 - Абдуловское; 3 - Копей-Кубовское; 4 - Суллинское;
5 - Стахановское; 6 - Михайловское; 7 - Троицкое; 8 - Саннинское; 9 -
Ташлы-Кульское; 10 - Петропавловское; 11 - Кальшалинское;12 - Илькинское; 13 -
Солонцевское; 14 - Усень-Ивановское
1.2
Литолого-стратиграфическая характеристика Илькинского месторождения
В пределах данного месторождения скважинами были вскрыты: вендские,
каменноугольные, девонские, пермские и четвертичные отложения. Наибольшая
глубина 2192 м была достигнута в скважине №15.
Фаунистическая характеристика месторождения детально не изучена.
Литолого-петрографическое и палеонтологическое изучение кернового материала
проведено только по нескольким скважинам и поэтому разбивка на горизонты
проводилось в основном по каротажным материалам методом сопоставления с
соседними месторождениями.
В основу стратиграфического деления разреза положена унифицированная
схема, принятая в 1956 году.
Отложения вендской (V) системы самые древние осадочные образованиями,
вскрытые в пределах месторождения. Отложения вскрыты только
поисково-разведочными скважинами и представлены переслаиванием аргил-литов и
алевролитов зеленовато - серых, слюдистых с плитчатой отдельностью. По
плоскостям наслоения встречаются обуглившиеся растительные осадки. Максимально
вскрытая толщина 45 - 50 м.
Девонские отложения (D)
представлены средним и верхним отделами. Средний отдел (D2). В пределах эйфельского яруса (D2ef) выделяют кальцеоловый (D2 kl ) и бийский (D2 bs ) горизонты. Отложения кальцеолового
горизонта (D2 kl )
представлены переслаиванием светло-серых кварцевых песчаников и
алевролитов с прослоями аргиллитов. Толщина горизонта изменяется 6 - 11 м.
В живетском ярусе (D2g) выделяется старооскольский горизонт
(D2st), представлен известняками
глинистыми с прослоями алевролитов, в подошве представлен песчаниками
разнозернистыми, кварцевыми.
Толщина горизонта изменяется 19 - 29 м.
Верхний отдел (D3). В разрезе верхнего девона
выделяются франский (D3f) и фаменский ярусы (D3fm). В пределах франского яруса (D3f)
выделяют пашийский (D3ps), кыновский (D3kn), саргаевский (D3sr), доманиковый (D3dm), мендымский (D3mn) горизонты. Пашийский горизонт (D3ps) преимущественно сложен мелкозернистыми
песчаниками и крупнозернистыми алевролитами, которые переслаиваются аргиллитами
и глинистыми алевролитами.
Отложения кыновского (D3kn) горизонта представлены песчаниками,
алевролитами, известняками. Песчаники серовато-коричневые, мелкозернистые,
местами глинистые. Алевролиты серые, неравномерно глинистые. Аргиллиты
зеленовато-серые, плотные.
Известняки серые с неравномерно темно-зеленоватым оттенком, плотные,
крепкие. Толщина 20 - 25 м. Саргаевский горизонт (D3sr), общей мощностью до 10 м представлен карбонатными породами-известняками
темно-серыми, мелко- и тонкозернистыми, в различной степени
перекристаллизованными. Доманиковый горизонт (D3dm) представлен известняками серыми плотными органогенными,
местами сильно глинистыми, онкокристаллическими.
Мощность горизонта 22 - 30 м. Мендымский (D3mn) горизонт представлен известняками серыми и темно-серыми,
пелитоморфными, кристаллическими, иногда глинистыми с прослоями доломитов.
Толщина горизонта 20 - 35 м.
В фаменском ярусе (D3fm) основной своей частью выделяется
заволжский горизонт (D3zv). Его отложения представлены
светло-серыми довольно плотными известняками, в основном тонкозернистыми,
неравномерно перекристаллизованными и кальцитизированными, участками слабо
нефте-насыщенными с неровными поверхностями напластовывания, со стиллолитовыми
швами. Мощность горизонта 60 - 70 м.
Каменноугольные отложения (C)
представлены нижним и верхним отделами.
Нижний отдел (C1). В его пределах выделены турнейский
(C1t) и визейский (С1v) ярусы. Турнейский ярус (C1t) представлен малевским (С1me),
упинским (С1uр),
черепетским (С1crp) и кизеловским (С1ksl)
горизонтами. Отложения малевского (С1me) и упинского (С1uр) горизонтов представлены светло-серыми известняками,
с многочисленными поверхностями растворения, покрытыми черным
битуминозно-глинистым веществом с примесью органогенного-материала. Суммарная
мощность горизонтов достигает 30 м, известняками с прослоями глинистых
известняков, доломитов и мергелей.
Черепетский (С1crp) и кизеловский (С1ksl)
горизонты общей мощностью 50 м. Для двух горизонтов характерна представленность
светло-серыми и коричневато-бурыми от пропитки нефтью известняками. Структура
известняков органогенно-детритовая, встречаются горизонтальные и вертикальные
трещины, заполненные нефтью или залеченные кальцитом, редко гипсом и ангидритом
.
В визейском ярусе (C1v) отложения елховского (С1
el ), радаевского (C1 rd ) и бобриковского (C1 bb ) горизонтов в разрезе месторождения
ярко выраженных границ раздела не имеют, поэтому породы слагающие эти горизонты,
приводятся совместно.
Здесь отложения представлены аргиллитами, песчаниками и алевролитами.
Аргиллиты темно-серые, в основном черные, иногда сильно углистые, в большей
степени алевритистые. В нижней части разреза аргиллиты темно-серые, слоистые,
участками с включениями окремнелых разностей. Алевролиты серые, кварцевые, в
различной степени глинистые. Песчаники светло-серые, кварцевые. Толщина 11 - 16
м.
Отложения тульского горизонта (С1t1) залегают
несогласно на различных пластах радаевско-бобриковского возраста и представлены
темно-серыми, глинистыми, окремнелыми, прослоями органогенными известняками с
подчиненным присутствием известковистых аргиллитов. В подошвенной части
присутствуют пачки алеврито-песчаных пород мощностью до 2 м. Но во многих разрезах
карбонатные породы могут залегать непосредственно на породах радаевского, реже
бобриковского горизонтов. Мощность горизонта около 20 м.
Отложения верхнего карбона (С3) в нижней части представлены
серыми и светло-серыми, доломитизированными, органогенно-обломочными
известняками. Верхняя часть представлена доломитами светло-серыми и серыми,
мелко-кристаллическими и гранулярными. Мощность отложений достигает 180 м.
Кунгурский ярус (Р1k), залегает с размывом и представлен двумя пачками, отождествленными с филинновской
и иреньской свитами. Нижняя филинновская свита, представлена в основном
доломитами и ангидритами. Верхняя иреньская свита, представлена однообразной
толщей ангидритов и гипсов с редкими тонкими прослоями доломитов. Толщина яруса
300 - 500 м.
Верхний отдел (Р2). Уфимский ярус (Р2u) представлен переслаиванием
красноцветных глин, мелкозернистых песчаников, алевролитов, в подошвенной части
загипсованные известняки с прослоями доломитов и мергелей. Толщина составляет
140 - 200 м. Казанским ярус (Р2kz), сложен переслаиванием известняков, мергелей, глин
известковисто-песчанистых и полимиктовых песчаников.
Отложения татарского яруса (P2t) представлены бурыми, желтовато
бурыми и красными глинами и песчаниками с редкими прослоями серых глинистых
известняков и мергелей. Мощность до 100 м.
Четвертичные отложения (Q) представлены на всей территории аллювиальными
осадками речных долин в виде галечников и суглинков, а также желтыми и
желтовато-серыми суглинками и глинами делювия водоразделов и склонов. Мощность
отложений изменяется от 5 до 10 м [1].
1.3 Общая
характеристика продуктивных пластов
Промышленно нефтеносными на месторождении являются пласты Д1kn и Д2kn кыновского горизонта (D3kn). Геологический профиль Илькинского
месторождения приведен на рисунке 2.
Рисунок 2 - Геологический профиль Илькинского месторождения
- границы развития коллекторов; 2 - контуры нефтеносности; 3 - линии
геологических профилей; 4 - стратоизогипсы кровли кыновских отложений, м; 5 -
изопахиты песчаников кыновского горизонта, м; 6 - залежи нефти; 7 - плотные
породы; 8 - эродированная поверхность. Месторождения: I - Илькинское, II -
Белебеевское, III - Тепляковское; залежи: а - центральная, б - южная.
Оценка степени распространения коллекторов, пределы колебаний эффективной
толщины по продуктивным пластам приведены в таблице 1.
Таблица 1
Характеристика продуктивных пластов
|
Пласт
|
Коллектор
|
Коэффициент распространения
коллекторов
|
Эффективная толщина, м
|
Средняя эффективная
толщина, м
|
Коэффициент расчлененности
|
|
Д1kn
|
песчаник
|
0,86
|
0,8-5,4
|
2,0
|
1,2
|
|
Д2kn
|
песчаник
|
0,19
|
0,6-6,6
|
1,3
|
1,0
|
Пласт Д1kn выделяется в верхней части кыновского горизонта, представлен песчаниками
кварцевыми, мелкозернистыми, алевритистыми и алевролитами. Песчаниками пласт
основным образом представлен в центральной части месторождения в виде полосы
северо-восточного направления шириной два с половиной - три километра.
Средняя эффективная толщина по скважинам 2 м, пределы 0,8 - 5,4 м.
Нефтенасыщенная толщина коллекторов меняется от 0,8 до 5,4 м при среднем
значении 3,6 м. Коэффициент распространения коллекторов 0,86.
В большинстве скважин песчаники представлены одним или двумя пропластками
при коэффициенте расчлененности коллекторов 1,2. Пористость пласта 0,145 - 0,2
доли единицы. Проницаемость от 0,07 до 0,344 мкм2 [4]. К этим
песчаникам приурочены промышленные скопления нефти пласта Д1kn.
В песчаниках пласта Д1kn выделяется одна залежь структурного
литологически-экранированного типа. Цементирование веществ в песчаниках и алевролитах
пласта Д1kn меньше 1 %.
Встречаются также битумный и карбонатный цемент, наиболее распространена
кварцевая цементация,
С целью компактного представления материала характеристика залежи
приведена в виде таблицы 2.
Пласт Д2kn выделяется в центральной части разреза кыновского горизонта представлен
песчаниками кварцевыми, мелкозернистыми, алевритистыми, глинистыми и
алевролитами. Песчаниками пласт представлен в северной и центральной части
месторождения. Коэффициент распространенности - 1. Средняя эффективная толщина
по скважинам 1,3 м, пределы 0,6 - 6,6 м. В песчаниках пласта Д2kn выделяется одна залежь промышленной
категории. Залежь промышленной категории приурочена к песчаникам пласта,
выделяемых в северной части месторождения.[1]
Таблица 2
Характеристика залежей продуктивных пластов кыновского горизонта
|
Тип залежи
|
Размер: длина х ширина, км;
высота, м
|
Среднее значение
нефтенасыщенной толщины, м пределы
|
Доля ЧНЗ в общем объеме
залежи
|
Отметка водо-нефтяного
контакта, м
|
|
|
ЧНЗ ВНЗ
|
|
|
|
Пласт Д1kn
|
|
Структурная
литологически-экранированная
|
2,6 х 7,8 х 28,2
|
0,8 - 5,4
|
0 - 2
|
0,97
|
1650,3
|
|
Пласт Д2kn
|
|
|
|
|
|
|
Пластово-сводовая
литологически экранированная
|
0,8 х 1,5 х 13,7
|
0,8 - 2.6
|
0 - 1,2
|
0,95
|
1653,8
|
|
Примечания: ЧНЗ -
чисто-нефтяная зона; ВНЗ - водо-нефтяная зона;
|
1.4
Физико-химическая характеристика пластовых жидкостей и газов
месторождение илькинский скважина насос
По результатам анализов глубинных и поверхностных проб нефти,
представлена характеристика нефти и растворенных в них газов продуктивного пласта
кыновского горизонта.
Исследование свойств пластовых и поверхностных нефтей проводилось в
лабораториях БашНИПИнефть и НГДУ «Туймазанефть».
Расчет средних значений физических параметров пластовых нефтей произведен
по шести пробам.
Плотность пластовой нефти варьировалась от 852 до 863 кг/м3,
составляя в среднем 857 кг/м3.
Средняя плотность сепарированной нефти составляет 886 кг/м3,
практически мало отличаясь от средней величины плотности нефти по поверхностным
пробам (902 кг/м3). Физические свойства пластовых нефтей по
скважинам на Кыновском горизонте, в пласте Д1kn приведены в таблице 3.
Таблица 3
Свойства пластовой нефти
|
Показатели
|
Скважина № 39 исм
|
Скважина № 59 исм
|
|
Интервал
перфорации, м
|
1971,0 - 1975,0
|
1925,2 - 1927,2
|
|
Температура пласта, ºС
|
33,0
|
35,0
|
|
Давление, МПа пластовое
(принятое) на глубине отбора
|
18,7 12,0
|
18,7 13,5
|
|
Плотность нефти при разном
давлении, кг/м³
19,62 МПа 17,17 МПа 14,71 МПа 12,26 МПа
9,81 МПа
|
852 - - - 846
|
854 862 861 859 858
|
|
Плотность разгазированной
нефти, кг/м³
|
885
|
887
|
|
Коэффициент сжимаемости,
10ˉ4 , МПа-1
|
6,2
|
7,5
|
|
Коэффициент термического,
расширения 10ˉ4, ºС
|
7,5
|
-
|
|
Давление насыщения, МПа
|
9,9
|
7,4
|
|
Усадка нефти от Рпл (по
объему), %
|
6,7
|
6,6
|
|
Газовый фактор, м³/т
|
25
|
32
|
Вязкость нефти в пластовых условиях менялась от 8,9 до 12,2 мПа·с, в
среднем составляя 10,5 мПа·с. Вязкость сепарированной нефти пластов в среднем
составляет 29,3 мПа·с. По поверхностным пробам ее величина в среднем равнялась
50,5 мПа·с.
При среднем пластовом давлении 18,7 МПа, давление насыщения нефти газом в
среднем равнялась 5,7 МПа. Следовательно, нефть находится в недонасыщенном
состоянии. Объемный коэффициент в среднем составил 1,075, при этом пересчетный
коэффициент составил величину 0,930. Средняя величина газового фактора (массового)
равнялась 22,5 м³/т.
Нефть продуктивного горизонта парафинистая, высокосернистая, смолистая.
Массовая доля парафина составляет 3,6 %.
Плотность и вязкость нефти - 902 кг/см3 и 10,5 мПа*с
соответственно. Нефть имеет высокую температуру начала кипения (80ºС). При нагревании до 300ºС, массовая доля выхода бензиновых
фракций составляет 43 %. Дополнительные исследования на содержание ванадия и
никеля в нефти Илькинского месторождения не производились.
По верхнефаменскому подъярусу глубинные пробы не отбирались и
компонентный состав отсепарированного газа не определялся. В газе нефти
кыновского горизонта углекислый газ и сероводород не выявлены. Характерной
чертой попутного газа нефтей Илькинского месторождения является низкое
содержание азота (массовая доля - 11,7 %).
В углеводородной части преобладающими компонентами являются пропан,
метан, этан. Массовая доля легких углеводородов по кыновскому горизонту
составила 61 %. Из компонентного состава следует, что газы кыновского горизонта
жирные.
Молярная доля гелия в газах (пласт Д1kn) составляет 0,049 %, то есть
содержание гелия в растворенном газе является некондиционным. Запасы гелия по
Илькинскому месторождению не подсчитывались.
Компонентный состав разгазированной нефти представлен в таблице 4.
Пластовые воды считаются высокоминерализованными, с плотностью
1160 - 1118 кг/м3, хлоркальциевые. Формула их по Пальмеру: S1 S2 A2. Содержание ионов и примесей в пластовой воде представлено в
таблице 5.
Таблица 4
Компонентный состав разгазированной нефти
|
Компонент
|
Молярная масса г/моль
|
Значения по горизонтам и
скважинам
|
|
|
Кыновский горизонт,
скважина № 56исм
|
|
|
Молярная доля, %
|
Массовая, %
|
|
Н2S
|
34
|
-
|
-
|
|
СО2
|
44
|
-
|
-
|
|
N2
|
28
|
-
|
-
|
|
СН4
|
16
|
-
|
-
|
|
С2Н6
|
30
|
0,49
|
0,06
|
|
С3Н8
|
44
|
2,73
|
0,49
|
|
и-С4Н10
|
58
|
1,15
|
0,28
|
|
и-С4Н10
|
58
|
0,26
|
0,05
|
|
и-С4Н10
|
58
|
3,88
|
0,92
|
|
и-С5Н112
|
72
|
3,05
|
0,90
|
|
и-С5Н12
|
72
|
3,20
|
0,94
|
|
С6Н14+В
|
86
|
6,77
|
2,36
|
|
Остаток
|
-
|
78,73
|
94,05
|
|
Мол. масса, г/моль
|
-
|
246
|
246
|
|
Плотность, кг/м³
|
-
|
887
|
887
|
Таблица 5
Содержание
ионов и примесей в пластовой воде
|
Содержание ионов, примесей
|
Диапазон изменения, %
млг/экв
|
Среднее значение, % млг/экв
|
|
Hl
|
49,3-49,6
|
49,5
|
|
SO4
|
0,4-0,6
|
0,487
|
|
HCO3
|
0,05-0,065
|
0,1
|
|
Ca
|
7,17-8,65
|
7,9
|
|
Mg
|
3,7-4,4
|
4,1
|
|
K
|
37-39,2
|
38
|
Выводы по геологическому разделу
По величине извлекаемых запасов Илькинское месторождение относится к
мелким, по геологическому строению - к сложным.
Промышленно нефтеносными на месторождении являются пласты Д1kn и Д2kn кыновского горизонта (D3kn). Пласт Д1kn выделяется в верхней части
кыновского горизонта, представлен песчаниками кварцевыми, мелкозернистыми,
алевритистыми и алевролитами.
Коллекторами являются песчаники и алевролиты, в основном мелко-зернистые.
Залежи нефти пластовые, сводовые, литологически-экранированные. Нефть
продуктивного горизонта парафинистая, высокосернистая, смолистая. Пластовые
воды считаются высокоминерализованными, с плотностью 1160 - 1118 кг/м3,
хлоркальциевые.
В тектоническом отношении Илькинское месторождение расположено на
Юго-Восточном склоне Южно-Татарского свода. В результате ранее проведенных
работ (геологическая съемка, грави-электроразведка, сейсморазведка). Основной
формой рельефа данного месторождения является всхолмленная равнина, изрезанная
оврагами, речными долинами, ручьями. Средние абсолютные отметки от 182 до 358
м.
В итоге на территории Илькинского месторождения способствуют
благоприятные условия для разработки и эксплуатации.
II.
ТЕХНОЛОГИЧЕСКИЙ РАЗДЕЛ
2.1 Анализ
показателей разработки
Проект разработки Илькинского нефтяного месторождения был составлен в
1979 году БашНИПИнефть, а с 1980 года была начата разработка месторождения НГДУ
«Туймазанефть» [1].
В принятой системе разработки Илькинского месторождения был выделен
единственный объект разработки - пласт Дkn.
Залежь нефти пласта Дkn практически полностью разбурена по равномерной треугольной сетке с
расстоянием между скважинами 400 м. На месторождении всего пробурено 90
скважин, в том числе 85 добывающих, две нагнетательных и пять специальных
скважин. На 01.01.2014 г. из залежи добыто всего 995,5 тыс. т нефти или 57 % от
начально извлекаемых запасов, 1384,0 тыс.т жидкости, в залежь закачено 1899,5
тыс.м3 воды. Накопленная компенсация отбора нефти закачкой воды
достигла 128,7 % [2].
В первые годы разработка месторождения велась на естественном упруго-водонапорном
режиме, а с 1985 г. поддержанием пластового давления, закачкой - воды. Первоначальное
пластовое давление кыновской залежи составляла 18,7 МПа.
К 1985 году, то есть
к моменту, когда началась закачка воды в законтурную часть пласта давление в залежи
снизилось до 10,2 МПа.
Выделим следующие стадии
разработки залежи. 1980 - 1985 г. первая, начальная стадия, характеризуется интенсивным
ростом добычи нефти, и в тоже время с неотстающим ростом закачки воды - это период
активного разбуривания залежи и освоения системы законтурного заводнения. К концу
данной стадии суммарная добыча нефти достигла 318,2 тыс.т, обводненность продукции
не достигала 8 %.
Вторая стадия - основная (1986 -1990 г.). В эти года добыча нефти постепенно
увеличивается, а затем стабилизируется на 43,6 - 38,0 тыс.т. в год. На ти изменения
повлияли мероприятия по развитию системы законтурного и очагового заводнения. К
концу второй стадии обводненность продукции увеличилась до 34 %. Суммарная добыча
нефти достигла 628,3 тыс.т.
Третья стадия, характеризуется
значительным снижением добычи нефти интенсивным обводнением продукции и существенными
изменениями показа-телей разработки во времени. К концу стадии обводненность продукции
достигла 78,3 %. Из залежи было отобрано 728,14 тыс.т. нефти. Максимальный пик отбора
жидкости был достигнут в 1993 году и составил 46,9 тыс.т. Динамика разработки
Илькинского месторождения представлена на рисунке 3.
Рисунок 3 -Динамика разработки Илькинского месторождения
Что бы увеличить охват залежи заводнением, проектное площадное заводнение
усовершенствовалось очаговым и избирательным путем перевода под нагнетание
обводнившихся эксплуатационных скважин. В качестве вытесняющего агента
используются высокоминерализованные термальные воды терригенного девона.
Закачка воды производится при давлении 3 - 6 МПа и не выше 0,6 горного давления
электроцентробежными насосами (ЭЦН) из водозаборных скважин. В среднем за год
закачивается 52,06 тыс.м3 воды. Компенсация отбора жидкости закачкой
по месторождению составляет 110 %, с начала разработки 128,7 %. По запасам
(менее 1,0 млн.т.) Илькинское месторождение относится к мелким [3].
Характеристика и основных показателей разработки Илькинского нефтяного
месторождения представлены в таблице 6.
Таблица 6
Показатели разработки Илькинского месторождения
|
Показатели
|
2012 год
|
2013 год
|
2014 год
|
2015 год
|
|
Добыча нефти, тыс.т
|
15,2
|
13,81
|
29,9
|
48,7
|
|
Добыча жидкости, тыс.т
|
31,3
|
28,5
|
60,8
|
101,4
|
|
Обводненность, %
|
50,37
|
52,96
|
51
|
51,89
|
|
Закачка, тыс.м3
|
56,62
|
56,61
|
126,0
|
80,2
|
|
Фонд эксплуатационных
скважин, скв.
|
59
|
59
|
59
|
59
|
|
Фонд нагнетательных
скважин, скв.
|
10
|
10
|
11
|
9
|
|
Среднесуточный дебит нефти,
т/сут.
|
0,8
|
0,709
|
2,3
|
2,75
|
|
Средняя приемистость одной
скважины за месяц м3/сут.
|
16,7
|
16,4
|
29,7
|
23,6
|
|
Добыча нефти с начала
разработки, тыс.т
|
851,0
|
864,8
|
894,8
|
943,6
|
49,9
|
51,6
|
54,4
|
56,4
|
|
Накопленные ресурсы
нефтяного газа, млн.м3
|
20,8
|
21,08
|
21,65
|
22,5
|
|
Компенсация отбора Закачкой
с начала разработки, %
|
131,46
|
132,97
|
136,43
|
131,43
|
|
Пластовое давление, МПа
|
14,26
|
14,69
|
15,28
|
15,93
|
|
Газовый фактор, м3
/т
|
19
|
18,9
|
18,8
|
18,7
|
|
Плотность сетки всех скважин,
104 м²/скв
|
24,0
|
24,0
|
24,0
|
24,0
|
|
Остаточные балансовые
запасы на одну скважину,т/скв
|
81,4
|
80,2
|
78,6
|
77,0
|
|
Коэффициент нефтеотдачи, %
|
17,5
|
18,1
|
19,1
|
20,1
|
В настоящее время в фонде действующих добывающих скважин находятся 52
скважины. Разбуривание сетки скважин на Илькинском месторождении осуществлено
кустами. На одном кусту располагаются добывающие, нагнетательные и водозаборные
скважины. Соотношение добывающих и нагнетательных скважин 10:1. Плотность сетки
скважин составляет 32,4 га/скв, в центральных зонах 21,8 га/скв. Фонд
водозаборных скважин образовался за счет вывода обводнившихся скважин и
дополнительного бурения. Фонд нагнетательных скважин в основной своей части
образован за счет перевода добывающих скважин под закачку воды и составляет 12
скважин.
Добывающие скважины эксплуатируются механизированным способом. В фонде
ликвидированных скважин в большей степени скважины, выполнившие свое
назначение, то есть те скважины, в которых после эксплуатации (нагнетания)
основных пластов нет возвратных объектов [5].
Таблица 7 Использование фонда скважин Илькинского месторождения по
состоянию на 01.01.2015
|
Категория скважин
|
Использование фонда скважин
|
Обьект
|
|
Добывающие
|
Действующие
|
52
|
|
В освоении после бурения
|
0
|
|
Бездействующие
|
5
|
|
В консервации
|
1
|
|
Ликвидированы после бурения
|
7
|
|
Всего
|
65
|
|
Нагнетательные
|
Действующие
|
12
|
|
Бездействующие
|
0
|
|
В консервации
|
0
|
|
Всего
|
12
|
|
Таблица 7 (продолжение)
|
|
Водозаборные
|
Действующие
|
5
|
|
Бездействующие
|
2
|
|
Всего
|
7
|
С целью совершенствования разработки и повышения конечного коэффициента
нефтеизвлечения на месторождениях и залежах нефти НГДУ «Туймазанефть» ведутся
работы по применению физических, химических и физико-химических методов
увеличения нефтеотдачи.
Эффективность применения современных методов повышения нефтеотдачи пласта
с 2012 по 2015 годы приведена в таблице 8 [2].
Таблица 8
Эффективность применения современных методов повышения нефтеотдачи пласта
по Илькинскому месторождению
|
Наименование технологии
|
Дополнительная добыча
нефти, тыс.т
|
|
2012 год
|
2013 год
|
2014 год
|
2015 год
|
|
Гидроразрыв пласта
|
-
|
0,713
|
5,881
|
3,336
|
|
Реперфорация
|
0,104
|
3,455
|
0,743
|
1,023
|
|
Соляно - кислотная
обработка
|
0,028
|
2,036
|
1,352
|
1,350
|
|
Термогазохимическое
воздействие
|
-
|
-
|
-
|
0,133
|
|
Итого:
|
0,132
|
6,204
|
7,924
|
5,842
|
Гидроразрыв пласта (ГРП), термогазохимическое воздействие (ТГХВ),
реперфорация наиболее эффективны в твердых породах, когда создание
дополнительных трещин в призабойной зоне скважины позволяет приобщить к
процессу фильтрации, новые удаленные части пласта. По неоднократным испытаниям
и наблюдениям, среднее количество добываемой нефти на одну обработанную
скважину увеличивается в 4,2 раза при увеличении обводненности продукции в
среднем на 1,15 %. Эффект от ГРП сохраняется больше года.
2.2
Применение установок электроцентробежных насосов дляэксплуатации скважин в
условиях Илькинского месторождения
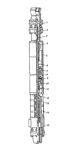
Установки погружных центробежных насосов (УЭЦН) предназначены для откачки
из нефтяных скважин, наклонных, нефть, пластовой жидкости, содержащей газ,
механические примеси, воду. В установку электроцентробежного насоса входят
наземное и подземное оборудование. [9]. На рисунке 4 приведена скважина эксплуатируемая УЭЦН.
В подземное оборудование входят:
сборка электроцентробежного агрегата;
колонна насосных труб и кабель.
Наземное оборудование состоит из: станции управления и трансформатора,
устьевого оборудования.
Электроцентробежную установку спускают в скважину на НКТ. Он состоит из
трех основных частей, расположение которых на одном вертикальном валу:
многоступенчатого центробежного насоса, электродвигателя (ПЭД) и протектора.
ПЭД с протектором и последний с насосом соединены на фланцах. Вал
электродвигателя через вал протектора соединен с валом насоса шлицевой муфтой.
Протектор предназначен для защиты электродвигателя от проникновения в него
жидкости и обеспечивает длительную смазку насоса и двигателя.
Расположение электродвигателя непосредственно под насосом. В связи с этим
насос имеет боковой прием жидкости, которая поступает в него из кольцевого
пространства между эксплуатационной колонной и электродвигателем через фильтр -
сетку.[9]
Питание электродвигателя подводится по трехжильному плоскому кабелю,
который опускает вместе с колонной НКТ и прикрепляют к ним тонкими железными
хомутами (поясами). Их крепят по одному на каждой трубе над муфтой и по одному
на середине трубы, далее на каждой двадцатой трубе кабель крепят пятью поясами,
устанавливаемыми в средней части трубы с интервалом 100 мм один от другого.[9]
Рисунок 4 - Установка электроцентробежного насоса
Предназначение трансформатора необходимо для компенсации падения
напряжения в кабеле, подводящем ток к ПЭД.
С помощью станции управления осуществляется ручное управление двигателем,
агрегат отключается автоматически при прекращении подачи жидкости, нулевую
защиту, защиту от перегрузки и отключения агрегата при коротких замыканиях.
При работе агрегата центробежный насос всасывает жидкость через фильтр,
установленный на приеме насоса и нагнетает ее по насосно-компрессорным трубам
(НКТ) на поверхность. В зависимости от напора, то есть высоты подъема жидкости,
выбирают насосы с различным числом ступеней.
Над насосом устанавливают сливной клапан и обратный. Обратный клапан
используется для поддерживания жидкости в НКТ, при этом облегчается пуск
двигателя и контроль его работы после пуска. Во время работы обратный клапан
находится в открытом положении под действием давления снизу. Сливной клапан
установлен над обратным, и предназначен для слива жидкости из НКТ при подъеме
их на поверхность.[9]
2.3
Подземное оборудование УЭЦН
К подземному оборудованию установки электроцентробежного насоса
относятся:
погружной электродвигатель, являющийся приводом насоса;
центробежный многоступенчатый насос, являющийся основным
исполнительным узлом установки;
система гидрозащиты, осуществляющая защиту ПЭД от попадания в него
пластовой жидкости и состоящая из протектора и компенсатора;
токоведущий кабель, служащий для подвода электроэнергии к ПЭД и
крепящийся к колонне НКТ с помощью хомутов;
насосно-компрессорные трубы, являющейся каналом, по которому добываемая
жидкость поступает от насоса на поверхность.
В зависимости от количества различных компонентов, содержащихся в
откачиваемой жидкости, насосы установок имеют исполнение повышенной
коррозионной износостойкости и обычное. По конструктивному исполнению установки
подразделяют на 3 группы:
- насосы 1 исполнения используются для эксплуатации нефтяных и
обводненных скважин с содержанием механических примесей до 0,1 г/л;
- насосы 2 исполнения (износостойкое исполнение) предназначены для
эксплуатации сильнообводненных скважин с содержанием механических примесей до
0,5 г/л;
- насосы 3 исполнения используются для эксплуатации при откачке жидкости
с водородным показателем рН - 68,5 и содержанием до 1,25 г/л сероводорода. [9]
Установка 5 группы с поперечным диаметром не менее 121,7 мм. Установка
группы 5а с поперечным диаметром 124 мм - в скважинах диаметром не менее 148,3
мм.
По величине поперечного габарита ЭЦН подразделяются на группы:
группа 5 - насосы с наружным диаметром корпуса 92 мм;
- группа 5А - насосы с диаметром корпуса 103 мм;
группы 6 и 6А - насосы с диаметром корпуса 114 мм.
Электродвигатель (рисунок 5) погружного насоса представляет собой
асинхронный двигатель трехфазного тока в герметичном исполнении (помещенный в
стальную трубу, заполненную маслом).
Длина его в зависимости от мощности может быть от 0,5 до 10 м.
Статор двигателя собран из активных пакетов (секций) 9 статорного железа
и немагнитных секций 8 (из листовой латуни или немагнитной стали), чередующихся
между собой.
Обмотка статора (общая для всех пакетов) выполнена из масло- и
тепло-стойких материалов.
Ротор двигателя состоит из нескольких секций (пакетов), они имеют
самостоятельную обмотку. Между роторными секциями на валу установлены
промежуточные подшипники. Двигатели выпускаются мощностью от 17 до 46 кВт.
Условия для двигателей указаны в таблице 9.
Таблица 9
Условия соответствия двигателей
|
Среда-пластовая жидкость-
мехпримеси
|
Условие
|
|
Колличество
|
не более 0,5 г/л
|
|
Твердость по Моосу
|
не более 5 баллов
|
|
Серо-водород
|
не более 0,01 г/л
|
|
Свободный газ
|
не более 50 %
|
|
Гидростатическое давление в
зоне двигателя
|
не более 20 МПа
|
Электроэнергия подводится к погружному электродвигателю при помощи
специальных кабелей. Участок токоподвода от станции управления до погружного
агрегата выполняется из круглого бронированного кабеля с резиновой изоляцией
типа КРБК или с полиэтиленовой изоляцией типа КПБК. На участке погружного
агрегата вдоль насоса и гидрозащиты применяется плоский бронированный кабель
также с резиновой (КРБП) или полиэтиленовой (КПБП) изоляцией.[9].
Электродвигатель представлен на рисунке 5.
Плоский и круглый кабели сращены между собой, в месте соединения
тщательно изолируется. К концу плоского кабеля прикрепляется кабельная муфта
для соединения токоподвода с выводными концами статорной обмотки, тем самым
обеспечивая герметизацию ввода кабеля в погружной электродвигатель. У круглых
кабелей с резиновой изоляцией на медные жилы, обрезиненные диэлектрической
резиной и скрученные вместе, накладывается общий нефтестойкий шланг из
наиритовой резины, поверх которого имеются защитные покровы из маслостойкой
лакоткани, пропитанная хлопчатобумажная оплетка и броня.
У плоских кабелей с резиновой изоляцией имеются три медные жилы,
обрезиненные диэлектрической резиной и нефтестойким наиритовым шлангом, которые
обкатываются стеклолакотканью и укладываются параллельно.
Рисунок 5 - Электродвигатель
1 - вал; 2 - плоский кабель; 3 - штепсельная головка; 4 - выводные концы
обмотки статора; 5 - обмотка статора, 6 - корпус статора; 7 - промежуточный
подшипник; 8 - немагнитный пакет статора; 9 - активный пакет статора; 10 -
ротор двигатели; 11 - масляный фильтр.
Все три жилы дополнительно обматываются лакотканью, на которую
накладываются пропитанная хлопчатобумажная оплетка и броня. Существует
конструкция плоского кабеля, в котором на обрезиненные диэлектрической резиной
и уложенные параллельно жилы накладывается общий наиритовый шланг. Шланг
обматывается лакотканью, сплетается противогнилостной хлопчатобумажной оплеткой
и бронируется.[9]
Методом горячей вулканизации в специальных вулканизаторах сростки круглых
и плоских кабелей с резиновой изоляцией и муфты кабельного ввода
изготавливаются из сырых починочных резин.
Броня, защищающая кабель от механических повреждений во время
спуско-подъемных операций, имеет специальный профиль, благодаря которому кабель
приобретает значительную прочность на раздавливание и сохраняет при этом
необходимую гибкость для наматывания на барабан через специальный подвесной
ролик диаметром 900 мм.
Броню круглых кабелей выполняют из стальной оцинкованной ленты, а плоских
- из стальной оцинкованной или медной ленты.
Кабели с резиновой изоляцией имеют номинальное напряжение 1100 В и
используются для работы при температуре окружающей среды от +90° С до -30° С и давлении до 10 МПа,
раздавливающее усилие не менее 120 кН.[9]
Кабели с полиэтиленовой изоляцией обладают большей газостойкостью.
Номинальное напряжение кабелей с полиэтиленовой изоляцией 2300 В, допустимая
температура окружающей среды от +90° С до -55° С, давление до 20 МПа.
Для всех типов кабелей отклонение от наружного размера не должно
превышать +10%. В токопроводящем кабеле, как и во всех электрических сетях,
имеют место потери напряжения и мощности.
Для подвода к погружному электродвигателю необходимого рабочего
напряжения выходное напряжение на вторичной обмотке повышающего
автотрансформатора должно быть выбрано при использовании соответствующей
отпайки с учетом компенсации потери напряжения в кабеле, которое меняется в
зависимости от глубины спуска установки[9].
При соблюдении правил эксплуатации значение потери мощности в кабеле при
условии правильного подбора установки по параметрам скважины, составляет
примерно от 3% до 15% общих потерь в установке.
Электроцентробежный насос ЭЦН, представленный на рисунке 3 является
основным узлом установки. В отличие от поршневых насосов (к ним относится
УШГН), сообщающих напор перекачиваемой жидкости посредством
возвратно--поступательного движения поршня, в электроцентробежных насосах
перекачиваемая жидкость получает напор на лопатках быстровращающегося рабочего
колеса.
Благодаря этом происходит превращение кинетической энергии в
потенциальную энергию давления.
- насос должен иметь минимальные габариты, ограниченные диаметром
скважин;
насос должен иметь широкий диапазон производительности и напоров;
- насос подвешивается в вертикальном положении и недоступен к осмотру и
обслуживанию.
Основными конструктивными элементами ЭЦН являются: рабочее колесо,
направляющий аппарат, корпус, вал, гидравлическая пята, уплотнения, подшипники.
Эти детали - выжные компоненты любого центробежного насоса, присущи они и
ЭЦН.[9]. Рабочее колесо является основным рабочим органом насоса. Оно состоит
из дисков - переднего (по ходу направления жидкости) в виде кольца с отверстием
большого диаметра в центре; и заднего - сплошного диска со ступицей (втулкой) в
центре, через которую проходит вал (рисунок 6). Диски распологаются на
некотором расстоянии один от другого, а между ними находятся лопатки, отогнутые
назад по направлению вращения колеса. Колесо ЭЦН изготовляют из легированного
чугуна или полиамидной смолы.
Рисунок 6 - Рабочее колесо ЭЦН.
Направляющий аппарат предназначен для изменения потока жидкости и
преобразования скоростной энергии в давление. Он состоит из двух неподвижных
дисков с лопатками, напоминающими лопатки рабочего колеса, закрепленных
неподвижно в корпусе насоса.
Рабочее колесо, собранное совместно с направля-ющим аппаратом, образует
ступень насоса. Каждая ступень развивает напор 4...7 м. Считая, что глубина, с
которой приходится поднимать нефть может достигать 1,5.2 км и более, можно
легко рассчитать потребное количество ступеней, образущих насос. Их количество
достигает 400 штук и более.[9]
Вал предназначен для передачи вращения рабочим колесам. Он представляет
собой цилиндрический стержень со шпоночным пазом для крепления рабочих колес.
Со стороны протектора конец вала имеет шлицы.
Длина и диаметр вала регламентируются габаритами насоса. Вал ЭЦН работает
в весьма жестких условиях, так как имеет при незначительном диаметре (17...25
мм) значительную длину (до 5000 мм) и несет на себе большое количество рабочих
колес (до 300). Материалом для валов являются легированные стали. Сверху и
снизу установлены радиальные подшипники скольжения, они являются опорами
вала. Кроме того, каждый направляющий аппарат осуществляет кратковременную
разгрузку осевых усилий в колесе посредством упора перемещающегося колеса в
аппарате и скольжения по текстолитовой шайбе. Нижняя опора вала перенесена в
узел протектора.[9]
На вал практически действует сила от собственного веса и сила осевого
давления, достигающая у серийных насосов 4000 Н (разность сил со стороны
нагнетания и всасывания). Предоставленная конструкция позволяет передавать
осевые силы равномерно на все направляющие аппараты.
Рисунок 7 - Погружной центробежный насос
- секция верхняя с ловильной головкой; 2 - секция нижняя; 3 - муфта
шлицевая; 4 - пята опорная; 5 - корпус подшипника; 6 - направляющий аппарат; 7
- рабочее колесо; 8 - корпус; 9 - вал; 10 - шпонка; 11 - подшипник скольжения;
12 - втулка защитная; 13 - основание; 14 - сетка фильтра; 15 - муфта приводная.
Ротор, собранный совместно с направляющими аппаратами, образует пакет ступеней,
который после сборки вставляется в специальную трубу - корпус. Диаметры корпуса
современных насосов составляют 92,103 и 114 мм, а длина зависит от собранных в
нем ступеней.
Корпус сверху заканчивается резьбой, с помощью которой он соединяется к
колонне НКТ, и ловильной головкой, обеспечивающей захват насоса при его падении
в скважину.
Протектор (рисунок 8) предназначен для защиты электродвигателя (ЭД) от
попадания в него жидкости со скважины чрез неплотности сальника насоса. Он так
же смазывает упорные подшипники насоса специальной смазкой.
Протекторы состоят из двух частей: верхней (камера густого масла) и
нижней (камера жидкого масла). В верхней камере установлены поршень с пружиной.
В корпусе протектора под поршнем имеется отверстие, через которое
гидростатическое давление со скважины передается на поршень.
Компенсатор (рисунок 9) имеет эластичную резиновую диафрагму и служит для
компенсации изменения объема масла во внутренней полости электродвигателя от
температуры и утечек.[9]
Во время эксплуатации насоса, масло чрез перепускной клапан 3 выжимается
поршнем в нижнюю камеру насоса для смазки подшипников и расходуется чрез
сальник насоса. Жидкое масло из нижней камеры протектора поступает к
электродвигателю. Запас масла рассчитан на работу насоса в течение не менее 6
месяцев. Снизу корпуса имеется фильтр и присоединительные фланцы для соединения
со следующей секцией или протектором. Новые насосы соединяются со своими узлами
с помощью быстросборных байонетных соединений.[9]
В нижней части насоса уплотнения в ЭЦН выполнены в виде сальника, и
представляет собой набор колец, изготовленных из свинцовой ваты с графитом. В
связи с созданием новой гидро-защиты поменялась и функция сальника, которая
теперь предотвращает попадание механических примесей из насоса в протектор.
Рисунок 8 - Протектор погружного электродвигателя
и 5 - обратные клапаны; 2 и 4 - трубки
Помимо этого, соединяемые между собой на резьбе части корпуса насоса
снабжены уплотнительными кольцами круглого сечения.
Рисунок 9 - Компенсатор
- корпус; 2 - пробка; 3 - перепускной клапан; 4 - крышка; 5 -диафрагма.
2.4
Наземное оборудование УЭЦН
К наземному оборудованию установки относят:
а) устьевая арматура, установленная на головке эксплуатационной колонны и служащая для направления и
регулирования поступающей жидкости из скважины и герметизации устья и кабеля;
б) станция управления, осуществляющая запуск, контроль и управление
работой УЭЦН;
в) трансформатор, предназначенный для регулирования величины напряжения,
подаваемого к ПЭД (питание энергией осуществляется от промысловой сети 380 В).
Для избежания уменьшений потерь в кабеле питающий электродвигатель,
улучшения условий запуска и технических характеристик электродвигателей
автотрансформаторы и трансформаторы выполняются на рабочее напряжение,
значительно превышающее напряжение силовой сети 380 В.[9] В то же время
электрическое напряжение погружных электродвигателей, получаемое при расчете, в
зависимости от мощности, диаметральных размеров, рода и других условий не может
быть единым или хотя бы одинаковым для всех типов электродвигателей. Точнее
говоря, иметь одинаковое напряжение для всех типоразмеров погружных
электродвигателей нецелесообразно, это ухудшит их характеристики и усложнит
производство (потребует многообразия штампов, затруднит унификацию размеров
деталей и т.п.). Вот поэтому каждый типоразмер погружного электродвигателя
(ПЭД) имеет свое номинальное напряжение, значение которого округляется в
расчетах с точностью до 5 В.
Кроме того, в кабеле от трансформатора до электродвигателя будут потери
напряжения, которые при определенном сечении кабеля и силе тока будут зависеть
от длины кабеля. Поскольку подвеска электронасоса в скважине а, следовательно,
и длина кабеля колеблются в больших пределах, соответственно будут колебаться и
потери напряжения. Поэтому автотрансформаторы или трансформаторы должны будут
обеспечивать регулировку напряжения с высокой стороны в определенных пределах.
Автотрансформаторы в настоящее время изготовляются в сухом исполнении,
установлены на салазках, служащих на промысле для транспортировки на небольшие
расстояния. Напряжение регулируют переключением отпаек на обмотке высокого
напряжения, отличающихся друг от друга на 30 - 60 В, при помощи клемм и
перемычек, расположенных на клеммной доске над сердечником. Обмотка
автотрансформатора (тепло- и влагостойкая) соединена в звезду. Кпд
автотрансформаторов находится в пределах 98 - 98,5 %. Трансформаторы так же,
как и автотрансформаторы, могут быть сухие или заполненные маслом. Применение
трансформаторов дает возможность контролировать величины сопротивления изоляции
вторичной обмотки трансформатора, кабеля и погружного электродвигателя на
работающей установке и отключать установку при уменьшении сопротивления
изоляции до заранее заданной величины.
Станции управления служат для контроля работы УЭЦН, подключения
электронасоса к промысловой к сети, его автоматического и ручного включения и
отключения и защиты при коротких замыканиях, перегрузках по силе тока или срыве
подачи. Установки электронасосов комплектуются станциями управления типа ПГХ
5071 и ПГХ 5072 для погружных электродвигателей мощностью от 10 до 100 кВт с
номинальным напряжением до 2300 В.[9]
При автотрансформаторном питании погружных электродвигателей применяются
Станции ПГХ 5071. Они имеют мгновенную защиту от замыкания токоведущих частей
"на землю" при помощи трансформаторов нулевой последовательности.
Станции ПГХ 5072 имеют непрерывный контроль сопротивления изоляции системы:
вторичная обмотка трансформатора - кабель - статорная обмотка погружного
электродвигателя с автоматическим отключением установки при падении
сопротивления изоляции до 30 кОм. В остальном схемы станций управления ПГХ 5071
и ПГХ 5072 идентичны. Станции типа ПГХ 5071 и ПГХ 5072 обеспечивают:
ручное включение и отключение установки;
- автоматическое включение установки в режиме самозапуска после
восстановления напряжения питания, автоматическую работу в режиме программного управления по заранее заданной
программе, состоящей из времени работы и времени простоя установки, суммарная
продолжительность которых до 24 ч;
автоматическое включение и отключение установки, подключенной к
автоматизированной групповой системе сбора нефти и попутного газа, в
зависимости от давления в коллекторе;
- управление установкой с диспетчерского пункта.
Станц-ии управления ПГХ 5071 и ПГХ 5072 имеют возмож-ность мгновенно
отключать установку при коротких замыканиях и значительных перегрузках по силе
тока, превышающих на 40% силу рабочего тока установки; отключают с выдержкой
времени до 20 с при перегрузке погружного электродвигателя на 20% силу рабочего
тока и с такой же выдержкой времени при срыве подачи.[9]
Таблица 10
Технические характеристики комплектных трансформаторных подстанций.
|
Параметр
|
Величина
|
|
1
|
2
|
|
Номинальный ток силовой
цепи (первичный), А
|
250
|
|
Номинальное напряжение
силовой цепи (первичное), В
|
380
|
|
Номинальный ток силовой
цепи (вторичный), А, не более
|
50
|
|
Номинальное напряжение
силовой цепи (вторичное), В, не более
|
2300
|
|
Номинальное напряжение
цепей управления, В
|
380
|
|
Номинальный ток цепей
управления, А
|
6
|
|
Потребляемая мощность
устройств ШГС5808-59АЗУ1 и ШГС5808-49БЗХЛ3.1, В А, не более
|
300
|
|
Потребляемая мощность
устройств ШГС5808-49ТЗУ1, В А, не более
|
400
|
|
Габаритные размеры, мм: -
высота - ширина - глубина
|
1900±10 1056±3 50±10
|
|
Масса, кг: - ШГС5808-49АЗУ1
- ШГС5808-59ТЗУ1
|
255±15 265±15
|
Таблица 11
Основные параметры комплексных трансформаторных подстанций погружных
насосов (КТППН)
|
Показатели
|
КТППН с трансформатором
типа
|
|
ТМПН100/10-82УХЛ1
|
ТМПН160/10-82УХЛ1
|
ТМПН250/10-82УХЛ1
|
|
Номинальная мощность
трансформатора, кВА
|
100
|
161
|
233
|
|
Номинальное высшее
напряжение, кВ
|
6; 10
|
6; 10
|
6; 10
|
|
Пределы ступеней
регулирования среднего напряжения, В
|
1602-846
|
1208-444
|
2406-1652
|
|
Номинальный ток обмотки
среднего напряжения, А
|
36
|
77
|
56
|
|
Напряжение обмотки низшего
напряжения, В
|
|
400
|
|
|
Номинальная мощность
обмотки низшего напряжения, кВА
|
50
|
75
|
75
|
|
Габаритные размеры, мм
|
5100х3250х1630
|
|
Габаритные размера
транспортные, мм
|
5285х3200х1630
|
|
Масса, кг: - с
трансформатором - без трансформатора
|
2465 -
|
2705 1765
|
2935 -
|
Такие станции управления выпускается в четырех модификациях, отличающихся
габаритами контакторов и блок-рубильников, а также коэффициентами трансформации
трансформаторов тока.
На станциях управления выполнен штепсельный разъем для переносных токовых
приемников с силой тока фазы не более 25 А и освещение станции лампой в 40 Вт.
Дверь шкафа станции управления имеет механическую блокировку с блоком
рубильник-предохранитель, трансформаторы тока защищены сеткой в месте подвода
высокого напряжения. Ручка станции управления снабжена замком с ключом.[9]
.5
Применение УЭЦН в условиях Илькинского месторождения
Электропогружными насосами в ОЦДНГ-1 эксплуатируется 6 % скважин, при
средней обводненности - 31,7 %. Действующий фонд скважин с электроцентробежными
насосами в Илькинском месторождении в 2015году составил 21 скважины, а средний
дебит по жидкости одной скважины с электроцентробежным насосом доходит до 16,8 м3/сут,
при средней обводненности 31,7 %.
В таблицах 12, 13 представлены технологические показатели скважин
Илькинского месторождения, оборудованных УЭЦН.
Таблица 12
Технологические показатели фонда скважин с УЭЦН
|
Параметр
|
Показатель
|
|
Средний дебит, т/сут
|
8,9
|
|
Средняя обводненность, %
|
31,7
|
|
Средняя глубина насоса в
скважину, м
|
1794,4
|
|
Максимальная глубина насоса
в скважину, м
|
1895,2
|
|
Средний динамический
уровень, м
|
1398,8
|
|
Максимальный динамический
уровень, м
|
1610
|
|
Среднее забойное давление,
МПа
|
56.1
|
Из таблицы 13 видно, что скважины пласта кыновского горизонта
эксплуатируются со средним дебитом и низкой обводненностью. Средняя глубина
спуска насосов практически одинакова во всех скважинах Илькинского
месторождения. Пласт эксплуатируется при нормальном забойном давлении.
Таблица 13
Основные параметры ЭЦН, применяемых на Илькинском месторождении
|
Номер СКВ.
|
Тип насоса, мощность
электродвиг.
|
Глубина подвески,м
|
Динамический уровень,
|
Qж, т /сутки
|
Qн, т/сутки
|
B, %
|
|
1636
|
ЭЦН 5 - 30-1850 ПЭД32-117МВ5
|
1823,1
|
1353
|
22,7
|
14,9
|
28
|
|
1646
|
ЭЦН 5 - 30-1850 ПЭД32-117МВ5
|
1712
|
1378
|
23,3
|
0,56
|
35
|
|
1681
|
ЭЦНМ 5 - 30-1850 ПЭД Т 24 - 117МВ
|
1757
|
1570
|
16,1
|
9,9
|
66
|
|
1690
|
ЭЦН 5 - 30-1850 ПЭД32-117МВ5
|
1895,2
|
1493
|
19,6
|
13,6
|
25
|
|
1843
|
ЭЦН 5 - 45-2000 ПЭД28-117
|
1851
|
1102
|
12,4
|
10,1
|
|
1856
|
ЭЦН 5 - 45-2050 ПЭД28-117
|
1853
|
1610
|
24,2
|
14,1
|
35
|
|
1862
|
ЭЦН 5 - 25-1950 ПЭД32-117МВ5
|
1842
|
1365
|
22
|
15,2
|
25
|
|
1865
|
ЭЦН 5 - 45-2100 ПЭДБ 45-117МВ5
|
1819
|
1146
|
29
|
2,1
|
25
|
В скважинах работают УЭЦН с номинальной подачей жидкости от 10 до 250 м3/сут.,
при этом их эффективность эксплуатации разная. Большое количество осложнений,
включая "полеты" ЭЦН, случаются в скважинах, где применяются насосы
малой и средней подачи жидкости (до 125 м3/сут). Самая основная
причина выхода из строя УЭЦН является засорение насосов парафином, частицами
механических примесей, сульфида железа, гипса и других, в состав которых входят
частицы пород продуктивного пласта, продукты коррозии скважинного оборудования,
отложения неорганических солей и твердых углеводородов. Этот вид осложнений обусловлен
разрушением пород призабойной зоны пласта (ПЗП), интенсификацией процессов
коррозии оборудования, нарушением химического равновесия солей, растворенных в
попутно добываемой воде, и созданием в подъемном оборудовании термодинамических
условий, благоприятствующих образованию твердых органических осадков.
Отсюда появляется необходимость поиска новых технологических и
технических решений, направленных на повышение эффективности эксплуатации
скважин с УЭЦН.
Необходим дифференцированный анализ причин отказов глубинного
оборудования (под отказом понимается не только прекращение подачи нефти, но и
отклонения выше нормы таких основных технологических показателей, как дебит
скважины, давление, температура, расход электроэнергии, химических реагентов,
материалов и сырья).
Специальное рассмотрение причин отказов глубинного оборудования насосных
скважин с ЭЦН позволяет предусмотреть оснащение специализированных мастерских
соответствующим оборудованием, резервировать необходимые типоразмеры погружных
установок и отдельных ее элементов. При этом также появляются условия для более
глубокой специализации основной службы во всех ее звеньях, вплоть до бригад
подземного ремонта и подготовительных бригад.[7]
Реальная информация о распределении причин отказов оборудования насосной
скважины также необходима для разработки организационно-технических мероприятий
по устранению главных причин, для внесения соответствующих корректив в
технологический режим скважин, а также для совершенствования конструкции и
параметров погружной установки [4].
Анализ
эксплуатации УЭЦН по НГДУ "Туймазанефть" за 2013-2015 г. представлен
в таблице 14,15,16.
За рассмотренный период с 2013 по 2015 год большое количесвто отказов
(15-23 %) скважин, оборудованных УЭЦН, составляет "Засорение плавающим
мусором". Увеличилось и число отказов по эксплуатационным причинам: из-за
нарушения герметичности труб (6-16%), засорения насоса продуктами разрушения
пласта и привнесенными примесями (2-9%), в том числе из-за засорения сульфидами
железа (2%), механических повреждений кабеля (3-12%), выхода из строя
погружного электродвигателя (ПЭД) (6-9%).
Увеличение числа отказов объясняется износом резьбы НКТ вследствие
длительной эксплуатации, выходов сроков службы погружного оборудования,
бесконтрольной эксплуатации. К другим отнесены отказы, причина которых не
установлена. Они объясняются как организационными, так и техническими
причинами.
Подавляющее большинство отказов в работе скважин, оборудованных
погружными ЭЦН, связано с электроприводной частью (погружной электродвигатель и
подводящий кабель).
Наиболее часто встречающиеся причины отказа - снижение электрического
сопротивления и пробивание электроизоляции погружного двигателя (3-7%) и кабеля
(4-6%). При таких отказах, как прогар корпуса ПЭД, токковода, жилы или сростка
кабеля, наконечника муфты кабельного ввода свидетельствует о напряженности
термодинамического режима погружной установки. Таким образом высокая
температура развивается в переходные периоды эксплуатации скважины, когда
нарушается теплообмен между омывающей средой (водонефтегазовая смесь) и
тепловым источником (погружной электродвигатель и подводящий кабель).
Таблица 14
Сведения об
отказах установок электроцентробежных насосов по НГДУ "Туймазанефть"
за 2013 год
|
Причина выхода
|
Количество
|
Номера скважин
|
|
1. Засорение ЭЦН плавающим
мусором
|
8
|
1344-4, 1387-1, 1053-2,
1373-4, 1949-3, 60-1, 1949-3, 5-1
|
|
2. Засорение сульфидом
железа
|
5
|
245-1, 1387-1, 595-1,
1313-2, 1234-3
|
|
3. Запарафининивание насоса
|
2
|
597-1, 939-2
|
|
4. Низкий динамический
уровень
|
2
|
1272-4, 983-2
|
|
5. Полеты
|
1
|
1387-1, УЭЦН уронили ПРС
|
|
6. Механические повреждения
кабеля
|
1
|
1053-2
|
|
По вине ПРЦЭПУ
|
|
1.Негерметичность
гидрозащиты П92Д (трубка заглушена)
|
1
|
524-1
|
|
2.Прогар кабельной муфты
(слабый контакт гильзы ПЭД и наконечника)
|
1
|
2262-1
|
|
3.Микротрещины на
строительной длине кабеля (старение изоляции)
|
1
|
19ккб-2
|
|
4.Негерметичность
гидрозащиты 1Г51М
|
1
|
939-2
|
|
5.Оплавление бабитового
слоя подпятника, заклинил вал
|
1
|
1053-2
|
|
6.Пробой обмотки статора
ПЭД
|
1
|
1534-3
|
|
7.Трещина на корпусе ПЭД
(пробой обмотки)
|
1
|
245-1
|
|
8.Микротрещины на жиле
кабеля по всей длине одной жилы
|
2
|
101-2,452-1
|
Таблица 15
Сведения об
отказах установок электроцентробежных насосов по НГДУ "Туймазанефть"
за 2014 год
|
Причина выхода
|
Количество
|
Номера скважин
|
|
1. Засорение ЭЦН плавающим
мусором
|
7
|
1354-4, 1237-2, 1021-2,
1256 -4, 1239-3, 123-2, 2049-4,
|
|
2. Засорение сульфидом
железа
|
5
|
269-1, 217-1, 598-1,
1253-2, 1364-4
|
|
3. Запарафинивание насоса
|
2
|
599-1, 989-4
|
|
4. Низкий динамический
уровень
|
2
|
2152-3, 982-2
|
|
5. Полеты
|
1
|
567-1
|
|
6. Механические повреждения
кабелем
|
1
|
453-2
|
|
По вине ПРЦЭПУ
|
|
1. Прогар наконечников
кабельной муфты и гильз токоввода из-за слабого контакта
|
1
|
79-1
|
|
2. Снижение изоляции одной
жилы кабеля в сростке в 40 м от устья
|
1
|
74-2
|
|
3. Полет, трещина в нижней
части корпуса ЭЦН в верхней секции
|
1
|
75-4
|
|
4. Прогар кабеля в сростке
|
1
|
107-2
|
|
5. Прогар колодки токоввода
из-за попадания пластовой жидкости
|
1
|
218-3
|
|
6.Заклинивание УЭЦН
произошло из-за межвиткового пробоя изоляции ПЭД
|
1
|
137-1
|
|
7.Снижение изоляции ПЭД,
из-за негерметичности гидрозащиты 1Г51М
|
1
|
234-2
|
|
8.Негерметичность торцовых
уплотнений гидрозащиты
|
2
|
238-4,365-2
|
Таблица 16
Сведения об
отказах установок электроцентробежных насосов по НГДУ "Туймазанефть"
за 2015 год
|
Причина выхода
|
Количество
|
Номера скважин
|
|
1. Засорение ЭЦН плавающим
мусором
|
6
|
569-4, 987-2, 159-2, 1365
-3, 539-1, 1245-2,
|
|
2. Засорение сульфидом
железа
|
4
|
1299-3, 2187-2, 565-2,
2253-1
|
|
3. Запарафинивание насоса
|
2
|
599-1, 989-4
|
|
4. Низкий динамический
уровень
|
2
|
2152-3, 982-2
|
|
5. Полеты
|
1
|
567-1
|
|
6. Механические повреждения
кабелем
|
1
|
453-2
|
|
По вине ПРЦЭПУ
|
|
1.Пробой обмотки статора
ПЭД, из-за образовавшейся трещины на корпусе
|
1
|
245-1
|
|
2.Отложение в ЭЦН сульфида
железа, сквозная коррозия корпуса ПЭД
|
2
|
132-2,452-3
|
|
3.R=0мом. Смещение жил
удлинителя из-за охлаждения (ЭЦН забит мусором)
|
3
|
1165-2,236-1,698-2
|
|
4.Заклинил вал ПЭД
(заводской брак)
|
1
|
1053-4
|
|
5.Негерметичность
гидрозащиты П92Д (трубка заглушена)
|
2
|
352-1,695-2
|
|
6.Прогар кабельной муфты
(слабый контакт гильзы ПЭД и наконечника)
|
1
|
6м-2
|
|
7.Микротрещины на
строительной длине кабеля (старение изоляции)
|
1
|
858-2
|
|
8.Трещина на корпусе ПЭД
(пробой обмотки)
|
2
|
1303-1,365-1-4
|
Анализируя таблицы заметно, что в большей степени авариями являются
засорение ЭЦН плавающим мусором, засорение сульфидом железа, запарафинивание,
наблюдается планомерное снижение аварий связанных с этими причинами, далее
рассмотрим способы борьбы сними.
В среднем число отказов, которые непосредственно связанные с погружным
ЭЦН составляет 7%; Из основных причин можно выделить засорение погружного
насоса, снижение подачи насоса и бесконтрольная эксплуатация.
Причинами отказов является повышенное содержание механических примесей.
Вибрация при работе установок вследствие повышенного износа рабочих органов и
большого содержания механических примесей - одна из основных причин аварий и
выхода из строя УЭЦН. Так же не малое количество отказов ЭЦН произошло из-за
снижения подачи. В последние годы по НГДУ «Туймазанефть» существует тенденция
роста числа отказов по причине снижения подачи.
Таким образом, на добывающих скважинах нужно грамотно произвести подбор
оборудования и установить его технологический режим работы, для обеспечения
оптимального режима работы системы пласт-насос. Для повышения эффективности
работы насосного фонда скважин и всей системы эксплуатации месторождения в
целом, необходима разработка и внедрение мероприятий, направленных на
согласованную работу пласт-насос
Из изучения фонда Илькинского месторождения, оборудованного УЭЦН,
следует, что имеются значительные резервы по глубине и забойному давлению
(динамическому уровню) для наращивания отборов по скважинам. На нескольких
скважинах возможна замена оборудования по двум причинам: значительное
превышение номинальной подачи насоса над фактическим дебитом скважины, большая
глубина спуска насоса при высоком динамическом уровне. От грамотно выбранной
величины погружения зависит работа насоса с высоким коэффициентом подачи.
Таким образом анализируя технические характеристики работы
механизированных (ЭЦН) скважин ОЦДНГ-1 НГДУ за 2015 год можно увеличить дебит
скважин за счет производительности и напора насосов (смена УЭЦН в процессе
планового ремонта).
Направлениями повышения эффективности использования скважин с УЭЦН
являются: сохранение и восстановление коллекторских свойств ПЗС; повышение текущего
дебита скважин; повышение коэффициента использования фонда скважин проведение
оптимизации режимов работы скважин и где это необходимо замена оборудования.
2.6 Подбор
оборудования УЭЦН к скважинам Илькинского месторождения
Произведем оптимизацию режима работы УЭЦН в скважине №1681 Илькинского
месторождения НГДУ « Туймазанефть»
Таблица 17
Исходные данные для подбора оборудования
|
Показатели
|
Численные значения
|
|
Давление насыщения Рнас,
МПа
|
40
|
|
Пластовое давление Рпл. Мпа
|
78,8
|
|
Давление на забое Рзаб, МПа
|
43,8
|
|
Давление на буфере Рбуф,
МПа
|
2
|
|
Давление на затрубье Рзатр,
МПа
|
2,3
|
|
Глубина до верхней
перфорации Нп,, м
|
1740
|
|
Плотность воды ρв, кг/м3
|
1175
|
|
Плотность газа ρг, кг/м3
|
1,05
|
|
Плотность нефти ρн, кг/м3
|
850
|
|
Обводненность nв,
%
|
66
|
|
Газовый фактор Г
|
64
|
|
Диаметр эксплуатационной
колонны Дэ/к, мм
|
140
|
|
Коэффициент продуктивности
К, м3/(сут·МПа)
|
1
|
|
Дебит нефти Qн
,, т/сут
|
9,9
|
Определим дебит скважины по уравнению притока.
Q = K·(Рпл-Рзаб)=1· (78,8-43,8) = 35 м3/сут,
(3.1)
где Q - дебит скважины, м3/сут;
K -
коэффициент продуктивности, м3/(сут·МПа);
Рпл - пластовое давление, Мпа;
Рзаб - давление на забое, МПа.
Внутренний диаметр труб выберем по графику зависимости потерь напора НКТ
от дебита скважины и кпд труб (рисунок 9),
dвн=
48мм.
Определим плотность смеси
ρсм = ρв · nв + ρн (1-nв)
(3.2)
ρсм = 1175 0,66 + 850 · (1-0,66) =
=1081.5 кг/м3
Далее определим глубину спуска насоса из условий обеспечения реального,
необходимого оптимального давления на приеме насоса
Рисунок 9 - Кривые потерь напора в НКТ

м (3.3)
Выбираем Ропт = 41 МПа, т.к. при обводненности > 50 %
Определим работу газа:
(3.4)
,
где dвн - внутренний диаметр НКТ, дюйм;
Определим требуемое давление насоса, равное потерям давления в скважине:
,МПа; (3.5)
где Ртр - потери давления на преодоление сил гидродинамического
трения, принимаем Ртр = 0,5 МПа;
МПа
Определим требуемый напор насоса

м. (3.6)
По диаметру эксплуатационной колонны диаметр насоса будет равен
мм и он будет относиться к группе 5.
Выбирают тип насоса по напору и производительности из условия
, м; (3.7)
при
и максимальном КПД.
Для этого используем таблицы технических характеристик насосов. Выбираем
УЭЦНМ5-30-1700, η = 51,5 %;
Остальное оборудование (двигатель, станцию управления, трансформатор,
кабель) выбираем согласно комплектности поставки оборудования по книге:
(Справочник по нефтепромысловому оборудованию под редакцией Бухаленко Е.И. М.,
«Недра», 1990).[10]. В результате выбора получаем ЭЦНМ5-30-1700:
Шифр электродвигателя - ПЭД Т 32-117МВ5.
Температура окружающей среды, при номинальной мощности электродвигателя -
70°С;
Скорость охлаждающей жидкости не менее 0,08 м/с;
Кабель круглый - КПБК ТУ 16 - 505 - 129 - 70:
число жил и площадь сечения - 3 х 25
;
Кабель плоский - КПБП ТУ 16 - 505 - 129 - 70:
число жил и площадь сечения - 3 х 16
;
Трансформатор - ТМПН - 100 / 3 - 73У1;
Станция управления - КТП ПН - 100 / 10 - 82 УХЛ1;
Комплексная подстанция - КТП ПН КС - 650 / 10 / 1,6 - 85УХЛ1.
Проверяем соответствие мощности электродвигателя условиям от-качки, для
чего определяем необходимую мощность и сравниваем с мощностью выбранного
двигателя.
,кВт; (3.8)
где ηн - КПД насоса, принимается согласно таблице 16.
кВт;
кВт;
;
Определим минимальную, необходимую длину кабеля:
= 1476+ 15 = 1491 м; (3.9)
где L - расстояние от устья до станции
управления, L = 10 -15 м;
Далее необходимо проверить возможность спуска агрегата в скважину. Для
этого определим максимальные габариты агрегата и сравним их с внутренним
диаметром эксплуатационной колонны.
Для того что бы не повредить кабель и исключить опасность прихвата
агрегата в эксплуатационной колонне, диаметральный зазор между агрегатом и
эксплуатационной колонной принимают равным 5 - 10 мм,

,мм; (3.10)
где
- диаметр электродвигателя, мм;
- наружный диаметр насоса, мм;
- толщина плоского кабеля, мм,
= 13,1мм;
S -
толщина металлического пояса для крепления кабеля, S = 1 мм.
В НГДУ «Туймазанефть» для подбора оборудования УЭЦН к скважинам
используют компьютерную программу ПТК «Насос» v.3.0, составленную на основе методики подбора УЭЦН,
разработанной в БашНипинефть. Таким же способом был произведен подбор УЭЦН к
скважинам №1862 и №1856. Результаты расчета представлены в таблице 18.
Таблица 18
Проектируемые параметры подбора УЭЦН для скважин Илькинского
месторождения
|
Номер скважины
|
Тип насоса
|
Диаметр (Дн ), м
|
Глубина спуска насоса L,
м
|
Напор Н, м
|
Дебит жидкости Qж,
м3/сут
|
|
1681
|
ЭЦНМ5-30-1700
|
92
|
1476
|
1538,4
|
35
|
|
1862
|
ЭЦН5-80-2500
|
92
|
1842
|
1900
|
90
|
|
1856
|
ЭЦН5-60-2300
|
92
|
1853
|
1811
|
73,24
|
Проектный дебит нефти определяем путем умножения фактического дебита на коэффициент
прироста нефти в результате проделанных мероприятий.
Для скважины № 1681
т/сут
Дополнительная добыча для скважины № 1681 составит

т/сут,
где
и
- среднесуточный дебит по группе скважин до и после смены
насосов, т/сут; 365 - количество дней в году;
- коэффициент эксплуатации скважин;
- расход нефти на проведение мероприятия и потери нефти в
результате простоя скважины при проведении мероприятия, тонн.
Таблица 19
Прирост объема добычи нефти в результате оптимизации режима работы
скважин Илькинского месторождения
|
Номер скважины
|
Фактический дебит нефти,
т/сут
|
Проектный дебит нефти,
т/сут
|
Потери нефти
|
Прирост добычи нефти, т/год
|
|
1681
|
9,9
|
14,85
|
25,465
|
1685,52
|
|
1862
|
15,2
|
22,8
|
39,07
|
2587,9
|
|
1856
|
3,6
|
5,4
|
9,2
|
612,98
|
Таблица 20
Результаты оптимизации режима работы скважин Илькинского месторождения
|
До смены насоса
|
После смены насоса
|
Прирост добычи нефти,т
|
|
Марка насоса
|
Дебит нефти Qн , т/сут
|
Дебит жидкости Qж, м3/сут
|
Марка насоса
|
Дебит жидкости Qж, м3/сут
|
Дебит нефти Qн ,, т/сут
|
|
|
ЭЦНМ5-30-1850
|
9,9
|
17
|
ЭЦНМ5-30-170
|
35
|
14,85
|
1685,52
|
|
ЭЦН 5 - 25-1950
|
15,2
|
22
|
ЭЦНМ5-80-2500
|
90
|
22,8
|
2587,9
|
|
ЭЦН 5 - 45-2100
|
29
|
ЭЦНМ5-60-2300
|
73,24
|
9,2
|
612,98
|
Из этой таблицы мы видим, что подобран насос с меньшим напором,
следовательно после мероприятия затраты на энергию уменьшились. Наблюдается
увеличение добычи нефти, соответственно данное мероприятие эффективно.
Выводы по
технологическому разделу
Ниже изложены основные принципиальные выводы, проблемы разработки
Илькинского месторождения. Основной проблемой текущего состояния разработки
является высокая обводненность продукции скважин.
На 01.01.2015 г. из залежи добыто всего 943,6 тыс. т нефти или 57 % от
начально извлекаемых запасов, 1384,0 тыс.т жидкости, в залежь закачено 1899,5
тыс.м3 воды. Накопленная компенсация отбора нефти закачкой воды
достигла 128,7 % [2].
Основной причиной обводнения продукции добывающих скважин являются
заколонных циркуляций ЗКЦ (характерно для скважин удаленных от рядов
нагнетания). Второй причиной обводнения скважин является прорыв фронта нагнетаемой
воды (характерно для добывающих скважин первого ряда от линии нагнетания).
Третьей причиной является негерметичность эксплуатационных колонн.
При строительстве скважин применялась технология наклонно-направленного
бурения с вытекающей проблемой центрирования. Негативным следствием данной
технологии является некачественное цементирование (замещение цемента глинистой
коркой) заколонного пространства (из-за неточного центрирования).
В настоящее время в фонде действующих добывающих скважин находятся 52 скважины.
Разбуривание сетки скважин на Илькинском месторождении осуществлено кустами. На
одном кусту располагаются добывающие, нагнетательные и водозаборные скважины.
Соотношение добывающих и нагнетательных скважин 10:1. Плотность сетки скважин
составляет 32,4 га/скв, в центральных зонах 21,8 га/скв. Фонд водозаборных
скважин образовался за счет вывода обводнившихся скважин и дополнительного
бурения. Фонд нагнетательных скважин в основной своей части образован за счет
перевода добывающих скважин под закачку воды и составляет 12 скважин.
Добывающие скважины эксплуатируются механизированным способом. В фонде
ликвидированных скважин в большей степени скважины, выполнившие свое
назначение, то есть те скважины, в которых после эксплуатации (нагнетания)
основных пластов нет возвратных объектов [5].
По состоянию на 1.01.2015 г. на Илькинском месторождении в эксплуатацию
из бурения и освоения введено 11 скважин, из нагнетательного фонда введены две
новые добывающие скважины, из разведки (консервации) введено шесть скважин.
Наибольшее количество аварий приходится на погружные электродвигатели и кабель.
Одной из причин аварийности является повышенное содержание механических
примесей. Большое количество отказов ЭЦН произошло из-за снижения подачи.
В последние годы существует тенденция роста числа отказов по причине
снижения подачи. Из этого следует, что на скважинах необходимо грамотно
произвести подбор оборудования и установить его технологический режим работы,
для извлечения оптимального режима работы системы пласт-насос. Разработка и
внедрение мероприятий, направленных на согласованную работу пласт-насос,
является резервом повышения эффективности работы насосного фонда скважин всей
системы эксплуатации месторождения в целом.
Из анализа фонда, оборудованного УЭЦН, следует, что имеются значительные
резервы по глубине и забойному давлению (динамическому уровню) для наращивания
отборов по скважинам. В некоторых скважинах требуется замена оборудования по
двум причинам: значительное превышение номинальной подачи насоса над фактическим
дебитом скважины и большая глубина спуска насоса при высоком динамическом
уровне.
На основе анализа технических характеристик работы механизированных (ЭЦН)
скважин ОЦДНГ - 1 НГДУ «Туймазанефть» за 2015 год можно увеличить дебит скважин
за счет производительности и напора насосов (смена УЭЦН в процессе планового
ремонта).
Направлениями повышения эффективности использования скважин с УЭЦН
являются: повышение текущего дебита скважин; повышение коэффициента
использования фонда скважин; сохранение и восстановление коллекторских свойств
ПЗС; проведение оптимизации режимов работы скважин и, где это необходимо,
замена оборудования.
В целом реализованная система разработки обеспечивает эффективную
выработку запасов. Перспективы повышения эффективности разработки месторождения
заключаются в добуривании объектов, подключении ранее недренируемых запасов в
менее продуктивных пластах, ограничение водопритока, проведение РИР в скважинах
с заколонной циркуляцией, дальнейшее развитие и совершенствование системы заводнения.
Также на месторождении практически не ведется добыча газа отдельно, газ
добывается лишь попутно с нефтью. Следует задуматься о перспективе добычи газа
из газовых шапок залежей.
III.
ЭКОНОМИЧЕСКИЙ РАЗДЕЛ
3.1
Организационная и технико-экономическая характеристика Октябрьского цеха добычи
нефти и газа
Разработкой Илькинского месторождения занимается Октябрьский цех добычи
нефти и газа (ОЦДНГ-1) НГДУ «Туймазанефть».
В основе организационного построения цеха лежат особенности
технологического и определяемого им производственного процессов добычи нефти и
газа.
Организационная структура это система внутрипроизводственных
подразделений и служб предприятия, которые соответствуют и взаимосвязываются
между ними. Главные показатели, которые характеризуют производственную
структуру предприятия, это число цехов и других подразделений и их удельное
значение в производстве. Организационная структура Туймазинского цеха добычи
нефти и газа (ОЦДНГ-1) представлена на рисунке 10.
Общее и административное руководство предприятием осуществляет
руководитель - начальник управления. Он отвечает за результаты
производственно-хозяйственной деятельности.
Начальник ЦДНГ с помощью подведомственного ему аппарата направляет работу
предприятия по производству продукции, определяет пути и методы выполнения
задания народнохозяйственного плана, а так же внедрению новой и
совершенствованию действующей техники, технологии и организации производства,
помогает вовремя обеспечить производства необходимыми материально-техническими
средствами, отвечает за выполнение обязательств перед государством.
Руководитель осуществляет планирование: производства, финансирования,
капитального строительства, материально-технического снабжения. Служба главного
инженера выполняет важнейшие работа по управлению - организации непосредственно
производства, и является техническим руководством по совершенствованию техники
и технологии.
Рисунок 10 - Организационная структура Октябрьского цеха добычи нефти и
газа №1
Главный инженер возглавляет научно-исследовательские и рационализаторские
работы на предприятии, отвечает за проведение правильной технической политики
на предприятии и руководит всеми производственными цехами,
конструкторских бюро, лабораториями.
Главный инженер является первым заместителем начальника. Он осуществляет
руководство предприятием через службы, которые непосредственно подчиняются ему,
а это: технический, производственный, охраны труда и техники безопасности,
технологический, отделы главного механика, главного энергетика.
Задачами технического отдела является обеспечение совершенствования
техники и технологии производства. Главная задача технологического отдела -
разработка месторождений (в НГДУ).
Отдел охраны труда занимается контролированием соблюдения правил техники
безопасности, промышленной санитарии, охраны труда. Этот отдел разрабатывает
профилактические мероприятия для недопущения промышленного травматизма,
профессиональных заболеваний, повышению уровня техники безопасности, культуры
производства.
Главный геолог является вторым заместителем начальника. Главной задачей
этого отдела является выбор и обоснование основных направлений
поисково-разведочных работ. Особые функции в управлении производством
нефтегазодобывающих предприятий выполняет геологический отдел
Разработкой и анализом выполнения оперативных планов-графиков,
производственной программы, организационно-технических мероприятий занимается
производственного отдела. Главный механик с подчиненными ему отделом главного
механика и ремонтными цехами, занимается обеспечением бесперебойной и
качественной работы технологического оборудования, а так же он организует
контроль и текущее обслуживание оборудования, составляет графики
планово-предупредительного ремонтов.
Главный энергетик в ответе за бесперебойну подачу электроэнергии на
производственные объекты и ремонт энергетического оборудования. - Определение
потребности предприятия в различных видах энергии является задачей главного
энергетика и его отдела .
Заместитель начальника по экономике возглавляет экономическую службу
предприятия. Он осуществляет руководство работами по анализу и планированию
производственно-хозяйственной деятельности предприятия, по наиболее полному и
целесообразному использованию материальных, денежных и трудовых ресурсов. Ему
подчиняются отделы: планово-экономический, лаборатория технико-экономического
анализа , организации труда и заработной платы.
Планово-экономический отдел координирует всю плановую работу на
предприятии, обеспечивает учет и контроль выполнения плановых заданий,
разрабатывает текущие и перспективные планы, организует хозрасчет.
Отдел организации труда и заработной платы занимается работой по
планированию научной организации труда, заработной платы, затрат труда, и
анализ использования трудовых ресурсов предприятия, выявляет наиболее
целесообразные формы оплаты труда, а так же осуществляет техническое
нормирование, организует социалистическое соревнование.
Бухгалтерия, подчиняется непосредственно начальнику управления. Она
осуществляет учет денежных расходов предприятия, заработной платы, основных и
оборотных средств; занимается планированием, учетом и анализом финансов,
рассчитывает доходы и расходы предприятия; осуществляет оперативную финансовую
работу по обеспечению предприятия денежными средствами, расчеты с поставщиками
и потребителями, выполняет приходно-расходные операции через кассу управления.
Отдел кадров, подчиняется заместителю начальника по кадрам, занимается
подбором и комплектует кадры, принимает вновь устроившихся и увольняет,
анализирует движение работников и дополнительно занимается вопросами их
технического обучения.
.2
Экономическая характеристика НГДУ «Туймазанефть»
Технико-экономические показатели (ТЭП) - являются индикаторами
деятельности предприятия на многие года вперёд. Значение ТЭП заключается в
исследовании выполнения производственных программ и обнаружения внутренних
экономических резервов, усовершенствовании использования производственных
ресурсов нефтяной компании.
Как подмечалось ранее, Илькинское месторождение находится на поздней
стадии разработки, мы наблюдаем спад добычи нефти. Поэтому было бы важно
уделить большое внимание новым технологиям сбора и подготовки нефти, газа и
воды.
Основные технико-экономические показатели работы НГДУ «Туймазанефть»
представлены в таблице 21.
Таблица 21
Основные
технико-экономические показатели НГДУ «Туймазанефть»
|
Показатели
|
2015 г.
|
2016 г.
|
% к 2015
|
|
Объем добычи, тыс. т
|
1633,632
|
1645,199
|
100,7
|
|
Среднесуточный дебит
скважин по нефти, т/сут
|
1,8
|
1,9
|
105,5
|
|
Эксплуатационный фонд
скважин, шт.
|
2546
|
2570
|
100,9
|
|
Коэффициент эксплуатации
|
0,955
|
0,947
|
99,2
|
|
Численность ППП, чел.
|
475
|
468
|
98,5
|
|
Производительность труда,
т/чел.
|
3439
|
3515
|
102,2
|
|
Полная себестоимость
товарной нефти, тыс. руб.
|
4181575
|
3791525
|
106,8
|
|
Себестоимость 1 т нефти,
руб.
|
2670,12
|
2304,60
|
101,6
|
3.3 Расчет
экономической эффективности
В данном дипломном проекте мною предложено провести оптимизацию
технологического режима работы со сменой типоразмера насоса на более
производительный УЭЦН в скважинах Илькинского месторождения. Экономический
эффект образуется за счет получения дополнительной добычи нефти и газа в
результате оптимизации режима работы скважины
Дополнительная добыча от увеличения дебита при смене насоса
, (5.1)
где
и
- среднесуточный дебит по группе скважин до и после смены
насосов, т/сут; 365 - количество дней в году;
- коэффициент эксплуатации скважин;
- расход нефти на проведение мероприятия и потери нефти в
результате простоя скважины при проведении мероприятия, тонн.
Расход нефти на проведение мероприятия и потери нефти в результате
простоя скважины при проведении мероприятия

т - для скважины №1681, (5.2)
где
- дебит нефти данной скважины до проведения мероприятия,
т/сут;
- время проведения мероприятия, сут,

т/год.
Дополнительная добыча нефти составляет:
т/год
Аналогично рассчитаем прирост добычи нефти и потери нефти по другим
скважинам. Результаты расчета сведены в таблицу 22.
Таблица 22
Прирост объема добычи нефти
|
Номер скважины
|
Фактический дебит нефти,
т/сут
|
Проектный дебит нефти,
т/сут
|
Потери нефти
|
Прирост добычи нефти, т/год
|
|
1681
|
9,9
|
14,85
|
25,465
|
1685,52
|
|
1862
|
15,2
|
22,8
|
39,07
|
2587,9
|
|
1856
|
3,6
|
5,4
|
9,2
|
612,98
|
|
Итого:
|
-
|
-
|
-
|
4886,4
|
.4 Расчет
себестоимости дополнительной добычи нефти
Далее необходимо определить по статьям калькуляции, как изменится
себестоимость добычи нефти на основании данных НГДУ.
Таблица 23
Результаты оптимизации режима работы скважин Илькинского месторождения
|
До
|
После
|
Отклонение
|
|
№ скважины
|
Марка насоса
|
N, кВт
|
Марка насоса
|
N, кВт
|
ΔN, кВт
|
|
1681
|
ЭЦН5-30-1850
|
32
|
ЭЦНМ5-30-1700
|
17,94
|
-14,06
|
|
1862
|
ЭЦН5-25-1950
|
32
|
ЭЦН-80-2500
|
31,73
|
-0,27
|
|
1856
|
ЭЦН5-45-2100
|
28
|
ЭЦНМ5-60-2300
|
22,76
|
-5,24
|
|
Итого:
|
-
|
92
|
-
|
72,43
|
-19,57
|
Расходы на электроэнергию для извлечения нефти:
) расходы за потребленную энергию
тыс. руб.
где ΔN - изменение мощности, кВт; 365 - количество дней в
году;
Кэ - коэффициент эксплуатации скважин;
Ц1 - цена 1 кВт/ч.
) плата за установленную мощность
руб.,
где ΔN - изменение мощности, кВт;
1,05 - перевод в мощность трансформатора, 5% - потери;
Ц2 - цена 1 кВт.
3) стоимость содержания электросетей
руб.
Расходы на энергию для извлечения нефти
тыс. руб. (5.3)
Расходы по искусственному воздействию на пласт

тыс. руб., (5.4)
где
- удельные затраты на 1 тонну нефти по статье «Расходы по
искусственному воздействию на пласт», руб./т
- удельный вес условно-переменных затрат по данной статье в
калькуляции себестоимости.
Расходы по сбору и транспортировке нефти

тыс.руб. (5.5)
где
- удельные затраты на 1 тонну нефти по статье «Расходы по
сбору и транспортировке нефти», руб./т;
- удельный вес условно-переменных затрат по данной статье в
калькуляции себестоимости.
Расходы по технологической подготовке нефти

тыс. руб., (5.6)
где
- удельные затраты на 1 тонну нефти по статье «Расходы по
технологической подготовке нефти», руб./т;
- удельный вес условно-переменных затрат по данной статье в
калькуляции себестоимости.
В статью «Расходы на содержание и эксплуатацию оборудования» включены
затраты, связанные с эксплуатацией наземного и подземного оборудования скважины
и их содержанием.
Расходы на эксплуатацию и содержание подземного и наземного оборудования
включены из затрат прокатно-ремонтного цеха электрооборудования и
электроснабжения, прокатно-ремонтного цеха эксплуатационного оборудования, цеха
подземного ремонта скважин и автоматизации производства.[3] Расчета затрат
необходимых для проведения мероприятия составляется смета и наряд затрат,
которые приведены в таблице 24.
Таблица 24
Наряд на смену насоса
|
Наименование работ
|
Нормированное время, час.
|
|
Переезд на скважину Т-130
по неуд. дороге
|
3,84
|
|
Глушение скважины,
опрессовка насосно компресорной трубы, разрядка
|
4,4
|
|
Монтаж, демонтаж А-5-40 на
п/скв
|
2,24
|
|
Разборка, сборка устьевой
арматуры
|
1,7
|
|
Смена УЭЦН на насосно
компресорном трубопроводе -2.5”
|
24,21
|
|
Подготовка труб к работе
(наворот п/колец)
|
0,41
|
|
Замер насосно компресорного
трубопровода
|
1,01
|
|
Подтаск. и укладка насосно
компресорной трубы - 2,5 на мостки
|
1,61
|
|
Подготовка труб к работе
(отворот п/колец)
|
0,41
|
|
Замер насосно компресорной
трубы
|
1,01
|
|
Спуско-подьемные операции
скош. и шаблона на НКТП-2,5 с промывкой
|
14,19
|
|
Отбивка забоя
|
4
|
|
Уборка рабочей зоны после
ремонта
|
0,67
|
|
Вызов подачи, опрессовка
|
2
|
|
Итого
|
61,7
|
Проведем расчет затрат на осуществление данного мероприятия.
Данное мероприятие произведёт бригада по подземному ремонту скважин, в
состав которой входят: помощник оператора и оператор ПРС 5 разряда.
Исходя из времени работы транспорта и расценок за час работы определим
транспортные расходы:
Цеховые расходы составляют 15,32 % от общих затрат.
Таблица 25
Смета затрат на проведение подземного ремонта скважины
|
Статьи затрат
|
Количество
|
Цена за ед., р.
|
Сумма, руб.
|
|
Основная и дополнительная
зарплата
|
|
Часовые тарифы:
|
|
|
|
|
оператор ПРС 5 разряда,
чел.
|
1
|
65
|
65
|
|
- помошник оператора ПРС,
чел.
|
1
|
56
|
56
|
|
Итого тариф:
|
-
|
-
|
121
|
|
Премия, процент от тарифа
|
140
|
-
|
169,4
|
|
Районный коэффициент, %
|
15
|
-
|
43,56
|
|
Итого зарплата за 1 час
|
-
|
-
|
333,96
|
|
Всего зарплата, час:
|
29,74
|
-
|
9931,97
|
|
Отчисления на соцнужды, %
|
30,2
|
-
|
2999,45
|
Далее определим затраты на амортизацию оборудования при ПРС по формуле:
руб, (5.9)
где
- затраты на один нормо-час, руб/час;
- длительность ремонта, час.
Смета затрат на проведение данного мероприятия предоставленв в таблице
27.
Таблица 26
Смета затрат на транспортные расходы
|
Наименование транспортных
средств
|
- стоимость одного часа работы транспортных
средств, руб/час
|
- время работы транспортных средств, час.
|
Сумма,руб.
|
|
Подъемник А5-40
|
853,2
|
61,7
|
52642,44
|
|
ЦА-320-Урал
|
750,8
|
6,1
|
4579,88
|
|
АЦ-8
|
694
|
12,2
|
8466,8
|
|
Т-130
|
710
|
3,8
|
2698
|
|
Прочий транспорт
|
188
|
61,7
|
11599,6
|
|
Итого
|
|
|
79986,72
|
Таблица 27
Смета затрaт
|
Статьи затрат
|
Сумма, рублей
|
|
Основная и дополнительная
заработная плата
|
20605,332
|
|
Отчисления на социальные
нужды
|
2999,45
|
|
Амортизация
|
11617,9
|
|
Транспортные расходы
|
79986,72
|
|
Цеховые расходы
|
15371,8
|
|
Итого
|
130581,2
|
Таблица 28
Себестоимость добычи нефти до и после проведения оптимизации режима
работы скважин
|
Статьи затрат
|
До внедрения мероприятия
|
После внедрения мероприятия
|
Изменение затрат
|
|
всего
|
на т.нефти
|
|
|
|
1
|
2
|
3
|
4
|
5
|
|
Расходы на энергию по
извлечению нефти, тыс.руб
|
446206
|
271,22
|
445752,4
|
-453,62
|
|
Расходы по искусственному
воздействию на пласт, тыс.руб
|
557152
|
338,65
|
558806,8
|
1654,779
|
|
Основная зарплата
производственных рабочих, тыс.руб
|
20605,3
|
12,52
|
20605,3
|
-
|
|
Отчисления на социальные
нужды, тыс.руб
|
34181
|
20,77
|
34181
|
-
|
|
Амортизация скважин,
тыс.руб
|
309788
|
188,29
|
309778
|
-
|
389300
|
236,62
|
390456,1
|
1156,122
|
|
Расходы по технологической
подготовке нефти, тыс.руб
|
413031
|
251,05
|
414257,7
|
1226,73
|
|
Расходы по эксплуатации
оборудования, тыс.руб
|
950507
|
577,74
|
950637,58
|
130,581
|
|
Цеховые расходы, тыс.руб
|
148224
|
90,09
|
148224
|
-
|
|
Общепроизводственные
расходы, тыс.руб
|
522531
|
317,60
|
522531
|
-
|
|
Итого затрат, тыс.руб
|
3791525
|
2304,6
|
3795229,88
|
3714,59
|
|
Добыча нефти, тыс.т
|
1645,199
|
|
1650,085
|
4,886
|
|
Себестоимость добычи 1
тонны нефти, руб.
|
2304,60
|
|
2300,02
|
-4,58
|
После проведения мероприятия себестоимость 1 тонны нефти определим по
формуле
С=(3791525+3714,59)/(1645,199+4,886)=2300,02
4.4 Расчет годового экономического эффекта
Экономический эффект определяется по формуле
, (5.12)
где
- стоимостная оценка результ, тыс.руб;
- стоимостная оценка затрат, тыс.руб.
Определяется стоимостную оценку результата по формуле
тыс.р. (5.13)
где
- оптовая цена реализации 1 тонны нефти, руб.
, (5.14)
где И - годовые текущие издержки при использовании продукции, руб.;
К - единовременные затраты при использовании продукции, руб.
Поскольку смена насоса производится при проведении планового подземного
ремонта, следовательно единовременные затраты равны К=0.
тыс.руб.
Э=24527,7-3714,59=20813
тыс. руб.
Оставшаяся прибыль в распоряжении предприятия, расчитывается по формуле:
(5.15)
где Н - процентная ставка налога на дополнительную прибыль, %.
тыс.руб.
В результате проведения оптимизации определяем изменение
производительности труда по формуле:
% (5.16)
где
- среднесписочная численность до и после внедрения
мероприяти
А1, А2- объем продукции до и после внедрения мероприятия.
%
За счет проведения мероприятия, снижение себестоимости продукции
(
) рассчитывается по формуле:
%, (5.17)
где
- себестоимость добычи нефти до и после внедрения
мероприятия, руб.
Результаты расчетов объединены в таблицу 29.
Таблица 29
Экономическая эффективность оптимизации работы скважин, оборудованных
УЭЦН
|
Показатели
|
До проведения мероприятия
|
После проведения
мероприятия
|
Абсолютное отклонение +,-
|
|
Объем добычи нефти, тыс.т
|
1645,199
|
1650,085
|
4,886
|
|
Себестоимость 1 тонны
нефти, руб/т
|
2304,60
|
2300,01
|
-4,59
|
|
Стоимостная оценка
результатов, тыс.руб
|
-
|
24527,7
|
24527,7
|
|
Стоимостная оценка затрат,
тыс.руб
|
-
|
3699,7
|
3699,7
|
|
Экономический эффект,
тыс.руб
|
-
|
20813
|
20813
|
|
Прирост прибыли, остающейся
в распоряжении предприятия, тыс.руб
|
-
|
16650,4
|
16650,4
|
|
Производительность труда,
т/чел
|
3515,38
|
3525,78
|
10,4
|
Выводы по
экономическому разделу
Исходя из выше проведенных расчетах, проведение оптимизации в
предлагаемых скважинах рационально и подтверждается экономической
эффективностью.
В итоге проведения мероприятия увеличится прибыль, остающаяся в
распоряжении предприятия, а также увеличится производительность труда и
снизится себестоимость добываемой продукции.
В результате оптимизации режима работы скважины получена дополнительная
добыча нефти равная 4886,4 т/год, экономический эффект 20813 тыс. руб.
ЗАКЛЮЧЕНИЕ
Рассматриваемое в дипломном проекте Илькинское месторождение
разрабатывается с 1980 года, находится на последней стадии разработки,
основными объектами являются Девононская и Каменоугольная система.
Продуктивными пластами являются пласт Дкн1 и Дкн2 кыновского
горизонта. Из полезных ископаемых, кроме нефти и попутного газа, есть
строительные материалы (песчанник, известняк, гравий, гипс), каменный уголь,
медистые песчанники.
По состоянию на 1.01.2015 г. на Туймазинском месторождении в эксплуатацию
из бурения и освоения введено 11 скважин, из нагнетательного фонда введены две
новые добывающие скважины, из разведки (консервации) введено шесть скважин.
Наибольшее количество аварий приходится на погружные электродвигатели и кабель.
Одной из причин аварийности является повышенное содержание механических
примесей. Большое количество отказов ЭЦН произошло из-за снижения подачи. В
последние годы существует тенденция роста числа отказов по причине снижения
подачи. Из этого следует, что на скважинах необходимо грамотно произвести
подбор оборудования и установить его технологический режим работы, для
извлечения оптимального режима работы системы пласт-насос.
Разработка и внедрение мероприятий, направленных на согласованную работу
пласт-насос, является резервом повышения эффективности работы насосного фонда
скважин всей системы эксплуатации месторождения в целом.
Проанализировав фонд оборудованный УЭЦН, я заметил низкую эффективность
эксплуатации УЭЦН с такими параметрами, и что имеются значительные резервы по
глубине и забойному давлению (динамическому уровню) для наращивания отборов по
скважинам.
В некоторых скважинах даже требуется замена оборудования по двум
причинам: значительное превышение номинальной подачи насоса над фактическим дебитом
скважины и большая глубина спуска насоса при высоком динамическом уровне.
Направлениями повышения эффективности использования скважин с УЭЦН
являются: повышение текущего дебита скважин; повышение коэффициента
использования фонда скважин; сохранение и восстановление коллекторских свойств
ПЗС; проведение оптимизации режимов работы скважин и, где это необходимо,
замена оборудования.
В результате оптимизации трёх скважин Илькинского месторождения добились
прироста дополнительной добычи нефти, вследствие того, что были установлены
более производительные насосы, ежегодный прирост по скважинам составил 4886,4
т/год. Так же добились снижения затрат на электроэнергию для извлечения нефти с
446206 тыс. руб. до 445752,4 тыс. руб. т.е на 453,62 рубля дешевле.
После оптимизации режимов эксплуатации скважин, оборудованных установками
ЭЦН, себестоимость одной тонны нефти уменьшилась с 2304,60 руб/т до 2300,02
руб/т т.е. на 4,58 руб. за одну тонну добываемой нефти, Прирост прибыли
составил 16650,4 тыс. руб. Экономический эффект данного мероприятия составил
20813 тыс. руб.
СПИСОК
ИСПОЛЬЗОВАННЫХ ИСТОЧНИКОВ
1. Проект
разработки Илькинского нефтяного месторождения, БашНИПИнефть, Уфа, 1987. -
130с.
2. Годовые
отчеты ООО «НГДУ Туймазанефть» за 2014, 2015г.
. Малышев
Ю.М., Тищенко В.Е. Экономика нефтяной и газовой промышленности. Учебник для
нефтяных техникумов. 2-е изд., перераб. и доп. - М., «Недра», 1980.
. Сыромятников
Е.С., Ястремская В.Б. Организация и планирование производства на предприятиях
нефтяной и газовой промышленности, 2-е изд., перераб. и доп., - М., «Недра» ,
1978.
. Борхович
С. Ю., ДрачукВ. Р., Насыров А. М. Методическое пособие по выполнению выпускной
квалификационной работы для студентов очной и заочной форм обучения направления
подготовки бакалавров 21.03.01 - «Нефтегазовое дело», Ижевск, 2015
. Зейгман
Ю.В., Гумеров О.А., Генералов И.В. Выбор оборудования и режима работы скважин с
установками штанговых и электроцентробежных насосов: Учеб. пособие. -Уфа:
Изд-во УГНТУ, 2000. - 120 с.
. Валиханов
А.В. Подземный ремонт насосных скважин, 1978. - 200с.
. Жданов
М.А. Нефтепромысловая геология и подсчет запасов нефти и газа. Уч. пособие для
вузов. 2-е изд., - М., Недра, 1981. - 452 с.
. Хасанов
Э.М., Кагарманов И.И., Пупченко И.Н. Особенности эксплуатации УЭЦН: Уч.
пособие. - Самара: ИД «РОСИНГ», 2006. - 216 с.
. Справочник
по нефтепромысловому оборудованию под редакцией Бухаленко Е.И. М., «Недра»,
1990).
11. http://perviydoc.ru/v25286
. http://sdamzavas.net/2-48657.html