Изготовление банок для кофе

  • Вид работы:
    Курсовая работа (т)
  • Предмет:
    Другое
  • Язык:
    Русский
    ,
    Формат файла:
    MS Word
    259,02 Кб
  • Опубликовано:
    2016-11-30
Вы можете узнать стоимость помощи в написании студенческой работы.
Помощь в написании работы, которую точно примут!

Изготовление банок для кофе

Министерство образования и науки Российской Федерации

НОВОСИБИРСКИЙ ГОСУДАРСТВЕННЫЙ ТЕХНИЧЕКИЙ УНИВЕРСИТЕТ

КАФЕДРА МАТЕРИАЛОВЕДЕНИЯ В МАШИНОСТРОЕНИИ







Расчетно-графическая работа

по курсу «Технологии конструкционных материалов»

Изготовление банок для кофе


Выполнила: Мартыненко Альбина

Группа: ТХ-301

Факультет: МТ

Проверила: Ленивцева О.Г.





Новосибирск, 2015

Введение

Банка - сосуд цилиндрической формы, с широким горлышком для хранения различных веществ.

Рисунок 1 - Стеклянная банка.

На сегодняшний день, много продукции упаковывается в стеклянные банки. Стекло имеет ряд преимуществ. Оно не подвергается коррозии, при хорошей закупорке, минимизирует проникновение влаги и воздуха. Также из стекла не сложно сделать сложную и необычную форму. Поэтому стекло используют в изготовлении элитарных и фирменных изделий, например, таких как банки под кофе.

В данной работе будет рассмотрена технология изготовления банки для кофе из белого стекла, это часто используемый материал, который подходит для множества различных изделий, и не требует особого ухода. Также изделия из такого стекла, просты в изготовлении и не требуют больших затрат на производство.

Технология производства стеклянных банок

В состав стекла входят несколько натуральных сырьевых компонентов. Кварцевый песок или диоксид кремния по ГОСТ 22551-77, как правило, составляет около 45% содержимого. Кальцинированная соль по ГОСТ 5100-85 способствует равномерному плавлению и составляет около 15%. Известняка 10% по ТУ 95-2317-91, он делает готовое стекло более прочным. Эти элементы смешивают с переработанным стеклом. Также используются обесцвечиватели, такие как: селен, оксид церия, оксид кобальта.

Производство стеклянных изделий разделяют на семь этапов:

Второй этап. Сырье (стеклобой, песок, доломит, сода и т.д) перемещают из приемных бункеров в расходные, в которых определяется нужное количество компонентов весовыми дозаторами. Далее происходит смешивание компонентов.

Третий этап. Сырьё подаётся в печное отделение.

Четвёртый этап. Варка стекольной массы в стекловаренных котлах и её подготовка к формованию. Стекольная масса пребывает в печи около 24 часов, при температуре 1500ºС. В результате получается тягучая смесь, по консистенции похожей на мёд.

Пятый этап. Расплавленное стекло выливается в форму и отправляется в печь. Режущая машина, разрезает стекольную массу на части, в результате чего получаются одинаковые цилиндрические отрезки. Одного отрезка хватает на изготовление одной банки. Далее отрезанные части стекольной массы отправляются в формовочные машины. Таким образом, изделиям придается нужная форма.

Шестой этап. Термообработка изделий в печах отжига. (рисунок 2). Она нужна для того чтобы уменьшить внутренние напряжения. Изделия подвергаются нагреву. В противном случае они остыли бы слишком быстро и треснули от перепада температур. После этого банки остывают и их обрызгивают смазочным материалом. Это позволяет им двигаться гладко по проверочной и упаковочной линии.

Седьмой этап. Зрительный контроль качества полученных изделий. Лабораторные испытания на прочность, термостойкость, качество отжига и другие важные качества.

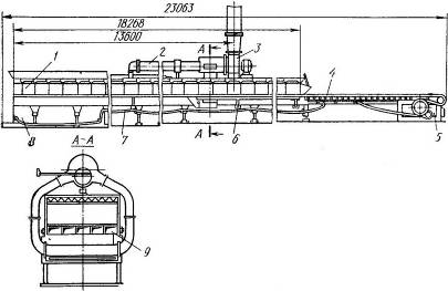
Рисунок 2 - Схема муфельной отжигательной печи.

- туннель, 2 - трубопровод, 3 - вентилятор, 4 - сортировочная рама,

- приводная станция, 6 - золотник, 7 - сетчатый конвейер,

- топочная камера, 9 - подовые каналы

В муфельной отжигательной печи полученные изделия двигаются по сетчатому конвейеру 7, проходя все необходимые этапы отжига. Такие печи очень эффективны, потому что в таких печах для термообработки изделий используется тепловая энергия самих изделий.

Муфельная печь состоит из чугунных отделений, соединённых между собой болтами. Верхняя часть нагревается топливом, которое впоследствии расходуется в топочной камере 8. По трубопроводу 2 и по подовым каналам 9 перемещаются переработанные продукты горения к вентилятору 3 ,который отсасывает нежелательные газы. Золотники 6 нужны для транспортировки в печь охлаждённого воздуха, при перегреве. В охлажденном отсеке за туннелем 1 находится открытый конвейер для завершающего охлаждения банок или бутылок. Сетчатый конвейер перемещается приводом 5.

Технология изготовления крышки для банки

Крышка для банки будет из полиэтилентерефталата, сокращённо его называют ПЭТ-пластик. Я выбрала такой материал, потому что крышки из такого материала будут обладать свойствами, которые идеально подходят для закупорки пищевой продукции. Они отличаются хорошей плотностью посадки на горлышке банки или бутылки. Пэт-пластик не тактичен, обладает неплохой водостойкостью, такой пластик можно окрасить в любой цвет. У него гладкая поверхность и он легко моется. ПЭТ-пластик облучают ультрафиолетовым излучением, после такой операции он становиться совершенно безопасным для здоровья, и не даёт посторонних запахов или вкусов на продукцию. Также такой пластик сложно разбить, поэтому изделия из него удобно транспортировать. ПЭТ-пластик подлежит вторичной переработке. Крышка из такого пластика сохранит вкусовые и ароматические свойства продукта.

Для своей банки, я решила выбрать обычную герметичную винтовую крышку для емкостей с широким горлышком. (рисунок 3) Такая крышка по типу относиться к крышкам герметичного закрытия. Благодаря своей винтовой резьбе она плотно прилегает к горлышку банки и не пропускает нежелательную влагу и воздух.

 

Рисунок 3 - Крышка для ёмкости с широким горлышком.

Крышки для банок из полиэтилентерефталата необходимо производить литьем под давлением.

Литье под давлением - процесс, при котором материал переводится в вязко-текучее состояние и затем впрыскивается под давлением в форму, где происходит оформление изделия.


Рисунок 4 - Термопластоавтомат.

- узел смыкания, 2- пресс-форма, 3-блок ЧПУ, 4- узел пластикации,

- загрузочный бункер, 6- двигатель, 7- гидравлическая система.

банка крышка полиэтилентерефталат термопластоавтомат

Сырьем для литья служат гранулы полиэтилентерефталата. Эти гранулы необходимо засыпать в приемный бункер термопластавтомата. Далее гранулы ссыпаются в шнек машины, там он расплавляется и под силой поршня с высоким давлением подается в пресс-форму. После расплав проходит по литниковым каналам и с высокой скоростью заполняет пресс-форму. Когда материал остывает нужно раскрыть пресс-форму и достать готовую деталь.

Заключение

В данной работе была разработана банка для кофе из стекла, с закрывающейся пластмассовой крышкой. Я обдумала и выбрала те материалы, которые показались мне наиболее подходящие для такого изделия. Банка является одним из самых главных предметов на кухне. В современном мире невозможно представить жизнь без этого атрибута. И назначение его зависит от формы, размера и качества. Сама банка должна быть однородной консистенции и однородного цвета, это признак того, что банка выполнена правильно и из качественных материалов.

Несомненно, неотъемлемой частью банки является крышка, она также должна соответствовать нормам. Она должна быть без трещин и повреждений. Это очень важно. Если крышка будет плохой продукт, который находится в банке, может испортиться. Поэтому нужно тщательно выбирать материалы для изготовления банки и крышки.

Список литературы

ГОСТ 304007-96 Посуда и декоративные изделия из стекла. Общие технические условия.

ГОСТ Р 54494-2011 Тара стеклянная. Дефекты стекла и изделий из него. Термины и определения.

ГОСТ 259330-83 Крышки пластмассовые для цилиндрических соединителей. Технические условия.

Термопластавтоматы: Разновидности и принцип действия. URL: http://plastinfo.ru/information/articles/56/

Муфельные печи. Энциклопедия по машиностроения XXL. URL: http://mash-xxl.info/info/341466/

Литьё под давлением// Полимерные материалы URL: http://www.polymerbranch.com/termoplast/view/6.html.

Титов Н.Д. Степанов Ю.А. Технология литейного производства М.: Машиностроение 1985, 400с.

Похожие работы на - Изготовление банок для кофе

 

Не нашли материал для своей работы?
Поможем написать уникальную работу
Без плагиата!
Без нейросетей!