Разработка интеллектуальной системы диагностики повреждения трубопровода

  • Вид работы:
    Дипломная (ВКР)
  • Предмет:
    Информационное обеспечение, программирование
  • Язык:
    Русский
    ,
    Формат файла:
    MS Word
    1,16 Мб
  • Опубликовано:
    2017-04-16
Вы можете узнать стоимость помощи в написании студенческой работы.
Помощь в написании работы, которую точно примут!

Разработка интеллектуальной системы диагностики повреждения трубопровода

Аннотация

Данная работа посвящена разработке Интеллектуальной системы диагностики повреждения трубопровода.

Работа состоит из трех основных частей. Первая часть включает описание организации, для которой разрабатывается система, ее организационную структуру, вербальное описание и анализ процессов диагностики повреждений трубопровода. Также приводится обобщенная структура системы, обоснование актуальности разработки и постановка задачи.

Вторая часть посвящена разработке модели продукционной базы знаний для Интеллектуальной системы. В ней приводится обзор методов представления знаний и выбор оптимального для описываемой системы, приводится описание создания базы знаний и описание разработки механизма логического вывода.

Третья часть освещает экономические вопросы реализации Интеллектуальной системы поддержки принятия решения и включает описание концепции проекта, определение этапа жизненного цикла проекта.

Abstract

work is devoted to the development of diagnostic expert system of pipeline damage.paper consists of three main parts. The first part includes a description of the organization for which the expert system is developed, its organizational structure, verbal description and analysis of the process of eye diseases diagnosis. It also summarizes the structure of the system, includes the rationale for the relevance of the development and formulation of the problem.second part is devoted to developing a model of a product knowledge base for expert system. It provides an overview of the methods of knowledge representation, a description of a knowledge base, and a description of the development of inference engine.

The third part covers the economic issues of implementation of the expert system diagnostics and includes a description of the project concept, the definition phase of the project life cycle.

Содержание

Введение

. Общесистемная часть

.1 История и краткая характеристика Karachaganak petroleum operating

.2 Организационная и функциональная структура Karachaganak petroleum operating

.3 Структурный системный анализ предметной области

.3.1 Физическая сущность процессов управления (вербальное описание)

.3.2 Анализ вербального описания. Выявление объектов проблемной области

.4 Использование современных технологий анализа предметной области, методология ERWin

.5 Структура «Интеллектуальной системы поддержки принятия решения при эксплуатации трубопровода"

.5.1 Подсистема приобретения знаний

.5.2 База знаний

.5.3 Подсистема вывода. Способы логического вывода

.6 Структура разрабатываемой «Интеллектуальной системы поддержки принятия решения при эксплуатации трубопровода"

.7 Техническое и программное обеспечение «Интеллектуальной системы поддержки принятия решения при эксплуатации трубопровода"

.8 Информационное обеспечение «Интеллектуальной системы поддержки принятия решения при эксплуатации трубопровода"

.9 Обзор научно-технической литературы

.10 Постановка задачи «Интеллектуальной системы поддержки принятия решения при эксплуатации трубопровода"

. Специальная часть

.1 Методы Интеллектуальных систем

.1.1 Методы приобретения знаний

.1.2 Методы представления знаний

.2 Создание Базы Знаний

.2.1 Вербальное описание процесса

.2.2 Структура Базы Знаний

.2.3 Построение дерева решений задачи «ИС поддержки принятия решений при эксплуатации трубопровода»

.3 Построение дерева решений «Интеллектуальной системы поддержки принятия решения при эксплуатации трубопровода»

.4 Модели Базы Знаний

.4.1 Концептуальная модель

.5 Разработка механизма логического выхода

.6 Инструкция пользователя

. Экономическая часть

.1 Концепция проекта

.2 Оценка эффективности проекта

.2.1 Расчет сметы затрат по проекту

.2.2 Схема формирования цены на программный продукт

.2.3 Выбор источников финансирования проекта

.2.4 Расчет ожидаемой прибыли

.3 Жизненный цикл проекта, жизненный цикл ЗАО «КПО», жизненный цикл ИСППР при эксплуатации трубопровода

.3.1 Жизненный цикл ЗАО "КПО"

.3.2 Жизненный цикл ИСППР при эксплуатации трубопровод

Заключение

Список источников информации

Введение

база знаний модель логический

Двадцатый век насыщен многими событиями, которые будоражили и потрясали земную цивилизацию. Шла борьба за передел мира, за сферы экономического и политического влияния, за источники минерального сырья. Среди этого клокочущего страстями человеческого общества выделяется стремление обладать ресурсами «черного золота» и газа, столь необходимых для прогрессивного развития промышленности.

Ни одна проблема, пожалуй, не волнует сегодня человечество так, как топливо. Топливо - основа энергетики, промышленности, сельского хозяйства, транспорта. Без топлива немыслима жизнь людей. Именно поэтому крайне важно развивать базы знаний которые позволять в кратчайшие сроки помочь неопытным инженерам стать высококлассными специалистами в газовой промышленности.

Предтечи интеллектуальных систем в области газодобывающей промышленности были предложены еще в первой половине 19 века в далеком 1832 году российским изобретателем С.Н. Корсаковым, создавшим механические устройства, так называемые «интеллектуальные машины», позволявшие находить решения по заданным условиям, например, определять наиболее вероятные причины поломки оборудования.

Корсакова можно смело назвать первооткрывателем отечественной и мировой информатики, искусственного интеллекта. В 1832 году поставил задачу усиления возможностей разума посредством разработки научных методов и устройств, перекликающуюся с современной концепцией искусственного интеллекта, как усилителя естественного. Предложил пять механических устройств, так называемых “интеллектуальных машин” для информационного поиска и классификации, в конструкции которых впервые в истории информатики применил перфорированные карты. В работах Корсакова содержится целая плеяда новых для того времени идей, которые мы сегодня можем назвать как многокритериальный поиск с учетом относительной степени важности различных критериев (весовых коэффициентов), способ обработки больших массивов данных.

Перфорированные карты Корсаков использовал в качестве своего рода “баз знаний”, содержащих связь между сущностями (идеями) и их признаками. Широко известный своими работами, Корсаков пояснял принцип работы своих машин на простом примере поиска необходимых инструментов для ремонта. Высококвалифицированный инженер мог составить перфорированную таблицу, определяющую инструменты (сущности) для ремонта повреждений диагностируемых при осмотре изделия (признаки). Столбцы таблицы могли соответствовать инструментам (сущностям), а строки - неисправностям в механизмах (признакам). Перфорированные отверстия в некоторых строках каждого столбца определяли совокупность неисправностей, для ремонта которых наиболее пригоден соответствующий инструмент. Единожды составленные, такие перфорированные таблицы могли впоследствии легко тиражироваться, и менее квалифицированный газодобывающий работник, например ассистент инженера, мог бы, используя готовую таблицу и машины Корсакова, подобрать перечень необходимых инструментов по непосредственно наблюдаемым у механизма повреждениям, даже не имея возможности точно диагностировать поломку.

В 1832 году Корсаков подал прошение в Императорскую Академию наук в Санкт-Петербурге для рассмотрения его метода и изобретений, кроме того опубликовал брошюру, в которой подробно описал устройство и принципы функционирования изобретенных машин. К сожалению, метод и изобретения Корсакова не были в должной мере оценены современниками, не получили государственной поддержки и были незаслуженно забыты.

В начале 1970х в College Brown University была разработана Интеллектуальная система ENFIXTOOL. Она была написана на Лиспе как докторская диссертация. В той же лаборатории была ранее создана Интеллектуальная система Dendral, но на этот раз внимание было акцентировано на использовании решающих правил с элементами неопределенности. ENFIXTOOL был спроектирован для анализа повреждений трубопроводов, которые в случае не оказания своевременного вмешательства, впоследствии могли привести к серьёзным авариям, таким как утечка или взрыв, а также для рекомендации необходимого количества специалистов и ремонтных бригад зависимости от длины и типа трубы. Название системы происходит от слияния трех слов «Engineer» - инженер, «Fix» - чинить, «Tool» - набор инструментов, то есть те самые компоненты, которыми оперирует данная Интеллектуальная система. Также ENFIXTOOL использовалась для расчетов наиболее удобных маршрутов при прокладывании трубопровода.

Исследования, проведенные в College Brown University, обнаружили, что ENFIXTOOL предлагает приемлемый алгоритм действий примерно в 80% случаев, что лучше, чем у неопытных ассистентов-инженеров по ремонтным работам, которых оценивали по тем же критериям. Это исследование часто цитируют, чтобы продемонстрировать возможную степень несогласия между решениями инженеров, даже если они эксперты, когда нет «золотого стандарта» для правильной последовательности проведения ремонтных работ.

В качестве примера можно привести банальный случай отказа главного датчика давления на одной линии трубопровода. В случае отключения трубопровода из транспортной сети простойка оборудования нанесет слишком большой урон с финансовой точки зрения, поэтому устанавливаются дополнительные датчики меньшей мощности. С другой стороны, если не исключать линию из транспортной сети, то сети информация, получаемая с дополнительных датчиков может оказаться либо не своевременной, либо не достаточно точной, что впоследствии приведет к аварийной ситуации.

Переходя к проблемам диагностики аварийных ситуаций при газодобывающих работах стоит отметить, что основная из них состоит в отсутствии достаточного количества специалистов (экспертов), обладающих необходимыми знаниями и опытом для мгновенного реагирования при чрезвычайных ситуациях. Кроме этого, трудность анализа состоит в необходимости исследования большого количества внешних информации во аварийной ситуации: свойства металлов, опись взрывоопасных элементов в атмосфере и так далее. Более того, аварийные ситуации нуждаются в максимально быстром анализе и ремонте. Таким образом, разрабатываемая Интеллектуальная система по устранению неполадок в трубопроводе должна основываться на знаниях специалистов в области энергетики и позволять использовать эти знания в рабочей деятельности старшего инженера или для обучения и контроля ассистента инженера и младшего ассистента инженера.

Существенным моментом, определяющим актуальность Интеллектуальной системы поддержки принятия решения, является ее эффективность в условиях различных ограничений:

·        дефицита времени на принятие решения, что имеет особое значение при неотложных состояниях и в чрезвычайных случаях;

·        неполноты данных об аварии и невозможности провести анализ, в случае преград и помех: дымовая завеса, едкие и отравляющие вещества, высокие температуры;

·        неопределенности данных, которые не могут быть уточнены инженером, где могут быть использованы методы нечеткой логики;

·        необходимости выбора дополнительных анализов и исследований по критериям диагностической эффективности и возможности их выполнения (с учетом степени угрозы для безопасности промышленного объекта).

Положительный эффект, ожидаемый от реализации и применения Интеллектуальной системы поддержки принятия решения при эксплуатации трубопровода , является совокупностью бонусов, относящихся к группе работников ремонтных отделов, группе инженеров, группе жителей близлежащих поселений: экономия времени на процессе обязательной диагностики и постановки аварийного положения, сокращение упущенного времени при назначении алгоритма для ремонтных бригад, снижение риска неправильной постановки задач для ремонтных бригад, значительное сокращение вероятности выброса вредных и токсичных отходов в атмосферу.

1.      Общесистемная часть

.1 История и краткая характеристика Karachaganak petroleum operating

Карачаганакское месторождение, открытое в 1979 году, является одним из крупнейших газоконденсатных месторождений в мире. Оно расположено на северо-западе Казахстана и занимает территорию более 280 квадратных километров. Его расчетные начальные балансовые запасы углеводородов составляют 9 миллиардов баррелей конденсата и 48 триллионов кубических футов газа, а общие оценочные запасы превышают 2.4 миллиарда баррелей конденсата и 16 триллионов кубических футов газа.

Успешная работа Карачаганакского предприятия зависит от профессиональных знаний и огромного производственного опыта специалистов пяти нефтегазодобывающих компаний: “Би Джи Груп” (29.25 процента), “Эни” (29.25 процента), “Шеврон” (18 процентов), “ЛУКОЙЛ” (13.5 процентов) и "КазМунайГаз" (10 процентов).

Партнеры по Карачаганаку передают свои знания и опыт Республике Казахстан, стараясь наиболее рационально использовать как внутренние, так и внешние возможности, с целью максимального освоения ресурсов месторождения. В 1997 году партнеры по совместному предприятию и Полномочный орган, представляющий правительство Республики Казахстан, учредили компанию в целях освоения Карачаганакского месторождения. Было подписано Окончательное соглашение о разделе продукции (ОСРП), определившее условия совместного развития Карачаганака до 2038 года. С момента подписания этого соглашения в освоение месторождения было инвестировано более 17.6 миллиардов долл. США. В ходе освоения Карачаганака, являющегося одним из самых сложных с технической точки зрения месторождений в мире, применялась самая передовая технология добычи углеводородов.

Сегодня на Карачаганаке достигнут рекордный уровень добычи. Месторождение является крупнейшим газодобывающим предприятием в Казахстане, показатели добычи которого составляют примерно 40 процентов всей добычи газа в Республике и около 13 процентов общего производства жидких углеводородов. В 2013 году на Карачаганаке было добыто примерно 136,03 миллионов баррелей нефтяного эквивалента.

Рис 1. Диаграмма добычи газа за 2014 год в Республике Казахстан

Основные вехи развития Карачаганака:

·        1979 - Открытие Карачаганакского месторождения.

·        1984 - Завершена первая скважина по переработке газа (сегодня УКПГ- 3). Начата добыча газа.

·        1992 - Начало переговоров по Соглашению о разделе продукции между компаниями «Би Джи Груп», «Эни» и Правительством Республики Казахстан.

·        1995 - Подписание Соглашения о принципах раздела продукции.

·        1997 - Присоединение компаний «Шеврон» и «ЛУКОЙЛ» к международному совместному ппредприятию; подписание в ноябре Окончательного соглашения (ОСРП) сроком на 40 лет.

·        1998 - Вступление ОСРП в силу.

·        1999 - Начало строительных работ нефтегазодобывающего комплекса.

·        2000 - Заключен контракт на основные виды работ и высшее предприятия руководство переезжает в Аксай.

·        2001 - Завершение строительства 28-километровой железнодорожной ветки от г. Аксая до Карачаганакского месторождения; запуск новой электростанции на Карачаганакском перерабатывающем комплексе (КПК) Президентом Республики Казахстан Нурсултаном Назарбаевым.

·        2002 - Завершение строительства 635-километрового выходного трубопровода, соединяющего месторождение с нефтепроводом Каспийского трубопроводного консорциума (КТК).

·        2003 - Официальное открытие производственных объектов Второго этапа Президентом Республики Казахстан Нурсултаном Назарбаевым.

·        2004 - Отправка первой партии сырой нефти на Новороссийский нефтеналивной терминал по системе КТК.

·        2005 - Ввод в эксплуатацию четвертого газотурбинного генератора на КПК.

·        2006 - На терминале КТК отгружен 100-миллионный баррель сырой нефти; отправка первой партии нефти по трубопроводу Аксай - Оренбург.

·        2007 - Подписание Соглашения о продаже газа сроком на 15 лет между КПО и «КазРосГаз».

·        2009 - Достижение производственного рекорда в 139.5 миллионов б.н.э.

·        2011 - Запуск 4-й технологической линии стабилизации конденсата на КПК.

·        2012 - НК «КазМунайГаз» официально входит в состав Карачаганакского совместного предприятия.

Добыча и продажа нефти и газа

Добыча и переработка нефти и газа на Карачаганакском месторождении ведутся на трех технологических установках, и для экспорта нашей продукции используются три основных маршрута. Это позволяет КПО более гибко реагировать на изменения рыночной конъюнктуры при экспорте нефти и газа. При разработке месторождения компания использует самые передовые, а в некоторых случаях, и новаторские технологии. Так, например, именно на Карачаганаке впервые была разработана и применена инновационная схема обратной закачки в пласт сырого газа под высоким давлением. Эта схема доказала свою высокую эффективность в плане увеличения объемов добычи углеводородов и принесла немалую экономическую выгоду республике.

Помимо этого, компания KПO пробурила самые глубокие и технологически очень сложные скважины в Казахстане, включая самые глубокие многоствольные скважины.

Поставка конкурентоспособной энергии на мировые рынки

Нефть в основном экспортируется по трубопроводу «Аксай - Атырау» и «Аксай - Актау», ведущему к порту «Южная Озереевка» и «Боланды» на Черном море. Еще один маршрут для сбыта нефти - через трубопровод «Аксай - Оренбург», соединяющийся с транспортной системой российской компании «Транснефть», что обеспечивает доступ к порту Приморска и ряду европейских направлений. Трубопровод «Аксай - Уральск» был разработан с целью транспортировки газа в газоперерабатывающий завод с целью обеспеченье ресурсом Западно-Казахстанскую Область.

Рис 2. Линий трубопроводов из Аксая. (Оранжевый - «Аксай - Оренбург», Зеленый - «Аксай - Уральск», Фиолетовый - «Аксай - Атырау», Светло-желтый «Аксай - Актау», Красный - Железные дорожные пути транспортировки)

Производственные показатели

Сегодня Карачаганак является крупнейшим газодобывающим месторождением в Казахстане и имеет рекордные показатели по добыче, составляющие почти 45 процентов всего газа и 16 процентов всех жидких углеводородов, добываемых в стране. В 2013 году предприятие добыло 195 470 миллионов тонн нефтяного эквивалента.

Виды продукции перечислены в таблице ниже.

 

Таблица №1 - Добыча в 2013 году

Общая добыча

195 470 млн т.у.т.

Нестабильные жидкие углеводороды Конденсат, поставляемый на Оренбургский газоперерабатывающий завод и мини-НПЗ

9140 млн т.у.т.

Стабильные жидкие углеводороды Нефть и стабилизированный конденсат, идущий на «Аксай- Атырау» и «Аксай - Оренбург»

97 000 млн т.у.т.

Неочищенный газ, поставляемый на Оренбургский газоперерабатывающий завод

81 970 млн т.у.т.

Очищенный газ, используемый на КПК для нужд завода и для продажи в ЗКО

7 360 млн т.у.т.

Закачка сырого газа  Объем не включен в общую добычу, так как не идет на продажу

85 700 м3

Рис .3. Диаграмма добычи на предприятии за 2013 год

Рис .4. Диаграмма прибыли от продажи газа в Республике Казахстан за 2013 год

1.2    Организационно-функциональная структура Karachaganak petroleum operating

Организационная структура (англ. Organizational structure) - совокупность способов, посредством которых процесс труда сначала разделяется на отдельные рабочие задачи, а затем достигается координация действий по решению задач (Генри Минцберг, «Структура в кулаке»). По сути дела, организационная структура определяет распределение ответственности и полномочий внутри организации. Как правило, она отображается в виде органиграммы - графической схемы, элементами которой являются иерархически упорядоченные организационные единицы (подразделения, должностные позиции).

Организационная структура - документ, устанавливающий количественный и качественный состав подразделений предприятия и схематически отражающий порядок их взаимодействия между собой. Структура предприятия устанавливается исходя из объёма и содержания задач, решаемых предприятием, направленности и интенсивности, сложившихся на предприятии информационных и документационных потоков, и с учётом его организационных и материальных возможностей

Типологии организационных структур:

Существуют различные подходы к классификации орг-структуры. Критерием наиболее популярной типологии организационных структур является распределение ответственности (способ группирования ответственности).

·        иерархическая;

·        линейная;

·        линейно-штабная;

·        функциональная;

·        упрощённая матричная;

·        сбалансированная матричная;

·        усиленная матричная;

·        проектная;

·        процессная;

·        дивизиональная.

Поданному типу классификации структура КПО является иерархической.

Иерархическая организационная структура-структура с вертикальной формой управления (контроля) элементами, входящими в неё. Фактически это пирамида, каждым уровнем которой управляет более высокий уровень.

Иерархическая оргструктура, которая ярко выражена в КПО, отвечает требованиям этой организации:

.        Наиболее эффективная форма организации труда для выполнения рутинных, повторяющихся, неизменных задач и операций, которые не требуют множества контактов, частого принятия решений или постоянного внесения изменений в выполняемую работу;

.        Сокращается время на решение технологических вопросов;

.        Легкость управления трудовыми ресурсами, особенно методами административного воздействия;

.        Сокращение расходов в результате разделения труда по профессиональному принципу;

.        Стабильная атмосфера для специалистов.

.        Специалисты обладают высокой компетентностью и квалификацией;

На рисунке 1 представлена организационная структура КПО, выполненная в программно-инструментальной среде Microsoft Office Visio. Полнота описания оргструктуры отвечает цели и направленности данной работы.

Рис.5.Организационная структура КПО

Функциональная структура - структура, в которой должностные позиции группируются в организационные звенья по признаку выполнения ими функций. Основные функции определяют направленностью экономической ролью организации.

К основным функциям относят закупки, финансирование, сбыт, производство и управление в целом, включающие в себя операции, которые связанны с наймом персонала. Функции, без которых организация может обойтись при отсутствии особой регламентации, которая обязывает четкого исполнения данных функций называются дополнительными. К дополнительным функциям относят учет, обеспечение безопасности, исследования и разработка, управление персоналом (за исключением найма и увольнения) и деятельность секретариата.

Централизация, профессионализм, экономичность являют визитной карточкой функционально структуры.

Линейную, функциональную и линейно-функциональную структуры управления, в литературе часто выделяю отдельно.

В принципе создание функциональной структуры сводится к группировке персонала по тем широким задачам, которые он выполняет. Конкретные характеристики и особенности деятельности того или иного блока соответствуют наиболее важным направлениям деятельности всей организации.

В таблице 2 представлена функциональная структура КПО.

Таблица 2 - Функциональная структура КПО

Функциональная единица организации

Функции, закрепленные за единицей организации

Генеральный Директор

· Осуществляет руководство, в соответствии с целями организации и действующим законодательством, производственно-хозяйственной и финансово-экономической деятельностью компании или предприятия. · Несет всю полноту ответственности за последствия принимаемых решений, сохранность и эффективное использование имущества и ресурсов предприятия, а также, за финансово-хозяйственные результаты бизнес- деятельности. · Организует работу, эффективное и результативное взаимодействие и координацию производственных и бизнес- единиц, структурных подразделений. · Обеспечивает выполнение задач и целей деятельности организации, всех ее обязательств перед поставщиками, заказчиками и банками, включая обязательства перед бюджетами разных уровней и внебюджетными фондами, а также по договорам. · Организует производственно-хозяйственную деятельность организации на основе обоснованного планирования ее материальных, финансовых и трудовых ресурсов с учетом складывающейся конъюнктуры на рынке товаров и услуг. · Направляет имеющиеся ресурсы на развитие и совершенствование бизнеса и производства с учетом социальных и рыночных целей компании, роста объемов сбыта продукции и увеличения прибыли. · Организует соблюдение качества и конкурентоспособности производимой продукции и услуг, их соответствие лучшим стандартам в целях завоевания рынка и удовлетворения потребностей потребителей. · Организует применение принципа материальной заинтересованности и ответственности каждого работника за порученное ему дело и результаты работы всего коллектива. Обеспечивает выплату заработной платы в установленные сроки. · Организует соблюдение трудовой и производственной дисциплины. Способствует развитию трудовой мотивации, инициативы и активности рабочих и служащих предприятия. · Обеспечивает создание безопасных и благоприятных для жизни и здоровья условий труда. Обеспечивает соблюдение требований законодательства об охране окружающей среды. · Обеспечивает правильное сочетание экономических и административных методов руководства, баланса единоначалия и коллегиальности в обсуждении и решении вопросов управления, эффективного и результативного использования производственных резервов и расходования всех видов ресурсов. · Способствует наилучшему использованию знаний и опыта работников. Организует реализацию принципов "самообучения организации".

Финансовый директор

· Управление финансовыми потоками предприятия; · Контроль расходов и обеспечение эффективного использования ресурсов; · Контроль доходов и обеспечение фирмы финансами (в том числе и кредитными); · Налоговое планирование; · Формирование и стратегическое планирование финансовой политики компании; · Обеспечение экономической безопасности · Анализ и снижение возможных финансовых рисков; · Контроль ведения деятельности предприятия в соответствии с действующим законодательством; · Проведение финансово-экономического анализа сделок компании; · Подготовка финансовой отчетности; · Управление коллективом финансовых и бухгалтерских служб.

Директор по производству

· Полный контроль над производственной деятельностью предприятия, а также руководство над подведомственными структурами в предприятии. · Создание всех условий для качественного, своевременного и непрерывного выполнения всех необходимых производственных действий на предприятии согласно Уставу и трудовому распорядку предприятия и нормативно-правовых актов законодательства Российской Федерации. · Активное участие в разработке всех планов предприятия, включая бизнес-планы, проекты рационализации производства на предприятии, а также выработке стратегии развития предприятия. · Обеспечение технической подготовки производства для работы, постоянного увеличения объема выработки, а также повышения эффективности за счет улучшения качества и снижения издержек производства. Обеспечение производства оборудованием, а также слежение за качественной работой оборудования, долговечностью инвентаря и инструмента на предприятии. · Проведение исследований внутренних и с привлечением партнеров и третьих организация для выявления недостатков производства, а также внедрения новых методик улучшения качества производства и его скорости, а также для улучшения производственных планов предприятия. · Руководство над разработками в области реконструкции и/или модернизации оборудования предприятия, методов организации производства и работы отдельных сотрудников, а также реализация сложных комплексов программ рационализации производственного потенциала и увеличения такового. · Внедрение в производственный процесс новых видов техники, а также новейших технологий с учетом требований и бюджета предприятия. · Контроль над выполнением норм охраны труда, производственной гигиены и санитарии, пожарной безопасности и техники безопасности на производстве, трудовой дисциплины на предприятии.

Директор по маркетингу

Планирование и бюджетирование маркетинга компании. Координация и контроль выполнения плана маркетинговых мероприятий. Общее руководство структурой отдела маркетинга и рекламы.

Директор по юридическим вопросам

Обеспечение правового сопровождения деятельности предприятия, в том числе правовой защиты интересов предприятия; Методическое руководство правовой работой на предприятии, разработка локальных нормативных актов и иных документов правового характера.

Директор по реализации проектов

· Разрабатывает и согласовывает с руководителем проекта, кураторами проектов концепции, цели и основные этапы проектов. · Готовит планы расходов, доходов, движения денежных средств проектов. · Ведет документацию по проектам. · Участвует в управлении расходами денежных средств по проектам в соответствии с бюджетами движения денежных средств. · Организует реализацию проектов в соответствии с планом работ. · Готовит и ведет презентации проектов. · Готовит и вносит изменения в проекты. · Выполняет проекты в согласованные сроки, в рамках выделенного бюджета и с требуемым уровнем качества. · Координирует работы участников проектных групп.

Директор по сервисному обеспечению

· Организация работы и управление сервисной службы, направление деятельности сервисной службы - ремонт, техническое обслуживание, техническая поддержка копировальной, принтерной и периферийной техники клиента. · Координация работы сервисного центра со структурными подразделениями компании. · Мониторинг рынка услуг. · Стратегия развития и анализ деятельности подразделения. · Решение технических вопросов. Контроль качества выполняемых работ. Построение отношений с клиентами. · Ведение переговоров и заключение договоров. Обслуживание расчетов с клиентами. · Формирование рекламной политики. · Ведение кадровой политики. · Обучение технического персонала. · Логистика запчастей, вспомогательного оборудования и материалов. Постановка складского учета.

Директор по разработке проекта

· Определяет устав, цели, задачи и результат проекта. · Продумывает и составляет план по подготовке и внедрению нового проекта, определяет контрольные точки. · Определяет состав работ, необходимых для проработки и внедрения проекта. · Определяет и документирует зависимости между работами. · Оценивает продолжительность работ, составляет критический путь. · Определяет количество времени, необходимое для осуществления проекта. · Определяет количество и оценивает стоимость ресурсов, требуемых для выполнения работ проекта. · Оценивает стоимость и определяет бюджет проекта. · Выбирает команду проекта. · Определяет профессиональные навыки, необходимые участникам команды проекта. · Прописывает цепочку взаимосвязей между участниками команды проекта. · Продумывает систему мотивации команды проекта. · Организует собрания команды проекта.

Отдел нефтегазовой добычи

· Формирование отчетов из информационных сводок отдела нефтяной добычи · Формирование отчетов из информационных сводок отдела газовой добычи · Взаимодействие с другими отделами

Отдел транспортных систем

· Формирование отчетов из информационных сводок отдел железнодорожной транспортировки · Формирование отчетов из информационных сводок отдела трубопроводной транспортировки · Взаимодействие с другими отделами

Отдел техники безопасности

· Формирование отчетов из информационных сводок по технической безопасности промышленных обьектов · Проведение инструктажа по техники безопасности · Проведение экзаменационных испытаний · Выдача дипломов и сертификатов · Взаимодействие с другими отделами

Отдел нефтяной добычи

· Осуществление работ по добычи нефти · Осуществление работ по комплектации нефтяных ресурсов · Осуществление работ по подготовке к транспортировке · Составление информационных сводок для отдела нефтегазовой добычи

Отдел газовой добычи

· Осуществление работ по добычи газа · Осуществление работ по комплектации газовых ресурсов · Осуществление работ по подготовке к транспортировке · Составление информационных сводок для отдела нефтегазовой добычи

Отдел железнодорожной транспортировки

· Осуществление работ по транспортировке нефтяных ресурсов · Осуществление работ по комплектации и установке на железнодорожные платформы · Осуществление надзора за ресурсами в течении всего маршрута · Составление информационных сводок для отдела транспортирных систем

Отдел трубопроводной транспортировки

· Осуществление работ по транспортировке ресурсов · Осуществление надзора за ресурсами в течении всего маршрута · Составление информационных сводок для отдела транспортирных систем

Отдел экологической безопасности

· Осуществление надзора за экологическими нормами во время добывающих работ · Выявление нарушений в сфере экологической безопасности региона · Составление информационных сводок для отдела техники · безопасности

Отдел технической безопасности

· Осуществление надзора за техническим состоянием оборудования время добывающих работ · Выявление нарушений в сфере технической безопасности · Составление информационных сводок для отдела техники безопасности

Отдел контроля финансов

· Ведение управленческого учета деятельности компании, формирование регулярной управленческой отчетности. · Разработка и внедрение корпоративных стандартов, норм, регламентов и положений по управленческому учету. Формирование учетной политики в соответствии с потребностями Компании. · Управление денежными потоками, регламентация процедур осуществления платежей, контроль платежей в наличной и безналичной форме в порядке, определяемом внутренними документами Компании, управление кредитным портфелем компании; · Оперативный контроль финансовых ресурсов Компании с целью их эффективного использования; · Организация и регламентация бюджетного управления в Компании. Обеспечение процесса бюджетирования и контроля выполнения бюджета Компании. Сведение бюджетов Компании и отчетов об их выполнении. Доведение утвержденных показателей бюджетов Компании и ключевых показателей деятельности до подразделений и обеспечение оперативного контроля над их выполнением; · Контроль над соблюдением финансовой дисциплины, своевременным и полным выполнением договорных обязательств, расходами и поступлением доходов; · Контроль над реализацией программы капитальных вложений и инвестиций; · Предоставление оперативной, регулярной и аналитической финансовой информации внутренним и внешним пользователям; · Комплексный экономический и финансовый анализ деятельности Компании, разработка мероприятий по повышению эффективности управления финансами, снижению финансовых рисков и увеличению прибыльности Компании; · Разработка предложений по ценообразованию; · Внедрение передовых информационных систем по управлению финансами в соответствии с требованиями бухгалтерского, налогового, статистического и управленческого учета, контроль над достоверностью информации; · Участие в организации и проведении тендеров.

Отдел по работе с республиканскими СМИ

· Осуществление работ про продвижению проекта в республиканских СМИ · Разработка PR политики в республике · Формирование отчетов для вышестоящего руководства

Отдел трудовых вопросов

· учёт численности персонала и отслеживание его использования (расстановки по рабочим местам); · учёт использования рабочего времени персоналом (урочное, сверхурочное); · контроль за соблюдением штатной дисциплины; · контроль за соблюдением законодательства о труде; · ведение нормативного хозяйства и обеспечение подразделений нормами трудовых затрат; · тарификация работ и рабочих (присвоение разрядов); · аттестация служащих с установлением разрядов и должностных окладов; · • контроль за наличием у работников должностных инструкций и положений о подразделениях;

Отдел экологических вопросов

· Учет, оценка природных ресурсов · Объемов отходов производства, · Сбросов и выбросов загрязнений в окружающую среду, ее состояния, участие в создании фонда информации; · Формирование совместно с Комитетом экологии банка данных и рынка услуг природоресурсного и природоохранного направления · Определение условий производства изыскательских работ и условий предоставления в пользование природных ресурсов, находящихся на подведомственной территории.

Начальник отдела технического обеспеченья

· изучение, анализ и совершенствование организации труда (его разделение, содержание трудовых процессов, оборудование рабочих мест и их обеспечение всем необходимым); · изучение условий труда и разработка мероприятий по их совершенствованию; · разработка систем оплаты труда; · разработка систем материального стимулирования работников за достигнутые успехи; · учёт выработки норм труда; · учёт производительности труда основного производственного и всего персонала; · изучение затрат рабочего времени наблюдением.

Начальник отдела сервисного обеспеченья

· планирование поступлений материальных ресурсов и (или) готовой продукции; · установление хозяйственных связей с поставщиками; · организация доставки; · мониторинг поставки; · приемка и контроль качества;

Отдел технического обеспеченья

· Определение потребности в технических ресурсах структурных подразделений и отделов · Определение источников покрытия потребности в технических ресурсах. · Обеспечение учреждения всеми необходимыми для его деятельности техническими ресурсами соответствующего качества. · Согласование условий и сроков поставок технических ресурсов. · Анализ возможностей и целесообразности установления прямых долгосрочных хозяйственных связей по поставкам технических ресурсов. · Изучение оперативной маркетинговой информации и рекламных материалов о предложениях предприятий оптовой торговли с целью выявления возможности приобретения технических ресурсов.

Отдел информационного обеспеченья

· Определение потребности в информационных ресурсах структурных подразделений и отделов · Определение источников покрытия потребности в информационных ресурсах. · Обеспечение учреждения всеми необходимыми для его деятельности информационными ресурсами соответствующего качества. · Согласование условий и сроков поставок информационных ресурсов. · Анализ возможностей и целесообразности установления прямых долгосрочных хозяйственных связей по поставкам информационно-технических ресурсов. · Изучение оперативной маркетинговой информации и рекламных материалов о предложениях предприятий оптовой торговли с целью выявления возможности приобретения информационно-технических ресурсов.

Отдел специализированного обеспеченья

· Определение потребности в специальных ресурсах структурных подразделений и отделов · Определение источников покрытия потребности в специальных ресурсах. · Обеспечение учреждения всеми необходимыми для его деятельности специальными ресурсами соответствующего качества. · Согласование условий и сроков поставок специальных ресурсов. · Анализ возможностей и целесообразности установления прямых долгосрочных хозяйственных связей по поставкам специальных ресурсов. · Изучение оперативной маркетинговой информации и рекламных материалов о предложениях предприятий оптовой торговли с целью выявления возможности приобретения специальных ресурсов.

Отдел информационного обеспеченья промышленных объектов

· Осуществление установки оборудования в зоне промышленных объектов · Осуществление установка программного обеспеченья на оборудование в зоне промышленных объектов · Осуществление внедрения собственных разработок на оборудование в зоне промышленных объектов · Формирование отчетов о проделанной работе

Отдел информационного обеспеченья офисных комплексов

· Осуществление установки оборудования в офисах · Осуществление установка программного обеспеченья на оборудование в офисах · Осуществление внедрения собственных разработок на оборудование в зоне промышленных объектов

.3      Структурный системный анализ предметной области

Физическая сущность процессов управления (вербальное описание) КПО является много уровневой иерархически-выстроенной организацией, с множеством отделений медицинского назначения и отделов с вспомогательными функциями. Исследование организации начинается с общего обзора его связей (потоков данных) с внешними сущностями (внешняя среда), а затем детализируется, приобретая иерархическую структуру, в которой все больше увеличивается число уровней

Описание процесса передачи данных между организационными единицами

Подрядные компании проводят для КПО геологоразведочные работы и предоставляют данные о нахождении нефтегазовых залежей на определенном участке земли, находящейся в аренде у КПО. Консорциум поручает генеральному директору провести освоительные работы поначалу нефтегазовой добычи.

Генеральный директор дает соответствующие указания директорам, которые в свою очередь приступают к немедленному их выполнению и дальнейшему надзору за выполнением поручения нижестоящими по должности, посредством анализа отчетов предоставляемые главными инженерами.

Главные инженера ведут надзор за подконтрольными отделениями: ведется анализ информационных сводок предоставляемых нижестоящими отделениями, проверка и экзаменация сотрудников на предмет знания предметной области, решение внутренних вопросов в отделе.

Отделы занимаются поручениями вышестоящего руководства. При инициализации процесса освоения нового участка, отдел обязан представить полную сводку по необходимым материалам, затратам, а так же, в случае необходимости проведения тендера для подрядных компаний.

Подотделы ведут узкоспециализированные работы по направлениям: нефтяной добычи, газовой добычи, железнодорожной транспортировки,

трубопроводной транспортировки, экологической безопасности, технической безопасности, информационного обеспеченья, технического обеспеченья, специализированного обеспеченья.

Подотделы разбиты на сектора, которые, чаще всего, выполняют вспомогательную роль на предприятии. Среди таких секторов: отдел контроля аварийных ситуаций при добывающих работах, отдел контроля аварийных ситуаций при эксплуатации трубопровода, отдел контроля аварийных ситуаций при добывающих работах, Отдел контроля и разработки сигнализационных систем, отдел контроля разработки программного обеспеченья, отдел контроля и разработки учетных систем, отдел информационного обеспеченья офисных комплексов, отдел информационного обеспеченья промышленных объектов.

1.3.2 Анализ вербального описания. Выявление объектов проблемной области

Исследование «Karachaganak petroleum operating» начинается с общего обзора ее связей (потоков данных) с внешними сущностями, а затем детализируется, приобретая иерархическую структуру с все большим числом уровней.

Подготовительным этапом к построению диаграммы потоков данных является анализ вербального описания, в результате которого будут выделены внешние сущности (Таб. 2). В таблице 3 показано движение данных.

Таблица 2 - Внешние сущности процессов КПО

Название сущности

Номер строки в описании

Геологоразведочные данные

1

Подрядчик

19

КПО

1,3

Генеральный директор

6

Директора отделов

6

Отдела

11, 13, 15, 16, 17

Подотделы

21

Звенья

27, 28

Отдел информационного обеспеченья

34, 35

Отдел контроля разработки программного обеспеченья

32, 33

Отдел информационного обеспеченья промышленных объектов

35

Отдел контроля и разработки сигнализационных систем

31, 32


1.4 Использование современных технологий анализа предметной области, методология ER Win

 

ERwin программный продукт в области визуального моделирования процессов предприятия. Данное средство CASE-технологий позволяет наглядно представить любую деятельность или структуру в виде модели, что дает возможность оптимизировать работу организации, проверить ее на соответствие стандартам, спроектировать организационную структуру, снизить издержки, исключить из быточные не эффективные операции, повысить гибкость.

Методология ERWin включает три стандартные методологии:

·        IDEF0(функциональноемоделирование)

·        DFD(моделированиепотоковданных)

·        IDEF3(моделированиепотоковработ).

Эти методологии по-своему уникальны. Каждая из них может быть выполнена отдельно с помощью ERWin, но их совокупность, заключённая в модель даёт аналитику полную картину предметной области организации.

Программный продукт ERWin обладает следующими преимуществами:

·        Поддерживает сразу три методологии;

· Позволяетповыситьэффективностьорганизации,оптимизироватьлюбыепроцедурывкомпании;

· Полностьюподдерживаетметодырасчетасебестоимостипообъемухозяйственнойдеятельности(функционально-стоимостнойанализАВС);

· Обладаетсравнительноневысокойстоимостьюисравнительнобольшойраспространенностью(существуетбольшоеколичествоспециалистов);

·        Легок в освоении применении;

·        Содержит генератор отчетов;

·        Позволяет свободно манипулировать моделями: сливать и расщеплять их;

·        Обладает широким набором средств документирования моделей и проектов.

Функциональная модель предназначена для описания существующих бизнес-процессов в организации (модельAS-IS)и максимально эффективного состава и взаимодействия процессов-того, к чему нужно стремиться(модельTO-BE).показывает причинно-следственные связи между ситуациями и событиями в понятной эксперту форме, используя структурный метод выражения знаний о том, как функционирует система, процесс или предприятие.

Рис. 8. Диаграмма «Функционирование «КПО» верхний уровень

Рис. 9. Диаграмма потоков данных КПО первый уровень

Рис. 10. Диаграмма потоков данных «Интеллектуальная система поддержки принятия решений при эксплуатации трубопровода»

1.5    Структура «Интеллектуальной системы поддержки принятия решения при эксплуатации трубопровода »

Интеллектуальная система (ИС, англ. intelligent system) - это техническая или программная система, способная решать задачи, традиционно считающиеся творческими, принадлежащие конкретной предметной области, знания о которой хранятся в памяти такой системы. Структура интеллектуальной системы включает три основных блока - базу знаний, механизм вывода решений и интеллектуальный интерфейс.

Интеллектуальные системы изучаются группой наук, объединяемых под названием «искусственный интеллект».

В технологиях принятия решений интеллектуальная система - это информационно-вычислительная система с интеллектуальной поддержкой, решающая задачи без участия человека - лица, принимающего решение (ЛПР), в отличие от интеллектуализированной системы, в которой оператор присутствует

ИС представляет собой следующую структуру (Рис. 10):

§   Интерфейс пользователя

§   Пользователь

§   Интеллектуальный редактор базы знаний

§   Эксперт

§   Инженер познаниям

§   Рабочая (оперативная)память

§   База знаний

§   Решатель(механизм вывода)

§   Подсистема объяснений

База знаний состоит из правил анализа данных от пользователя по конкретной проблеме. ИС анализирует ситуацию и в зависимости от направленности ИС, дает рекомендации по разрешению проблемы.

Как правило, база знаний Интеллектуальной системы содержит факты (статические сведения о предметной области) и правила-набор инструкций, применяя которые к известным фактам можно получать новые факты.

Рис. 11. Обобщенная структура ИС

 

1.5.1 Подсистема приобретения знаний

Подсистема приобретения знаний предназначена для добавления в базу знаний новых правил и модификации имеющихся. В ее задачу входит приведение правила к виду, позволяющему подсистеме вывода применять это правило в процессе работы. В более сложных системах предусмотрены еще и средства для проверки вводимых или модифицируемых правил на непротиворечивость с имеющимися правилами.

1.5.2 База знаний

База знаний - наиболее важная компонента Интеллектуальной системы, на которой основаны ее «интеллектуальные способности». В отличие от всех остальных компонент ИС, база знаний - «переменная» часть системы, которая может пополняться и модифицироваться инженерами знаний и опыта использование ИС, между консультациями (а в некоторых системах и в процессе консультации). Существует несколько способов представления знаний в ИС, однако общим для всех них является то, что знания представлены в символьной форме (элементарными компонентами представления знаний являются тексты, списки и другие символьные структуры). Тем самым, в ИС реализуется принцип символьной природы рассуждений, который заключается в том, что процесс рассуждения представляется как последовательность символьных преобразований.

1.5.3 Подсистема вывода. Способы логического вывода

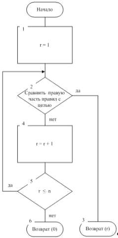
Подсистема вывода - программная компонента экспертных систем, реализующая процесс ее рассуждений на основе базы знаний и рабочего множества. Она выполняет две функции: во-первых, просмотр существующих фактов из рабочего множества и правил из базы знаний и добавление (по мере возможности) в рабочее множество новых фактов и, во- вторых, определение порядка просмотра и применения правил. Эта подсистема управляет процессом консультации, сохраняет для пользователя информацию о полученных заключениях, и запрашивает у него информацию, когда для срабатывания очередного правила в рабочем множестве оказывается недостаточно данных.

Цель ИС - вывести некоторый заданный факт, который называется целевым утверждением (то есть в результате применения правил добиться того, чтобы этот факт был включен в рабочее множество), либо опровергнуть этот факт (то есть убедиться, что его вывести невозможно, следовательно, при данном уровне знаний системы он является ложным). Целевое утверждение может быть либо «заложено» заранее в базу знаний системы, либо извлекается системой из диалога с пользователем.

1.6    Структура разрабатываемой «Интеллектуальной системы поддержки принятия решения при эксплуатации трубопровода»

Структура разрабатываемой Интеллектуальной системы поддержки принятия решения при эксплуатации трубопровода представлена на рисунке11.

Рис. 12. Структура Интеллектуальной системы поддержки принятия решения при эксплуатации трубопровода

Пользователем Интеллектуальной системы поддержки принятия решения при эксплуатации трубопровода может быть как младший инженер, так и инженер. Запросы к Интеллектуальной системе сохраняются в оперативную память до того момента, пока не будет найдено подходящее решение. Наличие информации в оперативной памяти инициирует работу механизма логического вывода, который моделирует ход рассуждений эксперта, на основании знаний, имеющихся в базе знаний и фактов, находящихся в оперативной памяти.

Экспертами будут являться инженера, формализацией полученных знаний будет заниматься старший инженер отдела информационно-технической поддержки. Найденное решение через интерфейс передается пользователю.

1.7    Техническое и программное обеспечение Интеллектуальной системы поддержки принятия решения при эксплуатации трубопровода

 

Техническое обеспечение представляет собой комплекс технических средств, предназначенных для реализации процессов обработки информации в системе управления. Комплекс технических средств включает совокупность аппаратуры, реализующей следующие функции:

·        сбор и передачу информации;

·        накопление данных в процессе обработки и создание банка данных системы;

·        представление результатов обработки информации заказчикам.

Целью использования вычислительной сети в КПО является повышение эффективности его работы, которое выражается, например, в сокращении трудозатрат. Другим преимуществом также является возможность совместного использования данных и устройств, а также возможность гибкого распределения работ по всей системе. Таким образом, использование вычислительных сетей дает больнице следующие возможности:

·        разделение дорогостоящих ресурсов;

·        совершенствование коммуникаций;

·        улучшение доступа к информации;

·        быстрое и качественное принятие решений;

·        свобода в территориальном размещении компьютеров.

Вычислительная сеть- это совокупность компьютеров, соединенных линиями связи. Линии связи образованы кабелями, сетевыми адаптерами и другими коммуникационными устройствами.

Под топологией вычислительной сети понимается конфигурация графа, вершинам которого соответствуют компьютеры сети, а ребрам - физические связи между ними. Компьютеры, подключаемые к сети, часто называются станциями или узлами сети.

Топологией вычислительной сети КПО является топология звезда (Рис. 13). В этом случае каждый компьютер подключается отдельным кабелем к общему устройству, называемому концентратором, который находится в центре сети. В функции концентратора входит направление передаваемой компьютером информации одному или всем остальным компьютерам сети. Концентратор отвечает за распространение трафика, пришедшего на любой из портов, через все остальные порты. Главное преимущество этой топологии перед общей шиной -более высокая степень надежности. Любые неприятности с кабелем касаются лишь того компьютера, к которому этот кабель присоединен, и только неисправность концентратора может вывести из строя всю сеть.

Рис. 13. Структура вычислительной сети КПО. Топология «звезда»

При решении данной задачи использовались следующие технические средства (Таб. 4, 5):

 

Таблица 4 - Основные технические характеристики компьютеров

Наименование

Параметры

Монитор

Монитор 18, 5" TFT Benq G925HDA <#"897454.files/image012.jpg">

Рис 14. Обобщенная инфологическая модель базы данных КПО

Даталогическое проектирование

Даталогическая модель - модель логического уровня, представляющая собой отображение логических связей между элементами безотносительно от их содержания и среды хранения. Строится в терминах информационных единиц, допустимых для проектирования базы данных СУБД.

Чтобы спроектировать логическую структуру базы данных, надо определить все информационные единицы и связи между ними, задать их имена, тип, размер и т.д. Результатом является совокупность моделей таблиц, из которых состоит база данных (Таб. 6, 7, 8, 9,10, 11).

 

Таблица 6 - Структура таблицы «Руководители»

Имя поля

Тип данных

Размер поля

Ключевое поле

Обязательное поле

Код

Счетчик

9

Да

ФИО Главинженера

Текстовый

Переменный

Нет

Да

Отдел

Текстовый

Переменный

Нет

Да

Ученая степень

Текстовый

Переменный

Нет

Нет

Код отдела

Числовой

5

Нет

Да

Код должности

Числовой

5

Нет

Да

Код задачи

Числовой

5

Нет

Да

Пакеты документов

Дата

Переменный

Нет

Да


Таблица 7- Структура таблицы «Сотрудники»

Имя поля

Тип данных

Размер поля

Ключевое поле

Обязательное поле

Код

Счетчик

2

Да

Да

Сотрудники

Текстовый

Переменный

Нет

Да


Таблица 8- Структура таблицы «Должности»

Имя поля

Тип данных

Размер поля

Ключевое поле

Обязательное поле

Код

Счетчик

3

Да

Да

Должность

Текстовый

Переменный

Нет

Да

 

Таблица 9- Структура таблицы «Трудовые договоры»

Имя поля

Тип данных

Размер поля

Ключевое поле

Обязательное поле

Код

Счетчик

8

Да

Да

Оклад

Денежный

Переменный

Нет

Да

Дата приема

Дата

Переменный

Нет

Да

Номер договора

Числовой

8

Нет

Да


Таблица 10- Структура таблицы «Георазведка»

Имя поля

Тип данных

Размер поля

Ключевое поле

Обязательное поле

Код

Счетчик

Переменный

Да

Да

Отчет георазведки

Текстовый

Переменный

Нет

Да

Код объекта

Числовой

Переменный

Нет

Да

План разработки

Числовой

Переменный

Нет

Да

Дата

Дата

Переменный

Нет

Да


Таблица 11- Структура таблицы «Руководители»

Имя поля

Тип данных

Размер поля

Ключевое поле

Обязательное поле

Код

Счетчик

Переменный

Да

Да

Код руководителя

Числовой

Переменный

Нет

Нет

ФИО

Текстовый

Переменный

Нет

Да

Дата начала задания

Дата

10

Нет

Да

Дата выполнения задания

Дата

10

Нет

Да

Номер отдела

Числовой

Переменный

Нет

Нет

.9      Обзор научно-технической литературы

 

Литература по Интеллектуальным системам и искусственному интеллекту

Интеллектуальная система - это система искусственного интеллекта, построенная на основе глубоких специальных знаний о некоторой предметной области (полученных от экспертов-специалистов этой области). Интеллектуальные системы - один из немногих видов систем искусственного интеллекта, которые получили широкое распространение и нашли практическое применение.

Технология экспертных систем является одним из направлений новой области исследования, которая получила наименование искусственного интеллекта (ArtificialIntelligence). Исследования в этой области сконцентрированы на разработке и внедрении компьютерных программ, способных эмулировать (имитировать, воспроизводить) те области деятельности человека, которые требуют мышления, определенного мастерства и накопленного опыта. К ним относятся задачи принятия решений, распознавания образов и понимания человеческого языка. Эта технология уже успешно применяется в некоторых областях техники и жизни.

Участники Российской ассоциации искусственного интеллекта дают следующие определения искусственного интеллекта:

·        Научное направление, в рамках которого ставятся и решаются задачи аппаратного или программного моделирования тех видов человеческой деятельности, которые традиционно считаются интеллектуальными

·        Свойство интеллектуальных систем выполнять функции (творческие), которые традиционно считаются прерогативой человека. При этом интеллектуальная система - это техническая или программная система, способная решать задачи, традиционно считающиеся творческими, принадлежащие конкретной предметной области, знания о которой хранятся в памяти такой системы. Структура интеллектуальной системы включает три основных блока - базу знаний, решатель и интеллектуальный интерфейс.

·        Наука под названием «Искусственный интеллект» входит в комплекс науки кибернетики, а создаваемые на её основе технологии к информационным технологиям. Задачей этой науки является воссоздание с помощью вычислительных систем и иных искусственных устройств разумных рассуждений и действии.

Одно из частных определений интеллекта, общее для человека и «машины», можно сформулировать так: «Интеллект - способность системы создавать в ходе самообучения программы (в первую очередь эвристические) для решения задач определённого класса сложности и решать эти задачи».

Вопросам создания экспертных систем посвящен достаточно большой набор различных изданий и монографий. Обилие тематической литературы обусловлено актуальностью предмета, определяющегося стремительно развивающейся сферой применения инженерии знаний и системного анализа в различных областях деятельности.

.        Гаврилова Т., Хорошевский В. Базы знаний интеллектуальных систем: Учебник для вузов. - СПб.: Питер, 2000 г.

Данный учебник содержит достаточно значимый материал по вопросам разработки интеллектуальных систем. Особенностью изложения является его практическая направленность.

.        Таунсенд К., Фохт Д. Проектирование и программная реализация экспертных систем на персональных ЭВМ. -М.: Финансы и статистика,1990 г.

Данная книга была написана тандемом американских авторов К. Таунсенда и Д. Фохтаи представляет собой введение в круг основных идей искусственного интеллекта.

Особый интерес для данной работы представляет разделы книги посвященные методам программной реализации элементов ИС на ЭВМ [стр. 112].

Для специальной части данного проекта активно использовались разделы книги, посвященные продукционным системам [стр. 52], стратегиям управления выводом [стр. 65], представлению знаний [стр. 75] (фреймы, семантическая сеть, правила).

К недостатку для написания данной работы можно отнести тот факт, что иллюстрационные тексты программ выполнены на языке Forth.

Помимо рассмотренных выше источников различные проблемы и вопросы сознания экспертных систем в рамках науки Искусственный интеллект рассматриваются в следующих изданиях:

.        Посвященная теоретическим основам искусственного интеллекта монография Люгера (Люгер Д.Ф. Искусственный интеллект: стратегии и методы решения сложных проблем, 4-е издание.:Пер. с англ. - М.: Издательский дом «Вильямс», 2003 г.).

.        Учебное пособие, посвященное одной из центральных проблем искусственного интеллекта - проблеме построения экспертных систем, или систем, основанных на знаниях (Попов Э.В., Фоминых И.Б., Кисель Е.Б., Шапот М.Д.. Статические и динамические Интеллектуальные системы. М.: Финансы и статистика, 1996 г.).

В пособии рассмотрено современное состояние исследований в области искусственного интеллекта. Также приводится обоснование важности экспертных систем как подхода к разработке интегрированных прикладных систем, объединяющих технологии инженерии знаний и традиционного программирования. Приведена классификация экспертных систем и инструментальных средств. Описаны принципы, методы и средства построения экспертных систем.

.        Рассел С., Норвиг П. Искусственный интеллект: современный подходМ.: Вильямс, 2006 г.

Книга посвящена современным достижениям и идеям по тематике искусственного интеллекта, которые были сформулированы, по признанию авторов, в исследованиях, проводившихся в течение последних пятидесяти лет.

.        Герман О.В. Введение в теорию экспертных систем и обработку знаний.-Минск.: ДизайнПРО, 1995. - 256с.

В имеющейся литературе по данной тематике рассмотрен ряд актуальных вопросов, связанных с искусственным интеллектом.

Литература по Нефтегазовой добычи и строительству трубопроводов.

7.      Справочник по специальным работам. Технологические вытрубопроводы промышленных предприятий. Изд. 2-е, перераб. И доп. Под ред. Е.Я. Николаевского. М., Стройиздат, 1972, 887 с.(Минмонтажспецстрой. Государственный проектный институт Гипрометаллургмонтаж).

Справочник по трубопроводам и арматуре химических цехов электростанций. В справочнике приведены краткие сведения но материалам, деталям, монтажу и ремонту трубопроводов, арматуры и ее приводов, применяемых в химических цехах электростанций. Приводится номенклатура арматуры и электроприводов, выпускаемая отечественными заводами для химических цехов.

.        Тавастшерна Р.И. Изготовление и монтаж технологических трубопроводов. Учеб. пособие для проф.-техн. училищ и индивидуального и бригадного обучения рабочих на производстве. - М., «Высш. школа», 1967. - 287 с

Трубопроводная арматура. Номенклатурный каталог-справочник. Логанов Ю.Д. Том 1. Краны. Указатели уровня. Затворы дисковые поворотные. 2006 г. В номенклатурном каталоге-справочнике приведена номенклатура и основные технические характеристики трубопроводной арматуры и приводов к ней, выпускаемых производственными предприятиями России и стран СНГ.

.        Ручная сварка при сооружении и ремонте трубопроводовпара и горячей воды. Юхин Н.А. Издательство: Соуэло, 2007 г.

В книге рассмотрен опыт применения, технологические и эксплуатационные характеристики установок для транспортирования концентрированных гидро смесей в виде жидких продуктов и их смесей с твердыми частицами диспергированного или измельченного минерального сырья, строительных и волокнистых материалов, отходов производства горно-металлургических, химических и т. п. предприятий. Приведены технические данные и конструктивные схемы насосов и нагнетателей, а также смесительных, загрузочных, вспомогательных и других устройств.

9.      Суворов А.Ф., Васильев Г.Г., Горяинов Ю.А., Кинцлер Ю.Э., Мустафин Ф.М., Сенцов С.И., Головин С.В. Сварочно-монтажные работы в трубопроводном строительстве: Учеб. пособие для вузов. - М.: ЗАО «Звезда», 2006 - 240 с: ил.

Изложена теория и расчет параметров течения гидросмесей в трубах. Рассмотрены методы изучения реологических характеристик смесей и применяемые при этом технологические устройства. Даны рекомендации по проектированию транспортных установок, приведены инженерная методика и примеры расчета.

.        Биргер И.А., Иосилевич Г.Б./ Резьбовые и фланцевые соединения. -М.: Машиностроение, 1990. -368 с: ил.

Трубопроводная арматура. Номенклатурный каталог-справочник. Логанов Ю.Д. Том 1. Краны. Указатели уровня. Затворы дисковые поворотные. 2006 г. В номенклатурном каталоге-справочнике приведена номенклатура и основные технические характеристики трубопроводной арматуры и приводов к ней, выпускаемых производственными предприятиями России и стран СНГ.

11.    Рамерштейн А.Г., Рождественский В.В., Pyчимский М.H. Расчет трубопроводов на прочность. Справочная книга 1969 г.

Справочник по арматуре ТЭЦ. В книге приведены классификация энергетической арматуры, основные относящиеся к ней термины и определения.

12.    Трубопроводная арматура. Номенклатурный каталог-справочник. Логанов Ю.Д. Том 4. Клапаны. Регуляторы давления. Распределители. 2006 г.

Трубопроводная арматура. Справочное пособие. Гуревич Д.Ф. 1981 г. Приведены общие технические данные и нормативы, относящиеся к трубопроводной арматуре. Даны краткое описание, основные технические характеристики, габаритные и присоединительные размеры конструкций, выпускаемых серийно арматурными заводами. Приведены рекомендации по выбору арматуры.

13.    Справочник по трубопроводам и арматуре химических цехов электростанций, Имбрицкий М. И., Москва, «Энергия», 1974 г.

Водоснабжение. Проектирование систем и сооружений: издание второе, переработанное и дополненное в 3 томах. том 1. Рекомендовано к изданию Министерством образования РФ в качестве учебного пособия для студентов высших учебных заведений, обучающихся по направлению "Строительство" специальности "Водоснабжение и водоотведение". В пособии приведены назначение, область применения, физико-химическая и биологическая суть методов, технологий и сооружений, конструктивные особенности сооружений и устройств систем водоснабжения.

14.    Водоснабжение. Проектирование систем и сооружений: издание второе, переработанное и дополненное в 3 томах. TOM 3. Системы распределения и подачи воды. Учебное пособие. - M.: Издательство ACB, 2003. М.Г. Журба Л.И. Соколов Ж.М. Говорова

В книге даны основы гидростатики и теоретической гидродинамики, подробно изложено понятие о гидравлических сопротивлениях, равномерное и неравномерное движение жидкости в трубах (расчет водопроводов и канализационных систем) и каналах, водосливы, а также движение грунтовых вод.

1.10  Постановка задачи «Интеллектуальной системы поддержки принятий решений при эксплуатации трубопровода»

Интеллектуальная система будет реализовываться на основании знаний экспертов, знаний, извлеченных из литературных источников. При ее создании максимально будет учитываться специфика проявления и представления информации.

Для получения конечного результата необходимо решить следующий ряд задач:

.        Разработка продукционной базы знаний (с единообразным представлением знаний, что облегчает их восприятие и понимание человеком);

.        Разработка механизма логического вывода(комбинированного);

.        Разработка удобного и дружественного пользовательского интерфейса;

.        Обеспечение основного режима функционирования ИС: режима консультации.

2.     

2. Специальная часть

.1 Методы интеллектуальных систем

.1.1   Методы приобретения знаний

От выбора метода приобретения знаний зависит, насколько верно будет создана база данных, насколько она будет соответствовать действительности. Для приобретения знаний используются различные методы: анализ текстов, диалоги, Интеллектуальные игры, лекции, дискуссии, интервью, кейсы и так далее. Самым распространенным методом приобретения знаний является интервью. Исходя из этого метода, знания получают путем непосредственного контакта с экспертом (Инженером). Существует также деление на пассивные методы (инициатива у эксперта) и активные методы (инициатива у когнитолога).

Пассивные методы:

1.         Наблюдение. В процессе наблюдения когнитолог находится рядом с экспертом во время его профессиональной деятельности. Необходимое условие - невмешательство в работу эксперта.

2.         Вербальный анализ. Отличается от предыдущего метода тем, что эксперта просят не просто прокомментировать свои действия и решения, но и объяснить, как это решение может быть найдено, продемонстрировать цепочку рассуждений.

3.         Лекции. Это самый старый способ передачи знаний. Он используется в начале разработки, как эффективный способ быстрого погружения инженера-технолога в предметную область.

Активные методы:

1.         Анкетирование. Это жесткий метод. Заранее составляется вопросник, который предоставляется экспертам, что является основным преимуществом этого метода.

2.         Интервью. Задается серия заранее подготовленных вопросов. Похоже на анкетирование, но позволяет в зависимости от ситуации изменять вопросы.

3.         Свободный диалог. Достаточно гибкий способ, сильна обратная связь с экспертом.

4.         «Круглый стол». Подразумевает живую дискуссию с участием нескольких экспертов.

5.         «Интеллектуальные игры» или «кейс игры». Воссоздание вида деятельности, моделирования реальных ситуаций.

.1.2 Методы представления знаний

Одним из направлений исследования экспертных систем является обработка моделей знаний, которая подразумевает средства представления знаний и методы манипуляции знаниями.

Под термином «представление знаний» чаще всего подразумеваются способы представления знаний, ориентированные на автоматическую обработку современными ИС, и, в частности, представления, состоящие из явных объектов и из суждений или утверждений о них. Представление знаний в подобной явной форме позволяет ИС делать дедуктивные выводы из ранее сохранённого знания.

Различают следующие типы знаний:

·        понятийные,

·        конструктивные,

·        процедурные,

·        фактографические,

·        метазнания.

Используются пять моделей представления знаний:

·        логическая,

·        продукционная,

·        логико-лингвистическая.

Основные методы представления знаний:

·        декларативное представление знаний;

·        процедурное представление знаний;

·        реляционное представление знаний;

·        логическое представление знаний;

·        семантическое представление знаний;

·        исчисление представление знаний;

·        фреймовое представление знаний;

·        представление знаний с использованием продукционных правил;

·        унифицированные алгоритмические модули.

Декларативное представление знаний характеризуется представлением текущего знания системы полным описанием состояния (множество аксиом и всех, введенных к данному моменту теорем, множество операторов, то есть правило вывода). Преимущество данного метода является:

·        отсутствие необходимости указывать, как конкретный фрагмент знания должен быть использован,

·        удобство внесения изменений в БЗ,

·        близость к естественной форме описания знаний.

Однако при использовании данного метода затруднен учет специфики конкретной предметной области.

Процедурное представление знаний характеризуется представлением текущего знания системы в виде специальной организованной БД и набора более или менее специализированных процедур, обрабатывающих соответствующие области БД. При использовании данного метода имеются следующие преимущества: легко представляются знания вычислительного характера, более естественный способ для выражения многовариантного взаимодействия между блоками, на которые разделены знания. Однако, модификация знаний значительно сложнее, чем в предыдущем методе, так как здесь необходимо учитывать каким образом используется утверждение.

Реляционное представление знаний характеризуется представлением информации в виде некоторой таблицы

(К DTD), где

- имя таблицы,

К - классификационные разряды, с помощью которых объект DT относится к множеству данных D.

Преимущества данного метода:

·        компактность представляемой информации частного характера,

·        информационное содержание данных рассматривается, не зависимо от представления в памяти,

·        близость по структуре к естественному языку.

Недостатком данного метода является:

·        отсутствие явно выраженных отношений между понятиями,

·        избыточность информации,

·        жесткость форматов описания.

Логическое представление знаний. Основная идея подхода при построении логических моделей представления знаний - вся информация, необходимая для решения прикладных задач, рассматривается как совокупность фактов и утверждений, которые представляются как формулы в некоторой логике. Знания отображаются совокупностью таких формул, а получение новых знаний сводится к реализации процедур логического вывода. В основе логических моделей представления знаний лежит понятие формальной теории, задаваемое кортежем:

S= <B, F, A, R>, где

 - счетное множество базовых символов (алфавит);

F - множество, называемое формулами;

A - выделенное подмножество априори истинных формул (аксиом);

R - конечное множество отношений между формулами, называемое правилами вывода.

К достоинствам логических моделей представления знаний можно отнести следующие характеристики:

·        В качестве «фундамента» здесь используется классический аппарат математической логики, методы которой достаточно хорошо изучены и формально обоснованы (формальная семантика проста и ясна, синтез четок),

·        Существуют достаточно эффективные процедуры вывода, в том числе реализованные в языке логического программирования Пролог, использующие механизмы автоматического доказательства теорем для поиска и логически осмысленного вывода информации (наличие единой процедуры доказательства истинности),

·        В базах знаний можно хранить лишь множество аксиом, а все остальные знания получать из них по правилам вывода, а также Данные, факты и другие сведения о людях, предметах, событиях и процессах (не требуется хранить все формулы в БЗ, а достаточно лишь хранения аксиом. Остальные выражения формируются из аксиом с помощью правил вывода).

К недостаткам относятся:

·        Слабая наглядность и выразительная мощность для отображения проблемной области,

·        Отсутствие структуры представления знаний,

·        Невозможность построения частично правдоподобных рассуждений,

·        Низкая эффективность логического вывода.

Семантическое представление знаний. Элементами данного представления являются понятия и семантические отношения между ними. Формой представления являются семантическая сеть. Вершины содержат понятия (объект), дуги - отношения между ними. Преимущество этого метода - наглядность представления знаний. Недостатком данного метода являются:

·        трудность представления событий,

·        слабо отражаются структурные отношения, логические связки,

·        сложность программной реализации (особенно крупных сетей).

Исчисление предикатов. Знания представляются с помощью перевода некоторой предметной области формулой логики предикатов и добавления их в качестве аксиом в систему. Формула записи:

(xi,x2,...,xn),где

Р - логическая функция предикат, принимающая значение истинно или ложь (1,0),,- предметные переменные.

Логика предикатов используется в качестве основы языка Пролог. Существует множество мощных процедур для логического вывода предикатов первого порядка. Однако при использовании этого метода нет возможности в полной мере отразить специфику предметной области, так как знания выражаются ограниченным набором средств формальной системы. Также недостатками метода является слабая логическая связь между формулами, неоднозначность перевода предложений естественного языка в формулы предикатов, требование больших ресурсов ЭВМ для реализации предикатных систем.

Фреймы. Фрейм - минимальная структура информации, представляющая класс объектов, описывающая явления и процессы. Фрейм представляет собой декларативную процедурную структуру

{ni, (vi, qi, pi),..., nn (vn, qn, pn) }, где

- имя фрейма,- имя слота,- значение слота,- имя присоединенной процедуры.

Для организации связей между объектами предметной области строится сеть фреймов. Фрейм может содержать обращение к присоединенной процедуре. Используется принцип наследования, когда общая информация хранится в отдельном фрейме, а подчиненные фреймы обращаются к этому фрейму, чем достигается компактность. Данный метод обладает удобством описания знаний у проблемно ориентированных систем, возможностью описания временных характеристик систем за счет включения соответствующих процедур в слоты. Фреймовая структура создает в себе достоинства декомпозиции и взаимодействия за счет принципа наследования. Недостатки метода:

·        возможность возникновения путаницы при работе системы с различными областями знаний

·        знания задаются процедурами, что затрудняет приобретение знаний,

·        в чистом виде эвристические структуры не пригодны для описания эвристических знаний,

·        сам фрейм не содержит информации, в какой момент его следует обрабатывать.

Продукционные правила (ПП). Правило продукции состоит из левой части, которая представляет собой множество ситуаций, и правой части, которая представляет собой множество действий. В модели знаний продукционные правила представляются в виде конструкций «ЕСЛИ, ТО». Преимуществами этого метода являются:

·        простота создания и понимания отдельных правил,

·        простота понимания и модификации,

·        простота логического вывода знаний.

Отдельные продукционные правила могут независимо быть добавлены в БЗ, исключены или изменены, при этом не надо перепрограммировать всю систему. С помощью ПП достигается естественность выражения как декларативных, так и процедурных знаний, при этом знания отделены от способа их переработки.

Унифицированные алгоритмические модули (УНАМ). Форма представления процедурных (УНАМ) - элементарный функциональный блок, имеющий самостоятельное значение

<Zi= Ni, Yi, Ri>, где

имя модуля,- унифицированная стандартная процедура,- множество возможных параметров (входных),- множество выходных параметров.

Достоинства данного метода характеризуются:

·        удобством формирования базы математических знаний,

·        возможностью синтеза решения прикладных задач,

·        удобством установления отношений между декларативными и процедурными знаниями.

Недостаток метода в слабости систематических связей между модулями в системе.

Для наглядности баланса достоинств и недостатков далее представлена сравнительная характеристика моделей представлений знаний (Таб.12).

Таблица 12 - Сравнительная характеристика моделей представления знаний

Модель представления знаний

Достоинства

Недостатки

Декларативное представление знаний

+ Отсутствие необходимости указывать, как конкретный фрагмент знания должен быть использован. + Удобство внесения изменений в БЗ. + Близость к естественной форме описания знаний.

− Затруднен учет специфики конкретной предметной области.

Процедурное представление знаний

+ Легкость представления знаний вычислительного характера. + Естественный способ для выражения многовариантного взаимодействия между блоками, на которые разделены знания.

− Модификация знаний усложнена, необходимо учитывать каким образом используется утверждение.

Реляционное представление знаний

+ Компактность представляемой информации частного характера. + Информационное содержание данных рассматривается, не зависимо от представления в памяти. + Близость по структуре к естественному языку.

− Отсутствие явно выраженных отношений между понятиями. − Избыточность информации. − Жесткость форматов описания.

Логическое представление знаний

+ Не требуется хранить все формулы в БЗ, а достаточно лишь хранения аксиом. Остальные выражения формируются из аксиом с помощью правил вывода. + Наличие простой и ясной формальной семантики и четкого синтеза. + Наличие единой процедуры доказательства истинности.

− Слабая наглядность и выразительная мощность для отображения проблемной области. − Отсутствие структуры представления знаний. − Невозможность построения частично правдоподобных рассуждений. − Низкая эффективность логического вывода.

Семантическое представление знаний

+ Простой, понятный и наглядный способ описания проблемной области. + Возможность в явном виде указать на большинство отношений между объектами. + Наибольшая близость, как по структуре, так и по семантике к естественному языку.

− Произвольная структура описания требует большого количества процедур обработки информации. − Отсутствие процедурной компоненты представления знаний. − Сложность модификации из-за отсутствия модульности и унификации представления. − Ориентация на узкоспециализированные предметные области, т.к. семантическая сеть сложной предметной области оказывается слишком громоздкой.

Фреймовое представление знаний

+ Фреймы соединяют в себе достоинства декларативного и процедурного описания знаний. + В наибольшей степени соответствуют объектно-ориентированному описанию сущностей предметной области, которыми манипулирует человек. + За счет произвольной интерпретации содержимого слотов реализуется механизм наследования и иерархии. + Очень удобно отображать реляционные структуры.

− Механизм выделения фреймов остается прерогативой человека, и нет формальных методов для выделения фреймов. − Слаборазвиты механизмы манипулирования и вывода знаний.

Продукционное представление знаний

+ Простота представления и понимания правил. + Простота модификации и пополнения БЗ. + Простота механизма логического вывода. + Независимость продукций.

− При большом количестве продукций становится сложной проверка продукций на непротиворечивость. − Сложность в оценке ценности знаний. − Слабо представлено декларативное представление знаний. − Невозможность использования для тех областей, в которых сложно представить знания в виде правил. − В сложных предметных областях число правил велико, что влечет к потере наглядности и утрачиванию возможности проверки взаимосвязей между правилами.

УНАМ модель представления знаний

+ Удобство формирования базы математических знаний. + Возможность синтеза решения прикладных задач. + Удобство установления отношений между декларативными и процедурными знаниями.

− Слабость систематических связей между модулями в системе.


Методы вывода решений

Механизм логического вывода управляет работой ИС в соответствии с принятой стратегией поиска решения в пространстве ситуаций. Механизм логического вывода предназначен для того, чтобы найти последовательность действий преобразования начальной ситуации в конечную целевую ситуацию. Процедура формального вывода в дедуктивных системах, или цепочка вывода, представляют собой последовательность формул, начинающуюся, с аксиом, в которой каждая последующая формула выводится на основе совокупности предшествующих формул и аксиом. При реализации формального вывода используют прямой и обратный метод рассуждений. Прямой метод - это решение от данных к цели. Обратный метод - это поиск решения от цели к данным. В системах обратного вывода намечается перечень конечных целей переменных, значение которых необходимо получить. Далее производится поиск правил, определяющих эти цели. Вычисляются значения всех переменных, входящих в условия правил. Если переменные определяются другими правилами, происходит переход к выяснению истинности их условий, в противном случае значения переменных запрашиваются у пользователя. Процесс экспертизы заканчивается после того, как будут найдены все поставленные цели консультации. Это означает, что должна быть выяснена истинность всех переменных, входящих в задействованные правила.

2.1.2 Выбор метода приобретения и представления знаний для «Интеллектуальной системы поддержки принятия решения при эксплуатации трубопровода»

В результате поставленной задачи для получения знаний от эксперта были использованы следующие методы:

·        Лекции. Это самый старый способ передачи знаний. Он используется в начале разработки, как эффективный способ быстрого погружения инженера-технолога в предметную область.

·        Анкетирование. Это жесткий метод. Заранее составляется вопросник, который предоставляется экспертам, что является основным преимуществом этого метода.

·        Интервью. Задается серия заранее подготовленных вопросов. Похоже на анкетирование, но позволяет в зависимости от ситуации изменять вопросы.

·        Учет пояснений на практике. Этот метод позволяет за счет получения объяснений от специалиста в процессе реального диагностирования понять ход решения задач специалистом в рамках этого процесса.

·        Анализ литературы. Анализ офтальмологических справочников позволил заполнить пробелы в данных, которые остались после применения вышеуказанных пяти методов.

На основе ранее проведенного анализа методов представлений знаний был выбран продукционный метод представления знаний для ИС, так как он является наиболее эффективным и широко используемым методом представления знаний в системах искусственного интеллекта типа экспертных систем.

Выбор продукционного метода представления знаний систем обоснован достоинствами продукционных систем:

1.         В базе знаний автоматизированной ИС обеспечивается быстрый отклик на изменяющиеся в широких пределах и часто непредсказуемые ситуации внешней среды.

2.         В БЗ представление больших объемов знаний не вызывает затруднений, так как при добавлении, исключении, изменении отдельных продукционных правил не требуется перепрограммировать всю систему.

3.         В БЗ достигается единообразие представления знаний, что облегчает понимание знаний человеком.

4.         Для человека облегчаются способы построения модели представления знаний, так как с помощью продукционных правил знания отделены от способа их переработки.

5.         В программном обеспечении продукционных систем возникает реальная возможность параллельных вычислений. База знаний состоит из правил (продукций) вида: ЕСЛИ <условие>, ТО <действие>; где условие - конкретный вызов некоторого сопоставителя, <действие> - конкретный вызов некоторой опции преобразования базы фактов.

Наряду с вышеперечисленными достоинствами продукционных систем, существуют недостатки, которые также необходимо учитывать: затрудненность проверки программы, возможность случаев взаимной зависимости продукционных правил, что требует привлечения специальных методов декомпозиции.

2.1.3 Интеллектуальная система поддержки принятия решения при эксплуатации трубопровода

Итак, аналитический процесс при эксплуатации трубопровода, как уже было описано в пункте 1.6 общей части, сводится к определению наличия повреждений и/или источника аварийной ситуации. Для исключения неверной постановки алгоритма ремонтных работ необходимо сразу же отделить случаи внешних повреждений трубопровода, которые не привели к развитию аварийной ситуации и не приведут к таковому при правильных ремонтных работах(назначение курса превентивных мер совместно с курсом лечения повреждений).

При обнаружении трубопровода с подозрениями на аварийную ситуации или поражение внешнего трубопровода к нему прикрепляется ответственный инженер, в помощь инженеру может быть закреплен младший инженер. Иногда в подчинении Инженера имеется группа проходящих обучение младших инженеров и ассистентов. Действия обучающейся группы не рассматриваются, так как поставленный алгоритм, выписанные указания и проводимые манипуляции проходят под контролем ответственного инженера, и ответственный инженер несет ответственность перед государством и КПО.

.        В первую очередь, ответственный Инженер или младший инженер описывают повреждения трубопровода. Далее устанавливают наличие факта получения трубопроводом повреждений, а так же дату, время получения повреждения, период воздействия и локализацию. При возможности, Инженером проводятся манипуляции по устранению поражающих инородных тел или по нейтрализации инородных веществ. На этом этапе необходимо выявить количество трубопроводов с повреждениями (повреждение- нарушение целостности функций трубопровода в результате воздействия факторов внешней среды). Повреждения не является аварией, но в последствие может стать причиной развития той или иной аварийной ситуации. При выявлении признаков развития аварийной ситуации у трубопровода, так же возникает необходимость его дальнейшего диагностирования.

.        Затем проводится внешний осмотр трубопровода и его окружения с целью установления состояния объекта, выявления отклонений, проявляющихся во внешних признаках аварийной ситуации. Определенные фенотипические, или внешние, признаки позволяют заподозрить о возможности аварии уже на стадии физического осмотра. Например, коррозия под действием почвы приводят к изменению цвета покрытия и опор.

.        Далее проводится опрос бригады ответственной за установку трубопровода для выявления случаев халатности сотрудников, поскольку аварийные ситуации конъюнктивы и бывают следствием специфического отношения специалистов к работе.

.        При выявлении отклонений трубопровода вписывающихся в картину определенного типа или класса повреждений назначается специализированный комплекс ремонтных работ и исследований. При невозможности выявления частичной или полной картины произошедшего назначаются более общие методы сканирования.

.        После получения результатов сканирований и исследований можно определить класс или тип аварийной ситуации. После определения класса или типа повреждения, назначаются анализы специализированные для выявления аварии и возбудителя повреждения трубопровода.

.        После выявления общей картины назначается ответственная бригада для выполнения ремонтных работ и выписывается алгоритм ремонтного подряда для соответствующего специалиста.

В Таблице 13 приведен список исследований, который покрывает большинство типов возбудителей повреждений трубопровода.

 

Таблица 13- Список анализов с распределением по возбудителям и причинам аварий

Подозрение

Общее название исследования

Коррозия

+ Анализ на коррозию + Проверка защитного слоя

Трещины

+ Анализ трубопровода дефектоскопическими приборами

Пробоины термоизоляции

+ Термальное сканирование +Анализ трубопровода дефектоскопическими приборами

Коррозия опор

+ Проверка защитного слоя + Анализ на коррозию +Анализ трубопровода дефектоскопическими приборами

Расширение трубопровода

+ Анализ трубопровода дефектоскопическими приборами

Повреждение электроники

+ Сканирование электроприборов по средством датчиков

Общие аварийной ситуации:

+ Анализ трубопровода дефектоскопическими приборами + Проверка защитного слоя

 

2.1.4 Создание базы знаний

Формирование таблиц примеров

Следующим этапом решения поставленной задачи будет переход от вербального представления знаний к формальному - формулированию таблиц решений наиболее оптимальным способом. Исходя из полученных знаний, можно выделить список факторов определяющих выбор альтернатив поведения.

К этим факторам относятся (Таб. 14):

1. Данные по трубопроводу:


1.1. Линия трубопровода; 1.2. Тип трубопровода; 1.3. Уровень трубопровода; 1.4. Расположение.

2. Предрасположенность типа трубопровода к повреждениям:


2.1. Заводской брак; 2.2. Повреждения трубопровода при транспортировке; 2.3. Наличие защитных покрытий; 2.4. Наличие термоизоляционного покрытия; 2.5. Факторы, снижающие защиту трубопровода;

3. Тип поражения:


3.1. Механическое 3.2. Химическое 3.3. Общее

4. Класс возбудителя аварии:


4.1. Повреждение электроники; 4.2. Непредвиденное увеличение давления внутри трубы; 4.3. Непредвиденное увеличение давления на опоры; 4.4. Наличие трещин; 4.5. Изменение цвета трубопровода; 4.6. Изменение цвета опоры; 4.7. Выделения из трубопровода; 

5. Стадия аварийной ситуации:


5.1. Локальная; 5.2. Региональная; 5.3. Наличие общих поражений по всей длине трубопровода.

6. Род возбудителя:


6.1 Коррозия; 6.2 Влага; 6.3 Животные и насекомые; 6.4 Действия сторонних лиц с целью воровства.


В качестве выходных данных рассматриваются три основных группы: диагноз, рекомендации по ремонту, рекомендации по анализам. Так же подразумевается дальнейшее пополнение еще одной группы выходных данных: пояснения. Эта группа необходима не только для исключения момента полного перекладывания функция диагноста на систему, но и для обучения младших инженеров и инженеров ассистентов, так как она позволяется проследить логику того или иного алгоритма ремонтных работ, рекомендаций по восстановлению трубопровода и рекомендаций по анализам. Поскольку Интеллектуальной системы поддержки принятия решения при эксплуатации трубопровода должна стать инструментом в диагностировании и помочь специалистам с обучением младших инженеров, она не должна перерасти в заменитель инженера, контроль и конечное решение должно оставаться за специалистом.

Таблица 14- Значения факторов

Название фактора

Наличие/отсутствие

Значение при наличии

1.

Данные по трубопроводу

1.1.

Линия трубопровода;


· Аксай - Атырау · Аксай - Актау · Аксай - Оренбург · Аксай- Уральск

1.2.

Тип трубопровода


· Стандартные · Магистральные

1.3.

Уровень трубопровода


· Подземный · Наземный · Смешанный

 1.4.

Расположение


· Блок К-1 · Блок К-2 · Блок К-3 · Блок Р-1 · Неизвестно

2.

Предрасположенность типа трубопровода к повреждениям

2.1.

Заводской брак

· Наличие · Отсутствие

· Брак трубопровода поставка - Россия. · Брак трубопровода поставка - Казахстан. · Брак трубопровода поставка - Англия. · Брак трубопровода поставка - Италия. · Брак трубопровода поставка - США. · Брак трубопровода поставка - Канада. · Брак трубопровода поставка - Китай.

Название фактора

Наличие/отсутствие

Значение при наличии

2.2.

Повреждения трубопровода при транспортировке

· Наличие · Отсутствие

· Микро · Средняя · Серьезная · Опасная

2.3.

Наличие защитных покрытий

· Наличие · Отсутствие

· Скоротечное · Среднее · Продолжительное · Постоянное

2.4.

Наличие термоизоляционного покрытия

· Наличие · Отсутствие

· Наличие термоизоляционного покрытия под защитным слоем. · Наличие термоизоляционного покрытия над защитным слоем

2.5.

Факторы, снижающие защиту трубопровода

· Наличие · Отсутствие

· Технологические (технически не правильная установка трубы, халатность подрядных компаний) · Экологический (действия почвы, животных, насекомых повреждающие трубопровод) · Социальный (действия преступных организаций с целью похищения ресурсов)

3.

Тип поражения

3.1.

Механическое

· Наличие · Отсутствие


3.2.

Химическое

· Наличие · Отсутствие


3.3.

Общее

· Наличие · Отсутствие


4.

Класс возбудителя аварийной ситуации

4.1.

Повреждение электроники

· Наличие · Отсутствие

· Незначительное · Значительное · Критическое

4.2.

Непредвиденное увеличение давления внутри трубы

· Наличие · Отсутствие

· Незначительное · Значительное · Критическое

4.3.

Непредвиденное увеличение давления на опоры

· Наличие · Отсутствие

· Незначительное · Значительное · Критическое

4.4.

Наличие трещин

· Наличие · Отсутствие

· Незначительное · Значительное · Критическое

4.5.

Изменение цвета трубопровода под действием химикатов

· Наличие · Отсутствие

· Голубоватый · Светло-фиолетовый · Желтый · Розово-красный · Красный

4.6.

Изменение цвета опоры;

· Наличие · Отсутствие

· Красный · Желтый · Желто-коричневый

4.7.

Выделения из трубопровода

· Наличие · Отсутствие

· Обильное выделение защитной краски · Нефтяные выделения

5.

Стадия аварийной ситуации

5.1.

Локальное поражение

· Наличие · Отсутствие

· Скоротечное · Среднее · Продолжительное

5.2.

Региональное поражение

· Наличие · Отсутствие

· Скоротечное · Среднее · Продолжительное

5.3.

Наличие общих поражений по всей длине трубопровода

· Наличие · Отсутствие

· Скоротечное · Среднее · Продолжительное

6.

Род возбудителя (определяется при помощи взятия мазка и дальнейшего бактериологического исследования)

6.1.

Коррозия

· Наличие · Отсутствие


6.2.

Влага

· Наличие · Отсутствие


6.3.

Животные и насекомые

· Наличие · Отсутствие



2.1.5 Формирование учебного набора продукций правил

После того, как построено дерево решений, оно должно быть превращено в описание "ЕСЛИ ТО" продукций. База знаний построена исходя из выбранного продукционного метода представления знаний. Созданная база знаний состоит из продукционных правил (ППi), которые формально записываются в следующем виде:

ПП1=ECJIИ (ситуация), ТО (действие);

ПП2=ECJIИ (условие применимости), ТО (следствие);

ПП3=ECЛИ (причина), ТО (следствие);

ПП4=ЕСЛИ (посылка), ТО (заключение).

С точки структурно-синтаксических особенностей формирования были выделены четыре типа продукционных правил: простое, составное, фокусирующее, разветвляющееся.

1.         Простое продукционное правило- это правило, имеющее единственное условие и единственное действие.

2.         Составное продукционное правило - это правило, имеющее множество и условий и действий.

3.         Фокусирующее продукционное правило имеет множество условий и одно действие.

4.         Разветвляющееся продукционное правило имеет одно условие и множество действий.

Построение правил методом упорядочивания

Существует несколько алгоритмов для логических преобразований данных, далее приведены четыре из них:

1.  Оптимизационный алгоритм. Из всех примеров строится оптимальное дерево решений. Консультант, работая с таким правилом, будет достигать решение кратчайшим путем, не задавая лишних вопросов.

2.   Алгоритм слева - направо. Когда порядок вопросов не устраивает, то используется этот алгоритм.

3.         Алгоритм настройки. Позволяет напрямую создавать правила, делая их очень сложными или использовать имеющиеся.

4.   Алгоритм сравнения. Используется для задач, не имеющих простых правил.

Чтобы наиболее четко отразить весь процесс диагностики и учесть все возможные вопросы, а также их порядок, был использован метод упорядочивания, т.е. алгоритм слева - направо.

2.1.6 Построение дерева решений задачи «ИС поддержки принятий решений при эксплуатации трубопровода»

Важным этапом при создании базы знаний является этап приобретения знаний. На этом этапе разнообразный набор фактов о предметной области должен быть представлен в виде некоторой обобщенной структуры. Одной из них является структура, получившая название «дерево решений».

Деревья принятия решений обычно используются для решения задач классификации данных. Ситуация, в которой стоит применять деревья принятия решений, обычно выглядит так: есть много случаев, каждый из которых описывается некоторым конечным набором дискретных атрибутов, и в каждом из случаев дано значение некоторой (неизвестной) функции, зависящей от этих атрибутов. Задача - создать достаточно экономичную конструкцию, которая бы описывала эту функцию и позволяла классифицировать новые, поступающие извне данные.

Дерево принятия решений - это дерево, на ребрах которого записаны атрибуты, от которых зависит целевая функция, в листьях записаны значения целевой функции, а в остальных узлах - атрибуты, по которым различаются случаи.

Чтобы классифицировать новый случай, надо спуститься по дереву до листа и выдать соответствующее значение.

Алгоритмы построения дерева

Общая схема построения дерева принятия решений по тестовым примерам выглядит следующим образом:

§   Выбирается очередной атрибут Q, он помещается в корень.

§   Для всех его значений i:

§   Оставляются из тестовых примеров только те, у которых значение атрибута Q равно i

§   Рекурсивно строится дерево в этом потомке

Есть различные способы выбирать очередной атрибут:

§   Алгоритм ID3 <#"897454.files/image013.gif">

Рис. 15. Фрагмент дерева решений (начало)

Рис. 16. Фрагмент дерева решений (продолжение)

Рис. 17. Фрагмент дерева решений (окончание)

Рис. 18. Фрагмент дерева решений (начало)

Рис. 19. Фрагмент дерева решений (продолжение)

Рис. 20. Фрагмент дерева решений (окончание)

Таблица 15- Значения факторов (фрагмент дерева решений)

№ и название фактора

Значение фактора (1 вариант)

Значение фактора (100 вариант)

1. Данные по трубопроводу

 1.1. Линия трубопровода

Аксай - Уральск

Аксай - Актау

1.2. Тип трубопровода

Стандартный

Магистральный

1.3. Уровень трубопровода

Подземный

Подземный

1.4 Расположение

К-3

К-1

2. Предрасположенность типа трубопровода к повреждениям

2.1. Заводской брак

Отсутствие

Отсутствие

2.2. Повреждения трубопровода при транспортировке

Отсутствие

Отсутствие

2.3 Наличие защитных покрытий

Отсутствие

Наличие

2.4Наличие термоизоляционного покрытия

Отсутствие

Наличие

2.5. Факторы, снижающие защиту трубопровода

Отсутствие

Отсутствие

3. Тип поражения

3.1. Механическое

Отсутствие

Отсутствие

3.2. Химическое

Отсутствие

Отсутствие

3.3. Общее

Отсутствие

Отсутствие

4. Класс возбудителя аварийной ситуации

4.1. Повреждение электроники

Отсутствие

Отсутствие

4.2. Непредвиденное увеличение давления внутри трубы

Отсутствие

Отсутствие

4.3. Непредвиденное увеличение давления на опоры

Отсутствие

Отсутствие

4.4. Наличие трещин

Наличие Незначительное

Наличие Незначительное

4.5. Изменение цвета трубопровода под действием химикатов

Наличие Желтый

Наличие Желтый

4.6. Изменение цвета опоры;

Наличие Коричнево-красный

Наличие Коричнево-красный

4.7. Выделения из трубопровода

Обильное выделение защитной краски

Обильное выделение защитной краски

5. Стадия аварийной ситуации

5.1. Локальное поражение

Наличие

Наличие

5.2. Региональное поражение

Отсутствие

Отсутствие

5.3. Наличие общих поражений по всей длине трубопровода

Отсутствие

Отсутствие

6. Род возбудителя

6.1 Коррозия

Отсутствие

Наличие

6.2. Влага

Наличие

Отсутствие

6.3. Животные и насекомые

Наличие

Отсутствие

Диагноз

Локальное поражение трубопровода насекомыми под действием влаги, почвы и факторов окружающей среды.

Локальное поражение трубопровода коррозией под действием влаги, почвы и факторов окружающей среды.

№ и название фактора

Значение фактора (1 вариант)

Значение фактора (100 вариант)

Рекомендуемый алгоритм действий

· Вызов ответственного инженера · Составление отчета для вышестоящего руководства · Вызов ремонтной бригады · Составление алгоритма ремонтных работ

· Вызов ответственного инженера · Составление отчета для вышестоящего руководства · Вызов ремонтной бригады · Составление алгоритма ремонтных работ

Рекомендации по исследованиям

Рекомендуемые исследования: +Уничтожение вредителей(насекомых) +Установка ловушек на насекомых + Анализ на коррозию +Анализ трубопровода дефектоскопическими приборами

Рекомендуемые исследования: + Проверка защитного слоя + Анализ на коррозию +Анализ трубопровода дефектоскопическими приборами



2.1.7 Концептуальная модель базы знаний

Концептуальной моделью (схемой) данных обычно называют абстрактное описание фрагмента реальной действительности, которое получается в результате выделения свойственных этому фрагменту понятий, указания их атрибутов и возможных связей. Концептуальной моделью описывается структура данных, подлежащих накоплению в базе знаний.

Модель базы знаний включает описание проблемной среды и знания о порядке решения задачи. Описание проблемной среды состоит из описания факторов и правил вывода. Факты используются для описания состояний предметной среды.

В результате проведенных преобразований примеров в правила «ЕСЛИ...ТО» были получены правила, которые обеспечивают единообразие представления в БЗ, что облегчает их понимание человеком. На рисунке 21 представлена разработанная структура концептуальной базы знаний, которая содержит множество исходных фактов, отображающих постановку решаемой задачи и правила.

Таким образом, представленная структура базы знаний отображает совокупность всех имеющихся сведений о предметной области. Структура базы знаний записана с помощью набора продукционных правил.

Рис. 21. Концептуальная структура базы знаний

.2 Разработка механизма логического вывода

.2.1.  Выбор и обоснование механизма логического вывода

Механизм логического вывода (МВЛ)выполняет следующие функции:

1.     формирование и обработка активных фактов конкретной ситуации;

2.      определение порядка выбора и применения фактов и правил.

МЛВ можно представить в виде четырех последовательных процессов:

1.     выбор активных правил и фактов;

2.      сопоставление (определение, какие правила выполнять в первую очередь);

.        разрешение конфликтов;

.        выполнение выбранного обозначенного правила (действия).

Исходя из построенной продукционной базы знаний, выбирается та стратегия, которая применяется в продукционных системах. По способу проведения рассуждений при выводе, то есть способу направления поиска решения (по способу применения продукционных правил) выделяют три вида, два уникальных, а один является комбинированием первых двух:

1.     Прямой поиск - поиск от данных к цели. Прямой порядок вывода строится от активных фактов к заключению, то есть по известным фактам отыскивается заключение, которое из этих фактов следует.

2.      Обратный поиск - поиск от цели к данным. При обратном порядке вывода заключения просматриваются последовательно до тех пор, пока не будут обнаружены факты конкретной ситуации, подтверждающие какое либо из заключений, т.е. путем подбора подходящих фактов под имеющееся заключение. Управление прямым выводом осуществляется проще, чем управление обратным выводом.

.        Комбинированный (циклический) поиск - совокупность прямого и обратного поиска. В некоторых ИС вывод основывается на сочетании вышеприведенных подходов - обратного и ограниченного прямого. Такой комбинированный метод получил название циклического или комбинированного поиска.

ВИС, база знаний которой насчитывает сотни правил возникает необходимость использования некоторой стратегии управления выводом, позволяющей структурировать процесс вывода и минимизировать время поиска решения.

К числу таких стратегий относятся:

1.     Поиск в глубину. Идея поиска в глубину состоит в том, что при выборе очередной подцели в пространстве состояний предпочтение стремятся отдать той, которая соответствует следующему, более детальному, уровню описания задачи.

2.      Поиск в ширину. В противоположность поиску в глубину стратегия поиска в ширину предусматривает переход в первую очередь к подцели того же уровня. Например, при поиске в глубину ИС, сделав на основе известных симптомов предположение о наличии определенного аварийной ситуации, будет продолжать запрашивать уточняющие признаки и симптомы этой аварии до тех пор, пока полностью не отвергнет выдвинутую гипотезу. При поиске в ширину, напротив, система в начале проанализирует все симптомы, находящиеся на одном уровне пространства состояний, даже если они относятся к разным аварийной ситуациим, и лишь затем перейдет к симптомам следующего уровня детальности.

.        Разбиение на подзадачи. Стратегия разбиение на подзадачи состоит в том, что в исходной задаче выделяют подзадачи, решение которых рассматривается как достижение промежуточных целей на пути к конечной цели. Такая стратегия хорошо зарекомендовала себя других диагностических медицинских ИС. Вначале выявляется подсистема органов с заболеванием (например, эндокринная система), затем на следующем уровне уточняется (например, поражение щитовидной железы) и на последнем шаге выдается причина неисправности (например, недостаток микроэлемента йод).

.        Альфа-бета алгоритм. Задача сводится к уменьшению пространства состояний путем удаления в нем ветвей, не перспективных для поиска успешного решения. Поэтому просматриваются только те вершины, в которые можно попасть в результате следующего шага, после чего неперспективные направления исключаются из дальнейшего рассмотрения. Например, если необходимо найти заболевание роговицы, то его не следует искать среди заболеваний поражающих исключительно конъюнктиву. Данный подход используется для повышения эффективности поиска решений в продукционных системах.

Для построения механизма логического вывода в случае Интеллектуальной системы поддержки принятия решения при эксплуатации трубопровода будет использоваться комбинированный способ поиска. Выбор комбинированного способа обосновывается тем, что база знаний - иерархическая и необходим возврат из поддеревьев на основное дерево. Поэтому необходимо использование прямого и обратного механизма логического вывода одновременно.

Стратегия комбинированного вывода должна на основе использования данных и правил привести к правильному заключению. Суть ее состоит в том, что задается последовательность вопросов, построенных таким образом, что каждый из них позволяет отбросить большую группу потенциальных ответов, а в случае если ответ не найден, происходит возврат на правило, которое определяет ответ. Так происходит до тех пор, пока не останется один определенный ответ.

2.2.2. Алгоритм комбинированного логического вывода

В результате выбранного комбинированного способа поиска решений алгоритм функционирования такой ИС будет иметь следующий вид (Рис. 22):

Блок 1.

Инициализация данных в рабочей памяти.

Блок 2.

Добавление глобальной цели.

Блок 3.

Проверка условия: находится ли глобальная цель в рабочей памяти.

Блок 4.

Процедура поиска правила, в правой части которого содержится глобальная цель.

Проверка условия: найдено ли правило. Если правило найдено, то осуществляется переход к блоку 6, иначе - к блоку 9.

Блок 6.

Процедура доказательства локальной цели, содержащейся в левой части основного правила.

Блок 7.

Проверка условия: все ли локальные цели доказаны. Если все локальные цели доказаны, то осуществляется переход к блоку 8, иначе к блоку 9.

Блок 8.

Если все локальные цели доказаны, то выдать решения из правой части или из рабочей памяти (глобальная цель доказана).

Блок 9.

Если глобальная цель не найдена в рабочей памяти, то решений нет.

Блок 10.

Проверить условие: продолжить консультацию. Если необходимо продолжить консультацию, то переход к блоку 1, иначе - окончание консультации.

 

Рис 22. Блок-схема алгоритма комбинированного (циклического) логического вывода

Блок 1.r=1, первое правило


Блок 2.

Сравнить правую часть правила с целью, если они равны, то осуществить переход к блоку 3, если нет, то к блоку 4;

Блок 3.

Возврат r, то есть правило найдено

Блок 4.

Переход к следующему по прядку правилу

Блок 5.

Количество рассмотренных правил меньше общего количества всех правил, если да, то осуществить переход к блоку 2, если нет - к блоку 6

Блок 6.

Возврат 0, то есть правило не найдено


Блок-схема алгоритма поиска правила, содержащего глобальную цель, представлена на рисунке23.

Рис. 23. Блок-схема процедуры поиска правила, содержащего глобальную цель

Блок 1.

c=1, первый критерий

Блок 2.

Сравнить правую часть правила с целью, если они равны, то осуществить переход к блоку 3, если нет, то к блоку 4;

Блок 3.

Переход к следующему по прядку критерию

Блок 4.

Количество рассмотренных критериев меньше общего количества всех критериев, если да то осуществить переход к блоку 2, если нет - блок 5

Блок 5.

Результат этого правила заносится в рабочую память

Блок 6.

Возврат 1, то есть локальная цель доказана

Блок 7.

Возврат 0, то есть локальная цель ложна


Блок-схема алгоритма доказательства локальной цели представлена на рисунке24.

Рис. 24. Блок-схема алгоритма доказательства локальной цели

2.6    Инструкция пользователю и контрольный пример программной реализации Интеллектуальной системы поддержки принятия решения при эксплуатации трубопровода

Для работы с приложением необходимо запустить файл KPO-Tube.exe При запуске этого файла на экране появится основное рабочее окно приложения, данное окно представлено на рисунке 25.

Рис.25. Главная форма

После нажатия на кнопку группы данных пользователь переходит в форму заполнения группы данных. Для исключения ошибки введения формы снабжены списками значений данных.

После нажатия на кнопку «Произвести обработку данных» пользователь переходит в форму заполнения группы данных. (Рис. 26).

Рис. 26. Форма ввода данных «Данные по трубопроводу»

Блок «входные данные» объединяет кнопки, при нажатии на которые можно перейти к заполнению той или иной группы данных:

.        Данные по трубопроводу (Рис. 27)

.        Тип поражения (Рис. 28)

.        Стадия аварийной ситуации (Рис. 29)

.        Род возбудителя (Рис. 30)

Рис. 27. Форма ввода данных (Тип поражения)

Рис. 28. Форма ввода данных (Стадия аварийной ситуации)

Рис. 29. Форма ввода данных (Род возбудителя)

После введения всех имеющихся данных пользователь может перейти к постановке алгоритма ремонтных работ с помощью нажатия кнопки «Постановка алгоритма ремонтных работ». При нажатии этой кнопки открывается окно, на которое выводится ориентировочный диагноз (Рис. 30). Из окна «Обработка данных» можно перейти в окно «Далее», на которое выводятся непосредственно те рекомендации, которые относятся к поставленному диагнозу (Рис. 34).

Рис. 30. Форма «Произвести обработку данных»

Рис. 31. Форма «Рекомендации по исследованиям»

Разработанный графический интерфейс пользователя позволяет выбирать помимо основных пунктов меню дополнительные. Действия могут выполняться либо при помощи мыши, либо нажатием клавиш на клавиатуре. Для удобства пользователя программа снабжена кнопками, открывающими окно «О программе», содержащим краткую информацию о программе (Рис. 32).

Рис. 32. Форма «О программе»

3. Экономическая часть

.1      Концепция проекта

Проект представляет собой создание Интеллектуальную систему поддержки принятия решений при эксплуатации трубопровода.

Идея проекта состоит в необходимости создать Интеллектуальную систему поддержки принятия решений при эксплуатации трубопровода с целью формировании информационной базы и повышения скорости реагирования при аварийных ситуациях.

Причины возникновения проекта по созданию Интеллектуальную систему поддержки принятия решений:

·    Непропорциональный рост числа трубопроводов на проекте;

·        Необходимость обучения ассистентов и младших инженеров;

·        Появление необходимости для дополнительного контроля безопасности при эксплуатации трубопровода в связи многократным увеличением газовых потоков ресурсов;

·        Необходимость проекта подстраиваться под дефицит квалифицированных трудовых ресурсов;

·        Отсутствие на рынке уже существующей Интеллектуальную систему поддержки принятия решений при эксплуатации трубопровода;

Основными причинами неприемлемости идеи проекта являются:

·    Достаточно высокие риски при постановки неправильного алгоритма ремонтных работ при использовании интеллектуальной системы поддержки принятия решений при эксплуатации трубопровода;

·        Риск возникновения чрезмерной зависимости инженеров от ИС поддержки принятия решений, с приобретением последней высокого авторитета, что недопустимо, так как система, прежде всего, должна оказывать помощь, а не заменять специалиста;

·    Вероятность инерционности кадрового состава ЗАО «Karachaganak petroleum operating», вовлеченного в проект, как на этапе создания, так и на этапе использования ИС поддержки принятия решений. Иными словами, содействие инженеров проекту является не их собственной инициативой, а навязанной сверху необходимостью;

·        Высокая стоимость внедрения дополнительного оборудования для каждой станций наблюдения, необходимого для реализации проекта;

·        Отсутствие общепринятых современных стандартов в данной области, и, следовательно, отсутствие возможности следования этим стандартам.

Миссией ЗАО «Karachaganak petroleum operating» является восстановление, сохранение и приумножение ресурсных и материальных богатств граждан Республики Казахстан, путем продажи высокооктанового газа зарубежным партнерам.

Текущая ситуация в КПО характеризуется отсутствием подобной ИС принятия решений, нехваткой квалифицированных инженеров, нехваткой ресурсов и времени на обучение высококлассных специалистов европейского уровня. ИС поддержки принятия решений в качестве вспомогательной системы при эксплуатации трубопровода не только сократит время необходимое на реагирование в случае ЧС, но и сделает процесс более эффективным в показателях время/затраты.

Необходимо изучить процесс эксплуатации трубопровода, определить и четко обозначить владельца процесса, входящую информацию, правила и нормативы. Так же необходимо формализовать подпроцессы и функции данного процесса. И в итоге, разработать ИС поддержки принятия решений.

Целью проекта является значительное снижение времени и расходов при реагировании в случае ЧС. Так же ожидается положительный эффект от сокращения случаев неправильной постановки задач ремонтным бригадам.

Резюме - результат формирования идеи проекта по аспектам

·      Цель проекта: целью создания данного проекта является повышение качества и эффективности процесса эксплуатации трубопровода, и как следствие - снижение связанных статей расходов по бюджету предприятия, а так же увеличение показателей соцразвития, связанных с уровнем безопасности для близ лежащих поселений.

·        Основные особенности и альтернативы проекта: на данный момент проект уникален в данной области, последняя интеллектуальная система посвященная эксплуатации трубопровода была разработана более тридцати лет тому назад и является устаревшей.

·        Проблемы, которые должны быть учтены. К основной организационной проблеме относится инерционность и консервативность инженерного состава предприятия. К основной финансовой проблеме можно отнести характерную для любых проектов, сложность в убеждении вышестоящее руководство в целесообразности создания ИС, с целью привлечение финансовых потоков.

·        Необходимые мероприятия по разработке проекта: для реализации данного проекта, прежде всего, необходимы мероприятия по обучению и просвещению инженерного состава, вовлеченного в проект, во избежание противодействия проекту, его затягивания и саботирования.

Так же необходимы мероприятия по анализу процесса эксплуатации трубопровода, с последующей его формализацией.

Основные критерии (идеи) приемлемости проекта

Основные критерии (идеи) приемлемости проекта:

·      Техническая сущность: данный проект является технически осуществимым;

·        Жизнеспособность: данный проект обладает долгосрочной жизнеспособностью;

·        Экономическая эффективность: экономическая эффективность данного проект не стоит на первых позициях, но присутствует, так как ожидается снижение затрат в результате реализации проекта;

·      Политическая и социальная приемлемость: основным критерием приемлемости проекта можно назвать его высокий эффект, в сфере социального развития.

3.2    Оценка эффективности проекта

3.2.1 Расчет сметы затрат по проекту

Расчет затрат на внедрение проекта производится по формуле 1:

 

Кобщ = Кэвм + Кпо + Кро (1), где

Кэвм - капитальные затраты на оборудование; Кпо - затраты на программное обеспечение; Кро - затраты на разработку и освоение проекта.

Затраты на приобретение компьютера и периферийных устройств Кэвм высчитывается по формуле 2:

 

Кэвм = Ц1 *К1 + Ц2 *К2 + Ц3 *К3 + Ц4 *К4 + Зтр + Цпр (2),где

Ц1 - цена компьютера; Ц2 - цена принтера; Ц3 - цена монитора; Ц4 - цена сканера; К1 - количество компьютеров; К2 - количество принтеров; К3 - количество мониторов; К4 - количество сканеров; Зтр - транспортные расходы; Цпр - прочие расходы на оборудование.

В таблицах 25,26 предоставлены сметы затрат на приобретения оборудования, затраты на программное обеспечение, на разработку и освоение проекта и на общие затраты и внедрение проекта соответственно.

Таблица 25 - Смета затрат на приобретение компьютерного оборудования

Наименование оборудования

Количество

Цена (руб.)

Стоимость (руб.)

1

Компьютер Compaq <#"897454.files/image037.gif">

Рис. 33. Источники финансирования

В результате рассмотрения источников финансирования были выявлены возможные источники получения дополнительных денежных средств.

Основной источник финансирования проекта - средства предприятия, предоставляемые на целевое инвестирование.

Выбор оптимального варианта финансирования

Были рассмотрены 5 основных вариантов финансирования, с разными долями собственных вложений и заемного капитала. В таблицах 27, 28, 29 приведены: операционная деятельность (эксплуатационные расходы), инвестиционная деятельность (капитальные затраты) и финансовая деятельность для варианта «собственный капитал-100%, банковский кредит-0%».

Таблица 27- Показатели операционной деятельности (эксплуатационные расходы)

Название показателя

2011

2012

2013

2014

2015

1

Объем продаж

2

3

5

6

8

2

Цена

100000

95000

100000

105000

110000

3

Выручка

200000

285000

500000

630000

880000

4

Оплата труда

149000

80000

85000

88000

90000

5

Исходные материалы

15600

2000

2250

2650

2200

6

Постоянные издержки

15600

15600

15600

15600

15600

7

Амортизация

12000

12000

12000

12000

12000

8

Проценты по кредитам

0

0

0

0

0

9

Прибыль до вычета налогов

2200

175400

384150

511750

760200

10

Налог на прибыль (20%)

286

22802

49939,5

66527,5

98826

11

Проектируемый чистый доход

1914

152598

334211

445223

661374

12

Чистый приток от операций

1986

164598

347211

457223

673374

 

Таблица 28- Показатели инвестиционной деятельности (капитальные затраты)

Название показателя

2011

2012

2013

2014

2015

1

Техническая линия

-15766

0

0

0

0

2

Прирост оборотного капитала

-62136

0

0

0

0

3

Итого:

-77902

0

0

0

0

 

Таблица 29- Показатели финансовой деятельности при оптимальном варианте финансирования «собственный капитал»

Название показателя

2011

2012

2013

2014

2015

1

Собственный капитал 100%

77902

0

0

0

0

2

Долгосрочный кредит 0%

0

0

0

0

0

3

Погашение задолженности

0

0

0

0

0

4

Сальдо финансовой деятельности

77902

0

0

0

0

5

Поток реальных денег

-76816

164598

347211

457223

673374

6

Сальдо реальных денег

1986

164598

347211

457223

673374


В таблице 30 представлены итоги расчетов показателей коммерческой эффективности проекта. Наилучшим был выбран вариант, когда собственный капитал 100%. Он отмечен красным цветом таблице. Выбор обосновывается благоприятным сроком окупаемости(PP) и максимальным индексом выгодности(PI).

Таблица 30- Итоги расчета показателей коммерческой эффективности

Структура финансирования

IRR

NPV

PI

PP

CF

Предпочтительная структура финансирования

Выбранный вариант






IRR

NPV

PI

PP

CF

1

СК - 0% БК - 100%

2,6334

1516739

19,2

1,0

142848

-

-

-

+

-

-

2

СК - 25% БК - 75%

2,7075

1531964

19,3

1,1

151548

-

-

-

+

-

-

3

СК - 50% БК -50%

2,749

1542839

19,4

1,1

+

-

-

+

-

-

4

СК - 75% БК -25%

2,7908

1553714

19,4

1,2

160248

+

-

-

+

+

-

5

СК - 100% БК - 0%

2,8329

1564589

19,5

1,3

164598

+

+

+

+

+

+



Графики полученных показателей представлены на рисунках 34-37

Рис34. Поверочный дисконт IRR

Рис. 35. Индекс выгодности PI

Рис. 36. Поток реальных денег

Рис. 37. РР период окупаемости

3.2.3 Расчет ожидаемой прибыли

Расчет прибыли производится по следующей формуле:

Робщ = Р1 + Ам + Р3 ;

Р3 = N5 + 2срок окупаемости;

Робщ - суммарная прибыль.

Р1 - Проектируемый чистый доход. (Таблица №27, пункт 11.)

Ам - Амортизация. (Таблица №27, пункт 7.)

Р3 - Прибыль от проекта, поток реальных денег. (Таблица №29, пункт 5.)

Рис38. Диаграмма прибыли

Робщ = 661371 + 12000 + 673374 × 2 = 2020119 р.

Таким образом, проект со сроком окупаемости в два года, принесет 2020119 рублей чистой прибыли.

3.3    Жизненный цикл проекта, жизненный цикл ЗАО «КПО», жизненный цикл ИСППР при эксплуатации трубопровода

Жизненный цикл проекта (англ. Project Life Cycle) - последовательность фаз проекта, задаваемая исходя из потребностей управления проектом.

В рамках методологии Института управления проектами (англ. Project Management Institute) жизненный цикл проекта имеет 5 фаз:

·        Инициализация(англ. Initialization);

·        Планирование (англ. Planning);

·        Выполнение (англ. Executing);

·        Контроль и мониторинг ( англ. Controlling and Monitoring);

·        Завершение (англ. Closing).

На данный момент существует множество методов определения жизненных циклов проектов, наиболее широко распространенные:

·        Моделирование жизненного цикла проекта по принципу «водопада»

·        Моделирование жизненного цикла проекта по итеративной модели

·        Моделирование жизненного цикла проекта по спиральной модели

·        Моделирование жизненного цикла проекта инкрементным методом

Моделирование жизненного цикла проекта по принципу «водопада»

При моделировании по принципу «водопада» работа над проектом движется линейно через ряд фаз, таких как:

·              анализ требований (исследование среды);

·              проектирование;

·              разработка и реализация подпроектов;

·              проверка подпроектов;

·              проверка проекта в целом.

Недостатками такого подхода являются накопление возможных на ранних этапах ошибок к моменту окончания проекта и, как следствие, возрастание риска провала проекта, увеличение стоимости проекта.

Моделирование жизненного цикла проекта по итеративной модели

Итеративный подход (англ. iteration - повторение) - выполнение работ параллельно с непрерывным анализом полученных результатов и корректировкой предыдущих этапов работы. Проект при этом подходе в каждой фазе развития проходит повторяющийся цикл: Планирование - Реализация - Проверка - Оценка (англ. plan-do-check-act cycle).

Преимущества итеративного подхода:

·              снижение воздействия серьёзных рисков на ранних стадиях проекта, что ведет к минимизации затрат на их устранение;

·              организация эффективной обратной связи проектной команды с потребителем (а также заказчикам) и создание продукта, реально отвечающего его потребностям;

·              акцент усилий на наиболее важные и критичные направления проекта;

·              непрерывное итеративное тестирование, позволяющее оценить успешность всего проекта в целом;

·              раннее обнаружение конфликтов между требованиями, моделями и реализацией проекта;

·              более равномерная загрузка участников проекта;

·              эффективное использование накопленного опыта;

·              реальная оценка текущего состояния проекта и, как следствие, большая уверенность заказчиков и непосредственных участников в его успешном завершении.

Моделирование жизненного цикла проекта по спиральной модели

В модель Барри Боэма рассматривается зависимость эффективности проекта от его стоимости с течением времени. На каждом витке спирали выполняется создание очередной версии продукта, уточняются требования проекта, определяется его качество, и планируются работы следующего витка.

Моделирование жизненного цикла проекта инкрементным методом

Инкрементное построение: разбиение большого объёма проектно-конструкторских работ на последовательность более малых составляющих частей.

3.3.1

3.3.1 Жизненный цикл ЗАО «КПО»

С 2009 по 2012 года КПО являлся крупнейших газодобывающих предприятий в Республике. Благодаря усилию консорциума иностранных компаний и отечественных подрядчиков были достигнуты высочайшие рекорды по добыче ресурсов.

Рис. 39. Этапы жизненного цикла проекта

К сожалению, с 2013-2014 на проекте наблюдается высокая текучесть кадров, возрастающие конфликты с региональными властями, нестабильная политическая обстановка в дружественных странах так же негативно сказываются на развитии проекта.

Проанализировав данную информацию, можно прийти к выводу, что «КПО» находится в последней стадии развития - упадка, в связи, с чем необходимы кардинальные изменения в организации проекта и немедленное инициализирование процессов омоложения.

Рис 40. Этапы жизненного цикла «КПО». В рамки заключен приблизительный возраст предприятия

В связи с чем, разработка и внедрение новой ИСППР будет одним первых шагов по омоложению предприятия и выхода из упадка.

3.3.2 Жизненный цикл ИСППР при эксплуатации трубопровода

Интеллектуальная система поддержки принятия решения при эксплуатации трубопровода является инициативой отдела контроля и разработки сигнализационных систем. В виду недавней активации работ по созданию системы, можно прийти к логическому выводу, что проект находится в начальной стадии развития, а именно, на стадии инициализированная.

Рис 41. Жизненный цикл разработки ИСППР

Происходит сбор данных, изучается предметная область, строятся механизмы логического ввода-вывода, ведутся тесты программы, подготавливается документация и формирование отчетов для вышестоящего руководства, ожидания одобрения на дальнейшее развитие и разработку ИСППР.

Заключение

В рамках дипломного проекта были решены две главные задачи: разработана продукционная база знаний (с единообразным представлением знаний, что облегчает их восприятие и понимание человеком) и разработан механизм логического вывода (комбинированный) для интеллектуальной Системы поддержки принятия решений при эксплуатации трубопровода.

Для решения этих задач был проведен анализ процесса диагностирования трубопроводов КПО, разработана организационная структура КПО, так же был проведен анализ технического, программного и информационного обеспечения для Интеллектуальной Системы поддержки принятия решений при эксплуатации трубопровода, разработана структура Интеллектуальной Системы поддержки принятия решений при эксплуатации трубопровода, разработана модель продукционной базы и самой базы знаний, построено дерево решений, разработан механизм логического вывода.

В заключение, так же хотелось бы отметить, что в ходе аналитических работ чрезвычайно важно установить причину повреждения трубопровода верно и сделать это как можно быстрее. Диагноз повлияет не только на ремонтные работы, но и на процесс транспортировки ресурсов в целом. Нужно ли пояснять, насколько велика цена ошибки или даже промедления в экстренных ситуациях. Ценой ошибки могут стать весьма угнетающие последствия, вплоть до гибели сотрудников предприятия.

Осваивать такой объем информации практикующие специалисты-инженеры просто не имеют возможности, так же как лечебные высшие учебные учреждения не могут обеспечить полноценное повышение квалификации каждому из работающих специалистов. Поэтому на помощь работникам приходят новые программные технологии. Интеллектуальная система поддержки принятия решений при эксплуатации трубопровода позволяет облегчить и ускорить процесс постановки алгоритма ремонтных работ, разработки курса восстановительных процессов, оптимизировать список назначаемых анализов.

Список источников информации

1.      Гаврилова Т., Хорошевский В. Базы знаний интеллектуальных систем: Учебник для вузов. - СПб.: Питер, 2000 г.

.        Герман О.В. Введение в теорию экспертных систем и обработку знаний. - Минск.: ДизайнПРО, 1995. - 256с.

.        Голенков В.В., Емельянов В.В., Тарасов В.Б. Виртуальные кафедры и интеллектуальные обучающие системы // Новости искусственного интеллекта. - 2001. - N 4. - С. 3-13.

.        Люгер Д. Ф. Искусственный интеллект: стратегии и методы решения сложных проблем, 4-е издание.: Пер. с англ. - М.: Издательский дом «Вильямс», 2003. - 864c. [п. 2.1.5., стр. 122]

.        Попов Э.В., Фоминых И.Б., Кисель Е.Б., Шапот М.Д.. Статические и динамические Интеллектуальные системы. М.: Финансы и статистика, 1996.

.        Попов Э.В. Интеллектуальные системы. Решение неформализованных задач в диалоге с ЭВМ.- М.: Наука, 1987. - 288с. [п. 2.2.1., стр. 140]

.        Рассел С., Норвиг П. Искусственный интеллект: современный подходМ.: Вильямс, 2006 г.

.        Таунсенд К., Фохт Д. Проектирование и программная реализация экспертных систем на персональных ЭВМ. -М.: Финансы и статистика,1990. -320с.

.        Фомичева О. Е., Харахан О. Г. учебное пособие по дисциплине «Системы искусственного интеллекта».

.        Фомичева О. Е., Харахан О. Г. учебное пособие «Проектирование информационных систем».

.        Кайгородова Т.В., статья «Научно-информационное обеспечение принятия решений в промышленности и энергетике», 21.12.2009.://vestnik.mednet.ru/content/view/162/30/lang,ru/

12.    Кански, Д. Клиническая офтальмология: системный подход. Пер. с англ./ Д. Кански. - М.: Логосфера, 206. - 744 с.

.        Кобринский Б.А., статья «Системы поддержки принятия решений в здравоохранении и обучении». "Инженер и информационные технологии", N 2, март-апрель 2010 г.

.        Радченко С.В., статья «Информационные технологии поддержки принятия Инженерных решений». Информационные технологии в здравоохранении, №13-14, 2002 г. wiki.openhealth.ru/xwiki/bin/view/Main/Информационные+технологии+поддержки+принятия+Инженеребных+решений

.        Статьи и методические материалы по соединительной оболочки трубопровода

Похожие работы на - Разработка интеллектуальной системы диагностики повреждения трубопровода

 

Не нашли материал для своей работы?
Поможем написать уникальную работу
Без плагиата!
Без нейросетей!