Создание программного модуля обработки данных счётчиков электроэнергии на предприятии РУП 'Минскэнерго' филиал 'Энергосбыт'

  • Вид работы:
    Дипломная (ВКР)
  • Предмет:
    Информационное обеспечение, программирование
  • Язык:
    Русский
    ,
    Формат файла:
    MS Word
    698,47 Кб
  • Опубликовано:
    2017-05-20
Вы можете узнать стоимость помощи в написании студенческой работы.
Помощь в написании работы, которую точно примут!

Создание программного модуля обработки данных счётчиков электроэнергии на предприятии РУП 'Минскэнерго' филиал 'Энергосбыт'

Содержание

Введение

. Анализ предметной области

.1 Структура предприятия

.2 Информационная система предприятия

.3 Постановка задачи

. Варианты возможных способов учёта и контроля электрической энергии

.1 Электронный программируемый прибор для дистанционного учёта электрической энергии типа «ETS-M»

.2 Сумматор электронный многофункциональный «СЭМ-1»

.3 Сумматор электронный многофункциональный для учета электроэнергии «СЭМ-2»

.4 Счётчик статический активной энергии однофазный «Гран-Электро СС-101»

. Описание системы управления

.1 Характеристика АСКУЭ

.2 Структурная схема АСКУЭ

.3 Общие требования к системе АСКУЭ

.4 Обзор существующих АСКУЭ

. Создание программного модуля

.1 Выбор языка и среды разработки

.2 Протокол обмена данных со счётчиком

.3 Чтение, модификация и обнуление параметров

.4 Циклический избыточный код (CRC)

.5 Поиск счётчиков при использовании расширенной адресации

. Технико-экономическое обоснование разработки программного модуля обработки данных счётчиков электроэнергии

.1 Характеристика программного модуля

.2 Оценка трудоемкости и сроков разработки

.3 Расчет затрат на разработку и отпускной цены программного продукта

.4 Расчет затрат по использованию ПО

. Охрана труда и меры безопасности при работе со счётчиком электроэнергии

.1 Характеристика считывающего устройства

.2 Оценка потенциально опасных факторов

.3 Обоснование выбора инженерно-технических и организационно-планировочных мер по обеспечению безопасности персонала, конструктивные решения

Заключение

Список использованных источников

Приложения

Введение

В настоящее время одной из важнейших задач каждого предприятия становится экономия материальных ресурсов, так как именно материальные затраты составляют большую часть издержек производства, от которых непосредственно зависит величина прибыли. А прибыль является основным источником жизнеобеспечения предприятия.

Рациональное и экономное использование материальных и топливно-энергетических ресурсов имеет очень большое значение для каждого конкретного предприятия нашего государства.

Расход материальных ресурсов, в том числе и электрической энергии, представляет собой их производственное потребление. Расход на производство охватывает все количество материальных ресурсов, затраченных предприятием непосредственно на выполнение программы по выпуску продукции. Расходование материальных ресурсов осуществляется также на ремонтные нужды, обслуживание внутризаводского транспорта, обеспечение подсобного хозяйства, культурно-бытовые нужды. Потребление материальных ресурсов характеризуется общим потреблением на выполнение всей производственной программы в отчетном периоде и удельным их расходом - потреблением на производство единицы товарной продукции.

Основным условием снижения затрат сырья и материалов на производство единицы продукции является совершенствование технологии производства, сокращение затрат на обслуживание производства, использование прогрессивных видов материалов, внедрение технически обоснованных норм расходов материалов и топливно-энергетических ресурсов.

Национальным достоянием Республики Беларусь являются её природные, топливно-энергетические ресурсы, а также технический и интеллектуальный потенциал. Повышение эффективности использования технического потенциала, а также всех видов ресурсов внутри страны с применением в широких масштабах энергосберегающих технологий в промышленности, является важнейшей задачей политики ресурсосбережения.

Целью дипломной работы является создание программного модуля обработки данных счётчиков электроэнергии на предприятии РУП «Минскэнерго» филиал «Энергосбыт».

Для достижения цели дипломной работы необходимо решить ряд задач:

) анализ технологического процесса с целью определения места, роли и значимости программного модуля обработки данных счётчиков электроэнергии в технологическом комплексе;

) анализ системы электроснабжения;

) определение иерархии системы управления и контроля, а также структуры АСКУЭ;

) разработка программного модуля обработки данных счётчиков электроэнергии;

) описание программного обеспечения АСКУЭ;

) определение технико-экономической актуальности, необходимости и возможности модернизации системы;

) анализ существующей системы организационно-технических мероприятий по обеспечению охраны труда и техники безопасности при эксплуатации, модернизированной системы.

Дипломный проект выполнен самостоятельно, проверен в системе «Антиплагиат». Процент оригинальности соответствует норме, установленной кафедрой. Цитирования обозначены ссылками на публикации, указанные в «Списке литературы».

программный счётчик электроэнергия экономический

. Анализ предметной области

.1 Структура предприятия

Филиал «Энергосбыт» является обособленным подразделением РУП «Минскэнерго» и расположен по адресу 220013, г. Минск, ул. Б. Хмельницкого, 6.

Одной из основных задач филиала «Энергосбыт» является обеспечение надежной и точной работы расчетных приборов учета электрической энергии на объектах энергосистемы РУП «Минскэнерго» и у потребителей города Минска и Минской области.

Для выполнения этой задачи персоналом филиала проводятся работы по наладке систем учета электроэнергии, замене, опломбировке однофазных и трехфазных счетчиков электрической энергии, установленных у потребителей. По заявлениям потребителей или заявкам представителей энергоснабжающей организации производится снятие приборов учета электрической энергии для проведения экспертной проверки в РУП «Белорусский Государственный Институт Метрологии». Производится проверка параметризации электронных приборов учета, установленных у потребителей, а также корректировка параметризации согласно действующим распорядительным документам.

За 2015 год персоналом филиала выполнена плановая замена 68 180 приборов учета электрической энергии.

Функцию ремонта счетчиков, без проведения которых невозможно обеспечение надежной и точной работы расчетных приборов учета электрической энергии на объектах энергосистемы РУП «Минскэнерго» и у потребителей города Минска и Минской области, в филиале создан цех по ремонту приборов учета. Цех организует и проводит работы по ремонту однофазных и трехфазных электросчетчиков и представляет отремонтированные электросчетчики на поверку в РУП «БелГИМ».

За 2015 год персоналом филиала отремонтировано 117 777 приборов учета электрической энергии.

Суммарное электропотребление потребителями РУП «Минскэнерго» в 2015 г. составило 9 677,1 млн. кВтч, теплопотребление - 10 498,4 тыс. Гкал.

Потребителям РУП «Минскэнерго» в 2015 г. отпущено электрической и тепловой энергии на сумму 23 448,3 млрд. руб.

Количество абонентов электрической энергии по состоянию на 01.01.2016 г. по РУП «Минскэнерго» составило 1 619 014, в том числе бытовых - 1 540 924, не бытовых - 78 090.

Количество абонентов тепловой энергии по состоянию на 01.01.2016 г. по РУП «Минскэнерго» составило 19 014.

По состоянию на 01.01.2016 по г. Минску и Минской области в эксплуатации находится 1 683 584 счетчик электрической энергии.

Контроль за работой автоматизированных систем контроля и учета электроэнергии, программно-техническое обслуживание автоматизированных систем контроля и учета электроэнергии (АСКУЭ) промышленных, непромышленных и бытовых потребителей г. Минска и Минского района осуществляет служба АСКУЭ, в которой я проходил преддипломную практику.

Служба автоматизированных систем контроля и учета электроэнергии (служба АСКУЭ) является структурным подразделением филиала «Энергосбыт» РУП «Минскэнерго». Служба АСКУЭ создается, упраздняется приказом директора филиала «Энергосбыт» с согласованием генерального директора РУП «Минскэнерго» и подчиняется непосредственно главному инженеру. Служба осуществляет свою работу в соответствии с планами, утвержденными главным инженером филиала «Энергосбыт».

Цели и направление деятельности АСКУЭ:

) Создание и совершенствование автоматизированной (информационно-измерительной) системы контроля и учета электрической энергии.

) Осуществление коммерческого учета на межсистемных и международных линиях РУП «Минскэнерго».

В зону обслуживания службы АСКУЭ входят:

) Автоматизированная (информационно-измерительная) система коммерческого учета филиала «Энергосбыт» РУП «Минскэнерго»;

) Коммерческие учеты на межсистемных и международных линиях РУП «Минскэнерго»; АСКУЭ бытовых абонентов на территории Минской области; АСКУЭ юридических лиц и индивидуальных предпринимателей на территории Минской области; В отношении АСКУЭ, расположенных на территории МРО служба АСКУЭ осуществляет шеф-контроль и методологическое управление технологическим персоналом МРО.

Основные задачи:

) Обеспечение точной и надежной работы расчетных автоматизированных систем учета электроэнергии у потребителей РУП «Минскэнерго».

) Обеспечение точной и надежной работы электронных приборов учета установленных на межсистемных и международных учетах РУП «Минскэнерго».

) Приемка в эксплуатацию по завершению пусконаладочных и ремонтно-восстановительных работ, участие при метрологической аттестации автоматизированных систем потребителей.

) Оказание методологической помощи потребителям в автоматизации учета электропотребления.

) Методологическая работа с подразделениями филиала Энергосбыт и координация работы с аналогичными подразделениями других «Облэнерго» и РУП «Минскэнерго».

По состоянию на 01.01.2016 г. общее количество АСКУЭ потребителей на территории г. Минска и Минской области составило 5 720 шт.

Филиал «Энергосбыт» имеет собственную производственную инфраструктуру, которая обеспечивает выполнение полного цикла сбыта электроэнергии.

В структуру филиала «Энергосбыт» кроме центральных служб, отделов и цеха по ремонту приборов учета электроэнергии входят:

Три отделения в г. Минске:

) Минское отделение по сбыту электрической энергии;

) отделение по сбыту электрической энергии Минского района, в состав которого входят Заславский и Острошицкий производственно-сбытовые участки;

) Минское отделение по сбыту тепловой энергии.

А также семь межрайонных отделений по Минской области, в состав которых входят семнадцать производственно-сбытовых участков:

) Вилейское межрайонное отделение, в состав которого входит Мядельский производственно-сбытовой участок;

) Молодечненское межрайонное отделение, в состав которого входит Воложинский производственно-сбытовой участок;

) Слуцкое межрайонное отделение, в состав которого входят Копыльский и Стародорожский производственно-сбытовые участки;

) Солигорское межрайонное отделение, в состав которого входит Любанский производственно-сбытовой участок;

) Клецкое межрайонное отделение, в состав которого входит Несвижский производственно-сбытовой участок;

) Столбцовское межрайонное отделение, в состав которого входят Дзержинский, Узденский и Фанипольский производственно-сбытовые участки;

) Пуховичское межрайонное отделение, в состав которого входит Руденский производственно-сбытовой участок.

Организационная структура филиала «Энергосбыт» представлена на рисунке 1.1.

Структура и штаты службы АСКУЭ утверждаются директором филиала «Энергосбыт» в соответствии с типовыми структурами, нормативами численности с учетом объемов и особенностей работ. Службу АСКУЭ возглавляет начальник, который назначается и освобождается от занимаемой должности приказом директора филиала «Энергосбыт», по представлению главного инженера (на должность начальника службы АСКУЭ назначается лицо, имеющее высшее техническое образование и стаж работы на инженерно-технических должностях в энергосистеме не менее 5 лет). Функции и обязанности персонала службы АСКУЭ распределяются начальником службы АСКУЭ посредством разработки и утверждения должностных и рабочих (профессиональных) инструкций для работников службы АСКУЭ. Ответственность за полноту и качество распределения функций и обязанностей и обеспечение условий для их выполнения возлагается на начальника службы АСКУЭ. Контроль качества выполняемой подчиненным персоналом работы и ответственность за результаты работы службы АСКУЭ возлагается на начальника службы АСКУЭ.

Рисунок 1.1 - Организационная структура В соответствии с основными задачами служба АСКУЭ осуществляет следующие функции:

) Контроль правильности работы, наладки и ввода в эксплуатацию расчетных автоматизированных систем учета электроэнергии у потребителей РУП «Минскэнерго».

) Проведение ремонтных, наладочных и эксплуатационных работ по АСКУЭ-потребителей РУП «Минскэнерго» и ее развитие.

) Установку, замену и техническое обслуживание расчетных электронных приборов учета установленных на межсистемных и международных учетах РУП «Минскэнерго».

) Приемку в эксплуатацию по завершению пусконаладочных и ремонтно-восстановительных работ, участие при метрологической аттестации автоматизированных систем потребителей.

) Консультацию потребителей по вопросам автоматизации учета электроэнергии, обобщение опыта эксплуатации и внесение предложений по дальнейшему развитию системы АСКУЭ-потребительское РУП «Минскэнерго».

) Проведение обучения персонала РУП «Минскэнерго» пользованию автоматизированными системами учета электроэнергии и правилами их эксплуатации.

) Проведение мероприятий по технике безопасности; инструктажей, проверки знаний персонала; для техники безопасности, смотров-конкурсов по охране труда и правилам техники безопасности.

) Согласование и сопровождение договоров на поставку электрической энергии в сеть РУП «Минскэнерго» от объектов малой и нетрадиционной энергетики в части АСКУЭ.

) Совместно со службами РУП «Минскэнерго» и концерна «Белэнерго» рассмотрение и ввод в работу новых приборов и систем учета, проведение их модернизации и реконструкции с применением новой техники, оборудования, систем и т.д.

) Методическое руководство подчиненным персоналом МРО и других подразделений по вопросам АСКУЭ.

) Координация работы с аналогичными подразделениями других «Облэнерго» и РУП «Минскэнерго».

1.2 Информационная система предприятия

Автоматизированная система филиала «Энергосбыт» районной электросети (АС «Энергосбыт») предназначена для автоматизации расчетов за электроэнергию с абонентами-организациями в отделе филиала «Энергосбыт» районной электросети. АС «Энергосбыт» предназначена и для тех, кто хочет впервые перейти на компьютеризованный учет в филиале «Энергосбыт», и для тех, кто хочет обновить устаревшую эксплуатируемую программу. АС «Энергосбыт» повысит эффективность работы филиала «Энергосбыт» за счет организации функционально обособленных автоматизированных рабочих мест, позволит сэкономить время абонентов и освободит сотрудников от рутинной работы.

Функционально АС «Энергосбыт» позволяет:

) формировать и вести электронные карточки абонентов;

) формировать и вести электронные карточки объектов учета потребления электроэнергии;

) редактировать (изменять) информацию об абонентах и объектах с последующей автоматической обработкой редакции при выписке счетов;

) формировать и вести «Журнал редакции»;

) вводить показания счетчиков, величин установленной мощности и договорных величин реактивной энергии;

) принимать и контролировать показания из электронной книги контролера (разработка РУП «Минские электросети» позволяет отказаться от перфокарт и других бумажных носителей учета показаний счетчиков), карманных ПК;

) производить ежемесячный расчет счетов за электроэнергию, формирование платежных требований и счетов-фактур;

) осуществлять контроль за правильностью выписки счетов;

) формировать счет для оплаты в кассу с учетом задолженности и пени;

) формировать и вести счета-фактуры и книгу продаж;

) вести учет оплаты за электроэнергию;

) Формировать и вести оборотно-сальдовые ведомости расчетов с абонентами;

) обеспечивать оперативной информацией при работе с абонентами-должниками;

) производить расчет задолженности и пени для предоставления в арбитражный суд;

) производить расчет реализации за отпуск электроэнергии;

) Вести учет показаний счетчиков на фидерах «Облэнерго» и производить расчет покупки электроэнергии;

) Анализировать покупку и реализацию электроэнергии;

) определять места и величины потерь электроэнергии на различных уровнях: фидерном, абонентском, объектном;

) вести учет договорных величин электропотребления абонентов, контроль их использования, корректировку в зависимости от оплаты;

) производить расчет начислений за превышение договорных величин и формировать платежные документы;

) вести учет утвержденных бюджетом лимитов на электропотребление (в натуральном и денежном выражении) и расчетов задолженности бюджетных организаций, а также формировать отчетность.

) формировать статистические отчеты 46эс, 9пс;

) первоначально сформировать базу данных, исходя из существующих в филиале «Энергосбыт» баз данных старых программ.

АС «Энергосбыт» функционирует на компьютерах типа IBM PC с оперативной памятью не менее 32 Мб и частотой не менее 150 МГц под управлением ОС Windows 95 и выше. В штатном варианте для АС «Энергосбыт» требуется 6 персональных компьютеров (5 АРМ + 1 сервер) и 2 принтера (лазерный и струйный). Возможно поэтапное наращивание комплекса технических средств, начиная с 1 компьютера и 1 принтера (многопользовательский режим). АС «Энергосбыт» разработана с применением программного продукта фирмы Microsoft: Access. АС «Энергосбыт» разработана и функционирует в РУП “Минские электросети”, начиная с сентября 1998г. (в полном объеме: с ноября 1999г.).

Общая структурно-функциональная схема автоматизированной системы филиала «Энергосбыт» приведена на рисунке 1.2.

Рисунок 1.2 - Схема АС «Энергосбыт»

.3 Постановка задачи

При постановке цели данного дипломного проекта были поставлены следующие задачи:

) изучение аналогов;

) разработка и реализация собственной автоматизированной системы интеграции данных о потреблении электроэнергии;

) тестирование разработанной системы на корректность работы и соответствие качеству;

) выработка навыков творческого мышления и умения применять обоснованные в технико-экономическом отношении решения инженерных задач, воспитание ответственности за качество принятых решений;

) закрепление знаний, полученных ранее;

) формирование профессиональных навыков, связанных с самостоятельной деятельностью будущего специалиста;

) приобщение к работе со специальной и нормативной литературой;

) привитие практических навыков применения норм проектирования, методик расчетов, технологических инструкций, типовых проектов, стандартов и других нормативных материалов;

) применение современных расчетно-графических и экономико-математических методов, организационного, экономического и социального анализа, оценки, сравнения, выбора и обоснования предлагаемых проектных решений;

) самостоятельное выполнение расчетов конструктивного, технологического, организационного и экономического характера с использованием экономико-математических методов и современных информационных технологий;

) оформление проектных материалов (четкое, ясное, технически грамотное и качественное литературное изложение пояснительной записки и оформление графического материала проекта).

. Варианты возможных способов учёта и контроля электрической энергии

.1 Электронный программируемый прибор для дистанционного учёта электрической энергии типа «ETS-M»

Основной областью применения программируемого дистанционного суммирующего прибора типа «ETS-M» (в дальнейшем - сумматор) является измерение потребления электрической энергии. Применение прибора даёт преимущество там, где потребитель получает энергию от нескольких подстанций. В таком случае на каждом вводе питания установлены электросчётчики с импульсными датчиками. Прибор «ETS-M» суммирует импульсы электросчётчиков и индицирует потребление по каналам, суммированное потребление по тарифам и суммарное потребление по зонам суточного графика нагрузки. Длительностью периода интегрирования может быть любое стандартное значение.

Прибор «ETS-M» может найти также применение при измерении водоснабжения и газоснабжения и в каждых областях, где обрабатываются импульсы пропорциональные определённому количеству.

В приборе далее предусмотрено программирование уровня нагрузки в часы пик. В случае достижения пороговых значений нагрузки прибор дает сигнал опасности.

Прибор дистанционного учёта типа «ETS-M» в зависимости от заказа может выполняться с 4-мя, 8-ю и 12-ю входами. Действительное число каналов в зависимости от программирования 2-4, 2-8 и 2-12. Направление энергии может определяться по каждому каналу, так к одному сумматору могут присоединяться электросчётчики, работающие при положительном направлении энергии (потребление) и счётчики, которые работают при отрицательном направлении энергии (выработка энергии).

Для суммирования активной и реактивной энергии необходимо два прибора отдельно. Так как сумматор выполняет функцию контактных часов, отдельных контактных часов не требуются.

К системе могут подключаться счётчики с различными номиналами тока и напряжения. Система противодействует вибрации с частотой не более 25 Гц и с амплитудой не более 0,1 мм.

.2 Сумматор электронный многофункциональный «СЭМ-1»

Сумматор электронный многофункциональный «СЭМ-1» (в дальнейшем - сумматор).

Сумматор предназначен для эффективного контроля и учёта потребления электроэнергии и мощности непосредственно у потребителей, и в автоматизированных системах централизованного учёта и контроля.

Сумматор может использоваться предприятиями госэнергонадзора и диспетчерскими службами энергосистем для оперативного сбора информации о выработке, перетоках и потреблении электроэнергии и введения ограничений на электропотребление.

Сумматор позволяет организовать нижний уровень сети учёта выработки, распределения и потребления энергии с целью получения баланса выработки и перетоков энергии, контроля мощности и расхода энергии потребителями с любой схемой электроснабжения как всего предприятия, и его подразделений по зонам суток, суткам и за расчётный период.

Общий вид сумматора приведён на рисунке 2.1.

Рисунок 2.1 -- Общий вид «СЭМ-1»

Сумматор обеспечивает приём импульсных сигналов с преобразователем по 16-ти каналам при длине линии связи не более 3 км, сопротивлением не более 190 Ом/км и ёмкостью не более 0,1 мкФ/км.

Первичными преобразователями с импульсными выходами могут быть электронные счетчики с импульсным выходом, индукционные счетчики со встроенными устройствами формирования импульсов, вырабатывающие импульсы, соответствующие определенному расходу энергии.

Допускается использовать любые первичные преобразователи, имеющие следующие характеристики:

) длительность импульсов, не менее 12 мс;

) входной ток в момент импульса, не менее 10 мА;

) допустимый ток паузы, не более 1 мА;

) максимальная частота импульсов, не более 10 Гц.

Сумматор рассчитан на круглосуточную работу без технического обслуживания.

Сумматор обеспечивает алгебраическое сложение информации, полученной от различных каналов учета, образуя группы учета от 1 до 6. Набор каналов в группе произвольный, при этом каналы в разных группах могут повторяться.

Сумматор «СЭМ-1» обеспечивает выдачу по двум выходным каналам информации первой и второй групп учета. Частота импульсов каждого выходного канала пропорциональна суммарному количеству энергии соответствующей группы учёта.

Параметры выходных сигналов соответствуют требованиям, предъявляемым к преобразователям.

Сумматор обеспечивает двунаправленный обмен информации с ПЭВМ по двум последовательным интерфейсам. Первый интерфейс - RS232С и ИРПС «токовая петля» по ГОСТ 11 305.916-84. Второй интерфейс - RS232С (трёхпроводной).

Сумматор обеспечивает сохранение измерений при кратковременном пропадании напряжения и при отключении питающего напряжения сроком не менее двух месяцев.

Сумматор сохраняет работоспособность при отклонении напряжения питающей сети на 10% от 220 В и 5% от 100 В.

.3 Сумматор электронный многофункциональный для учета электроэнергии «СЭМ-2»

Сумматор электронный многофункциональный для учета электроэнергии «СЭМ-2» (в дальнейшем - сумматор) предназначен для измерений, коммерческого и технического учета электроэнергии и мощности непосредственно у потребителей, а также в составе автоматизированных систем централизованного учета и контроля энергоресурсов.

Общий вид сумматора «СЭМ-2» приведён на рисунке 2.2.

Рисунок 2.2 -- Общий вид «СЭМ-2»

Сумматор «СЭМ-2» может работать в двух режимах: обычном и сетевом. Режим работы задается внутренним джампером. Сумматор в обычном режиме используется совместно с первичными преобразователями с импульсными выходами или счетчиками с цифровым интерфейсом RS485. Из общего количества каналов учета импульсными могут быть максимум 16 каналов.

Первичными преобразователями с импульсными выходами могут быть электронные счетчики с импульсным выходом, индукционные счетчики со встроенными устройствами формирования импульсов или другие суммирующие приборы, вырабатывающие импульсы, соответствующие определенному расходу энергии.

Допускается использовать любые первичные преобразователи, имеющие следующие характеристики:

) длительность импульсов, не менее 12 мс;

) входной ток в момент импульса, не менее 10 мА;

) допустимый ток паузы, не более 1 мА;

) максимальная частота импульсов, не более 10 Гц.

Сумматор «СЭМ-2» в сетевом режиме предназначен для суммирования мощности и энергии, полученной от нескольких сумматоров «СЭМ-2» нижнего уровня, работающих в обычном режиме, по коммутируемым телефонным или выделенным линиям связи. Он применяется для получения совмещенного графика мощности и энергии для систем и объектов с удаленными сумматорами «СЭМ-2» (более 3 км).

Сумматор рассчитан на круглосуточную работу без технического обслуживания.

Сумматор обеспечивает алгебраическое сложение информации, полученной от различных каналов учета, образуя группы учета. Это позволяет производить расчет суммарной активной и реактивной электроэнергии, потребляемой предприятием в обоих направлениях. Набор каналов в группе произвольный, при этом каналы в разных группах могут повторяться.

Максимальное количество групп учета для сумматора «СЭМ-2»-6.

Сумматор «СЭМ-2» обеспечивает выдачу по двум выходным каналам телеметрической информации первой и второй групп учета, что позволяет создавать системы учета с количеством импульсных каналов более 16-ти.

Сумматор обеспечивает двунаправленный обмен информации с ПЭВМ по последовательному интерфейсу типов «СТЫК C2» по ГОСТ 18145 и ИРПС «токовая петля». Опрос сумматора в составе АСКУЭ может производиться с помощью программного пакета «ENERGY for WINDOWS», поставляемого по специальному заказу.

Сумматор в обычном режиме обеспечивает выдачу сигналов о достижении заданного получасового лимита потребляемой мощности и сигнализацию наступления пиковой зоны, что позволяет создавать системы учета с автоматическим регулированием мощности в пиковых зонах.

2.4 Счётчик статический активной энергии однофазный «Гран-Электро СС-101»

Для связи с внешними устройствами счетчик имеет два независимых последовательных канала связи:

) оптический порт, выполненный по рекомендации МЭК 1107;

) цифровой интерфейс - MBUS, токовая петля или RS485 (в зависимости от модификации счетчика).

Оптический порт предназначен для работы на короткое расстояние (до 1,5 м) через считывающую головку оптического интерфейса, выполненную в соответствии с рекомендациями МЭК 1107, например, адаптер АПС74, и используется для оперативной работы непосредственно на месте установки счетчика.

Оптический порт имеет фиксированные параметры обмена:

) скорость обмена - 2400 бод;

) тип паритета - четность;

) число информационных бит - 8;

)число стоповых бит - 1.

Цифровой интерфейс (MBUS или токовая петля, или RS485) предназначен для включения в систему АСКУЭ.

Параметры обмена для цифрового интерфейса могут быть установлены в следующих пределах:

) скорость обмена - от 100 до 19200 бод (шаг 1 бод);

) тип паритета - нет, четность, нечетность;

) число информационных бит - 8;

) число стоповых бит - 1.

Счетчик позволяет проводить сеансы обмена по обоим каналам связи одновременно. На рисунке 2.3 представлено расположение портов на корпусе счетчика.

Рисунок 2.3 - Счётчик «Гран-Электро СС 101»

. Описание системы управления

.1 Характеристика АСКУЭ

Автоматизированная система коммерческого учёта электроэнергии обеспечивает коммерческий учёт электроэнергии (мощности).

Коммерческий учёт электрической энергии (мощности) - процесс измерения количества электрической энергии и определения объема мощности, сбора, хранения, обработки, передачи результатов этих измерений и формирования, в том числе расчетным путем, данных о количестве произведенной и потребленной электрической энергии (мощности) для целей взаиморасчетов за поставленные электрическую энергию и мощность, а также за связанные с указанными поставками услугах[1].

Системы энергоучёта позволяют производить учёт потребления электроэнергии и тепла на объектах жилого, коммерческого и производственного назначения. Системы могут учитывать потребление энергоресурсов на уровне дома, районов, города, населённого пункта с единым диспетчерским и финансовым центрами.

АСКУЭ объединяет в себе:

) измерительные трансформаторы тока и напряжения;

) первичные приборы (счетчики электроэнергии различных типов от различных производителей);

) устройство сбора и передачи данных (УСПД);

) сервер БД, АРМ пользователей;

) развитые средства сбора и доставки данных - система поддерживает сбор данных по различным системам связи.

Выполняемые функции АСКУЭ:

) учет электроэнергии;

) сочетание функций контроля, учета и управления;

) построение локальных и распределительных иерархических систем;

) адаптация к любым объектам и схемам энергосбережения;

) интеграция в состав автоматизированных систем предприятия с передачей данных в информационные системы предприятия;

) реализация привычной среды Windows;

) реализация базы данных на Microsoft SQL Server, Oracle Database, Firebird.

В Республике Беларусь (согласно ТКП 308-2011) АСКУЭ - система технических и программных средств для автоматизированного сбора, передачи, обработки, отображения и документирования процесса выработки, передачи и (или) потребления электрической энергии (мощности) по заданному множеству пространственно распределённых точек их измерения, принадлежащих объектам энергоснабжающей организации или абоненту.

Особенности и преимущества АСКУЭ:

) многотарифный расчет с поставщиками, потребителями электроэнергии на основе точных, достоверных, легитимных и оперативных данных учёта;

) повышение эффективности энергопотребления и энергосбережения за счёт дистанционной автоматизации энергоучёта в реальном масштабе времени;

) оперативное определение баланса электроэнергии и мощности по предприятию и его структурам с выявлением потерь;

) сокращение затрат на обработку информации экономическими подразделениями предприятия за счет получения оперативной и достоверной информации об энергопотреблении в электронном виде.

Система строится на базе отдельных функционально законченных компонентов и масштабируется от небольших узлов учета до систем учета крупных энергообъектов.

Рассматривать строение АСКУЭ целесообразно, разбив ее мысленно на некие блоки. Таких блоков будет три. Это общепринятая и наиболее распространенная компоновка, которая составляет основу системы.

Блок №1 включает в себя приборы учета энергии, которые представляют собой электронный либо индукционный электросчетчик. Они устанавливаются у потребителя. Если установлен счетчик нового типа (электронный), то сбор информации производится через встроенный специальный порт связи. На данный момент большинство производимых приборов учета оснащены интерфейсом для включения в АСКУЭ. Если же счетчик старого образца, то есть индукционный, то применяется считывающее устройство и передача данных ведется уже непосредственно с этого датчика.

Блок №2 выполняет функцию связи. Показания, собранные с помощью первого блока с потребителей должны быть переданы и надежно защищены от неправомерного доступа. Выполнить данную функцию возможно посредством монтажа следующих линий связи:

) мобильная связь различных стандартов GPRS, 3G, либо по Wi-Fi;

) телефонные линии связи;

) передача с помощью сети интернет;

) совокупность всех способов, для наилучшей работы системы.

Блок №3 представляет собой совокупность современных специализированных средств компьютерной обработки полученных данных. С его помощью показания счетчиков будут собраны, обработаны и проанализированы. Технически он состоит из какого-либо сервера или компьютера с установленным программным обеспечением, которое позволит оптимально настроить все части системы.

Если визуально представить систему, то она будет иметь вид, представленный на рисунке 3.1.

Рисунок 3.1 - Схема АСКУЭ

В свою очередь рисунок 3.2 демонстрирует схему АСКУЭ многоэтажного дома.

Рисунок 3.2 - Схема АСКУЭ 100-квартирного жилого дома

.2 Структурная схема АСКУЭ

Система коммерческого учета представляет собой совокупность взаимосвязанных общественных (юридических, административных и др.) отношений и собственно технических и программных средств реализации коммерческого учета. Основным продуктом системы коммерческого учета на рынке электроэнергии и энергоносителей является учетная информация, используемая для оформления финансовых документов по расчетам между субъектами рынка в целях расчета режимов электропотребления, определения и прогнозирования всех составляющих баланса электроэнергии (выработка, отпуск, потери), определения стоимости и себестоимости производства, передачи и распределения электрической энергии и мощности.

АСКУЭ компонуются на объекте эксплуатации из серийно выпускаемых агрегатных средств измерений, внесенных в Государственный реестр средств измерений. Для полной реализации своего назначения современная АСКУЭ должна строиться исключительно как многоуровневая система, состоящая из нижнего, среднего и верхнего уровней. Схема современной многоуровневой АСКУЭ представлена на рисунке 3.3. ИК -измерительный канал, УСПД - устройство сбора и передачи данных, ПК - персональный компьютер.

Рисунок 3.3 - Схема трехуровневой АСКУЭ

АСКУЭ разрабатываются для различных по масштабу и сложности предприятий - от простейших с несколькими счётчиками до территориально распределённых с сотнями и тысячами счётчиков. Системы строятся на базе центров сбора и обработки данных. Преобразования выходных сигналов измерительных трансформаторов в цифровую форму и вычислительные функции учета электрической энергии выполняются электронными счетчиками. Для подключения счетчиков с импульсными выходами и сбора информации в системе используются сумматоры. Представление информации по всем счетчикам и сумматорам обеспечивают компьютеры и устройства сбора и передачи данных (УСПД) со специальным программным обеспечением. Центры сбора и обработки данных объединяют технические и программные средства позволяющие собирать данные коммерческого учета со следующих элементов:

) счетчиков электроэнергии серии «Альфа» («Альфа», «ЕвроАльфа», «А1700», «А1800» и «А1140»), СП ООО «Эльстер Метроника», объединенных или через мультиплексоры расширители МПР-16 (необязательный элемент) или через интерфейсы в различных комбинациях из набора «RS-232», «RS-485», «RS-422», ИРПС (токовая петля);

) устройств сбора и передачи данных (УСПД) (необязательный элемент) серии «RTU-300». УСПД могут быть связаны в сеть на основе интерфейса «RS-485» (Ethernet). УСПД обеспечивают сбор данных со счетчиков с цифровым или импульсным (телеметрическим) выходом;

) комплексов аппаратно-программных средств (КАП) для учета электроэнергии на основе УСДП серии «RTU-300» или серии «СЭМ-1»;

) других центров сбора и обработки данных ИВК «Альфа-центр» (только многопользовательская версия ПО).

Все модификации счетчиков имеют возможность отображать на жидкокристаллическом индикаторе напряжения, токи, активную (реактивную) и полную мощность 3-х фазной системы.

Максимальное число счетчиков, которые может поддерживать ИВК «Альфа-центр», зависит от типа используемого RTU, числа заданных тарифов, числа образуемых групп, глубины хранения архивных данных в устройствах серии «RTU-300» и может достигать 256 штук. Для непосредственного опроса отдельных УСПД или опроса счетчиков подключенных к одному мультиплексору (например, в случае повреждения линии связи), предусматривается использование переносного портативного компьютера типа NoteBook с последующей загрузкой данных в центр сбора и обработки данных. Измерительно-вычислительный комплекс «Альфа-Центр» решает следующие задачи:

) измерение параметров, указанных в таблице 3.1;

) автоматические расчеты в соответствии с описаниями расчетных групп и соответствующих им описаниям временных зон;

) ведение архивов по результатам расчетов;

) диагностика полноты данных;

) поддержание единого системного времени с целью обеспечения синхронных измерений;

) отслеживание превышения мощности заданных лимитов.

Таблица 3.1 - Параметры, измеряемые ИВК «Альфа-Центр»

Наименование параметра

Примечание

Показания счетчиков

Расчет ведется по активной, реактивной мощности в двух направлениях.

Средние мощности на интервале усреднения 1/3/5/10/15/30 мин

Расчет ведется по активной, реактивной мощности в двух направлениях. При этом с разных точек учета могут сниматься профили с разными интервалами усреднения, но коммерческий интервал устанавливается единый на всю систему.

Максимальная средняя мощность на коммерческом интервале с учетом временных зон

Расчет ведется по расчетным группам с раскладкой по временным зонам. Временные зоны могут назначаться с дискретностью до 1-ой минуты. Вариантов разбиения суток на временные зоны может быть неограниченное количество (варианты временных зон). Привязка вариантов временных зон производится к расчетным группам.

Потребление активной и реактивной энергии (включая переток) за сутки, месяц, год

Расчет ведется по расчетным группам в целом и с раскладкой по временным зонам.

Индикация ряда параметров электрической энергии

Для непосредственного опроса счетчиков «Альфа» и «ЕвроАльфа». «А1700» без нормирования точности: частота, пофазные токи и напряжения, пофазные углы сдвига между токами и напряжениями, пофазная мощность


3.3 Общие требования к системе АСКУЭ

Технические средства АСКУЭ для промышленных предприятий могут включать в себя:

) измерительные трансформаторы тока (ТТ) и напряжения (ТН);

) электронные счетчики электрической энергии с цифровым интерфейсом для АСКУЭ коммерческого учета, а также электронные и индукционные счетчики с импульсными выходами для АСКУЭ технического учета;

) устройства сбора и передачи данных (УСПД);

) средства телекоммуникации между объектами АСКУЭ и Центрами сбора и обработки информации АСКУЭ;

) вычислительные средства обработки информации Центров сбора и обработки информации АСКУЭ (сервера, рабочие станции, отдельные компьютеры).

АСКУЭ коммерческого учета предприятия должна работать в реальном масштабе времени и в автоматическом режиме дистанционно передавать (принимать) данные учета и сервисную информацию в АСКУЭ энергоснабжающей и (или) энергосбытовой организации.

Сбор данных измерения и учета электроэнергии должен производиться в АСКУЭ коммерческого учета только по цифровому интерфейсу с помощью УСПД и (или) устройств связи, соответствующих нормативно- техническим требованиям, принятым в Республике Беларусь.

Система коммерческого учета должна считывать, передавать по каналам связи и помещать в базу данных энергоснабжающей и (или) энергосбытовой организации следующую информацию:

) получасовые значения активной и реактивной мощности обоих направлений;

) суммарные, за сутки, за месяц значения активной и реактивной энергии обоих направлений по тарифным зонам на момент считывания (по возрастанию), фиксируя дату и время считывания;

) значения активной и реактивной энергии обоих направлений по тарифным зонам по окончании суток и по окончании месяца;

) значения токов, напряжений, частоты (при необходимости).

АСКУЭ коммерческого учета должна обеспечивать синхронизацию времени во всех счетчиках, входящих в систему.

Система коммерческого учета должна дать возможность в режиме реального времени обратиться к любому счетчику, зарегистрированному в системе, для считывания необходимых данных, не используя никакой дополнительной аппаратуры/программ на своем рабочем месте.

Контролирующему персоналу системы, имеющему полномочия, разрешить в режиме прямого доступа просмотреть данные параметризации, а при необходимости разрешить параметризировать счетчик.

.4 Обзор существующих АСКУЭ

ПО «Матрикс»: Отличительными особенностями комплекса АСКУЭ на базе ПО Matrix AMM по сравнению с предшественниками являются:

) Поддержка двух современных технологий: PLC (SFSK) и беспроводную Zig Bee совместимую связь стандарта IEEE802.15.4 для обмена данными между приборами учета и устройствами сбора-передачи данных (УСПД), что позволяет обеспечить стопроцентный сбор данных при относительно небольших финансовых и трудозатратах.

) Использование новейших smart-счетчиков типа МТХ1 и МТХ

) Использование современных каналов связи между УСПД и центром мониторинга - GPRS/GSM, Ethernet, USB.

) Открытое прикладное программное обеспечение на базе системы управления базами данных MySQL, позволяющее организовать автоматический экспорт учетных данных в систему биллинга и импорт идентификационных данных абонента в АСКУЭ-Быт.

) Возможность автоматизированного сбора учетных данных о потребленной электроэнергии с приборов учета, оснащённым импульсными выходами, в т.ч. воды, газа и тепла с помощью внешних радио-модулей.

) Обеспечение верификации данных и их хранение в необработанном виде на нескольких уровнях комплекса (1-й уровень - счетчики, 2-й уровень - УСПД, 3-й уровень - сервер СУБД).

ПО «Альфа-центр» - технология и программное обеспечение для работы на оптовом и розничном рынках электроэнергии. Применяется в ОГК, ТГК, ФСК ЕЭС, МРСК, Русгидро, ИнтерРАО, РЖД, Газпром и еще на более чем 4000 предприятий России и СНГ. Измерительно-вычислительные комплексы (ИВК) АСКУЭ «Альфа-центр» предназначены для измерения и учёта электрической энергии и мощности, а также автоматического сбора, обработки и хранения данных со счётчиков электроэнергии и отображения полученной информации в удобном для анализа виде. Программные пакеты серии АС «Альфа-центр» позволяют удовлетворить потребности в автоматизации коммерческого и технического учёта электроэнергии как потребителей с несколькими счётчиками, так и распределённых предприятий уровня АО «Энерго» с большим количеством объектов и пользователей. Все варианты программного обеспечения полностью совместимы на уровне справочников и данных. Технология «Альфа-центр» позволяет создавать АСКУЭ как для небольших предприятий с 1-5 точками учёта, так и распределённые системы сбора и обработки данных с тысячами точек учёта.

. Создание программного модуля

.1 Выбор языка и среды разработки

Поставленные задачи были решены с использование следующих средств:

при построении диаграммы вариантов использования и других диаграмм данного приложения было использовано приложение Enterprise Architect 7.5;

для написания приложения был выбран объектно-ориентированный язык Java (оболочка Eclipse MARS.1). Система будет реализована в виде распределённого приложения с использованием платформы JEE7. Модель доступа к данным электросчётчика будет осуществляться с помощью последовательного канала связи. Клиентское приложение будет реализовано с использованием технологи и библиотеки jssc-2.8.0.

.2 Протокол обмена данных со счётчиком

Диалог между управляющим компьютером (в дальнейшем УК) и счетчиком основан на принципе - главный-подчиненный. Роль главного всегда играет УК, а счетчик (счетчики) может быть только подчиненным. Для работы со счетчиком можно использовать два варианта протокола:

) протокол с адресацией по сетевому адресу (в дальнейшем базовый протокол) может использоваться для любых счетчиков;

) протокол с адресацией по заводскому номеру (в дальнейшем протокол с расширенной адресацией) может использоваться для счетчиков, начиная с версии 1.15.

Основные положения базового протокола приведены ниже:

) Протокол предусматривает одно главное и до 254 подчиненных устройств.

) Сообщения, которыми обмениваются между собой главное и подчиненные устройства, помещаются в пакеты. Структура пакета представлена на рисунке 4.1.

) Каждое подчиненное устройство, включенное в сеть, имеет свой уникальный адрес.

) Для широковещательного обмена зарезервированы два адреса 0 и 255. Все подчиненные устройства принявшие пакет с адресом 0 или 255 обязаны его исполнить. Пакет, содержащий 0 адрес, требует ответа от подчиненного устройства, а пакет с адресом 255 ответа не требует.

) Для повышения надежности передачи используется избыточный циклический код (CRC).

) Байты, принадлежащие одному пакету должны передаваться непрерывным потоком.

) Тайм-аут между байтами больший, чем время передачи 7 байт является признаком завершения пакета. Если скорость обмена меньше 150 бод, тайм-аут равен 500 мс.

) Если в пакет помещается тип данных, состоящий из нескольких байт, то самый младший байт типа данных должен следовать первым.

Рисунок 4.1 - Структура пакета отправляемых данных

Поля «адрес», «функция» и «CRC» составляют обрамление пакета, а поле «сообщение» - содержимое пакета.

Поле «адрес» имеет размерность 1 байт и содержит сетевой адрес счетчика или широковещательный адрес, поле «функция» тоже однобайтное и определяет функцию, выполняемую пакетом. Допустимые значения этого поля будут подробно определены ниже.

Поле «CRC» это 2-х байтное число представляющее собой результат шифрования циклическим кодом полей «адрес», «функция» и «сообщение». Более подробно о контроле циклическим кодом и пример его расчета будут приведены ниже.

Наполнение поля «сообщение» зависит от функции выполняемой пакетом. Инициатива обмена всегда принадлежит УК, он формирует пакет запроса, передает его в линию и ожидает ответ от счетчика. В свою очередь все счетчики «прослушивают» линию и если пакет запроса принят без искажений, проверяют поле «адрес» и если оно равно 0 или 255, или совпадает с собственным адресом, то обнаруживший совпадение счетчик приступает к выполнению команды. После выполнения команды снова анализируется адрес и если он не равен 255, то отправляется ответ в линию. Время выполнения запроса зависит от его типа. Время выполнения запросов при чтении параметров из счетчика, как правило, не превышает 0,2 с. Модификация или обнуление параметров счетчика может составлять от 1 до 2 с.

В ответном пакете поле «адрес» совпадает с соответствующим полем команды. Если счетчик может обработать команду, то поле «функция» не изменяется, в противном случае старший бит этого поля устанавливается в 1. Наполнение поля «сообщение» зависит от команды.

При использовании команд модификации и обнуления необходимо иметь в виду, что не все параметры могут быть изменены, а также то, что выполнение этих команд возможно только при отключении защиты.

Начиная с версии 1.15, появилась возможность адресации по заводскому номеру. Структура пакета отправляемых данных представлена на рисунке 4.2.

Рисунок 4.2 - Структура пакета отправляемых данных

Начиная с версии 1.21, появилась возможность передачи длины, и номера пакета. Структура пакета отправляемых данных представлена на рисунке 4.3.

Рисунок 4.3 - Структура пакета отправляемых данных

При этом полностью сохраняется возможность работы со счетчиком по его сетевому адресу. Основные положения протокола с расширенной адресацией приведены ниже:

) протокол предусматривает одно главное и любое количество подчиненных устройств (подчиненные устройства должны иметь уникальные заводские номера);

) для повышения надежности передачи используется избыточный циклический код (CRC);

) байты, принадлежащие одному пакету должны передаваться непрерывным потоком для пакетов типа 1, для пакетов типа 2 и 3 допускаются разрывы в потоке данных длительностью не более 500 мс;

) тайм-аут между байтами больший, чем время передачи 7 байт является признаком завершения пакета для пакетов типа 1, для пакетов типа 2 и 3 признаком завершения пакета является прием количества байт указанных в длине пакета; если в пакет помещается тип данных, состоящий из нескольких байт, то самый младший байт типа данных должен следовать первым.

Поле «заголовок» всегда постоянно и содержит два байта [0xFF, 0x7F]. Данное поле означает, что будет использоваться расширенная адресация.

Поле «len» содержит байт длины пакета. Длина пакета считается целиком, с учетом заголовка и контрольной суммы.

Поле «num» содержит однобайтный номер пакета. Номер пакета в ответном сообщении счетчика должен совпадать с номером пакета в запросе. Таким образом, можно проверить, что ответ пришел именно на наш запрос.

Поле «адрес» содержит сетевой адрес счетчика, которому предназначен запрос. Нулевое значение адресует счетчики с любым сетевым адресом. Размерность поля составляет один байт.

Маска заводского номера может содержать любые символы заводского номера и символ «?». Размер данного поля 8 байт. Символ «?» означает, что в данной позиции может находиться любой символ. Например, маска «1???????» адресует счетчики с заводскими номерами, начинающимися на «1», а маска «????????» адресует все счетчики (широковещательный запрос).

Размер и содержание полей «функция» и «сообщение» аналогично таковым в базовом протоколе.

Поле «инверсия CRC» это 2-х байтное число, представляющее собой результат шифрования циклическим кодом всего тела пакета. Рассчитывается так же как для базового протокола и инвертируется побитно.

При использовании расширенной адресации можно организовать поиск счетчиков по их заводским номерам. Подробнее про алгоритм поиска счетчиков будет описано ниже.

.3 Чтение, модификация и обнуление параметров

Основное назначение протокола обмена это чтение, модификация и обнуление параметров счетчика. Перечень параметров приведен в таблице «Кодировка параметров» приложения А. Все параметры предполагают возможность чтения за исключением параметра №37 «Пароль», который можно только изменить. Знаком «+» в полях «Модификация» и «Обнуление» помечены те параметры, которые можно изменять или обнулять.

В счетчике предусмотрена защита от несанкционированного изменения параметров счетчика. Имеется два уровня доступа. Основной уровень предоставляет полный доступ ко всем модифицируемым параметрам, а вспомогательный позволяет изменить только сетевой адрес, конфигурацию порта связи и маску отображаемых параметров. Каждый из уровней доступа защищен своим паролем. Поэтому перед выполнением команд, которые могут изменить какой-либо параметр необходимо подтвердить свое право на выполнение таких действий. Получить тот или другой уровень доступа можно с помощью команды «Отключить защиту». Аргументом команды «Отключить защиту» является 8-ми байтный пароль. Если после отключения защиты счетчик не принял ни одной команды изменяющей параметры в течение 240 секунд, то защита будет восстановлена автоматически. Защиту также можно восстановить с помощью команды «Восстановить защиту».

Предприятием-изготовителем счетчики поставляются с основным и вспомогательным паролем равным «00000000». Каждый символ пароля это ASCII-код символа «0» (шестнадцатеричный код - 0х30). Пользователь счетчика может изменить пароли с помощью параметра №37.

Формат пакета команды для чтения параметра приведен на рисунке 4.4. Поле «функция» должно содержать код 3 или 4. Назначение полей «адрес» и «CRC» были рассмотрены выше.

Рисунок 4.4 - Структура пакета команды для чтения параметров

Поле «код параметра» уточняет запрашиваемый параметр. Соответствие кода и названия параметра приведено в приложении А

Поле «смещение» уточняет, к какому временному интервалу относится запрашиваемый параметр. Модуль поля указывает, на сколько единиц отстоит запрашиваемый временной интервал от текущей даты и времени, а знак указывает направление. Например, если требуется получить приращение энергии за предыдущий месяц, то поле «смещение» должно содержать число -1, если за текущий то 0. Для некоторых параметров это поле может иметь другое назначение. Более подробно о кодировании этого поля изложено ниже. Допустимые значения поля «смещение» для каждого параметра приведены в приложении А.

Поле «тариф» должно содержать код требуемого тарифа. Число 0 зарезервировано для бестарифных значений, 1…4 кодирует один из 4 тарифов. Для некоторых параметров это поле может иметь другое назначение. Допустимые значения поля «тариф» для каждого параметра приведены в приложении А.

Поле «уточнение» позволяет конкретизировать запрашиваемое значение. Код 0 зарезервирован для команды чтения всех значений параметра. Например, при запросе энергии или мощности с помощью этого поля, можно указать какое именно направление требуется считать. Если требуется только активная потребленная энергия, то поле «уточнение» должно быть 1.

Если поля «смещение», «тариф» или «уточнение» для запрашиваемого параметра не имеет смысла (например, необходимо считать версию программы), то в этом случае значения этих полей должны быть 0;

Как показано на рисунках выше, для чтения параметров используются функции №3 и №4. Обе эти функции имеют одинаковый формат запроса и работают с одним и тем же набором параметров. Запрос с функцией №4 включен в протокол обмена для представления одного и того же параметра в двух вариантах. Например, при считывании параметра №1 «Суммарная накопленная энергия» запросом с функцией №3, в ответном сообщении будет возвращена энергия в двоичном представлении без учета коэффициентов трансформации по току и напряжению, а тот же параметр, считанный запросом с функцией №4, будет представлен числом типа «float» в том же формате, в каком он отображается на индикаторе электросчетчика. В настоящее время альтернативное представление значений реализовано только для некоторых параметров (более подробно смотри ниже по тексту). Для всех остальных параметров, запросы с функциями №3 и №4, абсолютно равнозначны, но для обеспечения совместимости с будущими версиями программного обеспечения счетчика настоятельно рекомендуется для чтения таких параметров использовать запрос с функцией №3.

В ответ на запрос счетчик возвратит пакет, вид которого представлен на рисунке 4.5.

Рисунок 4.5 - Структура пакета, возвращаемого счётчиком

Значение полей «функция» и «код параметра» повторяют значение соответствующего поля запроса. В случае успешного выполнения запроса поле «результат» будет содержать 0, а поле «данные» - запрашиваемый параметр (параметры). Наличие кода отличного от 0 в поле «результат» является признаком невозможности выполнения запроса. В этом случае поле «данные» будет отсутствовать, а в поле «функция» будет установлен старший бит в 1.

Возможные значения кода «результат» приведены в приложении Б. Содержание поля «данные» зависит от типа считываемого параметра и подробно рассматривается ниже.

Для модификации параметров используется пакет с функцией №16. (Здесь и далее если не оговорено, то имеется в виду десятичное представление числа). Формат пакета приведен на рисунке 4.6.

Рисунок 4.6 - Формат пакета данных для модификации параметров

Все поля рассматривались ранее. Поле «уточнение» позволяет более полно конкретизировать модифицируемый параметр. Наполнение поля «данные» зависит от модифицируемого параметра. Формат ответного сообщения представлен на рисунке 4.7.

Рисунок 4.7 - Формат ответного пакета

Как следует из рисунка 4.7, формат ответа совпадает с ответом на команду чтение параметра, представленной на рисунке 4.4, за исключением того, что поле «данные» отсутствует.

Обнулить параметры можно командой с кодом функции №30. Формат команды представлен на рисунке 4.8.

Рисунок 4.8 - Формат пакета команды обнуления

Здесь, как и обычно, поле «код параметра» содержит код обнуляемого параметра. Формат ответа будет таким же, как и ответ на команду модификации, представленной на рисунке 4.7.

.4 Циклический избыточный код (CRC)

Контроль циклическим кодом применяется для повышения надежности передачи данных. Смысл контроля заключается в следующем. Запрос подвергается шифровке циклическим кодом. Полученный результат добавляется в конец запроса, и весь пакет отправляется подчиненному устройству. Подчиненное устройство выполняет те же действия над байтами запроса и сравнивает полученный результат с «CRC» принятого пакета, и в случае положительного результата выполняет требуемое действие. Затем оно формирует ответное сообщение, подвергает его той же процедуре шифровки, «прицепляет» полученный код в конец пакета и посылает его обратно главному устройству. Главное устройство выполняет ту же процедуру дешифровки, проверяя правильность принятого пакета. Вероятность обнаружения ошибки в одном разряде байта пакета равна 99,998%.

В качестве примера рассмотрим вычисление CRC в виде функции написанной на языке Java . Все возможные значения CRC помещены в два массива. Один массив содержит все возможные значения для старшего байта CRC, а второй - для младшего.

Текст функции шифровки циклическим кодом «CRC» приведён в приложении .

Функции в качестве параметров принимает указатель на сообщение, используемое для формирования «CRC» (msg) и размер сообщения в байтах (len), а возвращает 16-ти битное значение «CRC».

.5 Поиск счётчиков при использовании расширенной адресации

Поиск осуществляется путем последовательной разбивки адресного диапазона на 10 (и более) интервалов. Каждый подинтервал разбивается еще на 10 (и более) и т.д. Разбивка осуществляется при помощи маски.

Например, нам надо найти приборы с З/Н1 «12345678» и З/Н2 «1233999» поиск будет выглядеть следующим образом:

) Стартовая маска (0???????);

) 0??????? - нет ответа;

) 1??????? - пришел ответ от счетчиков с З/Н1 и З/Н2 произошла коллизия;

) 10?????? - нет ответа;

) 11?????? - нет ответа;

) 12?????? - пришел ответ от счетчиков с З/Н1 и З/Н2 произошла коллизия;

) 120????? - нет ответа;

) 121????? - нет ответа;

) 122????? - нет ответа;

) 123????? - пришел ответ от счетчиков с З/Н1 и З/Н2 произошла коллизия;

) 1230???? - нет ответа;

) 1231???? - нет ответа;

) 1232???? - нет ответа;

) 1233???? - пришел ответ от счетчика с З/Н2 нет коллизии (нашли счетчик с З/Н2, записываем его в маску);

) 1234???? - пришел ответ от счетчика с З/Н 1 нет коллизии (нашли счетчик с З/Н1).

Коллизии. Для обнаружения коллизий просто проверяем принятый ответ на правильность. Если ответ неправильный это означает что ответило сразу несколько приборов. Ответ считается неправильным если:

) принятая «CRC» не совпала с расчетной;

) произошла ошибка паритета;

) принято байт меньше минимально возможной длинны пакета.

Блок-схема алгоритма поиска счётчиков при использовании расширенной адресации приведена в приложении.

. Технико-экономическое обоснование разработки программного модуля обработки данных счётчиков электроэнергии

.1 Характеристика программного модуля

Разрабатываемый модуль предназначен для обработки данных счётчиков электроэнергии с использованием последовательного порта на предприятии «Энергосбыт».

Разработка и внедрение данного модуля позволит:

автоматизировать процесс обработки данных счётчиков;

повысить эффективность и улучшить дисциплину сотрудников по наладке и снятия показаний со счётчиков;

использовать единую базу данных счётчиков электроэнергии;

повысить эффективность управления деятельностью предприятия;

позволяет персоналу более эффективно использовать рабочее время, снижая временные затраты на обработку информации Производить операции поверки, параметризации и учёта счётчиков;

сократить объем бумажного документооборота;

снизить трудозатраты, связанные с обработкой информации.

Разработка программного модуля связана со значительными затратами ресурсов (трудовых, материальных, финансовых). В связи с этим создание и реализация каждого проекта нуждается в соответствующем технико-экономическом обосновании (ТЭО).

Экономическим эффектом от разработки данного программного модуля будет полученная чистая прибыль от его реализации. Для этого рассчитаем затраты на разработку, отпускную цену и чистую прибыль.

.2 Оценка трудоемкости и сроков разработки

На основании информации о функциях разрабатываемого ПС по каталогу функций определяется объем функций по формуле:

,

где n - общее число функций;- объем функций ПС.

Расчет объема ПС приведен в таблице 5.1

Таблица 5.1 - Перечень и объём функций программного модуля

Номер функции

Содержание функции

Объем (строк кода)

101

Организация ввода информации

130

102

Контроль, предварительная обработка и ввод информации

490

203

Формирование баз данных

1560

204

Обработка наборов и записей базы данных

1980

207

Манипулирование данными

7200

208

Организация поиска и поиск в базе данных

4610

305

Обработка файлов

690

308

Управление документами

1100

403

Формирование служебных таблиц

1230

503

Управление внешними устройствами

2370

506

Обработка ошибочных и сбойных ситуаций

460

703

Расчет показателей

630

Всего

22450


Таким образом, получаем объём данного программного средства

 = 22450.

На основании общего объема ПО определяется нормативная трудоемкость Тн. Нормативная трудоемкость устанавливается с учетом сложности ПО. Для ПО объёмом 22 450 строк кода (3-я группа сложности ПО) соответствует нормативная трудоемкость 414 человеко-дня.

Разрабатываемая автоматизированная система контроля движения приборов учета электроэнергии, по своим характеристикам относится к 3-й группе сложности. Дополнительный коэффициент сложности выбирается для ПО, обеспечивающего хранение, ведение и поиск данных в сложных структурах, и принимается равным КСЛ = 0,07.

С учетом дополнительного коэффициента сложности КСЛ рассчитывается общая трудоемкость ПС


где ТО - общая трудоемкость ПС;

ТН - нормативная трудоемкость ПС;

КСЛ - дополнительный коэффициент сложности ПС.

То = 414∙ 1,07 = 443 чел./дней

На основании общей трудоемкости рассчитывается уточненная трудоемкость с учетом распределения по стадиям (ТУ).


где Тi - трудоемкость разработки ПС на i-й стадии (человеко-дней);- количество стадий разработки.

Трудоемкость ПС по стадиям определяется с учетом новизны и степени использования в разработке типовых программ и ПС:


где ТСТi - трудоемкость разработки ПС на i-й стадии (технического задания, эскизного проекта, технического проекта, рабочего проекта и внедрения);

КН - поправочный коэффициент, учитывающий степень новизны ПС;

КТ - поправочный коэффициент, учитывающий степень использования в разработке типовых программ и ПС;СТi - удельный вес трудоемкости i-й стадии разработки ПС в общей трудоемкости разработки ПС.

По степени новизны разрабатываемый программный модуль относится к группе «В» с поправочным коэффициентом Кн равным 0,7. Поскольку программный модуль разрабатывается на платформе Java EE, которая охватывает реализуемые функции со степенью от 20% до 40%, то коэффициент использования типовых программ Кт принимается равным 0,8.

Исходя из степени новизны, определим коэффициенты удельных весов трудоемкости на каждой стадии:

Техническое задание:

Технический проект:

Рабочий проект:

Внедрение:

Рассчитаем трудоемкость по стадиям:

(человеко-дней),

(человеко-дней),

(человеко-дней),

(человеко-дней),

Уточненная трудоемкость будет равна:

(человеко-дней)

.3 Расчет затрат на разработку и отпускной цены программного продукта

. Расчет затрат на оплату труда научно-технического персонала () представлен в таблице 5.2.

Таблица 5.2 - Расчет основной зарплаты научно-технического персонала

Исполнители

Количество

Трудоемкость, дн.

Среднедневная заработная плата, руб.

Заработная плата, руб.

Руководитель

1

68

33

2244

Инженер-программист

2

90

26,5

4770

Всего

7014

С учетом премий (40%)

9819,6


. Дополнительная зарплата () определяется следующим образом:

,

где HД - норматив дополнительной заработной платы основных производственных рабочих, %.

. Отчисления на социальные нужды () определяются следующим образом:

,

где Hсоц - страховые взносы на обязательное социальное страхование наёмных работников(34%) и обязательное страхование от несчастных случаев на производстве (0,6%).

. Расходы по статье «Машинное время» () определяются по формуле

,

где  - цена одного часа машинного времени, м-ч, 0,7 руб.;

 - общий объём программного средства (строк исходного кода);

 - норматив расхода машинного времени на откладку 100 строк исходного кода, 12%.

. Накладные расходы () определяются следующим образом:

,

где ННАКЛ - норматив накладных расходов (110 %)

. Общая сумма расходов по всем статьям сметы () на ПС


Сп = 9819,6 + 981,96+ 3737,34 + 1885,8 + 10801,56 = 27226,26

. Затраты на сопровождение и адаптацию ПС (Рса), которые определяются по формуле


где Нрса - норматив расходов на сопровождение и адаптацию, 5%.

. Полная себестоимость программного средства (Споб) определяется по формуле

Споб = Сп + Рса

Споб = 27226,26+ 1361,31= 28587,57

. Плановая прибыль (Пп) определяется следующим образом:

,

где Рп - уровень рентабельности (15 %)

. Налог на добавленную стоимость (НДС) определяется следующим образом:

,

где Ндс - ставка налога на добавленную стоимость (20 %)

. Прогнозируемая отпускная цена программного средства (Цп)

Цп = Споб + Пп + НДС

Цд = 28587,57+ 4288,14 + 6575,14= 39450,85руб.

.4 Расчет затрат по использованию ПО

Данной программой пользуются восемь человек Ч = 12, которые анализируют данные два раза в день N = 2, в начале и конце рабочего дня. Исходные данные для определения затрат пользования ПС сведены в таблице 5.3.

Таблица 5.3 - Данные для расчета затрат по пользованию ПС

Наименование показателя

Буквенное обозначение

Единицы измерения

Значение

Одноразовое время решения задачи

Т

час

0,5

Количество решений в день

N

-

2

Число рабочих дней в году

Д

-

252

Число пользователей

Ч

-

12

Средняя зарплата пользователя за 1 час

ЗП

руб.

2,2


. Рассчитаем заработную плату по пользованию ПС (З0) по следующей формуле:

,

где Т - одноразовое время решения задачи, час;- количество решений в день;

Д - число рабочих дней в году;

Ч - число пользователей ПС;

ЗП - средняя зарплата пользователя за 1 час;

. Дополнительная зарплата (Зд):

. Отчисления на социальные нужды (Рсоц):

. Расходы по статье «Машинное время» (Рм) определяются по формуле

,

где Т - одноразовое время решения задачи, час;- количество решений в день;

Д - число рабочих дней в году;

Ч - число пользователей ПС;

Ц - стоимость одного машино-часа.

. Накладные расходы (Рнакл):

,

где Ннакл - норматив накладных расходов (110 %)

. Общая сумма затрат (Зп) по использованию ПС составят

Зп = З0 + Зд + Рсоц + Рм + Рнакл

Зп = 6652,8 + 665,28 + 2532 + 2116,8 + 7318 = 19284,88 руб.

В результате технико-экономического обоснования применения программного продукта были получены следующие значения показателей их эффективности:

. Прибыль разработчика от продажи одной копии ПС составит 4288,14 рублей.

. Затраты по использованию ПС составит 19284,88 руб.

Таким образом, разработка и применение ПС являются эффективными, позволит повысить производительность труда за счет снижения трудоемкости решения задач, повысит оперативность в принятии управленческих решений.

. Охрана труда и меры безопасности при работе со счётчиком электроэнергии

Обеспечение электробезопасных условий труда при проведении экспериментальных и наладочно-регулировочных работ при работе с устройством.

.1 Характеристика считывающего устройства

Назначение считывающего устройства, область применения. Перечень операций при выполнении работ с проектируемым устройством. Опасные факторы (электрический ток), их источники, качественные и максимально возможные количественные характеристики, возможные причины поражения персонала.

Многофункциональные микропроцессорные счетчики электрической энергии, предназначены для учета активной и реактивной энергии и мощности в цепях переменного тока, а также для использования в составе автоматизированных систем контроля и учета электроэнергии, для передачи измеренных или вычисленных параметров на диспетчерский пункт по контролю, учету и распределению электрической энергии.

Счетчики имеют возможность измерять и отображать некоторые параметры энергосистемы: фазные токи и напряжения, частоту сети, коэффициент мощности 3-х фазной системы и пофазно, фазные углы тока и напряжения, активную, реактивную и полную мощность 3-х фазной системы и пофазно.

При эксплуатации и ремонте электрического оборудования и сетей человек может оказаться в сфере действия электрического поля или непосредственном соприкосновении с находящимися под напряжением проводками электрического тока. В результате прохождения тока через человека может произойти нарушение его жизнедеятельных функций.

Опасность поражения электрическим током усугубляется тем, что, во-первых, ток не имеет внешних признаков и как правило человек без специальных приборов не может заблаговременно обнаружить грозящую ему опасность; во-вторых, воздействия тока на человека в большинстве случаев приводит к серьезным нарушениям наиболее важных жизнедеятельных систем, таких как центральная нервная, сердечнососудистая и дыхательная, что увеличивает тяжесть поражения; в-третьих, переменный ток способен вызвать интенсивные судороги мышц, приводящие к не отпускающему эффекту, при котором человек самостоятельно не может освободиться от воздействия тока;

Электрический ток, проходя через тело человека, может оказывать биологическое, тепловое, механическое и химическое действия. Биологическое действие заключается в способности электрического тока раздражать и возбуждать живые ткани организма, тепловое - в способности вызывать ожоги тела, механическое - приводить к разрыву тканей, а химическое - к электролизу крови.

Воздействие электрического тока на организм человека может явиться причиной электротравмы. Электротравма - это травма, вызванная воздействием электрического тока или электрической дуги. Условно электротравмы делят на местные и общие. При местных электротравмах возникает местное повреждение организма, выражающиеся в появлении электрических ожогов, электрических знаков, в металлизации кожи, механических повреждениях и электроофтальмии (воспаление наружных оболочек глаз). Общие электротравмы, или электрические удары, приводят к поражению всего организма, выражающемуся в нарушении или полном прекращении деятельности наиболее жизненно важных органов и систем - легких (дыхания), сердца (кровообращения).

Характер воздействия электрического тока на человека и тяжесть поражения пострадавшего зависит от многих факторов.

Оценивать опасность воздействия электрического тока на человека можно по ответным реакциям организма. С увеличением тока четко проявляются три качественно отличные ответные реакции. Это прежде всего ощущение, более судорожное сокращение мышц (неотпускание для переменного тока и болевой эффект постоянного) и, наконец, фибрилляция сердца. Электрические токи, вызывающие соответствующую ответную реакцию, подразделяют на: ощутимые, неотпускающие и фибрилляционные.

Возможны следующие причины поражения электрическим током:

Наведенное напряжение. Высоковольтные линии передачи переменного тока могут наводить высокое переменное напряжение в проходящих рядом низковольтных линиях электропередачи, линиях связи, любых протяженных проводниках, изолированных от земли.

Остаточное напряжение. Линия электропередачи имеет большую электрическую емкость. Поэтому если линию отключить от напряжения, некоторое время все равно будет сохраняться разность потенциалов, и одновременное прикосновение к разным проводам приведет к электрическому удару. Однократный разряд линии с помощью заземленного проводника может оказаться недостаточным. Опасное остаточное напряжение может сохраняться в радиоаппаратуре, в составе которой есть конденсаторы с емкостью порядка миллифарад.

Статическое напряжение. Возникает в результате накопления электрического заряда на изолированном проводящем объекте.

Шаговое напряжение. Возникает между ногами из-за того, что они находятся на разном расстоянии от упавшего на землю провода.

Повреждение изоляции. Причины могут быть следующие: заводской брак, старение, климатические воздействия, загрязнение, механическое повреждение, например, инструментом, механический износ на изгибе, преднамеренная порча.

Случайное прикосновение к токоведущей детали - из-за незнания, спешки, действия отвлекающих факторов.

Отсутствие заземления. В заземленной аппаратуре в случае пробоя изоляции на корпус происходит короткое замыкание, и сгорают предохранители.

Замыкание в результате аварии. Например, сильный ветер или другая причина может вызвать повреждение воздушной линии электропередачи и падение провода на проходящий параллельно воздушный провод радио или телефона, после чего считающийся низковольтным провод оказывается под высоким напряжением.

Несогласованность. Один работает с аппаратурой, а другой подает на нее напряжение.

Примерно 30 % электротравм на установках с напряжением 65 Вольт и ниже происходит от того, что в результате ошибки или поломки они оказываются под напряжением 220 или 380 Вольт. Поверхность изолирующего материала может стать электропроводящей в результате загрязнения и/или смачивания.

Много случаев электрического поражения имеет место на производственных установках, в которых используются химически активные вещества, разрушающие изоляцию, а также в запыленных производственных помещениях (пыль снижает изолирующие свойства конструкций; покрытый влажной грязью изолятор становится проводником).

Опасны влажные помещения. Пробой изоляции может произойти в скрытой проводке - в месте прохождения провода через отверстие в стене. Поражение может наступить от одновременного контакта с влажной поверхностью и деталью водопровода или водяного отопления.

Поражения при совершении работ чаще имеют место в начале смены, перед обеденным перерывом и к концу смены. Объяснить это можно усталостью - ослаблением внимания, снижением сопротивляемости организма. Опасна временная прокладка кабеля по полу, по земле. Известны смертельные случаи из-за прикосновения токоведущих проводов к крышкам коробок с клеммами.

Из-за отсутствия единообразия в конструкциях токоведущих устройств случаются поражения при необдуманном совершении привычных действий.

.2 Оценка потенциально опасных факторов

Проведём оценку потенциально опасных факторов, воздействующих на персонал при выполнении различных технологических операций, входящих в экспериментальные или наладочно-регулировочные работы.

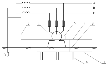
Прежде всего необходимо оценить опасность поражения током при незаземленном корпусе установки в аварийном ее состоянии (пробой фазы на корпус).

Так как опасность электропоражения оценивается величиной тока, протекающего через тело человека, то искомую величину можно определить по формуле:

=Uф/Rh+r0,

Где Uф-фазное напряжение сети, 220В;сопротивление тела человека, 1кОм;-сопротивление заземления нейтрали, 4Ом.

Подставив данные в формулу, получим:=220/(1000+4)=0.22A

Чтобы оценить опасность поражения этим током, необходимо сравнить его с предельно допустимым значением тока. Согласно таблице 6.1 его значение равно 6мА. Значит прикосновение опасно, необходимо заземление электроустановки, зануление, повторное заземление.

К факторам, влияющим на исход поражения электрическим током, относят следующие:

Величина тока. По величине тока, токи подразделяются на: неощущаемые (0,6 - 1,6мА); ощущаемые (3мА); отпускающие (6мА); неотпускающие (10-15мА); удушающие (25-50мА); фибрилляционные (100-200мА); тепловые воздействия (5А и выше).

Величина напряжения.

Время действия.

По ГОСТ 12.1.038-82 ССБТ «Предельно допустимые величины напряжений и токов. Электробезопасность». Факторы величины напряжения и время воздействия электрического тока, приведены в таблице 6.1.

Таблица 6.1 - Предельно допустимые величины токов и напряжений

Время действия, сек.

Длительность

До 30

1

0,5

0,2

0,1

Величина тока, мА.

1

6

50

100

250

500

Величина напряжения, В.

6

36

50

100

250

500


При кратковременном воздействии (0,1-0,5с) ток порядка 100мА не вызывает фибрилляции сердца. Если увеличить длительность воздействия до 1с, то этот же ток может привести к смертельному исходу. С уменьшением длительности воздействия значение допустимых для человека токов существенно увеличивается. При изменении времени воздействия от 1 до 0,1с допустимый ток возрастает в 16 раз.

Постоянный и переменный токи оказывают различные воздействия на организм главным образом при напряжениях до 500В. При таких напряжениях степень поражения постоянным током меньше, чем переменным той же величины. Считают, что напряжение 120В постоянного тока при одинаковых условиях эквивалентно по опасности напряжению 40В переменного тока промышленной частоты. При напряжении 500В и выше различий в воздействии постоянного и переменного токов практически не наблюдаются.

Исследования показали, что самыми неблагоприятными для человека являются токи промышленной частоты (50Гц). При увеличении частоты (более 50Гц) значения неотпускающего тока возрастает. С уменьшением частоты (от 50Гц до 0) значения неотпускающего тока тоже возрастает и при частоте, равной нулю (постоянный ток - болевой эффект), они становятся больше примерно в три раза.

Значения фибрилляционного тока при частотах 50-100Гц равны, с повышением частоты до 200Гц этот ток возрастает примерно в 2 раза, а при частоте 400Гц - почти в 3,5 раза.

При прикосновении человека к токоведущим частям путь тока может быть различным. Всего существует 18 вариантов путей замыкания тока через человека. Основные из них: голова - ноги, рука - рука, правая рука - ноги, левая рука - ноги, нога - нога.

Степень поражения в этих случаях зависит от того, какие органы человека подвергаются воздействию тока, и от величины тока, проходящего непосредственно через сердце. Так при протекании тока по пути «рука - рука» через сердце проходит 3,3% общего тока, по пути «левая рука - ноги» 3,7%, «правая рука - ноги» 6,7%, «нога - нога» - 0,4%. Величина неотпускающего тока по пути «рука - рука» приблизительно в два раза меньше, чем по пути «рука - ноги».

Величина тока походящего через какой-либо участок тела человека, зависит от приложенного напряжения (напряжения прикосновения) и электрического сопротивления оказываемого току данным участком тела.

Между воздействующим током и напряжением существует нелинейная зависимость, т.к. с увеличением напряжения ток растет быстрее. При увеличении напряжения сопротивление тела уменьшается и при напряжении 100-200В падает до значения внутреннего сопротивления тела. Это сопротивление для практических расчетов может быть принято равным 1000 Ом.


.3 Обоснование выбора инженерно-технических и организационно-планировочных мер по обеспечению безопасности персонала, конструктивные решения

Отсутствие подвижных деталей, современная элементная база, уникальная технология микропроцессорного измерения электроэнергии - все это обеспечивает эксплуатационную надежность и не требующую ремонта многолетнюю безотказную работу счетчиков.

Смотровое окно, в таких счетчиках выполнено из ударопрочного поликарбоната стабилизированного ультрафиолетом, что обеспечивает удобство и безопасность эксплуатации в широком диапазоне воздействия внешних факторов. При закрытом и опломбированном окне для доступа к кнопке ALT, в нем предусмотрено изолированное эластичной наклейкой отверстие. Наклейка из синтетической резины надежно защищает от проникновения пыли, грязи, влаги через отверстие. Открыть окно и получить доступ к кнопке RESET (максимальной мощности) можно только после удаления пломбы организации «Энергосбыт», установившей счётчик.

Счетчики имеют современный, удобный и безопасный корпус, позволяющий проводить установку практически в любой электротехнический шкаф, используя стандартное расположение монтажных отверстий. Корпус счетчика в целом состоит из верхней и нижней сопрягаемых по периметру частей, прозрачного окна, зажимной платы и съемной крышки клеммника. Для удобства установки счетчика на обратной стороне корпуса сверху предусмотрен кронштейн с крепежным ушком, принимающий два фиксированных положения. В одном случае скрытое положение (за корпусом), другое видимое (над верхней частью корпуса).

Электрические соединения необходимо производить согласно рекомендациям действующей нормативно-технической документации на такие виды работ. Отверстия зажимной платы позволяют подключать провод максимальным диаметром (сечением) - 5мм (19,6мм2). Зажимы клеммной колодки для обеспечения надежного соединения провода имеют по два винта, которые подходят как для обычных, так и для крестовых отверток. При монтаже провод необходимо очистить от изоляции примерно на 10мм.

Следует помнить, что:

Имеющиеся импульсные выходы на платах P1, P2, P3, P4 являются пассивными и рассчитаны на рабочее напряжение до 250В и ток до 100мА.

Импульсный выход реле расположенного на материнской плате является пассивным и рассчитано на рабочее напряжение до 200В и ток до 100мА.

Для подключения источника внешнего питания счетчика (по заказу) применяемый источник должен иметь рабочее напряжение 13В постоянного тока и ток не менее 100мА.

Несоблюдение полярности при подключении дополнительного источника питания недопустимо.

Меры безопасности:

Монтаж и эксплуатация счетчика должны вестись в соответствии с действующими правилами технической эксплуатации электроустановок.

Специалист, осуществляющий установку, обслуживание и ремонт счетчика, должен пройти инструктаж по технике безопасности при работе с радиоэлектронной аппаратурой и иметь квалификационную группу не ниже третьей.

Монтаж, демонтаж, ремонт, калибровка, поверка и пломбирование должны производиться только организациями, имеющими на это полномочия и лицами, обладающими необходимой квалификацией.

Подключение счетчика в измерительные цепи, импульсных выходов и других полупроводниковых реле необходимо производить только при отключенном напряжении соответствующих цепей, приняв дополнительные меры от случайного включения питания.

Замену литиевой батареи, в случае необходимости, проводить только при отключенном питании счетчика.

Запрещается подавать напряжение и нагрузку на поврежденный или неисправный прибор.

Во избежание поломок счетчика и поражения электрическим током не допускается:

Класть или вешать на счетчики посторонние предметы, допускать удары по корпусу счетчика и устройствам сопряжения.

Производить монтаж и демонтаж счетчика при наличии в цепях напряжения и тока.

Нарушать правильность подключения фаз напряжения и нейтрали.

Счетчики имеют два уровня опломбирования:

Первый уровень. На одном из двух винтов крепящих верхнюю и нижнюю часть корпуса счетчика; пломбой поверителя и завода.

Второй уровень. Откидывающееся прозрачное окно на лицевой панели счетчика и винты крепления крышки зажимов; пломбой энергоснабжающей организации после установки счетчика в точке учета.

Основным фактором предотвращающим поражение электрическим током является защитное зануление.

Зануление - металлическое соединение корпуса электроустановки с нулевым проводом, позволяющим свести аварийный режим к однофазному короткому замыканию с последующим отключением поврежденного контура в минимально короткое время (0,2с).

Зануление применяют в четырех проводных сетях с глухо-заземленной нейтралью напряжением до 1000В. Защитный эффект зануления состоит в уменьшении длительности замыкания на корпус и, следовательно, в снижении времени воздействия электрического тока на человека.

Схема защитного зануления показана на рисунке 6.1.

Рисунок 6.1 - Схема защитного зануления

Условные обозначения: 1-электрическая установка; 2-нулевой ввод; 3-зануляющий проводник; 4-зануляющая магистраль; 5-выводы контура повторного зануления; 6-трубчатые заземлители; 7-соединительная полоса.

Рассчитаем напряжение прикосновения с заземлением электроустановки по формуле:

,

где rз - сопротивление заземления установки, 4Ом.

Подставив данные, получим:

.

Оценим опасность поражения током в случае с заземленной установкой:

,

.

Опасность поражения меньше, чем без заземления, но тоже велика. Поэтому часто применяют повторное заземление.

Повторное заземление нулевого провода необходимо для обеспечения лучшей защиты человека от поражения электрическим током. Как видно из рисунка 6.2, при обрыве нулевого провода, при переходе электрического тока на корпус электроустановки ток короткого замыкания протекает через сопротивление повторного заземления и сопротивления заземления (r0), и фазу (С).

Рисунок 6.2 - Повторное заземление нулевого провода

Оценим опасность поражения током с повторным заземлением:

,

где rп - сопротивление повторного заземления, 4Ом.

мА

Эта величина тоже достаточно большая, но при такой величине время не опасного воздействия увеличивается до 1сек., поэтому помимо этого необходимо использовать и другие средства защиты (резиновую обувь, изолированные рукоятки на инструменте и др.).

Повторное заземление нулевого провода устраивается многократно:

для воздушных линий через каждые 250м;

для кабельных линий через каждые 250м;

и, обязательно, при вводе в производственное помещение.

Повторное заземление нулевого провода полностью не обеспечивает защиты от поражения током, а лишь смягчает аварийный режим, уменьшает напряжение на корпусе в 2-3 раза. Опасность поражения сохраняется, поэтому применяются индивидуальные защитные средства (коврики, рукавицы и т.д.).

Заключение

В результате прохождения преддипломной практики на предприятии РУП «Минскэнерго» филиал «Энергосбыт» были подробно изучены основные направления деятельности. Была проанализирована организационная структура компании и задачи, выполняемые сотрудниками различных отделов.

За время прохождения практики был закреплен приобретенный в университете теоретический материал, а также была предоставлена возможность применить на практике полученные знания и навыки. Был собран материал, необходимый для написания отчета по преддипломной практике, сформированы цель и задачи дипломного проекта.

Список использованных источников

1.      [1] Дипломные проекты (работы). Общие требования. СТП 01-2010. - Минск, БГУИР. - 2010. - 169с.

.        [2] Внутренние ресурсы филиала Энергосбыт

.        [3] Понятие предметной области [Электронный ресурс]. - Режим доступа: http://www.rfpgu.ru/booksystem/page20.html

.        [4] Официальный сайт предприятия «Минскэнерго» филиал «Энергосбыт» [Электронный ресурс]. - Режим доступа: http://www.energosbyt.by/

.        ГОСТ 8.437-81 Системы информационно-измерительные. Метрологическое обеспечение. Основные положения.

.        ГОСТ 8.437-81 Системы информационно-измерительные. Метрологическое обеспечение основные положения.

.        ГОСТ 8.438-81 Системы информационно-измерительные. Поверка. Общие положения.

.        МИ 200-80 Методика контроля метрологических характеристик ИИС встроенными средствами контроля. Основные положения.

.        ГОСТ 8.326-89 Метрологическая аттестация СИ.

.        ГОСТ 26035-83 Счетчики электрической энергии переменного тока электронные. Общие технические условия.

Приложение А

Название параметра

Смещение

Тариф

Уточнение

Модификация

Обнуление

0

Идентификационный номер устройства

0

0

0

-

-

1

Суммарная накопленная энергия

0

0,1…4

0,1…4

-

-

2

Приращение энергии за день

0,-1…-30

0,1…4

0,1…4

-

-

3

Приращение энергии за месяц

0,-1…-23

0,1…4

0,1…4

-

-

4

Приращение энергии за год

0,-1…-7

0,1…4

0,1…4

-

-

5

Средняя 3 мин. мощность

0,-1

0

0,1…4

-

-

6

Средняя 30 (15) мин мощность

0,-1

0

0,1…4

-

-

7

Максимальные. мощности за месяц

0,-23

0,1…4

1…4

-

-

8

Мгновенная активная мощность

0

0

0,1

-

-

9

Мгновенная реактивная мощность

0

0

0,1

-

-

10

Напряжение

0

0

0,1

-

-

11

Ток

0

0

0,1

-

-

12

Коэффициент мощности

0

0

0,1

-

-

13

Частота сети

0

0

0

-

-

14

Архив событий состояния сети

0,-1…-32

0

0

-

-

15

Архив событий состояния прибора

0,-1…-32

0

0

-

-

16

Архив событий коррекций

0,-1…-32

0

0

-

-

17

Тип прибора

0

0

0

-

-

18

Заводской номер

0

0

0

-

-

19

Дата выпуска прибора

0

0

0

-

-

20

Версия программы

0

0

0

-

-

21

Сетевой адрес прибора

0

0

0

+

-

22

Идентификатор пользователя

0

0

0

+

-

23

Конфигурация порта связи

0

0

0

+

-

24

Кпр. телеметрических выходов

0

0

0

+

-

25

Коэффициент трансформации I

0

0

0

-

-

26

Коэффициент трансформации U

0

0

0

-

-

27

Дата и время перехода на летний сезон

0

0

0

+

+

28

Дата и время перехода на зимний сезон

0

0

0

+

+

29

Календарь выходных дней

0…255

0

1…12

+

-

30

Тарифное расписание для рабочих дней

0

0

1…12

+

-

31

Тарифное расписание для выходных дней

0

0

1…12

+

-

32

Текущее значение даты и времени

0

0

0

+

-

33

Квадрант, тариф, сезон и ресурс батареи

0

0

0

-

-

34

KI, KU и формат отображения на дисплее

0

0

0

+

-

35

Маска отображаемых параметров

0

0

0

+

-

36

Срезы энергии

1…12

1…31

0…47(95)

-

-

37

Пароль (только запись)

0

0

0,1

+

-

38

Средняя 3 мин. мощность с меткой времени

0,-1

0

0,1…4

-

-

39

Средняя 30 (15) мин. мощность с меткой времени

0

0,1…4

-

-

40

Срезы энергии за 6 интервалов

1…12

1…31

0…47(95)

-

-

41

Конфигурация электросчетчика

0

0

0

-

-

42

Накопленная энергия на начало суток

0,-1…-30

0,1…4

0,1…4

-

-

43

Накопленная энергия на начало месяца

0,-1…-23

0,1…4

0,1…4

-

-

44

Накопленная энергия на начало года

0,-1…-7

0,1…4

0,1…4

-

-

45

Резерв






46

Все мгновенные значения

0

0…63

0,1

-

-

47, 48

Резерв






49

Дата и время последней записи в архив

14…16

0..255

0…255

-

-

50

Резерв






51

Резерв






52

Резерв







В полях «Смещение», «Тариф» и «Уточнение» приведены допустимые значения для каждого из параметров. Символ «+» в поле «Модификация» означает, что этот параметр можно изменить. Символ «+» в поле «Обнуление» означает, что этот параметр можно обнулить.

Приложение Б

Код

Название

Описание

0

ОК

Все ОК.

1

Неизвестная функция

Номер функции указанный в поле «функция» запроса не поддерживается.

2

Неизвестный параметр

Номер параметра указанный в поле «код параметра» недоступен.

3

Ошибочный аргумент

Поле «смещение», «тариф» или «уточнение» в запросе на чтение этого параметра ошибочны; Поле «данные» в командах модификации или обнуления для этого параметра ошибочны.

4

Несанкционированный доступ

Для выполнения этой функции требуется отключение защиты.

5

Блок поврежден

Некоторые параметры хранятся в виде блоков защищенных контрольной суммой. Ошибка возникает при чтении блока, в котором обнаружено несовпадение контрольной суммы.

6

Ошибка памяти

Невозможно выполнение команды из-за неисправности памяти.

7

Счетчик занят

Такая ошибка может возникнуть, если переполнилась очередь запросов на запись в энергонезависимую память. При приёме такой ошибки необходимо повторить запрос.



Приложение В

public static short crc(byte[] msg, short len) {[] tblCRChi = { 0x00, 0xC1, 0x81, 0x40, 0x01, 0xC0, 0x80, 0x41, 0x01, 0xC0, 0x80, 0x41, 0x00, 0xC1, 0x81,

x40, 0x01, 0xC0, 0x80, 0x41, 0x00, 0xC1, 0x81, 0x40, 0x00, 0xC1, 0x81, 0x40, 0x01, 0xC0,

x80, 0x41, 0x01, 0xC0, 0x80, 0x41, 0x00, 0xC1, 0x81, 0x40, 0x00, 0xC1, 0x81, 0x40, 0x01,

xC0, 0x80, 0x41, 0x00, 0xC1, 0x81, 0x40, 0x01, 0xC0, 0x80, 0x41, 0x01, 0xC0, 0x80, 0x41,

x00, 0xC1, 0x81, 0x40, 0x01, 0xC0, 0x80, 0x41, 0x00, 0xC1, 0x81, 0x40, 0x00, 0xC1, 0x81,

x40, 0x01, 0xC0, 0x80, 0x41, 0x00, 0xC1, 0x81, 0x40, 0x01, 0xC0, 0x80, 0x41, 0x01, 0xC0,

x80, 0x41, 0x00, 0xC1, 0x81, 0x40, 0x00, 0xC1, 0x81, 0x40, 0x01, 0xC0, 0x80, 0x41, 0x01,

xC0, 0x80, 0x41, 0x00, 0xC1, 0x81, 0x40, 0x01, 0xC0, 0x80, 0x41, 0x00, 0xC1, 0x81, 0x40,

x00, 0xC1, 0x81, 0x40, 0x01, 0xC0, 0x80, 0x41, 0x01, 0xC0, 0x80, 0x41, 0x00, 0xC1, 0x81,

x40, 0x00, 0xC1, 0x81, 0x40, 0x01, 0xC0, 0x80, 0x41, 0x00, 0xC1, 0x81, 0x40, 0x01, 0xC0,

x80, 0x41, 0x01, 0xC0, 0x80, 0x41, 0x00, 0xC1, 0x81, 0x40, 0x00, 0xC1, 0x81, 0x40, 0x01,

xC0, 0x80, 0x41, 0x01, 0xC0, 0x80, 0x41, 0x00, 0xC1, 0x81, 0x40, 0x01, 0xC0, 0x80, 0x41,

x00, 0xC1, 0x81, 0x40, 0x00, 0xC1, 0x81, 0x40, 0x01, 0xC0, 0x80, 0x41, 0x00, 0xC1, 0x81,

x40, 0x01, 0xC0, 0x80, 0x41, 0x01, 0xC0, 0x80, 0x41, 0x00, 0xC1, 0x81, 0x40, 0x01, 0xC0,

x80, 0x41, 0x00, 0xC1, 0x81, 0x40, 0x00, 0xC1, 0x81, 0x40, 0x01, 0xC0, 0x80, 0x41, 0x01,

xC0, 0x80, 0x41, 0x00, 0xC1, 0x81, 0x40, 0x00, 0xC1, 0x81, 0x40, 0x01, 0xC0, 0x80, 0x41,

x00, 0xC1, 0x81, 0x40, 0x01, 0xC0, 0x80, 0x41, 0x01, 0xC0, 0x80, 0x41, 0x00, 0xC1, 0x81,

x40 };tblCRClo[] = { 0x00, 0xC0, 0xC1, 0x01, 0xC3, 0x03, 0x02, 0xC2, 0xC6, 0x06, 0x07, 0xC7, 0x05, 0xC5, 0xC4,

x04, 0xCC, 0x0C, 0x0D, 0xCD, 0x0F, 0xCF, 0xCE, 0x0E, 0x0A, 0xCA, 0xCB, 0x0B, 0xC9,

x09, 0x08, 0xC8, 0xD8, 0x18, 0x19, 0xD9, 0x1B, 0xDB, 0xDA, 0x1A, 0x1E, 0xDE, 0xDF, 0x1F, 0xDD, 0x1D, 0x1C, 0xDC, 0x14,

xD4, 0xD5, 0x15, 0xD7, 0x17, 0x16, 0xD6, 0xD2, 0x12, 0x13, 0xD3, 0x11, 0xD1, 0xD0, 0x10, 0xF0, 0x30,

x31, 0xF1, 0x33, 0xF3, 0xF2, 0x32, 0x36, 0xF6, 0xF7, 0x37, 0xF5, 0x35, 0x34, 0xF4, 0x3C, 0xFC, 0xFD,

x3D, 0xFF, 0x3F, 0x3E, 0xFE, 0xFA, 0x3A, 0x3B, 0xFB, 0x39, 0xF9, 0xF8, 0x38, 0x28, 0xE8, 0xE9, 0x29,

xEB, 0x2B, 0x2A, 0xEA, 0xEE, 0x2E, 0x2F, 0xEF, 0x2D, 0xED, 0xEC, 0x2C, 0xE4, 0x24, 0x25, 0xE5, 0x27,

xE7, 0xE6, 0x26, 0x22, 0xE2, 0xE3, 0x23, 0xE1, 0x21, 0x20, 0xE0, 0xA0, 0x60, 0x61, 0xA1, 0x63, 0xA3,

xA2, 0x62, 0x66, 0xA6, 0xA7, 0x67, 0xA5, 0x65, 0x64, 0xA4, 0x6C, 0xAC, 0xAD, 0x6D, 0xAF, 0x6F, 0x6E,

xAE, 0xAA, 0x6A, 0x6B, 0xAB, 0x69, 0xA9, 0xA8, 0x68, 0x78, 0xB8, 0xB9, 0x79, 0xBB, 0x7B, 0x7A, 0xBA,

xBE, 0x7E, 0x7F, 0xBF, 0x7D, 0xBD, 0xBC, 0x7C, 0xB4, 0x74, 0x75, 0xB5, 0x77, 0xB7, 0xB6, 0x76, 0x72,

xB2, 0xB3, 0x73, 0xB1, 0x71, 0x70, 0xB0, 0x50, 0x90, 0x91, 0x51, 0x93, 0x53, 0x52, 0x92, 0x96, 0x56,

x57, 0x97, 0x55, 0x95, 0x94, 0x54, 0x9C, 0x5C, 0x5D, 0x9D, 0x5F, 0x9F, 0x9E, 0x5E, 0x5A, 0x9A, 0x9B,

x5B, 0x99, 0x59, 0x58, 0x98, 0x88, 0x48, 0x49, 0x89, 0x4B, 0x8B, 0x8A, 0x4A, 0x4E, 0x8E, 0x8F, 0x4F,

x8D, 0x4D, 0x4C, 0x8C, 0x44, 0x84, 0x85, 0x45, 0x87, 0x47, 0x46, 0x86, 0x82, 0x42, 0x43, 0x83, 0x41,

x81, 0x80, 0x40 };idx;CRChi = 0xFF;CRClo = 0xFF;i = 0;(len != 0) {= (short) ((CRChi ^ msg[i++]) & 0xFF);= (char) (CRClo ^ tblCRChi[idx]);= tblCRClo[idx];-;

}(short) ((CRChi << 8) | CRClo);

}

Похожие работы на - Создание программного модуля обработки данных счётчиков электроэнергии на предприятии РУП 'Минскэнерго' филиал 'Энергосбыт'

 

Не нашли материал для своей работы?
Поможем написать уникальную работу
Без плагиата!
Без нейросетей!