Классификация программного обеспечения

  • Вид работы:
    Курсовая работа (т)
  • Предмет:
    Информационное обеспечение, программирование
  • Язык:
    Русский
    ,
    Формат файла:
    MS Word
    1,45 Мб
  • Опубликовано:
    2016-11-14
Вы можете узнать стоимость помощи в написании студенческой работы.
Помощь в написании работы, которую точно примут!

Классификация программного обеспечения

Содержание

Введение

.Классификация программного обеспечения

.1 Понятие программного обеспечения. Виды программного обеспечения

.1.1 Понятия, виды и уровни программного обеспечения

.1.2 Уровни программного обеспечения        

.1.3 Базовое ПО - самый низкий уровень ПО

.1.4 Системное программное обеспечение

.1.5 Прикладное программное обеспечение

.1.6 Инструментальное программное обеспечение 

.2 Понятие системного программного обеспечения

.2.1 Операционные системы

.2.2 Основные функции ОС 

.2.3 Современные ОС 

.3 Файловая структура ОС. Операции с файлами

.3.1 Файловая система

.4 Основы работы с операционной системой Windows XX        31

.4.1 Главное меню

.Разработка моделей и алгоритмов решения задач

. Описание процесса разработки программного обеспечения и результатов работы

Заключение

Список использованной литературы

Введение

Сегодня тенденции развития информационных технологий и технологий производства ПЭВМ таковы, что не проходит и большого промежутка времени и мы можем наблюдать, как самые некогда современные компьютеры становятся неудобными и морально устаревшими по своим возможностям. Это связано с резким совершенствованием в современном мире программного обеспечения и его интеллектуализацией (способностью выполнять или заменять отдельные функции человека), что требует постоянного повышения производительности ПЭВМ и данный процесс становится бесконечным.

Компьютер, как известно, сам по себе не решает никаких проблем, если на нем не установлено программное обеспечение. Около 20 лет назад профессор Е Сыромолотов, который известен нам как большой энтузиаст вычислительной техники и незаурядный человек, говорил о том, что в будущем ситуация относительно значимости «железа» и программ кардинально изменится. По его словам соотношение стоимости программного обеспечения к стоимости компьютера будет примерно такая же как соотношение стоимости приличной обуви к стоимости упаковки. И на сегодняшний день мы имеем данную ситуацию.

В наше время существуют различные способы подходов к классификации программного обеспечения и все они имеет определенные недочеты, но тем не менее, можно сказать о том, что все они едины в одном - сегодня необходима классификация большого количества программ созданных и создаваемых программистами, будь то программисты одиночки, группы или целые компании, призванные на создание определенных программ.

По-моему мнению в последнее время теме классификации программного обеспечения уделяется не достаточное внимание, именно по этой причине для себя я выбрал данную тему курсовой работы. И мой предварительный вывод о проблеме не большого удаления внимания данной теме в научных кругах сводится к тому, что нет четкого разделения областей применения программного обеспечения.

Целью данной работы я для себя поставил - изучить все виды классификаций программного обеспечения.

Задачами, для решения поставленной цели, я вижу нижеследующие:

Ознакомление с понятием программного обеспечения;

Изучение видом программного обеспечения;

Изучение функциональных особенностей программного обеспечения и областей их применения;

Ознакомление с основными уровнями программного обеспечения;

Изучение понятия системного программного обеспечения;

Ознакомление с понятием операционной системы и её принадлежностью;

Изучение файловой структуры программного обеспечения;

Ознакомление с основными операциями с файлами;

Ознакомление с основами работы с Windows XX.

В данной работе объектом исследования является программное обеспечение. Предметом исследования, является классификация видов программного обеспечения.

Данную тему для своего исследования брали такие известные компьютерщики, теоретики и практики, известные как в Российской Федерации, так и по всему миру, к примеру: Акулов О.А., Алексеев А.П.,

Л.Л. Босова, Н.И. Михайлова, Вьюхин В.В., Гейн А.Г., Острейковский В.А., Макарова Н.В., Н.В. Бройдо, Могилев А.В., Угринович Н.Д. и многие другие.

1.Классификация программного обеспечения

1.1.Понятие программного обеспечения. Виды программного обеспечения

.1.1Понятия, виды и уровни программного обеспечения

Программа - это упорядоченные последовательности команд.

Для начала остановимся на основном определении -программного обеспечения (ПО). Под программным обеспечением (ПО) принято понимать комплекс программ, обеспечивающих обработку, систематизацию, хранение и передачу данных, предназначенных для многократного использования пользователем и применения разными пользователями. [7].

Таким образом, другими словами, программное обеспечение - это совокупность программ системы обработки информации и программных документов, необходимых для их эксплуатации.

С другой стороны программы выполняемые вычислительной системой, понимается программное обеспечение (Software).

Для любой компьютерной программы, конечной целью является - управление аппаратными средствами. И даже если на первый взгляд кажется, что программ никак не взаимодействует с оборудованием, не требует никакого ввода данных с устройств ввода все равно её работа основана на управлении аппаратными устройствами компьютера.

Аппаратное и программное обеспечение в компьютере работают в непрерывной связи друг с другом и в непрерывном взаимодействии.

Программной конфигурацией называют - состав программного обеспечения вычислительной системы. Важно отметить, что между физическими узлами и блоками и между программами существует взаимосвязь и многие программы работают, опираясь на другие программы более низкого уровня, таким образом, мы можем говорить о существовании межпрограммного интерфейса.

И возможность существования такого интерфейса также основана на наличии технических условий и протоколов взаимодействия, а на практике распределение программного обеспечения на несколько взаимодействующих между собой уровней.

Уровни программного обеспечения можно выразить в виде пирамидальной конструкции, где каждый следующий уровень программного обеспечения опирается на уровень предыдущего программного обеспечения и так множество раз. И такое взаимодействие удобно для пользователя на всех его этапах работы с вычислительной системой, начиная с установления программ и до самой практической эксплуатации и технического обслуживания оборудования. Каждый вышележащий уровень повышает функциональность всей системы. К примеру вычислительная система с программным обеспечением самого базового уровня не способна выполнять большинство необходимых функций, но тем не менее она позволяет установить системное программное обеспечение.

Рассмотрим уровни программного обеспечения по подробнее, начиная с основного-базового уровня. Так базовый уровень -это самый низкий уровень программного обеспечения и отвечает данное программное обеспечение за взаимодействие с базовыми аппаратными средствами. Как правило базовые программные средства входят в состав базового оборудования и хранятся в специальных микросхемах, называемых постоянными запоминающимися устройствами: ПЗУ - ReadOnlyMemory - ROM. Важно отметить, что программы и данные записываются («Прошиваются») в микросхемах ПЗУ на этапе производства и не могут быть изменены в процессе эксплуатации.

Не редки случаи, когда изменение базовых программных средств во время эксплуатации является технически целесообразным, и вместо микросхем ПЗУ специалисты применяют перепрограммируемое программное обеспечение, такие как ППЗУ - ErasableandProgrammableReadOnlyMemory, EPROM. В таких случаях изменение содержания ПЗУ можно выполнять непосредственно как в составе вычислительной системы - такая технология будет называться флэш-технологией, так и вне её, на специализированных устройствах, называемых программаторами.

Следующий из рассматриваемых нами уровней программного обеспечения - это системный уровень, его по-другому называют переходным уровнем. Все программы, работающие на данном уровне обеспечивают взаимодействие иных программ всей компьютерной системы с программами базового уровня и непосредственно с аппаратным обеспечением, таким образом можно сказать, что программное обеспечение системного уровня выполняют функции «посредника». Важно отметить далее, что системные программы, это программы общего пользования, выполняемые вместе с прикладными программами и служащие для управления всеми ресурсами компьютера, такими как центральным процессором, вводом и выводом и даже памятью.

Итак, подытоживая вышесказанное отметим, что системные программы - это программы предназначенные для:

Поддержания работоспособности всей системы обработки информации, хранящейся на компьютере;

Повышения эффективности её использования.

Различают следующие виды системных программ:

управляющие системные;

обслуживающие системные.

Итак, системные программы, как мы отмечали ранее, это программы общего пользования, предназначенные для всех пользователей компьютера. И оно - системное программное обеспечение разрабатывается так, чтобы компьютер мог самым эффективным способом управлять иными программами, например такими, как прикладные. [10]

Особое место среди нескольких сотен тысяч системных программ, занимают - операционные системы, которые отвечают одними и наиболее важными функциями -обеспечивают управление всеми ресурсами компьютера с целью их наиболее эффективного использования.

Важными классами системных программ являются программы вспомогательного назначения, так называемые - утилиты, что в переводе с латинского означает utilitas - польза. Они призваны либо решать важные самостоятельные задачи, либо расширяют и дополняют возможности операционной системы.

Рассмотрим только несколько разновидностей утилит:

Программы контроля, диагностики и тестирования, которые используются для проверки правильности функционирования компьютерных устройств или для обнаружения каких-либо неисправностей в функционировании компьютерных устройств в процессе их эксплуатации, а также указывают конкретное место и причину, вызвавшую ту или иную неисправность.

Программы драйверы призваны расширять возможность операционной системы по управлению устройствами ввода-вывода оперативной памятью и так далее. С помощью данных драйверов возможно и само подключение к компьютеру новых устройств или же нестандартное использование уже имеющихся.

Программы упаковщики или по-другому их называют архиваторами. Данные программы позволяют записывать информацию на дисках более плотно или же при необходимости объединять копии нескольких файлов в один архивный файл.

Антивирусные программы предназначены для предотвращения, а также предупреждения заражения компьютерными вирусами и ликвидации неблагоприятных последствий, последующих в результате заражения компьютерными вирусами компьютер.

Программы по восстановлению информации, защиты данных, а также по форматированию.

Программы по коммуникациям, которые призваны организовывать обмен информацией между различными компьютерами.

Программы по управлению памятью, обеспечивающие более целесообразное использование оперативной памяти компьютера.

Программы, используемые пользователем для записи CD-ROM, CD-R и многие, многие другие.

Важно отметить, что только часть утилит входят в состав операционной системы, а другая же часть функционирует совершенно независимо от нее, т.е. функционирует автономно.

В зависимость от программного обеспечения данного уровня попали эксплуатационные показатели всей вычислительной системы в целом. К примеру, при подключении к вычислительной системе нового оборудования на системном уровне должна быть установлена программа, которая бы смогла обеспечить для всех других программ взаимосвязь с данным оборудованием. Конкретные программы, отвечающие за взаимодействие с конкретными устройствами, называются драйверами устройств - они входят в состав программного обеспечения системного уровня. [12]

Иной класс программ системного уровня отвечает за взаимодействие с пользователем, благодаря им он вводит данные в вычислительную систему, управляет работой системы и получает от неё результат. Ещё один класс программ системного уровня отвечает за бесперебойное взаимодействие с пользователем, благодаря данным программам он получает возможность вводить данные в вычислительную систему, управляет её работой и получает Другой класс программ системного уровня отвечает за взаимодействие с пользователем. Именно благодаря им он получает возможность вводить любые данные в вычислительную систему, управлять её работой, а также получать результат в удобной для себя форме. Эти программные средства называют средствами обеспечения пользовательского интерфейса. От них напрямую зависит удобство работы с компьютером и производительность труда на рабочем месте.

Ядро операционной системы компьютера образует совокупность программного обеспечения системного уровня. Таким образом, если компьютер уже оснащен программным обеспечением системного уровня, можно считать, что он подготовлен к установке программ более высокого уровня и ко взаимодействию программных средств с оборудованием и ко взаимодействию с пользователем компьютера. Другими словами можно сказать, что наличие ядра операционной системы -это непременное условие для возможности практической работы человека с вычислительной техникой.

Следующий из рассматриваемых уровней программного обеспечения -служебный уровень.

Программное обеспечение данного уровня взаимодействует как с программами базового уровня, так и с программами системного уровня. Основным назначением служебных программ, которых по-другому называют «утилитами», является автоматизация работы по проверке, настройке, наладке всей компьютерной системы. Часто они также используются для улучшения функций или расширения функций системных программ. Отдельные служебные программы, такие как программы обслуживания например, изначально включаются в состав операционной системы, но все же большинство из них являются для операционной системы внешними и служат для расширения её функций.

В разработке и эксплуатации служебных программ есть 2 различных противоположных друг другу направления, это автономное функционирование и интеграция с операционной системой. В случае интеграции с операционной системой служебные программы могут менять потребительские свойства системных программ, делая их наиболее подходящими пользователю в его практической работе с ними. В случае же автономного функционирования программы они практически не связаны с системным программным обеспечением, в этом есть и свои плюсы - они предоставляют пользователю больше возможностей для персональной настройки их взаимодействия с программным и аппаратным обеспечением.

Следующий из рассматриваемых уровней -это прикладной уровень. Программное обеспечение прикладного уровня представляет собой комплекс прикладных программ, с помощью которых на данном рабочем месте выполняются конкретные задания. Данных заданий множество разновидностей от развлекательных до производственных, от творческих до обучающих и т.д. и т.п. Большой функциональный диапазон всевозможных приложений и средств вычислительной техники обусловлен наличием прикладных программ для различных видов деятельности.

И так как между системным программным обеспечением и прикладным программным обеспечением существует непосредственная связь и прикладное программное обеспечение опирается на системное, то можно с уверенностью говорить о том, что универсальность вычислительной системы, широта функциональных возможностей компьютера и доступность прикладного программного обеспечения напрямую зависят от типа используемой операционной системы и от того, какие системные средства содержит ее сердцевина- ядро, как она обеспечивает взаимодействие триединого комплекса человек - программа - оборудование.

Прикладные программы, это такие, с помощью которых человек-пользователь решает свои информационные задачи, не прибегаю при этом к программированию.

Естественен тот факт, что системы программирования нужны далеко не всем пользователям, в то же время как прикладное и системное программное обеспечение необходимо и незаменимо всем пользователям любого компьютера.

Важно отметить что и прикладные программы имеют свои разновидности. Так они делятся на программы специального назначения и программы общего назначения.

К программам специального назначения относятся системы автоматизированного проектирования; экспертные системы; бухгалтерские пакеты; программы для проведения математических расчетов и иной профессиональной узкоспециализированной деятельности.

К программам же общего назначения относятся графические и текстовые редакторы; табличные процессоры; системы управления базами данных; коммуникационные и сетевые программы, а также компьютерные игры.

Программы специального назначения: бухгалтерские пакеты; системы автоматизированного проектирования; экспертные системы; программы для проведения сложных математических расчетов; программы для профессиональной деятельности и др.

К программному обеспечению относится также вся область деятельности по разработке и проектированию программного обеспечения: методы тестирования программ; анализ качества работы программ; методы доказательства правильности программ; документирование программ; технология проектирования программ, например, нисходящее проектирование, структурное и объектно-ориентированное проектирование и другое, разработка и использование программных средств, облегчающих процесс проектирования программного обеспечения и другое.

Итак, подытоживая вышесказанное можно сделать общий вывод и дать определение понятию программного обеспечения.

Программное обеспечение - неотъемлемая часть компьютерной системы. Оно является логическим продолжением технических средств. Сфера применения конкретного компьютера определяется созданным для него программного обеспечения. Сам по себе компьютер не обладает знаниями ни в одной области применения. Все эти знания сосредоточены в выполняемых на компьютерах программах.

Выделяют нижеперечисленные уровни программного обеспечения:

. Базовое программное обеспечение - базовый уровень.

. Системное программное обеспечение- системный уровень.

. Служебное или сервисное программное обеспечение.

. Прикладное программное обеспечение.

Каждый вышележащий уровень повышает функциональность всей системы.[5]

Рассмотрим структуру программного обеспечения в виде таблицы.

Рисунок 1- Структура программного обеспечения.

.1.2 Уровни программного обеспечения

Базовое ПО - самый низкий уровень ПО.

Программное обеспечение, отвечающее за взаимодействие с базовыми аппаратными средствами, называют - базовым программным обеспечением. Как правило, базовые программные средства непосредственно входят в состав базового оборудования и хранятся в специальных микросхемах, называемых постоянными запоминающими устройствами или сокращенно - ПЗУ. Базовое программное обеспечение в архитектуре компьютера занимает особое положение.

С одной стороны, его можно рассматривать как составную часть аппаратных средств, с другой стороны, оно является одним из программных модулей операционной системы.

Базовое программное обеспечение, или по-другому его ещё называют BIOS, представляет собой программа, которая отвечает за управление всеми компонентами, установленными на материнской плате. Фактически BIOS является неотъемлемой составляющей системной платы и поэтому может быть отнесена к особой категории компьютерных компонентов, занимающих промежуточное положение между программным обеспечением и аппаратурой.

Функцией базового программного обеспечения является проверка работоспособности вычислительной системы и состава вычислительной системы. [3]

.1.3 Системное программное обеспечение

Ядром операционной системы компьютера или по-другому (сокращенно) её обозначают, как ОС является совокупность программ системного уровня. Эти программы обеспечивают взаимодействие программ базового уровня и всех программ, а также непосредственно с аппаратным обеспечением и отвечают за взаимоотношения человека - пользователя и компьютера. Служебное или сервисное программное обеспечение (утилита) имеют основную функцию в автоматизации работы по настройке, наладке, проверке всей компьютерной системы. Отдельные служебные программы, такие например, как обслуживающие программы, изначально включаются в состав операционной системы, но тем не менее большинство служебных программ, являются для операционной системы внешними с служат лишь для расширения функций. Это различные сервисные программы, используемые при техническом обслуживании или работе компьютера, - диагностические программы, редакторы, архиваторы, отладчики, программы для борьбы с вирусами и другие дополнительные программы. Данные программы облегчают пользователю взаимодействие с компьютером. К ним относятся и программы, обеспечивающие работу компьютеров в сети. Они реализуют сетевые протоколы обмена информацией между различными машинами, телеобработку информации, работу с распределенными базами данных. [2]

Классификация служебных программных средств:

. Средства диагностики предназначены для автоматизации процесса программного обеспечения и диагностики аппаратного обеспечения, они используются не только для оптимизации работы компьютерной системы, но и для устранения неполадок. Например, утилита «Дефрагментация диска» позволяет данные, принадлежащие одному файлу, объединить в одной непрерывной области данных .

. Средства сжатия данных, такие как архиваторы, предназначены для создания архивов. Архивирование данных упрощает их хранение за счет того, что большая группа файлов и каталогов сводятся в один архивный файл Наиболее распространенными среди пользователей компьютеров и известными во всем мире архиваторами являются:WinAce, WinZip, WinRAR.

. Средства обеспечения компьютерной безопасности - это средства активной и пассивной защиты данных от повреждения, а также средства от несанкционированного изменения, просмотра и доступа до скрытых данных. Средства пассивной защиты - это специализированные служебные программы, предназначенные для резервного копирования, но нередко они обладают также и базовыми свойствами архиваторов. Средства активной защиты - это антивирусное программное обеспечение, которые используются для защиты данных от несанкционированного доступа, их просмотра и изменения, а также для этих целей служат специальные системы, основанные на криптографии.

. Средства контроля или мониторингапозволяют следить за процессами, происходящими в самой компьютерной системе.

. Диспетчеры файлов - это программы для выполнения большинства операций, связанных с обслуживанием файловой системы: перемещение и переименование файлов копирование, создание каталогов и папок, поиск файлов, удаление файлов и каталогов, навигация в файловой структуре. Наиболее популярными среди пользователей являются такие программы, как: Total Commander, который бывший Windows Commander и FAR Manager.

. Мониторы установки предназначены для контроля над установкой программного обеспечения.

. Средства коммуникаций обслуживают передачу сообщений электронной почты, позволяют устанавливать соединение с удаленными компьютерами, работу с телеконференциями и другое.[1]

.1.5 Прикладное программное обеспечение

Это комплекс прикладных программ, с помощью которых на данном рабочем месте выполняются конкретные задания. Это программы конечного пользователя, общего и специализированного назначения.

Они предназначены для решения задач в конкретной предметной области.

Классификация прикладных программных средств:

. Текстовые редакторы

. Текстовые процессоры

. Графические редакторы

. Системы управления базами данных

. Электронные таблицы

. Системы автоматизированного проектирования

. Настольные издательские системы

. Экспертные системы

. WEB-редакторы

. Браузеры

. Бухгалтерские системы

. Геоинформационные системы

. Интегрированные системы делопроизводства

. Финансовые аналитические системы

. Системы видеомонтажа

.1.6 Инструментальное программное обеспечение

Программы инструментального программного обеспечения управляются системными программами, поэтому они относятся к более высокому уровню. Инструментальное программное обеспечение представляет комплексы программ для создания других программ. К инструментальному программному обеспечению относятся: редакторы связей, интегрированные системы разработки программного обеспечения, компиляторы, отладчики, например, интегрированная система, известная во всем мире - Delphi[6]

.2 Понятие системного программного обеспечения

.2.1Операционные системы

С одной стороны она опирается на базовое программное обеспечение компьютера, входящее в состав BIOS (базовая система ввода-вывода), с другой стороны, она сама является опорой для программного обеспечения более высоких уровней - прикладных и большинства служебных приложений. Все ОС обеспечивают свой автоматический запуск. После включения компьютера производится самотестирование компьютера и затем загрузка операционной системы с системного диска в оперативную память. Загрузка должна выполняться в соответствии с программой загрузки. Однако для того чтобы компьютер выполнял какую-нибудь программу, эта программа должна уже находиться в оперативной памяти, а в момент включения компьютера в его оперативной памяти нет ничего, поскольку оперативная память не может ничего хранить без подзарядки ячеек. Разрешение этого противоречия состоит в последовательной, поэтапной загрузке операционной системы. Самотестирование компьютера. В состав компьютера входит постоянное запоминающее устройство (ПЗУ), содержащее программы тестирования компьютера и первого этапа загрузки операционной системы, - это BIOS (BasicInput/OutputSystem - базовая система ввода/вывода). После включения питания компьютера процессор начинает выполнение программы самотестирования компьютера POST (Power-ON SelfTest).

Производится тестирование работоспособности процессора, памяти и других аппаратных средств компьютера.

Загрузка операционной системы. После проведения самотестирования специальная программа, содержащаяся в BIOS, начинает поиск загрузчика операционной системы. Происходит поочередное обращение к имеющимся в компьютере дискам (гибким, жестким, CD-ROM) и поиск на определенном месте, в первом, так называемом загрузочном, секторе диска, наличия специальной программы MasterBoot (загрузчика операционной системы). Если установлен системный диск и программа-загрузчик оказывается на месте, то она загружается в оперативную память и ей передается управление работой компьютера.

Программа ищет файлы операционной системы на системном диске и загружает их в оперативную память в качестве программных модулей. Если системные диски в компьютере отсутствуют, на экране монитора появляется сообщение «Nonsystemdisk», и компьютер «зависает», то есть загрузка операционной системы прекращается и компьютер остается неработоспособным. После окончания загрузки операционной системы управление передается командному процессору.

ОС предназначены для обеспечения нескольких видов интерфейса:

интерфейса между пользователем и программно-аппратными средствами компьютера (интерфейс пользователя);

интерфейса между программным и аппаратным обеспечением (аппаратно-программный интерфейс);

интерфейса между разными видами программного обеспечения (программный интерфейс).

.2.2 Основные функции ОС

загрузка программ в оперативную память и их выполнение; - стандартизованный доступ к периферийным устройствам (устройства ввода-вывода);

управление оперативной памятью (распределение между процессами, организация виртуальной памяти);

управление доступом к данным на энергонезависимых носителях (таких как жесткий диск, оптические диски и др.), организованным в той или иной файловой системе;

выполнение по запросу программ тех достаточно элементарных (низкоуровневых) действий, которые являются общими для большинства программ и часто встречаются почти во всех программах (ввод и вывод данных, запуск и остановка других программ, выделение и освобождение дополнительной памяти и др.);

обеспечение пользовательского интерфейса;

сетевые операции, поддержка стека сетевых протоколов. Дополнительные функции ОС:

организация надежных вычислений (невозможности одного вычислительного процесса намеренно или по ошибке повлиять на вычисления в другом процессе), основанная на разграничении доступа к ресурсам;

взаимодействие между процессами: обмен данными, взаимная синхронизация;

параллельное или псевдопараллельное выполнение задач (многозадачность);

эффективное распределение ресурсов вычислительной системы между процессами;

разграничение доступа различных процессов к ресурсам;

защита самой системы, а также пользовательских данных и программ от действий пользователей (злонамеренных или по незнанию) или приложений;

многопользовательский режим работы и разграничение прав.

.2.3 Современные ОС

. ОС семейства Windows - продукт корпорации Microsoft. Свою «родословную» Windows начинают от операционной системы DOS и первоначально представляли собой надстраиваемые над ней оболочки (Windows запускался из под DOS), увеличивающие возможности DOS и облегчающие неподготовленному пользователю работу с компьютером. Уже более поздние версии (начиная с Windows NT) представляли собой полноценные операционные системы. Преимуществом Windows считается дружественный для пользователя интерфейс. Из недостатков отмечают ненадежность системы.

. Unix-подобные ОС Операционная система UNIX оказала большое влияние на развитие мира операционных систем, заложив основы работы современных ОС. Изначально UNIX был системой для разработки ПО. Несмотря на то, что Unix-подобные системы уступают по популярности Windows, они работают на больших типах компьютеров.

MAC OS - также создавалась на основе ядра UNIX. Является продукт компании Apple для ее же компьютеров Macintosh. Считается надежной и удобной. Но в отличие от Windows не так популярна.

Linux - представляет собой множество Unix-подобных операционных систем (дистрибутивов), которые чаще всего являются свободно распространяемыми?

Пример. Из программных средств Microcoft: MS DOS, MS Office, MS SQL, MS VisualStudio операционной системой является MS DOS[9]

.3 Файловая структура ОС. Операции с файлами

Минимальная единица хранения данных на запоминающих устройствах - файл.

Файл(File) - это последовательность произвольного числа байтов, хранящихся во внешней памяти компьютера и обладающая уникальным именем.

Имя файла = собственно имя . расширение файла Имена бывают «короткие» и «длинные». До Windows 95 имя файла задавалось в формате 8.3

Длинное» имя может содержать до 256 символов кроме символов / \ : * ? ” <>

Большие и маленькие буквы - не различаются

Имя файла разделено на две части: собственно имя файла (префикс) и расширение (суффикс), определяющее его тип (программа, данные и т.д.).

Расширение имени файла - последовательность символов, добавляемых к имени файла и предназначенных для идентификации типа (формата) файла. Расширение имени файла несет определенную информацию для современных операционных систем, которые имеют средства для регистрации свойств типов файлов по расширению их имени. Поэтому чаще всего выбор расширения имени файла не является частным делом пользователя. Приложения этих систем предлагают задать только собственное имя файла и указать тип файла, а соответствующее расширение имени приписывают автоматически. [6]

Расширение обычно отделяется от основной части имени файла точкой.

В ранних операционных системах длина расширения была ограничена тремя символами, в современных операционных системах это ограничение отсутствует. Иногда могут использоваться несколько расширений, следующих друг за другом, например, «.tar.gz».

Тип файла

Расширение

Исполнимые файлы

Exe, Com, bat

Текстовые файлы

Txt, doc, rtf

Электронные таблицы

Xls

Презентации

Ppt

Графические файлы

Gif, bmp, jpg, jpeg, tif, png, cdr

Звуковые файлы

 Wav,midi,mp3, wma

Web-страницы

Htm, html

Программы на языках программирования

Pas, bas

Файлы данных

Dat, bdf

Архиваторы данных

Arj, rar, zip


Например: В соответствии с таблицей общим признаком объединены файлы с расширениями имен .bmp, .jpeg, .cdr, .png - это графические файлы. Начиная с операционной системы Windows 95 было введено понятие «длинного» имени файла. Такое имя может содержать до 256 символов. «Длинное» имя может содержать любые символы, кроме девяти специальных, недопустимых в длинных именах файлов, каталогов (папок) и расширениях: / \ : * ? <> | ”. В имени разрешается использовать пробелы и несколько точек.

Маска имени файла

Для групповых операций с файлами можно использовать маски (шаблоны) имен файлов.

Маска представляет собой последовательность букв, цифр и прочих допустимых в именах файлов символов, в которой также могут встречаться следующие символы:

символ «?» (вопросительный знак) заменяет ровно один произвольный символ. Например, при вводе в качестве критерия поиска имени объекта «199?» будут найдены все объекты, в названии которых присутствует любой год с 1990-го по 1999-й, а также с именами типа 199R, 199_, 199л.

символ «*» (звездочка) заменяет любую последовательность символов произвольной длины, в том числе и пустую. Например, а) при вводе «*.doc» будут найдены все файлы с расширением doc; б) маске «А*.txt» соответствуют файлы с расширением txt, имена которых начинаются на А, в том числе и файл А.txt

Пример 1. Маске «*.test.??» соответствует и «foo.test.10», и «m.test.11», но не «foo.test.1» или «foo.est.10».

Пример 2. Маска *A*.??? использована для объединения файлов в группу. В группу … § ABC.HTM § TEXT.DAT § DTA.EXE § A.TXT вошли все файлы, кроме файла TEXT.DAT, т.к. имя файла может состоять из любых символов в любом количестве, но символ «A» в нем должен присутствовать (на любом месте, в том числе на первом и на последнем). Расширение имени должно состоять ровно из трех любых символов.

Пример 3. Имеются файлы . Требуется выделить в группу три файла «2.EX», «K2.DT», «2K3.TA». Это можно сделать при помощи маски …

Варианты ответа: *2.?? *2*.?? - в имени должен быть символ 2 (на любом месте) и расширение имени содержит ровно два любых символа *2*.* 2*.??

Наименьшей физической единицей хранения данных на диске является сектор. Жесткий диск состоит из нескольких дисков, каждый из которых имеет 2 поверхности.

Рисунок 2- Жесткий диск.

Поверхность жесткого диска рассматривается как трехмерная матрица, измерениями которой является поверхность, цилиндр, сектор.

Дорожка (трек) - это часть дисковой памяти в виде окружности.

Цилиндр - это совокупность всех дорожек, принадлежащих разным поверхностям, и находящихся на равном удалении от оси вращения.

Сектор (Sector) - это наименьшая физическая единица хранения данных (наименьший адресуемый элемент физической памяти на диске). Размер сектора равен 512 байтов. Наименьшей единицей адресации при обращении к данным является кластер. Кластер - это группа секторов. Размер кластера, в отличие от размера сектора, строго не фиксирован. Обычно он зависит от размера диска. Размер файла задается в кластерах. Когда файл записывается на диск, файловая система выделяет соответствующее количество кластеров для хранения данных файла.

Например, если каждый кластер равен 512 байт, а размер сохраняемого файла составляет 800 байт, то для его хранения будут выделены два кластера. Впоследствии, если вы модифицируете файл таким образом, что он увеличится в размерах, скажем, до 1600 байт, для его сохранения будут дополнительно выделены еще два кластера. В кластер, частично занятый каким-либо файлом, нельзя поместить больше ничего. Допустим, ваш файл располагается в 10 кластерах размером по 1024 Кб, причем в последнем, десятом кластере, он занимает всего 10 байт. Что происходит с оставшимся свободным килобайтом? Ничего. Он просто пропадает для пользователя.

Пример. На некотором жестком диске размер кластера составляет 512 байт. На этот диск записаны четыре файла размерами 100, 200, 1000 и 2500 байт. Сколько кластеров необходимо для хранения всех четырех файлов ?

.3.1 Файловая система

Функции файловой системы: работа с файлами и папками(создание, удаление, переименование, копирование и перемещение файлов и папок, навигация по файловой структуре с целью доступа к задаваемому файлу, папке). работа с данными, которые хранятся в файлах (запись, чтение, поиск данных и т.д.)

Файловая система - это функциональная часть операционной системы, определяющая способ организации, хранения и именования данных на дисках и обеспечение доступа к ним.

Файловая система отслеживает размещение файлов на диске и свободное дисковое пространство, обеспечивает пользователю удобный интерфейс при работе с данными и совместное использование файлов несколькими пользователями и процессами.

Иерархическая структура, в виде которой операционная система отображает файлы и папки диска, называется файловой структурой. Папка (Folder) или каталог (директория(Directory)) - это место на диске, файл, в котором содержится список файлов, входящих в него, и их атрибуты.

Папки и файлы хранятся на носителе данных (жестком диске, компакт-диске,flash-памяти и т.д.), которое обозначается латинской буквой от A: до Z: Каталоги и файлы образуют дерево каталогов.

Имя папки определяется так же, как и имя файла, но обычно без расширения. Каталог может содержать в себе файлы и другие каталоги, которые называются подкаталогами или вложенными каталогами. Каталог самого верхнего уровня, не входящий ни в одну из папок, называется корневым каталогом.

Файл характеризуется уникальным путем доступа к нему. Имя носителя:\папка1\папка2\...\имя файла Длина пути доступа к файлу не должна быть больше 260 символов:

Например, D:\ Students\ПГС-91\Иванов\lr-word.doc или D:\ Students\ПГС-91\Петров\lr-word.doc

Пример. На локальном диске H: выполнена последовательность действий:

) создать папку A;

) открыть папку A;

) создать папку 1;

) закрыть папку A;

) создать папку B;

) создать папку

. Структурой папок, созданной в результате этих действий, будет …



Рисунок 3- Фрагменты рабочего стола.

Пример. На приведенном фрагменте рабочего стола сколько объектов являются папками? D:\ USER StudentsStud-public ПГС-91 ГСХ-91 ЭУН-91 Иванов Петров Ким Лаб раб 1.mcd Lr-word.doc Text.txt 1.zip

Рисунок 4- 5 папок: Мои документы, Учебные программы, Мой компьютер, Корзина, Сетевое окружение

.4 Основы работы с операционной системой Windows XX

Рабочий стол Windows ХР является графической операционной системой для компьютеров платформы IBM PC. Ее основные средства управления - графический манипулятор (мышь или иной аналогичный) и клавиатура.

Основу графического интерфейса пользователя составляет организованная система окон и других графических объектов, при создании которой разработчики стремятся к максимальной стандартизации всех элементов и приемов работы. Окно - это обрамленная прямоугольная область на экране монитора, в которой отображаются приложения, документ, сообщение. Окно является активным, если с ним в данный момент работает пользователь. Все операции, выполняемые в графических ОС, происходят либо на Рабочем столе, либо в каком-либо окне. Стартовый экран системы представляет собой системный объект, называемый рабочим столом. [11]

Система предназначена для управления автономным компьютером, но также содержит все необходимое для создания небольшой локальной компьютерной сети (одноранговой сети) и имеет средства для интеграции компьютера во всемирную сеть (Интернет). В графических операционных системах большинство операций можно выполнять многими различными способами, например через строку меню, через панель инструментов, через систему окон и др. Поскольку операции выполняются над объектом, предварительно он должен быть выбран (выделен).

Рабочий стол - это графическая среда, на которой отображаются объекты и элементы управления. Панель задач - один из основных элементов управления. Панель задач представляет собой длинную горизонтальную полосу, как правило, в нижней части экрана. В отличие от рабочего стола, который может быть перекрыт открытыми нем окнами, Панель задач видна почти всегда.

Рисунок 5- Панель задач.

Панель задач состоит из четырех основных частей:

) кнопка «Пуск» - основное средство доступа к установленным в системе программам, открывающая Главное меню;

) панель быстрого запуска, расположенная справа от кнопки «Пуск»; она позволяет запустить программу одним нажатием кнопки мыши; на Панель быстрого запуска обычно выносятся значки наиболее часто используемых программ;

) средняя часть, которая отображает открытые программы и документы и дает возможность быстро переключаться между ними;

) область уведомлений, в которой находятся часы и значки, отображающие состояние некоторых программ и параметров компьютера.

Объекты на Рабочем столе могут быть представлены в виде:

значков;

ярлыков.

Значок является графическим представлением объекта. То, что мы делаем со значком, мы на самом деле делаем с объектом. Например, удаление значка приводит к удалению объекта; копирование значка приводит к копированию объекта и т. д. Ярлык же является только указателем на объект. Удаление ярлыка приводит к удалению указателя, но не объекта; копирование ярлыка приводит к копированию указателя, но не объекта.

Например, удаление ярлыка не влечет за собой удаления программы Меню

.4.1 Главное меню

Главное меню - один из основных системных элементов управления Windows ХР. Оно отличается тем, что независимо от того, насколько Рабочий стол перегружен окнами запущенных процессов, доступ к Главному меню удобен всегда - оно открывается щелчком на кнопке Пуск.

С помощью Главного меню можно запустить все программы, установленные под управлением операционной системы или зарегистрированные в ней, открыть последние документы, с которыми выполнялась работа, получить доступ ко всем средствам настройки операционной системы, а также доступ к поисковой и справочной системам Windows ХР, Главное меню - необходимый элемент управления для завершения работы с операционной системой. В нем имеется пункт Выключить компьютер

В структуру Главного меню входят два раздела: произвольный и обязательный.

Произвольный раздел расположен выше разделительной черты. Пункты этого раздела пользователь может создавать по собственному желанию. Иногда эти пункты Системное меню Элемент окна Windows, расположенный в левом верхнем углу окна. Команды, представленные в данном меню, позволяют управлять размером и расположением окна на Рабочем столе - они могут быть полезны, если мышь не работает. Строка меню (горизонтальное меню) Контекстное меню (всплывающее меню) - содержит команды, которые можно выполнить для элемента окна, на котором выполнен щелчок правой кнопкой мыши. Наведение указателя мыши на пункт меню с маленькой черной стрелкой, направленной вправо, раскрывает вложенное меню Некоторые пункты меню справа отмечены двоеточием. Выбор такого пункта Раскрывает диалоговое окно для ввода дополнительной информации

Например, используя контекстное меню для рабочего стола можно выполнить команды:

Упорядочить значки u

Обновить

Вставить

Вставить ярлык

Создать u

Свойства Пункты меню «Упорядочить значки» и «Создать» содержат вложенное меню. Команда «Свойства» открывает окне «Свойства: Экран». На вкладке «Рабочий стол» можно изменить фон Рабочего стола, определив фоновый рисунок или задав специальный узор, которым будет заполнен Рабочий стол.

При выборе файла рисунка предполагается, что он находится в папке С:\Windows или C:\Windows\Web\Wallpaper. Кроме того, в список «Фоновый рисунок» включаются все личные рисунки, содержащиеся в папке «Мои рисунки». Если это не так, путь доступа к нужному файлу можно указать при помощи кнопки «Обзор». Допускается использование файлов со следующими расширениями: .bmp, .gif, .jpg, .dib, .png, .htm. Раскрывающая кнопка поля «Расположение:» предоставляет выбор способа расположения рисунка: по центру - рисунок располагается в центре, по краям экрана виден фоновый цвет, который можно выбрать в списке поля «Цвет:»; замостить - рисунок размножен по всему экрану; растянуть - изображение масштабируется в соответствии с размером экрана. Если в поле списка рисунков выбрать «Нет», то на экране будет отображаться только фоновый цвет, который можно выбрать в списке «Цвет:».

После выбора рисунка и его расположения необходимо нажать кнопки «Применить» и «OK». На вкладке Заставка осуществляют выбор и настройку режима действия экранной заставки.

Фоновый рисунок представляет собой графический файл, отображаемый на поверхности Рабочего стола в качестве его фона. Имена графических файлов, которые могут быть использованы в качестве фона, выбираются из списка «Фоновый рисунок».

Рисунок 6- Экранная заставка.

Экранная заставка - это динамические изображения, воспроизведение которых включается автоматически при отсутствии в течение заданного времени событий, вызванных пользователем. На вкладке Темы можно выбрать одну из заранее определенных тем.

Тема рабочего стола - это фоновый рисунок, набор звуков, значков и других элементов рабочего стола, используемый для настройки вида компьютера. На вкладке Параметры можно задать значения настраиваемых параметров экрана: - величину экранного разрешения (измеряется в точках по горизонтали и вертикали); - величину цветового разрешения - глубину цвета (выражается количеством одновременно отображаемых цветов или разрядностью кодирования цвета точки).

Приложениями ОС принято называть программы, предназначенные для работы под управлением данной системы.

Драйвер - программа, обеспечивающая взаимодействие ОС с определенным устройством компьютера.[4]

2.Разработка моделей и алгоритмов решения задач

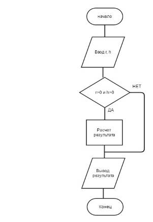
Задание 1. Организовать ввод исходных данных в поля формы и вывод решения задачи в надпись формы. Вычислить: площадь поверхности конуса по радиусу и высоте.

Блок-схема

Рисунок 7. Блок-схема первой программы

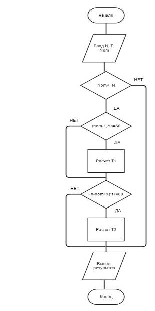
Задание 2. Организовать ввод исходных данных в поля формы, а также вывод решения задачи в надпись. Разработать функцию, возвращающую заданный результат: По кольцевой линии метрополитена, имеющей N станций, движутся навстречу друг другу два поезда, каждые Т минут пребывая на новую станцию. Определить время прибытия поездов на любую из указанных в списке станций в течении часа.

Блок-схема

Рисунок 8- Блок-схема второй программы

Задание 3. Предоставить проигрывателю возможность ввода исходных данных в поля или в текстовую таблицу формы и разработать функцию, возвращающую заданный результат в надпись. В отчете представить доказательство правильности найденного решения . Пространственный вектор задан координатами (0,0,0) и (x1,y1,z1). Найти его длинну и углы наклона к осям координат.

Блок-схема

Рисунок 9- Блок-схема третьей программы

3. Описание процесса разработки программного обеспечения и результатов работы

программный файловый операционный

Среда разработки Code::Blocks::Blocks - это кроссплатформенная, бесплатная, open source (открытое программное обеспечение) среда разработки.

К Code::Blocks еще можно подключать другие (не обязательно GCC) компиляторы. Причем для разных проектов можно подключить разные компиляторы, можно для одного и того же проекта попробовать различные компиляторы. Последнее должно быть особенно удобно для тех, кто разрабатывает open source проекты, которые просто обязаны компиляться всеми более-менее распространенными компиляторами. Плюс переход на другой компилятор можно произвести очень быстро. Никаких дополнительных сред разработки скачивать не надо, привыкать к ним не надо.

Список компиляторов, с которыми умеет работать Code::Blocks:

GNU GCC GCC 's Visual C++ Free Toolkit 2003 's C++ Compiler 5.5Device C Compiler

Также различные настройки для различных компиляторов возможно проставить для каждого проекта индивидуально.

Заключение

Подытоживая вышесказанное, можно сделать вывод о том, что Все программное обеспечение можно образно разделить на две большие категории: общую и специальную. Но это будет весьма условное разделение в котором нет четких границ. Под общим программным обеспечением понимают те программы, которые присутствуют практически не каждом компьютере, независимо от возраста пользователя, его профессии, увлечений, уровня его владения компьютером. В эту большую группу программ входят операционные системы, стандартные приложения к операционным системам, расширяющие их свойства, а также программы по созданию и редактированию текстовых документов, позволяющие пользователю проводить различного рода расчеты и представлять в наглядном виде их результаты, программы для работы с мультимедиа и презентаций, а также большая группа технологического программного обеспечения для разработки специализированных программ в различных областях предметной деятельности. Специальное же программное обеспечение ориентировано на специальное применение в области профессиональной деятельности, к примеру бухгалтеру, использующему в своей работе программу 1С или Турбо-бухгалтер или БЭСТ и другие подобные.

Итак остановимся на первоначальном вопросе моей курсовой работы - определением программного обеспечения.

Исходя из изученной литературы, могу сделать вывод о том, что под программным обеспечением принято называть совокупность программ, описаний и инструкций по их применению, позволяющую использовать ВС как универсальную систему для хранения, обработки и обмена информацией.

Программы могут разрабатываться и распространяться в форме, пригодной для выполнения с помощью других программ, в их среде. Примерами таких программ являются приложенияFoxPro (файлы приложений с расширением APP (application), FXP или даже файлы в исходном (на языке программирования FoxPro) коде PRG) или апплеты Java, выполняемые на Java-машине. Такие приложения не могут выполняться самостоятельно, вне соответствующей среды.

Программы могут распространяться в качестве загрузочных (исполнимых) модулей, содержащих полностью сформированный машинный код, готовых к выполнению. Такие программы, которые могут самостоятельно запускаться для решения соответствующих задач, называют еще приложениями. Такие программы содержатся в программных EXE- и COM-файлах.

К программному обеспечению относятся также библиотеки, используемые для разработки других программ или при их выполнении . Такие программные файлы называют компонентами приложений, так как содержащиеся в них программы не загружаются на выполнение самостоятельно, а подключаются при выполнении к другим программам-приложениям.

Назначение программного обеспечения состоит в упрощении технической эксплуатации ВС, а также контроль за работой отдельных аппаратных компонентов ВС, локализация и диагностика неисправностей в работе системы, увеличении эффективности и снижении трудоемкости труда программиста и пользователя, предоставление различных средств программирования, пакетов наиболее употребительных программ, удобных средств отладки программ, обработки аварийных ситуаций, контроль сохранности входной, промежуточной и выходной информации, повышении адаптируемости программ к изменяющимся ресурсам, независимость программ от устройств ввода/вывода, возможность расширения имеющихся средств.

Программное обеспечение является необходимым дополнением к техническим средствам ВС, обеспечивающим общую эффективную работу системы.

Список использованной литературы

1. Акулов О.А. Информатика: учебник / О.А. Акулов, Н.В. Медведев. - М.: Омега-П, 2011. - 270 с.

. Алексеев А.П. Информатика 2007 / А.П. Алексеев. - М.: СОЛОН-ПРЕСС, 2012. - 608 с.

. Л.Л. Босова, Н.И. Михайлова. - М.: Бином, 2012. - 400 с.

. Вьюхин В.В. Информатика и вычислительная техника: учеб. пособие для инженерных специальностей / В.В. Вьюхин; под ред. В.Н. Ларионова. - М.: Дрофа, 2012. - 286 с.

. Гейн А.Г. Основы информатики и вычислительной техники / А.Г. Гейн. - М.: Просвещение, 2014. - 245 с.

. Острейковский В.А. Информатика / В.А. Острейковский. М.: Высш. шк., 2010. - 235 с.

. Информатика: практикум по технологии работы на компьютере / под ред. Н.В. Макаровой. - 2-е изд. - М.: Финансы и статистика, 2016. - 384 с.

. Макарова Н.В. Информатика: практикум по технологии работы на компьютере / Н.В. Макарова, С.Н. Рамин. - М.: Академия, 2015. - 384 с.

. Макарова Н.В. Информатика: учеб. пособие для вузов / Н.В. Макарова, Н.В. Бройдо. - М.: Академия, 2014. - 768 с.

. Могилев А.В. Информатика: учеб. пособие для вузов / А.В. Могилев, Н.И. Пак, Е.К. Хеннер; под ред. Е.К. Хеннера. - М.: Академия, 2010. - 346 с..

. Угринович Н.Д. Практикум по информатике и информационным технологиям: учеб. пособие для общеобразовательных учреждений / Н.Д. Угринович,

Похожие работы на - Классификация программного обеспечения

 

Не нашли материал для своей работы?
Поможем написать уникальную работу
Без плагиата!
Без нейросетей!