Модернизация автоматизированной системы подачи азота в конвертор № 1-3 КП ПАО 'Северсталь'
Содержание
Введение
1. Анализ предметной области и поставленных задач
1.1 Анализ предметной области
1.2 Анализ известных вариантов САР
1.3 Постановка задачи
2. Проектирование
2.1 Разработка структурной схемы САР и выбор принципиальных схем
элементов её неизменяемой части
2.2 Алгоритм работы системы
2.3 Требования к программному обеспечению
3. Реализация проектируемой системы
3.1 Выбор измерительно-преобразовательных элементов
3.2 Построение функциональной схемы
3.3 Визуализация процесса
4. Моделирование САУ
4.1 Определение математической модели объекта, статические
характеристики, кривая разгона, частотные характеристики
4.2 Определение математической модели САУ, исследования на
устойчивость
5. Организация производства
5.1 Монтаж оборудования
5.2 Поверка датчиков и вторичных приборов
5.3 Наладка ПО и ПЛК
5.4 Структура, функции и задачи служб эксплуатации
Заключение
Список использованных источников
Приложения
Введение
До недавнего времени вопросам долговечности жизненного цикла
футеровки конвертера не уделялось никакого внимания. В настоящее время этот
вопрос стал очень актуальным для любого металлургического предприятия.
Так как на металлургических заводах интенсивность
использования конвертерного производства для плавки сталей очень высока, а
долговечность работы конвертерных печей часто является основным фактором
стабильного производства, необходимость увеличения жизненного цикла футеровки
конвертера является одной из наиболее острых проблем на сталеплавильном
производстве. Надежная работа конвертера и его долговечность зависит от
качества огнеупорных материалов из которых выстлана его футеровка. Современные
огнеупоры не могут обеспечить длительную стойкость футеровки конвертора, а ее
ремонт - операция весьма трудоемкая. Для продления жизненного цикла футеровки
конвертера разработан ряд способов, таких как:
- факельное наплавление огнеупоров;
- торкретирование;
- раздув остаточного шлака на дне конвертора
потоком азота.
В следствии того, что раздув шлака азотом является самым
современным и наиболее эффективным способом продления срока службы футеровки
конвертера более подробно он будет рассмотрен в ходе ВКР.
Темой дипломного проекта является разработка
автоматизированной системы регулирования раздува шлака азотом в кислородном
конвертере КП ЦВКС ЧерМК ПАО "Северсталь". Данная система
автоматического регулирования (далее САР) обеспечивает технологические процессы
восстановления и подержания рабочего слоя футеровки конвертера, это напрямую
влияет на производительность конвертерного производства в целом. Внедрение
системы было осуществлено почти 20 лет назад, но ей требуется доработка в связи
со следующими причинами:
- оборудование не соответствует требованиям,
необходимым для того чтобы система работала надежно;
- наличие высокого износа действующего
оборудования;
- высокая погрешность измерений
контролируемых параметров;
- отсутствует возможность регулировать
расход азота;
- необходимо проведение постоянного контроля
за ТП со стороны человека;
- отсутствует возможность работы полностью в
автоматическом режиме.
Для этого предлагается разработать новую САР, основой которой
будет являться реально действующая система, с современным оборудованием
контроля и управления ТП, а так же, учитывающая тенденции развития промышленной
автоматики. Внедрение новой системы автоматизированного регулирования раздувки
шлака азотом в кислородном конвертере должно сэкономить ресурсы и уменьшить
временные затраты, полученные при простое оборудования, возникновение которых
связано с человеческим фактором, поскольку на данный момент работа системы
осуществляется в ручном режиме.
Внесение представленных улучшений окажет помощь в достижении
главной цели автоматизации - исключить человека из процесса контроля над
технологическим процессом.
автоматизированное регулирование программное
обеспечение
1.
Анализ предметной области и поставленных задач
1.1 Анализ
предметной области
В конверторном производстве для получения стали в конверторах,
жидкий чугун нагревается до 2600
и выше, посредством продувки технически чистым кислородом. В зоне
прохождения данной реакции создаются очень тяжелые условия для долгосрочной
работы футеровки конвертера.
Конвертерный агрегат представляет собой сосуд в виде груши изнутри
выложенный огнеупорным кирпичом, который в совокупности называется - футеровка
(рисунок 1.1).
Рисунок 1.1 - Конвертерный агрегат в разрезе:
- кожух; 2,6 - арматурный слой; 3 - набивка; 4,5 - рабочий слой
Средняя часть оболочки конвертера представляет сосуд выполненный в
виде цилиндра, стенки выполнены в виде сферы, днище конвертера, обычно,
плоское. Верхняя часть бывает разных видов и размеров, но чаще всего в виде
конусообразной формы. Кожух агрегата изготавливается толстой стали толщиной от
45-95 мм. У конвертерных агрегатов емкостью более 200 т. днище изготавливают
объемным, при емкости больше 250 т. Днище делают с "глухим дном" для
придания конвертеру более жесткой конструкции.
Конструкция футеровочного слоя конвертера состоит из нескольких
слоев:
- наружный слой, который примыкает к кожуху,
называют арматурным. Такой слой производится из специального огнеупорного
кирпича и достигает в толщину 120-300 мм.
- Внутренний слой футеровки конвертера (на
который приходится основная нагрузка, в результате течения химической реакции)
выполняют толщиной 750-850 мм, его делают из материалов которые лучше всего
переносят высокие температуры: смолодоломит, периклазошпинелид.
- Средний слой футеровки, который
располагается между рабочим и арматурными слоями, выполняют из кирпича толщиной
100-200 мм, либо заливают раскаленной смолодоломитовой массой. Зазор между
арматурным слоем и кожухом имеет ту же структуру заполнения, что и средний слой
футеровки. [7]
В результате высокой интенсивности процесса плавки чугуна в
конвертере его футеровка подвержена износу и разрушению. Чтобы предотвратить
этот процесс используют следующие способы: торкретирование и факельную наплавку
огнеупоров, а так же один из распространенных способов сохранения футеровки
является раздувка остаточного шлака в конвертере азотом через азотную фурму,
рисунок 2.
Торкретирование - процесс нанесения полужидких или
размягченных огнеупорных материалов на поверхность огнеупорной футеровки при ее
кратковременном ремонте (с помощью торкрет машины) с целью продления ее службы
между холодными ремонтами. При использовании этого способа достигается самый
низкий расход огнеупоров из всех способов массового производства стали. [5]
Кроме факельного торкретирования используют также полусухое,
а иногда и мокрое (пульповое) торкретирование. При полусухом торкретировании
увлажненную огнеупорную массу наносят на футеровку конвертера струей сжатого
воздуха.
Используется как торкретирование всей поверхности футеровки,
так и точечное торкретирование - нанесение огнеупорной массы на отдельные наиболее
изношенные ее участки. Длительность данной операции редко превышает 6-8 минут.
Раздувка шлака азотом - данный способ включает подачу
торкрет-массы и кислорода на боковую поверхность агрегата по раздельным трактам
и регулирование расхода торкрет-массы и кислорода. Одновременно или перед
подачей торкрет-массы и кислорода на боковую поверхность на днище конвертера
подают нейтральный газ и раздувают конечный шлак предыдущей плавки. Фурма для
реализации способа содержит концентрично расположенные трубы, образующие
раздельные тракты подвода и отвода охлаждающей воды, подачи торкрет-массы и
кислорода на боковую поверхность конвертера и наконечник с соплами. Фурма
снабжена трактом и торцевым блоком с соплами Лаваля для подачи нейтрального
газа на днище конвертера, а осесимметричные цилиндрические сопла для подачи
торкрет-массы и кислорода закреплены в соосно расположенных вертикальных блоках
с проточками между соплами, при этом в торцевом блоке между соплами на нижнем и
верхнем уровнях выполнены радиальные проточки, соединенные по центру
вертикальной проточкой, а проточки верхнего уровня соединены трубками с трактом
отвода охлаждающей воды.
Недостатком известного способа является низкая эффективность
нанесения шлакового гарнисажа на футеровку конвертера. Перемешивание
загруженных в конвертер карбонатных материалов окислительной смесью
технологических газов позволяет управлять окислительным потенциалом шлакового
расплава, однако приводит к высокому содержанию в нем легкоплавких
высокожелезистых минералов. Это зачастую вызывает сползание нанесенного
гарнисажа по стенкам агрегата из-за высокой жидкотекучести расплава, повышает
неравномерность нанесения шлакового гарнисажа и снижает стойкость нанесенного
шлакового покрытия [6].
В качестве добавок, корректирующих состав шлака, используют
уголь, известняк, доломит и материалы, содержащие оксид магния. Если плавку
подвергают додувке, то для охлаждения шлака добавляют обычный или
доломитизированный известняк, повышают вязкость шлака и снижают содержание в
нем оксидов железа. [7]
Технология раздувки шлака азотом имеет ряд
положительных особенностей. При проведении данной операции появилось
возможность обогащения азотом стали на последнем этапе конвертерной плавки. Для
этого требуется дополнительные управляющие устройства для смешения кислорода и
азота в трубопроводе, который выдает основной энергоноситель на фурму
конвертера. Все это приведет к умеренному расходу азотсодержащих ферросплавов,
которые зачастую используются для этих целей [9].
Большое количество предприятий металлургии
смогло увеличить стойкость футеровки практически вдвое, после внедрения
операции по раздувке шлака азотом (нанесения азотного гранисажа). При этом
расход ферросплавов значительно сократился.
На данный момент процесс раздувки шлака
азотом состоит из следующих этапов:
- выпуск готовой стали из
конвертера;
- визуальная оценка
состояния остаточного шлака, с целью необходимости добавления к нему
специальных легирующих добавок;
- визуальный контроль
состояния футеровки конвертера с целью выявления зон, требующих особого
внимания при проведении раздува;
- качание конвертерного
агрегата для нанесения равномерного слоя гарнисажа;
- опускание азотной фурмы в
исходную позицию и начало технологического процесса (расход азота обычно равен,
расходу кислорода при проведении данной операции);
- выпуск остатка шлака в
шлаковозный ковш, после чего в конвертер можно загружать шихту для следующей
плавки.
- Ведение технологического
процесса заданное время;
- изменение положения фурмы
при управлении вручную с целью формирования шлакового покрытия на всей
поверхности футеровки или сохранение постоянного положения фурмы для покрытия
определенного участка футеровки;
- завершение
технологического процесса и подъем фурмы.
Рисунок 1.2 - Схема конвертера
- корпус конвертера; 2 - футеровка из огнеупорного кирпича; 3
- ось поворота конвертера; 4 - фурма подачи кислорода или азота; 5 - жидкий
чугун
Для контроля над технологическим процессом
используется система визуализации АСУ ТП "Плавка" разработанная в
2001 году. В настоящее время система устарела и имеет ряд ключевых недостатков:
у оператора нет возможности выбора режима продувки в зависимости от остаточного
количества шлака на дне конвертера. Так же нет возможности работать в
полуавтоматическим режиме ведения технологического процесса. Сейчас для
выполнения операции раздувки шлака азотом оператору необходимо визуально
оценить состояние футеровки конвертера, задать время продувки шлака азотом,
после этого опустить азотную фурму на необходимую глубину и запустить процесс
продувки шлака. Так же стоит учитывать, что поток азота регулируется отсечным
клапаном, который имеет только два положения - полностью открыт или полностью
закрыт. Это в свою очередь приводит к избыточной продувке шлака азотом и перерасходу
основного сырьевого носителя - азота.
Исходя из проведенного анализа делаем
вывод: в технологическом процессе невозможно регулировать процесс подачи азота,
потому что на уровне измерительно-преобразовательных механизмов установлен
отсечной клапан, который может работать только в двух режимах и не имеет
возможности регулировании потока, что в конечном итоге приводит к перерасходу
азота (основного энергоносителя). Для поиска решения данной проблемы необходимо
провести анализ существующих САР и найти техническое решение для устранения
данной проблемы.
1.2 Анализ
известных вариантов САР
На основании анализа существующей САР можно сформулировать
ряд недостатков:
- отсутствие централизованного управления и
контроля расхода азота на верхнем уровне САР оператором: нет возможности
своевременно корректировать процесс раздувки шлака азотом.
- большое количество устаревших
преобразовательных, показывающих и регистрирующих приборов, что в свою очередь
приводит к значительному отклонению показателей технологического процесса от
реальных данных;
- моральная и физическая изношенность
исполнительных механизмов САР;
- в результате использования устаревшего
оборудовании - низкая ремонтопригодность.
- несоответствие оборудования требованиям,
которые необходимы для надежной работы системы;
- необходимость постоянного контроля за ТП
со стороны человека и отсутствие возможности работать в полностью автономном
режиме.
В существующей САР: сигналы с датчиков поступают в контроллер
(UYAIRС). ПЛК вырабатывает сигналы о контролируемых параметрах, которые
поступают в систему визуализации и отображаются в виде числовых значений на
автоматизированных рабочих местах (АРМ) оператора. Управление и контроль над
технологическим процессом осуществлялся вручную. В системе используются отсечные
клапаны, что не дает возможности регулировать расход азота в зависимости от
необходимой мощности потока азота для раздувки шлака. Функциональная схема до
модернизации показана в приложении 1.
Исходя из представленных недостатков существующей САР, необходимо
произвести анализ всех существующих САР раздувки шлака азотом на других
предприятиях в металлургической отрасли. Исходя из данных предоставленных
ведущими металлургическими заводами России (конверторное производство ОАО
"ММК", конвертерное производство ОАО "НМК") [11], можно
сделать вывод о том, что на данный момент используется стандартизированная
система управления раздувки шлака азотом. Выявленные проблемы в том или ином
виде никаким образом не были решены на других предприятиях отрасли, поэтому действующая
САР, которая была разработана и внедрена еще в 2001 году, на предприятии ПАО
"Северсталь" нуждается в модернизации. Для этого необходимо
разработать новую САР, основанную на реально действующей системе, с современным
оборудованием контроля и управления ТП, а также, учитывающую тенденции развития
промышленной автоматики. Основное внимание в разрабатываемой САР следует
уделить установке регулирующего клапана последовательно за отсечным и
программному обеспечению комплекса автоматики, обеспечивающей правильное
ведение технологического процесса.
1.3
Постановка задачи
Основываясь на проведенном анализе, было принято решение о
необходимости модернизации существующей САР раздувки шлака азотом. Для
реализации поставленной задачи необходимо: заменить датчики, заменить
исполнительные механизмы. Необходимо внедрение программно-технического
комплекса, в который входят:
- управляющая станция 1-ого уровня (ПЛК);
- удаленные станции распределенной
периферии;
- управляющая станция 2-ого уровня (АРМ
оператора);
- серверы процесса и серверы баз данных;
- сетевые устройства;
- пакет программного обеспечения.
Внедрение новой системы автоматизированного регулирования
раздувки шлака азотом в кислородном конвертере должно приводить к экономии
ресурсов и уменьшению временных затрат, полученных при простое оборудования,
возникающих в связи с человеческим фактором, поскольку на данный момент работа
системы осуществляется в ручном режиме. Для более детального рассмотрения
функционала модернизируемой системы разделим ее на три уровня (рисунок 1.3):
уровень датчиков, регулирующих органов и исполнительных механизмов (полевой
уровень); уровень ПЛК; и уровень визуализации контроля и управления
технологическим процессом.
Рисунок 1.3 - Уровни автоматизации САР
Система должна работать в области значений заданных прямыми
показателями качества объекта управления: САР должна реагировать на изменения
регулируемой величины, превышающий на значение больше чем статическая ошибка,
которая равна - Xст ≤ 0,3
. Максимальное динамическое отклонение равно Xд ≤ 5
Время переходного процесса (время
регулирования tрег ≤ 500 c).
На уровне датчиков и исполнительных механизмов САР должна
выполнять следующие функции:
- работать в пределах заданных показателей
устойчивости;
- иметь возможность выбора режима исполнения
технологического процесса (ручной режим или автоматический режим);
- обеспечивать необходимое качество и
скорость регулировки основных параметров технологического процесса, таких как
температура, давление, расход энергоносителя;
- САР должна иметь возможность
функционирования в непрерывном режиме с остановками на техническое
обслуживание.
На уровне системы визуализации САР должна отвечать следующим,
основным требованиям:
- просмотр информации о текущем состоянии
технологического процесса через систему визуализации;
- возможность вносить изменения в заданные
параметры системы;
- возможность выбора режима работы;
- сбор информации о ходе технологического
процесса и хранение этой информации в базы данных.
Система визуализации должна защищать информацию от
воздействия следующих факторов:
- аварии в системе электропитания и
кратковременные резкие изменения напряжения питания при помощи источников бесперебойного
питания;
- несанкционированные действия пользователя
через программную защиту;
- хранение эталона ПО и
нормативно-справочной информации на резервных носителях;
- периодическое копирование информации на
резервных носителях и сверка её с эталоном;
- своевременная замена эталонного ПО и
обеспечение его защиты от несанкционированного доступа при помощи
организационных мер.
Структуру комплекса технических средств должны составлять
типовые и унифицированные узлы и стандартные устройства, датчики и преобразователи
информации должны обладать унифицированными выходными сигналами.
К характеристикам системы стоит отнести ее открытость и
допущение возможности расширять функции, учитывая перспективы развития и
адаптации к изменяющимся технологическим условиям.
2.
Проектирование
2.1
Разработка структурной схемы САР и выбор принципиальных схем элементов её
неизменяемой части
Модернизация САР раздувки шлака азотом позволит решить
следующие задачи:
- внедрение в систему регулирующего клапана
последовательно за отсечным позволит более экономично расходовать основной
энергоноситель для данной технологической операции;
- оптимизация работы программируемого
контроллера позволяет производить автоматическое регулирование параметров
технологического процесса более точно;
- оптимизация работы систем автоматики на
верхнем уровне (уровне систем SCADA) позволит оперативно вносить изменения в
технологический процесс и обеспечит возможность выбора ведения технологического
процесса в полностью автоматическом режиме;
- модернизация уровня исполнительных
механизмов и датчиков в разрабатываемой САР позволит снизить затраты на
обслуживание системы, повысит надёжность и ремонтопригодность системы.
Основой разрабатываемой САР является действующий вариант
системы. Основное отличие данного варианта состоит в том, что имеется
регулирующий клапан, установленный последовательно за отсечным клапаном. Для
более детального рассмотрения данной системы обратимся к функциональной схеме
САР. При составлении нового варианта САР в первую очередь обращаются к
следующим основным вопросам:
- получению первичной информации о состоянии
технологического процесса и оборудования;
- возможности обладать непосредственным
воздействием на процесс раздувки шлака азотом и управлять им;
- возможность контроля основных
технологических параметров процесса и регистрация текущего состояния
технологического оборудования;
- возможность стабилизации технологических
параметров процесса.
Для того чтобы перейти к проектированию системы
автоматического регулирования раздувки шлака азотом рассмотрим структуру
модернизируемой системы (рисунок 2.1).
Рисунок 2.1 - Структура модернизируемой системы
Как видно на рисунке система состоит из трех уровней:
- на первом уровне - уровне исполнительных
механизмов и датчиков необходимо добавить к действующему отсечному клапану,
клапан регулирующий. Так же необходимо произвести установку контрольно
измерительных преобразователей для отслеживания данных о технологическом
процессе (датчики избыточного давления и перепада давления, датчики
температуры, позиционер);
- на втором уровне - уровне программируемых
логических контроллеров, необходимо оптимизировать действующее программное
обеспечение ПЛК, для оптимального автоматического регулирования параметров технологического
процесса;
- на третьем уровне - уровне систем
визуализации следует оптимизировать работу действующей системы SCADA "АСУ
ТП Плавка", что в свою очередь обеспечит возможность выбора ведения
технологического процесса в полностью автоматическом режиме.
Для более детального рассмотрения проектируемой системы
обратимся к функциональной схеме. Функциональная схема разрабатываемой САР
изображена на рисунке 2.2.
Принципом действия САР является следующее:
сигналы с датчиков поступают в контроллер (UYAIRС). В ПЛК вырабатываются
сигналы о параметрах технологического процесса (далее ТП), которые поступают в
систему визуализации и отображаются в виде числовых значений на
автоматизированных рабочих местах (АРМ) оператора. Оператору достаточно задать
время необходимое для выполнения операции раздувки шлака азотом и необходимое
давление на выходе азотной фурмы система автоматики определит необходимый
расход азота, подаст сигналы на ИМ (позиционер), который в свою очередь
выставит в необходимое положение РО (регулирующий клапан).
В соответствии с проведенным анализом и
поставленной задачей в пункте 1.3 для выполнения технологического процесса нам
необходимо рассмотреть три уровня автоматизации разрабатываемой системы.
Нижний уровень (полевой уровень) системы
составляют датчики и исполнительные механизмы. Датчик - средство измерений,
предназначенное для выработки сигнала измерительной информации в форме, удобной
для передачи, дальнейшего преобразования, обработки и (или) хранения, но не
поддающейся непосредственному восприятию наблюдателем Датчики, выполненные на
основе электронной техники, называются электронными датчиками. Отдельно
взятый датчик может быть предназначен для измерения (контроля) и преобразования
одной физической величины или одновременно нескольких физических величин.
Рисунок 2.2 - Функциональная схема разработанной САР
Второй уровень автоматизации для нашей
системы - это уровень управляющих устройств. Программируемые логические
контроллеры ПЛК (PLC), промышленные компьютеры ПК, связанные с датчиками и
исполнительными механизмами непосредственно линиями связи или через
промышленные шины, образуя распределенную систему управления (DCS). Они
используются для управления объектами технологического процесса.
Верхний уровень автоматизации (третий уровень) - это уровень
промышленного сервера, сетевого оборудования, уровень операторских и
диспетчерских станций. На этом уровне идет контроль хода производства:
обеспечивается связь с нижними уровнями, откуда осуществляется сбор данных,
визуализация и диспетчеризации хода технологического процесса. Это уровень HMI,
SCADA. На этом уровне задействован человек, т.е. оператор (диспетчер). Он
осуществляет локальный контроль технологического оборудования через так
называемый человеко-машинный интерфейс (HMI - Human Machine Interface). К нему
относятся: мониторы, графические панели, которые устанавливаются локально на
пультах управления и шкафах автоматики. Для осуществления контроля за распределенной
системой машин, механизмов и агрегатов применяется SCADA (Supervisory Control
And Data Acqusition - диспетчерское управление и сбор данных) система. Эта
система представляет собой программное обеспечение, которое настраивается и
устанавливается на диспетчерских компьютерах. Она обеспечивает сбор, архивацию,
визуализацию, важнейших данных от ПЛК. При получении данных система
самостоятельно сравнивает их с заданными значениями управляемых параметров
(уставками) и при отклонении от задания уведомляет оператора с помощью тревог
(Alarms), позволяя ему предпринять необходимые действия. При этом система
записывает все происходящее, включая действия оператора, обеспечивая контроль
действий оператора в случае аварии или другой нештатной ситуации. Таким образом,
обеспечивается персональная ответственность управляющего оператора [2].
Отдельно рассмотрим исполнительные
механизмы, задействованные в разрабатываемой системе. Исполнительный механизм -
это часть исполнительного устройства, которое осуществляет перемещение
регулирующего органа в соответствии с сигналами, поступающими от регулятора или
иного управляющего устройства
Обобщив приведенную информацию выше
необходимо разработать принципиальную схему неизменяемой части САР. С точки
зрения аппаратного обеспечения схема строится следующим образом: управляющий
сигнал с АРМ оператора поступает на ПЛК, который является устройством
сравнивающим текущее задание уставки с теми показателями, что приходят от
датчиков, расположенных на полевом уровне. В зависимости от полученного сигнала
рассогласования значений уставки с текущими показателями ПЛК вырабатывает
управляющий сигнал на исполнительный механизм, который в свою очередь
воздействует на объект управления. В результате чего изменяются значения
показателей технологического процесса, что в свою очередь позволяет датчикам по
месту сообщать новые данные на ПЛК. Таким образом, реализуется контур обратной
связи в данной АСУ. Структурная схема автоматизированной системы показана на
рисунке 2.3.
Рисунок 2.3 - Структурная схема системы
Отдельно стоит рассмотреть программное
обеспечение необходимое для реализации управляющих воздействий в данной САР. На
верхнем уровне автоматизации необходим пакет программ способный реализовать
максимальные возможности визуализации для SCADA систем, оптимальным решением
для нашей АСУ пакет программ WinCC Flexible. Он предназначен для решения
обширного комплекса задач человеко-машинного интерфейса: от разработки проекта
отдельно взятой панели оператора до разработки мощных систем человеко-машинного
интерфейса с архитектурой клиент/сервер. Оно объединяет в себе простоту работы
с пакетом SIMATIC ProTool, широкие функциональные возможности SIMATIC WinCC, а
также новые инновационные технологии. Более подробно данное ПО будет
рассмотрено ниже. Для управления ПЛК Siemens-400 серии используется стандартное
программное обеспечение Simatic Step 7.
Данное программное обеспечение фирмы
Siemens предназначено для разработки систем автоматизации на основе
программируемых логических контроллеров Simatic S7-300/S7-400.
2.2 Алгоритм
работы системы
Алгоритм работы системы можно разделить на
две составляющие: алгоритм программы измерения расхода газа и алгоритм
изменения положения регулирующего клапана. Рассмотрим их более подробно.
Алгоритма измерения расхода газа. Сигнал с
датчика поступает на программируемый логический контроллер, далее идет
сравнение показателей расхода основного энергоносителя с заданным значением на
АРМ оператора. В случае если отклонения от задания нет, то система продолжает
работать в текущем режиме, иначе при наличии рассогласование с контроллера
поступает сигнал на исполнительный механизм, который корректирует расход
основного энергоносителя. Алгоритм работы системы представлен на рисунке 2.3.
Рисунок 2.3 - Алгоритм программы измерения
температуры
Алгоритм программы изменения положения
регулирующего клапана.
Исполнительный механизм регистрирует
начальное положение заслонки регулирующего клапана и передает данное значение в
ПЛК, контроллер в свою очередь в зависимости от сигналов, полученных от
датчиков, расположенных по месту сравнивает текущие значения технологического
процесса с заданием и вырабатывает управляющий сигнал в соответствии с
условиями программы. Данный сигнал приходит на исполнительный механизм, который
в свою очередь выдает управляющее воздействие на положение заслонки
регулирующего клапана.
Рисунок 2.4 - Алгоритм программы изменения
положения регулирующего клапана
2.3 Требования
к программному обеспечению
Базой для программного обеспечения (далее ПО) должны являться
международные стандарты и оно должно соответствовать следующим принципам:
- модульности построения всех составляющих;
- иерархичности собственно ПО и данных;
- эффективности (минимальным затратам
ресурсов на создание и обслуживание ПО);
- простоте интеграции (возможности
расширения и модификации);
- гибкости (возможности вносить изменения и
перенастройки);
- надежности (соответствовать заданному
алгоритму, отсутствие ложных действий), защите от несанкционированного доступа
и разрушения как программ, так и данных;
- живучести (выполнения возложенных функций
в полном или частичном объемах при сбоях и отказах, восстановлении после
сбоев);
- унификации решений;
- простоте и наглядности состава, структуры
и исходных текстов программ.
Необходимым является предусмотрение разделения ПО на базовое
(фирменное), которое поставляет разработчик ПТК (программно-технического
комплекса, далее ПТК), и прикладное (пользовательское), разработку которого
может вести как поставщик ПТК, так и разработчик АСУ ТП (автоматизированной
системы управления технологическим процессом, далее АСУ ТП) [1].
Следует обратить внимание на предусмотрение мер, направленных
на защиту информации и недопущение внесения изменений в базовое ПО без
привлечения разработчика ПТК. Необходимо наличие возможности задавать пароли и
устанавливать границы санкционированного доступа, путем внесения изменений в
прикладное ПО АСУ ТП. Фирменное ПО должна сопровождать эксплуатационная
документация.
Программно-технические комплексы АСУ ТП наряду с другими
техническими средствами, состав которых может быть представлен и другими
программными средствами, должны влиять на то чтобы:
- обеспечивалось эффективное управление процессами
работы САР (системы автоматического регулирования, далее САР);
- повышалась безопасность работы
автоматизируемого оборудования (систем автоматики, или отдельных
технологических систем);
- осуществлялось эффективное управление
параметрами автоматизируемого оборудования;
- осуществлялось эффективное управление
экономичностью автоматизируемого оборудования;
- повышалась надежность работы
автоматизируемого оборудования;
- обеспечивалось эффективное участие
автоматизируемого оборудования в управлении параметрами режима САР;
- повышалась комфортность работы
оперативного и обслуживающего персонала;
- осуществлялось информационное обеспечение
производственно-технической деятельности эксплуатационного персонала.
В данной АСУ в качестве АРМ оператора используется
персональный компьютер с установленной на нем системой визуализации WinCC
flexible, которая позволяет, как следить за технологическим процессом, так и
вносить необходимые коррективы в работу САУ. На рабочей станции оператора
должна быть установлена операционная система Windows ХР, данная система имеет
максимальную совместимость со всеми специализированными программными
компонентами АСУ. Для взаимодействия оператора с ПЛК Siemens-400 серии
необходим пакет специализированных Simatic STEP 7, данное ПО поставляется в
комплекте с самим устройством. Для реализации взаимодействия оператора с
датчиками и исполнительными механизмами, находящимися на полевом уровне,
необходимо предусмотреть возможность коммуникации по протоколу TCP/IP и
Ethernet 802.3 База данных для разрабатываемой системы построена на технологии
MSSQLServer 2000, который интегрирован с MSWindows 2000, что упрощает
развертывание системы. В базе данных данного проекта содержится информация о
расходе основного энергоносителя, температурные характеристики, интервал
времени продувки и другие показатели технологического процесса.
Таким образом, для проектирования системы автоматической
раздувки шлака азотом необходимо выбрать измеритильно-преобразовательное
оборудование, а так же комплекс программного обеспечения способный реализовать
все заданные требования.
3. Реализация
проектируемой системы
3.1 Выбор
измерительно-преобразовательных элементов
Если рассмотреть технологический процесс с точки зрения
уровней автоматизации, то для реализации САР на полевом уровне (уровне
измерительно-преобразовательное механизмов) необходимо выбрать ряд датчиков и
исполнительных механизмов. Для этого нам понадобятся измерительные
преобразователя давления: датчики избыточного давления и интегрированный
расходомера перепада давления, так же нам необходимо устройство для измерения
температуры проходящего потока: термометр сопротивления.
Рассмотрим выбор измерительных преобразователей давления
более подробно. При раздувке шлака азотом в конвертере поток основного
энергоносителя подается под давлением от 20 до 80 бар, что в свою очередь
позволяет нам выбрать датчики давления с весьма широким диапазоном измерения. В
нашем случае идеальным решением проблемы будет использование датчика расхода
давления Sitrans P500 серии DS III (рисунок 3.1), совместно с расходомером
Annubar 3095МFA Mass ProBar (рисунок 3.2). Выбор данных датчиков был основан на
принципе преемственности оборудования в цехе. На данный момент датчиками от
этих производителей оборудовано большинство технологических агрегатов в
конвертерном производстве.
Для того чтобы измерить избыточное давление азота прибегают к
использованию измерительного преобразователя избыточного давления SITRANS P,
серии DS III. Измеряемая величина состоит в избыточном давлении агрессивных и
не агрессивных газов, пара и жидкостей. Интервалами измерения являются:
0,01.400 бар. Имеется возможность параметрирования при помощи клавиш управления
или посредством интерфейса PROFIBUS. Функциональность является обширной, что
ведет к обеспечению точного согласования измерительного преобразователя
давления с потребностями установки. [8]
В паре с датчиком избыточного давления должен работать
интегрированный расходомера перепада давления. В наше случае, стоит обратить
внимание на расходомеры переменного перепада давления Аннубар, которые
позволяет максимально точно производить измерение
Рассмотрим технические характеристики Annubar 3051SFA ProBar.
Варьирование опорной погрешности системы в диапазоне ±1.4%,
при измерении объемного расхода газов и паров воспроизводимость составляет
погрешность ±0.1%. Расходомер имеет удобный сенсор размера 8 дюймов для снятия
показаний датчика по месту. Данное устройство имеет возможность
параметрирования при помощи клавиш управления или посредством интерфейса
PROFIBUS. На передней поверхности сенсора Annubar расположена специальная
текстурировка для задач с высокими числами Рейнольдса. Текстура обеспечивает
наличие турбулентности на передней поверхности сенсора. Увеличение
турбулентности приводит к более предсказуемому и воспроизводимому разделению
потока на краю сенсора.
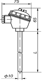
Для измерения температуры основного энергоносителя необходимо
выбрать датчик измерения температуры работающий в диапазоне от - 20 до 50°С.
Так как диапазон измеряемых температур стандартный и не имеет экстремальных
значений для наших целей оптимально подойдет термометр сопротивления медный
Метран-203 с длинной рабочей поверхности 200 мм (рисунок 3.3), подключенный в
систему по четырехпроводной схеме подключения.
Нагревательный компонент термометра создан в виде особого
резистора из чувствительной пленки или металлического стержня, реагирующих на
малейшее изменение температуры. Металлический элемент смонтирован на прочный
корпус, созданный из фарфора или кварца и помещенный в защитную колбу, которая
может быть из металла или стекла. Термометр сопротивления обладает
устойчивостью к вибрациям, что разрешает их установку в сейсмических зонах.
Несмотря на все положительные моменты применения устройства, его высокую
надежность и практичность, имеются и свои минусы. Надо учесть, приобретая
термометр сопротивления - подключение и установка должны производиться в 3-х
или 4-проводной электрической системе. Если использовать меньше проводов, то
показания температуры будут иметь погрешность. Еще одним недостатком прибора
считается трудоемкий процесс подбора особенного типа глазури для герметической
защиты датчика. При неправильном выборе смазки, когда произойдет резкий скачок
температуры, корпус термометра может лопнуть. [9]
Рисунок 3.1 - ТСМ Метран-203
Основными техническими характеристиками ТСМ Метран-203
являются:
- Температуры измеряются в диапазоне:
50.180°С.
- Степенью защиты от воздействия пыли и воды
является IP65
- Поверка осуществляется не реже чем один
раз в 2 года.
- Средний срок службы составляет не менее 5
лет. [9]
Помимо датчиков для реализации технологического процесса на
полевом уровне необходимо выбрать исполнительный механизм и регулирующий орган.
В нашем случае исполнительным механизмом будет являться пневмоэлектрический позиционер
(рисунок 3.4), который является специальным устройством, предназначенным для
уменьшения или полного снятия рассогласования хода, а также повышения
быстродействия и отклика пневматических мембранных и поршневых исполнительных
механизмов путем включения обратной связи по положению выходного штока
исполнительных механизмов.
В качестве исполнительного механизма выбираем
пневмоэлектрический позиционер SRI986, так как в действующей системе необходимо
подавать воздействие на исполнительный механизм в диапазоне от 1.4-6 бар, что
полностью соответствует рабочему диапазону данного устройства.
Позиционер SRI986 разработан для функционирования
пневматических приводов клапанов совместно с системой управления и электронных
регуляторов. Он используется для уменьшения влияния сил трения в клапане,
повышения усилия и снижения времени установки. Позиционер может подсоединяться
как к линейным, так и к вращательным исполнительным механизмам. Исполнительные
механизмы с пружинным усилием контролируются позиционером одностороннего
действия. Исполнительные механизмы без пружинного усилия контролируются
позиционером двойного действия. В нашем случае была выбрана модель именно
такого позиционера. Версия 986 подразумевает наличие системы PROFIBUS-PA или
FOUNDATION Fieldbus. Позиционер может работать локально с помощью локальных
клавиш, удаленно через соответствующую систему управления или может действовать
через конфигурацию на базе ПК и рабочего инструментария, такого как PC20/IFDC.
Принцип действия устройства. В интеллектуальном позиционере с
входным сигналом 4-20 мА через преобразователь напряжения отводится питание для
электроники. Величина электропитания измеряется, преобразуется в
аналого-цифровом преобразователе и через выключатель подается на цифровой
контроллер. Позиционер работает от системы управления, которая посылает уставки
(значения уставок) в позиционер. Цифровой сигнал направляется через
интерфейсный компонент в цифровой контроллер. Посредством преобразователя
напряжения устанавливается внутреннее питание электроники с подводом через
магистральную шину. При цифровой работе FoxCom на вход подается напряжение
постоянного тока. На это напряжение модулируется FSK-сигнал. Модуляция содержит
информацию, (например, значения уставок), которая посылается в цифровом виде в блок
управления через FSK-блок. Выход контроллера управляет электро-пневматическим
преобразователем (IP-модулем), регулирующим предусилителем, пневматическим
усилителем мощности двойного действия. Выходом усилителя является выходное
давление на исполнительный механизм. Пневматические усилители поставляются с
подачей воздуха 1.4-6 бар (20-90 фунт/кв. дюйм маном.). Положение
исполнительного механизма посылается в блок управления от датчика положения.
[8]
Вместе с исполнительным механизмом необходимо произвести
выбор регулирующего органа для того чтобы совершить технологический процесс. В
нашем случае осуществляется использование регулирующего клапана. Работа данного
клапана будет осуществляться вместе с электропневматическим позиционером. Для
металлургической промышленности, существует готовое решение, которое предлагает
производитель регулирующих клапанов Vanessa. Учитывая то, что диаметр
трубопровода основного энергоносителя 3000мм, идеальное решение для нас будет
составлять регулирующий клапан Vanessa серии 30,000, имеющий металлическое
седло и тройное смещение.
Применение клапана Vanessa является успешным в следующих
промышленностях: нефтегазовой, платформах на морском шельфе,
нефтеперерабатывающих заводах, нефтяных базах и транспорте нефтепродуктов,
хранилищах и перевозках сжиженного природного газа, химических и
нефтехимических заводах, электростанциях, районных котельных,
целлюлозно-бумажной промышленности, металлургических заводах, сахарных заводах.
Кроме того, Vanessa очень давно занимается установкой клапанов для того чтобы
применять их в следующих средах: пара (насыщенного и сухого), геотермального
пара, углеводородов, водорода, кислорода, криогенных жидкостей, горячего газа,
серы (отходящих газов), химических растворителей, хлорированных растворителей,
факельного газа.
Отдельно стоит рассмотреть схему совместной работы
регулирующего клапана и электропневматического позиционера (рисунок 3.2). [10]
Интеллектуальный позиционер SRI986 и
пневматический исполнительный механизм образуют контур управления со значением
уставки (с ведущего контроллера или системы управления), выходным давлением и
положением исполнительного механизма на клапане.
Рисунок 3.2 - Схема совместной работы регулирующего клапана и
электропневматического позиционера
Выбор данного регулирующего клапана и позиционера обусловлен
наличием на производстве оборудования от данного производителя, что облегчает
процесс установки и обслуживания закупаемых механизмов
Для реализации технологического процесса необходимо выбрать
автоматического управляющее устройства на основе ПЛК. Так как сейчас в цехе
всеми технологическими процессами управляют ПЛК фирмы Siemens, то для наших
целей оптимально подойдет ПЛК Siemens-416. Выбирается контроллер именно данной
фирмы в связи с тем, что он полностью совместим с остальным оборудованием в
системе. В качестве основного устройства любой системы автоматического
управления выступает управляющее устройство. Разработанная система содержит в
качестве управляющего устройства программируемый логический контроллер (ПЛК).
Контроллер выбирается исходя из задач, решение которых будет осуществляться при
помощи разработанной системы.
Контроллеры серии S7-400 - достаточно мощные и их
использование направлено на системы, которые занимаются выполнением задач
высокой сложности, обладающих несколькими контурами управления и которым
требуется очень высокая производительность.
Данным ПЛК характерны некоторые особенности:
- наличие модульного программируемого
контроллера, необходимо для того чтобы решать сложные задачи автоматического
управления;
- наличие широкого спектра модулей для того
чтобы максимально адаптироваться к требованиям решаемой задачи;
- используются распределенные структуры
ввода-вывода и простое включение в сетевые конфигурации;
- производится "горячая" замена
модулей;
- производится быстрая отладка всех блоков
управления ПЛК;
- конструкция является удобной, и работа
осуществляется при естественном охлаждении;
- свободно наращиваются функциональные
возможности при модернизации системы управления;
- наличие высокой мощности, потому как
имеется большое количество встроенных функций. [2]
Подводя итог выбора измерительно-преобразовательных элементов
необходимо составить спецификацию оборудования для модернизируемой системы
представленной в таблице 3.1.
Таблица 3.1 - Спецификация оборудования для модернизируемой
системы
|
Поз.
|
Наименование
|
Количество
|
|
1
|
Расходомер
переменного перепада давления Annubar 3051SFA ProBar
|
1шт
|
|
2
|
Датчик расхода
давления Sitrans P500 серии DS III
|
1шт
|
|
3
|
ТСМ Метран-203
|
1шт
|
|
4
|
Пневмоэлектрический
позиционер SRI986
|
1шт
|
|
5
|
Регулирующий
клапан Vanessa Серии 30,000
|
1шт
|
|
6
|
ПЛК Siemens
416-2
|
1шт
|
3.2
Построение функциональной схемы
Для того чтобы перейти к математической модели нашей САР
обратимся к функциональной схеме, представленной на рисунке 3.7 Как видно из
схемы, пультом управления (ПУ) в рассматриваемой АСУ является персональный
компьютер, на котором установлена система визуализации WinCC, позволяющая вести
отслеживание технологического процесса, и осуществлять внесение необходимых
коррективов в работу АСУ. В качестве исполнительного механизмома (ИМ) в системе
выступает электропневматический позиционер SRI986, благодаря чему с достаточной
точностью отрабатывается сигнал, который поступает с контроллера. В качестве
регулирующего органа (РО) осуществляют использование регулирующего клапана
Vanessa 30000.
Объектом регулирования (ОР) является азотная фурма. В
качестве измерительных устройств (ИУ) в системе используется датчик расхода
азота Sitrans P500 DS III, который работает вместе с расходомером Annubar
3051SFA ProBar.
Рисунок 3.3 - Упрощенная функциональная схема
Схема функционирует следующим образом: осуществляется
поступление сигнала с датчиков температуры и давления на контроллер. В ПЛК
сравниваются полученные значения с заданными, и осуществляется вычисление
расхода азота, при помощи системы автоматики. При появлении сигнала о
рассогласовании контроллером вырабатывается управляющее воздействие на
исполнительный механизм, воздействие которого распространяется на регулирующий
орган, что приводит к изменению положения регулирующего клапана. Таким образом,
система добивается требуемого состояния.
3.3
Визуализация процесса
Визуализация процесса осуществляется на основе программы
WinCC Flexible. Благодаря мощным функциям конфигурирования WinCC,
обеспечивается большая гибкость и надежность функционирования, а также
снижаются затраты на инжиниринг и обучение. Система снабжена поддержкой
дополнительных функций по обслуживанию и диагностике для связи с другими
компонентами SIMATIC. Во время разработки осуществляется взаимодействие всех
средств разработки SIMATIC друг с другом. WinCC обладает полным набором базовых
функций для того чтобы осуществлять визуализацию и управление процессом. Для
чего она снабжена набором редакторов и интерфейсов, которые позволяют
осуществить настройку необходимой функциональности.последовательно придерживает
технология Microsoft, что дает гарантию максимально возможной открытости и
возможности интеграции. Элементы ActiveX позволяют создать специализированные
расширения по отношению к конкретным технологическим или отраслевым областям.
Данная программа свободно взаимодействует с оборудованием и ПО разных
производителей. Основная причина этого, состоит в том, что WinCC поддерживает
OPC, вследствие чего может играть роль клиента или сервера OPC, и наряду с
доступом к текущим значениям параметров техпроцесса осуществляет поддержку
таких стандартов, как OPC HDA (Historical Data Access - доступ к историческим
данным) и OPC Alarm & Events (сообщения и события). Также немаловажно
использование Visual Basic for Applications (VBA) для настраиваемых расширений
в графическом дизайнере WinCC и Visual Basic Scripting (VBS) в качестве легкого
для изучения языка с открытой платформой исполнения. При желании
профессиональные разработчики приложений также могут воспользоваться ANSI-C.
Помимо этого с помощью открытого пакета разработки Open Development Kit (ODK)
обеспечивается легкий доступ к API-интерфейсам.
В комплект поставки WinCC Flexible встроена эффективная,
масштабируемая система Historian, основанная на Microsoft SQL Server 2005.
Поэтому для пользователя доступны все возможности: высокопроизводительное
архивирование текущих данных процесса, долговременное архивирование со сжатием
данных, а также централизованное архивирование с целью формирования единой
информационной платформы в масштабах компании, реализуемое с помощью опции
"Центральный архивный сервер". Разнообразные клиенты и инструменты
для обработки данных, открытые интерфейсы, специальные опции (Connectivity
Pack, IndustrialDataBridge, Client Access Licenses) создают основу для
эффективной интеграции ИТ и бизнеса. На рисунке 3.4 показана визуализация
процессов АСУ "Плавка" конверторного производства, общий вид маски
"Раздувка шлака".
Рисунок 3.4 - Общий вид маски "Раздувка шлака", в
системе визуализации WinCC Flexible
Отдельно стоит рассмотреть функционал системы визуализации
технологического процесса:
- возможность выбора режима управления
технологическим процессом: ручной или автоматический;
- возможность задавать значение глубины
опускания азотной фурмы в конвертер;
- возможность установки длительности
технологического процесса раздувки шлака азотом;
- возможность задавать изменения угла
наклона конвертера;
- возможность управления параметрами
основного энергоносителя: давление, расход, время продувки;
- возможность регулировать расход азота
путем изменения положения заслонки на регулирующем клапане;
- возможность экстренного прекращения
технологического процесса при срабатывании любой из блокировок: электрика,
КИПиА, СТА.
4.
Моделирование САУ
4.1
Определение математической модели объекта, статические характеристики, кривая
разгона, частотные характеристики
Для того чтобы смоделировать САУ необходимо определение
математической модели объекта управления. Объект управления, который содержит
структурная схема системы автоматического управления имеет два звена:
апериодический и звено чистого запаздывания (рисунок 4.1).
Рисунок 4.1 - Структурная схема объекта управления
Кривая разгона объекта регулирования представляется кривой
изменения во времени выходной величины в переходном процессе, который вызван
однократным изменением входной величины. Кривая разгона объекта управления,
представленная на рисунке 4.2 и 4.3 взята из технической литературы. [14]
Рисунок 4.2 - Кривая разгона ОР
Рисунок 4.3 - Кривая разгона объекта регулирования
Кo =0,31
τз = 11,6 с
Далее подставляем необходимые параметры в структурную схему
объекта управления. Таким образом мы переходим от структурной схемы к
математической модели объекта управления (рисунок 4.4).
Рисунок 4.4 - Математическая модель объекта управления
Следующий шаг - определение передаточных функций измерительно-преобразовательных
и исполнительных устройств. Автоматический регулятор на структурной схеме САУ
представлен соединением трех типовых звеньев (рисунок 4.5).
Рисунок 4.5 - Структурная схема автоматического регулятора
Усилительное звено показывает коэффициент усиления Кр,
который для разрабатываемой системы имеет следующее значение:
Исполнительным механизмом в автоматизированной системе управления
является регулирующий клапан Vanessa 30000, передаточная функция которого имеет
следующий вид:
(1)
Закон регулирования для ПИ регулятора в общем виде будет
описываться следующим способом:
(2)
В нашем случае Ти = 0,7*Т0; и следовательно
Ти = 177,6 с. Коэффициент передачи объекта будет рассчитываться
следующим способом:
(3)
Подставив значения закон регулирования примет следующий вид:
.
Далее необходимо произвести выбор закона автоматического
управления в общем виде.
Максимальным в условиях эксплуатаций коэффициентом передачи
объекта управления является Кo=0,31
. Постоянная времени объекта управления Т0=132,8 с.
Запаздывание составляет τз=11,6с. Величина максимально возможного
возмущения по нагрузке в процессе эксплуатаций объекта управления равна ув=20%.
Основные показатели качества переходного процесса в нашем случае
будут представлены:
- максимально допустимым динамическим
отклонением регулируемой величины ХД < 5 м3/ч;
- максимально допустимым статическим
отклонением регулируемой величины Хст < 0,3 м3/ч;
- допустимым временем регулирования tрег
< 500 c.
Данные величины позволяют произвести расчет ряда параметров.
Величина, обратная относительному времени запаздывания находится по формуле:
(4)
подставив значения, получим
. Нахождение допустимого относительного времени регулирования
осуществляется по формуле:
(5)
Определение допустимого динамического коэффициента регулирования
производим по формуле:
(6)
В нашем случае:
;
.
Нахождение допустимого остаточного отклонения регулируемой
величины осуществляется по формуле:
(7)
При подстановке в данной формулу значения, получим
; следует произвести выражение этой
величины в процентах:
.
Автоматизированные металлургические процессы в САУ с регулятором
непрерывного действия в большинстве своем протекают успешно, при наличии в
системе одного из трех типовых процессов регулирования:
- апериодического;
- с 20% перерегулированием;
- с минимальной интегральной квадратичной
ошибкой.
В соответствии со значением tз/T0 производим выбор типа
регулятора. Значению 
=0,048 соответствует релейный тип регулятора.
Рисунок 4.6 - Динамические коэффициенты регулирования на
статических объектах при 20% перерегулировании.
Поскольку показатель колебательности М входит в промежуток
1.3<М<1.8, то осуществляем выбор процесса с 20% перерегулированием.
- И-регулятор; 2 - П-регулятор; 3 - ПИ-регулятор; 4 -
ПИД-регулятор.
Используя график зависимости 
от τз/Т0 (рисунок 4.5) при выбранном
нами оптимальном процессе, определяем, что 0,806 при 1/Z0=0,048
может быть обеспечено И, П, ПИ, ПИД - регуляторами.
Рисунок 4.7 - Остаточное отклонение на статических объектах:
1 - апериодический процесс; 2 - процесс с 20% -ным
перерегулированием; 3 - процесс с min
В нашем случае Δxст=0,15 oC. По значению 
определяю величину фактического остаточного отклонения:

(8)
Подставив значения, получим: xст=0,15*0,31*20=0,93oC.
Так как допустимое значение
, следовательно П-регулятор не подходит.
Рисунок 4.8 - Проверка регуляторов по времени регулирования
- И-регулятор; 2 - П-регулятор; 3 - ПИ-регулятор; 4 -
ПИД-регулятор
Определим, каким будет время регулирования для ПИ-регулятора.
Оно должно быть меньше (tрег) доп. (tрег) доп=500 с. Для определения tр
воспользуемся графиком зависимости tрег/τ=f (τ/t) (рисунок 4.6) для процесса с 20% перерегулированием
(9)
Исходя из полученных данных: tрег = 12*10,4=101,25 с. Выбранный
показатель tрег < (tрег) доп следовательно, процесс с 20% перерегулированием
может быть реализован в САУ ПИ-регулятором. Приближенное определение настроек
регулятора произведем по следующим формулам: коэффициент усиления регулятора
найдем по формуле:
(10)
В нашем случае:
.
Время удвоения (изодрома) найдем по формуле
Ти = 0,7*Т0 (11)
Время изодрома равно: Ти =177,6 с.
Самым важным свойством для математической модели САУ является
возможность ее исследования на устойчивость. Система автоматического управления
представлена совокупностью объекта управления и автоматического регулятора,
которые определенным образом взаимодействуют друг с другом. Структурная схема
САУ представлена на рисунке 4.9.
Рисунок 4.9 - Структурная схема САУ
Передаточная функция разомкнутой системы имеет вид:
(12)
Преобразовав формулу получим:
(13)
Для расчета необходимо подставить следующие значения:
(14)
Характеристическое уравнение замкнутой системы будет примет
следующий вид:
(15)
Подставив значения получим:
(16)
Далее необходимо произвести расчет передаточной функции замкнутой
системы, которая представлена на рисунке 4.10.
Рисунок 4.10 - Математическая модель САР
Подставив необходимые значения в передаточную функцию получим:
(17)
Характеристическое уравнение замкнутой системы будет иметь вид:
(18)
Подставим значения получим:
(19)
4.2
Определение математической модели САУ, исследования на устойчивость
Устойчивость САУ представляет собой свойство системы
осуществлять возвращение в прежнее состояние равновесия после того, как она
будет выведена ее из этого состояния и окончены действия возмущающего или
задающего деяния.
Замкнутым САУ с принципом управления по отклонению
характеризуются неустойчивостью работы. Это связано с тем, что в них подача
сигнала с выхода объекта управления осуществляется на его вход, при прохождении
через множество звеньев, среди которых могут быть и колебательные. Тогда
большие коэффициенты усиления системы и частота, близкая к резонансной, могут
сделать систему неустойчивой (происходит рост амплитуды колебаний).
Для того чтобы определить устойчивость САУ воспользуемся
следующими критериями:
- критерием Михайлова;
- критерием Рауса-Гурвица [10].
Исходя из полученных данных, для построения годографа
Михайлова результаты рассчета сведены в таблицу 4.1.
Таблица 4.1 - Результаты вычислений
|
ω
|
Re (ω)
|
Im (ω)
|
|
0,0001
|
6,52
|
0,002
|
|
0,006
|
5,46
|
4,059
|
|
0,008
|
4,78
|
5,246
|
|
0,01
|
3,82
|
6,532
|
|
0,012
|
3,13
|
7,235
|
|
0,013
|
2,45
|
7,925
|
|
0,017
|
1,56
|
8,089
|
|
0,02
|
0,22
|
8,112
|
|
0,025
|
0
|
8,302
|
|
0,03
|
-0,76
|
8,166
|
|
0,035
|
-1,55
|
7,625
|
|
0,04
|
-2,98
|
7,102
|
|
0,045
|
-3,75
|
6,112
|
|
0,05
|
-4,22
|
5,147
|
|
0,055
|
-4,91
|
4,213
|
Графическим отображением результатов расчета является
годограф Михайлова представленный на рисунке 4.11.
Рисунок 4.11 - Годограф Михайлова
Данная система автоматического регулирования будет являться
устойчивой, поскольку годограф Михайлова, беря свое начало в точке на
положительной части вещественной оси при изменении частоты ω от 0 до +∞, обходит против часовой стрелки 3 квадранта,
осуществляя поворот на угол 3π/2, при этом не обращается в
нуль.
Обратимся к критерию Найквиста. Этот критерий позволяет
судить об устойчивости замкнутой автоматической системы управления по
расположению АФК разомкнутой системы.
Данные полученные в результате рассчетов, для построения
годографа АФК разомкнутой системы сведены в таблицу 4.2.
Таблица 4.2 - Результаты вычислений
|
ω
|
Re (ω)
|
Im (ω)
|
|
ω
|
Re (ω)
|
Im (ω)
|
|
0,009
|
-2.486
|
-0.777
|
|
0,09
|
-0.551
|
0.109
|
|
0,01
|
-2.298
|
-0.621
|
|
0,1
|
-0.451
|
0.171
|
|
0,02
|
-1.564
|
-0.523
|
|
0,11
|
-0.362
|
0.209
|
|
0,03
|
-1.338
|
-0.374
|
|
0,12
|
-0.283
|
0.23
|
|
0,04
|
-1.184
|
-0.212
|
|
0,13
|
-0.215
|
0.139
|
|
0,05
|
-1.044
|
-0.196
|
|
0,14
|
-0.157
|
0.138
|
|
0,06
|
-0.91
|
-0.055
|
|
0,15
|
-0.107
|
0.131
|
|
0,07
|
-0.782
|
-0.12
|
|
0,16
|
-0.065
|
-0.119
|
|
0,08
|
-0.661
|
-0.016
|
|
0,17
|
-0.3
|
0.104
|
Графическое представление рассчитанных данных для АФК
разомкнутой системы представлено на рисунке 4.12.
Рисунок 4.12 - АФК разомкнутой системы
В соответствии с графиком АФК определим запас устойчивости по
модулю и по фазе. Запас устойчивости по фазе (γ) должен находиться в промежутке
. Запас устойчивости по модулю (∆Н)
должен составлять 0,4 - 0,6.
В соответствии с графиком получаем:
; ∆Н= 0,55
Полученные данные говорят о том, что система автоматического
управления с использованием ПИ регулятора будет устойчивой, поскольку АФК
разомкнутой системы не охватывается на комплексной плоскости точка с
координатами [-1; j0] и имеется запас устойчивости, как по модулю, так и по
фазе. Данные полученные в результате моделирования позволяют говорить о том,
что САР является устойчивой и полностью соответствует заданным в ТЗ
требованиям:
- максимальный, в условиях эксплуатаций коэффициент передачи
объектауправления: Кo =0,31
;
- время чистого запаздывания объекта управления: τз = 11,6 с;
- постоянную времени объекта управления:
;
- величину максимально возможного возмущения по нагрузке в процессе
эксплуатаций объекта управления: ув=20%;
- максимально допустимое динамическое отклонение регулируемой
величины ХД < 5 м3/ч;
- максимально допустимое статическое отклонение регулируемой
величины Хст < 0,3 м3/ч;
- допустимое время регулирования tрег < 500 c.
5.
Организация производства
5.1 Монтаж
оборудования
Датчики и измерительные приборы устанавливаются
непосредственно на трубопровод, где находится основной энергоноситель. Место,
куда будет установлен расходомер Annubar 3051SFA ProBar и термометр
сопротивления ТСМ Метран-203 показано на рисунке 5.1.
Определим порядок установки расходомера Annubar 3051SFA
ProBar:
- выбирается прямолинейный участок
трубопровода для того чтобы установить расходомер;
- наносится разметка для монтажа
расходомера;
- вырезается участок трубопровода для того
чтобы установить расходомер;
- устанавливаются фланцы при помощи
сварочного соединения;
- крепится расходомер между фланцами;
- осуществляется монтаж кабеля и его
маркировка;
- кабель выводится в шкаф контроллера.
Определим порядок установки термометра сопротивления ТСМ
Метран-203:
- наносится разметка для монтажа ТСМ;
- сверлятся отверстия для того чтобы
установить бобышки;
- привариваются бобышки для ТСМ;
- устанавливается через прокладку защитная
гильза;
- заливается трансформаторное масло в
гильзу;
- вворачивается ТСМ в гильзу;
- осуществляется монтаж кабеля и его
маркировка;
- кабель выводится от ТСМ в шкаф
контроллера.
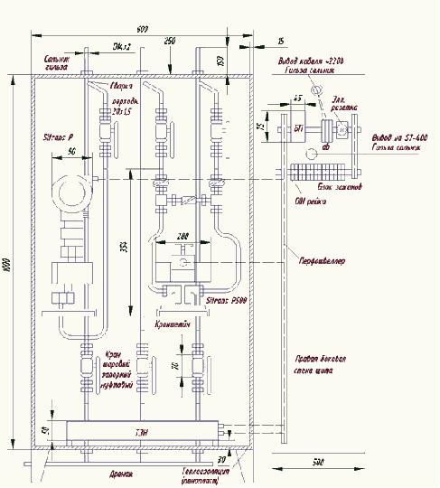
Рисунок 5.1 - Место установки датчика Annubar 3051SFA ProBar
В ходе установки на трубопроводе требуется соблюдение
следующих размеров:
- минимального свободного пространства во
всех направлениях = 100 мм;
- требуемой длины кабеля: L + 150 мм.
Установка прибора может быть осуществлена на трубопроводе в
любом положении, но в данной системе было выбрано применение горизонтальной
ориентации датчика с наличием небольшого уклона для того чтобы предотвратить
перегрев электроники датчика. Не зависимо от ориентации, стрелка на корпусе
прибора всегда должна находится в соответствии с направлением потока.
Установка датчиков давления должна быть произведена в
специальный защитный шкаф, что представлено на рисунке 5.2.
Определим порядок установки датчиков давления Sitrans P500
серии DS III.
- наносится разметка для того чтобы
осуществить монтаж датчика;
- сверлится отверстие для отбора;
- устанавливается фланец при помощи сварочного
соединения;
- устанавливается шаровой кран;
- устанавливается мембранный разделитель;
- устанавливается датчик;
- производится монтаж кабеля и его
маркировка;
- кабель выводится в шкаф контроллера.
Рисунок 5.2 - Монтажный чертеж измерительных преобразователя
давления Sitrans-PDSIII
После того как будет установлен датчик Sitrans P DSIII на
трубопровод осуществляется следующая проверка:
Состояния прибора:
- есть ли внешние повреждения (при
визуальном осмотре);
- находится ли прибор в соответствии со
спецификацией на измерительную точку, в том числе давление и температуру
процесса, окружающие температуры, диапазон измерения.
Монтажа прибора:
- находится ли стрелка на корпусе прибора в
соответствии с реальным направлением потока в трубопроводе;
- корректна ли маркировка измерительной
точки (при визуальном осмотре);
- корректно ли произведен выбор ориентации
сенсора, иначе говоря, находится ли она в соответствии с типом сенсора,
свойствами среды (содержанием газов или твердых примесей) и ее температурой.
Условий процесса / окружающих условий:
- является ли прибор защищенным от влаги и
прямого солнечного света.
Отдельно стоит рассмотреть монтаж регулирующего клапана
Vanessa 30000. Клапан должен быть установлен на прямолинейном участке
трубопровода не менее чес за 3 метра от его изгиба.
Порядок монтаж регулирующего клапана Vanessa 30000:
- выбор прямого участка трубопровода для
монтажа клапана;
- нанесение разметки для монтажа клапана;
- вырез участка трубопровода;
- установка фланцев сварочным соединением;
- крепление клапана между фланцами;
- монтаж кабеля и его маркировка;
- вывод кабеля в шкаф контроллера.
Рисунок 5.3 - Положение регулирующего клапана Vanessa 30000
5.2 Поверка
датчиков и вторичных приборов
Средства измерений подвергают следующим видам поверок:
- первичная поверка - поверка при выпуске
средств измерений (СИ) из производства;
- периодическая поверка - поверка при
эксплуатации и хранении через интервал по графику, согласованному с
государственной метрологической службой;
- внеочередная поверка - поверка,
производимая при повреждении поверительного клейма, пломбы, утери свидетельства
о поверки, после длительного хранения, ремонта и настройки прибора;
- инспекционная - поверка, проводимая
органами метрологического надзора;
Поверка средств измерения - совокупность операций,
выполняемых органами государственной метрологической службы с целью определения
и подтверждения соответствия СИ в соответствии с установленными техническими
требованиями. Вместе с поверкой приборов производится их калибровка. Калибровка
средств измерений - совокупность операций, выполняемых калибровщиком СИ, не
подлежащих государственному метрологическому контролю и надзору с целью
установления действительного значения измеряемого параметра. Обязательной
государственной поверке подлежат СИ, контролируемые государственным
метрологическим надзором и контроле. Поверка и калибровка СИ производится в
соответствии с требованиями нормативных документов: методы и средства поверки,
утвержденные поверочные схемы, инструкции и методики поверки. Поверочная
деятельность осуществляется метрологическими службами юридических лиц,
аккредитованных в органах государственной метрологической службы. Результатом
поверки является подтверждение пригодности СИ к применению или признание СИ
непригодным. Если СИ пригодно, то на него или техническую документацию
наносится поверительное клеймо или выдается свидетельство поверки. Если СИ
непригодно, то гасится поверительное клеймо, аннулируется свидетельство о
поверке, выписывается извещение о непригодности или делается запись в
технической документации. На каждое СИ д. б. составлена техническая
документация: паспорт, формуляр и протоколы поверки.
5.3 Наладка
ПО и ПЛК
Наладка контроллера при помощи программного обеспечения
осуществляется непосредственно с рабочего места оператора. Рабочая станция
должна быть оснащена операционной системой Window ХР. Для того чтобы работать с
программным обеспечением контроллера требуется установка на автоматизированном
рабочем месте программиста следующих программных продуктов:
- пакета программ STEP 7;
- SOFTNETS7;
- CFCv6.0;
- D7-SYSv6.0.
Поставка инструкций по установке данных приложений
осуществляется вместе с программным обеспечением.
Необходима установка на рабочих станциях следующих
программных продуктов:
- SIMATIC WinCC v6.2 SP2 с лицензией на 8192
переменных;
- SIMATIC WinCC/Server и WinCCAJserArchiv
(опциональных пакетов) с лицензиями на каждый опциональный пакет.
Поставка инструкций по установке данных приложений
осуществляется вместе с программным обеспечением.
При установке ПЛК в шкаф необходимо соблюдать размеры
зазоров. Для конструкций S7-400, которые размещены на нескольких стойках,
размеры зазоров между отдельными стойками, а также между соседними элементами
оборудования, кабельными каналами, по отношению к стенкам шкафов и т.д. Эти
минимальные промежутки необходимы как при монтаже, так и при работе:
- для того чтобы устанавливать и удалять
модули;
- для того чтобы устанавливать и отсоединять
фронтштекеры модулей;
- для того чтобы обеспечивать воздушный
поток, необходимый для охлаждения модулей во время работы.
5.4
Структура, функции и задачи служб эксплуатации
Участок службы технологической автоматики (СТА) для
обеспечения работы конвертерного производства и в частности реализации
технологического процесса раздувки шлака азотом имеет два уровня автоматизации.
Функциональные задачи уровня L1 состоят в: получении данных с
контрольно-измерительных приборов и их визуализации на уровне L1, их
преобразовании и передаче на уровень L2 (АСУ ТП "Плавка").
Посредством АСУ ТП "Плавка" осуществляется
визуализация и сбор информации по технологическому процессу на уровне L2,
подготавливается технологическая информация по собранным данным и производится
слежение за технологическим процессом через протоколирование и преобразование
данных, которые поступают с уровня L1.
Подготовленные данные с уровня L2 поступают на следующие
уровни автоматизации технологического процесса, которые находятся по всему
производству. Структуру управления сталеплавильного производства представим на
рисунке 5.4.
Рисунок 5.4 - Структура управления сталеплавильного
производства
Структура управления конверторного производства, участок
выплавки стали представлен на рисунке 5.5.
К основным службам цеха следует отнести:
- технологическую службу;
- механическое подразделение;
- энергетическое подразделение;
- гидравлическое подразделение;
- электриков;
- службу технологической автоматики.
Рисунок 5.5 - Структура управления конверторного
производства, участок выплавки стали
Заключение
По итогам проведенного исследования можно сделать следующие
выводы.
Благодаря технологическим возможностям рассмотренного
оборудования возможно проведение последующей модернизации АСР раздувки шлака
азотом. Осуществлено описание организационных и технических мероприятий,
обеспечивающих безопасность работ с АСР, а также правил обслуживания системы,
была разработана новая САР, основанная на реально действующей системе, с
современным оборудованием по контролю и управлению ТП, а так же учитывающая
тенденции развития промышленной автоматики. В ходе разработки было выполнено
следующее:
- заменены датчики;
- заменены исполнительные механизмы.
Был внедрен программно-технический комплекс, в который
входят:
- Управляющая станция 1-ого уровня (ПЛК);
- удаленные станции распределенной
периферии;
- управляющая станция 2-ого уровня (АРМ
оператора);
- серверы процесса и серверы баз данных;
- сетевые устройства;
- пакет программного обеспечения.
Внедрение новой системы автоматизированного регулирования
раздувки шлака азотом в кислородном конвертере должно приводить к экономии
ресурсов и уменьшать временные затраты, полученные при простое оборудования,
возникающие в связи с человеческим фактором, поскольку на данный момент работа
системы осуществляется в ручном режиме.
Список
использованных источников
1. Афонин,
А.М. Теоретические основы разработки и моделирования систем автоматизации:
учеб. пособие / А.М. Афонин, Ю.Н. Царегородцев, А.М. Петрова, Ю.Е. Ефремова. -
Москва: Форум, 2011. - 192 c.
2. Аристова,
Н.Н. Промышленные программно-аппаратные средства на отечественном рынке
SCADA-системы как инструмент проектирования АСУ ТП / Н.Н. Аристова, Н.А.
Корнеева, - Санкт-Петербург: ПГТУ им. Баумана, 2014. - 245 с.
. Алиев,
Н.И. Кабельные изделия / Н.И. Алиев, С.Б. Казинский, - Москва: Радио СОФТ,
2012. - 244 с.
. Глинков
Г.М. Проектирование систем контроля и автоматического регулирования
металлургических процессов. Пособие по курсовому и дипломному проектированию /
Г.М. Глинков, В.А. Маковский. - Москва: Металлургия 2010. - 412 с.
. Теория,
конструкции и расчёты металлургических печей. Том 1. / под ред.В.А. Кривандина.
- Москва: Металлургия, 2015. - 356 с.
. Кангин,
В.В. Промышленные контроллеры в системах автоматизации технологических
процессов: учеб. пособие / В.В. Кангин. - Старый Оскол: ТНТ, 2013. - 408 c.
. Котов,
К.И. Средства измерения, контроля и автоматизации технологических процессов.
Вычислительная и микропроцессорная техника / К.И. Котов, М.А. Шершевер, -
Москва: Металлургия, 2010. - 456 с.
. Компания
"Siemens" [Электронный ресурс]: офиц. сайт. - Режим доступа:
#"896722.files/image069.gif">
Рисунок 1.1 - функциональная схема действующей САР
Приложение 2
План прокладки трасс
Рисунок 2.1 - план прокладки трасс