Исследование пожароопасных свойств растворителей лакокрасочных материалов на основе алифатических и ароматических углеводородов и разработка предложений по совершенствованию мер пожарной безопасности при работе с ними

  • Вид работы:
    Дипломная (ВКР)
  • Предмет:
    Безопасность жизнедеятельности
  • Язык:
    Русский
    ,
    Формат файла:
    MS Word
    378,24 Кб
  • Опубликовано:
    2017-06-20
Вы можете узнать стоимость помощи в написании студенческой работы.
Помощь в написании работы, которую точно примут!

Исследование пожароопасных свойств растворителей лакокрасочных материалов на основе алифатических и ароматических углеводородов и разработка предложений по совершенствованию мер пожарной безопасности при работе с ними















Дипломная работа на тему: «Исследование пожароопасных свойств растворителей лакокрасочных материалов на основе алифатических и ароматических углеводородов и разработка предложений по совершенствованию мер пожарной безопасности при работе с ними»

Содержание

Введение

1. Изучение состава и свойств растворителей

1.1 Лаки, краски и растворители, их пожарная безопасность

.2 Вред для здоровья человека

1.3 Виды растворителей и их назначение

.4 Общая характеристика алифатических и ароматических углеводородов

.5 Растворители на основе алифатических и ароматических углеводородов, их характеристика

2. Определение основных характеристик пожароопасности растворителей

.1 Методика определения температуры вспышки

.2 Методика определения температуры воспламенения

.3 Методика определения температуры самовоспламенения

.4 Методика определения температуры нижнего или верхнего предела воспламенения

. Эмпирическое и неэмпирическое определение основных характеристик пожароопасности растворителей

.1 Пожарные характеристики исследуемых веществ

.2 Перспективы хранения и применения исследуемых веществ

.3 Новые методы тушения пожаров возникающих при воспламенении веществ

Заключение

Список использованной литературы

Введение

Растворители - жидкости, применяемые для растворения различных веществ, в основном твердых. Все растворители подразделяют на две группы: неорганические и органические. Среди неорганических растворителей наибольшее практическое значение имеет вода является универсальным растворителем. Органические растворители менее универсальными. Каждый из них растворяет лишь ограниченное количество твердых или жидких веществ. Известно большое количество органических соединений, которые применяются в качестве растворителей, из них наиболее распространенными являются: 1) углеводороды - петролейный эфир, бензин, керосин, бензол, толуол, ксилол, пропан и другие; 2) спирты - изопропиловый, амиловый, метиловый, этиловый и т.п.; 3) амины - диметиламин, этиламин, анилин; 4) кетоны - ацетон, метилэтилкетон и т.п.; 5) хлороорганические соединения - четыре хлорид углерода, дихлорэтан, хлороформ и другие; 6) соединения, содержащие азот, - нитрометан, нитробензол и т.п.

Органические растворители широко применяются в различных отраслях промышленности - лакокрасочной, текстильной, производстве пластмасс, взрывчатых веществ, медицине, в сельском хозяйстве и других.

В лакокрасочной промышленности применяются для доведения до рабочей вязкости различных отделочных материалов - грунтовок, шпатлевок и лаков. Кроме того, они используются для мытья аппаратуры, инструментов и рук работающего.

Уайт-спирит (лаковый керосин) образуется в процессе перегонки нефти, занимает промежуточное положение между бензиновой и керосиновой фракции.

Бензол обычно содержит примеси толуола и ксилола, в воде нерастворимый, огнеопасен, образует в воздухом взрывчатые смеси. Пары бензола ядовитые. Хорошо растворяет канифоль, каучук, камфору.

Бутиловый спирт является хорошим растворителем лаков, улучшает их разлив.

Растворители широко используются в химчистках для удаления с одежды пятен различного происхождения.

Часто применяют смеси различных растворителей. Подавляющее большинство органических растворителей являются горючими и летучими (tокип. 30-200оС), поэтому с воздухом они образуют взрывчатые смеси. Почти все они являются ядовитыми. Органические растворители широко применяются в различных отраслях промышленности - лакокрасочной, текстильной, пластических масс, взрывчатых веществ и других, а также в сельском хозяйстве, медицине и т.д.

Такое широкое применение растворителей указывает на актуальность исследования их пожарных свойств, так как они относятся к веществам с высокой пожарной опасностью. Необходимо так же применение новых методов тушения, исходя из исследования выпускаемой продукции растворителей, поскольку их качество может меняться.

Целью работы было исследование пожароопасных свойств растворителей лакокрасочных материалов на основе алифатических и ароматических углеводородов и разработка предложений по совершенствованию мер пожарной безопасности при работе с ними.

В связи с поставленной целью задачами работы было:

изучить состав и свойства растворителей алифатических и ароматических углеводородов;

изучить методики определения основных характеристик пожароопасности растворителей;

- провести эмпирические и неэмпирические определения основных характеристик пожароопасности растворителей;

- оценить пожарные характеристики выбранных растворителей;

предложить меры по совершенствованию пожарной безопасности при работе с выбранными растворителями.

1. Изучение состава и свойств растворителей

.1 Лаки, краски и растворители, их пожарная безопасность

Историки считают, что слово "лак" родилось на полуострове Индостан. Именно там был изобретен первый лак - шеллак, изготовленный на основе смолистых выделений насекомых, обитающих в огромных количествах на тропических деревьях. Буквально слово "лак" означало "сто тысяч".

Лаки - это почти идеальный материал, создающий надежное препятствие разрушению, проникновению воды и пыли и позволяющий сохранить внешний вид любого материала.

Краски - это более общее, неточное название цветных веществ (пигментов, красителей). В виде красок выступают суспензии из пигментов в плёнкообразующих веществах и применяются в качестве защитных и декоративных покрытий, а также изобразительном искусстве. Они содержат наполнители, растворители, пластификаторы, отвердители.

Краски - суспензии пигментов в пленкообразующих веществах, которые после высыхания образуют непрозрачное однородное покрытие.

Лакокрасочные материалы (ЛКМ) - многокомпонентная система, которая наносится в жидком или порошкообразном состоянии на предварительно подготовленную поверхность и после высыхания (затвердевания) образует прочную, хорошо сцепленную с основанием пленку. Получившуюся пленку называют лакокрасочным покрытием. ЛКМ применяются для защиты металлических, а также других видов изделий от влияния внешних вредных факторов (влага, газы, воздух и т.д.), придания поверхности декоративных свойств [1].

Свойства лакокрасочных материалов (ЛКМ) можно разделить на физико-химические, химические и малярно-технические.

Физико-химические свойства ЛКМ подразумевают вязкость, укрывистость, плотность, скорость отвердевания (высыхания) пленки.

К химическим свойствам ЛКМ относятся процентное соотношение составных веществ, количество наполнителей, пленкообразующих, водорастворимых солей, растворителей и т.д.

Малярно-технические свойства характеризуют удобство работы с ЛКМ, т.е. стекаемость, перелив, наносимость, степень перетира, плотность.

Лакокрасочное покрытие - покрытие, которое образуется в результате плёнкообразования (высыхания) лакокрасочных материалов, нанесённых на поверхность изделий. Основное назначение лакокрасочных покрытий - защита материалов от разрушения (например, металлов - от коррозии, дерева - от гниения) и декоративная отделка изделий. Существуют также лакокрасочные покрытия специального назначения - электроизоляционные, флуоресцентные, термоиндикаторные, термостойкие, маслостойкие и др. [2].

Свойства лакокрасочного покрытия определяются составом лакокрасочных материалов (типом плёнкообразующих веществ, пигментов и др.), а также структурой покрытий, которые в большинстве случаев состоят из нескольких слоев. Важнейшие требования к лакокрасочным покрытиям - прочное сцепление (адгезия) отдельных слоев друг с другом, а нижнего слоя - также и с подложкой, твёрдость, прочность при изгибе и ударе, влагонепроницаемость, атмосферостойкость, комплекс декоративных свойств (прозрачность или укрывистость, цвет, степень блеска, узор и др.).

При нанесении лакокрасочного покрытия на поверхность большое значение имеет его вязкость. Условную вязкость определяют вискозиметром. Условной вязкостью лакокрасочных материалов называют время непрерывного истечения в секундах определенного объема материала через калиброванное сопло. растворитель пожароопасность тушение

Важнейшим технологическим показателем является укрывистость лакокрасочного материала, характеризующая расход лакокрасочного материала на 1 м2 окрашиваемой поверхности. Значение этого показателя определяет равномерность нанесения слоя лакокрасочного материала, что обуславливает его экономическую эффективность.

Укрывистость зависит от оптических свойств пигмента, его дисперсности и объемной концентрации в связующем, а также степени дисперсности лакокрасочного материала. Существенное влияние на укрывистость оказывают также химический состав и цвет пленкообразующего, физико-химические свойства связующего, тип растворителя и др. Однако главным образом укрывистость обусловлена оптическими явлениями, протекающими в пленке [3-5].

Покрытие, образующееся после высыхания краски, выполняет защитно-декоративные функции. Проще говоря, оно должно скрыть под собой поверхность основания (укрывистость), защитить ее от возможных механических воздействий (стойкость) и обеспечить необходимый уровень визуального комфорта (декоративность). Именно эти свойства и определяют пригодность краски для эксплуатации в тех или иных условиях.

Укрывистость - одна из важнейших характеристик материала, позволяющая объективно сравнивать потребительские свойства разных красок. Продукция большинства западноевропейских фирм соответствует международному стандарту ISO 6504/1, согласно которому под укрывистостью подразумевается площадь, которую можно покрыть одним литром краски (м2/л). При этом краска должна на 98% укрывать подложку, окрашенную черными и белыми полосами или квадратами. Чем руководствуются производители из третьих стран, определяя укрывистость своей продукции, в точности неизвестно.

Нередко на упаковке с краской указывается не укрывистость, а расход (м2/п, м2/кг или даже г/м;). Этот параметр является существенно менее определенным, поскольку сильно варьируется в зависимости от свойств поверхности, на которую наносится краска. По этой причине относиться к цифрам, приведенным на упаковке, следует с известной осторожностью. Например, одна и та же краска, имеющая укрывистость 10-13 м2/л (ISO 6504/1) может обеспечивать расход по ранее окрашенной поверхности 10-12 м2/п, по зашпаклеванной поверхности 7-9 м2/л, а по оштукатуренной поверхности 3-5 м2/л. Технология нанесения, применяемый малярный инструмент и квалификация исполнителя также влияют на расход краски.

Под стойкостью подразумевается стойкость к мытью, водостойкость (что не одно и то же), стойкость к истиранию, устойчивость к воздействию химических реагентов и способность противостоять образованию плесени.

Этот показатель является определяющим при выборе краски для конкретных условий эксплуатации. Материал, предназначенный для окрашивания потолков в спальнях и гостиных, допускает, как правило, только легкое мытье и может быть использован для отделки стен лишь в малопосещаемых, сухих помещениях. Стены в гостиных и спальнях должны окрашиваться красками с повышенной стойкостью к мытью, выдерживающими не менее 2 тыс. проходов щеткой, а в помещениях, внутренние поверхности которых подвергаются достаточно интенсивному воздействию (кухни, туалеты, лестничные клетки и т.п.) желательно применять материалы, допускающие не мене 5 тыс. проходов [6].

Химическая стойкость к действию щелочей и кислот. Ряд пигментов изменяет свой цвет или обесцвечивается при соприкосновении с щелочными растворами. Например, малярная лазурь в щелочной среде обесцвечивается, свинцовый железный крон краснеет. Подобные пигменты не применяют для изготовления красочных составов, наносимых на поверхность свежею бетона или цементно-известковой штукатурки. Щелочестойкими являются почти все природные пигменты (охры, мумия, умбра, перекись марганца), а также многие искусственные пигменты (титановые белила, оксид хрома, органические пигменты: алый и оранжевый). Для изготовления специальных кислотостойких красок применяют только кислотостойкие пигменты (графит, титановые белила, оксид хрома). Пигменты, содержащие соединения свинца (свинцовые белила, свинцовые крон и сурик), токсичны и при их применении необходимо соблюдать установленные правила охраны труда.

Механические свойства покрытий во многом определяют уровень защитных свойств, а также в значительной степени влияют на декоративные функции покрытий в течение срока их эксплуатации. К механическим свойствам покрытий относятся твердость, гибкость, прочность на удар, адгезия.

Пигменты придают лакокрасочным материалам различные цвета. Чем лучше пигмент, тем дольше краска сохраняет свой первоначальный цвет, будучи под воздействием осадков, перепадов температур, агрессивных химических веществ, и, конечно же, солнечного света. Качество пигмента непосредственно связано также с чистотой цвета. Вероятно, вы замечали, что некоторые краски привлекательно чистые, они имеют подлинно определенный цвет. Если рассмотреть такую краску, то окажется, что ее оптический спектр весьма узок, она почти монохромна. И если на банке написано "персиковый", то это действительно персиковый. А если сказано "песочный", это значит в самом деле песочный.

И напротив, каждый из нас многократно сталкивался с красками неопределенного цвета, в которых намешаны разнообразные составляющие. Разумеется, не намешаны специально, но и не удалены из состава краски. Получается, что основной цвет не очищен от многих других компонентов, которых не должно было быть. В народе такие краски по праву называются серо-буро-малиновыми. По их выпуску советское производство значительно опережало развитые страны. К сожалению, у нас продолжают фабриковать неочищенные краски, и они по-прежнему "украшают" стены многих домов.

Отметим также, что многие пигменты далеко не безвредны для человека (впрочем, как и для домашних животных), поскольку содержат ядовитые вещества - свинец, хром и другие тяжелые металлы. Это особенно важно учитывать при выборе материалов для внутренних работ. Обычно информацию о количественном содержании (или наоборот - полном отсутствии) вредных веществ производители помещают на упаковке или в каталоге своей продукции. Если вы такую информацию не обнаружите, не пытайтесь выяснить её у продавца. Лучше поищите другой материал, состав которого известен.

И наконец, помимо обязательных составляющих - связующей основы, пигментов и растворителей - в некоторые лаки и краски вводят различные добавки - отвердители, загустители, пластификаторы, стабилизаторы, антисептики. Это делается для придания им каких-либо особых качеств. Однако, внешний вид и основные свойства любых лакокрасочных материалов зависят от того, каков тип и качество главных - обязательных - ингредиентов, которые мы только что описали достаточно подробно.

Растворители и разбавители - летучие органические жидкости, применяемые для растворения пленкообразующих веществ, а также для разбавления лакокрасочных материалов до рабочей вязкости перед нанесением на окрашиваемую поверхность. В процессе изготовления и применения лакокрасочных материалов (получения покрытий) растворители улетучиваются, образуя, как правило, токсичные пары. Поэтому в производственных помещениях должны быть приняты меры по технике безопасности: приточновытяжная вентиляция, герметизация технологических процессов во избежание превышения допустимых концентраций паров растворителей в воздухе.

Различают следующие группы растворителей, применяемых в лакокрасочной промышленности: алифатические углеводороды (гексан, гептан); ароматические углеводороды (бензол, толуол, ксилол); скипидар; спирты (этиловый и бутиловый); кетоны (ацетон, метилэтилкетон, циклогенсанон); эфиры простые и сложные (этилцеллозольв, этилацетат, бутилацетат); хлорзамещенные углеводороды (хлорбензол, дихлорэтан) и смеси алифатических и ароматических углеводородов (уайт-спирит, бензин, сольвент). Кроме того, существует широкий ассортимент составных промышленных растворителей в виде различных смесей (645, 646, 647, Р-4, Р-5, Р-14, РЭ и другие марки).

Все растворители, лаки, краски, эмали (кроме воднодисперсионных и водорастворимых) являются горючими материалами; большинство растворителей легко вспыхивает, а пары их могут взрываться. Поэтому недопустимо хранение больших количеств лакокрасочных материалов в домашних условиях. По возможности надо максимально сокращать время хранения материалов и постоянно следить за условиями их содержания.

Лакокрасочные материалы рекомендуется хранить в плотно запирающихся шкафах или ящиках; в этом случае они представляют меньшую опасность в пожарном отношении. Хранить лакокрасочные материалы рекомендуется в помещениях с температурой не выше 25 °С, вдали от нагревательных приборов, предохраняя от попадания влаги и прямых солнечных лучей.

Тара, в которой хранятся лакокрасочные материалы, должна быть исправной, плотно закрывающейся, чистой, с заводской маркировкой, приведенной на этикетке.

Алюминиевая пудра при увлажнении склонна к самовозгоранию, поэтому ее нужно держать в плотной закрытой таре, тщательно оберегая от попадания влаги. Категорически запрещается сушить алюминиевую пудру при повышенных температурах даже при отсутствии открытого огня [7].

.2 Вред для здоровья человека

Вредные вещества, входящие в состав лакокрасочных материалов, могут оказывать воздействие на организм человека через дыхательные пути, кожу и пищеварительный тракт. Вместе с воздухом через дыхательные пути в легкие человека попадают пары растворителей и аэрозоль, содержащий как твердые частички, так и жидкий компонент краски. При этом вредные вещества, попавшие в организм через дыхательные пути, оказывают большее отрицательное воздействие, чем при поступлении через желудочно-кишечный тракт, так как в этом случае они быстрее попадают в кровь.Большое значение имеет летучесть растворителей: чем она выше, тем быстрее загрязняется воздух помещений [8]. По летучести растворители, применяемые в быту, распределяются на легколетучие (бензин, ацетон) и среднелетучие (бутилацетат, ксилол, бутанол, сольвент).

Почти все растворители оказывают на организм отрицательное воздействие; при невысоких концентрациях это проявляется в возбуждении, а при высоких концентрациях - в головных болях, головокружении, сонливости, повышенной раздражительности, тошноте и рвоте [9-10].

Отдельные растворители (ацетон, бензин, спирты и др.) раздражают слизистые оболочки глаз и верхних дыхательных путей и могут также вызвать кожные заболевания воспалительного и аллергического характера. Растворители, попавшие в организм в большом количестве, могут вызвать острую форму отравления. Это может произойти при окраске больших поверхностей без надлежащего проветривания помещения. Окраска подогретыми лакокрасочными материалами также может привести к созданию высокой концентрации паров растворителей в зоне дыхания и острому отравлению [11-12].

В пищеварительный тракт вредные вещества могут попасть при приеме пищи (если руки плохо вымыты), курении.

Опасность для человека в условиях пожара определяется тремя основными факторами: воздействиями высоких температур, дыма и токсичных продуктов горения. Из-за них люди гибли испокон веку. Однако если раньше от ожогов погибало более 60 % пострадавших, то в настоящее время их удельный вес снизился до 20-15 %, а число отравленных токсичными продуктами горения возросло в ряде случаев до 70-80 % от общего числа погибших, что связывается исследователями с широким внедрением во все отрасли производства, строительство и быт полимерных материалов [13-14].

.3 Виды растворителей и их назначение

Растворители органического происхождения широко востребованы в химической промышленности, а также в сферах строительства, ремонта, производства ЛКМ, автомобилестроения, полиграфии и др. Их применяют для расщепления жиров, приготовления клеевых составов и пропиток, удаления загрязнений и наслоений. В качестве разбавителей и разжижителей лакокрасочных материалов на основе алифатических и ароматических углевноодородов используется достаточно широкий ассортимент смешанных сольвентов разного состава, за редким исключением это легковоспламеняющиеся и весьма токсичные жидкости. С повышенной пожарной опасностью и химической вредностью сольвентов производители разных материалов вынуждены мириться из-за хорошей растворимости в них органических и высокомолекулярных веществ, которые входят в состав лаков и красок.

Растворители играют в малярном деле не последнюю роль - они помогают достичь оптимальной консистенции для нанесения краски, а значит, гарантировать хороший результат малярных работ [15]. Для окраски разнообразных поверхностей часто требуется изменить консистенцию краски, для этого используются растворители и разбавители.

Растворителями называются летучие органические жидкости, используются они для придания краске нужной малярной консистенции. Бывают растворители: для масляных красок - бензин, уайт-спирит, скипидар; для глифталевых и битумных лаков и красок - сольвент-нафта, скипидар, ксилол; для перхлорвиниловых красок - ацетон [16]. Для клеевых и водно-дисперсионных красок лучшим растворителем и разбавителем считается вода.

Разбавители и разжижители не обладают растворяющей способностью, а просто снижают вязкость густотертых красок, годятся и для разведения сухих минеральных красок-пигментов. Самые известные разбавители - олифы и всевозможные эмульсии. Если грунтовка ил краска загустели от времени, их можно развести растворителем, а затем придать нужную консистенцию разбавителем или разжижителем. Содержание добавок в составе не должно быть выше 5 %.

Растворители и разбавители помогут очистить от загрязнений любые поверхности, отмыть малярные кисти.

Растворители легко испаряются и имеют резкий запах, поэтому при работе с ними проветривайте помещение [17-18].

Группа углеводородов:

В ходе перегонки малосернистой нефти получают бензин «Галоша» (Нефрас). Они представляют собой прозрачную жидкость (допускается желтоватый оттенок) со сладковатым запахом. Главным отличием представленных продуктов является ярко выраженные свойства по растворению красок и эмалей.

Их используется для разбавления ЛКМ, подготовки и очистки поверхностей. Эти сильные растворители востребованы в ювелирном деле, где требуется высокий результат при минимальных дозировках.

Октановое число у состава С2 80/120, БР-2 порядка 52-ух. Этот показатель выше, чем у любого автомобильного бензина. Октановое число говорит о способности смеси противостоять воспламенению при сжатии.

Фраза «октановое число порядка 52-х» значит, что показатель приблизительный, зависит от состава галоши. У обычных же бензинов октановое число фиксированное. Не зря, существуют виды топлива. Так, октановый показатель 92-го бензина равен 92-ум, 95-го - 95-ти и так далее.

В результате смешивания алифатических и ароматических углеводородов получается жидкое прозрачное вещество с острым специфическим запахом - уайт-спирит. Субстанция характеризуется большой эффективностью по обезжириванию поверхностей и удалению масляных загрязнений.

Кроме этого, он используется в качестве разбавителя алкидных эмалей, лаков, мастик на основе битума или каучука. Композит растворит жиры, нефтяные фракции, органические соединения кислорода, азота и др.

При изготовлении такого вещества, как уайт-спирит соблюдаются следующие правила производства: Доля ароматических углеводородов на объем полученной жидкости составляет не более чем 16 процентов. Предельная температура перегонки не должна превышать отметки в 160 градусов [19]. Категорически запрещается добавлять в данное вещество какие-либо механические примеси в виде воды, водорастворимых щелочей и кислот.

Также одним из основных отличий рассматриваемого вещества является уровень концентрации ароматических углеводородов. В составе данных средств допускается наличие 16 процентов ароматических углеводородов от суммарного объема спирита. В зарубежных же аналогах такое вещество вовсе не употребляется при производстве.

«Уайт-спирит» или Нефрас-С4 155/200 относится к группе так называемых смешанных растворителей, об этом свидетельствует индекс «С», в названии продукта. В их состав входит около 50 % углеводородов всех классов.

Благодаря 16% ароматических углеводородов, в общей массы растворителя, «Уайт-спирит» относится к 4 подгруппе классификатора.

В названии продукта - «Нефрас-С4-155/200» - также указана температура пределов его кипения при градусах Цельсия: 155/200 градусов.

Для разбавления красок и обезжиривания как в промышленности, так и в быту применяют растворитель 646. Он представляет собой жидкость, бесцветную или слегка желтоватого оттенка, которая имеет специфический запах. С его помощью лакокрасочные материалы доводят до необходимой вязкости. К тому же, им хорошо промывать малярные инструменты и убирать пятна органической природы.

Растворитель очень эффективен и универсален, благодаря особенному химическому составу. Этанол (15 %), бутанол (10 %), толуол (50 %), этилцеллозольв (8 %), ацетон (7 %), бутилацетат (10 %) - все это отражает, какой имеет растворитель 646 состав, технические характеристики его также в большинстве своем зависят от этих пропорций [20].

Растворитель 646, применение которого рассчитано на нитролаки, нитроэмали, глифталевые и эпоксидные грунтовки, придает дополнительный блеск лакокрасочному покрытию после высыхания. Он является наиболее активным растворителем, поэтому при работе с ним нужна аккуратность, иначе можно испортить нижний слой краски.

При пиролизе нефтяных фракций получают ароматический нефтяной растворитель - сольвент, который содержит более 50 % ароматических углеводородов, а также небольшой процент нафтеинов, парафинов и непредельных циклических углеводородов. Сольвент нефтяной представляет собой легковоспламеняющуюся жидкость с характерным запахом, обладающую сильным раздражающим действием на кожу, слизистые оболочки глаз и органы дыхания, быстро испаряется, не оставляя запаха на обрабатываемой поверхности.

Назначение: Сольвент нефтяной служит для доведения лакокрасочных материалов до рабочей консистенции, а также можно проводить очистку поверхностей. Сольвент нефтяной предназначен для разбавления меламиноалкидных, кремнийорганических, фенольных, алкидно-стирольных, полиакрилатных, алкидно-уретановых, эпоксиэфирных и других лакокрасочных материалов специального назначения.

В результате процесса ректификации «черного золота» или прямой перегонки получают керосин - горючую, прозрачную (или желтоватую) нефтяную фракцию, слегка маслянистую на ощупь. Его применяют как топливо для авиации, нефтяной растворитель, горючее для обжига фарфора и стекла [21].

В зависимости от химического состава и способа нефтепереработки, из которой получен керосин, в его состав входят:

- предельные алифатические углеводороды - 20-60 %, нафтеновые 20-50 %

бициклические ароматические 5-25 %, непредельные - до 2 %, примеси сернистых, азотистых или кислородных соединений [22].

1.4 Общая характеристика алифатических и ароматических углеводородов

К предельным углеводородам (алканам (парафинам)) относятся соединения с открытой цепью, в которых атомы углерода соединены друг с другом простыми (одинарными) связями, а остальные свободные их валентности насыщены атомами водорода. В обычных условиях алканы мало реакционноспособны, откуда возникло их название "парафины" - от лат. parrum affinis - малоактивный.

Члены гомологического ряда предельных углеводородов отвечают общей формуле CnH2n+2. Простейшим представителем насыщенных углеводородов является метан, структурная формула которого:


В обычных условиях первые четыре члена гомологического ряда алканов - газы, C5-C17 - жидкости, а начиная с C18 - твердые вещества. Температуры плавления и кипения алканов их плотности увеличиваются с ростом молекулярной массы. Все алканы легче воды, в ней не растворимы, однако растворимы в неполярных растворителях (например, в бензоле) и сами являются хорошими растворителями [23].

Физические свойства некоторых алканов представлены в таблице 1.1.

Таблица 1.1. Физические свойства некоторых алканов

Название

Формула

t°пл., °С

t°кип., °С

d420 *

Метан

CH4

-182,5

-161,5

0,415 (при -164°С)

Этан

C2H6

-182,8

-88,6

0,561 (при -100°С)

Пропан

C3H8

-187,6

-42,1

0,583 (при -44,5°С)

Бутан

C4H10

-138,3

-0,5

0,500 (при 0°С)

Изобутан

CH3-CH(CH3)-CH3

-159,4

-11,7

0,563

Пентан

C5H12

-129,7

36,07

0,626

Изопентан

(CH3)2CH-CH2-CH3

-159,9

27,9

0,620

Неопентан

CH3-C(CH3)3

-16,6

9,5

0,613

* Здесь и далее в таблицах физических свойств веществ d420 - плотность. Приводится относительная плотность, т.е. отношение плотности вещества при 20 °С к плотности воды при 4 °С.

Предельные углеводороды в обычных условиях не взаимодействуют ни с концентрированными кислотами, ни со щелочами, ни даже с таким активным реагентом как перманганат калия. Для них свойственны реакции замещения водородных атомов и расщепления. Эти реакции вследствие прочности связей C-C и C-H протекают или при нагревании, или на свету, или с применением катализаторов.

Алкины - алифатические непредельные углеводороды, в молекулах которых между углеродными атомами имеется одна тройная связь.

Углеводороды ряда ацетилена являются еще более непредельными соединениями, чем соответствующие им алкены (с тем же числом углеродных атомов). Это видно из сравнения числа атомов водорода в ряду:

С2Н6 C2H4 С2H2

этан этилен ацетилен

Алкины образуют свой гомологический ряд с общей формулой, как и у диеновых углеводородов

СnH2n-2

Физические свойства. Ацетиленовые углеводороды, содержащие в молекуле от двух до четырех углеродных атомов, - газы, начиная с C5H8 - жидкости, а высшие алкины (с С16Н30 и выше) - твердые вещества. Физические свойства некоторых алкинов показаны в табл. 1.2.

Таблица 1.2. Физические свойства некоторых алкинов

Название

Формула

t пл,°С

t кип,°С

d204

Ацетилен (этан)

HC≡CH

‒81,8

‒ 84,0

0,6181*

Метилацетилен (пропин)

НС≡С‒СН3

‒101,5

‒23,2

0,7062**

Этилацетилен (бутин-1)

НС≡С‒С2Н5

‒125,7

+8,1

0,6784

симм-Диметилацетилен (бутин-2)

Н3C‒C≡С‒CH3

‒32,3

+27,0

0,6510

Пропилацетилен (пентин-1)

НС≡С‒(СН2)2‒СН3

‒90,0

+40,2

0,6900

Метилэтилацетилен (пентин-2)

Н3С‒С≡С‒С2Н5

‒101,0

+56,1

0,7107

Бутилацетилен (гексин-1)

НС≡С‒(СН2)3‒СН3

‒131,9

+71,3

0,7155

*При температуре ‒32 °С, **При температуре ‒50 °С.

Химические свойства алкинов определяются тройной связью, особенностями ее строения. Алкины способны вступать в реакции присоединения, замещения, полимеризации и окисления [24-26].

Реакции присоединения. Будучи непредельными соединениями, алкины вступают в первую очередь в реакции присоединения. Эти реакции протекают ступенчато: с присоединением одной молекулы реагента тройная связь вначале переходит в двойную, а затем, по мере дальнейшего присоединения, - в одинарную. Казалось бы, алкины, обладая двумя p-связями, гораздо активнее должны вступать в реакции электрофильного присоединения. Но это не совсем так. Углеродные атомы в молекулах алкинов расположены ближе друг к другу, чем в алкенах, и обладают большей электроотрицательностью. Это связано с тем, что электроотрицательность атома углерода зависит от его валентного состояния. Поэтому p-электроны, находясь ближе к ядрам углерода, проявляют несколько меньшую активность в реакциях электрофильного присоединения. Кроме того, сказывается, близость положительно заряженных ядер атомов, способных отталкивать приближающиеся электрофильные реагенты (катионы). В то же время алкины могут вступать в реакции нуклеофильиого присоединения (со спиртами, аммиаком и др.).

Члены гомологического ряда алифатических спиртов имеют общую формулу СnН2n+1ОН. R-OH, где R - углеводородный радикал R = СnН2n+1

Алифатические спирты могут быть представлены как алканы, в которых один атом водорода замещен функциональной группой -ОН. Поэтому спирты называют алканолами.

Низшие спирты (до С12) при комнатной температуре - жидкости, высшие - твердые вещества. Температуры кипения спиртов намного выше температур кипения алканов с такой же молекулярной массой. Например, t°кип2Н5ОН - этанол) = 78 °С, а t°кип3Н8 - пропан) = 42 °С; t°кип7Н15ОН - гептанол-1) = 180 °С, а t°кип (C8H18 - октан) = 126 °С. Причиной этого является высокая полярность связи О-Н и легкость образования водородных связей молекулами спирта. Итак, спирты имеют аномально высокие температуры кипения благодаря водородным связям [27].

При испарении жидкости водородные связи между молекулами разрываются, что требует дополнительной затраты энергии. Следовательно, увеличение молекулярной массы приводит к росту температуры кипения, а разветвленные спирты кипят при более низкой температуре, чем неразветвленные.

Спирты с большой молекулярной массой и большим размером углеводородного радикала (R) образуют гораздо меньше водородных связей, чем молекулы воды, занимающие тот же объем, что и молекула спирта. Поэтому растворение высших спиртов в воде энергетически невыгодно, и их растворимость невелика.

Этанол образует азеотропную смесь с водой, содержащую 95,6 % этанола и кипящую при 78,1 °С. Поэтому безводный этанол может быть получен только перегонкой над каким-либо осушителем (например, СаО - оксидом кальция). Многие другие спирты также образуют с водой азеотропную смесь.

Вспомним, что: при кипении жидкости состава А пар имеет тот же состав, что и эта жидкость. Это означает, что и состав, и, следовательно, температура кипения (Ткип) не изменяются в течение процесса. Такую смесь называют азеотропом, или нераздельно кипящей смесью. Азеотропы - не соединения, т.к. их составы зависят от давления.

Спирты - хорошие растворители. Они растворяют как полярные, так и неполярные вещества. Наличие в молекуле полярной ОН-группы позволяет им растворять такие полярные вещества, как гидроксиды калия и натрия. Неполярный алкильный радикал обеспечивает растворимость в спиртах таких малополярных соединений, как углеводороды.

Подобно воде, спирты проявляют амфотерные свойства. Большинство химических реакций спиртов протекают с разрывом связи RO-Н, например, реакции с натрием или карбоновыми кислотами обусловлены разрывом связи R-ОН. Спирты - полярные соединения.

Ароматическими соединениями обычно называют карбоциклические соединения, в молекулах которых имеется особая циклическая группировка из шести углеродных атомов - бензольное ядро. Простейшим веществом, содержащим такую группировку, является углеводород бензол; все остальные ароматические соединения этого типа рассматривают как производные бензола.

Благодаря наличию в ароматических соединениях бензольного ядра они по некоторым свойствам значительно отличаются от предельных и непредельных алициклических соединений, а также и от соединений с открытой цепью. Отличительные свойства ароматических веществ, обусловленные наличием в них бензольного ядра, обычно называют ароматическими свойствами, а бензольное ядро - соответственно ароматическим ядром.

В настоящее же время к ароматическим соединениям относят многие вещества, обладающие и неприятными запахами или совсем не пахнущие, если в его молекуле содержится плоское кольцо с обобщенными электронами, где n может принимать значения 0, 1, 2, 3 и т.д., - правило Хюккеля [29-30].

Первый представитель ароматических углеводородов - бензол - имеет формулу C6H6. Это вещество было открыто М.Фарадеем в 1825 г. В жидкости, образующейся при сжатии или охлаждении т.н. светильного газа, который получается при сухой перегонке каменного угля. Впоследствии бензол обнаружили (А.Гофман, 1845г.) в другом продукте сухой перегонки каменного угля - в каменноугольной смоле. Он оказался весьма ценным веществом и нашел широкое применение. Затем было установлено, что очень многие органические соединения являются производными бензола.

Первая структура бензола была предложена в 1865 г. немецким ученым А. Кекуле:

Рис 1.1 Структура бензола

Эта формула правильно отражает равноценность шести атомов углерода, однако не объясняет ряд особых свойств бензола. Например, несмотря на ненасыщенность, бензол не проявляет склонности к реакциям присоединения: он не обесцвечивает бромную воду и раствор перманганата калия, т. е. не дает типичных для непредельных соединений качественных реакций.

Особенности строения и свойств бензола удалось полностью объяснить только после развития современной квантово-механической теории химических связей. По современным представлениям все шесть атомов углерода в молекуле бензола находятся в sp2-гибридном состоянии. Каждый атом углерода образует s -связи с двумя другими атомами углерода и одним атомом водорода, лежащие в одной плоскости. Валентные углы между тремя s-связями равны 120°. Таким образом, все шесть атомов углерода лежат в одной плоскости, образуя правильный шестиугольник (s-скелет молекулы бензола).

Каждый атом углерода имеет одну негибридизованную р-орбиталь. Шесть таких орбиталей располагаются перпендикулярно плоскому s-скелету и параллельно друг другу (рис. 1.1). Все шесть электронов взаимодействуют между собой, образуя p-связи, не локализованные в пары как при образовании двойных связей, а объединенные в единое p-электронное облако. Таким образом, в молекуле бензола осуществляется круговое сопряжение. Наибольшая p-электронная плотность в этой сопряженной системе располагается над и под плоскостью s-скелета (рис. 1.2).

Рис. 1.2. Строение молекулы бензола

В результате все связи между атомами углерода в бензоле выровнены и имеют длину 0,139нм. Эта величина является промежуточной между длиной одинарной связи в алканах (0,154нм) и длиной двойной связи в алкенах (0,133 нм). Равноценность связей принято изображать кружком внутри цикла (рис. в). Энергия образования молекулы бензола, рассчитанная исходя из наличия трех простых связей С-С, трех двойных и шести связей С-Н, равна 5355 кДж/моль. Круговое сопряжение дает выигрыш в энергии 150 кДж/моль. Эта величина составляет энергию сопряжения - количество энергии, которое нужно затратить, чтобы нарушить ароматическую систему бензола.

Такое электронное строение объясняет все особенности бензола. Бензол трудно вступает в реакции присоединения, т.к. это привело бы к нарушению сопряжения. Такие реакции возможны только в очень жестких условиях [31].

Гомологический ряд бензола отвечает общей формуле С6Н2n-6.

Бензол, несмотря на то, что по составу он является ненасыщенным соединением, проявляет склонность преимущественно к реакциям замещения, и бензольное ядро очень устойчиво. В этом заключаются свойства бензола, которые называют ароматическими свойствами. Последние характерны и для других ароматических соединений; однако различные заместители в бензольном ядре влияют на его устойчивость и реакционную способность; в свою очередь бензольное ядро оказывает влияние на реакционную способность соединенных с ним заместителей. Рассмотрим следующие группы реакций ароматических углеводородов: а) реакции замещения, б) реакции присоединения и в) действие окислителей.

Реакции замещения. При замещении в бензольном кольце возможны три типа реакций в зависимости от природы атакующей частицы.

Радикальное замещение SR.

R∙ + H:С6Н5 → R-С6Н5 + H∙

Если атакующий реагент R∙-радикал, несущий неспаренный электрон, то водород, связанный с атомом углерода ядра, отщепляется с одним из электронов электронной пары σ-связи. Такой тип замещения называется радикальным. Реакция радикального замещения редко используется в ароматическом ряду.

Нуклеофильное замещение SN. При действии несущих отрицательный заряд нуклеофильных частиц на замещенный бензол С6Н5Х (где Х-заместитель) отщепляющаяся группа Х - уходит вместе с парой σ - электронов, ранее осуществляющих ее связь с ядром:

Z- + X:С6Н5 → Z-С6Н5 + Х-

Примером может служить реакция натриевой соли бензолсульфокислоты со щелочью.

Для успешного протекания реакций нуклеофильного замещения в ядре должен находится дополнительно один или лучше два сильных электроноакцепторных заместителя (-NO2, -SO3H ,-CF3)

Электрофильное замещение SE.

Все электрофилы являются кислотами Льюиса.

Общий вид реакций электрофильного замещения:

 (катионный электрофил)

 (нейтральный электрофил)

Во всех реакциях этого типа атакующий реагент (Y+) несет на атоме, вступающем в связь с углеродным атомом бензольного ядра, положительный заряд либо имеет ярко выраженный катионоидный характер и образует новую связь за счет пары электронов, ранее осуществлявшей связь С-Н. Замещающийся атом водорода уходит в виде протона:


Природные источники ароматических углеводородов. В промышленности ароматические углеводороды получают путем сухой перегонки каменного угля, а также из нефти.

Основными сырьевыми материалами для получения углеводородов являются нефтьи природные газы. В природе залежи нефти находятся на разной глубине в недрах Земли.Россия по запасам нефти занимает первое место в мире.

Нефть - это маслянистая жидкость от светло-коричневого до темно-бурого цвета (плотность 0,70-0,97 г/см3) с характерным запахом и нерастворимая в воде. По составу нефть - это смесь различных углеводородов, вид и содержание которых зависят от ее месторождения: бакинская нефть богата циклоалканами (с пяти- и шестичленными кольцами), грозненская нефть содержит больше предельных углеводородов, уральская ароматических. В нефти содержатся также примеси кислородных, сернистых и азотистых органических соединений. Сырая нефть, как правило, не используется в хозяйственных нуждах, а подвергается первичной и вторичной переработке для получения ценных продуктов - бензина, керосина, различных масел и т. п. Первичной переработкой нефти является перегонка, производимая на нефтеперерабатывающих заводах и позволяющая получать следующие продукты: бензин (tкип = 40-200 °С), состоящий из углеводородов, содержащих от 5 до 12 атомов углерода (C5-C12),лигроин (tкип = 120-240 °С), включающий углеводороды C8-C14; керосин (tкип = 150-300 °С), преимущественно включающий углеводороды C9-C16; газойль (tкип= 200-500 °С), включающий углеводороды C12-C35. Газойль подразделяется на две фракции: легкий газойль(tкип = 200-360 °С) и тяжелый газойль (tкип = 360-500 °С), который отгоняется при пониженном давлении. В остатке остается мазут - черная вязкая жидкость. Мазут перегоняют под пониженным давлением и выделяют из него смазочные масла (машинное, веретенное и др.), вазелин - смесь жидких и твердых углеводородов, парафин. В остатке после перегонки мазута получают гудрон - темную нелетучую массу.

Полученные при первичной переработке продукты используют следующим образом: бензин - в авиационном и автомобильном транспорте, лигроин - топливо в дизельных двигателях и растворитель лаков и красок, керосин - горючее для тракторов, реактивных двигателей и бытовых нужд, легкий газойль - дизельное топливо, смазочные масла, получаемые из газойля и мазута, - для смазки различных механизмов, вазелин - для защиты металлов от коррозии и в медицине, парафин - в производстве свечей, спичек, для получения высших карбоновых кислот и др., гудрон - для получения асфальта, мазут и тяжелый газойль - жидкое котельное топливо.

Среди вторичных методов переработки нефти, приводящих к изменению структуры углеводородов, входящих в ее состав, наибольшее значение имеет термический крекинг углеводородов нефти. Сущность термического крекинга заключается в нагревании исходного сырья (мазута и др.)до температуры 450-550 °С при давлении 2-7 МПа (20-70 атм) с целью увеличения выхода бензиновой фракции. При крекинге углеводороды с большим числом атомов углерода расщепляются на более мелкие молекулы предельных и непредельных углеводородов.

Например:

С16Н34 С8Н18 + С8Н16

С8Н18 С4Н10 + С4Н8

С12Н26 С6Н14 + С6Н12

Термическим крекингом достигают повышения выхода бензина. Помимо термического крекинга существует еще и каталитический крекинг, идущий в присутствии катализаторов (алюмосиликатов) при 450 °С и атмосферном давлении. Каталитическому крекингу подвергаются керосиновая и газойлевая фракции нефти [32-33].

.5 Растворители на основе алифатических и ароматических углеводородов, их характеристика

 

Уайт-спирит: Условная формула C10,5H21,0

Физико-химические свойства: Мол. масса 147; плотн. 760-790 кг/м3; пределы выкипания 140-200°С; lgp = 7,13623 - 2218,3/ (273,15 + t) при 20-80°C; в воде не раствор.

Пожароопасные свойства: Легковоспламеняющаяся жидкость. Т. всп.: 33°С (з.т.), 43°C (о.т.); т. воспл. 47°C; т. самовоспл. 250°C; конц. пределы распр. пл. 0,7-5,6% об.; темп. пределы распр. пл.: нижн. 33°C, верхн. 68°С; норм. скорость распр. пл. 0,52 м/с; миним. энергия зажигания 0,33 мДж при 70°C [42-44].

Средства тушения: Возд.-мех. пена, порошки.

Уайт-спирит, смесь с сольвентом каменноугольным и ксилолом

Пожароопасные свойства: самовоспл. Легковоспламеняющаяся жидкость. Т. смесей приведены в табл. 1.3.

Таблица 1.3. Температура самовоспламенения в зависимости от состава смеси уайт-спирита, каменноугольного сольвента и ксилола

Содержание компонентов смеси, % об.

Температура самовоспламенения, °С

Уайт-спирит

Сольвент каменноугольный

Ксилол

по методу МакНИИ

Стандартная

100

0

0

227

250

80

20

0

240

-

75

25

0

245

-

70

30

0

249

325

60

40

0

269

383

50

50

0

-

430

30

70

0

435

-

0

100

0

485

-

80

0

20

245

-

50

0

50

365

453

30

0

70

425

-

0

0

100

495

-

 

Средства тушения: Возд.-мех. пена, порошки.

Уайт-спирит, смесь с тетрахлорэтиленом

Пожароопасные свойства: Показатели пожарной опасности смесей различного состава приведены в табл. 1.4.

Таблица 1.4. Показатели пожарной опасности смесей уайт-спирита с тетрахлорэтиленом

Содержание тетрахлорэтилена в смеси, % об.

Плотн. смеси, кг/м3

Температура,°С

Темп. пределы распр. пл.

Группа горючести



вспышки

воспл.

самовосплам.

нижн.

верхн.

о.т.






20

936

41

47

70

224

38

72

ЛВЖ

40

1118

50

57

103

221

50

77

ЛВЖ

50

1194

62

65

127

219

51

68

ГЖ

55

1236

64

67

Нет

221

Нет

Нет

ТГЖ

60

1279

65

74

То же

226

То же

То же

ТГЖ

70

1365

68

85


221



ТГЖ

80

1449

Нет

Нет


224



ТГЖ

 

Средства тушения: Возд.-мех. пена, порошки.

Уайт-спирит, смесь с трихлорэтиленом

Пожароопасные свойства: Показатели пожарной опасности смесей различного состава приведены в табл. 1.5.

Таблица 1.5. Показатели пожарной опасности смесей уайт-спирита с трихлорэтиленом

Содержание трихлорэтилена в смеси, % об.

Температура, °С

Нижн. темп. предел распр. пл.,°С


вспышки

воспл.

самовоспл.



з.т.

о.т.




20

37

42

63

225

35

40

38

44

77

-

35

50

36

51

91

220

33

60

32

61

Нет

227

37

80

28

70

»

229

37

 

Средства тушения: Возд.-мех. пена, порошки [34-36].

Растворитель 646

Состав, % масс.: бутилацетат 5,8, ацетон 11,7, этанол 17,5, изобутанол 15, толуол 50.

Пожароопасные свойства: Легковоспламеняющаяся жидкость. Т. всп. 6 °C (о.т.); т. воспл. 6 °С; т. самовоспл. 425 °C; темп. пределы распр. пл.: нижн. -2 °C, верхн. 11 °С [42-44].

Средства тушения: Порошки, аэрозольные составы [45-46].

Сольвент

Физико-химические свойства: Плотн. 867 кг/м3.

Пожароопасные свойства: Легковоспламеняющаяся жидкость. Т. всп. 30 °С (о.т.); Т. воспл. 36 °С; Т. самовоспл. 490 °С; нижн. конц. предел распр. пл. 1,0 %об.; миним. энергия зажигания 0,45 мДж.

Средства тушения: Возд.-мех. пена, порошки.

Сольвент каменноугольный марки А

Пожароопасные свойства: Легковоспламеняющаяся жидкость. Т. всп. 14°С; т. воспл. 24°С; т. самовоспл. 535°С; темп. пределы распр. пл.: нижн. 19°С, верхн. 52°С[42-44].

Средства тушения: Возд.-мех. пена, порошки.

Сольвент каменноугольный марки Б

Пожароопасные свойства: Легковоспламеняющаяся жидкость. Т. всп. 22 °С; т. воспл. 34 °С; т. самовоспл. 510 °С; темп. пределы распр. пл.: нижн. 29 °С, верхн. 57 °С.

Средства тушения: Возд.-мех. пена, порошки.

Сольвент каменноугольный марки В

Пожароопасные свойства: Легковоспламеняющаяся жидкость. Т. всп. 23 °С; т. воспл. 35 °С; темп. пределы распр. пл.: нижн. 29 °С, верхн. 60 °С.

Средства тушения: Возд.-мех. пена, порошки.

Сольвент нефтяной

Физико-химические свойства: Плотн. 850-880 кг/м3, пределы кип. 120-180 °С; lgp = 6,2276 - 1529,33/(226,679 + t) при 0-40 °С.

Пожароопасные свойства: Легковоспламеняющаяся жидкость. Т. всп.: 21 °С (з.т.), 74 °С (о.т.); т. воспл. 83 °С; т. самовоспл. 520 °С; конц. пределы распр. пл. 1-8% об.; темп. пределы распр. пл.: нижн. 21 °С, верхн. 56 °С[42-44].

Средства тушения: Возд.-мех. пена, порошки [39].

Керосин

Пожароопасные свойства: Легковоспламеняющаяся жидкость. В табл. 1.6. приведены показатели пожаровзрывоопасности керосина различных марок.

Средства тушения: Возд.-мех. пена, порошки [39].

Таблица 1.6. Показатели пожаро- и взрывоопасности керосина различных марок

Керосин

Плотн., кг/м3

Температура, °С

Темп.пределы распр.пламени, °С

Нижн. конц. пр. распр. пл., % об.



кипения

вспышки

вос- плам.

самовоспл.

нижн.

верхи.


АВТМ

781

-

30* 53*

-

420

-

-

-

Осветительный марки А

792

-

57**

63

238

35

75

-

К0-20

-

236

55* 68**

84

227

51

95

0,6

КО-22

-

184

46* 50**

56

245

43

82

0,7

КО-25

-

189

40* 49**

57

236

37

75

0,9

Сульфированный

810

-

51*

-

235

43

75

-

Тракторный

809 - 823

-

4-28*

-

250-290

4-27

35-69

1,0

* закрытый тигель ** открытый тигель

Бензин Галоша (БР-1)

Легковоспламеняющиеся бесцветные жидкости, представляющие собой смеси легких углеводородов. Бензины при горении прогреваются в глубину, образуя все возрастающий гомотермический слой.

Пожароопасные свойства: Скорость нарастания прогретого слоя 0,7 м/ч; т-ра прогретого слоя 80 - 100 °С; т. пламени 1200 °С. Значения показателей пожароопасности бензинов приведены в табл. 1.7.

Влияние хладона 113 на область воспламенения бензина БР-1 в воздухе показано на рис. 1.3.

Рис. 1.3. Влияние хладона 113 на область воспламенения бензина БР-1 в воздухе

Таблица 1.7. Показатели пожаровзрывоопасности бензинов

Марка бензина

Плотн., кг/м3

Т.всп., °С

Т.само-воспл., °С

Конц. пр. распр. пл., % об.

Темп. пр. распр. пл., °С

Миним. энергия заж., мДж

БЭМЗ, мм

Норм. скор. распр. пл., м/с

Авиационный 91/115

729,5

-38

435

-

-38...5

0,41

-

-

Авиационный 95/130 этилированный

736,2

-37

380

0,98 - 5,48

-37...-10

0,30

-

-

Б-70

745

-34

300

0,79-5,16

-34.-4

0,39

-

0,44

Авиационный нестабильный

740

-44

410

1,48-8,1

-44.-16

-

-

(62°С)

Авиационный стабильный

732

-37

440

1,3-8,0

-37.-17

-

-

-

А-66

728

-39

255

0,76-5,0

-39.-8

0,46

-

-

Автомобильный нестабильный

806,4

-30

345

0,93-5,1

-30.24

-

-

-

Автомобильный стабильный

798

-27

370

0,96 - 4,96

-27.3

-

-

-

Бензиналкилат

695

-20

396

1,14

-

-

1,02

-

БР-1

722

-17

350

1,1-5,4

-17.10

0,23

-

-

Бензин гексановой фракц.

673

-11

269

1,33

-

-

0,96

0,45

Бензин низко октановый

677

-45

293

-

-45.-5

-

-

-

Бензин экстрационный

-

-28

268

1,1-6,3

-24.6

-

-

-

 

 

Средства тушения: Возд.-мех пена; при подслойном тушении - фторированные пенообразователи [42-43].

Рассмотрены история создания и пожарная безопасность лаков, красок и растворителей. Почти все виды лакокрасочных продуктов и растворители относятся к легковоспламеняющимся жидкостям.

Охарактеризованы основные виды растворителей, в частности растворителей на основе алифатических и ароматических углеводородов - Уайт-спирит, Растворитель 646, Бензин «Галоша», Сольвент и Керосин. Большинство растворителей являются или индивидуальным веществом или смесью веществ на основе алифатических и ароматических углеводородов.

Описаны назначения растворителей и вред наносимый ими для человека. Основное назначение растворителей - разбавление лакокрасочных продуктов или удаление их из поверхности предметов разного рода.

2. Определение основных характеристик пожароопасности растворителей

.1 Методика определения температуры вспышки

Для определения температуры вспышки тигель заполняется растворителем так, чтобы верхний мениск точно совпадал с меткой. Затем нагревали с заданной скоростью, периодически зажигая выделяющиеся пары и визуально оценивая результаты зажигания.

Температуру вспышки экспериментально определяли в приборах закрытого (з. т.) и открытого (о. т.) типов.

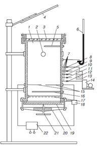
Схема прибора закрытого типа показана на рис. 2.1. В качестве реакционного сосуда используют металлический тигель с внутренним диаметром 51 мм и высотой 56 мм. Тигель закрыт крышкой, на которой расположены зажигательное устройство, заслонка с поворотным устройством и мешалка. Тигель, крышку и мешалку изготавливают из материалов, не вступающих в химическое взаимодействие с испытуемыми веществами, например из нержавеющей стали.

Рис. 2.1. Прибор закрытого типа для измерения температуры вспышки: 1 - зажигательное устройство; 2 - заслонка; 3 - термометр; 4 - крышка; 5 - тигель; 6 - мешалка.

Перед проведением измерений образцы легколетучих жидкостей нагревали до текучести.

Испытание на вспышку проводили при повышении температуры на каждый 1 °С для жидкостей с температурой вспышки до 104 °С и на каждые 2 °С для жидкостей с температурой вспышки более 104 °С. За температуру вспышки принимали среднее арифметическое трех определений серии основных испытаний с поправкой на барометрическое давление, вычисляемое по формуле: ∆t = где р - давление в период проведения опыта, кПа.

Рис. 2.2. Прибор открытого типа для измерения температуры вспышки: 1 - нагревательная ванна; 2 - кольцо из паронита; 3 - фарфорный тигель; 4 - термометр; 5 - держатель термометра; 6 - штатив; 7 - подставка для горелки; 8 - газовая горелка; 9 - нагревательное устройство; 10 - асбестовая прокладка.

Подготовку образцов и определение ориентировочной температуры вспышки проводили так же, как и в приборе закрытого типа. После этого проводили серию основных испытаний на трех образцах исследуемого вещества в той же последовательности, что и предварительные испытания. Образцы исследуемого вещества, имеющие ориентировочную температуру вспышки менее 50 °С, охлаждали до температуры, которая на 17 °С ниже ориентировочной температуры вспышки. За 10 °С до ориентировочной температуры вспышки образец нагревали со скоростью 1 °С/мин для веществ с температурой вспышки до 70 °С и 2 °С/мин для веществ с температурой вспышки более 70 °С. Испытания на вспышку проводили при повышении температуры на каждые 1 °С/мин для веществ с температурой вспышки до 70 °С и 2 °С/мин для веществ с температурой вспышки более 70 °С. За температуру вспышки каждого определения принимают показание термометра, соответствующее появлению пламени над частью или над всей поверхностью образца.

Обработку результатов проводили так же, как и при определении температуры вспышки в приборе закрытого типа.

.2 Методика определения температуры воспламенения

Для определения температуры воспламенения тигель заполняли растворителем так, чтобы верхний мениск точно совпадал с меткой. Затем нагревали, периодически зажигая выделяющиеся пары и визуально оценивая результаты зажигания.

Для измерения температуры воспламенения жидкостей применяли прибор с открытым тиглем (рис. 2.2.).

При измерении температуры воспламенения жидкостей образец подготавливали так же, как и при измерении температуры вспышки. Вначале определяли ориентировочную температуру воспламенения. Для этого нагревали образец исследуемого вещества со скоростью 5-6 °С/мин. Через каждые 5 °С повышения температуры проводили испытание на воспламенение. Для этого пламя горелки перемещали от одной стороны тигля до другой в течение 1,5 с на расстоянии 14 мм от поверхности жидкости. Если пары исследуемого вещества воспламеняются и продолжают гореть не менее 5 с, то нагрев прекращали, и показание термометра в момент появления пламени принимали за температуру воспламенения. Если воспламенение паров не происходит или время самостоятельного горения после воспламенения составляет менее 5 с, то нагревание образца продолжали, периодически перемещая пламя горелки над тиглем, т.е. повторяли испытание на воспламенение.

Определив ориентировочную температуру воспламенения, проводили серию основных испытаний на трех образцах исследуемого вещества. За 10 °С до ориентировочной температуры воспламенения образец нагревали со скоростью 1 °С/мин для веществ с температурой воспламенения до 70 °С и 2 °С/мин для веществ с температурой воспламенения более 70 °С.

Зажигание пламенем газовой горелки проводили при повышении температуры на каждый 1 °С для веществ с температурой воспламенения до 70 °С и на каждые 2 °С для веществ с температурой воспламенения более 70 °С.

За температуру воспламенения жидкости в каждом опыте принимали наименьшую ее температуру, при которой образующиеся пары воспламеняются при поднесении пламени газовой горелки и продолжают гореть не менее 5 с после его удаления. За температуру воспламенения исследуемого вещества принимали среднее арифметическое трех определений серии основных испытаний с поправкой на барометрическое давление.

.3 Методика определения температуры самовоспламенения

Для определения температуры самовоспламенения в нагретый сосуд вводили заданный объем исследуемого вещества и визуально оценивали результаты испытания. Варьируя температуру, находили минимальную температуру стенки сосуда, при которой еще происходит самовоспламенение вещества.

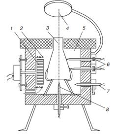
Температуру самовоспламенения жидкостей измеряли на установке, схема которой показана на рис. 2.3.

Основной частью установки является коническая колба Кн-250, помещенная в воздушный термостат. Внутри камеры расположен нагреватель мощностью 1,5 кВт. Равномерность нагрева стенок колбы обеспечивается циркуляцией воздуха в термостате, создаваемой вентилятором, и применением регулятора температуры, позволяющего плавно изменять подводимую к нагревателю энергию.

Рис. 2.3. Прибор для измерения стандартной температуры самовоспламенения СТС-2: 1 - крыльчатка вентилятора; 2 - спиральный нагреватель; 3 - реакционный сосуд; 4 - смотровое зеркало; 5 - термостат; 6, 7 и 8 - термопары

Определение температуры самовоспламенения состоит из предварительных и основных испытаний. В предварительных испытаниях определяли наиболее легко воспламеняющееся количество вещества, вводимого в реакционный сосуд. В серии основных испытаний выявляли наименьшую температуру реакционного сосуда, при которой наблюдается самовоспламенение наиболее легко самовоспламеняющегося количества вещества. Температуру самовоспламенения находили для шести-восьми проб исследуемого вещества, различающихся на 0,05 - 2,0 мл, и строили график зависимости температуры самовоспламенения от величины пробы вещества.

Основные испытания (пять проб) на самовоспламенение проводили с наиболее легко самовоспламеняющимся количеством вещества при температуре на 5 °С ниже минимальной температуры самовоспламенения, полученной в серии предварительных испытаний.

За температуру самовоспламенения исследуемого вещества принимали среднее арифметическое двух температур, различающихся на 5 °С, при одной из которых наблюдается самовоспламенение наиболее легко самовоспламеняющегося количества вещества, а при другой - отказ.

.4 Методика определения температуры нижнего или верхнего предела воспламенения

Для определения концентрационных пределов распространения пламени зажигали образец с заданной концентрацией исследуемого вещества в объеме реакционного сосуда и устанавливали факт наличия или отсутствия распространения пламени. Изменяя концентрацию горючего в смеси, находили ее минимальное и максимальное значения, при которых происходит распространение пламени.

Измерение пределов распространения пламени паровоздушной смеси проводили на установке "Предел" (рис. 2.4). Реакционный сосуд установки "Предел" представляет собой цилиндр с внутренним диаметром 300 мм и высотой 800 мм. Верхняя крышка выполнена из термостойкого стекла, через которое при помощи зеркала наблюдали за процессом распространения пламени при испытании.

Предварительно рассчитывается при необходимости нижний и верхний концентрационные пределы распространения пламени по паровоздушным смесям исследуемого индивидуального вещества по формуле, %:

,

,

mC, mS, mH, mx, mO, mP - число атомов углерода, серы, водорода, галогена, кислорода и фосфора в молекуле соединения; ам и bм - универсальные константы, значения которых приведены в табл. 2.1.

Таблица 2.1. Значения постоянных ам и bм в формуле

Предел распространения пламени

ам

bм

Нижний

8,684

4,679

Верхний: при Р< 7,5

1,550

0,560

при b > 7,5

0,768

6,554


При определении нижнего предела распространения пламени для первого испытания готовиться паровоздушную смесь, содержащую горючего пара вдвое меньше рассчитанного предела, а при определении верхнего предела распространения пламени готовили смесь, содержащую кислорода вдвое меньше, чем в смеси, соответствующей верхнему пределу.

Для приготовления смеси требуемого состава реакционный сосуд вакуумировали до остаточного давления не более 0,6 кПа и затем поочередно подается в него компоненты смеси по парциальным давлениям.

Парциальное давление компонента рк рассчитывали по формуле, кПа:

,

где φк - задаваемая концентрация компонента смеси, % (об.); р0 - атмосферное давление, кПа.

После впуска компонентов смеси в реакционный сосуд смесь перемешивали и зажигали. Результат опыта оценивали визуально.

Изменяя состав смеси, находится такая концентрация горючего компонента, при которой пламя распространяется на весь объем реакционного сосуда, а при концентрации на 0,1% (об.) меньше (в случае измерения нижнего предела) или больше (при измерении верхнего предела) смесь не воспламеняется или возникшее пламя не распространяется до верхней части реакционного сосуда.

Рис.2.4. Установка "Предел" для измерения концентрационных пределов распространения пламени: 1 - реакционный сосуд; 2 - отверстие для продувки; 3 - верхняя крышка; 4 - смотровое зеркало; 5 - термопара; 6 - ртутный манометр; 7 - трубопроводы; 8 - 12 - клапаны; 13 - испаритель; 14 - вакуумный насос; 15 - электроды зажигания; 16 - трубчатый электронагреватель; 17 - пакет сеток; 18 - концевой выключатель; 19 - нижняя крышка; 20 - коромысло; 21 - винт; 22 - высоковольтный источник питания [52]

Описаны методики определения температуры вспышки, воспламенения, самовоспламенения и нижнего или верхнего предела воспламенения как экспериментальным, так и эмпирическим методами. Указаны и описаны приборы, которые применяются для экспериментального определения показателей пожароопасности растворителей.

. Эмпирическое и неэмпирическое определение основных характеристик пожароопасности растворителей

.1 Пожарные характеристики исследуемых веществ

 

Уайт-спирит

Общая формула: С10,5Н21,0. В состав Уайт-спирита входит 16 % ароматического компонента и 0,023 % серных веществ, все остальное - алифатические вещества. Определенного состава нет, поэтому проводить эмпирический расчет пожарных характеристик не целесообразно. Для этого вещества проводили только экспериментальное определение пожарных характеристик.

Экспериментальное определение пожарных характеристик:

Температура вспышки

В приборе закрытого типа:

Давление в период проведения опыта равно 101,1 кПа.

t=

Согласно показаниям прибора:

tвс.1 = 34,4 0С

tвс.2 = 34,3 0С

tвс.3 = 34,4 0С

tвс.ср =(tвс.1+ tвс.2+ tвс.3)/3 = (34,4 + 34,3 + 34,4)/3 = 34,37 0С

tвс. =tвс.ср+ ∆t = 34,37 + 0,05 = 34,42 0С

Справочные данные [44]: tвс.спр. = 33-36 0С или tвс.спр. =34,5 0С

П(погрешность) = 34,5 - 34,42 = 0,08 0С

%отклон. = |tвс.- tвс.спр.|∙100/tвс.спр. = |34,42 - 34,5|∙100/34,5 = 0,23 %

В приборе открытого типа:

t=

Согласно показаниям прибора:

tвс.1 = 42,8 0С

tвс.2 = 42,6 0С

tвс.3 = 42,6 0С

tвс.ср = (tвс.1+ tвс.2+ tвс.3)/3 = (42,8 + 42,6 + 42,6)/3 = 42,67 0С

tвс. =tвс.ср+ ∆t = 42,67 + 0,05 = 42,72 0С

Справочные данные [44]: tвс.спр. = 43 0С

П = 43 - 42,72 = 0,28 0С

%отклон. = |tвс.- tвс.спр.|∙100/tвс.спр. = |42,72 - 43|∙100/43 = 0,65 %

Температура воспламенения

Давление в период проведения опыта равно 101,1 кПа.

t=

Согласно показаниям прибора:

tвос.1 = 47,3 0С

tвос.2 = 47,2 0С

tвос.3 = 47,4 0С

tвос.ср = (tвос.1+ tвос.2+ tвос.3)/3 = (47,3 + 47,2 + 47,4)/3 = 47,3 0С

tвос. =tвос.ср+ ∆t = 47,3 + 0,05 = 47,35 0С

Справочные данные [43]: tвос.спр. =47 0С

П = 47,35 - 47 = 0,35 0С

%отклон. = |tвос.- tвос.спр.|∙100/tвос.спр. = |47,35 - 47|∙100/47 = 0,74 %

Температура самовоспламенения

V1(пробы) = 0,07 млt1самовос. = 255 0С

V2(пробы) = 0,75 млt2самовос. = 255 0С

V3(пробы) = 1,00 млt3самовос. = 255 0С

V4(пробы) = 1,25 млt4самовос. = 253 0С

V5(пробы) = 1,50 млt5самовос. = 252 0С

V6(пробы) = 2,00 млt6самовос. = 250 0С

График зависимости температуры самовоспламенения от величины пробы вещества представлен на рисунке 3.1.

Рис. 3.1. График зависимости температуры самовоспламенения от величины пробы Уайт-спирита

Исходя из графика, оптимальный объем пробы Уайт-спирита для определения температуры самовоспламенения является 1,00 мл.

Согласно показаниям прибора:

t1самовос. = 255,5 0С

t2самовос. = 254,5 0С

t3самовос. = 256,4 0С

t4самовос. = 251,3 0С

t5самовос. = 253,3 0С

Два значения различающихся на 5 градусов: t3самовос. = 256,4 0С и t4самовос. = 251,3 0С.

tсамовос. = (t3самовос. + t4самовос.)/2 = (256,4 + 251,3)/2 = 253,85 0С

Справочные данные [43]: tсамовос.спр. = 250 0С

П = 253,85 - 250 = 3,85 0С

%отклон. = |tсамовос.- tсамовос.спр.|∙100/tсамовос.спр. = |253,85 - 250|∙100/250 = 1,54 %

Температура нижнего или верхнего предела воспламенения

Так как растворитель является смесью веществ, то предварительного расчета нижнего и верхнего концентрационного предела распространения пламени по паровоздушным смесям не проводили.

Давление в период проведения опыта равно 101,1 кПа.

Парциальное давление компонента:

,

Справочные данные [43]: tниж.пред.вос.спр. = 33 0С

Справочные данные [43]: tверх.пред.вос.спр. = 68 0С

Растворитель 646. Представляет собой смесь органических растворителей и состоит из следующих компонентов (%, мольные доли): бутилацетат (C6H12O2, tкип. = 126,3 0С, М = 116,16 г/моль) - 3,63, ацетон (С3Н6О, tкип. = 56,1 0С, М = 58,08 г/моль) - 14,63, этанол (C2H6O, tкип. = 78,4 0С, М = 46,07 г/моль) - 27,6, изобутанол (C4H10O, tкип. = 108 0С, М = 74,12 г/моль) - 14,7, толуол (C7H8, tкип. = 92,14 0С, М = 92,14 г/моль) - 39,43.

Эмпирическое определение пожарных характеристик:

Температура вспышки

,

Для ацетона tвсп. = -18 0С (з.т.)

 = -2918,6 + 19,6∙(tкип.i + 273) = -2918,6 + 19,6∙(56,1 + 273) = 3531,76

Для бутилацетата tвсп. = 29 0С

 = -2918,6 + 19,6∙(tкип.i + 273) = -2918,6 + 19,6∙(126,5 + 273) = 4911,6

Для этанола tвсп. = 13 0С (з.т.)

 = -2918,6 + 19,6∙(tкип.i + 273) = -2918,6 + 19,6∙(78,5 + 273) = 3970,8

Для изобутанола tвсп. = 28 0С

 = -2918,6 + 19,6∙(tкип.i + 273) = -2918,6 + 19,6∙(107,8 + 273) = 4545,08

Для толуола tвсп. = 7 0С

 = -2918,6 + 19,6∙(tкип.i + 273) = -2918,6 + 19,6∙(110,6 + 273) = 4599,96

.

.

.

.

.

ln.

.

.

,2 = 4297,02∙tвсп.см - 15,74

tвсп.см = 5,02 0С

Справочные данные [43]: tвс.спр. = 6 0С

П = 6 - 5,02 = 0,98 0С

%отклон. = |tвс. - tвс.спр.|∙100/tвс.спр. = |5,02 - 6|∙100/6 = 16,33 %

Температура нижнего предела воспламенения

.

Для ацетона tн. = -20 0С

 = -2918,6 + 19,6∙(tкипi + 273) = -2918,6 + 19,6∙(56,1 + 273) = 3531,76

Для бутилацетата tн. = 22 0С

 = -2918,6 + 19,6∙(tкип.i + 273) = -2918,6 + 19,6∙(126,5 + 273) = 4911,6

Для этанола tн. = 11 0С (з.т.)

 = -2918,6 + 19,6∙(tкип.i + 273) = -2918,6 + 19,6∙(78,5 + 273) = 3970,8

Для изобутанола tн. = 26 0С

 = -2918,6 + 19,6∙(tкип.i + 273) = -2918,6 + 19,6∙(107,8 + 273) = 4545,08

Для толуола tн. = 6 0С

 = -2918,6 + 19,6∙(tкип.i + 273) = -2918,6 + 19,6∙(110,6 + 273) = 4599,96

.

.

.

.

.

ln.

.

.

,2 = 4280,64∙tн.см + 15,68

tн.см = -5,04 0С

Справочные данные [43]: tн.см. = -2 0С

П = -5,04 - (-2) = 3,04 0С

%отклон. = |tвс. - tвс.спр.|∙100/tвс.спр. = |-5,04 - (-2)|∙100/2 = 152 %

 

Экспериментальное определение пожарных характеристик:

Температура вспышки

В приборе открытого типа:

t=

Согласно показаниям прибора:

tвс.1 = 6,3 0С

tвс.2 = 6,2 0С

tвс.3 = 6,3 0С

tвс.ср = (tвс.1+ tвс.2+ tвс.3)/3 = (6,3 + 6,2 + 6,3)/3 = 6,27 0С

tвс. =tвс.ср+ ∆t = 6,27 + 0,05 = 6,32 0С

Справочные данные [43]: tвс.спр. = 6 0С

П = 6,32 - 6 = 0,32 0С

%отклон. = |tвс.- tвс.спр.|∙100/tвс.спр. = |6,32 - 6|∙100/6 = 5,33 %

Температура воспламенения

Давление в период проведения опыта равно 101,1 кПа.

t=

Согласно показаниям прибора:

tвос.1 = 6,2 0С

tвос.2 = 6,6 0С

tвос.3 = 6,3 0С

tвос.ср = (tвос.1+ tвос.2+ tвос.3)/3 = (6,2 + 6,6 + 6,3)/3 = 6,37 0С

tвос. =tвос.ср+ ∆t = 6,37 + 0,05 = 6,42 0С

Справочные данные [43]: tвос.спр. = 6 0С

П = 6,42 - 6 = 0,42 0С

%отклон. = |tвос.- tвос.спр.|∙100/tвос.спр. = |6,42 - 6|∙100/6 = 7 %

Температура самовоспламенения

V1(пробы) = 0,07 млt1самовос. = 430 0С

V2(пробы) = 0,75 млt2самовос. = 430 0С

V3(пробы) = 1,00 млt3самовос. = 430 0С

V4(пробы) = 1,25 млt4самовос. = 430 0С

V5(пробы) = 1,50 млt5самовос. = 428 0С

V6(пробы) = 2,00 млt6самовос. = 427 0С

График зависимости температуры самовоспламенения от величины пробы вещества представлен на рисунке 3.2.

Рис. 3.2. График зависимости температуры самовоспламенения от величины пробы растворителя 646

Исходя из графика, оптимальный объем пробы растворителя 646 для определения температуры самовоспламенения является 1,25 мл.

Согласно показаниям прибора:

t1самовос. = 430,5 0С

t2самовос. = 426,1 0С

t3самовос. = 429,2 0С

t4самовос. = 429,5 0С

t5самовос. = 425,2 0С

Два значения различающихся на 5 градусов: t1самовос. = 430,50С и t5самовос. = 425,2 0С.

tсамовос. = (t1самовос. + t5самовос.)/2 = (430,5 + 425,2)/2 = 427,85 0С

Справочные данные: tсамовос.спр. =428 0С

П = 428 - 427,85 = 0,15 0С

%отклон. = |tсамовос.- tсамовос.спр.|∙100/tсамовос.спр. = |427,85 - 428|∙100/428 = 0,04 %

Температура нижнего или верхнего предела воспламенения

Так как растворитель является смесью веществ, то предварительного расчета нижнего и верхнего концентрационного предела распространения пламени по паровоздушным смесям не проводили.

Давление в период проведения опыта равно 101,1 кПа.

Парциальное давление компонента:

,

Справочные данные [43]: tниж.пред.вос.спр. =-2 0С

Справочные данные [43]: tверх.пред.вос.спр. =11 0С

Бензин «Галоша» БР-1

Растворитель БР представляет собой фракцию деароматизованного бензина, получаемую в результате каталитического риформинга, отличающуюся низкой точкой кипения. Состоит из следующих компонентов (%, мольные доли): циклогексан (С6Н12, tкип. = 80,740С, М = 84,16 г/моль) - 9,32, гептан и изомеры (С7Н16, tкип. = 98,42 0С, М = 100,2 г/моль) - 69,55, гексан и изомеры (С6Н14, tкип. = 680С, М = 86,18 г/моль) - 2,28, метилциклогексан (С7Н14, tкип. = 101 0С, М = 98,2 г/моль) - 14, Н-гексан (С6Н14, tкип. = 68 0С, М = 86,18 г/моль) - 2,28, октан и изомеры (С8Н18, tкип. = 125,52 0С, М = 114,23 г/моль)-2,58.

Эмпирическое определение пожарных характеристик:

Температура вспышки

,

Для циклогексана tвсп. = -17 0С

 = -2918,6 + 19,6∙(tкипi + 273) = -2918,6 + 19,6∙(80,74 + 273) = 4014,704

Для гептана tвсп. = -4 0С

 = -2918,6 + 19,6∙(tкип.i + 273) = -2918,6 + 19,6∙(98,42 + 273) = 4361,232

Для гексана и н-гексана tвсп. = -23 0С

 = -2918,6 + 19,6∙(tкип.i + 273) = -2918,6 + 19,6∙(68 + 273) = 3765

Для метилциклогексана tвсп. = -4 0С

 = -2918,6 + 19,6∙(tкип.i + 273) = -2918,6 + 19,6∙(101 + 273) = 4411,8

Для октана tвсп. = 14 0С

 = -2918,6 + 19,6∙(tкип.i + 273) = -2918,6 + 19,6∙(125,52 + 273) = 4892,392

.

.

.

.

.

ln.

.

.

,128 = 4428,06∙tвсп.см + 16,22

tвсп.см = -4,85 0С

Справочные данные [44]: tвс.спр. =-17 0С

П = (-4,85) - (-17) = 12,15 0С

%отклон. = |tвс.- tвс.спр.|∙100/tвс.спр. = |-17 - (-4,85)|∙100/17 = 71,47 %

Температура нижнего предела воспламенения

.

Для циклогексанаtн. = -17 0С

 = -2918,6 + 19,6∙(tкипi + 273) = -2918,6 + 19,6∙(80,74 + 273) = 4014,704

Для гептана tн. = -7 0С

 = -2918,6 + 19,6∙(tкип.i + 273) = -2918,6 + 19,6∙(98,42 + 273) = 4361,232

Для гексана и н-гексана tн. = -26 0С

 = -2918,6 + 19,6∙(tкип.i + 273) = -2918,6 + 19,6∙(68 + 273) = 3765

Для метилциклогексана tн. = -6 0С

 = -2918,6 + 19,6∙(tкип.i + 273) = -2918,6 + 19,6∙(101 + 273) = 4411,8

Для октана tн. = 13 0С

 = -2918,6 + 19,6∙(tкип.i + 273) = -2918,6 + 19,6∙(125,52 + 273) = 4892,392

.

.

.

.

.

ln.

.

.

,128 = 4469,01∙tн.см + 16,37

tн.см = -4,79 0С

Справочные данные [44]: tн.см. = -17 0С

П = (-4,79) - (-17) = 12,21 0С

%отклон. = |tвс.- tвс.спр.|∙100/tвс.спр. = |-17 - (-4,79)|∙100/17 = 71,82 %

Экспериментальное определение пожарных характеристик:

Температура вспышки

В приборе открытого типа:

t=

Согласно показаниям прибора:

tвс.1 = -16,8 0С

tвс.2 = -17,0 0С

tвс.3 = -17,0 0С

tвс.ср = (tвс.1+ tвс.2+ tвс.3)/3 = ((-16,8) + (-17,0) + (-17,0))/3 = -16,93 0С

tвс. =tвс.ср+ ∆t = -16,93 + 0,05 = -16,88 0С

Справочные данные [44]: tвс.спр. =-17,0 0С

П = -16,88 - (-17) = 0,12 0С

%отклон. = |tвс.- tвс.спр.|∙100/tвс.спр. = |(-16,88) - (-17)|∙100/|(-17)| = 0,71 %

Температура воспламенения

Давление в период проведения опыта равно 101,1 кПа.

t=

Согласно показаниям прибора:

tвос.1 = 39,3 0С

tвос.2 = 39,2 0С

tвос.3 = 39,1 0С

tвос.ср = (tвос.1+ tвос.2+ tвос.3)/3 = (39,3 + 39,2 + 39,1)/3 = 39,2 0С

tвос. =tвос.ср+ ∆t = 39,2 + 0,05 = 39,25 0С

Справочные данные [44]: tвос.спр. =39 0С

П = 39,25 - 39 = 0,25 0С

%отклон. = |tвос.- tвос.спр.|∙100/tвос.спр. = |39,25 - 39|∙100/39 = 0,64 %

Температура самовоспламенения

V1(пробы) = 0,07 млt1самовос. = 355 0С

V2(пробы) = 0,75 млt2самовос. = 355 0С

V3(пробы) = 1,00 млt3самовос. = 354 0С

V4(пробы) = 1,25 млt4самовос. = 353 0С

V5(пробы) = 1,50 млt5самовос. = 352 0С

V6(пробы) = 2,00 млt6самовос. = 350 0С

График зависимости температуры самовоспламенения от величины пробы вещества представлен на рисунке 3.3.

Рис. 3.3.График зависимости температуры самовоспламенения от величины пробы бензина БР-1

Исходя из графика, оптимальный объем пробы бензина БР-1 для определения температуры самовоспламенения является 0,75 мл.

Согласно показаниям прибора:

t1самовос. = 354,3 0С

t2самовос. = 354,5 0С

t3самовос. = 353,1 0С

t4самовос. = 351,5 0С

t5самовос. = 349,0 0С

Два значения различающихся на 5 градусов: t2самовос. = 354,5 0С и t5самовос. = 349,0 0С.

tсамовос. = (t2самовос. + t5самовос.)/2 = (354,5 + 349)/2 = 351,75 0С

Справочные данные [44]: tсамовос.спр. =350 0С

П = 351,75 - 350 = 1,75 0С

%отклон. = |tсамовос.- tсамовос.спр.|∙100/tсамовос.спр. = |351,75 - 350|∙100/350 = 0,5 %

Температура нижнего или верхнего предела воспламенения

Так как растворитель является смесью веществ, то предварительного расчета нижнего и верхнего концентрационного предела распространения пламени по паровоздушным смесям не проводили.

Давление в период проведения опыта равно 101,1 кПа.

Парциальное давление компонента:

.

Справочные данные [44]: tниж.пред.вос.спр. =-17 0С

Справочные данные [44]: tверх.пред.вос.спр. =10 0С

Сольвент

Сольвент представляет собой смесь ароматических углеводородов с небольшим содержанием нафтенов, непредельных циклических углеводородов. Сольвент состоит из ароматических углеводородов приблизительно на 56%, а остальное составляют непредельные углеводороды.

Определенного состава нет, поэтому проводить эмпирический расчет пожарных характеристик не целесообразно. Для этого вещества проводили только экспериментальное определение пожарных характеристик.

Экспериментальное определение пожарных характеристик:

Температура вспышки

В приборе открытого типа:

t=

Согласно показаниям прибора:

tвс.1 = 23,3 0С

tвс.2 = 23,3 0С

tвс.3 = 23,3 0С

tвс.ср = (tвс.1+ tвс.2+ tвс.3)/3 = (23,3 + 23,3 + 23,3)/3 = 23,3 0С

tвс. =tвс.ср+ ∆t = 23,3 + 0,05 = 23,35 0С

Справочные данные [43]: tвс.спр. =23 0С


%отклон. = |tвс.- tвс.спр.|∙100/tвс.спр. = |23,35 - 23|∙100/23 = 1,52 %

Температура воспламенения

Давление в период проведения опыта равно 101,1 кПа.

t=

Согласно показаниям прибора:

tвос.1 = 34,7 0С

tвос.2 = 35,1 0С

tвос.3 = 34,8 0С

tвос.ср = (tвос.1+ tвос.2+ tвос.3)/3 = (34,7 + 35,1 + 34,8)/3 = 34,87 0С

tвос. =tвос.ср+ ∆t = 34,87 + 0,05 = 34,92 0С

Справочные данные [43]: tвос.спр. =35 0С

П = 35 - 34,92 = 0,08 0С

%отклон. = |tвос.- tвос.спр.|∙100/tвос.спр. = |34,92 - 35|∙100/35 = 0,23 %

Температура самовоспламенения

V1(пробы) = 0,07 млt1самовос. = 488 0С

V2(пробы) = 0,75 млt2самовос. = 488 0С

V3(пробы) = 1,00 млt3самовос. = 488 0С

V4(пробы) = 1,25 млt4самовос. = 487 0С

V5(пробы) = 1,50 млt5самовос. = 486 0С

V6(пробы) = 2,00 млt6самовос. = 484 0С

График зависимости температуры самовоспламенения от величины пробы вещества представлен на рисунке 3.4.

Рис. 3.4.График зависимости температуры самовоспламенения от величины пробы сольвента

Исходя из графика, оптимальный объем пробы сольвента для определения температуры самовоспламенения является 1,00 мл.

Согласно показаниям прибора:

t1самовос. = 488,5 0С

t2самовос. = 488,1 0С

t3самовос. = 488,4 0С

t4самовос. = 483,3 0С

t5самовос. = 485,5 0С

Два значения различающихся на 5 градусов: t3самовос. = 488,4 0С и t4самовос. = 483,3 0С.

tсамовос. = (t3самовос. + t4самовос.)/2 = (488,4 + 483,3)/2 = 485,85 0С

Справочные данные [43]: tсамовос.спр. =488 0С

П = 488 - 485,85 = 2,15 0С

%отклон. = |tсамовос.- tсамовос.спр.|∙100/tсамовос.спр. = |485,85 - 488|∙100/488 = 0,44 %

Температура нижнего или верхнего предела воспламенения

Так как растворитель является смесью веществ, то предварительного расчета нижнего и верхнего концентрационного предела распространения пламени по паровоздушным смесям не проводили.

Давление в период проведения опыта равно 101,1 кПа.

Парциальное давление компонента:

.

Согласно показаниям прибора:

Справочные данные [43]: tниж.пред.вос.спр. =29 0С

Справочные данные [43]: tверх.пред.вос.спр. = 60 0С

Керосин. Общая формула: С13,595Н26,860. В зависимости от химического состава и способа переработки нефти, из которой получен керосин, в его состав входят:

·              предельные алифатические углеводороды - 20-60 %

·              нафтеновые углеводороды 20-50 %

·              бициклические ароматические 5-25 %

·              непредельные углеводороды - до 2 %

·              примеси сернистых, азотистых или кислородных соединений.

Определенного состава нет, поэтому проводить эмпирический расчет пожарных характеристик не целесообразно. Для этого вещества проводили только экспериментальное определение пожарных характеристик.

Экспериментальное определение пожарных характеристик:

Температура вспышки

В приборе закрытого типа:

Давление в период проведения опыта равно 101,1 кПа.

t=

Согласно показаниям прибора:

tвс.1 = 55,3 0С

tвс.2 = 55,2 0С

tвс.3 = 55,2 0С

tвс.ср = (tвс.1+ tвс.2+ tвс.3)/3 = (55,3 + 55,2 + 55,2)/3 = 55,23 0С

tвс. =tвс.ср+ ∆t = 55,23 + 0,05 = 55,23 0С

Справочные данные [44]: tвс.спр. =55 0С

П = 55,23 - 55 = 0,23 0С

%отклон. = |tвс.- tвс.спр.|∙100/tвс.спр. = |55,23 - 55|∙100/55 = 0,42 %

В приборе открытого типа:

t=

Согласно показаниям прибора:

tвс.1 = 67,8 0С

tвс.2 = 67,7 0С

tвс.3 = 67,6 0С

tвс.ср = (tвс.1+ tвс.2+ tвс.3)/3 = (67,8 + 67,7 + 67,6)/3 = 67,7 0С

tвс. =tвс.ср+ ∆t = 67,7 + 0,05 = 67,75 0С

Справочные данные [44]: tвс.спр. =68 0С

П = 68 - 67,75 = 0,25 0С

%отклон. = |tвс.- tвс.спр.|∙100/tвс.спр. = |67,75 - 68|∙100/68 = 0,37 %

Температура воспламенения

Давление в период проведения опыта равно 101,1 кПа.

t=

Согласно показаниям прибора:

tвос.1 = 85,1 0С

tвос.2 = 85,2 0С

tвос.3 = 84,7 0С

tвос.ср = (tвос.1+ tвос.2+ tвос.3)/3 = (85,1 + 85,2 + 84,7)/3 = 85 0С

tвос. =tвос.ср+ ∆t = 85 + 0,05 = 85,05 0С

Справочные данные [44]: tвос.спр. =84 0С

П = 85,05 - 84 = 1,05 0С

%отклон. = |tвос.- tвос.спр.|∙100/tвос.спр. = |85,05 - 84|∙100/84 = 1,25 %

Температура самовоспламенения

V1(пробы) = 0,07 млt1самовос. = 228 0С

V2(пробы) = 0,75 млt2самовос. = 228 0С

V3(пробы) = 1,00 млt3самовос. = 228 0С

V4(пробы) = 1,25 млt4самовос. = 228 0С

V5(пробы) = 1,50 млt5самовос. = 227 0С

V6(пробы) = 2,00 млt6самовос. = 226 0С

График зависимости температуры самовоспламенения от величины пробы вещества представлен на рисунке 3.5.

Рис. 3.5.График зависимости температуры самовоспламенения от величины пробы керосина

Исходя из графика, оптимальный объем пробы керосина для определения температуры самовоспламенения является 1,25 мл.

Согласно показаниям прибора:

t1самовос. = 226,5 0С

t2самовос. = 223,9 0С

t3самовос. = 227,4 0С

t4самовос. = 228,8 0С

t5самовос. = 228,1 0С

Два значения различающихся на 5 градусов: t2самовос. = 223,9 0С и t4самовос. = 228,8 0С.

tсамовос. = (t2самовос. + t4самовос.)/2 = (223,9 + 228,8)/2 = 226,35 0С

Справочные данные [44]: tсамовос.спр. = 227 0С

П = 227 - 226,35 = 0,65 0С

%отклон. = |tсамовос.- tсамовос.спр.|∙100/tсамовос.спр. = |226,35 - 227|∙100/227 = 0,29 %

Температура нижнего или верхнего предела воспламенения

Так как растворитель является смесью веществ, то предварительного расчета нижнего и верхнего концентрационного предела распространения пламени по паровоздушным смесям не проводили.

Давление в период проведения опыта равно 101,1 кПа.

Парциальное давление компонента:

.

Справочные данные [44]: tниж.пред.вос.спр. =51 0С

Справочные данные [44]: tверх.пред.вос.спр. =95 0С

Все полученные результаты представлены в таблице 3.1.

Исходя из полученных результатов видно, что значения, рассчитанные эмпирическим путем (в таблице 3.1. они указаны в скобках), дают очень большое отклонение по сравнению со значениями найденными экспериментально.

Таблица 3.1. Результаты исследования пожарных характеристик

Р-ль/Хар-ка

Уайт-спирит

Растворитель 646

Сольвент

Керосин

Бензин «Галоша» БР-1


Спр.

Найд.

Откл.

Спр.

Найд.

Откл.

Спр.

Найд.

Откл.

Спр.

Найд.

Откл.

Спр.

Найд.

Откл.

Температура вспышки, 0С

33-36(з.т.), 43 (о.т.)

34,42(з.т.), 42,72(о.т.)

0,08(з.т.), 0,28 (о.т.)

6(о.т.)

6,32 (5,02)

0,32 (0,98)

23(о.т.)

23,35

0,35

55(з.т.), 68(о.т.)

55,23(з.т.), 67,75(о.т.)

0,23(з.т.), 0,25(о.т.)

-17

-16,88 (-4,85)

0,12 (12,15)

Температура воспламенения, 0С

47

47,35

0,35

6

6,42

0,42

35

34,92

0,08

84

85,05

1,05

39

39,25

0,25

Температура самовоспламенения, 0С

250

253,85

3,85

428

427,85

0,15

488

485,85

2,15

227

226,35

0,65

350

351,75

1,75

Температура нижнего предела, 0С

33

-

-

-2

-

-

29

-

-

51

-

-

-17

-

-

Температура верхнего предела, 0С

68

-

-

11

-

-

60

-

-

95

-

-

10

-

-

Из таблицы 3.1. видно, что пожарные характеристики Уайт-спирита найденные экспериментальным путем имеют отклонения от справочных показателей лежат в пределах 0,08 - 3,85 градуса; у Растворителя 646 в пределах 0,1 - 0,42 градуса; у Сольвента в пределах 0,08 - 2,15 градуса; у Керосина в пределах 0,23 - 1,2 градуса и у Бензина «Галоша» БР-1 в пределах 0,1 - 1,75 градуса. Это указывает на очень хорошую сходимость полученных результатов. В отличии от эмпирических, отклонения которых для Растворителя 646 лежали в пределах 9,52 - 15,07 градуса, а для Бензина «Галоша» БР-1 составили 12,21 градус. Что указывает на плохую сходимость результатов эмпирического метода.

Согласно полученным экспериментальным данным все показатели достаточно близки к показателям найденных в справочниках. Это указывает на хорошее качество исследуемых растворителей. Соответственно, всех их можно применять согласно назначению, указанному на этикетке продукта. То есть непосредственно как растворители различных лакокрасочных веществ.

Уайт-спирит состоит из 50 % (мас. доля) углеводородов каждой из групп: парафиновых, изопарафиновых, нафтеновых и ароматических; ароматических углеводородов, 5-25 % (мас. доля) и 0,035% - массовая часть серного компонента.

Растворитель 646. Представляет собой смесь органических растворителей и состоит из следующих компонентов: бутилацетат, ацетон, этанол, изобутанол, толуол.

Состав Сольвента: большая часть (56%) приходится на углеводороды ароматические, немного меньше на непредельные углеводороды - 44% и совсем небольшой процент на парафины и нафтены.

Растворитель БР-1 представляет собой фракцию деароматизованного бензина, получаемую в результате каталитического риформинга, отличающуюся низкой точкой кипения. Состоит из следующих компонентов: циклогексан, гептан и изомеры, гексан и изомеры, метилциклогексан, Н-гексан, октан и изомеры.

В зависимости от химического состава и способа переработки нефти, из которой получен керосин, в его состав входят:

·              предельные алифатические углеводороды - 20-60 %

·              нафтеновые углеводороды 20-50 %

·              бициклические ароматические 5-25 %

·              непредельные углеводороды - до 2 %

·              примеси сернистых, азотистых или кислородных соединений.

.2 Перспективы хранения и применения исследуемых веществ

Как видно из полученных экспериментальных данных из таблицы 3.1 все показатели достаточно близки к показателям найденных в справочниках. Это указывает на хорошее качество исследуемых растворителей. Соответственно, всех их можно применять согласно назначению, указанному на этикетке продукта. То есть непосредственно как растворители различных лакокрасочных веществ.

Полученные данные так же указывают, что растворитель «Сольвент» относится к «Сольвенту каменноугольному марки В», а «Керосин» относится к марке «КО-20».

Исходя из вышесказанного «Уайт-спирит» применим как растворитель лакокрасочных продуктов, при работе с растворителем необходимо одевать соответствующую одежду с защитой на рукавах, респиратор или противогаз с резиновыми перчатками на руках и помещение должно хорошо проветриваться. Растворитель относится к легковоспламеняющимся жидкостям, поэтому недопустимо попадание прямого солнечного света на емкости, так как он накапливает электростатический заряд, который может спровоцировать огнеопасный электрический разряд.

«Растворитель 646» применим как разбавитель лакокрасочных продуктов. Кроме употребления в качестве разбавителя, 646-ой является очень хорошим обезжиривателем, обеспечивает нормализацию процесса образования пленок лакокрасочных материалов, применяется в качестве усилителя блеска поверхности, отлично удаляет старые слои краски и применяется для мытья малярных инструментов и оборудования. Работать с растворителем необходимо в хорошо проветриваемом помещении, с использованием средств индивидуальной защиты: с респиратором, в перчатках. Растворитель относится к легковоспламеняющимся жидкостям, поэтому недопустимо попадание прямого солнечного света, вдали от нагревательных приборов и огня.

«Сольвент» применим как растворитель лакокрасочных продуктов. При работе с сольвентом необходимо использовать индивидуальные средства защиты от попадания паров в организм и жидкого продукта на кожу и слизистые оболочки: фильтрующий противогаз марки А, М и БКФ (при умеренных концентрациях паров), кислородно-изолирующий и изолирующий шланговый противогазы, резиновые перчатки или защитные мази и пасты типа ИЭР, «Миколан», АБ, «Биологические перчатки» и другие, спецодежду из хлопчатобумажной ткани с хлорвиниловым или силикатно-казеиновым покрытием, или со съемными накладками из непроницаемого для растворителей материала. Растворитель относится к легковоспламеняющимся жидкостям, поэтому недопустимо попадание прямого солнечного света, вдали от нагревательных приборов и огня.

«Керосин» применим для обработки металлов и временной защитой от коррозии, основным назначением которого является использование для обезжиривания металлических поверхностей заготовок, деталей, проката, трубопроводов различных систем и другого промышленного оборудования. Керосин может быть применён в нагревательных и осветительных приборах, и для керосино-кислородной сварки и резки металлов с помощью бензореза (керосинореза) для разведения масляных красок, лаков и эмалей. Растворитель относится к легковоспламеняющимся жидкостям, поэтому недопустимо попадание прямого солнечного света, вдали от нагревательных приборов и огня. Работать с растворителем необходимо в хорошо проветриваемом помещении, с использованием средств индивидуальной защиты: с респиратором, в перчатках.

«Бензин «Галоша» БР-1» применим для разбавления красок, эмалей, обезжиривания поверхностей, предназначенных для склеивания. Также Возможно использование данного вида бензина в качестве топлива для каталитических грелок, рекомендуется в качестве топлива для бензиновых паяльных ламп, зажигалок и туристических горелок. Хранение аналогично растворителя «Керосин».

При горении ЛВЖ выделяют теплоту в 10 раз интенсивнее, чем древесина. Пары многих органических растворителей даже при комнатной температуре способны образовывать с воздухом пожаро-взрывоопасные смеси. Опасность применения и хранения органических растворителей зависит от ряда условий - количества и горючести жидкости, температуры, герметичности аппаратуры или тары, наличия источников воспламенения и т.д.

Жидкости, имеющие температуру вспышки выше 61 °С в закрытом тигле или выше 66 °С в открытом тигле и способные гореть после удаления источника зажигания, относятся к ГЖ.

При работе с ЛВЖ следует придерживаться трех основных принципов:

1.      не допускать попадания горючих паров в атмосферу (предотвращать образование пожаровзрывоопасных смесей);

2.      исключать возможность воспламенения при случайном образовании пожаровзрывоопаснон концентрации паров (исключать возникновение источников зажигания);

.        заранее принимать все возможные меры, чтобы последствия аварии, если она все же произойдет, были минимальными.

В лабораторных помещениях не допускается хранение даже небольших количеств ЛВЖ с температурой кипения ниже 50 °С. В конце рабочего дня остатки таких растворителей следует вынести в специальное холодное помещение. Хранение прочих ЛВЖ, в соответствии с нормами, утвержденными руководителем организации, допускается в толстостенных бутылках вместимостью не более 1 л, снабженных герметичными пробками. Бутылки с ЛВЖ помещают в специальные металлические ящики, установленные вдали от источников тепла. Запрещается выливать отходы ЛВЖ в канализацию.

Особую опасность представляет пролив ЛВЖ в лабораторных помещениях. Хотя полностью предотвратить возможность пролива по неловкости невозможно, следует принимать меры, чтобы свести вероятность пролива к минимуму и ограничить количество жидкости, которое может пролиться.

В лабораторию жидкости следует доставлять в плотно закрытых бутылках вместимостью не более 1 л, помещенных в специальную металлическую корзину с ручками. Расфасовку ЛВЖ из больших бутылей производят в специально оборудованных подсобных помещениях. Под приборы, содержащие более 0,5 л ЛВЖ, необходимо помещать кювету, чтобы в случае аварии ограничить площадь растекания жидкости. При необходимости хранения ЛВЖ в тонкостенных емкостях (ампулы, сосуды Шленка) их следует помещать в металлические контейнеры или фарфоровые стаканы, заполненные на 4-5 см песком или асбестовой крошкой.

Необходимо строго следить, чтобы емкости с ЛВЖ не оказались рядом с нагретыми предметами и не освещались прямыми лучами солнца.

При возникновении пожара следует быстро перекрыть источник легковоспламеняющейся или горючей жидкости. Тем самым будет приостановлено поступление горючего вещества к огню, а люди, занятые борьбой с огнем, смогут воспользоваться одним из нижеперечисленных способов тушения пожара. Для этой цели используют слой пены, закрывающий горящую жидкость и препятствующий поступлению кислорода к огню. Кроме того, к районам, где происходит горение, может подаваться пар или углекислый газ. Посредством отключения вентиляции можно уменьшить поступление кислорода к пожару.

Все работы с растворителем в помещении должны проводиться при работающей приточно-вытяжной вентиляции.

Как известно, дым при пожаре является угрозой как для пострадавших, так для сотрудников пожарной охраны и спасателей. Основными причинами человеческих жертв являются не только высокая температура или открытое горение, но и удушье ядовитыми дымовыми газами. Напрашивается вывод, что умелое применение тактической вентиляции является важным инструментом пожаротушения и дымоудаления.

И естественная, и принудительная вентиляция основаны на базовых законах физики, описывающих движение воздушных масс вследствие различия их температуры, плотности, давления и скорости. Но при естественной вентиляции невозможно создать принудительное давление (разряжение) воздуха или оказать значительное влияние на определение отверстий для дымоудаления и, соответственно, задать искомое направление воздушных потоков.

При данном виде вентиляции из зданий с помощью специального оборудования, такого как мобильный вентилятор, вытесняются продукты горения и горячий воздух, при этом, чтобы проветрить все помещение достаточно не так много времени. Обмен воздуха происходит из за разницы в давлении, которое создается мобильным вентилятором (эжектором). При применении такого рода оборудования на пожаре, вы сможете направить потоки воздуха по контролируемы и обозначенным проемам.

Основными целями проведения работ по тактической вентиляции являются:

предотвращение вспышки;

снижение темпов образования и концентрации СО, других токсичных продуктов горения;

понижение температуры;

предотвращение распространения огня и дыма;

предотвращение скопления и удаление водяного пара;

повышение безопасности персонала, занятого непосредственно на тушении пожара, улучшение видимости в зоне работы звеньев по тушению.

При тушении пожаров, связанных с горением легковоспламеняющихся жидкостей, необходимо руководствоваться следующими правилами:

. При небольшом растекании горящей жидкости следует использовать порошковые или пенные огнетушители.

. При значительном растекании горящей жидкости надо применять порошковые огнетушители при поддержке пожарных рукавов для подачи пены или распыленной струи.

. При растекании горящей жидкости по поверхности воды необходимо прежде всего ограничить растекание. Если это сделать удалось, нужно создать слой пены, покрывающий огонь.

Поскольку растворители с низкой температурой вспышки, они легче воды и их распространение по поверхности воды будет способствовать увеличению площади горения, для тушения горящих растворителей вода непригодна. Для тушения пожара, связанного с горением большого количества растворителей, необходимо применять пену. Воду можно использовать, чтобы охладить окружающие поверхности. При возгорании небольших количеств растворителя можно употреблять углекислотные или порошковые огнетушители.

.3 Новые методы тушения пожаров возникающих при воспламенении веществ

Как уже указывалось ранее, все пять исследуемые растворители относятся к легковоспламеняющимся жидкостям. Для тушения пожаров возникающих в результате возгорания растворителей применяют воздушно-механическую пену и порошки.

При возникновении пожара следует быстро перекрыть источник легковоспламеняющейся или горючей жидкости. Тем самым будет приостановлено поступление горючего вещества к огню, а люди, занятые борьбой с огнем, смогут воспользоваться одним из нижеперечисленных способов тушения пожара. Для этой цели используют слой пены, закрывающий горящую жидкость и препятствующий поступлению кислорода к огню. Кроме того, к районам, где происходит горение, может подаваться пар или углекислый газ. Посредством отключения вентиляции можно уменьшить поступление кислорода к пожару.

При тушении пожаров, связанных с горением легковоспламеняющихся жидкостей, необходимо руководствоваться следующими правилами:

. При небольшом растекании горящей жидкости следует использовать порошковые или пенные огнетушители либо распыленную струю воды.

. При значительном растекании горящей жидкости надо применять порошковые огнетушители при поддержке пожарных рукавов для подачи пены или распыленной струи. Защиту оборудования, находящегося под воздействием огня, следует осуществлять с помощью струи воды

. При растекании горящей жидкости по поверхности воды необходимо прежде всего ограничить растекание. Если это сделать удалось, нужно создать слой пены, покрывающий огонь. Кроме того, можно пользоваться распыленной струей воды большого объема.

Поскольку растворители с низкой температурой вспышки, они легче воды и их распространение по поверхности воды будет способствовать увеличению площади горения, для тушения горящих растворителей вода непригодна. Для тушения пожара, связанного с горением большого количества растворителей, необходимо применять пену. Воду можно использовать, чтобы охладить окружающие поверхности. При возгорании небольших количеств растворителя можно употреблять углекислотные или порошковые огнетушители.

Кроме указанных средств тушения можно применить пенопорошок. Он состоит из сухих солей сернокислого алюминия или бикарбоната натрия и лакричного экстракта или другого пенообразующего вещества. При взаимодействии с водой сернокислый алюминий или бикарбонат натрия и пенообразователь растворяются и вступают в реакцию, образуя диоксид углерода. В результате выделения большого количества диоксида углерода получается устойчивая пена. При растекании химической пены образуется весьма устойчивый, мало разрушающийся под действием пламени слой толщиной 7-10 см. Химическая пена не взаимодействует с нефтепродуктами и образует плотный покров, не пропускающий паров жидкости.

Так же можно применить инертные разбавители, такие как азот или диоксид углерода. Азот является хладагентом, а диоксид углерода как ингибитор, поскольку его избыток смещает процесс горения в обратную сторону - образование исходных веществ, что и ведет к прекращению пожара.

В частности для обеспечения надежности ликвидации горения растворителя 646 пенообразователями типа AFFF необходимо увеличить интенсивность подачи пены принятую для тушения углеводородных горючих жидкостей и время тушения. Интенсивность подачи пены должна увеличиваться на 10% с увеличением содержания спирта в топливе на каждые 5%. Время тушения должно увеличиваться вдвое с увеличением содержания спирта в топливе на каждые 10% [47].

Очень практично является применение пенообразователя «Многоцелевого» на биологически разлагаемой основе, что значительно снижает негативное воздействие сбросов пенообразователя на окружающую среду при тушении пожаров [48]. Конечно же, на предприятиях производителей исследуемых растворителей необходимо применение автоматических установок пожаротушения, в основе состава которых будут входить вещества для тушения пожаров перечисленные выше.

Таким образом, можно предложить следующие предложения по совершенствованию мер пожарной безопасности при работе с исследуемыми растворителями:

усовершенствовать технологию изготовления емкостей для хранения растворителей, с целью минимизации вероятности воспламенения и самовоспламенения жидкостей;

тушить растворители водой категорически запрещено, но воду можно использовать на охлаждение окружающих, нагретых поверхностей;

кроме общепринятых средств тушения можно применять новые, такие как пенообразователь «Многоцелевой», с целью уменьшения экологического ущерба при тушении пожара;

для растворителя 646 для обеспечения надежности ликвидации горения пенообразователями типа AFFF необходимо увеличить интенсивность подачи пены, таким образом, достигается максимальный эффект;

на производствах, где изготавливают или применяют растворители ввести обязательное применение автоматических установок пожаротушения.

Отображены результаты определения пожарных характеристик исследуемых растворителей. Полученные результаты указывают на то, что значения, рассчитанные эмпирическим путем, дают очень большое отклонение по сравнению со значениями найденными экспериментально. Это, скорее всего, связано с тем, что в справочной литературе не указаны температуры воспламенения для открытого тигля на каждое составляющее вещество. Для некоторых составляющих компонентов указывается температура воспламенения без обозначения в открытом или закрытом тигле.

Полученные данные указывают на то, что растворитель «Сольвент» относится к «Сольвенту каменноугольному марки В», а «Керосин» относится к марке «КО-20». Перечислены сферы применения исследуемых растворителей исходя из полученных экспериментальных данных. Перечислены правила техники безопасности при тушении пожаров вызванных воспламенением растворителей. А так же предложены новые методы тушения пожара вызванного воспламенением исследуемых растворителей.

Заключение

.        Изучен литературные данные по растворителям. Установлено, что наиболее распространенными растворителями являются растворители на основе алифатических и ароматических углеводородов;

.        Проведены эмпирические и экспериментальные определения основных характеристик пожароопасности растворителей. Исходя из полученных результатов видно, что значения, рассчитанные эмпирическим путем, дают очень большое отклонение по сравнению со значениями найденными экспериментально;

.        Дана оценка пожарных характеристик выбранных растворителей на основании полученных данных. Все исследуемые растворители обладают хорошим качеством. Растворитель «Сольвент» относится к «Сольвенту каменноугольному марки В», а «Керосин» относится к марке «КО-20»;

.        Предложены рекомендации по работе с данными растворителями.

.        Кроме указанных в справочниках средств тушения пожаров при воспламенении исследуемых растворителей, такие как распыленная вода, воздушно-механическая пена и порошки, предложены следующие средства: пенопорошки и инертные разбавители (азот и диоксид углерода).

Список использованной литературы

1.      Гуляев А.П. Материаловедение. - М.: Металловедение, 1986 . - 542 с.

2.      Рыбьев И.А. Общий курс о строительных материалах. Учебник для вузов. Москва. 1987. - 432 с.

3.      Радченко, С. А. Охрана труда: учебное пособие / С. А. Радченко, М. С. Петрова, А. Н. Сер-геев, С. С. Радченко, И. В. Лазарев, И. В. Долгополов, П. Н. Медведев. - Тула: Изд-во ТулГУ, 2015. - 328 с.

.        Рудаков О.Б., Д.С. Беляев, Паринов Д.Б., Рудакова Л.В. Обобщенный критерий химической и пожарной безопасности сольвентов // Пожарная безопасность, 2005, №6, с. 81-85.

5.      Jouyban A., Fathi Azarbayjani A., Barzegar-Jalali M., Acree W. E. Correlation of surface tension of mixed solvents with solvent composition // Pharmazie. 2004. V.59, № 12. c. 937-941.

.        Рудаков О.Б., Черепахин A.M., Исаев А.А., Рудакова Л.В., Калач А.В. Температура вспышки бинарных растворителей для жидкостной хроматографии // Конденсированные среды и межфазные границы, т. 13, № 2, 2011, с. 191-195.

.        Актуальные проблемы строительства, ЖКХ и техносферной безопасности [Электронный ресурс] : материалы II Всероссийской научно-технической конференции молодых исследователей (с международным участием), 20-25 апреля 2015 г., Волгоград / М-во образования и науки Рос. Федерации, Волгогр. гос. архит.-строит. ун-т; под общ. ред. Н.Ю. Ермиловой. - Электронные текстовые и графические данные (8,5 Мбайт).- Волгоград : ВолгГАСУ, 2015. - с. 140-143.

.        Токсикологическая химия: учебник для студентов фармацевтических вузов и факультетов / Т. Х. Вергейчик ; под ред. проф. Е. Н. Вергейчика. - М. : МЕДпресс-информ, 2009. - 399 с.

.        Токсикологическая химия: метаболизм и анализ токсикантов : учеб. пособие для мед. и фармацевт. вузов / Е. Ю. Афанасьева и др.; под ред. Н. И. Калетиной. - М. : ГЭОТАР-Медиа, 2008. - 1015 с.

.        Токсикологическая химия: учеб. для [мед.] вузов / Т. В. Плетенева и др. ; под ред. Т. В. Плетеневой. - М. : ГЭОТАР-Медиа, 2005. - 509 с.

.        Практикум по фармацевтической химии: методическое пособие по специальности 060108 «Фармация» / сост. А.И. Сливкин, Т.А. Брежнева, Е.Ф. Сафонова . - Воронеж : Воронежский государственный университет, 2006. - 129 с.

.        Токсикологическая химия. Аналитическая токсикология: учебник/Под ред. Р.У. Хабриева, Н.И. Калединой. - М.: ГЭОТАР-Медиа, 2010.- 752 с.

.        Кутяков В. А. Токсикологическая химия. Лабораторный практикум: учеб. пособие/В. А. Кутяков. - Красноярск : КрасГМУ, 2012. - 296 с.

.        Избранные лекции по токсикологической химии. Учебное пособие подготовлено к изданию на кафедре токсикологической химии ГОУ ВПО ПГФА Росздрава д о ц е н т а м и Т.Л. Малковой, Н.В. Кокшаровой, Е.В. Метелевой, Е.Н. Козьминых, старшими преподавателями Л.Н.Карповой, О.Н Дворской. - Пермь., 2005. - 153 с.

.        Дринберг С.А., Изко Э.Ф. Растворители для лакокрасочных материалов: Справочное пособие. - М.: Химия. - 1986. - 208 с.

.        Храмцова А.Л., Прохода И.А., Глотова В.Н. Регенерация этилацетата и бу тилацетата из маточника лактида // Химия и химическая технология в XXI веке, 2013.- Т.1.- №1.- C.189-191.

.        Горлова Н.Н. Разработка технологии очистки воды и рекуперации растворителей на промышленных предприятиях: Дисс. канд.техн.наук. -Барнаул, 2001.-144 с.

.        Лазуткина Ю.С., Мироненко И.В., Мелинг Е.Д. Изучение физико-химических свойств смеси органических растворителей при переработке отходов толуола: Ползуновский вестник. № 3. 2014. - с. 251-253.

.        Химический энциклопедический словарь / Гл. ред. И.Л. Кнунянц. -М.: Сов. энцикл., 1983. -792 с.

.        Райхардт К. Растворители в органической химии. -Д.: Химия, 1973. -150 с.

.        Рид P., Праусниц Дж., Шервуд Т. Свойства газов и жидкостей. -Д.: Химия, 1982.-592 с.

22.    Проскуряков В.А. Химия нефти и газа / В.А. Проскуряков, А.Е. Драбкин. Л.: Химия, 1981. -359с.

23.    Максютина Н.П., Ф.Е. Каган, Л.А. Кириченко, Митченко Ф.А. Метан. М., 2003. - 684с.

.        Роговин З.А. Основы химии. - М: Химия, 2001. - 739с.

.        Сорокин М.Ф. Химия. - М.: Химия, 2003. - 537с.

.        Химия: Справочное издание / В. Шретер. М.: Химия, 1989. - 448 с.

.        Шестакова К. С., Касьянова А. А. Химия. - М: Легкая индустрия, 2001,-528 с.

.        Дж. Марч. Органическая Химия. Реакции, механизмы и структура. М.: «Мир», 1987. - 387 с.

.        Керри Ф., Сандберг Р. Углубленный курс органической химии. М.: «Химия», 1981. - 672 с.

.        Шабаров Ю. С. Органическая химия. М.: «Химия», 1994. Т.1. - 455 с.

.        Зык Н.В., Белоглазкина Е.К. Ароматичность и ароматические углеводороды. М.: «Колосс», 2005. - 233 с.

.        Терней А. Современная органическая химия. М.: Мир, 1981. Т.1. - 344 с.

.        Грандберг. И.И. Органическая химия. М.: «Высшая школа»,1980. - 320 с.

34.    Sack R., Soder W. // Chem. Techn. 1970. Bd. 22. N 11. S. 687.

.        Чуприн И. Ф., Жоров Ю. М., Чеховский Р. А. и др. // Химия и технология топлив и масел. 1977. № 5. С. 36-38.

.        Шебеко Ю. Н., Иванов А. В., Дмитриева Т. М. // Горение и проблемы тушения пожаров: Тезисы 6-ой Всесоюзной научно-практ. конференции. - М.:ВНИИПО, 1979. С. 18-20.

.        Федотова А. М. Лакокрасочные материалы и их применение. 1972. № 4. С. 79-81.

.        Ушанова Н.П., Корольченко А. Я., Цветков М. Н. и др. Пожарная опасность веществ, применяемых в химической промышленности // Серия: Пожарная опасность веществ и материалов. - М.: ВНИИПО, 1978. Вып. 2. C. 9.

.        Туранов В. П., Шевякова Е. Ю. // Пожаровзрывоопасность веществ и материалов. - М.: ВНИИПО, 1980. Вып. 3. С. 129-132.

.        Таубкин С. И. Пожарная опасность одноатомных спиртов (алифатических)//Серия: Пожарная опасность веществ и материалов. - М.: ВНИИПО, 1971. Вып. 47. - 18 с.

.        Смирнова Н.П. Пожарная опасность веществ и материалов // Серия: Пожарная опасность веществ и материалов. - М.: ВНИИПО, 1970. Вып. 36. C.7.

.        Пожаровзрывоопасные свойства химических веществ: Рекомендательныйматериал. - Северодонецк: ВНИИТБХП, 1979. - 55 с.

.        Корольченко А. Я., Корольченко Д. А. Пожаровзрывоопасность веществ и материалов и средства их тушения. Справочник: в 2-х ч. - 2-е изд., перераб. и доп. - М.: Асс. "Пожнаука", 2004. - Ч. 2. - 774 с.

.        Корольченко А. Я., Корольченко Д. А. Пожаровзрывоопасность веществ и материалов и средства их тушения. Справочник: в 2-х ч. - 2-е изд., перераб. и доп. - М.: Асс. "Пожнаука", 2004. - Ч. I. - 713 с.

.        Расчет основных показателей пожаровзрывоопасности веществ н материалов: Руководство. - М.: ВНИИПО, 2002. - 77 с.

.        Долгов П. В. Использование огнетушащих средств и тактико-технических приемов при тушении пожаров/П. В. Долгов, М. К. Дюсебаев, Г. А Аубакиров//Архитектура и строительство в новом тысячелетии: тр. Междунар. научн.-практ. конф. - Алматы: КазНТУ, 2009. - С. 626-628.

.        Битуев Б.Ж. Тушение спиртосодержащих топлив фторсинтетической пеной [Текст] / Битуев Б.Ж., Дешевых Ю.И., Воевода С.С., Макаров С.А. М.: Изд-во Академии ГПС МЧС России, 2009. С. 47-53.

.        Плотников, В. М. Противопожарная защита резервуаров с легковоспламеняющимися жидкостями / В. М. Плотников, Г. А. Аубакиров // Вестник ГУ Кокшетауского технического института МЧС РК. - 2012. - № 4 (8). - С. 51-55.

.        ГОСТ 12.1.044-89. ПОЖАРОВЗРЫВООПАСНОСТЬ ВЕЩЕСТВ И МАТЕРИАЛОВ, номенклатура показателей и методы их определения

Похожие работы на - Исследование пожароопасных свойств растворителей лакокрасочных материалов на основе алифатических и ароматических углеводородов и разработка предложений по совершенствованию мер пожарной безопасности при работе с ними

 

Не нашли материал для своей работы?
Поможем написать уникальную работу
Без плагиата!
Без нейросетей!