Изготовление интегрально-оптических разветвителей в стеклянных подложках
Министерство образования и науки Российской
Федерации
Федеральное государственное бюджетное
образовательное учреждение
высшего профессионального образования
"Кубанский государственный
университет" (ФГБОУ ВПО "КубГУ")
Физико-технический факультет
Кафедра оптоэлектроники
Курсовая
работа
Изготовление
интегрально-оптических разветвителей в стеклянных подложках
Работу выполнил
Волошин Николай Анатольевич
специальность 210401 - Физика
и техника оптической связи
Научный руководитель
к.т.н., профессор В.А. Никитин
Нормоконтролер инженер
И.А. Прохорова
Краснодар
2014
Реферат
Курсовая работа 39 с., 17 рис., 7 источников.
Разветвитель оптических сигналов,
термооптические переключатели, полоса пропускания, селекция длин волн,
термическое вакуумное напыление, фотолитография, числовая апертура.
Объектом исследования данной курсовой работы
являются интегрально-оптические разветвители, изготавливаемые в стеклах.
Целью работы является изготовление интегральных
разветвителей оптического излучения в стеклянных подложках.
В результате выполнения курсовой работы были
рассмотрены различные типы разветвителей оптических сигналов, выполнен
необходимый литературно-патентный поиск по конструкциям, методам изготовления и
свойствам интегрально-оптических разветвителей. Подробно описана технология
изготовления интегрально-оптических разветвителей в стеклянных подложках и
методика измерения их геометрических параметров и числовых апертур.
Содержание
Введение
.
Пассивные элементы ВОЛС
.1
Волоконно-оптические ответвители и разветвители
.2
Звездообразные разветвители
1.3
Волоконно-оптические переключатели
.4
Термооптические переключатели
2.
Концепции разветвителей и элементов ветвления
3.
Центральная длина волны и полоса пропускания
.
Технология изготовления оптических разветвителей
.
Различные типы оптических делителей и разветвителей
.
Изготовление интегрально-оптических разветвителей в стеклах
Заключение
Список
использованных источников
Введение
Одно из направлений дальнейшего
совершенствования информационно-измерительных систем связано с использованием
волоконных световодов в качестве физической среды передачи измерительной
информации. При этом обеспечивается целый ряд новых качеств по сравнению с
системами на основе электрических кабелей, основными из которых следует считать
высокую информационно-пропускную способность, широкополосность и
помехозащищенность. При построении волоконно-оптических средств передачи
информационно-измерительных систем часто возникают задачи разделения и
объединения потоков оптического излучения, передаваемого по оптическому
волокну. Для реализации данной функции необходимы специальные
волоконно-оптические устройства -оптические разветвители/объединители (далее
разветвители). В зависимости от назначения системы требуются различные типы
разветвителей, отличающиеся числом входных и выходных оптических полюсов
(каналов), типом используемого оптического волокна, требованиями к условиям
эксплуатации. Среди используемых разновидностей волоконно-оптических средств
передачи значительная их часть строится на основе многомодового оптического
волокна с применением разветвителей с матрицей передачи 1 и N×N
(N - число входных/выходных оптических полюсов) с числом полюсов до N= 32.
Одна из проблем - создание надежных
разветвителей, устойчивых к внешним воздействующим факторам, характерным для
условий работы аппаратуры в составе информационно-измерительных систем
подвижных объектов: наземных транспортных средств, аэрокосмических аппаратов,
морских надводных и подводных кораблей.
Стабильность характеристик разветвителей в
условиях эксплуатации в значительной степени зависит от способа формирования их
световодной структуры. Выпускаемые рядом ведущих зарубежных фирм (AMP, FOCI,
Global Opticom и др.) оптические разветвители, в основном предназначенные для
систем телекоммуникаций, изготавливаются путем сплавления и биконической
перетяжки пучка оптических волокон. При этом биконический участок в зоне
сплавления должен находиться в среде с показателем преломления меньшим, чем у
кварцевой светоотражающей оболочки. Для многомодовых разветвителей такой средой
является, как правило, воздух и такая незащищенная волоконная структура может
подвергаться деградации в процессе внешних механических воздействий: вибраций и
ударов.
Одним из путей решения данной проблемы является
формирование участка оптической связи между волокнами в разветвителе в виде
монолитного световодного элемента, выполняющего функцию световодного смесителя.
Указанная структура имеет повышенную механическую прочность и может быть
полностью защищена от воздействия внешних факторов. Форма световедущей области
такой структуры в значительной степени определяет оптические характеристики
разветвителя. Достаточно малые вносимые потери можно получить при использовании
в качестве смесительного элемента слоевых световодов планарной или кольцевой
геометрии с толщиной световедущего слоя приблизительно равной диаметру
сердцевины соединяемых с ними оптических волокон. При создании многомодовых
разветвителей 1x2 и 2x2 перспективными являются планарные структуры на основе
канальных оптических волноводов.
Перечисленные обстоятельства определяют
актуальность курсовой работы, направленной на изучение и обзор технологических
процессов изготовления оптических разветвителей на основе планарных световодных
структур для применения в информационно-измерительных системах.
Целью работы является изготовление интегральных
разветвителей оптического излучения в стеклянных подложках.
1. Пассивные элементы ВОЛС
В оборудовании для ВОСП, в измерительной технике
для метрологического обеспечения, в оптических сетях доступа широко
используются пассивные оптические дискретные элементы и устройства. Пассивные
участки оптических сетей доступа - ПОС полностью основаны на использовании
таких элементов и устройств. Под пассивными дискретными оптическими устройствами
или элементами следует понимать такие элементы или устройства, коэффициент
передачи которых меньше единицы и они для выполнения своих функций не требуют
подведения электрического питания. К пассивным дискретным оптическим
устройствам относятся: оптические ответвители и разветвители, оптические
переключатели и коммутаторы, оптические изоляторы и циркуляторы, поляризаторы,
коллиматоры, оптические мультиплексоры / демультиплексоры, оптические
модуляторы, оптические соединители, адаптеры и аттенюаторы и ряд других
устройств.
.1 Волоконно-оптические ответвители и
разветвители
Волоконно-оптические ответвители и в особенности
разветвители, наряду с оптическими кабелями, являются основными элементами
пассивных оптических сетей доступа (ПОС), получающих все большее применение.
Это главный элемент древовидной топологии ПОС (точка - много точек).
Ответвители по большей части применяются в системах и устройствах контроля
параметров и управления оборудованием и систем ВОСП, а также в измерительных
приборах для ВОСП, в особенности в оптических рефлектометрах. В соответствии с
названием, оптические ответвители выполняют функцию ответвления части энергии
светового потока с заданным коэффициентом ответвления. В волноводной технике (а
оптическое волокно - это волновод оптического диапазона) ответвители называются
направленными, потому что ответвление происходит только при распространении
оптического излучения в прямом направлении. При распространении излучения в
обратном направлении ответвления не происходит, хотя при этом в точке
ответвления часть энергии теряется. В настоящее время существует два типа
направленных ответвителей: ответвители Х-типа и Y-типа. Широкое применение
получили ответвители Х-типа. На рисунке 1(а) представлена схема такого
направленного ответвителя.
Рисунок 1 - Направленный ответвитель Х-типа (а)
и разветвитель Y-типа (б)
Ответвитель Х-типа изготовляется из двух
отрезков оптических волокон. На некоторой длине L у каждого из волокон
сошлифовывается часть рабочей оболочки (или удаляется травлением), после чего
оба волокна сплавляются с помощью сварочного аппарата. В результате такой
технологической операции сердечники волокон располагаются параллельно на длине
L. В зависимости от расстояния Н между центрами сердечников ОВ и длины L между
волноводами происходит взаимодействие, выражающееся в том, что на определенном
расстоянии от точки А в направлении точки Б энергия мод волновода В1 переходит
в волновод В2, при дальнейшем распространении она возвращается в волновод В1.
На некоторой про межуточной длине L мощность излучения распределяется поровну в
обоих каналах. Величина L зависит от зазора Н и от длины волны излучения.
Наиболее часто ответвитель типа X выполняется для этого последнего случая, т.
е. для режима деления входной мощности на две равные части, хотя для устройств
контроля изготовляют и такие Х-ответвители, у которых коэффициент ответвления
может составлять менее 10%.
Не менее широкое применение находит второй тип
ответвителей - ответвитель типа Y. Схема его устройства представлена на
рисунке1(б). Этот ответвитель в подавляющем большинстве случаев используется
как делитель мощности на две части (которые могут быть не равными), поэтому он
чаще называется разветвителем. Этот тип разветвителя является базовым для
изготовления многоканальных матричных разветвителей и различных
интерферометров.
Оба типа ответвителей характеризуются следующими
параметрами:
коэффициент передачи:
= Р2/Р1 или k12= 101gP2/P1 дБ;= Р3/Р1 или k13 =
101gP3/P1 дБ; k13=k31
коэффициент развязки (изоляции), или переходное
затухание:
= k32 = 10 lgP21/P31
Этот параметр определяет ту часть энергии,
которая проникает, например, в плечо 3 при вводе излучения в плечо 2 или
наоборот - в плечо 2 при вводе энергии в плечо 3. При этих измерениях торец общего
плеча (канала 1) должен помещаться в кювет с иммерсионной жидкостью с
показателем преломления, равным показателю преломления сердечника ОВ. Эта
операция необходима для исключения внутреннего отражения света от торца при
вводе его в одно из боковых плеч. В случае с Х-ответвителем также поступают и с
плечом 4. Часто в качестве иммерсионной жидкости используется обычный
обезвоженный глицерин, показатель преломления которого n2 = 1. 478, хотя для
этих целей созданы специальные гели.
Третий параметр - коэффициент вносимых потерь
Kвн= 
(1)
Для Х-ответвителя при измерении
этого параметра вход 4 также помещается в иммерсионную среду. Современные
ответвители и разветвители Y-и Х-типов имеют вносимые потери квн = 0,1...0,5
дБ.
Еще одним примером использования
Y-разветвителей может служить волоконно-оптический блок (ВОБ). Блок
предназначен для ввода-вывода оптических сигналов в локальных сетях связи. На
рисунке 2 представлена схема блока.
Рисунок 2 - Схема волоконно-оптического блока
(ВОБ)
Рисунок 3 - Схема включения ВОБ в сеть
Из схемы видно, что блок состоит из шести
соединенных между собой разветвителей Y-типа. Стрелками показаны пути
оптических сигналов. На рисунке 3 показана схема включения блока в локальной
сети. Из пункта П (рисунок 3) сигнал поступает на вход А блока ВОБ и вводится
при этом в общее плечо разветвителя 1. Одно из его боковых плеч является также
и боковым плечом разветвителя 2, общее плечо которого соединено с выходом блока
В. Второе боковое плечо разветвителя 1 является также боковым плечом
разветвителя 5, а второе боковое плечо разветвителя №2 - боковым плечом
разветвителя 6. Разветвители 3 и 4 соединены в соответствии со схемой
аналогично разветвителя 1 и 2. Потери энергии в блоке при передаче сигналов из
входа А ко входу В и F, а также аналогичные переходы между остальными портами
не превышают 6,5 дБ.
Описанный блок (ВОБ) может быть успешно
использован для ввода/вывода информации в оптических сетях с применением
технологии спектрального уплотнения. В ряде случаев он может заменить сложный и
дорогой, требующий электропитания оптический мультиплексор/демультиплексор в
пунктах ввода/вывода информации [1].
.2 Звездообразные разветвители
Звездообразные разветвители имеют больше четырех
портов. Существуют два типа таких разветвителей: звездообразный разветвитель
передающего типа и звездообразный разветвитель отражающего типа. Звездообразный
разветвитель передающего типа показан на рисунке 4.
Рисунок 4 - Звездообразный разветвитель
передающего типа
Световой поток, поступающий на один из входных
портов звездообразного разветвителя передающего типа, разветвляется на все
выходные порты равномерно. Например, на рис. 9, свет, поступающий на входной
порт Е, разветвляется на выходные порты G, H, I, J, К и L.
Существуют направленные ответвители с топологией
дерева и ветви с коэффициентом расщепления 1xN, 2x2. Направленность достигается
с одним основным портом ввода-вывода и двумя ответвленными портами ввода-
вывода. Основное волокно (ствол дерева) может передавать оптическую мощность в
двух направлениях. Ответвленные порты при этом являются однонаправленными -
оптическая мощность направляется в них к основному или от основного волокна
[2].
.3 Волоконно-оптические переключатели
Изменение архитектуры волоконно-оптических
сетей, оперативная маршрутизация в сетях доступа и локальных системах ВОСП
невозможны без быстрой и эффективной коммутации оптических информационных
потоков. Эта коммутация осуществляется с помощью волоконно-оптических
переключателей. Существует довольно большое количество типов
волоконно-оптических переключателей: электромеханические, термооптические,
акустооптические, электрооптические и переключатели с управлением оптическим же
сигналом, основанные на нелинейных явлениях.
Принцип действия электромеханических волоконных
переключателей аналогичен работе обычных электромагнитных реле: на неподвижной
части реле под некоторым углом расположены два торца оптических волокон.
Напротив торца одного из них на подвижной части реле закреплен конец подвижного
ОВ торцом, расположенным соосно с упомянутым выше неподвижным ОВ. Вообще
существует большое разнообразие электромеханических переключателей оптических
волокон, которые в данной работе рассмотреть нет возможности. С точки зрения
потерь эти переключатели имеют неплохие параметры: коэффициент передачи
-0,3-1,5 дБ, развязка >60 дБ, малая потребляемая мощность - 2-20 мВт.
Недостаток таких переключателей - низкое
быстродействие, чувствительность к внешним воздействиям, особенно к вибрациям,
относительно большие габариты и невозможность применения в
интегрально-оптических устройствах. Тем не менее этот тип волоконно-оптических
переключателей находит достаточно широкое применение.
Все большее распространение приобретают
термооптические, акустооптические и электрооптические переключатели.
.4 Термооптические переключатели
Этот тип переключателей основан на нескольких
принципах работы. На рисунке 5 представлена схема такого переключателя.
Рисунок 5 - Термооптический переключатель
Он состоит из следующих элементов. Световод 1,
являющийся общим каналом, имеет, как обычно, сердцевину и оболочку и расположен
соосно со световодом 2. Плоскость выходного торца световода 1 наклонена к оси
под углом (у - к)/2 - φ, плоскость
входного торца световода 2 нормальна к его оси. Рядом со световодом 2
расположен световод 3. Его ось наклонена к оси световодов 1 и 2 под некоторым
углом а. Как и для световода 2, входной торец световода 3 плоский и нормальный
к оси. Из схемы видно, что выходной торец световода 1 расположен на некотором
расстоянии от входных торцов световодов 2 и 3 и образует промежуток. Нижняя
часть промежутка заполнена иммерсионной жидкостью 4, показатель преломления
которой n' подбирается равным показателю преломления сердечника ОВ - π,.
Количество
жидкости должно быть таким, чтобы ее поверхность была ниже сердцевины
световодов.
Оставшийся промежуток заполнен сжатым воздухом с
давлением -1,1... 1,2 атм. Принцип действия коммутатора состоит в следующем.
Излучение, проходя через сердечник световода 1 и преломляясь на его выходном
торце под углом φ 2, падает
нормально на входной торец световода 3 и с учетом отражения при нормальном падении
(-4%) вводится в него и, распространяясь по световоду 3, выходит из его
выходного торца. При нагревании жидкость 4 расширяется и, если температура
нагрева достаточна, заполняет промежуток между выходным торцом световода 1 и
входным торцом световода 2. Поскольку показатель преломления жидкости
приблизительно равен показателю преломления сердечников световодов 1 и 2, среда
вдоль всей оси становится оптически однородной и поток, введенный в световод 1,
выходя из его выходного торца, не преломляется и проходит через световод 2.
После снятия нагрева сжатый воздух выталкивает жидкость в прежнее состояние и
световой поток отклоняется в исходное положение. Отметим, что при размерах
световодов, принятых в технике волоконно-оптической связи, т.е. при внешнем диаметре
d2 = 125 мкм и диаметре сердцевины 10-50 мкм, величина промежутка равна одному
диаметру сердечника. При таких размерах промежутка неизбежно действие
капиллярного эффекта, в результате которого пространство между сердечниками
может заполниться жидкостью. Избыточное давление воздуха в остальном
пространстве промежутка способствует решению двух задач - устранению
капиллярного эффекта и ускорению вытеснения жидкости 4 в исходное положение
после прекращения нагревания, т.е. повышению быстродействия коммутатора.
Отметим, что для достижения работоспособности
описанного коммутатора нет необходимости доводить жидкость до испарения. Чтобы
жидкость от первоначального уровня увеличила свой объем до верхнего уровня,
перекрывающего зазор между сердечниками световодов 1 и 2, достаточно повысить
ее температуру до 50-70°С. Время для этого повышения не превысит 50-100 нс при
энергии тепловых импульсов не более 10 мкДж.
Рассмотрим другой вариант термооптического
волоконного переключателя. На рисунке 6 представлена схема устройства такого
коммутатора, который выполнен из трех различных оптических волокон с
одинаковыми геометрическими параметрами.
По типу он соответствует Y-разветвителю, у
которого общее плечо 1 выполнено из обычного кварцевого волокна, состоящего из
сердечника с показателем преломления n, и оболочки с показателем преломления
n2, причем, n1 > n2. Торец этого волокна в области соединения с волокном
верхнего 2 и нижнего бокового плеча 3 сошлифован, как показано на чертеже, с
двух сторон в виде остроугольной "крыши" с углом при вершине φ.
Торцы
волокон 2 и 3 сошлифованы под углом φ каждое
с одной стороны и состыкованы с остроугольным торцом волокна общего плеча 1,
например, методом спекания (см. рисунок 6). При температуре, выбранной в
качестве исходной, показатель преломления n1 > n3 = n2 и n1 = n4.
Рисунок 6 - Термооптический волоконно-оптический
переключатель
Однако температурные коэффициенты приращения
показателей преломления должны быть в соотношениях β3
> β1 |β1| < | β4|,
а температурный коэффициент приращения показателя преломления n4 должен при
этом иметь отрицательный знак. Таким образом, при повышении температуры
устройства показатель преломления n3 должен возрастать быстрее, чем n1 а
показатель преломления n4 должен при этом уменьшаться. При повышении
температуры n2 всегда должен быть меньше, чем n1, n3и n4.
Принцип работы коммутатора состоит в следующем.
В исходном состоянии при соблюдении указанных выше условий излучение, введенное
во входной торец волокна 1 при достижении его двоякоскошенного торца,
претерпевает полное внутреннее отражение от границы ВС и направляется в волокно
3, как показано на рисунке. При некоторой температуре равенство n1 = n4
нарушается и превращается в неравенство n1 > n4, а неравенство n1 > n3,
наоборот, становится равенством - n1 = n3 и тогда излучение (на схеме показано
пунктиром) претерпевает полное внутреннее отражение от границы Dl и
направляется в волокно 2. Отметим, что, существуют стекла как с положительным,
так и с отрицательным температурным коэффициентом приращения показателя
преломления.
На рисунке 7 представлена схема
электрооптического коммутатора на основе направленного ответвителя Х-типа.
Рисунок 7 - Схема электрооптического коммутатора
на основе X-разветвителя
Световоды I и 2 на участках MN и DF выполнены из
электрооптического материала. С наружных сторон и между волноводами имеются
прозрачные электроды. Прикладывая напряжение к электродам, можно изменять
показатели преломления, изменяя коэффициент направленности ответвителя.
Электрооптические коммутаторы обладают большими преимуществами по сравнению с
термооптическими и тем более электромеханическими: во-первых, их быстродействие
достигает единиц наносекунд, во-вторых, для них требуется малое управляющее
напряжение - 2, 5-3 В, т.е. они могут управляться интегральными цифровыми
микросхемами. Преимуществом электрооптических коммутаторов является также
возможность интегрального исполнения в структурах интегральной оптики.
Электрооптические материалы применяются также в коммутаторах, основанных на
использовании интерферометров Маха-Цендера, разветвителей типа Y.
В настоящее время оптические ответвители и
разветвители производят 29 фирм и компаний. Из них ответвители с вносимыми
потерями 0,1 дБ выпускают только две: Michael S Cohen, Qikertown РА18961 (США)
и Nanonics Imaging Ltd, Jerusalem. 91487 Israel. В России с такими параметрами
ответвители Х-типа производит НПО "ИРЭ-ПОЛЮС" (г. Фрязино Московской
области). Ниже приведены параметры этих ответвителей:
- коэффициент ответвления %: 50/50; 30/70;
20/80; 10/90; 5/95; 1/99;
- рабочая длина волны, мкм 0,83; 1,06; 1,3;
1,55;
- вносимые потери, дБ <0,1 (класс А); <0,2
(класс В);
- неравномерность коэффициента ответвления, дБ 0,1;
- обратное отражение, дБ <-60;
- поляризационная чувствительность,
дБ 0,1;
2. Концепции разветвителей и
элементов ветвления
Внутри каждого волокна существует длинная секция
ответвлений, затем однородная секция длины Z, где они сплавляются
(свариваются), а затем еще одна секция ответвлений, с направленным обратно по
отношению к первой, кросссоединением двух отдельных волокон.
Эти ответвления достаточно плавные, так что
только незначительная часть энергии падающая из любого порта, расположенного
слева, отражается назад в любой из портов, расположенных справа. По этой
причине указанные устройства часто называют направленными разветвителями.
Рисунок 8 - Схематичное изображение сплавного
биконического разветвителя
Используя эту технологию, можно сделать ряд
разветвителей, основанных на том, что уровень мощности, перешедшей из одного
волокна в другое, может быть изменен путем изменения следующих параметров:-
длины области связи, через которую осуществляется взаимодействие двух полей;
а - радиуса сердцевины в области связи;
Аа - разности радиусов сердцевин в области
связи.
Созданные на базе этой концепции различные типы
разветвителей будут описаны ниже.
Моды низкого порядка продолжают существовать в
исходном волокне до тех пор, пока угол падения остается больше критического
угла. На выходе оболочечные моды конвертируются обратно в моды сердцевины. При
этом коэффициент разветвления определяется длиной разветвителя (в нашем случае
- Z, см. рисунок 8) и толщиной оболочки.
Типичный вариант разветвления мощности в этом
случае может быть 50:50, когда одна половина мощности идет на один выходной
порт, а другая - на другой. Этот тип разветвителя мощности является частью
основного класса разветвителей, базирующихся на концепции сплавного
разветвителя с биконическими отводами, описанного выше. Многие типы
разветвителей (комбайнеры, Y-переходы, звездообразные разветвители,
направленные разветвители и т.д.) могут быть сделаны на основе такого
разветвителя, как разветвитель мощности, представленного на рисунке 9.
Рисунок 9 - Разветвитель на основе многомодового
волокна
На рисунке 10 показан разветвитель, который
работает с одномодовым волокном, но является зависимым от используемой длины
волны. Когда два разветвителя в варианте с биконическими отводами находятся в
тесном контакте друг с другом, возникает резонансное явление. Световой поток
волокна А захватывается сердечником волокна В. Уровень мощности, переданный в
волокна В и А, зависит от длины области связи. Световой поток из волокна А
может быть захвачен на 100%, т.е. полностью перейдет в волокно В на
определенной длине, называемой длиной области связи, или на длине нечетно
кратной ей. Длина области связи изменяется в зависимости от длины волны света в
волокне. Величина коэффициента разветвления при этом может быть настроена путем
выбора нужной длины области связи.
Рисунок 10 - Оптический разветвитель на основе
одномодового волокна
Важным является следствие того факта, что длина
области связи зависит от длины волны света в одномодовом разветвителе.
Предположим, что мы передаем по волокну две длины волны: 1300 и 1550 нм.
Требуемая длина области связи, для длины волны 1550 нм, больше, чем для длины
волны 1300 нм. Это приводит к тому, что свет с длиной волны в 1300 нм полностью
(100%) перейдет в сердцевину волокна В из А, а затем вернется из В сердцевину
волокна А. Свет длины волны 1550 нм также полностью (100%) перейдет в
сердцевину волокна В из А. Тщательно выбирая длину области связи, можно
добиться объединения или разделения двух длин волн.
Рисунок 11 - Процесс разделения длин волн при
помощи разветвитель на основе одномодового волокна.
Если два таких разветвителя расположены
последовательно (рисунок 12), и два рукава имеют разные оптические пути между
местами сварки, то такая комбинация действует подобно интерферометру
Маха-Цендера. Мощность входного сигнала распределяется между выходными
волноводами в зависимости от длины волны с определенной периодичностью. Если
составной входной сигнал содержит оптические каналы двух различных длин волн,
то при определенном подборе параметров эти каналы на выходе окажутся в разных
выходных волокнах. Второе входное волокно не используется.
Рисунок 12 - Распределение
входного сигнала между 2 выходами
Если на вход поступает
составной сигнал, который содержит большое количество каналов на разных
частотах (с одинаковыми расстояниями между ними), на выходе в каждом волокне
будет по половине каналов с расстоянием между частотами в два раза больше.
Используя последовательно несколько разветвителей, можно вывести каждый канал в
отдельное волокно.
Массивы таких устройств,
отдельные секции которых иногда заменены брэгговскими решетками, используются
для выделения каналов определенной частоты из многоканальных систем WDM и DWDM
или для добавления каналов в каком-либо узле оптической сети. Поскольку они
являются полностью пассивными устройствами и имеют низкие потери, допустимо
применение достаточно больших наборов таких устройств [3].
3. Центральная длина волны и полоса пропускания
Показатели всех разветвителей меняются в
зависимости от длины волны. Спецификация разветвителей обычно распространяется
на одно окно прозрачности или, в некоторых случаях, на несколько окон.
Центральная длина волны является лишь номинальной рабочей длиной волны
разветвителя, тогда как полоса частот является диапазоном длин волн, в рамках
которого эта спецификация гарантируется.
Критерий выбора полосы пропускания,
рекомендуемый компанией Telcordia [4], состоит в следующем.
Для не-WDM приложений, работающих в диапазонах
1310/1550 нм и с WDM-элементами ветвления, для всех цифровых приложений должны
выполняться следующие требования по ширине обоих рабочих полос в длинноволновой
области: 1260 - 1360 нм и 1480 - 1580 нм
Для приложений WDM с длинными секциями
рекомендуемые полосы следующие: 1280 - 1335 нм и 1525 - 1575 нм
Для DWDM рекомендуемые полосы следующие: 1285 -
1325 нм и 1530 - 1566 нм. Для гибридных систем, использующих модуляцию АМ-ЧПБП
(с частично подавленной боковой полосой), рекомендуемые полосы следующие: 1290
- 1330 нм и 1530 - 1570 нм. Следует заметить, что разработчики оптоволоконных
элементов рекламируют в настоящее время различные устройства, частотный
диапазон которых простирается много дальше 1600 нм.
4. Технология изготовления оптических
разветвителей
Существует две технологии
изготовления оптических разветвителей: сварные - Fused и планарные - PLC
(Planar Lightwave Circuit).
Рисунок 13 - Основные
технологии изготовления сплиттеров
Сварные разветвители выполнены
по технологии FBT (Fused Biconical Taper): два волокна с удаленными внешними
оболочками сплавляют в элемент с двумя входами и двумя выходами (2:2), после
чего один вход закрывают без отражательным методом, формируя разветвители 1:2.
Можно обеспечить разделение мощности и в других пропорциях, например 20:80 (20%
мощности сигнала идет в одно плечо, 80% - в другое). Сварные разветвители обычно
имеют от одного до трех окон прозрачности (1310 нм, 1490 нм или 1550 нм). Окно
прозрачности - это диапазон длин волн оптического излучения, в котором имеет
место меньшее, по сравнению с другими диапазонами, затухание излучения в
волокне. Такие разветвители чаще всего используются для построения сетей
кабельного телевидения [5].
Технология создания сварных
разветвителей состоит из следующих этапов:
1. Снятие защитного буфера, очистка и
шлифовка оптических волокон
2. Обеспечение контакта боковых поверхностей
световодов и фиксация оптических волокон в специальном устройстве, который
будет вытягивать волокна
При сплавлении двух волокон образуется
Х-образный оптический разветвитель 2×2, из
которого можно сделать Y-образный разветвитель 1×2, удалив
один из световодов [5].
Ключевые параметры:
· Традиционно сварные сплиттера
состоят из волокон, что имеют от одного до трех окон прозрачности (1310 нм,
1490 нм или 1550 нм).
· Коэффициент разветвления больше чем
1:4 реализуется каскадным размещением сплиттеров 1x2, 1x3 или 1x4, с
максимальным числом разветвления до 32 (конструкции с двумя входными волокнами
также возможны).
· Но каждый последующий каскад
разветвления приводит к существенным вносимым потерям (Insertion Loss - IL) и
снижению равномерности распределения.
Планарные разветвители (PLC,
Planar Lightwave Circuit) изготавливаются в несколько этапов. Первый из них
заключается в нанесении на подложку отражающего слоя-оболочки. На данный слой
наносится материал волновода, на котором в последствии формируется маска для
травления. Результатом процесса травления является система волноводов,
являющаяся, по сути, оптическим делителем. Система планарных волноводов
покрывается вторым отражающим слоем-оболочкой. Необходимое количество
разветвлений PLC-сплиттера достигается сочетанием делителей 1×2.
Планарная
технология позволяет изготавливать компактные и надежные разветвители с числом
выходных волокон до 64. Планарные разветвители обладают более стабильными и
точными характеристиками на выходах, работают в широкополосном диапазоне волн
1260 - 1650 нм., имеют меньшее затухание на порт, меньше подвержены
механическим воздействиям и способны работать в более широком диапазоне
температур (от −45°Cдо +85°C), чем сплавные (от −40°C до +75°C).
Планарные разветвители используют для спектрального уплотнения каналов. Также
их использование предпочтительно при построении пассивных оптических сетей, так
как кроме выше перечисленных преимуществ, они позволяют заложить на будущее
возможность использовать дополнительные сервисы либо увеличить пропускную
способность каналов путем уплотнения.
Ключевые параметры:
· Равномерное, симметрическое деление
оптической мощности. Возможные соотношения разделения от 1x4 до 1x64 и больше
(конструкции с двумя входными волокнами также возможны).
· Компактность устройства, по
сравнению с FBT, при больших коэффициентах деления (не каскадные), что
немаловажно при монтаже.
· Стабильность и точность деления,
низкий уровень вносимых потерь при более высоких длинах волн по сравнению с FBT
(во всех окнах прозрачности).
· Широкий оптический спектр,
применимый в системах спектрального уплотнения WDM.
5. Различные типы оптических делителей и
разветвителей
Оптические делители сварные FBT Optronik
Оптические делители предназначены для
ответвления оптической мощности в контрольно-измерительном оборудовании, сетях
PON, кабельном телевидение и телекоммуникациях.
Оптические делители предназначены для
ответвления оптической мощности в контрольно-измерительном оборудовании, сетях
PON, кабельном телевидение и телекоммуникациях. Применение новейших пленочных
технологий в построении оптических устройств позволяет изготавливать малогабаритные
изделия с отличными характеристиками.
Оптические сплиттеры сплавного типа (Fused
Biconic Taper splitter, FBT splitter) могут быть двух видов: торцевые и
биконические. В биконических разветвителях излучение передается через боковую
поверхность, и торцевые, в которых излучение передается через торец.
Главная особенность FBT сплиттеров - возможность
неравномерного деления мощьности оптического сигнала, это свойство можно
использовать при проведении измерительных работ, FBT сплиттеры могут быть
использованы в сетях PON, CATV, эти сплиттеры отличаются наличием окон
прозрачности.
На практике используется коническое сужение
сердцевин волокон. Процесс производства разветвителей следующий: необходимое
количество волокон совмещаются в пучок, этот пучок волокон нагревается до
температуры, при которой волокна спаиваются, одновременно для задания сплиттеру
необходимых параметров производится вытягивание определенных волокон.
Параметры и характеристики:
· монолитные делители 1(2):2, 1:3, 1:4
с коммутационными шнурами (пигтейлами) с выводом волокна 250 нм или в буферном
покрытии 0,9 мм;
· деление мощности 1:2 с коэффициентом
деления от 01/99 до 50/50;
· рабочие длины волн для одномодового
волокна - 1310/1550нм
· одномодовые волокна оптимизированные
на одну длину волны с повышенными параметрами;
· специализированное одномодовое
волокно (например, ОM 850 нм);
· дредовидное одномодовое волокно до
1x32 порта, с равномерным и асимметрическим (проектированным) делением
мощности,
· рабочие длины волн для многомодового
волокна 850нм, 1300нм или на другие длины волны;
· корпусные конструкции, монтажные
шнуры (pigtail), терминированные необходимыми коннекторами.
Оптический делитель FBT
Оптические делители FBT предназначены для
ответвления оптической мощности в контрольно-измерительном оборудовании, сетях
кабельного телевидения и телекоммуникации. Сплавные оптические делители дают
возможность разветвления оптической мощности в различных процентных
соотношениях с шагом до 1%.
Оптические делители FBT предназначены для
ответвления оптической мощности в контрольно-измерительном оборудовании, сетях
кабельного телевидения и телекоммуникации. Сплавные оптические делители дают
возможность разветвления оптической мощности в различных процентных
соотношениях с шагом до 1%.
Разновидности и технические характеристики:
В зависимости от рабочей длины волны, данные
делители производятся однооконные, оптимизированные для работы на одной длине
волны 1310 или 1550 нм, или двухоконные - для работы на двух длинах волн
одновременно. Конструкции могут оснащаться любыми типами оптических разъемов и
изготавливаются в различных корпусных исполнениях:
· Гильзовый корпус с выводами волокна
в оболочке 250 мкм, предназначенные для монтажа в линию методом сварки.
Габаритные размеры: 54хØ3 мм.
Устанавливается в сплайс-кассете оптического бокса, патч-панели или муфты.
· Корпус 100х80х9 (120х80х18;
140х114х18) мм с выводами волокон в оболочке 0.9 (2; 3) мм.
· Стоечный корпус 19" 1Uдля
удобства монтажа в стойке с оборудованием. Входы и выходы располагаются на
передней панели в виде оптических разъемов SC/PC.
Оптические делители планарные PLC Optronik
Оптические делители предназначены для
ответвления оптической мощности в контрольно-измерительном оборудовании, сетях
PON, кабельном телевидение и телекоммуникациях. Планарные сплиттеры - PLC
(Planar Lightwave Circuit) - разветвители, созданные на основе планарных
волноводов.
Оптические делители предназначены для
ответвления оптической мощности в контрольно-измерительном оборудовании, сетях
PON, кабельном телевидение и телекоммуникациях. Применение новейших пленочных
технологий в построении оптических устройств позволяет изготавливать
малогабаритные изделия с отличными характеристиками.
Планарные сплиттеры - PLC (Planar Lightwave
Circuit) - разветвители, созданные на основе планарных волноводов. Технология
производства PLC сплиттеров достаточно проста и имеет несколько основных
этапов. Оптические планарные разветвители или PLC разветвители изготавливаются
методом вытравливания волноводного слоя, выращенного на основе ниобата лития на
монокристалле кремния, соответствующей конфигурации дерева разветвителя.
Результатом процесса травления является система волноводов, являющаяся, по
сути, оптическим делителем.
Система планарных волноводов покрывается вторым
отражающим слоем-оболочкой. Необходимое количество разветвлений PLC сплиттера
достигается сочетанием делителей 1x2. Оптические делители PLC отличаются
высокой стабильностью характеристик в диапазоне длин волн от 1250 до 1650 нм,
что позволяет использовать их в решениях с применением технологии CWDM. оптический сигнал разветвитель стеклянный
Планарные разветвители (делители, coupler) имеют
более стабильные и точные параметры по сравнению со сплавными. PLC разветвители
имеют следующее исполнение: 1:2, 1:4, 1:8, 1:16, 1:32, 1:64, 2:4, 2:8, 2:16,
2:32, 2:64 с равномерным делением мощности сигнала на одномодовом оптическом
волокне производства CORNING в пластиковом корпусе на кабеле диаметром 3мм,
0,9мм. Планарные разветвители оконцовываются разъемами FC, SC, ST, LC, FC/APC,
SC/APC и LC/APC. Возможен вариант поставки в исполнении на базе стоечного
оптического кросса.
Параметры и характеристики делителей PLC
Optronik:
· широкополосныe с рабочей длиной
волны от 1260 до 1650нм;
· возможность деления от N:2 дoN:64
(n=1,2);
· равномерное деление мощности во всей
спектральной полосе;
· широкий диапазон рабочих температур;
· гильзовое исполнение; корпусное с
коммутационными шнурами (пигтейлами) 0,9 мм или 2 мм с необходимыми
коннекторами.
Планарный оптический делитель PLC
Планарные оптические делители PLC предназначены
для ответвления оптической мощности в контрольно-измерительном оборудовании,
сетях PON, кабельном телевидение и телекоммуникациях.
Планарные оптические делители PLC предназначены
для ответвления оптической мощности в контрольно-измерительном оборудовании,
сетях PON, кабельном телевидение и телекоммуникациях. PLC делители имеют
широкий диапазон рабочих длин волн, обладают высокой надежностью и
направленностью разветвления. Производятся с коэффициентом деления от 1:2 до
1:128. Особенностью данного типа оптических сплиттеров является деление
мощности в одинаковых процентных отношениях на все плечи.
6. Изготовление
интегрально-оптических разветвителей в стеклах
В качестве подложки при изготовлении
интегрально-оптических разветвителей применялось стекло от фотопластин размером
50×50×1,25
(мм).
Оно представляет собой алюмосиликатное многокомпонентное стекло, в состав
которого входит:
72-73%
SiO2;
,5-2%
Al2O3;
,08-0,1%
Fe2O3;
-9% CaO;
-4% MgO;
0,5-1% K2O;
-15% Na2O.
Тщательная очистка (обезжиривание) подложки
осуществлялась протиркой ватным тампоном, смоченным в ацетоне. Заключительная
очистка производилась тлеющим разрядом под колпаком вакуумной установки
"АЛЬФА-Н1", непосредственно перед нанесением маскирующего покрытия.
Незначительные загрязнения поверхности подложки
приводят к снижению качества напыляемого маскирующего слоя и ухудшению качества
формируемых волноводов, поэтому к качеству очистки подложки предъявляются
высокие требования.
Процесс изготовления интегрально-оптического
разветвителя в стекле предусматривает проведение следующих технологических
операций: нанесение металлического маскирующего слоя на поверхность стеклянной
подложки, создание в нем с помощью фотолитографии каналов определенной ширины и
проведение ионного обмена в расплаве соли [6].
Маскирующее покрытие в виде тонкого слоя
алюминия наносилось термическим вакуумным напылением на установке
"АЛЬФА-Н1". Внешний вид подколпачного устройства вакуумной установки
представлен на рисунке 14.
Для нанесения маскирующего алюминиевого слоя
образец 1 помещался в вакуумную камеру 2 установки "АЛЬФА-Н1"
напротив испарителя 3, представлявшего собой спираль из вольфрамовой проволоки
диаметром 1 мм, на расстоянии 10 см. В вольфрамовую спираль помещался кусочек
алюминия, а спираль нагревалась электрическим током до температуры испарения
алюминия (900-1000°С). При этом алюминий испарялся и
конденсировался в виде тонкой металлической пленки на поверхности стеклянной
подложки 1.
Рисунок 14 - Внешний вид подколпачного
устройства вакуумной установки "АЛЬФА-Н1"
Для создания топологии Y - образного
разветвителя в маскирующем слое алюминия применялась фотолитография. В процессе
фотолитографии на маскирующий слой алюминия, методом центрифугирования,
наносился слой позитивного фоторезиста ФП-383. После процесса нанесения
производилась сушка фоторезиста в сушильном шкафу при температуре 90ºС
в течение 15 минут.
После просушивания фоторезист экспонировался
ультрафиолетовым излучением с помощью ртутно-кварцевой лампы ДРШ-250 в течение
120 секунд через фотошаблон, представлявший собой стеклянную пластинку с
нанесенным слоем хрома, в котором были созданы отверстия шириной 2 мкм в виде
прямых линий и различных видов разветвителей.
Проявление фоторезиста, а также травление
алюминиевого слоя, проводилось в 0,3% растворе КОН. После этого образец
промывался в дистиллированной воде для удаления остатков проявляющего раствора.
Удаление остатков фоторезиста проводилось
промывкой образца в ацетоне.
- стеклянная подложка; 2 -
расплав соли KNO3; 3 - кварцевый стакан; 4 -
цилиндрический нагреватель печи; 5 - термоизоляционный
слой; 6 -
хромель-алюмелевая термопара; 7 - терморегулирующее
устройство
Рисунок 15 - Блок-схема печи для проведения
ионного обмена
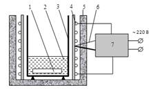
Кварцевый стакан с солью KNO3 помещается в
цилиндрический нагреватель печи. Терморегулирующим устройством устанавливается
рабочая температура (380°С). При температуре tпл=334°С
соль KNO3 переходит в жидкое состояние. В этот расплав и погружался образец
сформированным на нем маскирующим алюминиевым слоем.
В результате ионного обмена происходило
изменение химического состава стекла в областях не закрытых маскирующим слоем
алюминия, повлекшее за собой увеличение показателя преломления.
По окончании ионного обмена стеклянная подложка
вынималась из расплава, охлаждалась и промывалась в проточной воде для удаления
остатков соли KNO3. Процесс изготовления волноводных структур в стекле
заканчивался удалением маскирующего алюминиевого слоя, которое осуществлялось
травлением подложки в 30% растворе KOH.
Время ионного обмена для первого образца
составило 2 часа 30 минут, для второго образца - 5 часов, для третьего образца
- 8 часов.
Для измерения деления света по каналам
необходимо ввести оптическое излучение в волноводную структуру и вывести свет
из нее. Наиболее эффективно можно ввести свет в канальный волновод,
сфокусировав его на торце самого волновода. Для этого торцы волноводов должны
быть отполированы без скосов и сколов.
Полировка торцов каналов делителя проводилась с
использованием специального приспособления, позволявшего добиться высокой
степени перпендикулярности торцов к плоскости волноводов. После того, как
образец был зажат в этом устройстве, он сначала шлифовался, а затем полировался
на станке с использованием специальных шлифовальных и полировальных порошков.
Измерение геометрических размеров изготовленного
Y - образного разветвителя проводилось с использованием микроскопа
"ERGAWAL" и микрометра оптического винтового "МОВ1-15´".
Как показали исследования, проведенные под
микроскопом, время ионного обмена 2,5 часа и 5 часов оказалось недостаточным
для формирования одномодового волновода на длине волны 1,5 мкм. Красный свет в
таком волноводе распространялся в виде нескольких мод.
При проведении ионного обмена в течение 8 часов
при температуре 440 ºС в
стеклянной подложке формировался Y - образный разветвитель, в котором уже
распространялось излучение с длиной волны λ=1,5 мкм.
Выходной торец такого разветвителя имел белый
цвет, поскольку ионы калия, внедренные в стекло не приводят к появлению
коллоидной окраски, которая появляется в случае диффузии ионов серебра.
На рисунке 16 показаны фотографии двух каналов Y
- образных разветвителей, полученных при разном времени ионного обмена.
Рисунок 16 - Фотографии двух каналов Y -
образных разветвителей, полученных при разном времени ионного обмена
Измерение геометрических размеров изготовленных
разветвителей проводилось с использованием микроскопа "ERGAWAL" и
микрометра оптического винтового "МОВ1-15´".
В результате проведенных измерений получены следующие размеры канальных
волноводов интегрально-оптических разветвителей.
Ширина волноводов, полученных ионным обменом при
температуре 380°С и времени процесса 2,5 часа
составила 10 мкм, толщина волноводов - 6 мкм.
Ширина волноводов, полученных ионным обменом при
температуре 380°С и времени процесса 5 часов
составила 15 мкм, толщина волноводов - 8 мкм.
Ширина волноводов, полученных ионным обменом при
температуре 440°С и времени процесса 8 часов
составила 24 мкм, толщина волноводов - 15 мкм.
Расстояние между каналами интегрально-оптических
разветвителей составило 250 мкм.
Схема измерения числовой апертуры канальных
волноводов интегрально-оптических разветвителей представлена на рисунке 17.
Рисунок 17 - Схема измерения числовой апертуры
канальных волноводов интегрально-оптических разветвителей
Для измерения числовой апертуры канального
волновода во входной торец волновода вводилось излучение гелий-неонового лазера
(0,63 мкм). На расстоянии 300 мкм. от выходного торца волновода располагалось
матовое стекло, на котором наблюдалось выходное излучение в виде продолговатого
пятна.
Вытянутость пятна
перпендикулярно плоскости подложки была обусловлена различными геометрическими
размерами канального волновода, а также его несимметричностью перпендикулярно
плоскости подложки.
На расстоянии 300 мкм от
поверхности волновода ширина пятна излучения составила - 29 мкм, а его длина -
45 мкм.
Рассчитанная из геометрических
соображений числовая апертура составила 0,08.
Заключение
Основные результаты курсовой работы состоят в
следующем:
1 Методом
ионного обмена из расплава солей KNO3 и NaNO3, взятых в молярном соотношении
3:1 в стеклянных пластинках (стекло К8) были изготовлены интегрально-оптические
разветвители.
2 Ионный
обмен проводился при температуре 380°С и 440°С. Время ионного обмена для
первого образца составило 2 часа 30 минут, для второго образца - 5 часов, для
третьего образца - 8 часов.
3 Проведенные
исследования показали, что разветвители не имеют коллоидную окраску, а геометрические
размеры каналов, при заданных параметрах ионного обмена составили 6, 8 и 15
мкм. Рассчитанная из геометрических соображений числовая апертура составила
0,08.
4 Проведен
обзор по конструкциям интегрально-оптических разветвителей и их свойствам. Так
же были рассмотрены концепции разветвителей и элементов ветвления.
5 Показано
преимущество планарных (интегрально-оптических) разветвителей перед сплавными в
контрольно-измерительном оборудовании, сетях PON, кабельном телевидение и
телекоммуникациях.
Список использованных источников
1.
Скляров О.К. Волоконно-оптические сети и системы связи. 2-е издание СПБ.:
Издательство "Лань", 2010. - 272 с.
.
Фриман Р. Волоконно-оптические системы связи М.: Техносфера, 2003. - 583 с.
.
Сварные биконические разветвители. URL:
<http://www.teralink.ru/?do=stech2&id=672>
[20 апреля 2013].
4.
Generic Requirements for Fiber Branching Components, Telcordia GR-1209-CORE,
Issue 3, Piscataway, NJ, March 2001.
5.
Основные компоненты пассивной оптической сети. URL:
<http://www.velcom-s.ru/library/articles/3176/> [15 марта 2013].
6.
Никитин В.А. Электростимулированная миграция ионов в интегральной оптике / В.А.
Никитин., Н.А. Яковенко - Краснодар, Из-во КубГУ, 2013 г. - 245 с.
7.
Никитин В.А. Физические технологии интегральной оптики: Лабораторный практикум
/ В.А. Никитин, Н.А. Яковенко. - Краснодар, 2013. - 102 с.