Усиление опор моста

  • Вид работы:
    Реферат
  • Предмет:
    Строительство
  • Язык:
    Русский
    ,
    Формат файла:
    MS Word
    1,31 Мб
  • Опубликовано:
    2015-05-21
Вы можете узнать стоимость помощи в написании студенческой работы.
Помощь в написании работы, которую точно примут!

Усиление опор моста

1.Уширение опор

При необходимости симметричного уширения моста следует в максимальной степени использовать существующие конструкции опор и все возможности их уширения без переустройства фундаментов или тела свайных промежуточных опор, что упрощает и удешевляет работы по реконструкции моста(например, учитывать упрочнение грунтов от длительной эксплуатации моста).

До принятия решения о способе уширения тела опоры следует удостовериться в отсутствии необходимости уширения ее фундамента как при существующих опорных частях, так и при случае замены их резиновыми. Для улучшения работы опор целесообразно при уширении объединять пролетные строения в температурно-неразрезные.

2.Схемы уширения промежуточных опор и область их применения

Возможны три характерных способа уширения промежуточных опор:

·        уширение только ригеля (группа В)

·        уширение ригеля и тела опор без уширения фундаментной части (группа Г);

·        то же, но с уширением фундаментной части (группа Д).

Условные схемы уширения по указанным способам приведены на рис.1. Допустимые величины уширения по каждому варианту даны в табл..1.

Таблица 1. Допустимые величины уширения опор

Вариант по рис. 1

Высота опор, м

С, м

а

без ограничения

≤ 0,8

б-1

≥ 3,0

≤ 1,5

б-2

≥ 4,5

≤ 2,0

в

без ограничения

> 2,0


Рис. 1. Условные схемы уширения опор:

а - без развития тела;

б, г - с развитием телаопоры, но без развития фундаментов;

в - то же с развитием фундамента

3.Свайные промежуточные опоры

При уширении моста на 1 - 2 м уширение свайной опоры может быть осуществлено за счет удлинения и усиления только насадки, жестко объединяемой с существующей ее частью.

При уширении моста на 3,0 - 3,5 м рекомендуется превращение свайной опоры в свайно-стоечную, как это показано на рис.1, б. При этом допускается часть опоры омоноличивать в виде стенки, а штыревое соединение по торцу насадки неустраивать. Арматуру цокольной части соединяют с оголенной вертикальной арматурой стоек-свай.

При уширении моста на 4 - 5 м дополнительные сваи забивают на расстояниях, близких к существующим в опоре. Новая часть насадки может неомоноличиваться с существующей в случае принятия мер для предотвращения неравномерных осадок. Допустимая разница в осадках определяется надежной работой пролетных строений в поперечном направлении и может быть принята в пределах, при которых относительное вертикальное смещение приставляемой балки по сравнению с ближайшей существующей не превышает 0,001 В (В - расстояние между балками) - в диафрагменных пролетных строениях и 0,002 В - в без диафрагменных. В остальных случаях насадки должны быть объединены.

Для предотвращения чрезмерной осадки несущая способность пристраиваемой части опоры по грунту и материалу свай должна быть увеличена, степень увеличения несущей способности дана в табл. 2.

Таблица 2

Глубина погружения сваи существующей части опоры, м

Увеличение несущей способности опоры на новых сваях при песчаных и глинистых грунтах с коэффициентом консистенции В ≤ 0,5 (под нижними концами свай)

4

1,35

6

1,30

8

1,25

10

1,20


4.Свайно-стоечные опоры. Стоечные опоры

При отсутствии необходимости уширения фундамента уширение свайно-стоечных и стоечных опор может быть осуществлено либо за счет удлинения насадки при уширении моста на 1 - 2 м, либо при уширении моста до 4 м с установкой дополнительных подкосов (см. рис. 1, б). Последние изготовляют из сборного железобетона с выпусками арматуры, заделываемыми в удлиняемую часть насадки. В качестве подкосов могут быть использованы части железобетонных свай со стержневой арматурой. Нижние концы подкосов устанавливает в предварительно вырубленные ниши в фундаменте (ростверке) с последующим обетонированием.

Угол отклонения подкосов от вертикали следует принимать не более 30°.Состояние от верха подкосов до существующих стоек должно быть не более 2,0 м. Части удлинения стоечных опор должны быть соединены со старой опорой сваркой арматуры.

Для восприятия распора от подкосов уширенных стоечных опор под существующей насадкой и к подкосам должны быть прибетонированы железобетонные охватывающие пояса, арматуру которых рассчитывают на полное горизонтальное усилие в насадке (см. рис.1, б). Усиление перегруженных стоек следует производить железобетонными рубашками по насеченной поверхности стоек, рубашки армируют сварными каркасами.

При уширении фундамента уширение тела опор производят достройкой конструкции, аналогичной существующей.

При увеличении ширины ригеля по схеме "б" рис.1 должна быть обеспечена надежная связь добавляемой части с существующей конструкцией как за счет штырей, устанавливаемых в просверленные в торце ригеля отверстия, так и за счет сплошной продольной арматуры, соединяющей новые элементы с двух сторон опоры. Сплошную арматуру вдоль ригеля располагают либо в бетонной рубашке, либо в монолитном бетоне до бетонирования старого ригеля. Допустимо применение в качестве продольного связующего элемента прокатного стального профиля, например швеллера.

5.Монолитные опоры и опоры-стенки

При отсутствии необходимости уширения фундамента тело опоры рекомендуется уширять пристраиваемыми массивами из монолитного железобетона, опертыми на обрезы существующих фундаментов (рис. 2).

Рис.2 Уширение массивных промежуточных опор (из ВР 218УССР):

- монолитный железобетон уширения тела опоры;

-верхний железобетонный охватывающий пояс;

- оголовок существующей опоры;

-монолитный железобетон оголовка опоры;

- штрабы в теле существующей опоры;

- анкера из арматуры класса А-II;

- тело существующейопоры.

Минимальный размер пристраиваемого массива по низу принимается равный 50см, а максимальный по верху - 2,0 м, но не более половины высоты опоры. Размер штрабы не менее 30×30 см. В штрабах устанавливают анкера диаметром не менее 25 м из арматуры класса А-II. Глубина шпуров - не менее 15 диаметров анкера. Расстояние между анкерами - 50 см.

При высоте массивной опоры свыше 5 м и достаточных запасах в несущей способности опор по грунту допустимо уширение ригеля до 2,5 м в каждую сторону. При этой рекомендуется устраивать приштрабованные массивы с большими консолями. Пристраиваемые железобетонные массивы по верху и по низу опоры должны быть прикреплены охватывающими железобетонными поясами с арматурой, проходящей на всю ширину опоры.

При значительном наклоне торцевых граней массивных опор (от 4:1 до 6:1) допускается уширение их приштрабованными массивами только в верхней частио поры (рис. 3). Высота массивов должна быть не менее 3,0 м. Нижний охватывающий пояс, являющийся упором для массивов уширения, следует надежно объединить с телом опоры. При наличии на поверхности опор трещин и других дефектов, снижающих несущую способность опор, рекомендуется устройство сплошных железобетонных рубашек толщиной 10 - 15 см. Объединение бетона схватывающих поясов и рубашек со старым бетоном должно осуществляться установкой арматурных штырей диаметром не менее10 мм (арматура класса А-III) через 50 см в шахматном порядке и обработкой старой поверхности бетона насечкой.

Целесообразно новую рубашку наносить методом сухого торкретирования с использованием цементно-песчаной смеси в соотношении 1:3 и добавлением трех частей щебенки размером зерен 2 - 8 мм.

Рис. 3. Уширение высоких массивных промежуточныхопор (из ВР 218 УССР)

- монолитный железобетон уширения тела опоры;

- оголовок существующей опоры;

-монолитный железобетон оголовка опоры;

- штрабы в теле существующей опоры;

- анкера из арматуры класса А-II;

- тело существующейопоры.

6.Схемы уширения устоев

Конструктивные решения по уширению береговых опор должны по возможности исключать необходимость нарушения плотности насыпи за шкафной стенкой при производстве работ по уширению. При отсутствии такой возможности в чертежах должны быть указаны приемы восстановления плотности насыпи после окончания работ по уширению (послойное тромбование грунта до Купя > 0,98, заполнение пазух цементо-грунтом с тщательным тромбованием и т.п.).

7.Свайные устои

симметричный уширение мост

Свайные опоры рекомендуется уширять добивкой свай, при этой новые расстояния между ними "а"могут отличаться от фактически существующих в устоях - "ас".

При анвс (вс - размер свай поперек моста} для существующих свай учитывают увеличение несущей способности грунтов, а в остальных случаях - не учитывают. Конструкция достраиваемой шкафной части должна повторять конфигурацию существующей и объединяться с ней на штырях. В отдельных случаях объединение дополнительной насадки с существующей осуществляют, соединяя каркас с арматурой крайних свайных стоек (рис. 4).

Уширение козловой опоры рекомендуется производить забивкой дополнительных свай (в один или два ряда). Забивку производят как в заранее отсыпанный грунт конуса (уширенный конус), так и до отсыпки конуса. В последнем случае сваи должны входить в существующее основание.

8.Пассивные устои


Устои с обратными стенками и открылками рекомендуется уширять либо возводя с двух сторон Г-образные в плане пристойки (рис. 5), либо забивают дополнительные сваи в заранее уширенный конус. Соединение старой и новой частей опор производят на штырях.

Уширение фундаментов на свайном основании рекомендуется осуществлять забивкой дополнительных свай без устройства ростверка с соблюдением требований к несущей способности свай в соответствии с табл. 2.

Для случаев уширения моста, в котором отсутствуют переходные плиты и шкафные стенки, устои уширяют забивкой дополнительных свай с двух сторон (в один или два ряда), с установкой на них ригеля со шкафной стенкой, а в пределах существующей части - с установкой вертикальной плиты, соединенной по выпуск амарматуры со шкафной стенкой. Причем в пределах существующей части сооружения переходные плиты можно не устраивать, если коэффициент уплотнения существующей насыпи не менее 0,98 (рис. 6).

 

9.Установка (замена) опорных частей


Установку опорных частей предусматривают в пролетных строениях, где они ранее отсутствовали, например в пролетных строениях длиной 11,36 и частично14,06 м.

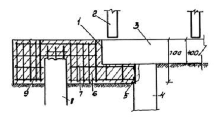
Рис. 4. Уширение устья забивкой свай:

- насечка на торце ригеля;

- балка;

- ригель;

- стойка;

- оголенная арматура стойки;

- монолитный бетон ригеля;

-арматура монолитного ригеля;

- дополнительная стойка;

- выпуски арматуры изстойки

Рис. 5. Схема уширения массивного устоя:

- положение переходной плиты;

- обратная стенка;

- шкафная стенка;

- новый открылок;

- старый открылок;

- штыревой стык;

- песчаная подушка

Рис. 4.6. Способ уширения устоя железобетонных мостов:

- новый ригель со шкафной стенкой;

-дополнительные сваи;

- существующие балки;

- новая плита-стенка;

-монолитный бетон объединения;

- существующая свая;

- существующий ригель;

- участок с удаленной одеждой под переходную плиту

Отсутствие опорных частей приводит к сколам углов опорного участка балок и углов ригеля, что в свою очередь способствует быстрому износу узла опирания и резкому снижение грузоподъемности моста. В качестве опорных частей могут быть использованы:

·        ленточные резиновые опорные части размером 150×200 мм в плане и толщиной 5 - 15 мм (для пролетов - 11,36 м);

·        резиновые прокладки из автомобильных шин (устанавливают на выровненную бетонную поверхность) или из транспортной ленты шириной не более ширины ребра балки;

·        резиновые слоистые опорные части минимальных размеров в плане;

·        резинофторопластовые опорные части, выполненные в виде РОЧ, скользящих по фторопласту.

Переделка опорных частей при превращении пролетных строений в температурно-неразрезные (пролеты частично 14,06 м, а также 16,76 м и более) предполагает получить подвижную опорную часть из неподвижной, что требуется исходя из условий работы опорных частей в составе ТНПС. В опорных частях с боковыми зубчатыми фиксаторами переделка сводится к удалению фиксаторов, а в опорных частях с центральным штырем - к удалению штыря (подъемка пролетного строения, срезка штыря автогеном). Указанные методы допускаются при длине реконструируемого моста до 60 м. При больших длинах следует заменять либо отдельные элементы опорных частей (балансиры, шарниры), либо опорные части полностью, что устанавливается при проектировании отдельно в каждом конкретном случае в зависимости от расчетных перемещений концов пролетных строений, типа опорных частей, длины моста и конструкции опор.

 

10.Схемы уширения опор


При уширении опор следует в максимальной степени использовать существующие конструкции и все возможности уширения без переустройства фундаментов или уширения свайных промежуточных опор, что упрощает и удешевляет работы по реконструкции моста. Максимальное использование возможности опор связано с учетом упрочнения грунтов от длительной эксплуатации при оценке несущей способности по грунту.

Схемы уширения опор могут быть отнесены к трем группам:

·        уширение только ригеля (В);

·        уширение ригеля и тела опоры (Г);

·        уширение всей опоры, в том числе с фундаментом (Д).

При уширении по группе В наращиваемая часть ригеля (насадки) должна быть надежно соединена с существующей конструкцией. Причем она может быть выполнена из железобетона, предварительно напряженного железобетона плипрокатных стальных элементов. В качестве ориентира для выбора технического решения могут быть использованы схемы, представленные на рис. 1.

Рис. 1.Схемы уширения ригеля опор:

а - добавление железобетонных блоков (с обжатием высокопрочной арматуры);

б, г - уширение стальным прокатным профилем;

в - уширение консоли с усилениемригеля над крайними спаями;

д -уширение консоли с устройством кронштейна;

- железобетон;

- стальной профиль.

Схемы уширения по группе Г (развитие тела и ригеля опоры) предусматривают возможность превращения свайной опоры в свайно-стоечную:

·        установки дополнительных подкосов (рис. 2,а);

·        превращения стоечной опоры в опору-стенку, прибетонирования бетонных массивов в свайных опорах (рис. 2,б);

·        столбчатых опорах(рис. 2,в);

Подкосы выполняют из металлических или железобетонных элементов. Для восприятия распора от подкосов уширенных стоечных или столбчатых опор к насадкам (сбоку - или снизу) прибетонируют охватывающие пояса, арматуру которых рассчитывают на полное горизонтальное усилие в насадке. Объединение бетонных массивов с телом опоры осуществляют железобетонными рубашками, охватывающими тело опор.

Уширение промежуточных опор с развитием тела и ригеля осуществляют, как правило, не более чем на 3 м в каждую сторону. При уширении массивной опоры более чем на 2 м в каждую сторону пристраиваемые железобетонные массивы поверху и понизу должны быть прикреплены охватывающими железобетонными поясами через 3- 4 м по высоте опоры. При значительном наклоне торцовых граней массивных опор допускается устройство приштрамбованных массивов только в верхней части опоры (рис. 3, а).

Рис. 2. Схемы уширения стоечных (а. б) и столбчатых (в) опор за счет развития их тела

Рис. 3. Схемы уширения массивных опор за счетразвития их тела на части высоты (а) ина всей высоте (б)

Уширение промежуточных опор с развитием фундамента может быть как двустороннее (симметричное и несимметричное), так и одностороннее (рис. 4).

Надфундаментную часть опоры развивают элементами, аналогичными существующим (сваи, стойки, столбы). При небольшой высоте промежуточных опор уширение осуществляют забивкой свай-стоек независимо от типа существующей опоры. Бесфундаментные устои уширяют добивкой свай с развитием в обе стороны ригеля и шкафной стенки (рис. 5). Причем сваи могут быть забиты как в заранее уширенные конуса, так и до отсыпки новой части конуса.

Массивные устои (устои с обратными стенками и открылками) уширяют путем забивки свай с двух сторон, развитием ригеля (устройством нового ригеля) или возведением с двух сторон Г-образных в плане пристроек. При значительных размерах обратных стенок массивные устои уширяют забивкой свай в двух плоскостях - у начала и конца устоя, а просвет между ними перекрывают плитными или балочными пролетными строениями. Из приведенных в данном разделе схем уширения выбирают решения для разработки ТЭР, которые увеличивают габарит и грузоподъемность, позволяют максимально использовать существующие конструкции пролетных строений и опор и соответствуют по области применения фактическим условиям реконструкции.

Рис. 4. Схемы уширения промежуточных опор с развитием фундамента опор:

а - одностороннее или двустороннее;

б - двустороннее;

в - одностороннее

Рис. 3.20.Схемы уширения устоев:

а - расширение насадки с объединением по сваям;

б - забивка дополнительных свай в заранее уширенную насыпь;

в - пристройка конструкций к массивным устоям

- существующий ригель (насадка);

- удаленный открылок;

-монолитные конструкции уширения;

- сборные конструкции уширения;

- дополнительные сван

Список литературы


. “Рекомендации по уширению эксплуатируемых железобетонных автодорожных мостов”/ Минавтодор РСФСР, Гипродорнии. - М., 1987,

. Автомобильные дороги: Обзорная информация. / Информавтодор; Вып. 1).

. “Инструкцияпо уширению автодорожных мостов и путепроводов: ВСН 51-88” /Минавтодор РСФСР, Миндорстрой УССР, Миндорстрой БССР. - М.: Транспорт, 1990.

1. 


Не нашли материал для своей работы?
Поможем написать уникальную работу
Без плагиата!
Без нейросетей!