Проект производства работ на возведение плоской железобетонной монолитной фундаментной плиты технологического подвала здания. 16-этажный жилой дом в г. Советский
ПРОЕКТ
ПРОИЗВОДСТВА РАБОТ НА ВОЗВЕДЕНИЕ ПЛОСКОЙ ЖЕЛЕЗОБЕТОННОЙ МОНОЛИТНОЙ ФУНДАМЕНТНОЙ
ПЛИТЫ ТЕХНОЛОГИЧЕСКОГО ПОДВАЛА ЗДАНИЯ
"16-этажный
жилой дом в г. Советский"
г.
Санкт-Петербург - 2009 год
ВВЕДЕНИЕ
. ОБЩИЕ ПОЛОЖЕНИЯ
1.1. Проект производства работ
является документом, определяющим технологию, организацию, параметры и условия
безопасности производства работ, безопасность исполнителей, окружающей среды и
населения.
.2. Проект производства работ
разработан на выполнение комплекса работ для сооружения плоской, монолитной,
железобетонной фундаментной плиты толщиной 1,0 м.
.3. Проект производства работ
(ППР) разработан на основании проектно-сметной документации и в соответствии с
требованиями следующих нормативных документов:
СНиП 3.01.03-84. Геодезические
работы в строительстве;
СНиП 3.02.01-87. Земляные
сооружения, основания и фундаменты;
СНиП 3.03.01-87. Несущие и
ограждающие конструкции;
СНиП 12-01-2004. Организация
строительства;
СНиП 12-03-2001. Безопасность
труда в строительстве ч.1. Общие требования;
СНиП 12-04-2002. Безопасность
труда в строительстве ч.2. Строительное производство;
ППБ-01-2003*. Правила пожарной
безопасности в РФ;
ВСН 274-88. Правила техники
безопасности при эксплуатации стреловых самоходных кранов;
СП 12-136-2002. "Решения
по охране труда и промышленной безопасности в проектах организации
строительства и проектах производства работ", Госстрой России, М., 2003;
.4. Весь комплекс работ по
сооружению фундаментной плиты выполняется строительно-монтажным участком.
II. КЛИМАТИЧЕСКИЕ
УСЛОВИЯ В РАЙОНЕ СТРОИТЕЛЬСТВА
2.1. Территория, отведенная под
строительство комплекса, расположена в зоне умеренно-континентального климата с
холодной зимой и умеренно-теплым летом. По географическому положению район
находится под воздействием воздушных масс Атлантики, Арктического бассейна, а
также масс, сформировавшихся над территорией Европы. Зимой преобладают ветры с
южной составляющей. Средняя температура января составляет около минус 20,0 °С.
.2. Климат рассматриваемого
района умеренно холодный, переходный от морского к континентальному. Ведущим
климатообразующим фактором в западной части Ленинградской области является
циркуляция воздушных масс. Во все сезоны года преобладают юго-западные и
западные ветры. Вхождение атлантических воздушных масс чаще всего связано с
циклонической деятельностью и сопровождается обычно ветреной, пасмурной
погодой, относительно теплой - зимой и сравнительно прохладной - летом.
Климатические данные района
приводятся по материалам многолетних наблюдений ближайших метеостанций:
Санкт-Петербург, ИЦП, и Пушкин (данные о высоте снежного покрова).
.3. Температура воздуха.
Средняя годовая температура воздуха составляет 4,4 градуса. Самыми холодными
месяцами являются январь и февраль, среднемесячная температура которых
составляет минус 7,8 градусов. Абсолютный минимум температуры воздуха за
многолетний период наблюдений был равен минус 36 градусов (табл.1).
Самым теплым месяцем на
рассматриваемой территории является июль, со средней температурой воздуха 17,8
градусов. Абсолютный максимум температуры воздуха составлял 34 градуса.
Таблица 1. Температура
воздуха, °С
|
|
ян-
варь
|
фев-
раль
|
март
|
ап-
рель
|
май
|
июнь
|
июль
|
ав-
густ
|
сен-
тябрь
|
ок-
тябрь
|
но-
ябрь
|
де-
кабрь
|
Год
|
|
Средняя
|
-7,8
|
-7,8
|
-3,9
|
3,1
|
9,8
|
15,0
|
17,8
|
16,0
|
10,9
|
4,9
|
-0,3
|
-5,0
|
4,4
|
|
Абсолютный
максимум
|
6
1983
|
6
1914
|
13
1903
|
25
1986
|
31
1958
|
32
1917
|
34
1972
|
34
1985
|
29
1968
|
21
1974
|
12
1967
|
9
1953
|
34
1972
|
|
Абсолютный
минимум
|
-36
1940
|
-35
1956
|
-29
1942
|
-18
1960
|
-6
1893
|
0
1930
|
5
1968
|
1
1966
|
-3
1976
|
-13
1920
|
-22
1890
|
-34
1978
|
-36
1940
|
.4. За начало весны принимается
устойчивый переход средней суточной температуры воздуха через ноль градусов,
что происходит обычно 3-5 апреля. Период с положительными средними суточными
температурами составляет в среднем 218 дней. Между датами перехода температуры
через ноль и разрушения устойчивого снежного покрова обычно проходит не более
7-10 дней. Весна характеризуется частыми возвратами холодов, а иногда и
кратковременными установлениями снежного покрова.
.5. Летний период, за начало
которого принимается переход температуры воздуха выше 10 градусов, наступает в
среднем 20 мая. Средняя продолжительность летнего периода составляет порядка 4
месяцев. В летнем сезоне выделяется период среднесуточных температур выше 15
градусов, который начинается во второй декаде июня и заканчивается во второй
декаде августа.
.6. Осенний период, продолжительностью
около двух месяцев, наступает, как правило, в середине сентября.
.7. Зимний период начинается в
первой декаде ноября. Первая половина зимы, или так называемое предзимье,
характеризуется преобладанием ненастной погоды с дождями и мокрым снегом. С
10-15 декабря среднесуточная температура воздуха опускается ниже минус 5
градусов; этот период длится до середины марта, т.е. в среднем 3 месяца.
.8. Осадки. Рассматриваемая
территория относится к зоне избыточного увлажнения, что объясняется сравнительно
небольшим приходом тепла и хорошо развитой здесь циклонической деятельностью,
которая активно проявляется во все сезоны года.
В среднем за год выпадает 620
мм осадков. Более 60% среднегодовой нормы осадков выпадает в теплый период года
- с апреля по октябрь, с максимумом в августе (82 мм). Наименьшее количество
осадков, равное 32 мм, выпадает в марте (табл.2).
Таблица 2. Осадки с
поправками на смачивание, мм
|
|
январь
|
февраль
|
март
|
апрель
|
май
|
июнь
|
июль
|
август
|
сентябрь
|
октябрь
|
ноябрь
|
декабрь
|
ноябрь-
март
|
апрель-
октябрь
|
Год
|
|
среднее
количество
|
38
|
35
|
32
|
38
|
46
|
62
|
68
|
82
|
66
|
58
|
51
|
44
|
200
|
42
|
620
|
.9. Снежный покров. Появление
снежного покрова приходится на конец октября - начало ноября, но, как правило,
держится недолго. Устойчивый снежный покров образуется в среднем 7 декабря.
Самая ранняя дата установления снежного покрова была зафиксирована 27 октября,
самая поздняя 21 февраля. Разрушение снежного покрова в среднем происходит 30
марта. Окончательный сход снежного покрова обычно происходит к середине апреля.
Крайние даты - 25 марта и 9 мая.
Число дней со снежным покровом
считается в среднем 132 дня. Высота снежного покрова достигает максимума, как
правило, в феврале-марте месяцах (табл.3). Наибольшая толщина снежного покрова
за зимний период, по наблюдениям на м/ст Пушкин, достигала 49 см.
Таблица 3. Высота снежного
покрова по снегосъемкам на последний день декады, см
|
окт.
|
ноябрь
|
декабрь
|
январь
|
февраль
|
март
|
апрель
|
Наибольшая
за зиму (участок-поле)
|
|
3
|
1
|
2
|
3
|
1
|
2
|
3
|
1
|
2
|
3
|
1
|
2
|
3
|
1
|
2
|
3
|
1
|
2
|
3
|
средн.
|
макс.
|
мин.
|
|
|
|
|
|
|
|
|
1
|
1
|
1
|
2
|
2
|
2
|
2
|
2
|
1
|
|
|
|
|
|
|
|
*
|
|
7
|
8
|
8
|
8
|
11
|
5
|
6
|
9
|
1
|
5
|
5
|
5
|
6
|
7
|
|
|
|
31
|
49
|
10
|
* (
)
- означает, что статистические наблюдения за состоянием высоты снежного покрова
велись нерегулярно (менее чем за 1/2 всего периода наблюдений).
.10. Ветер. Ветровой режим
территории зависит от общей циркуляции воздушных масс и тесно связан с
особенностями распределения барических центров. Режим атмосферного давления
характеризуется резко выраженной сезонной сменой полей давления. В холодный
период преобладает пониженное давление, в теплый период над холодной поверхностью
северных морей развивается область повышенного давления. В связи с этим
воздушная циркуляция имеет муссонный характер.
Среднегодовая скорость ветра
составляет 2,7 м/с (табл.4). Наибольшие скорости ветра наблюдаются в
осенне-зимний период, преимущественно с ноября по январь (средняя скорость в
эти месяцы составляет 3,1-3,2 м/с). Максимальная скорость ветра равна 17 м/с, в
порыве - 22 м/с (табл.5).
Таблица 4. Среднемесячная и
годовая скорость ветра, м/с, Санкт-Петербург, ИЦП (высота флюгера 13 м)
|
ян-
варь
|
фев-
раль
|
март
|
ап-
рель
|
май
|
июнь
|
июль
|
ав-
густ
|
сен-
тябрь
|
ок-
тябрь
|
но-
ябрь
|
де-
кабрь
|
Год
|
|
3,1
|
2,8
|
2,7
|
2,6
|
2,5
|
2,6
|
2,2
|
2,2
|
2,4
|
2,8
|
3,1
|
3,2
|
2,7
|
Таблица 5. Максимальная
скорость и порыв ветра (м/с) по флюгеру (ф) и анеморумбометру (а), м/с
Санкт-Петербург, ИЦП (высота флюгера 13 м)
|
январь
|
февраль
|
март
|
апрель
|
май
|
июнь
|
июль
|
август
|
сентябрь
|
октябрь
|
ноябрь
|
декабрь
|
Год
|
|
скорость
|
|
12ф
|
12ф
|
17ф
|
12ф
|
17ф
|
12ф
|
12ф
|
12ф
|
17ф
|
14ф
|
12ф
|
17ф
|
17ф
|
|
порыв
|
|
21а
|
20ф
|
18а
|
19а
|
20ф
|
20ф
|
18а
|
18а
|
20ф
|
20а
|
19а
|
22а
|
22а
|
|
|
|
|
|
|
|
|
|
|
|
|
|
|
Розы ветров за характерные
месяцы и в целом за год представлены на рис.1.
Рис.1. Розы ветров, м/ст
Санкт-Петербург, ИЦП
Число дней с различными
атмосферными явлениями приведено в табл.6.
Таблица 6. Число дней с
атмосферными явлениями
|
ян-варь
|
фев-раль
|
март
|
ап-рель
|
май
|
июнь
|
июль
|
ав-густ
|
сен-тябрь
|
ок-тябрь
|
но-ябрь
|
де-кабрь
|
Год
|
|
с
туманом
|
средн.
|
3
|
3
|
4
|
2
|
0,9
|
0,4
|
0,4
|
2
|
3
|
2
|
3
|
3
|
27
|
|
макс.
|
7
|
10
|
10
|
7
|
4
|
3
|
2
|
6
|
11
|
10
|
8
|
9
|
53
|
|
с
метелью
|
средн.
|
4
|
4
|
2
|
0,4
|
0,02
|
|
|
|
|
0,1
|
1
|
2
|
14
|
|
макс.
|
14
|
11
|
8
|
4
|
1
|
|
|
|
|
1
|
7
|
10
|
33
|
|
с
грозой
|
средн
|
|
|
0,1
|
0,4
|
2
|
4
|
6
|
4
|
1
|
0,1
|
0,02
|
0,1
|
|
макс.
|
|
|
1
|
3
|
8
|
12
|
14
|
8
|
5
|
1
|
1
|
1
|
32
|
|
с
градом
|
средн
|
|
|
|
0,02
|
0,3
|
0,4
|
0,1
|
0,2
|
0,4
|
0,06
|
|
|
1,5
|
|
макс.
|
|
|
|
1
|
4
|
4
|
1
|
2
|
2
|
3
|
|
|
6
|
КАЛЕНДАРНЫЙ ПЛАН
ПРОИЗВОДСТВА РАБОТ
КАЛЕНДАРНЫЙ ПЛАН ПРОИЗВОДСТВА
РАБОТ*
|
Nп/п
|
Наименование
работ
|
Ед.
изм.
|
Объем
работ
|
Т/затр.
чел.-час
|
Состав
бригады, чел.
|
Рабочие
смены
|
|
|
|
|
|
|
2
|
4
|
6
|
8
|
10
|
12
|
14
|
16
|
18
|
20
|
|
1.
|
Опалубочные
работы
|
м
|
128,0
|
57,6
|
2
|
|
|
|
|
|
|
|
|
|
|
|
2.
|
Арматурные
работы
|
т
|
16,94
|
394,56
|
4
|
|
|
|
|
|
|
|
|
|
|
|
3.
|
Бетонные
работы
|
м
|
120,0
|
357,63
|
4
|
|
|
|
|
|
|
|
|
|
|
|
4.
|
Гидроизоляционные
работы
|
м
|
100,0
|
120,82
|
4
|
|
|
|
|
|
|
|
|
|
|
|
ИТОГО:
|
|
|
885,61
|
|
|
|
|
|
|
|
|
|
|
|
. ОРГАНИЗАЦИОННЫЕ
РЕШЕНИЯ
До начала устройства
фундаментной плиты на рассматриваемом объекте должны быть выполнены мероприятия
по подготовке строительного производства в объеме, обеспечивающем осуществление
строительства установленными темпами, включая проведение общей
организационно-технической подготовки строительной организации к производству
строительно-монтажных работ в соответствии с требованиями СНиП 12-01-2004
"Организация строительства", а также должны быть выполнены следующие
работы:
Работы подготовительного
периода подразделяются на три этапа:
организационный;
мобилизационный;
подготовительно-технологический.
В организационный период
инженерной подготовки строительства осуществляется комплекс таких мероприятий,
как:
рассмотрение и приемка
утвержденной РД от Генподрядчика;
определение Субподрядчиков и
заключение договоров подряда;
определение источников поставки
материалов;
согласование с местной
администрацией вопросов обеспечения энергетическими ресурсами жилого городка,
от действующих источников;
организация диспетчерской
службы и связи;
аттестация рабочих и ИТР,
участвующих в строительстве;
назначение ответственных за
организацию работ.
В мобилизационный период
инженерной подготовки строительства осуществляется комплекс таких мероприятий,
как:
выбор площадки для жилого
городка и приобъектных складов;
приемка геодезической
разбивочной основы для строительства;
разработка ППР.
В подготовительно-технологическом
периоде выполняют подготовительные работы, обеспечивающие проведение основных
работ по строительству с заданными темпами и осуществляется комплекс таких
мероприятий и работ, как:
организован отвод поверхностных
вод от котлована;
устроены временные подъездные
пути и монтажные проезды;
обозначены пути движения
механизмов, места складирования арматурных сеток и укрупнения опалубки,
подготовлена монтажная оснастка и приспособления;
выполнено щебеночное основание
и бетонная подготовка под фундамент;
завезены арматурные сетки,
каркасы и пиломатериалы для изготовления опалубки в количестве, обеспечивающем
бесперебойную работу не менее чем в течение двух смен;
составлены акты приемки
основания и подготовки под фундамент в соответствии с исполнительной схемой;
устроено временное
электроосвещение рабочих мест и подключены электросварочные аппараты;
произведена геодезическая
разбивка осей и разметка положения фундаментной плиты в соответствии с
проектом;
на поверхность бетонной
подготовки краской нанесены риски, фиксирующие положение рабочей плоскости
щитов опалубки;
закончено строительство
временных складов и арматурного цеха;
завезены и размещены мобильные
(инвентарные) здания и сооружения административно-бытового назначения.
Геодезическая разбивка
фундаментной плиты заключается в обозначении ее на местности. Разбивку ведут в
двух плоскостях: горизонтальной и вертикальной.
При горизонтальной разбивке
определяют и закрепляют на местности положение плиты и намечают ее очертание в
плане, а при вертикальной - устанавливают ее высоту.
Для определения положения плиты
на местности и перенесения в натуру ее размеров на генеральном плане наносят
геодезическую строительную сетку в условной системе координат со стороной
квадратов 100-200 м. Оси координат ориентируют параллельно осям здания и
главной линии застройки. Положение плиты фундамента на генеральном плане
определяют путем вычисления расстояний от его характерных точек до ближайших
линий сетки. Строительная сетка должна быть привязана к пунктам геодезической
основы топографической съемки местности, по которой был составлен генеральный
план и перенесена на местность любым известным в инженерной геодезии способом.
Вершины квадратов сетки закрепляют колышками. Построенная таким образом на
местности геодезическая строительная сетка является ориентиром для перенесения
проекта в натуру, его плановым и высотным обоснованием.
При помощи строительной сетки
определяют расположение плиты на местности, вынося в натуру ее углы. Оси,
проходящие через угловые точки, должны быть закреплены дополнительными знаками,
вынесенными на определенное расстояние в обе стороны.
Для детальной разбивки и
закрепления всех характерных точек вокруг плиты на расстоянии 3-4 м от нее
устанавливают обноску, положение которой фиксируют в разбивочном чертеже. Обноска
состоит из закопанных в землю столбов высотой 0,9-1,2 м и диаметром 12-18 см,
расположенных через 3-4 м, и досок, прибитых к ним горизонтально с внешней
стороны (смотри рис.2).
Рис.2. Разбивка фундаментной
плиты с применением обноски
На досках рулеткой размечают
осевые линии фундамента, фиксируя их забивкой гвоздей и соответствующими
надписями. Для переноски разметки с обноски на поверхность бетонной подготовки,
между противоположными досками обноски протягивают проволоку, а в точке
пересечения опускают отвес.
Для вертикальной разбивки плиты
от постоянных реперов переносят отметки на обноску и закрепляют забивкой
гвоздей (смотри рис.3).
Рис.3. Временный репер на
столбе обноски
Для нужд строительства
используются временные мобильные (инвентарные) здания административно-бытового
и складского назначения.
Расчет потребных площадей
временных инвентарных (мобильных) зданий административно-бытового назначения
производится по расчетным данным ЦНИИОМТП, исходя из численности работающих на
площадке в одном потоке в наиболее многочисленную смену. Расчетные данные
приведены в таблице 7.
Таблица 7. Здания
административно-бытового назначения
|
Наименование
зданий, сооружений
|
Нормативный
показатель, м /чел.
|
Расчетное
количество работающих, чел.
|
Площадь,
м
|
|
1
Административно-хозяйственного назначения: конторы
|
4,00
|
3
|
11
|
|
2
Санитарно-бытового назначения:
|
|
|
|
|
-
гардеробная
|
0,60
|
23
16
|
14
|
|
-
душевые
|
0,82
|
16
16
|
13
|
|
-
помещение для обогрева рабочих
|
0,10
|
18
18
|
2
|
|
-
сушилки
|
0,20
|
18
18
|
3
|
|
-
уборные
|
0,07-0,14
|
|
2
|
|
-
умывальные
|
0,065
|
|
1
|
|
-
столовые
|
0,455
|
|
8
|
|
-
здравпункты
|
0,05
|
|
1
|
Расчет потребных площадей
временных площадок складского назначения на всю стройку производится исходя из
годового объема строительно-монтажных работ с учетом нормативов запаса,
неравномерности поступления и потребления материалов и коэффициентов
использования площадей складов. Результаты расчетов приведены в таблице 8.
Таблица 8. Здания и
сооружения складского назначения
|
Наименование
зданий и сооружений
|
Площадь,
м
|
|
1
Склады:
|
|
|
-
отапливаемые
|
3
|
|
-
неотапливаемые
|
3
|
|
2
Навесы
|
12
|
|
3
Открытые складские площадки
|
75
|
II. МЕТОДЫ
ПРОИЗВОДСТВА РАБОТ
Устройство монолитных бетонных
конструкций включает в себя выполнение следующих операций:
установку опалубки;
изготовление и монтаж арматуры;
укладку и уплотнение бетонной
смеси;
уход за бетоном;
снятие опалубки.
Трудоемкость возведения 1 м
монолитных железобетонных конструкций составляет 4...8 человеко-часов, в том
числе:
на опалубочные работы
приходится - 40...45%;
арматурные - 30...35%;
бетонные - 20...25%.
В состав работ, рассматриваемых
ППР, входят:
вспомогательные (разгрузка,
складирование, сортировка арматурных сеток, армокаркасов и комплектов
опалубки);
опалубочные;
арматурные;
бетонные.
Устройство монолитной
железобетонной плиты следует осуществлять в соответствии с рабочими чертежами
конструкции плиты с соблюдением правил производства и приемки работ согласно
"Несущие и ограждающие конструкции".
До начала производства работ по
устройству фундаментной плиты должны быть выполнены следующие подготовительные
работы:
устроены временные автодороги,
подъезды и проезды;
возведены все необходимые
временные здания и сооружения;
выполнены противопожарные
мероприятия;
завезены на стройплощадку
необходимые машины, механизмы, приспособления и оборудование, а также
арматурная сталь и элементы опалубки;
разбиты, закреплены и приняты
по акту оси сооружения и реперы ( "Геодезические работы в
строительстве");
оформлены все необходимые акты
на скрытые работы (щебеночное основание, бетонная подготовка, гидроизоляция);
подведены вода и
электроэнергия;
проведены мероприятия,
обеспечивающие безопасность производства работ;
подготовлено основание под
фундаментную плиту.
Наружная опалубка фундамента
устанавливается из инвентарных деревянных щитов или в виде стенок из бетонных
блоков, изготовляемых для стен подвала и используемых после распалубки по
назначению.
Опалубка должна быть плотной и
не допускать при бетонировании утечки цементного молока через швы и щели,
которые должны быть тщательно заделаны. Для облегчения распалубки обращенную к
бетону поверхность опалубки следует смазывать антиадгезионной смазкой
(например, известковым молоком, цементным раствором или гидрофобным составом).
При выполнении работ по
армированию фундаментной плиты в местах рабочих швов по границам блоков
(захваток) бетонирования устанавливается внутренняя опалубка, которая
изготавливается в виде стальной сетки из проволоки диаметром 1-1,1 мм с
размером ячеек не более 10х10 мм. Перед установкой и бетонированием сетка
должна быть обезжирена. Сетки устанавливаются вертикально и крепятся вязальной
проволокой к стержням нижней и верхней арматурных сеток плиты по линии рабочих
швов. Во избежание выпучивания сетки усиливаются вертикальными и
горизонтальными арматурными стержнями.
Рис.4. Внутренняя опалубка
рабочего шва плиты: 1 - вертикальные стержни усиления; 2 - горизонтальные
стержни усиления
Смонтированная и подготовленная
к бетонированию опалубка должна быть принята по акту. При этом отклонения
плоскостей опалубки:
от вертикали не должны
превышать 5 мм на 1,0 м высоты;
смещение осей опалубки от
проектного положения - 10 мм;
местные неровности при проверке
двухметровой рейкой - 3 мм.
В процессе бетонирования
надлежит вести непрерывное наблюдение за состоянием опалубки и креплений,
своевременно предотвращая деформации опалубки.
Монтаж арматуры фундаментной
плиты разрешается производить только после приемки по акту грунтового основания
и подготовки под фундамент.
Арматуру следует монтировать
укрупненными или пространственными заранее изготовленными элементами, по
возможности сокращая объем применения отдельных стержней. Порядок установки
арматуры должен быть увязан с технологической схемой бетонирования фундаментной
плиты. Установка арматуры должна опережать бетонирование не менее чем на одну
захватку.
С бетонной подготовки в местах
установки арматуры должны быть удалены мусор, грязь, снег и лед. Стержни
установленной в плиту арматуры должны быть обезжирены, очищены от грязи, льда и
снега, налета ржавчины.
Требуемую проектом величину
защитного слоя нижней арматуры следует обеспечивать посредством установки под
нижние стержни заранее изготовленных бетонных прокладок (сухарей) размером
100х100 мм и толщиной, равной требуемой толщине защитного слоя. Применение
прокладок из обрезков арматуры, деревянных брусков и щебня запрещается. Для
нижней арматуры монолитных фундаментных плит толщина защитного слоя должна быть
не менее:
при наличии бетонной подготовки
- 35 мм;
при отсутствии бетонной
подготовки - 70 мм.
Отклонения от проектной толщины
бетонного защитного слоя не должны превышать:
при толщине защитного слоя 15
мм и менее - 3 мм;
при толщине защитного слоя
более 15 мм - 5 мм.
Смещение арматурных стержней
при их установке, а также в арматурных каркасах и сетках не должно превышать
0,25 диаметра устанавливаемого стержня, но не более 0,2 наибольшего диаметра
стержня.
Армирование плиты выполняется в
следующем порядке:
на бетонной подготовке
производят разбивку осей каркасов;
укладывают готовые бетонные
прокладки для образования нижнего защитного слоя.
Прокладки следует устанавливать
так, чтобы в процессе работ не деформировались стержни нижней сетки и везде под
ней соблюдалась требуемая толщина защитного слоя; по прокладкам согласно
проекту укладывают унифицированные сетки или (если сетка выполняется из россыпи
стержней) заранее сваренные в плети стержни нижней сетки. Плети сваривают из
стержней товарной длины согласно спецификации проекта или с учетом условий
транспортирования на место укладки.
По нижней сетке производится
установка каркасов, сварка их между собой, приварка или привязка их к нижней
сетке. На каркасы укладывают унифицированные сетки или заранее сваренные в
плети стержни верхней арматурной сетки с приваркой или привязкой их к стержням
каркасов. Если вместо каркасов для поддержания верхней арматуры предусмотрена
установка заготовляемых централизованно подставок (монтажных столиков), то эти
подставки устанавливаются без приварки к арматуре нижней сетки так, чтобы концы
угловых стоек опирались на бетонную подготовку или же нижние поперечные
элементы подставки опирались на стержни нижней сетки. Затем в соответствии с
проектом по подставкам раскладываются и свариваются либо связываются с ними
унифицированные сетки или сваренные в плети стержни верхней арматурной сетки.
Крестовые пересечения стержней
арматуры, смонтированных поштучно, в местах их пересечения, обозначенных в
проекте, следует скреплять вязальной проволокой или с помощью специальных
проволочных соединительных элементов (скрепок). При диаметре стержней свыше 25
мм их скрепления следует выполнять дуговой сваркой.
Рис.5. Армирование плиты по
схеме нижняя арматурная сетка - плоские или пространственные каркасы - верхняя
арматурная сетка: 1 - нижняя сетка; 2 - каркас; 3 - верхняя сетка
Рис.6. Армирование плиты по
схеме нижняя арматурная сетка - монтажный столик - верхняя арматурная сетка: 1
- нижняя сетка; 2 - монтажный столик; 3 - верхняя сетка
Стыки рабочей арматуры, а также
сварных сеток и каркасов в рабочем направлении внахлестку без сварки должны
иметь длину перепуска не менее величины, требуемой СНиП 3.03.01-87. При этом
стыки должны располагаться вразбежку так, чтобы площадь сечения рабочих
стержней, стыкуемых в одном месте или на расстоянии менее перепуска, составляла
не более 50% общей площади сечения растянутой арматуры при стержнях
периодического профиля и не более 25% - при гладких стержнях. Стыки внахлестку
сварных сеток в направлении рабочей арматуры из стали класса А-1 должны
выполняться так, чтобы в каждой из стыкуемых в растянутой зоне сеток на длине
нахлестки располагалось не менее двух поперечных стержней, приваренных ко всем
продольным стержням сеток. Такие же стыки применяются и для стыкования внахлестку
сварных каркасов с односторонним расположением рабочих стержней из всех видов
стали. Стыки сварных сеток в направлении рабочей арматуры из горячекатаной
стали периодического профиля классов А П, А-Ш и Ат-III выполняются без
поперечных стержней в пределах стыка в одной или в обеих стыкуемых сетках.
Стыки сварных сеток в нерабочем направлении выполняются внахлестку с
перепуском, считая между крайними рабочими стержнями сетки:
при диаметре распределительной
арматуры до 4 мм включительно - на 50 мм;
при диаметре распределительной
арматуры более 4 мм - на 100 мм;
при диаметре рабочей арматуры
16 мм и более сварные сетки в нерабочем направлении допускается укладывать
впритык друг к другу, перекрывая стык специальными стыковыми сетками,
укладываемыми с перепуском в каждую сторону не менее 15 диаметров
распределительной арматуры и не менее 100 мм.
Контроль качества сварных
соединений арматуры должен производиться в соответствии с ГОСТ 10922-90
"Арматура и закладные детали сварные для железобетонных конструкций. Технические
требования". Смонтированная арматура должна быть закреплена от смещений и
предохранена от повреждений, могущих иметь место при бетонировании.
Приемка смонтированной
арматуры, а также сварных стыков соединений должна осуществляться до укладки бетона,
производиться при участии представителя авторского надзора и оформляться актом
освидетельствования скрытых работ.
Бетонирование монолитной
фундаментной плиты должно производиться в соответствии с рабочими чертежами,
проектом производства работ, СНиП 3.03.01-87. "Несущие и ограждающие
конструкции".
Рис.7. Арматурный каркас плиты
фундамента
Бетонирование разрешается
выполнять только после освидетельствования и приемки по акту бетонной
подготовки и опалубки при условии письменного разрешения авторского надзора в
журнале работ.
Перед бетонированием фундамента
бетонную подготовку, опалубку и арматуру следует очистить от мусора, грязи,
битума, масел; промыть (при положительной температуре); воду, оставшуюся на
поверхности, удалить. В зимнее время удалить снег и наледь, что рекомендуется
производить горячим воздухом под брезентом или полиэтиленовым укрытием. Удалять
снег и наледь паром или водой не разрешается. Арматура должна быть очищена от
налета ржавчины. Обращенные к бетону поверхности деревянной опалубки
(подлежащей разборке) и блочной прижимной стенки должны быть обильно окрашены
известковым или цементным молоком или покрыты гидрофобным составом, а щели в
опалубке - заделаны.
Бетонирование плиты следует
производить непрерывным способом в пределах отдельных блоков (захваток), по
границам которых устраиваются рабочие швы.
Для предотвращения
температурно-усадочных трещин массивные плиты бетонируют отдельными зонами,
включающими несколько блоков. Бетонирование замыкающих блоков должно
производиться только после усадки и охлаждения смыкаемых блоков. Укладка
бетонной смеси после перерывов в бетонировании допускается после приобретения
уложенным бетоном прочности не менее 15 кг/см
.
Во избежание образования не предусмотренных проектом рабочих швов в плите
(наклонных и горизонтальных), снижающих прочность плиты, необходимо выбрать
такой способ и темп бетонирования, чтобы каждый блок (захватка) был полностью
забетонирован в требуемое время без недопустимых перерывов в бетонировании.
Бетонирование из
автобетоносмесителей непосредственно в плиту применяют для плит с объемом
укладки до 200-300 м
в смену при
условии доставки к насосу бетонной смеси, соответствующей паспортным данным
(пластичность, крупность инертных составляющих и других параметров),
автобетоносмесителями СБ-92.
Подачу бетонной смеси
бетононасосами необходимо выполнять в соответствии со следующими правилами:
перед началом работ бетононасос
и весь комплект бетоновода должны быть испытаны гидравлическим давлением,
величина которого указывается в паспорте установки;
назначенный состав и
подвижность бетонной смеси должны быть проверены и уточнены на основании
пробных перекачек смеси;
внутренняя поверхность
бетоновода должна быть непосредственно перед бетонированием увлажнена и смазана
известковым или цементным раствором;
при перерывах (20-60 мин) в
перекачке смеси необходимо каждые 10 мин прокачивать бетонную смесь по системе
в течение 10-15 с на малых режимах работы бетононасоса. При перерывах,
превышающих указанное время, бетоновод должен быть опорожнен и очищен или
промыт;
распределение бетонной смеси
следует осуществлять с помощью специальных стрел, установленных в зоне
бетонирования;
резинотканевые рукава,
используемые для распределения бетонной смеси, должны иметь диаметр не более
125 мм.
Бетонная смесь должна
укладываться в бетонируемую конструкцию горизонтальными слоями одинаковой
толщины, без разрывов, с последовательным направлением укладки в одну сторону
во всех слоях.
Для хождения людей при
бетонировании по верхней сетке арматуры укладываются щиты из досок.
Продолжительность времени между укладкой и уплотнением последовательно
укладываемых слоев бетонной смеси не должна превышать двух часов.
Бетонную смесь уплотняют
внутренними вибраторами ИВ-56 и поверхностными вибраторами ИВ-91. Наибольшая
толщина укладываемого слоя при использовании ручных глубинных вибраторов не
должна превышать 1,25 длины рабочей части вибратора. При уплотнении бетонной
смеси поверхностными вибраторами толщина слоя не должна превышать 250 мм.
Уплотнение укладываемой
бетонной смеси необходимо производить с соблюдением следующих правил:
шаг перестановки глубинных
вибраторов не должен превышать полуторного радиуса их действия;
глубина погружения глубинного
вибратора в бетонную смесь должна обеспечить углубление его в ранее уложенный
слой на 5-10 см;
шаг перестановки поверхностных
вибраторов должен обеспечивать перекрытие на 100 мм площадкой вибратора границы
уже провибрированного участка;
опирание вибраторов во время их
работы на арматуру и закладные части бетонируемых конструкций, а также на тяги
и другие элементы ее крепления не допускается.
Уплотнение можно считать
достаточным, если прекращается оседание смеси, выделение пузырьков воздуха,
появляется цементное молоко на ее поверхности.
В случае обнаружения деформации
или смещения опалубки бетонирование должно быть прекращено и опалубка
исправлена до начала схватывания бетона.
Во время дождя бетонируемый
участок должен быть защищен (полимерной пленкой, легкими передвижными навесами,
брезентовыми колпаками и т.п.) от попадания воды в бетонную смесь. Бетон,
размытый дождем, следует удалить.
По окончании бетонирования
каждого блока (захватки) необходимо:
предохранять твердеющий бетон от
ударов, сотрясений и других механических воздействий;
осуществлять мероприятия по
выдерживанию свежеуложенного бетона до установленной прочности (уход за
бетоном);
регулярно увлажнять поверхность
бетона водой. После приобретения бетоном прочности 3-5 кг/см
укрывать его поверхности гидрофильными материалами (брезент, мешковина, опилки,
песок и др.), поддерживаемыми постоянно во влажном состоянии периодическим
рассеянным поливом их водой. В начальный период ухода за бетоном, во избежание
размыва и порчи его поверхности, следует укрывать его полимерными пленками,
брезентом, мешковиной.
Если постоянное увлажнение
водой нецелесообразно или невозможно, бетон следует укрывать полимерными
пленками (поливинилхлоридной, полиэтиленовой). Полотнища полимерной пленки
должны быть по возможности максимальной площади; укладываться внахлестку; в
местах нахлестки - плотно прилегать друг к другу, а их кромки - к бетону.
При этом должно быть исключено
сквозное продувание между устройствами и бетоном. В дождливую погоду
свежеуложенный бетон следует укрывать пленками, мешковиной, брезентом и
вышеперечисленными инвентарными устройствами.
Проверка подвижности или
жесткости бетона должна производиться у места его приготовления и укладки: не
реже двух раз в смену - в условиях установившейся погоды и постоянной влажности
заполнителей; и не реже чем через каждые два часа - при резком изменении
влажности заполнителей, а также при переходе на приготовление смеси нового
состава или из новой партии материалов.
Прочность бетона плиты
определяется испытанием на сжатие контрольных бетонных кубов в соответствии с
действующим ГОСТом. Результаты контроля качества бетона должны записываться в
журнале по форме, установленной лабораторией строительной организации.
Бетонирование плиты должно
сопровождаться записями в "Журнале бетонных работ" по следующим
пунктам:
дата начала и окончания
бетонирования (по конструкциям, блокам, участкам);
заданные марки бетона, рабочие
составы бетонной смеси и показатели ее подвижности (жесткости);
объем выполненных бетонных
работ по отдельным частям сооружения;
дата изготовления контрольных
образцов бетона, их количество, маркировка (с указанием места конструкции,
откуда взята бетонная смесь), сроки и результаты испытания образцов;
температура наружного воздуха
во время бетонирования;
температура бетонной смеси при
укладке (в зимних условиях), а также при бетонировании массивных конструкций;
тип опалубки и дата распалубки
конструкции.
Рис.8. Технологическая
последовательность выполнения работ
Рис.9. Разравнивание и
уплотнение бетонной смеси
Рис.10. Заглаживание
поверхности
. КОНТРОЛЬ КАЧЕСТВА
ПРОИЗВОДСТВА РАБОТ
Контроль качества за
строительством ведется строительным управлением постоянно, на всем протяжении
строительства, по каждому виду и комплексу работ.
Организация контроля
осуществляется в соответствии со следующими нормативными документами:
СНиП 3.01.04-87. Приемка в эксплуатацию
законченных строительных объектов. Основные положения;
СНиП 3.03.01-87. Несущие и
ограждающие конструкции;
СНиП 12-01-2004. Организация
строительства;
СНиП 3.01.03-84. Геодезические
работы в строительстве.
От качества
строительно-монтажных работ зависит, прежде всего, устойчивость и долговечность
зданий и сооружений.
Качество строительно-монтажных
работ зависит от качества применяемых материалов, изделий и конструкций,
квалификации исполнителей и способов производства работ. Проекты производства
работ на стадии своей разработки должны решать эти задачи.
С целью обеспечения
необходимого качества строительства данного сооружения выполняемые работы
должны подвергаться производственному контролю на всех стадиях их выполнения.
Производственный контроль подразделяется на входной, операционный
(технологический), инспекционный и приемочный. Контроль качества выполняемых
работ должен осуществляться специалистами или специальными службами,
оснащенными техническими средствами, обеспечивающими необходимую достоверность
и полноту контроля, и возлагается на руководителя производственного
подразделения (начальника участка, прораба), выполняющего строительные работы.
Строительные материалы,
конструкции, детали и изделия, поступающие на объект, должны быть подвергнуты
входному контролю.
Входной контроль продукции
устанавливается сплошным или выборочным. Количество материалов, подлежащих
входному контролю, должно соответствовать нормам, приведенным в технических
условиях и стандартах.
При установлении выборочного
контроля, планы контроля и правила приемки должны соответствовать правилам,
установленным в нормативно-технической документации на контролируемую
продукцию, а объем выборки устанавливается СНиП или проектом.
До проведения монтажных работ
конструкции, соединительные детали, арматура и средства крепления, поступившие
на объект, должны отвечать требованиям ГОСТов, ТУ на их изготовление и рабочих
чертежей. Входной контроль проводится с целью выявления отклонений от этих
требований.
Входной контроль поступающих на
объект строительных материалов, конструкций и изделий осуществляется
регистрационным методом путем анализа данных, зафиксированных в документах
(сертификатах, паспортах, накладных и т.п.), внешним визуальным (по ГОСТ
16504-81) или техническим (по ГОСТ 16504-81) осмотром, а при необходимости -
измерительным методом с применением средств измерения (проверка основных
геометрических параметров), в т.ч. лабораторного оборудования. Каждое изделие
должно иметь маркировку, выполненную несмываемой краской. Если отклонения
превышают допуски, заводам-изготовителям направляют рекламации, а конструкции
бракуют. Все конструкции, соединительные детали, а также средства крепления,
поступившие на объект, должны иметь сопроводительный документ (паспорт), в
котором указываются наименование конструкции, ее марка, масса, дата
изготовления. Паспорт является документом, подтверждающим соответствие
конструкций рабочим чертежам, действующим ГОСТам или ТУ.
Входной контроль поступающей
продукции осуществляет комиссия, назначенная приказом директора предприятия. В
состав комиссии включают представителя отдела снабжения, линейных ИТР и
Производственно-технического отдела.
Входной контроль осуществляется
по требованиям и методам, установленным в нормативно-технической документации
на контролируемую продукцию и договорах на ее поставку.
Организация входного контроля,
закупаемой продукции и материалов проводится в соответствии с инструкциями:
N П-6 от 15.06.1965 г. "О
порядке приемки продукции производственно-технического назначения и товаров народного
потребления по количеству";
N П-7 от 25.04.1966 г. "О
порядке приемки продукции производственно-технического назначения и товаров
народного потребления по качеству".
Результаты входного контроля
оформляются Актом и заносятся в Журнал учета входного контроля материалов и
конструкций.
При операционном
(технологическом) контроле надлежит проверять соответствие выполнения основных
производственных операций требованиям, установленным строительными нормами и
правилами, рабочим проектом и нормативными документами.
Это позволит своевременно
выявить дефекты и принять меры по их устранению и предупреждению. Контроль
выполняется в процессе производства работ или непосредственно после их
завершения. Контроль проводится под руководством прораба, мастера или начальника
участка, в соответствии со Схемой операционного контроля качества работ.
Контроль осуществляют преимущественно измерительным методом (при помощи
измерительных и геодезических приборов) или техническим осмотром. Результаты
операционного контроля регистрируются в Общем и специальных журналах работ.
Геодезический контроль точности
выполнения бетонных работ включает в себя:
правильность планового и
высотного положения опалубки и арматурных каркасов;
соблюдения геометрических
размеров и формы фундаментной плиты.
Положение плиты контролируется
по главным и основным осям относительно геодезической разбивочной основы с
одновременной проверкой ее линейных размеров. Контроль правильности устройства
фундамента осуществляется по осевым линиям, закрепленным на местности обноской.
Плановое положение фундамента
контролируется по совмещению осевых рисок с разбивочной осью, положение которой
определяется с помощью отвесов и проволоки, натянутой на обноске или с помощью
теодолита. Высотное положение фундамента контролируется нивелированием верха
плиты.
По окончании строительства
объекта или его этапов, скрытых работ и других объектов контроля производится
приемочный контроль, в ходе которого проверяется соответствие выполненных работ
и смонтированных конструкций требованиям рабочей документации, соответствие
построенного элемента исполнительной документации. По его результатам
принимается документированное решение о пригодности объекта контроля к
эксплуатации или выполнению последующих работ.
Результаты приемочного контроля
фиксируются в актах освидетельствования скрытых работ, акте приемки
подготовительных работ, актах промежуточной приемки ответственных конструкций.
При инспекционном контроле
надлежит проверять качество строительно-монтажных работ выборочно по усмотрению
заказчика или генерального подрядчика с целью проверки эффективности ранее
проведенного производственного контроля. Этот вид контроля может быть проведен
на любой стадии строительно-монтажных работ.
Результаты контроля качества,
осуществляемого техническим надзором заказчика, авторским надзором,
инспекционным контролем, а также замечания лиц, контролирующих производство и
качество работ, должны быть занесены Общий журнал работ (Рекомендуемая форма
приведена в приложении Г, СНиП 12-01-2004).
Вся приемо-сдаточная
документация должна соответствовать требованиям СНиП 12-01-2004.
Качество производства работ
обеспечивается выполнением требований к соблюдению необходимой технологической
последовательности при выполнении взаимосвязанных работ и техническим контролем
за их ходом, изложенных в Рабочих технологических картах. Контроль качества
строительно-монтажных работ ведут с момента поступления материалов и
конструкций на строительную площадку и заканчивают при сдаче объекта в
эксплуатацию. На объекте строительства должен вестись Общий журнал работ,
Журнал авторского надзора проектной организации, Журнал оперативного
геодезического контроля, Журнал сварочных работ, Журнал бетонных работ, Журнал
ухода за бетоном.
IV.
МАТЕРИАЛЬНО-ТЕХНИЧЕСКОЕ ОБЕСПЕЧЕНИЕ
строительство контроль
безопасность труд
Работы, предусмотренные
Договором подряда, осуществляются силами и средствами строительного участка.
Приемка и целевое использование
техники и оборудования, а также обеспечение быта работающих поручается
Начальнику участка.
В процессе осуществления работ
(с момента издания приказа) вся выделенная техника и оборудование находятся
исключительно в оперативном распоряжении Начальника участка.
Потребность в строительных
машинах и механизмах определена на основании технологических карт и приведена в
таблице 9.
Таблица 9. ПОТРЕБНОСТЬ В
ОСНОВНЫХ МАШИНАХ, МЕХАНИЗМАХ, ИНСТРУМЕНТАХ И ОБОРУДОВАНИИ
|
Nп/п
|
Наименование
машин, механизмов, инструментов и оборудования. Краткая техническая
характеристика
|
Марка,
тип
|
Ед.
изм.
|
Количество
|
|
1.
|
2.
|
3.
|
4.
|
5.
|
|
1.
|
Автобетоносмеситель,
4,0
м
|
СБ-92
|
ед.
|
1
|
|
2.
|
Автобетононасос
|
BRF
24.08
|
--
// --
|
1
|
|
3.
|
Автомобиль-самосвал,
13
т
|
КамАЗ-55111
|
--
// --
|
5
|
|
4.
|
Автомобильный
кран, 25
т
|
--
// --
|
1
|
|
5.
|
Строп
двухпетлевой
|
СКП1-3,2
|
--
// --
|
2
|
|
6.
|
Оттяжка
пеньковая
|
|
--
// --
|
2
|
|
7.
|
Бульдозер
|
Б
170М
|
--
// --
|
1
|
|
8.
|
Вибратор
глубинный
|
ИВ-78
|
--
// --
|
3
|
|
9.
|
Виброрейка
"TREMIX"
|
SME
100
|
--
// --
|
1
|
|
10.
|
Нарезчик
швов "DYNAPAK"
|
ORKA350/450
|
--
// --
|
1
|
|
11.
|
Затирочная
машина "TREMIX"
|
G700Е
|
--
// --
|
1
|
|
12.
|
Молоток
слесарный
|
|
--
// --
|
2
|
|
13.
|
Лом
стальной
|
ЛО-24
|
--
// --
|
1
|
|
14.
|
Щетка
стальная
|
ТУ-36-2460-82
|
--
// --
|
1
|
|
15.
|
Сварочный
аппарат
|
АДД-300
|
--
// --
|
1
|
|
16.
|
Станок
приводной для резки арматуры
|
С-150А
|
--
// --
|
1
|
|
17.
|
Станок
для гибки арматурных стержней
|
С-146А
|
--
// --
|
1
|
|
18.
|
Станок
для гибки арматурных сеток
|
С-516
|
--
// --
|
1
|
|
19.
|
Волочильная
установка
|
|
--
// --
|
1
|
|
20.
|
Точечная
машина для сварки сеток и каркасов
|
АТП-75
|
--
// --
|
1
|
|
21.
|
Теодолит
|
2Т-30П
|
--
// --
|
1
|
|
22.
|
Нивелир
|
2Н-10КЛ
|
--
// --
|
1
|
|
23.
|
Метр
складной
|
РСТ
149-76
|
--
// --
|
2
|
|
24.
|
Рулетка
металлическая, 2,0 м.
|
РС-1
|
--
// --
|
1
|
|
25.
|
Рулетка
металлическая, 5,0 м
|
РЗ-5
|
--
// --
|
1
|
|
26.
|
Рулетка
металлическая, 10,0 м
|
РЗ-10
|
--
// --
|
1
|
|
27.
|
Рулетка
металлическая, 20,0 м
|
РЗ-20
|
--
// --
|
1
|
|
28.
|
Уровень
строительный
|
УС1-300
|
--
// --
|
1
|
|
29.
|
Отвес
00-400
|
ТС-500
|
--
// --
|
1
|
V. БЕЗОПАСНОСТЬ
ТРУДА
Комплекс работ по выполнению
строительно-монтажных работ должен быть выполнен в соответствии с требованиями
по технике безопасности, регламентируемыми следующими нормативными документами:
СНиП 12-03-2001 Безопасность
труда в строительстве, ч.1;
СНиП 12-04-2002 Безопасность
труда в строительстве, ч.2;
ГОСТ 12.3.002-75*
"Процессы производственные. Общие требования безопасности"
РД 102-011-89. Охрана труда.
Организационно-методические документы.
ВСН 274-88 Правила техники
безопасности при эксплуатации стреловых самоходных кранов.
Охрана труда рабочих должна
обеспечиваться выдачей администрацией необходимых средств индивидуальной защиты
(специальной одежды, обуви и др.), выполнением мероприятий по коллективной
защите рабочих (ограждения, освещение) санитарно-бытовыми помещениями и
устройствами в соответствии с действующими нормами и характером выполняемых
работ. Рабочим должны быть созданы необходимые условия труда, питания и отдыха.
Работы выполняются в спецобуви и спецодежде. Все лица, находящиеся на
строительной площадке, обязаны носить защитные каски.
Санитарно-бытовые помещения
должны размещаться вне опасных зон. В вагончике для отдыха рабочих должны
находиться и постоянно пополняться аптечка с медикаментами, носилки,
фиксирующие шины и другие средства для оказания первой медицинской помощи. Все
работающие на строительной площадке должны быть обеспечены питьевой водой.
К основным мероприятиям,
обеспечивающим безопасное ведение работ, относятся:
выполнение периодического
инструктажа всего персонала, об особенностях и повышенной опасности при
выполнении тех или иных работ, включая вводный инструктаж для вновь начинающих
работу на объекте;
персональное закрепление
ответственности технического персонала за контроль выполнения правил техники безопасности
на отдельных участках и в целом по строительной площадке, что должно быть
отражено в соответствующих табличках, распоряжениях и приказах;
ознакомление с ППР и
Технологическими картами всего персонала под роспись.
К выполнению работ по устройству
монолитной фундаментной плиты допускаются рабочие:
прошедшие обучение безопасным
методам труда;
достигшие восемнадцатилетнего
возраста;
прошедшие медицинский осмотр
для определения пригодности по состоянию здоровья к работе по профессии;
прослушавшие вводный инструктаж
по технике безопасности и производственной санитарии;
прошедшие инструктаж по технике
безопасности непосредственно на рабочем месте;
прошедшие специальное обучение,
проверку знаний и имеющие удостоверение на право производства этих работ.
Допуск рабочих к выполнению
работ разрешается только после их ознакомления (под расписку) с ППР и, в случае
необходимости, с требованиями, изложенными в наряде-допуске на особо опасные
работы.
В местах перехода через
траншеи, ямы, канавы должны быть установлены переходные мостики шириной не
менее 1,0 м, огражденные с обеих сторон перилами высотой не менее 1,1 м, со
сплошной обшивкой внизу на высоту 0,15 м и с дополнительной ограждающей планкой
на высоте 0,5 м от настила.
Строительная площадка, участки
работ и рабочие места, проезды и проходы к ним в темное время суток должны быть
освещены в соответствии с требованиями государственных стандартов. Освещенность
должна быть равномерной, без слепящего действия осветительных приспособлений на
работающих. Производство работ в неосвещенных местах не допускается.
Ежедневно перед началом укладки
бетона необходимо проверять состояние опалубки и арматуры. Обнаруженные
неисправности следует незамедлительно устранять.
К работе по эксплуатации
автобетононасоса допускаются лица не моложе 21 года, прошедшие специальное
медицинское освидетельствование и признанные годными.
Работать на неисправном
автобетононасосе или автобетоносмесителе запрещается. Перекачку бетона следует
осуществлять автобетононасосом, установленным с помощью аутригеров на
выровненной площадке в пределах рабочей зоны.
Между местом бетонирования и
машинистом автобетононасоса должна быть установлена надежная визуальная или
радиотелефонная связь.
Передвижение автобетононасоса
со стрелой, не установленной в транспортное положение, не допускается.
Машинист и бетонщики,
обслуживающие автобетононасос, должны работать в защитных касках.
При уплотнении бетонной смеси
электровибраторами перемещать вибратор за токоведущие шланги не допускается, а
при перерывах в работе и при переходе с одного места на другое электровибраторы
необходимо отключать.
Погрузочно-разгрузочные работы
должны выполняться механизированным способом при помощи подъемно-транспортного
оборудования, под руководством лица, ответственного за безопасное производство
работ и перемещение грузов грузоподъемными машинами, назначенного приказом
руководителя организации. А также имеющего удостоверение и аттестованного
комиссией на основании "Правил устройства и безопасной эксплуатации
грузоподъемных кранов".
Лицо, ответственное за
безопасное производство работ по перемещению грузов кранами, обязано:
ознакомить рабочих с
технологической схемой работ под роспись;
следить за исправным состоянием
такелажных приспособлений;
назначить старшего такелажника
и, при необходимости, сигнальщика;
допускать к обслуживанию крана
только лиц, имеющих соответствующее удостоверение стропальщика;
особое внимание следует уделить
правильности зацепления груза, не допускать перегрузки крана, следить, чтобы не
было людей в опасной зоне при работе крана;
разрешать работать только с
исправными грузозахватными приспособлениями;
запрещать перемещение груза
волоком и над людьми;
запрещать подъем защемленных и
неправильно застропованных грузов;
прекращать работу крана при
силе ветра более 6 баллов, во время сильного снегопада, тумана или грозы и в
других случаях, когда крановщик плохо различает сигналы стропальщика или
перемещаемый груз.
Ответственное лицо осуществляет
организационное руководство погрузочными работами непосредственно или через бригадира.
Распоряжения и указания ответственного лица являются обязательными для всех
работающих на объекте.
Перед началом работ машинист
грузоподъемного крана должен проверить:
механизм крана, его тормоза и
крепление, а также ходовую часть и тяговое устройство;
смазку передач, подшипников и
канатов;
стрелу и ее подвеску;
состояние канатов и
грузозахватных приспособлений (траверс, крюков).
При производстве работ по
подъему, перемещению и укладке грузов необходимо соблюдать следующие правила:
нельзя находиться людям в
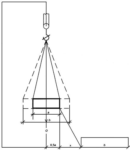
границах опасной зоны (cмотри рис.11); Радиус опасной зоны
оз = Rс +0,5a +b+x,
где Rс - радиус вращения стрелы
в горизонтальной плоскости;- минимальное расстояние отлета груза в случае его
падения;и b - габариты груза;
при работе со стальными канатами
следует пользоваться брезентовыми рукавицами;
запрещается во время подъема
грузов ударять по стропам и крюку крана;
запрещается стоять, проходить
или работать под поднятым грузом;
запрещается оставлять грузы,
лежащими в неустойчивом положении;
машинист крана не должен
опускать груз одновременно с поворотом стрелы;
не бросать резко опускаемый
груз;
запрещается участвовать в
погрузочно-разгрузочных работах шоферам или другим лицам, не входящим в состав
бригады;
устанавливать стреловые
самоходные краны на краю откоса котлована (канавы) можно при условии соблюдения
расстояний, указанных в таблице 11. При невозможности соблюдения этих
расстояний откос должен быть укреплен в соответствии с проектом.
Границы опасной зоны находятся
за пределами границы зоны обслуживания крана и определяются с учетом габаритов
перемещаемого груза и высоты его подъема. Согласно СНиП 12-03-2001 границы
опасной зоны определяются путем проекции наружного наименьшего габарита
перемещаемого груза с прибавлением минимального расстояния отлета груза и
максимального габарита перемещаемого груза (рисунок 11).
Рис. 11 - Определение границы
опасной зоны перемещаемого краном груза
-
граница зоны обслуживания краном;
-
наименьший габарит перемещаемого груза;
-
наибольший габарит перемещаемого груза; х - минимальное расстояние отлета груза
согласно таблице Г.1, СНиП 12-03-2001
Таблица 10. Минимальное
расстояние отлета перемещаемого краном груза в случае его падения
|
Высота
возможного падения груза, м
|
Минимальное
расстояние отлета перемещаемого краном груза в случае его падения, м
|
|
|
|
До
10
|
4
|
|
"
20
|
7
|
|
"
70
|
10
|
|
"
120
|
15
|
|
"
200
|
20
|
|
"
300
|
25
|
|
"
450
|
30
|
|
Примечание.
При промежуточных значениях высоты возможного падения грузов (предметов)
минимальное расстояние их отлета допускается определять методом интерполяции
|
Минимальное
расстояние а (в м) от основания откоса котлована (канавы) до ближайших опор
крана при ненасыпанном грунте (СНиП 12-03-2001)
Таблица 11
|
Глубина
котлована (канавы) Н, м
|
Грунт
|
|
песчаный
и гравийный
|
супесчаный
|
суглинистый
|
глинистый
|
лессовый
сухой
|
|
1
|
1,5
|
1,25
|
1,0
|
1,0
|
1,0
|
|
2
|
3,0
|
2,4
|
2,0
|
1,5
|
2,0
|
|
3
|
4,0
|
3,6
|
3,25
|
1,75
|
2,5
|
|
4
|
5,0
|
4,4
|
4,0
|
3,0
|
3,0
|
|
5
|
6,0
|
5,3
|
4,75
|
3,5
|
3,5
|
Загрузка и разгрузка автомашин
и других транспортных средств должны выполняться без нарушения их равновесия;
м) по окончании работы или в
перерыве груз не должен оставаться в подвешенном состоянии, управление краном
должно быть отключено, автомобиль заглушен, а кабина крановщика заперта на
замок;
н) кантовка грузов кранами
может производиться на кантовальных площадках или в специально отведенных
местах. Выполнение такой работы разрешается только по заранее составленной
технологии, где отражаются последовательность выполнения операции, способ
строповки груза и указания по безопасному выполнению работ;
о) при подъеме груза он должен
быть предварительно приподнят на высоту не более 200-300 мм для проверки
правильности строповки и надежности действия тормоза;
п) при подъеме груза,
установленного вблизи стены, колонны, штабеля, не должно допускаться нахождение
людей (в том числе и лица, производящего зацепку груза) между поднимаемым
грузом и указанными частями здания или оборудованием, это требование должно
также строго выполняться и при опускании груза.
При работе грузоподъемной
машины не допускаются:
а) вход в кабину грузоподъемной
машины во время ее движения;
б) нахождение людей возле
работающего стрелового самоходного крана во избежание зажатия их между
поворотной и неповоротной частями крана;
в) перемещение груза,
находящегося в неустойчивом положении или подвешенного за один рог двурогого
крюка;
г) перемещение людей или груза
с находящимися на нем людьми. Подъем людей кранами может производиться в
исключительных случаях и только в специально изготовленной кабине после
разработки мероприятий, обеспечивающих безопасность людей. Такая работа должна
производиться по специальной инструкции, согласованной с органом
Госгортехнадзора;
д) подъем груза, засыпанного
землей или примерзшего к земле, заложенного другими грузами, укрепленного
болтами или залитого бетоном, а также металла и шлака, застывшего в печи или
приварившегося после слива;
е) подтаскивание груза по земле
крюком крана при наклонном положении грузовых канатов без применения
направляющих блоков, обеспечивающих вертикальное положение грузовых канатов;
ж) освобождение с помощью
грузоподъемной машины защемленных грузом стропов, канатов или цепей;
з) оттягивание груза во время
его подъема, перемещения и опускания. Для разворота длинномерных и
крупногабаритных грузов во время их перемещения должны применяться крючья или
оттяжки соответствующей длины;
и) выравнивания перемещаемого
груза руками, а также поправка стропов на весу;
к) работа при выведенных из
действия или неисправных приборах безопасности и тормозах;
л) включение механизмов крана
при нахождении людей на кране вне его кабины (в машинном помещении, на стреле,
противовесе и т.п.). Исключение допускается для лиц, ведущих осмотр и регулировку
механизмов и электрооборудования. В этом случае механизмы должны включаться по
сигналу лица, производящего осмотр;
м) подъем груза непосредственно
с места его установки (с земли, площадки, штабеля и т.п.) стреловой лебедкой.
.15. До выполнения монтажных
работ необходимо установить порядок обмена условными сигналами между
монтажником и машинистом крана (смотри таблицу 12).
Все сигналы, кроме сигнала
"Стоп", по даются только одним лицом (бригадиром, звеньевым,
монтажником), сигнал "Стоп" может быть подан любым работником,
заметившим опасность.
Таблица 12. РЕКОМЕНДУЕМАЯ
ЗНАКОВАЯ СИГНАЛИЗАЦИЯ ПРИ ПЕРЕМЕЩЕНИИ ГРУЗОВ КРАНАМИ
|
Операция
|
Рисунок
|
Сигнал
|
|
Поднять
груз или крюк
|
|
Прерывистое
движение рукой вверх на уровне пояса, ладонь обращена вверх, рука согнута в
локте
|
|
Отпустить
груз или крюк
|
|
Прерывистое
движение рукой вниз перед грудью, ладонь обращена вниз, рука согнута в локте
|
|
Передвинуть
кран (мост)
|
|
Движение
вытянутой рукой, ладонь обращена в сторону требуемого движения
|
|
Передвинуть
тележку
|
|
Движение
рукой, согнутой в локте, ладонь обращена в сторону требуемого движения
тележки
|
|
Повернуть
стрелу
|
|
Движение
рукой, согнутой в локте, ладонь обращена в сторону требуемого движения стрелы
|
|
Поднять
стрелу
|
|
Движение
вверх вытянутой рукой, предварительно опущенной до вертикального положения,
ладонь раскрыта рукой
|
|
Опустить
стрелу
|
|
Движение
вниз вытянутой рукой, предварительно поднятой до вертикального положения,
ладонь раскрыта
|
|
Стоп
(прекратить подъем или передвижение)
|
|
Резкое
движение рукой вправо и влево на уровне пояса, ладонь обращена вниз
|
Примечание: * Рекомендуемая
форма стропальщика: жилет и каска - желтого цвета, рубашка - голубого, повязка
- красного.
. ПРОИЗВОДСТВО
РАБОТ В ОХРАННОЙ ЗОНЕ ЛЭП
При производстве строительных
работ в опасной зоне действующих ЛЭП необходимо руководствоваться следующими
нормативными документами:
СНиП 12-03-2001 Безопасность
труда в строительстве. Ч.1 Общие требования;
СНиП 12-04-2002 Безопасность
труда в строительстве. Ч.2 Строительное производство;
РД 102-011-89 Охрана труда,
Организационно-методические документы;
ПОТ Р М-016-2001 Межотраслевые
правила по охране труда при эксплуатации электроустановок.
Допуск рабочих к работам в
охранной зоне линии электропередачи, находящейся под напряжением, проводят
(после получения разрешения эксплуатирующей организации) допускающий из
персонала организации, эксплуатирующей линию электропередачи, и Производитель
работ.
При этом Производитель работ
осуществляет допуск исполнителей каждой бригады данного участка с выдачей
оформленного Наряда-допуска на производство работ в охранной зоне ЛЭП.
Не допускается пребывание на
месте работы в охранной зоне - людей, не имеющих прямого отношения к проводимой
работе.
При приближении грозы лицо,
ответственное за безопасное производство работ, обязано прекратить работы и
вывести всех работающих из зоны работ на расстояние не ближе 25 м от ЛЭП.
Во время грозы производство
работ и пребывание людей в охранной зоне ЗАПРЕЩАЕТСЯ.
НЕ ДОПУСКАЕТСЯ работа
грузоподъемных машин при ветре, вызывающем приближение на недопустимое
расстояние грузов или свободных от них тросов и канатов, с помощью которых
поднимается груз, до находящихся под напряжением токоведущих частей.
Работа строительных машин в
охранной зоне ЛЭП разрешается при наличии у машинистов наряда-допуска и при
полностью снятом напряжении организацией, эксплуатирующей данную линию
электропередачи и II-й группы по электробезопасности.
В случае невозможности снятия
напряжения строительно-монтажные работы в охранной зоне ЛЭП допускаются только:
при наличии письменного
разрешения эксплуатирующей организации;
при предварительной выдаче
механизаторам и строителям наряда-допуска;
при руководстве и непрерывном
надзоре ответственного лица из числа ИТР, имеющего квалификационную группу по
технике электробезопасности не ниже III;
при условии, если все
работающие в охранной зоне могут оказать первую доврачебную помощь пострадавшим
от электрического тока и имеют соответствующую группу по электробезопасности.
Границы охранной и опасной зоны
устанавливаются в обе стороны от крайних проводов для соответствующего
напряжения согласно ГОСТ 12.1.051.
Границы зон, в которых существует
опасность поражения электрическим током, регламентируют расстояния от не
огражденных неизолированных частей (электрооборудования, кабеля, провода) или
от вертикальной плоскости, образуемой проекцией на землю ближайшего провода
воздушной линии электропередачи, находящейся под напряжением, и представлены в
таблице 13.
Таблица 13
|
Напряжение,
кВ
|
Расстояние,
м
|
|
До
1
|
1,5
|
|
От
1 до 20
|
2
|
|
От
35 до 110
|
4
|
|
От
150 до 220
|
5
|
|
До
330
|
6
|
|
От
500 до 750
|
9
|
|
800
(постоянный ток)
|
9
|
Во избежание повреждения
действующих линий электропередач в процессе строительства устанавливаются
охранные зоны в обе стороны от крайних проводов согласно данных таблицы 14.
Таблица 14
|
Напряжение,
Кв
|
Расстояние,
м
|
|
До
1
|
2
|
|
От
1 до 20 включительно
|
10
|
|
35
|
15
|
|
110
|
20
|
|
150,
220
|
25
|
|
330,
400, 500
|
30
|
|
750
|
40
|
|
800
(постоянный ток)
|
30
Установка и работа
грузоподъемных механизмов непосредственно под проводами ВЛ напряжением до 35 кВ
включительно, находящимися под напряжением, не допускается.
Устанавливать грузоподъемную
машину (механизм) на выносные опоры и переводить ее рабочий орган из
транспортного положения в рабочее должен управляющий ею машинист. Не разрешается
привлекать для этого других работников.
В темное время суток работу с
грузоподъемными машинами можно проводить только при отключении ЛЭП и
достаточном освещении рабочего места и ЛЭП.
При всех работах в пределах
охранной зоны ВЛ без снятия напряжения механизмы и грузоподъемные машины должны
заземляться. Грузоподъемные машины на гусеничном ходу при их установке
непосредственно на грунте заземлять не требуется.
В случае соприкосновения стрелы
крана или подъемного механизма с токоведущими частями, находящимися под
напряжением, или возникновении между ними электрического разряда машинист
должен принять меры к быстрейшему разрыву возникшего контакта и отведению
подвижной части механизма от токоведущих частей на расстояние не менее 4
метров, предупредив окружающих работников о том, что механизм находится под
напряжением.
ЗАПРЕЩАЕТСЯ до снятия
напряжения с ЛЭП или отвода рабочего органа на безопасное расстояние
прикасаться к строительной машине стоя на земле, сходить с нее на землю или
подниматься на нее.
Если в результате
соприкосновения или электрического разряда произойдет возгорание строительной
машины, не позволяющее оставаться в ней, машинист должен, не держась руками за
части машины, спрыгнуть на землю сразу обеими ногами и оставаться на одном
месте до снятия напряжения с ЛЭП. Удаляться от машины до снятия напряжения с
линии можно прыжками на одной или двух ногах одновременно, или мелкими шагами,
не превышающими длину стопы.
При обнаружении на действующей
ЛЭП оборвавшегося и лежащего на земле или провисающего провода запрещается
приближаться к нему на расстояние менее 8 метров.
Вблизи оборванного и провисшего
провода следует установить охрану из числа работающих. Если поставить охрану не
представляется возможным, необходимо установить предупредительные знаки и
укрепить их на стойках вблизи обрыва по радиусу 8 метров, но не ближе, то есть
за пределами шагового напряжения с четырех сторон.
После устройства ограждения для
установки предупредительных знаков следует немедленно сообщить в
эксплуатирующую организацию о местонахождении обрыва.
Для отделения пострадавшего от
токоведущих частей, находящихся под напряжением, следует надеть диэлектрические
перчатки и боты и действовать штангой или изолирующими клещами, рассчитанными
на соответствующее напряжение.
При этом надо помнить об
опасности напряжения шага, если токоведущая часть (провод и т.п.) лежит на
земле, и после освобождения пострадавшего от действия тока необходимо вынести
его из опасной зоны.
На линиях электропередачи,
когда нельзя быстро отключить их из пунктов питания, для освобождения
пострадавшего, если он касается проводов, следует произвести замыкание проводов
накоротко, набросив на них неизолированный провод.
Провод должен иметь достаточное
сечение, чтобы он не перегорел при прохождении через него тока короткого
замыкания. Перед тем как произвести наброс, один конец провода надо заземлить
(присоединить его к телу металлической опоры, заземляющему спуску и др.). Для
удобства наброса на свободный конец проводника желательно прикрепить груз.
Набрасывать проводник надо так, чтобы он не коснулся людей, в том числе
оказывающего помощь и пострадавшего. Если пострадавший касается одного провода,
то часто достаточно заземлить только этот провод.
Рис.12. Освобождение пострадавшего
от действия тока в установках выше 1000 В отбрасыванием провода изолирующей
штангой
. ОХРАНА ОКРУЖАЮЩЕЙ
СРЕДЫ
Мероприятия по охране
окружающей среды строительный участок должен выполнять в полном объеме,
предусмотренном Рабочим проектом и ППР, после согласования этих документов с
местными органами охраны природы.
При выполнении всех видов
строительно-монтажных работ необходимо строго соблюдать требования защиты
окружающей природной среды и выполнять природоохранные мероприятия в
соответствии с ОСТ 102-104-85, ГОСТ 17.4.3.02-85, ГОСТ 17.5.1.01-83, ГОСТ 82
(СТ СЭВ 3078-81), ГОСТ 17.1.3.10-83 (СТ СЭВ 3545-82), ГОСТ 16.504-81, СН
452-73.
Производство
строительно-монтажных работ, движение машин и механизмов, складирование и
хранение материалов вне полосы отвода и в местах, не предусмотренных проектом,
ЗАПРЕЩАЕТСЯ.
Строительное подразделение
несет юридическую и финансовую ответственность за соблюдение проектных решений,
связанных с охраной окружающей природной среды, а также за соблюдение
государственного законодательства и международных соглашений по охране природы.
За нарушение окружающей среды
(разрушение почвенно-растительного покрова, загрязнение водоемов, допущение
пожаров торфяников и др.) вне пределов полосы отвода несут персональную
дисциплинарную, административную, материальную и уголовную ответственность
производитель работ и лица, непосредственно нанесшие урон окружающей среде.
На всех этапах
строительно-монтажных работ следует выполнять мероприятия, предотвращающие:
развитие неблагоприятных
рельефообразующих процессов;
изменение естественного
поверхностного стока на участке строительства;
загорание естественной
растительности, вследствие допуска к работе неисправных технических средств,
способных вызвать загорание;
захламление территории
строительными отходами;
разлив горюче-смазочных
материалов, слив отработанных масел и т.п.
При прокладке временных дорог и
отсыпке площадок под наземные сооружения укладку грунта следует вести методом
"от себя", чтобы естественная поверхность и мохово-растительный покров
не нарушались колесами или гусеницами транспортных машин, а также с целью
дополнительного уплотнения грунта технологическим транспортом.
Строительный участок должен
быть оснащен передвижным емкостями для слива отработанных горюче-смазочных
материалов и загрязненной воды после промывки бетононасоса и мойки для колес
автотранспорта. Запрещается сжигание строительного мусора на площадке.
Строительный мусор должен быть вывезен, для чего предусмотрены контейнеры для
его сбора. Ответственность за проведение работ по сбору строительных отходов и
ГСМ возлагается на производителей работ.
. ПРОТИВОПОЖАРНЫЕ
МЕРОПРИЯТИЯ
Комплекс работ по выполнению
строительно-монтажных работ должен быть выполнен в соответствии с требованиями
пожарной безопасности, регламентируемыми следующими нормативными документами:
СНиП 12-03-2001 Безопасность
труда в строительстве, ч.1;
СНиП 12-04-2002 Безопасность
труда в строительстве, ч.2;
Правила пожарной безопасности.
Лицо, назначенное Приказом
ответственным за обеспечение пожарной безопасности, при производстве комплекса
работ по устройству фундаментной плиты, должно:
обеспечивать своевременное
выполнение требований пожарной безопасности, предписаний, постановлений и иных
законных требований государственных инспекторов по пожарному надзору;
использование личного состава и
пожарной техники строго по назначению;
знать порядок проведения
временных огневых и других пожароопасных работ;
установить порядок действия
работников при обнаружении пожара.
Строительная площадка должна
быть обеспечена противопожарным оборудованием и инвентарем согласно норм.
Характер противопожарного оборудования устанавливается по согласованию с
местными органами государственного пожарного надзора в зависимости от степени
пожарной опасности объекта и его государственного значения.
Дороги, проезды и подъезды к
сооружениям и водоисточникам, используемым для целей пожаротушения, должны быть
свободными для проезда пожарной техники и содержаться в исправном состоянии.
Все работники, участвующие в
строительстве, должны допускаться к работе только после прохождения
противопожарного инструктажа и обучения по предупреждению и тушению возможных
пожаров в порядке, установленном руководителем.
В каждой смене должен быть
назначен ответственный за противопожарную безопасность.
Все созданные на объекте
противопожарные посты необходимо обеспечивать первичными средствами
пожаротушения (огнетушители, ящики с песком, ведра, топоры, багры). Первичные
средства пожаротушения должны содержаться в соответствии с паспортными данными
на них. Не допускается использование средств пожаротушения, не имеющих
соответствующих сертификатов.
Работники предприятия,
участвующие в строительно-монтажных работах, должны:
соблюдать на производстве и в
быту требования пожарной безопасности;
соблюдать и поддерживать
противопожарный режим;
выполнять меры предосторожности
при проведении работ с легковоспламеняющимися (далее - ЛВЖ) и горючими (далее -
ГЖ) жидкостями, другими опасными в пожарном отношении веществами, материалами и
оборудованием;
в случае обнаружения пожара или
признаков горения (открытый огонь, задымление, запах гари, повышение
температуры и т.п.) сообщить о нем в подразделение пожарной охраны по телефону
01, назвать адрес объекта, место возникновения пожара, а также сообщить свою
фамилию и принять возможные меры к спасению людей, имущества и ликвидации
пожара;
поставить в известность об
обнаружении пожара Производителя работ.
Производитель работ, прибывший
к месту пожара, обязан:
продублировать сообщение о
возникновении пожара в пожарную охрану и поставить в известность вышестоящее
руководство;
в случае угрозы жизни людей
немедленно организовать их спасание, используя для этого имеющиеся силы и
средства;
при необходимости отключить
электроэнергию, остановить работу агрегатов, аппаратов, перекрыть сырьевые,
газовые и водяные коммуникации, выполнить другие мероприятия, способствующие
предотвращению развития пожара;
удалить за пределы опасной зоны
всех работников, не участвующих в тушении пожара;
осуществлять общее руководство
по тушению пожара до прибытия подразделения пожарной охраны с привлечением
добровольной пожарной дружины объекта;
обеспечить соблюдение
требований безопасности работниками, принимающими участие в тушении пожара;
одновременно с тушением пожара
организовать эвакуацию и защиту материальных ценностей;
организовать встречу
подразделений пожарной охраны и оказать помощь в выборе кратчайшего пути для
подъезда к очагу пожара.
По прибытии пожарного
подразделения Производитель работ обязан проинформировать руководителя тушения
пожара о конструктивных и технологических особенностях объекта, прилегающих
строений и сооружений, количестве и пожароопасных свойствах хранимых и
применяемых веществ, материалов, изделий и других сведениях, необходимых для
успешной ликвидации пожара, а также организовывать привлечение сил и средств
объекта к осуществлению необходимых мероприятий, связанных с ликвидацией пожара
и предупреждением его развития.
Аварийное положение может быть
отменено после ликвидации аварии, тщательного обследования технологического
состояния оборудования и коммуникаций на месте аварии, анализов на отсутствие
взрывоопасных концентраций горючих газов и паров.
Похожие работы на - Проект производства работ на возведение плоской железобетонной монолитной фундаментной плиты технологического подвала здания. 16-этажный жилой дом в г. Советский
|