|
Марка
экскаватора
|
Наименование
работ.
|
Объёмы
|
Норма
времени
|
Стоимость
маш.см. руб
|
Стоимость
Всего
|
|
|
Кол
- во
|
Ед.
изм
|
Маш.
часы
|
Маш.см.
Всего
|
|
|
|
|
|
|
На
ед.
|
Всего
|
|
|
|
|
ЭО-5015А
|
В
отвал Трансп.
|
1,6
2,64
|
100м
100м
|
2,3
2,8
|
3,68
7,39
|
0,46
0,92
|
26,2
26,2
|
12,052
24,2 ∑=36,25
|
|
ЭО-4111Б
|
В
отвал Трансп.
|
1,6
2,64
|
100м
100м
|
1,8
2
|
2,88
5,28
|
0,36
0,66
|
28,3
28,3
|
10,18
18,67 ∑=28,85
|
На основании технико-экономического сравнения
принимаем экскаватор ЭО-4111Б, так как он наиболее дешевый в эксплуатации.
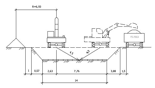
Рисунок 2. Схема работы экскаватора
2.3 Выбор крана
.3.1 Выбор крана для каменно-монтажных
работ выше отметки +0.000
HC=ho+h3+hэл
+hпт+hn=1,25+14,7+1+0.22
+1,2=18,37 м
hn-
принимается 1м
hпт - высота
строповки
hэл-высота элемента
h3-запас по высоте
(1)
L=ℓ+f+0.8+R=12.6+0.29+0.8+3.8=17.49
Принимаем для монтажа конструкций на отметки
+0.000 стреловой кран марки КБ-100, грузоподъемностью 5т.; высотой подъема
стрелы 33м.; вылет стрелы 25м
2.3.2 Отделочные работы
Внутренняя штукатурка ведется поточным методом,
специализированными бригадами штукатуров. Для внутренней штукатурки применяется
цементно-песчаный раствор. Наброс раствора осуществляется вручную, а также при
помощи средств механизации.
Полы керамические, линолеум, дощатые.
2.4 Транспортные задачи
2.4.1 Транспортная задача на
перевозку свай на строительную площадку
Для доставки свай на строительную площадку
принимаем автомобиль МАЗ 504А с полуприцепом УПР 1412 грузоподъемностью 11,850
тон.
Определяем необходимое количество рейсов:
n=tсм·60/(tn+tp+tм+2·1/Vср·60)=8·60/(45+36+5+2·25/45·60)=480/86,01=5,58=6
рейсов
где,
tсм= 8 часов - время
смены
tn = 5 минут -
время погрузки
tp = 4 минут -
время разгрузки
l = 25 км. -
расстояние транспортировки
Vср = 45 км/ч. -
средняя скорость на дороге
Определяем производительность транспортного
средства:
П=qтр·Kтр·n=11,850·0,99·6=70,3
где,
qтр = 11,850 -
грузоподъёмность транспортного средства
Kтр - коэфициэнт
использования транспортного средства
n - количество
рейсов
Определяем необходимое количество транспортных
средств:
M=Q/T·П·Ксм=515,7/5·70,3·1=1,5=2
Q - грузопоток
T = 5 дней - количество
дней завоза
П - производительность транспортного средства
Ксм = 1 смена - количество смен
Для завоза свай на строительную площадку
принимаем 2 машины.
Исходные данные:
Количество раствора=194,7 м3, средняя масса 1 м3
-1,8т, количество смен-1, количество дней транспортировки-1, L=25км,
Vср=45км/час, tп=3мин,
tр1=3мин, tм=2мин.
Решение:
Принимаем для перевозки раствора цементовоз
грузоподъёмностью 18 тон.
Определяем количество раствора, перевозимое за 1
рейс:
/1,8=10м3
Тогда gгр=10∙1,8=18тонн.
Кгр=18/18=1
Время погрузки машины:
tп=tп1∙5 tр=tр1∙5
tп=3∙5=15мин. tр=3∙5=15
tм=2мин.
n=tсм∙60/(tп+tр+tм+2L∙60/Vср)=8∙60/(15+15+2+2∙25∙60/45)=4,8=
принимаем 5 рейсов
П=gгр∙n∙Кгр=18∙5∙1=90тонн
в смену.
m=Q/ТПК=194,7/1∙90∙1=2,1
Принимаем для перевозки раствора на строительную
площадку составляет 2 машины
3. Разработка календарного плана
.1 График движения рабочих.
Показывает ежедневную потребность в кадрах
Характеризуется следующими показателями:
Кнер=Nmax/Nср=35/24=1,45
Nср=
=
=24,3
строительный
четырехэтажный дом
График завоза и расхода материалов. Смотри лист
А-1. Служит для своевременной поставки и контроля за расходом материалов на
объекте. Завоз осуществляют за 2-3 дня до начала работ автотранспортом по
существующим дорогам. l
= 25 км., w = 45 км/ч.
Бетонную смесь для полов подвала завозят в день выполнения работ.
График движения машин и механизмов. Смотри лист
А-1. Для своевременной заявки и поставки механизмов на объект. Показывает
сколько машина смен работает каждый механизм.
Технико-экономические показатели.
Кпрод.=
=
=0,9≤
1
Ксовм.=
=
=2,89
Ксменности=
=
=3,57
4. Стройгенплан
.1 Расчет бытовых помещений
Определение численности инженерно-технических
работников.
Nитр = Nmax*8%
= 35*0,08=2,8 - принимаем 3 человека.
Младший обслуживающий персонал
Nмоп = Nmax
* 2% = 35*0,02 = 0,7 = 1человек.
Численность практикантов
Nпркт. = Nmax
* 5% = 35 * 0,05 = 1,8 = 2человека.
Количество мужчин.
% N
* 80 = 35*0,8=28 Принимаем 28 мужчин.
Количество женщин.
% N
* 20 = 35*0,2=7 Принимаем 7 женщин.
Общее количество рабочих.
Nобщ. = Nmax+Nитр+Nмоп+Nпркт.
= 35+3+1+2 = 41 человека.
Таблица 6. Подбор бытовых помещений.
4.2 Складирование материалов
строительный
четырехэтажный дом
Таблица 7. Расчет складских помещений.
В связи с тем, что площадка для складирования
ограничена и имеет небольшую площадь, материалы завозятся на каждый этаж
раздельно, что позволяет уместить все основные материалы и конструкции. Размеры
площадок для складирования принимаем 5х4;3х2;4х8,2;3х2;2,5х2,5;5х3,8;2х2,14
соответственно.
4.3 Расчет временного водоснабжения
Водопровод на строительной площадке расходуется
на производственные нужды, хозяйственные нужды и пожарные нужды. Расход воды
считается на самый напряжённый момент во время строительства.
Впр.=
Впр.=
=0,3
Таблица 8. Расход воды.
Вхоз =
=
=0,03 л/сек.
Вдуш =
=0,27 л/сек.
Врасчетное = 1,25∙(Впр+Вхоз+Вдуш)
= 1,25∙(0,3+0,03+0,27) = 0,75
Д = 
= 25,23 мм.
Принимаем трубу диаметром 26 мм.
Пожарный гидрант принимаем диаметром 100 мм, запроектированный от существующих
сетей.
4.4 Расчет электропотребления
Энергия идет на освещение внутри
бытовок, на освещение строительной площадки напряжением 220 вольт.
Силовая энергия напряжением в 380
вольт рассчитана на кран, растворомешалку и электроинструменты.
Таблица 9. Расчет
электропотребления.
Таблица 10
Р = 1,1(
+К3*ΣРов+ΣРон)
Р = 1,1(
) = 75,46
Кв.
Принимаем трансформатор ТР - 100
(Ртр = 100КВт.).
4.5 Технико-экономические показатели
стройгенплана
|
Наименование
показателя
|
Ед.
изм.
|
Величина
|
|
общая
площадь здания
|
м²
|
571,2
|
|
длина
временных дорог
|
Мп
|
Нет
|
|
длина
временных водопроводов
|
Мп
|
39
|
|
длина
линий освещения
|
Мп
|
317
|
|
длина
временных силовых линий
|
Мп
|
36
|
|
длина
ограждения
|
Мп
|
261
|
|
К1
= Fздан/Fстрой.площ*100%
|
%
|
7,5
|
|
К2
= Fбыт/Sздан*100%
|
%
|
27,3
|
5. Мероприятия
.1 Мероприятия по охране труда
При возведении каменных конструкций должны
выполняться следующие правила техники безопасности! Рабочие должны спускаться в
котлован по стремянкам с перилами, а в траншеи -по приставным лестницам.
Вокруг бровки выемки котлована должна быть
свободная не загроможденная материалами полоса шириной 0,5м.
Запрещается вести кладку стен, стоя на ней.
Арматуру нельзя монтировать в близи
электропроводов, находящихся под напряжением.
Основным средством, предохраняющим от падения с
высоты, являются предохранительный пояс, который имеет цепь с карабином,
прикрепленным к ранее смонтированным конструкциям.
Стропы перед использованием надо использовать
нагрузкой, в два раза превышающую рабочую.
Разводить костры на территории строительства
запрещается.
Приступать к устройству кровли можно после
проверки надежности несущих и ограждающих конструкций крыши.
Запрещено выполнять кровельные работы при ветре,
достигающем 6 и более баллов. Горючую битумную мастику к рабочим местам
доставляют в металлических бачках, имеющих форму усеченного конуса.
При производстве штукатурных работ необходимо
соблюдать следующие требования:
внутренние штукатурные работы следует выполнять
с подмостей или с передвижных столиков.
Штукатуры, наносящие раствор на поверхность при
помощи сопла и производящие набрызг раствора вручную, должны работать в
защитных очках.
Переносные токоприемники, применяемые при
выполнении штукатурных работ, должны работать при напряжении не более 36В.
В помещениях, где производится окраска водными
составами, электропроводку надо обесточить.
В помещениях, окрашиваемых маслеными, эмалевыми
и нитрокрасками, пребывание людей свыше 4 человек не допускаются.
На объекте должен быть организован уголок по ТБ.
Территория должна быть достаточно освещена для работы в вечернее время. Дороги
и подъезды устраивают так, чтобы обеспечить свободный проезд транспортных
средств к складским и объектам строительства.
При монтаже конструкций:
запрещается подъем сборных ж/б конструкций, не имеющих
монтажных петель;
-элементы конструкций стропят инвентарными
стропами, а внеобходимых случаях специально разработанными
грузоподъемными устройствами;
способы строповки должны исключить падение
груза;
зона, опасная для нахождения людей должна быть
отмечена хорошо видными предупредительными знаками;
запрещается пребывание людей на элементах во
время их подъема, перемещения и установки;
запрещается останавливать поднятые элементы и
конструкции на весу;
Необходима защита органов дыхания и зрения при
работе с едкими материалами.
5.2 Мероприятия по охране окружающей
среды
Необходимость охраны окружающей среды для блага
человека возникла в результате отрицательных последствий деятельности самого
человека. Ошибочные действия общества по отношению к природе часто приводят к
непредсказуемым последствиям, в конечном итоге негативно обращающимися против
самого общества и порождающего необходимость проведения мероприятий по охране
природы. Развитие промышленного производства потребовало организации добычи
огромного количества сырья, создание мощных источников энергии, что привело к
истощению запасов целого ряда полезных ископаемых.
Вместе с сырьевой и энергетической проблемой
возникла новая проблема -загрязнение окружающей Среды отходами промышленности,
сельского хозяйства, транспорта, строительства и т.д. Интенсивному загрязнению
подвергается атмосфера, вода, почва. Эти загрязнения достигли высоких уровней и
угрожают не только растительному миру, но и здоровью самого человека.
Здания и сооружения оказывают большое влияние на
окружающую среду. Их появление вызывает значительные изменение в воздушной и
водной средах, в состоянии грунтов участка строительства. Меняется растительный
покров - на смену уничтожаемому природному приходят искусственные посадки.
Меняется режим испарения влаги. Средняя температура в районе застройки
постоянно выше, чем вне ее.
К мероприятиям по охране окружающей природной
среды относятся все виды деятельности человека, направленные на снижение или
полное устранение отрицательного воздействия антропогенных факторов,
сохранение, совершенствование и рациональное использование природных ресурсов.
В строительной деятельности человека к таким мероприятиям следует отнести:
градостроительные меры, направленные на
экологически рациональное размещение предприятий, населенных мест и
транспортной сети,
архитектурно-строительные меры, определяющие
выбор экологичных объемно - планировочных и конструктивных решений,
выбор экологически чистых материалов при
проектировании и строительстве,
применение малоотходных и безотходных
технологических процессов и производств при добыче и переработке строительных
материалов,
строительство и эксплуатация очистных и
обезвреживающих сооружений и устройств,
рекультивация земель,
меры по борьбе с эрозией и загрязнением почв,
меры по охране вод и недр и рациональному
использованию минер ресурсов,
мероприятия по охране и воспроизводству флоры и
фауны и т.д.
Посадки деревьев и кустарников между автодорогой
и жилым домом, запроектированные в благоустройстве территории, а также внутри
квартала, ведут к защите дома от городского шума и шума автотранспорта. Зеленые
насаждения ведут к улучшению газового состава воздуха и его очищению.
При начале строительных работ растительный слой
толщиной 20 см собирается и вывозится на площадку складирования.
Для сохранения строительных материалов и
конструкции площадка имеет охранно-защитное ограждение, охранное освещение и
организована охрана объекта.
Открытые склады спланированы, выполнен водоотвод,
конструкции складывают по правилам складирования, для избегания их разрушения.
Дорогостоящие и ценные материалы и инструменты,
а также материалы, требующие закрытого складирования, складируют на первом
этаже с оконными проемами, оборудованными железными решетками.
Для сохранения топлива от краж его хранят в
закрытых складах. Исходя из максимальных расходов электроэнергии, принимают
такую трансформаторную подстанцию, которая будет обеспечивать строительную
площадку с небольшим запасом мощности для избегания лишних электропотерь.
Заключение
Согласно заданию на организацию строительства
4-х этажного жилого дома в г. Калинковичи, все поставленные задачи были
выполнены:
подобран бульдозер и экскаватор для производства
работ;
выбран кран для монтажа, ниже и выше отметки
0.000;
разработан и построен календарный график;
разработан и построен график завоза и расхода
материалов;
разработан и построен график движения машин и
механизмов;
рассчитаны транспортные средства для перевозки
строительных конструкций;
рассчитана трудоёмкость и механоемкость работ;
рассчитаны и построены бытовые помещения;
рассчитаны и построены площадки для
складирования материалов;
рассчитаны и построены временные водоснабжения и
электропотребления;
Литература
1.
СНиП 3.01.01.-85 Организация строительного производства
.
ТКП 45-1.03-40-2006 Техника безопасности в строительстве
.
СНБ 8.03.301-2000 Ресурсно-сметные нормы:
.
Соколов Г.К. Технология и организация строительства. Москва, АСА
ДСМА
2002.
.
Киреев А.Д. Организация строительного производства. Курсовое и дипломное
проектирование. Ростов на Дону 2006
.
Методические указания по выполнению курсового проекта. ГГДСТ 2007