Мастерская технического обслуживания и технического ремонта лесозаготовительных машин и оборудования на 4 поста
Введение
Строительная деятельность является одной из
важнейших отраслей материального производства, обеспечивающей формирование
среды обитания и деятельности людей, улучшение условий их жизни. Строительная
деятельность включает работы по возведению иконструктивным изменениям зданий и
сооружений, капитальный и текущий ремонт, а также изготовление сборных
элементов на строительной площадке. При этом должно обеспечиваться качество
работ, безопасность объектов строительства для жизни и здоровья граждан, сохранность
имущества и окружающей среды.
За счет прогрессивной организации труда, умелого
применения рациональных приспособлений и инвентаря, а также средства
механизации можно добиться высокого качества работ, сокращения
продолжительности и улучшения качества строительства, снижения затрат труда,
полностью исключить потери раствора, кирпича, камней и других материалов. В
конечном счете это обеспечит повышение конкурентоспособности на рынке труда.
Были сокращены сроки строительства объекта на 2
дня.
При разработке проекта были применены
современные строительные материалы. Тема проекта “Мастерская технического
обслуживания и технического ремонта лесозаготовительных машин и оборудования на
4 поста”.
1 АРХИТЕКТУРНО-СТРОИТЕЛЬНАЯ ЧАСТЬ
.1 Объёмно-планировочное решение здания
Здание промышленное - Мастерская технического
обслуживания и технического ремонта лесозаготовительных машин и оборудования на
4 поста, прямоугольной формы с размерами в плане 69,6х24м. Здание смешанной
этажности. В осях 1-5 и В-Е - здание двухэтажное, высота этажа 3,3 м; в осях
6-14 и А-Е - здание двухэтажное высота этажа 4,3 м. Здание без подвальное. При
пожаре эвакуация людей будет осуществляться через двери расположенные в осях
2-5 и 13-14-, ворота в осях 7-10и 11-13. Здание каркасное. Пространственная
жесткость и устойчивость здания обеспечивается совместной работой элементов
каркаса, стропильной балкой и плит покрытия. По долговечности здание относится
ко II степени, т.к. его
конструктивные элементы рассчитаны на срок службы от 50 до 100 лет. По
огнестойкости здание относится ко II
степени, т.к. в нем запроектированы стены из железобетонных стеновых панелей,
перегородки - из кирпича, перекрытие и покрытие - железобетонных ребристых
плит, т.е. из несгораемых материалов. Класс ответственности здания - II.
Инженерное оборудование.
Водопровод - объединенный: хозяйственно-питьевой
и производственно-противопожарный от внешней сети. Напор на вводе 21,0 м.
Канализация - раздельная, хозяйственно-бытовая и
производственная в наружную сеть.
Отопление - центральное водяное с параметрами
теплоносителя 150°+70°С.
Вентиляция - приточно-вытяжная с механическим
побуждением и естественная.
Горячее водоснабжение - централизованное от
наружной сети. Напор на воде 8 м.
Электроснабжение - от низковольтных сетей напряжением
380/220 В.
Освещение - лампами накаливания и
люминесцентное.
Устройство связи - телефонная связь, пожарная
сигнализация, радиотрансляционная связь.
.2 Конструктивное решение здания
строительство
промышленный здание
1.2.1 Фундаменты
Фундаменты в здании запроектированы сборные
железобетонные, стаканного типа ФА2-1, глубина заложения фундамента -1,450 м,
отметка подошвы фундамента -1,650 м. Размеры фундамента стаканного типа
назначены конструктивно: 1500х1500.
Эскиз фундамента стаканного типа
На фундаменты устанавливаются бетонные столбики
размерами 300х300х1000, на которые укладываются фундаментные балка размером
5050х200х300х300 и 2050х200х300х300 под панельные стены, на фундаментные балки
выполняют горизонтальную гидроизоляцию - 2 слоя рубероида.
Для защиты фундаментов от поверхностных вод по
периметру здания выполнена бетонная отмостка шириной 0,8 м по щебеночному
основанию толщиной 150 мм с уклоном 3 %.
.2.2 Каркас
Проектируемое здание каркасное. Каркас состоит
из колонн крайнего ряда марки К72-13 сечением 300*300 мм и высотой 8,1 м,
среднего ряда К42-1 сечением 300*300 мм и высотой 7,2 м.
На оголовок колонны укладываются стропильные
двухскатные балки марки 1БДР 12-1К7Т и сечением 12960*1380*280 мм, соединяются
при помощи болтовых соединений.
Эскиз колонны
.2.3 Стены
В здании запроектированы стены из стеновых
железобетонных панелей толщиной 300 мм, которые крепятся к колоннам с помощью
закладных деталей с последующей сваркой друг с другом, швы между панелями
заполняются бетоном класса В. Привязка наружных стен нулевая в осях 1-5, 7-13,
В-Е, и 500в осях 6 и 13, В
.2.4 Перекрытие
В здании запроектированы сборные железобетонные
перекрытия из ребристых плит толщиной 300 мм. В местах вентиляции (над
санузлами и душевой) укладываются плиты с отверстием ø
400 мм,
над венткамерой плиты с отверстием размером 1700*1200 мм. Плиты перекрытия
опираются на стропильную систему и ригеля по слою цементного раствора М100.
Анкеруются плиты между собой по двум сторонам через одну, кроме крайних. Анкера
свариваются между собой путем наплавки арматуры на закладные детали.
Всего запроектировано один тип плит с размерами:
5970х2980х300 и 11970х2980х300 цельные, 5970х2980х300 с отверстием ø
400 мм
под вентиляцию и под венткамеру с отверстием 1700*1200 мм.
Эскиз ребристой плиты
.2.5 Лестницы
В здании запроектирована металлическая лестница
размеры ступеней 175*300 мм, марки Л72-60, массой 770 кг, а так же ж/б лестницы,
размеры ступеней 150х300 мм.
1.2.6 Перегородки
Перегородки в здании запроектированы из
керамического одинарного кирпича толщиной 120 мм. Перегородки устраиваются по
грунту на первом этаже и по плите перекрытия на втором этаже. Кирпичи
укладываются на раствор марки М150 с перевязкой швов. Над проемами в
перегородках следует уложить брусковую перемычку сечением 120*140 мм длинной
1290,1890 и 1590 мм на слой цементного раствора. Армирование перегородок
осуществляется проволокой Ø 3 ВрI.
Перегородки не доходят до потолка на 20 мм, шов заделать монтажной пеной и
заделывается раствором.
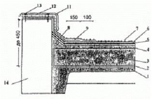
.2.7 Крыша
В проектируемом здании крыша скатная и плоская
не вентилируемая, с не организованным водоотводом. Сборное железобетонное
покрытие, состоящее из ребристых плит, размерами 5980х2980х300мм, которые
уложены на стропильные балки размерами в плане 12960х890х280мм и на ригеля с
размерами плит 11980х2980х300. Швы между плитами заделывают цементным раствором
М-100. Анкеровку плит производить стальными анкерами АI
Ø 10мм. Крыша утеплённая, по плитам выполнена
пароизоляция - слой изолировочного материала “Элакром’ толщиной 5 мм,
утеплитель (плит. “Теплоизоплит”) - 80 мм, выравнивающая стяжка (цементный
раствор М-100) - 100 мм, рулонный ковер - “Бироликрин”. Уклон крыши составляет
4%. Для защиты стен используют парапетные плиты.
.2.8 Полы
В проектируемом здании запроектировано 4 типа
полов: по плитам перекрытия и по грунту. Конструкции полов (см. графическую
часть, лист №1).
1.2.9 Окна, двери и ворота
В здании запроектированы 3 типа размеров
дверей,5 типов окон о 2 типа ворот.Ведомость проемов(см. графическую часть,
лист №1)
.2.10 Наружная и внутренняя отделка
Наружная отделка.
Стеновые понели привозят полной заводской
готовности, металлические ворота окрашиваются антикоррозийными красками по
металлу. Двери окрашены атмосферостойкими красками светлого цвета.
Внутренняя отделка.
Внутренняя отделка здания:потолки в здании
окрашиваются водоэмульсионными составами. Кирпичные стены оштукатуриваются и
окрашиваются. В душевых кабинах и санузлах стены облицованы керамической
плиткой на плиточном растворе. Установлены выключатели, розетки, подключено
освещение.
.3 Спецификации и ведомости
.3.1 Спецификация элементов перемычек
Таблица № 1.1
|
Позиция
|
Обоснование
|
Наименование
|
Всего
|
Масса
|
Прим.
|
|
1
|
2
|
3
|
4
|
5
|
6
|
|
1
|
Б1.0.38.1
вып. 1
|
1ПР1-12.12.14
|
53
|
54
|
-
|
1.3.2 Спецификация элементов заполнения проемов
Таблица № 1.2
|
Поз.
|
Обозначение
|
Наименование
|
Количество
по фасадам
|
Масса,
кг
|
Примечание
|
|
|
|
1-14
|
14-1
|
А-Е
|
Е-А
|
Всего
|
|
|
|
1
|
2
|
3
|
4
|
5
|
6
|
7
|
8
|
9
|
10
|
|
ОК1
|
СТБ
939-93
|
ОС
9-18
|
1
|
11
|
--
|
--
|
22
|
|
-
|
|
ОК2
|
СТБ
939-93
|
ОС
18-24
|
-
|
1
|
-
|
1
|
2
|
|
|
|
ОК3
|
СТБ
939-93
|
ОС
18-30
|
-
|
3
|
-
|
-
|
3
|
|
|
|
ОК4
|
СТБ
939-93
|
ОС
18-18
|
10
|
2
|
1
|
-
|
13
|
|
|
|
ОК5
|
СТБ
939-93
|
ОС
24-48
|
1
|
2
|
-
|
-
|
3
|
|
|
|
1
|
СТБ
1138-98
|
ДНДГ
9.24.Ф А
|
|
|
|
|
|
|
-
|
|
2
|
СТБ
1138-98
|
ДВМГ
8.21 В
|
|
|
|
|
|
|
-
|
|
3
|
СТБ
1138-98
|
ДВДГ
21-7
|
|
|
|
|
|
|
|
|
ВР-1
|
СТБ
1138-98
|
ВМГ
48.30
|
4
|
4
|
-
|
-
|
8
|
|
-
|
|
ВР-2
|
СТБ
1138-98
|
ВМГ
36.24
|
1
|
-
|
-
|
-
|
1
|
|
|
.3.3 Спецификация основных сборных
железобетонных конструкций
Таблица № 1.3
|
Поз.
|
Обозначение
|
Наименование
|
Кол.
|
Масса
ед.кг.
|
Прим.
|
|
1
|
2
|
3
|
4
|
5
|
6
|
|
Столбчатый
фундамент
|
|
Ф-1
|
Серия
1.412.1/77
|
ФА
2-1 (1500×1500×1500)
|
43
|
1500
|
-
|
|
Ф-2
|
Серия
1.412.1/77
|
|
3
|
1800
|
-
|
|
Фундаментные
балки
|
|
ФБ-1
|
Серия
1.415-1в.1
|
ФБ
6-46 (5050×300/200×300)
|
31
|
900
|
-
|
|
ФБ-1
|
Серия
1.415-1в.1
|
ФБ
3-46 (2050×300/200×300)
|
4
|
750
|
-
|
|
Колонны
|
|
К-1
|
Серия
1.423-3 в. 0-1
|
К
72-13 (8100×300×300)
|
36
|
3300
|
-
|
|
К-2
|
Серия
1.423-3 в. 0-1
|
К
42-1 (72000×300×300)
|
13
|
1900
|
-
|
|
Стропильные
балки
|
|
БС-1
|
Серия
1.462.1-3/80
|
1
БДР 12-1К7Т (11960×890×290)
|
18
|
6900
|
-
|
|
Стеновые
панели
|
|
ПС-1
ПС600.9.30-II-I
|
5980
|
300
|
880
|
1,58
|
20
|
|
ПС-2
ПС600.18.30-II-I
|
5980
|
300
|
1780
|
3,29
|
6
|
|
ПС-3
ПС600.12.30-II-I
|
5980
|
300
|
1180
|
2,12
|
28
|
|
ПС-4
ПС145.12.30-II
|
1450
|
300
|
1180
|
0,51
|
20
|
|
ПС-5
ПС115.12.30-II-А
|
1150
|
300
|
1180
|
0,41
|
13
|
|
ПС-6
ПС55.12.30-II
|
550
|
300
|
1180
|
0,19
|
14
|
|
ПС-7
ПС70.12.30-II
|
700
|
300
|
1180
|
0,25
|
15
|
|
ПС-8
ПС630.12.30-II-21
|
6280
|
300
|
1180
|
2,22
|
7
|
|
ПС-9
ПС295.12.30-II-I
|
2950
|
300
|
1180
|
1,04
|
8
|
|
ПС-10
ПС145.18.30-II-А
|
1450
|
300
|
1780
|
0,77
|
2
|
|
ПС-11
ПС630.18.30-II-21
|
6280
|
300
|
1780
|
3,35
|
2
|
|
ПС-12
ПС630.9.30-II-21
|
6280
|
300
|
890
|
1,67
|
2
|
|
Плиты
перекрытия и покрытия
|
|
П-1
|
Серия
1.465.1-7/84
|
2ПГ6-3АтУГЛ-1
(5980×2980×300)
|
87
|
2400
|
-
|
|
Парапетные
плиты
|
|
ПП-1
АП-24.4
|
2380
|
400
|
59
|
0,12
|
-
|
|
|
|
|
|
|
|
|
|
1.4 Генеральный план
Здание размещается на участке со спокойным
рельефом. Участок прямоугольной формы размером 104*65 м. Кроме проектируемого
здания на участке расположены: склад запчастей, курилка. Разрывы между
названными зданиями запроектированы с учетом санитарных и противопожарных норм
по СНиП 2-60-75.
Между мастерской и курилкой - 4 м.
Мастерской и складом запчастей - 10м.
Ширина дорог - 6 м, тротуаров - 2 м.
Выполнена координационная привязка здания к осям
строительной геодезической сетки. Абсолютная отметка, соответствующая нулевой
170,0 м.
.5 Технико-экономические показатели
объёмно-планировочного решения здания и генерального плана
.5.1.Технико-экономические показатели
объёмно-планировочного решения здания
а) Площадь застройки - 6586 м2
б) Строительный объём - 12258 м3
в) Общая площадь - 1608 м2
г) Рабочая площадь - 1404 м2
д) К1 = 0,87
е) К2 = 1,86
.5.2 Технико-экономические
показателигенерального плана
а) Площадь участка -га
б) Площадь застройки -га
в) Площадь дорог -га
г) Площадь озеленения -га
д) К3 =
е) К4 =
.6 Экология
Проектируемый объект вредных выбросов в
атмосферу не дает. Проектом предусмотрен сбор бытового мусора и твердых бытовых
отходов на основании
«Санитарные правила содержания территории
населенных мест»
Для обеспечения должного санитарного уровня
населенных мест и более эффективного использования парка специальных машин,
заказчиком заключается договор с ЖКХ по удалению мусора по единой
централизованной системе специализированным транспортом коммунальным
предприятиям исполкома.
Мероприятия по охране окружающей среды:
при выполнении планировочных работ почвенный
слой, пригодный для последующего использования, необходимо предварительно снять
и складировать в специально отведенных местах;
не допускается попадания горюче - смазочных
материалов в грунт и воду.- все строительно-монтажные работы производить с
максимальным сохранением существующих древесно-кустарниковых насаждений. При
необходимости оградить деревянными ограждениями;
не допускается при уборке отходов и мусора
сбрасывать их с этажей зданий и сооружений без применения закрытых люков и
бункеров наполнителей. Собрать мусор без желобов или других приспособлений
разрешается с высоты не более 3 метров;
запрещается хранить строительный мусор на
строительной площадке, его необходимо вывозить на свалку;
материалы, содержащие вредные или взрывоопасные
растворители необходимо хранить в герметически закрытой таре;
все механизмы, работающие от двигателей
внутреннего сгорания проверить на токсичность выхлопных газов;
применения строительных машин с электроприводом
и использования для нужд строительства, электроэнергии взамен твердого или
жидкого топлива.
При нарушении правил электробезопасности
возможно поражение людей током. Безопасным можно считать напряжение 12 и 36В.
Для предотвращения несчастных случаев все
доступные для случайного прикосновения токоведущие части ограждают сетками или
щитами. Оголенные места токоведущих частей изолируют, а токоприемные устройства
заземляют.
Работа монтажных механизмов непосредственно под
действующей линией электропередачи не допускаются, а вблизи линий
электропередачи возможна лишь по особому наряду - допуску, выдаваемому ответственному
инженерно - техническому работнику.
При поражении человека электрическим током
необходимо быстро освободить его от действия тока и немедленно оказать
медицинскую помощь.
2 РАСЧЕТНО-КОНСТРУКТИВНАЯ ЧАСТЬ
Требуется рассчитать и сконструировать сборную
предварительно напряженную балку покрытия для общественного здания. Коэффициент
надёжности γn=1.Балка
опирается на кирпичные стены. Длина балки 11960мм.
Таблица 2.1
Нагрузка на 1м2 покрытия
|
Вид
нагрузки
|
Нормативная
Н/м2
|
Коэффициент
надёжности
|
Расчётная
Н/м2
|
|
1
|
2
|
3
|
4
|
|
1
Постоянная
|
|
1.
водоизол.ковёр биполикрин t=15мм; ρ=600кг/м3
|
50
|
1,35
|
67,5
|
|
2.
Цементная стяжка t=25мм; ρ=1800 кг/м3
|
360
|
1,35
|
486
|
|
3.Плитный
утеплитель t=0,2м; ρ=500 кг/м3
|
1000
|
1,35
|
1350
|
|
4.
Керамз. Гравий t=0,02м; ρ=400 кг/м3
|
80
|
1,35
|
1108
|
|
5.
Пароизоляция t=2-3мм; ρ=500 кг/м3
|
15
|
1,35
|
20,3
|
|
6.
Ребристая плита t=300мм; t=0,09м; ρ=2500 кг/м3
|
2250
|
1,35
|
3037,5
|
|
Итого:
|
qn=3755
|
-
|
q=5069,3
|
|
2.
Временная
|
|
Кратковременная
|
700
|
1,5
|
1050
|
|
Длительная
|
300
|
1,5
|
450
|
|
Итого:
|
Sn=1000
|
-
|
S=1500
|
|
Всего
полная
|
qn=4755
|
-
|
q=6569,3
|
Полная нормативная нагрузка с учётом
собственного веса балки на 1м погонный составит: qn=
qn·
а+qс.в·=4755·6+3750=32800 Н/м
Полная расчётная нагрузка на 1м погонный балки
составит:
n= qn·
а+qс.в·1,1=6569,3·6+3750·1,1=44478,3
Н/м, где а- шаг балок, qс.в.. собственный вес
балки
.2 Определение усилий и расчётного пролёта
Балка рассчитывается как свободно опертая
однопролетная балка. Изгибающие моменты и поперечные силы определяются от действия
равномерно-распределённой нагрузки.
l0=l-b/2·2=12000-200/2·2=11800мм.
Где b
ширина опирания смотреть рис.2.1
Рис.2.1 Определение расчётного пролёта
Расчётные усилия, действующие в плите:
Изгибающий момент действующий в плите
Мsd=q·l02
/8=44,478·11,82/8=774,1 кН·м
Поперечная сила:
Vsd= q ·l0/2=44,478·11,8/2=262,4
кН
.3 Расчётные характеристики
материалов
Балку армируют термически стержневой
арматурой периодического профиля S-800 со следующими расчётными характеристиками:
fyk=800 МПа; fyd=665 МПа; Esp=190000 МПа.
Для сжатой арматуры S-400.
fyk=400 МПа; fyd=365 МПа; fywd=263 МПа.
Полку плиты армируют сварными
сетками из проволоки S-500:
fyk =500 МПа; fyd =410 МПа; fywd =295 МПа.
Каркасы изготовляют из арматуры S-500. Rswfywd =260 МПа.
Балки выполняют из бетона C35\45:
fcd=35\1,5=23,3
МПа; fctd=1,4\1,5=0,93
МПа; Еc=36,5·103
МПа;
Предварительная прочность бетона fcmp=0,6*fcm=0,6*43=
МПа.
.4 Предварительный подбор продольной
арматуры.
Предполагая, нейтральная ось
проходит по границе полки (X=h’f),определяем
рабочую высоту сечения h0=h-0,5· h’f и площадь
растянутой напрягаемой арматуры:
Аsp=Мsd/[fyd·( d=h-0,5· h’f)]
d=890-0,5·160=890-80=810
мм.
Аsp=77410/[66,5·(81,0-0,5·16)]=15,85см2.
Принимаем в качестве напрягаемой
арматуры 6О 20 с As=15,85см2.
.5 Геометрические характеристики
сечения.
Рис.2.3 Геометрические
характеристики сечения
1. Площадь приведенного сечения:
Аvd=A1+2A2+2A3+2A4+2A5+£p·Аsp=89·8+2·16·10+2·0,5·5·10+2·0,5·5·10+2·18·10+
+5,2·15,85=1574,42 см21=712см2;
А2=160см2; А3=25см2; А4=25см2; А5=180см2
где £=Еsp/Eb=190000/36500=5,2
2. Статический момент относительно нижней
грани:
Svd=A1·y1+2A2·y2+2A3·y3+2A4·y4+2A5·y5+£p·Asp·ap=712·44,5+2·160·81+2·25·71,33++2·25·19,7+2·180·9+5,2·15,85·9=66137,28
см3
. Положение центра тяжести приведенного сечения
Yvd=Svd/Avd=66137,28/1574,42=42,07см.
. Момент инерции приведенного сечения:
Уvd=
bh3/12+(y1-yvd)2·bh+(b’f-b)·h3f/12+(y2-yvd)2·(
b’f-b)·h’f+(
bf-b)·h13/2·36+(y3-yvd)2·(
b’f-b)·h1/2+(
bf-b)·h23+(yvd-y4)2·(
bf-b)·h2/2+(
bf-b)·hf3/12+(yvd-y5)2·(
bf-b)·hf+£p·
·Аsp·(yvd-ap)2=8·893/12+(44,5-42,07)2·8·89+(28-8)·163/12+(81,0-42,07)2·(28-8)·16+(28-8)·53/2·36+(71.33-42.07)2·(28-8)·5/2+
(28-8)·53/2·36+(42.07-9)2·(28-8)·5/2+(28-8)·183/12+(42.07-9)2
·(28-8)·18+5.2·15.27·(42.07-9)2=58747,4+4204,29+6826,67+484974,37+34,72+42807,38+34,72+54681,24+9720+393704,96+86838,19=1142573,94см.
.6 Определение усилий предварительного
напряжения.
.Величины расчетных характеристик арматуры
принимают равными
для напрягаемой арматуры fpd=0,9f0,2k\jf
при jf=1,2
ненапрягаемой fyd=fyk\js,
js=1,15
. Величину предварительного напряжения σ0,max
назначают с учетом допустимых отклонений, значения предварительного напряжения
р таким образом, чтобы для стержневой и проволочной арматуры выполнялись
условия
σ0,max+p≤0,9
fpk; σ0,max-p≥0,3fpk,
где σ0,max=0,6*
fyk=0,6*800=480 МПа.
Значение р принимается равным
при механическом способе натяжения р=0,05 σ0,max,
при электротермическом способе р=30+360/ι,ι
- длина
натягиваемого стержня (расстояние между наружными гранями упоров, в МПа).
. При расчете на прочность предварительное
напряжение конструкций по методу предельных усилий расчетные сопротивления fpd
следует умножать на коэффициент jsp,
учитывающий отклонения арматуры
Jsp=ή-(ή-1)(2ξ\ξlim-1)≤ή,
ή- коэффициент,
принимаемый равным для арматуры классов S-800-1,15;S-1200-1,1;S-1400-1,15.
ξlim=ω\(1+(σs,lim\σsc,u-ω\1,1)),
ω- характеристика
сжатой зоны бетона
ω=кс-0,008*fcd
кс=0,85- для тяжелого бетона, кс=0,8- для мелкозернистого.
σs,lim=500+400-
∆σsp, σsc,u=500
МПа
Определяем потери предварительного напряжения
арматуры согласно СНБ (механическим способом на упоры):
а) первые потери:
Потери от релаксации напряжений стержневой
арматуры:
∆Pir=(0,1*σ0,max
-20)*Ap=0,1*(0,1*480-20)*15,85=2,8*15,85=44380 H.
Потери от перепада температуры:
∆P∆T
=1,25·∆T*Ap=1*65*15,85*100=103025
H; ∆T=65º
Потери от деформации анкеров:
∆PA
=∆l/l·Es*Ap=4,49/11960·190000*15,85=114437
H.
где ∆l=1,25+0,15d=1,25+0,15·18=4,49
мм²
-потери, вызванные деформациями стальной формы,
при закреплении на ее упорах напрягаемой арматуры ∆Pf
=ή*∆l/l·Es*Ap,
при отсутствии данных о технологии изготовления ∆Pf
=30*Ap=30*1585=47550
H.
потери, вызванные упругой деформацией бетоа для
элементов с натяжением на упоры
∆Pс=α*ρρ*(1+Zcp²*Ac\Ic)*Po.c=5,2*0,01*(1+330,7*1574,42\1142573,94)*438624=333208,2
H,
α=Es\Ecm=190000\36500,
ρρ=Ap\Ac=15,85\1574,42=0,01
ЭксцентриситетусилияРIравен:
Zcp = Z( yvd ) -asp =42,07-9=33,07см.
Po.c-усилие
предварительного напряжения с учетом потерь, реализованных к моменту обжатия
бетона.
Po.c
= σ0,max-∆Pir-∆P∆T
-∆PA-∆Pf
=480*1532-4430-103025-114437-47550=425968 H
Момент инерции Ic=1142573,94
см4
Усилие предварительного обжатия к моменту
времени t=tо
Pm.o=Po.c-∆Pс=424968-33208,2=392760
H, где усилие должно
быть не более
Pm.o=405442 H≤0,75*fpk*Ap=0,75*800*1585=951000
H
б) вторые потери:
Потери от усадки бетона:
∆Pсs
=∆ σcs
*Ap=35*1585=55475 H,
где ∆ σcs
= 40 МПа для бетона C40\50, ∆
σcs =35 МПа для
бетона C35\45 и ниже.
Потери от ползучести бетона:
∆Pсp
=0,85·300(σ0,max
\fpk-0,5) при σ0,max
\fpk>0,75,
∆Pсp
=0,85*150*σ0,max
\fpk*Ap,при
σ0,max \fpk≤0,75
∆Pсp
=0,85·150*480\800*1585=121252,5 H,
где σ0,max\fpk=480\800=0,6≤0,75
Поэтому напряжение с учётом первых и вторых
потерь равно:
∆Pсp=∆Pm.o-∆Pt(t)=∆Pсp-(∆Pсs+∆Pсp)=
-53445-121252,5=776302,5H
Расчёт по прочности сечений, нормальных к
продольной оси.
Расчёт производим для сечения в середине пролёта
для расчётного момента М.
d=h-asp=890-90=800
мм.
Проверяем положение нейтральной оси по выполнению
условия, когда граница проходит по полке:
Jsp=ή-(ή-1)(2ξ\ξlim-1)≤ή
где η коэффициент
для арматуры S-; η=1,15;
Jsp
=1,15-(1,15-1)·(2·0,94/0.488-1)=0.72<1,15
где ξlim=
w/(1+?
s,lim/?cu
*(1- w/1,1))
=0,674/(1+396,1/500(1-0,674/1,1)=0,488,где характеристика сжатой зоны сечения
определяется по формуле:
W=кс-0,008×
fcd=0,85-0,008·23,3=0,85-0,176=0,674,
кс=0,85 для тяжелых бетонов.? s,lim
=fyd +400-δsp-∆δsp=785+400-785-3.92=396.1
МПа
∆δsp=0,05
fyd =0,05·785=3,92
МПа; δsp =fyd,?cu
=500 МПа
Проверяем условие (I):ξ=Jsp
*Asp*fyd//(
b×d×fcd)
< ξlim
,72·78,5·15,85\2,33·28·80=0,17
ξ=0,17< ξlim=0,488-условие
выполняется
Так как условие выполняется, ось проходит в
полке, поэтому прочность сечения проверяется по формуле:MRd=fcd∙b´f∙x(d-0,5∙x)+fyd*A′s(d-a′)(II)
при этом высота сжатой зоны бетона определяется по формуле:
x= fyd·Asp/fcd ·b′f
x=78,5·15,85/2,33·28=19,07 см
Условие удовлетворяется: Msd=34,54
<MRd=77,54
Проверяем условие (II)
<2,33·28·21,6·(80-0,5·21,6)=82867-условие
выполняется
Прочность обеспечена.
.8 Расчёт прочности сечения, наклонного к
продольной оси
При диаметре продольной рабочей арматуры 20 мм
из условия технологии сварки назначаем диаметр поперечной арматуры не менее 8
мм класса S-500. Площадь
поперечного сечения хомута fw=0,503
см2;
Asw=n·fw=2·0,503=1,006
см2, где n-число каркасов в
балки
Расчёт поперечной арматуры:
ήc1=1-β·fcd
=1-0,01·22-0,78 где β=0,01 для
тяжёлого бетона .
ae=Es/Ec
=200/36,5=5,5
1. Назначаем шаг поперечной арматуры
конструктивно: на приопорных участках длиной ¼ пролёта
при высоте сечения свыше 450 мм не более ⅓ высоты.
S=250мм, в середине
пролёта шаг равен не более ¾ высоты
сечения и не более 500мм. S=500мм
Процент армирования ) psw=Asw/(bw·S)=1,006/8·89=0,0014
ήw1=1+5·£·ρw=1+5·5,5·0,0014=1,04<1,3
Проверяем условие:
Vsd<VRd,max=0,3·ηw1·ηc1-fcd·bw·d
.238,5<0,3·1,04·0,78·2,33·8·80·0,9=308,07 кН
. ηf=0,75·(b´f-bw)·h'f/bw·d,
где b´f<
3·h'f+bw;
b′f=28
см<8+3·16=56 см.
8.ηf=0,75(28-8)·16/8·80=0,375<0,5-условие
соблюдается
. ηn=0,1·∆Pсp
/fctd*b*d<0,5
ηn=0,1·7459/0.14·28·80=3,7<0,5-условие
не выполняется, принимаем
η n=0,5
Проверяем условие Vcd=
ηс3·(1+ηf)·fctd·bw·d
227,1<0,6·1,5*0,09·8·80=51,8 - условие не
выполняется
. Усилие воспринимаемое поперечными стержнями на
единицу длины:
qsw=fywd·hfw/S=29,5·1,006/25=1,15
кН/см
qsw>[ ηс3·
(1+)·fctd ·b]/2=0,6·1,5·0,14·8/2=0,504
1,15 кН/см>0,504 кН/см -условие соблюдается
Проекция наклонной трещины:
C0=√
ηс2·
(1+
ηf +
ηn)·fctdb·d2/qsw=√2·1,5·0,14·8·802/1,15=136,7
Проверяем условие C0<2h0
136,7 см<2·80=160 см - не соблюдается, поэтому
определяем силу, воспринимаемую бетоном и поперечной арматурой совместно:
Qswb=2√
ηс2·(1+
ηf +
ηn)· fctd·b·d2/qsw=2√2·1,5·0,14·8·802·1,15·0,9=298
кН
Q=227,1 кН<298кН
- условие выполняется, прочность наклонного сечения обеспечена
3 ОРГАНИЗАЦИОННО-СТРОИТЕЛЬНАЯ ЧАСТЬ
.1 Подсчет объемов работ
Таблица № 3.1
Ведомость подсчета объемов работ
|
Наименование
|
Схемы
и формулы подсчета
|
Ед.
изм.
|
Кол-во
|
|
1.
Строительный объем здания
|
м312258
|
|
|
|
2.
Срезка растительного слоя грунта
|
Fср = (a + 20)*(b + 20) =
(42,28+20)*(12+20)
|
м2
|
4344
|
|
3.
Объем фундамента для определение обратной засыпки пазух
|
Vфс=Vф*n=
2*21
|
м3
|
284,3
|
|
4.Обратная
засыпка пазух фундаментов
|
м3365,26
|
|
|
|
5.
Разработка грунта с погрузкой в транспортное средство
|
=
Vк
-Vоз =
291,9-238м3202,54
|
|
|
|
6.
Доработка грунта вручную на 0,1м.
|
Vрд = Ак*Вк *0,1*n
Vрд =
2,2*2,2*0,1*21
|
м3
|
41,4
|
|
7.
Разработка грунта под фундаментные балки.
|
V= 0,4*0,4*Lфб*n
V1 = 0,4*0,4*5,05*15
V2
= 0,4*0,4*2,05*5
|
м3
|
26,36
|
|
8.
Уплотнение грунта в пазухах фундамента при засыпке.
|
м21826,3
|
|
|
|
9.
Вертикальная гидроизоля-ция по ленточным фундаментам
|
Fвг = Lф*Нвг Fвг =
(4*0,9*1,2)*21
|
м2
|
198,72
|
|
10.
Горизонтальная гидроизоляция
|
Fггл = Lфл*Bв Fггл
=0,61*21
|
м2
|
28,06
|
|
11.
Горизонтальная гидроизоляция по фундаментным балкам
|
Fггб = Lфб*Вфб*n
Fггб =
86*0,3
|
м2
|
49,43
|
|
12.
Площадь уплотнения грунта под полы
|
Fпу = (а-2п1)(в-2п2)-Lвс*Ввс-Ак*Вк*n
Fпу =
(30-2*0)*(18-2*0)-2,92-300*300*21
|
м2
|
1398,4
|
|
13.
Объем подсыпки грунта под полы
|
Vпп = Fпу*Нп Vпп
=
520*0,1
|
м3
|
139,84
|
|
14.
Устройство бетонной подготовки под полы
|
Vбп = Fпу*Нбп Vбп
=535,19*0,08+65,7*0,04
|
м3
|
5,59
|
|
15.
Длина горизонтальных швов между панелями
|
Lгш = Lсп*n
|
м
|
1036,3
|
|
16.
Длина вертикальных швов между панелями
|
Lвш = Нсп*n
|
м
|
366,3
|
|
17.
Устройство перегородок
|
Fпер = Lпер*Hпер-Fпр Fпер1 =
15,6*4,2-3,3 Fпер2 = 49,3*3-10,77
|
м2
|
1239,75
|
|
18.
Устройство вентшахт
|
Fвш = Авш*Ввш*n
Fвш =
1,7*1,2*2 м2-
|
|
|
|
19.
Устройство кровли
|
Fк
= Lк*Bс Fк = 19,8*30
|
м2
|
1404
|
|
20.
Площадь покрытия парапетов рулонными материалами
|
Fп
= Lп*Вп Fп = (18,6*0,4)*2
|
м2
|
561,6
|
|
21.
Устройство бетонных полов
|
По
экспликации полов
|
м2
|
1398,4
|
|
22.
Устройство плиточных полов
|
По
экспликации полов
|
м2
|
338,4
|
|
23.
Объем работ по окраске фасада здания
|
Fфо = П*Нст Fфо =
(18,6*9,6+8,5*30)*2
|
м2
|
-
|
|
24.
Устройство отмостки
|
Fот = Вот*(П-Lк) Fот =
0,8*(98,4-1,4)
|
м2
|
148,8
|
|
25.
Площадь крылец
|
Fк = Lк*Bк = 2,1*1
|
м2
|
144
|
Таблица № 3.2
Подсчет объема котлована
|
Длина
по низу Ак, м
|
Ширина
по низу Вк, м
|
Глубина,
Нк, м
|
Показатель
крутизны откоса, m
|
Длина
по верху Ск, м
|
Ширина
по верху Dк, м
|
Схемы
и формулы подсчета
|
Объем
котлована, м3
|
Количество
котлованов, n
|
Общий
объем, м3
|
|
1
|
2
|
3
|
4
|
5
|
6
|
7
|
8
|
9
|
10
|
|
29,2
|
13,2
|
1,3
|
0,25
|
22,85
|
13,85
|
|
402,18
|
|
|
|
49,2
|
25,2
|
1,3
|
|
49,85
|
25,85
|
|
1556,38
|
|
|
|
Итого:
|
1958,56
|
Таблица № 3.3
Подсчет объёмов сборных железобетонных
конструкций.
|
Наименование
|
Марка
элемента
|
Размеры,
мм
|
Объём
элемен-тов, м3
|
Кол-во
|
Общий
объём м3
|
Масса
элемен-тов, кг
|
Эскиз
|
|
|
Дли-на
|
Ши-рина
|
Вы-сота
|
|
|
|
|
|
|
1
|
2
|
3
|
5
|
6
|
7
|
8
|
9
|
10
|
|
Столбчатый
фундамент
|
Ф-1
ФА 2-1
|
1500
|
1500
|
1500
|
2
|
46
|
92
|
1500
|
|
|
Фундаментные
балки
|
ФБ-1
ФБ 6-46
|
5050
|
300/
200
|
300
|
0,378
|
31
|
11,72
|
900
|
|
|
ФБ-2
1БФ2,4
|
2350
|
300/
200
|
300
|
0,176
|
4
|
0,704
|
320
|
|
|
Колонны
|
К-1
К 72-13
|
8100
|
300
|
300
|
0,729
|
43
|
31,35
|
3300
|
|
|
К-2
К 42-1
|
5000
|
300
|
300
|
0,45
|
3
|
1,35
|
1900
|
|
|
Ригели
|
Р-1
Р2-52-57
|
5660
|
300
|
450
|
0,76
|
6
|
4,56
|
1610
|
|
|
Р-2
Р-40-57
|
2660
|
300
|
450
|
0,36
|
2
|
0,72
|
750
|
|
|
Стропильные
балки
|
БС-1
1БДР 18-1К7Т
|
11960
|
200
|
1380/890
|
4,52
|
16
|
72,32
|
8400
|
|
|
Плиты
перекрытия и покрытия
|
П-1
2ПГ6-3АтУГЛ-1
|
11980
|
1490
|
300
|
0,91
|
7
|
6,37
|
1200
|
|
|
П-2
2ПГ6-3АтУ1Л4
|
5980
|
1490
|
300
|
0,82
|
24
|
19,68
|
1500
|
|
|
П-3
2ПФ6-2Ат-У1Л-1
|
5980
|
1490
|
300
|
0,67
|
24
|
16,08
|
1100
|
|
|
Стеновые
панели
|
ПС-1
ПС600.9.30-II-I
|
5980
|
300
|
880
|
1,58
|
20
|
31,6
|
2300
|
|
|
ПС-2
ПС600.18.30-II-I
|
5980
|
300
|
1780
|
3,29
|
6
|
19,74
|
4700
|
|
|
ПС-3
ПС600.12.30-II-I
|
5980
|
300
|
1180
|
2,12
|
28
|
59,36
|
3000
|
|
|
ПС-4
ПС145.12.30-II
|
1450
|
300
|
1180
|
0,51
|
20
|
10,2
|
800
|
|
|
ПС-5
ПС115.12.30-II-А
|
1150
|
300
|
1180
|
0,41
|
13
|
5,33
|
600
|
|
|
ПС-6
ПС55.12.30-II
|
550
|
300
|
1180
|
0,19
|
14
|
2,66
|
400
|
|
|
ПС-7
ПС70.12.30-II
|
700
|
300
|
1180
|
0,25
|
15
|
3,75
|
400
|
|
|
ПС-8
ПС630.12.30-II-21
|
6280
|
300
|
1180
|
2,22
|
7
|
15,54
|
3300
|
|
|
ПС-9
ПС295.12.30-II-I
|
2950
|
300
|
1180
|
1,04
|
8
|
8,32
|
1900
|
|
|
ПС-10
ПС145.18.30-II-А
|
1450
|
300
|
1780
|
0,77
|
2
|
1,54
|
1100
|
|
|
ПС-11
ПС630.18.30-II-21
|
6280
|
300
|
1780
|
3,35
|
2
|
6,7
|
4900
|
|
|
ПС-12
ПС630.9.30-II-21
|
6280
|
300
|
890
|
1,67
|
2
|
3,34
|
2400
|
|
|
ПС-13
ПС115.18.30-II
|
1150
|
300
|
1780
|
0,61
|
5
|
3,05
|
900
|
|
|
ПС-14
ПС295.12.20-II
|
2950
|
200
|
1180
|
0,7
|
12
|
8,4
|
1100
|
|
|
ПС-15
ПС600.12.20-II-I
|
5980
|
200
|
1180
|
1,41
|
2
|
2,82
|
1600
|
|
|
ПС-16
ПС600.18.20-II-I
|
5980
|
200
|
1780
|
2,13
|
2
|
4,26
|
3200
|
|
|
ПС-17
ПС70.12.20-II
|
700
|
200
|
1180
|
0,17
|
12
|
2,04
|
300
|
|
|
ПС-19
ПС55.12.20-II
|
550
|
200
|
1180
|
0,13
|
2
|
0,26
|
200
|
|
|
Перемычки
|
ПР-1
1ПР1-12.12.14
|
1290
|
120
|
140
|
0,022
|
69
|
1,52
|
54
|
|
|
Лестничные
площадки и марши
|
ЛМ
28.12
|
2820
|
1200
|
1400
|
1,12
|
4
|
4,48
|
1520
|
|
|
ЛПР
25-12КВ
|
2500
|
1220
|
320
|
0,976
|
4
|
3,9
|
1345
|
|
|
Парапетные
плиты
|
ПП-1
АП-24.4
|
2380
|
400
|
160/
50
|
0,12
|
59
|
7,08
|
195
|
|
|
ПП-2
АП-33.4
|
3280
|
400
|
160/
50
|
0,19
|
10
|
1,9
|
270
|
|
Таблица № 3.4
Подсчет площадей столярных изделий
|
Наименование
изделия
|
Марка
изделия
|
Размеры,
мм
|
Площадь
изделия
|
Количество
|
Общая
площадь м2
|
Переводной
коэф. к окраске
|
Площадь
окраски
|
|
|
Ширина
|
Высота
|
|
|
|
|
|
|
1
|
2
|
3
|
4
|
5
|
6
|
7
|
8
|
9
|
|
Окна
|
ОК-1
ОС 9.18
|
920
|
1820
|
1,67
|
2
|
3,34
|
Заводская
готовность
|
-
|
|
ОК-2
ОС 24.18
|
2420
|
1820
|
4,4
|
2
|
8,8
|
|
-
|
|
ОК-3
ОС 30.18
|
3020
|
1820
|
5,5
|
3
|
16,5
|
|
-
|
|
ОК-4
ОС 18.18
|
1820
|
1820
|
3,31
|
8
|
26,48
|
|
-
|
|
ОК-5
ОС 48.24
|
2420
|
11,66
|
3
|
34,98
|
|
-
|
|
Всего
окна:
|
-
|
-
|
-
|
-
|
18
|
90,1
|
|
-
|
|
Двери
|
1
ДНДГ10.24Ф А
|
910
|
2070
|
1,88
|
28
|
52,64
|
|
-
|
|
2
ДВДГ9.24.Ф Г
|
1510
|
2070
|
3,13
|
9
|
28,17
|
|
-
|
|
3
ДВМГ 8.21 В
|
1210
|
2070
|
2,5
|
19
|
47,5
|
|
-
|
|
Всего
двери:
|
-
|
-
|
-
|
-
|
56
|
128,31
|
|
-
|
|
Ворота
|
ВР-1
ВМГ 48.30
|
|
|
|
|
|
|
-
|
|
Ворота
|
ВР-1
ВМГ 36.24
|
|
|
|
|
|
|
-
|
|
Всего
ворота:
|
-
|
-
|
-
|
-
|
|
|
|
Таблица № 3.5
Подсчет объемов отделочных работ
|
Наименование
|
Длина
по периметру, м
|
Высота,
м
|
Площадь,
м2
|
|
|
|
Брутто
с проемами
|
Проемов
|
Нетто
без проемов
|
Штукатурки
|
Обработки
стеновых панелей
|
Облицовки
|
Масляной
окраски
|
Акриловой
окраски
|
|
1
|
2
|
3
|
4
|
5
|
6
|
7
|
8
|
9
|
10
|
11
|
|
|
|
|
|
|
|
|
|
|
|
|
|
|
|
|
|
|
|
|
|
|
|
|
|
|
|
|
|
|
|
|
|
|
|
|
|
|
|
|
|
|
|
|
|
|
|
|
|
|
|
|
|
|
|
|
|
|
|
|
|
|
|
|
|
|
|
|
|
|
|
|
|
|
|
|
|
|
|
|
|
|
|
|
|
|
|
|
|
|
|
|
|
|
|
|
|
|
|
|
|
|
|
|
|
|
|
|
|
|
3.2 Выбор монтажных механизмов
Таблица № 3.6
Таблица монтажных элементов
|
№
|
Наименование
элемента
|
Марка
|
Размеры
в мм.
|
Масса,
т.
|
Примечание.
|
|
|
|
длина
|
ширина
|
высота
|
|
|
|
1
|
Фундаментная
балка
|
ФБ
6-46
|
5050
|
300/200
|
300
|
0,9
|
-
|
|
2
|
Стропильная
балка
|
1БДР
18-1К7Т
|
17960
|
200
|
1640/890
|
8,4
|
-
|
|
3
|
Стеновая
панель
|
ПС630.18.30-II-21
|
6280
|
300
|
1780
|
4,9
|
-
|
Рис. 1. Схема монтажа фундаментных балок
Таблица № 3.7
Расчет параметров крана
|
№
|
Наименование
элемента.
|
Расчётные
параметры конструкций и кранов.
|
Требуемые
параметры кранов.
|
|
|
qэ, т
|
qт, т
|
h0, м
|
hз, м
|
hc, м
|
hэ, м
|
hn, м
|
d, м
|
Q, т
|
Нкр,
м
|
Нст,
м
|
lст, м
|
Lст, м
|
|
1
|
Фундаментная
балка
|
0,9
|
0,386
|
0,45
|
2,0
|
3,5
|
0,3
|
2,0
|
2,5
|
1,29
|
6,25
|
8,25
|
4,23
|
7,28
|
|
3
|
Стропильная
балка
|
8,4
|
0,62
|
7,0
|
2,0
|
3,6
|
1,64
|
2,0
|
9,0
|
9,02
|
14,44
|
16,44
|
10,0
|
16,44
|
|
5
|
Стеновая
панель
|
4,9
|
0,53
|
7,2
|
2,0
|
2,5
|
1,8
|
2,0
|
3,0
|
5,43
|
13,5
|
15,5
|
7,2
|
15,09
|
Рис. 2. Схема монтажа стропильных балок
Рис. 3. Схема монтажа стеновых панелей
По определенным требуемым параметрам кранов по
справочному пособию «Строительные краны» подбираем для монтажа фундаментных
балок 2 крана КС-4361 и МКП-16,для монтажастропильных балок кран МКП-20 и
КС-5361, для монтажа стеновых панелей кран МКП-16, КС-5361.
Для окончательного выбора монтажных кранов
выполняем их сравнение по технико-экономическим показателям.
Таблица № 3.8
Технико-экономические показатели кранов
(стреловых)
|
№
|
Показатель
|
Ед.
изм.
|
Сравниваемые
краны для
|
|
|
|
Фундаментная
балка
|
Стропильная
балка
|
Стеновая
панель
|
|
|
|
КС-4361
|
МКП-16
|
МКП-20
|
КС-5361
|
МКП-16
|
КС-5361
|
|
1
|
Длина
стрелы
|
м
|
20
|
18
|
22,5
|
20
|
15
|
20
|
|
2
|
Вылет
стрелы
|
м
|
6,5-18,0
|
5,0-16,0
|
4,7-15,7
|
5,5-18,0
|
5,0-15,5
|
5,5-18,0
|
|
3
|
Грузоподъемность
|
т
|
5,5-1,30
|
9,0-1,6
|
15,0-1,8
|
17,0-1,85
|
11,5-2,0
|
17,0-1,85
|
|
4
|
Высота
подъема крюка
|
м
|
18,3-9,8
|
18,0-13,0
|
22,0-17,0
|
18,0-10,2
|
15,0-10,0
|
18,0-10,2
|
|
5
|
Масса
крана
|
т
|
24,3
|
24,0
|
33,0
|
31,9
|
24,0
|
31,9
|
|
6
|
Мощность
мотора
|
кВт
|
55,2
|
55,2
|
73,6
|
88,3
|
55,2
|
88,3
|
|
7
|
Себестоимость
маш.-см
|
руб.
|
32,2
|
34,4
|
36,5
|
42,3
|
35,3
|
42,3
|
Исходя из требуемых параметров и для удешевления
СМР по справочному пособию «Строительные краны» принимаем краны: для монтажа
фундаментных балок - КС-4361 с длиной стрелы 20 м;для монтажа стропильных
балокМКП-20 с длиной стрелы 22,5 м; для стеновых панелей МКП-16 с длиной стрелы
15 м.

3.3 Технологическая
карта
.3.1 Область применения
.1. Технологическая карта разработана на
устройство кровельного покрытия из рулонного кровельного материала Филизол.
Филизол представляет собой рулонный материал, состоящий из стекловолокнистой
или полиэфирной основы, покрытой с двух сторон слоем битумно-полимерного
вяжущего, состоящего из битума, модифицированного полимерами и наполнителями.
.2. Филизол выпускается следующих марок в
зависимости от области применения:
Филизол-К - для устройства верхнего слоя кровельного
ковра, а также его модификация Филизол «КХ» на основе стеклохолста;
Филизол-Н - для устройства нижнего слоя
кровельного ковра (и оклеенной гидроизоляции), а также его модификация Филизол
«НХ»;
Филизол-супер - для устройства однослойного
кровельного ковра.
.3. В состав работ, рассматриваемых картой,
входят наклейка двух- и трехслойного (из материалов Филизол-К и Филизол-Н) или
однослойного кровельного ковра из материала Филизол-супер, а также устройство
кровли с применением Филизол «КХ» и «НХ».
.4. Филизол относится к категории наплавляемых
рулонных материалов, что позволяет применять его для устройства кровель без
приклеивающих мастик в летнее и зимнее время по жестким основаниям
(железобетонные плиты, цементно-песчаные и асфальтовые стяжки), огрунтованным
битумом БН 70/30, разжиженным керосином или уайт-спиритом в соотношении 1:3.
3.3.2 Организация и технология строительного
производства
Таблица № 3.9
Подсет объемов работ:
|
Наименование
работ
|
Схемы
и формулы подсчета
|
Ед.изм.
|
Коли-
чество
|
|
1.
Площадь кровли
|
Fк = L к х Вк
|
м2
|
|
|
2.
Устройство гидроизоляции
|
Fги = (L к +1) х
(Вк + 1)
|
м2
|
|
|
3.
Площадь пароизоляции прокладочной в один слой из полиэтиленовой пленки
|
Fпи = Fк х Нрп
|
м2
|
|
|
4.
Площадь стяжки
|
Fст = Fк
|
м2
|
|
|
5.
Площадь рулонного ковра
|
Fрк = (L к +0.2) х
(Вк + 0.2)
|
м2
|
|
|
6.
Площадь нижнего дополнительного слоя водоизоляционного ковра
|
Fдни = L пер.к. х
0.55
|
|
|
|
7.
Площадь верхнего дополнительного слоя водоизоляционного ковра
|
Fдви = L пер.к. х
1.6
|
м2
|
|
|
8.
Устройство теплоизоляции
|
Vут = Fк х Нрут х
В ут
|
м3
|
|
|
9.
Масса утеплителя
|
Рут
= Vут х Пут
|
т
|
|
|
10.
Количество раствора на устройство стяжки
|
Vрс = Fст х Нрр
|
м3
|
|
|
11.
Длина примыканий кровли к парапету
|
L пер.к. - по рабочим
чертежам
|
м
|
|
|
12.
Длина примыканий к вентшахтам
|
L прв -по рабочим чертежам
|
м
|
|
|
13.
Количество раствора на устройство наклонных бортиков
|
Vрб = (L пер.к. х
0,1х 01) \ 2
|
м3
|
|
|
14.
Общее количество раствора
|
Vр = Vрс + Vрб
|
м3
|
|
|
15.
Масса раствора
|
Рр
= 2.2 х
Vр
|
т
|
|
|
16.
Масса рулонных материалов
|
Ррм
= 5.5 х (Fрк+ Fги + Fдни + Fдви)
|
т
|
|
|
|
|
|
|
. До начала устройства кровли должны быть
выполнены и приняты: все строительно-монтажные работы на изолируемых участках,
включая замоноличивание швов между сборными железобетонными плитами, установку
и закрепление к несущим плитам или к стальным профилированным настилам
водосточных воронок, компенсаторов деформационных швов, патрубков (или
стаканов) для пропуска инженерного оборудования, анкерных болтов,
антисептированных деревянных брусков (или реек) для закрепления изоляционных
слоев и защитных фартуков;
слои паро- и теплоизоляции, стяжки и затем
проведена контрольная проверка уклонов и ровности основания под кровлю на всех
поверхностях, включая карнизные участки кровель и места примыканий к
выступающим над кровлей конструктивным элементам.
Проверочные работы должны включать:
соблюдение проектных уклонов от водораздела и
других высших отметок ската кровли до самых низших - водосточных воронок; для
этого сначала следует устанавливать нивелир и с помощью рейки определить их
отметки . Уклоны определяются отношением превышения отметок к расстоянию между
замеряемыми точками. Если окажется, что уклон основания меньше проектного,
необходимо исправить стяжку, доведя все отметки до проектных значений;
натянуть шнур между всеми высокими точками или
на водоразделе и низкой точкой возле воронкис целью проверки соблюдения уклона
по всей поверхности основания на скате и исправить места, где будут обнаружены
контруклоны (обратные уклоны);
проверить ровности всей поверхности основания.
Для этого приложить к поверхности стяжки вдоль и поперек ската трехметровую
рейку; просвет между поверхностью основания и рейкой не должен превышать 10 мм
.
Если все требования проекта к качеству основания
соблюдены, можно поверхность стяжки огрунтовать.
. При устройстве кровель с применением наплавляемых
рулонных материалов должны выполняться требования норм по технике безопасности
в строительстве, действующих правил по охране труда и противопожарной
безопасности.
. Для устройства кровельного ковра применяют
следующие материалы: наплавляемые рулонные материалы Филизол (ТУ
5770-008-05108038-97). Показатели физико-механических свойств материалов
Филизол;герметизирующие мастики «Эластосил», УТ-32 и другие, удовлетворяющие
требованиям ГОСТ 25621-83 для герметизации мест примыкания кровельного водоизоляционного
ковра.
На эксплуатируемых кровлях (крышах-террасах) в
качестве разделительного слоя рекомендуется применять холст из синтетических
волокон по ТУ 6-19-290-83.
Для компенсаторов деформационных швов, элементов
наружных водостоков и отделки свесов карнизов применяют материалы в
соответствии с требованиями СНиП II-26-76 или серии 1.010-1.
. Работа по устройству кровли из Филизола в
соответствии со схемой организации рабочего места должна быть включена в
монтажный цикл с тем, чтобы использовать башенный кран для подъема рулонных
материалов, а в случае отсутствия следует использовать крышевой кран .
. Работа по устройству кровли должна быть
организована таким образом, чтобы до минимума сократить непроизводительные
перестановки механизмов и переходы рабочих, а также перемещение и переноску
Филизола.
. Для обеспечения качества кровли, ровности
основания:
перед выполнением теплоизоляции производят
нивелировку поверхности несущих плит для установки маяков, служащих основанием
под рейки для укладки монолитной теплоизоляции полосами на необходимую высоту.
. Теплоизоляционные работы совмещают с работами
по устройству пароизоляционного слоя (если он требуется по проекту), выполняя
их «на себя». Это повышает сохранность теплоизоляции при транспортировании
материалов.
. Теплоизоляционные плиты должны плотно
прилегать друг к другу. Если ширина швов между плитами превышает 5 мм, то их
заполняют теплоизоляционным материалом.
<#"889164.files/image027.gif">
- стяжка; 2 - шов; 3 - грунтовка по
стяжке; 4 - полоса Филизола В; 5 - герметик; 6 - точечная приклейка полосы (с
одной стороны шва); 7 - Филизол Н; 8 - Филизол В

- головка горелки; 2 - вентиль
подачи воздуха; 3 - вентиль подачи горючего; 4 - державка; 5 - штуцер воздуха М
16×1,5;
6 - штуцер
горючего М 16×1,51
Н
Наклейка рулона с использованием
дифференциального катка ИР-830 с использованием захвата-раскатчика и катка
ИР-735
Наклейка рулона без применения катка
<#"889164.files/image033.gif">
Раскладка и раскрой полотнищ
наплавляемого рулонного материала при устройстве кровельного ковра на
поверхности внешнего угла
А, Б, - для основного кровельного
ковра; В, Г - для дополнительного кровельного ковра
- стена вентшахты; 2 - нижний слой
основного кровельного ковра; 3 - верхний слой (с крупнозернистой посыпкой)
основного ковра; 4 - наклонный бортик; 5 - основной кровельный ковер; 6 -
нижний слой дополнительного ковра; 7 - верхний слой (с крупнозернистой
посыпкой) дополнительного ковра
- сборная железобетонная плита
покрытия; 2 - пароизоляция; 3 - теплоизоляция; 4 - выравнивающая стяжка; 5 -
основной кровельный ковер; б - крупнозернистая посыпка; 7 - рамка из уголка; 8
- зонт; 9 - хомут; 10 - труба; 11 - патрубок с фланцем; 12 - герметизирующая
мастика
<#"889164.files/image036.gif"> <#"889164.files/image037.gif">
3.3.5 Производство работ в зимнее время при
устройстве рулонных кровель.
Максимально возможное удаление влаги из
конструкций кровли.
Утеплитель должен соответствовать по влажности
установленным требованиям. Уложенный утеплитель необходимо сразу укрывать от
возможных осадков. При устройстве цементно-песчаной стяжки (впрочем, как и
летом) на утеплитель уложить защитную пленку. Стяжку, по-возможности,
просушить.
При ремонтных работах требуется просушить и
выровнять поверхность существующей кровли (если утеплитель не меняется). В
данном случае (ремонт кровли, наличие протечек) влага имеется и в утеплителе.
Наиболее эффективно вести просушку старой кровли электрическим оборудованием.
Отсутствие открытого огня позволяет не разрушать поверхность существующей
кровли и дает возможность прогревать сразу несколько слоев водоизоляционного
ковра. Это оборудование позволяет вести просушку основания сразу после
расчистки снега и непосредственно перед укладкой новых полотнищ кровельного материала.
Просушивание подковрового пространства в
процессе эксплуатации кровли
Для удаления оставшейся влаги из-под коврового
пространства при производстве кровельных работ зимой рекомендуется устраивать
"дышащую" кровлю. Для этого полотнища нового водоизоляционного ковра
(при многослойном исполнении - нижний слой) следует частично крепить к
основанию. Оставшиеся непроклеенные полости необходимо соединить между собой и
обеспечить свободное их соединение с атмосферой. Рекомендуется в этих целях
использовать кровельные вентиляционные патрубки с дефлекторами.
.3.6 Указания по технике безопасности
. К обслуживанию и эксплуатации средств
механизации при производстве кровельных работ допускаются лица, хорошо
изучившие правила эксплуатации, специфические требования по технике
безопасности и имеющие удостоверение о допуске к работе.
. Для транспортирования баллонов с сжиженным
газом пропан-бутаном в зоне стройплощадки или в пределах крыши допускается
использование специальных тележек, рассчитанных на 2 баллона. Баллоны на
тележках должны надежно крепиться хомутом.
Категорически запрещается подавать на крышу
наполненные газом баллоны колпаком вниз.
Кантовка наполненных баллонов допускается в
пределах рабочего места и только по основанию крыши, не дающему искры при ударе
по нему металлом.
. Посторонним лицам запрещается находиться в
рабочей зоне во время производства работ по наклейке Филизола.
Во всем остальном следует руководствоваться
требованиями ТКП 45 - 1.03 - 40 -2006 «Безопасность труда в строительстве».
. Перед началом работы кровельщик должен надеть
спецодежду и убедиться в ее исправности. Обувь должна быть не скользящей.
Предохранительные приспособления (пояс, веревка, ходовые мостики, переносные
стремянки и т.п.) должны быть своевременно испытаны и иметь бирки.
. Необходимо получить у мастера, руководителя
работ инструктаж о безопасных методах, приемах и последовательности выполнения
предстоящей работы.
. Перед началом работы кровельщику необходимо
подготовить рабочее место, убрать ненужные материалы, очистить все проходы от
мусора и грязи.
. Убедиться в надежности подмостей и лесов, а на
плоской кровле, временного ограждения. Проверить ограждено ли место работы
внизу здания, укрепить все материалы на крыше.
. Внешним осмотром проверить исправность
баллонов, горелок, рукавов, надежность их крепления (крепить рукава только
металлическими хомутами), исправность редукторов, манометров.
. При работе с газовыми баллонами (рабочий газ -
пропан) необходимо руководствоваться «Временной инструкцией по безопасной
эксплуатации постов, хранению и транспортировке баллонов сжиженных газов
пропан-бутановой смеси при гидроизоляционных работах».
. При работе на скатах с уклоном более 20° и при
отделке карнизов кровли с любым уклоном кровельщик обязан пользоваться
предохранительным поясом и веревкой, прочно привязанной к устойчивым
конструкциям здания. Места закрепления должен указать мастер или прораб.
. Сбрасывать с кровли материал и инструмент
запрещается, во избежание падения с кровли на проходящих людей каких-либо
предметов устанавливаются предохранительные козырьки над проходами, наружными
дверьми. Зона возможного падения предметов ограждается, вывешивается плакат
«Проход запрещен».
. При складировании на кровле штучных
материалов, инструмента и принять меры против их скольжения по скату или
сдувания ветром.