Технология сбора, подготовки и хранении нефти на ЦПНГ №5 'Гремиха' ОАО 'Удмуртнефть'
Содержание
Введение
. Геолого-технический наряд на
бурение скважины
. Схема промывки скважины при
бурении
. Приборы для контроля качества
промывочных жидкостей
. Элементы обсадной колонны
. Противовыбросовое оборудование
. Коллекторские свойства продуктивных
пластов
. Физические свойства пластовой
жидкости (нефти, газа, воды)
. Показатели разработки залежи
(продуктивного пласта)
. Схема системы ППД
. Схема БКНС
. Технологический режим работы
фонтанных скважин
. Технологический режим работы
газлифтных скважин
. Технологический режим работы УСШН
. Технологический режим работы УПЦЭН
. Конструкция газопесочных якорей
. Устройства для борьбы с
отложениями парафина
. Схема промывки песчаной пробки
. Технические средства для
исследования скважин перед капитальным ремонтом
. Схема промывки песчаной пробки
. Электродегидратор
. Системы автоматизации нефтяных
скважин
. Автоматизированные групповые
замерные установки
. Автоматизация ДНС и сепарационных
установок
. Технические средства для
оперативного учета добываемой продукции
. Нефтепромысловые резервуары и их
элементы
. Техника безопасности при
обслуживании установок подготовки нефти, газа и воды
. Организация пожарной охраны на
предприятиях НГДУ
. Организация безопасности
жизнедеятельности на предприятиях НГДУ
. Заключение
Список использованной литературы
Введение
В период с 30 июня по 13 июля 2014 года я
проходила вторую учебную промысловую практику на ЦПНГ №5 «Гремиха» ОАО
«Удмуртнефть» в качестве товарного оператора.
В первый день меня ознакомили с инструктажами по
технике безопасности, пожарной безопасности на предприятии, а также с
производством, техническим регламентом.
Во время практики я ознакомилась со схемой
сбора, подготовки и транспортировки нефти на Гремихинском месторождении.
Занималась обслуживанием резервуарного парка, совершала обход по установке,
производила отбор проб. Снимала показания с контрольно-измерительных приборов,
заполняла сводки и вахтовый журнал. Производила замеры на РВС и определяла
нефтяную прослойку в водяных резервуарах. Производила дренирование водяных
резервуаров, регулировала переток пресной воды. Также помимо этих работ я
большую часть времени практики красила фланцы, задвижки, направления движения
потока на трубах, лестницы и переходы. Узнала, что каждый цвет означает определенную
среду: синий - вода, красный или коричневый - нефть, желтый - газ.
Благодаря этой практике я закрепила и углубила
теоретические знания в области сбора, подготовки и хранении нефти, приобрела
опыт самостоятельной работы товарного оператора.
.
Геолого-технический наряд на бурение скважин
Основным документом, которым руководствуется
буровая бригада при бурении разведочных скважин, является геолого-технический
наряд (ГТН). ГТН составляют на основании: проектной конструкции скважины;
выбранного бурового оборудования и инструмента; разработанной технологии
бурения; проведения необходимых специальных работ в скважине. В ГТН учитываются
все геолого-технические параметры при бурении скважины и необходимые комплексы
исследований, для получения всех данных по полезному ископаемому и вмещающим
породам. ГТН составляется на бурение каждой скважины или группу мелких скважин
со сходными геолого-техническими условиями бурения. Забуривание и бурение
скважины без ГТН запрещается.
ГТН состоит из трех основных частей: геологической,
технико-технологической и исследовательской. Геологическую и исследовательскую
части ГТН составляет геологическая служба предприятия, технико-технологическую
часть - служба главного инженера. В процессе бурения, особенно глубоких,
наклонно-направленных, бурящихся в сложных условиях и на неизученных площадях
ГТН должен уточняться путем внесения соответствующих изменений. В процессе
бурения скважины в ГТН вносятся фактические данные по глубинам, породам,
категориям пород, выходу керна.
ГТН, подписанный исполнителями и
утвержденный главным инженером предприятия, выдается буровому мастеру до начала
бурения скважины для руководства и исполнения. Буровая бригада перед началом
работы изучает ГТН и строго руководствуется его требованиями в процессе бурения
скважины
<#"889124.files/image001.gif">
. Схема промывки скважины при бурении
бурение
скважина нефтяной
Промывка скважин - циркуляция (непрерывная или
периодическая) промывочного агента (газа, пены, воды, бурового раствора) при
бурении с целью очистки забоя от выбуренной породы (шлама) и транспортирования
её на поверхность или к шламосборникам, передачи энергии забойным двигателям,
охлаждения и смазки породоразрушающего инструмента. При роторном бурении в
мягких и средних породах за счёт действия промывочного агента (при скорости
истечения жидкости 200-250 м/с) достигается также гидромониторное разрушение
пород на забое.
Различают два вида промывки: прямую и обратную.
При прямой промывке струя поступает в систему штанг, проходит через буровой
снаряд на забой и поднимается в кольцевом зазоре между стенками скважины и
буровым снарядом. При обратной промывке струя поступает в скважину и, пройдя
под торец бурового снаряда, выходит на поверхность по колонне штанг.
Обычно применяется прямая промывка, имеющая
преимущества: во-первых, восходящий поток противодействует обвалам стенок
скважины; во-вторых, герметизация входа промывочной струи не встречает особых
затруднений и конструктивно проще, чем при обратной промывке.
Схема прямой промывки скважин: 1 - ёмкость для
бурового раствора; 2 - насос; 3 - гибкий шланг; 4 - вертлюг; 5 - ведущая труба;
6 - бурильная колонна; 7 - гидравлический двигатель; 8 - насадки долота; 9 -
кольцевой канал; 10 - желоба; 11 - вибросито; 12 - отстойник; 13 -
вспомогательный насос; 14 - гидроциклон; 15 - центрифуга.
Достоинством обратной промывки является лучшая
очистка забоя скважины благодаря скоростному перепаду струи на забое при
переходе из кольцевого зазора между снарядом и стенками скважины в буровой снаряд.
Поэтому обратную промывку иногда применяют при проходке пород, образующих
большое количество шлама, например, песков, плывунов.
Схема бурения с обратной промывкой:
- Долото;
- Смеситель;
- Воздушные трубы;
- Бурильная колонна;
- Компрессор;
- Ротор;
- Вертлюг;
- Рукав;
- Амбар-отстойник;
- Буровой шлам;
- Перемычка;
- Желоб для соединения шурфа с
амбаром-отстойником
3. Приборы для контроля качества промывочных
жидкостей
При бурении вращательным способом в скважине
постоянно циркулирует поток жидкости, которая ранее рассматривалась только как
средство для удаления продуктов разрушения (шлама). В настоящее время она
воспринимается, как один из главных факторов обеспечивающих эффективность всего
процесса бурения.
При проведении буровых работ циркулирующую в
скважине жидкость принято называть - буровым раствором или промывочной
жидкостью.
Функциями и параметрами промывочных жидкостей
являются:
· Удаление продуктов разрушения из
скважины
· Охлаждение породоразрушающего
инструмента и бурильных труб
· Удержание частиц выбуренной породы
во взвешенном состоянии
· Облегчение процесса разрушения
горных пород на забое
· Сохранение устойчивости стенок
скважины
· Создание гидростатического
равновесия в системе "ствол скважины - пласт"
· Сохранение проницаемости
продуктивных горизонтов
· Перенос энергии от насосов к
забойным механизмам
· Обеспечение проведения геофизических
исследований
· Предохранение бурового инструмента и
оборудования от коррозии и абразивного износа
· Закупоривание каналов с целью
снижения поглощения бурового раствора и водопритоков
· Предотвращение газо-, нефте-, водо
проявлений
· Снижение коэффициента трения
· Сохранение заданных технологических
характеристик
· Экологическая чистота
· Экономическая эффективность
Буровой раствор не может в одинаковой мере
выполнять все функции. И главное не всегда это необходимо. Поэтому для
конкретных условий бурения определяется набор основных функций бурового
раствора и те свойства, которые обеспечат их выполнение. Задаче получения
заданных свойств должны быть подчинены все работы по подбору рецептур (состава)
раствора и их регулированию. При этом необходимо сохранить на приемлемом уровне
остальные параметры промывочного агента.
Часть свойств бурового раствора могут измеряться
буровой бригадой, обычно это плотность бурового раствора, условная вязкость, и
водоотдача. Кроме того, бригадой могут измеряться содержание песка, а также
концентрацию солей и щелочность раствора
Однако для качественного управления свойствами
бурового раствора, позволяющего обеспечивать эффективное выполнение им заданных
функций, такого набора параметров явно недостаточно.
Плотность и удельный вес бурового раствора
замеряют прибором типа АБР-1. В комплект входит ареометр и удлиненный
металлический футляр в виде ведерка с крышкой, служащей пробоотборником для
раствора.
Прибор состоит из мерного стакана, донышка,
поплавка, стержня и съемного калибровочного груза.
Процесс измерения плотности основан на
определении гидростатического давления на дно измерительного сосуда.
Стабильность и суточный отстой используются в
качестве технологических показателей устойчивости промывочной жидкости как
дисперсной системы.
Показатель стабильности С измеряется с помощью
прибора ЦС-2, представляющего собой металлический цилиндр объемом 800 см3 со
сливным отверстием в середине. При измерении отверстие перекрывают резиновой
пробкой, цилиндр заливают испытываемым раствором, закрывают стеклом и оставляют
в покое на 24 ч. По истечении этого срока отверстие открывают и верхнюю половину
раствора сливают в отдельную емкость. Ареометром определяют плотность верхней и
нижней частей раствора. За меру стабильности принимают разность плотностей
раствора в нижней и верхней частях цилиндра. Чем меньше значение С, тем
стабильность раствора выше.
Суточный отстой измеряют с помощью стеклянного
мерного цилиндра объемом 100 см3, обозначают буквой 0.
Испытываемую жидкость осторожно наливают в
мерный цилиндр до отметки 100 см3, закрывают стеклом и оставляют в покое на 24
ч, после чего визуально определяют величину слоя прозрачной воды, выделившейся
в верхней части цилиндра. Отстой выражают в процентах выделившейся жидкости от
объема пробы. Чем меньше суточный отстой, тем устойчивее, стабильнее
промывочная жидкость.
Эти параметры следует измерять при температурах,
соответствующих температуре раствора в скважине.
Стабильным считается раствор, у которого С =
0,02-0,03 г/см3, 0 = 3-4%.
Стандартные полевые измерения вязкости бурового
глинистого раствора проводятся с помощью вискозиметра буровых растворов ВБР-1
или воронкой Марша.
Вискозиметр ВБР-1, служащий для измерения
условной вязкости, состоит из воронки, герметично соединенной трубки, сетки и
мерной кружки.
Порядок определения. Взяв в руку воронку,
устанавливают сетку на выступы, зажимают нижнее отверстие пальцем правой руки и
заливают через сетку испытуемую жидкость до верхней кромки вискозиметра.
Подставив мерную кружку под трубку вискозиметра, убирают палец и одновременно
левой рукой включают секундомер. Воронку необходимо держать вертикально (допускается
отклонение не более 100). Когда мерная кружка наполнится до края, останавливают
секундомер, а отверстие воронки вновь закрывают пробкой.
Условная вязкость определяется временем
истечения 500 см3 раствора через трубку из воронки вискозиметра, заполненной
700 см3 раствора.
За исходный результат принимают среднее значение
результатов трех измерений, отличающиеся между собой не более чем на 2 с.
Существующие приборы для измерения водоотдачи
делятся на работающие под давлением и работающие под вакуумом. Первые
подразделяются на приборы, измеряющие статическую водоотдачу, и приборы,
измеряющие динамическую водоотдачу (в процессе циркуляции над фильтром).
Последние сложны и пока используются лишь в научных исследованиях. К наиболее
распространенным в практике разведочного бурения приборам относятся ВМ-6, в
которых водоотдача измеряется в статическом состоянии при перепаде давления 0,1
МПа. За показатель фильтрации принимается количество жидкости,
отфильтровавшейся через круглый бумажный фильтр площадью 28 см2 за 30 мин.
Содержание песка характеризует устойчивую
загрязненность промывочной жидкости твердыми включениями. Чрезмерное содержание
песка приводит к абразивному износу гидравлического оборудования и бурового
снаряда, уменьшению механической скорости бурения. Содержание песка определяют
с помощью отстойника ОМ-2.
Для промывочных жидкостей нормальным считается
содержание песка до 4%.
Для различных промывочных жидкостей существует
своя оптимальная концентрация водородных ионов, при которой они наиболее полно
удовлетворяют требованиям технологии бурения в конкретных геолого-технических
условиях. Контроль за величиной рН позволяет определить причины изменения
свойств промывочной жидкости в процессе бурения и принять меры по
восстановлению ее качества. Концентрацию водородных ионов промывочных жидкостей
измеряют колориметрическим и электрометрическим способами.
Колориметрический способ основан на применении
индикаторов. Он имеет невысокую точность и чаще применяется в полевых условиях.
Электрометрический способ используется для более
точного определения рН в лабораториях на специальных приборах рН-метрах,
например рН-262. Здесь для измерения величины рН используется система со
стеклянным электродом, электродвижущая сила которой зависит от активности ионов
водорода в растворе. При погружении электрода в раствор между поверхностью
шарика электрода и раствором происходит обмен ионами, в результате которого
ионы лития в поверхностных слоях стекла замещаются ионами водорода и стеклянный
электрод приобретает свойства водородного электрода.
Существует также множество других приборов и
устройств для определения самых разных свойств и параметров бурового раствора,
например:
СНС-2
<#"889124.files/image004.gif">
Конструкция скважины:
- обсадные трубы;
- цементный камень;
- пласт;
- перфорация в обсадной трубе и
цементном камне;- направление;- кондуктор;- промежуточная колонна;-
эксплуатационная колонна.
Существуют разные методы извлечения
из пластов нефти и газа. Обычно в нижней части эксплуатационной колонны
перфорируют несколько отверстий 4 в стенке обсадных труб и цементной пробке.
Если породы устойчивы, то зону
скважины при забое не цементируют, а оборудуют различными фильтрами или опускают
обсадную колонну только до кровли продуктивного пласта. В этом случае
разбуривание и соответственно эксплуатацию скважины производят без крепления
ствола скважины.
В зависимости от назначения
скважины, её устье оборудуют арматурой (задвижки, колонная головка, крестовина
и т.д.).
. Противовыбросовое оборудование
Противовыбросовое оборудование -
комплекс оборудования, предназначенный для герметизации устья нефтяных и
газовых скважин в процессе их строительства и ремонта с целью безопасного
ведения работ, предупреждения выбросов и открытых фонтанов. Противовыбросовое
оборудование обеспечивает проведение следующих работ: 1) Герметизация скважины;
2) Спуск-подъем колонн бурильных труб при герметизированном устье; 3)
Циркуляция бурильного раствора с созданием регулируемого противодавления на
забой и его дегазацию; 4) Оперативное управление гидроприводными составными
частями оборудования.
В состав оборудования входят
колонные фланцы, крестовины, надпревенторные катушки, система гидроуправления
превенторами и задвижками, манифольд
<#"889124.files/image005.gif">
Плашечный превентор:
-корпус;
-плашка;
-цилиндр для смены плашек;
-рабочий гидроцилиндр;
-ручной фиксатор плашки
Универсальный кольцевой превентор
Предназначен для герметизации устья
скважины вокруг любой части бурильной колонны, а также полного перекрытия
скважины при отсутствии в ней инструмента.
Конструктивные особенности:
· давление в скважине способствует
дополнительному эффективному уплотнению;
· простота конструкции облегчает при
необходимости замену всех уплотнений и основных деталей;
· возможно изготовление в
коррозионностойком (к сероводороду) исполнении;
· возможен встроенный парообогрев.
Универсальный превентор:
- крышка,
- уплотнитель кольцевой,
- корпус,
- поршень.
Вращающийся превентор:
- корпус,
- гайка байонетная,
- корпус,
- роликоподшипник,
- ствол,
- элемент уплотнительный,
- уплотнение шевронное,
- крышка,
- фланец,
- вкладыш,
- насос,
- привод.
Универсальный вращающийся превентор
Предназначен для герметизации устья скважины при
выполнении спуско-подъемных операций под давлением скважинной среды,
обеспечивает вращение колонны, а также полное перекрытие устья скважины при
отсутствии в ней инструмента.
Совмещает в одном агрегате функции двух -
универсального и вращающегося - превенторов.
Использование универсального вращающегося
превентора повышает безопасность проведения буровых работ, улучшает систему
защиты окружающей среды.
Возможно изготовление в коррозионностойком
исполнении и со встроенным парообогревом.
. Коллекторские свойства продуктивных пластов
|
Месторождение,
горизонт
|
Открытая
пористость (%)
|
Проницаемость
(10-15м2)
|
Начальное
|
|
|
|
Рпл
(Мпа)
|
tпл (Со)
|
Газовый
фактор (м3/т)
|
Дебит
(т/сут)
|
|
Чутырско-Киенгопское
|
|
|
|
|
|
|
|
Верейский,
В-II 15394011,52930,512,8
|
|
|
|
|
|
|
|
Башкирский,
Бш
|
17
|
453
|
12,6
|
31
|
22,9
|
2,8
|
|
Тульский,
Тл-1
|
16
|
292
|
15,1
|
33
|
|
4,8
|
|
|
|
|
|
|
|
|
Мишкинское
|
|
|
|
|
|
|
|
Верейский,
В-III
|
18
|
121
|
11,8
|
21,2
|
11,1
|
14,1
|
|
Башкирский,
Бш
|
14
|
192
|
12,1
|
26,3
|
14,3
|
68
|
|
Тульский,
Тл-0
|
14
|
1000
|
14,8
|
30,8
|
|
1
|
|
Яснополянский
|
14
|
71
|
15,2
|
29-31
|
9
|
8,5
|
|
Бобриковский, Бб-II
|
19
|
1890
|
15,2
|
29-31
|
|
24
|
|
|
|
|
|
|
|
|
Гремихинское
|
|
|
|
|
|
|
|
Башкирский,
Бш
|
16
|
409
|
11,8
|
26
|
14,6
|
13,8
|
|
Тульский,
Тл
I+II
|
13
|
183
|
14,5
|
31
|
|
9,5
|
|
|
|
|
|
|
|
|
Ельниковское
|
|
|
|
|
|
|
|
Подольский,
Сpd2-I
|
18
|
24
|
9,1
|
18,5
|
24
|
7,1
|
|
Каширский,
Скš1-V
|
21
|
38
|
10,1
|
22
|
19
|
2,7
|
|
Тульский,
С1-II
|
21,2
|
274
|
13,3
|
28
|
12-16
|
17-24
|
|
Бобриковский,С1-VI
|
22
|
639
|
13,1
|
30-31
|
9-11
|
34,2
|
|
|
|
|
|
|
|
|
Вятское
|
|
|
|
|
|
|
|
Подольский,
Cpd2
|
22
|
43
|
10,1
|
19,5
|
30,1
|
1,7
|
|
Каширский
Ckŝ1
|
19
|
49
|
9,7
|
19,5
|
16,7
|
3,2
|
|
Яснополянский
|
18,5
|
252
|
14,2
|
28
|
18
|
27
|
|
|
|
|
|
|
|
|
Архангельское
|
|
|
|
|
|
|
|
Кыновско-пашийский,
Д0+Д1
|
18,9
|
550
|
19,2
|
39
|
12-23,8
|
19-183
|
|
|
|
|
|
|
|
|
Южно-Киенгопское
|
|
|
|
|
|
|
|
Верейский
|
16
|
229
|
11,5
|
25,5
|
21,9
|
7,4
|
|
Башкирско-серпуховский
|
17
|
678
|
13,4
|
29
|
19,3
|
120
|
|
Тульский,
Тл0-//
|
19
|
408
|
15,1
|
34
|
29,2
|
28
|
|
Бобриковский,
Бб-1
|
24
|
339б5
|
16,2
|
34
|
29,2
|
59,5
|
. Физические свойства пластовой жидкости
Физические свойства нефти. Физические свойства
пластовых нефтей в значительной мере отличаются от свойств дегазированных
(поверхностных) нефтей и зависят от влияния температуры, давления и
растворимости газа в нефти.
В нефтях, кроме углерода и водорода, в небольших
количествах содержатся кислород, азот, сера, в виде следов хлор, фосфор, йод и
другие химические элементы. Плотность (удельный вес) разгазированной нефти
изменяется в больших пределах - от 0,600 до 0,1000 г/см3 и зависит, в основном,
от углеводородного состава, а также от асфальтосмолопарафиновых веществ. В
пластовых условиях плотность нефти зависит от количества растворенного газа,
давления и температуры.
При растворении газа в нефти (жидкости) объем ее
увеличивается. Отношение объема нефти (жидкости) с растворенным в ней газом в
пластовых условиях к объему этой же нефти на поверхности после ее дегазации
называется объемным коэффициентом
где Vn
- объем нефти в пластовых условиях, Vnoв
- объем той же дегазированной нефти при атмосферном давлении.
Объемный коэффициент пластовой нефти показывает,
какой объем в пластовых условиях занимает 1 м3 дегазированной нефти. Этот
коэффициент всегда больше 1. Он может достигать у некоторых нефтей до 3 и
более.
Самые распространенные в природных условиях -
углеводороды метанового ряда: метан СН4, этан С2Н6, пропан С3Н8 и другие.
Углеводороды от метана (СН4) до бутана (С4Ню) включительно при атмосферном
давлении находятся в газообразном состоянии. Из них состоит нефтяной газ.
Углеводородные соединения, содержащие от 5 до 17 атомов углерода в молекуле
(С5Н12 - С17Н36), - жидкие вещества. Эти соединения входят в состав нефти.
Углеводороды, в молекулах которых имеется свыше 17 атомов углерода, относятся к
твердым веществам.
Физические свойства и качественная
характеристика нефтей и нефтяных газов зависят от преобладания в них отдельных
углеводородов или смежных групп. Нефти с преобладанием сложных углеводородов
(тяжелые нефти) содержат меньшее количество бензиновых и масляных фракций.
Содержание в нефти значительного количества смолопарафиновых соединений делает
ее малоподвижной и требует особых подходов при ее добыче и транспорте.
Одним из основных физических свойств нефти
является вязкость.
Вязкость - это свойство жидкости сопротивляться
взаимному перемещению ее частиц при движении.
При ламинарном движении жидкости по трубе
скорость отдельных слоев жидкости неодинакова и изменяется от минимальной у
стенки трубы до максимальной у осевой линии. Движение жидкости (нефти)
происходит отдельными слоями, движущимися с различной скоростью. В этой связи,
если рассматривать два смежных соприкасающихся слоя жидкости, то из-за разности
скоростей их движения между ними будет происходить еще и относительное
движение, что и вызывает возникновение сил внутреннего трения, обусловленных
вязкостью жидкостей. Чтобы переместить один слой относительно другого, необходимо
приложить силу Р. Установлено, что сила прямо пропорциональна поверхности
соприкосновения двух слоев, их относительной скорости и обратно пропорциональна
расстоянию между слоями. Это соотношение выражается формулой
(1)
где μ
- коэффициент вязкости; ∆v
- приращение скорости движения первого слоя относительно другого; ∆S
- расстояние между слоями; F
- поверхность соприкосновения двух слоев. Из формулы (1) коэффициент вязкости
равен
(2)
Подставляя в формулу (2) единицы измерения:
единицу силы 1 Н;
единицу площади 1 м2;
единицу расстояния 1 м;
единицу скорости 1 м/с,
получим размер единицы динамической вязкости:
Учитывая, что вязкость пластовых жидкостей
(нефти) ниже 1 Па*с, то в промысловой практике пользуются меньшими единицами
вязкости - пуаз, сантипуаз:
пз = 0,1Н*с/м2=0,1Па*с
спз = 10-3 Н*с/м2 = 10-3 Па*с.
Динамическая вязкость воды при +20° С равна 0,01
пз, или 1 спз.
Вязкость нефти в зависимости от ее
характеристики и температуры может изменяться от одного до нескольких десятков
сантипуаз.
Физические свойства газа. Газы нефтяных и
газовых месторождений по химической природе сходны с нефтью. Газы нефтяных
месторождений, добываемые вместе с нефтью, называют нефтяными газами, а газы
газовых месторождений называются природными газами.
В нормальных условиях при атмосферном давлении и
температуре 0° С углеводороды от метана (СН4) до бутана (С4Н10) всегда
находятся в газообразном состоянии.
Если при постоянной температуре повышать
давление газа, то при достижении определенного давления этот газ перейдет в
жидкую фазу. Для каждого газа существует своя предельная температура, выше
которой этот газ нельзя перевести в жидкое состояние. Максимальная температура,
при которой данный газ может перейти в жидкое состояние при повышении давления,
называется критической температурой. Для метана критическая температура -82,1°
С, для этана - +32,3° С, для азота - +141,7° С. Давление, соответствующее
критической температуре, называется критическим давлением. Температура, при
которой вещество с повышением давления до определенной величины из газообразной
фазы переходит в жидкую, называется точкой росы или точкой начала конденсации.
Эта же температура при снижении давления является точкой испарения, так как при
этом вещество из жидкой фазы начинает переходить в газообразную.
Одним из основных физических параметров
нефтяного газа является его плотность.
Плотностью называется отношение массы вещества к
занимаемому объему:

Плотность газа можно определить взвешиванием или
вычислить, когда знаем молекулярную массу смеси:
где Vм
- объем моля газа при стандартных условиях, м3; 22,4 - газовая постоянная.
Плотность газа находится в пределах 0,73-1
кг/м3.
На практике пользуются относительной плотностью
газа, которая показывает, во сколько раз масса данного газа, заключенного в
определенном объеме при данных давлениях и температуре, больше или меньше массы
сухого воздуха, заключенного в том же объеме и при тех же условиях:
где рг - плотность углеводородного газа, рв -
плотность сухого воздуха, µr
- молекулярная масса газа, µВ - молекулярная масса воздуха.
Относительные плотности некоторых углеводородов
и их примесей (в нормальных условиях) составляют: воздух - 1; N2
-0,9673; СО2 - 1,5291; H2S
- 1,1906; СН4 - 0,553; С2Н6 -1,038; С3Н8 - 1,523; С4Н10 - 2,007.
В пласте углеводородные газы находятся в
различных условиях. С увеличением давления от 0 до 3-4 МПа объем газов
уменьшается.
С увеличением температуры при постоянном объеме
газов сжимаемость газов уменьшается.
Приведенным давлением Рпр называется отношение
давления газа к его критическому давлению:
Давление, соответствующее точке критической
температуры, называется критическим давлением.
Приведенной температурой газа Тпр называется
отношение абсолютной температуры газа Т к его критической температуре:
Критическая температура Ткр - это температура,
при которой исчезает граница между жидкостью и паром. Для углеводородных газов,
представляющих собой смесь отдельных компонентов, величины Ркр и Ткр
определяются как среднеарифметические.
Если известен объем газа V0
при нормальных условиях (Р0 и T0),
то объем его при других давлениях и температурах (Р и Т) с учетом сжимаемости
можно определить на основе закона Гей-Люссака:
где Т0 = 273 К.
Для перехода от объема, занимаемого газом в
нормальных условиях, к объему газа в пластовых условиях пользуются объемным
коэффициентом, который занял бы 1 м3 газа в пластовых условиях. Объемный
коэффициент газа
Вязкость газа - это свойство газа сопротивляться
перемещению одних частиц относительно других.
Силы трения, возникающие между двумя смежными
слоями газа при его движении, пропорциональны изменению скоростей на единицу
длины. Коэффициент пропорциональности называется коэффициентом динамической
вязкости.
В системе СИ единица динамической вязкости
обозначается Па • с. Кинематическая вязкость - это отношение динамической
вязкости газа к ее плотности р при той же температуре:
В системе СИ единица кинематической вязкости
имеет размерность м2/с. При давлениях до 4 МПа динамическая вязкость газов мало
зависит от давления. Но при более высоких давлениях вязкость газа повышается,
так как число молекул в единице объема увеличивается, что приводит к увеличению
числа взаимных столкновений.
При низких давлениях с повышением температуры вязкость
газа возрастает в связи с тем, что скорости движения молекул при этом
увеличиваются. При значительном повышении давления вследствие уплотнения газа
вязкость его с повышением температуры уменьшается. При высокой температуре
зависимость вязкости от давления значительно меньше, а при повышении давления
вязкость снижается с увеличением температуры.
Растворимость газов в нефти:
По закону Генри, растворимость газа в жидкости
пропорциональна давлению:
где Vr
- объем растворенного газа, м ; Vж
- объем жидкости, м ; а - коэффициент растворимости; Р - абсолютное давление
газа, Па.
При Vж=1
и а=Vг/Р, то есть
коэффициент растворимости численно равен объему газа, растворяющегося в единице
объема жидкости при повышении давления на единицу. При растворении
углеводородных газов в нефти наблюдается значительное отклонение от закона
Генри. Коэффициент растворимости при низких давлениях больше, чем при высоких
давлениях. Коэффициент растворимости газовой смеси зависит от состояния объемов
нефти и газа, находящихся в контакте. С увеличением температуры растворимость
газовой смеси уменьшается. Различные компоненты нефтяного газа обладают
различной растворимостью. С увеличением молекулярной массы газов возрастает их
растворимость. Давление, при котором из нефти начинает выделяться газ,
называется давлением насыщения пластовой нефти. Давление насыщения зависит от
состава нефти и газа, от соотношения их объемов и от температуры.
Если в пласте имеется газовая шапка, то в этом
случае давление насыщения равно пластовому давлению или близко к нему.
Количество газа в м3, приходящееся на 1 т
добытой нефти, называется газовым фактором.
Физические свойства пластовой воды. По мере
эксплуатации нефтяных месторождений скважины постепенно обводняются. Содержание
пластовой воды в скважинной продукции растёт и может достигать 95%. Поэтому
важно знать, какое влияние оказывает пластовая вода на процесс добычи нефти и
газа.
Плотность пластовых вод сильно зависит от
минерализации, т.е. содержания растворённых солей. В среднем плотность
пластовой воды составляет 1010-1210 кг/м3.
Тепловое расширение воды характеризуется
коэффициентом теплового расширения:
Из формулы следует, что коэффициент
теплового расширения воды (Е) характеризует изменение единицы объёма воды при
изменении её температуры на 1°С. С увеличением температуры коэффициент
теплового расширения возрастает, с ростом пластового давления - уменьшается.
Коэффициент сжимаемости воды
характеризует изменение единицы объёма воды при изменении давления на единицу:
Коэффициент сжимаемости воды
изменяется в пластовых условиях в пределах 3,7×10-10 - 5,0×10-10 Па-1.
Объёмный коэффициент пластовой воды
характеризует отношение удельного объёма воды в пластовых условиях к удельному
объёму воды в стандартных условиях:
Увеличение пластового давления
способствует уменьшению объёмного коэффициента, а рост температуры -
увеличению. Объёмный коэффициент изменяется в пределах 0,99-1,06.
Вязкость воды в пластовых условиях
зависит, в основном, от температуры и минерализации. От давления вязкость
зависит слабо. Наибольшую вязкость имеют хлоркальциевые воды (в 1,5-2 раза
больше чистой воды).
Минерализация воды - содержание
растворённых солей в г/л. По степени минерализации пластовые воды делятся на
четыре типа:
рассолы (Q>50 г/л);
солёные (10<Q<50 г/л);
солоноватые (1<Q<10 г/л);
пресные (Q<1 г/л).
Минерализация пластовой воды растёт
с глубиной залегания пластов.
Состав воды определяет её жёсткость.
Жёсткостью называется суммарное содержание растворённых солей кальция, магния,
железа. Жёсткость воды оценивается содержанием в ней солей в
миллиграмм-эквивалентах на литр. Тип природной воды характеризуется в
зависимости от содержания двухвалентных катионов:
очень мягкая вода - до 1,5
мг-экв./л;
мягкая вода - 1,5-3,0 мг-экв./л;
умеренно жёсткая вода - 3,0-6,0
мг-экв./л;
жёсткая вода - более 6 мг-экв./л.
. Показатели разработки залежи
После обоснования расчетных
вариантов определяется изменение во времени показателей разработки
месторождения и обустройства промысла по каждому из рассматриваемых вариантов.
К основным показателям систем разработки и обустройства относятся следующие:
. Изменение во времени пластовых,
забойных, устьевых давлений и температур на пути движения газа от забоя до
приема магистрального газопровода.
. Изменение во времени средних и
максимальных дебитов скважин или дебитов отдельных скважин.
. Изменение во времени необходимого
числа эксплуатационных, резервных и наблюдательных скважин. Очередность ввода
скважин в эксплуатацию.
. Темпы продвижения пластовых вод по
площади и мощности газоносности. Перечисленные показатели разработки
определяются для рассматриваемого варианта отбора газа из месторождения
<#"889124.files/image025.gif">
. Схема БКНС
В системе поддержания пластового
давления (ППД) к наиболее важному и конструктивно сложному звену относятся
насосные станции. Они подразделяются на станции систем водоснабжения,
предназначенные для подачи воды на месторождение, и кустовые, основная задача
которых заключается в нагнетании воды в продуктивные нефтяные пласты для
поддержания или создания необходимых пластовых давлений.
Насосные станции, осуществляющие
непосредственно закачку воды в пласт, в зависимости от конструктивного
исполнения подразделены на кустовые (КНС), технологическое оборудование которых
монтируют в капитальных сооружениях, и блочные кустовые (БКНС), оборудование
которых монтируют в специальных блоках-боксах на заводах-изготовителях.
БКНС работает следующим образом. Из
магистрального водовода 1 вода под давлением порядка 3 МПа поступает вначале в
приемный коллектор 2, а затем в центробежный электронасос 3, который приводится
в движение электродвигателем 4. Пройдя насос 3 и дистанционно управляемую
задвижку 5, вода попадает в высоконапорный коллектор 6 (16-20 МПа), из которого
через задвижки 8 и 9 и расходомеры 7 она нагнетается в скважины.
11. Технологический режим работы
фонтанных скважин
Для установления технологического
режима работы фонтанных скважин периодически проводят их исследования по методу
установившихся пробных откачек и по кривой восстановления забойного давления
после остановки скважин. Изменение режимов работы скважин проводят с помощью
смены штуцеров (диаметров отверстий в штуцере).
Метод пробных откачек применяется
для определения продуктивности скважин и установления технологического режима
ее работы. По кривой восстановления забойного давления определяют параметры
пласта. В скважинах, вскрывших впервые продуктивные пласты, отбирают глубинные
пробы пластовой нефти для определения ее свойств (давления насыщения нефти
газом, вязкость нефти и т.д.)
Широкое применение при исследованиях
фонтанных скважин получил метод пробных откачек с целью построения индикаторных
линий зависимости дебита нефти от перепада давления, определения коэффициента
продуктивности, газового фактора, содержания воды и механических примесей в
нефти (жидкости) при различных режимах работы скважин. Метод пробных откачек
выполняется следующим образом. При определенном установившемся режиме работы
скважины замеряют забойное давление и дебит скважины. Замеряют одновременно по
расходомеру, установленному на ГЗУ, количество выделившегося из нефти газа.
Замеряют с помощью манометров буферное и затрубное давление. Затем изменяют
диаметр отверстия в штуцере на больший или меньший, устанавливают новый режим
работы скважины. На этом новом режиме скважина должна проработать в пределах
суток, и на данном новом штуцере замеряют забойное давление и дебит скважины.
Новый режим считается установившимся, если при неоднократных (три-четыре)
замерах дебиты жидкости и газа отличаются друг от друга не более чем на 10%.
При этом методе необходимо снять пять-шесть точек кривой зависимости дебита от
забойного давления. Одновременно с замерами забойных давлений и дебитов скважин
при каждом установившемся режиме работы скважины определяют газовый фактор,
содержание воды в нефти и наличие песка и механических примесей. По полученным
результатам строят индикаторную кривую и определяют коэффициент продуктивности
для выполнения при необходимости технических расчетов в процессе эксплуатации
скважины. Определяют также зависимость между диаметром отверстия в штуцере и
дебитами нефти, воды и газа, а при наличии - и содержание песка в продукции
скважины. По полученным данным устанавливают оптимальный режим работы скважины.
При этом необходимо, чтобы скважина работала с хорошим дебитом при наименьшем
газовом факторе, добывать меньше воды и механических примесей, без больших
пульсаций. Если соблюдать отмеченные условия, обеспечивается наиболее
рациональное расходование пластовой энергии и более длительное фонтанирование
скважин. Технологический режим работы фонтанной скважины устанавливается на
месяц, и изменяют его по результатам уточнения данных о состоянии разработки
залежи.
. Технологический режим работы
газлифтной скважины
Для определения оптимального режима
работы газлифтной скважины нужно провести ее исследование, которое позволяет
установить зависимости дебита нефти и воды от забойного давления и от расхода
рабочего агента и определить коэффициент продуктивности.
Забойное давление замеряют с помощью
глубинного манометра или по давлению нагнетаемого рабочего агента. Чаще
применяется способ исследования скважин при постоянном противодавлении на устье
скважины, изменяя расход рабочего агента. В этом случае вначале устанавливают
режим работы скважины при минимальном расходе газа, когда еще идет подача
жидкости из скважины. Установленный расход газа поддерживается постоянно в
течение нескольких часов для того, чтобы режим работы скважины установился.
После этого замеряют дебит нефти, воды и газа в скважине и определяют расход
сжатого газа. После этого увеличивают расход рабочего агента и вновь проводят
те же самые замеры. Дебит жидкости возрастает с увеличением расхода рабочего
агента, но до определенного предела, после которого дальнейшее увеличение
расхода рабочего агента дебит скважины уменьшается. В этой связи исследование
скважины заканчивают после того, как при последующих двух-трех режимах дебит
нефти будет снижаться, а расход агента увеличиваться. По данным исследования
строят кривые зависимости дебита скважины от расхода рабочего агента.
Кривая зависимости дебита жидкости,
удельного расхода газа и рабочего давления от количества нагнетаемого рабочего
агента:
- дебит жидкости;
- рабочее давление;
- удельный расход газа.
На этом графике строят кривую
удельного расхода рабочего агента, показывающую, что при различных отборах
жидкости изменяется количество нагнетаемого газа, необходимого для подъема из
скважины 1 тонны нефти. На графике видно, что наименьший удельный расход газа
получается не при максимальном дебите, а при меньшем отборе. По кривым 1 и 2
определяют количество рабочего агента, необходимого для работы данной скважины.
Режим работы скважины устанавливают в зависимости от допускаемого отбора
жидкости и производительности компрессорной станции. Если количество сжатого
газа достаточно для полного обеспечения всех скважин на нефтепромысле без
ограничения дебитов, то работают на режимах максимального дебита скважин,
который показан наивысшей точкой на кривой 1. А если сжатого газа на
нефтепромысле недостаточно или отбор жидкости из скважины ограничен, тогда
работают на режимах минимального удельного расхода газа. Режим работы скважин
ежемесячно уточняется в зависимости от состояния разработки месторождения.
. Технологический режим работы УСШН
Исследование в насосных скважинах
проводят как при установившихся режимах, так и при неустановившихся режимах
работы скважин.
Перевод работы скважины с одного
режима работы на другой осуществляют сменой шкивов на электродвигателе или
изменением длины хода полированного штока. Остановку работы скважины
осуществляют отключением насосной установки от электросети.
Дебиты нефти на разных режимах
измеряют на групповых замерных установках (ГЗУ), а дебит газа замеряют с
помощью дифманометров или газовых счетчиков.
Забойные давления замеряют
малогабаритными скважинными манометрами, которые спускают на забой через
межтрубное пространство при работающей скважине. Насосно-компрессорные трубы
подвешиваются на специальной планшайбе с эксцентричным отверстием для муфты и
вторым отверстием для спуска манометра через межтрубное пространство.
Чаще исследования проводят, наблюдая
за изменением динамического уровня с помощью эхолота. Эти исследования основаны
на принципе измерения скоростей распространения звуковой волны в газовой среде,
отраженной от уровня жидкости в межтрубном пространстве. Динамический уровень
можно определить с помощью небольшой желонки, спускаемой на скребковой
проволоке в затрубное пространство скважины с помощью лебедки.
При пользовании эхолотом на устье
скважины устанавливают датчик импульсов звуковой волны - пневматическую или
пороховую хлопушку 1 с мембраной 2 из плотного картона.
Звуковая волна, пройдя по стволу
скважины, отражается от поверхности уровня и, возвращаясь обратно, улавливается
термофоном 3, представляющая вольфрамовую W-образную
нить диаметром 0,03 мм. Звуковая волна изменяет силу тока в термофоне
(вследствие изменения температуры нити). Электрический импульс в термофоне
усиливается при помощи лампового усилителя 4 и воспринимает перепишем 5,
который представляет собой электромеханический преобразователь. Перописец
фиксирует соответствующие пики на диаграмме 6, приводимый в движение
электродвигателем 7. Расстояние от пики «устье» до пики «уровень» на диаграмме
пропорционально времени прохождения звуковой волны от устья до уровня и обратно
до устья. Для определения положения уровня необходимо знать скорость звука в
скважине, которая зависит от углеводородного состава газа и давления в межтрубном
пространстве, а также процентное содержание воздуха. Чтобы определить скорость
звука на определенной глубине, на насосно-компрессорных трубах устанавливают
репер-отражатель 8. Репер представляет собой патрубок длиной 300-400 мм,
который приваривается к верхнему концу муфты насосно-компрессорной трубы и
спускается в скважину с тем, чтобы перекрыть зазор между НКТ и колонной на 60%
ближе к уровню жидкости, но так, чтобы он не мог оказаться под уровнем. По
времени прохождения звуковой волны до репера (что фиксируется на эхограмме)
определяется скорость звука в скважине, и по ней уже находят глубину
динамического уровня.
. Технологический режим работы УПЦЭН
С целью установления и поддержания
оптимальных режимов работы скважин погружными насосами необходимо исследовать
их на приток. Учитывая, что центробежный насос после его спуска в скважину и
заполнения насосно-компрессорных труб до устья при закрытии задвижки на выкиде
разовьет напор:
где h1, -
расстояние от устья до статического уровня, м; ρ - плотность
жидкости, кг/м³;
g - ускорение
свободного падения, м/с2.
После этого задвижку открывают и
дают насосу нормально работать, замеряя при этом дебит скважины, пока три
замера не будут идентичными, что указывает на установившийся режим работы
скважины при соответствующем в этой скважине динамическом уровне. Затем
задвижку закрывают и вновь замеряют давление Р2 и последнее перед этим значение
дебита Q. Напор,
создаваемый насосом в новых условиях, будет равен
где h2, -
неизвестное расстояние от устья до динамического уровня, м.
Учитывая, что напор остается
неизменным, получаем
Отсюда, зная h1, Р1, Р2 и ρ, можно определить
h2, а также
и коэффициент продуктивности К в м3
на 1 м понижения уровня (удельный дебит):
В итоге при трех-четырех режимах
строят индикаторную кривую и определяют коэффициент продуктивности скважины.
. Конструкция газопесочных якорей
Все мероприятия режимного и
технологического характера по снижению вредного влияния газа и песка на работу
штангового насоса обычно дополняются применением защитных приспособлений у
приема насоса - газовых, песочных якорей или комбинированных газопесочных
якорей.
Одна из конструкций газопесочного
якоря показана на рисунке. Этот якорь состоит из двух камер - газовой (верхней)
4 и песочной (нижней) 7, соединенных с помощью специальной муфты 6, в которой
просверлены отверстия Б. В верхней камере якоря укреплена всасывающая трубка 3,
а в нижней - рабочая труба 5, снабженная конической насадкой 8. Якорь
присоединяется к приему насоса 1 через переводник 2, одновременно связывающий
корпус якоря со всасывающей трубкой. На нижнем конце песочной камеры навинчена
глухая муфта 9.
При работе насоса жидкость из
скважины поступает через отверстия А в газовую камеру, где газ отделяется от
нефти. Затем отсепарированная нефть через отверстия Б и рабочую трубу направляется
в песочную камеру; отделившаяся от песка жидкость поднимается по кольцевому
пространству в песочной камере и поступает через отверстия в специальной муфте
во всасывающую трубу 3 на прием насоса.
В зависимости от количества песка,
выделяемого из жидкости, корпус песочной камеры может быть удлинен наращиванием
труб. Для лучшего выноса песка иногда успешно применяют насосные установки с
полыми (трубчатыми) штангами. В качестве таких штанг используют
насосно-компрессорные трубы диаметрами 33, 42 и 48 мм. Трубчатые штанги
являются одновременно и звеном, передающим плунжеру насоса движение от
станка-качалки, и трубопроводом для откачиваемой из скважины жидкости. Эти
штанги присоединяют к плунжеру с помощью специальных переводников.
. Устройства для борьбы с
отложениями парафина
При движении нефти с забоя скважины
снижаются температура и давление, происходит выделение газа, поток охлаждается,
снижается растворяющая способность нефти и при этом выделяются твердый парафин,
асфальтены и смолы. Наиболее интенсивно парафин откладывается в НКТ, однако
интенсивность его отложения по длине неравномерна. Толщина слоя на внутренней
стенке НКТ увеличивается от нуля на глубине 300-900 м до максимума на глубине
50-200 м, а затем уменьшается за счет смыва отложений потоком, движущимся с
высокой скоростью. Отложения приводят к снижению дебита. При определении метода
борьбы с парафином важно знать интервал его выпадения.
Существуют различные методы борьбы с
парафиновыми отложениями.
· Механическое воздействие
При механическом способе используют скребки,
которыми соскабливают отложения парафина со стенок труб. Их спускают до глубины
начала отложения парафина и поднимают на проволоке через лубрикатор с помощью
электродвигателя автоматической депарафинизационной установки типа АДУ-3 или УД
С-1.
· Применение защитных покрытий
Процесс отложения парафина имеет адсорбционный
характер (поглощение поверхностью твердого тела). Поэтому защитные поверхности
труб выполняются гидрофильными (смачивающимися водой), что приводит к уменьшению
отложений. Для создания защитных покрытий применяют лаки, стекло и стеклоэмали.
· Применение химреагентов
Добавки в поток химических реагентов
способствуют гидрофилизации стенок труб, увеличению центров кристаллизации
парафина в потоке, повышению дисперсности частиц парафина в нефти. Такими
реагентами могут быть водо-нефтерастворимые поверхностно-активные вещества.
Применение реагентов показало, что они полностью не предотвращают отложения,
хотя их скорость образования заметно снижается.
· Применение магнитных полей
Исследованиями установлено, что использование
переменного магнитного поля увеличивает число центров кристаллизации в потоке и
предотвращает отложения парафина. Степень воздействия поля зависит от величины
его напряженности, направления относительно потока и скорости движения потока.
Под влиянием поля парафин изменяет свою структуру, становится менее вязким,
легко смывается с поверхности и переносится потоком.
· Тепловое воздействие
При тепловом способе проводят периодическую
закачку в затрубное пространство скважины горячей нефти или перегретого пара.
При этом парафин расплавляется и выносится потоком из скважины по НКТ. Для
получения водяного пара используют паропередвижные установки типа ППУА, такой
процесс называется пропариванием НКТ, а для нагрева нефти - агрегат
депарафинизации передвижной типа 1АДП-4-150. В настоящее время используются и
специальные греющие кабели, спускаемые внутрь НКТ. При подаче на кабель
напряжения он разогревается, а отложившийся парафин расплавляется и выносится
потоком продукции за пределы устья.
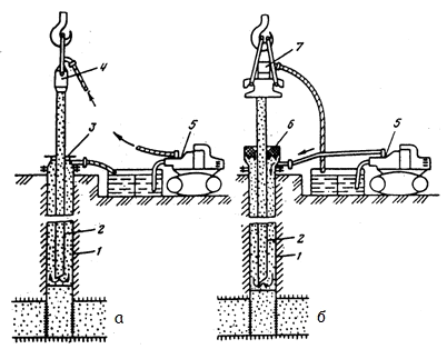
. Схема промывки песчаной пробки
Для ликвидации парафинистых отложений или
гидратных пробок в насосно-компрессорных трубах и нефтесборных коллекторах
используется промывка скважины. Различают прямую, обратную и специальные способы
промывки.
При прямой промывке промывочная жидкость
закачивается в спущенные в скважину трубы, а подъем воды с размытым песком
происходит по кольцевому пространству. В процессе промывки трубы находятся на
весу и спускаются с той или иной скоростью в зависимости от плотности пробки и
количества жидкости, необходимой для подъема размытого песка на поверхность.
Обратная промывка отличается от прямой промывки
тем, что промывочная жидкость поступает в кольцевое пространство, а подъем с
размытым песком происходит по насосно-компрессорным трубам. Для герметизации
устья скважины при обратной промывке обязательно применение специальной головки
с резиновым манжетом-сальником, плотно охватывающим тело.
В качестве жидкости для промывки используют
нефть, пластовую воду, специальные растворы. При ликвидации парафинистых
отложений или пробок нефть подогревают с помощью АДП.
Схема прямой (а) и обратной (б) промывок
скважин:
- колонна; 2 - НКТ; 3 - устьевой тройник; 4 -
промывочный вертлюг; 5 - промывочный насосный агрегат; 6- устьевой сальник; 7 -
переводник со шлангом
. Технические средства для исследования скважин
перед капитальным ремонтом
Перед КРС и после его окончания проводят
обследования скважин с целью: установления места и характера смятия, слома или
продольного разрыва эксплуатационной колонны; определения места положения и
состояния труб, оборудования, различных приспособлений и посторонних предметов
в стволе скважины; выявления в скважинах песочных и цементных пробок, а также
различных отражений на стенках эксплуатационной колонны; проверки состояния
фильтра скважины.
Обследование начинают с проверки состояния
эксплуатационной колонны и ствола скважины при помощи шаблона. Он представляет
собой металлический цилиндр, нижняя поверхность которого покрыта слоем свинца
толщиной 15мм. На боковой поверхности шаблона имеется желоб, заливаемый
свинцом. Желоб предотвращает заклинивание при попадании на него мелких
металлических предметов. Через шаблон проходит сквозное промывочное отверстие.
Диаметр шаблона соответствует диаметру эксплуатационной колонны.
Шаблон на бурильных или насосно-компрессорных
трубах медленно спускают в скважину, обязательно наблюдая за нагрузкой по
индикатору веса. Если шаблон останавливается на какой либо глубине и под
нагрузкой вниз не проходит, его поднимают из скважины. В зависимости от
состояния залитой свинцом поверхности шаблона составляют план дальнейшего
обследования.
Для определения в скважине местоположения
постороннего предмета, формы его верхнего конца, а также характера слома или
смятия эксплуатационной колонны служат плоские или свинцовые конусные печати.
Плоская печать с торца и боковой поверхности покрыта слоем свинца толщиной
15-25 мм. Конусная печать имеет такой же слой свинца. Наличие большой массы
свинца позволяют получать глубокие отпечатки и более объективно судить о форме
нарушенной поверхности.
Наряду с обследованием скважины проводят так же
работы по её исследованию с целью определения глубины забоя и уровня жидкости,
установление интенсивности притока из пласта в скважину при различных значениях
забойного давления, а так же обнаружения дефекта (негерметичности)
эксплуатационной колонны, его характера и глубины расположения.
Дефекты эксплуатационной колонны, через которые
поступает жидкость определяют с помощью дебитомеров, резистивиметров и
электротермометров, предварительно снизив уровень жидкости в скважине.
. Схема установки обезвоживания нефти
Обезвоживание нефти
<#"889124.files/image035.gif">
Технологическая схема
термохимической установки обезвоживания нефти
В термохимической установке
обезвоживания нефти сырую нефть (нефтяная эмульсия) I из сырьевого резервуара 1
насосом 2 через теплообменник 3 подают в трубчатую печь 4. Перед насосом 2 в
нефть закачивают реагент-деэмульгатор II. В теплообменнике 3 и трубчатой печи 4
нефтяная эмульсия подогревается, и в процессе ее турбулентного перемешивания в
насосе и при движении по трубному змеевику в печи происходит доведение
реагента-деэмульгатора до капель пластовой воды и разрушение бронирующих слоев
асфальтосмолистых веществ. Нагрев в трубчатой печи осуществляется при
необходимости нагрева нефтяной эмульсии до температуры выше 120°С (при
повышенном давлении, чтобы не допустить вскипания воды). При меньших
температурах нагрева вместо трубчатой печи 4 можно использовать
пароподогреватель. Оптимальной температурой нагрева считается такая, при
которой кинематическая вязкость нефтяной эмульсии составляет 4 * 10-6 м2/с. Неустойчивая
эмульсия из трубчатой печи 4 поступает в отстойник 5, где расслаивается на
нефть и воду. Обезвоженная нефть выводится сверху из отстойника 5, проходит
через теплообменник 3, где отдает часть тепла поступающей на деэмульсацию сырой
нефти и поступает в резервуар 6, из которого товарная нефть III насосом
откачивается в магистральный нефтепровод. Отделившаяся в отстойнике 5 пластовая
вода IV направляется на установку по подготовке сточных вод.
Сырьевой резервуар 1 может работать
как резервуар с предварительным сбросом воды. В этом случае часть горячей воды,
выходящей из отстойника 5 и содержащей реагент-деэмульгатор, подается в поток
сырой нефти перед резервуаром 1 (пунктирная линия на схеме). В этом случае
резервуар 1 оборудуют распределительным маточником и переливной трубой. В
резервуаре поддерживается слой воды, так что поступающая нефтяная эмульсия
распределенным потоком проходит через толщу воды, что способствует более
полному отделению свободной воды из нефтяной эмульсии. Отделившаяся в резервуаре
с предварительным сбросом вода насосом откачивается на установку по подготовке
сточных вод.
. Электродегидратор
Электродегидратор - аппарат для
отделения воды <#"889124.files/image036.gif">
Схема горизонтального дегидратора:
- электроды;
- изоляторы;
- клапан вывода чистой нефти;
- корпус деэмульгатора;
- устройство для ввода эмульсии.
В электродегидраторах электроды (от
2 до 8 штук) подвешены горизонтально друг над другом и имеют форму
прямоугольных рам. Нефтяная эмульсия вводится на 0,7 м ниже расположения
электродов, проходит через слой воды (теряя при этом основную массу солёной
воды), затем поднимается и последовательно проходит зону слабой напряжённости
электрического поля и зону сильной напряжённости (между электродами). В
отстойниках <#"889124.files/image037.gif">
Схема оснащения устья фонтанной
скважины средствами автоматики предусмотрено автоматическое перекрытие выкидной
линии разгруженным отсекателем 3 манифольдного типа РОМ-1, который перекрывает
трубопровод при повышении давления в последнем на 0,45МПа и понижении на
0,15МПа от номинального. Также предусмотрена установка манометров 1 и 2
соответственно для местного контроля буферного и затрубного давлений.
Схема автоматизации нефтяной скважины,
оборудованной ПЭД, предусматривает установку станции управления 2 типа ПГХ 5071
или ПГХ 5072, электроконтактного манометра 4 типа ВЭ-16РБ и разгруженного
отсекателя 1 типа РОМ-1. Схема автоматизации обеспечивает автоматическое
управление электродвигателем погружного насоса при аварийных режимах, пуск и
остановку по команде с групповой установки и индивидуальный самозапуск. Кроме
того обеспечивается защита выкидного коллектора при временном фонтанировании
скважины. С помощью разгруженного отсекателя РОМ-1 перекрывается выкидной
коллектор при превышении и резком искажении давления (вследствие аварии в
трубопроводе). Для очистки выкидных линий от парафина резиновыми шарами
предусмотрена ловушка 3.
Схемой автоматизации нефтяной
скважины, оборудованной глубоконасосной установкой типа СКН, предусмотрено
оснащение установки блоком управления 1 типа БУС-2, инерционным магнитным
выключателем 2 типа ИМВ-1М, электроконтактным манометром 3 типа ВЭ-16РБ и
манометром 4 для контроля затрубного давления. Системой автоматизации
обеспечивается автоматическое управление электродвигателем СКН при аварийных
режимах: отключение при обрыве штанг и поломках редуктора, при токовых
перегрузках и обрывах фаз; отключение электродвигателя по импульсу от
электроконтактного манометра при аварийных ситуациях на ГЗУ и индивидуальный
самозапуск СКН после перерыва в снабжении электроэнергией.
Комплексы КУСА-Э и КОУК-Э
применяются при наличии источника электроэнергии напряжением 380 В, частотой 50
Гц, комплексы КУСА и КОУК-в местах, где электроэнергия отсутствует.
Условное обозначение комплексов КУСА
и КОУК состоит из наименования и шифра: первые буквы и цифра после них -
обозначение комплекса и номер модели, далее через дефис: условный диаметр (мм) и
тип резьбы колонны подъемных труб (при комбинированной колонне обозначается
через дробь). рабочее давление в МПа (двузначное число), наружный диаметр
пакера или стационарного разобщителя (мм); исполнение по коррозионностойкости
К1. К2, К2И и КЗ, тип станции управления: Э- электрическая
(пневмогидравлическая- без обозначения), номер схемы компоновки скважинного
оборудования. Например, комплекс управления скважинными клапанами-отсекателями,
КУСА-89-35-136-1 или КУСА-89-35-145-Э-2, комплекс оборудования с управляемыми
клапанами-отсекателями, КОУК-89/73-70-Н2 или КОУК-НКМ89/НКМ73-35-136К2-Э.
. Автоматизированные групповые
замерные установки
Автоматизированные групповые
измерительные установки предназначены для измерения производительности (дебита)
каждой в отдельности из подключенных к ней группы нефтяных скважин.
Существуют различные типы групповых
измерительных установок - «Спутник-А», «Спутник-Б» и «Спутник-BMP».
Групповая автоматизированная
установка «Спутник А». Предназначена для автоматического измерения дебита
скважин, подключенных к групповой установке, для контроля за работой скважин и
автоматического отключения их при аварийном состоянии на групповой установке.
Установку применяют при однотрубной системе сбора на нефтепромыслах, когда
температура окружающей среды низкая. Установку выпускают в трех модификациях
«Спутник А-16-14/100», «Спутник А-25-14/1500», «Спутник А-40-14/400». Первая
цифра означает рабочее давление, вторая - число скважин, подключаемых к
установке, третья - наибольший дебит измеряемой скважины.
Установка состоит из многоходового
переключателя 1, двух отсекателей 3 и 4 типа ОКГ, установленных на
расходомерной и выкидной линиях, электрогидравлического привода 5 типа ГП-15
для управления переключателем скважин и отсекателями, блока управления 2 для
управления приборами, выдачи сигналов на диспетчерский пункт и учета объема
измеряемой жидкости; гидроциклонного сепаратора 6 для отделения газа от
измеряемой жидкости.
Установка работает следующим образом.
Нефть из скважины поступает в многоходовой переключатель. Далее по
измерительному трубопроводу направляется в измерительный сепаратор 6 и затем в
турбинный счетчик ТОР-1-50 8. Продукция остальных скважин направляется через
общий коллектор 10 в сборно-сепарационную емкость или в сборный трубопровод.
Программа измерения дебита скважин
задается реле времени в блоке управления. Через заданные промежутки времени
реле включает гидропривод и скважины подключаются к измерителю. Подача скважин
контролируется по работе измерителя с сигнализацией об аварийном состоянии
через блок местной автоматики.
Дебит измеряют путем
кратковременного пропуска жидкости, накопившейся в сепараторе, через турбинный
измеритель. Накопление жидкости в нижнем сосуде сепаратора до заданного уровня
и выпуск ее до нижнего уровня осуществляются при помощи поплавкового регулятора
9 и крана 7 на газовой линии. Всплывание поплавка регулятора до верхнего уровня
приводит к закрытию газовой линии, вследствие чего давление в сепараторе
повышается и жидкость продавливается из сепаратора через турбинный счетчик ,
установленный выше верхнего заданного уровня жидкости в сепараторе. При
достижении поплавком нижнего заданного уровня открывается кран 7, давление
между сепаратором и коллектором выравнивается, продавка жидкости прекращается.
Время накопления жидкости в сепараторе и число импульсных пропусков жидкости
через счетчик за время измерения зависят от дебита измеряемой скважины. Время
продавки жидкости через расходомер от дебита скважины практически не зависит.
Такой циклический метод измерения
обеспечивает пропуск потока жидкости через счетчик в турбулентном режиме при
узком диапазоне изменения расхода, что дает возможность обеспечить измерение
дебита скважин, изменяющего в широком диапазоне. Дебит каждой скважины
определяют регистрацией накапливаемых объемов жидкости (в м3), прошедших через
расходомер, на индивидуальном счетчике импульсов в БМА.
Аварийное отключение скважин
происходит при превышении давления в сепараторах, их переполнении или отключении
электроэнергии. В этих случаях по сигналу датчика предельного уровня или
электроконтактного манометра блок местной автоматики отключает напряжение с
соленоидного клапана гидропривода, вследствие чего поршни приводов отсекателей
3 и 4 под действием силовых пружин перекрывают трубопроводы.
После ликвидации аварии и снятия
сигнала аварии на блоке местной автоматики включается гидропривод, и под
действием давления масла, подаваемого под поршни отсекателей, последние
открываются. Контроль давления осуществляется манометром 11.
На установке предусмотрена
возможность ручного подключения скважин к измерительному устройству. Количество
отсепарированного газа измеряется по методу переменного перепада давления
дифманометром. Для этой цели на выкидной газовой линии устанавливается камерная
диафрагма.
Автоматизированная установка
«Спутник-В» в отличие от рассмотренной установки «Спутник-А» предназначена не
только для измерения дебита жидкости, но также для определения содержания воды
и газа в продукции скважин. Конструкцией предусмотрены устройства для подачи
деэмульгаторов в нефтяной поток. Установки «Спутник-Б» выпускают в двух
модификациях: «Спутник-Б-40-1,4/400» - на 14 скважин и «Спутник-Б-4,0-24/400»-
на 24 скважины. По конструкции установка «Спутник-Б» аналогична установке
«Спутник-А» и отличается от последней наличием прибора для определения
содержания воды в нефти (влагомера), насосов-дозаторов, специальных устройств
для ловли депарафинизационных шаров. Насос-дозатор предназначен для подачи
реагента в общий коллектор для деэмульсации нефти.
Автоматизированная установка
«СпутникВМР-40-14/400» предназначена для автоматического измерения и
регистрации производительности каждой из 14 подключенных нефтяных скважин, а
также вычисления суммарного их суточного дебита. Она обеспечивает: разделение
продукции скважин по сортам, прием резиновых разделителей для очистки выходных
линий скважин от парафина, автоматическую защиту промысловых коллекторов при
повышении давления в них выше предельно допустимого, для выдачи в систему
телемеханики информации о суточном дебите и аварийных сигналах.
В качестве измерительного прибора
применяют вибрационные массовые расходомеры (BMP) типа «РУР Вибратор-П» (ряд
унифицированных расходомеров), обеспечивающие измерения массы поступающей из
скважин газонефтяной смеси без предварительной сепарации.
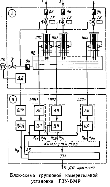
Групповая измерительная установка
ГЗУ-ВМР состоит из технологического блока I и блока
вторичных приборов и аппаратуры II.
Все первичные преобразователи (ПП)
BMP (ПП1-ППп} монтируют на приемной емкости ПЕ, чем обеспечивается надлежащая
жесткость закрепления первичных преобразователей и исключение возможности их
затопления при снижении объема газа в извлекаемом из скважин флюиде. Приемная
емкость через обратный клапан О/С и через задвижку з подключена к промысловому
коллектору Я/С. Подключение каждой скважины к Я/7 осуществляется через свой
обратный клапан О/С и управляемый трехходовой клапан Г/С. Последний позволяет
любую скважину или все скважины одновременно переключать с измерения на
промысловый коллектор, что бывает необходимо при ремонте или поверке одного из
первичных преобразователей.
К промысловому коллектору подключен
дистанционный датчик давления ДД. В блоке вторичных приборов и аппаратуры II размещены
блоки предварительной обработки БПО по одному на каждую скважину, коммутатор и
полукомплект телемеханики ТМ, обеспечивающий передачу информации, получаемой от
BMP на диспетчерский пункт (ДП) промысла. Каждый БПО состоит из аналогового АП
и цифрового ЦП преобразователей. С выхода последнего комплекта за время,
отведенное для измерения расхода одной скважины, числа, пропорциональные
массовому расходу смеси (No) и ее средней плотности (А/р), через коммутатор
передаются на ДП промысла, где обрабатываются по соответствующему алгоритму с
целью получения расхода отдельных компонентов смеси. В блоке II размещены
также преобразователь напряжения в частоту (ПНЧ) и цифровой преобразователь
давления (ЦПД), позволяющие передавать на ДП усредненное за время измерения
значение коллекторного давления.
Если за время измерения BMP,
подключенный к данной скважине, показал дебит меньший, чем минимально
возможный, то через ТМ на ДП вне очереди идет аварийный сигнал (АС) - остановка
скважины.
Недостатком ГЗУ-ВМР является то, что
информация о работе каждой скважины может быть получена только после обработки
данных по этой скважине на ДП. Скважина при этом оказывается непрерывно
подключенной к ГЗУ, и объем памяти и мощность ЭВМ по ДП непомерно возрастают.
Значительно рентабельнее иметь на каждой
ГЗУ микроЭВМ, которая будет выполнять все служебные функции и вычислительные
работы, связанные с обработкой получаемой с каждой скважины информации. На ДП
по определенной программе или по запросу передается только интересующая
промысел информация.
23. Автоматизация ДНС и
сепарационных установок
Если в системе промыслового сбора
нефти и газа недостаточно давления для транспортирования отсепарированной нефти
на установки ее подготовки, применяют дожимные насосные станции (ДНС).
Нефть от групповых установок
поступает в буферные емкости, в которых поддерживается давление, равное 0,6
МПа, обеспечивающее необходимый при перекачке газированной нефти подпор на
приеме перекачивающих насосов. Затем с помощью насосов по напорному
нефтепроводу она поступает в пункт назначения. В блочных помещениях размещены
также насосы для откачки нефти, появляющейся при утечках через сальники насосов
и предохранительные клапаны. Отсепарированный газ после буферной емкости
направляется на газосборную систему. Технологический процесс перекачки нефти
автоматизирован.
Насосная станция состоит из
основного оборудования - магистрального и подпорных насосных агрегатов, включая
систему КИПиА, и вспомогательного - системы смазки, охлаждения, вентиляции,
сбора и отвода утечек.
В систему автоматики и управления
ДНС входят следующие подсистемы: общестанционной автоматики, насосных
агрегатов, вспомогательного оборудования и сооружений.
Комплект средств и приборов
общестанционной автоматики управления предусматривает:
1) централизованный контроль основных
параметров станции, их регистрацию, необходимую сигнализацию и защиту;
2) отключение насосных агрегатов при
отклонении параметров от номинальных;
) регулирование суммарной подачи
агрегатов путём дросселирования или перепуска;
) контроль загазованности или
возникновения пожара и выполнения соответствующих функций управления;
) дистанционный запуск вспомогательных
систем и открытие задвижек на технологических трубопроводах.
Подсистема вспомогательного оборудования и
сооружений обеспечивает:
1) сигнализацию о неисправности рабочего и
резервного агрегатов;
2) автоматический запуск резервного
насосного агрегата.
Система автоматики магистрального насосного
агрегата обеспечивает защиту по следующим основным параметрам: температура
подшипников насоса и двигателя, корпуса насоса, воздуха на выходе
электродвигателя; сила тока в обмотках электродвигателя; утечка перекачиваемой
жидкости из уплотнений насоса; давление масла на выходе в подшипниках; давление
охлаждающей воды на входе в электродвигатель; частота вибрации насосного
агрегата, замеряемая на подшипниках насоса и электродвигателя.
С помощью автоматики осуществляется запуск и
остановка агрегатов и контроль параметров работы насоса.
Газоводонефтяная смесь после измерения дебита на
групповых измерительных установках поступает в сепарационные установки, где
отделяется нефть от газа и частично от воды. Это разделение осуществляется для:
получения нефтяного газа, используемого как топливо или как химическое сырье;
уменьшения интенсивности перемешивания нефтегазового потока и снижения
возможности образования нефтяных эмульсий; уменьшения пульсации давления при
транспортировании нефтегазоводяной смеси по сборным коллекторам до дожимной
насосной станции (ДНС) или установки подготовки нефти (УПН).
Для первичной сепарации нефти и газа, а также
оперативного измерения объема отсепарированной нефти, выделившегося газа и
обеспечения дальнейшего транспорта нефти по нефтепромысловым трубопроводам
применяют блочные автоматизированные сепарационные установки: СУ2-750, СУ2-1500
и СУ2-3000, имеющие пропускную способность соответственно 750, 1500 и 3000
м3/сут.
Сепарационные установки поставляются в комплекте
со средствами местной автоматики, а средства управления автоматического
регулирования предусматриваются в проектах по привязке установок с конкретным
объектом. Комплекс приборов и средств автоматизации должен обеспечивать:
1) автоматическое регулирование рабочего
уровня смеси в сепараторе;
2) автоматическую защиту установки
(прекращение подачи нефтегазовой смеси в сепаратор) при:
а) аварийном повышении давления в сепараторе;
б) аварийно-высоком уровне жидкости в
сепараторе;
) сигнализацию в блок управления об аварийных
режимах работы установки.
. Технические средства для оперативного учета
добываемой продукции
Дебиты жидкости скважин, подключенных к
«Спутнику-А» и «Спутнику-Б», измеряются при помощи расходомеров турбинного
типа.
Расходомеры ТОР-1 предназначаются для измерения
жидкости вязкостью не более 80 с Ст. Расходомеры ТОР-1 обеспечивают как местный
отсчет показаний, так и передачу показаний при помощи электромагнитного датчика
на БМА. Расходомеры ТОР-1 состоят из двух основных частей: турбинного счётчика
жидкости и блока питания.
Турбинный расходомер ТОР-1 работает следующим образом.
Жидкость, проходя через входной патрубок корпуса и обтекатель, попадает на
лопатки крыльчатки и приводит её во вращение. После крыльчатки направление
движения жидкости изменяется экраном на 180о, и она через окна обтекателя
поступает во входной патрубок. Число оборотов крыльчатки прямо пропорционально
количеству прошедшей жидкости. Вращательное движение крыльчатки передаётся
через понижающий редуктор и магнитную муфту на механический счётчик со
стрелочной шкалой. Одновременно со стрелкой механического счётчика вращается
находящийся с ней на одной оси диск с двумя постоянными магнитами, которые,
проходя через электромагнитный датчик, замыкают расположенный в нём
магнитоуправляемый контакт. Получаемые при этом электрические сигналы
регистрируются на блоке управления счётчика, т.е. дублируют показания местного
механического счётчика. В то же время каждая лопатка, проходя мимо
магнитоиндукционного датчика, выдаёт электрический сигнал, который
регистрируется в блоке регистрации. Диапазон измерения колеблется от 3 до 30
м3/ч. Расход чистой нефти прошедший через ТОР-1, определяется автоматически как
разность между показаниями ТОР-1 и показаниями датчика влагомера.
. Нефтепромысловые резервуары и их элементы
Нефтепромысловые резервуары представляют собой
ёмкости различных размеров, предназначенные для накопления, кратковременного
хранения и учёта «сырой» и товарной нефти, нефтепродуктов и воды.
В зависимости от положения в пространстве
цилиндрические резервуары делят на вертикальные и горизонтальные.
Вертикальные цилиндрические резервуары имеют
днище, стенку, крышу, эксплуатационное оборудование. В них хранятся
нефтепродукты при малой их оборачиваемости (10-12 раз в год). Вертикальные
резервуары применяют для хранения легковоспламеняющихся жидкостей (например,
бензина) при объемах до 20000 м3; для хранения горючих жидкостей - до 50000 м3.
Объем вертикальных цилиндрических резервуаров колеблется от 100 до 50000 м3 и
более и регламентируется нормальным рядом: 100, 200, 300, 400, 500, 700, 1000,
2000, 3000, 5000, 10000, 20000, 30000 и 50000 м3. Все резервуары нормального
ряда (исключая в некоторых случаях резервуары объемом 50000 м3) строят
индустриальным методом из рулонных заготовок. Резервуары объемом 50000 м3
сооружают как из рулонных заготовок, так и полистовым способом.
Горизонтальные цилиндрические резервуары
предназначены для хранения нефтепродуктов под избыточным давлением до 70 кПа
(7000 мм вод. столба). Резервуары имеют простую форму, транспортабельны по
железной дороге, что ограничивает диаметр до 3,25 м. В отдельных случаях
диаметр резервуара может доходить до 4,0 м. Наибольшее распространение получили
резервуары для нефтепродуктов объемом 5, 10, 25, 50, 75 и 100 м3.
Горизонтальные резервуары могут быть надземного и подземного расположения.
Нефтяные резервуары строят из несгораемых
материалов в наземном, частично заглублённом и подземных исполнениях. Для сбора
хранения замера объема нефти на нефтяных месторождениях в большинстве случаев
сооружают стальные цилиндрические резервуары, реже бетонные и железобетонные.
Крыши РВС строят трех типов: конические, сферические и плоские. Крыша
резервуара воспринимает внешнюю нагрузку в пределах 245 Па и внутреннюю от ризб
в паровом пространстве резервуара (до 200 кгс/м3). Люк-лаз, устанавливаемый на
нижнем поясе резервуара, предназначен для проникновения людей внутрь
резервуара, а также для освещения и проветривания резервуара при проведении
технических работ.
Замерный люк служит для замера в резервуаре
уровня нефти и отбора проб пробоотборником. Внутри замерного люка расположена
направляющая колодка, по которой в резервуар спускают замерную ленту с лотом.
Световой люк устанавливают на крышке резервуара.
При открытой крышке через него внутрь проникает свет и проветривает резервуар.
Приёмно-раздаточные патрубки предназначены для
присоединения соответствующих трубопроводов, они размещены снаружи резервуаров,
а хлопушка и шарнир подъемной трубы - внутри резервуара.
Хлопушки предназначены для устранения утечек из
резервуаров при неисправности задвижек или аварийном состоянии трубопровода.
Перепускное устройство служит для выравнивания
давлений нефти с обеих сторон крышки хлопушки. Подъемная труба внутри
резервуара предназначена для отбора нефти с требуемой высоты.
Дыхательный клапан предназначен для
регулирования давления паров нефтепродуктов в резервуаре в процессе закачки или
выкачки нефти, а также колебаний температуры.
Гидравлический предохранительный клапан
предназначен для ограничения избыточного давления или вакуума в газовом
пространстве при отказе дыхательного клапана, а также при его недостаточном
сечении.
Огневые предохранители устанавливают на
резервуарах в комплекте с дыхательными и предохранительными клапанами, они
предназначаются для предохранения газового пространства резервуара от
проникновения в него пламени через дыхательный или предохранительный клапан.
Для измерения уровня и оперативного учёта
количества нефти в резервуарах применяют указатель уровня. Прибор состоит из
поплавка и мерной ленты, помещенной в герметичный кожух.
26. Обеспечение требований охраны труда при
обслуживании установок подготовки нефти, газа и воды
Общие требования
.1. Технологические процессы добычи, сбора,
подготовки нефти и газа, их техническое оснащение, выбор систем управления и
регулирования, места размещения средств контроля, управления и противоаварийной
защиты должны учитываться в проектах обустройства и обеспечивать безопасность
обслуживающего персонала и населения.
.2. Закрытые помещения объектов сбора,
подготовки и транспортировки нефти, газа и конденсата должны иметь систему
контроля состояния воздушной среды, сблокированную с системой выключения
оборудования, включая перекрытие задвижек. Все помещения должны иметь постоянно
действующую систему приточно-вытяжной вентиляции. Кратность воздухообмена
рассчитывается в соответствии с СНиП 11-33-75 [72].
Основные технологические параметры указанных
объектов и данные о состоянии воздушной среды должны быть выведены на пункт
управления.
.3. Системы управления должны иметь сигнальные
устройства предупреждения отключения объектов и двустороннюю связь с
диспетчерским пунктом.
.4. Каждый управляемый с диспетчерского пункта
объект должен иметь также ручное управление непосредственно на объекте.
.5. Система сбора нефти и газа должна быть
закрытой, а устья нагнетательных, наблюдательных и добывающих скважин
герметичными.
.6. На объектах сбора и подготовки нефти и газа
(ЦПС, УПН, УКПГ, ГП), насосных и компрессорных станциях (ДНС, КС) должна быть
технологическая схема, утвержденная техническим руководителем предприятия, с
указанием номеров задвижек, аппаратов, направлений потоков, полностью
соответствующих их нумерации в проектной технологической схеме. Технологическая
схема является частью плана ликвидации возможных аварий.
. Оборудование для сбора и подготовки нефти,
газа и конденсата
.1. Оборудование для сбора нефти, газа и
конденсата должно удовлетворять требованиям стандартов и технических условий на
их изготовление, монтироваться в соответствии с проектами и действующими
нормами технологического проектирования и обеспечивать полную сохранность
продукции (закрытая система сбора и подготовки нефти и газа).
.2. Оборудование и трубопроводы должны
оснащаться приборами контроля (с выводом показаний на пульт управления), регулирующими
и предохранительными устройствами.
.3. Исправность предохранительной, регулирующей
и запорной арматуры, установленной на аппаратах и трубопроводах, подлежит
периодической проверке в соответствии с утвержденным графиком.
Результаты проверок заносятся в вахтовый журнал.
.4. Аппараты, работающие под давлением,
оснащаются манометрами, указателями уровня, запорной и предохранительной
аппаратурой, люками для внутреннего осмотра, а также дренажной линией для
опорожнения.
. Насосные, компрессорные станции,
блочно-комплектные насосные станции
.1. Помещения насосных и компрессорных станций
должны быть выполнены в соответствии с требованиями строительных норм и правил,
.2. Резервные насосы должны находиться в
постоянной готовности к пуску. Насосы, перекачивающие сернистую нефть, должны
быть заполнены перекачиваемой жидкостью во избежание образования пирофорных
отложений.
.3. Промысловые (дожимные) компрессорные станции
на объектах добычи природного газа, кроме требований п. 3.3.2, оборудуются:
• автоматизированной системой регулирования
работы оборудования в заданных параметрах;
• автоматизированной системой аварийной
разгрузки оборудования с подачей технологических сред в системы утилизации;
• автоматизированной системой раннею обнаружения
и тушения пожаров;
• системой аварийного оповещения и связи.
Уровень автоматизации компрессорных станций
должен обеспечивать регистрацию основных технологических параметров, включая:
• давление, расход, температуру перекачиваемой
среды;
• состояние воздушной среды в помещении
(концентрацию взрывоопасных и вредных веществ);
• аварийный сигнал.
. Установки комплексной подготовки газа
(групповые и газосборные пункты)
.1. Установки комплексной подготовки газа
(групповые и газосборные пункты) должны обеспечивать полное и
эффективное использование ресурсов природного и
нефтяного газа.
.2. Для установок комплексной подготовки газа,
газосборных пунктов, головных сооружений и т.д. должны разрабатываться и
утверждаться в установленном порядке технологические регламенты. Приемка
объектов в эксплуатацию осуществляется в порядке, установленном Госстроем
России.
.3. Газопроводы установок комплексной подготовки
газа, газосборных пунктов, головных сооружений и т.д. должны отвечать
требованиям, предъявляемым к трубопроводам первой категории (при Ру <= 10
МПа).
.4. УКПП и другие установки должны иметь
автоматическое и механизированное регулирование и управление технологическими
процессами. Для питания пневматических систем этих установок необходимо
использовать осушенный и очищенный воздух, пригодный по качеству и параметрам
для использования в работе КИПиА.
.5. На каждом паропроводе при входе в аппарат
должны быть установлены обратный клапан и отключающее устройство, рассчитанные
на рабочее давление в аппарате.
.6. УКПГ должны иметь систему осушки, подогрева
и ингибирования газа. Гидратные пробки в газопроводе, арматуре, оборудовании,
приборах следует ликвидировать введением растворителей, пара, горячей воды,
понижением давления в системе.
Использование для обогрева оборудования
открытого огня запрещается.
.7. Подтягивать (производить регулировку) и
заглушать предохранительные клапаны, если в них обнаруживается пропуск,
запрещается. В этих случаях необходимо прекратить эксплуатацию аппарата,
оборудования, трубопроводов и т. п. и клапан заменить.
.8. На установке, в технологическом регламенте
указывается перечень технологических параметров и их предельных значений. При
отклонении параметров от предельных значений установка должна быть остановлена.
.9. Перед пуском установки необходимо проверить
исправность оборудования, трубопроводов, арматуры, металлоконструкций,
заземляющих устройств, КИПиА, блокировок, вентиляции, канализации, СИЗ и
средств пожаротушения, вытеснить воздух из системы инертным газом на свечу. В
конце продувки производится анализ выходящего газа. Содержание кислорода не
должно превышать 1% (об.). Вытеснение воздуха из аппаратов и емкостей в
общезаводской факельный трубопровод запрещается.
.10. Не допускается пуск установки при
неисправных системах контроля опасных параметров процесса и системах защиты.
.11. Отбор проб газа, конденсата и других
технологических сред должен производиться с помощью пробоотборников,
рассчитанных на максимальное давление в оборудовании. Запрещается пользоваться
пробоотборниками с неисправными игольчатыми вентилями и с просроченным сроком
их проверки. Проверка вентилей на герметичность проводится не реже одного раза
в шесть месяцев.
. Дополнительные требования для установок
низкотемпературной сепарации газа
.1. Территория установки должна быть ограждена и
обозначена предупредительными знаками.
.2. Оборудование установок низкотемпературной
сепарации следует продувать в закрытую емкость с отводом газа в систему его
утилизации.
.3. Сбрасывать в атмосферу газы, содержащие
сероводород и другие вредные вещества, без нейтрализации или сжигания
запрещается.
.4. На каждом газосепараторе устанавливается не
менее двух предохранительных устройств, каждое из которых должно обеспечивать
безаварийную работу аппарата.
. Промысловые трубопроводы
.1. Проектирование, строительство и эксплуатация
промысловых трубопроводов должны осуществляться в соответствии с требованиями
«Правил устройства и безопасной эксплуатации технологических трубопроводов»
[60], утвержденных Госгортехнадзором России 02.03.95 г., и «Правил по
эксплуатации, ревизии, ремонту и отбраковке нефтепромысловых трубопроводов»
[52], утвержденных Минтопэнерго РФ 30.12.93 г.
.2. Трубопроводы для транспортировки пластовых
жидкостей и газов должны быть устойчивы к ожидаемым механическим, термическим
напряжениям (нагрузкам) и химическому воздействию. Трубопроводы должны быть
защищены от наружной коррозии.
Допускается применение неметаллических
трубопроводов по согласованию с территориальными органами Госгортехнадзора
России. обеспечения безопасной и безаварийной эксплуатации трубопроводов в
период между ревизиями, но не реже чем 1 раз в 8 лет.
Первую ревизию вновь введенных в эксплуатацию
нефтегазопроводов следует проводить не позже чем через один год после начала
эксплуатации.
.35. Ревизии нефтегазосборных трубопроводов
должны проводиться в соответствии с установленным порядком по графику,
разработанному службой технического надзора и утвержденному техническим
руководством предприятия.
. Резервуары
.1. Настоящие Правила распространяются на
стальные сварные цилиндрические резервуары (РВС) вместимостью от 100 до 50 000
м3, предназначенные для сбора, хранения и подготовки сырой и товарной нефти, а
также сбора и очистки воды перед ее закачкой в пласты.
.2. Выбор типа резервуара, его внутренней
оснащенности, противокоррозионного покрытия, способа монтажа обосновывается
проектом в зависимости от емкости, назначения, климатических условий,
характеристики сред, а также с учетом максимального снижения потерь.
.3. Каждый резервуар должен быть оснащен:
дыхательными клапанами, предохранительными клапанами, огнепреградителями,
уровнемерами, пробоотборниками, сигнализаторами уровня, манометрами,
устройствами для предотвращения слива (хлопушками), противопожарным
оборудованием, оборудованием для подогрева, приемо-раздаточными патрубками,
зачистным патрубком, вентиляционными патрубками, люками (люк световой, люк
замерный).
.4. Дыхательная арматура, установленная на крыше
резервуара, должна соответствовать проектным избыточному давлению и вакууму.
.5. Резервуары, в которые при отрицательной
температуре окружающего воздуха поступают нефть, вода с температурой выше О °С,
оснащаются непримерзающими дыхательными клапанами.
.6. Не допускается монтаж резервуаров
вместимостью более 10 000 м3 рулонным методом.
.7. Вертикальные швы первого пояса стенки резервуара
не должны быть расположены между приемо-раздаточными патрубками; швы приварки
отдельных элементов оборудования должны располагаться не ближе 500 мм один от
другого и от вертикальных соединений стенки, не ближе 200 мм от горизонтальных
соединений.
.8. Каждый резервуар должен быть огражден
сплошным земляным валом, рассчитанным на гидростатическое давление разлившейся
жидкости из резервуара.
.9.