Копры и их назначение

  • Вид работы:
    Контрольная работа
  • Предмет:
    Строительство
  • Язык:
    Русский
    ,
    Формат файла:
    MS Word
    221,15 Кб
  • Опубликовано:
    2016-01-20
Вы можете узнать стоимость помощи в написании студенческой работы.
Помощь в написании работы, которую точно примут!

Копры и их назначение

Введение


При устройстве свайных фундаментов зданий и сооружений применяют два вида свай - забивные (готовые) железобетонные или металлические и буронабивные сваи, устраиваемые в вертикальных и круто наклонных скважинах непосредственно на месте работ. При возведении ограждений, котлованов, колодцев и траншей используют металлический и железобетонный шпунт. Для погружения свай и шпунта применяют сваепогружающие агрегаты, копры и копровое оборудование со свайными погружателями ударного, вибрационного, виброударного, вдавливающего и вибровдавливающего действия и для завинчивания свай.

1.     
Назначение


Копры и самоходные (на базе самоходных машин) копровые установки, предназначены для подтаскивания и установки сваи под требуемым углом наклона в заданной точке погружения, для установки сваепогружателя (свайные молоты, вибропогружатели, вибромолоты) на сваю, направления сваепогружателя и сваи при погружении, а также перемещения копрового агрегата в зоне производства работ.

копровый свая производительность

2. Область применения


Копры используются как для создания базового фундамента новых зданий, так и для обновления фундамента уже существующих построек. Копры также широко используются в доках, при строительстве мостов и нефтяных платформ.

Ручные копры используется при установке заборов и ограждений разного типа, установке заземления громоотводов.

3. Общее устройство, классификация, индексация


Все копры (рис. 4.1), как правило, состоят из следующих узлов: основания, включающего ходовую раму и механизм передвижения, поворотной или неповоротной платформы, на которой размёщены механизмы копра, противовес и мачта представляющая собой металлическую конструкцию с направляющими для, агрегата, погружающего сваю. Мачта в нижней части имеет так называемую опорную секцию, шарнирно присоединенную к поворотной платформе или ходовой раме. В верхней части мачты имеется наголовник с грузовыми блоками.

Схема копров

а - на гусеничном ходу; б - на рельсовом ходу; в-на пневмоходу;

- противовес; 2 - платформа; 3 - опорная секция мачты; 4 - мачта; 5 - направляющие;

- наголовник; 7 - грузовые блоки

Копры подразделяют на типы:

по конструкции ходовой части:

К - колесные,

Г - гусеничные,

Р - рельсовые;

по наличию поворотной платформы:

- с поворотной платформой,

- без поворотной платформы;

по наличию изменения вылета мачты:

- с изменением вылета,

- без изменения вылета;

по наличию наклона мачты:

- с изменением наклона,

- без изменения наклона.

Высоту мачты копра выбирают исходя из длины погружаемых свай и высоты навешиваемого на копер свайного погружателя с наголовником. При этом длину свай рекомендуется выбирать из следующего ряда чисел: 4; 6; 8; 10; 12; 14; 16; 20; 24 м.

Допустимые отклонения ±5.

Копры конкретных моделей должны иметь следующую структуру обозначения (индексацию):


Пример условного обозначения копра на гусеничном ходу для забивки свай длиной до 14 м, с поворотной платформой, без изменения вылета и наклона мачты, второй модели:

КоГ-14-1.0.0-02 - ГОСТ 31546-2012

В зависимости от назначения различают копры:

− стандартные - для забивки свай вертикальными рядами;

− наклонные (наклоняемые, маятниковые) - для забивки наклонных свай;

− поворотные - для забивки свайных кустов;

− универсальные - при забивке свай различными способами (на 360 градусов относительно оси - полноворотные);

− краны-копры - на конце стрелы навешиваются вертикальные направляющие балки;

− батарейные копры - для забивки одновременно нескольких рядов свай.

Общий вид копра КоГ-12-0.1.1-01 на базе трактора Т10МБ


4. Рабочие процессы


Рабочий процесс копра состоит из его передвижения к месту установки сваи, ее строповки, подтягивания, установки на точку погружения по предварительно выполненной разметке, выверке правильности ее положения, закрепления на свае наголовника, предохраняющего ее от разрушения при ударном погружении, установку на сваю погружателя, расстроповку сваи, ее погружение с последующей выверкой направления, подъем погружателя и снятие с погруженной сваи наголовника.

Для передвижения копра используют собственное ходовое оборудование. Если размеры и конфигурация свайного поля таковы, что с одной установки рельсового пути нельзя погрузить в грунт все сваи, то для работы используют несколько копров, работающих каждый на своем рельсовом пути, или перекладывают рельсовый путь после выполнения работ с прежней его установки. После перемещения копра его надежно стопорят стояночными тормозами или другими устройствами.

Для выполнения всех грузоподъемных операций используют одну двухбарабанную или две однобарабанные лебедки раздельно для подъема сваи и погружателя. Для правильной установки сваи и ее фиксирования в требуемом начальном положении мачту оборудуют упорами, иногда захватами в ее нижней части. Для наводки сваи на требуемую точку свайного поля требуется две степени свободы мачты. Обычно это достигается поворотом платформы и изменением вылета мачты. Еще одна степень свободы нужна для корректировки направления последующего движения сваи в процессе ее погружения.

Вылет мачты изменяется гидроцилиндрами, а ее наклон - гидроцилиндром. Копры, у которых мачты обладают описанными выше тремя степенями свободы, называют универсальными. При отсутствии одной какой-либо из этих степеней свободы копер называют полууниверсальным, а при наличии только поворотного в плане движения - простым. Рабочий цикл простых копров по сравнению с универсальными и полууниверсальными более продолжителен за счет увеличения затрат времени на вспомогательные операции, которые в среднем составляют более половины продолжительности всего рабочего цикла.

5. Конструктивные особенности


Конструкция копров должна обеспечивать:

навеску молотов и свай, соответствующих технической характеристике копра;

фиксацию погружателя в нижнем положении и передвижение с ним по стройплощадке;

свободный доступ к местам смазки, регулировки и контроля состояния секций мачты и их соединений;

возможность использования средств технического диагностирования для оценки технического состояния копра в целом и его составных частей в соответствии с требованиями ГОСТ 27518.

6. Принципиальные и кинематические схемы


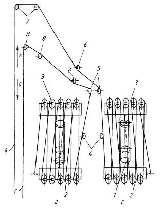
Кинематическая схема копра КоГ-12-0.1.1-01 (СП49Д)


Принципиальная схема копра КоГ-12-0.1.1-01 (СП49Д)


7. Технические и эксплуатационные показатели


В нормативных документах на копры конкретных моделей устанавливают следующие показатели:

наибольшую грузоподъемность, в т.ч.:

на канате подъема погружателя,

на канате подъема сваи;

максимальное сечение забиваемых свай;

максимальную длину забиваемых свай;

максимальную массу забиваемых свай;

ширину направляющих мачты;

угол поворота платформы (при наличии);

диапазон вылета мачты (при наличии);

диапазон углов наклона мачты (при наличии);

максимальную частоту вращения поворотной платформы;

кратность полиспаста подъема молота;

кратность полиспаста подъема сваи;

максимальную скорость подъема молота и сваи;

максимально допустимую скорость ветра при работе копра;

максимально допустимый уклон стройплощадки;

максимальную массу молота с наголовником;

массу копра без молота;

габаритные размеры в рабочем положении;

габаритные размеры в транспортном положении;

колею (ширину гусеничного хода);

максимальное удельное давление на грунт (кроме рельсовых копров);

уровень звука на рабочих местах обслуживающего персонала;

концентрацию вредных веществ (пыли, оксидов азота, оксида углерода и углеводородов) в рабочей зоне;

параметры вибрации на рабочих местах и органах управления;

80%-ный ресурс до первого капитального ремонта или до списания (полный ресурс) и критерии предельного состояния.

8. Методы повышения производительности


Повышение производительности сваебойного оборудования достигается целесообразным выбором типа копра, методов подтяжки и забивки свай, в также за счет механизации ручных процессов и сокращения времени простоев.

9. Техника безопасности


Конструкция копра должна соответствовать требованиям, установленным в ГОСТ Р 50906-96.

Конструкция копра должна обеспечивать его устойчивость и работоспособность на площадках с уплотненным грунтом при уклоне 3°. Критерием устойчивости является визуально определяемое отсутствие отрыва от грунта или рельса наиболее удаленного катка гусеницы (колеса) копра от текущего ребра опрокидывания копра.

Копры должны быть оборудованы:

звуковой сигнализацией передвижения, слышимость которой должна соответствовать требованиям ГОСТ 29292;

осветительными приборами, обеспечивающими в темное время суток освещенность в направлении передвижения на расстоянии не менее 5 м от копра - не менее 10 лк;

прибором, включающим звуковой сигнал оповещения о приближении мачты копра к находящимся под напряжением проводам электрической сети или линий электропередачи (для копров на колесном ходу);

ограничителем скорости вращения платформы;

устройством, регулирующим плавность разгона и торможения барабанов лебедок и поворотной платформы;

устройством для снижения уровня радиопомех, установленного ГОСТ Р 51318.12-2012.

Все разъемные соединения должны иметь специальные устройства для стопорения, исключающие их самопроизвольное разъединение.

Применяемые канаты должны соответствовать действующему на них нормативному документу. Применение канатов, не предусмотренных нормативным документом, а также изношенных, не допускается.

Используемая литература


1. ГОСТ 31546-2012 «Копры для свайных работ. Общие технические условия»

2.      ГОСТ Р 50906-96 «Оборудование сваебойное. Общие требования безопасности»

.        http://stroy-technics.ru/

.        Белецкий Б.Ф., Булгакова И.Г. Строительные машины и оборудование. Изд. 2-е, перераб и доп.: Учеб. для студентов вузов по спец. «Пром. и гражд. стр.-во.» - М.: Высш. шк., 2005 - 608 с с.ил.

Похожие работы на - Копры и их назначение

 

Не нашли материал для своей работы?
Поможем написать уникальную работу
Без плагиата!
Без нейросетей!