Классификация постельного белья

  • Вид работы:
    Реферат
  • Предмет:
    Маркетинг
  • Язык:
    Русский
    ,
    Формат файла:
    MS Word
    552,96 Кб
  • Опубликовано:
    2015-09-28
Вы можете узнать стоимость помощи в написании студенческой работы.
Помощь в написании работы, которую точно примут!

Классификация постельного белья

Содержание

Введение

1. История происхождения постельного белья

2. Классификация постельного белья

2.1 Общая классификация

2.2 Классификация белья по размеру

2.3 Классификация постельного белья по сырьевому составу

3. Анализ рынка постельного белья

3.1 Импорт и экспорт постельного белья

3.2 Сегментация рынка постельного белья

3.3 Предпочтения россиян по тканям для постельного белья

4. Проблемы развития текстильного производства

Заключение

Список использованных источников

Введение


Сегодня мы живем в современном мире, и многие вещи воспринимаем как должное, не задумываясь об их происхождении. Но иногда становится интересно, как, `например, человек стал использовать постельное бельё <#"889011.files/image001.gif">

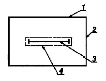
Рис. 1 Пододеяльник типа Б1 5

Рис. 2 Пододеяльник типа Б2

Пододеяльник типа В - закрытый, без выреза на внешней стороне изделия, с застежкой четырех видов (рисунки 3-6):

В1 - с переходом 25 см нижнего полотна на внешнюю сторону пододеяльника для образования клапана (рисунок 3);

В2 - с застежкой по внешнему краю 1 (рисунок 4);

ВЗ - с застежкой по внешнему краю 2 (рисунок 5).

В4 - с вырезом (застежкой) 3 в середине верхней стороны (рисунок 6).

Рис. 3 Пододеяльник типа В1

Рис. 4 Пододеяльник типа В2

Рис. 5 Пододеяльник типа В3

Рис. 6 Пододеяльник типа В4

К рисункам 1-6: I - внешний край пододеяльника по длине; 2 - внешний край пододеяльника по ширине: 3 - вырез (застежка) пододеяльника; 4 - линия шва подгибки выреза (застежки) пододеяльника

 

Таблица 1. Размеры пододеяльников


Размеры простыней должны соответствовать следующим размерам (таблица 2)

Таблица 2. Размеры простыней по длине и ширине


Верхние наволочки для подушек по длине и ширине должны соответствовать следующим размерам (таблица 3)

Таблица 3. Размеры верхних наволочек по длине и ширине


Нижняя наволочка для подушек должна соответствовать следующим размерам (таблица 4) и быть взаимоувязанными с размерами верхних наволочек. [1]

Таблица 4. Размеры нижних наволочек по длине и ширине


В Европе существует собственная градация комплектов постельного белья. Там чаще всего пользуются следующими обозначениями:

·        "king-size" (белье для очень большой, т. н. "трёхспальной" кровати);

·        "2-bed" (белье для двуспальной кровати);

·        "1,5-bed" (белье для полуторной кровати);

·        "1-bed" (белье для односпальной кровати);

·        "children" (белье до 125 см в длину для кроватки на одного ребёнка).

Некоторые иностранные производители маркируют комплекты белья таким образом:

·        "single" (односпальное белье);

·        "extra-long single" (полуторное белье);

9

·        "full" (двуспальное белье);

·        "king size" (белье увеличенных размеров) [9]

Все европейские размеры представлены в таблице 5

Таблица 5. Европейские размеры постельного белья [8]

Наименование

Матрас, см

Простыня, см

Простыня на резинке, см

Пододеяльник, см

Наволочка, см

Single/Twin

90х190

183х274

90х190

145х200

51х76/65х65

Double/Full

229х274

140х190

200х220

51х76/65х65

King/Queen

150х200 180х200

274х297 305х320

150х200 180х200

230х220 260х220

51х76/65х65

Baby bed/Crib

56х118

120х170

60х120

100х120

40х60


2.3 Классификация постельного белья по сырьевому составу


Так как классификация постельного белья очень широка,рассмотрим одну из ее групп. Это сырье и материалы применяемы для производства постельного белья.

Самое распространенное сырье для производства постельного белья это, конечно же, хлопок. Это волокно имеет ряд преимуществ - высокие гигиенические и прочностные свойства, приятное на ощупь, не электризуется, устойчиво к действию света, не вызывает аллергических реакций. Кроме того, белье из хлопка выдерживает многократные стирки и при этом не пиллингуется, легко гладится, а также хорошо подается крашению.

Следующее волокно это лен. Лен применяли для производства белья еще с древних времен, но сейчас это волокно не так популярно. Он обладает хорошими гигиеническими свойствами и высокой износостойкостью, выше чем у хлопка. Но у него есть и недостатки, ткани из льна сильно мнутся и трудно поддаются глажке. Поэтому он не так распространен для производства постельного белья в наши дни.

Еще одним наиболее применяемым сырьем является шелк. Это самое легкое волокно, обладает высокой гигроскопичностью, очень мягкое и шелковистое, а также обладает низкой сминаемостью. Постельное белье из натурального шелка выглядит очень красиво и стоит дорого. К недостаткам шелковых тканей можно отнести низкую светостойкость и большую усадку.

В последнее время набирает популярность белье из бамбуковых волокон, несмотря на недешевую цену. Это очень прочное волокно, обладающее хорошей гигроскопичностью, воздухопроницаемостью и природными антибактериальными свойствами. Оно мягкое на ощупь, не электризуется и не вызывает аллергических реакций.

Кроме натурального сырья применяют также и химические волокна. Например, вискоза - это искусственное волокно, полученное из древесной целлюлозы. По внешнему виду вискоза очень напоминает шелковую ткань. Вискоза обладает высокой гигроскопичностью, термостойкостью и износостойкостью. Ткань из вискозы отлично окрашивается и долго сохраняет первоначальную яркость цвета. Но из-за своей низкой упругости, ткани сильно мнутся и легко садятся после стирки.

Поэтому обычно при производстве постельного белья вискозу используют в сочетании с другими волокнами.

Тенсель (лиоцел) - это гидратцеллюлозное волокно, которое получают при использовании прямых растворителей целлюлозы. Тенсель мягкое и шелковистое волокно. Это экологически чистое волокно, которое имеет более высокие показатели свойств, чем у вискозы.

Синтетические волокна, также применяют для производства постельного белья, но в качестве добавки к натуральным, для улучшения прочностных свойств.

Разнообразие применяемых тканей зависит от способа переплетения нитей. А от способа переплетения зависят и свойства ткани.

Бязь. Это прочная х/б ткань для производства постельного белья. При бязевом плетении нить укладывается под прямым углом. Это придает ткани высокую плотность и прочность. Бязевая ткань сохраняет первоначальный цвет даже после многократных стирок и легко гладится. Поэтому это вид ткани наиболее распространен.

Перкаль. Очень плотная, прочная хлопчатобумажная ткань. При перкалевом переплетении нити также ложатся под углом в 90 градусов, но в отличие от бязевого, они шлихтуются, т. е на них наносится специальный клей тонким слоем. За счет этого ткань становится не только прочной, но и гладкой, мягкой, шелковистой. Такая ткань не пропускает перышки из подушек. А также перкалевая ткань устойчива к свету, поту и трению.

Сатин. В сатиновом переплетении нити ложатся под углом 45 градусов. За счете этого они плотнее прилегают друг к другу, на ткани появляется красивый блеск. При это, чем тоньше нить, тем ткань более гладкая и блестящая. Сатин обычно производится из высших сортов хлопка, а по внешнему виду похож на шелк.

Поплин - это мягкая на ощупь ткань из хлопка,реже из шелка по основе и из шерсти по утку. Такая ткань получается сочетанием тонких и плотных нитей основы с грубыми редкими нитями утка, которые образуют рубчик.

Креп - это в первую очередь ткани из шелковых нитей с очень большой круткой, а в некоторых случая со специальным креповым переплетением. Самые известные это: креп-шифон, крепдешин, креп-сатин.

Жаккард - это ткань сложного плетения, в состав которой могут входить различные по происхождению волокна. Белье из жаккардовой ткни очень плотное, мягкое и выглядит роскошно и дорого. [2]

3. Анализ рынка постельного белья


3.1 Импорт и экспорт постельного белья


Легкая промышленность по уровню потребления уступает лишь продовольственным товарам, оставив позади рынки электроники, автомобилей и других товаров.

На сегодняшний день рынок постельного белья очень разнообразен. На прилавках магазинов можно найти комплекты белья не только отечественного производителя, но и иностранного. Рассмотрим более подробно структуру рынка и выявим предпочтения потребителей.

В сегменте постельного белья лидирующие позиции занимают отечественные производители. Они представляют покупателю полный ассортимент продукции - комплекты постельного белья, полотенца и прочее. Основные производители в России находятся в Ивановской области, и их объем производства составляет около 70% от всего количества российской продукции. Однако за последние три года рост импортированной продукции вырос до 33%. Это можно наблюдать на диаграмме 1. [3]

Диаграмма 1. Динамика доли импорта на российском рынке постельного белья в стоимостном выражении, %

Китай является основным импортером постельного белья в Россию. Он занимает больше половины объема импортированной продукции. На втором месте с большим отставанием находится Турция, а уже за ней следует Пакистан. [4]

Что касается экспорта постельного белья, то его доля совсем не велика, примерно 3 %. Основным покупателем российского постельного белья за рубежом является Казахстан. На него приходится больше половины физического объема закупок. Далее следуют Украина и Беларусь. [4]

3.2 Сегментация рынка постельного белья


Рассмотрим деление рынка постельного белья по ценовым категориям.

Основными сегментами рынка являются: низкий, средний, высокий.

·        Низкий сегмент включает в себя комплекты постельного белья с ценой до тысячи рублей.

·        Средний наиболее широкий из всех. Здесь можно приобрести комплект в пределах двух тысяч рублей.

·        Высокий, в свою очередь, подразделяется на два сегмента: обычный (цены до семи тысяч рублей) и премиум (выше семи тысяч).

В нижнем ценовом сегменте в основном представлены российские, китайские и турецкие компании. Здесь практически отсутствуют бренды производителей. Вместо них указывается место производства, например, город Иваново или Шуя, в которых расположено множество мелких и средних производителей, специализирующихся на пошиве постельного белья.

В среднем ценовом сегменте работают такие производители, как: "Донецкая мануфактура", "Трехгорная мануфактура", "Яковлевский", а также китайские производители и ряд европейских.

Основные марки среднего ценового сегмента:

·        "Хлопковый рай"

·        "Санни дэй"

·        "Свинг"

·        "Клауд & Вотэр"

·        "Поэзия"

·        TAC (Турция)

·        JARDIN (Турция)

·        Ozdilek (Турция)

·        Волшебная ночь

Верхний ценовой сегмент практически полностью занят западными производителями и некоторыми российскими предприятиями, которые производят постельное белье класса "премиум".

·        Основным игроком верхнего ценового сегмента в России является розничная сеть по продаже постельного белья "БЕЛЬПОСТЕЛЬ", которая имеет по всей России более 70 магазинов.

·        Основные торговые марки постельного белья верхнего ценового сегмента:

·        "Хакама-перкаль"

·        "Клэр"

·        "Инесс"

·        "Твил"

·        "Гортензия"

·        "Бамбо"

·        Anabella (Италия)

·        LeVele

·        Cassera Casa (Италия)

·        Mirabello (Италия)

·        Caleffi (Италия)

·        PERSONA

Самым дорогим постельным бельем, из исследуемых марок, является итальянское белье Mirabello. Комплект такого постельного белья обойдется потребителю в 10-11 тыс. рублей. Самым дешевым бельем оказалось постельное белье марки "Хлопковый рай". Данная марка производится на Чебоксарском ХБК.

3.3 Предпочтения россиян по тканям для постельного белья


Ткань имеет множество сфер использования, одной из них является производство постельного белья. Свойства тканей для данного продукта, наряду с одеждой, имеют очень важное значение для потребителей.

Покупатели при выборе постельного белья в первую очередь обращают внимание на качество ткани и цену, а уже потом на колористическое оформление и отделку.

Предпочтения потребителей относительно типа ткани практически не отличается по регионам. Самые популярные ткани это бязь и лен. Третье место занимает натуральный шелк, сразу за ним идут ситец и сатин. Что касается искусственных материалов, то их предпочитают меньше остальных. Наглядно процентное соотношение можно увидеть на диаграмме 2. [5]

Диаграмма 2. Предпочтения потребителей в выборе ткани для постельного белья, %

Что касается цветового решения, то большинство людей выбирают комплекты постельного белья пастельных, спокойных тонов, около 60 %. Яркие цвета не очень популярны, их выбирают приблизительно 20 % потребителей, а для 10 % цвет не имеет значения.

Самыми популярными видами отделки постельного белья являются абстрактный рисунок, орнамент и однотонное белье с цветочными мотивами. Далее идут рисунки с животными и с героями мультфильмов. Меньше всего востребованы комплекты белья в полоску и в клетку.

А самым подходящим цветом потребители считают голубой, зеленый и бежевый, а за ними расположись желтый и белый. Стилистические предпочтения хорошо видны на диаграмме 3. [5]

Диаграмма 3. Предпочтения россиян по рисункам тканей для постельного белья, %

4. Проблемы развития текстильного производства


На сегодняшний день текстильная промышленность по уровню потребления в России занимает второе место, но, тем не менее, по сравнению с зарубежными компаниями, российское производство имеет ряд существенных проблем. Рассмотрим их более подробно.

В первую очередь,российское производство сильно отстает по материально - технической базе. В зарубежных странах используют новейшее оборудование, которое обеспечивает минимальные затраты энергии и труда. В то время как российские производители используют устаревшее оборудование, которое не обновлялась в течение двадцати лет и более. Кроме того, на предприятиях отрасли практически не используются автоматизированные системы управления производственным процессом. А закупить зарубежные станки не позволяют высокие ввозные таможенные пошлины и высокий НДС на иностранное технологическое оборудование.

Для этого предприятиям необходимо достаточное количество оборотных средств. Это является второй проблемой развития, а именно низкий уровень инвестиций в текстильную промышленность. Доля инвестиций в основной капитал промышленности на сегодняшний день незначительна, ее явно недостаточно для развития производства.

Следующей проблемой является огромное количество нелегального импорта и незаконного производства, которое занимает почти 50 % рынка.

На российском рынке с каждым годом увеличивается доля иностранной продукции, которая повышает конкуренцию. Поэтому чтобы не выбыть из конкурентной борьбы, отечественным производителям приходиться расширять ассортимент и улучшать качество своей продукции, но все это приводит к росту издержек.

Кроме этого, основным сырьем для производства постельного белья служит хлопок, который мы импортируем из Узбекистана и Казахстана. К сожалению, по качеству он уступает египетскому и китайскому хлопку.

Еще одной проблемой является отсутствие высококвалифицированных специалистов, основных и вспомогательных работников на производстве. На сегодняшний день заработные платы на предприятиях текстильной промышленности совсем невелики, что приводит к резкому оттоку квалифицированных кадров. А молодое поколение предпочитает более престижную и высокооплачиваемую работу.

И последней проблемой развития рынка постельного белья является психологический фактор. В нашей стране постельное белье всегда считалось необходимым, но второстепенным предметом. Мало кто воспринимает его как дизайнерский товар, как часть интерьера. Одни застилают постель не сочетающимися между собой наволочками, простынями и пододеяльника - ми. Другие считают, что на белье не стоит тратить слишком много денег.

У этой проблемы есть и другая составляющая - нерешенный "квартирный вопрос". Далеко не в каждой семье есть отдельная спальня, нередко кроватью служит обычный диван, установленный в гостиной. Из-за всего этого спрос на постельное белье невелик.

Заключение


На основании проделанной аналитической работы можно сделать следующие выводы:

) Доля импорта иностранной промышленности с каждым годом только растет, вытесняя при этом отечественных производителей.

) Кроме этого, на российских предприятиях текстильной промышленности очень устаревшая материально-техническая база, которая не позволяет производить постельное белье хорошего качества с минимальными затратами труда и энергетических ресурсов. Поэтому для повышения конкурентоспособности российских производителей на рынке постельного белья, необходимо больше инвестировать в легкую промышленность. Тем более, что рынок постельного белья один из наиболее перспективных сегментов российской экономики.

) Необходимо ужесточить меры наказания для производителей контрафактной продукции, а также проводить частые проверки для снижения до минимально допустимого уровня нелегального импорта и неучтенного производства.

) И последнее, для повышения спроса на постельное белье нужно перепозиционировать его из категории "необходимости" в категорию "деталь интерьера". Например, производителям постельного белья стоит тесно сотрудничать с мебельными магазинами.

При покупке мебели определяется стиль всей квартиры, поэтому можно сразу подобрать подходящий по дизайну комплект постельного белья. Это хорошая возможность для импульсивной покупки.

Список использованных источников


1.      Межгосударственный стандарт ГОСТ 31307-2005 "Белье постельное. Общие технические условия"

2.      Неверов А.Н. и др. Товароведение и экспертиза промышленных товаров: Учебник. - М.: МЦФЭР, 2006. - 848с.

.        Статистические данные Федеральной службы государственной статистики

.        Статистические данные Федеральной таможенной службы о товарной структуре экспорта и импорта России

.        Статистические данные Infolio research group

6.      http://sleepingangel.ru/clauses/nemnogo-istorii/

.        <http://www.allsoccer.ru/publications/Klassifikacija_postelnogo_belja_2.html>

.        <http://www.4living.ru/items/article/bedsheet-size/>

.        <http://www.deloria.ru/dom/interier/razmeri-postelnogo-beliya-evrostandart>

Похожие работы на - Классификация постельного белья

 

Не нашли материал для своей работы?
Поможем написать уникальную работу
Без плагиата!
Без нейросетей!