Возведение одноэтажного производственного здания из сборного железобетона методом монтажа

  • Вид работы:
    Курсовая работа (т)
  • Предмет:
    Строительство
  • Язык:
    Русский
    ,
    Формат файла:
    MS Word
    919,1 Кб
  • Опубликовано:
    2016-01-16
Вы можете узнать стоимость помощи в написании студенческой работы.
Помощь в написании работы, которую точно примут!

Возведение одноэтажного производственного здания из сборного железобетона методом монтажа

Введение

здание монтажный оснащение

Темой данного курсового проекта является возведение одноэтажного производственного здания из сборного железобетона методом монтажа.

В настоящее время, когда важное значение имеют высокие темпы строительно-монтажных работ, сборность конструкций приобрела актуальность, что выражается в ряде ее преимуществ перед монолитным ж/б:

ü заводское изготовление строительных изделий - важный фактор индустриального строительства. Применение сборных ж/б конструкций и деталей превращает строительную площадку - в монтажную, что значительно сокращает сроки возведения зданий и сооружений.

ü  широкое применение строительно-монтажных машин снижает трудоёмкость работ, облегчает труд рабочего, повышает качество работ, ускоряет темп производства, и в следствие этого, удешевляет строительство.

Недостатками сборного ж/б, проявляющимися в жилищном строительстве, является однотипность, монотонность застройки. Также, можно отметить, трудоёмкость заделки стыков и большой вес строительных конструкций. Поэтому, основной задачей в развитии строительства из сборного ж/б является дальнейшее снижение веса конструкций за счет применения предварительно-напряженного ж/б, пористых и легких заполнителей.

Монтаж строительных конструкций выполняют по технологическому проекту производства монтажных работ. Одной из составных частей этого проекта является проект технологической схемы монтажа, в котором разрабатывают рациональные технические решения по выполнению монтажных процессов на базе принятого метода производства работ. В проекте технологической схемы определяют направления развития работ и последовательность установки элементов в проектное положение, выполняют расчеты по выбору и расположению монтажных кранов и другого оборудования, указывают технические условия и нормали выполнения основных монтажных операций. Принятый вариант технологической схемы обосновывают по результатам технико-экономического анализа основных показателей производства монтажных работ.

До начала надземного монтажа строительных конструкций должны быть закончены все работы по подземной части здания. Работы по монтажу конструкций состоят из ряда технологических процессов, которые подразделяются на транспортные, подготовительные и основные.

В результате разработки проекта технологии возведения промышленного здания происходит выделение части пространства, в пределах которого производится технологический процесс. Для этой цели с практической точки зрения используются материалы проектов аналогичного значения. Это позволяет учесть опыт проектирования, избежать случайных решений. Вместе с тем применяются новые решения. Прогрессивные конструкции и т. п., поэтому с научной точки зрения учитываются тенденции развития промышленного производства, высокие темпы обновления технологий, а оценка эффективности возможных решений с экономической точки зрения производится по совокупным затратам в процессе возведения и эксплуатации промышленного здания.

1. Исходные данные

Количество шагов крайних колонн 10.

Количество пролетов 2.

Доставка конструкций с завода ДСК, расстояние ____ км.

Район строительства Санкт-Петербург.

Начало строительства 04.05.2015.

Окончание строительства _______________.

Задание выдано студенту группа .


Рис.1. Схема здания

. Подсчет количества монтажных элементов

Подсчет монтажных элементов ведем на основании конструктивной схемы, представленной на рис.1.

Таблица 1

Наименование элемента

Эскиз

Количество монтажных элементов,шт.

Масса одного элемента, т



На один пролет

На все здание


Колонна крайняя

Из задания

11

22

10,4

Колонна средняя

То же

6

6

10,8

Колонна фахверковая

«

9

18

2,5

Подкрановая балка

«

10

20

4,6


«

5

10

13,8

Подстропильная ферма

«

5

5

11,3

Стропильная ферма

«

11

22

11,2

Плита покрытия

«

80

160

2,7

Стеновая панель

«

146

292

4,4


. Монтажное оснащение для выверки и временного закрепления элементов и его выбор

Наиболее трудоемким и сложным является процесс выверки и временного закрепления колонн. Сложность эта обусловлена большим весом и большой высотой, а также неустойчивостью колонн при монтаже.

Для выверки колонн применяют различные средства:

·        клиновые и домкратные устройства (клинья металлические, железобетонные и деревянные; клиновые вкладыши; домкратные устройства);

·        кондукторы (подкосные с регулируемыми подкосами; рамные домкратные с горизонтальными домкратами и т. д.).

Временное закрепление колонн высотой более 12 м кондукторами недостаточно, и их дополнительно раскрепляют расчалками в плоскости наибольшей гибкости колонны. Расчалки, кондуктора, клинья и другие крепления снимают только после закрепления колонн в стыках и приобретения бетоном не менее 70 % проектной прочности.

Для выверки и временного закрепления ферм и балок покрытия применяют винтовые распорки, количество которых определяется проектом производства работ. Обычно для ферм пролетом 18 м используют одну распорку, а при пролетах 24 и 30 м - две.

К монтажным узлам рабочие поднимаются по монтажным лестницам, приставным или навесным. Лестницы и площадки закрепляются на колоннах съемными хомутами или петлями, которые привариваются к закладным деталям колонн.

Установка колонн по отметкам во всех случаях производится при помощи компенсаторов-подкладок в виде пластин или винтовых фиксаторов с гайками. Кондукторы с вертикальными домкратами позволяют устанавливать колонну по проектным отметкам без применения различных фиксаторов и подкладок.

Выбор оснастки и приспособлений приведен в табл. 2.

Таблица 2. Оснастка и приспособления для монтажа сборных конструкций

Наименование приспособлений

Эскиз

Характеристики



Приспособлений, оснастки

Монтируемой конструкции



Грузоподъемность,т

Масса, кг

Расчетная высота, м

Масса элемента, т

Масса элемента и оснастки, т

Строп четырехветвевой (ПИ Промстальконструкция, Ленинградский отдел №21059 М, лист 28) для погрузочно-разгрузочных работ

3884,24






Строп двухветвевой (ГОСТ 19144-73) тип 2СК-5.0 для монтажа стеновых панелей длиной 6 м

53122,24,44,712






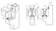
Траверса Тр-16-0 (0.6), грузоподъёмностью 16 т для монтажа двухветвевых крайних и средних колонн серий массой до 16 т из положения «плашмя»: 1- строп; 2- траверса; 3,4- подстропок; 5 - канат для расстроповки


16

320

1,7

10,4 10,8

10,72 11,12

Траверса с фрикционным захватом для подъема фахверковых колонн

4750,92,52,575






Траверса (ПТО Мосспецпромпроект №16348-01) для монтажа подстропильной фермы пролетом до 12 м

16,5200411,311,5






Траверса с захватами (ПИ Промстальконструкция №1986Р-7) для монтажа подкрановых балок пролетом до 12 м     1451154,6

,85,111

14,311






 

Траверса для монтажа стропильных ферм длиной 24 м массой до 20 т


20

1350

4,3

11,2

12,55

Стропы четырехвевевые в комплекте для монтажа плит покрытий длиной 6 и 12 м массой до 5 т: 1- строп 4СК10/4000 для плит с петлями наружу; 2-строп 4СК 10/5000 для плит с уплотненными петлями


5

90

3,6

2,7

2,79

Инвентарная распорка для выверки и временного закрепления колонн в плоскости ряда

-140---






Расчалка с карабином и винтовой стяжкой. Временное крепление стропильных ферм и колонн: 1-струбцина; 2расчалка; 3-якорь


-

13

-

-

-

аспорка с двумя струбцинами (ПИ Промстальконструкция) для временного крепления стропильных ферм при шаге 6 м


-

63

-

-


Монтажная площадка с лестницей (ПК Главстальконструкция, №229) при производстве монтажных и сварочных работ на высоте 1 - колонна;2-площадка с лестницей


-

118

-

-

-

Временное ограждение крупнопанельных плит покрытия для обеспечения безопасности работ на покрытиях

-----






Подмости (ПИ Промстальконструкция, № 1942Р) для устройства рабочей площадки при производстве монтажных и сварочных работ

-39---






Монтажная машина с шарнирной стрелой на автомобиле для выполнения работ на высоте до 19 м


0,4

11400

17,8

-

-

4. Технология выполнения стыков и соединений, определение их объемов

Процесс заделки стыков несущих сборных железобетонных конструкций состоит из сварки выпусков арматуры или закладных деталей, антикоррозийной защиты закладных деталей, замоноличивания стыков бетоном или раствором. При заделке стыков ограждающих конструкций выполняют дополнительно тепло-, гидроизоляцию и герметизацию. Объемы работ по заделке стыков смонтированных конструкций рассчитываются с учетом расхода материалов при устройстве стыков (табл. 3).

Таблица 3

Наименование стыка

Эскиз

Ед. изм.

Кол-во узлов, шт

Бетон, м3

Опалубка, м2

Сварной шов, пог. м





Один стык

Все стыки

Один стык

Все стыки

Один стык

Все стыки

Стык крайней колонны с фундаментом

м3220,245,28----









Стык средней колонны с фундаментом


м3

6

0,34

2,04

-

-

-

-

Стык фахверковой колонны с фундаментом


м3

18

0,09

1,62

-

-

-

-

Стык подстропильной фермы с крайней колонной м3,

м2----0,230,46









Стык пдстропильных ферм со средней колонной    м3 м2,

пог м4++++0,230,92









Стык подкрановой балки с колонной 2 элемента Свыше 2х элементов         

1 - закладные детали колонны; 2 - то же подкрановой балки; 3 - стальная планка; 4 - стальная накладка; 5 - заделка бетоном; 6 - отверстия для крепления рельсам3 м2, пог м  4 24++++0,52 12









 

Стык фермы с крайней колонной

м22----0,388,36









Стык ферм со средней колонной

м6++++0,53









Стык стропильной фермы с подстропильной фермой

 3 - колонна; 4 - подстропильная ферма; 5 - стропильная ферма; 6, 8 - закладные детали; 7 - банкетка <#"888540.files/image015.jpg">

- ферма; 10, 11 - закладные детали; 12 - плиты покрытиям3,

м274++--0,254,8









Стык стеновых панелей с колоннами и между собой           

а - вертикальный шов в трехслойных панелях; б - горизонтальный шов в трехслойных панелях; в - крепление анкером; 1 - наружный ж/б слой; 2 - утеплитель;3 - несущий внутренний слой из ж/б; 4 - пороизол; 5 - прокладка из утеплителя; 6 - герметизирующая мастика; 7 - расшивка цементным раствором;8 - колонна; 9 - однослойная панель; 10 - закладная деталь колонны; 11 - анкер; 12 - упорная пластина;м346++--0,8276,8










. Производственный процесс монтажа сборных железобетонных конструкций

Монтажный комплекс работ подразделяется на подготовительные, основные и вспомогательные процессы.

Подготовительные процессы - проверка состояния конструкций, контрольная сборка, укрупнительная сборка, усиление конструкций, оснастка конструкций приспособлениями для временного их закрепления и безопасности работ, нанесение установочных рисок на монтируемые элементы, навеска подмостей и лестниц, выполняемых до подъема конструкций.

Основной процесс - установка конструкций в проектное положение. Он состоит из строповки монтажных элементов, подъема, наводки и установки их на опоры, выверки, временного или монтажного крепления (электросварка, клепка, постановка постоянных болтов, антикоррозийная защита сварных соединений, стыков и швов бетоном или раствором), расстроповки.

Вспомогательные процессы - это производство и ремонт различных приспособлений и технологической оснастки, изготовление некоторых деталей, в том числе отдельных мелких конструкций для возводимых зданий и сооружений, а также установка якорей, испытание грузозахватных приспособлений и кранов, устройство и разборка различных сетей в монтажной зоне, испытание смонтированных конструкций и пр.

Одноэтажные промышленные здания возводят из унифицированных типовых секций, состоящих из однотипных конструкций, унифицированных пролетов, шагов колонн и т. д.

Методы монтажа строительных конструкций предопределяют последовательность и ход всего технологического процесса возведения здания. Выбор метода монтажа зависит от объемно-планировочных и конструктивных решений зданий, а также от конкретных условий строительства. Организационные методы определяют направление монтажа, последовательность установки конструкций и характер подачи их к подъемному механизму.(Рис.2)

I                 II       III      IV             V

Рис. 2. Этапы организации монтажа одноэтажного здания:- монтаж колонн; II - то же подкрановых балок; III - то же ферм и плит покрытия; IV, V - то же стеновых панелей; 1 - фундамент; 2 - кран; 3 - колонна; 4 - подкрановая балка; 5 - ферма; 6 - стеновые панели

При возведении одноэтажных промышленных зданий направление монтажа, как правило, продольное. В этом случае краны перемещаются вдоль пролетов, а конструкции последовательно монтируются в каждом из них.

Движение кранов и монтажные позиции (стоянки) выбирают с таким расчетом, чтобы кран с одной позиции (стоянки) смонтировал возможно большее число элементов. При пролете 24 м кран при монтаже колонн и подкрановых балок должен перемещаться вдоль каждого монтируемого ряда (рис. 2, 3). Монтаж каркаса одноэтажных промышленных зданий обычно ведут несколькими технологическими потоками, каждому из которых предназначаются ведущий кран, транспортные машины и монтажная оснастка (см. рис. 2, 3).

При монтаже с транспортных средств конструкции подают в пролеты навстречу монтажу. При необходимости местную укрупнительную сборку конструкций производят на передвижных стендах, перемещаемых по ходу монтажа в пролете.

Рис. 3. Последовательность установки конструктивных элементов ячейки здания при комплексном методе монтажа: 1, 2, 3… - последовательность установки элементов; Q1, Q2 … - грузоподъемность крана для установки конструктивного элемента; L1, L2 … - вылет стрелы; H1, H2 - высота подъема крюка

Монтаж колонн легкого типа обычно ведется с предварительной раскладкой (вершинами к фундаментам) непосредственно у мест их подъема. Тяжелые колонны укладывают основанием к фундаментам и поднимают с поворотом в вертикальной плоскости.

Возведение одноэтажных промышленных зданий может осуществляться одновременно в нескольких пролетах здания одним или несколькими одновременно работающими кранами, что позволяет сократить сроки монтажа конструкций. Однако при этом увеличиваются общее число работающих и затраты по доставке кранов на стройплощадку и их обслуживанию (рис. 4).




Рис. 4. Монтаж промышленного здания тремя потоками: 1 - колонна; 2 - подкрановая балка; 3 - ферма; 4 - плита покрытия; 5 - стеновая панель; 6 - монтажные краны

Перед началом монтажа колонн их предварительно раскладывают в зоне действия крана под углом к оси монтируемого ряда конструкций и оси движения крана. Колонны располагают одинаково по отношению к фундаментам и местам стоянки крана и при необходимости перекантовывают из положения плашмя в положение на ребро с помощью П-образного кантователя (рис. 5).

Колонны начинают монтировать после приемки фундаментов или опор. При подготовке колонн к монтажу проверяются ее размеры, выявляются отклонения или перекосы. Перед подъемом на колонны наносятся риски, необходимые для контроля ее положения в плане и по высоте (см. рис. 5).

Рис. 5. Монтаж колонн (положение колонн до момента перекантовки):

- кран; 2 - стоянки монтажных кранов

К монтажу подкрановых балок приступают после установки, выверки и окончательного закрепления колонн. Бетон в стыке колонны и стакана фундамента должен к этому времени набрать 70 % проектной прочности; исключения из этого правила оговариваются в ППР.

Балки предварительно раскладывают в зоне монтажа на деревянных подкладках. Перед подъемом балки осматривают, проверяют размеры и наносят риски на опорных консолях колонн (рис. 6).

Подкрановые балки монтируются потоками, иногда в поток включается монтаж подстропильных ферм и элементов покрытия.

Рис. 6. Монтаж подкрановых балок: 1 - кран; 2 - стоянки монтажных кранов

Фермы длиной до 24 м доставляются на объект, как правило, целыми. Монтируют фермы либо непосредственно с транспортных средств, либо с предварительной раскладкой в кассетах в зоне монтажа.

К монтажу ферм приступают только после установки и окончательного закрепления всех нижерасположенных конструкций каркаса здания. До начала монтажа проверяют качество, их размеры, расположение закладных деталей, а также места опирания ферм.

Перед подъемом ферму обстраивают люльками, лестницами, закрепляют распорками для временного крепления, а также закрепляют страховочный канат, расчалки и оттяжки (рис. 7, 8).

Канаты и оттяжки привязывают около торцов фермы. Распорки закрепляют винтовыми зажимами в коньковом узле фермы. Ко второму концу распорки привязывают канат-оттяжку для подъема распорки (см. рис. 7, 8).

Рис. 7. Монтаж плит покрытия:

- уложенная плита покрытия

- укладываемая плита покрытия

- 4-х ветвевой строп

- зоны складирования плит покрытия

- инвентарное ограждение

- монтажный кран РДК-25

- инвентарная распорка

- место складирования инвентарных ограждений

- ящик с инструментом

Плиты покрытия устанавливаются, как правило, вслед за очередной стропильной фермой. При этом первую плиту подают с подвесных подмостей на колоннах, а следующие плиты - с уже уложенных плит.

Рис. 8. Организация труда при подъеме ферм:

а - крепление распорки к ферме перед ее подъемом; б - установка фермы на колонну; в - временное крепление фермы распоркой: 1 - ферма; 2 - распорка; 3 - колонна; 4 - оттяжка; 5 - канат для подъема распорки; 6 - плита покрытия; 7 - подкрановая балка.

Стеновые панели устанавливают после монтажа каркаса, отдельным потоком. Для монтажа могут применяться краны с башенно-стреловым оборудованием, смонтированным на базе крана, который совмещает в себе функции грузоподъемного крана и монтажной площадки (рис. 9).

Монтажная площадка может перемещаться в вертикальном направлении по башне и в горизонтальном направлении к стене и обратно. Монтажники, находясь на такой площадке, могут выполнять установку, выверку и окончательное закрепление стеновой панели. Тепло- и гидроизоляцию, герметизацию стыков и заделку швов в стеновых панелях необходимо выполнять сразу после монтажа панелей с навесных подмостей.

Рис. 9. Монтаж стеновых панелей:

- кассета для складирования панелей стен;

- кран;

- оттяжка;

-строп;

- монтируемая панель;

- смонтированное покрытие;

- смонтированная ферма;

- стеновое ограждение;

- колонна;

- монтажный подъемник.

. Определение исходных данных для выбора монтажного крана

Исходными данными для выбора монтажных кранов являются габариты и конфигурация здания (размеры здания в плане и по высоте), его масса и расположение в здании монтируемых конструкций, метод и технология монтажа, условия производства работ.

Основными расчетными данными для выбора крана, имеющего техническую возможность установить конструкцию определенной массы на проектную отметку, являются

§  монтажная масса конструкции Pм или грузоподъемность Q,

§  монтажная высота Hм или высота подъема,

§  вылет крюка крана lкр,

§  длина стрелы Lстр

§  грузовой момент Мг.

Выбранный кран должен обладать необходимой грузоподъемностью для подъема самого тяжелого элемента при соответствующем вылете крюка с учетом массы захватного приспособления и монтажной оснастки, устанавливаемой на конструкцию до подъема (подмости, подкосы и т. п.); необходимым вылетом крюка для монтажа наиболее удаленного от оси крана элемента lкр; необходимой высотой подъема крюка от уровня стоянки крана для установки наиболее высоко расположенного элемента с учетом расчетной высоты захватного приспособления Нкр.

Монтажная масса, или грузоподъемность, состоит из суммы масс самой конструкции и оснастки, необходимой для осуществления захвата, подъема, временного закрепления конструкции, а также обеспечения безопасности и удобства рабочего места. Расчет монтажной массы (грузоподъемности) производится по формуле

Pм=Рэ+Ро, (1)

где Pэ - монтажная масса элемента, т; Pо - монтажная масса грузозахватных и монтажных приспособлений, т.

Грузоподъемность крана на промежуточном вылете стрелы

, (2)

где q - грузоподъемность на максимальном вылете стрелы;стр.max - максимальный вылет стрелы; стр - то же промежуточный.

Монтажная высота, или высота подъема крюка (стрелы), определяется по отношению к отметке стоянки крана. В нее включаются высота от отметки стоянки крана до проектной отметки установки монтируемой конструкции; высота конструкции; высота строповки в свету (та часть высоты грузозахватного устройства, которая возвышается над монтируемой конструкцией); длина полиспаста с крюковой обоймой (не менее 1 м или в зависимости от возможности, определяемой длиной стрелы); высота запаса, равная 0,5 м. Последняя учитывает подъем, ориентирование и наводку конструкции на место ее установки на высоте 0,5 м над проектной отметкой (рис. 10).

Рис.10. Схема определения требуемых параметров самоходного стрелового крана

Требуемая высота подъема крюка для каждого из монтируемых элементов определяется по формуле

Hкр=Ho+hэ+hз+hс, (3)

где Нкр - высота подъема крюка, м;

Hо - превышение опоры монтируемого элемента над уровнем стоянки крана, м;з - запас по высоте (не менее 0,5 м), требующийся по условиям безопасности для подачи конструкций к месту установки или переноса их через ранее смонтированные конструкции или монтажные приспособления;э - высота элемента в монтажном положении, м;с - высота строповочных приспособлений в рабочем положении, м.

Требуемая высота подъема стрелы

Hстр=Hкр+hпол (4)

Если длина стрелы не обеспечивает монтаж плит покрытия, наиболее целесообразно использовать кран с гуськом, что позволит при меньшей длине стрелы крана обеспечить максимальный вылет крюка. При использовании крана с гуськом (рис. 3) высота подъема крюка

Hкр, (5)

где Lстр - длина стрелы;- максимально необходимый угол наклона стрелы;г - длина гуська крана;

𝜑- угол наклона гуська к горизонту;ш - высота от уровня стоянки до нижней части поворотной платформы (высота шарнира пяты); п - расстояние от гоовной части стрелы до минимально возможного приближения крюка (высота полиспаста).

Допустимая длина гуська подбирается из условия

. (6)

где D - длина гуська, м;- габариты монтируемой плиты.

Рис. 11. Кран с гуськом:стр - длина стрелы; a - наибольший угол подъема стрелы (75-77); Lг - длина гуська крана; 𝜑- угол между осями основной стрелы и гуська (25-30); hш - высота от уровня стоянки до нижней части поворотной платформы (высота шарнира пяты).

Вылет крюка крана - расстояние от оси поворота крана до середины строповки монтируемой конструкции в монтажном положении. При подъеме конструкции определенной монтажной массы на расчетную монтажную высоту необходимо обеспечить необходимое расстояние от оси стрелы крана до ближайшей выступающей части здания (не менее 0,5- 1,5 м). Вылет крюка зависит от расстояния между краном и монтируемой конструкцией и предмонтажной ее раскладки. При монтаже конструкций, кроме вылета крюка, определяется необходимая высота подъема крюка Нкр. При этом стреловой кран следует выбирать по минимальному вылету крюка при проходке крана вдоль или поперек пролета здания, что позволит максимально использовать его грузоподъемность, причем кран подбирают исходя из допустимого приближения стрелы к конструкциям зданиям (см. рис 2).

Наибольшие вылет крюка крана и длина стрелы, как правило, требуются при монтаже плит покрытия.

Вылет крюка lкр определяется по формуле

 (7)

где lкр - вылет крюка крана, м;- запас (не менее 0,5-0,7), м;- ширина элемента, м;

Нстр = Нкр+ hпол - высота подъема стрелы, м;ш - высота шарнира крана (1,5-2,0), м;пол - высота полиспаста крана в стянутом состоянии (1,0), м;стр - высота строповки элемента, м;- растояние от оси крана до шарнира (1,0-1,5), м.

Длина стрелы определяется по формуле

, (8)

где Lстр - требуемая длина стрелы, м.

Количество монтажных машин назначается в зависимости от разновесности монтажных единиц и соответствующего технико-экономического обоснования.

Выбор кранов для монтажа конструкций рекомендуется производить, используя графики и номограммы, показывающие зависимость грузоподъемности кранов и высоты подъема крюка от вылета крана, ориентируясь на данные в справочниках или других подобных изданиях.

Для монтажа одной и той же конструкции можно подобрать по техническим характеристикам несколько типов кранов, что позволит при экономическом сравнении выбрать наиболее эффективный вариант. Данные заносятся в табл. 4.

Для получения наиболее рационального результата следует произвести распределение монтажных элементов в группы по близким параметрическим признакам (высота подъема крюка, величина требуемого грузового момента, методы или способы монтажа). Затем переходят к определению требуемых параметров монтажных машин для каждой группы. Для этого из набора монтажных характеристик элементов выбирают наибольшие и по ним определяют величины грузовых моментов по формуле


и затем, соблюдая условия

, (9)

определяют требуемые величины рабочих параметров монтажных машин. Данные выбора монтажных кранов заносятся в табл. 4.

Таблица 4

Конструкция

Рмонт, т

Нмонт, м

lкр, м

Требуемая Lстр, м

Марка крана

Крайняя колонна

10,72

16,85

8,76

16,73

ДЭК-401 стрела 20 м

Средняя колонна

11,12

16,15

10,3

16,9

ДЭК-401 стрела 20 м

Подкрановая балка

5,111 14,311

16,25

3,03

14,9

МКГ-25БР стрела 18,5 м

Подстропильная ферма

11,5

20,675

4

19,4

МКГ-25БР стрела 23,5 м

Стропильная ферма

12,55

22,61

4,6

21,3

ДЭК-401 стрела 25 м

Плита покрытия

2,79

22,21

17,94

26,23

ДЭК-401 стрела 30 м

Стеновая панель

4,712

21,7

20,6

КС 5363 стрела 25 м


Стреловой самоходный гусеничный дизель-электрический кран ДЭК-401 (40 т)

Грузоподъемность максимальная, т

40

Максимальный грузовой момент, тм

182

Длина стрелы, м основная

15

максимальная

35

Длина жесткого гуська, м

5;10

Максимальная грузоподъемность на жестком гуське, т

8;4

Максимальная высота подъема, м

48,4

Максимальный вылет, м

36

Минимальный вылет, м

4

Скорость подъема-опускания, м/мин

0…20

Скорость передвижения крана, км/ч

0…1

Частота вращ. пов. части, об/мин.

0…1

Транспортные габ. размеры, мм


 длина

13952

 ширина

3200

 высота

3070

Радиус поворота платформы, мм

4646

Масса крана (с основной стрелой), т

55



Рис.12.Грузовысотные характеристики крана ДЭК-401

ü  Стреловой самоходный усеничный монтажный полноповоротный дизель-электрический кран МКГ - 25БР

Грузоподъемность максимальная, т

25

Длина стрелы, м


 основная

13,5

 максимальная

33,5

Длина жесткого гуська, м

5

Максимальная грузоподъемность на жестком гуське, т

5

Максимальная высота подъема, м

47

Максимальный вылет, м

21,5

Минимальный вылет, м

2,5

Скорость рабочих операций, м/мин


 Подъем груза, макс.

7,25;0,365

 Опускание груза, мин

7,73;3,5;0,4

Скорость передвижения крана, км/ч

0,85

Частота вращения поворотной части, об/мин.

0,3;1,0

Транспортные габаритные размеры (без стрелы), мм


 длина

6960

 ширина

3200/4300

 высота

3825

Угол поворота платформы, град

360

Масса крана (с основной стрелой), т

38,9




Рис.13. Грузовысотные характеристики крана МКГ - 25БР

ü  Выбран пневмоколесный с дизель-электрическим приводом КС-5363А

Грузоподъемность, т:


на опорах:


при наименьшем вылете крюка

25 / 30*

при наибольшем вылете крюка

3,3 / 4

без опор:


при наименьшем вылете крюка

7,5 / 14

при наибольшем вылете крюка

2,1 / 2

Вылет крюка,м:


наименьший

2,5 / 4,5

наибольший

13,8 / 15,9

Высота подъема крюка, м:


при наименьшем вылете крюка

16,3 / 13,7

при наибольшем вылете крюка

6,4

Скорости:


подъема основного крюка, м/мин

7,5; 9

опускания , м/мин

0,7 - 9

Частота вращения поворотной платформы, об/мин

0,1 - 1,3

Скорость передвижения крана, км/ч

3; 20

Наименьший радиус поворота (по внешнему колесу), м

10,3

Наибольший угол подъема пути, град

15

Колея колес, м:


передних

2,4

задних

2,4

Масса крана, т

33

В том числе противовеса, т

4




. Определение трудоемкости и продолжительности монтажных работ

Ведомость затрат труда и машинного времени представляется в виде таблицы на основании ЕНиР.

Расчет затрат труда (трудоемкости), чел.-дн., на весь объем работ производится по формуле

 (10)

где Hвр - затраты труда на единицу времени по ЕНиР, чел.-ч;- количество единиц, на которые рассчитана норма времени;

- количество часов в рабочей смене при пятидневной рабочей неделе, ч.

При определении трудоемкости монтажных работ должны быть учтены:

§  трудоемкость по заделке стыков;

§  трудоемкость изготовления, установки, перестановки вспомогательных устройств;

§  установка подмостей;

§  разгрузка элементов, кантование;

§  установка подкосов, расчалок, связей жесткости и др.

Продолжительность монтажного цикла крана

 (11)

где Тм - продолжительность работы монтажной машины, мин;

Тр - продолжительность ручных операций.

Часовая производительность крана в подъемах

(12)

где Кв.ч - коэффициент использования крана по времени (часовой) - принимается для башенных кранов 0,9, для стреловых при работе без выносных опор - 0,85.

Эксплуатационная сменная производительность крана в подъемах

(13)

где Тсм - продолжительность работы стрелового крана в течение смены (продолжительность смены при пятидневной рабочей неделе 8 ч) при работе с одной стоянки принимается 7,2 ч, а при наличии перемещений время чистой работы составляет 6,8 ч.

Расчетная продолжительность монтажа при работе одного крана определяется по формуле

(14)

где V - объем работ по монтажу конструкций в подъемах или по массе в т;

Пэ - эксплуатационная сменная производительность монтажного крана в подъемах или в т соответственно;

Кп - планируемый коэффициент повышения производительности труда (1,1-1,2);

Тм - продолжительность монтажа и опробования монтажного крана.

Таблица 5. Определение затрат труда и машинного времени, требующегося для монтажа здания, необходимо для составления календарного плана.

N п/п

Наименование работ

ЕНиР

Ед. изм.

Объем работ

Норма времени, чел.-ч.

Трудоемкость, чел.-дн.

Состав звена

Кол-во маш. смен






рабочих

машинистов

рабочих

машинистов



1. 1

Установка крайних колонн массой до 20 т без помощи кондукторов

Е§4-1-4 Табл.4, 2,а,б

1 колонна

22

11

2,2

30,25

6,05

Монтажник 5 разр.-1, 4 - 1, 3 - 2, 2 - 1 Машинист крана 6 разр.- 1

6,05

2. 2

Установка средних колонн массой до 20 т без помощи кондукторов

Е§4-1-4 Табл.4, 2,а,б

1 колонна

6

11

2,2

8,25

1,65

Монтажник 5 разр.-1, 4 - 1, 3 - 2, 2 - 1 Машинист крана 6 разр.- 1

1,65

3. 3

Установка фахверковых колонн массой до 4 т без помощи кондукторов

Е§4-1-4 Табл. 2, 4, в, г

1 колонна

18

4,3

0,86

9,7

1,94

Монтажник 5 разр.-1, 4 - 1, 3 - 2, 2 - 1 Машинист крана 6 разр.- 1

1,94

4. 4

Установка подкрановых балок массой до 5 т

Е§4-1-6, Табл. 3, 3, в, г

1 элемент

20

6,5

1,3

16,3

3,3

Монтажник 5 разр.-1, 4 - 1, 3 - 2, 2 - 1 Машинист крана 6 разр.- 1

3,3

5. 4

Установка подкрановых балок массой до 15 т

Е§4-1-6, Табл. 3, 4, в, г

1 элемент

10

7,5

1,5

9,4

1,9

Монтажник 5 разр.-1, 4 - 1, 3 - 2, 2 - 1 Машинист крана 6 разр.- 1

1,9

6.

Установка подстропильных ферм длиной 12 м

Е§4-1-6, Табл. 4, 2, а, б

1 элемент

5

5

1

3,1

0,63

Монтажник 5 разр.-1, 4 - 1, 3 - 2, 2 - 1 Машинист крана 6 разр.- 1

0,63

7.

Установка стропильных ферм длиной 24 м

Е§4-1-6, Табл. 4, 4, а, б

1 элемент

22

9,5

1,9

26,1

5,2

Монтажник 6 разр.-1, 5 - 1, 4 - 1, 3 - 1, 2 - 1 Машинист крана 6 разр.- 1

5,2

8.

Укладка плит покрытия площадью до 20 м2

Е§4-1-7, 11, а, б

1 элемент

160

1,2

0,3

24

6

Монтажник 4 разр.-1, 3 - 2, 2 - 1 Машинист крана 6 разр.- 1

6

9.

Установка наружных стеновых панелей площадью до 15м2

Е§4-1-8, Табл.2, 3, а, б

1 панель

292

4

1

146

36,5

Монтажник 5 разр.-1, 4 - 1, 3 - 1, 2 - 1 Машинист крана 6 разр.- 1

36,5

10.

Установка оконных блоков с широкими или составными коробками (с двумя раздельными переплетами)

Е§6-13, Табл. 1, 7, в,г

100 м2

6,48

13,4

6,7

10,85

5,4

Плотник 4 разр. - 1, 2 - 1 Машинист крана 5 разр.- 1

5,4

11.

Кладка стен из кирпича при заполнении стен каркасных зданий

Е§3-3, табл. 5, 2, в

1 м3

9,6

3,7

-

4,44

-

Каменщик 3 разр. - 1

4,44

12.

Навеска ворот вручную двухстворных

Е§6-13, Табл. 4, 2

1 м2

18

0,62

-

1,4

-

Плотник 4 разр. - 1, 2 - 1

0,7

13.

Заделка стыков колонн в стаканах фундаментов меньше 0,1 м2

Е§4-1-25, табл.1, 1

1 стык

18

0,81

-

1,8

-

Бетонщик 4 разр. - 1, 3 - 1 Плотник 4 разр. - 1, 3 - 1

0,45

1.

Заделка стыков колонн в стаканах фундаментов свыше 0,1 м2

Е§4-1-25, табл.1, 2

1 стык

28

1,2

-

4,2

-

Бетонщик 4 разр. - 1, 3 - 1

2,1

14.

Заделка стыков подкрановых балок с колоннами 2 элемента: - устройство опалубки - разборка опалубки -бетонирование стыков

Е§4-1-25, Табл.2, 1,3,5

1 узел

4

0,64 0,34 0,97

-

0,98

-

Бетонщик 4 разр. - 1, 3 - 1, Плотник 4 разр. - 1, 3 - 1

0,25

1.

Заделка стыков подкрановых балок с колоннами свыше 2 элементов: - устройство опалубки - разборка опалубки -бетонирование стыков

Е§4-1-25, табл.2, 2,4,6

1 узел

24

1 0,44 1,2

-

7,9

-

Бетонщик 4 разр. - 1, 3 - 1, Плотник 4 разр. - 1, 3 - 1

1,98

15.

Заделка стыков ферм покрытий Более 2 элемента: - устройство опалубки - разборка опалубки -бетонирование стыков

Е§4-1-25, Табл.2, 1,3,5

1 узел

10

1 0,44 1,2

-

3,3

-

Бетонщик 4 разр. - 1, 3 - 1, Плотник 4 разр. - 1, 3 - 1

16.

Заливка швов плит покрытий механизированным способом

Е§4-1-26, 3,а

100 м

18,12

4

-

9,1

-

Бетонщик 4 разр. - 1, 3 - 1

4,6

17.

Заливка швов наружных стеновых панелей здания

Е§4-1-26, 1,а

100 м

25,044

12

-

37,6

-

Бетонщик 4 разр. - 1 3 - 1

18,8

18.

Герметизация стыковых и деформационных швов

Е§4-1-27, 5

10 м шва

250,44

1,3

-

40,7

-

Бетонщик 4 разр. - 1, 3 - 1

20,4

19.

Электросварка подкрановых балок с колоннами

Е§22-1-2

10 м

1,4

2,4

-

0,42

-

Электросварщики 6 разр. -1, 5 - 1, 4 - 1, 3 - 1

0,11

20.

Электросварка стропильных и подстропильных ферм с колоннами и между собой;

Е§22-1-2

10 м

1,879

2,4

-

0,56

-

Электросварщики 6 разр. -1, 5 - 1, 4 - 1, 3 - 1

0,14

21.

Электросварка плиты покрытия со стропильной фермой;

Е§22-1-2

10 м

5,48

2,4

-

1,64

-

Электросварщики 6 разр. -1, 5 - 1, 4 - 1, 3 - 1

0,41

22.

Электросварка стеновой панели с колонной

Е§22-1-2

10 м

27,68

3,2

-

11,1

-

Электросварщики 6 разр. -1, 5 - 1, 4 - 1, 3 - 1

2,8

23.

Антикоррозионное покрытие сварных соединений площадью до 0,01 вручнуюЕ§4-1-22, 210 стыков34,61,1-38,39-Монтажники 4 разр. - 1, 2 - 119,2











. Технико-экономическая оценка вариантов монтажных работ

На основе технико-экономической оценки вариантов монтажных работ выбирается оптимальный вариант.

Наиболее распространенным критерием эффективности одного из комплектов машин по сравнению с другими являются приведенные затраты Пз, тыс. р., в которых помимо стоимости монтажных работ, выполняемых этим комплектом, учитывается экономический эффект от окупаемости комплекта в течение определенного времени, который находится по формуле

, (15)

где См.р - стоимость монтажных работ, р.;

,15 - коэффициент эффективности по отрасли;

Кинв - инвентарная стоимость машины, р.;

То - время работы n-й машины на объекте, см.;

- среднестатистическое количество смен работы машины в году.

Стоимость монтажных работ, тыс. р., для каждого комплекта машин рассчитывается по формуле

(16)

где 1,08 - коэффициент, учитывающий накладные расходы на обеспечение административно-хозяйственного руководства, мелкий инвентарь, используемый при организации работы комплекта машин;

Сед - единовременные расходы на дополнительные работы (устройство подкрановых путей, временных дорог, ограждений, освещения и т. п.), р. В проекте их можно принять равными 2 % от прямых затрат, т. е. от стоимости работы комплекта машин

Смаш-см - стоимость машино-смены n-й машины, р.;

Зпл - заработная плата рабочих монтажного звена, работающего с n-й машиной комплекта, р.

Стоимость машино-смены n-й грузоподъемной машины для расчета можно взять среднестатистическую, подсчитанную с учетом времени работы этой машины на данном объекте по формуле

, (17)

где Е - единовременные затраты на транспортирование машин на объект, их монтаж и демонтаж, р.;

Г - годовые затраты на амортизационные отчисления, р.;

Сэ - эксплуатационные расходы на обслуживание машин, р.

Таблица 6 Исходные данные для расчета стоимости машино-смены

Тип крана

Е, р

Г, р.

Сэ, р.

Кинв., р.

1

2

3

4

5

ДЭК-401

2936

8117

27,14

73787

МКГ-25БР

128

4500

22,24

35800

КС 5363А

14,6

4450

32,88

32600


Суммарная заработная плата Зпл, р., определяется по формуле

 (18)

где Q - трудоемкость монтажа конструкций, осуществляемого работающим звеном по данным табл. 5, чел.-дн.;

С1 - тарифная ставка рабочего первого разряда, р./дн.;

Кт - средний тарифный коэффициент, определяемый для монтажного звена по ЕНиР и тарифной сетке из общей части ЕНиР.

Таблица


ДЭК-401

МКГ-25БР

КС 5363А

Т0

28,95

5,83

36,5


148,85

55,45

44,41


2941,6

1105,2

3549

Сед

86,2

6,5

32,4


9159,4

2013,9

7109,2


9960,5

2092,2

7555,4


Наиболее эффективным является комплект машин с наименьшими приведенными затратами стреловой самоходный гусеничный монтажный полноповоротный дизель-электрический кран МКГ - 25БР.

. Расчет состава комплексной бригады

На монтаже конструкций могут работать как специализированные, так и комплексные бригады. Процесс монтажа строительных конструкций состоит из нескольких операций, выполняемых исполнителями различного профиля и квалификации (например, монтажники, сварщики, плотники, бетонщики для заделки стыков, изолировщики и т. д.). Работу исполнителей можно организовать отдельными звеньями и совместить ее во времени и пространстве с составлением календарного плана. В строительстве за наименьшую единицу времени планирования принята смена. По технологическим и другим причинам не всегда возможно выделить рабочее место для отдельного звена на смену. Составляются и почасовые графики, но соблюсти их на практике очень сложно, поэтому чаще всего организуются бригады из исполнителей различного профиля, так называемые комплексные. Продолжительность производства комплекса работ, выполняемых бригадой, равна продолжительности работы ведущего монтажного средства. В монтажном процессе ведущим звеном являются монтажники, и по времени их работы - количеству машино-смен - устанавливается время работы сварщиков, бетонщиков и др. В случае, когда n-й монтажный кран устанавливает несколько различных конструкций с различными звеньями по ЕНиР, при формировании для него комплексной бригады расчет состава среднего монтажного звена Nсрмонт, чел., производится по формуле

 (19)

где Q - суммарная трудоемкость работы монтажников при установке всех конструкций, монтируемых n-м краном, чел.-дн.;- суммарное количество машино-смен, требуемое для установки этих конструкций (Q и M принимаем по данным табл. 5).

Формируем комплексную бригаду для крана ДЭК-401 по монтажу колонн. Так как бригада комплексная, то в нее включаются рабочие, выполняющие работы по сварке и заделке стыков, заливке швов и др. Эти рабочие должны выполнить свою работу за то же количество смен, что и ведущее звено монтажников.



Состав бригады: монтажники -бетонщики - 4 разр. - 1, 3 - 1;

монтажники - 5 разр. - 1, 3 - 1, 2 - 1

машинист крана 6 разр. - 1.

Формируем комплексную бригаду для крана ДЭК-401 по монтажу стропильных ферм и плит покрытия.





Состав бригады: бетонщик-плотник- 3 разр. - 1, 4 - 1;

монтажник 2 разр. - 1, 3 - 1;

монтажники-сварщики - 6 разр. - 1, 5 - 1, 4 - 1, 3 - 1,

Машинист крана 6 разр. - 1.

Для бетонщиков-плотников существует недозагруженность по нормам, необходимо запланировать загрузку дополнительными работами на 0,89*11,2=9,97 чел.-дн.

Для монтажника - 1,33*11,2=14,9 чел.-дн.

Формируем комплексную бригаду для крана МКГ-25БР по монтажу подкрановых балок, подстропильных ферм. В нее так же включаются рабочие, выполняющие работы по сварке и заделке стыков, заливке швов и др.





Состав бригады: бетонщик-плотник- 3 разр. - 1, 4 - 1;

монтажники-сварщики - 5 разр. - 1, 4 - 1, 3 - 1,

сварщик 6 разр. - 1.

монтажник 2 разр. - 1, 3 - 1;

Машинист крана 6 разр. - 1.

Для бетонщиков-плотников существует недозагруженность по нормам, необходимо запланировать загрузку дополнительными работами на 0,48*5,83=2,8 чел.-дн.

Для сварщика - 1*5,83=5,83 чел.-дн.

Формируем комплексную бригаду для крана КС 5363А по монтажу наружных стеновых панелей.






Состав бригады: бетонщики-плотники 4 разр. - 1

бетонщик-каменщик 3 разр. - 1

плотник 2 разр. - 1

монтажник 2 разр. - 1,

монтажники-сварщики - 5 разр. - 1, 4 - 1, 3 - 1,

сварщик 6 разр. - 1,

Машинист крана 6 разр. - 1.

Существует недозагруженность для сварщика по нормам, необходимо запланировать загрузку дополнительными работами на 0,7*36,5=25,55 чел.-дн.

. Календарный план

Календарный план отражает развитие монтажного процесса во времени и в пространстве и выполняется в виде линейного графика. Наименование работ или исходные данные (установка конструкций, заделка стыков, сварка и т. п.), объемы работ, трудоемкость, количество машино-смен, необходимых для монтажа конструкций, состав исполнителей принимаются в соответствии с табл. 5. Наименование (тип) кранов, количество кранов принимаются на основании предыдущих разделов по выбору крана; количество смен работы крана в сутки (1-3 смены) назначается в зависимости от продолжительности работы и возможностей производства. Продолжительность T, дн., рассчитывается по формуле

(20)

где Q - трудоемкость работ, чел.-дн.;- состав исполнителей на 1 смену, чел.;- количество смен исполнителей боты в сутки.

Календарный план представлен на листах графической части проекта.

. Техника безопасности

Все разработанные мероприятия по технике безопасности вместе с проектами производства работ, а также технологическими картами и другими документами находятся непосредственно на строительной площадке. Документация должна быть тщательно изучена машинистами монтажных машин и монтажниками, осуществляющими производство работ по реконструкции здания или сооружения.

ü  При выполнении монтажных работ необходимо строго соблюдать требования СНиП по охране труда в строительстве.

ü  К монтажным работам должны допускаться рабочие в возрасте от 18 до 60 лет.

ü  К верхолазным работам допускаются рабочие, проработавшие не менее одного года на монтажных работах и имеющие разряд не ниже третьего.

ü  Машинисты, сварщики, стропальщики, сигнальщики должны пройти специальное обучение и получить удостоверение.

ü  Все грузоподъемные машины (мачты, лебедки, люльки) должны иметь сертификат Гостехнадзора.

ü  Масса груза должна быть меньше грузоподъемности механизма (в противном случае подъем необходимо производить в два, три и более приемов).

ü  Для опасных зон в местах, над которыми происходит перемещение грузов грузоподъемными кранами, а также вблизи строящихся зданий или сооружений устанавливаются следующие границы (табл. 10).

Таблица 10 Границы опасной зоны

Высота возможного падения предмета, м

Границы опасной зоны, м


в местах, над которыми происходит перемещение грузов кранами (от горизонтальной проекции траектории перемещения максимальных габаритов груза в случае его падения)

вблизи строящегося здания или сооружения (от его внешнего периметра)

До 10

Св. 0 до 4

Св. 1,5 до 3,5

Св. 10 до 20

Св. 4 до 7

Св. 3,5 до 5

Св. 20 до 70

Св. 7 до 10

Св. 5 до 7


ü  При горизонтальном перемещении конструкции она должна быть поднята выше встречающихся на пути препятствий на 0,5 м.

ü  При ветре 10-12 м/с работы с применением крана запрещаются; необходимо установить стопорные устройства, препятствующие самопроизвольному движению крана.

ü  Все такелажные устройства перед работой в течение 10 мин испытываются нагрузкой в 1,25 раза больше предельной.

ü  Стропы испытываются нагрузкой, превышающей инвентарную грузоподъемность в 2 раза.

ü  Все такелажные устройства, подмости, стропы, а также ограждения, леса и подъемники должны быть инвентарными и иметь паспорта.

ü  Необходим каждодневный визуальный осмотр всех устройств.

ü  На объекте должны ограждаться все образующиеся в ходе строительства проемы.

ü  Если подмости выше 1 м, то они должны иметь поручни и отбойную доску.

ü  Необходимо удерживать конструкцию от раскачивания оттяжками.

ü  Запрещается передвигать конструкции после снятия захватных устройств.

ü  Временные связи, расчалки, кондукторы снимаются, когда стык наберет необходимый процент прочности (несущий стык - 70 %, ненесущий - 50 %).В монтажной зоне не должно быть посторонних рабочих.

ü  Запрещается переносить монтируемые констркции над людьми.

Заключение

В последнее время сборное строительство считается самой современной технологией возведения зданий и сооружений. Для жителей крупных городов России давно стало привычным. Но этот вид строительства требует к себе особого подхода - хорошо развитой индустриальной базы, высокого уровня технологий, чёткой организации управления.

При строительстве зданий и сооружений сроки строительства зависят от правильного составления графиков использования строительных машин в тесной увязке с процессом монтажа конструкций.

Внедрение современных технологий производства работ обеспечит хорошее качество возводимых конструкций, исключение аварийных ситуаций и непредвиденных материальных затрат.

Обеспечение технического регулирования параметров надёжности и безопасности строительных объектов вряд ли осуществимы без создания эффективной системы менеджмента качества, охватывающего все необходимые для строительного процесса ресурсы - организационные, материально - технические, методологические и другие.

Высокое качество работ при строительстве здания может быть достигнуто благодаря организации работ согласно разработанному проекту производства работ и тесному сотрудничеству с научно - исследовательскими организациями.

Список использованной литературы

1.   Возведение одноэтажного промышленного здания из сборных железобетонных элементов: Методические указания к выполнению курсового проекта по дисциплине «Технология возведения зданий и сооружений» для студентов специальностей 270102 - промышленное и гражданское строительство и 080502 - экономика и управление на предприятии строительства всех форм обучения / СПбГАСУ; Сост. А. Ф. Юдина. - СПб., 2007. - 56 с.

2.      Монтаж строительных конструкций стреловыми самоходными кранами: Методические указания к выполнению курсового проекта по дисциплине «Технология возведения зданий и сооружений» для студентов специальностей 290300 - промышленное и гражданское строительство (ПГС), 290500 - городское строительство и хозяйство (ГС) / СПбГАСУ; Сост.: Л.Д. Копанская, В.В. Верстов, А.Н. Егоров. - СПб., 1999. - 110 с.

.        Воронова Л.И. , Кузнецова Е. В. Монтаж строительных конструкций: Методические указания к курсовому проекту. - Оренбург: ГОУ ОГУ, 2004. - 83 c.

.        ЕНиР. Сборник Е4. Монтаж сборных и устройство монолитных железобетонных конструкций. Вып. 1. Здания и промышленные сооружения / Госстрой СССР. - М.: Стройиздат, 1987. - 64 с.

.        СНиП 12-03-2001. Безопасность труда в строительстве. Ч. 1. Общие положения. - М.: Госстрой СССР, 2001. - 62 с.

.        Технология возведения зданий и сооружений: учебник для вузов / В. И. Теличенко, А. А. Лапидус, О. М. Терентьев и др. - М.: Высш. шк., 2001. - 320 с.

.        Стреловые самоходные краны: Справочник / Сост. О.Н. Красавина, М.В. Неустроева, В.В. Васюхин и др. - Иванов. гос. арх.-строит. акад. Иваново 1998, 160 с.

Похожие работы на - Возведение одноэтажного производственного здания из сборного железобетона методом монтажа

 

Не нашли материал для своей работы?
Поможем написать уникальную работу
Без плагиата!
Без нейросетей!