Водоснабжение и водоотведение торгового комплекса в городе Санкт-Петербург
СОДЕРЖАНИЕ
водопровод напор расход гидравлический
Введение
. Определение
расчетных расходов воды
. Внутренний
водопровод холодной воды
.1 Выбор
системы и схемы внутреннего водопровода холодной воды
.2
Гидравлический расчет
.3 Подбор
устройств для измерения расходов воды
.4
Определение требуемого напора
. Внутренний
водопровод горячей воды
.1 Выбор
системы и схемы внутреннего водопроводагорячей воды
.2
Гидравлический расчет
.3 Расчет
водонагревателя
.4 Подбор
устройств для измерения расходов воды
.5 Определение
требуемого напора
. Внутренний
противопожарный водопровод
.1 Выбор
системы и схемы внутреннего противопожарного водопровода
.2
Определение параметров системы АУП
.3
Гидравлический расчет спринклерной системы
.4
Определение требуемого давления пожарного насоса
.5
Определение параметров системы внутреннего пожаротушения
.6
Гидравлический расчет пожарного трубопровода
.7
Определение требуемого напора
. Внутренняя
канализация
.1 Выбор
системы внутренней канализации
.2
Определение расчетных расходов
.3 Расчет
сети бытовой канализации
.4
Гидравлический расчет дворовой канализационной сети
. Внутренние
водостоки
.1 Описание
системы внутренних водостоков
.2 Расчет
внутренних водостоков
Список
литературы
Выпускная квалификационная работа выполнена в соответствии с нормативными
документами на основании выданного задания.
Проект "Водоснабжение и водоотведение торгового комплекса в городе
Санкт-Петербург" выполнен в соответствии с действующей нормативной
литературой:
СП 30.13330.2012 Актуализированная редакция СНиП 2.04.01-85*
"Внутренний водопровод и канализация зданий".
СП 10.13130.2009 «Системы противопожарной защиты. Внутренний
противопожарный водопровод.
Требования пожарной безопасности».
Внутренняя система объединенного хозяйственно-противопожарного водопровода.
Предусмотрена объединенная хоз-противопожарная система водоснабжения.
Запроектировано 2 ввода диаметром 350 мм. На вводах предусмотрены водомерные
узлы с крыльчатым водомером и электрическими задвижками диаметром 350 на
обводной линии. Включение которых происходит при нажатии пожарных пожарных
кранов в здании. Одновременно происходит включение пожарного насоса который
находится в техническом помещении подвала. Подающая магистраль прокладывается
за подвесным потолком первого этажа на отм. +4,500 м.
Система горячего водоснабжения.
Приготовление горячей воды предусматривается в ИТП, который установлен в
подвале. Схема присоединения водонагревателя - одноступенчатая. Подобран
скоростной водонагреватель 01 ОСТ34-588-68, ТУ-400-28-429-82. Водоснабжение ИТП
предусматривается от городской сети. Учет расхода горячей воды
предусматривается в ИТП. Установлены счетчики на подающем трубопроводе ВК-32
крыльчатый, на циркуляционном - крыльчатый ВСГ-20. Температура горячей воды 65.
Система водоснабжения запроектирована: из стальных оцинкованных труб (ГОСТ
3262-75) - магистрали, стояки, подводки к сан. приборам.
Внутренние сети горячего водоснабжения жилого дома выполнены в виде
секционных узлов. Система принята с нижней разводкой за подвесным потолком
первого этажа на отм. +4,500. При пересечении плит перекрытия трубы системы
водоснабжения заключить в гильзы, выступающие от перекрытия на 20-30 мм. В
верхних точках трубопроводов системы горячего водоснабжения предусматриваются
устройства для выпуска воздуха. В нижних точках спуск воды производится через
спускники у основания стояков. Магистральные сети водоснабжения прокладываются
с уклоном 0,002.
Противопожарные мероприятия.
Согласно таблице 1 СП 10.13130.200 расход на внутреннее пожаротушение
принимаем 2 струи по 2,5 л/с. Для внутреннего пожаротушения в здании
запроектированы пожарные краны ПК. На вводе предусмотрен общедомовой водомерный
узел с электрозадвижкой диаметром 350 мм на обводной линии, включение которой
происходит при нажатии кнопок у пожарных кранов. Одновременно происходит
включение пожарных насосов. Для поливки территории предусматривается установка
поливочных кранов по периметру здания. Для возможного отключения участков сети
на магистральных трубопроводах, в основании стояков и на ответвлении труб
устанавливаются вентили. Запроектирована спринклерная система пожаротушения для
двух этажей. Марка оросителя СВГ-12. Для обеспечения необходимого напора в
системе установлены насосы "Grundfos" NK 250-500/525 один рабочий и
один резервный.
Бытовая канализация.
Внутреняя система канализации предусмотрена из поливиниллхлоридных труб
ПВХ ГОСТ 22689.20-77. На чердаке предусматривается переход в вытяжной стояк.
Чердак "теплный", расчетная температура +10. При прохождении через
наружную стену на выпуске канализации предусматривается узел герметезации по
серии 5.905-26.08 "Уплотнение выпуска канализации в цокольных (подвальных)
этажах зданий. Выпуски канализации диаметром 110 заключены в стальные гильзы
ГОСТ 10704-91. Пространство между рабочей трубой и гильзой заполняется цементным
раствором.
Ливневая канализация.
Для отвода дождевых и талых вод с кровли здания предусматривается
установка сисетмы внутренних водостоков с выпуском на отмостку здания. Сети К2,
проходящие по чердаку, покрываются теплоизоляцией марки Тermaflex FRZ толщиной
30мм.
Монтаж внутренних сетей выполнить строго по проекту при соблюдении
техники безопасности согласно СП 30.13330.2012 и при наличии гигеинических
сертификатов на все применяемые материалы. Испытания систем проводить в
соответсвии СП 30.13330.2012.
. Определение расчетных расходов воды
Расчетные средние суточные расходы воды, м3/сут,
для j-го расчетного участка системы водопровода определяются по формулам
(1.1), (1.2), (1-3) согл. [1]:
Холодной:
(1.1)
Горячей:
(1.2)
общий (суммарно - холодной и горячей воды):
(1.3)
где i - потребители, к которым вода поступает
по j-му расчетному участку сети водопровода;
,
,
- расчетные средние суточные
расходы воды (холодной, горячей, общий) для различных видов потребителей,
определяются по таблицам А2 и A3 приложения А[1]
Для каждой группы однородных (одинаковых) потребителей
QTопределяется по формуле:
QT=(qu*U)/1000 (1.4)
где qu- расчетный (удельный) средний за год суточный
расход воды на одного потребителя (л/сут. на потребителя), принимаемая по
таблицам А2 и A3 приложения А [1];
U - число водопотребителей в здании или сооружении.
Поперсоналу (U=28чел/день):
QT1c=12*28/1000=0,34м3/сут
QT1h=8*28/1000=0,22м3/сут
QT1tot=20*28/1000=0,56м3/сут
По посетителям (U=1500 чел/день):
QT2c=5*1500/1000=7,5м3/сут
QT2h=3*1500/1000=4,5м3/сут
QT2tot=8*1500/1000=12м3/сут
По производству (U=450блюд/день)
QT3c=8*450/1000=3,6м3/сут
QT3h=4*450/1000=1,8м3/сут
QT3tot=12*450/1000=5,4м3/сут
Общий:
∑QTc=QT2c +QT3c +QT4c=0,34+3,6+7,5=11,44м3/сут
∑QTh=QT1h +QT2h +QT3h=0,22+1,8+4,5=6,52м3/сут
∑QTtot=QT1tot
+ QT2tot + QT3tot=0,56+5,4+12=17,96м3/сут
Расчетные средние часовые расходы воды, м3/ч,
для j-го расчетного участка системы водопровода определяются по
формуламсогл. [1]:
Холодной qсTi= QсTi/T (1.5)
Горячей qhTi= QhTi/T (1.6)
Общий qtotTi= QtotTi/T (1.7)
где QTi- расчетный средний суточный
расходы воды, м3/сут;
T - время работы торгового центра, ч. (Т=10 ч)
По персоналу:сT1=0,34/10=0,03
м3/чhT1=0,22/10=0,022 м3/чtotT1=0,56/10=0,06 м3/ч
По посетителям:сT2=7,5/10=0,75
м3/чhT2=4,5/10=0,45 м3/чtotT2=12/10=1,2 м3/ч
По производству:
qсT3=3,6/10=0,36 м3/чhT3=1,8/10=0,18 м3/чtotT3=5,4/10=0,54 м3/ч
Общий:
∑qс=qсT1+ qсT2+
qсT3=0,03+0,36+0,75=1,14м3/ч
∑qh=qhT1+ qhT2+ qhT3=0,22+0,18+0,45=0,65м3/ч
∑qtot=qtotT1+ qtotT2+ qtotT3=0,06+0,54+1,2=1,80 м3/ч
Средние расчетные часовые расходы воды, л/ч,
определяются по формулам:
Холодной Qci=qсTi*1000/Ni (1.8)
Горячей Qhi=qhTi*1000/Ni (1.9)
Общий Qtoti=qtotTi*1000/Ni (1.10)
где qTi- расчетные средние часовые
расходы воды, м3/ч, для j-го расчетного участка системы
водопровода
N - количество приборов
По персоналу(Ntot=14;Nс=14;Nh=8):
Qс1=0,03*1000/14=2,4
л/ч
Qh1=0,022*1000/8=2,8 л/ч
Qtot1=0,056*1000/14=4 л/ч
По посетителям (Ntot=15;Nс=15;Nh=8):
Qс2=0,75*1000/15=50
л/ч
Qh2=0,45*1000/8=56,25 л/ч
Qtot2=1,2*1000/15=80 л/ч
По производству (Ntot=9;Nс=9;Nh=8):
Qс3=0,36*1000/9=40
л/ч
Qh3=0,18*1000/8=22,5 л/ч
Qtot3=0,54*1000/9=60 л/ч
Общий:
∑Qс=1,14*1000/38=30,09 л/ч
∑Qh=0,65*1000/24=27,18 л/ч
∑Qtot=1,8*1000/38=47,26 л/ч
В соответствии с таблицей А.4 Приложения А [2]
оканчателые значения расчетных максимально часовых qhr (м3/ч) и максимально
секундных q (л/с) расходов воды находим путей интерполяции в зависимости от
средних часовых расходов (л/ч) и количества приборов.
По персоналу:сhr1=0,258 м3/чhhr1=0,273 м3/чtothr1=0,0,56 м3/чс1=0,174 л/сh1=0,217 л/сtot1=0,0,38 л/с
По посетителям:сhr2=2,065 м3/чhhr2=1,713 м3/чtothr2=2,985 м3/чс2=1,255 л/сh2=1,305 л/сtot2=1,76 л/с
По производству:
qсhr3=1,33 м3/чhhr3=1,43 м3/чtothr3=1,89 м3/чс3=0,98 л/сh3=0,918 л/сtot3=1,37 л/с
Общий:
∑qсhr=2,98м3/ч
∑qhhr=2,49м3/ч
∑qtothr=4,55 м3/ч
∑qс= 1,51л/с
∑qh= 1,46л/с
∑qtot= 2,29л/с
Расчетные минимальные часовые расходы холодной и
горячей воды, м3/ч, определяются по формуле
hr min = qT×Kmin (1.11)
где Кmin - принимается по таблице 1
[2] в зависимости от величины
Kmax=qhr/qT (1.12)
Где qhr - расчетные максимальные часовые, м3/ч;
qt - расчетные средние часовые расходы
воды, м3/ч
По персоналу:
Kmaxс1=0,258/0,03=7,68; Kminс1=0,04
Kmaxh1=0,273/0,02=12,19; Kminh1=0,04
Kmaxtot1=0,56/0,056=10;
Kmintot1=0,04сhr,min1=0,03*0,04=0,0013л/сhhr,min1=0,02*0,04=0,0008л/с
qtothr,min1=0,056*0,04=0,0022л/с
По посетителям:
Kmaxс2=2,065/0,75=2,753; Kminс2=0,0696
Kmaxh2=1,713/0,45=3,81; Kminh2=0,04
Kmaxtot2=2,985/1,2=2,488; Kmintot2=0,102
qсhr,min2=0,75*0,0696=0,052л/с
qhhr,min2=0,45*0,04=0,018л/с
qtothr,min2=1,2*0,102=0,122л/с
По производству:
Kmaxс3=1,33/0,36=3,694; Kminс3=0,04
Kmaxh3=1,43/0,18=7,944; Kminh3=0,04
Kmaxtot3=1,89/0,54=3,5; Kmintot3=0,04
qсhr,min3=0,36*0,04=0,014л/с
qhhr,min3=0,18*0,04=0,0072л/с
qtothr,min3=0,54*0,04=0,0216л/с
Общий:
∑Kmaxс=2,978/1,14=2,604;
∑Kminс=0,088
∑Kmaxh=2,492/0,652=4,39; Kminh=0,04
∑Kmaxtot=4,554/1,796=2,536; ∑Kmintot=0,096
∑qсhr,min=1,14*0,088=0,100л/с
∑qhhr,min=0,652*0,04=0,0261л/с
∑qtothr,min=1,796*0,096=0,1724л/с
Расчетные максимальные суточные расходы воды (м3/сут)
в сетях водопроводов холодной и горячей воды определяются по формуле:
Qmax.сут=QT*Kd
(1.13)
Где QT - расчетный средний суточный расход воды, м3/сут
Kd - коэффициент максимальной суточной
неравномерности, принимаемый по таблице А.5 приложения А [2].
По персоналу:
Qсмакс.сут1=0,36*1,77=0,595 м3/сут
Qhмакс.сут1=0,224*1,77=0,396 м3/сут
Qtotмакс.сут1=0,56*1,77=0,991 м3/сут
По посетителям:
Qсмакс.сут2=7,5*1,17=8,775 м3/сут
Qhмакс.сут2=4,5*1,17=5,265 м3/сут
Qtotмакс.сут2=12*1,17=14,04 м3/сут
По производству:
Qсмакс.сут3=3,6*1,17=4,212 м3/сут
Qhмакс.сут3=1,8*1,41=2,538 м3/сут
Qtotмакс.сут3=5,4*1,17=6,318 м3/сут
Общий:
∑Qсмакс.сут=11,436*1,41=16,123 м3/сут
∑Qhмакс.сут=6,524*1,41=9,199 м3/сут
∑Qtotмакс.сут=17,96*1,17=21,013 м3/сут
2. Внутренний водопровод холодной воды
2.1 Выбор системы и схемы внутреннего водопровода холодной
воды
Схема сети - тупиковая, с верхней разводкой магистрали. Магистраль
располагается на первом этаже за подвесным на отметке +4,500 от уровня чистого
пола с уклоном 0,002 в сторону ввода. Разводки к санитарно-техническим приборам
пролагаются в санузлах открыто на высоте 0,2 м от пола. Приборы подключаются к
сети при помощи гибких шлангов диаметром 15 мм.
Водопроводная
сеть в здании монтируется из стальных водогазопроводных оцинкованных труб по
ГОСТ 3262-75*, dу=25-
50мм.
Магистраль
прокладывается диаметром трубопроводов 50 и 40 мм ГОСТ 3262-75 за подвесным
потолком первого этажа на отметке 4,500 м и крепится с помощью подвесок
хомутовых типа ПГ, ГОСТ 16127-78.
К магистральному трубопроводу предусматривается подключение поливочных
кранов условным диаметром 25мм, устанавливаемых в нишах наружных стен..
Ответвление к поливочному крану снабжается запорным вентилем и тройником с
пробкой на случай отключения крана на зимнее время года. В основании всех
стояков устанавливаются сливные вентили на случай необходимости слива воды из
стояка.
Для учета расхода воды на вводе устанавливают крыльчатый счетчик типа ВСХ
на высоте 1,0 м от пола первого этажа и оборудуется фильтром типа ФММ-40,
крыльчатым счетчиком типа ВСХ-40, обводной линией.. Также на вводах
устанавливается обратный клапан и спускное устройство.
В здании предусмотрено подключение трех поливочных кранов диаметром 25мм
на отметке 0,000.
В подвале трубопроводы изолируются, используется теплоизоляция ThermacompactIS (S), толщина изоляции 6 мм. Для устройства ввода применяются
стальные электросварные трубы d=355,6х4мм
ГОСТ 10704-91, которые прокладываются с минимальным уклоном от здания 0,002 и
глубиной заложения 2,1м. На вводе в здание устанавливается водомерный узел на
отметке 1,000.
2.2 Гидравлический расчёт
Гидравлический расчёт выполняется для системы холодного водоснабжения.
Устанавливается расчётное направление от ввода до наиболее удалённой и
высокорасположенной водоразборной точки, вычерчивается расчётная схема
(Приложение 1). Расчет сети производится на максимальную нагрузку системы, т.е.
на момент наибольшего водопотребления при условии обеспечения требуемого
напора. Гидравлический расчет сетей водопроводов холодной воды необходимо
производить по максимальным секундным расходам воды. Гидравлический расчет
водопроводов холодной воды включает: определение расчетных расходов воды,
подбор диаметров подающих трубопроводов, кольцующих перемычек и стояков, потерь
давления и установления нормируемого свободного напора у контрольных точек
водоразбора.
Последовательность гидравлического расчета внутренней водопроводной сети
принимается следующей:
. Устанавливается расчетное направление от ввода до наиболее удаленной и
высокорасположенной водоразборной точки, которая называется диктующей
(контрольной) и для которой сумма гидравлических потерь будет наибольшей.
. Вычерчивается расчетная схема водопроводной сети, намечаются расчетные
участки, которые заключаются между двумя ответвлениями, то есть участок, на
котором расчетный расход постоянный. На расчетной схеме проставляются номера
расчетных участков и их длины, определяется для каждого участка число приборов,
в соответствии с планами типового этажа и подвала, а также аксонометрической
схемой.
. Гидравлический расчет рекомендуется выполнять в виде таблицы.
. По среднечасовому расходу и числу приборов N находятся расчетный
максимальный секундный расход воды для расчетных участков сетей водопровода по
таблице А.4 приложения А [2].
. Определяется расчетный расход воды для каждого участка, по которому,
пользуясь табл. 2.3, подбирается диаметр участка сети, скорость движения воды
на участке, удельные потери i . Следует иметь в виду, что скорость движения
воды в трубах рекомендуется в пределах 0,7…1,2 м/с и недолжна превышать 1,5 м/с
в соответствии с п. 5.5.6 [1].
. В соответствии с [5] по табл. 2.3 определяются потери напора на
расчетных участках, сумма которых будет определять ΣНL - потери напора на трение по
расчетному направлению. Весь гидравлический расчёт сводится в таблицу 2.1.
Таблица 2.1 Гидравлический расчет холодного водоснабжения
|
Номера расчетных участков
|
Число приборов N
|
qT/N, л/ч
|
q, л/с
|
Ø, мм
|
Скорость движения воды, м/с
|
Длина участка L, м
|
Потери напора, м
|
|
|
|
|
|
|
|
На 1м i
|
На участке iL
|
|
1-2
|
1
|
30,095
|
0,63
|
25
|
1,18
|
0,99
|
0,172
|
0,17
|
|
2-3
|
2
|
|
0,65
|
25
|
1,22
|
0,55
|
0,183
|
0,10
|
|
3-4
|
3
|
|
0,68
|
32
|
0,71
|
7,8
|
0,046
|
0,36
|
|
4-5
|
5
|
|
0,75
|
32
|
0,79
|
7,4
|
0,055
|
0,41
|
|
5-6
|
6
|
|
0,78
|
32
|
0,82
|
0,44
|
0,059
|
0,03
|
|
6-7
|
9
|
|
0,87
|
32
|
0,91
|
1,56
|
0,073
|
0,11
|
|
7-8
|
17
|
|
1,08
|
40
|
0,86
|
0,7
|
0,054
|
0,04
|
|
8-9
|
24
|
|
1,23
|
50
|
0,58
|
59
|
0,019
|
1,11
|
|
9-10
|
38
|
|
1,51
|
50
|
0,71
|
43,7
|
0,028
|
1,22
|
|
10-11
|
38
|
47,26
|
1,88
|
50
|
0,89
|
28,6
|
0,060
|
1,71
|
|
ƩHl=
|
5,26
|
|
Ввод
|
38
|
47,26
|
1,88
|
100
|
0,27
|
93
|
0,001
|
0,09
|
2.3 Подбор устройств для измерения расхода воды
Счетчик на вводе в здание подбирается на максимальный секундный расход qtot=2,29 л/с.
Изначально принимается счетчик d=20 мм в соответствии с таблицей 3 [1]
Cчетчик
с предварительно принятым диаметром условного прохода надлежить проверять:
· на пропуск расчетного максимального секундного расхода; при
этом потери давления (напора) в счетчиках холодной воды не должны превышать для
крыльчатых счетчиков 0,05 МПа (5 м), а для турбинных 0,025
МПа (2,5 м);
· на возможность измерения расчетных минимальных часовых
расходов воды холодной и горячей воды; при этом минимальный расход воды для
выбранного счетчика (по паспорту прибора в зависимости от метрологического
класса) не должен превышать расчетный минимальный часовой
Для крыльчатого счетчика с диаметром условного прохода 20 мм минимальный
расход воды 0,025 м3/ч, максимальный - 5 м3/ч=1,39л/с, а поскольку расчетный
максимальный секундный расход2,29 л/с, следовательно, условие не выполняется,
необходимо увеличить диаметр условного прохода.
Принимается крыльчатый счетчик с диаметром условного прохода d=40мм. Для данного счетчика
минимальный расход воды 0,16 м3/ч, а максимальный =10 м3/ч=2,78 л/с, что больше
2,29 л/с, следовательно, условие выполняется.
Подобранный счетчик проверяют на пропуск минимального расчетного расхода
и на потери напора.
Расчетный минимальный часовой расход qhr,mintot=0,172 м3/ч, что не меньше, чем
предел чувствительности счетчика 0,08 м3/ч, следовательно, условие выполняется.
Тогда потери напора в счетчике определяются по формуле (2.1) в
соответствии с [1]:
=S*q2 (2.1)
где q = 2,29 л/с - расчетный расход воды (максимальный секундный);= 0,5
м/(л/с)2 - гидравлическое сопротивление счетчика диаметром 40 мм;
h=0,5*2,292=2,62
м
,62 меньше 5 м, следовательно, окончательно принимается счетчик
крыльчатыйd=40 мм типа ВК-40.
2.4 Определение требуемого напора
Требуемый напор на вводе в здание определяется по формуле (2.2) в
соответствии [1]:
(2.2)
Нгеом - геометрическая высота подачи воды, м Нгеом=21,77-10,067=10,703
м;
Нвв- потери напора на вводе в водопровод, Нвв=0,09
м;
Нву- потери напора в водомерном узле, Нву=2,62м;
(1 + Kl)*Hl - сумма потерь напора по расчётному
направлению с учётом потерь на местные сопротивления в арматуре и фасонных
частях (Kl = 0,3 - для жилых зданий в
соответствии [7])
(1 + Kl)*Hl=(1+0,3)*5,26=6,84 м
Hf- свободный напор перед диктующей водоразборной точкой,Hf=2м.
Hтр=10,703+0,09+6,84+2,62+2=22,25 м
Гарантированный напор в сети Нгар. =40м , а требуемый напор в
здании
Нтр=22,25м, т.е. Нгар больше Нтр,
следовательно, дополнительная установка насосов не требуется.
3. Внутренний водопровод горячей воды
3.1 Выбор системы и схемы внутреннего водопровода горячей
воды
Система горячего водоснабжения здания предусматривается закрытая c нижней
разводкой, с приготовлением горячей воды в индивидуальном тепловом пункте,
который находится в подвале.
Ввод выполнен в канале теплосети из стальных водогазопроводных
оцинкованных труб dу=70 мм, ГОСТ 3262-75*.
Трубы ввода укладываются в железобетонные лотки Л4-8/2, серия
3.006.1-2.87.1 (длина 2970мм, ширина 780мм, высота 530мм, масса 0,9т, объем
0,36м3), глубина заложения ввода 1,30м.
На вводе предусмотрены водомерные узлы.. Для учета количества воды
приняты: на подающем трубопроводе счетчик типа ВСГ-32; на циркуляционном
водопроводе счетчик типа ВСГ-20.
Система горячего водоснабжения запроектирована из стальных
водогазопроводных оцинкованных труб dу=32
50мм, ГОСТ 3262-75*. Прокладка
трубопровода принята открытым способом.
Магистральный трубопровод прокладывается за подвесным потолком на отм.
4,500 м, крепится с помощью подвесок типа ПГ, ГОСТ 16127-78.
Схема системы горячего водоснабжения однотрубная с закольцованными
магистральными трубопроводами. Преимущество такой системы заключается в ее
простоте и повышенной гидравлической устойчивостью. Подводки к
санитарно-техническим приборам прокладываются, открыто на высоте 0,24 м. от
пола. Трубы систем горячего водоснабжения, в местах их пересечения с
перекрытиями следует заключать в гильзы, которые выпускают выше чистого пола на
20-30мм.
Арматура на сети:
задвижки, устанавливаемые на вводе трубопровода, после водомерного узла,
в основаниях подающих стояков, на кольцующих перемычках;
латунные вентили;
сливные краны;
смесители.
На водомерных узлах устанавливаются фильтры типа ФММ-40.
Все трубопроводы в пределах подвала покрываются трехслойной тепловая
изоляция трубопровода, толщиной 9 мм.
первый слой: масляная краска МА-15, ГОСТ 10503-71;
второй слой: трубная изоляция Termaflex FRZ из вспененного полиэтилена,
ТУ 5768-003-70446861-2009;
третий слой: лакостеклотаканьпокровная, ТУ 2296-12-05758799-2003.
Приготовление горячей воды предусматривается индивидуальном тепловом
пункте, где предусмотрен скоростной водонагреватель 01 ОСТ34-588-68, ТУ
400-28-429-82 (характеристики приведены в пункте 3.3), который оборудуется
регулятором температуры типа 43-1, ТУ 25-02.090123-81, dу=50мм, обеспечивающим
автоматическое отключение водонагревателя при достижении расчётной температуры
воды.
Схема присоединения водонагревателей горячего водоснабжения -
одноступенчатая. Схема подключения изображена на рисунке 1.
Рисунок 1. Одноступенчатая схема присоединения водонагревателей:
3.2 Гидравлический расчёт
Устанавливается расчётное направление от ввода до наиболее удалённой и
высокорасположенной водоразборной точки, вычерчивается расчётная схема
(Приложение 2). Определяется расчётный расход воды для каждого участка,
подбирается диаметр, скорость движения воды на участке, удельные потери i, определяются потери напора на
расчётных участках и общие потери с учётом коэффициента Kl, который учитывает потери напора в
местных сопротивлениях. Предварительный гидравлический расчёт сводится в
таблицу 4.1.
Таблица 3.1 Предварительный гидравлический расчет горячего водоснабжения.
|
Номера расчетных участков
|
Число приборов N
|
qT/N, л/ч
|
q, л/с
|
Ø, мм
|
Скорость движения воды, м/с
|
Длина участка L, м
|
Потери напора, м
|
|
|
|
|
|
|
|
На 1м i
|
На участке iL
|
Kl
|
Htot=i*L(1+Ki)
|
|
1-2
|
1
|
27,18
|
0,77
|
32
|
0,98
|
0,91
|
0,092
|
0,08
|
0,2
|
0,10
|
|
2-3
|
2
|
|
0,80
|
32
|
1,00
|
0,55
|
0,097
|
0,05
|
0,2
|
0,06
|
|
3-4
|
3
|
|
0,84
|
40
|
0,79
|
0,50
|
0,048
|
0,02
|
0,2
|
0,03
|
|
4-5
|
3
|
|
0,84
|
40
|
0,79
|
4,26
|
0,048
|
0,21
|
0,1
|
0,23
|
|
5-6
|
3
|
|
0,84
|
40
|
0,79
|
3,80
|
0,048
|
0,18
|
0,2
|
0,22
|
|
6-7
|
5
|
|
0,91
|
40
|
0,86
|
4,00
|
0,057
|
0,23
|
0,2
|
0,27
|
|
7-8
|
5
|
|
0,91
|
40
|
0,86
|
4,26
|
0,057
|
0,24
|
0,1
|
0,27
|
|
8-9
|
8
|
|
1,02
|
40
|
0,97
|
1,14
|
0,072
|
0,08
|
0,1
|
0,09
|
|
9-10
|
16
|
|
1,26
|
40
|
1,19
|
58,20
|
0,110
|
6,37
|
0,2
|
7,65
|
|
10-11
|
24
|
|
1,46
|
40
|
1,37
|
21,10
|
0,148
|
3,12
|
0,2
|
3,74
|
|
11-12
|
24
|
|
1,46
|
40
|
1,37
|
2,30
|
0,148
|
0,34
|
0,1
|
0,37
|
|
12-13
|
24
|
|
1,46
|
40
|
1,37
|
19,00
|
0,148
|
2,81
|
0,2
|
3,37
|
|
13-14
|
24
|
|
1,46
|
40
|
1,37
|
2,20
|
0,148
|
0,32
|
0,1
|
0,36
|
|
∑
|
16,76
|
Определение расхода циркуляционной воды проводится по количеству тепла,
необходимого для возмещения теплопотерь в подающих и циркуляционных
трубопроводах вследствие их охлаждения. Расчет потерь тепла подающими и
циркуляционными трубопроводами сводится в табл. 3.2, расчетная схема
представлена в приложении 3.
Таблица 3.2 Расчет потерь тепла трубопроводами Т3, Т4.
|
Участки
|
Условный диаметр, мм
|
Длина участка, м
|
Количество участков
|
Теплопотери
|
|
|
|
|
Удельные теплопотери
трубопровода, Вт/м
|
Теплопотери на участке, Вт.
|
Суммарные теплопотери, Вт.
|
|
1
|
2
|
3
|
4
|
5
|
6
|
7
|
|
Подающий Ст. Т3-1
|
|
1-2
|
32
|
0,91
|
1
|
42,57
|
38,73
|
3046,32
|
|
2-3
|
32
|
0,56
|
1
|
42,57
|
23,84
|
|
|
2-4
|
32
|
0,50
|
1
|
42,57
|
21,28
|
|
|
4-5
|
32
|
0,56
|
1
|
42,57
|
23,84
|
|
|
6-7
|
32
|
0,91
|
1
|
42,57
|
38,73
|
|
|
7-8
|
32
|
0,56
|
1
|
42,57
|
23,84
|
|
|
7-14
|
40
|
8,60
|
1
|
50,01
|
430,08
|
|
|
4-14
|
40
|
8,60
|
1
|
50,01
|
430,08
|
|
|
14-15
|
40
|
4,00
|
1
|
50,01
|
200,04
|
|
|
8-9
|
32
|
1,76
|
1
|
42,57
|
74,92
|
|
|
9-10
|
32
|
0,56
|
1
|
42,57
|
23,84
|
|
|
11-12
|
32
|
0,55
|
1
|
42,57
|
23,41
|
|
|
9-12
|
32
|
2,20
|
1
|
42,57
|
93,64
|
|
|
12-13
|
32
|
0,50
|
1
|
42,57
|
21,28
|
|
|
16-17
|
32
|
0,91
|
1
|
42,57
|
38,73
|
|
|
18-17
|
32
|
0,56
|
1
|
42,57
|
23,84
|
|
|
17-19
|
32
|
0,50
|
1
|
42,57
|
21,28
|
|
|
20-19
|
32
|
0,56
|
1
|
42,57
|
23,84
|
|
|
19-21
|
32
|
0,50
|
1
|
42,57
|
21,28
|
|
|
21-22
|
32
|
0,56
|
1
|
42,57
|
23,84
|
|
|
21-30
|
40
|
6,36
|
1
|
50,01
|
318,06
|
|
|
23-25
|
32
|
0,91
|
1
|
42,57
|
38,73
|
|
|
24-25
|
32
|
0,56
|
1
|
42,57
|
23,84
|
|
|
25-27
|
32
|
1,20
|
1
|
42,57
|
51,08
|
|
|
26-27
|
32
|
0,56
|
1
|
42,57
|
23,84
|
|
|
27-29
|
32
|
0,55
|
1
|
42,57
|
23,41
|
|
|
28-29
|
32
|
0,56
|
1
|
42,57
|
23,84
|
|
|
29-30
|
40
|
4,96
|
1
|
50,01
|
248,04
|
|
|
30-31
|
40
|
3,80
|
1
|
50,01
|
190,03
|
|
|
1
|
2
|
3
|
4
|
5
|
6
|
7
|
|
15-13
|
40
|
1
|
50,01
|
213,04
|
|
|
13-31
|
40
|
1,14
|
1
|
50,01
|
57,01
|
|
|
31-48
|
40
|
4,30
|
1
|
50,01
|
215,04
|
|
|
Подающий Ст. Т3-2
|
|
32-33
|
32
|
0,91
|
1
|
42,57
|
38,73
|
1227,13
|
|
33-34
|
32
|
0,56
|
1
|
42,57
|
23,84
|
|
|
35-36
|
32
|
0,91
|
1
|
42,57
|
38,73
|
|
|
36-37
|
32
|
0,56
|
1
|
42,57
|
23,84
|
|
|
36-38
|
32
|
0,5
|
1
|
42,57
|
21,28
|
|
|
38-39
|
32
|
0,56
|
1
|
42,57
|
23,84
|
|
|
33-40
|
40
|
1,2
|
1
|
50,01
|
60,01
|
|
|
38-40
|
40
|
0,5
|
1
|
50,01
|
25,00
|
|
|
41-43
|
32
|
0,91
|
1
|
42,57
|
38,73
|
|
|
42-43
|
32
|
0,56
|
1
|
42,57
|
23,84
|
|
|
43-45
|
32
|
0,5
|
1
|
42,57
|
21,28
|
|
|
44-45
|
32
|
0,56
|
1
|
42,57
|
23,84
|
|
|
40-46
|
40
|
6,3
|
1
|
50,01
|
315,06
|
|
|
45-46
|
40
|
3,70
|
1
|
50,01
|
185,03
|
|
|
46-47
|
40
|
4,00
|
1
|
50,01
|
200,04
|
|
|
47-59
|
40
|
1,28
|
1
|
50,01
|
64,01
|
|
|
59-60
|
40
|
1,70
|
1
|
50,01
|
85,02
|
|
|
60-49
|
40
|
0,30
|
1
|
50,01
|
15,00
|
|
|
Магистраль Т3
|
|
48-49
|
40
|
53,9
|
1
|
16,05
|
865,10
|
1580,93
|
|
49-50
|
40
|
21,1
|
1
|
16,05
|
338,66
|
|
|
50-51
|
40
|
2,3
|
1
|
16,05
|
36,92
|
|
|
51-52
|
40
|
19
|
1
|
16,05
|
304,95
|
|
|
52-53
|
40
|
2,2
|
1
|
16,05
|
35,31
|
|
|
Магистраль Т4
|
|
48-54
|
40
|
0,3
|
1
|
16,05
|
4,82
|
1585,74
|
|
54-55
|
40
|
75
|
1
|
16,05
|
1203,75
|
|
|
55-56
|
40
|
2,3
|
1
|
16,05
|
36,92
|
|
|
56-57
|
40
|
19
|
1
|
16,05
|
304,95
|
|
|
57-58
|
40
|
2,2
|
1
|
16,05
|
35,31
|
|
|
|
|
|
|
|
|
|
|
|
|
|
Сумма потерь тепла распределительными и подающими трубопроводами в здании
равная сумме потерь на стояках и магистралях:
∑Qht=QСтТ3-1+ QСтТ3-2+ QМагистральТ3+
QМагистральТ4
∑Qht=3046,32+1227,13+1580,93+1585,74=7440,11 Вт=7,44 кВт
При проведении окончательного гидравлического расчёта определяется
циркуляционный расход по формуле (3.1):
(3.1)
Где
Qht - теплопотери трубопроводами горячего водоснабжения,
кВт.
t - разность
температур в подающих трубопроводах системы от водонагревателя до наиболее
удалённой водоразборной точки, 0С. t=100С
В
- коэффициент разрегулировки циркуляции. B=1
Согласно
п. 5.6.2 [1] подбор диаметров подающих трубопроводов сетей горячего
водоснабжения в режиме водоразбора следует выполнять при расчетном максимальном
секундном расходе горячей воды с коэффициентом Кцирк, учитывающим остаточный
циркуляционный расход в режиме водоразбора.
Коэффициент
Кцирк следует принимать:
,1
- для водонагревателей и участков подающих трубопроводов сетей горячего
водоснабжения до последнего водоразборного узла главной расчетной ветви;1,0 -
для остальных участков подающих трубопроводов.
Таблица 3.3 Окончательный гидравлический расчет.
|
Участок
|
Длина участка, м
|
Qht, кВт
|
Циркуляционный расход, л/с
|
Диаметр, мм
|
Скорость движения воды, м/с
|
Потери напора, м
|
|
|
|
|
|
|
На 1 м i
|
Потери напора, м
|
Кl
|
Потери напора с учетом
коэффициента зарастания, м
|
|
1
|
2
|
3
|
4
|
5
|
6
|
7
|
8
|
9
|
10
|
|
Расчет кольца
|
|
|
Подающие
|
|
|
52-53
|
2,2
|
7,44
|
0,177
|
40
|
0,17
|
0,002
|
0,004
|
0,1
|
0,005
|
|
51-52
|
19,0
|
7,37
|
0,175
|
40
|
0,16
|
0,002
|
0,038
|
0,2
|
0,046
|
|
50-51
|
2,3
|
6,76
|
0,161
|
40
|
0,15
|
0,002
|
0,005
|
0,1
|
0,005
|
|
49-50
|
21,1
|
6,69
|
0,159
|
40
|
0,15
|
0,0016
|
0,034
|
0,2
|
0,041
|
|
1
|
2
|
3
|
4
|
5
|
6
|
7
|
8
|
9
|
10
|
|
48-49
|
53,9
|
5,14
|
0,122
|
40
|
0,11
|
0,001
|
0,054
|
0,2
|
0,065
|
|
Сумма потерь
|
|
0,161
|
|
Циркул.
|
|
|
48-54
|
0,3
|
5,14
|
0,122
|
40
|
0,11
|
0,001
|
0,0003
|
0,2
|
0,0004
|
|
54-55
|
75,0
|
5,14
|
0,122
|
40
|
0,11
|
0,001
|
0,0750
|
0,2
|
0,090
|
|
55-56
|
2,3
|
6,76
|
0,161
|
40
|
0,15
|
0,002
|
0,005
|
0,1
|
0,005
|
|
56-57
|
19,0
|
7,37
|
0,175
|
40
|
0,16
|
0,002
|
0,038
|
0,2
|
0,046
|
|
57-58
|
2,2
|
7,44
|
0,177
|
40
|
0,17
|
0,002
|
0,004
|
0,1
|
0,005
|
|
Сумма потерь
|
|
0,146
|
|
Невязка, %
|
|
9,23
|
|
Сумма потерь по кольцу
|
|
0,307
|
Так как разница в процентном соотношений между подающим и циркуляционным
трубопроводами и между кольцами составляет не больше 10%,подобор
дополнительного сопротивления для обеспечения равновесия сети не требуется.
3.3 Расчёт водонагревателя
Тип водонагревателя принимается скоростной. Часовой расход тепла
определяется по формуле (3.3):
Qhrh=1,16*qhrh*(55-to)+Qht (3.3)
где qhrh - максимальный часовой расход
горячей воды,qhrh=2,49 м3/ч;
t0 - температура холодной воды, 0С,
50С.
Qhrh=1,16*2,49*(55-5)+7,44=151,86
кВт
Gгв=Qhr/((Tн-Tк)*4,19*103) (3.4)
где Тн, Тк - параметры греющей воды, 0С,(Тн=1250С;
Тк=900С);.
Расход
нагреваемой воды определяется по формуле (3.5):
(3.5)
где
tх, tг - параметры нагреваемой воды,tх=50С; tг=650С.
Предварительно
принимается скорость движения водопроводной воды внутри трубок нагревателя Vтр = 1 м/с.
Требуемая
площадь живого сечения трубок определяется по формуле (3.6):
(3.6)
где
Vтр − оптимальная скорость движения воды по трубкам, равная
0,8 − 1,5 м/с.
Принимается
скоростной водонагреватель 01 ОСТ34-588-68 <#"888500.files/image017.gif"> (3.7)
где
Gтр = GH.
б)
между трубками:
(3.8)
где
Gмт = Gгв.
Коэффициент
теплопередачи от сетевой воды, проходящей в межтрубном пространстве к стенкам
трубок, определяется по формуле (3.9):
(3.9)
Tср=0,5*(Тн+Тк)
(3.10)
Тср=0,5*(125+90)=107,5оС
Коэффициент
теплопередачи от внутренней поверхности трубок к нагреваемой воде, проходящей
по трубкам, определяется по формуле (3.11):
(3.11)
tcp=0,5*(tг-tх) (3.12)
ср = 0,5(65 + 5) = 35 0С
Коэффициент
теплопередачи определяется по формуле (3.13):
(3.13)
где
σст -
толщина стенки трубки, м;
λст -
коэффициент теплопроводности стенки трубки, Вт/(м*град); для латунных трубок
внешним диаметром 0,016м и толщиной стенки 0,001м, σст/ λст=0,0000094
м2*град/Вт
:β1 и β2−
коэффициенты, учитывающие соответственно несовершенство трубного пучка и
загрязнение поверхности теплообмена, при этом рекомендуется принимать: β1= 0,92 −
0,95; β2= 0,80 −0,85;
Средняя
логарифмическая разность температур воды в водонагревателе определяется по
формуле (3.14):
(3.14)
Площадь
поверхности нагрева водонагревателя определяется по формуле (3.15):
(3.15)
где
µ- коэффициент на накипь; µ=0,7.
Число
секций водонагревателя определяется по формуле (3.16):
(3.16)
где
ʄс- площадь поверхности нагрева одной секции.
Принимается
5 секций.
Фактическая
площадь нагрева водонагревателя определяется по формуле (3.17):
(3.17)
Сравнивается Fф иF:
8%
< 10%, следовательно, условие выполняется, водонагреватель подобран верно.
Потери
напора нагреваемой воды в водонагревателе определяется по формуле (3.18):
(3.18)
где
m - коэффициент гидравлического сопротивления одной
секции;
Vтр - скорость движения воды в трубах, м/с2 ;
n - число секций
водонагревателя.
3.4
Подбор устройств для измерения расхода воды
Счетчик на систему подающего трубопровода от ответвлении от ввода
холодного водопровода в здание подбирается на максимальный секундный расход qh =1,463 л/с.
Предварительно принимается счетчик d=20 мм по таблице 3 [1]
Cчетчик
с предварительно принятым диаметром условного прохода надлежит проверять:
. на пропуск расчетного максимального секундного расхода; при этом
потери давления (напора) в счетчиках холодной воды не должны превышать для
крыльчатых счетчиков 0,05 МПа (5 м), а для турбинных 0,025МПа (2,5 м);
. на возможность измерения расчетных минимальных часовых расходов
воды холодной и горячей воды; при этом минимальный расход воды для выбранного
счетчика (по паспорту прибора в зависимости от метрологического класса) не
должен превышать расчетный минимальный часовой.
Для крыльчатого счетчика с диаметром условного прохода 20 мм минимальный
расход воды 0,025 м3/ч, максимальный - 5 м3/ч=1,39 л/с, а поскольку расчетный
максимальный секундный расход1,463 л/с, следовательно, условие не выполняется,
необходимо увеличить диаметр условного прохода.
Принимается крыльчатый счетчик с диаметром условного прохода d=32мм. Для данного счетчика
минимальный расход воды 0,35 м3/ч, а максимальный =10 м3/ч=2,78 л/с, что больше
1,463 л/с, следовательно, условие выполняется.
Подобранный счетчик проверяют на пропуск минимального расчетного расхода
и на потери напора.
Расчетный минимальный часовой расход qhr,minh=0,026 м3/ч, что не меньше, чем
предел чувствительности счетчика 0,025, следовательно, условие выполняется.
Тогда потери напора в счетчике определяются по формуле (2.1) в
соответствии с [1]:
h=1,3*1,4632=2,78
м
,78 меньше 5 м, следовательно, окончательно принимается счетчик
крыльчатый d=32мм типа ВК-32.
Подбор счетчика на циркуляционный трубопровод в тепловом
центре(Т4).=1*7,44/(4,2*10)=0,177 л/с
Принимается диаметр условного прохода счетчика 20 мм=2,64*0,177 2=0,08м
Потери напора: 0,08м<5м, следовательно, диаметр счетчика 20 мм
подходит.
Расчетный минимальный часовой расход qhr,minh=0,026 м3/ч, что не меньше, чем
предел чувствительности счетчика 0,025, следовательно, условие выполняется.
Принимается счетчик крыльчатый диаметром 20 мм, ВСГ-20.
3.5 Определение требуемого напора
Требуемый напор в системе горячего водоснабжения определяется по формуле
(3.19) в соответствии с [1]:
(3.19)
где Нгеом - геометрическая высота подъёма воды, Нгеом
=4,56 м;
Нвн - потери напора на водонагревателе, Нвн =0,1м;
Нву - потери в водомерном узле, Нву = 2,62м;
ƩHtot,l - общие потери в трубах сети от водонагревателя до
диктующего наиболее высокорасположенного прибора, ƩHtot,l=16,76 м.
Нf - свободный напор у диктующего
крана, Нf = 3 м.
Hтр=4,56+0,1+2,62+16,76+3=26,88 м
Гарантированный напор в сети Нгар. =50 м , а требуемый напор в
здании
Нтр=23,76м, т.е. Нгарбольше Нтр,
следовательно, дополнительная установка повысительного насоса не требуется.
Определяется возможность естественной циркуляции горячей воды по формуле
(3.20):
|
,(3.20)
|
|
где h- вертикальное расстояние от середины водонагревателя до кольцующей
перемычки;
и
- плотность охлажденной воды в обратном стояке и
горячей (нагретой) в подающем стояке.
Нестcir=9,8*6*(0,99975-0,9805)=0,75м,
Нп=
0,161 м;
Нц=
0,146 м.
ƩHп+ƩНц=0,116+0,146=0,262 м
так
как
установка циркуляционных насосов не требуется.
4. Внутренний противопожарный водопровод
4.1 Выбор схемы и системы противопожарной защиты
В здании торгового центра предусмотрено два вида систем противопожарной
защиты: внутренее и автоматическое спринклерное.
Внутреннее пожаротушение, согласно СП10.13130.209, из пожарных кранов с
расходом 2х2,5 л/с. Пожарный рукав и ствол помещают в специальную нишу с
остекленной дверкой, которые должны быть закрыты и опломбированы. На дверке
делают обозначение ПК и указывают номер пожарного крана.
В соответствии с СП5.13130.2009 в здании торгового центра предусмотрено
автоматическое спринклерное пожаротушение. Спринклеры устанавливаются во всех помещениях
за исключением помещений санузлов, тамбуров, моечных, душевых, холодильных
камер, электрощитовой.
Спринклерная, водозаполненная установка оборудуется спринклерными
оросителями СВГ-12 диаметром условного прохода 12 мм с установкой розеткой
вниз. Номинальная температура вскрытия теплового замка 780С. Схема
оросителя на рисунке 2.
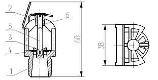
Рисунок 2. Схема оросителя СВГ-12:
- корпус ,2 - розетка,3 - крышка,4 - тарельчатая пружина; 5 - запорная
стеклянная колба; 6 - винт.
Узел управления спринклерной установкой «Шалтан». В узлах управления
используются клапаны угловые, сигнализатор потока жидкости «Стрим», кран
трехходовой, манометр МП3-УФ. Время срабатывания узла управления- не более 20
секунд.
Рисунок 3. Узел управления спринклерный водозаполненный.
Система внутреннего пожаротушения запроектирована из труб стальных
электросварных диаметром 350 мм по ГОСТ 10704-91, и запитана от ввода
водопровода холодной воды. После монтажа трубы окрасить масляной краской за два
раза.
В сети спринклерного пожаротушения используются трубы стальные
электросварные диаметром 20-200 мм ГОСТ 10704-91. Прокладка трубопроводов
предусмотрена с уклоном к спускным устройствам.
Опорожнение системы осуществляется через пожарные краны.
В подвале устанавливаются специальные пожарные насосы, которые
запускаются только при пожаре. Насосы управляются дистанционно. При
возникновении пожара насосы запускаются при помощи кнопки, расположенной в
операторской.
Необходимый напор при пожаротушении создают насосы «Grundfos» NK
250-500/525 1 рабочий и 1 резервный.
4.2 Определение параметров АУП
Определение параметров АУП производится согласно [3].Тип спринклерной
установки пожаротушения (АУП) - водозаполненная. Номинальная температура
срабатывания спринклерных оросителей - 78°С.Группаобъекта защиты - 1;
Интенсивность орошения - 0,08 л/(с*м2).Расход огнетушащего вещества - 10
л/с.Минимальная расчетная площадь орошения - 60 м2.Максимальное расстояние
между оросителями - 4 м. Продолжительность подачи огнетушащего вещества - 30
мин.
Принимается ороситель марки СВГ-12. Согласно паспорту оросителя
производится определение параметров изделия:
Расчетная площадь орошения - 12 м2
Интенсивность орошения, не менее - 0,08 л/(с*м2)
Рабочее давление - 0,05 МПа
Коэффициент производительности - 0,45
По формуле (4.1) определяется радиус действия одного оросителя:
(4.1)
Где
- расчетная площадь оросителя, м2
По
формуле (4.2) определяется расход для одного оросителя, л/с:
(4.2)
Где
- рабочее давление оросителя, МПа;
К
- коэффициент производительности оросителя
Составляется
расчетная схема (Приложение 4).
4.3
Гидравлический расчет АУП
Гидравлический
расчет противопожарного водопровода АУП сводится к решению трёх основных задач:
.
Определение давления на входе в противопожарный водопровод (на оси выходного
патрубка насоса или иного водопитателя), если заданы расчетный расход воды,
схема трассировки трубопроводов, их длина и диаметр, а также тип арматуры. В
данном случае расчет начинается с определения потерь давления при движении воды
(расчетном расходе) в зависимости от диаметра трубопроводов, схемы их
трассировки, типа установленной apматуры и т. д. Заканчивается расчет выбором
марки насоса (или другого вида водопитателя) по расчетному расходу воды и
давлению в начале установки.
.
Определение расхода воды по заданному давлению в начале противопожарного
трубопровода. Расчет начинается с определения гидравлических сопротивлений всех
элементов трубопровода и заканчивается установлением расчетного расхода воды в
зависимости от заданного давления в начале противопожарного водопровода.
.
Определение диаметров трубопроводов и других элементов трубопровода по
расчетному расходу воды и давлению в начале противопожарного трубопровода.
Диаметры арматуры противопожарного водопровода выбирают исходя из заданного
расхода воды и потерь давления по длине трубопровода и на используемой
арматуре.. При этом скорость , в напорных трубопроводах должна составлять не
более 10 м/с, а во всасывающих - не более 2,8 м/с;
Диаметр
участка определяется по формуле (4.3):
(4.3)
ГдеQ1-2расход огнетушащего вещества, л/с;
υ - скорость движения воды, м/с
Потери
давления на участке определяются по формуле (4.4):
P1-2=Q21-2*L1-2/100*KT (4.4)
где
Кт - удельная характеристика трубопровода, л6/с2, которая определяется по
таблице В.2 [3]1-2 - длина трубопровода, м
Гидравлическую
характеристику рядков, выполненных конструктивно одинаково, определяют по
обобщенной характеристике расчетного участка трубопровода (4.5)
Bp1=Q2l/Pa (4.5)
Расход
воды рядка, который выполнен конструктивно одинаковым, определяют по формуле
(4.6):
QII=(BpI*Pb)0,5 (4.6)
Так
как в одной точке не может быть двух разных давлений, то для несимметричных
участков принимают большее значение давления и определяют исправленный
(уточненный) расход для участка с меньшим значением давления по формуле (4.7):
Q3-a=Q’3-a*(Pa/P’a)0,5 (4.7)
Гидравлический
расчет системы пожаротушения сведен в таблицу 4.1:
Таблица
4.1 Гидравлический расчет системы пожаротушения
|
№ п/п
|
d расч,мм
|
Dприн, мм
|
v, м/с
|
l, м
|
P
|
Qa-b, л\с
|
Q'a-b, л\с
|
Bp
|
точка
|
P, Мпа
|
Q, л\с
|
|
|
|
|
|
|
|
|
|
|
|
|
|
1
|
2
|
3
|
4
|
5
|
6
|
7
|
8
|
9
|
10
|
11
|
12
|
|
Ряд I
|
1,00
|
0,05
|
1,01
|
|
1-2
|
16,01
|
20
|
5
|
3,20
|
0,03
|
1,01
|
|
87,80
|
2,00
|
0,08
|
1,31
|
|
2-a
|
24,30
|
25
|
5
|
1,60
|
0,09
|
2,32
|
|
|
3,00
|
0,05
|
1,01
|
|
3-a
|
16,01
|
20
|
5
|
1,60
|
0,02
|
1,01
|
1,63
|
|
a
|
0,18
|
|
|
|
|
|
|
|
3,95
|
|
|
a*
|
0,07
|
|
|
a-b
|
22,44
|
25
|
5
|
2,30
|
0,02
|
1,98
|
|
|
b
|
0,20
|
|
|
Ряд II
|
|
|
|
|
|
|
|
|
|
20,83
|
|
|
точка
|
давление
|
расход
|
|
b-c
|
49,20
|
40
|
6
|
2,30
|
0,09
|
11,40
|
|
|
4,00
|
0,05
|
1,01
|
|
Ряд III
|
5,00
|
0,08
|
1,23
|
|
4-5
|
16,01
|
20
|
5
|
2,30
|
0,03
|
1,01
|
|
452,52
|
6,00
|
0,12
|
1,55
|
|
5-6
|
23,89
|
25
|
5
|
3,20
|
0,04
|
2,24
|
|
|
7,00
|
0,15
|
1,73
|
|
6-7
|
29,64
|
32
|
6
|
3,20
|
0,03
|
3,79
|
|
|
8,00
|
0,18
|
1,88
|
|
7-8
|
35,75
|
40
|
6
|
3,20
|
0,03
|
5,52
|
|
|
9,00
|
0,19
|
1,95
|
|
8-9
|
41,41
|
50
|
6
|
3,20
|
0,01
|
7,40
|
|
|
10,00
|
0,05
|
1,01
|
|
9-c
|
46,55
|
50
|
6
|
1,60
|
0,01
|
9,36
|
|
|
c
|
0,29
|
|
|
10-c
|
16,01
|
20
|
5
|
1,60
|
0,02
|
1,01
|
2,08
|
|
c*
|
0,07
|
|
|
|
|
|
|
|
11,44
|
|
|
d
|
0,31
|
|
|
c-d
|
45,59
|
50
|
7
|
2,30
|
0,02
|
11,42
|
|
|
|
|
|
|
Ряд IV
|
|
|
|
|
|
|
|
|
|
38,13
|
|
|
|
|
|
|
d-e
|
67,14
|
65
|
7
|
2,30
|
0,03
|
24,77
|
|
|
e
|
0,34
|
|
|
1
|
2
|
3
|
4
|
5
|
6
|
7
|
8
|
9
|
10
|
11
|
12
|
|
Ряд V
|
|
|
|
|
|
|
|
|
|
36,56
|
|
|
|
|
|
|
e-f
|
74,70
|
65
|
7
|
0,04
|
30,67
|
|
|
f
|
0,38
|
|
|
Ряд VI
|
|
|
|
|
|
|
|
|
|
34,49
|
|
|
|
|
|
|
f-g
|
77,00
|
80
|
7
|
2,30
|
0,02
|
32,58
|
|
|
g
|
0,40
|
|
|
Ряд VII
|
|
|
|
|
|
|
|
|
|
33,64
|
|
|
|
|
|
|
g-h
|
77,62
|
80
|
7
|
2,30
|
0,02
|
33,11
|
|
|
h
|
0,42
|
|
|
Ряд VIII
|
|
|
|
|
|
|
|
|
|
32,83
|
|
|
|
|
|
|
h-i
|
77,46
|
80
|
7
|
2,3
|
0,02
|
32,97
|
|
|
i
|
0,44
|
|
|
Ряд IX
|
|
|
|
|
|
|
|
|
|
32,09
|
|
|
|
|
|
|
i-j
|
76,94
|
80
|
7
|
2,3
|
0,02
|
32,53
|
|
|
j
|
0,46
|
|
|
Ряд X
|
точка
|
давление
|
расход
|
|
11-12
|
16,01
|
20
|
5
|
3,2
|
0,03
|
1,01
|
|
596,3
|
11
|
0,05
|
1,01
|
|
12-13
|
24,30
|
25
|
5
|
3,2
|
0,05
|
2,32
|
|
|
12
|
0,08
|
1,31
|
|
13-14
|
30,26
|
32
|
5,5
|
2,3
|
0,02
|
3,95
|
|
|
13
|
0,13
|
1,64
|
|
14-15
|
36,40
|
40
|
5,5
|
3,2
|
0,03
|
5,72
|
|
|
14
|
0,15
|
1,77
|
|
15-16
|
42,09
|
50
|
5,5
|
3,2
|
0,01
|
7,65
|
|
|
15
|
0,18
|
1,93
|
|
16-17
|
47,28
|
50
|
5,5
|
3,2
|
0,02
|
9,65
|
|
|
16
|
0,20
|
2,00
|
|
17-18
|
52,20
|
65
|
5,5
|
3,2
|
0,01
|
11,76
|
|
|
17
|
0,22
|
2,11
|
|
18-j
|
56,78
|
65
|
5,5
|
1,6
|
0,01
|
13,92
|
|
|
18
|
0,23
|
2,15
|
|
19-j
|
16,01
|
20
|
5
|
1,6
|
0,02
|
1,01
|
2,62
|
|
19
|
0,05
|
1,01
|
|
|
|
|
|
|
16,54
|
|
|
j
|
0,46
|
|
|
j-k
|
66,82
|
65
|
7
|
2,3
|
0,03
|
24,53
|
|
|
j*
|
0,07
|
|
|
Ряд XI
|
k
|
0,49
|
|
|
|
|
|
|
|
35,04
|
|
|
|
|
|
|
k-l
|
73,63
|
80
|
7
|
2,3
|
0,02
|
29,79
|
|
|
l
|
0,50
|
|
|
1
|
2
|
3
|
4
|
5
|
6
|
7
|
8
|
9
|
10
|
11
|
12
|
|
Ряд XII
|
|
|
|
|
|
|
|
|
|
34,47
|
|
|
|
|
|
|
l-m
|
76,47
|
80
|
7
|
2,3
|
0,02
|
32,13
|
|
|
m
|
0,52
|
|
|
Ряд XIII
|
|
|
|
|
|
|
|
|
|
33,84
|
|
|
|
|
|
|
m-n
|
77,48
|
80,00
|
7
|
2,3
|
0,02
|
32,99
|
|
|
n
|
0,54
|
|
|
Ряд XIV
|
|
|
|
|
|
|
|
|
|
33,22
|
|
|
|
|
|
|
n-o
|
77,61
|
80
|
7
|
2,3
|
0,02
|
33,10
|
|
|
o
|
0,56
|
|
|
Ряд XV
|
|
|
|
|
|
|
|
|
|
32,62
|
|
|
|
|
|
|
o-p
|
77,33
|
80
|
7
|
2,3
|
0,02
|
32,86
|
|
|
p
|
0,58
|
|
|
Ряд XVI
|
|
|
|
|
|
|
|
|
|
32,06
|
|
|
|
|
|
|
p-q
|
76,86
|
80
|
7
|
2,3
|
0,02
|
32,46
|
|
|
p
|
0,60
|
|
|
Ряд XVII
|
|
|
|
|
|
|
|
|
|
31,54
|
|
|
|
|
|
|
q-r
|
76,31
|
80
|
7
|
2,3
|
0,02
|
32,00
|
|
|
r
|
0,62
|
|
|
Ряд XVIII
|
|
|
|
|
|
|
|
|
|
31,06
|
|
|
|
|
|
|
r-s
|
75,75
|
80
|
7
|
2,3
|
0,02
|
31,53
|
|
|
s
|
0,64
|
|
|
Ряд XIX
|
|
|
|
|
|
|
|
|
|
26,6724
|
|
|
|
|
|
|
s-t
|
72,77
|
80
|
7
|
2,3
|
0,02
|
29,1021
|
|
|
t
|
0,65
|
|
|
Ряд XX
|
|
|
|
|
|
|
|
|
|
26,3546
|
|
|
|
|
|
|
t-u
|
71,04
|
80
|
7
|
5,5
|
0,03
|
27,7284
|
|
|
u
|
0,69
|
|
|
Ряд I'
|
|
|
|
|
1'-2'
|
16,01
|
20
|
5
|
3,2
|
0,03
|
1,01
|
|
|
1'
|
0,05
|
1,01
|
|
2'-a'
|
24,30
|
25
|
5
|
1,6
|
0,02
|
2,32
|
|
|
2'
|
0,08
|
1,31
|
|
|
|
|
|
|
4,64
|
|
|
a'
|
0,11
|
|
|
a'-b'
|
24,30
|
25
|
5
|
2,3
|
0,03
|
2,32
|
|
|
b'
|
0,14
|
|
|
1
|
2
|
3
|
4
|
5
|
6
|
7
|
8
|
9
|
10
|
11
|
12
|
|
b'-c'
|
33,77
|
40
|
6
|
2,3
|
0,02
|
5,37
|
|
|
b'*
|
0,11
|
|
|
Ряд III'
|
c'
|
0,16
|
|
|
|
|
|
|
|
55,51
|
|
|
|
|
|
|
c'-d'
|
74,43
|
65
|
7
|
2,3
|
0,04
|
30,44
|
|
|
d'
|
0,20
|
|
|
Ряд IV'
|
|
|
|
|
|
|
|
|
|
49,55
|
|
|
|
|
|
|
d'-e'
|
80
|
7
|
2,3
|
0,03
|
40,00
|
|
|
e'
|
0,23
|
|
|
Ряд V'
|
|
|
|
|
|
|
|
|
|
46,34
|
|
|
|
|
|
|
e'-f'
|
88,63
|
80
|
7
|
2,3
|
0,03
|
43,17
|
|
|
f'
|
0,27
|
|
|
Ряд VI'
|
|
|
|
|
|
|
|
|
|
43,28
|
|
|
|
|
|
|
f'-g'
|
88,69
|
80
|
7
|
2,3
|
0,03
|
43,22
|
|
|
g'
|
0,30
|
|
|
Ряд VII'
|
|
|
|
|
|
|
|
|
|
40,75
|
|
|
|
|
|
|
g'-h'
|
87,41
|
80
|
7
|
2,3
|
0,03
|
41,98
|
|
|
h'
|
0,33
|
|
|
Ряд VIII'
|
|
|
|
|
|
|
|
|
|
38,73
|
|
|
|
|
|
|
h'-I'
|
85,70
|
80
|
7
|
2,3
|
0,03
|
40,36
|
|
|
I'
|
0,36
|
|
|
Ряд IX'
|
|
|
|
|
|
|
|
|
|
37,10
|
|
|
|
|
|
|
I'-j'
|
83,95
|
80
|
7
|
2,3
|
0,03
|
38,73
|
|
|
j'
|
0,39
|
|
|
Ряд X'
|
|
|
|
|
18'-17'
|
16,01
|
20
|
5
|
3,2
|
0,03
|
1,01
|
|
548,5
|
18'
|
0,05
|
1,01
|
|
17'-16'
|
24,30
|
25
|
5
|
3,2
|
0,05
|
2,32
|
|
|
17'
|
0,08
|
1,31
|
|
16'-15'
|
31,74
|
32
|
5
|
3,2
|
0,03
|
3,95
|
|
|
16'
|
0,13
|
1,64
|
|
15'-14'
|
38,33
|
40
|
5
|
3,2
|
0,03
|
5,77
|
|
|
15'
|
0,16
|
1,81
|
|
14'-13'
|
44,42
|
50
|
5
|
3,2
|
0,01
|
7,75
|
|
|
14'
|
0,19
|
1,98
|
|
13'-j'
|
49,96
|
65
|
5
|
1,6
|
0,00
|
9,80
|
|
|
13'
|
0,21
|
2,05
|
|
11'-12'
|
16,01
|
20
|
5
|
3,2
|
0,03
|
1,01
|
|
|
11'
|
0,05
|
1,01
|
|
12'-j'
|
24,30
|
32
|
5
|
1,6
|
0,01
|
2,32
|
4,82
|
|
12'
|
0,08
|
1,31
|
|
|
|
|
|
|
14,61
|
|
|
j'
|
0,39
|
|
|
j'-k'
|
69,67
|
80
|
7
|
2,3
|
0,01
|
26,67
|
|
|
j'*
|
0,09
|
|
|
|
|
|
|
|
|
|
|
k'
|
0,40
|
|
|
Ряд XI'
|
|
|
|
|
|
|
|
|
|
36,93
|
|
|
|
|
|
|
k'-l'
|
76,07
|
80
|
7
|
2,3
|
0,02
|
31,80
|
|
|
l'
|
0,42
|
|
|
Ряд XII'
|
|
|
|
|
|
|
|
|
|
36,11
|
|
|
|
|
|
|
l'-m'
|
81,53
|
80
|
7
|
2,3
|
0,02
|
36,52
|
|
|
m'
|
0,44
|
|
|
1
|
2
|
3
|
4
|
5
|
6
|
7
|
8
|
9
|
10
|
11
|
12
|
|
Ряд XIII'
|
|
|
|
|
|
|
|
|
|
35,11
|
|
|
|
|
|
|
m'-n'
|
80,51
|
80
|
7
|
2,3
|
0,02
|
35,61
|
|
|
n'
|
0,47
|
|
|
Ряд XIV'
|
|
|
|
|
|
|
|
|
|
34,24
|
|
|
|
|
|
|
n'-o'
|
79,44
|
80
|
7
|
2,3
|
0,02
|
34,67
|
|
|
o'
|
0,49
|
|
|
Ряд XV'
|
|
|
|
|
|
|
|
|
|
33,46
|
|
|
|
|
|
|
o'-p'
|
78,48
|
80
|
7
|
2,3
|
0,02
|
33,85
|
|
|
p'
|
0,51
|
|
|
Ряд XVI'
|
|
|
|
|
|
|
|
|
|
32,77
|
|
|
|
|
|
|
p'-q'
|
77,63
|
80
|
7
|
2,3
|
0,02
|
33,12
|
|
|
q'
|
0,53
|
|
|
Ряд XVII'
|
|
|
|
|
25'-24'
|
16,01
|
20
|
5
|
3,2
|
0,02
|
1,01
|
|
312,1
|
25'
|
0,05
|
1,01
|
|
24'-23'
|
23,70
|
25
|
5
|
3,2
|
0,04
|
2,20
|
|
|
24'
|
0,07
|
1,20
|
|
23'-22'
|
30,79
|
32
|
5
|
3,2
|
0,03
|
3,72
|
|
|
23'
|
0,11
|
1,52
|
|
22'-21'
|
37,11
|
40
|
5
|
3,2
|
0,03
|
5,41
|
|
|
22'
|
0,14
|
1,69
|
|
21'-q'
|
42,97
|
50
|
5
|
1,6
|
0,01
|
7,25
|
|
|
21'
|
0,17
|
1,84
|
|
19'-20'
|
16,01
|
20
|
5
|
3,2
|
0,03
|
1,01
|
|
|
19'
|
0,05
|
1,01
|
|
20'-q'
|
24,30
|
32
|
5
|
1,6
|
0,01
|
2,32
|
5,62
|
|
20'
|
0,08
|
1,31
|
|
|
|
|
|
|
12,87
|
|
|
q'
|
0,53
|
|
|
q'-r'
|
64,69
|
80
|
7
|
2,3
|
0,01
|
22,99
|
|
|
q'*
|
0,09
|
|
|
|
|
|
|
|
|
|
|
r'
|
0,54
|
|
|
Ряд XVIII'
|
|
|
|
|
|
|
|
|
|
24,03
|
|
|
|
|
|
|
r'-s'
|
65,41
|
80
|
7
|
2,3
|
0,01
|
23,51
|
|
|
s'
|
0,55
|
|
|
Ряд XIX'
|
|
|
|
|
|
|
|
|
|
23,81
|
|
|
|
|
|
|
s'-t'
|
65,98
|
80
|
7
|
2,3
|
0,01
|
23,92
|
|
|
t'
|
0,56
|
|
|
Ряд XX'
|
|
|
|
|
|
|
|
|
|
23,59
|
|
|
|
|
|
|
t'-u
|
65,67
|
7
|
2,3
|
0,01
|
23,70
|
25,95
|
|
u
|
0,57
|
|
|
|
|
|
|
|
|
|
|
|
|
|
|
u-v
|
98,84
|
100
|
7
|
1
|
0,01
|
53,68
|
58,79
|
|
u
|
0,69
|
|
|
|
|
|
|
|
|
|
|
u*
|
0,57
|
|
|
1
|
2
|
3
|
4
|
5
|
6
|
7
|
8
|
9
|
10
|
11
|
12
|
|
Ряд I''
|
v
|
0,69
|
|
|
8''-7''
|
16,01
|
20
|
5
|
2,3
|
0,03
|
1,01
|
|
361,6
|
8''
|
0,05
|
1,01
|
|
7''-6''
|
23,89
|
25
|
5
|
2,3
|
0,03
|
2,24
|
|
|
7''
|
0,08
|
1,23
|
|
6''-5''
|
30,75
|
32
|
5
|
2,3
|
0,02
|
3,71
|
|
|
6''
|
0,11
|
1,47
|
|
5''-4''
|
36,77
|
40
|
5
|
2,3
|
0,02
|
5,31
|
|
|
5''
|
0,13
|
1,60
|
|
4''-3''
|
42,29
|
50
|
5
|
2,3
|
0,01
|
7,02
|
|
|
4''
|
0,14
|
1,71
|
|
3''-a''
|
47,30
|
50
|
5
|
1,2
|
0,01
|
8,78
|
|
|
3''
|
0,15
|
1,76
|
|
1''-2''
|
16,01
|
20
|
5
|
2,3
|
0,03
|
1,01
|
|
|
1''
|
0,05
|
1,01
|
|
2''-a''
|
23,89
|
25
|
5
|
1,2
|
0,02
|
2,24
|
5,59
|
|
2''
|
0,08
|
1,23
|
|
|
|
|
|
|
14,37
|
|
|
a
|
0,57
|
|
|
a''-b''
|
51,14
|
80
|
7
|
3,2
|
0,01
|
14,37
|
|
|
a*
|
0,09
|
|
|
|
|
|
|
|
|
|
|
b
|
0,58
|
|
|
Ряд II"
|
|
|
|
|
|
|
|
|
|
25,05
|
|
|
|
|
|
|
b''-c''
|
84,70
|
80
|
7
|
3,2
|
0,04
|
39,42
|
|
|
c
|
0,62
|
|
|
Ряд III"'
|
|
|
|
|
19''-18''
|
16,01
|
20
|
5
|
2,3
|
0,03
|
1,01
|
|
896,7
|
19
|
0,05
|
1,01
|
|
18''-17''
|
23,89
|
25
|
5
|
2,3
|
0,03
|
2,24
|
|
|
18
|
0,08
|
1,23
|
|
17''-16''
|
30,75
|
32
|
5
|
2,3
|
0,02
|
3,71
|
|
|
17
|
0,11
|
1,47
|
|
16''-15''
|
36,77
|
40
|
5
|
2,3
|
0,02
|
5,31
|
|
|
16
|
0,13
|
1,60
|
|
15''-14''
|
42,29
|
50
|
5
|
2,3
|
0,01
|
7,02
|
|
|
15
|
0,14
|
1,71
|
|
14''-c''
|
47,30
|
50
|
5
|
1,2
|
0,01
|
8,78
|
|
|
14
|
0,15
|
1,76
|
|
9''-10''
|
16,01
|
20
|
5
|
2,3
|
0,03
|
1,01
|
|
|
9
|
0,05
|
1,01
|
|
10''-11''
|
23,89
|
25
|
5
|
2,3
|
0,03
|
2,24
|
|
|
10
|
0,08
|
1,23
|
|
11''-12''
|
30,75
|
32
|
5
|
2,3
|
0,02
|
3,71
|
|
|
11
|
0,11
|
1,47
|
|
12''-13''
|
36,97
|
40
|
5
|
2,3
|
0,01
|
5,36
|
|
|
12
|
0,13
|
1,60
|
|
13''-c''
|
42,29
|
50
|
5
|
1,2
|
0,00
|
7,02
|
14,72
|
|
13
|
0,14
|
1,65
|
|
|
|
|
|
|
23,50
|
|
|
c
|
0,62
|
|
|
c''-d''
|
107,01
|
100
|
7
|
2,3
|
0,02
|
62,92
|
|
|
c*
|
0,14
|
|
|
|
|
|
|
|
|
|
|
d
|
0,63
|
|
|
|
|
|
|
|
|
|
|
|
37,63
|
|
|
|
|
|
|
d''-e''
|
135,27
|
125
|
7
|
3,2
|
0,02
|
100,55
|
|
|
e''
|
0,65
|
|
|
|
|
|
|
|
|
|
|
|
37,07
|
|
|
|
|
|
|
e''-f''
|
116,60
|
125
|
7
|
3,2
|
0,01
|
74,70
|
|
|
f''
|
0,66
|
|
|
|
|
|
|
|
|
|
|
|
36,78
|
|
|
|
|
|
|
f''-v
|
115,93
|
125
|
7
|
20
|
0,06
|
73,85
|
|
|
v
|
0,73
|
|
|
|
|
|
|
|
|
|
|
|
|
|
|
v-w
|
155,37
|
150
|
7
|
5,4
|
0,02
|
132,64
|
136,13
|
|
v
|
0,73
|
|
|
1
|
2
|
3
|
4
|
5
|
6
|
7
|
8
|
9
|
10
|
11
|
12
|
|
|
|
|
|
|
|
|
|
v*
|
0,69
|
|
|
w
|
0,75
|
|
|
w-x
|
220,35
|
150
|
7
|
2,8
|
0,05
|
266,81
|
|
|
x
|
0,80
|
|
Гидравлический расчет АУП проводится из условия
Qh≤Qc,
где Qн -
нормативный расход спринклерной АУП согласно таблицам 5.1-5.3 [3];с-
фактический расход спринклерной АУПн=10 л/сс=266,81 л/с
10 л/с <266,81 л/с - условие выполняется.
Количество оросителей, обеспечивающих фактический расход
спринклерной АУП с интенсивностью
орошения должно быть не менее нормативной (с учетом конфигурации принятой
площади орошения), определяется по формуле:
n≥S/Ω (4.8)
где n -
минимальное количество спринклерных оросителей, обеспечивающих фактический
расход Qc всех типов спринклерных АУП с интенсивностью орошения не менее
нормативной;S -
минимальная площадь орошения согласно таблице 5.1 настоящих норм;Ω - условная расчетная площадь,
защищаемая одним оросителем, определяется по формуле (4.9):
Ω=L2
(4.9)
где L -
расстояние между оросителями.
Ω=42=16 м2
n=60/16=3,75=4
Фактическое количество оросителей nф=346, что больше минимального n=4, следовательно, условие выполняется.
4.4 Определение требуемого давления пожарного насоса
Согласно [3]расчет ведут таким образом, чтобы давление
у узла управления не превышало 1 МПа.
Требуемое давление Рн пожарного насоса
определяется по формуле (4.10):
Рк=Рг+Рв+ƩРм+Руу+Рд+Z-Рвх=Ртр-Рвх
(4.10)
где Рг- потери давления на горизонтальных
участках, МПа
∑Рм- потери давления в местных
сопротивлениях, МПа;
Руу- местные сопротивления в узле
управления (сигнальном клапане, задвижках, затворах), МПа;
Рд- давление у диктующего оросителя, МПа;Рд=0,05
МПа
Z- пьезометрическое давление, МПа;
Рвх- давление на входе пожарного насоса,
МПа;
Ртр- давление требуемое, МПа.
Потери давления на горизонтальных и вертикальных
участках всей сети определяются:
Рсети=Рг+ Рв=0,733+0,06=0,793
МПа
Согласно [3] местные сопротивления (в том числе с учетом потерь в узле
управления) принимают равными 20 % сопротивления сети трубопроводов:
∑Рм +Руу =0,2*Рсети=0,00034 МПа
Пьезометрическое давление определяется по формуле (4.11):
Z=H/100
(4.11)
Где H - геометрическая высота диктующего
оросителя над осью пожарного насоса, м. H=7,85 м.
Z=13,1/100=0,131МПа
Рн=0,793+0,00034+0,05+0,131=0,974 МПа
,974 МПа <1 МПа, следовательно, условие выполнено.
Принимается насос GrundfosCR 104-1-1 NK 250-500/525c
характеристиками:
Технические характеристики: Частота вращения -1490 об/м; Номинальная
подача - 973 м3/ч; Макс. гидростатический напор -82,6 м; Рабочие колеса -1
Материалы: Корпус насоса - Чугун. Рабочее колесо - Чугун.
Жидкость: Диапазон температур жидкости - 0 .. 120 °C. Плотность
перегоняемой жидкости -998,2 кг/м3
Данные электрооборудования: Тип электродвигателя - SIEMENS; Номинальная мощность - P2 - 315
кВт; Промышленная частота - 50 Hz Эффективность электродвигателя при полной
нагрузке - 96 %; Эффективность двигателя при 3/4 нагрузки -96,1 % ; Эффективность
электродвигателя при 1/2 нагрузки -95,6 % .
4.5 Определение параметров системы пожаротушения
Внутренний противопожарный трубопровод запроектирован согласно
требованиям [4]. Внутренее пожаротушение осуществляется из пожарных кранов,
которые устанавливают на всех этажах в пожарных шкафах согласно [4]. Сеть
кольцевая, с количеством подарных кранов 38 шт. Клапан пожарного крана DN 50, с длиной пожарного рукава 15 м и
давлением 0,096 Мпа. Отвод крана располагается на высоте 1,3 м от уровня пола.
Характеристика задания тогового комплекса:
. Общий строительный объем здания- 42247.0 м3
. Площадь застройки- 3619.2 м2
. Степень огнестойкости здания- II
. Категория помещений по пожарной опасности- В2
. Класс конструктивной пожарной опасности- СО
Исходя из объема здания и степени огнестойкости здания определяем число
пожарных стволов и минимальный расход воды на пожаротушение согласно таблице 1
[4], две струи по 2,5 л/с. Время тушения пожара не более трех часов.
Расчетный секундный расход на пожаротушение :
qпож=n*qо.пк.2, л/с (4.12)
где n- количество одновременно действующих
струй, 2 струи согласно [4],
qо.пк - расход пожарной струи, согласно
таблице 3 [4] 2,6 л/с.
qпож=2*2,62=13.52 л/с
Потери напора в пожарном рукаве:
hрук=A*lp* qо.пк.2, м (4.13)
где А - коэффициент, зависящий от диаметра пожарного рукава, при диаметре
50 мм А=0,012;
lp - длина рукава, согласно таблице 3 [4], 15 м;
qо.пк - тасход пожарной струи, согласно
таблице 3 [4] 2,6 л/с.
hрук= 0.012*15*2.62=1,22 м
4.6 Гидравлический расчет противопожарного водопровода
Гидравлический расчёт выполняется для системы внутреннего пожаротушения.
Устанавливается расчётное направление от ввода до наиболее удалённой и
высокорасположенной водоразборной точки, вычерчивается расчётная схема
(Приложение 5). Расчет сети производится на максимальную нагрузку системы, т.е.
на момент наибольшего водопотребления при условии обеспечения требуемого
напора.
Так как система АУП питается от внутренней системы противопожарного
водопровода, то при гидравлическом расчете сети следует учитывать расход на
пожаротушение системой АУП, равный 266,81 л\с. Гидравлический расчет
представлен в таблице 4.2.
Таблица 4.2 Гидравлический расчет противопожарного водопровода.
|
№ п/п
|
d расч,мм
|
Dприн, мм
|
v, м/с
|
l, м
|
Pa-b
|
Qa-b, л\с
|
Pa
|
Pb
|
потери напора, м
|
|
|
|
|
|
|
|
|
|
На 1м i
|
На участке iL
|
Htot=i*L(1+Ki)
|
|
1
|
2
|
3
|
4
|
5
|
6
|
7
|
8
|
9
|
10
|
11
|
12
|
|
1-2
|
75,77
|
65
|
3
|
1,8
|
0,01
|
13,52
|
0,10
|
0,10
|
0,02
|
0,036
|
0,0396
|
|
2-3
|
75,77
|
65
|
3
|
2,2
|
0,01
|
13,52
|
0,10
|
0,11
|
0,02
|
0,044
|
0,0484
|
|
3-4
|
345,02
|
350
|
3
|
119,0
|
0,02
|
280,33
|
0,82
|
0,84
|
0,04
|
4,76
|
5,236
|
|
∑Н
|
5,324
|
Так как система пожаротушения и система хозяйственно-бытового
водоснабжения питаются от одного ввода, то следует принять диаметр ввода
водопровода в здание равным наибольшему диаметру этих систем, то есть 350 мм.
4.7 Определение требуемого напора
Требуемый напор на вводе в здание определяется по формуле (4.14) в
соответствии [1]:
Hтр=Нгеом+hрук+(1+Кl)∑Нtot (4.14)
Нгеом - геометрическая высота подачи воды,мНгеом=22,410-10,067=12,343
м;
hрук - потери напора в пожарном рукаве, hрук=1,22 м;
(1 + Kl)*Hl - сумма потерь напора по расчётному
направлению с учётом потерь на местные сопротивления в арматуре и фасонных
частях (Kl = 0,1 - для сетей пожарных
трубопроводов [1]).
(1 + Kl)*Hl=(1+0,1)*4,84=5,324 м
Hтр=12,343+1,22+5,324=18,887 м
Гарантированный напор в сети Нгар. =50 м , а требуемый напор в
здании
Нтр=18,887м, т.е. Нгарбольше Нтр,
следовательно, дополнительная установка насосов не требуется.
5. Внутренняя канализация
5.1 Система внутренней канализации
В здании запроектирована хозяйственно-бытовая канализация.
Система внутренней канализации запроектирована полиэтиленовых
канализационных труб марки диаметром 110, 50, ГОСТ 22689.20-89.
Стояки внутренней канализации размещаются в санитарно-технических узлах.
Главные стояки переходят в вытяжную часть на кровле d=100мм, которая выводится
на высоту 0,3 м от кровли.
Для устранения засоров на горизонтальные и вертикальные участки сети
внутренней канализации устанавливаются ревизии и прочистки.
В местах присоединения выпусков к наружной канализации устанавливаются
смотровые колодцы из сборных железобетонных элементов d=1000мм. Запроектированы
два выпуска диаметром 110 мм. На вертикальных участках длиной менее 1 м
устанавливаются вентиляционные клапаны, во избежание появления избыточного
давления или разрежения на данном участке.
Внутренняя сеть канализации состоит из приемников сточных вод, отводных
трубопроводов, стояков, магистральных трубопроводов и выпусков из здания. После
каждого санитарно-технического прибора предусмотрена установка гидрозатвора (за
исключением приборов, в которых он предусматривается конструктивно).
Отвод сточных вод предусмотрен по самотечным трубопроводам. Отводные
трубопроводы от санитарно-технических приборов прокладываются за подвесным
потолком первого этажа.
Стояки размещены ближе к приемникам (унитазам), в которые поступают
наиболее загрязненные стоки, с таким расчетом, чтобы длина отводящих труб была
минимальной. Стояки вверху переходят в вытяжную часть, которая выводится через
кровлю на высоту 0,3 м, так как кровля плоская.
Диаметр вытяжной части стояка равен диаметру сточной части. К
магистральному трубопроводу стояк присоединяется плавно (двумя отводами 135˚
или косым тройником и отводом).
Выпуски располагаются со стороны дворового фасада здания перпендикулярно
наружным стенам. Выпуски присоединяются к дворовой сети в колодце под углом 90˚.
Расстояние от стены до колодца принято 7 м. Глубина заложения принимается выше
глубины промерзания на 0,3 м.
Для устранения возможных засоров на горизонтальных и вертикальных участках
внутренней сети устраиваются ревизии и прочистки. На стояках ревизии
установлены в подвале, на верхнем этаже. На горизонтальных участках сети в их
начале по движению стоков, на поворотах сети и на выпуске из здания.
5.2 Определение расчётных расходов
Для стояков систем канализации расчетным расходом является максимальный
секундный расход стоков (qs, л/с), от присоединенных к стояку
санитарно-технических приборов, не вызывающий срыва гидравлических затворов
любых выделяется как сумма расчетного максимального секундного расхода воды
(общей, суммарно холодной и горячей) для всех санитарно-технических приборов qtot
и расчетного максимального секундного расхода стока qs,1o от прибора с максимальным водоотведением по формуле
qs=qtot+qs,1o (5.1)
Для горизонтальных отводных трубопроводов систем канализации расчетным
расходом считается расход qsL, л/с, значение которого вычисляется в
зависимости от числа санитарно-технических приборов N, присоединенных к
проектируемому расчетному участку трубопровода, и длины этого участка
трубопровода L, м, по формуле
qsL=qtothr/3,6+Ks*qs,2o (5.2)
где KS - коэффициент, принимаемый по
таблице 2[2];
qs,2o - расход стоков от прибора с максимальной емкостью,
л/с.
qtot=2,12 л/с.
qtotздания=2,12 +1,6=3,72л/с
5.3 Расчёт сети бытовой канализации
Расчет внутренней сети канализации сводится к подбору диаметров труб,
назначению уклонов и проверке их пропускной способности. При этом скорость
движения жидкости должна быть не менее 0,7 м/с, а наполнение трубопроводов - не
менее 0,3; максимальное наполнение для сети в пределах здания - 0,7.
Расчетный расход бытовых сточных вод в жилых и общественных зданиях, а
также в дворовых и внутриквартальных сетях определяется при общем нормальном
секундном расходе воды qtot< 8 л/с в сетях холодного и горячего
водопроводов, обслуживающих группу приборов или здание по формуле (5.1):
где q0s - расход бытовых стоков от прибора с
наибольшим водоотведением на данном участке, л/с; q0s=1,6л/с;tot
- общий максимальный секундный расход воды для группы канализуемых приборов или
здания.
Определение расчетных расходов сточных вод для стояков:стtot
находится по формуле (1.2):
Ст.К1-1: N = 24; qстtot = 2,12 л/с
Ст.К1-2: N = 14; qстtot = 0,38 л/с
Диаметр и уклоны отводных линий и магистральных трубопроводов в проектируемом
здании принимаются без расчёта: d = 110 мм; i = 0.02.
Расчёт внутренней сети канализации сводится в табл. 5.1.
Таблица 5.1. Расчет канализационных стояков.
|
Номер стояка
|
Максимальный расход воды
л/с
|
Наибольший диаметр
поэтажного отвода, мм
|
Угол присоединения
поэтажного отвода к стояку, град
|
Диаметр стояка, мм
|
Пропускная способность
стояка, л/с
|
|
на участке
|
от прибора
|
расчётный расход по стояку
|
|
|
|
|
|
Ст. К 1-1
|
2,12
|
1,6
|
3,72
|
110
|
60
|
110
|
5,4
|
|
Ст. К 1-2
|
0,38
|
1,6
|
1,98
|
110
|
87,5
|
110
|
3,6
|
Для того, чтобы предотвратить в невентилируемых стояках образование
разрежения при максимальном расходе сточных вод, устанавливаюк клапана
вентилируемые.
Пропускная способность невентилируемых стояков определяется
согласнотаблице 13 [2]. Для стояков из ПВХ труб при наружном диаметре 110 мм и
рабочей высоте 1 м пропускная способность составляет 8,7 л/с, что не превышает
расход 3,72 л/с.
Определение расчетного расхода сточных вод на один выпуск:= 112; qвыпtot=1,70
л/с
Результаты расчетов сводятся в табл. 5.2.
Таблица 5.2. Расчет выпуска
№ выпуска Расход на выпуске
,л/сРасход от прибора
,
л/сРасчётный расход
, л/сДиаметр d, ммУклонСкорость
, м/сНаполнение
|
|
|
|
|
|
|
|
|
|
К1-1
|
4,02
|
1,6
|
1,88
|
110
|
0,02
|
0,79
|
0,4
|
|
К1-2
|
0,56
|
1,6
|
0,95
|
110
|
0,02
|
0,79
|
0,4
|
Диаметр и уклоны отводных линий и магистральных трубопроводов в жилых
зданиях принимаются: d = 110 мм, i=0,002.
При расчёте выпуска необходимо чтобы соблюдалось условие п.18.2 [1]:
|
(5.3)
|
|
где
k=0,5 =>условие(3.2) выполняется.
Определение
расчетного расхода сточных вод на жилой дом по формуле (3.1):=38; qTtot
= 47,26 л/ч, qtot =2,12 л/ч;c=2,12 + 1,6= 3,89 л/с
5.4 Гидравлический расчет дворовой канализационной сети
Дворовая сеть служит для соединения выпусков канализации с городской
сетью. Дворовые сети запроектированы из керамических канализационных труб ГОСТ
286-82, d=150мм.
В местах пересечения с водопроводами канализационная сеть выполняется из
чугунных напорных труб типа ЛА ГОСТ 9583-75*, при этом трубопроводы
прокладываются в гильзе диаметром на 200 мм больше диаметра основной трубы.
Трубопроводы прокладываются параллельно стенам зданий. Присоединения,
повороты и пересечения с другими сетями производятся под углом 90˚.
Для осуществления контроля за работой сети и ее прочистки
предусматривается установка смотровых колодцев в местах присоединения выпусков,
на поворотах, в местах изменения уклонов. Контрольный колодец ставится за 2 м
перед красной линией. Так как глубина заложения дворовой сети меньше
заглубления городской в контрольном колодце устраивается перепад по бетонному
водосливу. Начальная глубина заложения определяется глубиной заложения выпуска.
Расчет канализационной дворовой сети приводится в табл.5.3. Цель расчета
- определение диаметров, уклонов и глубины заложения канализационных труб, при
этом учитывается рекомендуемый уклон 0,008…0,015 в сторону городского колодца,
скорость не менее 0,7 м/с и наполнение от 0,3 до 0,7.Весь расчет дворовой сети
сводится в таблицу 5.3.
Таблица. 5.3. Расчет канализационной дворовой сети
|
Номер участка
|
Расчетный
|
Уклон i
|
Скорость V, м/с
|
Наполнение
|
Падение отметки,м
|
Отметка, м
|
Глубина заложения, м
|
|
Длина L, м
|
расходq, л/с
|
Диаметр d, мм
|
|
|
H/d
|
H
|
|
Поверхности земли
|
лотка трубы
|
заложения, м
|
|
|
|
|
|
|
|
|
|
в начале
|
в конце
|
в начале
|
в конце
|
в начале
|
в конце
|
|
1
|
2
|
3
|
4
|
5
|
6
|
7
|
8
|
9
|
10
|
11
|
12
|
13
|
14
|
15
|
|
1-2
|
7,2
|
3,72
|
150
|
0,011
|
0,7
|
0,34
|
0,051
|
0,08
|
14,740
|
14,700
|
13,400
|
13,321
|
1,34
|
1,38
|
|
2-3
|
33
|
3,72
|
150
|
0,011
|
0,7
|
0,34
|
0,051
|
0,36
|
14,700
|
14,660
|
13,321
|
12,958
|
1,38
|
1,70
|
|
3-4
|
35
|
3,89
|
150
|
0,011
|
0,71
|
0,35
|
0,0525
|
0,39
|
14,660
|
14,620
|
12,958
|
12,573
|
1,70
|
2,05
|
|
4-5
|
35
|
3,89
|
150
|
0,011
|
0,71
|
0,35
|
0,0525
|
0,39
|
14,620
|
14,580
|
12,573
|
12,188
|
2,05
|
2,39
|
|
5-КК
|
9
|
3,89
|
150
|
0,011
|
0,71
|
0,35
|
0,0525
|
0,10
|
14,580
|
14,570
|
12,188
|
12,089
|
2,39
|
2,48
|
|
КК-ГК
|
11
|
3,89
|
150
|
0,011
|
0,71
|
0,35
|
0,0525
|
0,12
|
14,570
|
14,565
|
12,089
|
11,968
|
2,48
|
2,60
|
|
|
|
|
|
|
|
|
|
|
|
гк
|
11,520
|
|
3,045
|
6. Внутренние водостоки
6.1 Описание системы внутренних водостоков
Система проектируется из стальных электросварных труб d=100мм ГОСТ 10704-91, согласно [1],
п. 8.6.13, с внутренним и наружным антикоррозионным покрытием на основе
экструдированного полиэтилена. Выпуск выполняется открыто на отмостку на
отметке -0.800.
Устанавливается три стояка, по две, четыре и пять водосточных воронок на
каждый стояксоответсвенно.Водосточные воронки чугунные ВР-100, dу=100мм ТУ
4927-02837632-401-99. Для компенсации осадочных и температурных деформаций
водосточные воронки присоединяются к отводным линиям через компенсационные
патрубки. Отводные трубы прокладываются на чердаке на расстоянии 1м от кровли.
Стояки открыто прокладываются рядом со стенами. Для прочистки сети
устанавливаются на вертикальных участках ревизии 1 м от пола и на
горизонтальных участках прочистки.
В основании стояка устанавливается ревизия на расстоянии 1м от пола
первого этажа. На горизонтальных участках устанавливаются прочистки.
6.2 Расчёт внутренних водостоков
Расчётный расход дождевых сточных вод с водосборной площади определяется
по формуле (6.1) в соответствии с [1]:
(6.1.)
F - водосборная
площадь, F1= 3061,8
м2; А
s=4n*q20 (6.2)
где:
n - параметр, определяемый по карте.
q20 и n
принимаются по [6], для Санкт-Петербурга q20=60л/с с 1
га; n=0,62.
qs=40.62*60=141,72 л/с га
Принимается
3 стояка с двумя, четырех и пятью водосточными воронками на каждый
стояксоответсвенно.Тогда расчетный будет равен:
Принимаются
воронкиd= 100 мм.
Должно
выполняться условие:
Критический
расход определяется по формуле (6.2) согласно [1]:
(6.2)
Н
- располагаемый напор, определяемый как разность отметок кровли и оси выпуска,
м;= zкр - zвып = 26,410-14,910=11,50 м
S - суммарное
сопротивление системы, м, определяется по формуле (6.3) в соответствии с [7]:
S=A*L+Am*Ʃξ (6.3)
А
- удельное сопротивление трению (для d=100 мм. А=0,000365);
l - длина
трубопровода,l1=45,15 м
;l2=103,93
м; l3=161,32 м
Ам
- удельное местное сопротивление (для d=100Ам=0,000826);
- сумма
коэффициентов местных сопротивлений в системе
водосточная
воронка-1,5;
отвод
90-0,65;
тройник
на поворот -0,9;
выпуск-
1;
гидравлический
затвор - 2
крестовина
косая - 1,2
тройник
на проход - 0,25
∑ξ1=2*ξвор+ξотв90+2*ξтр.пов+2*ξтр.прох+ξвып+ξгид.зат.=2*1,5+0,65+2* *0,9+2*0,25+2+1=8,95
∑ξ2=4*ξвор+ξотв90+4*ξтр.пов+2*ξтр.прох+ξвып+ξгид.зат.+ξкрест.=4*1,5+0,65+4*0,9+2*0,25+1+2+1,2=25,75
∑ξ3=5*ξвор+ξотв90+9*ξтр.пов+2*ξтр.прох+ξвып+ξгид.зат.+ξкрест.=5*1,5+0,65+9*0,9+2*0,25+1+2+1,2=20,7
7,92 л/с<21,98л/с - условие выполняется.
,31 л/с <16,93л/с - условие выполняется.
,16 л/с < 21,31 л/с - условие выполняется.
Список литературы
1. СП
30.13330.2012. Внутренний водопровод и канализация зданий. Актуализированная
редакция СНиП 2.04.01-85*. - М.: Минрегион России, 2012.
2. СТО
02494733 5.2-01-2006. Внутренний водопровод и канализация зданий. - М.: ФГУП
«СантехНИИпроект», 2006
3. СП
5.13130.2009. Системы противопожарной защиты. Установки пожарной сигнализации и
пожаротушения автоматические. Нормы и правила проектирования. - М.: МЧС России,
2009.
4. СП
10.13130.2009. Внутренний противопожарный водопровод. - М.: Минрегион России,
2009.
5. СП
12.13130.2009. Определение категорий помещений, зданий и наружных установок по
взрывопожарной и пожарной опасности.- М.: МЧС России, 2009.
6. СП
32.13330.2012. Канализация. Наружные сети и сооружения. Актуализированная
редакция СНиП 2.04.03-85*. - М.: Минрегион России, 2012.
7. Кедров В.С.,
Ловцов Е.Н. Санитарно-техническое оборудование зданий. Учебник для вузов. - 2-е
изд., переработанное - М.: ООО «БАСТЕТ», 2008 - 480 с.
8. Шевелёв Ф.
А. Таблицы для гидравлического расчёта стальных, чугунных, асбестоцементных,
пластмассовых и стеклянных водопроводных труб. Изд 5-е доп. - М. Книга по
Требованию, 2013. - 116 с.
9. Лукиных
А.А., Лукиных Н.А. Таблицы для гидравлического расчёта канализационных сетей и
дюкеров по формуле Павловского Н. Н. спав. пособие. - М.: Стройиздат, 1987. -
152 с.
. СанПиН
2.1.2.2645-10 Санитарно-эпидемиологические требования кусловиям проживания в
жилых зданиях и помещениях