Исследование алгоритмов обработки кривых притока при свабировании

  • Вид работы:
    Курсовая работа (т)
  • Предмет:
    Геология
  • Язык:
    Русский
    ,
    Формат файла:
    MS Word
    411,85 Кб
  • Опубликовано:
    2015-08-12
Вы можете узнать стоимость помощи в написании студенческой работы.
Помощь в написании работы, которую точно примут!

Исследование алгоритмов обработки кривых притока при свабировании

Оглавление

ВВЕДЕНИЕ

ГЛАВА 1. гидродинамические исследования при освоении скважин

.1 Технология освоения с помощью сваба

.2 Гидродинамические процессы, происходящие в скважине

.3 Особенности ГДИ по технологии КВУ

.4 Обработка данных

.5 Выводы

ГЛАВА 2. МЕТОДЫ ИССЛЕДОВАНИЯ

.1 Математическая постановка задачи  

.2 Диалоговая программа изменения давления

.3 Система «Гидрозонд». Работа оптимизационного алгоритма

ГЛАВА 3. РЕЗУЛЬТАТЫ ОБРАБОТКИ

ЗАКЛЮЧЕНИЕ

СПИСОК ЛИТЕРАТУРЫ

ВВЕДЕНИЕ


В настоящее время для исследования малодебитных скважин применяются такие методы как свабирование, компрессирование и отработка скважины струйным насосом. Каждый из данных методов имеет свои особенности. Проведение исследований и интерпретация полученных результатов не учитывают особенности процесса работы пласта и скважины, что часто приводит к ошибочным результатам при определении фильтрационно-емкостных параметров пласта [1].

Гидропроводность и скин-фактор - одни из наиболее важных гидродинамических параметров. Как правило, они определяются с помощью гидродинамических исследований.

Обработка КВУ позволяет рассчитать пластовое давление, дебит жидкости и коэффициент продуктивности. Этот метод применяется для скважин с низкими пластовыми давлениями или неустойчиво фонтанирующих.

Вызов притока в таких скважинах осуществляется путем снижения уровня жидкости в стволе скважины методом компрессирования или свабирования.

В своей работе я рассматривала возможность одновременного определения скин-фактора и гидропроводности по данным кривой притока при свабировании.

Актуальность работы. Большие объемы гидродинамических исследований выполняются при освоении скважин методом свабирования. По данным КВУ после периода свабирования можно определить коэффициент продуктивности, дебит и пластовое давление. В своей работе я рассматриваю возможности одновременного определения значений гидропроводности и скин-фактора по данным кривым притока.

Цель работы заключается в исследовании алгоритмов изменения кривых притока по модельным данным при свабировании.

Работа состоит из 3 глав, введения и заключения. Список использованной литературы содержит 18 наименований.

Во введении рассматривается возможность обработки КВУ по нестационарным моделям «с учётом притока» с целью получения однозначных значений гидропроводности и скин-фактора.

Первая глава посвящена теории и методам обработки кривых после снижения давления. Рассматривается технология освоения с помощью сваба, технологии КВУ, гидродинамические процессы, происходящие во время этих методов.

Во второй главе рассматривается математическая постановка задачи, на основе решения которой была разработана программа для моделирования изменения давления в скважине при испытании пласта, показаны полученные данные смоделированных скважин на основе программы дипломника 2014 года Руслана Акчурина[9].

В третьей главе приводится описание алгоритма для обработки КВУ, записанной после свабирования. Смоделированные кривые сравниваются с реальными, исследуется влияние неопределенности во входных данных.

Используется сквозная нумерация формул в пределах главы. При перекрестных ссылках из других глав используется обозначение (*.2), где *-номер главы, а «2»-номер формулы в этой главе. При ссылках внутри главы номер главы так жеставится и ссылка на формулу (2), например, будет иметь вид (1.2).

ГЛАВА 1. ГИДРОДИНАМИЧЕСКИЕ ИСЛЕДОВАНИЯ ПРИ ОСВОЕНИИ СКВАЖИН

 

1.1 Технология освоения с помощью сваба

гидродинамический скважина давление сваб

Свабирование - это способ освоения скважины методом снижения уровня жидкости. Свабирование применяется для вызова и интенсификации притока из флюидов при освоении новых добывающих скважин и скважин, выводимых из консервации или ликвидации, а также при увеличении дебита существующих.

Свабирование скважин может применяться и для других целей, в том числе:

·        Для понижения уровня жидкости в скважинах или только в насосно-компрессорных трубах;

·        Для очистки призабойной зоны от продуктов проведения химический обработки;

·        Для очистки забоя от механических примесей, выносимых из призабойной зоны;

·        Для очистки призабойной зоны от механических примесей, нагнетаемых в пласт агентом для поддержания пластового давления, или после интенсификации притока нефти физическими методами воздействия.

При освоении скважины задача считается выполненной, когда из скважины с помощью сваба отобран требуемый объем жидкости.

За цикл свабирования в скважине и пласте наблюдаются неустановившиеся процессы перераспределения давления [2].

Процесс свабирования схематически можно представить как перемещение поршня в трубе НКТ.

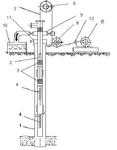
На рисунке1.1 представлена схема расположения оборудования и технических средств при свабировании. Снижение забойного давления осуществляется подъемом с помощью сваба части столба жидкости из НКТ на поверхность.

Рис.1.1. Схема расположения оборудования и технических средств при свабировании скважин

.        Обсадная колонна; 2.  НКТ; 3.      Сваб; 4.      Манометр; 5.      Верхний ролик; 6.      Нижний ролик; 7.        Кабель; 8.  Лебёдка подъемника; 9.        Устьевая головка; 10.         Емкость сбора флюида; 11.  Задвижка; 12.     Регистратор натяжения кабеля

После прекращения свабирования приток из пластов продолжается. Притекающий из пластов флюид скапливается в стволе скважины, уровень жидкости поднимается, растет забойное давление. Интенсивность роста забойного давления зависит от пластового давления, продуктивности пластов, от площади сечения потока жидкости в стволе скважины (диаметра НКТ) и от плотности жидкости в скважине.

На рисунке1.2 приведен схематически процесс свабирования в скважине:

-скважина в покое; 2-спуск сваба в НКТ; 3-отрыв и извлечение части столба жидкости из НКТ на поверхность; 4-приток жидкости после извлечения сваба; 5-возвращение скважины в первоначальное состояние покоя.

Рис.1.2. Схема процесса свабирования в скважине

В реальности за один спуск-подъём сваба отбирается малое количество жидкости, поэтому, чтобы существенно понизить забойное давление, необходимо провести несколько рейсов (ходов) свабом для откачки флюида (рис. 1.4). От рейса к рейсу гидростатическая неуравновешенность между пластом и скважиной возрастает, поэтому и приток из пласта возрастает. После определенного количества рейсов свабирования наступает квазиустановившийся режим, когда при заданной интенсивности отбора объем жидкости, извлеченный из скважины за время одного рейса, будет равен объему жидкости, поступающему из пласта. В скважине устанавливается некий динамический уровень.

При освоении скважины задача считается выполненной, когда из скважины с помощью сваба отобран требуемый объем жидкости.

Для интенсификации притока жидкости из пласта может быть проведено несколько циклов свабирования с перерывами между циклами в несколько часов. Считается, что в результате чередования резких и глубоких депрессий происходит постепенная «раскачка» пласта, очистка поровых каналов. График изменения давления в скважине для нескольких циклов свабирования представлен на рисунке1.3.

Рис.1.3. Распределение забойного давления при нескольких циклах свабирования

1.2 Гидродинамические процессы, происходящие в скважине


На рисунке 1.4 представлена кривая изменения забойного давления в процессе одного цикла свабирования. Для удобства анализа она разделена на 2 периода, характеризующие соответствующие гидродинамические состояния скважины.

Рис.1.4. Реальное распределение забойного давления при свабировании

. Период свабирования. При спуске сваба в НКТ под уровень жидкости забойное давление значительно не меняется. При движении сваба вверх на кривой изменения давления (КИД) на забое отмечается резкое падение давления. Сваб приходит в движение со скоростью порядка 1м/с, в результате этого под поршнем образуется волна разряжения величиной

[19]

(с-скорость звука в среде, м/с; ρ-плотность жидкости подпоршнем, кг/м3; υ-скорость поршня, м/с).может достигать 10-15 атм. Затем сваб с отсеченным объемом жидкости движется к устью, давление на забое увеличивается в результате притока из пласта и потери из-за негерметичностисваба. Если межтрубье не перекрыто пакером, то происходит переток жидкости из межтрубья в НКТ. Итоговое снижение давления к концу периода свабирования (1) определяется гидростатическим давлением сниженного несколькими рейсами свабирования уровня. По нему считается сниженный уровень жидкости в НКТ.

. Период КВУ. Из пласта продолжается приток, уровень жидкости в скважине увеличивается, забойное давление растет. Этот режим можно назвать режимом затухающего притока жидкости из пласта [4].

За цикл свабирования в скважине и пласте наблюдаются неустановившиеся процессы перераспределения давления.

1.3 Особенности ГДИ по технологии КВУ


При исследовании методом КВУ после снижения уровня свабом устье скважины остается открытым. В стволе скважины происходит подъем уровня жидкости. Сжатие жидкости в стволе скважины играет несущественную роль, изменение давления (т.н. кривая притока или КВУ) в скважине в основном определяется изменением гидростатического давления вследствие подъема уровня.

Во время 2 цикла, в период затухающего притока из пласта проводят комплекс промыслово-геофизических исследований с целью выявления работающих интервалов и оценки технического состояния колонны, определения плотности жидкости, глубины газожидкостного раздела и НВР.

Для регистрации данных, используют несколько способов измерения забойного давления.

Способ 1. Прекращают отбор жидкости из скважины. В ствол скважины опускают дистанционный или автономный манометр, устье скважины после свабирования оставляют открытым. Регистрируют кривую изменения давления во времени, т.н. кривую притока (КП).

Способ 2. При проведении ПГИ в свободное время ожидания между потокометрическими измерениями скважинный прибор устанавливают на одну и ту же глубину и регистрируют фрагменты изменения давления во времени. Затем эти фрагменты сшиваются при обработке в одну кривую изменения давления и обрабатываются.

Способ 3. При подготовке скважины для освоения свабом, при спуске колонны НКТ в специальном контейнере за НКТ спускают автономный манометр. Он регистрирует всю историю изменения давления в скважине при освоении свабом. После подъема НКТ извлекают манометр и получают КИД, которая содержит зависимость давления от времени для всех периодов и циклов свабирования.

Длительность кривой изменения давления зависит от продуктивности скважины, плотности жидкости, площади сечения поднимающегося в стволе скважины потока жидкости и наклона ствола скважины к вертикали. При регистрации КП дистанционным прибором достаточная длительность регистрации может быть оценена в процессе измерений. Для этого достигнутое время регистрации делят пополам и находят отношение приращения давления Dр2 к приращению давления Dр1 за первую половину времени. Если это отношение меньше 2/3, то такая КП может быть обработана с целью определения гидродинамических параметров пласта. При использовании автономных манометров такой возможности нет. Для предварительной оценки минимального времени регистрации КП можно воспользоваться формулой:

,      (1.1)

гдеV-объем жидкости, который должен поступить в ствол скважины

для установления статического уровня;

Объем V можно оценить как произведение S на H, где S- площадь сечения поднимающегося в стволе остановленной скважины потока, а H - разница между динамическим и статическим уровнями жидкости в стволе скважины [5].

За указанное время не произойдет полного восстановления давления в пласте и скважине, а ожидается примерно трехкратное уменьшение первоначального дебита. Поэтому целесообразно, по возможности, реальное время регистрации КП выбрать больше t0 [6].

При регистрации КП автономным манометром определяют не менее 4-5 положений динамического уровня и глубины НВР в стволе скважины, равномерно распределив измерения на весь интервал исследований.

При регистрации КП дистанционной комплексной аппаратурой измерение давления в точке прерывается, определяется положение ДУ и НВР, затем прибор возвращается на прежнюю глубину измерения и продолжается запись изменения давления во времени. При обработке из фрагментов формируется одна кривая притока [3].

В скважине с площадью поперечного сечения S, плотностью жидкости, поступающей из пласта, ρ и углом наклона α коэффициент ВСС будет считаться по формуле:

(1.2)

1.4 Обработка данных


Есть методы обработки данных КВУ позволяющие определить гидропроводность пласта и оценить состояние призабойной зоны через скин-фактор. Среди методов линейной анаморфозы это операционный метод Баренблатта и обобщенный дифференциальный метод Мясникова. Для их корректного использования необходим учёт всей истории изменения дебита и забойного давления в скважине [1].

Гидропроводность - это способность пласта-коллектора <#"887618.files/image009.gif">(1.3)

где- гидропроводность пласта;

k - проницаемость;- толщина пласта;

- вязкость жидкости, насыщающей поры пласта.

Скин-фактор - это гидродинамический параметр, характеризующий дополнительное фильтрационное сопротивление течению флюидов в околоскважинной зоне пласта, приводящее к снижению дебита по сравнению с совершенной скважиной. Причинами скин-фактора являются гидродинамическое несовершенство вскрытия пласта, загрязнение прискважинной зоны и прочие нелинейные эффекты. Применяя уравнение Дюпюи <https://ru.wikipedia.org/wiki/%D0%9F%D1%80%D0%BE%D0%B4%D1%83%D0%BA%D1%82%D0%B8%D0%B2%D0%BD%D0%BE%D1%81%D1%82%D1%8C_(%D0%BD%D0%B5%D1%84%D1%82%D0%B5%D0%B4%D0%BE%D0%B1%D1%8B%D1%87%D0%B0)> для плоскорадиального установившегося потока несжимаемой жидкости к вертикальной скважине:

(1.4)

где K- коэффициент продуктивности;

Q-дебит;

- изменение давления.

Получаем выражение для скин-фактора:

(1.5)

гдеS-этоскин-фактор;

K0 - потенциальная продуктивность, которая может быть получена от

совершенной скважины (при отсутствии скин-фактора);

K- фактическая продуктивность реальной скважины;

Rк - радиус контура питания (воронки депрессии), то есть расстояние

от скважины до зоны пласта, где давление полагается постоянным

и равным текущему пластовому давлению (примерно половина

расстояния между скважинами);

rc - радиус реальной скважины по долоту в интервале вскрытия пласта.

1.5 Выводы


По результатам обзора технологий освоения малодебитных скважин и гидродинамических исследований в процессе освоения скважин можно сделать следующие выводы:

-       свабирование является самым распространенным способом освоения скважин;

-       геофизические и гидродинамические исследования удачно вписываются в технологию освоения скважин свабом;

-       при освоении скважин свабом ГДИ обычно реализуются по технологии КВУ, в результате этого определяют только коэффициент продуктивности и пластовое давление;

-       на практике опробовано устройство для перекрытия ствола скважины, которое позволяет при освоении скважин свабом реализовать технологии КВУ и КВД;

-       возможность применения известных алгоритмов обработки КВД в этих условиях неочевидна и требует специального исследования.

ГЛАВА 2. МЕТОДЫ ИССЛЕДОВАНИЯ


На основе численных решений данной краевой задачи дипломником 2014 года Акчуриным Русланом Зуфаровичем[9], была создана диалоговая программа, которая моделирует кривую притока.

2.1 Математическая постановка задачи


Математическая постановка задачи включает уравнение пьезопроводности для давления в пласте [8]:

        (2.1)

Давление в пласте вначале и на большом удалении от скважины равно пластовому:

 ,      (2.2)

В пласте на стенке скважины для периодов (КП) заполнения трубы и периодов КВД условие [3]:

,     (2.3)

А для периодов свабирования в пласте на стенке скважины  задано следующее условие:

, (2.4)

вязь между давлением в скважине и давлением в пласте на стенке скважины задается через перепад в скиновой части пласта:

      (2.5)

Здесь - радиус скважины, м; -забойное давление при свабировании; - гидропроводность пласта, м3/(Па с);

k-проницаемость пласта,м2; h- толщина пласта, м; - вязкость пластовой жидкости, Пас; S-скин-фактор; Cs(t)- параметр ВСС, имеющий разные значения для периодов КП и КВД, м3/Па; χ - пьезопроводность пласта, м2/с.

Задача решается численно методом конечных разностей. Решение прямой задачи будет использоваться при планировании гидродинамических исследований и для решения обратной задачи об определении гидропроводности и скин-фактора пласта по комплексу КП - КВД [9].

2.2 Диалоговая программа изменения давления


На основе разработанной модели в среде Delphi было создано программное обеспечение для построения графиков изменения давления в периоды свабирования, восстановления уровня и восстановления давления.

После запуска программы перед нами появится окно программы как на рисунке 2.1.

Рис.2.1. Окно программы

Необходимо ввести фильтрационно-емкостные параметры пласта, а также параметр ВСС для промежутков восстановления уровня и давления.

Для построения кривой свабирования нужно нажать кнопку «Выбрать данные свабирования» и выбрать подготовленный ранее Excel-файл. После этого в окошке справа отразится кривая свабирования. Затем можно начать задавать параметры.

Так как в работе рассматривается только период КВУ, время периода КВД равно нулю. Давление задаем в атмосферах. Для параметра ВСС достаточно ввести параметры скважины и программа сама рассчитает ВСС. Программа начнет моделировать кривые изменения давления после нажатия на кнопку «Расчёт». Результаты последнего моделирования автоматически сохраняются в Excel-файл [9].

На рисунке 2.2 представлены десять смоделированных кривых изменения давления для разных значений гидропроводности и скин-фактора.

Рис.2.2. Кривые изменения давления. Шифр кривых - значения гидропроводности и скин-фактораS: 1 - =1Д*см/сПз, S=0.1; 2 - =1Д*см/сПз, S=5; 3 - =3Д*см/сПз, S=-1; 4 - =4Д*см/сПз, S=2; 5 - =5Д*см/сПз, S=0; 6 - =10Д*см/сПз, S=-0.1; 7 - =15Д*см/сПз, S=4; 8 - =20Д*см/сПз, S=3; 9 - =25Д*см/сПз, S=1; 10 -=30Д*см/сПз, S=0.5.

2.3 Система «Гидрозонд». Работа оптимизационного алгоритма


Система «Гидрозонд» предназначена для автоматизированной обработки данных гидродинамических исследований нефтегазонасыщенных пластов.

Разработанав ООО НПФ “ГеоТЭК” и на кафедре геофизики Башгосуниверситета. Первая версия вышла в 1994 году.

Основные этапы обработки:

·   ввод данных

·   хранение данных в локальной БД WS - формата

·   редактирование данных

·   вспомогательные расчеты гидродинамическим калькулятором

·   диагностированиепопроизводным

·   расчеты модельных кривых и оптимизация

·   обработка по выбранным алгоритмам

·   выдача заключения

Обрабатываемые данные ГДИ:

·        Данные, полученные по стандартной технологии многоцикловых ИПТ

·        КПД после остановки нагнетательных скважин

·        Кривые установления давления после пуска фонтанных и нагнетательных скважин

·        Кривые изменения давления после изменения режима работы скважины

·        Кривые притока по технологии КВУ после остановки скважин со стационарного режима отбора

·        Кривые притока и уровенные замеры по КВУ при освоении скважин

·        КВД при освоении скважин струйными насосами

Алгоритмы обработки данных КВУ:

·        метод индикаторных кривых по модели жесткого пласта с учетом данных инклинометрии

·        оптимизационный алгоритм по модели упругого пласта с учетом предыстории изменения давления

·        операционный метод Баренблатта

·        обобщенный дифференциальный метод (ОДМ) [10]

На рисунке 2.3 представлено окно программы «Гидрозонд-КИД» и выбор алгоритма обработки.

Рис. 2.3. Окно программы «Гидрозонд-КИД»

В своей работе я пользовалась оптимизационным методом, или, как ещё называют, методом подбора, который представлен на рисунке 2.4.

Рис.2.4. Работа оптимизационного алгоритма

В области «Параметры» задаются: текущее, минимальное и максимальное значения для соответствующих физических величин - пластового давления, гидропроводности, скин-фактора. При расчетах измеренное давление пересчитывается на указанную глубину кровли пласта.

Поэтому при задании параметров пластовое давление нужно указывать в расчете на глубину кровли пласта.

Кнопка «Расчет по текущим»- позволяет построить на графике теоретическую кривую при текущих значениях параметров. В первый раз интервал будет запрошен автоматически. Затем обработка будет проводиться в заданном интервале. Текущий интервал отображается над графиком. Для смены интервала используйте пункт «Рабочий интервал» локального меню графика.

Кнопка «Оптимизация»- выполняет поиск во всем заданном диапазоне параметров наилучшей кривой, в смысле среднеквадратичной дисперсии с замеренной кривой.

Задать диапазон параметров и шаг поиска для каждого параметра можно быстрой кнопкой в полосе меню или из локального меню графика - «редактировать параметры». Диалог имеет вид как на рисунке 2.5.

Рис.2.5. Задание области перебора параметров при оптимизации

Здесь можно указать диапазон значений и шаг изменения для каждого параметра для дальнейшей оптимизации.

В области «Top 20 (лучшая двадцатка)» отображены параметры не более двадцати обработанных теоретических кривых с наименьшей дисперсией. При выборе в этом окне строки - набора параметров на графике будет построена соответствующая теоретическая кривая (изначально красным цветом).

Запуск оптимизации производится нажатием кнопки «Оптимизация»

После нажатия кнопки «Оптимизация» программа начинает перебирать значения и выбирает те, которые наиболее лучше коррелируют с реальными параметрами. [10].

ГЛАВА 3. РЕЗУЛЬТАТЫ ОБРАБОТКИ


В ходе исследования не было выявлено однозначных закономерностей. Это видно из графиков 3.1 и 3.2.

Рассмотрим график на рисунке 3.1. На оси абсцисс отмечены реальные значения гидропроводности, а на оси ординат приведены результаты обработки в системе «Гидрозонд-КИД».

Рис.3.1. Зависимость заданных значений гидропроводности от полученных

Исходные значения гидропроводности менялись в промежутке от 1Д*см/сПз до 30 Д*см/сПз. исходное значение скин-фактора принимает значение от -1 до 5, пластовое давление оставалось равным 200атм. Как видно из графика, максимальная относительная погрешность составляет примерно 83%.

На рисунке 3.2 представлен график, где на оси абсцисс обозначены истинные значения скин-фактора, а на оси ординат значения, полученные после применения алгоритма «Оптимизации» в системе «Гидрозонд-КИД».

Рис.3.2. Зависимость заданных значений скин-фактора от полученных

Пластовое давление остается равным 200атм, а гидропроводность принимает значения от 1 до 30 Д*см/сПз. Максимальная относительная погрешность составляет около 400% при варьирующихся от -1 до 5 значениях исходного скин-фактора.

Для наглядности представлены числовые значения в таблице 3.1, где соотнесены заданные параметры и найденные в результате оптимизации.

Таблица 3.1. Значения параметров

Гидропроводность, Д*см/сПз

Скин-фактор

Заданные

Результат

Заданные

Результат

1

1

0.1

0.2

2

1.8

5

3.9

3

3

-1

-0.9

4

4

2

2

5

6

0

1.6

10

13

-0.1

0.8

15

4

4.4

20

27

3

4.8

25

44

1

4.9

30

55

0.5

4.9


Система «Гидрозонд-КИД» позволяет построить график зависимости значений скин-фактора от гидропроводности по данным пар гидропроводности и скин-фактора, для которых модельная КП лучше всего описывает фактическую кривую притока.

Рис. 3.3. Зависимость скин-фактора от гидропроводности

Из графика на рисунке3.3 можно увидеть, что есть связь между найденными параметрами гидропроводности и скин-фактора. Поэтому попытки одновременного определения этих параметровпо кривым притока безуспешны.

ЗАКЛЮЧЕНИЕ


Длительность регистрации КВУ или КП зависит от продуктивности скважины, плотности флюида, площади сечения поднимающегося в стволе скважины потока жидкости и угла наклона ствола скважины.

Обработка КВУ позволяет рассчитать пластовое давление, дебит <https://ru.wikipedia.org/wiki/%D0%94%D0%B5%D0%B1%D0%B8%D1%82> жидкости и коэффициент продуктивности <https://ru.wikipedia.org/wiki/%D0%9F%D1%80%D0%BE%D0%B4%D1%83%D0%BA%D1%82%D0%B8%D0%B2%D0%BD%D0%BE%D1%81%D1%82%D1%8C_(%D0%BD%D0%B5%D1%84%D1%82%D0%B5%D0%B4%D0%BE%D0%B1%D1%8B%D1%87%D0%B0)>. При совместной регистрации глубины уровня жидкости и давления глубинным манометром можно получить оценку средней плотности жидкости.

В моей работе были решены следующие задачи:

·        Были исследованы алгоритмы изменения кривых притока по модельным данным по нестационарным моделям при свабировании

·        Выявлены зависимости заданных значений от полученных параметров гидропроводности и скин-фактора

Попытки обработать КВУ по нестационарным моделям «с учётом притока» с целью получения гидропроводности удалённой зоны пласта искин-фактора <https://ru.wikipedia.org/wiki/%D0%A1%D0%BA%D0%B8%D0%BD-%D1%84%D0%B0%D0%BA%D1%82%D0%BE%D1%80>, не дают однозначной интерпретации КП. Кривая притока зависит от текущего дебита, а дебит, в свою очередь, зависит от значений гидропроводности и скин-фактора (формула 1.4).

Необходимо знать интервал временного изменения одного из этих параметров, чтобы иметь возможность однозначно определить другой из них.

СПИСОК ИСПОЛЬЗОВАННЫХ ИСТОЧНИКОВ


1.      Рамазанов А.Ш. Исследование алгоритмов обработки кривых притока малодебитных скважин // НТВ Каротажник. -2000. -Вып.74. -С.69-80

.        Кульпин Л.Г., Мясников Ю.А. Гидродинамические методы исследования нефтегазоводоносных пластов: учебник. М.: Недра,1974. 200с.

.        Самохин О.Н., Зарипов Р.Р., Хакимов В.С. Эффективный способ гидродинамических исследований пластов с применением модуля гидродинамических исследований МГДИ-54. - Патент РФ № 2341653 от 09.03.2007г.

.        Вольпин С. Г., Мясников Ю. А.Исследование малодебитных скважин в России // Нефтяное обозрение. -Весна, 1999 г. - С. 4-10.

.        Ипатов А.И., Кременецкий М.И. Геофизический и гидродинамический контроль разработки месторождений углеводородов. М.: НИЦ Регулярная и хаотическая динамика: Институт компьютерных исследований, 2005. 780с.

.        Медведев А.В. Компьютерная система обработки результатов гидродинамических исследований в скважинах // НТЖ Геофизика. - М.:ЕАГО,1997. - №4. - С.20-27.

.        Кулагина Г.Е., Камартдинов М.Р. Гидродинамические исследования скважин: учебник. - Томск, 2004. - 340с.

.        Иктисанов В.А., Байгушев А.В., Мусабирова Н.Х., Хуснутдинов А.А., Идиятова В.Р. Руководство по интерпретации КВД для различных типов скважин и геолого-промысловых условий. РД 153-39.0-536-07. - Бугульма, 2007. - 64с.

.        Акчурин Р.З. Модель изменения давления в скважине для комплекса МГДИ-54. Сб. тр. IX молодежной науч.-практ. конф. «Разведочная и промысловая геофизика: теория и практика» - ОАО «Башнефтегеофизика» - Уфа,2014. - С. 118-120.

.        Рамазанов А.Ш., Мухутдинов В.К. Гидрозонд плюс: описание алгоритмов системы автоматизированной обработки данных гидродинамических исследований пластов. - Уфа, 2002 год. - 20с.

.        Рамазанов А.Ш., Валиуллин Р.А., Осадчий В.М. Особенности гидродинамических исследований при освоении скважин // НТВ Каротажник. - 2002. - Вып. 94. - С.13-19.

.        Зарипов Р.Р., Хакимов В.С., Адиев А.Р. Способ освоения скважин и испытания пластов в процессе свабирования. - Патент РФ № 2341653 от 09.03.2007.

.        Усовершенствование методов гидродинамических исследований низкопроницаемых коллекторов при освоении скважин: диссертация кандидата технических наук: 25.00.17 / Исмагилов Р.Ф. ; [Место защиты: Всерос. нефтегазовый науч.-исслед. ин-т им. А.П. Крылова].- Москва,2010.- 200 с.: ил. РГБ ОД, 61 10-5/2245

.        Хасан Акрам, Вольпин С.Г., Мясников Ю.А., Дияшев И.Р., Джон Ли У, Шандрыгин А.Н. Исследование малодебитных скважин в России // Нефтегазовое обозрение, Т. 4. - Шлюмберже. - Весна 1999. - № 1. - С. 4-13.

15.    ЛандауЛ.Д., Лифшиц Е.М. Гидродинамика.Теоретическая физика, том VI. - Издание 6-е. - М., 2006 <http://ru.wikipedia.org/wiki/2006_%D0%B3%D0%BE%D0%B4>.- 736с.

.        Мищенко И. Т. Скважинная добыча нефти: учебник для вузов. - М:Нефть и газ, 2003.-816с.

.        Рамазанов А.Ш. Автоматизированная обработка результатов гидродинамических исследований пластов// НТВ Каротажник. - 2004. - Вып.14. - С.50-59.

.        Басниев К.С., Дмитриев Н. М., Каневская Р. Д., Максимов В. М.. Подземная гидромеханика: учебник для вузов. Институт компьютерных исследований, 2006. 488с.

Похожие работы на - Исследование алгоритмов обработки кривых притока при свабировании

 

Не нашли материал для своей работы?
Поможем написать уникальную работу
Без плагиата!
Без нейросетей!