Геология Марокского золоторудного поля и проект оценки Марокского рудопроявления (Енисейский Кряж)

  • Вид работы:
    Дипломная (ВКР)
  • Предмет:
    Геология
  • Язык:
    Русский
    ,
    Формат файла:
    MS Word
    457,33 Кб
  • Опубликовано:
    2015-06-25
Вы можете узнать стоимость помощи в написании студенческой работы.
Помощь в написании работы, которую точно примут!

Геология Марокского золоторудного поля и проект оценки Марокского рудопроявления (Енисейский Кряж)

Министерство образования и науки Российской Федерации

Федеральное государственное автономное образовательное учреждение

высшего профессионального образования

"Национальный исследовательский Томский политехнический университет"

Институт Природных Ресурсов

Специальность: Геологическая съемка, поиски и разведка полезных ископаемых

Кафедра: Геология и разведка полезных ископаемых



Дипломный проект

Геология Марокского золоторудного поля и проект оценки Марокского рудопроявления (Енисейский Кряж)











Томск - 2015 г.

Задание на выполнение работы

Тема работы: Геология Марокского золоторудного поля и проект оценки Марокского рудопроявления (Енисейский Кряж)

Техническое задание:

Исходные данные к работе (наименование объекта исследования или проектирования; производительность или нагрузка; режим работы (непрерывный, периодический, циклический и т. д.); вид сырья или материал изделия; требования к продукту, изделию или процессу; особые требования к особенностям функционирования (эксплуатации) объекта или изделия в плане безопасности эксплуатации, влияния на окружающую среду, энергозатратам; экономический анализ и т. д.).

Фондовые и опубликованные материалы по району работ, собранные во время прохождения производственной практики

Перечень подлежащих исследованию, проектированию и разработке вопросов (аналитический обзор по литературным источникам с целью выяснения достижений мировой науки техники в рассматриваемой области; постановка задачи исследования, проектирования, конструирования; содержание процедуры исследования, проектирования, конструирования; обсуждение результатов выполненной работы; наименование дополнительных разделов, подлежащих разработке; заключение по работе).

1) Геологическое строение района работ 2) Методика проведения оценочных работ 3) Производственная и экологическая безопасность 4) Экономическая часть

Перечень графического материала (с точным указанием обязательных чертежей)

1) Геологическая карта участка 2) ГТН на бурение скважин


Геологическое задание

"Оценочные работы на рудное золото в пределах Марокского рудного поля (Красноярский край).

Основание проведения работ

Приказ Роснедра от 26.02.2013 г. №182

Целевое назначение работ: Локализация и оценка прогнозных ресурсов золота категории C2 в жильно-прожилковых и прожилково-вкрапленных рудных зонах золото-сульфидно-кварцевого состава. Рекомендации по направлению дальнейших ГРР.

Пространственные границы объекта:Красноярский край, Северо-Енисейский район,листы О-46-20 Б, Г. Площадь работ 6 км2.

Основные оценочные параметры: Жильно-прожилковые и прожилково-вкрапленые рудные зоны золото-сульфидно-кварцевого состава протяженностью более 300 м, мошьностью не менее 10 м со средним содержание золота 2,0 г/т, пригодные для отработки открытым способом.

Геологические задачи.

) Разработать геолого-поисковую модель жильно-прожилковых и прожилково-вкрапленых рудых зон золото-сульфидно-кварцевого состава, адаптированную к геологическим условиям площади Марокского потенциального месторождения Марокского золоторудного поля Нижне-Чиримбинского золоторудно-россыпного узла Енисейского кряжа.

) Проследить жильно-прожилковые и прожилково-вкрапленые рудные зоны (рудные тела) золото-сульфидно-кварцевого состава. Оконтурить их, уточнить морфологию и вещественный состав, выполнить работы по изучению технологических свойств руд.

) Локализовать в пределах зон рудные тела, с содержанием золота, отвечающим оценочным параметрам, оценить прогнозные ресурсы категории Р1.

) Провести геолого-экономическую оценку по укрупненным показателям

Выявленных прогнозных ресурсов категории C2.

) Разработать рекомендации по направлению дальнейших ГРР.

Ожидаемые результаты

Разработана геолого-поисковая модель жильно-прожилковых и прожилково-вкрапленых рудых зон золото-сульфидно-кварцевого состава, адаптированная к геологическим условиям площадей Марокского потенциального месторожденя Марокского золоторудного поля Нижне-Чиримбинского золоторудно-россыпного узла Енисейского кряжа.

Прослежены и оконтурены жильно-прожилковые и прожилково-вкрапленые рудные зоны (рудные тела) золото-сульфидно-кварцевого состава. Уточнены их морфология и вещественный состав, выполнены работы по изучению технологических свойств руд.

Локализованы в пределах зон рудные тела, с содержанием золота, отвечающим оценочным параметрам, оценены прогнозные ресурсы категории C2.

Проведена геолого-экономическая оценка по укрупненным показателям выявленных прогнозных ресурсов категории C2.

Разработаны рекомендации по направлению дальнейших ГРР.

Сроки проведения работ

Начало: I квартал 2016 г.

Окончание: IV квартал 2016 г.

Реферат

Тема: Геология Марокского золоторудного поля и проект оценки Марокского рудопроявления (Енисейский Кряж)

Выполнил студент института природных ресурсов, группы 2300, Смагин Евгений Олегович.

Выпускная квалификационная работа инженера содержит 113 страниц, 10 рисунков, 61 таблицу, 36 источников литературы, 2 приложения:

- Геологическая карта участка Марокский.

- Геолого-технический наряд на бурение скважин

Актуальность данной работы это - необходимость расширения минерально-сырьевой базы золота Красноярского края.

Основными главами дипломного проекта являются:

.        Географо-экономические условия проведения работ.

.        Обзор ранее проведенных работ.

.        Геологическое строение.

.        Вещественный состав пород участка.

.        Методика проведения поисковых работ.

.        Подсчет запасов.

.        Производственная и экологическая безопасность при проведении поисковых работ.

.        Технико-экономическое обоснование продолжительности работ по проекту.

Специальной частью дипломного проекта является, изучение вещественного состава пород. Все образцы были отобраны в ходе прохождения практики. Было отобрано четырнадцать образцов, изготовлены шлифы для изучения рудовмещающих пород. Так же была посчитана сметная стоимость проекта, которая составила 76631545 рублей и написана глава по производственной и экологической безопасности при проведении оценочных работ.

Оглавление

Введение

. Географо-экономические условия проведения работ

. Обзор и анализ ранее проведенных работ

.1 Геологическая изученность

.2 Геохимическая изученность

.3 Геофизическая изученность

. Геологическое строение участка Марокский

.1 Стратиграфия

.2 Тектоника

.3 Метаморфические и метасоматические образования

.4 Гидротермальные образования

.5 Полезные ископаемые

4. Специальная часть

4.1 Петрографическая характеристика пород участка Марокский

. Методика проведения поисковых работ

.1 Обоснование постановки оценочных работ

.2 Топографо-геодезические работы

.3 Геологическая съёмка с поисковыми маршрутами

.4 Наземные геофизические работы

.5 Горнопроходческие работы

.6 Буровые работы

.7 Геохимические работы

.8 Опробование

.9 Аналитические исследования

.10 Методика контроля проб

.11 Контроль пробоотбора

.12 Контроль обработки проб

.13 Контроль аналитических работ

. Подсчет запасов

. Производственная и экологическая безопасность при проведении оценочных работ

.1 Производственная безопасность

.2 Экологическая безопасность

.3 Безопасность в чрезвычайных ситуациях

8. Технико-экономическое обоснование продолжительности работ по проекту

8.1 Таблица видов и объемов проектируемых работ (технический план)

.2 Расчет затрат времени, труда, материалов и оборудования по видам работ

.3 Расчет производительности труда, количества бригад и продолжительности выполнения отдельных работ

.4 План выполнения работ

.5 Расчет сметной стоимости проекта

.6 Расчеты основных расходов по видам работ

.7 Сводная смета

Заключение

Список использованной литературы

Введение


Во время прохождения производственной практики в ОАО "Красноярскгеолсъемка" был получен фактический материал в виде текстовых и графических данных, на основании, которого была построена данная выпускная работа. При работе в полевых условиях был отобран каменный материал для выполнения специальной части.

Основной целью в работе является выбор рациональной методики проведения оценочных геологических работ, основанной: на изучении геологического строения участка работ, изучении вещественного состава.

1. Географо-экономические условия проведения работ


Площадь проектируемых работ расположена в центральной заангарской части Енисейского кряжа, в южной части Северо-Енисейского (Перевальнинского) золотоносного района и административно относится к Северо-Енисейскому району Красноярского края (Рис. 1). Марокское рудное поле располагается в пределах Нижне-Чиримбинского золоторудного узла в низовьях бассейна р. Чиримбы.

Границы площади ограничены угловыми точками со следующими географическими координатами:

в.д. 93°56´31´´

с.ш. 59°33´7´´

в.д. 93°55´8´´

с.ш. 59°30´11´´

в.д. 93°58´48´´

с.ш. 59°33´4´´

в.д. 93°55´5´´

с.ш. 59°29´24´´

в.д. 93°58´44´´

с.ш. 59°31´12´´

в.д. 93°54´0´´

с.ш. 59°29´24´´

в.д. 93°58´5´´

с.ш. 59°31´12´´

в.д. 93°54´4´´

с.ш. 59°31´16´´

в.д. 93°58´1´´

с.ш. 59°30´7´´

в.д. 93°56´28´´

с.ш. 59°31´16´´


Рельеф водоразделов холмисто-увалистый, слаборасчлененный, со склонами средней крутизны и крутыми бортами ручьев и р. Чиримбы. Абсолютные высоты водоразделов от 470 до 510 м, относительные превышения водоразделов над тальвегами долин 200-240 м. Обнаженность территории слабая, склоны обычно задернованы, перекрыты элювиально-делювиальным чехлом мощностью до 2 м и залесены. Отдельные выходы коренных пород приурочены к берегам рек и водоразделам. Речная сеть представлена мелководной р. Чиримбой с левым притоком р. Мароко, принадлежащих бассейну р. Б. Пит.

По климатическим условиям район приравнен к районам Крайнего Севера. Климат района резко континентальный - с холодной (до -40 -56°С) продолжительной (октябрь-апрель) зимой и коротким (июнь-август) сравнительно жарким (до +35°С) летом. Среднегодовая температура по данным многолетних наблюдений отрицательная (от -2 до -5°С). Среднегодовое количество осадков 400-660 мм, большая часть которых (до 60%) выпадает в виде снега (мощность снегового покрова до 1,5-2,0 м). Паводок на реках наблюдается весной и осенью, в период продолжительных дождей сток рек и ручьев увеличивается многократно. Формирование устойчивого снегового покрова и ледостава на реках происходит в октябре - ноябре, таяние снега - в апреле - мае, вскрытие рек - в мае.

Глубина сезонного промерзания грунта достигает 1,5-2,0 м, участками отмечается островная многолетняя мерзлота. Растительность типична для сибирской тайги: лес хвойный - сосна, ель, пихта, реже лиственница, кедр и лиственный - береза, осина. По долинам рек - заросли ольхи, черемухи, рябины. Тайга с густым подлеском, с многочисленными гарями, завалами, буреломами.

Залесенность площади близка к 100%.

Сельскохозяйственные угодья, заповедники, заказники и другие объекты социальной охраны отсутствуют.

Площадь работ находится в слабо освоенной северной части Приангарского территориально промышленного комплекса. Административно относится к Северо-Енисейскому району Красноярского края. В непосредственной близости от площади ведется старательская добыча россыпного золота на р. Яхоте ОАО "Северная" и лесозаготовительные работы на прилегающей площади. Жилые посёлки на площади отсутствуют. В 35 км к югу расположен нежилой в настоящее время поселок Пит-Городок.

Расстояние от поселка до гравийного тракта, соединяющего районные центры Енисейск и Северо-Енисейск - 36км. Дорога при интенсивной эксплуатации золотодобывающими артелями и отсутствии ремонта приходит в негодность.

От пересечения ее с гравийной улучшенной автодорогой расстояние до районного центра Северо-Енисейск - 160 км, до Енисейска - 150 км. От гравийной дороги до пос. Пит-Городок до площади работ, до р. Яхоты можно добраться по лесохозяйственным и старательским дорогам. Непосредственно в пределах проектной площади дороги отсутствуют, в долине р. Яхоты проложена старательская грунтовая дорога.


В Северо-Енисейске находится аэропорт и автостанция. Вдоль дороги Южно-Енисейск - Северо-Енисейск проложена ЛЭП-110. Эколого-геологическая обстановка на большей части листа благоприятная

Геологическое строение площади одноярусное, сложное, обнаженность слабая, геофизические поля сложные, дешифрируемость плохая и только на отдельных участках удовлетворительная.

Основанием для постановки работ послужило выделение в пределах Нижне-Чиримбинского рудного узла Марокского рудного поля, в пределах которого поисковыми работами были выявлен прогнозируемое месторождение Марокское. По Марокскому прогнозируемому месторождению были оценены авторские прогнозные ресурсы золота категории Р2 - 93 т. Выявленные прогнозные ресурсы по Марокскому рудному полю апробированы в ФГУП ЦНИГРИ в количестве 70 т золота категории Р2.

Схема транспортировки грузов и персонала следующая: автомобильная дорога от г. Красноярска (база предприятия) до паромной переправы через Енисей - пос. Епишино (340 км), далее паром, и затем по улучшенной грунтовой автомобильной дороге Енисейск Северо-Енисейск через пос. Брянка до сворота на грунтовые лесохозяйственные дороги (150 км), далее на восток по грунтовой дороге до пос. Пит-Городок (36 км), далее 30 км на северо-восток до р. Яхота по грунтовой старательской дороге, далее 7 км по старательсрой дороге вдоль р. Яхота и 7 км вдоль долины р. Чиримба до базы партии в устье р. Мароко. Протяженность дороги от Красноярска до площади работ - 570 км.


2. Обзор и анализ ранее проведенных работ

 

.1 Геологическая изученность


История геологического изучения района, в который входит площадь работ, связана с развитием золотодобычи и началась 1845-71 гг. с открытия и отработки россыпей в приустьевой части р. Мароко, результаты добычи которых к настоящему времени не сохранились. В 1914 г. в долине р. Чиримбы работал прииск Благонадежный вблизи устья р. Мароко, добыто 8,7 кг золота. В 1912-1916 гг. ниже устья р. Мароко по долине р. Чиримбы проводились разведочные шурфовые работы с частичной отработкой, сведения о добыче утрачены. Россыпь золота в долине р. Яхота известна с 1931 г, которая разведывалась до 1939 г. Наиболее богатая часть россыпи в средней части долины отработана в 1933-43 г мускульным способом, добыто 133,4 кг металла, в ходе работ в русле р. Яхота была вскрыта кварцевая жила мощностью 0,3 м с видимым золотом, при ее опробовании получены содержания металла в 56 г/т. С 2008 г и до настоящего времени ведется отработка россыпи долины р. Яхота. В 1934 г. из россыпи долины р. Мароко разрезом протяженностью 300-350 м, шириной 30-50 м, добыто 8,1 кг золота.

На Нижне-Чиримбинской площади и в непосредственной близости от нее первые находки золотоносного кварца в коренном залегании, по данным А.И. Вызу, были сделаны Е.А. Кошелевым в 1933-1934 годах на левом берегу среднего течения р. Яхота, где шурфами, канавами, среди биотит-кварцевых сланцев, вскрыты линзообразные залежи микрокварцитов, пронизанных кварцевыми прожилками и жилами мощностью до 0,8 м и содержанием золота до 0,2 г/т. В 1941 г В.Г. Назаровым в среднем течении р. Яхота на обоих склонах вскрыты 2 зоны кварцевых жил северо-восточного простирания общей мощностью до 30-50 м, протяженностью до 480 м. Жилы сульфидизированного кварца кулисно расположены относительно друг друга. Содержание золота в пробах стекловатого, обохренного по трещинам кварца, отобранных из жил на поверхности - 0,2-0,8 до 1,6 г/т. В 1945 г А.Д. Сверкуновой в среднем течении р. Яхота на правом борту канавами прослежена на восток жильная зона, выявленная В.Г. Назаровым - вскрыто 8 кварцевых жил мощностью 0,2-1,8 м, с содержанием золота в них - от "следов" до 0,2 г/т. В 1958 г. В.А. Неволиным проведено переопробование кварцевых жил, содержание золота в них не превышает 0,2 г/т.

Отдельные выходы кварцевых жил от маломощных до 2,0 м были отмечены В.А. Сергеевым в 1933 г., А.М. Жуковым в 1947 г., А.Х. Ивановым, Ю.Н. Елховым в долинах ручьев Мароко и Певун с содержаниями золота в пробах от 0,8 до 12,8 г/т.

С 1959 г в районе работ начаты систематические съемочные и поисковые работы (Рис. 2.1).


В 1965 г. была издана Государственная геологическая карта масштаба 1:200 000 первого поколения. Работы по подготовке к изданию проводились с 1952 по 1958 год под руководством А.Х. Иванова. Были обобщены и увязаны между собой результаты поисково-съемочных работ масштаба 1:100 000 направленных на обнаружение бокситов, золота, радиоактивных руд, олова, алмазов и др. полезных ископаемых.

В период с 1965 по 1967 гг. производились геолого-съемочные работы с общими поисками масштаба 1:50 000, в результате которых геологическое строение площади значительно уточнено и детализировано. Работы сопровождались шлиховым и площадным литохимическим опробованием по вторичным ореолам рассеяния. Недостаток литогеохимических работ заключается в ограниченном количестве проанализированных элементов и отсутствии химико-спектральных анализов на золото. На левом берегу среднего течения р. Яхота вскрыты жилы кварца, переопробованы свалы кварца, содержание золота в породах не превышает 0,2 г/т.

В период с 1979 по 1983 гг. на площади проведено геологическое доизучение масштаба 1:50 000 с литохимическим и шлихогеохимическим опробованием, сосредоточенным на отдельных участках. К недостаткам этих работ следует отнести низкое качество обработки и анализа литохимических проб, что выразилось в лентовидном по линиям опробования распределении геохимических аномалий.

В 1993-99 годах на площади листа O-46-IV проводилось ГДП-200 силами ФГУГП "Красноярскгеолсъемка" и в 2000 году по результатам работ был выделен Нижне-Чиримбинский рудный узел с прогнозными ресурсами категории Р3 в количестве 50 т, которые были приняты НРС Роснедра (протокол НРС МПР РФ №14 от 6 марта 2000 г.). В 2008 году прогнозные ресурсы узла были уточнены и апробированы ЦНИГРИ категории Р3 в количестве 80 тонн. Узел охватывает бассейн нижнего течения р. Чиримбы. Он вытянут субмеридионально на 25 км при ширине 4-7 км. В его пределах известны проявления, пункты минерализации, россыпи и контрастные ореолы золота и мышьяка. По южной границе узел стыкуется с Елено-Таврикульским золоторудным узлом, в пределах которого находится прогнозируемое Таврикульское месторождение с ресурсами категории Р1 - 10 т и Р2 - 60 т золота.

На всей площади проведено литохимическое опробование по потокам рассеяния масштаба 1:500 000 и масштаба 1:200 000 (1 проба на 1 км2). Результаты донного опробования послужили основанием для прогнозной оценки узла по категории Р3.

В 2009-2012 г в пределах Нижне-Чиримбинского узла силами ОАО "Красноярскгеолсъемка" проведены поисковые работы на рудное золото. Было локализовано Марокское рудное поле с прогнозируемыми месторождением Марокским площадью 6 км2. По Марокскому полю оценены прогнозные ресурсы золота категории Р2 в количестве 93 т. Выявленные прогнозные ресурсы по Марокскому рудному полю апробированы в ФГУП ЦНИГРИ и приняты в количестве 70 т золота категории Р2. Для руд потенциального Марокского месторождения были проведены лабораторно-технологические исследования, в результате которых руды отнесены к золото-кварцевой формации с золото-кварц-малосульфидным промышленным типом оруденения со средневзвешенным содержанием металла 8,1 г/т. Нижне-Чиримбинский рудный узел оценен как высокоперспективный на выявление крупномасштабных промышленных месторождений золотокварцевой формации и даны рекомендации на дальнейшую постановку поисковых работ непосредственно на площади Марокского рудного поля.

Обобщающие и тематические исследования по проблемам магматизма, стратиграфии, метаморфизма, тектоники, истории развития и металлогении Енисейского кряжа в целом, и изученной площади в частности, проведены В.М. Даценко, Г.И. Качевской и Л.К. Качевским, Е.К. Ковригиной, Т.Я. Корневым, Л.В. Ли, А.Д. Ножкиным, В.Г. Петровым, Н.С. Подгорной, Е.С. Постельниковым, Г.А. Середенко и др. Результаты этих исследований в значительной мере были учтены при составлении комплекта Госгеолкарты-200.

 


2.2 Геохимическая изученность


Геохимические исследования площади проводились в конце 60-х начале 80-х годов прошлого века при ГС-50 с общими поисками в варианте площадного геохимического опробования по вторичным ореолам в м-бе 1:50 000, а также при ГДП-50 с литогеохимическим опробованием на отдельных участках. Результаты тех и других работ не удовлетворяют современным требованиям к анализу и обработке геохимических данных. В одном случае определялось ограниченное число элементов, анализ на золото не проводился вообще. В другом - отмечается повышенное содержание золота вдоль отдельных линий опробования, что характеризует неудовлетворительные метрологические характеристики химико-спектрального анализа на золото.

Анализ структуры геохимического поля по данным потоковой съемки-200 позволил выделить в нижнем течении реки Чиримба аномальное геохимическое поле ранга рудного узла (АГХП-РУ) изометричной формы с поперечным размером 20-25 км.

В пределах этого АГХП-РУ в южной части бассейна р. Мароко по изолинии 4 мг/т выделено АГХП ранга рудного поля (АГХП-РП-1) площадью около 25 км2, в контуре которого очерчивается водораздельное пространство площадью около 5 км2 - АГХП ранга рудного месторождения (АГХП-РМ-1) с повышенными содержаниями золота от 10 до 40 мг/т в водотоках первого порядка.

При обработке и интерпретации геохимических данных съемки по вторичным ореолам рассеяния по сети 200х50м и 100х20 м на Нижне-Чиримбинской площади, нацеленной на выявление продуктивных рудогенных систем ранга рудного месторождения (РМ) и рудной зоны (РЗ), были выделены АГХП ранга РП, РМ, оконтурены локальные аномалии Au. Для выделенных локальных аномалий Au приведены расчёты продуктивности, получена оценка ресурсного потенциала. При этом использован эмпирический коэффициент соответствия вторичный ореол - первичный ореол, равный 0,4, рассчитанный по канавам Нижне-Чиримбинской площади. Контурами проектной Марокской площади очерчена наиболее продуктивная на золото по геохимическим данным часть Нижне-Чиримбинского узла, работы на которой завершены в 2013 год.

 

.3 Геофизическая изученность


Геофизические исследования территории были начаты в 50-х годах прошлого века на локальных участках с целью поисков урана, бокситов и редких металлов. В начале 60-х годов в пределах листа О-46-IV проведена аэромагнитная съемка масштаба 1:25 000 с аппаратурой АММ-13 при погрешности 10-25 нТл. Часть выявленных магнитных аномалий была обусловлена метасоматическими породами золоторудных объектов, но точность этой съемки не соответствовала поисковым требованиям. В 1966-74 гг. в связи с массовыми поисками урана была проведена аэрогаммаспектрометрическая съемка масштаба 1:25 000, позволившая дифференцировать гранитоиды по спектрометрическим характеристикам. В это же время осуществлена гравиметрическая съемка масштаба 1:200 000. С начала 80-х годов начато изучение золоторудных районов Енисейского кряжа комплексной аэрогеофизической съемкой масштаба 1:25 000 с аппаратурой СКАТ-77, СДВР-АФ и проведена гравиметрическая съемка масштаба 1:50 000 , выявившая зоны развития метасоматитов и кор выветривания. По результатам съёмок были выделены аномалии, перспективные на золотоеоруденение, различной формационной принадлежности. На некоторых из них проведены наземные комплексные геофизические и поисковые работы, приведшие в ряде случаев к открытию золоторудных объектов.

Марокская площадь полностью охвачена аэромагнитной съемкой масштаба 1:25 000, выполненной аппаратурой АММ-13, АМФ-16, аэрогаммаспектрометрической съемкой масштаба 1:25 000 с АСГ-45, АСГМ-48, большая часть - комплексной аэрогеофизической съемкой масштаба 1:25 000 с аппаратурой СКАТ-77, СДВР-АФ и аэромагнитной съемкой масштаба 1:50 000 с аппаратурой ММС-214. Вся площадь покрыта гравиметрической съемкой масштаба 1:200 000

На стадии проектирования выполнялся анализ имеющихся на изучаемой территории материалов предшественников, оценивалась точность работ и качество съемок, выполненных с различной методикой и аппаратурой. Выполнялись операции необходимые для приведения всех съемок к одному уровню. Данные аэромагнитных съемок приведены к эпохе 1965 г с поправкой за вековой ход. Составлены электронные карты аномального магнитного поля и содержаний радиоактивных элементов погамма - спектрометрическим данным.

Для составления карт и их анализа использованы следующие данные:

результаты гравиметрической съемки масштаба 1:200 000;

результаты аэромагнитной и комплексной аэрогеофизической съемок масштабов 1:50 000 и 1:25 000.

При проведении поисковых работ в пределах Нижне-Чиримбинского золоторудно-россыпного узла на участке Марокском была проведена электроразведка ВП-СЭП и ВП-ВЭЗ. По результатам работ метода ВП-СЭП в центральной части Марокского участка выявлена обширная аномалия вызванной поляризации, которая прослеживается через весь участок и имеет сложную внутреннюю структуру. Направление аномальной зоны меридиональное, ширина от 200 м на юге участка и до 600 м в северной части. Протяженность аномалии ВП более 3 км. Интенсивность аномалии от 3 до 7%. ВП-ВЭЗ на разрезах хорошо отражается вертикальную зональность гидротермально-метасоматических процессов в рудных зонах, но конкретно их не выделяет.

В виду своей сложности и обширности, выявленная аномальная зона может представлять собой рудовмещающую структуру, включающую рудные тела золото-сульфидно-кварцевого типа оруденения в виде линейных зон с прожилково-вкрапленной минерализацией, так и протяженные кварцево-жильные зоны, сопровождающиеся ореолами вкрапленного оруденения, отвечающие малосульфидному золотокварцевому типу.

Понижение сопротивления на отдельных участках сложно построенной аномальной зоны от сотен до нескольких десятков Ом*м обусловлено сульфидизацией, а также возможно вызвано графитизацией углеродсодержащих сланцев.

Интерпретация и анализ геофизических материалов по Марокскому участку показал, что центральная аномальная зона наиболее соответствует модели золото-сульфидно-кварцевого типа и отвечает в большей части поисковым признакам аномальных объектов и может быть отнесена к перспективным на локализацию золотого оруденения в ее пределах. Проведенные горные и буровые работы на западной краевой части аномальной зоны подтверждают наличие золотоносных зон.

В пределах участка выявлен также ряд локальных и линейных аномалий интенсивностью до 4%, ширина этих аномалий 100-200 м, протяженность от нескольких сотен метров до 2 км.

На западном фланге Марокского прогнозируемого золоторудного месторождения высокими значениями кажущихся сопротивлений до 5000 Ом*м и значениями поляризуемости до 4% выделяется объект, отвечающий по своим характеристикам объектам малосульфидного золото-кварцевого типа оруденения. Этот объект пространственно совпадает с геохимическими аномалиями золота, для проверки которых проводились горные и буровые работы вскрывшие зоны золотого оруденения.

На восточном фланге Марокского прогнозируемого месторождения выделяется аномальная зона, которая отмечается поляризуемостью до 4,5%, кажущимися электрическими сопротивлениями до 1000 Ом*м с локальными повышениями сопротивлений до 2000 Ом*м. Выявленная аномальная зона, по своим характеристикам отвечает объектам золото-сульфидно-кварцевого типа оруденения. Протяженность аномальной зоны более 2-х км, направление параллельное центральной аномальной зоне. Ширина зоны до 200 м.

Для дополнения комплекса электроразведочных работ ранее проведенных на участке Марокском проведена площадная магнитная съемка по сети 100х10 м. Магнитная съемка проводилась для решения задач картирования рудовмещающих геологических образований - трассирование разрывных нарушений и зон гидротермально-метасоматически измененных пород, выявление и прослеживание магнитных неоднородностей с сульфидной (пирит-пирротиновой) и магнетитовой минерализацией. Наиболее интенсивные магнитные аномалии хорошо оконтуривают тела метасоматитов с высоким содержанием магнитного материала, а также трассируют осевую зону регионального тектонического нарушения. Западнее выявлена еще одна линейная аномалия ΔТ протяженностью 1,5 км, ширина аномалии 40-50 метров. Опыт проведения и материалы магниторазведочных работ в Бодайбинском районе Якутии на золоторудных объектах показывает, что при сгущении шага съёмки до 5м возможно выделение и прослеживание рудных гидротермально-метасоматических зон по понижению магнитного поля.


3. Геологическое строение участка Марокский


Территория Марокского золоторудного поля в составе Нижне-Чиримбинского золоторудно-россыпного узла расположена в центральной части Енисейского кряжа - складчато-надвиговой структуры обрамления Сибирской платформы.

В геологическом строении площади принимают участие стратифицированные образования нижнего протерозоя, рифея и четвертичной системы. Отложения расчленены в соответствии с легендой Енисейской серии Госгеолкарты-200 второго издания. Протерозойские и рифейские породы претерпели региональный метаморфизм эпидот-амфиболитовой и зеленосланцевой фаций и наложенные зональные динамотермальные преобразования и рассланцевание. В связи с рудными процессами интенсивно выражены метасоматические изменения пород. Последовательность разреза большей частью нарушена дизъюнктивами.

 

.1 Стратиграфия


Тейская серия представлена на площади верхней ее частью, сланцево - амфиболит - мраморной рязановской свитой, метаморфизованной в условиях эпидот-амфиболитовой фации.

Рязановская свита (PRùrz). Породы свиты в центральной части площади образуют полосу, выклинивающуюся к югу, и протягивающуюся вдоль долины р. Чиримбы и руч. Певун, где породы слагают Усть-Певунскую горст-антиклиналь, зажатую между тектоническими нарушениями меридионального направления. В разрезе свиты преобладают мраморы (40%), амфиболиты (35%), биотитовые сланцы (15%), кальцифиры (3%) и кварциты (7%), первоначально карбонатно-вулканогенно-терригенные породы, метаморфизованные до фации зеленых сланцев, биотитовой субфации. В основании разреза выделяется мощная (200-300 м) пачка мраморов, в средней части - мраморы и кальцифиры чередуются с прослоями амфиболитов, в верхней - наблюдается переслаивание мраморов, амфиболитов, биотитовых сланцев и кварцитов. В магнитном поле свита характеризуется резко переменным характером, с глубокими минимумами (до -100 нТл) над мраморами и интенсивными аномалиями (до 300 нТл) над амфиболитами. В гамма-поле свите соответствуют низкие значения 4-6 мкР/час. Мощность свиты составляет более 800 м.

Сухопитская серия. Породы серии наиболее широко распространены в пределах площади. Они залегают с угловым несогласием на различных образованиях дорифейского возраста, и представляет собой комплекс метаморфизованных осадочных образований с отчетливой трансгрессивно-регрессивной направленностью процесса осадконакопления. В нижней части разреза серии выделяется кординская свита, сложенная псефито-псаммито-алевритовыми отложениями, ее сменяют алеврито-глинистые и глинистые породы горбилокской и удерейской свит (трансгрессивное "плечо"). Породы серии метаморфизованы в зеленосланцевой фации: кординская свита в биотитовой субфации, вышележащие - в хлоритовой. Серия выделяется как метаморфизованная аспидная надформация: отложения трансгрессивной направленности выделяются в песчано-глинистую формацию. Отложения серии смяты в линейные, нарушенные взбросами складки.

Кординская свита (RFùkd). Отложения свиты занимают около 40% площади, слагают крылья сложно построенной антиклинали, с моноклинальными осложненными складками более высоких порядков, падением на запад и на восток. В составе свиты выделяются три пачки с неотчетливыми постепенными границами: нижняя - псефито - псаммитовая, средняя - алевритовая и верхняя - псаммито - алеврито - пелитовая ритмитоидная.

Нижняя пачка (200-300 м). В подошве свиты в разрезе по р. Чиримбе выделяется горизонт (8-10 м) метаконгломератов (галька карбонатная и кварцевая, цемент карбонатный) и два горизонта (1-2 м) метагравелитов. Метапесчаники имеют бластопсаммитовую структуру и неотчетливо слоистую текстуру. Преобладают среднезернистые разности, реже алевритистые или гравийные. По составу они кварцевые и кварц-полевошпатовые, цемент биотит-кварцевый поровый, пленочный, контактовый, реже регенерационный.

Среднюю часть разреза свиты слагает пачка (400-450 м) биотит-хлорит-серицитово-кварцевых углеродистых сланцев алевритистых (до метаалевролитов) серого, темно-серого, зеленовато-серого, фиолетово-серого цвета с микрослоистой текстурой и бластоалевритовой или лепидогранобластовой структурой. Состав зерен - кварц, полевой шпат, цемент кальцит - биотит - серицитовый, графитизированный. Слоистость обусловлена тонким (0,1-1,0 мм) чередованием алевритовых и слюдисто-карбонатных слойков (кальцита 5-10%).

Верхняя пачка свиты (300-350 м) сложена алевритистыми биотит - серицит - кварцевыми сланцами с горизонтами (от 0,2 до 10-30 м) тонкого (1-5 мм) ритмичного чередования сланцев и метаалеврито-песчаников. Общая мощность отложений кординской свиты составляет 900-1100 м.

Породы слабо магнитны. Выделяются области наложенного зонального метаморфизма эпидот-амфиболитовой фации вне видимой связи с интрузиями. В зонах тектонических нарушений сланцы свиты преобразованы в бластомилониты с формированием порфиробластов биотита, реже граната (динамосланцы), пропилитизированы, березитизированы, содержат вкрапленность пирротина и других сульфидов. В магнитном поле пирротинизированные сланцы выделяются положительными аномалиями (от 20 до 500 нТл). В метасоматически измененных породах и динамосланцах свиты локализованы многие проявления и пункты минерализации золота. На площади работ свита вмещает золотоносные зоны Средне-Яхотинского и часть золотоносных зон Марокского прогнозируемых месторождений.

Раннерифейский возраст пород свиты устанавливается по радиологическим данным (определения K-Ar методом, пробы отобраны за пределами площади): 1635 ма по сланцам р. Татарки, 1595 ма по сланцам руч. Актолик, 1345 ма по кварцевым порфирам р. Пенченги.

Горбилокская свита (RFçgr). Породы свиты развиты в восточной части площади и, наряду с кординскими, слагают моноклиналь. Представлены монотонными серицит-хлоритовыми сланцами (алевритистыми метапелитами) зеленовато-серого цвета лепидогранобластовой, порфиробластовой структуры и сланцеватой текстуры, с реликтовой нитевидной слоистостью. Мощность свиты составляет 600-700 м. Основу сланцев составляет тонкочешуйчатый (0,01-0,07 мм) хлорит-серицитовый агрегат (хлорита 10-30%). Алевритовый материал (5-15%) представлен кварцем и образует пунктирно-нитевидные слойки. Порфиробластовая структура проявлена спорадически и выражается наличием (1-3%) мелких (0,1-1,0 мм) овальных обособлений хлорита. В отдельных прослоях сланцев присутствует магнетит (1-3%). На участках проявления наложенного динамотермального метаморфизма в сланцах появляются порфиробласты биотита, граната. Иногда в них проявлены графитизация и пирротинизация. Южнее и севернее площади работ свита вмещает пункты минерализации золота, а непосредственно на самой площади - часть золотоносных зон Марокского прогнозируемого месторождения.

В магнитном поле сланцы выделяются протяженными до нескольких километров аномалиями от 20 до 800 нТл, обусловленными вкрапленностью магнетита. Характерно слабое повышение гамма - поля - до 14-15 мкР/час. Возраст отложений свиты принят как среднерифейский по радиологическим данным: 1205 ма (K-Ar метод) по филлитам в бассейне р. Тис.

Удерейская свита (Rçud). Отложения свиты развиты в восточной части площади, подразделены на три подсвиты: нижняя - сероцветная пелито - алевро - псаммитовая, средняя - зеленоцветная пелитовая и верхняя - темноцветная пелито - алевритовая. Подсвиты имеют четкие картировочные признаки и уверенно прослеживаемые границы. Их мощность колеблется в пределах 450-600 м. В каждой подсвите есть редкие тонкие (до 0,3 м) горизонты кремнистых конкреций с текстурой "con in con". Среднерифейский возраст свиты определяется согласным залеганием между радиологически датированными отложениями горбилокской и погорюйской свит.

Нижняя подсвита (Rçudù) состоит из двух пачек. Нижняя (200-250 м) сложена светло-серыми мелкозернистыми серицит-кварцевыми метапесчаниками и метаалевролитами в тонком (1-10 мм) чередовании с темно-серыми серицитовыми сланцами (пелито - алеврито - псаммитовые ритмиты). Границы слоев отчетливые. Верхнюю часть разреза (250 м) слагает пачка монотонных темно-серых серицитовых сланцев (метапелитов). Сланцы тонкочешуйчатые (0,005-0,04 мм) серицитовые с примесью хлорита (5-10, реже до 25%), тонкодисперсного углеродистого вещества, рассеянных зерен аутигенного кварца, альбита, циркона, апатита, граната. Породы подсвиты немагнитны, нерадиоактивны, повышенной плотности, обогащены халькофильными элементами. На АФС выходам пород подсвиты соответствуют серый фототон и мелкорасчлененный рисунок рельефа.

Средняя подсвита (Rçudç) сложена зелеными, зелено-серыми, серыми серицит-хлоритовыми, иногда карбонатсодержащими сланцами. Они представляют собой тонкочешуйчатые (0,005-0,05 мм) метапелиты (серицита до 80%, хлорита 3-20%, железистых карбонатов 1 - 5%). При выветривании породы приобретают специфический пористый пятнисто-точечный облик. Количество карбонатного материала увеличивается вверх по разрезу подсвиты, с образованием тонких прослоев (от 1-3 до 8-10 см) бурых карбонатных сланцев. В сланцах незначительно присутствует алевритистый материал (1-2%), представленный кварцем. Участками в метапелитах подсвиты развита вкрапленность магнетита (1-5%); кроме того, характерны пирит, пирротин, циркон, гранат, апатит, турмалин, иногда желтый монацит, авгит. Для этих пород характерны низкие содержания кремнезема (менее 60%) и повышенные сидерофилов. Магнитная восприимчивость сланцев колеблется в очень широких пределах. Выходам пород подсвиты соответствуют узкие полосовидные и линзовидные аномалии магнитного поля интенсивностью до 100 нТл.

Верхняя подсвита (R2ud3) на площади работ отсутствует.

В породах свиты локализованы пункты минерализации золота и часть золотоносных зон Марокского прогнозируемого месторождения.

Четвертичная система (aQ). Верхненеоплейстоценовые - голоценовые отложения нерасчлененные представлены аллювием первой надпойменной террасы (a1III-H), узкие фрагменты которой сохранились в долине р. Чиримбы. Сложены террасы галечниками с песчаным заполнителем, мелкозернистыми серыми полимиктовыми песками с линзами светло-коричневых суглинков. Мощность отложений первой террасы достигает 5 м. На отдельных участках отложения золотоносные.

Голоценовые отложения представлены пойменным аллювием. Аллювий поймы (aH) сложен галечниками русловой фации и серыми полимиктовыми средне-, крупнозернистыми, иногда гравийными песками и супесями пойменной фации мощностью 2-4 м. Аллювиальные отложения пойм многих рек и ручьев золотоносные.

 

.2 Тектоника


В структурно-тектоническом плане площадь расположена к востоку от Панимбинского антиклинория, восточная граница которого проходит по Чиримбинскому надвигу Ишимбинского глубинного разлома, расположенного непосредственно вдоль западной границы площади. Восточнее надвига располагается Енашиминское поднятие, являющееся составной частью зоны Ангаро-Тунгусских складок, в пределах которого располагается район работ.

Енашиминское поднятие представляет собой автохтонную структуру, сложенную, в основном, породами сухопитской серии. Западная часть поднятия имеет сложное тектоническое строение и, как область сжатия на фронте Чиримбинского надвига, выделяется в Вангашский блок, а восточная с более простым строением - в Ненчанский (за пределами площади). В гравитационном поле Енашиминское поднятие выделяется положительной аномалией (до 10 мГал), для него характерно спокойное магнитное поле с серией линейных положительных аномалий (до 500-800 нТл) и низкоконтрастное гамма-поле.

Последовательность формирования стратифицированных и метаморфических образований, наличие перерывов, этапов складкообразования и метаморфизма позволяют выделить в пределах площади два структурных этажа [Стороженко, 2003], отвечающих крупным тектоно - магматическим циклам: раннепротерозойский (карельский), позднепротерозойский (байкальский).

Раннепротерозойский (карельский) структурный этаж делится на два яруса. Образования нижнего яруса в районе не обнажаются. Верхний ярус представлен сланцево - амфиболит - мраморной (рязановская свита) формацией.

Породы этажа залегают с несогласием на позднеархейских и раннекарельских образованиях, представляют собой чехол протоплатформы с высокозрелыми терригенными осадками в основании, проторифтовыми вулканитами и карбонатами в верхах и образуют сложные структурные ассоциации. В автохтонном залегании они слагают ядерную часть Певунской антиклинали. Простирание пород здесь субмеридиональное, падение на восток и опрокинутое на запад под углами 20-70° при наличии осложняющих мелких складок.

Породы позднепротерозойского (байкальского) структурного этажа образуют шесть тектонических ярусов: сухопитский, тунгусикский, киргитейский, панимбинский, чингасанский и чапский. В пределах района выделяются только образования сухопитского яруса.

Сухопитский ярус сложен породами метаморфизованной аспидной надформации (сухопитская серия). Породы аспидной надформации залегают с угловым несогласием на образованиях карельского и позднеархейского этажей, представляют собой типичный шельфовый комплекс и дислоцированы с разной степенью сложности. В Вангашском блоке, к которому относится район, породы яруса на фоне общего погружения на восток смяты в узкие линейные асимметричные, часто запрокинутые на восток и на запад складки, крылья которых осложнены плойчатой изоклинальной складчатостью. Углы падения меняются от 20 до 85° (преобладающие 45-70°). В связи с проявлением постскладчатых разрывов сохранились лишь фрагменты складок, среди которых выделяется Певунская антиклиналь. Напряженная складчатость подчеркивается полосовидными магнитными аномалиями (50-1000 нТл), обусловленными наличием магнетитсодержащих сланцев и метасоматических пород. Певунская антиклиналь осложнена тектоническими нарушениями взбросо-сбросового характера и представляет собой горст-антиклиналь, в ядре которой обнажены отложения рязановской свиты нижнего протерозоя, а на крыльях кординской свиты. Антиклиналь имеет линейный характер, субмеридиональное простирание. С запада, за рамкой площади она сопряжена с Чиримбинской синклиналью, в ядре которой обнажены отложения удерейской свиты, а на крыльях породы горбилокской и кординской свит смятых в более мелкие складки с размахом крыльев до 20 м, с крутыми углами падения с запрокидыванием складок, как на запад, так и на восток. Восточное крыло антиклинали сложено отложениями кординской, горбилокской и удерейской свит с моноклинальным залеганием и падением на восток под углом 50-70º, осложненным мелкими складками высоких порядков, выявленными в процессе проведения предшествующих горно-буровых работ. Горные работы часто не дают реальной картины залегания пород вследствие запрокидывания и формирования на крутых склонах нарушенного залегания пород не отвечающего действительному. При бурении профилей скважин было подтверждено моноклинальное падение на восток, осложненное мелкой изоклинальной складчатостью.

Разрывные нарушения определяют блоковое строение современного структурного плана района. По данным дешифрирования АФС в сочетании с электроразведочными и магниторазведочными данными выделены системы линейных и дуговых часто сопрягающихся, "чешуйчатых" разломов субмеридионального и северо-восточного простирания, разбивающих сухопитскую толщу на блоки с разным уровнем стояния. По кинематике движений разломы имеют взбросо-сбросовый характер. По электроразведочным данным дизъюнктивам соответствуют зоны разуплотнения, выраженные узкими линейными понижениями сопротивления, а в магнитном поле они выражены зонами градиентов линейных положительных аномалий. В канавах им соответствуют системы узких (первые метры) зон брекчирования, вторичного интенсивного рассланцевания, милонитизации и повышенного прожилково-жильного окварцевания. Плоскость сместителя разрывных нарушений, частично субвертикальная и с восточным падением, согласующаяся с падением сланцеватости. В скважинах зоны брекчирования часто послойные, согласующиеся со сланцеватостью и сопровождающиеся зеркалами скольжения. Монотонность толщи, постепенный характер границ между свитами, отсутствие маркирующих горизонтов не позволяет четко определить амплитуду перемещений по разломам, вероятно, она составляет от первых десятков до сотен метров. Кроме выделенных разломов по геофизическим данным намечены предполагаемые разрывы северо-западного и субширотного простирания.

В зонах тектонических нарушений проявлены метасоматические изменения в виде окварцевания, альбитизации, пропилитизации, березитизации, сульфидизации и графитизации, на которые наложено золото-сульфидно-кварцевое оруденение (Марокское золоторудное поле и все выявленные предшественниками проявления и пункты минерализации).

3.3 Метаморфические и метасоматические образования


На территории Марокского рудного поля протерозойские отложения преобразованы в процессе регионального метаморфизма в различные по составу породы. Степень метаморфизма пород в зависимости от положения в разрезе различна. По минералогическим ассоциациям и структурно-текстурным признакам можно выделить несколько фаций регионального метаморфизма. На описываемой территории так же широко развиты продукты дислокационного метаморфизма и метасоматические образования.

В соответствии с данными ГДП-200, здесь проявлены продукты эпидот-амфиболитового и зеленосланцевого этапов регионального метаморфизма. Эпидот - амфиболитовая фация метаморфизма представлена породами рязановской свиты нижнего протерозоя. В ходе посттунгусикского метаморфизма в отложениях сухопитской и тунгусикской серий формируется зеленосланцевый комплекс со сменой парагенезисов от мусковит - биотитовой (кординская свита) до серицит-хлоритовой (горбилокская, удерейская свиты) субфаций.

Продукты дислокационного метаморфизма представлены милонитами, катаклазитами и динамосланцами, трассирующими тектонические нарушения в стратифицированных толщах. Процессы дислокационного метаморфизма сопровождаются, по всей вероятности, процессами обуглероживания сланцев и кремне-щелочного метасоматоза с формированием кварц-серицитовых метасоматитов березитового ряда и зон окварцевания и альбитизации, вмещающих золотое оруденение.

Динамосланцы развиты вблизи плоскостей взбросов. Их формирование сопровождалось прогревом и перекристаллизацией, что привело к возникновению в толще отложений сухопитской серии сланцев с многочисленными (до 20%) порфиробластами биотита, реже граната. Переходы к динамосланцам постепенные, через зоны рассланцевания и разлинзования.

Локальный динамо-термальный метаморфизм приразломного типа. Приразломный метаморфизм проявлен в серии сближенных тектонических зон шириной в сотни метров (до 2 км) в полосе, протягивающейся почти на 20 км от р. Мароко на севере до р. Яхоты на юге. В пределах зон не происходит существенной структурной перестройки пород, а лишь формируются порфиробласты биотита, реже граната.

Выделяются следующие типы метасоматитов: пропилиты, кварцевые, альбит-кварцевые, серицит-кварцевые, и углеродистые образования. Для них характерна приуроченность к разломам и зонам повышенной проницаемости.

Пропилиты проявлены в зонах тектонических нарушений и вдоль границы структурного несогласия сухопитской серии и дорифейских комплексов. Пропилиты формируются по отложениям кординской свиты на участках их несогласного налегания на мраморы рязановской свиты. Зоны контакта трассируются протяжёнными (до 7 км) телами апоалевритовых и апопсаммитовых эпидот - актинолитовых и эпидот - кальцит - актинолитовых пропилитов и пропилитизированных пород мощностью до 200 м. Количество новообразований в рифейских породах увеличивается к подошве, в мраморах появляются кварцевые, кварц-карбонатные, кварц-серицитовые прожилки. Возникновение подобных образований связано с процессами перераспределения элементов на границах контрастных сред в ходе зеленосланцевого метаморфизма. Эти пропилиты безрудны и характеризуются повышенными содержаниями Sr, Ba, B иногда Mn.

Углеродистые метасоматиты на территории локализуются вдоль разрывного нарушения в восточной части участка Марокского шириной до 300 м протяженностью около 3 км. В общем случае они представляют собой черные тонкочешуйчатые породы углеродисто-серицит-кварцевого состава с примесью турмалина и пирротина, резко выделяющиеся в магнитном поле и поле поляризуемости.

В зонах тектонических разломов, проявленных зонами брекчирования и милонитизации, формируются зоны шириной до 50 м кварцевых (кварца до 50-70%), альбит-кварцевых метасоматитов состоящих из альбита (5-20%), кварца (45-73%) и незначительного количества серицита, хлорита, порфиробласт биотита и метасоматитов березитового ряда. Березитизация представлена широкими (до 100 м) зонами березитизированных сланцев с маломощными (до первых десятков сантиметров) полнопроявленными кварц-серицитовыми и серицит-кварцевыми метасоматитами, до серицитолитов, с сульфидной минерализацией (пиритом, пирротином, арсенопиритом, реже халькопиритом, сфалеритом, галенитом). Зоны метасоматитов сопровождаются жильно-прожилковым окварцеванием.

3.4 Гидротермальные образования


Золотоносные зоны представляют собой системы разреженных линейных штокверков, образующих маломощные золоторудные интервалы 1-10, редко до 25 м, приуроченные к разрывным нарушениям и субпараллельным им зонам трещиноватости. Линейные штокверки сложены разноориентированными, линейными и извилистыми, иногда ветвящимися прожилками и единичными жилами кварцевого, карбонатно-кварцевого, хлорит-биотит-кварцевого, альбит-кварцевого составов в поле развития березитизированных, окварцованных, альбитизированных, в разной степени сульфидизированных пород кординской, горбилокской и удерейской свит раннего-среднего рифея.

Основным жильным минералом является кварц, слагающий жилы на 70-95%. Он ассоциирует с карбонатом, плагиоклазом, серицитом, хлоритом, мусковитом, биотитом, сульфидами.

Выделяется несколько разновидностей кварца. Кварц образующий редкие, относительно мощные (до 30 см) жилы белый до молочно-белого, матовый, средне - крупнокристаллический с единичными пустотами-гнездами гидроокислов железа, не несущий золотого оруденения.

Оруденелые жилы выполнены двумя разновидностями кварца: пятнистым серым до голубовато-серого с пятнами светло-серого, полупрозрачным, мелко - среднекристаллическим и светло-серым, полупрозрачным до матового мелко-среднекристаллическим. Кварц часто трещиноватый с лимонитом, развитым по трещинам, который часто прокрашивает кварц и по массе в желто-бурый цвет. Жилы и прожилки в зальбандах, реже по трещинам обогащены выделениями мусковита, биотита, хлорита, плагиоклаза и гнездами причудливой формы гидроокислов железа, развитых в зоне окисления по железистому карбонату и в меньшей степени по пириту, пирротину. В локальных зонах будинажа кварцево-жильные тела (с видимым золотом) сложены кварцем пятнистым от светло-серого, серого, полупрозрачного до матового, крупнокристаллического в центральной части, до серого, темно-серого, полупрозрачного до матового, мелко - среднекристаллического. В зальбандах будин частые гнезда (до 2-3 см) гидроокислов железа с гнездообразными скоплениями сотен знаков видимого золота. Отдельные рудные интервалы представлены сланцами с частыми, поперечными простиранию, нитевидными, быстро выклинивающимися золотоносными прожилками кварц-биотитового состава, где биотит расположен в виде каймы по контакту кварца.

Вмещающие породы и жильно-прожилковые образования секутся более поздними прожилками, мощностью от нитевидных до 2 мм кварц-карбонатного, пирит-карбонат-кварцевого состава, железистые минералы которых в зоне окисления замещаются лимонитом. Перспективы данных образований на золотое оруденение неясны.

 

.5 Полезные ископаемые


Площадь работ расположена в центре Енисейской минерагенической провинции в южной части Северо-Енисейского (Перевальнинского) золотоносного района, в Нижне-Чиримбинском золоторудном узле.

Основным полезным ископаемым проектируемой площади, как и в районе в целом, является золото - рудное и россыпное, добыча которого из россыпей ведется с середины XIX века.

Золото коренное.

Марокское прогнозируемое месторождение расположено в нижней части бассейна р. Мароко. В пределах золотоносных зон при ширине 300-450 м и протяженности 1100-1800 м выделены золоторудные интервалы с суммарными мощностями в пределах золотоносных зон от 14 до 36,3 м. Золоторудные интервалы представлены кварцево-жильно-прожилковыми образованиями в метасоматически измененных породах кординской, горбилокской и удерейской свит. Для руд Марокского прогнозируемого месторождения были проведены лабораторно-технологические испытания, в ходе которых установлено содержание золота 8,1 г/т. В целом для потенциального месторождения Марокского авторские прогнозные ресурсы оценены в количестве 93 т категории Р2 до глубины 200 м, включая южный фланг с глубиной оценки до 100 м.

В непосредственной близости с севера и юга к проектируемой площади на продолжении золотоносных структур в пределах Марокского рудного поля по результатам предшествующих работ выявлены пункты минерализации золота представленные одиночными выходами жильного кварца (мощностью 0,1-2 м) и его развалами с содержаниями золота от 0,1 до 84,8 г/т, приуроченные к породам сухопитской серии и единично к толще рязановской свиты.

Золото россыпное

В пределах площади работ выявлены и, к настоящему времени, частично отработаны россыпи рр. Чиримба и Мароко.

В долине р. Чиримбы расположена Нижнечиримбинская россыпь, длиной в пределах площади 2,3 км. Ширина промышленного контура россыпи колеблется от 40 до 200 м, средняя мощность массы 3,8 м. Золото (до 2 мм) бледно-желтого цвета, полуокатанное, окатанное, пластинчатое, есть мелкие самородки (до 10 г), пробность 875. Отрабатывалась только в приустьевой части р. Мароко, добыто 8,7 кг золота. В бортах р. Чиримбы сохранились останцы первой надпойменной террасы с содержанием золота 682-962 мг/м3 на пласт мощностью 0,4-0,6 м.

Россыпь руч. Мароко. Длина 3,7 км, ширина 10-70 м, мощность песков 0,2-1,6 м при средней мощности массы 4 м. Содержание золота на пласт варьирует от 80 до 6270 мг/м3. Разрабатывалась в приустьевой части.

Анализ материалов предшествующих работ позволяет прогнозировать высокую степень перспективности Марокского рудного поля на открытие промышленно значимых объектов золота.


4. Специальная часть

 

.1 Петрографическая характеристика пород участка Марокский


Цель исследования - изучение вещественного состава участка Марокский для разработки более рациональной методики проведения работ.

Изучение рудовмещающих пород и руд проведено с применением исследований макроскопического описания образцов и прозрачных шлифов.

Текстурно-структурный анализ образцов руд выявил значительное разнообразие их морфологических типов. Отмечаются ориентированные текстуры и микротекстуры: сланцеватые, вкрапленные, линзовидные, а также смешанные: прожилково-вкрапленные, вкраплено-прожилковые, гнездово-вкрапленные. Наибольшим распространением в минерализованных зонах пользуются вкраплено-прожилковые текстуры. Наблюдаются признаки тектонической переработки пород, а именно микроскладчатость (изгибы полосчатости).

Структуры минеральных агрегатов по морфологии также характеризуются значительным разнообразием. Наибольшим распространением пользуется гранобластовая структура, свидетельствующая о метасоматическом замещении пород (часто до полного замещения исходной породы).

Основу рудной минерализации участка составляют сульфиды.

Шлиф 1

Минеральный состав:

Кварц - 20%

Серицит - 40%

Хлорит - 40%

Кварц - Хлорит - Серицитовый сланец

В данном шлифе присутствуют субизометричные зерна кварца, они наблюдаются в виде отдельных гнезд с различным размером зерен кварца из которых они состоят. Наблюдаются околожильные изменения породы, по этим изменениям можно сказать что порода испытывала давление. Структура фиброгранобластовая, текстура плойчатая. Все масса породы мелкозернистая, перетертая.

Рис. 3.1 Фото шлифа при 40х увеличении, николи скрещены. Кварц - хлорит - серицитовая масса с включениями кварца.

Шлиф 2

Минеральный состав:

Кварц - 40-45%

Хлорит - 25%

Серицит - 30-35%

В шлифе наблюдается кварцевый прожилок зерна кварца гипидиоморфные, структуру гранобластовая. Зерна кварца крупного размера, на контакте со вмещающей породой зерна кварца частью раздроблены в более мелкую массу. Контакт четко выражен и можно сказать что внедрение происходило после того как основная порода сформировалась. Вблизи кварцевого прожилка пород окварцована. Основная масса сложена Хлоритом и Серицитом мелкозернистыми и окварцованными.

Рис. 3.2 Фото шлифа при 40х увеличении, николи скрещены. Контакт вмещающей породы с кварцевым прожилком.

Шлиф 3

Кварц - Хлорит - Серицитовый сланец

Минеральный состав:

Кварц - 60%

Хлорит - 20%

Серицит - 20%

В данном шлифе наблюдаются гнезда кварца, которые находятся в мелкозернистой матрице породы, которая состоит из того же кварца, Серицита и хлорита. Так как порода явно более светлая относительно других образцов, можно утверждать о его окварцевании. В шлифе наблюдается мелкая сульфидная вкрапленность, видимо это связанно с прожилки сульфидного компонента. Наблюдается как укрупненный прожилки, так и более мелкие.

Рис.3.3 Фото шлифа при 40х увеличении, николи скрещены. Система трещин в основной вмещающей породе, заполненных рудным веществом.

Шлиф 4

Кварц - хлорит - Серицитовый сланец.

Структура фиброгранобластовая текструра плойчатая. Наблюдается отдельные вкрапления сульфидов, исходя из макроскопического наблюдения, можно предположить что это пирит. Определить процентное содержание затруднительно в связи с их взаимоотношением, кварц представлен в виде мелкозернистой массы. Так же наблюдаются микротрещины, по которым видимо шли подвижки, об этом говорит изменение формы пород возле этих трещин. За подобные изменения в данном шлифе отвечает скорее всего тектоника, которая и привела к микроскладчатости. По трещинкам распространился сульфидный компонент.

Рис. 3.4 Фото шлифа при 40х увеличении, николи скрещены. Кварц - хлорит - серицитовая масса с тектоническими подвижками по трещинам.


5. Методика проведения поисковых работ


Для проведения оценки золотого оруденения предлагается следующий комплекс работ:

1.      Топографо-геодезические работы;

2.      Геологическая съемка;

.        Наземные геофизические работы

.        Горнопроходческие работы;

.        Буровые работы;

.        Геофизические исследования в скважинах;

.        Геохимические работы

.        Опробование;

.        Камеральные работы.

Изучение месторождения проводится поэтапно. Первоначально проводятся наземные полевые работы, такие как топографо-геодезические работы, геологическая съемка. При получении положительных результатов, проводится сгущение сети разведочных выработок.

На заключительной стадии будут проводиться камеральные работы, изучаться материалы, собранные в полевом сезоне, составлены карты, отчеты.

При получении отрицательных результатов даются подробные геологические и экономические обоснования для отбраковки месторождения.

5.1 Обоснование постановки оценочных работ


В 2013 г. завершились поисковые работы на Нижне-Чиримбинской площади (90 км2) расположенной в пределах Нижне-Чиримбинского золоторудно-россыпного узла. В результате работ в пределах узла выделено Марокское рудное поле, в пределах которого выявлено Марокское потенциальное месторождение. В пределах Марокского рудного поля на площади 6 км2, охватывающей потенциальное месторождение, проектировалась постановка поисковых работ с целью детализации строения жильно-прожилковых и прожилково-вкрапленных зон золото-сульфидно-кварцевых руд и локализации прогнозных ресурсов категории Р1.

Нижне-Чиримбинский золоторудно-россыпной узел является составной частью Северо-Енисейского рудного района Енисейской золотоносной провинции. В структурно-тектоническом плане узел располагается на восточном фланге Панимбинского антиклинория, восточная граница которого проходит по Чиримбинскому надвигу, в пределах Енашиминского поднятия зоны Ангаро-Тунгусских складок.

5.2 Топографо-геодезические работы


Топографо-геодезические работы проектируются с целью выноса на местность горных выработок и скважин, их закрепление и привязка на местности. Каркас сети наблюдений на местности будет создаваться путём проложения линий профилей.

Все буровые скважины и пикеты канав будут привязаны инструментально методом линейно-угловых засечек. Точность привязки отвечает требованиям инструкций по топографо-геодезическому обеспечению геологоразведочных работ.

Для вынесения в натуру проектного расположения скважин и горных выработок, их плановой привязки и топографического основания поверхности рудных зон предусматривается комплекс топографо-геодезических работ следующего состава:

прорубка просек (визирок) и профилей;

разбивка просек (визирок) и профилей мерным шнуром;

закрепление пунктов опорной геодезической сети на местности ;

перенос на местность проекта расположения точек геологоразведочных наблюдений и привязка их к топографической карте;

тахеометрическая съёмка масштаба 1:1000 участков разведочных работ.

Основным результатом работ будет являться создание топоосновы для геологических карт масштаба 1:10000, 1:5000 и 1:2000

5.3 Геологическая съёмка с поисковыми маршрутами


Геолого-съёмочные и поисковые маршруты планируется проводить с целью детального геологического изучения района, установление параметров и опробование рудоносных образований, уточнение геологической ситуации.

Планируется провести съемку по сети 100х20 м. При геологической съемке будет использован обломочный метод, основанный на изучении аллювиальных, делювиальных и элювиальных ореолов механического рассеивания. Сущность его заключается в обнаружении в отложениях обломков руды или сопутствующих минералов индикаторов и прослеживании их вплоть до коренного выхода руды. Обломочный метод применяется в горно-таежных условиях в комплексе со специализированным геологическим картированием. С его помощью обнаруживаются коренные выходы многих рудных полезных ископаемых.

По результатам геолого-съемочных работ будет построена карта изучаемого участка в масштабе 1:10000.

5.4 Наземные геофизические работы


Наземные геофизические работы будут проводиться с целью выявления скрытого оруденения, а также для уточнения геологической основы, выявления внутреннего строения рудоносных интрузивов и вмещающего геологического разреза.

Все геофизические работы будут проводиться по сети 100×20 в следующей последовательности:

на первом этапе будет проводиться площадная магнитометрическая съемка, в результате которой будут выделены предполагаемые рудовмещающие зоны;

особенностями золото-кварцевых жил является малая мощность и разнообразные размеры по протяженности, невыдержанные элементы залегания. Поэтому, следующим этапом будет проводиться электропрофилирование методом вызванной поляризации по профилям, пересекающим "рудные" аномалии.

Профиля будут ориентированы вкрест простирания предполагаемых рудоносных структур.

В результате проведения геофизических работ на участке Кедровский-1 будут решены следующие задачи:

1.      оконтурены перспективные рудовмещающие зоны, благоприятные для локализации золотого оруденения;

2.      выявлены в пределах перспективных зон интенсивные аномалии, перспективные на золотое оруденение;

.        определена природа выделенных аномалий, выделены аномалии, обусловленные золотосодержащими телами и оценена их морфология (горизонтальная мощность, элементы падения и протяженность на глубину).

.        составлены схемы, планы, карты, разрезы геофизических полей и результатов интерпретаций.

5.5 Горнопроходческие работы


Горные работы планируются с целью вскрытия, прослеживания и опробования минерализованных зон и рудных тел, для изучения природы геохимических и геофизических аномалий на участке оценочных работ ,. Предусматривается проходка траншей. Объем проходки по горным выработкам указан в таблице

Таблица 1

Список проектных канав

№ профиля

№ канавы

Протяженность, м.

Геологическая задача

7

1

410

Вскрытие и заверка местоположения рудных тел, а так же определение параметров и условий залегания рудного тела

9

2

440


9

3

370


11

4

270


11

5

200


13

6

240


13

7

380


15

8

260


15

9

180


17

10

620


17

11

180


19

12

500


25

13

320


Итого


4370



Проходка траншей предусматривается для вскрытия на полную мощность и опробования рудоносных зон. Места заложения, длина и объемы горных выработок будут корректироваться по результатам опережающих геофизических работ, а затем по результатам опробования ранее пройденных выработок. Траншеи будут проходиться вкрест простирания минерализованных зон, прогнозируемых по данным литогеохимического опробования предшествующих работ с выходом во вмещающие породы.

Все проектные траншеи и канавы на обоих участках будут проходиться в элювиально-делювиальных отложениях, представленных суглинками с обломками выветрелых коренных пород и жильного кварца. Траншеи предполагается проходить в летний период времени механизированным способом с использованием бульдозера Т-170 без предварительного рыхления пород в приводораздельных пространствах и склонах с уклоном до 15о. Механизированным способом траншеи будут проходиться до верхней границы зоны дезинтеграции коренных пород, далее для вскрытия пород в коренном залегании, не перемещенных ножом бульдозера, будет производиться ручная добивка и зачистка полотна траншеи по их середине, вдоль траншей. Ручная зачистка будет производиться по разборным коренным породам.

Засыпка горных выработок. После проведения документации и опробования все горные выработки засыпаются (канавы вручную без трамбовки, траншеи - бульдозером) породами II-IV категории, выброшенными при их проходке).

Рис. 4 Проектный геологический разрез горных выработок. Масштаб 1:33

Таблица 2

Краткая характеристика пород


5.6 Буровые работы


Бурение скважин предусматривается для изучения строения рудных зон на глубину и оценки золотого оруденения. Скважины будут располагаться на профилях горных выработок. Профили скважин проходятся в пределах наиболее перспективных геохимических и геофизических аномалий и известных рудопроявлений, изученных с поверхности горными выработками. Рудные зоны, как правило, линейно вытянуты, имеют сложную морфологию и крутое (около 70˚) падение. Поэтому проектируется бурение 19 наклонных скважин первой очереди и 12 второй очереди. Бурение скважин предусматривается по сети 100х200 м для установленных рудоносных зон, где планируется проведение оценки ресурсов категории C2. Угол заложения наклонных колонковых скважин определяется исходя из необходимости обеспечения пересечения скважинами минерализованной зоны под углом не менее 30°. Бурение будет производиться в летний период и зимний. Скважины наклонные, бурение осуществляется твердосплавными и алмазными коронками.

Таблица 3

Перечень проектируемых скважин первой очереди

№ п/п

№ профиля

№ скважины

Глубина, м

Геологические задачи

1

5

1

200

Вскрытие рудных тел. Оценка ресурсов золота категории С2.

2

7

2



3

7

3



4

9

4



5

9

5



6

9

6



7

11

7



8

13

8



9

13

9



10

13

10



11

13

11

200

Вскрытие рудных тел. Оценка ресурсов золота категории С2

12

15

12



13

15

13



14

15

14



15

17

15



16

19

16



17

21

17



18

27

18



19

29

19




Таблица 4

Перечень проектируемых скважин первой очереди

№ п.п

№ профиля

№ скважины

Глубина, м

Геологические задачи

1

5

1

100

Вскрытие рудных тел. Оценка ресурсов золота категории С2

2

7

2



3

7

3



4

9

4



5

9

5



6

11

6



7

13

7



8

15

8



9

15

9



10

17

10



11

19

11



12

29

12





Таблица 5

Усредненный геологический разрез и распределение объемов бурения по категориям буримости пород

№ п/п

Мощность, м

Характеристика пород

Кабр

ρм

Кат

Устойчивость стенок скважины


от

до

всего







1

0

3

3

Суглинок с обломками (50-90 %) выветрелых сланцев; обломки кварца

3,2

1

6,7

3

Среднеустойчивые

2

3

10

7

Сланцы кварц-хлорит-серицитовые, трещиноватые.

7,5

1

15

5

Среднеустойчивые

3

10

115

105

Минерализованная зона. Сланцы кварц-хлорит-серицитовые окварцованные, сульфидизированные, березитизированные и березиты с тонкими, частыми, секущими прожилками кварцевого и пирит-карбонат-кварцевого составов и единичными жилами кварца, мощностью 0,02-0,4 м. В интервале 8,0-10,0 м породы трещиноватые. В интервале 81,0-82,0 м жила сливного кварца.

7,5

1

15

7

Устойчивые

4

115

135

20

Сланцы биотит-серицит-кварцевые.

7,5

1

15

7

Устойчивые

5

135

190

55

Минерализованная зона. Сланцы биотит-серицит-кварцевые с прослоями полевошпат-кварцевых метапесчаников. Породы окварцованы, сульфидизированы, березитизированы с тонкими, частыми, секущими прожилками кварцевого и пирит-карбонат-кварцевого составов и единичными жилами кварца, мощностью 0,02-0,4 м.

7,5

1

15

7

Устойчивые

6

190

200

10

Сланцы биотит-серицит-кварцевые с прослоями полевошпат-кварцевых метапесчаников

7,5

1

15

7

Устойчивые



Способ бурения

Выбор способа бурения зависит от целого ряда факторов, основными из которых являются геологическое задание и целевое назначение скважины, вид полезного ископаемого, частота разведочной сети, физико-механические свойства горной породы, их буримость и трещиноватость, а также другие горно-геологические и географические условия района буровых работ.

Правильно сделанный выбор способа бурения определяет в конечном итоге успех проводки скважины и уровень производительности буровых работ. На поисковой стадии разведки месторождений полезных ископаемых, когда требуется опробование по всему протяжению скважины, применяется колонковый способ бурения.

Проектирование конструкции скважины

Бурение с высокими технико-экономическими показателями возможно лишь при успешном сочетании проектных работ, применения новой совершенной техники и технологии бурения и эффективной организации труда.

Обоснование и выбор диаметров скважины и колонн обсадных труб на различных интервалах

Определение минимально возможного диаметра коронки:

= dmin + ∆, (1)

где ∆ - уменьшение диаметра керна в зависимости от категорий горной породы по буримости - f. Величина ∆ определяется по формуле:

∆ = 20 - 8lnf,

∆ = 20 - 8×2,3 =1,6.

Рекомендуемый диаметр керна должен быть не менее 32 мм. Проектом предусматривается применение снаряда со съемным керноприемником КССК 76. Внутренний диаметр коронки снаряда равен 40 мм. Отсюда диаметр керна по полезному ископаемому принимается равным 40 мм.

Интервал от 0 до 4 м предусматривается закрепить при помощи обсадных труб диаметром 108 мм до глубины 4 м.

Интервал от 4 до 12 м представлен зона окисления и выветривания. Для закрепления этого интервала проектируется колонна обсадных труб до глубины 12 м, диаметром 89 мм.

Технические характеристики обсадных труб представлены в табл. 6.

Таблица 6

Технические характеристики обсадных труб

Наружный диаметр трубы и ниппеля, мм

Толщина стенки трубы, мм

Внутренний диаметр ниппеля, мм

Теоретическая масса, кг

Длина трубы, мм




1 м трубы

ниппеля


108

5,0

95,5

10,36

1,7

5000

89

5,0

78,0

8,38

1,0

5000


С учетом разработанных мероприятий по предупреждению осложнений конструкция скважины имеет следующий вид (Рис. 5).

Рис. 5 Конструкция скважины

Для качественного опробования полезного ископаемого необходимо, чтобы угол встречи скважины с рудным телом был не менее β = 30 º. Проектом предусмотрено бурение наклонных скважин, т. к. угол падения рудных зон составляет γ = 70º, а угол встречи скважины с рудной зоной 30º. Башмак последней обсадной колонны установлен на глубине L2 = 12 м. Глубина скважины (по оси) в точке встречи с первым пластом полезного ископаемого L1 = 10 м. Интенсивность естественного зенитного искривления i = 1,5º/100 м.

Зенитный угол скважины (в град.) на глубине L1 при заданном угле встречи β первого пласта полезного ископаемого (это угол между вертикалью и касательной к оси скважины в точке встречи пласта) должен быть:

θВ = (γ + β) - 90, θВ = (70 + 30) - 90 =10º.

где γ - угол падения пласта, град.

Первоначально определяется зенитный угол скважины  в точке встречи пласта на глубине L1:

 = (200 - 12)∙1,5/100 = 3º.

кважина должна быть забурена под углом η = 87º.

Рис. 6. Профиль скважины

Выбор бyровой yстановки

На основе анализа характеристик оборудования, позволяющих бурить скважину на планируемую глубину, выбираем наиболее эффективное УКБ-4П. Установка состоит из бурового станка УКБ-4, буровой трубчатой мачты БМТ-4 со зданием ПБЗ-4, бурового насоса НБ4-160/63, труборазворота РТ-1200М, обогреваемого подсвечника П-4/5, элеватора МЗ-50/80, транспортной базы ТБ-15.

Буровой станок

Буровая установка 4-го размерного класса УКБ-300/500 разработана ВИТР. Технические характеристики буровых установок УКБ-4П приведены в табл. 2.

Передвижная буровая установка УКБ-4П (рис. 6) предназначена для вращательного бурения геологоразведочных скважин глубиной до 300 и 500 м при конечном диаметре соответственно 93 и 59 мм с углом наклона от 90 до 60° в различных геологических условиях.

Буровой станок УКБ-4 (рис. 7) обеспечивает бурение вертикальных и наклонных геологоразведочных скважин на наиболее рациональных режимах алмазным и твердосплавным породоразрушающим инструментом, чему способствуют восемь скоростей вращения шпинделя в диапазоне частот от 155 до 1615 об/мин.

Гидравлическая система обеспечивает привод механизма подачи гидравлических патронов, перемещения и фиксации станка на раме. Система работает от сдвоенного лопастного маслонасоса 3Г12-22А с подачей 12 и 18 л/мин. Насос подает масло в гидросистему двумя независимыми потоками, образуя две системы: систему патронов и систему подачи. При выходе из строя приводных двигателей для поднятия снаряда над забоем используется ручной маслонасос.

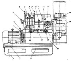
Рис. 7 Буровая установка УКБ-4П.

- основание буровой установки; 2 - буровое здание; 3 - талевая система; 4 - свечеприемник; 5 - кронблок; 6 - ствол мачты; 7 - подкос мачты; 8 - опора (портал) мачты.

Рис. 8. Буровой станок СКБ-4.

- станина; 2 - рама; 3 - сцепление; 4 - рукоятка сцепления; 5 - рукоятка включения лебедки; 6, 9 - рычаги тормозов подъема и спуска; 7, 8 - тормоза подъема и спуска; 10 - рычаг коробки передач; 11 - лебедка; 12 - рукоятка раздаточной коробки; 13 - трансмиссия; 14 - указатель давления; 15 - вращатель; 16 - гидросистема станка с автоперехватом; 17 - дроссель; 18 - прибор управления; 19 - регулятор подачи; 20 - распределитель; 21 - цилиндр перемещения станка.

Таблица 7

Техническая характеристика станка СКБ-4

Глубина бурения, м при конечном диаметре скважины, мм: 93 59 46

  300 500 700

Начальный диаметр скважины, мм

151

Угол наклона скважины, град

90 - 60

Вращатель: тип частота вращения, об/мин

 шпиндельный 155;280;390;435;640;710; 1100;1600

Диаметр проходного отверстия шпинделя, мм

57

Диаметр бурильных труб, мм

42;54

Подача инструмента

поршневая, гидравлическая

Длина хода подачи, мм

400

Максимальная скорость подачи, м/мин вниз вверх

 0,92 2,77

Тип лебедки

планетарная

Грузоподъемность лебедки на прямом канате, кН

26

Скорость навивки каната на барабан лебедки по второму слою, м/с

0.45 - 1.8

Диаметр каната, мм

20,5

Привод станка: тип мощность, кВт

 АД 22

Габариты станка, мм

1800Х1200Х1800

Масса, кг:

975


Буровой насос

Большинство способов бурения требует промывки скважин в процессе ее углубки. Основным назначением промывки является удаление с забоя и из ствола скважины продуктов разрушения горных пород и бурового инструмента, охлаждение ПРИ, поддержания устойчивого состояния стенок скважины. Подача промывочной жидкости в скважину в процессе ее промывки осуществляется при помощи насосов, которые входят в состав установки.

Буровой насос должен обеспечивать возможность простого и быстрого регулирования в широком диапазоне подачи и напора в зависимости от параметров технологического режима бурения. При этом одним из основных требований процесса бурения является обеспечение независимости подачи (расхода) от давления, т.е. насос имеет жесткую напорно-расходную характеристику "Q-H".

Насос НБ4-160/63 - трехплунжерный, реверсивный, горизонтальный с прямоточной гидравлической частью, позволяющий достигнуть высоких гидравлических показателей. Насос состоит из гидравлической и приводной частей, имеет пятискоростную коробку передач.

Таблица 8

Техническая характеристика бурового насоса НБ4-160/63

Производительность, л/мин

8;10;20;25;40;50;65;95;162

Давление, МПа

6,3 - 4,5

Высота всасывания жидкости, м

до 5

Число плунжеров

3

Частота вращения коленчатого вала, об/мин

31;38;80;146;249

Диаметр плунжеров, мм

45;70

Длина хода плунжера, мм

63

Двигатель привода насоса: тип мощность, кВт

 А02-51-5 11

Масса с двигателем, кг

520

Максимальная глубина скважины, м

1000


Буровая мачта

Буровая установка УКБ-4П укомплектована мачтой типа БМТ-4, допускающей работу свечами 9,5 м. Грузоподъемность на крюке мачты, т: номинальная - 3,2 и максимальная - 8. Предельные углы наклона мачты 90 - 60°. Рабочая высота мачты 13,7 м. Ствол мачты состоит из металлической трубы с двумя подкосами. Продольный телескопический подкос позволяет регулировать наклон мачты при бурении. Подъем мачты в рабочее положение и опускание ее при транспортировке производятся с помощью двух гидравлических домкратов, работающих от автономной гидросистемы буровой установки.

Схема мачты БМТ-4 представляет собой одностержневую конструкцию 6, шарнирно опирающуюся на А-образный портал 8. Для придания стволу мачты необходимой устойчивости в продольной плоскости он раскреплен подкосами 7. С целью обеспечения центрального нагружения ствола мачты от нагрузки на крюке мачта снабжена кронблоком качающегося типа с системой оттяжных уравновешивающих канатов. Свободное движение элеватора вдоль оси мачты достигается за счет предварительного наклона ее к устью скважины. Мачту устанавливают на заданный угол наклона в продольной плоскости ее несущих опор, что обеспечивает повышенную устойчивость и большие предельные углы наклона скважин от 93 - 75° до 90 - 60° к горизонту. Установку мачты на заданный угол бурения производят одной регулировочной опорой, а укладывают в транспортное положение поворотом ее в одной плоскости.

Таблица 9

Техническая характеристика буровой мачты БМТ-4

Грузоподъемность, тс: номинальная максимальная

 3,2 8,0

Высота, м

13,7

Угол наклона, град

90-60

Талевая оснастка

ТС 0Х1

Длина свечи, м

9,5

Масса, т: мачта с основанием буровое здание

 5,8 4,0


Буровое здание

Буровое здание ПБЗ-4 представляет собой объемную металлоконструкцию, обшитую алюминиевыми панелями с теплоизоляционной прослойкой. Здание имеет специальный выдвижной тамбур для увеличения рабочей площадки при ведении буровых работ. В транспортном положении выдвижной тамбур убирается во внутрь здания, чем обеспечивается уменьшение транспортного габарита. Отопление здания электрическое, рассчитанное на поддержание в здании температуры не ниже 15ºС в холодное время года.

Конструкция установки предусматривает возможность ее транспортирования на большие расстояния с помощью подкатной базы ТБ-15.

Для соединения установки с транспортной базой ее поднимают с помощью гидравлических домкратов и крепят специальными устройствами. На близкие расстояния установка может передвигаться волоком на полозьях основания буровой мачты.

Бурильная колонна

Бурильная колонна - наиболее ответственная часть бурового снаряда. Она выполняет различные функции. Через нее на ПРИ передаются крутящий момент и осевая нагрузка, подается очистной агент, через колонну труб закачивают тампонирующие материалы и опускают приборы для исследования скважины. Проектирование компоновки бурового снаряда заключается в обоснованном выборе его конструкции.

Конструктивно буровой снаряд состоит из ведущей трубы, колонны бурильных труб, компоновки низа бурильной колонны. При этом выше перечисленные элементы снаряда между собой соединяются замками и переводниками.

Выбор определенного типоразмера элементов бурового снаряда зависит от ряда условий, в том числе от способа бурения, глубины скважины, возможных осложнений.

В идеальном случае буровой снаряд должен подбираться под каждый интервал скважины. Но это приводит к удорожанию стоимости ведения буровых работ, связанных с доставкой и эксплуатацией бурового снаряда. Поэтому при бурении скважин необходимо подбирать оптимальную компоновку бурового снаряда, применение которой возможно в нескольких интервалах.

Для бурения данных скважин на всем интервале будут использоваться трубы марки ТБСУ-55.

Расчет параметров технологического режима бурения

Интервал от 0 до 4 м III категории по буримости, поэтому для бурения этого интервала целесообразно применить твердосплавные коронки типа СМ-4 диаметром 112 мм. Характеристика коронки СМ-4 приводится в табл. 10.

Таблица 10

Характеристика коронки СМ-4

Коронка

Диаметр, мм

Число резцов

Осевая нагрузка на 1 основной резец, кН

Окружная скорость коронки, м/с

Удельный расход жидкости на 1 см диаметра коронки, л/мин


наружный

внутренний

основных

подрезных




СМ-4

112

93

3

0,5…0,8

1,5…0,8

8…12



Осевая нагрузка на коронку G0 (кН) определяется, исходя из количества основных резцов m и рекомендуемой удельной нагрузки Gy на один резец:

 (3)

где G0 - осевая нагрузка на коронку, m - количество основных резцов.


Частота вращения коронки n (об/мин) рассчитывается по формуле:


где V0 - окружная скорость коронки, м/с, Dc - средний диаметр коронки, м.


где Dн - наружный диаметр коронки, м, Dв - внутренний диаметр коронки, м.

.

Интервал от 4 до 12 м для бурения этого интервала целесообразно применить твердосплавные коронки типа СМ-5 диаметром 93 мм. В качестве промывочной жидкости используется техническая вода. Характеристика коронки СМ-5 приводится в табл. 11.

Таблица 11

Характеристика коронки СМ-5

Коронка

Диаметр, мм

Число резцов

Осевая нагрузка на 1 основной резец, кН

Окружная скорость коронки, м/с

Удельный расход жидкости на 1 см диаметра коронки, л/мин


наружный

внутренний

основных

подрезных




СМ-5

93

75

18

3

0,4…0,6

1,6…0,8

8…12


Осевая нагрузка на коронку G0 (кН) определяется по формуле 11:


Средний диаметр коронки рассчитывается по формуле 12:


Частота вращения коронки n (об/мин) рассчитывается по формуле 13:


Расход промывочной жидкости Q (л/мин) определяется при помощи формулы:



где qт - расход промывочной жидкости на 1 см диаметра коронки, л/мин, Dн - наружный диаметр коронки, см.


Обобщенные данные о режиме бурения твердосплавными коронками представлены в табл. 9. Уточненные данные о режиме бурения берутся из технических характеристик бурого станка СКБ 4 и бурового насоса НБ4-160/63.

Таблица 12

Режимы бурения твердосплавными коронками

Коронка

Осевая нагрузка на коронку, кН

Частота вращения коронки, об/мин

Расход промывочной жидкости, л/мин


расчетная

уточненная

расчетная

уточненная


CМ5-112

4,5

5

168,2

280

0

СМ4-93

7,2

6

214,3

280

95


Интервал от 12 до 200 метров представлен породами 7 категории по буримости, поэтому проектом предусматривается бурение при помощи алмазной коронкой К41 (комплекс КССК 76). Характеристика коронки К41 приводится в табл.13.

Таблица 13

Характеристика коронок К41

Коронка

Диаметр, мм

Число резцов

Осевая нагрузка на 1 основной резец, Н

Окружная скорость коронки, м/с

Удельный расход жидкости на 1 см диаметра коронки, л/мин


наружный

внутренний

основных

подрезных




К41

93

75

16

16

500…800

0,6…1,5

8…12



Рекомендуемые режимы бурения для пород 7 категории следующие:

осевая нагрузка на коронку G0 = 8…13 (кН);

частота вращения n = 500…900 (об/мин);

подача промывочной жидкости Q = 50…80 (л/мин) (табл. 14).

Таблица 14

Режим бурения алмазной коронкой К41

Категория

Осевая нагрузка на коронку, кН

Частота вращения коронки, об/мин

Расход промывочной жидкости, л/мин


рекомендуемая

уточненная

рекомендуемая

уточненная

рекомендуемый

уточненный

IX…X

8-13

12

500…900

710

50…80

50

 

Расчет необходимого количества буровых установок

Проектом предусматривается бурение 31 скважины за 12 месяцев. При глубине типовой скважины L общий объем составит:


Необходимое количество буровых установок определяется по формуле:

, (7)

где n - необходимое количество буровых установок, шт; Q - проектный объем буровых работ, м; t - заданные сроки работ, месяцев - плановая производительность в метрах;  - коэффициент, учитывающий дополнительные затраты времени на монтажно-демонтажные работы, перевозки, плановый ремонт и сопутствующие бурению работы, принимается равным 0,8.

Плановая месячная производительность при количестве станко-смен в месяц равным 103 определяется по формуле:

(8)

где Q - проектный объем буровых работ, м; N - общие затраты времени на бурение скважины, станко-смен; n - количество скважин; k - коэффициент планового увеличения производительности, принимается равным 1,1.

Затраты времени на процесс бурения скважин с учетом геолого-технических условий приведены в табл. 15.

Таблица 15

Расчет затрат времени на процесс бурения скважин (200 м)

Категория по буримости

Объем бурения, м

Нормы времени, ст-см

Итого затрат времени на объем, ст-см

1

III

4

0,25

0,75

2

V

8

0,3

7

3

VII

188

0,43

81,7


Общие затраты времени на бурение скважин в станко-сменах определяются как

89.45×31=2772

Плановая месячная производительность определяется по формуле 8:

204.

Необходимое количество буровых установок определяется по формуле 7:


Рассчитанное количество буровых установок определяется до целого числа с последующим корректированием сроком проведения работ:

 мес.

Таким образом, для проведения работ в установленный срок необходима одна установка, а уточненные сроки составляют 7,4 месяцев.

Все расчетные формулы и табличные значения были взяты из методического указания [9, с. 123].

Ликвидация скважины

После того как скважина пробурена до проектной глубины, ее консервируют. Для консервации скважин необходимо выполнить:

·        провести контрольный замер глубины скважины;

·        замерить зенитный и азимутальный углы скважины;

·        провести каротаж;

·        извлечь (по возможности) колонны обсадных труб;

·        в устье скважины установить деревянную пробку с номером скважины, ее глубиной, и датой окончания бурения;

·        демонтировать буровое оборудование;

·        все отстойники и ямы закопать.

Цель ликвидации скважины - изоляция всех водоносных горизонтов и рудных тел, подлежащих разработке, от поступления в них воды по скважине.

Геофизические работы

Геофизические исследования в скважинах и горных выработках

Инклинометрия будет проводиться во всех скважинах. Результаты инклинометрии планируется использовать при построении геологических разрезов, контуров оруденения на планах и для расчета координат кровли и подошвы рудных пересечений. Комплекс геофизических работ уточнит данные буровых работ, с целью более точной отбивки границ рудных тел, определение содержание золота в рудных интервалах. Инклинометрия будет выполняться станцией ИММН-36, смонтированной в автомобиле УАЗ-22069. Эта аппаратура позволяет проводить замеры с шагом 0.1 м не увеличивая время замера, при этом по каждому метру рассчитывается среднее значение. Окончательный результат фиксируется с шагом 5 м. Перед выездом на замеры применяемая для производства инклинометрии аппаратура и оборудование настраивается, градуируется и подвергается плановым поверкам согласно действующим стандартам.

5.7 Геохимические работы


Из геохимических работ будут проводиться только литогеохимическая съемка по первичным ореолам рассеяния, так как на поисковой стадии работ были выявлены и установлены границы рудных тел и зон окварцевания.

Основными задачами работ литогеохимической съемки по первичным ореолам рассеяния являются:

·        Установление комплекса элементов, образующих первичные ореолы рассеяния;

·        Выявление ширины и вертикальной протяженности ореолов для различных элементов-индикаторов;

·        Установление ряда вертикальной (осевой) зональности первичных ореолов и характера поперечной и продольной зональности;

·        Установление закономерных связей параметров рудных тел и их первичных ореолов с целью выявления геохимических критериев вероятного масштаба оруденения.

Общим результатом проведения литогеохимических поисков по первичным ореолам рассеяния будет уточнение эрозионного среза и пространственного расположения оруденения.

В связи с отсутствием коренных обнажений отбор проб будет осуществляться следующими методами:

. Отбор проб из открытых горных выработок (канав)

Проходка канав будет осуществляться с целью определения перспективности дальнейших работ, а также для сбора информации об условиях залегания рудных тел с целью применения буровых работ. В перечень основных задач горнопроходческих работ будет входить: подсечение рудных интервалов для определения содержания в них полезных компонентов; выявление ширины первичных ореолов рассеяния для различных элементов-индикаторов; определение площадной зональности элементов-индикаторов, текстурно-структурных особенностей вмещающих пород и руд и т.д.; по возможности, установление закономерных связей параметров рудных тел и их первичных ореолов рассеяния.

В итоге проходки канав должны будут получены следующие результаты: выявлена площадная зональность элементов-индикаторов; уточнены контуры первичных ореолов рассеяния.

. Опробование керна буровых скважин

Основой для проведения литогеохимических поисков по буровым скважинам будет положительная оценка перспективности участка на основании результатов пройденных канав.

В список задач опробования будет входить: установление ряда вертикальной зональности; установление вертикальной протяженности ореолов для различных элементов-индикаторов; установление закономерных связей параметров рудных тел и их первичных ореолов, с целью выявления геохимических критериев для оценки вероятного масштаба оруденения, а также для выявления слепого оруденения.

Результатами опробования скважин должны будут стать: составленные графики содержаний элементов-индикаторов, оконтуренное распределение элементов-индикаторов в погоризонтальных планах и разрезах в виде изоконцентраций, оценка уровня среза геохимической аномалии.

5.8 Опробование


К выбору методики опробования предъявляются высокие требования, поскольку именно от процесса опробования будет зависеть конечный результат. В целом, предлагаемые способы опробования будут решать следующие задачи:

§  Определение содержаний основного компонента (Au) в выработках;

§  Определение сопутствующих компонентов;

§  Определение геохимических особенностей пород и руд месторождения;

§  Определение технологических свойств различных типов (сортов) руд;

§  Определение физико-механических свойств пород и руд;

§  Изучение состава наземных и подземных вод в пределах месторождения.

Бороздовое опробование

Для установления содержаний полезных компонентов в рудных зонах непосредственно в коренном залегании, с целью выделения рудных тел предусматривается отбор бороздовых проб из горных выработок в виде борозды постоянного сечения. Борозда направлена по линии наибольшей изменчивости (вкрест простирания основных рудолокализующих структур).

Вскрытые канавами рудоносные зоны опробуются бороздой с сечением 5х10 см секционно, с длиной секций 1,0 м на всю мощность рудных зон, т.к. руды характеризуются крайне неравномерным распределением металла.

Рассчитываем среднюю массу бороздовой пробы по следующей формуле:

= S * l * d

где S - сечение борозды, равное 50 см2; l - длина пробы (средняя длина составляет 100 cм); d - объемная масса руды, г/см3.

Таким образом P составит:

5 х 10 х 100 х 2,6 = 13000 г=13 кг.

В горных выработках предусматривается сплошное бороздовое опробование. Количество проб оценивается следующим образом:

´ 1 = 4370 п.м (проб).

С учетом 5% контроля точности опробования:

´1,05=4588п.м (проб).

Контроль достоверности опробования 10% составит

´0,1=5047 п.м (проб).

Длина борозды - 1,0 м. Сечение - 10´5 см.

Керновое опробование

Керновому опробованию подлежат все скважины колонкового бурения. Опробование скважин будет осуществляться с целью определения содержаний полезного компонента на глубине. В свою очередь, колонковое бурение предполагается осуществлять разными диаметрами:112, 93 и 76 мм.

При диаметре керна 93 мм и более опробование будет производиться путем раскалывания керна по оси на две части, одна из которых поступает в пробу, а другая остается для хранения и контрольного опробования. При бурении диаметром 76 мм - весь керн поступает в пробу.

Массу керновых проб (Р) определяем по формуле:

 кг,

где π = 3,14; D - диаметр керновой пробы, равный 4,76 см; l - длина пробы 100 см; d - объемная масса руды, равная 2,6 г/см3.

Средняя длина пробы принимается 1,0 м и корректируется в зависимости от длины рейса, выхода керна и литологического состава пород.

Общий объем структурно-поискового бурения составляет 31 скважин или 5000 м. За вычетом образований пород чехла, имеющих среднюю мощность 3 метра (3*31=93 м), общее количество керна пород составит 4907 м. При среднем интервале опробования в 1 метр количество керновых проб составит 4907 штук.

Обработка проб

Все отобранные керновые и бороздовые пробы при подготовке к лабораторным исследованиям будут обработаны в дробильном цехе на щековой и валковой дробилках и истёрты до размера частиц 0,074 мм в соответствии со схемами обработки проб. В основу расчёта схемы обработки проб положена минимальная масса пробы в зависимости от коэффициента неравномерности распределения полезного компонента (k) и степени измельчения пробы (d - диаметр наиболее крупных частиц в пробе). Минимальная масса пробы вычисляется по формуле Ричарда-Чечёта: Q=kd2. Коэффициент неравномерности распределения золота, в соответствии с "Методическим указанием (ЦНИГРИ, 1974), принят равным 0,8. Схемы обработки проб приведены на рисунках 4.2.-4.4.

Обработка проб будет выполняться по схемам, составленным на основании использования формулы Ричардса-Чеччета:

,

где Q - надежная масса сокращенной пробы, кг; k - коэффициент, зависящий от характера распределения полезных компонентов; d - диаметр максимальных частиц в пробе, мм. Значение параметра k=0,8, характеризуется присутствием в руде крупного золота с крайне неравномерным распределением.

Обработка керновых проб

Начальный вес пробы 4,6 кг,

К = 0,8 d=0.074

.        Проба поступает в щековую дробилку, измельчение до 20 мм.

=0,8*400 = 320 кг.

Перемешивание

.        Проба поступает в щековую дробилку, измельчение до 3 мм.

=0,8*9 = 7,2 кг.

Перемешивание

.        Проба поступает на валковую дробилку. Дробление до d = 1 мм.

= 0.8*1 = 0,8 кг.

Перемешивание.

.        Сокращение до массы. Qꞌ=2,3 кг.

.        Перемешивание

.        Сокращение до массы. Qꞌ=1,15 кг.

.        Проба поступает на виброистиратель (d=0,074мм). Затем проба просеивается в сите диаметром 0,074 мм. Перемешиваем и сокращаем.

.        Получаем пробу (0,575 кг) + дубликат (0,575 кг).

Обработка бороздовых проб

Начальный вес пробы 13 кг,

К = 0,8 d=0.074

.        Проба поступает в щековую дробилку, измельчение до 12 мм.

=0,8*144 = 115,2 кг.

Перемешивание.

.        Проба поступает в щековую дробилку, измельчение до 3 мм.

=0,8*9 = 7,2 кг.

Перемешивание.

.        Проба поступает на валковую дробилку. Дробление до d = 1 мм.

= 0.8*1 = 0,8 кг.

Перемешивание.

.        Сокращение пробы до 6,5 кг.

.        Сокращение до массы Qꞌ=3,25 кг. Перемешивание.

.        Сокращение до массы Qꞌ=1,625 кг

.        Проба поступает на виброистиратель (d=0,074мм). Затем проба просеивается в сите диаметром 0,074 мм. Перемешиваем и сокращаем.

.        Получаем пробу (0,81 кг) + дубликат (0,81 кг).

Рис. 9 Схема обработки керновых проб.

Рис. 10 Схема обработки бороздовых проб.

5.9 Аналитические исследования


Проектом предусматривается проведение лабораторных работ для определения содержаний золота пробирным анализом, химико-спектрального на золото, атомно-абсорбционный анализ на золото, и Полуколичественный спектральный анализ на 32 элемента.

Полуколичественный спектральный анализ на 32 элемента

Полуколичественный спектральный анализ на 32 элемента (Pb, Cu, Zn, Co, V, Cr, Ni, Ti, Mn, Mo, Sn, Ba, Be, Sr, Zr, Nb, B, P, Bi, W, Ag, Cd, As, Sb, Y,, Li, K, Na, Ca, Mg, Fe, Al) будет выполнен с использованием дискретного ряда значащих цифр 1, 1,5, 2, 3, 4, 5, 6, 8. Общее количество проб составит 9954 пробы.

Химико-спектральный анализ на золото

Предусматривается проанализировать пробы отобранные из вмещающих пород (20% бороздовых проб из траншей в количестве 874 проб и 17% керновых проб в количестве 834 пробы), а также пробы контроля обработки (100 проб). С учетом 5% на внутренний и 5% на внешний контроль (по 85 анализов) общее количество составит 1793 анализа. Минимальное определяемое содержание золота - 0,003 г/т.

Атомно-абсорбционный анализ на золото

Предполагается проанализировать пробы контроля обработки (100 проб), бороздовые (3496 проб) и керновые (4069 проб) пробы, отобранные из минерализованных зон и рудных интервалов (70% проб из траншей,83% керновых проб). Общее количество проб на атомно-абсорбционный анализ составит: 100+(3496+4069=7665 пробы. При учете внутреннего и внешнего контроля (по 5% от общего количества проб - 378 анализа) общее количество анализов составляет 8043.

Пробирный анализ на золото

Предполагается отправить на пробирный анализ керновые и бороздовые пробы, содержание золота в которых по результатам атомно-абсорбционного анализа превысит 0,5 г/т. Таких проб из опыта предыдущих работ ожидается около 10% от всего объема атомно-абсорбционного анализа, что составит: 16622х 0,1 = 804 пробы. Кроме того пробирным анализом будет проанализировано 100 проб контроля обработки. В общем, количество составит 904 пробы. При учете внутреннего и внешнего контроля (по 45 анализов) общее количество анализов составит 949.

5.10 Методика контроля проб


Для выявления уровня случайных погрешностей и получения надежных данных, подтверждающих отсутствие систематических погрешностей, все основные операции по опробованию подвергаются обязательному контролю. Достоверность результатов опробования устанавливается по отсутствию систематических погрешностей, а их точность - по уровню средних случайных погрешностей.

 

.11 Контроль пробоотбора


Погрешность пробоотбора может быть вызвана различными причинами, такими как небрежность отбора материала, использование несовершенных инструментов и способов, свойства объекта, например хрупкость материалов, слагающих руду.

Оценка величины погрешности отбора проб осуществляется специальными мероприятиями по контролю пробоотбора:

.        Постоянная проверка фактической массы отобранных проб путем сопоставления ее с теоретической массой. Допустимым считается отклонение, не превышающее ±10-20%.

.        Проводится контрольный отбор проб под строгим геологическим надзором. Отбирается 20-30 рядовых проб в местах, где отбирались рядовые пробы. Результаты контрольного опробования сопоставляются с рядовым для определения случайных погрешностей.

Оценка точности отбора проб позволит определить систематическую

погрешность способа опробования по формуле:

,

Где Сio - содержание золота при основном опробовании, Cik -содержание золота при контрольном опробовании, n - число определений.

3.      Для выявления систематических погрешностей пробоотбора производят контрольное опробование валовым способом.

 

.12 Контроль обработки проб


Контроль обработки проб в полевых и лабораторных условиях осуществляется при измельчении материала проб до 1 мм (в полевых условиях) и при истирании материала проб до 0,074 мм (в лабораториях). В целях контроля используется включение в обработку каждой 20 "пустой" пробы, а также анализ дубликатных проб. При установлении загрязнения обеспечивается дополнительная сухая и влажная уборка помещений и измельчительных агрегатов и устранение источников загрязнений.

Контроль обработки проб в лабораториях выполняется обработкой дубликата и "пустой пробы".

 

.13 Контроль аналитических работ


Для определения качества аналитических работ на протяжении всего времени ежеквартально будет проводиться внешний и внутренний контроль данных анализов.

В процессе производства геологоразведочных работ систематически производится внутренний и внешний контроль пробирных анализов по классам содержаний 0-2,0 г/т; 2,0-4,0 г/т; 4,0-8,0 г/т; 8,0-16,0 г/т; >16,0 г/т. Соблюдается периодичность проведения контроля. Внутренний контроль выполняется в основной лаборатории путём анализа зашифрованных навесок, отобранных из дубликатов проб. Внешний контроль осуществлялся иной пробирной лабораторией. На внутренний и внешний контроль отбирается одна партия проб.

Обработка результатов внешнего и внутреннего контроля производится с учётом требований ГКЗ и методических указаний Научного совета по аналитическим методам (1982г.).

По результатам внутреннего и внешнего контроля погрешность не должна превышать допустимых значений.

Внутренний контроль. Геологические пробы разбиваются по классам содержаний золота: 0-2,0 г/т, 2,0-4,0 г/т, 4,0-8,0 г/т, 8,0-16,0 г/т, >16,0 г/т. Контрольные пробы отбираются из дубликатов проб и зашифровываются. Результаты анализов внутреннего контроля обрабатываются отдельно за каждый период. По результатам анализов вычисляется среднеквадратическая погрешность единичного определения по формуле:

,

где Сi1 - содержание золота по рядовому анализу, Сi2 - содержание золота по контрольному анализу,       m - число контрольных проб

Затем вычисляют относительную среднеквадратическую погрешность Sr (в %) по формуле:

 ,

Вычисленная относительная среднеквадратическая погрешность в соответствующем классе не должна превышать предельных значений. Если условие выполняется, результаты удовлетворительны.

Внешний контроль выполняется для выявления наличия или отсутствия систематической погрешности.

Для каждого класса содержаний по результатам анализов в основной и контролирующей лабораториях вычисляют значения систематического расхождения с учётом его знака по формулам:

 ; ; ;

где d - систематическое расхождение в абсолютных единицах, г/т; dr - систематическое расхождение, выраженное в %; Сio - содержание золота в i-й пробе, основной лаборатории; Сik - содержание золота в i-й пробе, контролирующей лаборатории; Со - среднее содержание золота в классе в пробах основной лаборатории; i - число контрольных проб.

Значимость систематических расхождений оценивалась с помощью t-критерия (распределения Стьюдента), критерия "ничтожной погрешности" и критерия знаков.

Внешний и внутренний контроль составят по 5% от проб, проанализированных.


6. Подсчет запасов


Подсчет запасов будет определяться методом параллельных сечений, который часто называют методом разрезов.

Объем подсчетного блока вычисляется по формуле, применяемой для усеченной пирамиды:

=(Sl+S2+SlxS2)L/3

Где S1 и S2-площади сечений блока, м2;расстояние между сечениями, м.

Если площади S1 и S2 различаются между собой незначительно, менее чем на 40%, то без потери точности вычислений можно использовать более простую формулу объема усеченного клина:

=(Sl+S2)L/2

Зная объем блока, вычисляются запасы руды и металла.

Если подсчетный блок ограничен с одной стороны, а в другом разведочном сечении он отсутствует, то подсчет объема блока зависит от принятой гипотезы выклинивания рудного тела. Если рудное тело между сечениями не выклинивается, а ограничено (срезано) разрывным нарушением, то объем вычисляется как объем призмы:

=SL

Где L - расстояние от сечения до плоскости, ограничивающей распространение оруденения.

Если рудное тело выклинивается в линию на расстоянии L от сечения, то принимается формула объема клина:=SL/2

В том случае, когда рудное тело выклинивается в точку, используется формула объема пирамиды:=SL/3

Формула выбирается исходя из геологических соображений о характере выклинивания рудного тела. Результаты подсчета оформляются в виде таблицы.

7. Производственная и экологическая безопасность при проведении оценочных работ


Площадь проектируемых работ расположена в центральной заангарской части Енисейского кряжа, в южной части Северо-Енисейского (Перевальнинского) золотоносного района и административно относится к Северо-Енисейскому району Красноярского края По климатическим условиям район приравнен к районам Крайнего Севера. Климат района резко континентальный - с холодной (до -40 -56°С) продолжительной (октябрь-апрель) зимой и коротким (июнь-август) сравнительно жарким (до +35°С) летом. Среднегодовая температура по данным многолетних наблюдений отрицательная (от -2 до -5°С). Среднегодовое количество осадков 400-660 мм, большая часть которых (до 60%) выпадает в виде снега (мощность снегового покрова до 1,5-2,0 м). Полевые работы планируется проводит в течение года в летний и зимней периоды.

7.1 Производственная безопасность


Для целостного представления о выявленных вредных и опасных факторах на рабочем месте геолога, связи их с запроектированными видами работ и системности описания их, ниже приведена таблица основных элементов производственного процесса геологоразведочных работ, формирующих опасные и вредные факторы табл. 16.

Таблица 16

Основные элементы производственного процесса работ, формирующие опасные и вредные факторы

Этапы работ

Наименование запроектир. видов работ и параметров производств. процесса

Факторы (ГОСТ 12.0.003 -74 ССБТ)

Нормативные документы



Опасные

Вредные


Полевой

1 . Геологические маршруты 2. Геологическая Документация горных выработок и керна скважин 3. Буровые работы

1. Движущиеся машины и механизмы производственного оборудования 2. Пожароопасность

1. Отклонение показателей климата на открытом воздухе 2. Тяжесть физического труда 3.Повреждения в результате контакта с насекомыми 4. Превышение уровня шума и вибрации

ГОСТ 12.1.003-83 [1] Р 2.2.2006-05 [2] ГОСТ 12.1.004-91 [3] ГОСТ 12.1.008-78 [4] ГОСТ 12.1.012-90 [5] ГОСТ 12.1.019-79 [6] ГОСТ 12.1.038-82 [7] ГОСТ 12.1.030-81 [8] ГОСТ 12.2.062-81 [9] ГОСТ 12.2.003-91 [10] ГОСТ 12.4.125-83 [11] ГОСТ 12.4.009-83 [12] СНиП 23-05-95 [13] СНиП 2.04.05-91 [14] СанПиН 2.2.4.548-96 [15] СанПиН 2.2.2/2.4.1340-03 [16] ГОСТ 12.4.026-76 [17] СанПин 2.2.1/2.1.1. 1278-03 [19] СанПиН 2.2.4.548-96[20] СанПиН 2.2.2/2.4.1340-03[21] ГОСТ 12.4.026-76[22] ГОСТ 12.1.010-76[24]

Лабораторный и камеральный

1. Обработка результатов работ 2. Составление геологического отчета с использованием ЭВМ 3. Составление проектно-сметной документации и графических приложений к проекту

1 . Электрический ток 2. Пожароопасность

1. Отклонение показателей микроклимата в помещении 2. Недостаточная освещенность рабочей зоны 3. Степень нервно-эмоционального напряжения

ГОСТ 12.2.003-91 [25] СанПин2.2.4.548-96 [26] СанПиН2.2.2/2.4.1340-03 [27] НПБ 105-03[28] СанПиН 2.2.1/2.1.1. 1278-03 [29] ПУЭ [30]

 

Анализ вредных факторов и мероприятия по их устранению

Полевой этап

. Отклонение показателей микроклимата на открытом воздухе. При проведении работ на открытых площадках сохраняется нормальное функционирование организма. Работы будут проводиться в летний период. Для предотвращения перегрева предусматривается сооружение навеса, использование легкой и свободной хлопчатобумажной светлой одежды, головных уборов. Зафиксированный максимум температуры летом в районе составляет +39,0С0. Также для профилактики неблагоприятного влияния высокой температуры воздуха будут соблюдаться рациональное питание и правильный питьевой режим.

. Тяжесть физического труда. Наиболее всего утомление проявляется при проведении работ по опробованию. Основным при выполнении данного вида работ является физический труд, в результате которого происходит утомление мышц и снижение мышечной деятельности человека. Для снижения результатов воздействия данного фактора необходимо чередование периодов работы и отдыха.

Оценка тяжести физического труда для мужчин проводится на основе нормативного документа Р 2.2.2006-05 [2]. При перемещении груза на расстояние более 5 м физическая динамическая нагрузка принимается 70000 кг*м. При подъеме и перемещении тяжестей предельно допустимая масса груза составляет до 35 кг. Величина динамической работы, совершаемой в течение каждого часа рабочей смены, не должна превышать: с рабочей поверхности - до 1500 кг, с пола - до 600 кг.

Оценка тяжести физического труда для женщин на основе нормативного документа Р 2.2.2006-05 [2]. При перемещении груза на расстояние более 5 м физическая динамическая нагрузка принимается 40000 кг*м. При подъеме и перемещении тяжестей предельно допустимая масса груза составляет до 12 кг. Величина динамической работы, совершаемой в течение каждого часа рабочей смены, не должна превышать: с рабочей поверхности - до 700 кг, с пола - до 350 кг.

. Повреждения в результате контакта с насекомыми. Данный фактор имеет особое значение, так как в районе много кровососущих насекомых комаров, мошки, мокреца, иксодовых клещей, отмечается присутствие медведей. Имеются случаи заболевания клещевым энцефалитом, в результате которого происходит тяжелое поражение центральной нервной системы. Заболевание начинается через две недели после укуса клеща, сопровождается высокой температурой. Клещи располагаются на ветвях деревьев, кустарниках и травах и цепляются за одежду проходящего человека. Клещи наиболее активны в конце мая - середине июня в любое время суток и в любую погоду, кроме сильных дождей. Голодные клещи обычно забираются на траву или ветки кустарников в ожидании жертвы, здесь их жертвой часто является человек. Попав на тело человека, клещ передвигается очень осторожно, прокалывает кожу безболезненно, поэтому он может быть долго не обнаружен.

Следующие контакты опасны в плане заражения:

. Укус (присасывание) клеща. Со слюной клеща в кровь пострадавшего попадают возбудитель или возбудители вышеперечисленных заболеваний. Важно знать, что длительное присасывание характерно для половозрелых самок. Однако, неполовозрелые особи клещей и самцы присасываются на короткий период времени (минуты, десятки минут). Поэтому, снятие ползающего клеща равнозначно снятию присосавшегося клеща.

. Снятие клеща с других людей или с животных незащищенными руками. Опасность такого контакта заключается в возможности попадания инфицированного материала при раздавливании клеща и проникновения через порезы, микротрещины кожи, либо слизистую

. Употребление некипяченого (сырого) козьего или коровьего молока. Описаны и подтверждены множество случаев заражения через молоко инфицированных коз и коров.

Для предотвращения укусов клещей все работники партии будут обеспечены энцефалитными костюмами, индивидуальными медицинскими пакетами и средствами защиты (специальные мази, кремы, лосьоны, репелленты, спреи). (ГОСТ 12.1.008-78) [4].

. Превышение уровней шума и вибрации. Шум может создаваться работающим оборудованием: буровыми установками: УКБ-4. В результате исследований установлено, что шум ухудшает условия труда, оказывает вредное воздействие на организм человека. Действие шума различно: затрудняет разборчивость речи, вызывает необратимые изменения в органах слуха человека, повышает утомляемость. Предельно допустимые уровни шума до 80 децибел, характеризующие шум, регламентируются согласно ГОСТ 12.1.003-83 [1]. Допустимые уровни звукового давления и эквивалентного уровня звука приведены в табл. 17.

Таблица 17

Допустимые уровни звукового давления и эквивалентного уровня звука (ГОСТ 12.1.003-83)

Рабочие места

Уровни звукового давления, дБ, в октавных полосах со среднегеометрическими частотами, Гц

Уровни звука и эквивалентные уровни звука, дБА


31,5

63

125

250

500

1000

2000

4000

8000


Постоянные рабочие места и рабочие зоны в производственных помещениях и на территории предприятий

107

95

87

78

75

73

71

69

80


Для уменьшения шума необходимо устанавливать звукопоглощающие кожухи, применять противошумные подшипники, глушители, вовремя смазывать трущиеся поверхности, а также использовать средства индивидуальной защиты: наушники, ушные вкладыши.

Вибрация в бурении возникает при спуско-подъемных операциях от работающих двигателей (лебедки, насосов, вибросит). Под действием вибрации у человека развивается вибрационная болезнь.

Различают местную и общую вибрацию. Общая вибрация наиболее вредна, чем местная. В результате развития вибрационной болезни нарушается нервная регуляция, теряется чувствительность пальцев, расстраивается функциональное состояние внутренних органов.

Предельно допустимые значения, характеризующие вибрацию, регламентируются согласно ГОСТ 12.1.012-90 [5] приведены в табл. 18.

Таблица 18

Гигиенические нормы уровней виброскорости (ГОСТ 12.1.012-90)

Вид вибрации

Допустимый уровень виброскорости, дБ, в октавных полосах со среднегеометрическими частотами, Гц


1

2

4

8

16

31,5

63

125

250

500

1000

Технологическая

-

108

99

93

92

92

92

-

-

-

-

Локальная вибрация

-

-

-

115

109

109

109

109

109

109

109



Профилактика вибрационной болезни включает в себя ряд мероприятий технического, организационного и лечебно-профилактического характера. Это-уменьшение вибрации в источнике (уменьшение нагрузки бурильной установки), своевременная смазка и регулировка оборудования и внедрение рационального режима труда и отдыха. А также наличие средств индивидуальной защиты, таких как сапоги на толстой резиновой подошве, вибронаушников и т.д.

Лабораторный и камеральный этапы

. Отклонение показателей микроклимата в помещении. Одним из необходимых условий нормальной жизнедеятельности человека является обеспечение нормальных микроклиматических условий (температура, влажность, скорость движения воздуха) в помещениях, оказывающих существенное влияние на тепловое самочувствие человека и его работоспособность.

В рабочей зоне производственного камерального помещения должны быть установлены оптимальные и допустимые микроклиматические параметры, отображенные в табл. 19.

Таблица 19

Допустимые параметры микроклимата на рабочих местах производственных помещений (СанПиН 2.2.4.548-96) [10]

Сезон года

Категория тяжести выполняемых работ

Температура воздуха °С, не более

Относительная влажность воздуха, %

Скорость движения воздуха, м/с

Холодный

 легкая 1б

19…24

15…75

0,1…0,2

Теплый

легкая 1б

20…28

15…75

0,1…0,3


Оптимальные параметры микроклимата обеспечиваются системами кондиционирования воздуха, а допустимые - обычными системами вентиляции и отопления.

Согласно СанПин 2.2.4.548-96 [15], интенсивность теплового облучения работающих от нагретых поверхностей технологического оборудования и осветительных приборов на рабочих местах не должна превышать 35 Вт/м2 при облучении 50% и более поверхности человека.

В камеральном помещении необходимо обеспечить приток свежего воздуха, количество которого определяется технико-экономическим расчетом и выбором схемы системы вентиляции. Минимальный расход воздуха определяется из расчета 50-60 м3/час на одного человека. При небольшой загрязненности воздуха вентиляция помещений осуществляется с переменными расходами наружного и циркуляционного воздуха. При значительном загрязнении в зависимости от эксплуатационных затрат на очистку воздуха расходы наружного и циркуляционного воздуха должны определяться технико-экономическим расчетом. Системы охлаждения и кондиционирования устройств ЭВМ должны проектироваться, исходя из 90% циркуляции СниП 2.04.05-91 [14].

. Недостаточная освещенность рабочей зоны. К современному производственному освещению предъявляются требования как гигиенического, так и технико-экономического характера. Правильно спроектированное и выполненное освещение обеспечивает высокий уровень работоспособности, оказывает положительное психологическое воздействие на работающих, способствует повышению производительности труда.

При работе на ЭВМ, как правило, применяют одностороннее боковое естественное освещение. Причем светопроемы с целью уменьшения солнечной инсоляции устраивают с северной, северо-восточной или северо-западной ориентацией. Если экран дисплея обращен к оконному проему, необходимы специальные экранирующие устройства, снабженные светорассеивающими шторами, жалюзи или солнцезащитной пленкой.

В тех случаях, когда одного естественного освещения недостаточно, устраивают совмещенное освещение. При этом дополнительное искусственное освещение применяют не только в темное, но и светлое время суток. Для искусственного освещения помещений хорошо подходят светильники с люминесцентными лампами общего освещения [13]. Диффузный ОД-2-80 светильник имеет следующие технические характеристики: 2 лампы по 80 Вт; длина лампы 1531 мм, ширина 266 мм, высота 198 мм, Коэффициент полезного действия равен 75%, светораспределение прямое. Для исключения засветки экранов дисплеев прямыми световыми потоками светильники общего освещения располагают сбоку от рабочего места, параллельно линии стены с окнами и зрения оператора.

Таблица 20

Параметры систем естественного и искусственного освещения на рабочих местах (СанПиН 2.2.1/2.1.1.1278-03)

Помещения

Рабочая поверхность и плоскость нормирования КЕО и освещенности (Г - горизонтальная, В- вертикальная) и высота плоскости над полом, м

Естественное освещение

Совмещенное освещение

Искусственное освещение



КЕО е_н, %

КЕО е_н, %

Освещенность, лк

 

 



При верхнем или комбинированном освещении

При боковом освещении

При вехнем или комбинированном освещении

При боковом освещении

При комбинированном освещении

При общем освещении

Показатель дискомфорта, М, не более

Коэффициент пульсации освещенности, К_п, %, не более







всего

от общего




1

2

3

4

5

6

7

8

9

10

11

Рабочий кабинет, камеральная комната

Г - 0,8

3,0

1,0

1,8

0,6

400

200

300

40

15

Аналитические лаборатории

Г - 0,8

3,5

1,2

2,1

0,7

500

300

400

40

10



. Степень нервно-эмоционального напряжения Характеристикой напряжения, наиболее присущей профессиональной деятельности человека-оператора, является состояние утомления. Компонентами утомления служат:

чувство слабосилия сказывается в том, что человек чувствует снижение своей работоспособности, даже когда производительность труда еще не падает;

расстройство внимания;

нарушение в моторной сфере. Утомление сказывается в замедлении или беспорядочной торопливости движений, расстройство их ритма;

расстройство в сенсорной области;

дефекты памяти и мышления;

сонливость.

Для того чтобы снизить утомляемость работников, необходима правильная организация рабочего места. В санитарных правилах и нормах даются общие требования к организации и оборудованию рабочих мест с ВДТ и ПЭВМ (СанПин 2.2.2/2.4.1340-03) [16].

Организация и оборудование рабочих мест с ПЭВМ для различных категорий пользователей (СанПин 2.2.2/2.4.1340-03) [16]:

рабочее место должно располагаться так, чтобы естественный свет падал сбоку, преимущественно слева;

окна в помещениях с ПЭВМ должны быть оборудованы регулируемыми устройствами (жалюзи, занавески, внешние козырьки и т.д.);

- расстояние между рабочими столами с видеомониторами должны быть не менее 2,0 м, а расстояние между боковыми поверхностями видеомониторов - не менее 1,2 м;

монитор, клавиатура и корпус компьютера должны находиться прямо перед оператором; высота рабочего стола с клавиатурой должна составлять 680-800 мм над уровнем стола; а высота экрана (над полом) - 900-1280см;

- монитор должен находиться от оператора на расстоянии 60-70 см на 20 градусов ниже уровня глаз;

- пространство для ног должно быть: высотой не менее 600 мм, шириной не менее 500 мм, глубиной не менее 450 мм. Должна быть предусмотрена подставка для ног работающего шириной не менее 300 мм с регулировкой угла наклона. Ноги при этом должны быть согнуты под прямым углом. Рабочее место с ПЭВМ должно иметь легко перемещаемые пюпитры для документов.

Анализ опасных факторов и мероприятий по их устранению

Полевой этап

. Движущиеся машины и механизмы производственного оборудования, острые кромки, заусеницы и шероховатость на поверхности инструментов.

При проведении работ по опробованию используется буровой станок СКБ-4 и автомобильный транспорт различного назначения, в связи с чем необходимо проводить мероприятия по устранению возможных механических травм. К числу которых относятся:

проверка наличия защитных заграждений на движущихся и вращающихся частях машин и механизмов;

плановая и внеплановая проверка пусковых и тормозных устройств;

проверка состояния оборудования и своевременное устранение дефектов.

Для защиты от данных опасных факторов используются коллективные средства защиты, − устройства, препятствующие появлению человека в опасной зоне. Согласно ГОСТ 12.2.062-81 [9] ограждения выполняются в виде различных сеток, решеток, экранов и кожухов.

Расстояние между ограждением, изготовленным из перфорированного материала или сетки, и опасным элементом приведены в таблице 21.

Таблица 21

Расстояние между ограждением и опасным элементом

Диаметр окружности, вписанной в отверстие решетки (сетки), мм

Расстояние от ограждения до опасного элемента, мм

До 8

Не менее 15

Св. 8 до 10

Св. 15 до 35

" 10 " 25

" 35 " 120

" 25 " 40

" 120 " 200

рудный марокский месторождение геологический

Запрещается работа со снятым или неисправным ограждением.

Лабораторный этап

Электрический ток. Электрический ток, проходя через организм человека, оказывает на него сложное действие, включая термическое, электролитическое, биологическое, механическое. К факторам, определяющим действие тока на организм, относятся сила тока, время воздействия, вид тока, частота переменного тока, место приложения, состояние здоровья, возраст, влажность, количество кислорода в воздухе.

Важнейшим условием обеспечения электробезопасности является исправное состояние изоляции электросетей и электроприемников.

При нормальном состоянии изоляции электроустановки опасность может возникнуть только при случайном прикосновении к ее токоведущим частям. По действующим Правилам устройства электроустановок (ПУЭ) доступных прикосновению токоведущих неизолированных частей электроустановки не должно быть.

При гигиеническом нормировании ГОСТ 12.1.038-82 [7], устанавливает предельно допустимые напряжения прикосновения и токи, протекающие через тело человека при нормальном (неаварийном) режиме работы электроустановок производственного и бытового назначения постоянного и переменного тока частотой 50 и 400 Гц. Наиболее опасен переменный ток с частотой 50 Гц (в 4-5 раз опаснее постоянного).

Допустимым считается ток, при котором человек может самостоятельно освободиться от электрической цепи. Его величина зависит от скорости прохождения тока через тело человека: при длительности действия более 10 секунд − 2 мА, при 10 секунд и менее − 6 мА согласно ГОСТ 12.1.038-82 [7].

В соответствии с классификацией помещений по опасности поражения людей электрическим током, согласно Правилам устройства электроустановок ПУЭ [23], жилые помещения, лаборатории и камеральные комнаты относятся к помещениям без повышенной опасности.

Основаниями для их отнесения к данной категории являются:

отсутствие в помещениях повышенной влажности воздуха, отсутствие токопроводящих полов;

отсутствие токопроводящей пыли, отсутствие высокой температуры воздуха (выше плюс 35 °С);

отсутствие возможности одновременного прикосновения человека к имеющим соединения с землей металлоконструкциям зданий, механизмов, с одной стороны, и к металлическим корпусам электрооборудования − с другой.

Основными мерами по обеспечению безопасности являются: организация регулярной проверки изоляции токоведущих частей оборудования аудитории; обеспечение недоступности токоведущих частей при работе; регулярный инструктаж по оказанию первой помощи при поражении электрическим током, использование знаков безопасности и предупреждающих плакатов; защитное заземление, зануление и защитное отключение. Данный фактор регламентируется нормативными документами ГОСТ 12.1.019-79, ГОСТ 12.1.030-81, ГОСТ 12.1.038-82 [6,8,7].

7.2 Экологическая безопасность


В процессе производства геологоразведочных работ воздействию в той или иной мере подвергаются воздушный бассейн, почва, недра, растительный и животный мир.

Воздействие на воздушную среду: незначительные выбросы выхлопных газов, образующихся при работе буровой установки и транспортной техники, не окажут заметного изменения качества воздуха. Тем не менее, планируется постоянный контроль за выбросом загрязняющих веществ в атмосферу, намечается систематические регулировки топливной аппаратуры двигателей внутреннего сгорания. Плату за выбросы в атмосферу предусматривается выполнять в соответствии с экономическим паспортом предприятия.

Основным видом возможного воздействия на земельные ресурсы являются нарушения и загрязнения почвенного покрова. Для охраны земельных площадей, нарушенных в процессе горных работ, от возможности развития эрозионных процессов предусматривается засыпка траншей. Проходку горных выработок намечается осуществить без применения буровзрывных работ.

Для предотвращения загрязнения земель нефтепродуктами при работе стационарных двигателей устанавливаются поддоны. Для заправки ГСМ планируется применять специальные заправочные пистолеты. Промасленная ветошь - сжигается, отработанные масла собираются в специальные емкости и отправляются на регенерацию. В случае проливов нефтепродуктов применяются оперативные меры по их сбору и сжиганию. Загрязненный слой грунта снимается и подлежит захоронению в местах, исключающих затопление поверхности и подтопление грунтовыми водами.целях исключения загрязнения земель хозяйственно-бытовые отходы складируются в помойных ямах, которые по мере заполнения закапываются. Местоположение помойных ям выбирается на не затапливаемых участках со слабо проницаемым глинистым грунтом.

В процессе выполнения проектных объемов и видов работ ожидается порубка леса. В целях сохранения лесных ресурсов при производстве полевых работ следует руководствоваться следующими требованиями:

вырубку леса проводить при наличии порубочных билетов и с соблюдением правил санитарной гигиены леса [2]. Деловая древесина должна использоваться для строительства, а отходы как дрова;

исключить возможность охоты без лицензий и в сроки, установленные правилами охоты на диких животных.

Выполнение запланированных видов и объемов ГРР сопряжено с определенным водопотреблением. При этом вода используется на хозяйственно-бытовые нужды и в производственно-техническом процессе.

В целях предотвращения загрязнения поверхностных вод нефтепродуктами временные пункты хранения ГСМ устраиваются за пределами охранных зон водотоков.

 

.3 Безопасность в чрезвычайных ситуациях


Чрезвычайная ситуация - обстановка на определенной территории, сложившаяся в результате аварии, опасного природного явления, катастрофы, стихийного или иного бедствия, которые могут повлечь за собой человеческие жертвы, ущерб здоровью людей или окружающей природной среде, значительные материальные потери и нарушение условий жизнедеятельности людей [4].

Классификация чрезвычайных ситуаций по сфере возникновения:

.        Техногенного характера (пожары, взрывы, аварии);

.        Природного характера (землетрясения, оползни, обвалы, сильный дождь, сильный снегопад, засуха, заморозки);

.        Биолого-социального и социального характера (инфекционные заболевания людей);

.        Экологического характера (резкая нехватка питьевой воды вследствие истощения вод или их загрязнения, истощение водных ресурсов, необходимых для организации хозяйственно-бытового водоснабжения и обеспечение технологических процессов);

Чрезвычайные ситуации могут возникнуть в результате стихийных бедствий, а также при нарушении различных мер безопасности. На случай стихийных бедствий и аварий предусматривается план по ликвидации их последствий.

При проведении проектируемых работ наиболее вероятным и разрушительным является пожар на рабочем месте.

Пожарная и взрывная безопасность

Пожарная безопасность представляет собой единый комплекс организационных, технических, режимных и эксплуатационных мероприятий по предупреждению пожаров. Общие требования пожарной безопасности как изложены в ГОСТ 12.1.004-91 [3].

Ответственными за обеспечение пожарной безопасности в организациях и на предприятиях являются руководители или лица, исполняющие их обязанности [3]. В эти обязанности входит:

обеспечивать своевременное выполнение противопожарных мероприятий при проектировании, строительстве и эксплуатации подчиненных им объектов;

организовать пожарную охрану и добровольные пожарные дружины на вверенных им мероприятиях;

следить за выполнением соответствующих норма и правил пожарной безопасности и указаний вышестоящих органов по вопросам пожарной охраны;

предусматривать необходимые ассигнования для содержания пожарной охраны и выполнения противопожарных мероприятий;

контролировать боеготовность пожарных частей и добровольных пожарных дружин;

назначать ответственных за обеспечение пожарной безопасности цехов, установок, участков, баз, складов, зданий и сооружений [3].

При проведении полевых работ должны быть приняты меры, обеспечивающие пожарную безопасность в лагере, а также направленные против возникновения лесных и полевых пожаров. Около 90% лесных и полевых пожаров возникает из-за неосторожного обращения людей с огнем (при курении, от непотушенных костров), от искр, вылетающих из выхлопных труб автомобилей, проведения палов - выжигание травы на лесных полянах, прогалинах и т.д. наибольшей склонностью к возгоранию обладают хвойные леса, сухие торфяники и травостой.

Лесные пожары делятся на верховые. Когда горит крона деревьев. Низовые, при которых выгорает лесная подстилка (лишайники, мох, опавшая хвоя, сухая трава). И подземные - при выгорании торфа в глубине залежей. Наиболее опасны верховые лесные и наземные полевые пожары, распространяющиеся со скоростью до 40 км/ч. Противопожарная защита леса на местах возлагается на лесхозы, лесничества.

Пожароопасный сезон для лесов и полей наступает с момента схода снежного покрова и продолжается до начала устойчивой дождливой осенней погоды или образования снежного покрова.

Запрещается разводить костры в хвойных молодняках, старых горельниках, на участках поврежденного леса (ветровал, бурелом), торфяниках, в местах с посохшей травой и под кронами деревьев, а допускается - на площадках, окаймленных минерализованной (очищенной до минерального слоя почвы) полосой шириной не менее 0,5 м. Уходя, костер необходимо тщательно засыпать землей или залить водой до полного прекращения тления.

В лесу не разрешается бросать горящие спички, окурки, вытряхивать из курительных трубок горячую золу, употреблять при охоте пыжи из легковоспламеняющихся и тлеющих материалов, оставлять промасленный или пропитанный бензином, керосином или иными горючими веществами обтирочный материал, заправлять горючим топливом баки машин при работе двигателей, использовать машины с неисправной системой питания двигателя горючим, а также курить или пользоваться открытым огнем вблизи заправляемых горючим машин.

В полевом лагере необходимо иметь комплект противопожарного оборудования и первичные средства пожаротушения (бочки с водой, ящики с песком, пенные огнетушители (ОВП-10), топоры, лопаты). Место для костра должно быть выбрано с подветренной стороны в 10 м от палаток и в 100 м от склада ГСМ и других воспламеняющихся веществ. Курить в палатках категорически запрещается. На период пожароопасного сезона в лагере должна быть создана добровольная пожарная дружина [3].

Экспедиции, партии, отряды, проводящие работы в лесной зоне, до начала работ должны зарегистрироваться в лесхозе, на территории которого будут выполняться работы, указать места проведения работ, расположение основных баз и маршрутов в лесу [2].

Система организационных и технических мероприятий, а также средств по предупреждению пожаров в камеральных условиях установлена системой государственных стандартов ГОСТ 12.1.004-91 [3] и ГОСТ 12.1.010-76 [24].

Причинами возникновения пожаров в камеральных условиях являются:

неосторожное обращение с огнем

неисправность и неправильная эксплуатация электрооборудования;

неисправность и перегрев отопительных стационарных и временных печей, разряды статического и атмосферного электричества, чаще всего происходящие при отсутствии заземлений и молниеотводов;

неисправность производственного оборудования и нарушение технологического процесса.

Территория лаборатории постоянно должна содержаться в чистоте и систематически очищаться от отходов производства. Запрещается загромождать предметами и оборудованием проходы, коридоры, выходы и лестницы. Все двери эвакуационных выходов должны свободно открываться в направлении выходов из зданий. На видном месте у огнеопасных объектов должны быть вывешены плакаты предупреждения: "Огнеопасно, не курить!" [3].

Ответственность за соблюдение пожарной безопасности в организации, за своевременное выполнение противопожарных мероприятий и исправное содержание средств пожаротушения несет начальник экспедиции и его заместитель по хозяйственной части.

Все инженерно-технические работники и рабочие, вновь принимаемые на работу, проходят специальную противопожарную подготовку, которая состоит из первичного и вторичного противопожарных инструктажей. По окончанию инструктажей проводится проверка знаний и навыков. Результаты проверки оформляются записью в "Журнал регистрации обучения видов инструктажа по технике безопасности".

Ответственные за пожарную безопасность обязаны:

не допускать к работе лиц не прошедших инструктаж по соблюдению требований пожарной безопасности;

обучать подчиненный персонал правилам пожарной безопасности и разъяснять порядок действий в случае загорания или пожара;

осуществлять постоянный контроль за соблюдением всеми рабочими противопожарного режима, а также своевременным выполнением противопожарных мероприятий;

обеспечить исправное содержание и постоянную готовность к действию средств пожаротушения;

при возникновении пожара применять меры по его ликвидации.

Места расположения первичных средств пожаротушения должны указываться в планах эвакуации, разработанные согласно ГОСТ 12.1.004-91 [3]. Внешнее оформление и указательные знаки для определения мест расположения первичных средств пожаротушения должны соответствовать требованиям ГОСТ 12.4.009-83 [12].

Огнетушители должны размещаться в легкодоступных и заметных местах, где исключено попадание на них прямых солнечных лучей и непосредственное (без заградительных щитков) воздействие отопительных и нагревательных приборов.

Ручные огнетушители должны размещаться:

навеской на вертикальные конструкции на высоте не более 1,5 м от уровня пола до нижнего торца огнетушителя и на расстоянии от двери, достаточном для ее полного открывания;

Ящики для песка должны иметь вместимость 0,5; 1,0 и 3,0 м3 и быть укомплектованы совковой лопатой по ГОСТ 12.4.009-83 [12].

Емкости для песка, входящие в конструкцию пожарного стенда, должны быть вместимостью не менее 0,1 м3.

Бочки для хранения воды для пожаротушения должны иметь вместимость не менее 0,2 м3 и быть укомплектованы пожарным ведром. Вместимость пожарных ведер должна быть не менее 0,008 м3 ГОСТ 12.4.009-83 [12].

На дверце пожарных шкафов с внешней стороны, на пожарных щитах, стендах, ящиках для песка и бочках для воды должны быть указаны порядковые номера и номер телефона ближайшей пожарной части.

Порядковые номера пожарных шкафов и щитов указывают после соответствующих буквенных индексов: "ПК" и "ПЩ".

Пожарный инвентарь должен размещаться на видных местах, иметь свободный и удобный доступ и не служить препятствием при эвакуации во время пожара.

Необходимый минимум первичных средств пожаротушения лаборатории включает:

порошковые огнетушители типа ОП-3(з), место установки обозначается знаком 4.1 по ГОСТ 12.4.026-76 [17];

закрывающийся крышкой ящик с сухим просеянным песком вместимостью 0,05 м3 укомплектованный совком вместимостью не менее 2 кг песка. Вместо ящика разрешается размещать песок в металлических сосудах вместимостью 4 - 6 кг;

накидки из огнезащитной ткани размером 1,2 х 1,8 м и 0,5 х 0,5 м.

8. Технико-экономическое обоснование продолжительности работ по проекту

 

.1 Таблица видов и объемов проектируемых работ (технический план)


Геологоразведочные работы поисковой стадии предполагается выполнить в следующем составе и последовательности:

Таблица 22

Сводная таблица объемов основных видов геологоразведочных работ

№ п/п

Виды работ

Ед. изм.

Объем по проекту

1.

Предполевой период и проектирование

проект

1

 

Полевые работы

 

 

2.

Вешение профилей и разбивка пикетажа

км

60

3.

Прорубка визир

км

60

4.

Геологическая съемка масштабом 1:10 000

кв. км

6

5.

Магниторазведка по сети 100 × 20 м

кв. км

6

6

Электроразведка ВП по сети 100 × 20 м

кв. км

6

8.

Проходка канав, в том числе:

куб. м

40641

9.

кат.пород II

куб. м

3535


кат.пород III

куб. м

13817


кат.пород IV

куб. м

17475


кат.пород VII

куб. м

5814


Документация канав

п. м.

4370

10.

Засыпка канав, в том числе:

куб. м

40641

11.

Колонковое бурение, в том числе:

п. м.

5000

12.

кат.пород III

п. м.

93


кат.пород V

п. м.

217


кат.пород VII

п. м.

4690


ГИС скважин

п. м.

5000

13.

Документация керна

п. м.

5000

14.

Бороздовое опробование горных выработок

проб

5047

15.

Керновое опробование колонковых скважин

проб

4907

16.

Обработка проб

проб

9954

17.

Химико-аналитические работы

 

 


Полуколичественный спектральный анализ элементов

проб

1793

18.

Химико-спектральный анализ на Au

проб

8043

19.

Пробирный анализ

проб

949


8.2 Расчет затрат времени, труда, материалов и оборудования по видам работ

 
Проектирование

1.      Сбор, систематизация и анализ имеющихся по площади архивных, фондовых и опубликованных материалов. Составление необходимых выписок из текста, таблиц и выкопировок чертежей.

. Систематизация сведений, полученных из архивных, фондовых и опубликованных литературных материалов.

4. Сканирование текста.

5. Печать текста и таблиц.

Затраты труда исполнителей подготовительного периода и проектирования (ССН, вып.1, ч.1):

–       начальник партии- 0,11 чел/мес.;

–       техник-геолог 2 категории- 5,46 чел/мес.;

–       геолог 1 категории- 0,63 чел/мес.;

–       экономист 1 кат.- 0,22 чел/мес.

Итого: 6,42 чел/ мес.

Топографо-геодезические работы


Таблица 23

Расчет затрат времени на топографо-геодезические работы

Обоснование нормы

Наименование работ

Единица

Объем работ

Норма времени, бр.-дн.

Затраты времени на весь объем, бр.-см.

ССН, вып.9, т. 42

Вешение профилей и разбивка пикетажа

км

60

0,23

13,8

ССН, вып.9, т. 84

Прорубка визир

км

60

0,66

39,6

Итого:


53,4


Таблица 24

Расчет затрат труда на топографо-геодезические работы

Вид работ

Расчетная единица

Количество расчетных единиц

Обоснование нормы

Норма затрат труда на расчетную единицу, чел.-дн.

Затраты труда на весь объем, чел.-дн.

Вешение профилей и разбивка пикетажа

бр.-см.

13,8

ССН, вып.9, т. 43

1,55

21,39

Прорубка визир

бр.-см.

39,6

ССН, вып.9, т. 85

0,95

37,62

Итого:


59,01



Состав бригады взят из ССН-9, т. 43, гр. 2:

Вешение профилей и разбивка пикетажа:

–       начальник отряда - 0,06 чел.-дн.;

–       техник-геодезист - 0,23 чел.-дн.;

–       замерщик 3 разряда - 0,23 чел.-дн.;

–       замерщик 2 разряда - 1,03 чел.-дн.;

Прорубка визир:

–       начальник отряда - 0,03

–       техник-геодезист - 0,13

–       лесоруб 3 разряда - 0,66

–       замерщик 2 разряда - 0,13

Геологическая съемка масштабом 1:10 000


Таблица 25

Расчет затрат времени на Геологическую съемку

 Обоснование нормы

Наименование работ

Единица

Объем работ

Норма времени, отрядо-см.

Затраты времени на весь объем, отрядо-см.

ССН, вып.1, ч.2, т.75, №нормы. 39

Геологическая съемка

 км

6

5,47

32,82

Итого:


32,82


Таблица 26

Расчет затрат труда на Геологическую съемку

Вид работ

Расчетная единица

Кол. рас. Ед.

Обоснование нормы

Норма затрат труда на расчетную единицу, чел.-см.

Затр. труда на весь объем, чел.-дн.





ИТР

Рабочие

Всего на ед.


Геологическая съемка

отрядо-см.

32,82

ССН, вып.3, ч.2, т.2.15

1,1

1

2,1

68,9

Итого:


68,9



Состав бригады взят из ССН-1, ч. 2, т. 73:

–       геолог II категории - 1 чел.-см.

–       рабочий на геолого-съемочных и поисковых работах 3-го разряда - 1 чел.-см.

–       начальника геологической партии - 0,10 чел.-см.

Наземные геофизические работы


Таблица 27

Расчет затрат времени на Наземные геофизические работы

 Обоснование нормы

Наименование работ

Единица

Объем работ

Норма времени, отрядо-см.

Затраты времени на весь объем, отрядо-см.

ССН, вып.3, ч.3, т.30, №нормы 25

Магниторазведка

1 км2

6

0,78

4,68

ССН, вып.3, ч.2, т.2.3, №нормы 142

Электроразведка методом ВП

10 км

6

6,28

37,68

Итого:


42,36


Таблица 28

Расчет затрат труда на Наземные геофизические работы

Вид работ

Расчетная единица

Количество расчетных единиц

Обоснование нормы

Норма затрат труда на расчетную единицу, чел.-дн.

Затраты труда на весь объем, чел.-дн.





ИТР

Рабочие

Всего на ед.


Магниторазведка

приб.-см.

4,68

ССН, вып.3, ч.3, т.32

3,25

1

4,25

19,89

Электроразведка методом ВП

приб.-см.

37,68

ССН, вып.3, ч.2, т.2.15

4,75

5

9,75

367,38

Итого:


387,27



Состав бригады взят из ССН-3, ч. 3:

Магниторазведочные работы (в чел.-днях на одну отрядо-смену)

–       Начальник партии - 0,25

–       Начальник отряда - 0,25

–       Геофизик I категории - 0,25

–       Геолог II категории - 0,25

–       Инженер (электронщик) II категории - 0,25

–       Техник (оператор) I категории - 1,0

–       Техник II категории - 1,0

–       Рабочий на геофизических работах 3 разряда - 1,0

Электроразведка методом ВП (в человеко-днях на одну отрядо-смену)

–       Начальник партии - 0,25

–       Геофизик 1 категории - 0,5

–       Геофизик 2 категории - 1,0

–       Геолог 2 категории - 0,25

–       Техник геофизик 1 категории - 0,5

–       Техник геофизик 2 категории - 2,25

–       Моторист электроразведочной станции 4 разряда - 1,0

–       Рабочие на геофизических работах 3 разряда - 0,5

–       Рабочие на геофизических работах 2 разряда - 3,5

Горнопроходческие работы

Продолжительность рабочей смены на открытых работах согласно ССН-4, п. 20 равна 6,65 часа.

Таблица 29

Расчет затрат времени на проходку, засыпку и документацию канав

Виды работ

Нормативный документ

Измери-тель

Объем работ

Затраты времени в сменах





На ед. работ

На весь объем





час

смена

в сменах

Проходка канав до глубины 3 м:

ССН-4, т. 30

100 м3





кат.пород II



35,35

3,16

0,47

2,5

кат.пород III



138,17

3,58

0,54

11,4

кат.пород IV



174,75

3,58

0,54

14,5

кат.пород VII



58,14

3,58

0,54

4,4

Итого:






32,8

Засыпка канав бульдозером, в том числе:

ССН-4, т. 163

100 м3





категория II



3535

0,95

0,14

0,75

категория III



13817

1,08

0,16

3,4

категория IV



17475

1,08

0,16

4,3

категория VII



5814

1,08

0,16

1,3

Итого:






9,75

Документация горных выработок

ССН-1,ч. 1, т. 26

100 м

43,7


2,33

101,8



Таблица 30

Расчет затрат труда на проходку, засыпку и документацию канав

Вид работ

Расч. ед.

Колич. расч. ед.

Обоснование нормы

Норма затрат труда на расчетную единицу, чел.-дн.

Затраты труда на весь объем, чел.-дн.





ИТР

Рабочие

Всего на ед.


Проходка канав бульдозером

см.

32,8

ССН, вып.4, т. 34, гр. 4

0,444

1,1

1,544

50,6

Засыпка канав бульдозером

см.

9,75

ССН, вып.4, т. 163

0,444

1

1,444

14

Документация канав

см.

154,5

ССН, вып.1, ч.1, п.68

1,15

1

2,15

332,2

Итого:


396,8



Состав бригады взят из ССН-4, т. 34, гр. 4:

Проходка горных выработок:

–       инженер по горным работам - 0,022 чел.-дн.;

–       начальник участка - 0,200 чел.-дн.;

–       горный мастер - 0,200 чел.-дн.;

–       инженер-механик - 0,022 чел.-дн.;

–       машинист бульдозера 5 разряда - 1,0 чел.-дн.;

–       горнорабочий 3 разряда - 0,1 чел.-дн.

Документация горных выработок согласно ССН-1, ч.1, п.68:

–       геолог II категории - 1,0 чел/смен;

–       рабочий III разряда - 1,0 чел/смен;

–       начальника партии - 0,15 чел/смен.

Засыпка горных выработок согласно ССН-4, т. 163:

–       инженер по горным работам - 0,022 чел.-дн.;

–       начальник участка - 0,200 чел.-дн.;

–       горный мастер - 0,200 чел.-дн.;

–       инженер-механик - 0,022 чел.-дн.;

–       машинист бульдозера 5 разряда - 1,0 чел.-дн.

Буровые работы


Таблица 31

Расчет затрат времени на вращательное колонковое бурение скважин

Обоснование нормы

Способ бурения

Диаметр бурения, мм

Категория пород

Объем работ, м

Норма времени, ст.-см.

Поправочный коэффициент (сложные условия)

Затраты времени на весь объем, ст.-см.

ССН, вып.5, табл.5 Колонковое, самоходная установка

112

III

93

0,06


3,6


93

V

217

0,13


27,3


76

VII

4690

0,15


559,5


Итого

590,4



–       Состав бригады:

–       начальник участка- 0,07 чел.-дн.;

–       инженер по буровым работам- 0.05 чел.-дн.;

–       инженер- механик- 0.10 чел.-дн.;

–       буровой мастер скважин I и II категорий- 0.29 чел.-дн.;

–       машинист буровой установки 4 разряда- 1 чел.-дн.;

–       помощник машиниста буровой установки 1-ый- 1 чел.-дн.;

–       водитель автомобиля- 1 чел.-дн..

Таблица 32. Расчет затрат времени на документацию керна

Виды работ

Нормативный документ

Измери-тель

Объем работ

Норма времени, см.

На весь объем работ, см

Документация керна

ССН1,ч. 1,т. 31

100 м

50

3,06

152,4


Таблица 33

Расчет затрат времени на монтаж-демонтаж и перемещение буровых установок

Номер таблицы ССН

Норма времени на одно премещение, ст.-см.

Поправочный коэффициент на работу в зимний период

Затраты времени на весь объем, ст.-см.

20

вып. 5, т. 104

1,67

-

33,4

Итого:

33,4

Таблица 34

Расчет затрат труда на бурение, вспомогательные работы, монтаж-демонтаж и перемещение

Вид работ

Расчетная единица

Кол-во расчетных единиц

Номер таблицы ССН

Норма затрат труда на расчетную единицу, чел.-дни

Затраты труда на весь объем, чел.-дни





ИТР

рабочие

всего на единицу


1. Бурение скважин

станко-смена

590,4

в.5, т. 14, 16

0,51

3,0

3,51

2072,3

2. Монтаж-демонтаж

1 переме-щение

31

в.5, т. 105

0,85

5,01

5,86

117,2

Итого:


2189,5


Геофизические исследования скважин

Таблица 35

Расчет затрат времени на ГИС

Обоснование нормы

Наименование работ

Единица

Объем работ

Норма времени, отрядо-см.

Затраты времени на весь объем, отрядо-см.

ССН, вып.3, ч.5, т.7, гр. 12

Один зонд КС, ГК, кавернометрия, инклинометрия через 20…25м

1000 м

5

3,11

12,4

Итого:


12,4



Состав бригады взят из ССН-3, ч. 5, т. 20:

начальник отряда- 1 отр.-мес.;

техник 1 категории (оператор)- 1 отр.-мес.;

геофизик 1 категории (интерпретатор)- 0,1 отр.-мес.;

техник 1 категории (интерпретатор)- 0,25 отр.-мес.;

техник 2 категории (чертежник)- 0, 5 отр.-мес..

Опробование


Таблица 36

Расчет затрат времени на опробование

Обоснование нормы

Наименование работ

Единица

Объем работ

Норма времени, бр.-см.

Затраты времени на весь объем, бр.-см.

ССН, вып.1, ч.5, т.29, гр. 7;

1) Отбор проб из керна скважин

100 м

46,9

3,21

126,5

ССН, вып.1, ч.5, т. 5, гр. 9

2) Отбор бороздовых проб

100 м

43,7

3,80

264,5

Итого:


391


Таблица 37

Расчет затрат труда на опробование

Вид работ

Расчетная единица

Количество расчетных единиц


Норма затрат труда на расчетную единицу, чел.-дн.

Затраты труда на весь объем, чел.-дн.





ИТР

Рабочие

Всего на ед.


1) Отбор проб из керна скважин

бр.-см.

126,5

ССН, вып.1, ч.5, т. 30, 6, 35

1,1

1,0

2,1

265,65

2) Отбор бороздовых проб


391


1,1

1,0

2,1

821,1

Итого:


1086,75



Состав бригады:

отбор проб из керна скважин:

геолог II категории- 0,10 бр.-см.;

техник II категории- 1,0 бр-см;

дробильщик- 1,0 бр.-см.;

отбор бороздовых проб:

геолог II категории- 0,10 бр.-см.;

техник II категории- 1,0 бр.-см.;

отборщик геологических проб- 1,0 бр.-см.;

технологическое опробование:

геолог II категории- 0,1 бр.-см.;

техник II категории- 1,0 бр.-см.;

грохотовщик- 1,0 бр.-см.

Обработка лабораторных проб


Таблица 38

Расчет затрат времени на обработку

Обоснование нормы

Наименование работ

Единица

Объем работ

Норма времени, бр.-см.

Затраты времени на весь объем, бр.-см.

ССН, вып.1, ч.5: т.57

1) Обработка лабораторных проб

100 проб

99,54

1,18

128,9

Итого:


128,9

 
Лабораторные работы

Таблица 39

Расчёт затрат времени на лабораторные работы

Виды работ

Нормативный документ

Расчетная единица

Объем работ

Затраты времени в сменах





На ед. работ, бр-час

На весь объем, бр-час

Полуколичественный спектральный анализ на 32 элемента

ССН-7, т. 3.1

проба

1793

0,74

1326

Химико-спектальный анализ на Au

ССН-7, т. 3.2, гр. 407

проба

8043

0,74

5951

Пробирный анализ

ССН-7, т. 1.1

проба

949

0,44

417

Изготовление шлифов

ССН-7, т. 13.3, гр.1780

шлиф

300

0,28

84

Изготовление аншлифов

ССН-7, т.13.3, гр. 1796

аншлиф

100

0,56

56

Всего

 

 

 

 

7834


8.3 Расчет производительности труда, количества бригад и продолжительности выполнения отдельных работ

 
Топографо-геодезические работы

7-дневная рабочая неделя. Продолжительность смены 8 часов. Месячный фонд рабочего времени 25,4 смен. Производительность труда:

Вешение профилей и разбивка пикетажа:

 м/бр.-мес.

Планируемый срок выполнения работ:

м / 141930 м/бр.-мес. = 4,2 мес.

Прорубка визир:

 м/бр.-мес.

Планируемый срок выполнения работ:

м / 49460 м/бр.-мес. = 1,2 мес.

Геологическая съемка

7-дневная рабочая неделя. Продолжительность смены 8 часов. Месячный фонд рабочего времени 25,4 смен. Производительность труда:



Планируемый срок выполнения работ:

м/ 59678 м/бр.-мес. = 1,05 мес.

 
Геофизические работы

5-дневная рабочая неделя. Продолжительность смены 8 часов. Месячный фонд рабочего времени 20,75 смен.

Магниторазведка:

 отрядо-мес.

Планируемый срок выполнения работ

м2 / 34,2 м2/отрядо-мес. = 0,2 мес.

Необходима одна бригада для выполнения запроектированных работ.

Электроразведка методом ВП:


Планируемый срок выполнения работ

/ 42464 м/отрядо-мес. = 1,4 мес.

Необходима одна бригада для выполнения запроектированных работ.

Горнопроходческие работы

7-дневная рабочая неделя. Продолжительность смены 8 часов. Месячный фонд рабочего времени 25,4 смен.

Производительность труда:

 м3/мес.

Планируемый срок выполнения работ 6,04 мес. Для выполнения запланированных объемов необходима 1 бригада.

Буровые работы

7-дневная рабочая неделя. 3 смены по 8 часов в день. Месячный фонд рабочего времени 62,25 смен.


Планируемый срок выполнения работ 8,5 мес. Необходимое количество станков Nст. = 2 станка.

Геофизические исследования в скважинах

5-дневная рабочая неделя. Продолжительность смены 8 часов. Месячный фонд рабочего времени 20,75 смен.


Планируемый срок выполнения работ

м / 8602 м/отрядо-мес. = 0,46 мес.

Для выполнения запланированных объемов достаточно одной бригады геофизиков.

Опробование

7-дневная рабочая неделя, продолжительность смены 8 часов в день. Месячный фонд рабочего времени 25,4 смен.

Отбор бороздовых проб:


Планируемый срок выполнения работ:

проб / 859,2 проб/бр.-мес. = 8,1 мес.

Отбор керновых проб


Планируемый срок выполнения работ:

проб / 1016,7 проб/бр.-мес.= 3,9 мес.

 

.4 План выполнения работ


·        Проектирование и подготовительные работы-продолжительность 3 мес.

·        Топографо-геодезические работы - продолжительность 1,2 мес.

·        Геологическая съемка - продолжительность 1,05 мес.

·        Магниторазведка - продолжительность 0,2 мес.

·        Электроразведка - продолжительность 1,4 мес.

·        Горнопроходческие работы - продолжительность 6,04 мес.

·        Буровые работы - продолжительность 8,5 мес.

·        Геофизические исследования в скважинах - продолжительность 0,46 мес.

·        Опробование - продолжительность 8,1 мес. И 3,9 мес. керновое.

·        Лабораторные работы - продолжительность 10 мес.

·        Камеральные работы - продолжительность 7 мес.

 

.5 Расчет сметной стоимости проекта


·        районный коэффициент к заработной плате = 1,3 (Красноярский край)

·        дополнительная заработная плата = 7,9% (от основной зарплаты);

·        отчисления на социальные нужды = 27,2% (от основной и дополнительной зарплаты);

·        материалы = 5% (от основной и дополнительной зарплаты, без районного коэффициента к зарплате);

·        услуги = 15% (от основной и дополнительной зарплаты, без районного коэффициента к зарплате);

·        коэффициент ТЗР к материальным затратам = 1,11;

·        коэффициент ТЗР к амортизации = 1,07;

·        коэффициент индексации к статьям "Заработная плата" и "Отчисления на социальные нужды" = 1,022;

·        коэффициент индексации к статье "Материальные затраты" = 0,760;

·        коэффициент индексации к статье "Амортизация" = 0,386;

·        Общие коэффициенты, учитывающие индексацию и район проведения работ:

1. к заработной плате и социальным нуждам:

1,3*1,022 = 1,32836;

. к материальным затратам:

,11*0,760 = 0,8436;

. к амортизации:

,07*0,386 = 0,41302;

8.6 Расчеты основных расходов по видам работ


Таблица 40

Расчет основных расходов на подготовительные работы

Статьи затрат

Основной месячный оклад, руб./мес.

Затраты труда, чел.-мес.

Основные расходы, руб.

Поправочный коэффициент

Основные расходы с учетом коэффициента, руб.

Основная заработная плата:

 

 

 

 

 

Начальник геологической партии

20550

0,11

2260,5

1,3

2938,69

Геолог 1 категории

20550

0,63

12946,5

1,3

16830,45

Техник- геолог 2 категории

16050

5,46

87633

1,3

113922,9

Экономист

18150

0,22

3993

1,3

5190,9

Итого основная заработная плата

106833

 

138882,9

Дополнительная заработная плата

7,90%

8439,8

 

10971,7

Итого основная и дополнительная заработная плата

115272,8

 

149854,6

Отчисления на социальные нужды

27,20%

 

 

 

40760,5

Материалы

5%

 

5763,6

0,8436

4862,2

Услуги

15%

 

17290,9

0,41302

7141,5

Итого основные расходы на проектирование

 

 

202619



Таблица 41

Расчет основных расходов на вешение профилей и разбивку пикетажа по СНОР-9, т. 3, стр. 46

№ п/п

Статьи затрат

Нормы затрат, руб.- бр.-см.

Нормы затрат с учетом коэффициента, руб./бр.-см

1

Затраты на оплату труда

62078

82461,9

2

Отчисления на социальные нужды

24232

32188,8

3

Материальные затраты

68580

57854,1

4

Амортизация

4815,4

 

Итого основных расходов на расчетную единицу

 

177320,2

 

Всего основных расходов (0,2)

 

90146


Таблица 42

Расчет основных расходов на прорубку визир по СНОР-9, т.5, стр.891

№ п/п

Статьи затрат

Нормы затрат, руб.- бр.-см.

Нормы затрат с учетом коэффициента, руб./бр.-см

1

Затраты на оплату труда

22835

30333,1

2

Отчисления на социальные нужды

8915

11842,4

3

Материальные затраты

11862

10006,8

4

Амортизация

2311

954,6

 

Итого основных расходов на расчетную единицу

 

53136,9

 

Всего основных расходов (0,6)

 

83424


Таблица 43

Расчет основных расходов на геологическую съемку масштабом 1:10 000 по СНОР-1, ч. 2, т. 4, стр. 1

№ п/п

Статьи затрат

Нормы затрат, руб.- бр.-см.

Нормы затрат с учетом коэффициента, руб./бр.-см

1

Затраты на оплату труда

22206

29497,5

2

Отчисления на социальные нужды

8660

11503,6

3

Материальные затраты

6716

5665,6

4

Амортизация

733

302,7

 

Итого основных расходов на расчетную единицу

 

46969,4

 

Всего основных расходов (1,1)

 

67166,22


Таблица 44

Расчет основных расходов на площадные геофизические работы (магниторазведку) по СНОР-3, ч. 3, т. 6, стр. 1

№ п/п

Статьи затрат

Нормы затрат, руб.- бр.-мес.

Нормы затрат с учетом коэффициента, руб./бр.-мес

1

2

3

4

1

Затраты на оплату труда

53663

71283,8

2

Отчисления на социальные нужды

20913

27780

3

Материальные затраты

50833

42882,7

4

Амортизация

13880

5732,7

 

Итого основных расходов на расчетную единицу

 

147679,2

 

Всего основных расходов (0,3)

 

44303,76


Таблица 45

Расчет основных расходов на площадные геофизические работы (электроразведку) по СНОР-3, ч. 2, т. 8

№ п/п

Статьи затрат

Нормы затрат, руб.- бр.-мес.

Нормы затрат с учетом коэффициента, руб./бр.-мес

1

Затраты на оплату труда

117754

156419,7

2

Отчисления на социальные нужды

45872

60934,5

3

Материальные затраты

102082

86116,4

4

Амортизация

90780

37493,9

 

Итого основных расходов на расчетную единицу

 

340964,5

 

Всего основных расходов (6,0)

 

2045787



Таблица 46

Расчет основных расходов на опробование канав по СНОР-1, ч. 2, т. 4, стр. 1

№ п/п

Статьи затрат

Нормы затрат, руб.- бр.-см.

Нормы затрат с учетом коэффициента, руб./бр.-см

1

Затраты на оплату труда

21744

28883,9

2

Отчисления на социальные нужды

8480

11264,5

3

Материальные затраты

2792

2355,3

4

Амортизация

183

75,6

 

Итого основных расходов на расчетную единицу

 

42579,3

 

Всего основных расходов (0,7)

 

926364


Таблица 47

Расчет основных расходов на опробование керна скважин по СНОР-1, ч. 2, т. 4, стр. 5

№ п/п

Статьи затрат

Нормы затрат, руб.- бр.-см.

Нормы затрат с учетом коэффициента, руб./бр.-см

1

Затраты на оплату труда

21744

28883,9

2

Отчисления на социальные нужды

8480

11264,5

3

Материальные затраты

2792

2355,3

4

Амортизация

183

75,6

 

Итого основных расходов на расчетную единицу

 

42579,3

 

Всего основных расходов (0,6)

 

281041


Таблица 48

Расчет основных расходов на проходку канав по СНОР-4, т. 8, стр. 1

№ п/п

Статьи затрат

Нормы затрат, руб.- бр.-см.

Нормы затрат с учетом коэффициента, руб./бр.-см

1

Затраты на оплату труда

804

1068,0

2

Отчисления на социальные нужды

314

417,1

3

Материальные затраты

3040

2564,5

4

Амортизация

804

332,1

 

Итого основных расходов на расчетную единицу

 

4381,7

 

Всего основных расходов (3,5)

 

46860


Таблица 49

Расчет основных расходов на засыпку канав по СНОР-4, т. 37, стр. 2

№ п/п

Статьи затрат

Нормы затрат, руб.- бр.-см.

Нормы затрат с учетом коэффициента, руб./бр.-см.

1

Затраты на оплату труда

776

1030,8

2

Отчисления на социальные нужды

302

401,2

3

Материальные затраты

3062

2583,1

4

Амортизация

928

383,3

 

Итого основных расходов на расчетную единицу

 

4398,4

 

Всего основных расходов (1)

 

24047


Таблица 50

Расчет основных расходов на бурение скважин по СНОР-5, т. 1, стр. 2

№ п/п

Статьи затрат

Нормы затрат, руб.- бр.-см.

Нормы затрат с учетом коэффициента, руб./бр.-см.

1

Затраты на оплату труда

1550

2059

2

Отчисления на социальные нужды

612

813

3

Материальные затраты

4106

3463,8

4

Амортизация

867

358,1

 

Итого основных расходов на расчетную единицу

 

6693,9

 

Всего основных расходов (9,6)

 

174880


Таблица 51

Расчет основных расходов на монтаж-демонтаж по СНОР-5, т. 23, с. 5

№ п/п

Статьи затрат

Нормы затрат, руб.- м.-д.

Нормы затрат с учетом коэффициента, руб./м.-д.

1

Затраты на оплату труда

3289

4369

2

Отчисления на социальные нужды

1266

1681,7

3

Материальные затраты

3319

2800

4

Амортизация

2961

1223

 

Итого осн. расходов на расч. ед.

 

10073

 

Всего основных расходов (7)

 

201460


Расходы на вспомогательные работы будут составлять 9% от стоимости расходов на бурение скважин.

Таблица 52

Расчет основных расходов на документацию канав по СНОР-1, ч. 1, т. 4, стр. 1

№ п/п

Статьи затрат

Нормы затрат, руб.- бр.-мес.

Нормы затрат с учетом коэффициента, руб./бр.-мес

1

Затраты на оплату труда

21454

28498,6

2

Отчисления на социальные нужды

8367

11114,4

3

Материальные затраты

18655

15737,4

4

Амортизация

733

302,7

 

Итого осн. расходов на расч. ед.

 

55653,1

 

Всего основных расходов (1,6)

 

315720


Таблица 53. Расчет основных расходов на документацию керна по СНОР-1, ч. 1, т. 5, стр. 1

№ п/п

Статьи затрат

Нормы затрат, руб.- бр.-мес.

Нормы затрат с учетом коэффициента, руб./бр.-мес

1

21067

27984,6

2

Отчисления на социальные нужды

8216

10913,8

3

Материальные затраты

6839

5769,4

4

Амортизация

733

302,7

 

Итого осн. расходов на расч. ед.

 

44970,5

 

Всего основных расходов (1,6)

 

201920


Таблица 54

Расчет основных расходов на геофизические работы в скважине по СНОР-3, ч. 5, т. 1

№ п/п

Статьи затрат

Нормы затрат, руб.- бр.-мес.

Нормы затрат с учетом коэффициента, руб./бр.-мес

1

Затраты на оплату труда

53064

70488,1

2

Отчисления на социальные нужды

20666

27451,9

3

Материальные затраты

97273

82059,5

4

Амортизация

109470

45213,3

 

Итого осн. расходов на расч. ед.

 

225211,9

 

Всего основных расходов (0,16)

 

98040


Таблица 55

Расчет основных расходов на бороздовое опробование по СНОР-1, ч. 5, т. 1

№ п/п

Статьи затрат

Нормы затрат, руб.- бр.-мес.

Нормы затрат с учетом коэффициента, руб./бр.-мес

1

Затраты на оплату труда

22669

30112,6

2

Отчисления на социальные нужды

8841

11744,1

3

Материальные затраты

7341

6192,9

4

Амортизация

537

221,8

 

Итого осн. расходов на расч. ед.

 

48271,4

 

Всего основных расходов (3)

 

815025


Таблица 56

Расчет основных расходов на керновое опробование по СНОР-1, ч. 5, т. 1, гр. 28

№ п/п

Статьи затрат

Нормы затрат, руб.- бр.-мес.

Нормы затрат с учетом коэффициента, руб./бр.-мес

1

Затраты на оплату труда

19546

25964,1

2

Отчисления на социальные нужды

7623

10126,1

3

Материальные затраты

15576

13139,9

4

Амортизация

-

 

 

Итого осн. расходов на расч. ед.

 

49230,1

 

Всего основных расходов (0,4)

 

67480


Таблица 57

Расчет основных расходов на обработку лабораторных проб по СНОР-1, ч. 5, т. 1, гр. 39

№ п/п

Статьи затрат

Нормы затрат, руб.- бр.-мес.

Нормы затрат с учетом коэффициента, руб./бр.-мес

1

Затраты на оплату труда

12174

16171,4

2

Отчисления на социальные нужды

4748

6307,1

3

Материальные затраты

3058

2579,7

4

Амортизация

393

162,3

 

Итого осн. расходов на расч. ед.

 

25220,5

 

Всего основных расходов (1,2)

 

128425


Таблица 58

Расчет основных расходов на полуколичественный спектральный анализ на 18 элементов по СНОР-7, т. 1, стр. 3

№ п/п

Статьи затрат

Нормы затрат, руб.- бр.-мес.

Нормы затрат с учетом коэффициента, руб./бр.-мес

1

Затраты на оплату труда

13396

17794,7

2

Отчисления на социальные нужды

5224

6939,3

3

Материальные затраты

20627

17400,9

4

Амортизация

8631

3564,8

 

Итого осн. расходов на расч. ед.

 

45699,7

 

Всего основных расходов (74,8)

 

14506310



Таблица 59

Расчет основных расходов на химико-спектральный анализ на золото по СНОР-7, т. 1, стр. 4

№ п/п

Статьи затрат

Нормы затрат, руб.- бр.-мес.

Нормы затрат с учетом коэффициента, руб./бр.-мес

1

Затраты на оплату труда

13140

17454,6

2

Отчисления на социальные нужды

5124

6806,5

3

Материальные затраты

83456

70403,5

4

Амортизация

2170

896,3

 

Итого осн. расходов на расч. ед.

 

95560,9

 

Всего основных расходов (74,8)

 

7147955,32


Таблица 59

Расчет основных расходов на изготовление шлифов и аншлифов по СНОР-7, т. 1, стр. 13

№ п/п

Статьи затрат

Нормы затрат, руб.- бр.-мес.

Нормы затрат с учетом коэффициента, руб./бр.-мес

1

Затраты на оплату труда

10155

13489,5

2

Отчисления на социальные нужды

3961

5261,6

3

Материальные затраты

7967

6720,9

4

Амортизация

8075

3335,1

 

Итого осн. расходов на расч. ед.

 

28807,1

 

Всего основных расходов(5,6)

 

161319,76



Таблица 60

Расчет основных расходов на камеральные работы

Статьи затрат

Основной месячный оклад, руб./мес.

Затраты труда, чел.-мес.

Основные расходы, руб.

Поправо-чный коэффиц-иент

Основные расходы с учетом коэффициента, руб.

Основная заработная плата:

 

 

 

 

 

Начальник отряда

20550

1,2

24660

1,4

34524

Техник- геолог 1 категории

16050

4,8

77040

1,4

107856

Геолог 1 категории

20550

4,8

98640

1,4

138096

Геолог 2 категории

20550

3,6

73980

1,4

103572

Итого основная заработная плата

274320

 

384048

Дополнительная заработная плата

7,90%

21671,3


30339,792

Итого основная и дополнительная заработная плата

295991,3

 

414387,792

Отчисления на социальные нужды

27,20%

 

 

 

112713,5

Материалы

5%

 

14799,56

0,866

12816,4

Услуги

15%

 

44398,69

0,486

21577,8

Итого основные расходы на проектирование

 

 

 

561495,5

 


8.7 Сводная смета


Таблица 61

Сметная стоимость геологоразведочных работ

 п/п

Наименование работ и затрат

Единица измерения

Объем работ

Сметная стоимость, руб.

1

2

3

4

6

I

Основные расходы





А. Собственно ГРР, всего

руб.


33 629 072


1. Проектирование и подготовительные работы

%

100

202619


2. Полевые работы, всего



3 652 692


2.1. Вешение профилей и разбивка пикетажа

м

60000

90000


2.2. Прорубка визир

м

60000

83400


2.3. Геологическая съемка

кв.км

6

17522


2.4. Опробование по канавам

проб

4370

926364


2.8. Опробование по керну скважин

проб

4977

281041


2.9. Проходка канав

куб. м

46860


2.10. Документация канав

м

6630

315720


2.11. Засыпка канав

куб. м

40641

24047


2.12. Бурение скважин

м

5000

174880


2.13. Вспомогательные работы при бурении

%

9

15612


2.14. Монтаж-демонтаж, перевозка

м.-д.

31

201460


2.15. Документация керна

м

5000

201920


2.16. Скваженная геофизика

м

5000

98040


2.17. Бороздовое опробование

м

5047

815025


2.18. Керновое опробование

м

4970

67480


3. Организация полевых работ

%

1,5

50390


4. Ликвидация полевых работ

%

1,2

40312


5. Лабораторные работы, всего



29 976 380


5.1. Полуколичественный спектральный анализ

проб

1793

8652746


5.2. Химико-спектальный анализ на Au и Ag

проб

8043

14506310


5.3 Пробирный анализ на золото

проб

949

564127


5.4. Изготовление шлифов и аншлифов

шлифы и аншлифы

400

273840


5.5. Обработка проб

проб

9942

128425


6. Камеральные работы



5 614 95


Б. Сопутствующие работы, всего



6725814


7. Транспортировка грузов и персонала, 20%

%

20

6725814


ИТОГО основных расходов



40354886

II

Накладные расходы (20%)

%

20

8070977


ИТОГО



48425863

III

Плановые накопления (20%)

%

20

9685172


ИТОГО



58111035

IV

Компенсируемые затраты, всего



4939439


Компенсации и доплаты (7,2%)

%

7,20

4183995


Охрана недр и окружающей среды (1,3%)

%

1,30

755444


ИТОГО



63050474

V

Резерв на непредвиденные расходы (3%)

%

3

1891514


В целом по расчету



64941988


НДС, 18%



11689557

 VI

ВСЕГО по объекту



76 631 545

 



Заключение


В результате проведения запланированного комплекса оценочных работ будут выяснены размеры, формы, внутреннее строение, распространенность и условия залегания залежей золоторудных руд. На основании опробования скважин и горных выработок в соответствии с требованиями кондиций будет определен контур запасов золотых руд. После завершения всех аналитических работ будут подсчитаны запасы по категории С2.

По результатам оперативной оценки принимаются обоснованные решения о целесообразности продолжения работ или их прекращения на участке.

Геолого-экономическая оценка завершается составлением технико-экономического обоснования промышленной ценности месторождения и выдачей рекомендаций о целесообразности передачи объекта в разведку и освоение. Отчет с результатами подсчета запасов, включая обоснование кондиций и технико-экономическое обоснование промышленной ценности месторождения представляется на государственную экспертизу.


Список использованной литературы


Опубликованная

.        Аристов В.В. Поиски месторождений твердых полезных ископаемых. - М.: Недра, 1975. - 253 с.

.        Каждан А.Б. Поиски и разведка месторождений полезных ископаемых. Производство геологоразведочных работ. М.: Недра, 1985.

.        А.М. Сазонов, А.А. Ананьев, и др. Золоторудная металлогения Енисейского кряжа: геолого-структурная позиция, структурные типы рудных полей. - Journal of Siberian Federal University.

.        Петров В.Г. Условие золотоносности северной части Енисейского кряже. - М.: Наука, 1974 г.

.        Геохимические методы поисков месторождений полезных ископаемых: учебное пособие / В.Г. Ворошилов; Томский политехнический университет. - Томск: Издательство Томского политехнического университета, 2011. - 104с.

6.      Методика поисков и разведки месторождений полезных ископаемых. Методическое указание к выполнению курсовой работы для студентов направления 130100 "Геология и разведка полезных ископаемых" / Под ред. Мазуров А.К. - Томск: изд-во ТПУ, 2006.

Нормативная

.        ГОСТ 12.1.003-83 (1999) ССБТ. Шум. Общие требования безопасности.

.        Р 2.2.2006-05. Руководство по гигиенической оценки факторов рабочей среды и трудового процесса. Критерии и классификация условий труда. - М.: Минздрав России, 1999.

.        ГОСТ 12.1.004-91 ССБТ. Пожарная безопасность. Общие требования (01. 07. 92).

.        ГОСТ 12.1.008-78 ССБТ. Биологическая безопасность. Общие требования

.        ГОСТ 12.1.012-90 ССБТ. Вибрационная безопасность. Общие требования.

.        ГОСТ 12.1.019 -79 (с изм. №1) ССБТ. Электробезопасность. Общие требования и номенклатура видов защиты.

.        ГОСТ 12.1.038-82 ССБТ. Электробезопасность. Предельно допустимые уровни напряжений прикосновения и токов.

.        ГОСТ 12.1.030-81: Электробезопасность. Защитное заземление. Зануление

.        ГОСТ 12.2.062-81 Оборудование производственное. Ограждения защитные.

.        ГОСТ 12.2.003-91 ССБТ. Оборудование производственное. Общие требования безопасности.

.        ГОСТ 12.4.125-83. ССБТ. Средства коллективной защиты работающих от воздействия механических факторов. Классификация.

.        ГОСТ 12.4.009-83 ССБТ. Пожарная техника для защиты объектов Основны евиды.

Похожие работы на - Геология Марокского золоторудного поля и проект оценки Марокского рудопроявления (Енисейский Кряж)

 

Не нашли материал для своей работы?
Поможем написать уникальную работу
Без плагиата!
Без нейросетей!