Бурение глинистых пород
Содержание
Введение
. Глина
. Подбор бурового раствора
. Ингибирующая способность
. Приготовление и очистка буровых
растворов
Заключение
Список использованных источников
Введение
В данной контрольной работе мы рассматриваем
бурение нефтегазовых скважин на глине и проблемы возникающие в процессе. В
геологическом строении месторождения участвуют отложения бухарской (Р12 вh) и
казахтауской (Р13 кz) свит палеоцена и сугралинской (Р21-2 sg) эоцена, которые
слагают северное крыло альпийской синклинальной складки субширотного
простирания. Структура имеет асимметричное строение с пологим (5-70) северным и
более крутым (25-300) южным крыльями. Бухарская свита благодаря своему
существенно карбонатному составу отличается от ниже- и вышележащих отложений.
Она с размывом залегает на верхнемеловых. Литологически разрез свиты
однообразен и характеризуется карбонатным составом пород, представленных
песчанистыми доломитами доломитами. Мощность свиты - от 6 до 19м. Разрез
казахтауской свиты почти полностью сложен глинами. В его основании отмечается
маломощная пачка песчаников. Верхняя, глинистая, часть представляет собой
продуктивную толщу бентонитовых глин мощностью от 10 до 15м.
Отложения сугралинской свиты согласно наращивают
разрез казахтауской и представлены карбонатными глинами и мергелями. Мощность
свиты - от 20 до 60м. Продуктивная толща бентонитовых глин Навбахорского
месторождения не имеет естественного выхода на дневную поверхность. Она
обнаружена по крупным полигональным трещинам, развитым на поверхности почвенно-растительного
слоя в местах близкого залегания к дневной поверхности и вскрыта шурфами,
канавами и копушами. Мощность продуктивной толщи в зависимости от глубины
эрозии колеблется от 2 (в руслах сухих саев) до 11м (на возвышенных участках
рельефа). Вскрышные породы представлены либо почвенно-растительным слоем и
зоной выветрелых глин, либо современными пролювиальными щебнистыми осадками.
Мощность вскрыши от 0,2 до 2,5м.
1. Глины
Из общего объема осадочных пород на долю
глинистых приходится около 70%. Глинистые породы составляют значительную часть
разреза бурящихся скважин, но даже в тех районах, где мощность глинистых пород
невелика, они оказывают большое влияние на условия бурения. К их числу
относятся глины, лёссы, суглинки, аргиллиты и др.
Глинистые породы состоят из большого числа
разнообразных минералов и примесей и отличаются от других горных пород
специфическими свойствами, из которых наиболее важными являются пластичность,
набухаемость, гидрофильность и способность диспергироваться в воде на
мельчайшие частички. В химическом отношении глины представляют собой водные
алюмосиликаты.
По минералогическому составу глины делятся на
несколько групп, отличающихся друг от друга химсоставом и структурой
кристаллической решетки. Наиболее важными и широко распространенными группами
минералов являются монтмориллонит, каолин, гидрослюда, палыгорскит. К
монтмориллонитовым минералам относятся сапонит, нонтронит, вермикулит; к
каолинитовым - каолинит, накрит, галлуазит, диккит, аноксит, энделлит; к
гидрослюдистым - гидромусковит, иллит; к палыгорскитовым - сепиолит,
аттапульгит, палыгорскит.
Кроме перечисленных групп минералов в глинах
содержатся в различных количествах окислы железа (например Fе2О3),
щелочных металлов (Nа2О,
К2О), щелочноземельных металлов (СаО, МgО).
Присутствие в глинах окислов во многом определяет их свойства. Окислы металлов
связаны с гл. минералами различно. Часть их может входить в состав гл.
минералов, замещая окислы Аl,
часть же их связана с гл. веществом слабее и представляет собой обменные
основания. Одним из определяющих признаков является отношение SiO2:
R2О3
(где R-А1, Fе).
Это отношение колеблется для минералов монтмориллонитовой группы от 4 до 7,
каолинитовой - от 2 до 3, гидрослюдистой - от 3 до 4, палыгорскитовой - от 2,1
до 2,5.
На свойства ПЖ большое влияние оказывают размер
и форма гл. частиц. Большинство природных глин имеют размеры частиц менее
0,01мм. Чем больше коллоидных фракций и меньше размеры гл. частиц (менее1мм),
тем лучше свойства ПЖ. Чаще всего частицы глин имеют вид плоских или
лентовидных чешуйчатых пластинок, реже продолговатую (игольчатую) форму.
Атомы кремния и алюминия, входящие в
кристаллическую решетку глинистых минералов, могут быть замещены другими
атомами, причем не обязательно с одинаковой валентностью. В этом случае частицы
глины для компенсации ненасыщенной валентности адсорбируют из водных растворов
катионы, т. е. происходит обмен катионов. Каждая глина обладает определенным
кол-вом обменных катионов, т. е. вполне определенной обменной емкостью. Последняя
выражается количеством миллиграмм-эквивалентов обменных катионов, содержащихся
в 100г сухой глины. Емкость катионного обмена некоторых глинистых минералов по
Р.Е. Гриму колеблется в следующих пределах (мг-экв. на 100 г):
Каолинит 3-15
Галлаузит 2Н2О 5-10
Иллит 10--40
Сепиолит аттапульгит-палыгорскит 20-30
Галлаузит 40-50
Монтмориллонит 80-150
Вермикулит 100-150
В глинистых минералах обменными катионами
являются Са2+, Мg2+,
К+, Nа+,
Н+, NН4+.
В природных глинах к основным обменным катионам относится Na
и Ca, поэтому глины
получили название соответственно Na
или Са. Независимо от состава обменного комплекса все глины в той или иной
степени являются гидрофильными.
При замачивании глины водой гл. частицы
покрываются гидратной оболочкой. Молекулы воды, проникая между кристаллами,
раздвигают их, и глина набухает. Характер набухания зависит от типа глины. Чем
меньше поливалентных катионов содержится в обменном комплексе минерала, тем
сильнее разобщаются слои и больше набухает глина. Так, натриевые бентонитовые
глины, имея подвижную кристаллическую решетку, могут при замачивании
увеличиваться в объеме в 8-10 раз и легко распускаться в воде. Каолиновые глины
набухают и распускаются в воде плохо. Растворы, приготовленные из них, довольно
неустойчивы. Гидрослюдистые глины и палыгорскит занимают промежуточное
положение.
Особенности поведения системы глина - вода
зависят также от соотношения свободной и связанной воды, ее минерализации и
щелочности. Установлено, что чем больше связанной воды, тем меньше набухают глины.
Кроме того, связанная вода теряет растворяющую способность. Вода, содержащая
различные мин. соли, резко снижает гидрофильность глин и количество связанной
воды. Так, у 3%-ных суспензий аскангеля при добавке 0,1% NаС1
содержание связанной воды снижается до 7,4%, а при добавке 0,5% соли - до 3,4%,
при 10% соли в связанном виде находится лишь 1,72% всей воды системы.
В кислых и сильнощелочных средах содержание
связанной воды также незначительно, при этом глины очень плохо набухают и
распускаются. При повышении То количество связанной воды уменьшается
в 1,5 раза, а процесс набухания возрастает в несколько раз. Увеличения кол-ва
связанной воды, снижения набухаемости и повышения прочности можно достигнуть
путем специальных добавок некоторых электролитов.
Как известно, большинство х/р не оказывают
крепящего действия на гл. породы, хотя и снижают в некоторой степени величину и
скорость набухания. Добавки же 3-5% силикатов натрия или калия к растворам,
обработанным х/р (УЩР, КМЦ, крахмал и др.), значительно повышают крепящее
действие глинистых пород.
Глины как материалы для приготовления БР можно
разделить на три вида:
) бентонитовые, содержащие в основном минерал
монтмориллонит;
) глины, содержащие минералы всех групп и
примеси почвы;
) палыгорскитовые.
Бентонитовые глины являются основным и важнейшим
сырьем для производства г/порошков, так как они дают наибольший выход из 1 т
глины, что значительно снижает конценрацию ТФ в растворе, обладают ярко
выраженными тиксотропными св-вами, позволяют снизить расходы на транспортировку,
приготовление и регулирование свойств БР.
Каолинитовые глины в чистом виде для
приготовления БР не применяются. Однако они являются составной частью глин
других типов и поэтому являются важным компонентом ТФ растворов.
Гидрослюдистые минералы преобладают во многих
минеральных глинах, широко применяющихся в качестве местных материалов для БР.
Гидрослюды образуются как в щелочной, так и в нейтральной и слабокислой средах
в присутствии достаточного кол-ва ионов калия. Этим объясняются положительные
свойства калиевых добавок для укрепления глин, пород. Для гидрослюдистых
минералов характерна высокая коллоидальность, сравнительно большие емкости
обмена, хорошие адсорбционные свойства. Они занимают промежуточное положение
между монтмориллонитовыми и каолинитовыми минералами.
Палыгорскитовая глина представляет собой смесь
минералов палыгорскита и монтмориллонита. Она отличается волокнистым строением,
высокой гидрофильностью, обладает способностью одинаково хорошо набухать как в
пресной, так и в соленой воде независимо от концентрации NaCl
и степени обработки х/р. При этом обеспечиваются устойчивые Т и СНС суспензии
без увеличения В при воздействии гипса, хлористого кальция, магния и др.
Солестойкость палыгорскитовых глин объясняется
высоким содержанием силикатов, окиси Mg
и незначительным присутствием ионов K
и Na. Так, в 10%-ной
суспензии, насыщенной солью, отстой аскангеля составляет 60%, а палыгорскита
только 1%. Через 1сут. раствор из бентонита дает 72% отстоя, а из палыгорскита
22%. 15%-ные суспензии даже через 1сут. не дают отстоя и имеют Т, при которой
р-р не течет.
Палыгорскитовые глины в растворе NaCl
1-3%-ной концентрации «связывают» больше воды, чем в пресной воде. В/о
палыгорскитовой суспензии достаточно велика, что обусловлено рыхлым строением
их фильтр. корок, но при засолении в отличие от других глин В уже не
возрастает. Для палыгорскитовых глин характерны замедленные пептизация и
размокание. Попытки форсировать их механическим диспергированием приводят к
повреждению волокон и кристаллической решетки. Поэтому более эффективно
диспергирование в водной среде путем продолжительного перемешивания.
К с/стойким минералам относится сепиолит -
аналог палыгорскита, обладающий еще большей устойчивостью к воздействию солей.
В качестве добавки к насыщенным солью БР применяется асбест (особенно в США),
предотвращающий стабилизационное разжижение.
Кристаллы структуры асбеста и палыгорскита
близки, но асбест обладает большей волокнистостью и менее гидрофилен.
Применение асбеста осложняется трудностью его диспергирования в суспензии и
возможным забиванием турбобура и очистных систем.
Рассмотренные глины минералы с большинством УВ
жидкостей или совсем не взаимодействуют, или взаимодействуют слабо. Однако
увеличение объемов бурения с промывкой РНО послужило основой для поиска и
разработки недорогих и недефицитных материалов, способных заменить в/окисленный
битум. Другой причиной замены битума является тот факт, что все сорта битумов
при высоких То растворяются в УВ средах и переходят в истинные
(ньютоновские) жидкости, не обладающие свойствами коркообразования.
Средством повышения термостойкости РНО является
введение извести и некоторых ПАВ. Еще эффективнее замена битума органофильными
глинами. Основное назначение этих глин в РНО и эмульсиях такое же, как и глин в
РВО: регулирование вязкостных, СМ и фильтр свойств, образование плотной корки и
т. д. Основой органофильных глин чаще всего служат м/мориллонит овый бентонит и
палыгорскитовые глины, модифицированные солями аммония.
В основе модифицирования глин лежат катионообменный
процесс, физическая адсорбция и образование поверхностных комплексов. Замена
неорганических обменных катионов глин, минералов органическими приводит к
резкому изменению ФХ свойств глин: увеличивается адсорбционная емкость по
отношению к углеводородам, возрастает способность к набуханию в органических
средах. Для органофильных глин высокого качества выход РНО должен превышать 10
м3/т.
. Подбор бурового раствора
При бурении уплотненных глин основными
осложнениями являются осложнения связанные с нарушениями устойчивости стенок
скважин под воздействием воды. В результате насыщения водой глины размягчаются,
разбухают и пластически деформируют, сужая ствол скважины. Сужения ствола
приводят к серьезным осложнениям: затяжкам и обрывам бурового снаряда,
дополнительным затратам энергии, труда и денежных средств на предупреждение и
ликвидацию осложнений.
Устойчивость и прочность глин определяют
количеством абсорбированной воды, толщиной ее пленки между глинистыми
частицами. При наличии пленки только связанной воды прочность глины (например,
сухарных глин) близка прочности твердых (скальных) пород.
Содержание воды и прочность глины в свою очередь
зависит от степени ее уплотнения. В инженерной геологии глинистые породы делят
на твердые породы и глины. Глины В.А. Приклонский предлагает делить на пять
групп: рыхлые (супеси, суглинки), слабоуплотненные, среднеуплотненные,
уплотненные, переуплотненные,
В.Д. Ломтадзе выделяет глинистые породы малой,
средней и высокой степени уплотнения Глинистые породы высокой степени
уплотнения - это полутвердые породы, занимающие промежуточное положение между
твердыми (окаменевшими) и пластичными глинистыми породами. Свободная вода
полностью отжата, содержится только связанная вода - вода гидратных оболочек.
При взаимодействии с водой порода набухает и размягчается.
Глинистые породы средней плотности - пластичны,
при высыхании переходят в твердое состояние, при взаимодействии с водой
набухают.
Глинистые породы малой степени уплотнения
находятся в текучем или скрытнотекучем состоянии, содержат значительное
количество свободной воды.
В буровой научной литературе классификации глин
по степени уплотнения посвящена работа ВНИИКрНефти, в частности работа Н.Г.
Аветисяна. С увеличением количества воды в глине плотность глины понижается, по
этому показателю можно судить о степени уплотнения, влажности и прочности
глины. По плотности (точнее объемной массе) все глины Н.Г. Аветисян разделил на
три группы:
)Р = 2100-2200 кг/м3;
)Р = 2200-2500 кг/м3;
)Р>2500 кг/м3. В первой группе
глины содержат все виды воды (свободную, рыхло- и прочносвязанную), во второй
группе - только связанную (рыхло- и прочно связанную), в третьей группе -
только прочно связанную воду.
Таким образом, уплотненные глины обладают
достаточно высокой прочностью, но при взаимодействии с водой способны
размягчаться и создавать аварийную ситуацию. Чтобы избежать осложнений,
необходимо предотвратить абсорбцию глиной воды. Это можно достичь тремя путями:
· уравновешиванием объемной энергии
горной породы и компонентов бурового раствора;
· гидрофобизацией стенок скважин
неполярными жидкостями и полимерами;
· нейтрализацией потенциала и
сшиванием глинистых частиц катионами.
По первому варианту для
уравновешивания объемной энергии (потенциала) глинистой породы в промывочную
жидкость вводят 10-20 % глины (необработанный глинистый раствор), а для
активации (повышения потенциала) глинистых частиц 3-5 % УЩР, 0,3-0,5.% Nа2СО
, гуматный
раствор) или 0,5-1% УЩР, 0,5-1 NаОН и 3-4 % ССБ (лигносулфанатный
раствор).
При введении глины в буровой раствор
одновременно с увеличением объемной энергии, а следовательно снижением
водоотдачи повышается плотность, вязкость и СНС бурового раствора, что резко
снижает механическую скорость бурения. Кроме того, вследствие более высокой
объемной энергии (потенциала) глинистой породы по сравнению с объемной энергией
компонентов раствора плотностью уравновесить их невозможно даже при высокой
концентрации глины в промывочной жидкости. Поэтому глинистые частицы породы
постоянно диффундируют в буровой раствор, а молекулы воды из раствора в породу,
в результате горная порода размягчается на стенках скважины образуется рыхлая
набухшая масса, способствующая прихватам снаряда, а буровой раствор еще больше
загущается.
В связи с вышеизложенным глинистые
растворы для бурения глинистых пород использовать не рекомендуется.
При добавлении в глинистый раствор
щелочь, УЩР, лигносульфатов происходит активизация не только глинистых частиц
раствора, но и глинистых частиц горной породы, а последняя приводит к повышению
гидратации, размягчению и диспергированию горной породы.
Исследователи США установили, что
такие промывочные жидкости обладают весьма низким индексом устойчивости, и
поэтому они также не рекомендуются для бурения глинистых пород.
По второму варианту дня
нейтрализации потенциала и сшивания глинистых частиц в буровой раствор вводят
катионоактивные электролиты КС1, NаС1, СаС12, Са2SO4, Са(ОН)2,
КС1(SO4)2
или жидкое стекло - Nа2 SiOЗ
Н2O
Оценку гидратации и размягчения
спрессованных бентонитов и глины различных электролитов в условиях,
приближенных к скважинным при всестороннем давлении провели В.Л. Михеев, М.И.
Липкес и другие на стенде УИГС - 600М.
Полученные результаты показывают,
что для уплотненных глин влияние электролитов на влажность (гидратацию частиц)
и разупрочнение глины незначительно и близко к повышению влажности и снижению
прочности в чистой воде.
Дело в том, что в уплотненной глине
размеры пор весьма малы, и гидратированные катионы проникают в них в
незначительном количестве. В тоже время объемная энергия бурового раствора за
счет ионов электролитов резко возрастает, что приводит к диспергированию и
размягчению глины.
Поэтому в чистом виде растворы
электролитов для бурения глин применять не рекомендуется.
Полимеры представляют собой цепи, состоящие из
большого количества звеньев. Звенья способны вращаться вокруг оси молекулы. Под
воздействием полярной, поверхности стенки скважины звенья поворачиваются в
сторону стенки своей полярной частью (функциональной группой звена), а
неполярной - в сторону воды. В результате этого стенки скважин становятся
гидрофобными, нейтральными по отношению к воде. Предотвращается гидратация и
диспергирование глины.
Роль полимеров не ограничивается только
функциями ингибитора абсорбции глиной воды и ингибитора ее диспергирования. Они
выполняют целый ряд функций: структурообразователя (а при малой концентрации -
разжижителя), флокулянта, понизителя водоотдачи и фильтрации, стабилизатора,
гидрофобизатора бурильной колонны и другие.
Оценку устойчивости к набуханию, увлажнению и
размягчению высококоллоидальных уплотненных глин в полимерных растворах на
стенде УИГС - 600М провели В.Л. Михеев, М.И. Липкес и др.
Проведенные исследования доказывают высокую
эффективность полимерных и полимербентонитовых растворов для бурения этих
пород. Эффективность действия полимеров определяется невысокой оптимальной их
концентрацией, при которой достигается гидрофобизация глины. Коэффициент
разупрочнения за 72 ч наблюдений в 0,2% растворе КМЦ - 600 составил 0,9, а в
0,4 % растворе кельцана - 0,9 %, при введении в полимерный раствор электролитов
эффективность еще больше возросла. Так при концентрации кельцана 0,4 % и
электролита КС1 - 4 % коэффициент разупрочнения глины составил К=0,9-85, а
прирост увлажнения глины не превысил 0,2 %.
Следовательно, электролиты оказываются
эффективными только в сочетании с полимерами. Поливалентные электролиты в этом
случае менее эффективны чем КС1, так как повышают диспергирование породы
(образуют рыхлую массу на стенках скважин), вязкость раствора.
3. Ингибирующая способность
Ингибирующая способность - это способность
бурового раствора предупреждать или замедлять деформационные процессы в
околоствольном пространстве скважины (кавернообразование, сужение ствола и
т.п.), представленном легкогидратирующимися, набухающими и размокающими
глинистыми породами.
При этом под глинистыми породами понимаются не
только собственно глины, но и глинистые сланцы, аргиллиты, породы на глинистом
цементе (глинистый песчаник, мергель, алевролит и др.).
Согласно современным представлениям основные
причины потери устойчивости глинистых пород связаны с нарушением их
естественного влажностного равновесия при взаимодействии с дисперсионной средой
буровых растворов и обусловленным этим ростом дополнительных внутренних
напряжений в поровом пространстве.
Влагоперенос, т.е. проникновение дисперсионной
среды бурового раствора в глинистую породу, происходит главным образом за счет
адсорбционно - осмотических процессов.
Общим для этих процессов является то, что в
результате вокруг структурных элементов глинистых пород образуются гидратные
оболочки, т.е. происходит их дополнительное увлажнение.
При достижении критической влажности (для
аргиллитов критической считается влажность порядка 8-9%), т.е. при максимальном
развитии и перекрытии гидратных оболочек, которые обладают значительной
упругостью и прочностью на сдвиг, в глинистой породе возникают гидратационные
напряжения, величина которых в околоствольной зоне скважины может достигать от
40 до 1000 МПа, вследствие чего породы в этой зоне претерпевают весь спектр
деформаций от вязкопластического течения до хрупкого разрушения.
В аргиллитах и глинистых сланцах деформационные
процессы завершаются хрупким разрушением (кавернообразованием). Для типичных
глинистых пород характерны пластические деформации, следствием которых является
сужение ствола скважины.
Набухание и диспергирование глинистого базиса
пород-коллекторов, а также миграция диспергированных глинистых частиц в их
поровом пространстве являются одной из главных причин снижения естественной
проницаемости продуктивных пластов.
Диспергирование выбуренных глинистых частиц
ведет к аккумуляции их в самом буровом растворе. В результате этого происходит
интенсивное изменение его функциональных свойств, регенерация которых требует
разбавления бурового раствора водой, дополнительной обработки его химическими
реагентами и применения многоступенчатых систем очистки.
В связи со сложностью процессов влагопереноса в
системе «ствол скважины - глинистые породы» единый показатель оценки
ингибирующей способности буровых растворов до сих пор отсутствует.
Существующие показатели оценки ингибирующей
способности могут быть объединены в три группы:
ü показатели набухания;
ü показатели влажности;
ü показатели деформации естественных и
искусственных образцов глинистых пород, контактирующих с исследуемой средой.

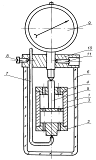
Рис. 1 Схемы приборов для определения
показателей набухания глинистых пород
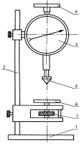
Рис.2 Схемы приборов для определения показателя
увлажняющей способности буровых растворов
Рис. 3 Пресс для формирования модельных образцов
глинистых пород
Принципиальные отличия между методиками оценки
ингибирующей и консолидирующей способности буровых растворов:
ü при оценке ингибирующей способности
испытывают модельные образцы глинистых пород с влажностью, близкой к
естественной, которые помещают в фильтрат бурового раствора (в сравнительных
испытаниях - в дистиллированную воду);
ü при оценке консолидирующей
способности испытаниям подвергаются модельные образцы из потенциально
неустойчивых пород, сконсолидированные буровым раствором и погружаемые в него
на весь период испытаний.
Для кондиционирования, т.е. придания буровым
растворам требуемых свойств на этапе их приготовления, регулирования
(регенерации) свойств буровых растворов в процессе бурения, а также для защиты
их от возмущающих воздействий (высоких и низких температур, полиминеральной
агрессии, воздействия выбуренных глинистых частиц, бактерий и др.) применяют
различные химические реагенты.
Основной объем буровых работ, как в нашей
стране, так и за рубежом, выполняется с промывкой скважин суспензиями, в
которых активной твердой фазой являются высокодисперсные разности глин.
Главными признаками глин являются
высокодисперсное состояние, характеризующееся коллоидными и близкими к ним
размерами частиц, гидрофильность (активное взаимодействие с водой), способность
к адсорбции, ионному обмену, набуханию и проявлению упруго-вязко-пластичных и
тиксотропных свойств в концентрированных и разбавленных суспензиях.
Перечисленные признаки глин определяют
химический состав, тип кристаллической решетки, её несовершенство и дефекты, а
также размеры и форму частиц глинистых минералов.
Глинистые минералы по химическому составу
представляют собой водные (содержащие кристаллизационную воду) алюмосиликаты.
Суммарное содержание глинозема (Al2O3),
кремнезема (SiO2) и воды
достигает в глинах 75 - 90 %.
Остальное приходится на долю других элементов
периодической системы, среди которых явно преобладают Na+,
K+, Ca2+, Mg2+
и Fe2+.
Каолинит имеет двухслойную кристаллическую
решетку без зарядов на базальных поверхностях, что объясняется отсутствием
изоморфных замещений.
В алюмокислородном слое значительная часть
атомов кислорода замещена группами ОН-.
Атомы кислорода и гидроксил ионы смежных
соприкасающихся пакетов находятся друг против друга и по всей площади довольно
прочно связаны водородной связью типа О - Н, которая препятствует
внутрикристаллическому разбуханию решетки.
Рис. 4 Схема кристаллической решетки каолинита
. Приготовление и очистка буровых растворов
Приготовление БР
Приготовление - это процесс получения бурового
раствора с требуемыми свойствами в результате переработки исходных материалов и
их химического взаимодействия.
Исходные материалы:
ü техническая вода, углеводородные
жидкости (дисперсионная среда);
ü глиноматериалы, утяжелители, твердые
нефтепродукты (дисперсная фаза);
ü химические реагенты и добавки
(регуляторы свойств БР).
Переработка - это диспергирование (измельчение),
растворение и перемешивание исходных материалов.
Для приготовления БР применяют два вида мешалок:
ü механические;
ü гидравлические.
Механические мешалки:
ü лопастные;
ü фрезерно-струйные мельницы (ФСМ).
Гидравлические мешалки:
ü эжекторные;
ü гидромониторные;
ü вихревые.
Механические мешалки лопастного типа
представляют собой металлическую емкость цилиндрического или овального сечения,
внутри которой находятся один или два вала с лопастями (например, лопастная
механическая мешалка марки МГ2-4Х имеет два вала и емкость объемом 4м3).
Достоинства: простота конструкции и высокое
качество приготовления БР.
Недостатки: низкая производительность (до 6м3/ч
при использовании глинопорошков).
Рис. 5
ФСМ в общем виде состоит из бункера 1, ротора 2
с лопастями, диспергирующей рифленой плиты 3 и выходной решетки 4.
Рис. 6
Принцип действия ФСМ: исходные материалы,
непрерывно подаваемые в бункер, захватываются лопастями вращающегося ротора и
отбрасываются на диспергирующую плиту.
Дополнительное диспергирование исходных
материалов осуществляется при ударе струй, выбрасываемых лопастями ротора, о
выходную решетку.
Достоинства ФСМ:
ü высокая производительность (до 20…25
м3/ч при использовании механизированной загрузки глинопорошка).
Недостатки:
ü низкое качество получаемого БР.
Повысить качество получаемого БР можно двумя
путями:
ü многократной циркуляцией раствора по
схеме: ФСМ емкость насос ФСМ;
ü пропусканием приготовленного в ФСМ
раствора через специальные устройства - диспергаторы, обеспечивающие
дополнительное измельчение частиц (агрегатов) глины.
Гидравлическая мешалка эжекторного типа в общем
виде состоит из приемной 1 и смесительной 2 камер, сменного штуцера (сопла) 3,
загрузочной воронки 4 и линии подвода 5 глинопорошка (утяжелителя) от бункеров
БПР-70.
Рис. 7
Принцип действия мешалки эжекторного типа: в
результате истечения воды (раствора химических реагентов) из сопла с высокой
скоростью в приемной камере создается разряжение, благодаря чему в неё из
воронки (из бункера БПР) засасывается глинопорошок (утяжелитель).
Достоинства мешалок эжекторного типа: высокая
производительность (70…90 м3/ч при беспрерывной механизированной подаче
глинопорошка).
Недостатки: качество приготавливаемого БР ниже,
чем в механических мешалках лопастного типа.
Каким образом можно его повысить?
С помощью диспергаторов, в частности,
гидравлического диспергатора ДГ-1, работающего на принципе соударения двух
струй.
При соударении в камере ограниченного объема
двух высокоскоростных струй возникают кавитационные явления (кавитация -
образование газовых пузырьков в результате уменьшения давления в
быстродвижущейся жидкости), ультразвук и другие эффекты, интенсифицирующие
процесс диспергирования.
Диспергаторы являются весьма энергоемкими
устройствами, в связи с чем за рубежом их стараются не применять.
При этом БР высокого качества получают,
используя гидравлические мешалки вихревого типа.
Гидравлическая мешалка вихревого типа состоит из
приемной воронки 1, наружного цилиндра 2 с выходным патрубком 3 и внутреннего цилиндра
4 с входным патрубком 5.
Рис. 8
Вода под давлением подается в патрубок 5 и,
благодаря его тангенциальному расположению, «закручивается» внутри цилиндра 4,
образуя слой жидкости, внутри которого создается разряжение.
В результате глинопорошок засасывается из
приемной воронки 1, захватывается быстровращающимся слоем жидкости, интенсивно
в нем перемешивается (крупные агрегаты перетираются о стенки под действием
центробежных сил), полученная суспензия, вращаясь по спирали, поднимается вверх
и переливается в наружный цилиндр.
Кроме устройств, предназначенных для
приготовления БР, приемные емкости наземной циркуляционной системы буровой
установки оснащаются еще и перемешивателями.
Основная их функция - обеспечение равномерного
распределения компонентов БР во всем объеме наземной циркуляционной системы.
Перемешиватели, как и мешалки, делятся на
механические и гидравлические.
Механические перемешиватели в общем виде состоят
из электродвигателя, редуктора, вала и перемешивающего органа пропеллерного
(ПМ) или турбинно-пропеллерного типа (ПЛ), который располагается ближе ко дну
приемной емкости.
Действие гидравлических перемешивателей основано
на использовании кинетической энергии струи БР, выходящего из насадки с высокой
скоростью.
Различают управляемые и неуправляемые
гидравлические перемешиватели.
Управляемые своей сути представляют пожарный
ствол с рукояткой, поворотом которой можно направить струю БР в любую зону
приемной емкости (4УПГ, ПГ).
Неуправляемые гидравлические перемешиватели
работают по принципу сегнерова колеса, т.е. являются самовращающимися (ПГС).
Заключение
Цель и поставленные задачи в контрольной работе
выполнены. А именно в аргиллитах и глинистых сланцах деформационные процессы
завершаются хрупким разрушением (кавернообразованием). Для типичных глинистых
пород характерны пластические деформации, следствием которых является сужение
ствола скважины.
Набухание и диспергирование глинистого базиса
пород-коллекторов, а также миграция диспергированных глинистых частиц в их
поровом пространстве являются одной из главных причин снижения естественной
проницаемости продуктивных пластов.
Диспергирование выбуренных глинистых частиц
ведет к аккумуляции их в самом буровом растворе. В результате этого происходит
интенсивное изменение его функциональных свойств, регенерация которых требует
разбавления бурового раствора водой, дополнительной обработки его химическими
реагентами и применения многоступенчатых систем очистки.
глинистый порода буровой
ингибирующий
Список использованных источников
1. Заливин В.Г: Учебное пособие
«Прикладная физическая и коллоидная химия в бурении». - Иркутск: Изд-во ИрГТУ,
2007.-116 с.
2. Поверхностные явления и
дисперсные системы (Коллоидная химия). Методическое пособие по выполнению лабораторного
практикума; Составители: П.Д. Белых, Е.В. Кудрявцева, Е.Г. Филатова, В.Н.
Петровска О.А. Соловьева. - Иркутск: Изд-во ИрГТУ. - 2005. - 71 с.
. Рязанов А.Я. Энциклопедия
по буровым растворам. - Оренбург: Изд-во: «Летопись», 2005. 664с.
4. Булатов А.И. Тампонажные
материалы / А.И. Булатов, B.C. Данюшевский.- М.: Недра, 1989. - 280 с.
5. Городнов В.Д. Буровые
растворы / В.Д. Городнов. - М.: Недра, 1985. - 206с.
. Белик В. В.Физическая и
коллоидная химия: Учебник / В. В. Белик, К. И. Киенская. - М.: Издательский
центр «Академия», 2005. - 288 с.
7. Грей Дж. Р. Состав и свойства
буровых агентов (промывочных жидкостей) / Дж. Р. Грей, Г.С.Г. Дарли.: пер. с
англ. - М.: Недра, 1985. - 509 с.
8. Рябченко В.И. Управление
свойствами буровых растворов / В.И. Рябченко. - М.: Недра, 1990. - 230 с.