Бетоносмеситель гравитационного перемешивания. Автоподъемник. Многоковшовый экскаватор
1. Вычертите схему бетоносмесителя
гравитационного перемешивания. Опишите его устройство и работу
бетоносмеситель автоподъемник экскаватор строительный
Приготовление бетонов и растворов заключается в
дозировании компонентов и их перемешивании. Дозирование компонентов
производится дозатором, а перемешивание - смесительными машинами.
Бетоносмесители - это машины, предназначенные для приготовления бетонов.
Бетоносмесители периодического действия бывают с опрокидным барабаном,
наклоняющимся и не наклоняющимся. Загрузка барабанов может осуществляться из
бункера или ковшовым подъемником.
Любая смесительная машина состоит из
смесительной ёмкости, рабочих органов с их приводом, загрузочных и выгрузочных
устройств.
Различают бетоносмесители гравитационного и
принудительного смешивания.
В гравитационных бетоносмесителях рабочими
органами являются вращающиеся барабаны, на внутренних поверхностях которых
закреплены лопасти. При вращении барабана компоненты бетонной смеси
подхватываются лопастями и поднимаются вверх, откуда они свободно падают,
перемешиваясь с нижними слоями, а последние увлекаются вверх. Такие
бетоносмесители хорошо смешивают умеренно подвижные и подвижные бетонные смеси,
но не обеспечивают достаточной однородности жестких и малоподвижных смесей.
Двухконусный барабан стационарных
бетоносмесителей состоит из двух усеченных конусов: короткого (загрузочного) и
удлиненного (разгрузочного), соединенных между собой цилиндрической вставкой.
Барабан монтируют на поворачивающейся траверсе, цапфы которой опираются на
стойки рамы. В процессе работы смесителя барабан непрерывно вращается вокруг
своей продольной оси и может быть наклонен относительно поперечной оси для
выгрузки готовой смеси. К внутренней поверхности конических частей барабана на
кронштейнах крепятся стальные лопасти, имеющие кромки повышенной
износостойкости. Процесс перемешивания компонентов смеси протекает таким
образом, что лопасти создают в центральной части вращающегося барабана
перекрестные потоки поднимаемых и сбрасываемых компонентов смеси. Наклон
смесительных барабанов может производиться с помощью механического,
гидравлического и пневматического приводов.
В бетоносмесителях с наклоняемыми барабанами
происходит более эффективное перемешивание компонентов, чем в цилиндрических
барабанах с горизонтальной осью вращения. Выгрузка готовой смеси из
смесительных барабанов такого типа производится в короткий срок струей большого
сечения (укрупненным объемом), что способствует сохранению достигнутой
однородной смеси.
Рисунок 1. Схема бетоносмесителя
гравитационного перемешивания.
Основными сборочными единицами бетоносмесителя
являются опорные стойки, смесительный барабан с располагаемыми на его
внутренней поверхности лопастями, электродвигатель, пневмоцилиндр опрокидывания
барабана и цилиндрическая обечайка, внутренняя поверхность которой
облицовывается набором сменных листов из износостойкой стали. От
электродвигателя через втулочно-пальцевую муфту, тихоходный вал-шестерню,
зубчатые колеса крутящий момент передается тихоходному валу редуктора и через
шестерню, насаженную на вал - зубчатому венцу смесительного барабана. Для
опрокидывания смесительного барабана в положении выгрузки и возвращении его в
исходное положение применен пневматический привод, включающий в себя пневмоцилиндр,
воздухораспределитель, маслораспылитель, вентиль и запорное устройство. Барабан
при вращении опирается на опорные и поддерживающие ролики, вращающиеся на
подшипниках.
Обязательным условием работы бетоносмесителя
является загрузка его исходными материалами при вращающемся роторе.
Одновременно с подачей через патрубок отдозированных заполнителей и цемента по
трубе подается соответвующая доза воды. Смесительное устройство при этом
интенсивно перемешивает компоненты в однородную смесь, которая затем
выгружается через донное отверстие при открытом затворе.
2. Приведите примеры использования
автоподъемников в строительстве. Условия их применения
Подъемник автомобильный гидравлический
предназначен для подъема людей с инструментом и материалами для выполнения
строительно-монтажных и других работ на высоте до 9 м. Для выполнения
строительных и монтажных работ применяют подъемники с телескопической мачтой
или с шарнирно сочлененной стрелой, смонтированные на шасси автомобилей или
тракторов.
Подъемник может применяться на теплоизоляционных
работах при монтаже, ремонте, строительстве и обслуживании воздуховодов,
трубопроводов, линий связи, а также для обслуживания электрических установок
напряжением до 1000В включительно без снятия напряжения при отсутствии дождя,
снега, тумана, изморози согласно правил ПТЭ и ПТБ; электрических установок
напряжением свыше 1000 В при снятом напряжении; жилых промышленных,
общественных зданий и в других областях, где требуется подъем людей на высоту.
Подъемник предназначен для работы при
температуре от плюс 40 С до минус 40 С (климатическое исполнение - У, категория
размещения I по ГОСТ 15150-69 ) в 1-3 ветровых районах в соответствии с ГОСТ
1451-77 при скорости ветра на высоте до 10 м не более 10 м/с.
Отбор мощности производится от трансмиссии
автомобиля и не превышает 2,5 л.с. при работе подъёмника с полной нагрузкой.
При размещении гидроподъёмника на раме автомобиля используется общепринятая
схема закрепления, не требующая каких-либо изменений и доработок шасси автомобиля.
В гидросистеме подъемника применены типовые
гидрораспределительные и контрольно-регулирующие узлы предприятий России.
Подъемник автомобильный гидравлический, в
соответствии с назначением может осуществлять подъем людей с инструментом и
материалами для работы на высоте. Условия для работы на высоте создаются
подъемом люльки, которая является рабочим местом людей, занятых выполнением
производственных операций. Подъем люльки осуществляется движением верхнего и
нижнего колен. Соединение колен выполнено с помощью шарниров. Привод движения
колен производится гидроцилиндрами. Подвод люльки к объекту производства работ
осуществляется поворотом стрелы, закрепленной на поворотной раме, с помощью
гидравлического механизма поворота и её доводки коленами. Устойчивость подъемника
обеспечивается его установкой на выносные опоры.
Подъемник с телескопической мачтой состоит из
базовой автомашины, опорной рамы с кронштейном, телескопической мачты из шести
звеньев, рабочей площадки и лебедки.
В рабочем положении подъемник устанавливают на
выносные опоры; телескопической мачте придают вертикальное положение, после
чего она с помощью каната лебедки раздвигается и поднимает рабочую площадку
вместе с находящимися на ней людьми на требуемую высоту. Привод к лебедке
осуществляется от двигателя автомобиля или трактора с помощью коробки отбора
мощности и карданных валов.
Высота подъема рабочей площадки телескопических
подъемников на автомобильном ходу грузоподъемностью 350кг до 21,65м, а
тракторных на гусеничном ходу грузоподъемностью 500кг - 26м.
Подъемник с шарнирно-сочлененной стрелой (рис.2)
имеет по сравнению с подъемником с телескопической мачтой преимущество в том,
что его рабочая площадка вместе с находящимися на ней людьми может перемещаться
(при неподвижной базе) не только по высоте, но и в пространстве в пределах
вылета стрелы.
Подъемник с шарнирно-сочлененной стрелой может
быть смонтирован на автомобиле, тракторе, железнодорожной платформе или на
специальной тележке. Основание стрелы служит рама, на которой размещается
опорно-поворотный круг соединяющий поворотную платформу с основной рамой. На
поворотной платформе размещены механизм вращения поворотной платформы,
кронштейн для шарнирного крепления нижнего колена стрелы, двухколесная
шарнирная стрела, гидроцилиндр, управляющий изменениями наклона нижнего колена
стрелы, грузоподъемная лебедка и противовес.
На нижнем колене стрелы размещены гидроцилиндры
механизма подъема и складывания верхнего колена. На конце верхнего колена
размещены две монтажные корзины и в одной из них пульт дистанционного
управления. Конструкция подвески корзин обеспечивает их вертикальное положений
при любом угле наклона стрелы.
Рисунок 2. Автоподъемник с
шарнирно-сочлененной стрелкой (в транспортном положении): 1,9 - гидроцилиндры;
2,3 - колена стрелы; 4 - корзина; 5 - кронштейн; 6 - поворотная платформа; 7 -
опорно-поворотный круг; 8 - рама; 10 - выносные опоры; 11 - автомобиль.
Для обеспечения устойчивости подъемник снабжен
выносными опорами. Высота подъема рабочей площадки у подъемников,
смонтированных на базе трактора, достигает 24м, а на базе автомобилей разных
марок - 12 - 28 м, глубина опускания ниже уровня основания до 8м, наибольший
горизонтальный вылет до 22м, угол поворота платформы 360°.
Применение автоподъемников:
. Проведение мелких отделочных работ;
. Монтаж малогабаритного оборудования;
. Электромонтаж;
. Проведение косметического ремонта в закрытом
помещении и снаружи.
. Типы многоковшовых экскаваторов.
Их достоинства и недостатки
Экскаватором называют землеройную машину,
выполняющую операции по отделению грунта от массива и перемещению его в отвал
или транспортные средства в пределах зоны досягаемости рабочего оборудования.
Экскаваторы оборудуют одним или несколькими ковшами. В первом случае их называют
одноковшовыми, во втором - многоковшовыми.
Многоковшовые экскаваторы применяют для отрывки
траншей в трубопроводном строительстве, при наладке подземных линий связи и
электроснабжения, теплопроводов и других коммуникаций; отрывки траншей с
одновременной укладкой труб, отрывки мелиоративных каналов, их очистки и
восстановления в процессе эксплуатации; разработки карьеров строительных
материалов и добычи полезных ископаемых.
Каждый ковш многоковшового работает в цикличном
режиме, но рабочие движения смежных ковшей смещены по фазе. В одно и то же
время рабочими ковшами осуществляются операции отрыва грунта, его
транспортирование, разгрузка и возврат в забой. По характеру выдачи продукции
непрерывным потоком многоковшовые экскаваторы относят к машинам непрерывного
действия. Их характерной особенностью является более равномерная загрузка
силовых установок во времени и более высокая производительность по сравнению с
машинами цикличного действия.
Обычно все ковши многоковшового экскаватора
закрепляют на едином рабочем звене - роторе или замкнутой цепи, располагая их с
одинаковым шагом. Существуют также фрезерные экскаваторы, при этом зубья
закрепляют на роторе (фрезе).
Многоковшовые экскаваторы оборудованы
преимущественно гусеничными или рельсо-колесными ходовыми устройствами. В
отдельных случаях принимают пневмоколесных ход.
Рельсо-колесные ходовые устройства обладают
невысокой маневренностью, поэтому их применяют на объектах значительной
протяженностью.
Различают следующие типы многоковшовых
экскаваторов:
. Траншейные экскаваторы состоят из тягача,
рабочего органа и валообразователя. Различают роторные и цепные траншейные
экскаваторы. Эти экскаваторы оборудуют автономной силовой установкой с
двигателем внутреннего сгорания, обычно дизелем. В зависимости от способа
передачи энергии основным рабочим механизмам различают экскаваторы с
механической, электрической, гидравлической и комбинированной передачами.
Для отрывки неглубоких и узких траншей при
небольших объемах работ на одной строительной площадке применяют цепные
экскаваторы на базе пневмоколесных тракторов.
Роторные траншейные экскаваторы оборудуют
широкозахватными роторами. Эти машины эффективны в трубопроводном строительстве
для засыпки траншей с уложенным в них изолированным трубопроводом.
В шнекороторных траншейных экскаваторах,
применяемых для отрывки каналов полного профиля в мелиоративном строительстве,
полностью используют тягач и рабочее оборудование траншейного роторного
экскаватора. По сравнению с базовыми машинами эти экскаваторы имеют пониженные
рабочие скорости передвижения.
На базе цепных экскаваторов изготавливают
экскаваторы - дреноукладчики, применяемые в мелиоративном строительстве для
устройства закрытого дренажа. Экскавацию грунта эти машины осуществляют как
траншейные цепные экскаваторы, но с меньшей производительностью из-за
необходимости точного соблюдения уклонов дна траншеи и остановок машины для
пополнения дренирующим материалом.
Среди экскаваторов траншеекопатели имеют
наиболее низкие показатели удельной материалоемкости и энергоемкости. По
сравнению с цепными роторные экскаваторы могут разрабатывать более прочные
грунты благодаря жесткой конструкции рабочего органа.
. Карьерные экскаваторы различают по исполнению
рабочего оборудования: роторные стреловые и цепные. По направлению рабочих
движений эти машины относят к экскаваторам поперечного копания.
Роторные стреловые экскаваторы имеют широкую
область применения: на вскрышных работах и карьерной добычи строительных
материалов, разработке больших котлованов и других выемок, возведении насыпей,
дамб, плотин, на погрузочно-разгрузочных работах на складах насыпных
материалов. Экскаватор приспособлен для работы верхним и нижним копанием, т. е.
выше или ниже уровня стоянки машины.
Цепные экскаваторы поперечного копания применяют
для добычи строительных материалов, в основном в карьерах кирпичных заводов. В
процессе работы экскаватор перемещается по рельсам вдоль разрабатываемого
карьера.
Многоковшовые экскаваторы считаются
высокопроизводительными машинами. Их производительность в ряде случаев выше
одноковшовых машин, равных по мощности. Однако они имеют один существенный
недостаток, из-за которого не могут соперничать с одноковшовыми экскаваторами.
Этим недостатком является отсутствие универсальности: многоковшовые экскаваторы
способны выполнять только определенную рабочую операцию, поэтому такие машины в
строительстве, как правило, работают в комплекте с другими машинами
(скреперами, бульдозерами и т.д.),
Второй недостаток многоковшовых экскаваторов
состоит в том, что он способен разрабатывать только грунты, не засоренные
камнями, не тяжелые для копания, однородные по структуре. Эти машины хорошо
разрабатывают только пески, супеси, легкие суглинки.
4. Классификация погрузчиков
строительных материалов
Погрузочно-разгрузочные машины в строительстве
применяют для погрузки штучных и сыпучих грузов, а также для перемещения и
складирования в пределах строительной площадки. Они представляют собой
преимущественно самоходные колесные или гусеничные подъемно-транспортные
машины.
По принципу выполнения рабочих
операций погрузочно-разгрузочные машины делят на машины
цикличного и непрерывного действия. Первые являются универсальными и могут
применяться в различных условиях благодаря наличию многих видов рабочего
оборудования, вторые применяют на объектах с большим объемом работ по погрузке,
перемещению и разгрузке сыпучих строительных материалов, а также там, где
рабочий процесс должен быть непрерывным.
В зависимости от назначения
погрузочно-разгрузочные машины разделяют на погрузчики для штучных грузов - автопогрузчики
и для сыпучих грузов - одно- и многоковшовые погрузчики.
Основным видом рабочего оборудования
автопогрузчиков является вилочный захват, который подводят под груз или штабель
из отдельных мелких грузов, установленный на подставках. С помощью вилочных
погрузчиков перегружают и транспортируют штучные железобетонные изделия,
поддоны с кирпичом, оборудование, длинномерные пиломатериалы, профильный
металл.
Вилочные автопогрузчики изготавливают на базе
автомобильных узлов (мостов, коробок передач, рулевого управления и др.) с
двигателями внутреннего сгорания или с электродвигателями, работающими от
аккумулятора.
Вилочные погрузчики выпускаются
грузоподъемностью 3 - 5 т с высотой подъема груза до 6 м и скоростью
перемещения с грузом до 20 и без груза до 40 км/ч. Автопогрузчики оборудуются
различными съемными видами рабочего оборудования - грейфером для бревен,
ковшом, крановой стрелой и другими приспособлениями.
Основным рабочим органом одноковшового
погрузчика является ковш, используемый для разработки, погрузки и перемещения
сыпучих материалов. Главным параметром этих погрузчиков является
грузоподъемность. По грузоподъемности одноковшовые погрузчики подразделяют на
малогабаритные (до 0,5 т), легкие (0,6 - 2,0 т), средние (2 - 4 т), тяжелые (4
- 10 т) и большегрузные (более 10 т).
В зависимости от ходового
оборудования погрузчики могут быть гусеничными и
пневмоколесными. По способу разгрузки различают погрузчики: с передней
разгрузкой (фронтальные), с боковой разгрузкой (полуповоротные ), с задней
разгрузкой (перекидной тип погрузчика).
Фронтальные погрузчики обеспечивают разгрузку
ковша со стороны разработки материала.
Полуповоротные погрузчики обеспечивают разгрузку
ковша и сменных рабочих органов впереди и на обе стороны на угол до 90º
от
продольной оси. Это сокращает время на развороты и позволяет использовать их
для работы в стесненных условиях.
Многоковшовые погрузчики относятся к машинам
непрерывного действия. Их применяют для погрузки в транспортные средства
сыпучих и мелкокусковых материалов, а также для засыпки траншей грунтом.
Многоковшовые погрузчики монтируют на самоходном гусеничном или пневмоколесном
шасси.
По конструкции рабочего органа
различают погрузчики шнекоковшовые, роторные, дисковые и с подгребающими
лапами.
. Электрические ручные машины для
работы с камнем, бетоном и грунтом
Ручными машинами называют машины, у которых
главное движение производится двигателем, а вспомогательное и управление
выполняются непосредственным воздействием оператора вручную. Эти машины, как
правило, имеют встроенный в корпус двигатель, их масса частично или полностью
воспринимается оператором.
Ручные машины разделяют на следующие группы:
По принципу действия ручные машины делятся на
непрерывно-силовые и импульсно-силовые.
По режиму работы машины делятся на машины
легкого, среднего, тяжелого и сверхтяжелого режимов.
По назначению и области применения ручные машины
подразделяются на машины общего применения, предназначенные для обработки
различных материалов, машины для обработки металла, дерева, пластмасс, камня и
бетона, машины для работы по грунту и машины для сборочных работ.
По виду привода бывают машины с электрическим,
пневматическим, гидравлическим приводом и приводом от двигателя внутреннего
сгорания.
По классам защиты от поражения током ручные
машины делятся на машины 1, 2, 3 классов.
Для работы с камнем и бетоном используют
переносные станки для сверления отверстий, образования борозд, ниш, рубки и
разрушения.
Переносной станок ИЭ-1805 (рис.3) предназначен
для сверления отверстий в монолитных бетонных полах или фундаментах
(вертикально) или в стенах и перегородках (горизонтально), а также под углом
вниз с помощью алмазных кольцевых сверл. Станок состоит из рамы, направляющей
колонки, электродвигателя, редуктора, шпинделя, механизма подачи, корончатого
сверла. Для удержания станка в заданном положении во время сверления отверстия
в железобетонной плите служит распорка. Пуск и остановка осуществляются
пусковым устройством. Для подачи охлаждающей воды на сверло в процессе работы у
станка имеется бак с водой и водяной насос, от которого вода по трубопроводу
идет к узлу подачи воды.
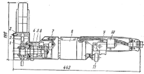
Рисунок 3. Переносной станок ИЭ-1805
для сверления отверстий в железобетоне: 1 - рама; 2 - корончатое сверло; 3 -
узел подачи воды; 4 - шпиндель; 5 - направляющие колонки; 6 - механизм подачи;
7 - редуктор; 8 - электродвигатель; 9 - пускатель; 10 - водяной насос; 11 - бак.
Молотки ручные электрические применяют для
пробивки борозд, ниш, отверстий в кирпичной кладке и бетоне при
электромонтажных, санитарно-технических и строительно-монтажных работах, а
также используют для рыхления твердого, мерзлого и каменистого грунта.
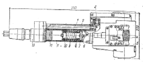
Молоток ручной электрический ИЭ-4213 (рис.4)
состоит из электродвигателя, корпуса редуктора, кривошипно-шатунного механизма,
состоящего из кривошипа, шатуна и поршня, ствола с ударным механизмом,
состоящим из бойка, рабочего инструмента и амортизатора.
Крутящий момент от вала электродвигателя
передается через редуктор на коническую шестерню с кривошипом. При вращении
кривошипа поршень и боек совершают возвратно-поступательное движение. При
движении поршня боек под влиянием разряжения перемещается за поршнем, а при
возвратном движении под действием сжатой воздушной области устремляется вниз и
ударяет по торцу рабочего инструмента.
Рисунок 4. Ручной электрический
молоток ИЭ-42136 1 - рабочий инструмент; 2 - амортизатор; 3 - ствол; 4 - боек;
5 - поршень; 6 - шатун; 7 - ручка боковая; 8 - редуктор; 9 - электродвигатель.
Перфораторы ручные электрические применяют для
бурения отверстий и шпуров в каменных породах, бетоне и кирпиче. Они могут
работать в качестве молотков. В конструкции электрического перфоратора ИЭ-4707
(рис.5) соединены и одновременно работают от одного электродвигателя два
механизма: электромолоток, осуществляющий периодические удары по инструменту, и
механизм, обеспечивающий непрерывное вращение инструмента.
Рисунок 5. Ручной электрический
перфоратор ИЭ-4707: 1 - вал непрерывного вращения бура; 2 - кожух; 3 -
редуктор; 4 - ручка; 5 - корпус электродвигателя; 6 - шатун; 7 - палец; 8 -
ползун; 9 - пружина; 10 - поршень; 11 - ствол; 12 - боек; 13 - букса.
Бороздоделы применяют для выработки пазов,
каналов и гнезд в кирпичной кладке при электротехнических работах. Рабочим
инструментом бороздоделов является твердосплавная фреза или алмазный круг. По
своей конструкции бороздоделы аналогичны электрическим ручным шлифовальным
машинам.
В конструкцию бороздодела ИЭ-6401 (рис.6)
электродвигатель (асинхронный, трехфазный с короткозамкнутым ротором,
напряжением 36 Вт и частотой тока 200 ГЦ), редуктор, защитный кожух, опорные
ролики, рабочая рукоять и устройство для отсоса образующейся при работе пыли.
Отсос пыли обеспечивается отдельным насосом. Рабочим инструментом служит
трехсторонняя твердосплавная фреза. В комплект бороздодела входит сверлильная
насадка с твердосплавным шлямбуром, с помощью которой можно сверлить отверстия
в кирпичной стене под розетки выключателей или штепселей.
Рисунок 6. Бороздодел ручной
электрический ИЭ-6401: 1 - фланец; 2 - фреза; 3 - кожух фрезы; 4, 6 -
подшипники; 5 - шпиндель; 7 - корпус редуктора; 8 - электродвигатель; 9 -
рукоятка; 10 -выключатель; 11 - ролик.
Трамбовки ручные электрические применяются для
уплотнения несвязного грунта при засыпке траншей, ремонте дорожных покрытий и
планировочных работах в строительстве, особенно в стесненных условиях.
Трамбовка ИЭ-4505 (рис.7) состоит из
электродвигателя, редуктора, кривошипно-шатунного механизма, трамбующего
башмака и подпружиненных рукояток управления. Шток кривошипно-шатунного
механизма поочередно сжимает пружинудважды в верхнем и нижнем положениях
кривошипа. Пружинный механизм ударно воздействует на трамбующий башмак с каждым
оборотом кривошипа. Для предотвращения соударения металлических частей в
ударном механизме предусмотрены резиновые амортизаторы.
Рисунок 7. Трамбовка ручная
электрическая ИЭ- 4505: 1 - башмак; 2 - нижняя оправка; 3 - шток; 4 - верхняя
оправка; 5 - ствол башмака; 6 - гайка; 7 - ствол; 8 - ползун; 9 - палец; 10 -
шатун; 11 - крышка редуктора; 12, 13 - шестерни редуктора; 14 - вал ротора; 15
- корпус; 16 - статор; 17 - выключатель; 18 - верхняя рукоятка; 19 - крышка
электродвигтеля; 20 - вентилятор; 21 - вал кривошипа; 22 - дебаланс; 23 -
кожух; 24, 26, 28 - амортизаторы; 25, 27 - пружины.
Задача
Выбрать скрепер и определить его часовую и
сменную производительность.
Дано:
V = 50000м3
- объем работ
L
в=
2000м - дальность возки грунта
Вид грунта - суглинок средний
Решение:
Выбираем типоразмер и тип скрепера в зависимости
от объема работ и дальности перемещения (возки) грунта.
Принимаем скрепер ДЗ-11П самоходный с
вместимостью ковша 8 м3 .
Эксплуатационная часовая производительность
определяется:
,
где
q -
геометрическая вместимость ковша, м3;
n - число
циклов скрепера в час;
Кн - коэффициент
наполнения ковша грунтом;
Кв - коэффициент
использования рабочего времени часа (Кв =0,85…0,9);
Кр - коэффициент
разрыхления грунта.
q =8м3
ц -
продолжительность цикла, мин.
tн -
продолжительность набора грунта, с;
tгх -
продолжительность груженого хода, с;
tв -
продолжительность выгрузки грунта, с;
tхх -
продолжительность порожнего (холостого) хода, с;
Tпп - время
затрачиваемое на переключение передач коробки скоростей, с;
Tп - время,
затрачиваемое на повороты скрепера, с.
Lн, lгх, lв, lхх - длины
участков пути набора, груженого хода, выгрузки, холостого хода, м.
Vн, Vгх, Vв, Vхх -
соответствующие этапам цикла скорости движения тягача при наборе, груженом
ходе, выгрузке, холостом ходе, выбираемые в соответствии с тяговыми
сопротивлениями на различных участках пути движения скрепера, км/ч.
К3 - коэффициент,
учитывающий увеличение продолжительности элементов цикла за счет разгона при
трогании с места, замедлении при остановке и переключении передач, пробуксовке
движителей по грунту (при наборе грунта и груженом ходе К3 =
1,3…1,4, при выгрузке грунта и порожнем ходе К3 =1,1…1,2)
Длина пути набора грунта:
Кп - коэффициент потерь
грунта при наборе (Кп ≈ 1,2)
Кн =1
Кh -
коэффициент неравномерности толщины стружки (Кh ≈0,7)
h - средняя
толщина стружки грунта за время набора (h =25см)
bн - ширина
полосы захвата грунта ножами скрепера (ширина ковша), (bн =2,82м)
Кр =1,3
Длина пути выгрузки грунта:
hсл - средняя
толщина слоя отсыпки грунта в насыпь (hсл =0,2…0,3м)

Lв - длина
возки
Длина холостого хода:
Для самоходных скреперов
1 -
паспортная скорость скрепер на первой передаче коробки скоростей.
V1 = 40км/ч
Vн = 0,65*40 =
26км/ч= 433,3 м/с
Скорость движения груженого
скрепера:
max -
наибольшая паспортная скорость тягача
Vгх = 0,5*40 =
20км/ч=333,3 м/с
Скорость движения скрепера при
выгрузке грунтов из ковша:
км/ч=500 м/с
Скорость движения порожнего
скрепера:
км/ч = 500 м/с
n - число
поворотов (nn =2)
tn -
продолжительность одного поворота (tn = 12…15с)
Tn = 2*12 = 24с
nn - число
переключений коробки скоростей (nnn =2)
tnn -
продолжительность одного переключения передачи коробки скоростей (tnn =4…5с)
Tnn = 2*4
=
8с
Эксплуатационная сменная
производительность скрепера определяется по формуле:
Ксм - коэффициент
использования рабочего времени смены (для самоходных скреперов Ксм
=0,75)
Тсм - продолжительность
смены, ч.
Ответ: эксплуатационная часовая
производительность скрепера составляет 248,46 м3/ч; эксплуатационная
сменная производительность равна 1753,85 м3/см.