Электродвигатель отопителя автомобиля Lada Vesta
Министерство образования и науки
Российской Федерации
Федеральное государственное бюджетное
образовательное учреждение
высшего профессионального образования
Московский Государственный
Машиностроительный
Университет (МАМИ) /Университет
Машиностроения/
Кафедра «Автомобильная электроника»
Дипломная работа
Электродвигатель отопителя автомобиля
Lada Vesta
Москва 2016 г.
Техническое задание
. Исходные данные по проектированию:
электродвигателя отопителя автомобиля LADA VESTA:
Модель автомобиля: LADA VESTA
Тип электродвигателя: коллекторный
Номинальная мощность - 60 Вт
Номинальная частота вращения - 2500 об/мин
Номинальное напряжение питания - 12 В
Минимальное напряжение питания - 11 В
Максимальное напряжение питания - 14,3 В
Режим работы - продолжительный
Исполнение - закрытое
Вид и размеры производства:
Серийный - выпуск 50 000 штук в год
Содержание проекта
Расчётно-пояснительная записка
1 Конструкторская часть:
Обзор патентной и технической литературы
Обоснование применённого типа двигателя
Расчёт основных параметров электродвигателя
Расчёт основных характеристик электродвигателя
Технологическая часть:
Выбор и обоснование технологического процесса изготовления якоря
электродвигателя
Разработка маршрутной технологии изготовления листов железа якоря
Организационно-экономическая часть:
Организация ОКР проектируемого изделия
Анализ работ, выполняемых при ОКР
Расчёт себестоимости проектируемого электродвигателя
Экология и БЖД:
Разработка документов по охране труда
Расчёт вентиляции цеха изготовления электродвигателя
Введение
Электродвигатели постоянного тока обширно используются во всех отраслях
промышленности. Их значительное распространение объясняется преимуществом
характеристик: высокий пусковой и перегрузочный момент, высокое быстродействие,
большой диапазон плавного регулирования вращения частоты.
По способу возбуждения двигатели постоянного тока (ДПТ) классифицируются
на двигатели с магнитоэлектрическим возбуждением (с возбуждением от постоянных
магнитов) и с электромагнитным возбуждением. Первый тип двигателей наиболее
перспективен вследствие малой инерционности. К их преимуществам также относят
высокий КПД, стабильность магнитного потока возбуждения при температурном
изменении окружающей среды, высокую надежность и технологичность конструкции
индуктора. Требуемое регулирование частоты вращения якоря двигателя постоянного
тока с возбуждением от постоянных магнитов совершается изменением напряжения
питания, тем временем поток возбуждения остается постоянным при различных
частотах вращения, что формирует благоприятные условия для коммутации и
устойчивой работы.
Актуальность выбранной темы обусловлена значимостью системы отопления в
машине. Задача автомобильного отопителя не только в поддержания тепла в салоне
автомобиля. Он крайне необходим для того, чтобы стекла машины не запотевали.
Опасность этого явления заключается в сильном снижении уровня обзорности,
приводящего к ухудшению контролирования дорожной обстановки со стороны
водителя, что напрямую воздействует на безопасность движения. Возникновение
такого рода проблемы появляется не только в зимнее время года, но и осенью, и
весной.
К ужесточению конкуренции на мировом рынке автомобилестроения привело к
дальнейшему повышению уровня комфортности и безопасности водителя н пассажиров
в салоне автомобиля, в частности объединенное с эффективностью функционирования
систем отопления и вентиляции.
В настоящее время применяемые методики для расчёта и проектирования
системы отопления опираются на интегральные методы, которые позволяют
устанавливать только лишь осредненные параметры потока. Преобладающая роль в
проектировании этих систем отводится исследованиям, полученным
экспериментально, а также испытаниям дорожным и климатическим.
Необходимо заметить, что конкурируя, зарубежные производители с целью
избегания обесценивание своих результатов, не обнародуют методики и конкретные
расчёты технологии проектирования системы отопления.
В работе рассматривается одна из возможных и перспективных технологий
разработки электродвигателя повышенной мощности, на примере легкового
автомобиля LADAVESTA.
Предмет исследования данного проекта является двигатель постоянного тока
с возбуждением от постоянных магнитов, использующийся для привода крыльчатки
вентилятора отопителя. От его надёжности и производительности в высокой степени
зависит комфорт и здоровье водителя и пассажиров.
Целью дипломного проекта является разработка электродвигателя повышенной
мощности для обеспечения достаточной производительности системы отопления в
зимний период, что также позволяет ускорить прогрев салона и уменьшить
необходимое время работы двигателя, а, значит, и расход топлива.
Согласно заданной цели требуется решить следующие задачи:
. Рассчитать основные параметры и характеристики электродвигателя;
. Выбрать и обосновать технологический процесс изготовления якоря
электродвигателя;
. Разработать маршрутную технологию изготовления листов железа
якоря;
. Организовать ОКР проектируемого изделия;
. Сделать анализ работ, выполняемых при ОКР;
. Рассчитать себестоимость проектируемого электродвигателя.
1.
Конструкторская часть
1.1
Технические характеристики автомобиля LADA VESTA
Платформа: ............................ Lada B
Компоновка: ........................... переднемоторная, переднеприводная
Колёсная формула: ................ 4×2
Двигатели
· ВАЗ-21129 (106 л.с.)
· ВАЗ-21179 (122 л.с.)
· HR16DE (110 л.с.)
Трансмиссия
· механическая пятиступенчатая (JH3 и ВАЗ 2180)
· роботизированная пятиступенчатая (ВАЗ 21827)
Массово-габаритные характеристики
Длина:....................................... 4410 мм
Ширина: .................................. 1764 мм
Высота: ................................... 1497 мм
Колёсная база: ........................ 2635 мм
Колея задняя: .......................... 1510 мм
Колея передняя: ...................... 1510 мм
Полная масса: ......................... 1653 кг (снаряженная: 1230-1270
кг)
1.2
Анализ существующих систем отопления
Система отопления представляет собой особенно успешное инженерное решение
проблемы поддержания необходимого режима температуры. Современный отопитель
салона - это следствие длительной эволюции.
Конец 19 века был отмечен выпуском машин без закрытого кузова, отчего
печка в них не приносила никакой пользы. Так как охлаждение двигателя, как
правило, было термосифонным или воздушным, при помощи него отапливать
направленно салон было трудно. Наиболее комфортные закрытые кузова отапливались
по каретному, самостоятельной небольшой печью или безопасными горячими камнями,
либо иными предварительно прогреваемыми объектами. Сами кузова нередко
изготавливались из дерева и были достаточно утепленными.
А вот на электромобилях попадалась любопытная функция-подогрев рулевого
колеса. Тем не менее, согревать одного водителя было чрезмерно убыточно, отчего
в ту пору самым верным его другом в прохладное время года были попоны,
покрывающие одновременно салон и нескольких человек, или специальная одежда.
Фактически автомобильное отопление возникло довольно рано. Журнал Motor в 1907 году сделал отличное
предложение- устройство, которое подает в салон автомобиля, нагретый выхлопной
системой воздух. Большое количество фирм предлагало аналогичного рода
устройства.
Они имели несложную конструкцию: в теплообменник-радиатор в салоне
отводилась часть горячих газов. В случае если обогрев не был необходим, тогда
попросту запирали клапан подачи газов. На пол автомобиля помещали сам
теплообменник. Безусловно, стандартная комплектация не включала в себя таковые
устройства, однако установить его было можно на каждый автомобиль с двигателем
внутреннего сгорания.
Подобным образом отапливался, к примеру, FordA 1929 года. Отопитель разрабатывался специально для
этой модели и включал: гибкие трубы и теплообменник на выпускном коллекторе
мотора. Кроме того для отопления салона устанавливали вспомогательный
вентилятор и радиатор для его обдува. В первый раз данную систему отопления
использовали на автомобилях General Motors. Эта схема отопления постепенно разошлась по всему миру.
С годами эта система получила широкую популярность во всех уголках земли.
Автомобилисты, проживающие в Советском союзе, чтобы не замерзнуть, проделывали
специальные отверстия в особо размещенной перегородке, которая находилась между
кабиной и моторным отсеком. Благодаря этому ,в периоды сильных морозов, они
могли «выжить». В современном мире автомобили обогреваются при помощи охлаждающей
жидкости, предназначенной для двигателя внутреннего сгорания.
Система отопления автомобиля подверглась внушительным изменениям, в
нынешнее время используются следующие её виды:
) Системы с использованием тепла двигателя:
а) от системы охлаждения двигателя;
б) от системы выпуска отработавших газов.
) Системы с собственным источником тепла:
а) не зависимые от двигателя;
б) зависимые от двигателя.
) Комбинированные системы.
В отопительных системах с использованием тепла от двигателя, охлаждаемого
жидкостью, возможна передача тепла в кузов от радиатора отопления с применением
труб, в которых нагретая жидкость или ею нагретый воздух подается в кузов
автомобиля. Воздух -это теплоноситель при воздушном охлаждении двигателя. В
отопительных системах с использованием тепла отработавших газов тепло поступает
в кузов по трубам от воздушной или водяной рубашки, охватывающей одну из
нагретых частей системы выпуска отработавших газов. Отопительные системы с
собственным источником тепла бывают воздушными или жидкостными.
В наибольшей степени распространены устройства отопления, где тепловой
источник- это система жидкостного охлаждения двигателя. Такие устройства
являются результативными и несложными, к тому же исключают передачу
отработавших газов, гари или малоприятных запахов в кузов из-под капота.
Система отопления от отработавших газов, использующаяся на машинах с воздушным
охлаждением двигателя, в силу свойственных ей недостатков (высокой зависимости
от реализуемой мощности двигателя, незначительной теплоемкости, большого шума в
сравнении с жидкостной системой отопления) рассматриваться не станет.
Рассмотренная выше классификация отопительных систем разделяет их по
тепловым источникам, однако, отопительные системы с источником тепла от
жидкостной системы отопления обладают разными типами конструкций систем
отопления и управления ею.
У любого автомобиля с жидкостным охлаждением двигателя отопительная
система, по меньшей мере, складывается из радиатора отопителя, шлангов подвода
и отвода жидкости, крана, который перекрывает ее поток, и (или) заслонки,
которая регулирует поступание воздуха снаружи к радиатору, электровентилятора и
воздуховодов (рисунок 1.1).
Ниже разбираются стандартные отопительные системы, схемы управления ими и
их свойства.
Любая отопительная система включает в себя корпус с воздуховодами и
воздухораспределительными каналами; теплообменник с вентилятором; органы
управления температурой, притоком и распределением воздуха.
автомобиль
якорь электродвигатель сборка
Рисунок 1.1 - принципиальная схема простейшего отопителя салона
автомобиля: 1 - кран; 2 - подводящий шланг; 3 - дефлектор забора наружного
воздуха; 4 - радиатор; 5 - система распределения воздуха; 6 - заслонка;7 -
электровентилятор; 8 - отводящий шланг; 9 - жидкостная система охлаждения
двигателя
Результатом прироста скоростного напора и работы вентилятора служит
поступление воздуха, увеличивающегося в большей мере, нежели скорость движения.
Поступление воздуха можно относительно легко регулировать при помощи заслонки
воздухопритока, всегда имеющейся (заслонка необходима для того, чтобы избежать
проникновения при транспортном заторе токсичных обработавших газов). Это
становится возможным только тогда, когда управление заслонкой воздухопритока не
находится в зависимости от иных регулировок, помимо включения вентилятора. Для
обеспечения летом поступления наибольшего количества воздуха в салон, добавочно
предусматривают крышку воздухопритока, которая управляется вручную. Можно
получить подачу воздуха соответствующим проектированием систем воздухопритока,
который нарастает по сравнению со скоростью медленнее. С целью отделения
крупных частиц пыли и влаги во впускном канале, необходимо учитывать резкий
разворот воздушного потока.
Микроклимат в салоне автомобиля характеризуют следующие условия:
• подача чистого воздуха, в основном для поддержания необходимого
количества кислорода в салоне;
• скорость перемещения и распределения воздуха;
• температура в салоне;
• относительная влажность воздуха;
• загрязненность воздуха (запыленность, неприятный запах,
отработавшие газы);
• температура стенок салона.
Регулирование температуры воздуха внутри салона способно реализовываться
тремя способами:
) регулировкой количества нагретой охлаждающей жидкости,
поступающей в радиатор отопителя (жидкостная регулировка);
) смешиванием свежего воздуха с горячим, который прошёл через
теплообменник (регулировка воздушная);
) комбинированием первого и второго способов (регулировка
смешанная).
Регулировку воздуха, который поступает в салон автомобиля допустимо
объединять с работой вентилятора. Сам вентилятор может работать в двух-трех
режимах.
При городском движение, когда автомобиля движется с маленькой скорость,
это преимущественно необходимо. Весь скоростной диапазон автомобиля сопровождается
эффективной работой вентиляционной системы в жаркую погоду с помощью такого
вентилятора. В отопительных и вентиляционных системах могут применяться осевые
вентиляторы, имеющие малые габаритные размеры и невысокую цену, к тому же
радиальные вентиляторы, обладающие наиболее высокими показателями по расходу,
когда количество воздуха, который поступает в салон автомобиля, слабее зависит
от скоростного напора.
Основные характеристики радиального вентилятора- большой размер и
малошумность. Установление вентилятора осуществляется предпочтительно в
воздушном потоке перед теплообменником таким способом, чтобы летом свежий
воздух, который прошел через теплообменник, напрямую подавался в салон. Все
типы регулировки обладают своими особенностями, преимуществами и недостатками.
Регулировка, осуществляемая объемом нагретой охлаждающей жидкости, поступающей
в теплообменник (жидкостная), позволяет регулировать температуру при помощи
специального крана, который изменяет количество воды, поступающей в
теплообменник. Линейную зависимость между регулировочным ходом органов
управления и температурой выходящего горячего воздуха получить крайне сложно,
так как для получения небольшой производительности отопителя через радиатор
должно пройти предельно малое количество воды. Проценту максимально возможного
потока воды, равному 2...3 %,соответствует 50 процентов производительности
отопительной системы. Помимо этого, запорный клапан обязан иметь герметичное
уплотнение и несложно открываться после продолжительного перерыва.
Существует краны двух типов:
мембранный;
поршневой.
Требуемая температура воздуха устанавливается с большим опозданием после
поворота крана, оттого что сначала обязана прогреться или охладиться
охлаждающая жидкость, которая находится в отопительной системе. Это является
недостатком водяной регулировки. Производительность отопительной системы, даже
когда кран открыт, в высокий степени зависит от количества поступающего воздуха
и циркулирующей воды. Невзирая на это, регулировку этого типа на основании ее
незамысловатости зачастую используют на недорогих автомобилях (рис. 1.2).
Методом разделения теплообменника на некоторое количество самостоятельных
блоков, которые регулируются краном по отдельности, допускается устранить
ключевой недостаток водяной регулировки - сложность регулировки.
Регулировка путем смешивания горячего воздуха с холодным (воздушная)
требует крупные конструктивные затраты.
Также воздушная регулировка нуждается в большем пространстве для
размещения дополнительных заслонок и каналов. Непросто реализовать равномерное
смешивание холодного воздуха с горячим, следовательно, необходимо свыкнуться с
некоторым расслоением потоков, то есть с тем, что холодный воздух начнет
подниматься вверх, как это бывает в некоторых системах. Поскольку поток воды в
этих системах не регулируется, при жаркой погоде он значительно зависит от
герметичности управляющей заслонки, вследствие этого, хотя бы для летней
эксплуатации автомобиля следует предусматривать возможность отключения нагретой
охлаждающей жидкости в целях избежать нагрева свежего воздуха. Достоинствами
описываемого типа регулировки считаются: быстрая реакция на регулировочные
воздействия; независимость от поступления воздуха (скорости движения);
возможность точной регулировки температуры; при этом кран регулировки поступления
воды может отсутствовать.
Смешанная регулировка считается видоизменением обозначенных выше способов
регулировки. Её отличие - управление температурой может происходить через
регулировку количества нагретой охлаждающей жидкости, которая поступает в
теплообменник, так и через смешивание холодного воздуха с горячим. В конечном
результате менее значительным становится управление водяным краном, способности
регулировки и реакция системы улучшаются. Механически связанными могут быть
управление водяным краном и смесительной заслонкой. Канал для поступления
свежего воздуха в такой конструкции может быть малым, поскольку часть воздуха
проходит через управляемый теплообменник. Вследствие этого для размещения
таковой системы потребуется меньше места. Грандиозными преимуществами обладает
смешанное регулирование, на основании чего исключительно его, в наше время,
чаще всего применяют на автотранспортных средствах среднего класса.
Конструкция современного отопителя состоит из радиатора, патрубков для
циркуляции охлаждающей жидкости, нескольких воздуховодов и заслонок,
вентилятора и регулятора потока жидкости.
Радиатор отопителя располагается за передней панелью. Охлаждающая
жидкость поступает по двум трубкам, присоединенным к радиатору. Она циркулирует
благодаря помпе не только по отопительной системе автомобиля, но и по системе
охлаждения двигателя. В момент нагрева двигателя совершается теплообмен.
Охлаждая двигатель, антифриз забирает от него тепло. Затем попадает в радиатор
печки уже в нагретом состоянии.
Вентилятор печки прогоняет холодный воздух через радиатор, пока он
нагревается. Вновь осуществляется теплообмен: воздух охлаждает радиатор,
который отдает ему тепло. В салон автомобиля начинает дуть теплый воздух, тогда
как охлажденный тосол вновь оказывается внутри двигателя, охлаждая его.
Наиболее эффективной и распространенной считается именно такая система
отопления.
Ремонт отопительной системы не предполагает собой сложный процесс.
Достаточно очищать части системы от загрязнений во время её разборки. Но иногда
возникают сложности, требующие более основательного подхода. Чаще всего
возникшие проблемы неисправности печки - сломанная помпа, забитый радиатор или
краник.
Неисправность помпы приводит к перегреванию двигателя, так как из-за
этого может повести головку блока цилиндров. В этом случае капитального ремонта
мотора не избежать.
Определить поломку краника можно по шлангам радиатора печки. Горячий
входящий шланг и холодный выходящий шланг- возможные причины. Однако если
проблема не в кранике, необходимо менять радиатор печки. Скорее всего, поломку
могло вызвать большое количество накипи, которая образовывается внутри
радиатора.
Как любая техника печка требует своевременного осмотра и ремонта.
Соответственно, чем больше возраст автомобиля, тем тщательнее нужно готовить
его к отопительному сезону. Если система не имеет повреждений, то воздушный
поток беспрепятственно проходит по системе.
Чаще всего в автомобиле не греет печка из-за завоздушивания системы
охлаждения или неисправности сопутствующих узлов: радиатора или термостата.
Появление воздушной пробки в печке происходит из-за очень узких трубок,
не позволяющих слабому потоку жидкости выгнать её. Прогрев двигателя поможет
избавиться от пробки. Для этого можно ослабить хомут на шланге, осторожно сняв
его с трубки, для появления небольшой щелочки, через которую сможет выйти
воздух.
Неприятный запах в салоне проявляется из-за попадания грязи в радиатор,
которая начинает гнить.
Своевременный ремонт и осмотр необходим для правильной работы печки.
Следует, что чем больше автомобиль находится в эксплуатации, тем тщательнее его
готовят к отопительном сезону. Отсутствие повреждений позволит воздушному
потоку свободно проходить по системе.
Фактором поломки или нестабильной работы может послужить высокое
загрязнение салонного фильтра или его отсутствие вовсе. Эти причины к
проникновению частиц пыли и грязи в мотор, из-за чего может быть дисбаланс или
поломка мотора. Если грязь попадает на радиатор, происходит процесс разложения
и это приводит к малоприятному запаху внутри салона автомобиля. Когда радиатор
забит пылью, пухом или листьями, поток теплого воздуха не поступает в салон.
Помимо прочего к неэффективной работе печки в машине способен привести
заменена антифриза не вовремя. Применение низкокачественного антифриза может
послужить причиной выхода из строя термостата, потому что радиатор при этом
начнет забиваться изнутри.
Встречаются случаи некачественной работы печки вследствие разрушения или
сбоя в работе заслонки радиатора, призванной прикрывать поток воздуха, идущий
через радиатор.
Пока в салоне автомобиля комфортный климатический режим поддерживается
отопительной системой, она не привлекает особого внимания. С трудностью
конструкции и проблемами приходится столкнуться владельцам подержанных
автомобилей или с пробегом. Чем старше транспортное средство, тем больше
внимания надлежит уделять отопительной системе, своевременно осуществлять
диагностические и профилактические мероприятия. Таких правил должны
придерживаться владельцы и отечественных, и импортных автомобилей.
Имея опыт в обслуживании автомобиля, проверять производительность работы
системы отопления позволительно самостоятельно.
Для проверки подготовленности системы к отопительному сезону, требуется
провести следующие действия: открыть кран отопителя салона до упора ,а затем
прогреть двигатель. Необходимо удостовериться в герметичности крана и
радиатора, а также в эффективной работе вентилятора на всех скоростях. Вдобавок
необходимо протестировать состояние салонных фильтров. После летнего применения
их потребуется заменить, потому что они сильно загрязнены. Затем проверить
работу электровентилятора, при которой его включение обязано выполняться без
промедления. Работа его осуществляется на всех режимах, без наличия посторонних
шумов. В неподвижном состоянии автомобиля воздушный поток также должен
поступать.
При наличие в транспортном средстве системы климат-контроль, которая
имеет датчики температуры и двухзонный контроль потока воздуха, отопительная
система целиком имеет более сложную конструкцию. Это случается из-за установки
второго радиатора и кондиционера.
Отопительная система признается исправной, если при температуре на улице
-250 С через 10-15 минут работы двигателя температура в нижней части салона
поднимается до +160 С, а в верхней его части - до +100 С. Такой перепад не
вызывает перегрева головы водителя, что абсолютно неприемлемо.
Температура в районе задних сидений автомобиля должна составлять порядка
+150С. Для того чтобы предотвратить серьёзные проблемы, вызванные
неисправностью или неэффективностью работы системы отопления, следует как можно
быстрее заняться устранением появившихся неполадок.
Из вышеизложенных фактов можно сделать вывод: как и любой иной механизм,
отопительная система считается существенным элементом современного
автотранспортного средства. Как и любой другой узел, система отопления в
автомобиле требует к себе надлежащего внимания и оперативного ремонта и
профилактики. Невзирая на сравнительную простоту ремонта и обслуживания,
присутствие требуемых комплектующих на прилавках магазинов, не стоит доводить
до последнего. Чем старше становится автомобиль, тем тщательнее становится его
подготовка к зимнему сезону.
Осуществление в целях профилактики существенно сократит денежные средства
и затраченное время, чем выполнение тщательного дорогостоящего ремонта.
Для прогрева в зимние время года салона необходимо на выходе печки
получить около 30 градусов. Данная температура не позволит запотеть стеклам и
прогреет салон. На приборной панели расположен переключатель положения обдува,
регулирующий положение заслонок. Они в свою очередь направляют поток воздуха в
определенные стороны: лобовое стекло, лицо или ноги. Практически постоянно
необходимо направление воздушных потоков на лобовое стекло. Это требуется для
получения избыточного давления в салоне. Такое давление помогает не запотевать
стеклам, и останавливает попадание грязи и пыли в салон автомобиля.
Рисунок 1.2 - Устройство современной системы отопления и
кондиционирования воздуха салона легкового автомобиля
1.3
Обзор применяемых типов электродвигателей
Двигатель постоянного тока - электронная машина, преобразующая
электрическую энергию постоянного тока в механическую энергию.
Электрический двигатель (Рисунок 1.3) является основной электропривода.
Экономичность, надежность, качество продукции и заданную производительность
обеспечивает соответствие энергетических, механических и конструктивных
параметров двигателя условиям работы механизма изготовления.
Состоит из неподвижного элемента - статора, который служит для
возбуждения основного магнитного поля машины, и вращающегося элемента якоря
(ротора).
Статор состоит из станины (литая сталь), на которой крепятся главные
полюсы (для возбуждения основного магнитного потока) и дополнительные полюсы
(для хорошей коммутации).
Главный полюс состоит из сердечника (шихтованный, укреплен болтами на
станине), и обмотки возбуждения. Сердечник снабжается полюсным наконечником
(для создания необходимого распределения магнитного потока). ОВ питается либо
от источника постоянного тока, либо от зажимов якорной обмотки.
Якорь состоит из сердечника зубчатого, набранного из листовой стали, у
которого в пазы уложена обмотка якоря и коллектора, насаженного на вал якоря.
Коллектор представляет собой полый цилиндр, который собран из изолированных
друг от друга клинообразных пластин из меди.Два конца секции обмотки якоря
присоединены к каждой пластине коллектора. Неподвижные щетки, через которые
внешняя цепь соединяется с обмоткой якоря, устанавливаются на коллекторе.
Рисунок 1.3 - Устройство двигателя постоянного тока
Рассчитывать мощность, выбирать род тока, напряжение, угловую скорость,
конструктивное исполнение- всё это приходится делать при выборе
электродвигателя для рабочей машины. Для этого необходимо понимать условия
работы электрифицируемой автомашины, которые должны быть выражены в задании на
проектирование.
Тип примененного электропривода в существенной степени определяет
кинематическую схему и конструкцию машинного устройства.
Он с одной стороны, сам зависит от свойств рабочей машины, а с другой -
оказывает влияние на ее конструктивные особенности. В самой начальной стадии
проектирование рабочей машины осуществляется параллельно с проектированием
электропривода.
При эксплуатации электроприводов в производственных условиях потребность
подбора электродвигателя чаще всего появляется при замене слабо загруженных
асинхронных электродвигателей, модернизации оборудования, изменении
технологического процесса. Здесь приходится решать существенно меньше задач,
чем при проектировании электропривода, тем не менее требуются знания и навыки
по определению оптимальных нагрузок, пусковых свойств и перегрузочных
способностей электродвигателя.
Электродвигатели постоянного тока имеют широкое применение в разных
отраслях промышленности. Их внушительное распространение объясняется
преимуществом характеристик: высокий пусковой и перегрузочный момент, высокое
быстродействие, широкий диапазон плавного регулирования частоты вращения.
Двигатели постоянного тока с мощностью от десятка до сотен ватт широко им
пользуются в электроприводах гибких производственных систем, промышленных
роботов, систем автоматики и транспортных средств.
По способу возбуждения двигатели постоянного тока (ДПТ) делятся на двигатели
с электромагнитным возбуждением и с магнитоэлектрическим возбуждением (с
возбуждением от постоянных магнитов). Двигатели с возбуждением от постоянных
магнитов (Рисунок 2) наиболее перспективны вследствие малой их инерционности. К
преимуществам этих двигателей следует также отнести высокий КПД, стабильность
магнитного потока возбуждения при изменении температуры окружающей среды,
высокую надежность и технологичность конструкции индуктора.
Необходимое регулирование частоты вращения якоря двигателя постоянного
тока с возбуждением от постоянных магнитов осуществляется изменением напряжения
питания, при этом поток возбуждения остается постоянным при различных частотах
вращения, что создает благоприятные условия для коммутации и устойчивой работы.
Увеличение быстродействия коллекторных двигателей малой мощности
ограничивается допустимыми электромагнитными нагрузками, моментом инерции и
перегрузочной способностью, определяемой условием коммутации, насыщением
зубцовой зоны якоря. Для достижения предельного быстродействия у двигателей
необходимо уменьшать момент инерции и увеличивать магнитный поток в воздушном
зазоре, что увеличивает магнитодвижущую силу возбуждения, габариты и массу
индуктора, поэтому получение высоких динамических и удельных электромеханических
параметров в одном типе двигателя практически невозможно. В связи с этим
проведена дифференциация технических требований к ДПТ малой мощности в
зависимости от их функциональных назначений, имеющих следующую классификацию:
− силовые двигатели, предназначенные для продолжительного режима
работы, для которых основными параметрами являются максимальный КПД и ресурс
при лимитированных массе и объеме;
− силовые двигатели, предназначенные для кратковременного и
повторно-кратковременного режимов работы, для которых основными параметрами
являются минимальная масса на единицу полезной мощности, лимитируемые предельно
допустимой температурой обмоток двигателя;
− управляемые двигатели, основными параметрами которых являются
минимальные электромеханическая и электромагнитная постоянные времени при
лимитированных массе и объеме.
Рисунок 2 - Схема коллекторного двигателя с постоянными магнитами
«Жесткая» характеристика присуща двигателям независимого и параллельного
возбуждения (станки, прокатные станы, вентиляторы и т.д.).
Двигатели последовательного возбуждения - «мягкую» характеристику.
Применяются в устройствах, требующих огромные пусковые моменты.К тому же
устройства, в которых наблюдаются частные перегрузки по моменту тоже используют
такие двигатели (трамваи, троллейбусы, электровозы).
Идея применения постоянных магнитов в цепи возбуждения для синхронных
электрических машин и двигателей постоянного тока весьма интересна и легко
реализуема.«Привлекательность» объясняется следующими факторами:
. Привычная обмотка возбуждения на электромагнитах является пусть и
совсем небольшим, а все же потребителем активной электроэнергии. Потому
постоянные магниты в цепи возбуждения позволяют повысить энергетические
показатели и, в частности, КПД.
. Постоянные магниты упрощают устройство цепи возбуждения, увеличивают
надежность электродвигателя в целом. Особенно это затрагивает синхронные
двигатели, система возбуждения которых конструктивно находится в составе
ротора.
В классическом варианте с применением электромагнитов в конструкцию
синхронной машины включаются токосъемные кольца и щетки для питания обмотки
возбуждения постоянным током. Но этот токосъемный узел серьезно понижает
надежность двигателя и сокращает наработку на отказ.
В то же время, постоянные магниты не нуждаются в электрическом питании,
поэтому при их применении отсутствует надобность в токосъемном узле для ротора.
В применении постоянных магнитов для возбуждения электродвигателей есть
своя специфичность. Так, двигатель постоянного тока на таких магнитах может
иметь только одну электромеханическую характеристику, схожую с характеристикой
ДПТ независимого возбуждения.
Помимо этого, для ДПТ с возбуждением на постоянных магнитах отсутствует
возможность регулирования по цепи. Этому есть объяснение: ведь отсутствует цепь
возбуждения, как таковая.
Похожая проблема характерна и для синхронных двигателей с возбуждением на
постоянных магнитах. В этих машинах уже нельзя регулировать коэффициент
мощности по цепи. Это означает, что данные синхронные двигатели запрещается или
затруднительно применять ради компенсации реактивной мощности.
Проблема эксплуатации электрических машин с возбуждением на постоянных
магнитах в влиянии размагничивающей реакции якоря. Магнитное поле, оказывающее
влияние на эффективность возбуждения, создается током якоря.
При применении для возбуждения постоянных магнитов эта проблема не имеет
конкретного решения, хотя в синхронных двигателях это решается включением цепи
в работу лишь на подсихронной скорости, а в обычных ДПТ установкой
дополнительных компенсационных обмоток.
Для снижения влияния реакции якоря применяются магниты тангенциальной или
даже кольцевой конструкции, при условии что число пар полюсов ДПТ с
возбуждением на постоянных магнитах равно двум. Эффект размагничивания
уменьшается большим размером магнитов в направлении силовых линий поля .
С этой целью постоянные магниты радиальной конструкции с полюсными
наконечниками из магнитотвердого материала применяются при большем числе пар
полюсов.
Размеры постоянных магнитов делаются как можно большими, тогда как
расстояния между соседними полюсами постоянных магнитов делаются как можно
меньшими для уменьшения размагничивающей реакции якоря в синхронных двигателях.
Полностью проблему эти меры не решают.
Постоянные магниты весьма востребованы для применения в цепях возбуждения
маломощных электродвигателей, в которых размагничивающее влияние реакции якоря
не является критичным, невзирая на отмеченные недостатки.
.4 Выбор и расчёт основных параметров электродвигателя
Исходные данные
· полезная мощность на валу - 60 Вт;
· номинальное напряжение - 12 В,
· минимальное - 11 В,
· максимальное - 14,3 В;
· частота вращения - 2500 об/мин;
· возбуждение - от постоянных магнитов;
· режим работы - продолжительный;
· исполнение - закрытое.
Основные параметры электродвигателя
Для того, чтобы произвести предварительные расчёта, необходимо задаться
значением КПД. Для электродвигателя МЭ-255, наиболее широко применяющегося для
привода вентилятора отопителя, значение составляет:
η = UНОМ · IНОМ / Р2 (1)
где UНОМ - номинальное напряжение питания электродвигателя, В;НОМ -
номинальный ток, А;
Р2 - мощность, развиваемая двигателем на валу, Вт;
Η - коэффициент полезного действия
электродвигателя.
η = UНОМ · IНОМ / Р2 = 12 · 5 / 20 =
0,33
Мощность проектируемого двигателя составляет 60 Ватт. Так как с ростом
мощности увеличивается КПД, принимаем η = 0,5.
Сила тока в якоре:
(2)
где a - сила тока в якоре, А;- минимальное значение питающего
напряжения, В.
Принимаем
коэффициент, учитывающий падение напряжения в цепи якоря КЕ = 0,8. ЭДС в
обмотке якоря:
(3)
Где Umax - максимальное значение питающего напряжения, В.
Расчётная
электромагнитная мощность:
(4)
.
Задаёмся
величиной линейной нагрузки А = 7000 А/м. Принимаем коэффициент полюсного
перектытия αδ = 0,65 и индукцию в воздушном зазоре B'δ = 0,28 Тл.
Машинная
постоянная:
(5)
.
Диаметр
якоря:
(6)
Где P' - расчётная электромагнитная мощность, Вт;- частота вращения вала,
об/мин.
.
Принимаем
стандартное значение 0,063 м.
Длина
пакета якоря:
(7)
Где ξ - относительная длина активных и лобовых частей обмотки.
.
Полюсное
деление:
(8)
Где p - число пар полюсов. Принимаем его равным 2.
.
Расчётная
длина дуги магнита:
(9)
.
Магнитный
поток в воздушном зазоре:
(10)
.
Обмотка
якоря
Выбираем
простую волновую обмотку. Число параллельных ветвей обмотки 2а = 2, 2р = 4.
Число
активных проводников обмотки якоря:
(11)
.
Принимаем
N' = 240.
Число
пазов якоря:
.
Принимаем
Za = 16.
Число
проводников в пазу:
.
Шаг
обмотки по коллектору и результирующий шаг y = yk = 1.
Первый
частичный шаг:
.
Второй
частичный шаг:
у2
= у1 - у = 4 - 1 = 3.
Принимаем
плотность тока в обмотке якоря ja = 5 106 А/м2.
Сечение
провода обмотки якоря:
.
Выбираем
провод ПЭТВ сечением
. Номинальный диаметр неизолированного провода d =1,18
· 10-3 м. Диаметр изолированного провода (среднее значение) dиз =1,24 · 10-3 м.
Коллектор,
щетки
Число
коллекторных пластин К = Za= 16.
Диаметр
коллектора:=(0,4...0,5) Da = 0,43 · 0,063 =0,027 м.
Коллекторное
деление:
.
Расстояние
между ламелями βз = 0,0003...0,0004 = 0,00035 м.
Ширина
коллекторной пластины:
βk = t - βз = 0,00529 - 0,00035 = 0,00494 м.
Ширина
щетки:
вщ
= (1...3) / βk= 2.0,00494 = 0,00988 м.
Длина
щетки
ащ=
вщ = 0,00988 м.
Выбираем
щетки марки 960 с размерами вщ = 7 · 10-3 м и ащ= 7,5.10 · 10-3 м.
Площадь
щетки:щ= ащ · вщ = 0,0075 · 0,007= 52,5 · 10-6 м2 .
Плотность
тока под щеткой:
.
Длина
коллектора:= 1,5ащ = 1,5 · 0,0075 = 0,01125 м.
Ширина
зоны коммутации:
.
.
Условия
благоприятной коммутации:
,
.
Пазы
якоря
Выбираем
грушевидный паз. Ширина прорези: апр = 2,5 · 10-3 м.
Высота
прорези паза hпр = 1,5 · 10-3 м.
Зубцовое
деление по наружному диаметру якоря:
.
Принимаем
допустимую максимальную индукцию в зубце Вzmax =1,3 Тл.
Минимальное
сечение зубца (в среднем сечении):
, где Кст
= 0,98.
Высота
паза:п = 0,25Dа = 0,25 · 0,063 =0,0158 м.
Диаметр
якоря в верхнем сечении паза:
.
Диаметр
якоря в среднем сечении паза:
.
Диаметр
якоря в нижнем сечении паза:
.
Паз строится в виде трапеции. Методом подбора находим радиусы сопряжений
r1 = 0,002 м и r2 = 0,002 м. Диаметр якоря, соответствующий центрам окружностей
сопряжений в верхней части паза:
.
Диаметр
якоря, соответствующий центрам окружностей сопряжений в нижней части паза:
.
Площадь
паза:
,
+
+
.
Расчёт
рабочих характеристик электродвигателя
При
расчете рабочих характеристик задаемся несколькими значениями силы тока в якоре
и в таблицу 1 сводим результаты расчета.
Падение
напряжения в обмотке якоря:
ЭДС
в обмотке якоря:
Частота
вращения вала электродвигателя:
.
Электрические
потери в меди якоря:
.
Электрические
потери в щетках:
.
Электрические
потери в электродвигателе:
.
Масса
стали сердечника якоря:
.
Масса
коллектора:
.
Масса
стали зубцов якоря
.
Масса
меди обмотки якоря:
.
Масса
якоря:
.
Частота
перемагничивания стали:
.
Удельные
потери в стали якоря (сердечника):
.
Потери
мощности на трение в подшипниках:
.
Механические
потери на трение якоря о воздух:
.
Суммарные
механические потери:
.
Суммарные
потери мощности в электродвигателе:
.
Подведённая
к электродвигателю мощность:
.
Полезная
мощность на валу:
.
КПД
при номинальной нагрузке:
.
Вращающий
момент на валу электродвигателя:
.
Таблица
1 - Результаты расчёта рабочих характеристик
|
Параметры
|
Ед. изм
|
Значения
|
|
Ia
|
А
|
7,35
|
8,18
|
8,70
|
9,90
|
10,91
|
|
ΔUa
|
В
|
0,83
|
0,92
|
1,03
|
1,09
|
1,24
|
1,37
|
|
ΔUa + ΔUщ
|
В
|
1,10
|
1,22
|
1,36
|
1,44
|
1,64
|
1,81
|
|
Ea
|
В
|
9,90
|
9,78
|
9,64
|
9,56
|
9,36
|
9,19
|
|
n
|
мин-1
|
2 694
|
2 661
|
2 623
|
2 600
|
2 545
|
2 500
|
|
ΔPma
|
Вт
|
4,48
|
5,55
|
6,87
|
7,78
|
10,07
|
12,22
|
|
ΔPщ
|
Вт
|
2,47
|
2,75
|
3,05
|
3,25
|
3,70
|
4,07
|
|
ΔPэл
|
Вт
|
5,37
|
6,66
|
8,24
|
9,33
|
12,09
|
14,66
|
|
Δf
|
Вт
|
89,81
|
88,68
|
87,44
|
86,65
|
84,85
|
83,33
|
|
ΔPа
|
Вт/кг
|
18,37
|
18,01
|
17,62
|
17,37
|
16,81
|
16,35
|
|
ΔPса
|
Вт
|
0,38
|
0,37
|
0,37
|
0,36
|
0,35
|
0,34
|
|
ΔPz
|
Вт/кг
|
18,55
|
18,19
|
17,80
|
17,55
|
16,98
|
16,52
|
|
ΔPza
|
Вт
|
5,80
|
5,68
|
5,56
|
5,48
|
5,31
|
5,16
|
|
ΔPc
|
Вт
|
6,38
|
6,25
|
6,12
|
6,03
|
5,84
|
5,68
|
|
ΔPщ
|
Вт
|
2,62
|
2,57
|
2,52
|
2,48
|
2,40
|
2,33
|
|
ΔPn
|
Вт
|
6,55
|
6,47
|
6,38
|
6,32
|
6,19
|
6,08
|
|
ΔPв
|
Вт
|
0,61
|
0,59
|
0,57
|
0,55
|
0,52
|
0,49
|
|
ΔPм
|
Вт
|
9,79
|
9,63
|
9,46
|
9,36
|
9,11
|
8,90
|
|
ΔP
|
Вт
|
42,02
|
41,29
|
40,50
|
39,99
|
38,85
|
37,88
|
|
P1
|
Вт
|
72,63
|
80,89
|
89,97
|
95,74
|
108,95
|
120,01
|
|
P2
|
Вт
|
30,61
|
39,59
|
49,47
|
55,75
|
70,10
|
82,13
|
|
КПД
|
|
0,42
|
0,49
|
0,55
|
0,58
|
0,64
|
0,68
|
|
М
|
Н·м·10-3
|
108,48
|
142,11
|
180,08
|
204,80
|
262,99
|
313,70
|
2.
Технологическая часть
В данной части дипломного проекта по известным конструкторским размерам
детали рассчитывается параметры заготовки детали получаемой ГКМ. Далее
разрабатывается технологический процесс механической обработки. Исходя из технологического
процесса и теории линейных цепей строится совмещенная схема, граф и
составляются уравнение линейных технологических размеров. После определения
линейных размеров выполняется нормирование операций механической обработки. Тип
производства - серийный. Признаком серийного производства является производство
изделий партиями с определенной периодического при групповой форме организаций.
.1 Выбор и обоснование технологического процесса
Экономичность варианта технологического процесса можно определить путем
сравнения сопоставимых затрат, которые составляют технологическую
себестоимость. Сравнение вариантов технологических процессов осуществляется
несколькими методами. На основании сравнения вариантов был выбран самый
выгодный и эффективный технологический процесс.
Порядок разработки технологического процесса существует на каждом
предприятии. Качество изготавливаемой детали задается техническими
требованиями, которые определены рабочим чертежом детали. Рабочий чертеж детали
является основным исходным документом при разработке технологического процесса
изготовления детали. Он должен содержать все данные, необходимые для
изготовления детали.
При порядке разработки технологического процесса изготовления необходимо
знать условия работы детали в собранном узле, проанализировать нагрузки,
воздействию которых подвергают деталь, выявить предъявляемые к ней требования и
знать, как ориентируется деталь в собранном узле относительно других деталей.
Минимальную стоимость изготовления якоря при обеспечении заданного
количества и качества выявляем путем экономического сравнения вариантов и
выбором наиболее экономичного варианта.
В современных электрических машинах обмотки располагаются по окружности
якоря, ротора или статора и закладываются в специальные канавки, которые носят
название пазов. Пазы равномерно распределены по окружности и отделены один от
другого выступающими
частями, которые носят название зубцов. Якорем называется вращающаяся часть
машин постоянного тока.
Данный технический результат достигается в якоре коллекторного моментного
двигателя постоянного тока, содержащем макет с обмоткой и коллектор с медными
пластинами, тем, что на медных пластинах коллектора выполнен слой толщиной до
0,01 мм из палладия методом электролитического осаждения. При осуществлении
способа изготовления якоря коллекторного моментного двигателя постоянного тока
путем сборки пакета, выполнения обмотки, сборки пакета с коллектором согласно
изобретению якорь пропитывают эпоксидной смолой, полимеризуют ее, покрывают
поверхность пакета эластичной эмалью, подсоединяют медные пластины коллектора к
катоду гальванической ванны палладирования, содержащей электролит с показателем
кислотности рН величиной 8-10 и концентрацией металлического палладия до 10
г/л, подают постоянный ток плотностью до 0,5 А/дм2 применительно к покрываемой
поверхности медных пластин и выдерживают режим до получения слоя благородного
металла из палладия толщиной до 0,01 мм. Толщину данного слоя определяют по
изменению массы пробной детали, погруженной в электролит одновременно с якорем.
Путем пропитки якоря эпоксидной смолой под вакуумом при повышенной
температуре окружающей среды или анатермом при атмосферном давлении и
температуре не менее +80oС, полимеризации эпоксидной смолы или анатерма
посредством выдержки при повышенной температуре окружающей среды, механической
обработки поверхности коллектора путем тонкого съема материала, покрытия
поверхности пакета эластичной эмалью с последующей просушкой на воздухе
обеспечивается защита якоря от проникновения в его поры материалов электролита.
Тем самым после операции электролитического осаждения палладия обеспечивается
работоспособность якоря, так как сохраняется высокая величина сопротивления
изоляции медных пластин коллектора за счет исключения попадания в его поры
материалов электролита.
Целью процесс является упрощение конструкции и повышение её
технологичности. При напрессовке каждой последующей пластины подачу вала
уменьшают на величину толщины пластины. После набора необходимого количества
пластин, определяемого дозирующим устройством, пакет смещают вдоль вала до
места его рабочего положения. Таким образом, изобретение позволяет повысить
качество сборки якоря путем устранения деформации вала.
Технология изготовления следующая(Рисунок 3.2). На вал якоря
устанавливают пакет железа. Затем устанавливают коллектор с пластинами, залитый
изоляционным материалом, и крепежное кольцо из изоляционного
материала(например, пластмассы), расположенное со стороны пакета железа.
Крепежное кольцо имеет торцовые выступы по числу пластин, которые должны быть
обращены в сторону свободного кольца коллектора и располагаться по центру
каждой пластины. При намотке обмоток концы их заводят под каждый выступ,
размещая между внутренней поверхностью и пластиной у торцовой поверхности
крепежного кольца(Рисунок 3.2). Затем с помощью обжимного кольца выступы
загибают. При этом происходит фиксация концов обмоток при положении к пластинам
в радиальном направлении. Кроме того обжимное кольцо выполнено с конической
внутренней поверхностью, что при опрессовке обеспечивает загибку выступов, а на
наружной поверхности концов упругих выступов крепежного кольца выполнены
выступы, которые после опрессовки образуют замок с торцовой поверхностью
обжимного кольца, препятствуя соскакиванию его с крепежного кольца в сторону
свободного торца коллектора. После опрессовки якорь электродвигателя принимает
окончательный вид, как показано на Рисунке 3.1.
Предложенная конструкция якоря упрощает технологию изготовления.
Упрощение заключается в том, что отпадает необходимость в изготовлении
крючкового коллектора, благодаря ему снижается трудоемкость и расход материала.
Упрощается также процесс крепления концов обмоток якоря из-за одновременного их
зажима. Кроме того, повышается ремонтоспособность якорей электродвигателя.
Техническо-экономические преимущества обеспечиваются за счёт повышения
производительности изготовления якорей и исключения промежуточных
технологических операций.\
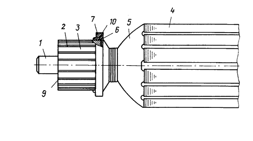
Рисунок 3.1 - окончательный вид якоря двигателя постоянного тока: 1 вал
якоря; 2 - коллектор; 3 - пластины; 4 -пакет железа; 5 - обмотка; 6 -
заслонка;7 -крепежное кольцо; 8 -торцовые выступы; 9 -свободное кольцо;
10-обжимное кольцо
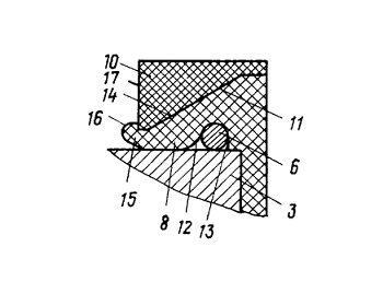
Рисунок 3.2 -вид якоря двигателя постоянного тока в процессе
изготовления: 3 - пластины; 6 - заслонка; 8 -торцовые выступы; 10-обжимное
кольцо; 11 - наружная поверхность; 12-внутренняя поверхность;13-торцовая
поверхность; 14 - коническая внутренняя поверхность; 15 - концы; 16 - выступы;
17 - торцовая поверхность обжимного кольца.
.2 Маршрутная технология изготовления
|
№ опер.
|
Наименование и содержание
операции
|
Эскиз операции
|
Оборудование
|
|
000
|
Заготовительная: правка
листового и профильного проката, разметку и наметку, раскрой проката,
обработку кромок и торцов, гибочные и вальцовочные работы.
|
|
|
|
010
|
Токарная: после установки и
закрепления, подрезание торцов.
|
|
Токарно-револьверный станок
|
|
020
|
Токарная: обточка
поверхности, выдерживая размеры.
|
|
Токарно-револьверный станок
|
|
030
|
Сверлильная: Включает в
себя сверление отверстий
|
|
Вертикально-сверлильный
станок
|
|
040
|
Токарная: обточка
поверхности, выдерживая размеры.
|
|
Токарно-револьверный станок
|
|
050
|
Токарная: обточка
поверхности, выдерживая размеры.
|
|
Токарно-револьверный станок
|
|
060
|
Зенкерование: обработка
готовых отверстий после сверления для получения отверстий большой точности и
низкой шероховатости.
|
|
Сверлильный станок;
зенкер.
|
|
070
|
Шлифовальная: Придание
рабочей поверхности детали правильной геометрической формы и получение
необходимой шероховатости.
|
|
Шлифовальный станок.
|
|
080
|
Шлифовальная Придание
рабочей поверхности детали правильной геометрической формы и получение
необходимой шероховатости.
|
|
Шлифовальный станок.
|
|
090
|
Промывка
|
|
|
|
100
|
Контроль
|
|
|
2.3 Принцип работы, конструкция и состав автоматизированной линии сборки
Особенности проектирования технологических процессов в условиях
автоматизированного производства.
Основой автоматизации производства являются технологические процессы
(ТП), которые должны обеспечивать высокую производительность, надежность,
качество и эффективность изготовления изделий.
Характерной особенностью ТП обработки и сборки является строгая
ориентация деталей и инструмента относительно друг друга в рабочем процессе
(первый класс процессов). Термообработка, сушка, окраска и прочее в отличие от
обработки и сборки не требуют строгой ориентации детали (второй класс
процессов).
ТП классифицируют по непрерывности на дискретные и непрерывные.
Разработка ТП АП по сравнению с технологией неавтоматизированного
производства имеет свою специфику:
.Автоматизированные ТП включают не только разнородные операции
механической обработки резанием, но и обработку давлением, термообработку,
сборку, контроль, упаковку, а также транспортно-складские и другие операции.
.Требования к гибкости и автоматизации производственных процессов диктуют
необходимость комплексной и детальной проработки технологии, тщательного
анализа объектов производства, проработки маршрутной и операционной технологии,
обеспечения надежности и гибкости процесса изготовления изделий с заданным
качеством.
. При широкой номенклатуре изделий технологические решения
многовариантны.
. Возрастает степень интеграции работ, выполняемых различными
технологическими подразделениями.
Основные принципы построения технологии механообработки в АПС
. Принцип завершенности . Следует стремиться к выполнению всех операций в
пределах одной АПС без промежуточной передачи полуфабрикатов в другие
подразделения или вспомогательные отделения.
. Принцип малооперационной технологии. Формирование ТП с максимально
возможным укрупнением операций, с минимальным числом операций и установок в
операциях.
. Принцип «малолюдной» технологии. Обеспечение автоматической работы АПС
в пределах всего производственного цикла.
. Принцип «безотладочной» технологии . Разработка ТП, не требующих
отладки на рабочих позициях.
. Принцип активно-управляемой технологии. Организация управления ТП и
коррекция проектных решений на основе рабочей информации о ходе ТП. Корректироваться
могут как технологические параметры, формируемые на этапе управления, так и
исходные параметры технологической подготовки производства (ТПП).
. Принцип оптимальности . Принятие решения на каждом этапе ТПП и
управления ТП на основе единого критерия оптимальности.
Помимо рассмотренных для технологии АПС характерны и др. принципы:
компьютерной технологии, информационной обеспеченности, интеграции, безбумажной
документации, групповой технологии.
. Типовые и групповые ТП
Типизация технологических процессов для сходных по конфигурации и
технологическим особенностям групп деталей предусматривает их изготовление по
одинаковым ТП, основанным на применении наиболее совершенных методов обработки
и обеспечивающим достижение наивысшей производительности, экономичности и
качества. Основа типизации - правила обработки отдельных элементарных
поверхностей и правила назначения очередности обработки этих поверхностей.
Типовые ТП находят применение, главным образом, в крупносерийном и массовом
производстве.
Принцип групповой технологии лежит в основе технологии переналаживаемого
производства - мелко- и среднесерийного. В отличие от типизации ТП при
групповой технологии общим признаком является общность обрабатываемых
поверхностей и их сочетаний. Поэтому групповые методы обработки характерны для
обработки деталей с широкой номенклатурой.
И типизация ТП, и метод групповой технологии являются основными
направлениями унификации технологических решений, повышающей эффективность
производства.
Классификация деталей
Классификацию производят в целях определения групп технологически
однородных деталей для их совместной обработки в условиях группового
производства. Выполняют ее в два этапа: первичная классификация, т. е.
кодирование деталей обследуемого производства по конструктивно-технологическим
признакам; вторичная классификация, т. е. группирование деталей с одинаковыми
или несущественно отличающимися признаками классификации.
При классификации деталей нужно учитывать следующие признаки:
конструктивные - габаритные размеры, массу, материал, вид обработки и
заготовки; число операций обработки; точностные и другие показатели.
Группирование деталей выполняют в такой последовательности: выбор
совокупности деталей на уровне классов, например тела вращения для
механообрабатывающего производства; выбор совокупности деталей на уровне
подкласса, например детали типа вала; классификация деталей по комбинации
поверхностей, например валы с комбинацией гладких цилиндрических поверхностей;
группирование по габаритным размерам с выделением областей с максимальной
плотностью распределения размеров; определение по диаграмме областей с
наибольшим числом наименований деталей.
Технологичность конструкций изделий для условий АП
Конструкция изделия считается технологичной, если для его изготовления и
эксплуатации требуются минимальные затраты материалов, времени и средств.
Оценка технологичности проводится по качественным и количественным критериям
отдельно для заготовок, обрабатываемых деталей, сборочных единиц.
Детали, подлежащие обработке в АП, должны быть технологичны, т. е. просты
по форме, габаритам, состоять из стандартных поверхностей и иметь максимальный
коэффициент использования материала.
Детали, подлежащие сборке, должны иметь как можно больше стандартных
поверхностей соединений, простейших элементов ориентации сборочных единиц и
деталей.
. Особенности проектирования технологических процессов изготовления
деталей на автоматических линиях и станках с ЧПУ
Автоматическая линия - это непрерывно действующий комплекс
взаимосвязанного оборудования и системы управления, где необходима полная
временная синхронизация операций и переходов. Наиболее эффективными методами
синхронизации являются концентрация и дифференциация ТП.
Дифференциация технологического процесса, упрощение и синхронизация
переходов - необходимые условия надежности и производительности. Чрезмерная
дифференциация приводит к усложнению обслуживающего оборудования, увеличению
площадей и объема обслуживания. Целесообразная концентрация операций и
переходов, не снижая практически производительность, может быть осуществлена
путем агрегатирования, применением многоинструментальных наладок.
Для синхронизации работы в автоматической линии (АЛ) определяется
лимитирующий инструмент, лимитирующий станок и лимитирующий участок, по которым
устанавливается реальный такт выпуска АЛ (мин) по формуле
где Ф - действительный фонд работы оборудования, ч; N -программа выпуска,
шт.
Для обеспечения высокой надежности АЛ разделяют на участки, которые
связаны друг с другом через накопители, осуществляющие так называемую гибкую
связь между участками, обеспечивая независимую работу смежных участков в случае
отказа на одном из них. Внутри участка сохраняется жесткая связь. Для
оборудования с жесткой связью важно планировать время и длительность плановых
остановок.
Станки с ЧПУ дают высокую точность и качество изделий и могут
использоваться при обработке сложных деталей с точными ступенчатыми или
криволинейными контурами. При этом снижается себестоимость обработки,
квалификация и число обслуживающего персонала. Особенности обработки деталей на
станках с ЧПУ определяются особенностями самих станков и в первую очередь их
системами ЧПУ, которые обеспечивают:
)сокращение времени наладки и переналадки оборудования; 2)увеличение
сложности циклов обработки; 3) возможность реализации ходов цикла со сложной
криволинейной траекторией; 4) возможность унификации систем управления (СУ)
станков с СУ другого оборудования; 5) возможность использования ЭВМ для
управления станками с ЧПУ, входящими в состав АПС.
Основные требования к технологии и организации механической обработки в
переналаживаемых АПС на примере изготовления основных типовых деталей
Для разработки технологии в АПС характерен комплексный подход - детальная
проработка не только основных, но и вспомогательных операций и переходов,
включая транспортировку изделий, их контроль, складирование, испытания,
упаковку.
Для стабилизации и повышения надежности обработки применяют два основных
метода построения ТП:
)использование оборудования, обеспечивающего надежную обработку почти без
участия оператора;
)регулирование параметров ТП на основе контроля изделий в ходе самого
процесса.
Для повышения гибкости и эффективности в АПС используют принцип групповой
технологии.
. Особенности разработки ТП автоматизированной и роботизированной сборки
Автоматизированная сборка изделий выполняется на сборочных автоматах и
АЛ. Важным условием разработки рационального ТП автоматизированной сборки
является унификация и нормализация соединений, т. е. приведение их к
определенной номенклатуре видов и точностей.
Главным отличием роботизированного производства является замена сборщиков
сборочными роботами и выполнение контроля контрольными роботами или
автоматическими контрольными устройствами.
Роботизированная сборка должна выполняться по принципу полной
взаимозаменяемости или (реже) по принципу групповой взаимозаменяемости.
Исключается возможность подгонки, регулировки.
Выполнение операций сборки должно проходить от простого к сложному. В
зависимости от сложности и габаритов изделий выбирают форму организации сборки:
стационарную или конвейерную. Состав РТК - это сборочное оборудование и
приспособления, транспортная система, операционные сборочные роботы,
контрольные роботы, система управления.
При разработке ТП сборки в РТК предпочтительна высокая концентрация
операций, определяющая модели роботов, их функции, точность, оперативность,
быстродействие. Особенно важно уточнить временные связи элементов РТК, так как
и они могут определить операционные возможности, модели и количество сборочных
промышленных роботов (ПР). С этой целью возможно построение циклограммы как
отдельных роботизированных рабочих мест и ПР, так и всего РТК в целом.
Обучаемые роботы - это роботы, которые могут приспосабливаться к
различным случайным факторам, сопровождающим запрограммированную работу. Эта
приспособляемость выражается в корректировке своей же программы на основе
полученного «опыта» - результатов анализа и классификации возникающих
отклонений и методов их устранения.
. Производительность АС
Эффективность автоматизации определяется, прежде всего, экономической
эффективностью, а также взаимосвязью технических и экономических показателей
производства. Производительность труда и коэффициент роста производительности
труда являются обобщенными показателями автоматизированного производства (АП).
Методы расчета и оценки производительности автоматизированных систем
Производительность определяется числом годных деталей, изделий,
комплектов, выпускаемых машиной в единицу времени. Время обработки детали
машиной является величиной, обратной производительности.
При расчете, анализе и оценке производительности автоматизированного
оборудования с учетом разных видов затрат времени используют четыре вида ее
показателей.
. Технологическая производительность К - максимальная теоретическая
производительность при условии бесперебойной работы машины и обеспечения ее
всем необходимым:
.
. Цикловая производительность Q ц - теоретическая производительность
машины с реальными холостыми и вспомогательными ходами и при отсутствии
простоев (Σt пр = 0):
,
. Техническая производительность Q т - теоретическая производительность
машины с реальными холостыми ходами и учетом ее собственных простоев Σt c , связанных с выходом из строя
инструментов, приспособлений, оборудования, т.е. при условии t х > 0, t всп
> 0 и Σt с > 0:
.
. Фактическая производительность Q ф - производительность, учитывающая
все виды потерь:
.
Чем чаще и длительнее простои, тем ниже производительность.
Производительность автоматических линий с разным агрегатированием
На однопоточных линиях последовательного агрегатирования концентрируют
разноименные операции ТП, последовательно выполняемые для каждого изделия.
Такие линии могут иметь жесткую межагрегатную связь без межоперационных
накопителей заделов или гибкую связь с установкой таких накопителей.
Техническая производительность линии с жесткой связью
где tp - время рабочих ходов цикла, определяемое длительностью обработки
на лимитирующей позиции.
ВАЛ параллельного агрегатирования концентрируют одноименные операции
дифференцированного технологического процесса, выполняемые на р изделиях. За
время рабочего цикла Т ц выдается р изделий, следовательно цикловая
производительность таких линий
.
В условиях массового производства используются две основные модификации
этих линий:
) линии из автоматов дискретного последовательного действия, работающих
параллельно;
) линии из автоматов параллельного действия, работающих последовательно.
Для линий первой модификации техническая производительность
.
Для линий второй модификации техническая производительность
.
Если многопоточная АЛ разделяется на участки-секции по методу равных
потерь, то расчет производительности целесообразно проводить по выпускному
участку
где р - число потоков выпускного участка; Т ц - длительность рабочего
цикла выпускного участка; В - внецикловые потери одной рабочей позиции; q -
число рабочих позиций на выпускном участке; n у - число участков в линии; W -
коэффициент возрастания простоев выпускного участка из-за неполной компенсации
отказов предыдущих участков.
. Надежность в автоматизированном производстве
Надежность - это способность машин и механизмов выполнять заданные
функции, сохраняя во времени значения эксплуатационных показателей в заданных
пределах, соответствующих установленным режимам и условиям использования. Для
автоматизированных систем надежность - это способность к бесперебойному выпуску
годной продукции в установленном программой объеме в течение всего срока
службы.
Основными свойствами машин, определяющими надежность, являются
безотказность, долговечность и ремонтопригодность.
Показатели и методы оценки надежности.
Показатели надежности делятся на частные, которые оценивают безотказность,
ремонтопригодность, долговечность по отдельности, и комплексные (обобщенные),
которые оценивают все три свойства.
Частным показателем безотказности является функция надежности P (t)
где ω(t ) - параметр потока отказов, характеризующий вероятность
возникновения отказов в единицу времени или за рабочий цикл; Т - период
эксплуатации системы.
Технический ресурс R - равен суммарной наработке за весь срок службы Т от
ввода в эксплуатацию до предельного состояния (разрушение, потеря точности):
где t раб i - i - я наработка на отказ; n - число отказов системы за
период T ее эксплуатации; θcpi - среднее время устранения i - го
отказа, определяемое ремонтопригодностью системы.
Н адежность сложных многоэлементных систем
При расчленении сложной системы на отдельные элементы, для каждого из
которых можно определить вероятность безотказной работы, для расчета надежности
широко используют структурные схемы. В этих схемах каждый i - й элемент характеризуется
своей вероятностью Pi безотказной работы в течение заданного периода времени.
Исходя из этих данных, определяют вероятность безотказной работы P (t ) всей
системы.
Вероятность безотказной работы такой системы при независимости отказов
равна произведению вероятностей безотказной работы ее элементов:
.
Для повышения надежности сложных систем можно применять резервирование,
когда при выходе из строя одного из элементов дублер выполняет его функции, и
элемент не прекращает своей работы.
Технологическая надежность оборудования.
Технологическая надежность - это свойство оборудования сохранять значения
показателей, определяющих качество осуществления технологического процесса, в
заданных пределах и во времени.
К показателям качества технологического оборудования относятся его
геометрическая точность, жесткость, виброустойчивость и другие показатели,
которые определяют точность обработки, качество поверхности и физические характеристики
материала обрабатываемой детали. К наиболее действенным методам повышения
технологической надежности оборудования относится метод автоматической
подналадки и саморегулирования его параметров. При реализации этого метода
изменившиеся параметры автоматически восстанавливаются за счет систем
саморегулирования, структура которых зависит от скорости воздействия разных
процессов на параметры оборудования.
. Контроль и диагностика в условиях автоматизированного производства
В основе мер обеспечения надежной работы автоматизированных систем лежит
непрерывный или периодический контроль за ходом технологических процессов,
реализуемых в этих системах. Для реализации этих функций в современном
производстве используются микропроцессоры, лазерные системы и др.
Контроль - это проверка соответствия объекта установленным техническим
требованиям. Под объектом технического контроля понимаются подвергаемая
контролю продукция, процессы ее создания, применения, транспортирования,
хранения, технического обслуживания и ремонта, а также соответствующая
техническая документация.
Следовательно, объектом может быть как продукция, так и процесс ее
создания.
Важным условием эффективной работы в автоматизированном режиме и быстрого
восстановления работоспособности оборудования является его оснащение средствами
диагностики.
Контроль в АП может быть межоперационным (промежуточным), операционным
(непосредственно на станке), послеоперационным, окончательным. Автоматизированному
контролю должны подвергаться все элементы технологической системы: деталь,
режущий инструмент, приспособление, само оборудование. Предпочтительными
являются методы прямого контроля, хотя методы косвенного контроля шире
используются при контроле инструментов, диагностике состояния оборудования.
Контроль в процессе обработки является одной из наиболее активных форм
технического контроля, так как позволяет повысить качество выпускаемой
продукции при одновременном увеличении производительности труда. Поэтому
разрабатываются самонастраивающиеся системы управляющего контроля.
Контроль самонастраивающийся управляющий - это управляющий контроль, при
котором на основе информации, получаемой при изменяющихся условиях работы,
автоматически изменяются параметры настройки средства контроля до обеспечения
заданной точности при произвольно меняющихся внешних и внутренних возмущениях.
Контроль деталей и изделий в автоматизированных системах
Непосредственно на участке механической обработки осуществляют контроль трех
видов:
• установки заготовки в приспособление;
• размера изделия непосредственно на станке;
• выходной контроль детали.
Контроль установки заготовки в приспособление может осуществляться на
конвейере перед станком или на станке непосредственно перед обработкой. В
первом случае могут использоваться датчики положения, расположенные на
конвейере, или специальные измерительные установки с роботами. Бесконтактные
датчики положения регистрируют отклонение действительного положения измеряемой
поверхности от запрограммированного или разность условной базы и измеряемой
поверхности (датчики касания).
К бесконтактным датчикам относятся: оптические измерители; лазерные
датчики; датчики изображения (технического зрения). Выносной контроль заготовок
и деталей в процессе их транспортирования не удлиняет производственного цикла,
однако наиболее оперативным является контроль заготовок и деталей
непосредственно на станке. При небольшом увеличении длительности обработки он
существенно повышает ее качество, активно воздействуя на процесс обработки.
Диагностика технологической системы
Важным условием эффективной эксплуатации в автоматизированном режиме,
быстрого восстановления работоспособности оборудования является оснащение его
средствами диагностики.
Технической диагностикой (ТД) называется процесс определения во времени
технического состояния объекта диагностики (ОД) с определенной точностью в
условиях ограниченной информации.
С помощью ТД решаются следующие задачи:
• определение работоспособности технических устройств;
• определение форм проявления отказов;
• разработка методов локализации, распознавания и прогнозирования скрытых
дефектов без разборки или с нетрудоемкой разборкой технических устройств;
Трудоемкость сборочных работ в машиностроении
составляет примерно 20-50% от общей трудоемкости изготовления изделий. На
машиностроительных заводах из всего объема сборочных работ 60-70% сборочных
операций выполняется вручную, 20-30% механизировано и лишь 7-10% составляют
операции автоматической сборки.
Из мирового опыта известно, что автоматизация
сборочных процессов повышает производительность и качество продукции, улучшает
условия труда рабочих, сокращает число рабочих-сборщиков, потребную площадь
помещений цеха под сборку, себестоимость выпускаемой продукции. Поэтому необходимо
снижать трудоемкость сборочных работ путем автоматизации. Сборочные процессы
отстают от механизации и автоматизации ТП механической обработки деталей.
Применение их малой автоматизации, при которой автоматизируют отдельные
сборочные операции, приводит к облегчению условий труда рабочих, несколько
улучшает качество собираемых изделий, но число рабочих-сборщиков не
уменьшается. Значит выборочная автоматизация дает небольшой эффект.
Высшей ступенью является комплексная автоматизация
всех основных и вспомогательных сборочных работ. При этом автоматизируют все
операции сборки узла или изделия с применением автоматов или линий, выполняющих
ее без участия человека. Функции рабочих-наладчиков сводятся к наблюдению за
правильной работой устройств, под- наладке, загрузке бункеров деталями.
Наибольший технико-экономический эффект при
комплексной автоматизации сборочных процессов получают от применения
автоматических линий для выполнения всего комплекса сборочных операций.
Слабая механизация и автоматизация сборочных процессов
в российском машиностроении объясняется необходимостью больших капитальных и
финансовых затрат на техническое перевооружение предприятий, недостаточной
технологичностью собираемых изделий, отсутствием типовых устройств для
автоматизации сборки, нестабильностью размеров собираемых деталей изделия.
Необходимо учитывать, что хорошо собираемая
конструкция изделия при ручной сборке может оказаться непригодной для ее
перевода на автоматическую. Например, сборка современных газотурбинных двигателей
из-за сложности конструкции, большой номенклатуры собираемых деталей на
современном уровне технологического оборудования не может быть
автоматизирована. Большим препятствием для проведения работ по автоматизации
процессов сборки является необходимость проектирования специальной оснастки и
ее изготовления для каждого завода. Это приводит к трудности изготовления
автоматизированных сборочных устройств и обходится дорого.
При разработке автоматизированных сборочных процессов
конкретного изделия необходимо решить ряд вопросов, таких как выбор
оптимального процесса сборки, обеспечение заданной точности, надежности и
производительности устройств, выбор типа конструкции и размеров сборочной
оснастки, определение требуемого темпа оборудования. Все перечисленные вопросы
не имеют стандартизированных алгоритмов решения и требуют творческого подхода.
Тем не менее можно выделить некоторые общие моменты, характерные для разных
изделий. Например, в период разработки следует уделять должное внимание
использованию типовых и групповых автоматизированных технологических сборочных
процессов. Типовые сборочные процессы применяют в крупносерийном и массовом,
групповые - в серийном производствах. В свою очередь, их внедрение возможно при
условии проведения нормализации, унификации и улучшения технологичности
собираемых узлов.
При проектировании автоматизированных процессов сборки
должны быть разработаны типовые устройства определенного назначения, из которых
можно компоновать различные автоматы и линии. В этом случае значительно сокращаются
трудоемкость и стоимость автоматизированных сборочных устройств и уменьшаются
сроки их внедрения на заводах.
Чтобы успешно автоматизировать серийное производство,
необходимо разработать переналаживаемые сборочные автоматы с различными
системами программного управления. Это, в свою очередь, требует изучения
надежности и отказов в работе автоматического сборочного оборудования на
предприятиях, где оно уже используется, и опыта настройки автоматизированных
устройств.
В массовом производстве ТП сборки основаны на принципе
подвижно-поточной организации, предусматривающей:
• разделение всего ТП сборки на ряд последовательно
выполняемых по времени и выстроенных в пространстве сборочных операций,
осуществляемых в определенном комплексе сборочных работ операторами-сборщиками;
• применение специальных транспортных устройств для
перемещения собираемых узлов между сборочными устройствами и обеспечения
заданного темпа сборки;
• применение специальных транспортных устройств для
подачи деталей и узлов к главному сборочному конвейеру для сборки изделий;
• использование специального и унифицированного
инструмента и приспособлений для механизации и автоматизации процесса;
• механическую обработку деталей и сборку узлов
изделий в механосборочных цехах.
При такой организации производства поточная сборка
всех изделий на главном сборочном конвейере выполняется из готовых собранных
узлов и агрегатов, соединяемых между собой крепежными деталями.
Разделение сборки изделий в массовом производстве на
подузловую, узловую и общую позволяет на всех этапах применять поточную сборку
в основном на подвижных транспортных устройствах (конвейерах).
Сборочные конвейеры по виду работ разделяются на
конвейеры периодического (пульсирующего) и непрерывного движения. Первые
периодически перемещают собираемые узлы или изделия между рабочими сборочными
местами через определенные промежутки времени, равные темпу сборки. Вторые
движутся непрерывно и широко применяются в массовом производстве.
Вид сборочных конвейеров и их конструкцию выбирают в
зависимости от конструкции собираемых узлов или изделий и заданной программы
выпуска. В массовом производстве автоматизацию отдельных операций проводят
путем оснащения их механизированным сборочным инструментом, электро- и
пневмоподъемниками, специальными механизмами и устройствами для запрессовки,
клепки, пайки, сварки, окраски и контроля собранного узла. Автоматизируют
сборку как простых, так и сложных узлов.
В зависимости от вида сборки специальные стенды с
пневматическими и эксцентриковыми прессами применяют для запрессовки на валики
шестерен, втулок. Типовые схемы автоматических и полуавтоматических сборочных
агрегатов для автоматической и полуавтоматической сборки. Сборочное
оборудование и технологическая оснастка могут иметь различную степень автоматизации.
Оборудование, на котором можно автоматически выполнять все приемы процесса
сборки, например, выдачу деталей, их перемещение, ориентирование, соединение и
в отдельных случаях закрепление, называют сборочным автоматом. Процесс
автоматизированной сборки может проводиться на одной или нескольких рабочих
позициях сборочного агрегата (автомата), или автоматической сборочной линии,
состоящей из отдельных агрегатов. Оборудование, на котором только часть приемов
сборочного процесса выполняется автоматически, а остальные вручную, называют
сборочным полуавтоматом. Изучение конструкций автоматического сборочного
оборудования показывает, что оно имеет типовые узлы. Рассмотрим типовую схему
сборочного устройства, представляющего собой однопозиционный сборочный автомат
(рис. 22.1). Он состоит из автоматического бункерного или магазинного
устройства 1, в котором находится запас собираемых деталей. Из бункера детали
по одной штуке в ориентированном положении поступают в лоток 2. Пройдя его, они
поступают в магазин 4, служащий для хранения небольшого запаса деталей и
бесперебойной подачи их в питатель. Питатель 3 подает детали из магазина 4 на
сборочную позицию5 в ориентированном виде с заданным ритмом. На сборочной
позиции 5 до момента сопряжения детали удерживаются в заданном положении
специальным устройством 7. В зависимости от вида соединений на сборочной
позиции 5 могут быть установлены механизмы 6 для закрепления деталей: пресс,
сварочный аппарат и т.д. Собранные узлы с позиции 5 перемещаются специальным
механизмом разгрузки (на рис. 22.1 отсутствует). В конструкцию сборочного
автомата входит система, управляющая работой его узлов. Она может быть встроена
в автомат или дана на отдельном пульте управления. При многопозиционной
автоматизированной сборке в состав оборудования входит механизм для перемещения
узла между всеми сборочными позициями.
Рис. 2.2.1. Схема компоновки однопознционного
сборочного автомата: 1 - бункер; 2 - лоток; 3 - питатель; 4 - магазин; 5 -
сборочная позиция; 6 - механизмы крепления; 7 - устройство ориентации
В настоящее время для автоматизации ТП сборки
применяют следующие типы сборочного оборудования.
. Однопозиционные сборочные полуавтоматы для сборки
несложных узлов, состоящих из небольшого числа деталей. Базовую деталь и часть
деталей, трудно поддающихся автоматической ориентации, устанавливают на
сборочную позицию вручную. Остальные подаются из бункеров и устанавливаются на
узел автоматически в заданной последовательности. Собранный узел снимается
автоматическим выталкивающим устройством или вручную.
. Однопозиционные сборочные автоматы, в которых
собираемые детали подаются из бункеров на позицию сборки узла автоматически.
Собранный узел со сборочной позиции удаляется также автоматически. Это
оборудование можно встраивать в автоматические сборочные линии.
. Многопозиционные сборочные полуавтоматы применяют
для сборки более сложных узлов с относительно большим числом переходов и
приемов сборки. Они имеют поворотный стол, на позициях которого установлены
сборочные приспособления для закрепления деталей собираемого узла. Стол через
определенный промежуток времени поворачивается делительным устройством на
заданный угол в зависимости от числа позиций. Базовую деталь, а также детали,
которые из бункера трудно подать па какую-то сборочную позицию автоматически,
устанавливают в приспособлении вручную. На рис. 22.2 дана схема работы
сборочного полуавтомата с круглым столом, на позициях 2, 3, 4, 5, 8, 9 которого
закреплены приспособления для сборки подузла. Простые узлы собирают на
полуавтоматах данного типа за один оборот стола.
Рис. 2.2.2. Примерная схема сборки подузлов на
полуавтомате: 1 - позиция для ручной загрузки базовой детали подузла; 2, 3, 4,
5, 8, 9 - сборочные позиции, на которых подача деталей из бункеров и сборка
проводятся автоматически; 6, 10 - позиции для ручной сборки; 7 - позиция для
автоматического контроля сборки; 11 - позиция для автоматической продувки и
смазки; 12 - позиция для автоматического съема собранного узла
Многопозиционные сборочные автоматы применяют для
сборки узлов средней сложности. Все детали на позиции подаются из бункерных или
магазинных загрузочных устройств автоматически. Собранный узел с последней
позиции снимается автоматически.
Схема работы многопозиционного сборочного автомата с
круглым столом приведена на рис. 22.3. На позициях 1, 2, 3, 4, 6, 7, 8, 9
автоматически собирается узел, детали на сборочные позиции подаются
автоматическими устройствами; на позициях 5 и 11 проводится автоматический
контроль, на позиции 10осуществляется продувка деталей, позиция 12 служит для
выгрузки.
Автоматические и полуавтоматические линии применяют
для сборки более сложных узлов или изделий. Используют схемы как с линейным
расположением, так и замкнутым контуром сборочного оборудования (рис. 22.4). В
состав автоматических линий входит универсальное или специальное
полуавтоматическое или автоматическое оборудование. Собираемые узлы или изделия
устанавливают и закрепляют в приспособлениях-спутниках, соединенных замкнутой
цепью, и периодически через определенное время они перемещаются между
сборочными позициями. В начале линии проводится установка базовой детали, в
конце - съем готового узла. Нижняя ветвь замкнутой цепи возвращает спутники на
сборочные позиции.
Рис. 2.2.3. Процесс сборки подузлов, узлов на
многопозиционных сборочных автоматах: 1-4, 6-9 - позиции автоматической сборки
узла, на которые детали подаются автоматическими устройствами; 5, 11 позиции
автоматического контроля; 10 - позиция продувки; 12 - позиция выгрузки
Рис. 2.2.4. Схемы сборки узлов на автоматической или
полуавтоматической линии: а - с линейным размещением сборочного оборудования: 1
- позиция ручной загрузки; 2-11 - позиции автоматической сборки узла; б - с
замкнутым размещением оборудования: 1 - позиция ручной загрузки; 2-4, 6, 7 -
позиции автоматической сборки с автоматической подачей деталей из бункеров; 5,
8 - позиции ручной сборки;9 позиция продувки; 10 - позиция контроля; 11 -
позиция смазки; 12 - позиция разгрузки собранного узла
Полуавтоматические сборочные линии с шаговым штанговым
транспортером применяют для сборки крупных узлов или изделий (рис. 22.5).
Рис. 2.2.5. Схема полуавтоматической сборочной линии
для сборки узлов с шаговым штанговым транспортером: 1 - сборочный узел; 2 -
направляющие; 3 - штанга; 4 - зажим; 5 - фиксирующие пальцы; 6 - собачки
Базовую деталь на первую сборочную позицию линии
устанавливают вручную или с помощью подъемных устройств. Сборочные узлы 1
перемещаются между позициями по направляющим планкам 2 собачками
6,закрепленными в штанге 3, и подаются на соответствующую позицию, где
фиксируются пальцами 5 и закрепляются гидравлическими зажимами 4 одновременно
на всех сборочных позициях.
Технически и экономически обоснованный вариант
автоматизации ТП сборки изделия является основным материалом для
конструирования сборочных автоматов, полуавтоматов, транспортных средств,
окончательной планировки сборочной линии, определения площади, занимаемой ею, и
числа рабочих, обслуживающих ее.
Роторные сборочные автоматы и линии применяют для
сборки небольших изделий или узлов. Технологический процесс сборки происходит
непрерывно без периодических остановок одного или нескольких связанных в одну
систему многопозиционных столов (роторов), на которых размещаются сборочные
приспособления с установленными в них собираемыми изделиями. На рис. 22.6 дана
схема работы сборочного автомата роторного типа.
Рис. 2.2.6. Схема роторного сборочного автомата: 1, 2
- головки питающих роторов; 3 - ротор
Собираемые изделия передаются с одного сборочного
ротора на другой специальными транспортными (питающими и снимающими) роторами.
Детали подаются к ним из бункерных или магазинных загрузочных устройств. На
автоматических роторных сборочных установках или линиях можно производить
запрессовку, развальцовку, обжимку и другие сборочные операции, а также
контролировать узлы по заданным размерам.
При сборке узлов из нескольких деталей сборочные
роторные автоматы имеют два-три питающих ротора, расположенных последовательно
против соответствующих позиций.
Роторные автоматы могут иметь автоматические
измерительные устройства для контроля правильного положения собираемых деталей.
На автоматических сборочных линиях нет заделов между
сборочными агрегатами, так как механизмы и инструменты не требуют частой смены
и подналадки. Наладочные и подналадочные работы проводят между сменами.
Существуют две системы управления сборочными
полуавтоматами, автоматами и автоматическими сборочными линиями:
централизованные и децентрализованные.
Любая система управления должна обеспечивать:
• работу автомата или сборочной линии в заданном
ритме;
• синхронную работу всех узлов автомата или всего
оборудования сборочной линии;
• блокировку узлов автомата или линии для
предотвращения брака или поломки;
• контроль качества собираемых узлов.
В централизованных системах управления применяются
командоаппараты с непрерывно или периодически вращающимся распределительным
валом с кулачками, которые управляют работой технологических и вспомогательных
органов непосредственно или через промежуточные связи. Системы управления
разрабатывают на основании циклограммы работы автомата или сборочной автоматической
линии.
Децентрализованные системы управления применяют для
управления работой весьма сложных сборочных автоматов и автоматических линий.
Они допускают включение любого исполнительного органа после получения сигнала
об окончании работы предыдущего. Сигналы подаются в функции пути путевыми
переключателями или в функции времени с помощью реле времени.
Наиболее совершенной формой поточной автоматической
сборки является комплексная автоматическая сборка. В этом случае автоматическое
оборудование выполняет все сборочные операции и виды контроля собираемых узлов,
очищает и заправляет их смазкой, а также проводит различные операции
механической обработки. Контролируются размеры сопряжений, получаемых при
сборке, зазоры и взаимное положение деталей в собранном узле. Собранные узлы
проверяют на герметичность в процессе гидравлического или пневматического
испытания и соответствие техническим требованиям.
Перемещение собираемых узлов транспортными
устройствами на автоматической сборочной линии должно соответствовать заданному
темпу сборки.
В зависимости от конструкции узлов или изделий в
состав сборочной автоматической линии могут входить следующие устройства:
бункерные или штабельные загрузочные устройства - питатели, транспортные
устройства, приспособления для установки и зажима узлов, делительные и
фиксирующие, контрольно-измерительные, сборочные устройства и т.д.
Большое внимание следует уделять контролю установки
деталей и подузлов в начальном и конечном положениях.
В автоматические сборочные линии следует встраивать
устройства, прекращающие работу в случаях отсутствия детали или неправильного
ее положения на одной из позиций сборки. В качестве таких устройств применяют
упоры с электроконтактными или пневматическими датчиками для крупных деталей и
фотоэлементы для мелких.
Если на одной из позиций сборочной линии обнаружено
неправильное положение детали или ее отсутствие, то автоматическая сборочная
линия с централизованной системой управления останавливается в результате
срабатывания блокировочного устройства. При децентрализованной системе в случае
обнаружения брака на одной из позиций линия останавливается, бракованный узел
перемещается транспортным устройством на следующие позиции, но исполнительные
органы на последующих операциях, не получая соответствующего сигнала с
предыдущей, не проводят работу по сборке. Следовательно, собираемый узел,
получив дефект на какой-либо сборочной операции, проходит все последующие, но
сборочные работы на нем не проводят, и в конце линии он идет в брак.
3.
Организационно-экономическая часть
.1 Анализ работ, выполняемых при ОКР
Опытно-конструкторские работы (ОКР) имеют целью создать образцы новой или
модернизированной техники, которые будут освоены и внедрены в промышленное
производство.
ОКР представляют собой комплекс этапов и работ по проектированию,
изготовлению и отладке опытного образца (партии) модернизированного или нового
изделия. При планировании ОКР необходимо составить подробный перечень этапов и
работ, рассчитать их трудоемкость и продолжительность (табл. 1.1.)
Перед составлением перечня работ студенту необходимо четко определить и
отразить в курсовой работе цель проведения ОКР: проектирование нового изделия,
или проектирование принципиально нового изделия или модернизация выпускаемого
изделия.
Новые изделия - это изделия, имеющие прототипы или аналоги в ранее
освоенной технике, на которые утверждаются технические условия;
Принципиально новые изделия - это изделия не имеющие в ранее освоенной
продукции прототипов или изделий аналогичного назначения (аналогов), либо с
принципиально отличающейся схемой конструкции;
Модернизированные изделия - это изделия, по которым изменение конструкции
оформляется соответствующим изменением или дополнением действующих технических
условий.
Опытно-конструкторские работы состоят из следующих этапов:
). техническое задание (ТЗ) - разработка характеристик проектируемого
изделия и областей его применения; определение конструктивных особенностей и
основных параметров изделия; обоснование необходимости изготовления изделия и
его модификации; оформление ТЗ и согласование с заказчиком.
Техническое задание представляется заказчиком, либо разрабатывается
разработчиком проектируемого изделия;
). техническое предложение (ТП) - изучение и краткий обзор существующих
аналогов; изучение существующих технологических процессов и используемого
оборудования; проверка на патентную чистоту (для новых изделий); сравнение
технико-экономических показателей; разработка конструкторской документации в
соответствии с требованиями ТЗ; согласование ТП с функциональными
подразделениями; утверждение ТП.
Техническое предложение разрабатывается при проектировании тех видов
изделий, когда ТЗ представляется заказчиком, а если ТЗ разрабатывает
разработчик, то в разработке ТП нет необходимости;
). эскизный проект (ЭП) - подбор исходных материалов, стандартов,
технической и справочной литературы; консультации и согласование работы с
руководителем и смежными подразделениями; разработка принципиальных схем и
эскизных чертежей общего вида; изготовление макета; разработка конструкторской
документации; внесение изменений в документацию после проверки и др.
Эскизный проект разрабатывается в тех случаях, когда создаются изделия
(модели), отличающиеся особой новизной. Эта стадия должна быть предусмотрена
ТЗ. Эскизный проект должен подтвердить принципиальную выполняемость основных
требований, изложенных в ТЗ и сформировать внешний вид изделия;
). технический проект (ТПР) - разработка конструкторских решений изделия
и его основных составных частей; оценка эксплуатационных данных изделия; окончательное
оформление заявок на разработку и изготовление новых изделий; проверка изделия
на патентную чистоту и конкурентоспособность, оформление заявок на изобретения
(при модернизации изделия); выявление номенклатуры покупных изделий; разработка
чертежей сборочных единиц и деталей; проверка соответствия принимаемых решений
требованиям техники безопасности и др.;
). разработка рабочей документации (РРД) - разработка рабочих чертежей;
составление принципиальной схемы сборки изделия; изготовление и испытание
опытных образцов; корректировка рабочих чертежей; проверка, внесение изменений
в документацию после проверки; оформление всей документации; сдача работы.
Примерный перечень этапов и работ, входящих в ОКР проектируемого изделия,
а также нормативы их выполнения (чел.-час), представлены в приложении № 3.
Студенту необходимо согласовать составленный им перечень этапов и работ
проектируемого изделия с преподавателем кафедры ЭиОП. На основании уточненного
перечня работ студент составляет таблицу 1.1.
Таблица 1.1. Перечень работ выполняемых при проведении ОКР проектируемого
и расчёт их трудоёмкости и продолжительности
|
№ п/п
|
Наименование работы
|
Трудоемкость выполнения
работы, чел.-час
|
Профессия и квалификация
исполнителей
|
Количество исполнителей
чел.
|
Продолжительность работ,
час
|
|
1
|
2
|
3
|
4
|
5
|
6
|
В графу 4 табл. 1.1. заносятся данные о профессиональном составе
исполнителей с учетом их квалификации. Необходимо иметь в виду, что основной
объем работ выполняют квалифицированные работники - инженеры-конструкторы (ИК);
отдельные работы, не требующие высокой квалификации, могут выполнять
техники-конструкторы (ТК); работы по изготовлению и отладки опытных образцов,
оформлению документации и т.п. выполняются рабочими (Р); техниками (Т);
лаборантами (Л); чертежниками (Ч). Примерный перечень профессий исполнителей
представлен в приложении № 4. При выборе количества исполнителей (графа 5 табл.
1.1.) устанавливается их минимальное число по каждой профессии с учетом их
квалификации, для выполнения одной работы.
Исходя из выбранного количества исполнителей каждой работы N исп. и трудоемкости работ Т,
рассчитываются продолжительности их выполнения L по формуле:
Результаты расчета продолжительности работ указываются в графе 6 табл.
1.1.
По данным табл. 1.1. рассчитывается трудоемкость работ, приходящаяся на
долю исполнителя каждой профессии с учетом квалификации. Результаты расчета
сводятся в таблицу 1.2.
Таблица 1.2 Трудоемкость работ, выполняемых исполнителями различных
профессий.
|
№ п/п
|
Профессия исполнителя с
учетом квалификации
|
Количество исполнителей,
чел.
|
Трудоемкость выполняемых
работ чел.-час
|
|
1
|
2
|
3
|
4
|
|
1 2 n
|
Пример: ВК ИК Ч
|
1 5 2
|
20,5 140,0 32,5
|
Общая трудоемкость выполнения ОКР чел.-час
.2 Построение сетевого графика
Составление сетевого графика.
Руководствуясь правилами построения сетевых моделей и исходными данными
таблицы 1.1. необходимо построить сетевой график ОКР проектируемого изделия,
используя четырехсекторный метод СПУ.
Каждый кружок-событие делится на 4 сектора. В верхнем секторе кружка
проставляется номер события (1, 2, 3 . . . n). Ниже представлена схема фрагмента построения сетевого
графика в общем виде, в котором i -
номер предшествующего события; j -
номер последующего события; ti-j - продолжительность работы,
соединяющая i-eи j-e события.

i ti-j jtпi
tрj tпj
rc rc
В левом секторе указывается ранний срок свершения события tp. Ранний срок свершения исходного
события принимается равным нулю. Ранний срок свершения последующего (j) события определяется: к раннему
сроку предшествующего (i)
события прибавляется продолжительность работы, соединяющая эти два события.
Если к событию ведут несколько путей (узловое событие), то в расчет принимается
максимальная сумма: tpj = max (tрi + tij).
Таким образом, двигаясь по графику слева - направо от события к событию в
порядке их номеров, рассчитываем tр
всех событий от исходного до завершающего. После заполнения левых секторов
сетевого графика рассчитывается критический путь (Lкр.) - максимальный срок выполнения всего комплекса работ при
данной организации ОКР. Критический путь на графике изображается двойными или
жирными линиями.
После определения величины критического пути производим запись:
Lкр. =
-------------- часов
В правом секторе указывается поздний срок свершения события tп. Для исходного, завершающего, а
также всех событий, лежащих на критическом пути, поздний срок равен раннему,
т.е. для этих событий в правом секторе записываем то же число, что и в левом. tp = tп. Определение позднего срока свершения события начинается с
завершающего события, т.е. с конца графика и ведется строго в обратном порядке
приближаясь к исходному событию.
Поздний срок получаем вычитанием из позднего срока последующего события
продолжительности работ. Если от данного события к исходному идут несколько
путей, то подсчитываем разности по всем этим путям и выбираем минимальную из
них
tпi = min (tпj - tij)
Расчет резервов времени работ:
Любая из работ, не лежащая на критическом пути обладает резервом времени.
Полный резерв времени работ Rп (i-j) равен разности между поздним и ранним сроками свершения
событий j и i за вычетом продолжительности этой работы:
п (i-j) = tпj - tpi - t(i-j)
Свободный резерв времени работы Rс (i-j) равен разности между ранними сроками свершения событий j и i за вычетом продолжительности работы (i-j):
Rc(i-j) = tpj - tpi - t(i-j)
Свободный резерв является независимым резервом, т.к его использование на
одной из работ не меняет величины свободных резервов времени остальных работ и
показывает, насколько можно задержать выполнение или отсрочить начало данной
работы, не меняя ранних сроков начала последующих работ.
Резерв времени свершения события Ri равен разности между поздним и ранним сроками
свершения данного события: Ri = tпi - tpi (записывается
в нижний сектор сетевого графика).
Результаты расчетов сводятся в таблицу 1.3. Необходимо иметь в виду, что
каждая работа кодируется по номеру предшествующего и последующего
событий(например, работа 1-2; 2-3; 2-4; и т.п.) результаты кодирования
заносятся в ту же таблицу графу № 3.
Таблица 1.3 Временные параметры и резервы времени работ
|
№ п/п
|
Наименование работы
|
Код работы на сетевом
графике
|
Ранний срок свершения
предшествующего события
|
Поздний срок свершения
предшествующего события
|
Ранний срок свершения
последующего события
|
Поздний срок свершения
последующего события
|
Полный резерв времени
работы
|
Свободный Резерв времени
работы
|
|
1
|
2
|
3
|
4
|
5
|
6
|
7
|
8
|
9
|
|
1 2
|
После расчета параметров сетевого графика и составления табл. 1.3.
необходимо провести оптимизацию сетевой модели (графика).
.3 Оптимизация сетевого графика
Оптимизация сетевого графика представляет собой процесс улучшения
выполнения всего комплекса работ с использованием имеющихся ресурсов, что в
конечном счете приводит к сокращению длительности критического пути, т.е. можно
сказать, что оптимизация - это доведение критического пути до оптимальной
продолжительности.
Оптимальным сетевой график считается, если критический путь равен
директивному сроку выполнения всего комплекса работ (Тд).
Тд = 30% - 50% от суммарной продолжительности работ (табл. 1.1 графа №
6). Процент директивного срока указывается в бланке задания на курсовую работу
(приложение № 2).
Оптимизация осуществляется последовательно каждым из нижеприведенных
способов.
Первый способ:
Оптимизация сетевого графика осуществляется путем перераспределения
трудовых ресурсов, т.е. путем переброски исполнителей на определенные
промежутки времени с работ, лежащих на некритических путях и имеющих полный или
свободный резервы, на работы, лежащих на критическом пути. При этом следует
учитывать, что полный резерв времени работы может использоваться только на
пути, которому принадлежит эта работа, а свободный резерв может использоваться
на любом пути. При оптимизации сетевого графика данным способом, в обязательном
порядке, должно выполняться следующее условие: перераспределение трудовых
ресурсов может осуществляться только между работами, выполняемыми работниками
взаимозаменяемых профессий с учетом квалификации, исходя из характера этих
работ.
Результаты оптимизации заносятся в таблицу 1.4.
Таблица 1.4 Оптимизация сетевого графика путем перераспределения трудовых
ресурсов
|
№ п/п
|
Код работы, с которой
снимаются трудовые ресурсы
|
Код работы, на которую
передаются трудовые ресурсы
|
Профессиональный состав и
количество исполнителей, переводимых на другую работу
|
Объем передаваемых ресурсов
чел.-час
|
Продолжительность работы, о
которой сняты ресурсы ч
|
Продолжительность работы,
на которую переданы ресурсы ч
|
|
1
|
2
|
3
|
4
|
5
|
6
|
7
|
Второй способ:
По второму способу оптимизация сетевого графика осуществляется путем
интенсификации выполнения работ. В этом случае студентом должно быть обосновано
и отражено в курсовой работе привлечение дополнительных работников требуемых
профессий для выполнения отдельных работ, входящих в состав ОКР.
Привлечение дополнительных работников осуществляется на сроки, кратные
целому рабочему дню (8 часов). При этом следует обеспечить наименьшее из
возможных вариантов привлечение дополнительных исполнителей. По результатам
обоснования привлечения дополнительных работников в количестве, необходимом для
обеспечения выше указанного условия оптимизации, заполняется таблица № 1.5.
Таблица 1.5 Оптимизация сетевого графика путем привлечения дополнительных
исполнителей
|
№ п/п
|
Профессиональный состав и
количество дополнительных исполнителей
|
Код работы, на которую
привлекаются дополнительные исполнители
|
Объем дополнительно
привлекаемых ресурсов, чел.-час
|
Продолжительность работы,
на которую дополнительно привлечены ресурсы, час
|
|
1
|
2
|
3
|
4
|
5
|
После проведения оптимизации необходимо построить окончательный вариант
сетевого графика, а результаты расчета свести в таблицу 1.6.
Таблица 1.6 Временные параметры и резервы времени работ
|
№ п/п
|
Наименование работы
|
Код работы на сетевом
графике
|
Ранний срок свершения
предшествующего события
|
Поздний срок свершения
предшествующего события
|
Ранний срок свершения
последующего события
|
Поздний срок свершения
последующего события
|
Полный резерв времени
работы
|
Свободный резерв времени
работы
|
|
1
|
2
|
3
|
4
|
5
|
6
|
7
|
8
|
9
|
|
1 2·
|
Результаты планирования опытно-конструкторских работ методом сетевого
планирования и управления заносятся в таблицу 1.7. являющуюся итоговой в
разделе № 1.
Таблица 1.7 Результаты планирования опытно-конструкторских работ методом
СПУ
|
Показатель
|
Значения результирующих
показателей.
|
|
Общая трудоемкость
выполнения ОКР
|
чел.-час
|
|
Продолжительность
выполнения ОКР
|
…….час
|
|
Трудоемкость выполнения ОКР
исполнителями различных профессий: 1. ведущий конструктор 2.
инженеры-конструкторы 3. 4.
|
чел.-час …….чел.-час
…….чел.-час …….чел.-час …….чел.-час
|
|
Фактическая
продолжительность выполнения ОКР: 1 способ оптимизации 2 способ оптимизации
|
…….час …….час
|
|
Общее количество
исполнителей ОКР после итоговой оптимизации 1. 2. 3. 4. n
|
…….чел. …….чел. …….чел.
…….чел. ·…….чел.
|
3.4 Расчёт себестоимости проектируемого изделия
Расчет себестоимости проектируемого изделия
производится по калькуляционным статьям, приведенным в таблице 2.4. на основе
фактически сложившихся затрат на предприятии, где планируется выпуск данного
изделия. Расчет себестоимости производится по всем статьям затрат на одно
изделие (или 100 изделий). Результаты расчета по каждой статье выражаются в
рублях, округленных до третьего знака после запятой.
Статья 1.
Эта статья представляет собой сумму затрат на сырьё и
материалы SМ, которые входят в состав выпускаемого
изделия. Затраты по этой статье включаются в себестоимость отдельных изделий
путём прямого расчета. Стоимость сырья и материалов определяется на основании
сведений о нормах расхода каждого вида материалов, собранных в ходе
производственной практики для рассматриваемого изделия. Расчет статьи 1
оформляется в виде таблицы 2.1.
Таблица 2.1 Расчет затрат на материалы
|
№ п/п
|
Материал
|
Марка материала ГОСТ
|
Единица измерения
|
Норма расхода на изделие
|
Цена за единицу
|
Сумма затрат руб.
|
|
1
|
2
|
3
|
4
|
5
|
6
|
7
|
|
1
|
|
|
|
|
|
|
|
|
|
|
|
|
|
Итого Sм =
___ руб.
При отсутствии норм расхода материалов рекомендуется
их оценивать исходя из массы деталей в соответствии с чертежом и массы
планируемых отходов, масса отходов может быть рассчитана по группам материалов
с использованием следующих процентных соотношений: для черных металлов - 20 %,
для цветных металлов - 15 %, для пластических масс - 12 %, для проводов - 4%.
В этом случае расчет оформляется в соответствующей
форме, приведенной в таблице 2.1.1.
Таблица 2.1.1 Расчет затрат на основные материалы
|
Наименование детали
|
Вид заготовки
|
Чистая масса детали, кг.
|
Масса отходов, кг.
|
Норма расхода на одну
деталь, кг.
|
Цена материала руб./кг.*
|
Сумма затрат, руб.
|
|
1
|
2
|
3
|
4
|
5
|
6
|
7
|
В графе 2 указывается вид заготовки: отливка, литьё
под давлением, поковка, кусок из проката и т.д.
Норма расхода материала на одну деталь (графа)
рассчитывается по формуле:
p = G дет.
* Ki
где G дет.
- чистая масса детали по чертежу, кг;
Ki - коэффициент планируемых отходов, руб./т (8-10 % от
стоимости материалов).
Статья 2.
Расходы по этой статье Sn определяются в соответствии с ведомостью покупных изделий,
требующих дополнительных затрат труда на их сборку и обработку при
укомплектовании выпускаемых изделий, и действующих оптовых цен на них,
собранных студентами в ходе производственной практики. Расчет по статье следует
вести в таблице 2.2.
Таблица 2.2 Расчет затрат на основные материалы
|
№ п/п
|
Материал
|
Марка материала ГОСТ
|
Единица измерения
|
Норма расхода на изделие
|
Цена за единицу
|
Сумма затрат, руб.
|
|
1
|
2
|
3
|
4
|
5
|
6
|
7
|
|
1 2 n
|
|
|
|
|
|
|
Итого Sn ___
руб.
Статья 3.
Транспортно-заготовительные расходы Sт-з.р определяются в процентном
отношении к стоимости материалов и полуфабрикатов.
Коэффициент Sт-з.р учитывает расходы на транспортировку, хранение, подготовку
материалов к использованию в производстве и неизбежные потери при хранении. По
каждой группе материалов (комплектующих изделий и т.п.) он устанавливается по
данным завода-изготовителя аналогичных изделий. В первом приближении можно
принимать Кт-з.р=1.02-1.20.
Сумма транспортно-заготовительных расходов по
материалам и полуфабрикатам дает итоговые расходы S по данным статье
S т-з.р =_____ % Sм + % Sн
Статья 4.
Возвратные отходы Sотх определяются в процентном отношении к стоимости
материалов.
=_____ %S
В случае, если производится их расчет при определении
расходов по статье 1, то по его результатам.
Статья5. Представляет собой итоговую сумму затрат на
материалы и полуфабрикаты Sмп,
т.е. сумма затрат по статьям 1,2,3 за вычетом доходов от реализации отходов по
статье 4.
Sмп = Sм + Sп + Sт-з,м - Sотх
Статья 6.
Представляет собой сумму затрат на все виды топлива и
энергии на технологические цели Sт.тэ,
истраченных в производстве. Данные затраты определяются в процентном отношении
к расходам по статье 1: Sт.тэ=
- %Sм (см. приложение № 6).
Статья 7.
Представляет собой сумму затрат на основную заработную
плату производственных рабочих. Определяется как сумма оплаты по тарифу Sо.тар и премий Sпрем.
Затраты на основную заработную плату производственных
рабочих рассчитывается:
о.тар = Тi * Сч.cp.i * Кпр
где Тi -
трудоёмкость i-го вида работ, н-ч;
Сч.ср.i -
часовая тарифная ставка по среднему разряду для i-го вида работ, руб. /час.
Кпр - коэффициент премии 1,3-1,4.
Величина премий и доплат определяется в процентном
отношении к
тарифной части основной заработной платы: Sпрем. =_____ % Sо.тар.
(см. приложение № 7.)
Затраты на основную заработную плату производственных
рабочих рассчитываются по формуле: Sо = Sо.тар + S прем
Таблица 2.3 Расчет тарифной части основной заработной
платы производственных рабочих
|
№ п/п
|
Виды работ
|
Трудоемкость, н-ч
|
Средний Тарифный разряд
|
Часовая тарифная ставка по
среднему разряду, руб./ч
|
Сумма тарифной части
основной заработной платы, руб.
|
|
1
|
2
|
3
|
4
|
5
|
6
|
|
1 2 3 4
|
|
|
|
|
|
Итого: Sо.тар
=
Статья 8.
Представляет собой сумму затрат на дополнительную
заработную плату производственных рабочих Sд и определяется в процентном отношении к основной. (статья
7).
д = 2-4%Sо
Статья 9.
Представляет собой сумму затрат на единый социальный
налог Sесн определяется в процентном
отношении к сумме затрат на основную и дополнительную заработную плату: Sесн = 26%(Sо + Sд)
Статьи 10, 11, 12, 13, 14, 15.
Расходы по этим статьям рассчитываются в процентных
отношениях к основной заработной плате производственных рабочих (см. приложение
№ 6) 10 - износ инструментов и приспособлений целевого назначения и прочие
специальные расходы:
11 - расходы на содержание и эксплуатацию
оборудования:
эк. обор. = ____ %Sо
- общецеховые накладные расходы:
Нобщецех = ____ %Sо
- заводские накладные расходы:
Нзав. = ___ %Sо
- потери от брака:
бр = ____ %Sо
- прочие производственные расходы:
проч = ___ %Sо
Статья 16.
Представляет собой сумму затрат по статьям 5-15 и
определяет всю величину расходов предприятия на производство проектируемого
изделия -производственную себестоимость Спр.
Спр = Sмп + Sт.тэ + Sо + Sд + Sсоц + Sин + Sэк.обор
+ Нобщецех + Нзав + Sбр + Sпроч
Статья 17.
По этой статье учитываются внепроизводственные расходы
предприятия внепр.. Они определяются в процентном отношении от производственной
себестоимости (статья 16)
Внепр.= 2-3 % Спр
Статья 18.
Полная себестоимость изделия Сполн. Представляет собой
сумму всех
расходов предприятия на его производство и реализацию,
т.е. сумму расходов по статьям 16 и 17.
Сполн. = Спр + Sвнепр.
Итоги расчета себестоимости проектируемого изделия
после его подробного изложения в записке отражаются в обобщенном виде в таблице
2.4. Кроме того, рассчитывается удельный вес каждой статьи расходов в полной
себестоимости проектируемого изделия (графа 5 таблицы 2.4).
Таблица 2.4 Калькуляция себестоимости
проектируемого______ (наименование изделия)
|
№ п/п
|
Наименование статьи
калькуляции
|
Обозначение
|
Сумма расходов, руб.
|
Доля расходов от полной
себестоимости, %
|
|
1
|
2
|
3
|
4
|
5
|
|
1
|
Сырье и материалы
|
Sм
|
|
|
|
2
|
Покупные комплектующие
изделия полуфабрикаты и услуги кооперирования предприятия
|
Sн
|
|
|
|
3
|
Транспортно-заготовительные
расходы
|
Sт-з
|
|
|
|
4
|
Возвратные отходы
|
Sотх
|
|
|
|
5
|
Итого затрат на материалы
|
S∑ МП
|
|
|
|
6
|
Топливо и энергия на
технологические цели
|
Sт.тэ
|
|
|
|
7
|
Основная заработная плата
производственных рабочих
|
Sо
|
|
|
|
8
|
Дополнительная заработная
плата производственных рабочих
|
Sд
|
|
|
|
9
|
Отчисления на социальное
страхование
|
Sесн
|
|
|
|
10
|
Износ инструментов и
приспособлений целевого назначения и прочие специальные расходы
|
Sин
|
|
|
|
11
|
Расходы на содержание и
эксплуатацию оборудования
|
Sэк.обор
|
|
|
|
12
|
Общецеховые накладные
расходы
|
Hобщецех
|
|
|
|
13
|
Заводские накладные расходы
|
Hзав
|
|
|
|
14
|
Потери от брака
|
Sбр
|
|
|
|
15
|
Прочие производственные
расходы
|
Sпроч
|
|
|
|
16
|
Производственная
себестоимость
|
Cпр
|
|
|
|
17
|
Внепроизводственные расходы
|
Sвнепр
|
|
|
|
18
|
Полная себестоимость
|
Сполн.
|
|
|
|
|
|
|
|
|
|
4. Экология и
БЖД
.1 Анализ вредных факторов на участке сборки пакета ротора
В ходе разработки и сборки пакета ротора будут
производиться следующие операции:
) конструирование и сборка;
)пуско-наладочные работы;
) Теоретический расчет.
Лабораторию, в которой разрабатывается пакет ротора
можно отнести к помещению без повышенной опасности, характерными признаками
которой являются:
) отсутствие токопроводящей линии;
) сухой изоляционный пол;
) отсутствие возможности прикосновения человека к
корпусам оборудования не имеющим соединения с землей и токоведущими частями;
) относительная влажность воздуха не превышает 60% -
помещение относится к разряду сухих;
) температура воздуха 16 - 20ºС;
) скорость движения воздуха не боле 0,3 м/с.
Как было указанно выше, на человека влияют опасные и
вредные производственные факторы. Ниже разберем два фактора это вентиляция и
освещение.
Виды освещения:
Существует три вида освещения - естественное,
искусственное и совмещенное (естественное и искусственное вместе). На практике
пользуются двумя видами освещения - естественным и искусственным. Диапазон длин
волн солнечного излучения в оптической области спектра находится в пределах от
0,1 до 3,4 мкм. Оптическая часть спектра включает видимую и невидимую
(ультрафиолетовую и инфракрасную) части спектра. Рассмотрим излучения в
оптической области спектра.
Естественное освещение:
Естественное освещение положительно влияет не только
на зрение, но также тонизирует организм человека в целом и оказывает
благоприятное психологическое воздействие. В связи с этим все помещения в
соответствии с санитарными нормами и правилами должны иметь естественное
освещение. Исключение составляют производства, где естественное освещение
нарушает технологический процесс (фотолаборатории и т.п.).
Естественное освещение - освещение помещений светом
неба (прямым или отраженным), проникающим через световые проемы в наружных
ограждающих конструкциях.
Естественное освещение помещений осуществляется
боковым светом -через световые проемы в наружных стенах или через прозрачные
части стен, выполненные из пустотелых стеклянных блоков; верхним - через
световые проемы, устраиваемые в покрытии, или через прозрачные части покрытий;
комбинированным - через световые проемы в покрытии и стенах или через
прозрачные ограждения покрытий и стен.
Оценка количественной характеристики естественного
освещения выражается через КЕО в процентах. КЕО - отношение естественной
освещенности, создаваемой в некоторой точке заданной плоскости внутри помещения
светом неба (непосредственным или после отражений), к одновременному значению
наружной горизонтальной освещенности, создаваемой светом полностью открытого
небосвода, %
где КЕО - коэффициент естественной освещенности; Евн -
освещенность внутри помещения; Ен - освещенность наружная.
Искусственное освещение:
Искусственное освещение применяется при работе в
темное время суток и днем, когда по условиям технологии, организации
производства или климата в месте строительства требуются объемно-планировочные
решения, которые не позволяют обеспечить нормированные значения КЕО
(многоэтажные здания большой ширины, одноэтажные многопролеточные здания с
пролетами большой ширины и т.п.). Освещение, при котором недостаточное по
нормам естественное освещение дополняется искусственным, называется совмещенным
освещением.
Искусственное освещение подразделяется на рабочее,
аварийное, эвакуационное, охранное.
Нормирование искусственного освещения. Для обеспечения
наиболее благоприятных условий зрительной работы принято нормировать
минимальную освещенность на наиболее темном участке рабочей поверхности.
При выборе нормируемых значений освещенности
необходимо принимать во внимание следующие показатели: точность зрительной
работы, коэффициент отражения рабочей поверхности р и контраст объекта
различения с фоном К.
Классификация зрительной работы по точности
определяется наименьшим размером (в миллиметрах) объекта различения. Объектом
различия принято называть рассматриваемый предмет, отдельную его часть или
дефект, которые требуется различать в процессе работы (например, риска,
трещина, точка, линия на листе чертежа и т.п.).
Контраст К объекта различения с фоном принято считать
малым приК< 0,2 (объект и фон мало отличаются по яркости), средним при
0,2<К<0,5 и большим при К > 0,5 (объект и фон резко различаются по
яркости). Рабочие поверхности, являющиеся фоном и прилегающие непосредственно к
объекту различения, на котором он рассматривается, считаются темными при р <
0,2, средними при 0,2 < р < 0,4 и светлым при р > 0,4. Всего в нормах
восемь разрядов зрительной работы - от I, где наименьший размер объекта
различения составляет менее 0,15 мм, до VI, где рассматриваются объекты более 5
мм. К VII разряду относятся работы со светящимися материалами и изделиями в
горячих цехах, к VIII - общее наблюдение за ходом производственного процесса .
Организационно-технические мероприятия, обеспечивающие
безопасность работ
К работе допускаются лица не моложе 18 лет обученные,
прошедшие осмотр и инструктаж по технике безопасности, сдавшие экзамены,
имеющие соответствующий допуск к работе.
Для предотвращения загрязнения атмосферы помещения
пылью, парами и газами разработаны мероприятия по улучшению условий труда:
) операции, где производятся cборка удовлетворяют требования санитарных норм;
) работа производится в специальной одежде с
включенным вентиляционным устройством;
) стены, оконные рамы, отопительные радиаторы, рабочие
поверхности столов, воздуховоды выполнены гладкими и удобными для очистки от
пыли;
) мытьё полов на участке проводится после каждой
рабочей смены, а поверхности столов очищаться не реже 2 раза в неделю;
В помещениях, где производится сборка не допускается
хранить личные вещи, принимать пищу и курить, а также уносить рабочую одежду
домой.
На безопасность работ, на повышение производительности
труда, снижение усталости работающего оказывает сильное влияние организация
рабочего места. Организация рабочего места заключается в выборе рабочей позы,
определения рабочих зон, размещения органов управления, индикаторов,
инструментов и заготовок.
Рабочим местом считается место постоянного и
временного пребывания работающего для наблюдения и ведения производительных
процессов и экспериментов.
Необходимо помнить, что правильная организация
рабочего места обеспечивает высокую производительность труда.Большое значение
имеет соблюдение производственной и личной гигиены.
.2 Расчёт вентиляции цеха изготовления электродвигателя
Вентиляционные установки - устройства, обеспечивающие
в помещении такое состояние воздушной среды, при котором человек чувствует себя
нормально и микроклимат помещений не оказывает неблагоприятного действия на его
здоровье.
Для обеспечения требуемого по санитарным нормам качества
воздушной среды необходима постоянная смена воздуха в помещении; вместо
удаляемого вводится свежий, после соответствующей обработки, воздух. В данном
подразделе будет произведен расчет общеобменной вентиляции от избытков тепла.
Общеобменная вентиляция - система, в которой воздухообмен, найденный из условий
борьбы с вредностью, осуществляется путем подачи и вытяжки воздуха из всего
помещения.
Системы отопления и системы кондиционирования следует
устанавливать так, чтобы ни теплый, ни холодный воздух не направлялся на людей.
На производстве рекомендуется создавать динамический климат с определенными
перепадами показателей. Температура воздуха у поверхности пола и на уровне
головы не должна отличаться более, чем на 5 градусов. В производственных
помещениях помимо естественной вентиляции предусматривают приточно-вытяжную
вентиляцию. Основным параметром, определяющим характеристики вентиляционной
системы, является кратность обмена, т.е. сколько раз в час сменится воздух в
цехе.
Для расчета примем следующие размеры рабочего
помещения:
длина В = 30 м;
ширина А = 48 м;
высота Н = 9 м.
Соответственно объем помещения равен:помещ = А*В*H =
12960 м3
Необходимый для обмена объем воздуха Vвент определим
исходя из уравнения теплового баланса:
вент * С( tуход - tприход ) * Y = 3600 * Qизбыт
избыт - избыточная теплота (Вт);
С = 1000 - удельная теплопроводность воздуха
(Дж/кгК);= 1.2 - плотность воздуха (мг/см).
Температура уходящего воздуха определяется по формуле:
уход = tр.м. + (Н - 2 )t
где t = 2°С - превышение t на 1м высоты помещения;р.м.
= 22°С - температура на рабочем месте;
Н = 9 м - высота помещения;приход = 18 градусов.
уход = 22 + (9 - 2)*2 = 36избыт = Qизб.1 + Qизб.2 +
Qизб.3
Где Qизб. - избыток тепла от электрооборудования и
освещения.
изб.1 = Е * р
Где Е - коэффициент потерь электроэнергии на
теплоотвод ( Е=0.55 для освещения);
р - мощность, р = 700 Вт * 32 = 22400 Вт.изб.1 = 0.55
* 22400=12320 Втизб.2 - теплопоступление от солнечной радиации,
изб.2 =m * S * k * Qc
Где m - число окон,
примем m = 20;- площадь окна, S = 1,8 * 2 = 3.6 м2;- коэффициент, учитывающий
остекление. Для двойного остекления= 0.6;= 127 Вт/м - теплопоступление от
окон.изб.2 = 3.6 * 20 * 0.6 * 127 = 5486 Втизб.3 - тепловыделения людей
изб.3 = n * q
Где q = 15 Вт/чел. , n - число людей в смене,
например, n = 40изб.3 = 40 * 80 = 3200 Втизбыт = 12320 + 5486 + 3200 = 21006 Вт
Из уравнения теплового баланса следует:вент
м3
Оптимальным вариантом является кондиционирование воздуха,
т.е. автоматическое поддержание его состояния в помещении в соответствии с
определенными требованиями (заданная температура, влажность, подвижность
воздуха) независимо от изменения состояния наружного воздуха и условий в самом
помещении.
Определяем необходимую кратность воздухообмена:
где Vпом = n * Sчел * Н , (11.15)=40 - число людей в
помещении;чел - площадь производственного помещения, приходящаяся на 1 человека
(по нормам для работы в цехе Sчел=6 м) ;
Н =4 м - высота помещения.
Кратность воздухообмена:
Произведем подбор вентилятора по аэродинамическим
характеристикам и специальным номограммам
Исходными данными для выбора вентилятора являются:
расчетная производительность вентилятора:
расч = 1.1 * Vвент = 1.1*3858 = 4244 м /ч, (11.16)
где 1.1 - коэффициент, учитывающий утечки и подсосы
воздуха.
напор (полное давление), обеспечиваемый вентилятором:
в = 10*v/2 * Y , (11.17)
где Y=1.3 кг/м - плотность воздуха,- окружная скорость
вентилятора; ограничивается предельно допустимым уровнем шума в помещении.
Для центробежных вентиляторов низкого для цеховых
помещений v должна быть не менее 35 м/с. Для расчета
примем v=40 м/с.
Тогда Hв = 10*40/2 * 1,3 = 26 Па.
По исходным данным выбираем центробежный вентилятор
низкого давления Ц4-70N5. По номограммам определяем его характеристики:
число оборотов - 1000 об/мин;
КПД вентилятора - 0.8.
Необходимая установочная мощность электродвигателя:
Вт
где η - КПД вентилятора.
Литература
1. Козловская
Л.Г., Сельскова Т.В. «Организация и управление производством». Методические
указания к выполнению курсовой работы, МГТУ «МАМИ», 2014, 27 с.
2. Матвеев
Денис Викторович. «Разработка технологии расчета системы отопления и вентиляции
легкового автомобиля». Диссертация на соискание ученой степени кандидата
технических наук. Ижевск - 2006
. Резник
А. М. Орлов В. П. «Электрооборудование автомобилей». Издательство «Транспорт»
1981 год.
. Акимов
С. В., Чижков Ю. П. «Электрооборудование автомобилей. Учебник для ВУЗов». М.:
ЗАО «КЖИ «За рулем» 2004 год
. ГОСТ
Р 50993-96 «Автотранспортные средства. Системы отопления, вентиляции и
кондиционирования»